Информационная система
«Ёшкин Кот»

XXXecatmenu

МИНИСТЕРСТВО АРХИТЕКТУРЫ, СТРОИТЕЛЬСТВА
И ЖИЛИЩНО-КОММУНАЛЬНОГО ХОЗЯЙСТВА РФ

НАУЧНО-ИССЛЕДОВАТЕЛЬСКИЙ ИНСТИТУТ
ГИДРОМЕХАНИЗАЦИИ, САНИТАРНО-ТЕХНИЧЕСКИХ
И СПЕЦИАЛЬНЫХ СТРОИТЕЛЬНЫХ РАБОТ

ВНИИГС

РУКОВОДЯЩИЙ ТЕХНИЧЕСКИЙ МАТЕРИАЛ

РТМ 36.44.12.2-90

ПРОЕКТИРОВАНИЕ И УСТРОЙСТВО
ФУНДАМЕНТОВ ИЗ СВАЙ, ПОГРУЖАЕМЫХ
СПОСОБОМ ВДАВЛИВАНИЯ

САНКТ-ПЕТЕРБУРГ - 1992

Руководящий технический материал (РТМ) «Проектирование и устройство фундаментов из свай, погружаемых способом вдавливания», разработан организациями: Государственным предприятием Научно-исследовательский институт гидромеханизации, санитарно-технических и специальных строительных работ (ВНИИГС) Минстроя РФ (канд. техн. наук Е. М. Перлей, инж. С. В. Гдалин), институтами УкрНИИспецстрой (кандидаты техн. наук В. И. Берман, А. А. Цесарский), Укргидроспецстройпроект (кандидаты техн. наук Ю. И. Чумаков, С. В. Требух), ВНИИОСП им. Н. М. Герсеванова (д-р техн. наук Б. В. Бахолдин, канд. техн. наук Е. В. Светинский, инж. М. С. Гайдай), трестом № 28 Санкт-Петербургской стройкорпорации (канд. техн. наук Б. В. Лейкин) при участии ПИИТ (канд. техн. наук Г. Ф. Новожилов).

Настоящий РТМ утвержден Научно-техническим советом ВНИИГС 20 декабря 1991 г., протокол № 1. Срок введения 1 января 1992 г.

СОДЕРЖАНИЕ

1. Общие положения. 2

Область применения. 2

Особенности инженерно-геологических изысканий и обследования существующих фундаментов. 3

Оборудование и материалы.. 3

2. Особенности проектирования свайных фундаментов, устраиваемых с применением способа вдавливания. 5

3. Технология производства работ. 6

Подготовительные работы.. 6

Технология погружения железобетонных призматических сваи установками треста № 101 и УСВ-120. 7

Технология погружения многосекционных свай и устройства набивных свай установками типа УБПС и УВС.. 8

Контроль качества работ. 11

4. Техника безопасности. 12

Общие положения. 12

Требования к строительной площадке и рабочим местам.. 12

Требования к складированию, хранению и транспортировке материалов, изделий, элементов грузоподъемного, бурового и сваевдавливающего оборудования и технологической оснастки. 13

Требования к персоналу, допускаемому к выполнению свайных работ, и к средствам защиты работающих. 13

Требования к материалам, изделиям, технологическому оборудованию, оснастке и технологическим процессам при погружении свай вдавливанием.. 13

Требования электробезопасности и безопасности при работе с гидроприводом* 14

Требования пожарной безопасности. 15

Приложение 1 Краткое описание и техническая характеристика сваевдавливающих установок треста № 101, УСВ-120 И УСВ-120М.. 15

Приложение 2 Основные технические характеристики малогабаритных вдавливающих установок. 19

Приложение 3 Техническая характеристика электрического сверлильного станка ИЭ-1805. 19

Приложение 4 Список нормативной литературы.. 20

Настоящий РТМ распространяется на проектирование, производство работ, испытание и приемку свайных фундаментов из забивных, в том числе многосекционных и набивных свай, выполняемых с применением способа статического вдавливания.

1. ОБЩИЕ ПОЛОЖЕНИЯ

Область применения

1.1. Способ вдавливания для погружения забивных и устройства набивных свай следует применять в стесненных условиях строительства, в непосредственной близости от зданий и сооружений, а также внутри них, при возведении новых фундаментов и усилении существующих фундаментов, полов и др.

1.2. При прохождении прослоек плотных грунтов необходимо применять способы снижения сопротивления грунта погружению свай (см. п. 3.9).

1.3. При усилении существующих фундаментов технологию свайных работ, а также количество и параметры свай следует принимать в соответствии с конструкцией существующего фундамента и нагрузкой на него, высотой помещения, грунтовыми и другими условиями реконструкции. Рекомендуемые конструкции элементов многосекционных свай и узлы их сопряжения с усиливаемой конструкцией представлены на рис. 1 и 2.

Рис. 1. Конструкции элементов многосекционных свай и инвентарных труб для устройства набивных свай:

а, б, в - элементы многосекционных свай соответственно со сварным, штыревым и болтовым стыком; г - трубобетонный элемент многосекционных свай; д, е - нижняя секция инвентарной трубы соответственно с клапанным и теряемым наконечником для набивных свай; ж - рядовая секция инвентарной обсадной трубы для набивных свай; 1 - закладная пластина; 2 - железобетонный элемент; 3 - закладной анкер; 4 - выемка; 5 - закладная пластина с отверстиями для болтов; 6 - трубчатая оболочка; 7 - монолитный бетон; 8 - инвентарная обсадная труба; 9 - клапан; 10 - теряемый наконечник.

Рис. 2. Схемы узлов сопряжения вдавливаемых свай с усиливаемыми фундаментами:

а, б - через монолитную железобетонную балку; в - через уширения железобетонного фундамента; г - при подводке свай под подошву фундамента; д - при создании обоймы, препятствующей боковым деформациям грунта, расположенного между подошвой фундамента и несущим слоем; 1 - вдавливаемая свая; 2 - стена; 3 - балка; 4 - отверстия для пропуска свай; 5 - монолитный или сборный оголовок; 6 - усиливаемый фундамент; 7 - слабый грунт; 8 - несущий слой.

Особенности инженерно-геологических изысканий и обследования существующих фундаментов

1.4. Инженерно-геологические изыскания грунтов оснований должны производиться в соответствии по СНиП 1.02.07-87 [1], «Указаниями по устройству фундаментов около существующих зданий и сооружений» [2] и «Временными указаниями по устройству фундаментов рядом с существующими зданиями и сооружениями в г. Москве» [3].

1.5. Инженерные изыскания на участке строительства и примыкающей к нему территории должны включать работы по обследованию фундаментов и наземных конструкций существующих зданий.

1.6. Для определения возможности применения способа вдавливания свай следует установить: конструкцию и состояние существующего фундамента (по имеющейся документации, путем откопки шурфов и проведения необходимого комплекса исследований), а также наличие (или отсутствие) в основании грунтов, способных при их перемятии к резкому снижению механических свойств, например, сопротивления сдвигу в 2 раза и модуля деформации более чем в 1,5 раза.

1.7. При проектировании фундаментов нового здания, возводимого рядом с существующим, из свай, погружаемых вдавливанием, мероприятия по контролю осадок существующего здания следует разрабатывать на основании материалов инженерно-геологических изысканий и в соответствии с «Инструкцией по организации и проведению наблюдений за развитием осадок зданий (сооружений), возле которых осуществляется новое строительство» (см. приложение к «Указаниям» [2]).

Оборудование и материалы

1.8. Установку для вдавливания свай следует выбирать исходя из условий:

типа и конструкции свай, предназначенных для вдавливания (определяют тип и конструкцию установки);

ожидаемого максимального усилия вдавливания (определяют мощность установки и необходимость применения оборудования для бурения лидерных скважин);

стесненности строительной площадки как по площади, так и по высоте (выясняют возможность использования установки по габаритам и необходимость применения многосекционных свай).

1.9. Вдавливание свай вне зданий и сооружений выполняют установкой УСВ-120 и установкой конструкции треста № 101. В помещениях высотой 7,5 м и более применяют установку УСВ-120, а при высоте до 1,8 и 1,6 м соответственно установку УВС-800 и УБПС.

Технические характеристики установок, их краткое описание и схемы даны в приложениях 1, 2.

1.10. Установками УСВ-120 и треста № 101 погружают призматические железобетонные сваи, изготовленные по ГОСТ 19804.0-78* и ГОСТ 19804.4-79* [4 - 6]. К этим сваям предъявляют требования:

сваи как по качеству бетона, так и по предельно допустимым отклонениям от проектных размеров должны соответствовать ГОСТ 19804.0-78, ГОСТ 19804.4-78* и ГОСТ 19804.2-79* [4 - 6];

не допускается применение свай, выполненных из бетона более низкой марки, чем предусмотрено в проекте (без соответствующего обоснования и согласования с проектной организацией);

запрещается использование свай, имеющих отклонения размеров поперечного сечения, превышающие допускаемые ГОСТ 19804.0-78 [4], а также отклонение формы поперечного сечения от квадратной.

Примечание. В противном случае при вдавливании свай установками с зажимом свай по боковой поверхности они либо вообще не могут быть зажаты в зажимном устройстве рабочего органа установки, либо будут зажаты неправильно - с неравномерным распределением зажимного усилия по боковой поверхности свай. Второе обстоятельство может привести к проскальзыванию сваи в зажимном устройстве или ее разрушению, а в отдельных случаях и поломке механизма зажима. Для установки треста № 101, механизм зажима которой обжимает сваю по двум боковым поверхностям, допускается применение свай с двухсторонним технологическим уклоном, но при этом сваю следует зажимать по двум другим параллельным боковым поверхностям. Для установки УСВ-120, где свая обжимается в зажимном механизме по всем четырем боковым поверхностям, использование свай с двухсторонним технологическим уклоном не допускается.

Допускается применять для вдавливания сваи с плоским нижним торцом, предназначенные для использования в качестве верхних или промежуточных звеньев составных свай.

Приемка свай (входной контроль) на объекте должна выполняться мастером (прорабом) строительной организации, производящей работы по вдавливанию свай на этом объекте.

1.11. При погружении готовых железобетонных призматических свай способом вдавливания арматуру в их головной части, предназначенную для восприятия динамических нагрузок, можно исключить (с целью экономии металла).

1.12. Для устройства набивных и многосекционных свай с применением способа вдавливания используют малогабаритные сваевдавливающие установки типа УВС и УБПС.

Установкой УВС погружают многосекционные сваи из железобетонных или трубобетонных элементов соответственно сечением сторон или диаметром до 200 мм, длиной до 1 м.

Установкой УБПС изготавливают набивные сваи с применением цельных или составных инвентарных труб диаметром до 160 мм, с теряемым наконечником или клапаном; затем эти трубы извлекают (или не извлекают) и бетонируют скважину.

1.13. Материалы для изготовления набивных и многосекционных свай должны отвечать настоящему РТМ, СНиП 3.09.01-85, СНиП 2.03.01-84* и СНиП 3.02.01-87 [7 - 9].

1.14. Для изготовления многосекционных свай необходимо применять мелкозернистый песчаный бетон при классе прочности на сжатие не ниже В15. Проектная марка бетона по морозостойкости должна назначаться в соответствии с требованиями нормативных документов на проектирование данного вида сооружений, но не ниже F-50.

1.15. Вид цемента выбирают в соответствии со СНиП 2.03.11-85 [10]. При этом следует использовать пластифицирующую добавку СДБ - сульфитно-дрожжевую бражку или другую согласно «Руководству по применению химических добавок в бетоне» [11]. Цемент для мелкозернистого бетона должен удовлетворять требованиям ГОСТ 10178-85 [12].

1.16. Песок для мелкозернистого бетона необходимо выбирать в соответствии с ГОСТ 10268-80 [13].

1.17. Вода для мелкозернистых бетонов должна отвечать СНиП 3.03.01-87 [14] и ГОСТ 23732-79 [15].

1.18. Состав мелкозернистого бетона подбирает строительная лаборатория в соответствии с заданной маркой бетона по прочности и в необходимых случаях - по морозостойкости и водонепроницаемости согласно СНиП 3.09.01-85 [7].

При применении портландцемента оптимальное соотношение цемента и песка в бетонной смеси составляет от 1:1 до 1:3 (в массовых частях) при водоцементном отношении (В/Ц) от 0,4 до 0,6.

1.19. Подвижность бетонной смеси, определяемая погружением стандартного конуса по ГОСТ 5802-86 [16], должна быть 8 - 10 см при изготовлении сборных элементов и 15 - 18 см при устройстве набивных свай.

1.20. Подвижность и связность бетонной смеси должны обеспечиваться подбором ее состава и введением поверхностно-активных пластифицирующих добавок в соответствии с «Руководством по применению химических добавок в бетоне» [11].

1.21. Сборные железобетонные элементы изготавливают в кассетных формах, а трубобетонные элементы - в вертикальном положении на вибростенде, схема которого приведена на рис. 3. Трубы для этих элементов должны быть отторцованы и иметь фаску для сварного стыка.

Рис. 3. Схема изготовления трубобетонных элементов многосекционных свай:

1 - виброплощадка; 2 - обойма; 3 - верхняя фиксирующая решетка; 4 - отрезки труб диаметром 100 - 159 мм; 5 - бетоновод; 6 - монолитный бетон; 7 - нижняя фиксирующая решетка.

2. ОСОБЕННОСТИ ПРОЕКТИРОВАНИЯ СВАЙНЫХ ФУНДАМЕНТОВ, УСТРАИВАЕМЫХ С ПРИМЕНЕНИЕМ СПОСОБА ВДАВЛИВАНИЯ

2.1. Расчет несущей способности свай Fd, погружаемых вдавливанием в различные грунты, при проектировании, а также по результатам статического зондирования необходимо выполнять согласно СНиП 2.02.03-85 [17].

2.2. Предварительно значение ожидаемого максимального вдавливающего усилия следует принимать по формуле:

                                                           (1)

где K - эмпирический коэффициент, равный для песчаных грунтов 1,9, для пылевато-глинистых - 1,4.

2.3. Несущая способность сваи, определенная по конечному усилию вдавливания (см. п. 3.32) первых пяти свай , может оказаться меньше несущей способности свай Fd.

Кроме того, возможно, что сваи не удается погрузить до проектной отметки в несущий слой на глубину более 1,5 - 2,0 м и при этом усилие вдавливания превышает значение ожидаемого максимального усилия . В обоих случаях проектная организация должна установить необходимость контрольных испытаний свай статическими нагрузками и скорректировать проект свайного фундамента или его части, в первом случае увеличив, а во втором уменьшив длину свай.

2.4. Статические испытания свай, погружаемых вдавливанием, в случае необходимости следует проводить по ГОСТ 5686-78 [18].

2.5. При расчете набивных свай по прочности материала, кроме коэффициентов условий работы, перечисленных в п. 3.8 СНиП 2.02.03-85 [17], необходимо вводить дополнительный коэффициент gв5 = 0,85 по СНиП 2.03.01-84* [8], применяемый при бетонировании монолитных столбов с наибольшим размером сечения менее 30 см.

2.6. Сваи армируют сварными каркасами и отдельными стержнями, в трубобетонных сваях в качестве арматуры служит стальная оболочка. В набивных сваях при отсутствии моментных нагрузок может армироваться только верхняя часть на длину, составляющую 15 % от всей длины сваи.

2.7. Конструкция стыков составных свай и секций многосекционных свай может быть сварной, болтовой, стаканной и других типов и должна учитывать значение и направление нагрузок, передаваемых на сваю при ее работе в процессе погружения и эксплуатации.

2.8. При проектировании свайного фундамента рядом с существующим допускается использование сочетания свай, погружаемых динамическим способом и вдавливанием. В этом случае необходимо определить границы зон погружения свай каждым из этих способов в соответствии с пп. 2.11 и 2.12.

2.9. Минимальное расстояние от ближайшей вдавливаемой сваи до существующего фундамента в свету при наличии в несущих слоях основания грунтов, чувствительных к нарушению природного сложения (см. п. 1.6), следует принимать

                                                       (2)

где d - максимальный размер поперечного сечения сваи, м.

В остальных случаях

                                                            (3)

2.10. Кроме того, расстояние Lмин зависит от габаритов сваевдавливающей установки и может быть определено по ее паспортным данным (см. приложение 1).

2.11. Из двух значений Lмин, определяемых по пп. 2.9, 2.10, принимают наибольшее, по которому и устанавливает ближнюю границу зоны вдавливания (относительно существующего здания).

2.12. Минимальное расстояние от существующего здания до ближайшей сваи (ряда свай) в свету, которую предусмотрено погружать динамическим способом, следует принимать в соответствии с ВСН 490-87 [19]. Это и будет ближняя граница погружения свай динамическим способом.

3. ТЕХНОЛОГИЯ ПРОИЗВОДСТВА РАБОТ

Подготовительные работы

3.1. Организацию работ по вдавливанию готовых и устройству набивных свай на строительной площадке и их технологическую последовательность определяет проект производства работ, составленный на основании материалов инженерно-геологических изысканий и рабочего проекта свайного фундамента в соответствии со СНиП 3.02.01-87 [9], СНиП III-4-80* [20] и настоящим РТМ.

До начала работы установок на строительной площадке необходимо провести все подготовительные работы, предусмотренные проектом производства работ, который должен содержать: 1) указания по выполнению подготовительных работ; 2) технологическую схему производства работ; 3) указания по проверке и эксплуатации оборудования; 4) схему движения машин и механизмов; 5) последовательность погружения или изготовления свай; 6) требования, предъявляемые к бетонной смеси; 7) методы контроля качества изготовления свай.

3.2. Технологическая схема движения сваевдавливающих установок по стройплощадке и последовательность погружения свай определяется стесненностью стройплощадки и техническими характеристиками основного и вспомогательного оборудования. Пример технологической схемы движения установки УСВ-120 приведен на рис. 4.

Рис. 4. Технологическая схема движения сваевдавливающей установки УСВ-120 по площадке при погружении свай вблизи существующего здания:

I, II - стены существующего здания; 1 - маневровая зона УСВ-120; 2 - крайний ряд свай; 3 - граница площадки; 4 - габаритный контур УСВ-120; 5 - точки вдавливания свай; 6, 7 - направление движения УСВ-120 соответственно к начальной точке погружения ряда свай и при погружении этого ряда; Е, Е¢ - минимальное расстояние от вдавливаемой сваи до стены соответственно I и II существующего здания; а - шаг свай в ряду по ходу движения установки; l - расстояние между рядами свай; Lм.з, Zм.з - длина и ширина маневровой зоны; Lпл, Zпл - длина и ширина площадки.

3.3. Поскольку свайные работы, ведущиеся способом вдавливания, выполняют при реконструкции в непосредственной близости от старых зданий и сооружений (или после их сноса), в ряде случаев установить положение старых фундаментов и других конструкций не представляется возможным. Поэтому до начала погружения свай целесообразно произвести вскрышные работы, удалить старые фундаменты и другие посторонние предметы, после чего засыпать котлован песчаным грунтом, который после погружения свай может быть использован на других объектах.

3.4. Подготовительные работы при усилении фундаментов установками УБПС или УВС должны включать: 1) устройство приямков или котлованов для их размещения; 2) обнажение при необходимости боковой поверхности или подошвы фундаментов; 3) изготовление железобетонных или трубобетонных составных элементов; 4) сверление отверстий или пробивку проемов в существующих фундаментах, полах и стенах для заводки анкерных устройств и свай (сверлить отверстия в железобетонных конструкциях рекомендуется электрическим станком ИЭ-1805, техническая характеристика которого приведена в приложении 3); 5) бурение скважин в грунте для установки инвентарных анкерных свай типа «зонтик» конструкции ВНИИГС (рис. 5, 6); 6) устройство монолитных анкерных балок или силового пола (ростверка); 7) прокладку рельсовых путей для передвижения установки УБПС.

3.5. При использовании в качестве анкерных устройств железобетонных монолитных балок или сплошных плит к вдавливанию свай допускается приступать после достижения бетоном не менее 70 % проектной прочности.

Рис. 5. Конструкция инвентарных анкерных свай типа «зонтик»:

а, б - для анкеровки соответственно в грунте и за подошву фундамента; 1 - стакан; 2 - планшайба; 3 - лопасть; 4 - штанга; 5 - рама; 6 - тяга.

Рис. 6. Технология применения анкера типа «зонтик» для анкеровки в грунте:

а - бурение скважины; б - опускание анкера в скважину; в - извлечение из стакана анкерной головки и раскрытие лопастей; г - использование анкера в рабочем режиме; д - закрытие анкера; е - извлечение анкера из скважины.

Технология погружения железобетонных призматических свай установками треста № 101 и УСВ-120

3.6. В случае, если проектом предусмотрено погружение сваи динамическим способом и вдавливанием, в первую очередь следует погружать сваи вдавливанием и начинать со свай, наиболее близко расположенных к существующим фундаментам.

3.7. Сваи погружают вдавливающими установками треста № 101 или УСВ-120, как правило, непосредственно с поверхности грунта территории строительной площадки или пола помещения. Если проектная отметка верха погружаемых свай располагается ниже поверхности грунта строительной площадки (или выше ее не более чем на 1 м), допогружение свай до проектной отметки осуществляют с помощью «добойника», в качестве которого используют обычно штатную сваю.

3.8. Если высота потолков в помещениях не позволяет загружать сваи в рабочий орган установки УСВ-120, эту операцию осуществляют вне данного помещения, причем длина сваи (секции составной сваи) должна быть на 0,2 - 0,3 м меньше высоты помещения. Кроме того, в зависимости от высоты помещения перед началом погружения следует демонтировать одну или две верхние секции мачты.

3.9. При вдавливании свай в плотные грунты (или при прохождении прослоек таких грунтов) необходимо применять различные способы снижения сопротивления погружению: бурение лидерных скважин; рыхление шнеком грунта без извлечения последнего; антифрикционные обмазки.

Применение подмыва при вдавливании свай в непосредственной близости от существующих фундаментов или подземных коммуникаций недопустимо.

При назначении способа уменьшения сопротивления погружению необходимо учитывать как возможное снижение несущей способности погружаемых свай, так и негативное влияние этих мероприятий на состояние фундаментов существующих зданий и сооружении.

3.10. При вдавливании сваи в зимних условиях и сильном промерзании грунта можно использовать паро- или электропрогрев промерзшего слоя грунта.

3.11. Технология выполнения работ по вдавливанию свай установкой треста № 101 следующая: 1) монтируют установку над точкой погружения сваи; 2) в рабочий орган установки подают сваю, которую устанавливают вертикально и зажимают в нем механизмом зажима; 3) сваю погружают на величину хода поршня спаренных гидродомкратов механизма вдавливания (до 1,0 м); 4) осуществляют разжим сваи в рабочем органе установки; 5) поднимают штоки спаренных гидродомкратов механизма вдавливания в верхнее положение (холостой ход); 6) вновь зажимают сваю и цикл повторяют сначала; 7) после погружения сваи на проектную глубину демонтируют установку (порядок операций при демонтаже обратный тому, что при монтаже), и ее перемещают на следующую точку погружения.

3.12. Рабочий цикл установки УСВ-120 состоит из следующих операций: поворот аутригеров в стороны; установка (загрузка) сваи в механизм зажима; фиксация сваи в механизме зажима; установка мачты в заданное угловое положение по прибору «Вертикаль-20Б» путем выдвижения (опускания) гидродомкратов аутригеров; погружение сваи в грунт с записью специальным прибором зависимости усилия вдавливания от глубины погружения; перемещение установки самоходом на новую точку погружения сваи.

Технология погружения многосекционных свай и устройства набивных свай установками типа УБПС и УВС

3.13. Реактивное усилие при вдавливании многосекционных сваи установками УБПС и УВС может восприниматься существующими или специально устраиваемыми строительными конструкциями - фундаментами, стенками, балками, силовым полом - ростверком, массой пригруза, инвентарными анкерными сваями (завинчиваемыми или с раскрывающимися лопастями, типа «зонтик»), инвентарными анкерными балками или ранее вдавленными сваями.

3.14. Работы по погружению многосекционных свай при размещении установки выше уровня подошвы фундамента следует выполнять в соответствии с технологической схемой, представленной на рис. 7, а при упоре в подошву фундамента - по схеме, показанной на рис. 8.

Рис. 7. Технология устройства многосекционных свай из вдавливаемых элементов (при анкеровке установки за силовой пол или уширения фундамента):

а - монтаж установки; опускание в скважины анкерных устройств; б - раскрытие анкерных устройств, подача к установке 1-й секции сваи; в - вдавливание 1-й секции; г - подача 2-й секции, устройство стыка между 1-й и 2-й секциями; д - вдавливание 2-й секции; е - вдавливание 3-й и остальных секций; ж - извлечение анкеров, перемещение установки на другую точку вдавливания, устройство оголовка и бетонной пробки под сваей; 1 - вдавливающая установка; 2 - гидродомкраты; 3 - аутригеры; 4 - анкерные устройства; 5 - секция составной сваи; 6 - оголовок; 7 - бетонная пробка; 8 - несущий слой.

Рис. 8. Технология усиления фундамента с помощью многосекционных свай из вдавливаемых элементов при упоре в подошву существующего фундамента:

а - устройство приямка, прокладка рельсовых путей, вкатывание установки под фундамент, подача 1-го вдавливаемого элемента; б - вдавливание 1-й секции; в - подача 2-й секции, устройство стыка между 1-й и 2-й секциями; г - вдавливание 2-й секции; д - вдавливание 3-й и остальных секций; е - выкатывание установки и извлечение ее из приямка, монтаж последней секции составной сваи, устройство сборного оголовка; 1 - вдавливающая установка; 2 - гидродомкрат; 3 - секция составной сваи; 4 - оголовок.

3.15. Для обеспечения вертикальности погружения элементов многосекционных свай каждый раз при монтаже установки над точкой вдавливания необходимо регулировать положение платформы с помощью винтовых аутригеров.

3.16. Заводить элементы массой более 50 кг в клиновой захват установки следует с помощью грузоподъемных механизмов, а при массе элементов менее 50 кг можно вручную.

3.17. Перед монтажом каждой последующей секции на торец предыдущей необходимо нанести слой цементного раствора состава 1:1, толщиной 0,5 - 1 см для обеспечения передачи вдавливающего усилия по всему поперечному сечению сваи.

3.18. Для сопряжения сваи с усиливаемым фундаментом разбивают головную часть сваи, обнажают ее арматуру и омоноличивают с балкой или фундаментом.

3.19. Набивные сваи с применением цельной или составной инвентарной трубы устраивают в соответствии с технологической схемой, представленной на рис. 9.

Примечания. 1. Технологические операции по вдавливанию цельной и составной инвентарной труб на рис. 9 не показаны, так как они аналогичны операциям на рис. 7 и 8.

2. В отдельных случаях при обосновании набивные сваи можно устроить без извлечения обсадных труб, при этом операцию г на рис. 9 не выполняют.

Рис. 9. Технологическая схема устройства набивных свай с применением цельной или составной инвентарной трубы:

а - монтаж установки над точкой погружения и вдавливание инвентарной трубы; б - устройство приемного бункера; в - подача мелкозернистого бетона в бункер с вибрированием и заполнение трубы бетоном; г - снятие бункера и поэтапное извлечение инвентарной трубы; д - бетонирование скважины с уплотнением бетона глубинным вибратором; е - устройство оголовка и его армирование; 1 - вдавливающая установка; 2 - гидродомкраты; 3 - секция инвентарной обсадной трубы; 4 - приемный бункер; 5 - вибратор; 6 - бетоновод; 7 - оси анкерных устройств; 8 - монолитный бетон; 9 - глубинный вибратор; 10 - арматурный каркас или отдельные стержни.

3.20. Нижний конец инвентарной трубы должен иметь клапан или теряемый башмак, предотвращающий попадание грунта и воды внутрь трубы при ее вдавливании и обеспечивающий выход бетонной смеси при подъеме трубы. Стык секций составной инвентарной трубы должен быть сборным.

3.21. Бетонирование сваи осуществляется мелкозернистым бетоном с осадкой конуса 15 - 18 см и должно вестись без перерыва. Бетонную смесь подают в объеме, равном объему скважины, через приемный бункер инвентарной трубы с помощью растворонасоса. Скважина заполняется бетонной смесью по мере извлечения трубы из скважины. Перерыв в бетонировании допускается на время, в течение которого подвижность бетонной смеси в бетоноводе не станет ниже 6 см (по конусу СтройЦНИИЛ), в противном случае скважину бракуют и засыпают песком. Если перерыв в бетонировании составил менее 2 ч, допускается повторное погружение трубы через бетонную смесь. Для повышения качества бетонирования и недопущения разрывов ствола верхняя секция инвентарной трубы должна быть снабжена вибратором.

3.22. После извлечения инвентарной трубы с клапаном, приемного бункера и бетоновода и при перерывах в бетонировании более 30 мин (а зимой до начала смерзания бетона) их следует тщательно промыть водой, которую сливают в специальную емкость с целью повторного использования ее для приготовления бетонной смеси или промывки.

3.23. Головы свай бетонируют в опалубке-оболочке или в инвентарной металлической опалубке после извлечения из скважины инвентарной трубы. При необходимости головы свай армируют стальным каркасом.

3.24. Сваи устраивают последовательно, одну непосредственно за другой при расстоянии между ними не менее 6 d (d - максимальный диаметр поперечного сечения сваи). Если расстояние между сваями составляет 3 d и менее, то к устройству каждой следующей смежной сваи можно приступить не ранее достижения бетоном предыдущей сваи прочности 2,5 МПа.

3.25. Отклонение свай от проектного положения в плане при отсутствии указаний проектной организации не должно превышать ± 3 см. Число свай, имеющих такое отклонение, не должно превышать 25 % их общего числа. Возможность использования свай с отклонением выше допустимого устанавливается проектной организацией.

3.26. Предельные отклонения длины многосекционных свай не должны превышать ± 25 см, размера их поперечного сечения ± 5 мм.

3.27. Тангенс угла наклона продольной оси сваи от проектного положения не должен превышать 1/100.

Контроль качества работ

3.28. При выполнении свайных работ с применением способа вдавливания следует вести журнал погружения или устройства свай.

3.29. При погружении свай вдавливанием необходимо контролировать следующие параметры процесса: усилия зажима и вдавливания, вертикальность установки сваи перед погружением и глубину погружения.

Для контроля усилий зажима и вдавливания в гидравлических сваевдавливающих установках обычно применяют манометры, измеряющие по давлению масла в гидроцилиндрах зажима и вдавливания соответственно боковую и осевую нагрузку на погружаемую сваю. Манометры должны пройти метрологическую поверку и иметь дополнительную шкалу усилий (кН, или тс) или таблицу пересчета давлений в усилия.

Установка УСВ-120 дополнительно оснащена самопишущим манометром МСИР-12Д, который позволяет вести автоматическую запись на диаграммной ленте усилия вдавливания в зависимости от глубины погружения сваи*.

* Возможно применение и других самопишущих приборов. Глубину погружения сваи определяют с помощью ходографов различных типов.

3.30. Для каждой погружаемой вдавливанием сваи необходимо вести непрерывный контроль усилия вдавливания и глубины погружения. Результаты измерений заносят в журнал свайных работ, после чего по ним строят графики зависимости усилия вдавливания от глубины погружения свай. При использовании самопишущих приборов для контроля усилия вдавливания графики не строят, а к журналу свайных работ прилагают диаграммную ленту прибора с записью изменения усилия вдавливания для каждой сваи.

3.31. Контролю усилия вдавливания следует уделять особое внимание на стадии прохождения сваей слоев (прослоек) плотных грунтов и на конечной стадии погружения (10 - 20 см до проектной отметки).

При прохождении плотных грунтов может оказаться, что сопротивление погружению превышает максимальное усилие вдавливания, которое обеспечивает установка**. В этом случае погружение необходимо прекратить, извлечь сваю и применить один из способов снижения сопротивления погружению в соответствии с п. 3.9.

** Для установки треста № 101 в этом случае целесообразно увеличить пригруз.

На конечной стадии погружения усилие вдавливания следует измерять по возможности тщательно, чтобы с достаточной степенью точности оценить несущую способность погруженной сваи по конечному усилию вдавливания.

3.32. Фактическая несущая способность свай, погружаемых вдавливанием,

                                                  (4)

где  - конечное усилие вдавливания сваи (на последних 10 см погружения), определяемое по манометру гидросистемы вдавливания установки в процессе погружения свай;

kv - коэффициент, учитывающий влияние скорости вдавливания сваи на усилие вдавливания; при скорости вдавливания до 3 м/мин принимают kv = 1;

kT - коэффициент «засасывания», учитывающий влияние процессов стабилизации сопротивления забивных свай в конце периода интенсивного упрочнения Т;

для пылевато-глинистых грунтов

                                                   (5)

где b - эмпирический коэффициент, b = 16,5;

Jp, JL - средневзвешенные значения по длине сваи соответственно числа пластичности и показателя текучести грунта в долях единицы;

для мелких и пылеватых песчаных грунтов

                                                    (6)

где c - эмпирический коэффициент, c = 0,02;

Kф - коэффициент фильтрации, м/сут.

3.33. При работах по вдавливанию свай вблизи существующего здания необходимо вести постоянный инженерный контроль его осадок.

3.34. Качество свай, устраиваемых с помощью установок УБПС и УВС, следует контролировать пооперационно в процессе их изготовления.

3.35. При устройстве свай постоянному контролю подлежат: усилие погружения инвентарной трубы (или сборных железобетонных элементов), подвижность и расход бетонной смеси, усилие извлечения трубы, температура бетонной смеси при ведении работ в зимних условиях.

3.36. Подвижность бетонной смеси проверяют в соответствии с ГОСТ 5802-86 [16] один раз в начале смены и каждый раз, когда изменяют состав бетонной смеси или ее подвижность визуально представляется отличной от требуемой. Бетонная смесь при отклонении подвижности от требуемой более чем на 2 см погружения конуса к укладке не допускается.

3.37. Заполнение скважины бетонной смесью при устройстве набивных свай контролируют по объему уложенного бетона.

3.38. При вынужденных перерывах в процессе изготовления одной сваи их продолжительность фиксирует в журнале, а также описывают условия, при которых продолжены работы по бетонированию сваи.

3.39. Для контроля качества бетонной смеси один раз в смену и каждый раз при изменении ее состава в процессе изготовления сваи следует отбирать 6 контрольных образцов согласно ГОСТ 10180-90 [21] и испытывать их на сжатие после 7 и 28 сут нормального хранения. При изготовлении многосекционных свай кубики отбирают после изготовления каждых 200 элементов. Качество бетона можно проверять и неразрушающим методом с составлением соответствующего акта.

4. ТЕХНИКА БЕЗОПАСНОСТИ

Общие положения

4.1. Специальные строительные работы по погружению свай с применением способа вдавливания должны выполняться в соответствии с настоящим РТМ, государственными стандартами ССБТ, СНиП III-4-80* [20], «Санитарными правилами организации технологических процессов и гигиеническими требованиями к производственному оборудованию» [22], требованиями бывш. Госгортехнадзора СССР, Госэнергонадзора СССР, Главного управления пожарной охраны МВД СССР, нормативными и нормативно-техническими документами бывш. Минмонтажспецстроя СССР, техническими условиями на применяемые изделия, материалы, вещества, оборудование, приспособления, инструменты и т.п.

4.2. В целях обеспечения сохранности существующих зданий и сооружений, устойчивости территории (откосов, склонов), вблизи которых предполагается строительство, свайные работы следует выполнять строго в соответствии с проектом производства работ, где должны быть учтены все особенности данной строительной площадки, а также опасные и вредные факторы согласно ГОСТ 12.0.003-74 [23].

Требования к строительной площадке и рабочим местам

4.3. Строительная площадка должна отвечать СНиП III-4-80* [20] и СНиП 2.09.04-87 [24], противопожарным нормам и правилам (см. пп. 4.29 - 4.33 настоящего РТМ), нормам и правилам электробезопасности (см. пп. 4.24 - 4.28 РТМ), а также другим нормативным документам, учитывающим специфику выполняемых работ.

4.4. Границы опасных зон, в пределах которых может возникнуть опасность падения предметов с высоты, должны быть установлены в соответствии со СНиП III-4-80*.

4.5. Строительная площадка, проезды и проходы, а также рабочие места в темное время суток должны быть освещены. Тип дорожного покрытия и толщину слоя подсыпки устанавливают в проекте производства работ.

4.6. Не допускается:

производить работы на двух и более ярусах по одной вертикали, а также на любой высоте над работающим оборудованием при отсутствии промежуточного настила;

работать на высоте более 1,3 м в местах, где невозможно устройство подмостей, ограждений, без предохранительных поясов, закрепленных к надежным опорам.

Требования к складированию, хранению и транспортировке материалов, изделий, элементов грузоподъемного, бурового и сваевдавливающего оборудования и технологической оснастки

4.7. Складировать и хранить материалы, изделия, элементы строительных машин и технологической оснастки следует в соответствии со СНиП III-4-80* [20], ГОСТ 12.3.009-76* [25], а также требованиями безопасности, изложенными в стандартах и технических условиях на оборудование конкретного вида.

4.8. Строительные изделия (сваи, шпунт, железобетонные плиты), а также элементы технологического оборудования и оснастки, складируемые на территории строительной площадки, необходимо размещать за пределами опасных зон.

4.9. Складирование должно осуществляться на спланированных и выровненных площадках. При этом следует принимать меры против самопроизвольного раскатывания или осыпания складируемых материалов (изделий) - например, песка, щебня или цемента.

4.10. Материалы, содержащие вредные или взрывоопасные растворители, необходимо хранить в герметически закрытой таре в специальном помещении.

4.11. Транспортирование, хранение, подъем и установку на место погружения свай надлежит выполнять, принимая меры против их повреждения, при этом кантовка свай, перемещение их волоком не допускается.

Требования к персоналу, допускаемому к выполнению свайных работ, и к средствам защиты работающих

4.12. К обслуживанию грузоподъемных машин и технологической оснастки должны допускаться лица, знающие должностные и эксплуатационные инструкции, устройство машин и оснастки, обученные, аттестованные и имеющие удостоверения (см. «Правила устройства и безопасной эксплуатации грузоподъемных кранов» [26]).

4.13. К обслуживанию несамоходных электрогидравлических сваевдавливающих установок допускается лица не моложе 18 лет с опытом свайных работ, знакомые с устройством и работой установки, обученные безопасным методам работы на электрогидравлических установках и имеющие аттестационное удостоверение.

4.14. Средства защиты в каждом конкретном случае следует выбирать с учетом требований для данного технологического процесса или вида работ.

Запрещается применение средств защиты, на которые не имеется утвержденной в установленном порядке технической документации, и приступать к работе без спецодежды и индивидуальных средств защиты, соответствующих характеру выполняемой работы, в спецодежде с длинными рукавами, распущенными полами и свободными концами ремней, шарфов и т.д.

Требования к материалам, изделиям, технологическому оборудованию, оснастке и технологическим процессам при погружении свай вдавливанием

4.15. Материалы и изделия, применяемые при свайных работах, должны соответствовать стандартам, техническим нормам и правилам, иметь сертификаты и паспорта.

4.16. Для вдавливания следует применять сваи согласно стандартам. Отбраковку выполняют на заводах-изготовителях, а входной контроль - на строительной площадке.

4.17. Использование в производстве новых химических материалов (противокоррозионных, смазочных и пр.) необходимо согласовать с санитарной службой.

4.18. Свайные работы следует выполнять с использованием сваевдавливающего, бурового, подъемно-транспортного оборудования и технологической оснастки, отвечающих СНиП III-4-80* [20], «Правилам устройства и безопасной эксплуатации грузоподъемных кранов» [26], ГОСТ 12.2.003-91 [27], ГОСТ 12.3.009-76* [25] и соответствующим техническим условиям.

4.19. На кабине сваевдавливающих установок, буровых станков, кранового оборудования, работающих на площадке, должны быть надписи, указывающие тип (марку), регистрационный номер, максимальную грузоподъемность, дату следующего испытания.

4.20. В кабине сваевдавливающих установок, буровых станков, кранов вывешивают список поднимаемых грузов (с указанием их массы), который выдают на руки крановщикам и стропальщикам.

4.21. Перемещение, монтаж и работу сваевдавливающих установок, буровых станков и кранов вблизи выемок (котлованов, траншей, канав) с неукрепленными откосами разрешаются только за пределами призмы обрушения грунта на расстоянии, определенном в проекте производства работ. При отсутствии таких указаний допускаемое расстояние от бровки откоса до ближайших опор машин следует принимать по табл. 3 СНиП III-4-80* [20].

4.22. После монтажа сваевдавливающей установки на строительной площадке перед началом выполнения свайных работ установку испытывают и все выявленные неисправности устраняют.

4.23. Машинист-оператор сваевдавливающей установки обязан:

перед началом работы - 1) убедиться в надежном креплении узлов и деталей машины, проверить все электрооборудование, обращая особое внимание на заземление питающего кабеля и исправность изоляции электропроводки; 2) проверить наличие и исправность резиновых перчаток и коврика, а также исправность гидрооборудования и убедиться в отсутствии подтекания масла в соединениях гидросистемы;

при работе на установке - внимательно следить за сигналами, подаваемыми обслуживающим персоналом, все операции по перемещению установки, загрузке свай, их зажиму и вдавливанию выполнять плавно, без резкого включения и отключения механизмов;

по окончании работы - привести все механизмы установки в исходное положение, выключить привод и обесточить установку.

Требования электробезопасности и безопасности при работе с гидроприводом*

* В настоящем РТМ рассмотрены сваевдавливающие установки с гидравлическим рабочим органом, получающим энергетическое питание от источников электроэнергии, поэтому уделяется большое внимание правилам техники безопасности при работе с гидроприводом и электрооборудованием.

4.24. Электробезопасность на строительной площадке и участках работ должна обеспечиваться в соответствии с ГОСТ 12.1.013-78 [28], ГОСТ 12.3.003.86 [29]. К обслуживанию электроустановок допускаются лица, знающие должностные и эксплуатационные инструкции, обученные, аттестованные согласно «Правилам технической эксплуатации электроустановок потребителей, Правилам техники безопасности при эксплуатации электроустановок потребителей» [30], утвержденным бывш. Госэнергонадзором, и имеющие удостоверение установленного образца.

4.25. Лица, обслуживающие электроустановки, должны быть обеспечены защитными средствами в соответствии с «Правилами» [30], а также обучены и аттестованы по квалификационной группе техники безопасности согласно ГОСТ 12.1.013-78 [28].

4.26. Всех лиц, занятых на строительно-монтажных работах, обучают безопасным приемам прекращения действия электрического тока на человека и оказания первой доврачебной помощи при электротравме.

4.27. Сваевдавливающую установку необходимо заправить смазочными материалами, а гидросистему гидропривода - рабочей жидкостью согласно инструкции по эксплуатации установки.

Не допускается применение для заправки установки масел и рабочей жидкости, не соответствующих государственным стандартам, а также инструкции по эксплуатации установки.

4.28. Предохранительные клапаны гидрооборудования после регулировки должны быть опломбированы с обязательной отметкой в формуляре.

Требования пожарной безопасности

4.29. Пожарную безопасность на строительной площадке, участках работ и рабочих местах необходимо обеспечивать в соответствии с «Правилами пожарной безопасности при производстве строительно-монтажных работ» [31] и «Правилами пожарной безопасности при производстве сварочных и других огневых работ на объектах народного хозяйства» [32], а также согласно ГОСТ 12.1.004-91 [33].

4.30. Все мероприятия по пожарной безопасности строительной площадки следует предусмотреть в проекте производства работ.

4.31. Ответственность за выполнение мер пожарной безопасности на строительной площадке возлагается на ИТР, руководящих производством работ (мастер, прораб).

4.32. Испытания и эксплуатация привода сваевдавливающей установки и ее устройств должны производиться при строгом соблюдении «Правил» [31].

4.33. Запрещается: 1) пользоваться открытым огнем на установке и в непосредственной близости от нее во время заправки гидросистемы рабочей жидкостью; 2) хранить на установке легковоспламеняющиеся вещества и промасленную ветошь; 3) эксплуатировать установку без исправного огнетушителя.

ПРИЛОЖЕНИЕ 1

КРАТКОЕ ОПИСАНИЕ И ТЕХНИЧЕСКАЯ ХАРАКТЕРИСТИКА СВАЕВДАВЛИВАЮЩИХ УСТАНОВОК ТРЕСТА № 101, УСВ-120 И УСВ-120М

Установки треста № 101 и УСВ-120 являются установками гравитационного типа, так как реактивное усилие, возникающее при вдавливании свай, воспринимается собственным весом этих установок. Они имеют гидравлический рабочий орган, насосные станции которого приводятся в действие электродвигателями.

Установка треста № 101 (рис. 10) несамоходная и обеспечивает возможность погружения сваи сечением 35Ч35 и 40Ч40 см с максимальным усилием до 2000 кН (200 тс) при длине цельных свай (или звеньев составных свай) 6 - 16 м.

Основанием установки является грузовая (балластная) платформа из двух пространственных решетчатых балок 1, имеющих площадки для размещения съемного штучного пригруза 2 и кронштейны 3 для крепления рабочего органа с помощью пальцев 4.

Рабочий орган установки гидравлический однотраверсный, циклического действия, представляет собой траверсу, состоящую из верхней и нижней балок, на которых смонтированы механизмы зажима и вдавливания сваи.

Сваю 7 пропускают через проемы верхней и нижней балок и зажимают посредством гидродомкрата 10, расположенного горизонтально на нижней балке 11 и передающего усилие зажима через рычаг 9 на подвижную плиту (щеку), которая прижимает сваю к стенке проема нижней балки.

Свая вдавливается двумя гидродомкратами 5, гидроцилиндры которых смонтированы вертикально и параллельно друг другу на верхней балке 6, а штоки соединены посредством нижней балки 11. При синхронном движении штоков гидродомкратов 5 вниз производится вдавливание сваи; а при движении их вверх (если освобождена свая) - холостой ход.

Установка оснащена двумя маслонасосными станциями, предназначенными для приведения в действие механизмов зажима и вдавливания сваи. Управление установкой осуществляют с пульта 12, где находятся гидрораспределители с рычагами управления механизмами зажима и вдавливания свай, а также манометры контроля усилий зажима и вдавливания.

Все грузовые операции по монтажу, демонтажу установки и загрузке свай выполняют с помощью крана, грузоподъемность которого должна быть не менее 10 т, а высота подъема крюка зависит от длины погружаемых свай (при длине свай 16 м, если они не составные, она должна достигать не менее 20 м). Установка может быть использована и для извлечения погруженных свай в случае, если отметки их верха расположены на 1,0 - 1,5 м выше уровня строительной площадки.

Установку обслуживает бригада из трех человек: машиниста-оператора, машиниста крана и стропальщика. Машинист-оператор руководит загрузкой свай, управляет установкой во время погружения свай, а при перемещении ее с одной точки на другую (или с объекта на объект) вместе со стропальщиком, выполняет демонтаж и монтаж установки. Стропальщик участвует в такелажных работах по загрузке свай, монтажу и демонтажу установки, а также корректирует работу машиниста-оператора и крановщика.

Рис. 10. Схема сваевдавливающей установки треста № 101:

а, б - при минимальном расстоянии от вдавливаемой сваи до стены соответственно II и I существующего здания; 1 - пространственная балка грузовой (балластной) платформы; 2 - съемный пригруз (балласт); 3 - кронштейн; 4 - палец; 5 - гидродомкрат вдавливания сваи; 6, 11 - соответственно верхняя и нижняя балка рабочего органа установки; 7 - свая; 8 - маслонасосная станция; 9 - рычаг; 10 - гидродомкрат зажима сваи; 12 - пульт управления; Б, В, Г - размеры установки в рабочем положении - соответственно длина, высота, ширина.

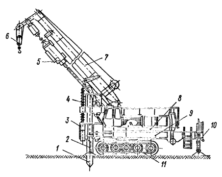
Установка УСВ-120 - самоходная, выполнена на базе гусеничного электрогидравлического экскаватора ЭО-6122 Воронежского экскаваторного завода (рис. 11, см. стр. 41, 42). Установка предназначена для вдавливания свай сечением 30×30; 35×35 и 40×40 см, с максимальным усилием 850 кН (85 тс).

Мачта установки сборная, состоит из трех секций. Потребная длина мачты в сборе определяется длиной сваи (секции сваи), а также стесненностью условий по высоте (например, при работе в помещении). Установку обслуживает бригада из четырех человек: машиниста-оператора УСВ-120, машиниста крана и двух стропальщиков. Установку можно разворачивать на месте вокруг своей оси за счет вывешивания ее на аутригерах.

Для обеспечения вертикальности погружения свай установка УСВ-120 оснащена прибором «Вертикаль-20Б», указывавшим машинисту-оператору угол наклона мачты в четырех направлениях: «вперед - назад», «вправо - влево». Прибор служит для контроля заданного углового положения поворотной опоры с механизмом зажима сваи и мачты.

Рис. 11. Схема сваевдавливающей установки УСВ-120:

а, б - при минимальном расстоянии от вдавливаемой сваи до стены соответственно II и I существующего здания; 1 - ходовая тележка экскаватора ЭО-6122; 2 - рама; 3 - аутригер боковой; 4 - механизм зажима; 5 - гидроцилиндр вдавливания сваи; 6 - мачта; 7 - свая; 8 - пригрузы; 9 - аутригер задний; А - расстояние от оси вдавливания сваи до центра вращения базовой тележки; Б - длина установки; В, В¢ - высота установки в рабочем положении с мачтой соответственно из трех и одной секций; Г, Г¢ - ширина установки в рабочем положении соответственно по крайним точкам аутригеров и по гусеницам; Д - высота установки до крыши кабины; Ж - ширина установки по осям боковых аутригеров.

Установка УСВ-120М является модифицированным вариантом УСВ-120, имеющим ряд отличий (рис. 12).

1. В комплекте установки предусмотрен крановый подкос (стрела) с крюк-блоком. Стрела может быть смонтирована на передней части рамы установки и предназначена для захвата и подачи свай в рабочий орган установки, а также выполнения других грузоподъемных операций. Наличие стрелы позволяет обходиться без вспомогательного крана. Наряду с этим крюк-блок можно анкеровать к любому подходящему анкеру для частичного восприятия реактивного усилия.

2. С целью снижения сопротивления грунта погружению свай установка оснащена буровым механизмом СО-2 с набором шнековых штанг для устройства лидерных скважин диаметром до 300 мм, глубиной до 21 м.

3. Кроме того, в комплекте установки имеется рычажный механизм зажима шпунта, позволяющий использовать установку для погружения и извлечения стального шпунта Ларсен-IV и Ларсен-V.

Рис. 12. Схема сваевдавливающей установки УСВ-120М:

1 - свая; 2 - аутригер боковой; 3 - механизм зажима свай; 4 - буровая штанга шнекового бура СО-2; 5 - вращатель шнека; 6 - крюк-блок; 7 - крановый подкос (стрела); 8 - энергетическая часть экскаватора ЭО-6122; 9 - сварная несущая рама; 10 - аутригер задний; 11 - гусеничная тележка экскаватора ЭО-6122.

В 1992 г. УСВ-120М изготовлена и используется на строительных объектах Санкт-Петербурга.

Основные технические характеристики УСВ-120М приведены ниже.

ОСНОВНЫЕ ТЕХНИЧЕСКИЕ ХАРАКТЕРИСТИКИ СВАЕВДАВЛИВАЮЩЕЙ УСТАНОВКИ КОНСТРУКЦИИ ТРЕСТА № 101

Размеры погружаемых свай:

 

сечение, см×см

35×35; 40×40

длина, м:

 

полная

До 32

секции составной сваи

Любая по ГОСТ 19804.0-78 [4]

Максимальное усилие вдавливания, кН (тс)

До 2000 (200)

Скорость вдавливания, м/мин

0,5

Способ передачи вдавливающего усилия на сваю и характеристика механизма зажима

Через две боковые грани сваи посредством щекового зажима рычагом от гидродомкрата (гидродомкрат типа ГД-170/1120 с укороченным штоком)

Тип механизма вдавливания и его характеристика

Гидравлический однотраверсный циклического действия (два спаренных гидродомкрата типа ГД-170/1120)

Способ восприятия реактивного усилия при вдавливании сваи

Установка гравитационного типа с балластной платформой и съемным пригрузом (балластом)

Характеристика пригруза и его масса, т

Инвентарные чугунные болванки массой по 5 т, применяемые для статических испытаний (общая масса до 170 т)

Общая масса установки, т

До 200

Габаритные размеры установки в рабочем положении, м:

 

Б

10,0

В

2,4

Г

4,5

Е

1,25

Е¢

5,05

Способ передвижения установки по строительной площадке

Несамоходная, перемещение краном с предварительным демонтажем

Общая мощность электродвигателей, кВт

17

ОСНОВНЫЕ ТЕХНИЧЕСКИЕ ХАРАКТЕРИСТИКИ СВАЕВДАВЛИВАЮЩИХ УСТАНОВОК УСВ-120 и УСВ-120М

Размеры погружаемых свай:

УСВ-120

УСВ-120М

сечение, см×см

30×30; 35×35; 40×40

30×30; 35×35; 40×40

длина, м

4 - 16

4 - 14

Максимальное усилие вдавливания, кН

860

1000

Скорость вдавливания, м/мин

2,0

2,0

Масса установки, т

105

117

Удельное давление гусениц установки на грунт, МПа

0,159

0,180

Способ передвижения установки по строительной площадке

Самоходная, на гусеничном ходу (на базе экскаватора ЭО-6122)

Максимальная скорость передвижения самоходом, км/ч

1,5

1,5

Максимальная потребляемая мощность, кВт

150

150

Габаритные размеры установки в рабочем положения, м:

 

 

А

2,30

2,80

Б

8,80

9,50

В

13,36

16,80

В¢

7,26

-

Г

8,95

-

Г¢

3,80

-

Д

3,80

3,80

Ж

7,55

-

Е

1,00

1,00

Е¢

4,50

-

Тип и марка погружаемого шпунта

-

Стальной шпунт Ларсен-IV и Ларсен-V

Характеристики бурового оборудования:

 

 

тип и марка бурового механизма

-

Шнековый бур СО-2

максимальный диаметр бурения, мм

-

300

максимальная глубина бурения, м

-

21

ПРИЛОЖЕНИЕ 2

ОСНОВНЫЕ ТЕХНИЧЕСКИЕ ХАРАКТЕРИСТИКИ МАЛОГАБАРИТНЫХ ВДАВЛИВАЮЩИХ УСТАНОВОК

Показатель

Тип установки

УБПС-3а

УБПС-300

УБПС-350

УБПС-640

УБПС-660

УБПС-660Т

УВС-800

Рабочее давление в гидросистеме, МПа

10

10

10

12

12

12

12

Масса установки, кг

700

1300

900

1200

1200

1200

1450

Масса установки с маслонасосной станцией, кг

850

1450

1050

1350

1350

1350

1600

Максимальный диаметр или размер погружаемого элемента, мм

160

160

200

160

160

200

200

Максимальная длина погружаемого элемента, мм

800

800

800

800

1000

1000

1000

Усилие, кН:

 

 

 

 

 

 

 

погружения

250

300

350

640

660

660

800

извлечения

200

280

320

600

600

600

700

Шаг погружения (извлечения), мм

250

300

630

280

250

250

500

Габариты, мм:

 

 

 

 

 

 

 

длина

-

800

650

-

520

-

1480

ширина

-

600

200

-

520

-

1000

высота

-

1300

1050

-

900

-

1850

Количество гидроцилиндров

2

2

2

2

6

6

2

Ход поршня, мм

250

400

630

250

250

250

570

Приложение усилия погружения элемента

По боковой поверхности

Через торец

По боковой поверхности

Через торец

ПРИЛОЖЕНИЕ 3

ТЕХНИЧЕСКАЯ ХАРАКТЕРИСТИКА ЭЛЕКТРИЧЕСКОГО СВЕРЛИЛЬНОГО СТАНКА ИЭ-1805

Диаметр просверливаемых отверстий, мм

100; 125; 160

Глубина сверления, мм

380

Глубина сверления с переходной штангой, мм

До 1000

Частота вращения шпинделя, об/мин

670

Подача вручную, мм/мин

40 - 60

Расход охлаждающей воды, л/мин

4 - 6

Габариты, мм

550×710×1600

Масса, кг

130

ПРИЛОЖЕНИЕ 4

СПИСОК НОРМАТИВНОЙ ЛИТЕРАТУРЫ

1. СНиП 1.02.07-87. Инженерные изыскания для строительства. - М.: ЦИТП Госстроя СССР, 1988.

2. Указания по устройству фундаментов около существующих зданий и сооружений. - Л.: ЛенНИИпроект, 1960.

3. Временные указания по устройству фундаментов рядом с существующими зданиями и сооружениями в г. Москве. - М.: Моспроект-1 ГлавАПУ Мосгорисполкома; НИИОСП им. Н. М. Герсеванова Госстроя СССР, 1985.

4. ГОСТ 19804.0-78. Сваи забивные железобетонные. Общие технические условия. - М.: Изд-во стандартов, 1981.

5. ГОСТ 19804.4-78*. Сваи забивные железобетонные квадратного сечения без поперечного армирования ствола. Конструкция и размеры. - М.: Изд-во стандартов, 1983.

6. ГОСТ 19804.2-79*. Сваи забивные железобетонные цельные сплошного квадратного сечения с поперечным армированием ствола с напрягаемой арматурой. Конструкция и размеры. - М.: Изд-во стандартов, 1984.

7. СНиП 3.09.01-85. Производство сборных железобетонных конструкций и изделий. - М.: ЦИТП Госстроя СССР, 1988.

8. СНиП 2.03.01-84*. Бетонные и железобетонные конструкции. - М.: ЦИТП Госстроя СССР, 1989.

9. СНиП 3.02.01-87. Земляные сооружения, основания и фундаменты. - М.: ЦИТП Госстроя СССР, 1988.

10. СНиП 2.03.11-85. Защита строительных конструкций от коррозии. - М.: ЦИТП Госстроя СССР, 1986.

11. Руководство по применению химических добавок в бетоне. - М.: Стройиздат, 1980.

12. ГОСТ 10178-85. Портландцемент и шлакопортландцемент. Технические условия. - М.: Изд-во стандартов, 1988.

13. ГОСТ 10268-80. Бетон тяжелый. Технические требования к заполнителям. - М.: Изд-во стандартов, 1981.

14. СНиП 3.03.01-87. Несущие и ограждающие конструкции. - М.: ЦИТП Госстроя СССР, 1988.

15. ГОСТ 23732-79. Вода для бетонов и растворов. Технические условия. - М.: Изд-во стандартов, 1979.

16. ГОСТ 5802-86. Растворы строительные. Методы испытаний. - М.: Изд-во стандартов, 1986.

17. СНиП 2.02.03-85. Свайные фундаменты. - М.: ЦИТП Госстроя СССР, 1986.

18. ГОСТ 5686-78. Сваи. Методы полевых испытаний. - М.: Изд-во стандартов, 1980.

19. ВСН 490-87. Проектирование и устройство свайных фундаментов и шпунтовых ограждений в условиях реконструкции промышленных предприятий и городской застройки. - М.: ЦБНТИ/Минмонтажспецстрой СССР, 1988.

20. СНиП III-4-80*. Техника безопасности в строительстве. - М.: Стройиздат, 1989.

21. ГОСТ 10180-90. Бетоны. Методы определения прочности по контрольным образцам. - М.; Изд-во стандартов, 1990.

22. Санитарные правила организации технологических процессов и гигиенические требования к производственному оборудованию. 1042-73. - М.: Минздрав СССР, 1974.

23. ГОСТ 12.0.003-74. ССБТ. Опасные и вредные производственные факторы. Классификация. - М.: Изд-во стандартов, 1983.

24. СНиП 2.09.04-87. Административные и бытовые здания. - М.: ЦИТП Госстроя СССР. 1988.

25. ГОСТ 12.3.009-76*. Работы погрузочно-разгрузочные. Общие требования безопасности. - М.: Изд-во стандартов, 1983.

26. Правила устройства и безопасной эксплуатации грузоподъемных кранов. - М.: Металлургия, 1981.

27. ГОСТ 12.2.003-91. Оборудование производственное. Общие требования безопасности. - М.: Изд-во стандартов, 1991.

28. ГОСТ 12.1.013-78. ССБТ. Строительство. Электробезопасность. Общие требования. - М.: Изд-во стандартов, 1979.

29. ГОСТ 12.3.003-86. Работы электросварочные. Требования безопасности. - М.: Изд-во стандартов, 1987.

30. Правила технической эксплуатации электроустановок потребителей. Правила техники безопасности при эксплуатации электроустановок потребителей. - М.: Энергоатомиздат, 1990.

31. Правила пожарной безопасности при производстве строительно-монтажных работ. - М.: Стройиздат, 1980.

32. Правила пожарной безопасности при производстве сварочных и других огневых работ на объектах народного хозяйства. - М.: Стройиздат, 1980.

33. ГОСТ 12.1.004-91. Пожарная безопасность. Общие требования. - М.: Изд-во стандартов, 1991.



© 2013 Ёшкин Кот :-)