Информационная система
«Ёшкин Кот»

XXXecatmenu

ГОСУДАРСТВЕННЫЙ СТАНДАРТ СОЮЗА ССР

ТРУБЫ ПОЛИЭТИЛЕНОВЫЕ КАНАЛИЗАЦИОННЫЕ И ФАСОННЫЕ ЧАСТИ К НИМ

Конструкция

Polyethylene waste - pipes and fittings.
Construction

ГОСТ
22689.2-89

Дата введения 01.10.89

Несоблюдение стандарта преследуется по закону

Настоящий стандарт распространяется на трубы и фасонные части к ним (далее - изделия) из полиэтилена низкого (ПНД) и высокого (ПВД) давления, предназначенные для систем внутренней канализации зданий, и комплектующие детали к ним.

Технические требования, правила приемки, методы испытания, маркировка, упаковка, транспортирование, хранение и гарантии изготовителя труб и фасонных частей должны соответствовать указанным в ГОСТ 22689.0.

1. ТРУБЫ

1.1. Канализационные трубы следует изготовлять прямыми отрезками длиной 2; 3; 5,5; 6 и 8 м с размерами, указанными на черт. 1 и в табл. 1.

По согласованию изготовителя с потребителем допускается изготовление труб другой длины.

Черт.1

Таблица 1

мм

d

S

Номин.

Пред. откл.

ПНД

ПВД

Номин.

Пред. откл.

Номин.

Пред. откл.

40,0

+0,5

2,0

+0,5

3,0

+0,6

50,0

+0,5

3,0

+0,6

3,0

+0,6

90,0

+0,9

3,0

+0,6

4,3

+0,9

110,0

+1,0

3,5

+0,6

5,2

+1,0

Примечания:

1. Допускается до 01.01.91 по согласованию с потребителем изготовление труб номинальным наружным диаметром 48,6 и 107,5 мм по утвержденной конструкторской документации с предельными отклонениями от размеров, указанными для изделий номинальным диаметром 50 и 110 мм.

2. Теоретическая масса труб приведена в табл. 22 приложения.

Пример условного обозначения трубы канализационной наружным диаметром 110 мм длиной 6000 мм из ПНД:

Труба ТК 110- 6000 -ПНД ГОСТ 22689.2

2. РАСТРУБЫ И ГЛАДКИЕ КОНЦЫ ФАСОННЫХ ЧАСТЕЙ

2.1. Конструкция и размеры раструбов и гладких концов фасонных частей типа Кк должны соответствовать указанным на черт. 2 и в табл. 2, типа Сс - на черт. 3 и в табл. 3, типа Рр - на черт. 4 и в табл. 4

Черт. 2

Таблица 2

мм

d

D

D1

S

Номин.

Пред.

Номин.

Пред.

Номин.

Пред.

ПНД

ПВД

Номин.

Пред. откл.

Номин.

Пред. откл.

50,0

+0,5

50,8

+0,6

60,0

+0,6

3,0

+0.6

3,0

+0,6

90,0

+0,9

91,2

+0.9

101,6

+0,9

3,0

+0,6

4,3

+0,9

110,0

+1,0

111,4

+1,0

121,7

+1,0

3,5

+0,6

5.2

+1,0

Продолжение табл. 2

d

l

l1

l2

l3

r

l4, не менее

50,0

41

11

32

6

2,0

8

90,0

74

14

62

7

2,5

8

110?0

74

14

62

7

2,5

9

 

Черт.3

Таблица 3

мм

d

D

d1

S

l

l1

Номин.

Пред. откл.

Номин.

Пред. откл.

Номин

ПНД

ПВД

Номин.

Пред. откл.

Номин.

Пред. откл.

Номин.

Пред. откл.

40,0

+0,5

39,5

-0,4

38,0

3,0

+0.6

3,0

+0,6

15

+5

4

50,0

+0,5

49,5

-0,4

48,0

3,0

+0,6

3,0

+0,6

15

+5

4

90,0

+0,9

89,4

-0,5

87,0

3,0

+0,6

4,3

+0,9

22

+8

5

110,0

+1,0

109,3

-0,5

107,0

3,5

+0,6

5.2

+1,0

26

+9

5

 

Черт. 4

Таблица 4

мм

d

D

D1

1, не менее

S

Номин.

Пред.

Номин.

Пред.

ПНД

ПВД

Номин.

Пред. откл.

Номин.

Пред. откл.

40,0

+0,5

40,6

+0,5

СпУп 50´3

25

3,0

+0,6

3,0

+0,7

50,0

+0,5

50,6

+0,5

СпУп 60´3

25

3,0

+0,6

3,0

+0,7

90,0

+0,9

91,0

+0,7

СпУп 110´5

45

3,0

+0,6

4,3

+0.9

110,0

+1,0

111,2

+0,8

СпУп 130´5

55

3,5

+0,6

5,2

+1,0

Примечания:

1. Допускается до 01.01.91 по согласованию с потребителем изготовление фасонных частей для труб номинальным наружным диаметром 48,6 и 107,5 мм по утвержденной конструкторской документации с отклонениями от размеров, указанными для изделий диаметром 50 и 110мм.

2. Теоретическая масса фасонных частей приведена в табл. 23 приложения.

3. ПАТРУБКИ

3.1. Патрубки следует изготовлять типов:

КС - с раструбами для соединения уплотнительным кольцом и сваркой (черт.5);

Кс - с раструбом для соединения уплотнительным кольцом и гладким концом для соединения сваркой (черт. 6);

Рс - с раструбом для соединения гайкой и гладким концом для соединения сваркой (черт. 7):

СР - с раструбом для соединения сваркой и раструбом для соединения гайкой (черт. 8),

Патрубок типа КС

Черт.5

Патрубок тип Кс

Черт. 6

Патрубок типа Рс

Черт.7

Патрубок типа СР

Черт.8

3.2. Размеры патрубков должны соответствовать указанным в табл. 5

Таблица 5

мм

d

L, не менее, для патрубков типов

КС

Кс

Рc

СР

40,0

-

-

45

-

50,0

61

65

45

45

90,0

100

100

72

72

110,0

105

110

86

86

Пример условного обозначения патрубка типа КС для труб диаметром 50 мм из ПНД:

Патрубок П 50К ´ 50С - ПНД ГОСТ 22689.2

4. ПАТРУБКИ КОМПЕНСАЦИОННЫЕ

4.1. Компенсационные патрубки следует изготовлять типов:

Кк - с компенсационным раструбом и гладким концом для соединения уплотнительным кольцом (черт. 9);

Компенсационный патрубок типа Кк

Черт.9

КС - с компенсационным раструбом и раструбом для соединение сваркой (черт. 10);

Кс - с компенсационным раструбом и гладким концом для соединения сваркой (черт. 11).

Компенсационный патрубок типа КС

Черт.10

 

Компенсационный патрубок типа Кс

Черт. 11

4.2. Размеры компенсационных патрубков различных типов должны соответствовать указанным в табл. 6.

Таблица 6

мм

d

l

L, не менее, для патрубков типов

Кк

Кс

КС

50,0

150

197

175

170

90,0

110,0

230

312

270

261

Пример условного обозначения компенсационного патрубка типа Кс из ПНД для соединения труб диаметром 110 мм:

Патрубок ПК 110K ´ 110с - ПНД ГОСТ 22689.2

5. ПАТРУБКИ ПЕРЕХОДНЫЕ

5.1. Переходные патрубки следует изготовлять типов:

кК - с гладким концом и раструбом для соединения уплотнительным кольцом (черт. 12);

Патрубок типа кК

Черт.12

сК - с гладким концом для соединения сваркой и раструбом для соединения уплотнительным кольцом (черт. 13);

сС - с гладким концом и раструбом для соединения сваркой (черт. 14);

сР - с гладким концом для соединения сваркой и раструбом для соединения гайкой (черт. 15).

Патрубок типа сК

Черт.13

Патрубок типа сС

Черт.14

Патрубок типа сР

Черт.15

 

5.2. Размеры переходных патрубков должны соответствовать указанных в табл.7.

Таблица 7

мм

d

d1

l, не менее

L, не менее для патрубков типов

сК

сС

сР

кК

50,0

40,0

34

-

61

74

-

90,0

50,0

42

108

82

92

145

110,0

50,0

49

120

94

104

152

110,0

90,0

50

154

102

125

186

Пример условного обозначения переходного патрубка типа кК из ПНД для соединения труб диаметрами 90 и 50 мм:

Патрубок ПП 90к ´ 50К - ПНД ГОСТ 22689.2

6. ПАТРУБКИ ПРИБОРНЫЕ

6.1. Приборные патрубки следует изготовлять следующих типов:

Ук - с раструбом для присоединения к выпуску унитаза или к выпуску чугунного трапа и гладким концом для соединения уплотнительным кольцом (черт. 16);

Патрубок типа Ук

Черт.16

УС - с раструбом для присоединения к выпуску унитаза или к выпуску чугунного трапа и раструбом для соединения сваркой (черт. 17).

Патрубок типа УС

Черт.17

6.2. Размеры приборных патрубков должны соответствовать указанным в табл. 8.

Таблица 8

мм

d

D

l

l1

l2

S

Номин.

Пред. откл.

ПНД

ПВД

Номин.

Пред. откл.

Номин.

Пред. откл.

50,0

71

+0,6

60

50

6

3,0

+0,6

3,0

+0,6

90,0

112

+1,0

60

113

8

3,0

+0,6

4,3

+0,9

110,0

112

+1,0

75

113

8

3,5

+0,6

5,2

+1,0

Пример условного обозначения приборного патрубка типа Ук диаметром 110 мм из ПНД для присоединения к выпуску унитаза:

Патрубок ППр Ук ´ 110к- ПНД ГОСТ 22689.2

7. ОТВОДЫ ПРИБОРНЫЕ

7.1. Приборные отводы следует изготовлять следующих типов:

УС - с раструбом для присоединения к выпуску унитаза и раструбом для соединения сваркой (черт. 18);

Отвод типа УС

Черт. 18

 

Ук - с раструбом для присоединения к выпуску унитаза и гладким концом для соединения уплотнительным кольцом (черт. 19).

Отвод типа Ук

Черт. 19

7.2. Размеры приборных отводов должны соответствовать указанным в табл. 9.

Таблица 9

мм

d

l1

l2

l3

S

ПНД

ПВД

Номин.

Пред. откл.

Номин.

Пред. откл.

90,0

60

115

30

3,0

+0,6

4,3

+0,9

110,0

75

115

40

3,5

+0,6

5,2

+1,0

 

Пример условного обозначения отвода приборного типа УС диаметром 110 мм из ПНД для присоединения к выпуску унитаза:

Отвод ОПр У ´ 110С - ПНД ГОСТ 22689.2

8. ОТВОДЫ

8.1. Отводы следует изготовлять типов:

Кк - с раструбом и гладким концом для соединения уплотнительным

кольцом (черт. 20);

СК - с раструбами для соединения сваркой и уплотнительным кольцом (черт. 21);

СС - с раструбами для соединения сваркой (черт. 22);

СР - с раструбами для соединения сваркой и гайкой (черт. 23).

8.2. "Размеры отводов должны соответствовать указанным в табл. 10.

Отвод типа Кк

Черт.20

Отвод типа СК

Черт.21

Отвод типа СС

Черт. 22

Отвод типа СР

Черт. 23

Таблица 10

мм

d

d1

a30°

a45°

a87° 30'

l1

l2

l1

l2

l1

l2

не менее

40,0

40,0

-

-

14

14

33

33

50,0

40,0

-

-

17

17

39

31

50,0

50,0

-

-

17

17

39

39

90,0

90,0

22

22

29

29

73

73

110,0

110,0

24

24

42

42

85

85

Примечание. Размеры 50´40 даны для отводов типов СК и СР

Пример условного обозначения отвода типа СР с углом a = 87° 30' из ПНД для соединения с трубами 50 мм и 40 мм:

Отвод О 50С ´ 40Р - ПНД ГОСТ 22689.2

То же, типа СК с углом a = 30°:

Отвод О 30° 40С ´ 50K - ПНД ГОСТ 22689.2

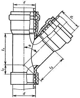
9. ТРОЙНИКИ

9.1. Тройники следует изготовлять типов:

КкК - с двумя раструбами и гладким концом для соединения уплотнительными кольцами (черт. 24);

КкудК - с двумя раструбами и удлиненным гладким концом для соединения уплотнительными кольцами (черт. 25);

Тройник типа КкК

Черт. 24

Тройник типа КкудК

Черт. 25

КудкК - с удлиненным компенсационным раструбом, гладким концом и боковым раструбом для соединения уплотнительными кольцами (черт. 26);

КСК - с двумя раструбами для соединения уплотнительными кольцами и раструбом для соединения сваркой (черт. 27);

ССК - с двумя раструбами для соединения сваркой и раструбом для соединения уплотнительным кольцом (черт. 28);

ССС - с тремя раструбами для соединения сваркой (черт. 29);

РСР - с двумя раструбами для соединения гайкой и раструбом для соединения сваркой (черт. 30);

ССР - с двумя раструбами для соединения сваркой и раструбом для соединения гайкой (черт. 31);

СкК - с раструбом для соединения сваркой, гладким концом и раструбом для соединения уплотнительным кольцом (черт. 32).

Тройник типа КудкК

Черт 26

Тройник типа КСК

Черт. 27

Тройник типа ССК

Черт. 28

Тройник типа ССС

Черт. 29

Тройник типа РСР

Черт. 30

Тройник типа ССТ

Черт. 31

Тройник типа СкК

Черт.32

9.2. Размеры тройников типов КкК, КудкК, КСК, ССК, ССС, РСР, ССР, СкК должны соответствовать указанным в табл. 11, а тройника типа КкудК - в табл. 12

Таблица 11

мм

d

d1

a = 45°

a = 60°

a = 87° 30'

l1

l2

l3

l1

l2

l3

l1

l2

l3

l4

не менее

50,0

40,0

80

9

70

-

-

-

33

31

39

-

50,0

50,0

70

17

70

-

-

-

31

39

39

150*

90,0

50,0

100

14

100

-

-

-

39

36

58

-

90,0

90,0

120

30

120

-

-

-

63

59

63

-

110,0

50,0

115

14

120

 

 

 

39

34

68

-

110,0

110,0

150

37

145

110

50

110

70

85 или 58**

70

-

____________

* Для тройника типа КудкК.

**Для тройников, устанавливаемых в санитарно-технических кабинах.

Примечание. Размер 50´40 указан для тройников типов ССС, РСР, ССР.

Таблица 12

мм

d

d1

a = 87° 30'

l1

l2

l3

90,0

50,0

103

151

150

110,0

50,0

128

151

150

 

Пример условного обозначения тройника типа КСК с углом a = 87° 30¢ для соединения с трубами диаметром 110 мм и 50 мм из ПНД:

Тройник T 110К ´ 110C ´ 50К - ПНД ГОСТ 22689.2

То же, тройника типа КСК с углом a = 45° для соединения труб тех же диаметров из ПНД:

Тройник Т45° 110К ´ 110С ´ 50К - ПНД ГОСТ 22689.2

10. КРЕСТОВИНЫ

10.1. Крестовины следует изготовлять типов:

КкКК - с тремя раструбами и гладким концом для соединения уплотнительными кольцами (черт. 33);

СкКК - с раструбом для соединения сваркой, двумя раструбами и гладким концом для соединения уплотнительными кольцами (черт. 34);

СССР - с тремя раструбами для соединения сваркой и раструбом для соединения гайкой (черт. 35);

СССК - с тремя раструбами для соединения сваркой и раструбом для соединения уплотнительным кольцом (черт. 36);

СССС - с четырьмя раструбами для соединения сваркой (черт. 37).

Крестовина типа КкКК

Черт 33

Крестовина типа СкКК

Черт. 34

Крестовина типа СССР

Черт. 35

Крестовина типа СССК

Черт. 36

Крестовина типа СССС

Черт.37

10.2. Размеры крестовин должны соответствовать указанным в табл. 13.

Таблица 13

мм

Тип изделия

d

d1

a

l1

l2

l3

l4

 

50,0

50,0

45°

85

17

70

-

СкКК

 

 

87° 30'

36

39

39

-

 

110,0

110,0

87° 30'

70

58

70

-

 

90,0

90,0

45°

125

30

125

 

СССС

 

 

87° 30'

63

59

63

-

 

110,0

110,0

87° 30'

70

85

70

-

 

110,0

50,0

60°

70

5

88

 

КкКК

 

 

87° 30'

37

34

66

-

 

110,0

110,0

60°

110

50

110

-

 

 

 

87° 30'

70

85 или 58*

70

-

СССР

110,0

50,0

87° 30'

70

85

70

66

СССК

110,0

50,0

87° 30'

70

85

70

66

_________

*Для крестовин, устанавливаемых в санитарно-технических кабинах.

Пример условного обозначения крестовины типа СкКК с углом a = 87° 30' для соединения с трубами диаметром 110 мм из ПНД:

Крестовина К 110С ´ 110к ´ 110К ´ 110K - ПНД ГОСТ 22689.2

11. КРЕСТОВИНЫ СО СМЕЩЕННЫМИ ОСЯМИ ОТВОДОВ

11.1. Крестовины со смещенными осями отводов следует изготовлять типов:

КкКК - с тремя раструбами и гладким концом для соединения уплотнительными кольцами (черт. 38);

СкКК - с двумя раструбами и гладким концом для соединения с помощью уплотнительных колец и раструбом для соединения сваркой (черт. 39).

Крестовина со смещенными осями отводов типа КкКК

Черт 38

Крестовина со смещенными осями отводив типа СкКК

Черт. 39

Пример условного обозначения крестовины со смещенными осями отводов типа СкКК для соединения труб диаметрами 110 мм и 50 мм из ПНД:

Крестовина Ксм 110C ´ 110к ´ 110К ´ 50К - ПНД ГОСТ 22689.2

12. ТРОЙНИКИ УНИВЕРСАЛЬНЫЕ

12.1. Тройники универсальные следует изготовлять типов:

КкКс (или КкКсс) - с двумя раструбами и гладким концом для соединения уплотнительными кольцами и боковым отводом (или боковыми отводами) для получения двухплоскостных крестовин (или пятериков) путем приварки патрубков, указанных в разд. 3 (черт. 40);

Универсальный тройник типа КкКс (или КкКсс)

____________

*В случае правого исполнения - глухая стенка.

**В случае левого исполнения - глухая стенка.

Черт. 40

СССС (или ССССС) - с тремя раструбами для соединения сваркой и боковым отводом (или двумя отводами) для получения двухплоскостных крестовин (или пятериков) путем приварки патрубков, указанных в разд. 3 (черт. 41).

Универсальный тройник типа СССС (или ССССС)

___________

* В случае правого исполнения - глухая стенка.

**В случае левого исполнения - глухая стенка.

Черт. 41

 

12.2. Размеры универсальных тройников должны соответствовать указанным в табл. 14.

Таблица 14

мм

d

d1

l1

l2

l3

l4

 

 

не менее

90,0

50,0

63

59

63

150

110,0

50,0

70

58

70

150

 

Пример условного обозначения тройника универсального типа КкКс с правым боковым отводом диаметром 50 мм для соединения с трубами диаметром 110 мм из ПНД:

Тун 110К ´ 110к ´ 110К ´ 50с - Пр - ПНД ГОСТ 22689.2

То же, для левого исполнения:

Тун 110K ´ 110к ´ 110К ´ 50с - Л - ПНД ГОСТ 22689.2

То же, тройника универсального типа ССССС с двумя боковыми отводами диаметром 50 мм для соединения с трубами диаметром 90 мм из ПНД:

Тун 90С ´ 90С ´ 90С ´ 50С ´ 50С - ПНД ГОСТ 22689.2

13. МУФТЫ

13.1. Муфты следует изготовлять типов:

КК - с раструбами для соединения уплотнительными кольцами (черт. 42);

СС - с раструбами для соединения сваркой (черт. 43).

Муфта типа КК

Черт.42

Муфта типа СС

Исполнение 1

 

Исполнение 2

Черт.43

13.2. Размеры муфт должны соответствовать указанным в табл. 15.

Таблица 15

мм

d

L

l

 

не менее

50,0

87

 

90,0

153

5

110,0

 

 

 

Пример условного обозначения муфты типа СС для соединения труб диаметрами 50 мм и 40 мм из ПНД:

Муфта М 50С ´ 40С - ПНД ГОСТ 22689.2

14. РЕВИЗИИ

14.1. Ревизии следует изготовлять типов:

К-с раструбом и гладким концом для соединения уплотнительным кольцом (черт. 44);

С-с раструбами для соединения сваркой (черт. 45).

Ревизия типа К

Черт. 44

Ревизия типа С

Черт. 45

14.2 Размеры ревизий должны соответствовать указанным в табл. 16.

Таблица 16

мм

d

D

l1

l2

l3

l4

не менее

50,0

СпУп    60´3

39

39

48

15

90,0

СпУп   110´5

57

70

82

25

110,0

СпУп   130´5

70

85

88

25

 

Пример условного обозначения ревизии типа К для соединения с трубами диаметром 110 мм из ПНД:

Ревизия Р 110К - ПНД ГОСТ 22689.2

15. ЗАГЛУШКИ И КРЫШКИ

15.1. Конструкция и размеры заглушек должны соответствовать черт. 46 и табл. 17, конструкция и размеры крышек - черт. 47 и табл. 18.

Заглушка

Черт.46

Крышка

Исполнение "а"

Исполнение "б"

 

Черт. 47

Таблица 17

мм

d

D

S

h

40,0

52

3,5

35

50,0

64

4,0

40

90,0

106

5,0

60

110,0

126

5,0

60

Таблица 18

мм

d

D

h

40,0

СпУп 50´3

21

50,0

СпУп 60´3

21

90,0

СпУп 110´5

32

110,0

СпУп 130´5

32

 

Пример условного обозначения заглушки для раструба фасонной части диаметром 110 мм из ПНД:

Заглушка З 110 - ПНД ГОСТ 22689.2

То же, крышки исполнения "б" для раструба фасонной части диаметром 50 мм из ПНД:

Крышка К 50(б) -ПНД ГОСТ 22689.2

16. ГАЙКИ НАКИДНЫЕ

16.1. Конструкция и размеры накидных гаек должны соответствовать указанным на черт. 48 и в табл. 19.

Гайка накидная

Черт. 48

Таблица 19

мм

d

D

D1

h, не менее

40,0

СпУп 50х3

41

21

50,0

СпУп 60х3

51

21

90,0

СпУп 110х5

91

32

110,0

СпУп 130х5

111

32

 

Пример условного обозначения гайки накидной канализационной из ПНД для труб диаметром 50 мм:

Гайка Г 50 - ПНД ГОСТ 22689.2

17. ЛЕНТА ПРОКЛАДОЧНАЯ

17.1 Лента прокладочная полиэтиленовая предназначена для установки между наружной поверхностью канализационного трубопровода и внутренней поверхностью металлических креплений.

17.2 Конструкция и размеры прокладочной ленты должны соответствовать указанным на черт. 49.

Масса 1м- 0,020 кг

Черт.49

Условное обозначение прокладочной ленты из ПВД:

Лента ЛП - ПНД ГОСТ 22689.2

17.3. Ленту следует изготовлять из полиэтилена высокого давления по ГОСТ 16337.

18. КОЛЬЦА УПЛОТНИТЕЛЬНЫЕ

18.1. Резиновые уплотнительные кольца предназначены для комплектации канализационных фасонных частей из ПНД и ПВД.

18.2. Конструкция и размеры уплотнительных колец должны соответствовать указанным на черт. 50 и в табл. 20.

 

Черт. 50

Таблица 20

мм

Номинальный диаметр трубы

D

d1

50,0

6+0,4

90,0

7+0,4

110,0

7+0,4

 

Пример условного обозначения уплотнительного кольца для комплектации фасонной части с номинальным диаметром 50 мм:

Кольцо Куп 50 ГОСТ 22689.2

18.3. Резина для уплотнительных колец должна иметь твердость по Шору в пределах 30-45 и относительную остаточную деформацию после старения в воздушной среде при сжатии на 40 % и температуре 70 °С в течение 24 ч не более 25 %.

19. ПРОКЛАДКИ УПЛОТНИТЕЛЬНЫЕ

19.1. Уплотнительные прокладки предназначены для комплектации канализационных фасонных частей из ПНД и ПВД с резьбовыми раструбами.

19.2. Конструкция и размеры уплотнительных прокладок должны соответствовать указанным на черт. 51 и в табл. 21.

Черт. 51

Таблица 21

мм

Номинальный диаметр трубы

D1

Пред. откл.

D2

Пред. откл.

S

40,0

39

+1,0

45

-1,2

2

50,0

49

+1,0

55

-1,2

2

90,0

93

+1,4

102

-1,4

3

110,0

112

+1,4

122

-1,4

3

 

Пример условного обозначения уплотнительной прокладки для канализационной фасонной части с номинальным диаметром резьбового раструба 50 мм:

Прокладка П 50 ГОСТ 22689.2

19.3. Уплотнительные прокладки следует изготовлять из резины, по ГОСТ 7338 или из формовой резины по действующим техническим условиям.

 

ПРИЛОЖЕНИЕ

Справочное

Теоретическая масса 1 м полиэтиленовых канализационных труб

Таблица 22

d

Масса 1 м труб. кг

ПНД

ПВД

40,0

0,228

0,322

50,0

0,423

0,409

90,0

0,782

1,068

110,0

1,117

1,580

Теоретическая масса полиэтиленовых фасонных частей

Таблица 23

Наименование изделия

d

d1

a

Тип

Масса фасонных частей, кг

ПНД

ПВД

Патрубки

50,0

-

-

 

0,039

0,04

90,0

-

-

КС

0,10

0,13

110,0

-

-

 

0,16

0,22

50,0

-

-

 

0,035

0,04

90,0

-

-

Кс

0,08

0,12

110,0

-

-

 

0,14

0,19

40,0

-

-

 

0,020

0,02

50,0

-

-

 

0,025

0,025

90,0

-

-

Рс

0,10

0,13

110,0

-

-

 

0,16

0,22

50,0

-

-

 

0,026

0,03

90,0

-

-

СР

0,11

0,16

110,0

-

-

 

0,16

0,25

Патрубки компенсационные

50,0

-

-

 

0,098

0,04

90,0

-

-

Кк

0,26

0,40

110,0

-

-

 

0,39

0,54

50,0

-

-

 

0,088

0,09

90,0

-

-

Кс

0,22

0,35

110,0

-

-

 

0,34

0,54

50,0

-

-

 

0,093

0,09

90,0

-

-

КС

0,23

0,35

110,0

-

-

 

0,35

0,47

Патрубки переходные

90,0

50,0

 

 

0,097

0.13

110,0

50,0

-

кК

0,13

0,20

110,0

90,0

 

 

0,17

0,28

90,0

50,0

 

 

0,07

0,08

110,0

50,0

-

сК

0,09

0,12

110,0

90,0

 

 

0,18

0,25

50,0

40,0

 

 

0,025

0,025

90,0

50,0

-

сС

0,05

0,07

110,0

50,0

 

 

0,07

0,10

110,0

90,0

 

 

0,10

0,16

50,0

40,0

 

 

0,033

0,033

90,0

50,0

 

 

0,06

0,13

110.0

50,0

-

сР

0,08

0,17

110,0

90,0

 

 

0,17

0,25

Патрубки приборные

50,0

-

 

 

0,078

0,078

90,0

-

-

Ук

0,20

0,22

110,0

-

 

 

0,29

0,46

50,0

-

 

 

0,061

0,06

90,0

-

 

УС

0,12

0,13

110,0

-

 

 

0,15

0,25

Отводы приборные

90,0

-

-

Ук

0,18

0,28

110,0

-

 

 

0,40

0,65

90,0

-

-

УС

020

0,31

110,0

-

 

 

0,37

0,60

Отводы

90,0

90,0

30°

Кк

0,14

0,22

110,0

110,0

 

 

0,22

0,36

50,0

50,0

 

 

0,052

0,052

90,0

90,0

45°

Кк

0,15

0,24

110,0

110,0

 

 

0,27

0,43

50,0

50,0

 

 

0,065

0,065

90,0

90,0

87° 30'

Кк

0,20

0,31

110,0

110,0

 

 

0,32

0,52

90,0

90,0

30°

СК

0,12

0,18

110,0

110,0

 

 

0,19

0,31

50,0

40,0

 

 

0,040

0,040

50,0

50,0

45°

СК

0,048

0,048

90,0

90,0

 

 

0,05

0,19

110,0

110,0

 

 

0,12

0,37

50,0

40,0

 

 

0,049

0,049

50,0

50,0

 

 

0,062

0,062

90,0

90,0

87° 30'

СК

0,17

0,27

110,0

110,0

 

 

0,31

0,49

90,0

90,0

30°

СС

0,08

0,17

110,0

110,0

 

 

0,12

0,20

40,0

40,0

 

 

0,021

0,02

50,0

50,0

45°

СС

0,031

0,03

90,0

90,0

 

 

0,09

0,18

110,0

110,0

 

 

0,16

0,26

40,0

40,0

 

 

0,035

0,035

50,0

50,0

87° 30'

СС

0,050

0,050

90,0

90,0

 

 

0,14

0,22

110,0

110,0

 

 

0,23

0,37

90,0

90,0

30°

СР

0,15

0,23

110,0

110,0

 

 

0,22

0,35

50,0

40,0

 

 

0,031

0,031

50,0

50,0

45°

СР

0,056

0,056

90,0

50,0

 

 

0,21

0,33

110,0

110,0

 

 

0,32

0,51

50,0

40,0

 

 

0,047

0,047

50,0

50,0

87° 30'

СР

0,056

0,056

90,0

90,0

 

 

0,21

0,33

110,0

110,0

 

 

0,32

0,51

Тройники

50,0

50,0

 

 

0,115

0,115

90,0

50,0

 

 

0,23

0,33

90,0

90,0

45°

КкК

0,33

0,50

110,0

50,0

 

 

0,34

0,51

110,0

110,0

 

 

0,55

0,89

110,0

110,0

60°

КкК

0,49

0,79

50,0

50,0

 

 

0,099

0,099

90,0

50,0

 

 

0,19

0,27

90,0

90,0

87° 30'

КкК

0,27

0,42

110,0

50,0

 

 

0,29

0,43

110,0

110,0

 

 

0,43

0,70

Тройники

50,0

50,0

 

 

0,111

0,111

90,0

50,0

 

 

0,21

0,30

90,0

90,0

45°

КСК

0,30

0,60

110,0

50,0

 

 

0,31

0,46

110,0

110,0

 

 

0,52

0,83

110,0

110,0

60°

КСК

0,46

0,74

50,0

50,0

 

 

0,094

0,094

90,0

50,0

 

 

0,17

0,24

90,0

90,0

87° 30'

КСК

0,25

0,38

110,0

50,0

 

 

0,25

0,38

110,0

110,0

 

 

0,43

0,21

50,0

50,0

 

 

0,100

0,100

90,0

50,0

 

 

0,17

0,24

90,0

90,0

45°

ССК

0,29

0,45

110,0

50,0

 

 

0,24

0,37

110,0

110,0

 

 

0,47

0,76

110,0

110,0

60°

ССК

0,39

0,63

50,0

50,0

 

 

0,078

0,078

90,0

50,0

 

 

0,13

0,18

90,0

90,0

87° 30'

ССК

0,21

0,32

110,0

50,0

 

 

0,19

0,29

110,0

110,0

 

 

0,36

0,58

50,0

40,0

 

 

0,070

0,070

50,0

50,0

 

 

0,085

0,085

90,0

50,0

45°

ССС

0,16

0,22

90,0

90,0

 

 

0,23

0.36

110,0

50,0

 

 

0,23

0,34

110,0

110,0

 

 

0,39

0,63

Тройники

110,0

110,0

60°

ССС

0.33

0,54

50,0

40.0

 

 

0,053

0,053

50,0

50,0

 

 

0,062

0,062

90,0

50,0

87° 30'

ССС

0,11

0,15

90,0

90,0

 

 

0,18

0,27

110,0

50,0

 

 

0,17

0,26

110,0

110,0

 

 

0,29

0,47

50,0

40,0

 

 

0,093

0,095

50,0

50,0

 

 

0,109

0,109

90,0

50,0

45°

РСР

0,24

0,34

90,0

90,0

 

 

0,40

0,57

110,0

50,0

 

 

0,33

0,50

110,0

110,0

 

 

0,60

0,96

110,0

110,0

60°

РСР

0,52

0,83

50,0

40,0

 

 

0,075

0,075

50,0

50,0

 

 

0,083

0,083

90,0

50,0

87° 30'

РСР

0,19

0,27

90,0

90,0

 

 

0,32

0,49

110,0

50,0

 

 

0,26

0,39

110,0

110,0

 

 

0,48

0,78

50,0

40,0

 

 

0,083

0,083

50,0

50,0

 

 

0,099

0,099

90,0

50,0

45°

ССР

0,16

0,22

90,0

90,0

 

 

0,33

0,51

110,0

50,0

 

 

0,24

0,36

110,0

110,0

 

 

0,50

0,81

110,0

110,0

60°

ССР

0,42

0,68

50,0

40,0

 

 

0,060

0,060

50,0

50,0

87° 30¢

ССР

0,071

0,071

50,0

40,0

 

 

0,06

0,06

50,0

50,0

 

 

0,071

0,071

90,0

50,0

87° 30'

ССР

0,12

0,17

90,0

90,0

 

 

0,25

0,38

110,0

50,0

 

 

0,18

0,27

110,0

110,0

 

 

0,39

0,62

Тройники

50,0

50,0

 

 

0,104

0,104

90,0

50,0

 

 

0,20

0,28

90,0

90,0

45°

СкК

0,31

0,48

110,0

50,0

 

 

0,28

0,42

110,0

110,0

 

 

0,50

0,81

110.0

110,0

60°

СкК

0,44

0,70

50,0

50,0

 

 

0,082

0,082

90,0

50,0

 

 

0,15

0,21

90,0

90,0

87° 30'

СкК

0,24

0,37

110,0

50,0

 

 

0,21

0,32

110,0

110,0

 

 

0,39

0,63

50,0

50,0

-

КудкК

0,151

0,151

90,0

50,0

-

КкудК

0,40

0,56

110,0

50,0

 

 

0,57

0,85

Крестовины

110,0

50,0

60°

КкКК

0,32

0,48

110,0

110,0

 

 

0,66

1,06

110,0

50,0

87° 30'

КкКК

0,30

0,46

110,0

110,0

 

 

0,59

0,94

50,0

50,0

45°

СкКК

0,144

0,144

50,0

50,0

87° 30'

СкКК

0,115

0,115

110,0

110,0

 

 

0,49

0,78

90,0

90,0

45°

СССС

0,30

0,46

90,0

90,0

87° 30'

СССС

0,21

0,33

110,0

110,0

 

 

0,36

0,57

110,0

50,0

87° 30'

СССР

0,31

0,47

110,0

50,0

87° 30'

СССК

0,32

0,48

Крестовины со смещенными осями отводов

110,0

50,0

-

КкКК

0,46

0,70

110,0

50,0

-

СкКК

0,39

0,59

Тройники универсальные

90,0

50,0

-

КкКс

0,29

0,40

110,0

50,0

 

 

0,44

0,66

90,0

50,0

-

КкКсс

0,29

0,41

110,0

50,0

 

 

0,47

0,71

90,0

50,0

-

СССС

0,19

0,26

110,0

50,0

 

 

0,30

0,46

90,0

50,0

-

ССССС

0,20

0,28

110,0

50,0

 

 

0,31

0,47

Муфты

50,0

-

 

 

0,053

0,053

90,0

-

-

КК

0,12

0,20

110,0

-

 

 

0,21

0,34

50,0

40,0

 

 

0,018

0,018

50,0

-

-

СС

0,027

0,027

90,0

-

 

 

0,04

0,06

110,0

-

 

 

0,07

0,12

Ревизии

50,0

-

 

 

0,089

0,089

90,0

-

-

К

0,29

0,45

110,0

-

 

 

0,42

0,68

50,0

-

 

 

0,068

0,068

90,0

-

-

С

0,21

0,32

110,0

-

 

 

0,32

0,52

Заглушки

40,0

-

 

 

0,017

0,017

50,0

-

 

 

0,027

0,027

90,0

-

-

-

0,08

0,13

110,0

-

 

 

0,12

0,23

Крышки

50,0

-

 

 

0,036

0,036

90,0

-

-

-

0,10

0,11

110,0

-

 

 

0,14

0,14

Гайки накидные

40,0

-

 

 

0,023

0,023

50,0

-

-

-

0,032

0,033

90,0

-

 

 

0,08

0,07

110,0

-

 

 

0,10

0,09

 

ИНФОРМАЦИОННЫЕ ДАННЫЕ

1. РАЗРАБОТАН И ВНЕСЕН Министерством промышленности строительных материалов СССР

РАЗРАБОТЧИКИ

О.П. Михеев, канд. техн. наук (руководитель темы); В.И. Фельдман, канд. техн. наук; Л.П. Жаброва; Н.Г. Кулихина; А.Н. Афонин, канд. техн. наук; Р.Ф. Локшин, канд. техн. наук; С.В. Ехлаков, канд. техн. наук; И.В. Гвоздев; В.И. Терехин; А.А. Васильев; Л.С. Васильева; А.П. Чекрыгин

2. УТВЕРЖДЕН И ВВЕДЕН В ДЕЙСТВИЕ Постановлением Государственного строительного комитета СССР от 16.06.89 № 93

3. ВЗАМЕН ГОСТ 22689.2-77 - ГОСТ 22689.20-77

4. ССЫЛОЧНЫЕ НОРМАТИВНО-ТЕХНИЧЕСКИЕ ДОКУМЕНТЫ

Обозначение НТД, на который дана ссылка

Номер пункта

ГОСТ 7338-77

19.3

ГОСТ 16337-77

17.3

ГОСТ 22689.0-89

Вводная часть

 

СОДЕРЖАНИЕ

1. Трубы

2. Раструбы и гладкие концы фасонных частей

3. Патрубки

4. Патрубки компенсационные

5. Патрубки переходные

6. Патрубки приборные

7. Отводы приборные

8. Отводы

9. Тройники

10. Крестовины

11. Крестовины со смещенными осями отводов

12. Тройники универсальные

13. Муфты

14. Ревизии

15. Заглушки и крышки

16. Гайки накидные

17. Лента прокладочная

18. Кольца уплотнительные

19. Прокладки уплотнительные

 

 



© 2013 Ёшкин Кот :-)