Информационная система
«Ёшкин Кот»

XXXecatmenu

ГОСУДАРСТВЕННЫЙ СТАНДАРТ СОЮЗА ССР

КОНСТРУКЦИИ ДЕРЕВЯННЫЕ КЛЕЕНЫЕ

МЕТОД ОПРЕДЕЛЕНИЯ ПРОЧНОСТИ КЛЕЕВЫХ СОЕДИНЕНИЙ
ПРИ ПОСЛОЙНОМ СКАЛЫВАНИИ

ГОСТ 25884-83

ГОСУДАРСТВЕННЫЙ КОМИТЕТ СССР
ПО ДЕЛАМ СТРОИТЕЛЬСТВА

МОСКВА

РАЗРАБОТАН Центральным научно-исследовательским институтом строительных конструкций им. В. А. Кучеренко Госстроя СССР

ИСПОЛНИТЕЛИ

Л. М. Ковальчук, д-р техн. наук (руководитель темы); А. С. Жукова; Р. Н. Верещагина; Г. В. Левушкин

ВНЕСЕН Центральным научно-исследовательским институтом строительных конструкций им. В. А. Кучеренко Госстроя СССР

Зам. директора А. М. Чистяков

УТВЕРЖДЕН И ВВЕДЕН В ДЕЙСТВИЕ Постановлением Государственного комитета СССР по делам строительства от 29 июня 1983 г. № 128

ГОСУДАРСТВЕННЫЙ СТАНДАРТ СОЮЗА ССР

КОНСТРУКЦИИ ДЕРЕВЯННЫЕ КЛЕЕНЫЕ

Метод определения прочности
клеевых соединений при послойном скалывании

Glue laminated wood structures.

Method of determination of the interlayer strength of the glue joints

ГОСТ
25884-83

Постановлением Государственного комитета СССР по делам строительства от 29 июня 1983 г. № 128 срок введения установлен

с 01.01.84

Настоящий стандарт распространяется на деревянные клееные многослойные конструкции и устанавливает метод определения прочности клеевых соединений при послойном скалывании образцов вдоль волокон древесины. Метод заключается в определении разрушающей нагрузки при испытании образца и вычислении предела прочности при этой нагрузке.

В особо указываемых случаях для получения сравнительных данных этим же методом проводят испытание склеиваемой древесины на скалывание.

Применение стандарта предусматривается предприятиями, изготовляющими клееные многослойные деревянные конструкции.

1. ОТБОР И ПОДГОТОВКА ОБРАЗЦОВ

1.1. При контроле качества клееных многослойных конструкций или их элементов заготовки для образцов выпиливают из торцевых частей элементов при доведении их до проектных размеров (черт. 1). При этом толщина отпада должна быть не менее 50 мм.

Время от окончания процесса склеивания до испытаний должно составлять не менее 24 ч.

Правила отбора образцов и время испытаний при отработке технологических процессов склеивания, выборе клеев и т.п. должны устанавливаться в зависимости от цели испытаний.

1 - пропилы; 2 - заготовка для образцов, 3 - отпад

Черт. 1

1.2. Заготовки (черт. 2) распиливают на образцы в виде прямоугольной призмы сечением [(50 ´ 50) ± 0,5] мм и высотой h, равной высоте сечения элементов или конструкций. Противоположные плоскости образцов должны быть параллельны между собой, а клеевые прослойки перпендикулярны к плоскости пропила.

При контроле клеев и обработке технологических процессов склеивания заготовки или образцы склеивают специально.

1 - образцы; 2 - пропилы

Черт. 2

1.3. Число испытываемых клеевых соединений указывают в стандартах или технических условиях на контролируемые изделия, однако в каждом образце должно быть не менее 5 клеевых прослоек, подлежащих испытанию на скалывание.

1.4. Точность и качество изготовления образцов - по ГОСТ 16483.0-78.

1.5. Влажность образцов должна соответствовать требованиям стандартов на конкретные конструкции и определяться по ГОСТ 16588-79 электровлагомером.

2. ОБОРУДОВАНИЕ, АППАРАТУРА И ИНСТРУМЕНТЫ

2.1. Для проведения испытаний должны применяться:

испытательная машина по ГОСТ 7855-74 с максимальным усилием до 50000 Н (5000 кгс);

приспособление для испытаний (черт. 3);

штангенциркуль по ГОСТ 166-80 с погрешностью измерения не более 0,1 мм;

электровлагомер.

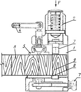
1 - корпус; 2 - пуансон; 3 - нож пуансона; 4 - рукоятка; 5 - прижимная опора; 6 - передвижная опорная площадка; 7 - винт упора; 8 - образец; 9 - клеевое соединение

Черт. 3

3. ПРОВЕДЕНИЕ ИСПЫТАНИЯ

3.1. До испытаний образцы должны находиться в том же помещении, что и контролируемая продукция.

3.2. Образец устанавливают в приспособление для испытания (см. черт. 3).

При испытании прочности клеевого соединения задняя грань ножа пуансона и передняя грань передвижной опорной площадки должны находиться от него на расстоянии 0,5 - 1,0 мм.

При испытании на скалывание древесины клееной конструкции задняя грань ножа пуансона должна находиться против середины испытываемого слоя.

Перемещением прижимной опоры закрепляют образец в приспособлении. Нагрузку на образец передают через пуансон.

Образец испытывают до разрушения с постоянной скоростью перемещения пуансона (1,5 - 2)·104 м/с и фиксируют разрушающую нагрузку.

3.3. Разрушающую нагрузку Р определяют с погрешностью не более 50 Н (5 кгс).

4. ОБРАБОТКА РЕЗУЛЬТАТОВ

4.1. Предел прочности t клеевого соединения при скалывании вычисляют в МПа (кгс/см2) с точностью до 0,1 МПа (1,0 кгс/см2) по формуле

где Р - разрушающая нагрузка, Н (кгс);

F - площадь поперечного сечения образца, м2 (см2).

4.2. За результат испытания принимают среднее арифметическое значение предела прочности всех клеевых соединений испытанных образцов, фиксируя при этом минимальное значение и характер разрушения. При необходимости проводят статистическую обработку результатов по ГОСТ 16483.0-78 не менее чем на 20 клеевых соединениях.

4.3. Результаты измерений и испытаний заносят в протокол (см. рекомендуемое приложение).

ПРИЛОЖЕНИЕ

Рекомендуемое

ПРОТОКОЛ
испытаний образцов для определения прочности клеевых соединений и древесины при послойном скалывании

Марка, номер, размеры конструкции или элемента, из которого выпилены образцы

_________________________________________________________________________

Дата склеивания ___________________________________________________________

Порода древесины _________________________________________________________

Толщина слоев ____________________________________________________________

Клей ____________________________________________________________________

Нанесение клея (одно- или двустороннее) ______________________________________

Время выдержки под давлением ______________________________________________

Продолжительность свободной выдержки после окончания запрессовки до испытания

_________________________________________________________________________

Температура воздуха, °С ____________________________________________________

Относительная влажность воздуха, % __________________________________________

Влажность древесины образцов, % ____________________________________________

Дата проведения испытаний _________________________________________________

 

Площадь скалывания образца F, м2 (см2)

Разрушающая нагрузка Р, Н (кгс)

Предел прочности t*, МПа (кгс/см2)

Характер разрушения клеевого соединения

клеевого соединения

древесины

клеевого соединения

древесины

 

 

 

 

 

 

* Указать среднее и минимальное значения.

Подпись ________________

СОДЕРЖАНИЕ

1. Отбор и подготовка образцов. 2

2. Оборудование, аппаратура и инструменты.. 3

3. Проведение испытания. 3

4. Обработка результатов. 3

Приложение Протокол  испытаний образцов для определения прочности клеевых соединений и древесины при послойном скалывании. 4

 



© 2013 Ёшкин Кот :-)