Информационная система
«Ёшкин Кот»

XXXecatmenu

ГОСУДАРСТВЕННЫЙ СТАНДАРТ СОЮЗА ССР

ОКНА И БАЛКОННЫЕ ДВЕРИ ДЕРЕВЯННЫЕ С ДВОЙНЫМ
ОСТЕКЛЕНИЕМ ДЛЯ ЖИЛЫХ И ОБЩЕСТВЕННЫХ ЗДАНИЙ

Типы, конструкция и размеры

ГОСТ 11214-86

Государственный строительный комитет СССР

Москва - 1986

ИНФОРМАЦИОННЫЕ ДАННЫЕ

РАЗРАБОТАН Государственным комитетом по гражданскому строительству и архитектуре при Госстрое СССР

ИСПОЛНИТЕЛИ

И. В. Строков (руководитель темы); Б. А. Филозофович; И. С. Посельская; Г.Г. Коваленко; Н. Н. Цаплев, канд. техн. наук; А. В. Ткаченко; Г. В. Левушкин; Н.В. Шведов

ВНЕСЕН Государственным комитетом по гражданскому строительству и архитектуре при Госстрое СССР

Зам. Председателя М.П. Коханенко

УТВЕРЖДЕН И ВВЕДЕН В ДЕЙСТВИЕ постановлением Государственного комитета СССР по делам строительства от 14.11.85 № 191

ГОСУДАРСТВЕННЫЙ СТАНДАРТ СОЮЗА ССР

ОКНА И БАЛКОННЫЕ ДВЕРИ ДЕРЕВЯННЫЕ С ДВОЙНЫМ
ОСТЕКЛЕНИЕМ ДЛЯ ЖИЛЫХ И ОБЩЕСТВЕННЫХ ЗДАНИЙ

Типы, конструкция и размеры

Wooden windows and balcony doors of double
glazing for dwelling and public buildings.
Types, structure and dimensions

ГОСТ
11214-86

Взамен
ГОСТ 11214-78

Постановлением Государственного комитета СССР по делам строительства от 14 ноября 1985 г. № 191 срок введения установлен

с 01.01.87

Настоящий стандарт распространяется на деревянные окна и балконные двери с двойным остеклением, предназначаемые для жилых и общественных зданий, а также для вспомогательных зданий и помещений предприятий различных отраслей народного хозяйства.

1. ТИПЫ, РАЗМЕРЫ И МАРКИ

1.1. Окна и балконные двери, изготовляемые по настоящему стандарту, подразделяют на типы:

С - со спаренными створками и дверными полотнами;

Р - с раздельными створками и дверными полотнами.

1.2. Габаритные размеры окон, балконных дверей и размеры проемов для них должны соответствовать:

для жилых зданий - указанным на черт. 1 и в приложении 1;

для общественных зданий - указанным на черт. 2 и в приложении 2.

Окна и балконные двери, приведенные на черт. 1, допускается применять и для общественных зданий.

1.3. Окна размерами 9-13,5; 12-13,5; 15-13,5; 18-13,5 и 21-13,5 модулей (модуль М-100 мм) для заполнения проемов в стенах из немодульного кирпича лицевой кладки по требованию потребителя допускается изготовлять шириной на 80 мм больше указанных, за счет увеличения широких створок, а окно размерами 15-6 модулей - шириной на 70 мм меньше указанного, при этом маркировку изменяют соответственно на 9-14; 12-14; 15-14; 18-14; 21-14 и 15-5.

1.4. Для жилых зданий, возводимых в IV климатическом районе, допускается применять окна с узкой створкой (без форточки).

1.5. По требованию потребителей одностворные окна и балконные двери, в т.ч. с форточными створками и фрамугами, должны изготовляться также и левыми, а окна многостворные с несимметричным рисунком - в негативном изображении.

1.6. Устанавливают следующую структуру условного обозначения (марки) окон и балконных дверей:

В конце марки окон и балконных дверей с одинарным остеклением, перед обозначением стандарта, добавляют цифру 1 через тире.

Пример условного обозначения окно типа С для проема высотой 15 и шириной 9 дм, с правой навеской створок:

ОС 15-9 ГОСТ 11214-86

То же, с левой навеской створок:

ОС 15-9Л ГОСТ 11214-86

Дверь балконная правая типа С для проема высотой 22 и шириной 9 дм:

БС 22-9 ГОСТ 11214-86

То же, окно типа Р для проема высотой 18 и шириной 18 дм, с несимметричным рисунком окна (вариант В):

ОР 18-18В ГОСТ 11214-86

То же, в негативном изображении:

ОР 18-18ВН ГОСТ 11214-86

То же, окна типа С для проема высотой 15 и шириной 13,5 дм, с форточной створкой:

ОС 15-13,5 ГОСТ 11214-86

То же, правой балконной двери типа С для проема высотой 22 и шириной 7,5 дм с правой навеской полотна:

БС 22-7,5 ГОСТ 11214-86

То же, левой балконной двери:

БС 22-7,5Л ГОСТ 11214-86

2. ТРЕБОВАНИЯ К КОНСТРУКЦИИ

2.1. Окна и балконные двери должны изготовляться в соответствии с требованиями ГОСТ 23166-78, требованиями настоящего стандарта и по рабочим чертежам, утвержденным в установленном порядке.

2.2. Конструкция, форма, основные размеры и марки окон и балконных дверей типа С для жилых зданий должны соответствовать указанным на черт. 3-5, для общественных зданий - на черт. 6-11, а размеры сечений деталей и притворов - на черт. 12-23.

2.3. Конструкция, форма, основные размеры и марки окон и балконных дверей типа Р для жилых зданий должны соответствовать указанным на черт. 24-27, для общественных зданий - на черт. 37-43, а размеры сечений деталей и притворов для жилых зданий - на черт. 28-36, общественных зданий - на черт. 44-53.

2.4. Размеры на общих видах окон и балконных дверей даны в свету по наружным сторонам створок, фрамуг, форточек, полотен дверей и по наружным сторонам коробок.

На чертежах, приведенных в настоящем стандарте, указаны в миллиметрах размеры неокрашенных деталей и изделий.

2.5. Для отвода дождевой воды в нижних брусках коробок и в горизонтальных импостах окон и балконных дверей типа С делают прорези шириной 12 мм, а в окнах и балконных дверях типа Р сверлят отверстия диаметром 10 мм, располагаемые под широкими створками, полотнами балконных дверей и фрамугами на расстоянии 50 мм от вертикальных брусков коробок и импостов, а под форточными и узкими створками - одну прорезь или одно отверстие на середине.

2.6. Наружные створки окон и полотна балконных дверей типа Р должны быть навешены на врезные петли с вынимающимися стержнями по ГОСТ 5088. Внутренние створки окон типа С высотой более 1400 мм и шириной более 600 мм, а также высотой более 1000 мм и шириной более 900 мм должны быть навешены на 3 петли.

2.7. Для остекления окон и балконных дверей жилых зданий следует применять стекло толщиной 2,5-3 мм по ГОСТ 111-78, а для общественных зданий толщиной 3-4 мм.

Толщину стекла уточняют в проекте и при заказе изделий с учетом ветровых нагрузок и шумовых воздействий в районе строительства.

2.8. Места расположения уплотняющих пенополиуретановых прокладок по ГОСТ 10174-72 в притворах окон и балконных дверей указаны на чертежах сечений.

2.9. По требованию потребителей по периметру оконных и дверных коробок на торцевых и боковых поверхностях допускается устройство продольных пазов различного профиля, заполняемых вкладышами и обрамляемых наличниками при соединении блоков друг с другом.

2.10. В жилых и общественных зданиях для климатических районов, где по теплотехническим расчетам не требуются окна и балконные двери с двойным остеклением, а также в неотапливаемых зданиях и помещениях должны применяться только наружные элементы окон и балконных дверей типа Р, при этом толщина бруска коробки должна быть не менее 54 мм, а размеры сечений устанавливают в рабочих чертежах.

2.11. Для обеспечения возможности оснащения окон и балконных дверей общественных зданий фрамужными приборами рычажного типа допускается увеличивать толщину верхних и вертикальных брусков коробок и импостов на 20 мм без изменения габаритов изделий.

2.12. По согласованию изготовителя с потребителем допускается изготовление балконных дверей высотой 28 модулей с фрамугами в отдельных коробках. В этом случае высоту глухой части полотен или остекленной части фрамуг уменьшают на 50 мм.

2.13. По согласованию изготовителя с потребителем допускается изготовление окон типа С высотой 6 и 9 модулей, предназначенных для лестничных клеток, без импоста с навеской створки на нижней горизонтальной оси с обязательной установкой ограничителей открывания.

2.14. По согласованию изготовителя с потребителем допускается заполнение глухой части внутренних полотен балконных дверей типов С и Р цементностружечными плитами по ГОСТ 26816-86 отдельно или с древесноволокнистыми плитами, а в наружных полотнах замена деревянной обшивки цементностружечными плитами толщиной 12 мм. Допускаются др. варианты заполнения глухой части наружных полотен, не снижающие эксплуатационные характеристики изделий, при этом заполнение (филенка) должно быть заглублено в четвертях брусков и закреплено раскладкой (штапиком).

2.15. Расположение приборов в окнах и балконных дверях (примеры) приведено в рекомендуемом приложении 3; спецификация стекол для окон и балконных дверей жилых зданий приведена в справочном приложении 4, спецификация стекол для окон и балконных дверей общественных зданий приведена в справочном приложении 5.

Габаритные размеры окон и балконных дверей типов С и Р жилых зданий

Черт. 1

Габаритные размеры окон и балконных дверей типов С и Р общественных зданий

Черт. 2

Примечания к черт. 1 и 2:

1. Схемы изделий изображены со стороны фасада.

2. Цифры над схемами изделий означают размеры проемов в модулях.

3. Окна жилых зданий высотой 18 модулей и балконные двери высотой 24 модуля - ограниченного применения для климатических подрайонов 1А, 1Б и 1Г.

Тип С

Конструкция, форма, основные размеры и марки окон и балконных дверей жилых зданий

Черт. 3

Черт. 4

Черт. 5

Конструкция, форма, основные размеры и марки окон и балконных дверей общественных зданий

Черт. 6

Черт. 7

Черт. 8

Черт. 9

Черт. 10

Черт. 11

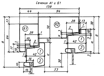
Сечения по притворам окон и балконных дверей жилых и общественных зданий

1 - уплотняющие прокладки; 2 - петля (для бокового сечения)

Черт. 12

Сечение

а

б

в

Деталь

А1

55

42

85

1

3

Б1

65

52

95

2

4

Примечания:

1. Пазы в местах монтажа петель для спаривания створок условно не показаны.

2. Размеры штапика допускается уменьшать до 14´9 мм.

3. Профиль створок в межстекольном пространстве допускается изготовлять без уклона (скоса).

1 - уплотняющие прокладки; 2 - прорезь для отвода воды шириной 12 мм

Черт. 13

Сечение

а

б

в

Деталь

А2

55

45

90

5

7

Б2

65

55

100

6

8

Примечания:

1.К1 – профили сечения коробок; 1 (в круге) – профили сечения створок.

2. Ширину верхнего выступа нижнего бруска коробки допускается уменьшать на 2 мм.

3. Толщину нижнего бруска коробки допускается увеличивать на 3 мм с соответствующим увеличением высоты коробки.

Черт. 14

Сечение

а

б

в

Деталь

А3

55

45

93

5

7

9

11

Б3

65

55

113

6

8

10

12

Сечение

а

б

Деталь

А4

55

130

1

3

Б4

65

150

2

4

Черт. 15

Примечание: Допускается поднутрение профиля импоста в притворе глубиной до 2 мм.

Черт. 16

Черт. 17

Примечание: Петля для навески широкой створки трехстворных окон.

Черт. 18

Черт. 19

1 - мягкая древесноволокнистая плита толщиной 12 мм ГОСТ 4598-74; 2 - твердая древесноволокнистая плита марки Т группы А толщиной 3,2 -4 мм по ГОСТ 4598-74; 3 - шлифованная древесноволокнистая плита толщиной 16 мм по ГОСТ 10632-77; 4 - пергамин по ГОСТ 2697-83; 5 - обшивка типа О-2 по ГОСТ 8242-75; 6 - раскладка; 7 - уплотняющая прокладка

Черт. 20

1 - нащельник

Черт. 21

Черт. 22

Черт. 23

Тип Р
Конструкция, форма, основные размеры и марки окон и балконных дверей жилых зданий

Черт. 24

Примечание: Высоту внутренних подфорточных створок допускается увеличивать на 5 мм за счет соответствующего уменьшения высоты форточных створок.

Черт. 25

Черт. 26

Черт. 27

Сечения по притворам окон и балконных дверей жилых зданий

1 - уплотняющая прокладка

Черт. 28

Сечение

а

б

в

Деталь

А1

55

85

115

1

Б1

65

95

125

2

Примечания:

1. Допускается размеры штапика уменьшать до 14´9 мм.

2. Толщину брусков внутренней коробки (кроме нижних) допускается уменьшать на 5 мм с соответствующим изменением габаритов коробки.

3. Ширину канавки в брусках наружной коробки допускается уменьшать до 8 мм.

1 - отверстие диаметром 10 мм для отвода воды

Черт. 29

Сечение

а

б

в

Детали

А2

55

90

110

3

5

Б2

65

100

120

4

6

Черт. 30

Сечение

а

б

в

Деталь

А3

55

8

125

1

К5

Б3

65

95

135

2

К5

1 - прорезь для отвода воды шириной 12 мм

Черт. 31

Сечение

а

б

Деталь

А4

55

103

3

5

7

9

Б4

65

123

4

6

8

10

Черт. 32

Сечение

а

б

в

Деталь

А5

55

130

190

1

Б5

65

150

210

2

Черт. 33

1 - мягкая древесноволокнистая плита толщиной 12 мм по ГОСТ 4598-86; 2 - твердая древесноволокнистая плита марки Т группы А толщиной 3,2-4 мм по ГОСТ 4598-86; 3 - шлифованная древесностружечная плита толщиной 16 мм по ГОСТ 10632-89; 4 - пергамин по ГОСТ 2697-83; 5 - обшивка типа О-2 по ГОСТ 8242-88; 6 - раскладка

Черт. 34

Черт. 35

Черт. 36

Конструкция, форма, основные размеры и марки окон и балконных дверей общественных зданий

Черт. 37

Черт. 38

 

Черт. 39

Черт. 40

Черт. 41

Черт. 42

Черт. 43

Сечения по притворам окон и балконных дверей общественных зданий

Примечание. Допускается размеры штапика уменьшать на 1 мм.

1 - уплотняющая прокладка

Черт. 44

1 - отверстие диаметром 10 мм для отвода воды

Черт. 45

Черт. 46

Черт. 47

Сечение

а

б

в

г

Детали

В4

30

10

124

210

К15

В5

40

20

134

220

К16

Примечание. Петля для сечения В5.

Черт. 48

Черт. 49

Примечание. Заполнение полотен и вариант заполнения глухой части внутреннего полотна см. черт. 50.

1 - мягкая древесноволокнистая плита толщиной 12 мм по ГОСТ 4598-86; 2 - твердая древесноволокнистая плита марки Т группы «А» толщиной 3,2-4 мм по ГОСТ 4598-86; 3 - шлифованная древесностружечная плита толщиной 16 мм по ГОСТ 10632-89; 4 - пергамин по ГОСТ 269783; 5 - обшивка типа О-2 по ГОСТ 8242; 6 - раскладка

Черт. 50

Черт. 51

1 - нащельник

Черт. 52

Черт. 52

ПРИЛОЖЕНИЕ 1
Справочное

ГАБАРИТЫ ПРОЕМОВ ОКОН И БАЛКОННЫХ ДВЕРЕЙ В НАРУЖНЫХ СТЕНАХ ЖИЛЫХ ЗДАНИЙ

Примечание. Размеры ширины проемов указаны для стен из панелей и модульного кирпича.

ПРИЛОЖЕНИЕ 2
Справочное

ГАБАРИТЫ ПРОЕМОВ ОКОН И БАЛКОННЫХ ДВЕРЕЙ В НАРУЖНЫХ СТЕНАХ ОБЩЕСТВЕННЫХ ЗДАНИЙ

Примечание. Размеры ширины проемов указаны для стен из панелей и модульного кирпича.

ПРИЛОЖЕНИЕ 3
Рекомендуемое

РАСПОЛОЖЕНИЕ ПРИБОРОВ В ОКНАХ И БАЛКОННЫХ ДВЕРЯХ
(примеры)

1 - петля ПВ1-100 для внутренних створок и полотен типов С и Р; 2 - петля ПВ2-100-1 для наружных створок и полотен типа Р; 3 - петля ПВ3-1 для типа С; 4 - стяжка СТ для типа С; 5 - упор УО для типа Р; 6 - завертка ЗР2-1

Черт. 1

1 - петля ПВ1-100 для внутренних створок и полотен типов С и Р; 2 - петля ПВ2-100-1 для наружных створок и полотен типа Р; 3 - петля ПВ3-1 для типа С; 4 - петля ПВ2-100-2 для фрамуг; 5 - прибор фрамужный ПФ2; 6 - фиксатор ФК1 для типа С или ФК3 для типа Р; 7 завертка ЗР2-1; 8 - стяжка СТ для типа С; 9 - упор УО для типа Р; 10 - ручка РС80.

Черт. 2

Примечания к черт. 1 и 2

1. Приборы для окон и балконных дверей должны соответствовать ГОСТ 538-78, ГОСТ 5087-80, ГОСТ 5088, ГОСТ 5090-79 и ГОСТ 5091-78.

2. Наружные створки должны навешиваться на петли типов ПВ2 с вынимающимися стержнями.

3. Завертки показаны в открытом положении.

4. Ручки РС80 устанавливают на наружных створках с внешней стороны здания на высоте 1000 мм от порога.

5. Фрамужный прибор показан условно.

6. Угольники устанавливают в соответствии с п.2.13 ГОСТ 23166-78.

7. Стяжки СТ располагают на створках со стороны помещения.

8. Фиксаторы устанавливают на узкие створки окон жилых и общественных зданий.

9. В случае применения заверток со съемными ручками типа Р2 число ручек на изделие устанавливают по согласованию изготовителя с потребителем, но не менее одной.

ПРИЛОЖЕНИЕ 4
Справочное

СПЕЦИФИКАЦИЯ СТЕКОЛ ДЛЯ ОКОН И БАЛКОННЫХ ДВЕРЕЙ ЖИЛЫХ ЗДАНИЙ

Тип С

Марка

Размеры, мм

Количество

 

Высота

Ширина

 

ОС 6-9

400

715

2

ОС 6-12

400

585

315

2

2

ОС 9-9

700

715

2

ОС 9-12

700

585

315

2

2

ОС 12-9

460

715

4

ОС 12-12

1000

460

585

315

2

4

ОС 15-6

760

460

415

2

2

ОС 15-9

760

460

715

2

2

ОС 15-12

1300

760

460

585

315

2

2

2

ОС 15-

1300

715

2

ОС 9-13,5

700

735

315

2

2

ОС 9-15

700

885

315

2

2

ОС 12-13,5

1000

460

735

315

2

4

БС 22-7,5

1300

545

2

БС 24-7,5

1580

545

2

ОС 12-15

1000

460

885

315

2

4

ОС 15-13,5

1300

760

460

735

315

2

2

2

ОС 15-15

1300

760

460

885

315

2

2

2

ОС 15-18

1300

760

460

315

755

315

2

2

2

2

ОС 15-21

1300

760

460

685

315

4

2

2

ОС 18-9

1020

460

695

2

2

ОС 18-13,5

1580

1020

460

695

315

2

2

2

ОС 18-15

1580

1020

460

845

3115

2

2

2

ОС 18-9А

1580

695

2

БС 22-9

1300

695

2

БС 24-9

1580

695

2

Тип Р

 

Размеры, мм

Марка

внутренние

наружные

 

Высота

Ширина

Количество

Высота

Ширина

Количество

ОР 6-9

400

715

1

350

635

1

ОР 6-12

400

315

585

1

1

350

245

515

1

1

ОР 9-9

700

715

1

650

635

1

ОР 9-12

700

315

585

1

1

650

245

515

1

1

ОР 12-9

450

460

715

1

1

445

415

635

1

1

ОР 12-12

1000

450

460

585

315

1

1

1

950

445

415

515

245

1

1

1

ОР 15-6

750

460

415

1

1

745

415

335

1

1

ОР 15-9

750

460

715

1

1

745

415

635.

1

1

ОР 15-12

1300

750

460

585

315

1

1

1

1250

745

415

515

245

1

1

1

ОР 9-13,5

700

315

735

1

1

650

245

665

1

1

ОР 9-15

700

315

885

1

1

650

245

815

1

1

ОР 12-13,5

1000

450

460

735

315

1

1

1

950

445

415

665

245

1

1

1

ОР 12-15

1000

450

460

885

315

1

1

1

950

445

415

815

245

1

1

1

ОР 15-

1300

715

1

1250

635

1

ОР 15-13,5

1300

750

460

735

315

1

1

1

1250

745

415

665

245

1

1

1

ОР 15-15

1300

750

460

885

315

1

1

1

1250

745

415

815

245

1

1

1

ОР 15-18

1300

750

460

755

315

315

1

1

1

1

1250

745

415

685

245

245

1

1

1

1

ОР 15-21

1300

750

460

685

315

2

1

1

1250

745

415

615

245

2

1

1

ОР 18-

1580

695

1

1530

615

1

ОР 18-9

1010

460

695

1

1

1005

415

615

1

1

ОР 18-13,5

1580

1010

460

695

315

1

1

1

1530

1005

415

625

245

1

1

1

ОР 18-15

1580

1010

460

845

315

1

1

1

1530

1005

415

775

245

1

1

1

БР 22-7,5

1300

545

1

1250

465

1

БР 22-9

1300

695

1

1250

615

1

БР 24-7,5

1580

545

1

1530

465

1

БР 24-9

1580

695

1

1530

615

1

ПРИЛОЖЕНИЕ 5
Справочное

СПЕЦИФИКАЦИЯ СТЕКОЛ ДЛЯ ОКОН И БАЛКОННЫХ ДВЕРЕЙ ОБЩЕСТВЕННЫХ ЗДАНИЙ

Тип С

Марка

Размеры, мм

Количество

 

Высота

Ширина

 

ОС 12-9В

980

695

2

ОС 12-12В

980

995

2

ОС 12-13,5В

980

1145

2

ОС 12-15В

980

775

385

2

2

ОС 18-

1050

395

695

2

2

ОС 18-12В

1050

395

995

2

2

ОС 18-13,5В

1050

395

1145

2

2

ОС 18-15В

1580

1050

395

385

775

2

2

2

ОС 18-

1580

695

2

ОС 18-12Г

1580

995

2

ОС 18-13,5Г

1580

1145

2

ОС 18-15Г

1580

775

385

2

2

ОС 12-18В

980

465

995

2

2

ОС 12-2

980

565

1195

2

2

ОС 18-18В

1580

1050

395

465

995

2

2

2

ОС 18-21В

1580

1050

395

565

1195

2

2

2

ОС 18-24В

1580

1050

395

1030

2

2

2

ОС 18-18Г

1580

465

995

2

2

ОС 18-21Г

1580

565

1195

2

2

ОС 18-24Г

1580

1030

4

ОС 21-2

1880

1350

395

565

1195

2

2

2

ОС 21-24В

1880

1350

395

1030

2

2

2

ОС 21-21Г

1880

565

1195

2

2

ОС 21-24Г

1880

1030

4

ОС 18-27В

1580

1050

395

1180

2

2

2

ОС 18-27Г

1580

525

1175

4

2

ОС 21-27В

1880

1350

395

1180

2

2

2

ОС 21-27Г

1880

525

1175

4

2

ОС 21-

1360

395

695

2

2

ОС 21-12В

1350

395

995

2

2

ОС 21-13,5В

1350

395

1145

2

2

ОС 21-9Г

1880

695

2

ОС 21-12Г

1880

995

2

ОС 21-13,5Г

1880

1145

2

ОС 21-15В

11880

1350

395

385

775

2

2

2

ОС 21-18В

1880

1350

395

465

995

2

2

2

ОС 21-45Г

1880

385

775

2

2

ОС 21-18Г

1880

465

995

2

2

БС 38-9

1350

395

695

2

2

БС 28-12

1350

395

995

2

2

БС 28-18

1350

395

750

4

4

Тип Р

 

Размеры, мм

Марка

внутренние

наружные

 

Высота

Ширина

Количество

Высота

Ширина

Количество

ОР 12-

980

695

1

930

615

1

ОР 12-12В

980

995

1

930

915

1

ОР 12-13,5В

980

1145

1

930

1065

1

ОР 12-15В

980

385

775

1

1

930

315

705

1

1

ОР 18-

1050

395

695

1

1

1015

350

615

1

1

ОР 18-12В

1050

395

995

1

1

1015

350

915

1

1

ОР 18-13,5В

1050

395

1145

1

1

1015

350

1065

1

1

ОР 18-15В

1580

1050

395

385

775

1

1

1

1530

1015

350

315

705

1

1

1

ОР 18-

1580

695

1

1530

615

1

ОР 18-12Г

1580

995

1

1530

915

1

ОР 18-13,5Г

1580

1145

1

1530

1065

1

ОР 18-15Г

1580

385

775

1

1

1530

315

705

1

1

ОР 12-18В

980

465

995

1

1

930

395

925

1

1

ОР 12-21В

980

565

1195

1

1

930

495

1125

1

1

ОР 18-18В

1580

1050

395

465

995

1

1

1

1530

1015

350

395

925

1

1

1

ОР 18-21В

1580

1050

395

565

1195

1

1

1

1530

1015

350

495

1125

1

1

1

ОР 18-24В

1580

1050

395

1030

1

1

1

1530

1015

350

960

1

1

1

ОР18-18Г

1580

465

995

1

1

1530

395

925

1

1

ОР 18-21Г

1580

565

1195

1

1

1530

495

1125

1

1

ОР 18-24Г

1580

1030

1

1530

960

2

ОР 18-27В

1580

1050

395

1180

1

1

1

1530

1015

350

1110

1

1

1

ОР 18-27Г

1580

525

1175

2

1

1530

455

1105

2

1

ОР 21-27В

1880

1350

395

1180

1

1

1

1830

1315

350

110

1

1

1

ОР 21-27Г

1880

525

1175

2

1

1830

455

1105

2

1

ОР 21-21В

1880

1350

395

565

1195

1

1

1

1830

1315

350

495

1125

1

1

1

ОР 21-24В

1880

1350

395

1030

1

1

1

1830

1315

350

960

1

1

1

ОР 21-21Г

1880

565

1195

1

1

1830

495

1125

1

1

ОР 21-24Г

1880

1030

2

1830

960

2

ОР 21-

1350

395

695

1

1

1315

350

615

1

1

ОР 21-12В

1350

395

995

1

1

1315

350

915

1

1

ОР 21-13, В5

1350

395

1145

1

1

1315

350

1065

1

1

ОР 21-9Г

1880

695

1

1830

615

1

ОР 21-12Г

1880

995

1

1830

915

1

ОР 21-13,5Г

1880

1145

1

1830

1065

1

ОР 21-15В

1880

1350

395

385

775

1

1

1

1830

1315

350

315

705

1

1

1

ОР 21-18В

1880

1350

395

465

995

1

1

1

1830

1315

350

395

925

1

1

1

ОР 21-15Г

1880

775

385

1

1

1830

705

315

1

1

ОР 21-18Г

1880

995

465

1

1

1830

925

395

1

1

БР 28-9

1350

395

695

1

1

1315

350

615

1

1

БР 28-12

1350

395

995

1

1

1315

350

915

1

1

 

1350

 

2

1315

735

685

1

1

БР 28-18

395

750

2

350

735

685

1

1

 



© 2013 Ёшкин Кот :-)