Информационная система
«Ёшкин Кот»

XXXecatmenu

ГОСУДАРСТВЕННЫЙ СТАНДАРТ СОЮЗА ССР

ЦЕМЕНТЫ ТАМПОНАЖНЫЕ
Методы определения растекаемости, плотности, водоотделения,
времени загустевания и сроков схватывания

ГОСТ 26798.1-85

(СТ СЭВ 6825-89)

ГОСУДАРСТВЕННЫЙ КОМИТЕТ СССР ПО ДЕЛАМ СТРОИТЕЛЬСТВА

Москва

СОДЕРЖАНИЕ

ГОСУДАРСТВЕННЫЙ СТАНДАРТ СОЮЗА ССР

ЦЕМЕНТЫ ТАМПОНАЖНЫЕ

Методы определения растекаемости, плотности, водоотделения, времени загустевания и сроков схватывания

Oil-well cements. Test methods of flowability, density, water-el: mination, thickening time and setting time

ГОСТ 26798.1-85

(СТ СЭВ 6825-89)

Постановлением Государственного комитета СССР по делам строительства от 12 декабря 1935 г. № 230 срок введения установлен

с 01.01.87

Настоящий стандарт распространяется на все виды тампонажных цементов и устанавливает методы испытаний для определения растекаемости, плотности, водоотделения, времени загустевания и сроков схватывания цементного теста.

1. ОПРЕДЕЛЕНИЕ РАСТЕКАЕМОСТИ

1.1. Аппаратура

Чаша, лопатка по ГОСТ 310.3-76.

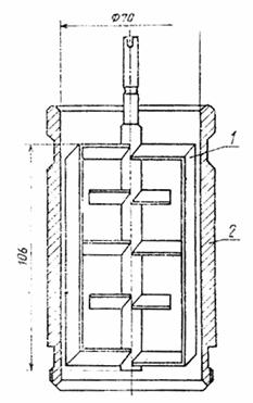
Мешалка для перемешивания цементного теста по СТ СЭВ 3920-82 (п. 4.1). Допускается применение мешалки по черт. 1 со скоростью вращения лопастного устройства (1500±100) мин-1, объемом перемешиваемого раствора в стакане цилиндрической формы от 500 до 900 см3.

Допускается применение мешалок иной конструкции, обеспечивающих получение однородного цементного теста при времени перемешивания (180±5) с.

Форма-конус (черт. 2).

Измерительный столик, установленный горизонтально по уровню, снабженный шкалой, представляющей собой концентрические окружности с минимальным диаметром 70 мм и максимальным не менее 250 мм. Цена деления шкалы должна быть не более 5 мм. Столик должен быть покрыт стеклом.

Линейка с погрешностью ±1 мм по ГОСТ 427-75.

Испытательное оборудование и средства измерений должны подвергаться поверке в соответствии с обязательным приложением.

1.2. Проведение испытаний

1.2.1. Форму-конус устанавливают на стекле в центре измерительного столика таким образом, чтобы внутренняя окружность формы совпадала с начальной окружностью шкалы столика. Внутреннюю поверхность конуса и стекло перед испытанием протирают влажной тканью.

1.2.2. Цементное тесто готовят по ГОСТ 26798.0-85.

1.2.3. Готовым цементным тестом заполняют форму-конус до верхнего торца. Интервал времени от момента окончания перемешивания до момента начала заполнения конуса не должен быть более 5 с. Затем конус резко поднимают в вертикальном направлении.

Мешалка для перемешивания цементного теста

1 - лопастное устройство; 2 - стакан

Черт. 1

Форма-конус

Черт. 2

1.2.4. Диаметр расплыва цементного теста измеряют во взаимно перпендикулярных направлениях металлической линейкой. За значение растекаемости принимают среднее из результатов двух измерений. При этом расхождение между большим и меньшим диаметром не должно быть более 10 мм.

2. ОПРЕДЕЛЕНИЕ ПЛОТНОСТИ

2.1. Аппаратура

Лабораторные весы общего назначения по ГОСТ 24104-88 или другие весы с пределом взвешивания не ниже 500 г и погрешностью взвешивания не более 1,0 г.

Пикнометр вместимостью (100±0,5) см3 (черт. 3).

Чаша и лопатка по ГОСТ 310.3-76.

Мешалка для перемешивания цементного теста по п. 1.1.

2.2. Проведение испытаний

2.2.1. Определяют массу чистого сухого пикнометра с погрешностью до 1,0 г.

2.2.2. Цементное тесто готовят по ГОСТ 26798.0-85.

2.2.3. По окончании перемешивания пикнометр заполняют цементным тестом и закрывают крышкой, при этом цементное тесто должно заполнить канал в крышке пикнометра. Избыток теста, выступивший из отверстия в крышке, удаляют влажной тканью.

2.2.4. Массу пикнометра, заполненного цементным тестом, определяют с погрешностью до 1,0 г.

Пикнометр

1 - пробка; 2 - стакан

Черт. 3

2.2.5. Плотность цементного теста rц вычисляют с округлением до 10 кг/м3 по формуле

кг/м3,                                                                    (1)

где т1 - масса пустого пикнометра, г;

т2 - масса пикнометра с цементным тестом, г;

V - вместимость пикнометра, см.

3. ОПРЕДЕЛЕНИЕ ВОДООТДЕЛЕНИЯ

3.1. Аппаратура

Чаша, лопатка по ГОСТ 310.3- 76.

Мешалка для перемешивания цементного теста по п. 1.1.

2 мерных цилиндра по ГОСТ 1770-74, исполнение 2 или 3, вместимостью 250 мл. с ценой деления не более 2 см3.

3.2. Проведение испытаний

3.2.1. Цементное тесто готовят по ГОСТ 26798.0-85.

3.2.2. Цементное тесто заливают в два цилиндра так, чтобы в каждом из них метка 250 см находилась на уровне верхнего края мениска.

3.2.3. Цилиндры оставляют в покое при температуре (20±3)°С . Через 2 ч измеряют объем отделившейся сверху воды. Разница в отстоях в обоих цилиндрах не должна быть более 0,5 см3.

3.2.4. Водоотделение (W) в процентах от объема цемента вычисляют с точностью до 0,1 % по формуле

,                                                                                      (2)

где v1 и v2 - объем отделившейся воды соответственно в первом и втором цилиндрах, см3.

4. ОПРЕДЕЛЕНИЕ ВРЕМЕНИ ЗАГУСТЕВАНИЯ

4.1. Аппаратура

Мешалка для перемешивания цементного теста по п. 1.1.

Чаша, лопатка по ГОСТ 310.3-76.

Консистометр КЦ-5 для испытания цементов при низких, нормальных и умеренных температурах.

Консистометр КЦ-3 для испытаний цементов при повышенных и высоких температурах. Допускается применение консистометра КЦ-3 для испытаний цементов при низких, нормальных и умеренных температурах.

Консистометры должны быть прокалиброваны в соответствии с инструкцией к прибору. Схема измерительного узла консистометра приведена на черт. 4.

Допускается применение консистометров иной марки, обеспечивающих получение результатов испытаний, сопоставимых с результатами, полученными на консистометрах КЦ-3 и КЦ-5.

4.2. Проведение испытаний

4.2.1. Цементное тесто готовят по ГОСТ 26798.0-85.

4.2.2. Испытание проводят в соответствии с инструкцией к прибору. Температурный режим и давление - по ГОСТ 26798.0-85.

4.2.3. Частота вращения стакана консистометров КЦ-3 и КЦ-5 должна быть (150±5) мин-1. Допускается проводить испытания при частоте вращения стакана этих консистометров (60±2) мин-1.

4.2.4. Временем загустевания цементного теста считают время от начала затворения до момента достижения консистенции 30 единиц консистенции (ед. к) по шкале прибора.

Схема измерительного узла консистометра

1 - лопастное устройство; 2 - стакан

Черт. 4

5. ОПРЕДЕЛЕНИЕ СРОКОВ СХВАТЫВАНИЯ

5.1. Аппаратура

Мешалка для перемешивания цементного теста по п. 1.1.

Чаша и лопатка по ГОСТ 310.3-76.

Прибор Вика с иглой по ГОСТ 310.3-76.

Кольцо к прибору Вика по ГОСТ 310.3-76.

Подставка к прибору (черт. 5).

Термостат, обеспечивающий соблюдение режима по ГОСТ 26798.0-85. Воду в термостате меняют через каждые 7 сут.

Автоклав, обеспечивающий соблюдение режимов по ГОСТ 26798.0-85, с устройством для определения сроков схватывания. Устройство должно быть снабжено набором стержней с иглами или механизмом для сбрасывания иглы и поворота кольца после каждого измерения. Масса стержня с иглой должна быть (340 ± 2) г. Форма, размеры и состояние иглы должны соответствовать ГОСТ 310.3-76.

Подставка к прибору Вика

* i - толщина стенки кольца Вика

Черт. 5

5.2. Определение сроков схватывания цементов для низких и нормальных температур

5.2.1. Перед началом испытаний проверяют, свободно ли опускается стержень прибора Вика, а также нулевое показание прибора. Проверяют чистоту поверхности и отсутствие искривлений иглы.

5.2.2. Кольцо прибора Вика и подставку к нему предварительно смазывают смазочным маслом любой марки (индустриальным или консервационным) или пластичной смазкой любой марки и устанавливают кольцо на подставку.

5.2.3. Цементное тесто готовят по ГОСТ 26798.0-85.

5.2.4. После окончания перемешивания кольцо прибора Вика в один прием заполняют цементным тестом.

5.2.5. Иглу прибора доводят до соприкосновения с поверхностью цементного теста. В этом положении закрепляют стержень стопором, затем освобождают стержень, давая игле свободно погружаться в цементное тесто.

5.2.6. Первое погружение иглы в цементное тесто производят не позднее чем через 1 ч 30 мин после затворения, последующие - через 1 ч 45 мин, 2 ч и 2 ч 15 мин, а в дальнейшем - не реже чем через каждый час.

5.3. Определение сроков схватывания цементов для умеренных температур

5.3.1. Подготовку к испытаниям проводят по пп. 5.2.1 - 5.2.4.

5.3.2. Кольцо Вика накрывают металлической или стеклянной пластинкой и помещают в термостат таким образом, чтобы уровень воды над кольцом был не менее 2 см. Через 1 ч 30 мин кольцо с цементным тестом вынимают из термостата и проводят испытания по п. 5.2.5. Повторные испытания проводят до фиксации начала схватывания через каждые 15 мин, а в дальнейшем не реже чем через каждые 30 мин. После каждого испытания кольцо снова помещают в термостат.

5.4. Определение сроков схватывания цементов для повышенных температур

5.4.1. Цементное тесто готовят по ГОСТ 26798.0-85.

5.4.2. Кольцо устройства для определения сроков схватывания смазывают тонким слоем пластичной смазки любой марки.

Цементное тесто заливают в кольцо устройства для определения сроков схватывания. Закрепляют кольцо в устройстве и помещают его в автоклав, который полностью заполняют рабочей жидкостью согласно инструкции к нему и герметизируют.

5.4.3. Погружать иглы следует в соответствии с программой испытаний. Результаты погружений определяют согласно инструкции по эксплуатации, прилагаемой к устройству для определения сроков схватывания. Интервал времени между последующими погружениями иглы не должен превышать 1 ч.

5.5. Началом схватывания цементного теста считают время, прошедшее от начала затворения до момента, когда игла не доходит до подставки на 1 - 2 мм. Концом схватывания цементного теста считают время от начала затворения до момента, когда игла погружается в тесто на глубину от 1 до 3 мм.

ПРИЛОЖЕНИЕ
Обязательное

ПОВЕРКА ИСПЫТАТЕЛЬНОГО ОБОРУДОВАНИЯ И СРЕДСТВ ИЗМЕРЕНИЙ

1. Поверке подлежат форма-конус, пикнометр, консистометр, автоклав, прибор Вика, устройство для определения сроков схватывания в автоклаве.

2. Поверку производят в соответствии с утвержденными методиками с периодичностью не реже одного раза и год.

3. Проверяемые параметры аппаратуры приведены в таблице.

Объект поверки

Поверяемые узлы или детали

Поверяемые параметры

Форма-конус

-

Размеры

Пикнометр

Прибор в сборе

Вместимость

Консистометр

Средства измерения температур к давления

Показания средств из­мерения

 

Привод стакана, прибор в целом

Скорость вращения, показания в единицах консистенции

Устройство для опре­деления сроков схва­тывания в автоклаве

Игла

Отсутствие искрив­ле­ний, размеры

 

Кольцо

Размеры

 

Падающие части в сборе

Масса

Автоклав

Средства измерения тем­пературы и дав­ле­ния

Показания средств из­мерений

Термостат

Средства измерения температуры

То же

 



© 2013 Ёшкин Кот :-)