ГОСУДАРСТВЕННЫЙ СТАНДАРТ СОЮЗА ССР
ПРОФИЛИ
СТАЛЬНЫЕ ГНУТЫЕ
ГОФРИРОВАННЫЕ
Сортамент
Steel roll-formed corrugated sections.
Dimensions
|
ГОСТ
10551-75
|
Срок действия с 01.01.78
до 01.01.93
1. Настоящий стандарт распространяется
на гнутые гофрированные профили с полукруглой и трапециевидной формой гофров,
изготовляемые на профилегибочных станах, толщиной 1 - 2 мм из холоднокатаной
стали и толщиной 2 - 4 мм - из горячекатаной стали, предназначенные для
вагоностроения.
(Измененная редакция, Изм. № 3).
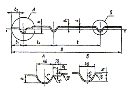
2. Вид профилей, форма
гофров, размеры, справочные величины и масса 1 м профиля должны соответствовать
указанным на черт. 1 - 18 и в табл. 1 - 18.

Черт.
1
Таблица
1
Номер
профиля
|
в
|
b1
|
b2
|
s
|
t
|
R
|
R1
|
h
|
H
|
Количество гофров
|
Масса 1 м, кг
|
Справочные величины для оси х-х
|
мм
|
y0, см
|
Ix, см4
|
Wx, см3
|
1
|
1310 ± 6
|
150
|
121 ± 4
|
3
|
1010 ± 2
|
15
|
8
|
35 ± 2
|
38
|
2
|
32,24
|
0,47
|
26,9
|
8,08
|


Черт.
2
Таблица
2
Номер профиля
|
в ± 7
|
b
|
b1
|
b2 ± 6
|
s
|
t ± 1
|
R
|
h ± 2
|
H
|
Количество гофров
|
Масса 1 м, кг
|
Справочные
величины для оси х-х
|
мм
|
y0, см
|
Ix, см4
|
Wx, см3
|
1
|
1094
|
900
|
100
|
60
|
1,5
|
300
|
8
|
30
|
31,5
|
4
|
14,25
|
0,86
|
25,34
|
11,05
|
2
|
1144
|
900
|
122
|
82
|
1,4
|
300
|
8
|
30
|
31,4
|
4
|
13,87
|
0,82
|
23,91
|
10,3
|
3
|
1276
|
900
|
188
|
148
|
1,5
|
300
|
8
|
30
|
31,5
|
4
|
16,43
|
0,73
|
26,55
|
11,08
|

Черт. 3
Таблица 3
Номер
профиля
|
в ±
7
|
b1
|
b2 ± 6
|
s
|
t1 ± 0,5
|
t ± 0,5
|
R
|
R1
|
R2
|
R3
|
R4
|
h
|
h1
|
H
|
Количество гофров
|
Масса 1 м, кг
|
Справочные величины для оси х-х
|
мм
|
y0, см
|
Ix, см4
|
Wx, см3
|
1
|
345
|
50
|
30
|
2
|
132
|
-
|
17
|
7
|
3
|
14
|
7
|
18
|
21 ± 1
|
23
|
2
|
6,1
|
0,46
|
2,49
|
1,35
|
2
|
552
|
50
|
30
|
2
|
132
|
250
|
17
|
7
|
3
|
14
|
7
|
18
|
21 ± 1
|
23
|
3
|
9,4
|
0,53
|
5,75
|
3,24
|
3
|
562
|
50
|
30
|
2
|
132
|
250
|
17
|
7
|
3
|
14
|
7
|
18
|
21 ± 1
|
23
|
3
|
9,55
|
0,52
|
5,79
|
3,25
|
4
|
880
|
50
|
30
|
2,5
|
132
|
250
|
17
|
7
|
3
|
14
|
7
|
18
|
21 ± 1
|
23,5
|
4
|
18,37
|
0,48
|
10,26
|
5,49
|


Черт. 4
Таблица 4
Номер
профиля
|
в
|
b
|
b1
|
b2
|
s
|
t
|
R
|
R1
|
h
|
H
|
Количество гофров
|
Масса 1 м, кг
|
Справочные величины для оси х-х
|
мм
|
y0, см
|
Ix, см4
|
Wx, см3
|
1
|
980 ± 7
|
840
|
70
|
58,4 ± 5
|
1,5
|
140 ± 0,5
|
12
|
7
|
10 ± 1
|
11,5
|
7
|
11,95
|
0,23
|
1,51
|
1,64
|


Черт.
5
Таблица
5
Номер
профиля
|
в
|
b
|
b1
|
b2
|
s
|
t
|
R
|
R1
|
R2
|
R3
|
h
|
h1
|
H
|
Количество гофров
|
Масса 1 м, кг
|
Справочные величины для оси х-х
|
мм
|
y0, см
|
Ix, см4
|
Wx, см3
|
1
|
1095
|
500
|
250
|
230 ± 6
|
2,5
|
250 ±
0,5
|
66
|
350
|
14
|
7
|
21 ± 1
|
115 ± 10
|
136
|
3
|
20,41
|
0,44
|
148,65
|
53,29
|


Черт. 6
Таблица 6
Номер профиля
|
в ±
7
|
b
|
b1
|
b2 ± 6
|
s
|
t
|
R
|
h ± 2
|
H
|
Количество гофров
|
Масса 1 м, кг
|
Справочные
величины для оси х-х
|
мм
|
y0, см
|
Ix, см4
|
Wx, см3
|
1
|
885
|
700
|
125
|
90
|
1,4
|
175 ± 1
|
4
|
28
|
29,4
|
5
|
11,58
|
1,10
|
21,41
|
11,64
|
2
|
885
|
700
|
125
|
90
|
1,6
|
175 ± 1
|
4
|
28
|
29,6
|
5
|
13,24
|
1,10
|
24,38
|
13,10
|
3
|
885
|
700
|
125
|
90
|
1,8
|
175 ± 1
|
4
|
28
|
29,8
|
5
|
14,41
|
1,12
|
26,76
|
14,39
|
4
|
945
|
700
|
125
|
86
|
1,6
|
175 ± 1
|
4
|
28
|
29,6
|
5
|
13,88
|
1,05
|
25,41
|
13,32
|


Черт. 7
Таблица 7
Номер
профиля
|
в
|
b
|
b1
|
s
|
t ± 0,5
|
R
|
R1
|
R2
|
R3
|
h
|
Н1
± 10
|
H
|
Количество гофров
|
Масса 1 м, кг
|
Справочные величины для оси х-х
|
мм
|
y0, см
|
Ix, см4
|
Wx, см3
|
1
|
900
|
500
|
210
|
190
|
2,5
|
125
|
65
|
14
|
7
|
21 ± 1
|
95
|
116
|
5
|
20,11
|
0,04
|
85,3
|
37,78
|
2
|
915
|
500
|
225
|
205
|
2,5
|
125
|
65
|
14
|
7
|
21 ± 1
|
95
|
116
|
5
|
20,41
|
0,05
|
85,5
|
38
|


Черт. 8
Таблица 8
Номер профиля
|
в ±
8
|
b
|
b1
|
b2 ± 6
|
s
|
t ± 1
|
R
|
h ± 2
|
h1 ± 2
|
H
|
Количество гофров
|
Масса 1 м, кг
|
Справочные
величины для оси х-х
|
мм
|
y0, см
|
Ix, см4
|
Wx, см3
|
1
|
752
|
651
|
50,5
|
25,5
|
1,4
|
93
|
4
|
12,6
|
18,6
|
20
|
8
|
9,67
|
1,03
|
7,65
|
7,39
|
2
|
757
|
651
|
53
|
28
|
1,4
|
93
|
4
|
12,6
|
18,6
|
20
|
8
|
9,73
|
1,03
|
7,66
|
7,41
|

Черт.
9
Таблица
9
Номер
профиля
|
в
|
b1
|
b2
|
s
|
t
|
R
|
h
|
H
|
Количество гофров
|
Масса 1 м, кг
|
Справочные величины для оси х-х
|
мм
|
y0, см
|
Ix, см4
|
Wx, см3
|
1
|
1105 ± 6
|
325
|
225 ± 5
|
3
|
600 ± 1
|
8
|
36 ± 2
|
39
|
2
|
26,87
|
1,08
|
65,78
|
23,3
|


Черт.
10
Таблица
10
Номер профиля
|
в
|
b
|
b1
|
b2 (пред. откл. ± 6)
|
s
|
t (пред. откл. ± 0,5)
|
R
|
R1
|
h (пред. откл. ± 1)
|
H
|
Количество гофров
|
Масса 1 м, кг
|
Справочные
величины для оси х-х
|
мм
|
y0, см
|
Ix, см4
|
Wx, см3
|
1
|
525 ± 6
|
250
|
105
|
85
|
2
|
125
|
17
|
7
|
20
|
22
|
3
|
8,87
|
0,61
|
5,4
|
3,17
|
2
|
1130 ± 8
|
1000
|
50
|
30
|
1,5
|
125
|
17
|
7
|
20
|
21,5
|
9
|
14,93
|
0,50
|
10,64
|
6,9
|

Черт. 11
Таблица 11
Номер
профиля
|
в
|
b1
|
b2
|
s
|
R
|
h
|
H
|
Количество гофров
|
Масса 1 м, кг
|
Справочные величины для оси х-х
|
мм
|
y0, см
|
Ix, см4
|
Wx, см3
|
1
|
985 ± 5
|
500
|
60
|
3
|
8
|
36 ± 2
|
39
|
1
|
23,64
|
0,69
|
38,9
|
12,14
|

Черт.
12
Таблица
12
Номер
профиля
|
в ±
7
|
b1
|
b2 ± 7
|
b3
|
s
|
t ± 1
|
R
|
h ± 2
|
h1
|
H
|
Количество гофров
|
Масса 1 м, кг
|
Справочные величины для оси х-х
|
мм
|
y0, см
|
Ix, см4
|
Wx, см3
|
1
|
1260
|
160
|
60
|
50
|
4
|
600
|
8
|
36
|
6 ± 2
|
40
|
2
|
40,69
|
1,03
|
90,62
|
30,49
|
2
|
1280
|
160
|
60
|
70
|
4
|
600
|
8
|
36
|
6 ± 2
|
40
|
2
|
41,29
|
1,02
|
90,72
|
30,48
|

Черт. 13
Таблица 13
Номер профиля
|
в
|
b
|
b1
|
b2
|
b3
|
s
|
t
|
R
|
h
|
H
|
Количество гофров
|
Масса 1 м, кг
|
Справочные
величины для оси х-х
|
мм
|
y0, см
|
Ix, см4
|
Wx, см3
|
1
|
830 ± 15
|
690
|
70
|
41,5 ± 10
|
58
|
3
|
115 ± 1
|
10
|
27 ± 3
|
30
|
7
|
23,74
|
1,47
|
42,79
|
27,9
|


Черт. 14
Таблица 14
Номер
профиля
|
в ±
7
|
b
|
b1
|
b2 ± 6
|
s
|
t ± 0,5
|
R
|
R1
|
h ± 2
|
H
|
Количество гофров
|
Масса 1 м, кг
|
Справочные величины для оси х-х
|
мм
|
y0, см
|
Ix, см4
|
Wx, см3
|
1
|
735
|
500
|
170
|
150
|
2,0
|
250
|
14
|
7
|
21
|
23
|
3
|
12,29
|
0,40
|
6,26
|
3,29
|
2
|
910
|
750
|
80
|
60
|
2,0
|
250
|
14
|
7
|
21
|
23
|
4
|
15,29
|
0,42
|
8,21
|
4,36
|
3
|
978
|
750
|
168
|
148
|
2,0
|
250
|
14
|
7
|
21
|
23
|
4
|
16,36
|
0,40
|
8,34
|
4,39
|
4
|
978
|
750
|
114
|
94
|
2,0
|
250
|
14
|
7
|
21
|
23
|
4
|
16,30
|
0,36
|
8,34
|
4,39
|
5
|
978
|
750
|
168
|
148
|
1,5
|
250
|
14
|
7
|
21
|
22,5
|
4
|
12,27
|
0,40
|
5,84
|
3,18
|
6
|
985
|
750
|
120
|
100
|
2,0
|
250
|
14
|
7
|
21
|
23
|
4
|
16,47
|
0,40
|
8,35
|
4,39
|
7
|
985
|
750
|
120
|
100
|
1,5
|
250
|
14
|
7
|
21
|
22,5
|
4
|
12,39
|
0,39
|
6,95
|
3,55
|
8
|
990
|
750
|
120
|
100
|
2,0
|
250
|
14
|
7
|
21
|
23
|
4
|
16,55
|
0,40
|
8,35
|
4,39
|
9
|
1025
|
750
|
120
|
100
|
1,5
|
250
|
14
|
7
|
21
|
22,5
|
4
|
12,80
|
0,36
|
6,25
|
3,31
|
10
|
1030
|
750
|
170
|
150
|
2,0
|
250
|
14
|
7
|
21
|
23
|
4
|
17,13
|
0,39
|
8,42
|
4,4
|
11
|
1070
|
750
|
160
|
140
|
1,4
|
250
|
14
|
7
|
21
|
22,4
|
4
|
12,42
|
0,34
|
5,88
|
3,1
|
12
|
1080
|
750
|
165
|
145
|
1,2
|
250
|
14
|
7
|
21
|
22,2
|
4
|
10,21
|
0,26
|
3,58
|
1,83
|
13
|
1080
|
750
|
165
|
145
|
1,4
|
250
|
14
|
7
|
21
|
22,4
|
4
|
12,63
|
0,33
|
5,64
|
2,95
|
14
|
1080
|
750
|
165
|
145
|
1,5
|
250
|
14
|
7
|
21
|
22,5
|
4
|
13,49
|
0,34
|
6,30
|
3,30
|

Черт. 15
Таблица 15
Номер профиля
|
B ± 7
|
b
|
b1
|
b2 ± 6
|
s
|
t ± 0,5
|
R
|
R1
|
R2
|
h ± 2
|
H
|
Количество гофров
|
Масса 1 м, кг
|
Справочные
величины для оси х-х
|
мм
|
y0, см
|
Ix, см4
|
Wx, см3
|
1
|
1000
|
500
|
300
|
44
|
2,5
|
250
|
3,0
|
14
|
7
|
21
|
23,5
|
3
|
20,55
|
0,36
|
8,33
|
4,19
|
2
|
1160
|
750
|
215
|
35
|
2,0
|
250
|
3,0
|
14
|
7
|
21
|
23,0
|
4
|
19,12
|
0,36
|
8,58
|
4,42
|


Черт.
16
Таблица
16
Номер профиля
|

|
b
|
b1
|
b2 ± 6
|
s
|
t ± 1
|
R
|
R1
|
R2
|
R3
|
h ± 2
|
h1 ± 2
|
H
|
Количество гофров
|
Масса 1 м, кг
|
Справочные
величины для оси х-х
|
мм
|
y0, см
|
Ix, см4
|
Wx, см3
|
1
|
975
|
510
|
240
|
180
|
2,5
|
255
|
16
|
15,5
|
11
|
14,5
|
10
|
12
|
14,5
|
9
|
19,68
|
0,38
|
4,16
|
3,91
|
2
|
1050
|
510
|
255
|
196
|
2,5
|
255
|
16
|
15,5
|
11
|
14,5
|
10
|
12
|
14,5
|
9
|
21,20
|
0,37
|
4,29
|
3,96
|
3
|
1210
|
510
|
330
|
270
|
1,5
|
255
|
16
|
15,5
|
11
|
14,5
|
10
|
12
|
13,5
|
9
|
14,68
|
0,28
|
2,61
|
2,44
|
4
|
1215
|
510
|
335
|
275
|
2,5
|
255
|
16
|
15,5
|
11
|
14,5
|
10
|
12
|
14,5
|
9
|
24,39
|
0,33
|
4,52
|
4,06
|

Черт. 17
Таблица 17
Номер профиля
|
в
|
b
|
b1
|
b2
|
s
|
t
|
R
|
h
|
H
|
Количество гофров
|
Масса 1 м, кг
|
Справочные
величины для оси х-х
|
мм
|
y0, см
|
Ix, см4
|
Wx, см3
|
1
|
1035 ± 7
|
600
|
310
|
35 ± 5
|
1,4
|
300
|
8
|
30 ± 2
|
31,4
|
3
|
12,51
|
0,81
|
21,37
|
9,75
|

Черт.
18
Таблица
18
Номер
профиля
|
в
|
b
|
b1
|
b2
|
s
|
t
|
h
|
H
|
Количество гофров
|
Масса 1 м, кг
|
Справочные величины для оси х-х
|
мм
|
y0, см
|
Ix, см4
|
Wx, см3
|
1
|
1283 ± 7
|
900
|
191
|
25 ± 5
|
1,4
|
300
|
30 ± 2
|
31,4
|
4
|
15,8
|
0,97
|
26,53
|
12,22
|
Примечания
к черт. 1
- 18,
табл. 1
- 18:
1. Размеры профилей,
указанные без предельных отклонений, не контролируются.
2. Шаг,
ширина, радиусы кривизны и глубины гофров контролируются при расточке валков, а
на готовом профиле не контролируются.
3. Линейная
плотность, кг/м профиля и справочные величины для осей вычислены по номинальным
размерам. При вычислении линейной плотности профиля плотность стали принята
равной 7,85 г/см3.
4. Линейная плотность, кг/м профиля не является основанием для сдачи
продукции.
(Измененная редакция, Изм. № 1).
3. (Исключен, Изм. № 2).
4. Предельная величина
волнистости боковых полок устанавливается в зависимости от толщины и ширины
полок.
Для профилей толщиной до 2,5
мм волнистость на 1 м не должна превышать:
10 мм - при ширине полки до
20 толщин;
15 мм -
при ширине полки до 70 толщин;
20 мм - при ширине полки до
100 толщин;
25 мм - при ширине полки
более 100 толщин.
Для профилей толщиной более
2,5 мм волнистость не должна превышать 15 мм на 1 м.
Примечание. Для профиля № 2 (см. табл. 3) волнистость не должна
превышать 12 мм на 1 м.
5. Скручивание профилей
вокруг продольной оси не должно превышать 0,1 % длины.
6. Прогиб профилей в
поперечном направлении, измеряемый между крайними гофрами, для профилей
толщиной до 2 мм не нормируется, а для профилей толщиной более 2 мм не должен
превышать 1,5 % ширины профиля.
(Измененная редакция, Изм. № 1).
7. Прогиб профилей по гофрам
в продольном направлении не должен превышать 0,2 % длины профиля.
Для профилей, указанных в
табл. 3,
5, 7 и
профилей № 2 и 8 (см. табл. 14) прогиб в продольном направлении не должен
превышать 1 мм на 1 м и 0,1 % от длины профиля.
8. Профили должны быть
обрезаны под прямым углом. Косина реза не должна превышать 10 мм на ширину
профиля.
9. Ребровая кривизна,
замеряемая по гофрам, не должна превышать 5 мм на длину профиля.
10. Контроль размеров
поперечного сечения и параметров производится на расстоянии не менее 300 мм от
концов профиля.
11. Профили изготовляют
длиной от 3 до 11,8 м.
(Измененная редакция, Изм. № 2).
12. В зависимости от
назначения профили изготовляются:
немерной длины;
мерной длины;
кратной мерной длины.
По соглашению изготовителя с
потребителем допускается изготовление профилей длиной, равной половине
заказываемой.
Примечание. При заказе профилей мерной и кратной мерной длины
допускается наличие профилей немерной длины в количестве не более 10 % массы
партии.
13. При изготовлении
профилей мерной и кратной мерной длины предельные отклонения по длине не должны
превышать:
+40 мм - для профилей длиной
до 6 м;
+80 мм - для профилей длиной
свыше 6 м.
(Измененная редакция, Изм. № 1).
14.
Остальные технические требования должны соответствовать ГОСТ 11474-76.
15. Профили изготавливаются
из сталей марок: Ст0, Ст1кп, Ст1пс, Ст2кп, Ст2пс, Ст3кп, Ст3пс по ГОСТ
16523-89.
08кп, 08пc, 08,
10кп, 10пс, 10, 15кп, 15пс, 15, 20кп, 20пс, 20 по ГОСТ
16523-89.
Профили, указанные в табл. 4, 9, 11, 12, и
профили № 3, 4, 10, 12 (см. табл. 14) должны изготавливаться из стали марок 09Г2,
09Г2Д, 10ХНДП по ГОСТ
17066-80.
(Измененная редакция, Изм. № 2, 4).
ИНФОРМАЦИОННЫЕ ДАННЫЕ
1. РАЗРАБОТАН И ВНЕСЕН
Министерством черной металлургии СССР
РАЗРАБОТЧИКИ
И.С. Тришевский, А.П.
Игнатенко, И.М. Козлова, В.М. Мейстер, А.А. Юхновский, А.Ф. Борисов. А.В.
Гличев
2. УТВЕРЖДЕН И ВВЕДЕН В
ДЕЙСТВИЕ Постановлением Государственного комитета СССР по стандартам от 29
декабря 1975 г. № 4074
3. ВЗАМЕН ГОСТ 10551-63
4. ССЫЛОЧНЫЕ
НОРМАТИВНО-ТЕХНИЧЕСКИЕ ДОКУМЕНТЫ
Обозначение НТД,
на который дана ссылка
|
Номер пункта,
подпункта, перечисления, приложения
|
ГОСТ 11474-76
|
14
|
ГОСТ
16523-89
|
15
|
ГОСТ
17066-80
|
15
|
5. Срок действия продлен до 01.01.93
Постановление Госстандарта СССР от 05.07.89 № 2334
6.
ПЕРЕИЗДАНИЕ
с Изменениями № 1, 2, 3, 4, утвержденными в июне 1978 г., июне 1987 г., июле
1989 г., октябре 1990 г. (ИУС 6-78, 11-87, 11-89, 1-91).
|