Информационная система
«Ёшкин Кот»

XXXecatmenu

ГОСУДАРСТВЕННЫЙ СТАНДАРТ СОЮЗА ССР

ТОПОРИЩА ДЛЯ ТОПОРОВ
СТРОИТЕЛЬНЫХ

ТЕХНИЧЕСКИЕ УСЛОВИЯ

ГОСТ 1400-91

КОМИТЕТ СТАНДАРТИЗАЦИИ И МЕТРОЛОГИИ СССР

Москва

ГОСУДАРСТВЕННЫЙ СТАНДАРТ СОЮЗА ССР

ТОПОРИЩА ДЛЯ ТОПОРОВ СТРОИТЕЛЬНЫХ

Технические условия

Handles for builders axes.
Specifications

ГОСТ
1400-91

Дата введения 01.07.92

Настоящий стандарт распространяется на топорища для строительных топоров (далее - топорища), применяемые для насадки на них топоров.

Требования пп. 1.1.4, 1.2.6, 1.4.2 настоящего стандарта являются рекомендуемыми, остальные требования настоящего стандарта являются обязательными.

1. ТЕХНИЧЕСКИЕ ТРЕБОВАНИЯ

1.1. Основные размеры

1.1.1. Топорища должны изготовляться в соответствии с требованиями настоящего стандарта по рабочим чертежам и образцам-эталонам, утвержденным в установленном порядке.

1.1.2. Топорища изготавливают для топоров следующих типоразмеров: А0, А1, А2, A3, Б1, Б2 и Б3 по ГОСТ 18578.

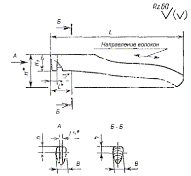
1.1.3. Основные размеры топорищ должны соответствовать указанным на черт. 1 и в табл. 1.

1.1.4. Варианты конструкций топорищ, указанные на черт. 2-7, являются рекомендуемыми и приведены в приложении.

1.1.5. Неуказанные предельные отклонения размеров топорищ должны соответствовать классу точности  по ГОСТ 6449.5.

1.1.6. Условное обозначение топорищ должно состоять из обозначения типа топорища и обозначения настоящего стандарта.

Пример условного обозначения топорищ типа 1

Топорище 1 ГОСТ 1400-91

* Размеры для справок.

Черт 1

Таблица 1

Типоразмер топора

Тип топорища

L±10

l*

H*

H1±1

B±1

h

Б1

I

370

60

100

47

23

15

Б2

II

400

А0

II-1

48

80

49

27,5

-

А1, Б3

III

500

70

99

55

27

20

А2, А3

IV

550

80

127

66

29

А2

IV-1

500

65

112

28,5

-

* Размеры для справок

1.2. Характеристики

1.2.1. Топорища должны изготовляться из пиломатериалов первого и второго сортов твердых лиственных пород и березы по ГОСТ 2695.

1.2.2. Влажность древесины топорищ не должна превышать 18 %.

1.2.3. В древесине топорищ не допускаются частично сросшиеся и несросшиеся групповые сучки, трещины, гнили, прорости, свилеватость и червоточина. На торцах топорищ не допускаются сучки.

На топорище допускается не более двух несквозных сросшихся сучков диаметром до 10 мм, располагающихся на расстоянии более двух третей длины топорища от торца всадной части.

Волокна древесины должны проходить вдоль продольной оси топорища, отклонение наклона волокон от продольной оси не должно превышать 5 % длины топорища.

Остальные пороки и дефекты древесины топорищ по ГОСТ 2140 не должны превышать норм, установленных для пиломатериалов первого сорта по ГОСТ 2695.

1.2.4. Смещение оси прорези под клин относительно оси симметрии торца топорища не должно превышать 2 мм.

1.2.5. Топорища должны быть покрыты эмалью по ГОСТ 5406 или лаком по ГОСТ 4976, или олифой по ГОСТ 7931, или олифой оксоль по ГОСТ 190.

1.2.6. По согласованию с потребителем допускаются топорища без покрытия.

1.2.7. Лакокрасочные покрытия должны соответствовать классу VII по ГОСТ 9.032, условия эксплуатации - группе VI по ГОСТ 9.104.

1.2.8. Срок службы топорищ - не менее 12 мес.

1.3. Маркировка

1.3.1. На поверхности каждого топорища, поставляемого не в сборе с топором, должны быть нанесены:

товарный знак предприятия-изготовителя;

условное обозначение топорища.

1.3.2. Способ нанесения маркировки должен обеспечивать ее сохранность в течение гарантийного срока.

1.3.3. Место нанесения маркировки указывается на рабочих чертежах.

1.4. Упаковка

1.4.1. Топорища должны быть упакованы. Упаковка должна предохранять топорища от механических повреждений и воздействия влаги.

Масса топорищ с упаковкой не должна превышать 50 кг.

1.4.2. Вид упаковки устанавливается по согласованию с потребителем.

1.4.3. В транспортную тару должен быть вложен упаковочный лист, в котором должны быть указаны:

наименование или товарный знак предприятия изготовителя,

условное обозначение изделия,

количество топорищ,

штамп технического контроля,

дата выпуска.

1.4.4. Транспортная маркировка - по ГОСТ 14192.

2. ПРИЕМКА

2.1. Для проверки соответствия топорищ требованиям настоящего стандарта проводят приемосдаточные испытания.

2.2. Приемку топорищ проводят партиями.

Партия должна состоять из топорищ одного типа, одновременно предъявленных к приемке по одному документу.

2.3. При приемосдаточных испытаниях топорищ применяют двухступенчатый контроль в соответствии с ГОСТ 18242 и табл. 2.

Таблица 2

Объем партии топорищ, шт.

Ступень контроля

Объем одной выборки топорищ, шт

Объем двух выборок топорищ, шт

Приемочное число

Браковочное число

51-90

Первая

8

16

0

2

Вторая

8

1

2

91-150

Первая

13

26

0

3

Вторая

13

3

4

151-280

Первая

20

40

1

4

Вторая

20

4

5

281-500

Первая

32

64

2

5

Вторая

32

6

7

501-1200

Первая

50

100

3

7

Вторая

50

8

9

1201-3200

Первая

80

160

5

9

Вторая

80

12

13

3201-10000

Первая

125

250

7

11

Вторая

125

18

19

10001-35000

Первая

200

400

11

16

Вторая

200

26

27

2.4. Партию топорищ принимают, если число дефектных топорищ в первой выборке меньше или равно приемочному числу, и бракуют без назначения второй выборки, если число дефектных топорищ больше или равно браковочному числу.

Если количество дефектных топорищ в первой выборке больше приемочного числа, но меньше браковочного, проводят вторую выборку.

Партию топорищ принимают, если количество дефектных топорищ в двух выборках меньше или равно приемочному числу, и бракуют, если количество дефектных топорищ в двух выборках больше или равно браковочному числу.

2.5. Срок службы топорищ проверяют один раз в два года по типовым представителям изделий.

При этом на подконтрольную эксплуатацию должно быть поставлено не менее 7 топорищ, а результат контроля должен считаться удовлетворительным, если каждое изделие проработает в регламентированных условиях не менее срока, указанного в п. 1.2.8.

3. МЕТОДЫ КОНТРОЛЯ

3.1. Габаритные размеры топорищ проверяют при помощи измерительных средств с погрешностью ±1 мм, остальные размеры топорищ, диаметр сучков, отклонение волокон древесины и смещение оси прорези под клин - с погрешностью ±0,1 мм.

3.2. Требования пп. 1.1.1 (в части образцов-эталонов), 1.2.3, 1.2.5-1.2.7 проверяют визуально методом сравнения с образцом-эталоном.

3.3. Влажность топорищ определяют по ГОСТ 16588 или при помощи влагомера по ГОСТ 24447.

3.4. Шероховатость поверхности топорищ без покрытий контролируют визуально методом сравнения с образцом-эталоном.

3.5. Срок службы топорищ проверяют путем их использования по прямому назначению.

По результатам подконтрольной эксплуатации потребителем составляется заключение о фактическом сроке службы изделия.

4. ТРАНСПОРТИРОВАНИЕ И ХРАНЕНИЕ

4.1. Упакованные топорища транспортируют всеми видами транспорта в соответствии с Правилами перевозки грузов, действующими на данном виде транспорта.

4.2. Хранение топорищ - по ГОСТ 15150 по 2-й группе хранения.

5. ГАРАНТИИ ИЗГОТОВИТЕЛЯ

5.1. Изготовитель гарантирует соответствие топорищ требованиям настоящего стандарта при соблюдении условий их транспортирования и хранения.

5.2. Гарантийный срок эксплуатации - 1 мес со дня продажи через розничную торговую сеть, а для внерыночного потребления - со дня получения потребителем.

ПРИЛОЖЕНИЕ

Рекомендуемое

Топорище I

* Размер для справок

Черт 2

Топорище II

* Размер для справок

Черт 3

Топорище II-1

Черт 4

Топорище III

* Размер для справок

Черт 5

Топорище IV

* Размер для справок.

Черт. 6

Топорище IV-1

Черт. 7

ИНФОРМАЦИОННЫЕ ДАННЫЕ

1. РАЗРАБОТАН И ВНЕСЕН Министерством тяжелого машиностроения СССР

РАЗРАБОТЧИКИ

Б.Г. Гольдштейн, Б.Г. Толков, В.Б. Игумнов, Э.В. Зайцева

2. УТВЕРЖДЕН И ВВЕДЕН В ДЕЙСТВИЕ Постановлением Комитета стандартизации и метрологии СССР от 11.10.91 № 1610

3. Периодичность проверки - 5 лет

4. ВЗАМЕН ГОСТ 1400-73

5. ССЫЛОЧНЫЕ НОРМАТИВНО-ТЕХНИЧЕСКИЕ ДОКУМЕНТЫ

Обозначение НТД, на который дана ссылка

Номер пункта

ГОСТ 9.032-74

1.2.7

ГОСТ 9.104-79

1.2.7

ГОСТ 190-78

1.2.5

ГОСТ 2140-81

1.2.3

ГОСТ 2695-83

1.2.1, 1.2.3

ГОСТ 4976-83

1.2.5

ГОСТ 5406-84

1.2.5

ГОСТ 6449.5-82

1.15

ГОСТ 7931-76

1.2.5

ГОСТ 14192-77

1.4.4

ГОСТ 15150-69

4.2

ГОСТ 16588-79

3.3

ГОСТ 18242-72

2.3

ГОСТ 18578-89

1.1.2

ГОСТ 24447-80

3.3

СОДЕРЖАНИЕ

 



© 2013 Ёшкин Кот :-)