Информационная система
«Ёшкин Кот»

XXXecatmenu

ФЕДЕРАЛЬНОЕ АГЕНТСТВО
ПО ТЕХНИЧЕСКОМУ РЕГУЛИРОВАНИЮ И МЕТРОЛОГИИ

НАЦИОНАЛЬНЫЙ
СТАНДАРТ
РОССИЙСКОЙ
ФЕДЕРАЦИИ

ГОСТ Р ИСО
17659-
2009

Сварка

ТЕРМИНЫ МНОГОЯЗЫЧНЫЕ ДЛЯ СВАРНЫХ СОЕДИНЕНИЙ

ISO 17659:2002
Welding - Multilingual terms for welded joints with illustrations
(IDT)

Москва

Стандартинформ

2010

Предисловие

Цели и принципы стандартизации в Российской Федерации установлены Федеральным законом от 27 декабря 2002 г. № 184-ФЗ «О техническом регулировании», а правила применения национальных стандартов Российской Федерации - ГОСТ Р 1.0-2004 «Стандартизация в Российской федерации. Основные положения»

Сведения о стандарте

1 ПОДГОТОВЛЕН Федеральным государственным учреждением «Научно-учебный центр «Сварка и контроль» при МГТУ им. Н.Э. Баумана (ФГУ НУЦСК при МГТУ им. Н.Э. Баумана), Национальным агентством контроля и сварки (НАКС) и Санкт-Петербургским государственным политехническим университетом (СПбГПУ) на основе собственного аутентичного перевода стандарта, указанного в пункте 4

2 ВНЕСЕН Техническим комитетом по стандартизации ТК364 «Сварка и родственные процессы»

3 УТВЕРЖДЕН И ВВЕДЕН В ДЕЙСТВИЕ Приказом Федерального агентства по техническому регулированию и метрологии от 4 августа 2009 г. № 279-ст

4 Настоящий стандарт идентичен международному стандарту ИСО 17659:2002 «Сварка. Многоязычные термины для сварных соединений с рисунками» (ISO 17659:2002 «Welding - Multilingual terms for welded joints with illustrations»).

Наименование настоящего стандарта изменено относительно наименования указанного международного стандарта для приведения в соответствие с ГОСТ Р 1.5-2004 (пункт 3.5).

При применении настоящего стандарта рекомендуется использовать вместо ссылочных международных стандартов соответствующие им национальные стандарты, сведения о которых приведены в дополнительном приложении Б

5 ВВЕДЕН ВПЕРВЫЕ

Информация об изменениях к настоящему стандарту публикуется в ежегодно издаваемом информационном указателе «Национальные стандарты», а текст изменений и поправок - в ежемесячно издаваемых информационных указателях «Национальные стандарты». В случае пересмотра (замены) или отмены настоящего стандарта соответствующее уведомление будет опубликовано в ежемесячно издаваемом информационном указателе «Национальные стандарты». Соответствующая информация, уведомление и тексты размещаются также в информационной системе общего пользования - на официальном сайте Федерального агентства по техническому регулированию и метрологии в сети Интернет

Содержание

Предисловие

Введение

1 Область применения

2 Нормативные ссылки

3 Термины и определения

4 Использование эквивалентных терминов

5 Типы соединений

6 Типы подготовки соединений под сварку и геометрия соединений

7 Швы при сварке плавлением

8 Толщина угловых швов

9 Швы при сварке давлением

10 Примеры швов при сварке плавлением соединений различных типов и с различной подготовкой деталей под сварку

Приложение A (справочное) Сравнение с терминами, применяемыми в США

Алфавитный указатель на русском языке

Алфавитный указатель на английском языке

Алфавитный указатель на французском языке

Приложение Б (справочное) Сведения о соответствии национальных стандартов Российской Федерации ссылочным международным стандартам

Введение

Международный стандарт ИСО 17659 разработан техническим комитетом ИСО/ТК 44 «Сварка и родственные процессы», подкомитетом ПК 7 «Термины и определения».

Тип соединения и подготовка соединения под сварку являются важными составляющими сварных конструкций и зависят от толщины деталей, материалов, процесса сварки и положения сварного шва в пространстве. Поэтому при чтении на разных языках необходимо, чтобы эквивалентные термины толковались однозначно; недоразумения могут иметь серьезные и даже опасные последствия.

Цель данного стандарта - дать однозначное представление сварочных терминов общего употребления. Схематические изображения привязаны к русским, английским и французским терминам, однако, при необходимости, их можно адаптировать, добавляя соответствующие термины на других языках.

ГОСТ Р ИСО 17659-2009

НАЦИОНАЛЬНЫЙ СТАНДАРТ РОССИЙСКОЙ ФЕДЕРАЦИИ

Сварка

ТЕРМИНЫ МНОГОЯЗЫЧНЫЕ ДЛЯ СВАРНЫХ СОЕДИНЕНИЙ

Welding. Multilingual terms for welded joints

Дата введения - 2010-07-01

1 Область применения

Настоящий стандарт описывает с помощью графического изображения большинство наиболее употребительных терминов на русском, английском и французском языках, относящихся к типам соединений, их подготовке и сварным швам.

Настоящий стандарт может использоваться самостоятельно или совместно с другими подобными стандартами.

Примечания

1 Приведенные в настоящем стандарте рисунки являются лишь эскизами, служащими для пояснения характерных особенностей различных типов соединения. Необязательно изображать эти рисунки в таком же виде на проектных или технических чертежах (например, согласно ИСО 2553).

2 В настоящем стандарте приведены эквивалентные термины на трех официальных языках ИСО (русском, английском и французском).

2 Нормативные ссылки

Нижеследующие нормативные ссылки содержат положения, которые посредством ссылок в данном тексте составляют положения международного стандарта. Если ссылки датированы, то последующие поправки к ним или их пересмотры не используют. Однако участвующим сторонам соглашений на основе настоящего стандарта рекомендуется выяснить возможность применения самых последних изданий нормативных документов, указанных ниже. Поскольку ссылки не датированы, то используют последнее издание документа, на который дается ссылка.

ИСО 857-1 Сварка и родственные процессы. Словарь. Часть 1. Процессы сварки металлов

ИСО 2553 Соединения сварные и паяные. Условные обозначения на чертежах

3 Термины и определения

В настоящем стандарте применены следующие термины с соответствующими определениями.

3.1

3.1

3.1

соединение: Сочленение деталей, которые уже соединены или должны быть соединены.

joint

the junction of workpieces or the edges of workpieces that are to be joined or have been joined

assemblage

disposition relative des pièces ou des bords des pièces à souder ou qui ont été soudé(e)s

3.2

3.2

3.2

сварка плавлением: Сварка, осуществляемая оплавлением сопрягаемых поверхностей без приложения внешней силы, обычно, но необязательно, добавляется расплавленный присадочный металл.

fusion welding

welding involving localized melting without the application of external force in which the fusion surface(s) has (have) to be melted

 

soudage par fusion

soudage avec fusion locale sans application d'effort extérieur, dans lequel les faces а souder sont fondues

 

 

NOTE Filler metal may or may not be added

NOTE Un métal d'apport peut ou non être utilisé.

3.3

3.3

3.3

сварка давлением: Сварка, осуществляемая приложением внешней силы и сопровождаемая пластическим деформированием сопрягаемых поверхностей, обычно без присадочного металла.

welding using pressure

welding in which sufficient external force is applied to cause more or less plastic deformation of both the contact surfaces, generally without the addition of filler metal

soudage avec pression

procédé de soudage dans lequel un effort extérieur suffisant est appliqué pour provoquer une déformation plastique plus ou moins forte des faces à souder, en général sans métal d'apport

Примечание - Сопрягаемые поверхности допускается нагревать, чтобы облегчить получение соединения (ИСО 857-1 ).

NOTE The faying surfaces may be heated to permit or facilitate о-joining. [ISO 857-1]

NOTE Les faces à souder peuvent кtre chauffées afin de permettre ou de faciliter la liaison.

3.4

3.4

3.4

сопрягаемая поверхность:

Поверхность одной детали, которая предназначена для соединения с поверхностью другой детали для формирования соединения.

faying surface

surface of one component that is intended to be in contact with a surface of another component to form a joint

face à souder

surface de l'une des pièces destinée à кtre mise en contact avec une surface d'une autre pièce pour constituer un assemblage

3.5

3.5

3.5

частичное проплавление:

Проплавление, которое преднамеренно не является полным.

partial penetration

penetration that is intentionally not full penetration

pénétration partielle

pénétration volontairement moindre qu'une pleine pénétration

3.6

3.6

3.6

неполное проплавление:

Проплавление, глубина которого менее установленной.

incomplete penetration

penetration that is less than that required or specified

manque de pénétration

pénétration moindre que celle exigée ou spécifiée

3.7

3.7

3.7

стыковое соединение:

Тип соединения, при котором детали лежат в одной плоскости и примыкают друг к друг торцовыми поверхностями.

butt joint

type of joint where the parts lie approximately in the same plane and abut against one another

assemblage bout а bout

type d'assemblage dans lequel les pièces sont situées approximativement dans un mкme plan et sont en contact entre elles

3.8

3.8

3.8

параллельное соединение:

Тип соединения, при котором детали параллельны друг другу, например при плакировании взрывом.

parallel joint

type of joint where the parts lie parallel to each other, e.g. in explosive cladding

assemblage а recouvrement total

type d'assemblage dans lequel les pièces sont situées dans des plans parallèles en se recouvrant totalement, par exemple en placage par explosion

3.9

3.9

3.9

нахлесточное соединение:

Тип соединения, при котором детали параллельны друг другу и частично перекрывают друг друга.

lap joint

type of joint where the parts lie parallel to each other and overlap each other

assemblage а recouvrement

type d'assemblage dans lequel les pièces sont situées dans des plans parallèles en se recouvrant partiellement

3.10

3.10

3.10

тавровое соединение под прямым углом:

Тип соединения, при котором детали сопрягаются под прямым углом (образуя Т-образную форму).

T-joint

type of joint where the parts meet each other at approximately right angles (forming a T-shape)

assemblage en T

type d'assemblage dans lequel les pièces sont approximativement perpendiculaires entre elles, formant un T

3.11

3.11

3.11

крестообразное соединение:

Тип соединения, при котором две детали, лежащие в одной плоскости, примыкают под прямым углом к третьей детали, лежащей между ними (образуя двойную Т-образную форму).

cruciform joint

type of joint where two parts lying in the same plane each meet, at right angles, a third part lying between them (forming a double T-shape)

assemblage en croix

type d'assemblage dans lequel deux pièces situées dans un mкme plan sont perpendiculaires а une troisième, formant un double T

3.12

3.12

3.12

тавровое соединение под острым углом:

Тип соединения, при котором одна деталь примыкает к другой под острым углом.

angle joint

type of joint where one part meets the other at an acute angle

assemblage en angle а forte inclinaison

type d'assemblage dans lequel les pièces forment entre elles un angle ouvert et un angle fermé

3.13

3.13

3.13

угловое соединение:

Тип соединения, при котором угол между поверхностями двух деталей в месте примыкания кромок свыше 30°.

corner joint

type of joint where two parts meet at their edges at an angle greater than 30° to each other

assemblage en angle extérieur

type d'assemblage dans lequel deux pièces en contact par un chant ou par leurs arкtes forment entre elles un angle supérieur а 30°

3.14

3.14

3.14

торцовое соединение:

Тип соединения, при котором угол между поверхностями двух деталей в месте примыкания кромок составляет от 0° до 30°.

edge joint

type of joint where two parts meet at their edges at an angle of 0° to 30°

assemblage sur chant

type d'assemblage dans lequel deux pièces en contact par leurs arкtes forment entre elles un angle compris entre et 30°

3.15

3.15

3.15

соединение нескольких деталей:

Тип соединения, при котором не менее трех деталей примыкают друг к другу под любым установленным углом.

multiple joint

type of joint where three or more parts meet at any required angle to each other

assemblage а joints multiples

type d'assemblage dans lequel trios pièces ou plus forment entre elles des angles de valeur quelconque

3.16

3.16

3.16

перекрестное соединение:

Тип соединения, при котором две детали (например, проволоки) лежат друг на друге пересекаясь.

cross joint

type of joint where two parts (e.g. wires) lie crossing over each other

assemblage de fils en croix assemblage de ronds en croix

type d'assemblage dans lequel deux pièces, par exemple des fils ou des ronds, forment une croix

3.17

3.17

3.17

максимальная толщина шва:

Значение, измеряемое от самой глубокой точки проплавления углового шва или крайней точки корня стыкового шва до наивысшей точки выпуклости шва.

maximum throat thickness

dimension measured from the deepest point of the penetration in fillet welds or the extremity of the root run in butt welds to the highest point of the excess weld metal

gorge totale (soudures d'angle) épaisseur totale (soudures bout а bout)

soudures d'angle distance mesurée entre le point le plus bas de la pénétration et le point le plus haut de la surépaisseur soudures bout а bout distance mesurée entre le point le plus bas de la passe de fond et le point le plus haut de la surépaisseur

Примечание - Измерение обычно проводят по поперечному сечению шва.

NOTE This is usually measured from a cross-section.

NOTE Cette distance est

habituellement mesurée sur une coupe transversale.

3.18

3.18

3.18

проектная толщина шва:

Толщина шва, установленная проектировщиком.

design throat thickness

throat thickness specified by the designer

gorge théorique(soudures d'angle) épaisseur théorique (soudures bout а bout)

gorge spécifiée par le concepteur

3.19

3.19

3.19

теоретическая толщина углового шва: Высота наибольшего равнобедренного треугольника, который можно вписать в сечение выполненного шва; теоретическая толщина стыкового шва: Минимальное расстояние от поверхности детали до корня шва (ИСО 2553).

actual throat thickness

(fillet welds), the value of the height of the largest isosceles triangle that can be inscribed in the section of the finalized weld (butt welds), the minimum distance from the surface of the part to the bottom of the penetration [ISO 2553]

gorge réelle (soudures d'angle) épaisseur réelle (soudures bout а bout)

(soudures d'angle) hauteur duplus grand triangle isocèle pouvant кtre inscrit dans la soudure terminée (soudures bout а bout) distance minimale de la surface de la pièce а la partie inférieure de la penetration envers [ISO 2553]

3.20

3.20

3.20

эффективная толщина шва:

Размер, который определяет передачу нагрузки и зависит от формы и глубины проплавле-ния шва.

effective throat thickness

dimension that is responsible for carrying the load, dependent on the shape and penetration of the weld

gorge efficace(soudures d'angle) épaisseur efficace (soudures bout а bout)

dimension qui transmet l'effort et qui dépend de la forme géométrique et de la pénétration de la soudure

3.21

3.21

3.21

катет углового шва: Сторона наибольшего равнобедренного треугольника, который можно вписать в сечение шва.

leg length

side of the largest isosceles triangle that can be inscribed in the section

côté

soudures d'angle côté du plus grand triangle isocèle inscrit dans la section

4 Использование эквивалентных терминов

Последующие таблицы отображают общепринятое употребление терминов на разных языках, но термины, показанные как эквивалентные, необязательно в точности соответствуют друг другу по значению и определению. В частности, английский термин «fusion face» («расплавляемая поверхность») относится к любой части поверхности заготовки, расплавляемой во время сварки; в зависимости от контекста этот термин может соответствовать французским терминам «face à souder» или «face du chanfrei».

Сравнимые термины, применяемые в США, приведены в приложении А.

5 Типы соединений

Тип соединения определяют количеством, размерами и относительной ориентацией соединяемых деталей. На рисунке 1 схематично показаны примеры с соответствующими терминами и пояснениями.

Рисунок 1 - Типы соединений
Figure 1 - Types of joints
Figure 1 - Types
d'assemblages

6 Типы подготовки соединений под сварку и геометрия соединений

Рисунки 2-11 и таблицы 1-5 иллюстрируют термины, относящиеся к подготовке соединений и геометрии соединений. Обозначения, показанные на рисунках, приведены перед соответствующими терминами. Линейные размеры и углы показаны числами, а поверхности - буквами. Рисунки приведены в описательных целях и не могут быть основой для технических чертежей.

Рисунки 2-8 относятся к типам подготовки соединений и геометрии соединений при сварке плавлением, рисунки 9-11 - при сварке давлением.

В некоторых случаях соответствующие цифровые обозначения на разных рисунках относятся к одним и тем же терминам, однако это не всегда справедливо для всех рисунков, приведенных в настоящем стандарте.

Рисунок 2 - Подготовка под сварку стыкового соединения без скоса кромок
Figure 2 - Preparation for square butt weld
Figure 2 - Préparation pour soudure bout à bout sur bords droits

Рисунок 3 - Подготовка под сварку стыкового соединения со скосом одной кромки с притуплением и с подкладкой
Figure 3 - Preparation for single bevel butt weld with backing
Figure 3 - Préparation pour soudure en demi-Y avec support

Рисунок 4 - Подготовка под сварку стыкового соединения с V-образным скосом кромок и с притуплением
Figure 4 - Preparation for single V-butt weld
Figure 4 - Préparation en Y

Рисунок 5 - Подготовка под сварку стыкового соединения с U-образным скосом кромок
Figure 5 - Preparation for single U-butt weld
Figure 5 - Préparation en U

Таблица 1 - Термины, относящиеся к подготовке стыковых соединений

Позиция

Русский

English

Français

А

Лицевая поверхность детали

upper workpiece surface

face supérieure de la pièce

В

Обратная сторона детали

reverse side

face inférieure de la pièce

С

Боковая кромка пластины

plate edge

chant de la pièce

Da

Расплавляемая поверхность (без скоса кромки)

fusion face (unprepared)

face à souder

Еа

Расплавляемая поверхность (со скосом кромки)

fusion face (prepared)

face du chanfrein

F

Поверхность притупления кромки

root face

méplat, talon

X

Подкладка

weld pool backing

latte-support

1

Толщина пластины

plate thickness

épaisseur de la pièce

3

Боковое ребро детали

side edge of workpiece

arête latérale de la pièce

4а, 11а

Зазор между свариваемыми поверхностями

Root gap

écartement des bords

5

Ребро стыкуемой поверхности

Side of gap face

arête longitudinale du joint

6

Боковое ребро расплавляемой поверхности

Side of fusion face

arкte latérale du joint

7

Длина соединения

Joint length

longueur du joint

8

Продольное ребро скошенной кромки

longitudinal edge of preparation

arête longitudinale du chanfrein

9

Толщина соединения

joint thickness

profondeur du joint

10

Радиус при вершине разделки

root radius

rayon à fond de chanfrein

12

Притупление кромки

depth of root face

hauteur du talon

14

Боковое ребро притупления кромки

side edge of root face

arête faciale du talon

15

Боковое ребро скошенной кромки

side edge of preparation

arête faciale du chanfrein

16

Ширина обработки кромки

width of preparation

largeur du chanfrein

17

Угол скоса кромки

angle of bevel

angle du chanfrein

18

Глубина обработки кромки

depth of preparation

profondeur du chanfrein

19

Ширина скошенной поверхности кромки

width of prepared face

largeur de la face du chanfrein

20

Ширина разделки

joint width

largeur de l'ouverture

21

Угол разделки кромок

included angle

angle d'ouverture

44

Выступ кромки

land

lèvre

 

а См. раздел 4 об использовании эквивалентных терминов.

a See Clause 4, use of equivalent terms.

a Voir article 4, utilisation de termes équivalents.

Рисунок 6 - Подготовка под сварку таврового соединения
Figure 6 - Preparation for fillet weld (T-joint)
Figure 6 -
Préparation pour soudures d'angle sur assemblage en T

Рисунок 7 - Подготовка под сварку таврового соединения с двусторонним скосом кромки
Figure 7 - Preparation for double-bevel T-butt welds
Figure 7 - Préparation pour soudures d'angle sur assemblage en T avec double chanfrein

Таблица 2 - Термины, относящиеся к подготовке тавровых соединений

Позиция

Русский

English

Français

Е

Расплавляемая поверхность

fusion face (prepared)

face du chanfrein

1а

Расплавляемая поверхность

fusion face (fillet weld)

face à souder

1

Толщина пластины

plate thickness

épaisseur de la pièce

4, 11а

Зазор между свариваемыми деталями

root gap

écartement des bords

7а

Длина соединения

joint length

longueur du joint

8

Продольное ребро скошенной кромки

longitudinal edge of preparation

arête longitudinale du chanfrein

12

Притупление кромки

depth of root face

hauteur du talon

13

Продольное ребро притупления кромки

longitudinal edge of root face

arête longitudinale du talon

14

Боковое ребро притупления кромки

side edge of root face

arête faciale du talon

15

Боковое ребро скошенной кромки

side edge of preparation

arête faciale du chanfrein

16

Ширина обработки кромки

width of preparation

largeur du chanfrein

17

Угол скоса кромки

angle of bevel

angle du chanfrein

18

Глубина обработки кромки

depth of preparation

profondeur du chanfrein

20

Ширина разделки

joint width

largeur de l'ouverture

21

Угол разделки кромок

included angle

angle d'ouverture

 

а См. раздел 4 об использовании эквивалентных терминов.

a See Clause 4, use of equivalent terms.

a Voir article 4, utilisation de termes équivalents.

Рисунок 8 - Подготовка под сварку стыкового соединения с отбортовкой кромок
Figure 8 - Preparation for butt weld between plates with raised edges
Figure 8 - Assemblage à bords relevés

Таблица 3 - Термины, относящиеся к подготовке стыкового соединения с отбортовкой кромок

Позиция

Русский

English

Français

Da

Расплавляемая поверхность (без скоса кромки)

fusion face (unprepared)

face à souder

1

Толщина пластины

plate thickness

Epaisseur de la pièce

22

Длина отбортовки кромок

length of raised edge

longueur du bord relevé

23

Продольное ребро отбортованной кромки

longitudinal side of raised edge

arête longitudinale du bord relevé

24

Стык отбортованных кромок

abutment of raised edge

arête longitudinale du joint

25

Высота отбортовки кромки

depth of raised edge

hauteur du bord relevé

26

Радиус отбортовки кромки

radius of raised edge

rayon de pliage du bord

 

а См. раздел 4 об использовании эквивалентных терминов

a See Clause 4, use of equivalent terms.

a Voir article 4, utilisation de termes йquivalents.

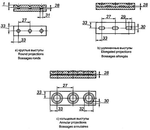
Рисунок 9 - Формы соединений при рельефной сварке
Figure 9 - Forms of projection welds
Figure 9 - Formes
de bossages

Таблица 4 - Термины, относящиеся к подготовке соединения под рельефную сварку

Позиция

Русский

English

Français

1

Толщина пластины

plate thickness

épaisseur de la pièce

27

Шаг выступа

pitch (of projections)

entraxe (des bossages)

28

Высота выступа

projection height

hauteur du bossage

29

Длина выступа

projection length

longueur du bossage

30

Ширина выступа

projection width

largeur du bossage

31

Диаметр выступа

projection diameter

diamètre du bossage

32

Диаметр кольцевого выступа

annular projection diameter

diamètre du bossage annulaire

33

Расстояние до края детали

edge distance

distance au bord (de la pièce)

Рисунок 10 - Сборка под контактную точечную и шовную сварки с раздавливанием кромок
Figure 10 - Configuration for spot, seam or mash welds
Figure 10 - Configuration pour soudurepar points, à la molette ou parécrasement

Рисунок 11 - Сборка под шовную контактную стыковую сварку по фольге
Figure 11 - Configuration for foil-seam-welds
Figure 11 - Configuration pour soudure à la molette avec feuillard d'apport

Таблица 5 - Термины, относящиеся к сборке под сварку давлением нахлесточных соединений

Позиция

Русский

English

Français

G

Область нахлестки

lapped area

surface de recouvrement

H

Поверхность контакта с фольгой

foil contact surface

surface de contact du feuillard

1

Толщина пластины

plate thickness

épaisseur de la pièce

2

Ширина детали

workpiece

largeur de la pièce

5

Ребро стыкуемой поверхности

side of gap face

arкte longitudinale du joint

34

Длина нахлестки

lap length

longueur de recouvrement

35

Ширина нахлестки

lap width

largeur de recouvrement

36

Длина фольги

foil length

longueur du feuillard

37

Ширина фольги

foil width

largeur du feuillard

38

Толщина фольги

foil thickness

épaisseur du feuillard

7 Швы при сварке плавлением

Термины, относящиеся к типовым швам, выполненным сваркой плавлением, приведены на рисунке 12. На рисунке 13 схематично показаны элементы стыковых швов, на рисунках 14 и 15 - элементы угловых швов различной формы, на рисунке 16 - элементы многопроходных швов.

Рисунок 12 - Примеры швов при сварке плавлением
Figure 12 - Typical examples of fusion welds
Figure 12 -
Exemples types de soudures par fusion

Таблица 6 - Термины, относящиеся к сварным соединениям при сварке плавлением

Позиция

Русский

English

Français

1

Основной металл

parent metal

métal de base

2

Металл шва

weld metal

métal fondu

3

Зона термического влияния

heat-affected zone

zone thermiquement affectйe

4

Зона сварного соединения

weld zone

zone soudйe

5

Глубина проплавления

fusion penetration

pénétration

6

Граница шва

fusion line

zone de liaison

7

Корень шва

root of weld

racine (de la soudure)

8

Ширина шва

weld width

largeur de la soudure

9

Высота выпуклости шва

excess weld metal

surépaisseur

10

Катет углового шва

leg length

côté

11

Высота выпуклости корня шва

penetration bead thickness

surépaisseur a la racine

25

Глубина проплавления корня шва

root penetration

pénétration a la racine

26

Зона проплавления

fusion zone

zone de dilution

Рисунок 13 - Примеры стыковых швов
Figure 13 - Typical examples of butt welds
Figure 13 -
Exemples types de soudures bout a bout

Таблица 7 - Термины, относящиеся к стыковым швам при сварке плавлением

Позиция

Русский

English

Français

12а

Максимальная толщина шва

maximum throat thickness

épaisseur totale

13а

Проектная толщина шва

design throat thickness

épaisseur thйorique

14а

Теоретическая толщина шва

actual throat thickness

épaisseur réelle

15а

Эффективная толщина шва

effective throat thickness

épaisseur efficace

16

Угол перехода шва к основному металлу

weld toe angle

angle de raccordement

17

Длина шва

weld length

longueur de la soudure

18

Чешуйчатая поверхность шва

weld surface with bead ripples

surface de la soudure avec vagues de solidification

27

Ширина выпуклости корня шва

root width

largeur du cordon à la racine

 

а См. раздел 4 об использовании эквивалентных терминов

a See Clause 4, use of equivalent terms.

a Voir article 4, utilization de termes équivalents.

8 Толщина угловых швов

В связи с тем, что существуют различные формы угловых швов, необходимо учитывать различные значения размеров их толщин (см. также рисунок 12 b).

Рисунок 14 - Толщины угловых швов
Figure 14 - Throat thicknesses for fillet welds
Figure 14 - Gorges
des soudures d'angle

Таблица 8 - Термины, относящиеся к толщине угловых швов

Позиция

Русский

English

Français

12

Максимальная толщина шва

maximum throat thickness

gorge totale

13

Проектная толщина шва

design throat thickness

gorge théorique

14

Теоретическая толщина шва

actual throat thickness

gorge réelle

15

Эффективная толщина шва

effective throat thickness

gorge efficace

Рисунок 15 - Примеры угловых швов различной формы
Figure 15 - Typical examples of fillet welds with different shapes
Figure 15 -
Exemples types de soudures d'angle avec différentes configurations

Рисунок 16 - Примеры многопроходных швов при сварке плавлением
Figure 16 - Typical examples of multi-run fusion welds
Figure 16 -
Exemples types de soudures par fusion multipasses

Таблица 9 - Термины, относящиеся к соединениям с многопроходными швами при сварке плавлением

Позиция

Русский

English

Français

5

Глубина проплавления

fusion penetration

pénétration

10

Катет углового шва

leg length

côté

11

Высота выпуклости корня шва

penetration bead thickness

surépaisseur à la racine

19

Границы проходов на наружной поверхности шва

toe

raccordement

20

Корневой проход

root run

passe de fond

21

Слой заполняющих проходов

layers of filling runs

passes de remplissage

22

Слой облицовочных проходов

layer of capping runs

passe(s) terminale(s)

23

Подварочный валик

sealing run

reprise a l'envers

24

Первый проход с обратной стороны

first run on the second side

premiиre passe l'envers

25

Глубина проплавления корня шва

root penetration

pénétration a la racine

9 Швы при сварке давлением

Термины, относящиеся к типовым швам, которые выполнены сваркой давлением, приведены на рисунке 17.

Рисунок 17 - Примеры швов при сварке давлением
Figure 17 - Typical examples of welds made using pressure
Figure 17 -
Exemples types de soudures avec pression

Таблица 10 - Термины, относящиеся к швам при сварке давлением

Позиция

Русский

English

Français

4

Зона сварного соединения

weld zone

zone soudée

30

Выдавленный металл

upset metal

bourrelet de refoulement

31

Грат

flash

bavure

32

Ядро сварной точки

weld nugget

noyau de la soudure

33

Диаметр ядра сварной точки

nugget diameter

diameter du noyau

34

Толщина ядра сварной точки

nugget thickness

épaisseur du noyau

35

Вмятина

indentation

indentation

36

Глубина вмятины

indentation depth

profondeur d'indentation

37

Зона контакта между свариваемыми деталями

weld interface

interface

38

Длина шва

weld length

longueur de la soudure

39

Шаг сварных точек

weld pitch

entraxe (des points de soudure)

40

Перекрытие сварных точек

nugget overlap

recouvrement des noyaux

41

Продольное смещение точек в соседних рядах

stagger

décalage des noyaux

42

Расстояние между рядами сварных точек

row pitch

écartement des rangйes

43

Расстояние до края детали

edge distance

distance au bord (de la pièce)

45

Шпилька

stud

goujon

10 Примеры швов при сварке плавлением соединений различных типов и с различной подготовкой деталей под сварку

Примеры типов соединений и швов и подготовки деталей при сварке плавлением приведены на рисунках 18.01-18.39 в таблице 11.

Таблица 11

Рисунок

Тип соединения

Характеристика шва

Подготовка деталей под сварку

18.01

Р:

Стыковое

Проплавление полное

Без скоса кромок и зазора

Е:

Butt

Full penetration

Close square

F:

Bout à bout

A pleine pénétration

Bords droits

18.02

Р:

Стыковое

Проплавление полное

Без скоса кромок

Е:

Butt

Full penetration

Close square (single-V, unprepared)

F:

Bout à bout

A pleine pénétration

Bords droits

18.03

Р:

Стыковое

Проплавление полное

Отбортовка кромок

Е:

Butt

Full penetration

Raised edges

F:

Bout à bout

A pleine pénétration

Bords relevés

18.04

Р:

Стыковое

Проплавление частичное

Без скоса кромок и зазора

Е:

Butt

Partial penetration

Close square

F:

Bout à bout

À pénétration partielle

Bords droits

18.05

Р:

Стыковое

Двусторонний с полным проплавлением

Без скоса кромок и зазора

Е:

Butt

Full penetration butt welded from both sides

Close square

F:

Bout à bout

À pleine pénétration, exécutée des deux côtés

Bords droits

18.06

Р:

Стыковое

Проплавление полное

V-образный скос кромок с притуплением и с зазором

Е:

Butt

Full penetration

Single-V with root faces and root gap

F:

Bout à bout

À pleine pénétration

En V

18.07

Р:

Стыковое

Проплавление полное

Без скоса кромок с зазором и с подкладкойa

Е:

Butt

Full penetration

Open square with backing bara/stripa

F:

Bout à bout

À pleine pénétration

Bords droits avec latte-supporta

18.08

Р:

Стыковое

Проплавление полное

V-образный скос кромок и с подкладкойa

Е:

Butt

Full penetration

Single-V with backing bara/stripa

F:

Bout à bout

À pleine pénétration

en V avec latte-supporta

18.09

Р:

Стыковое

Полное проплавление с подварочным швом

V-образный скос кромок с притуплением

Е:

Butt

Full penetration with sealing run

Single-V with root faces

F:

Bout à bout

À pleine pénétration avec reprise a l'envers

en Y

18.10

Р:

Стыковое

Двусторонний с полным проплавлением

Х-образный скос кромок с притуплением и с зазором

Е:

Butt

Full penetration welded from both sides

Double-V with root faces and root gap

F:

Bout à bout

À pleine pénétration exécutée des deux côtés

en X ou en double V

18.11

Р:

Стыковое

Двусторонний с частичным проплавлением

Двусторонняя с V-образными скосами кромок и с притуплением

Е:

Butt

Partial penetration welded from both sides

Double-V

F:

Bout à bout

А pénétration partielle exécutée des deux côtés

en double Y

18.12

Р:

Стыковое

Стыковой и угловой шов с частичным проплавлением

V-образный скос кромок с притуплением

Е:

Butt

Butt and fillet partial penetration

Single-Vs

F:

Bout à bout

А pénétration partielle exécutée des deux côtés

Avec chanfrein en Y d'un seul côté

18.13

Р:

Стыковое

Двусторонний с полным проплавлением

Х-образный скос кромок с притуплением и с зазором

Е:

Butt

Full penetration welded from both sides

Double-V with root faces and root gap

F:

Bout à bout

À pleine pénétration exécutée des deux côtés

En X ou en double V

18.14

Р:

Стыковое

Угловой двусторонний

Без скоса кромок и зазора

Е:

Butt

Fillet welded from both sides

Close square

F:

Bout à bout

À pénétration pleine exécutée des deux côtés

Bords droits

18.15

Р:

Стыковое

Проплавление полное

Односторонний скос кромки с притуплением и с зазором

Е:

Butt

Full penetration

Single-bevel with root face and root gap

F:

Bout à bout

À pleine pénétration

En demi-V

18.16

Р:

Стыковое

Проплавление полное с подварочным швом

Односторонний скос кромки с притуплением и с зазором; более толстая пластина утонена

Е:

Butt

Full penetration with sealing run

Single-bevel with root face and root gap; thicker plate tapered

F:

Bout à bout

À pleine pénétration avec reprise а l'envers

En demi-V avec délardage de la tôle la plus épaisse

18.17

Р:

Стыковое

Комбинированный: стыковой и угловой с подварочным швом

Односторонний скос кромки с притуплением и с зазором

Е:

Butt

Compound of butt and fillet with sealing run

Single-bevel with root face and root gap

F:

Bout à bout

À pleine pénétration avec reprise à l'envers, plus soudure d'angle

En demi-V

18.18

Р:

Стыковое

Двусторонний с полным проплавлением

Односторонний скос кромки с притуплением и с зазором

Е:

Butt

Full penetration welded from both sides

Single-bevel with root face and root gap

F:

Bout à bout

À pleine pénétration plus deux soudures d'angle

En demi-V

18.19

Р:

Тавровое под прямым углом

Проплавление полное

Односторонний скос кромки с притуплением и с зазором

Е:

Т

Full penetration

Single-bevel with root face and root gap

F:

Еn Т

À pleine pénétration

En demi-V

18.20

Р:

Тавровое под прямым углом

Угловой односторонний

Без скоса кромки и зазора

Е:

Т

Fillet welded from one side

Close square

F:

Еn Т

Soudure d'angle exécutée d'un seul côté à pénétration partielle

Bords droits

18.21

Р:

Тавровое под прямым углом

Угловой двусторонний с полным проплавлением

Без скоса кромки и зазора

Е:

Т

Full penetration fillet welded from both sides

Close square

F:

Еn Т

Double soudure d'angle à pleine pénétration

Bords droits

18.22

Р:

Тавровое под прямым углом

Угловой двусторонний

Без скоса кромки и зазора

Е:

Т

Fillet welded from both sides

Close square

F:

Еn Т

Double soudure d'angle à pénétration partielle

Bords droits

18.23

Р:

Тавровое под прямым углом

Двусторонний с полным проплавлением

Двусторонний скос кромки с зазором

Е:

Т

Full penetration welded from both sides

Double bevel with root gap

F:

Еn Т

À pleine pénétration exécutée des deux côtés

En К

18.24

Р:

Тавровое под прямым углом

Двусторонний с полным проплавлением. Комбинация стыкового и углового швов

Двусторонний скос кромки с зазором

Е:

Т

Full penetration welded from both sides Combined butt and fillets

Double bevel with root gap

F:

Еn Т

Double soudure d'angle à pleine pénétration plus soudures d'angle

En К

18.25

Р:

Тавровое под прямым углом

Двусторонний с частичным проплавлением

Двусторонний скос кромки с притуплением

Е:

Т

Partial penetration welded from both sides

Double bevel

F:

Еn Т

Double soudure d'angle à pénétration partielle

En demi-Y double

18.26

Р:

Тавровое под острым углом

Проплавление полное

Односторонний скос кромки с зазором

Е:

Angle

Full penetration

Single-bevel with root gap

F:

En angle à faible inclinaison

À pleine pénétration dans l'angle ouvert

En demi-V

18.27

Р:

Тавровое под острым углом

Угловой

Без скоса кромки и зазора

Е:

Angle

Fillet

Close square

F:

En angle à forte inclinaison

À pleine pénétration dans l'angle ouvert

À bord droit

18.28

Р:

Крестообразное

Стыковой двусторонний с полным проплавлением

Двусторонний скос кромок

Е:

Cruciform

Full penetration butt welded from both sides

Double bevel

F:

En croix

Doubles soudures d'angle à pleine pénétration exécutées des deux côtés

En double К

18.29

Р:

Крестообразное

Угловой двусторонний

Без скоса кромок и зазора

Е:

Cruciform

Fillet welded from both sides

Close square

F:

En croix

Doubles soudures d'angle à pénétration partielle exécutées des deux côtés

Bords droits

18.30

Р:

Нахлесточное

Угловой

Без скоса кромки

Е:

Lap

Fillet

Square edge

F:

À recouvrement partiel

Soudure d'angle à clin

Bords droits

18.31

Р:

Нахлесточное или параллельное

Пробочный

Отверстие(я) в одной пластине

Е:

Lap or parallel

Plug

Hole(s) in one plate

F:

A recouvrement total ou partiel

En bouchon

Trou(s) dans l'une des tôles

18.32

Р:

Нахлесточное или параллельное

Угловой по замкнутому контуру

Отверстие(я) в одной пластине

Е:

Lap or parallel

Fillet welded all round

Hole(s) in one plate

F:

À recouvrement total ou partiel

En entaille

Trou(s) dans l'une des tфles

18.33

Р:

Нахлесточное или параллельное

Точечный,полученный при сварке плавлением

Отсутствует

Е:

Lap or parallel

Fusion spot

None

F:

À recouvrement total ou partiel

Par points par fusion

Aucune

18.34

Р:

Угловое

Стыковой с полным проплавлением

Односторонний скос кромки с притуплением и с зазором

Е:

Corner

Full penetration butt welded

Single bevel with root face and root gap

F:

En angle extérieur

À pleine pénétration

En demi-V

18.35

Р:

Угловое

Угловой

Кромки обрабатываются (при необходимости)

Е:

Corner

Fillet

Edges prepared as necessary

F:

En angle extйrieur

Soudure d'angle à pleine pénétration

Bords droits

18.36

Р

Угловое

Угловой двусторонний с полным проплавлением

Без скоса кромок

Е

Corner

Full penetration fillet welded from both sides

Square edge

F

En angle extérieur

Double soudure d'angle à pleine pénétration

Bords droits

18.37

Р

Угловое

Угловой двусторонний с частичным проплавлением

Без скоса кромок

Е

Corner

Partial fillet welded from both sides

Square edges

F

En angle extérieur

Double soudure d'angle à pénétration partielle

Bords droits avec chevauchement partiel des pièces

18.38

Р

Торцовое

Проплавление торцов полное

Без скоса кромок

Е

Edge

Edges fully covered

Square edges

F

Sur chant

Avec fusion totale des deux chants

Bords droits

18.39

Р

Нахлестанное

Соединение с уступом на листе

Без скоса кромок

Е

Lap

Joggle joint

Square edges

F

А recouvrement partiel

Soudure а bord soyé

Bords droits

а Может быть остающаяся или неостающаяся подкладка.

а May be temporary or permanent.

a La latte-support peut кtre permanent ou non.

P, E, F - обозначение русского, английского и французского языков соответственно.

Приложение A
(справочное)

Сравнение с терминами, применяемыми в США

Пункт/ рисунок

Термин на русском языке, применяемый в настоящем стандарте

Термин на английском языке, применяемый в ИСО 17659

Термин, применяемый в США

3.8

Параллельное соединение

parellel joint

edge joint

3.11

Крестообразное соединение

cruciform joint

double T-joint

3.12

Тавровое соединение под острым углом

Angle joint

skewed T-joint

3.15

Соединение нескольких деталей

Multiple joint

multiple member joint

2

Стыковое соединение без скоса кромок

Square butt weld

single square groove weld

3

Стыковое соединение со скосом одной кромки

single bevel butt weld

single bevel groove weld

4

Стыковое соединение с V-образным скосом кромок

Single V-butt weld

single V-groove weld

5

Стыковое соединение с U-образным скосом кромок

single U-butt weld

single U-groove weld

8

Стыковое соединение с отбортовкой кромок

butt weld between plates with raised edges

edge flanged weld

Алфавитный указатель на русском языке

В

Рисунок/пункт

Позиция

Валик подварочный

Рисунок 16 с)

23

Вид стыкового шва общий

Рисунок 13 а)

 

Вмятина

Рисунок 17 g)

35

Высота выпуклости корня шва

Рисунок 12 а) и 16 а), b)

11

Высота выпуклости шва

Рисунок 12 а), b)

9

Высота выступа

Рисунок 9 а), b), с)

28

Высота отбортовки кромок

Рисунок 8

25

Выступ кольцевой

Рисунок 9с

 

Выступ кромки

Рисунок 5

44

Выступ круглый

Рисунок 9 а)

 

Выступ удлиненный

Рисунок 9 b)

 

Г

 

 

Глубина вмятины

Рисунок 17 g)

36

Глубина обработки кромки

Рисунки 4 и 7

18

Глубина проплавления

Рисунок 12 а), b) и 16 е)

5

Глубина проплавления корня шва

Рисунок 12 b) и 16 е)

25

Граница прохода наружной поверхности шва

Рисунок 16 а)-е)

19

Граница шва

Рисунок 12 а), b)

6

Грат

Рисунок 17 b), с)

31

Д

 

 

Диаметр выступа

Рисунок 9 а)

31

Диаметр кольцевого выступа

Рисунок 9 с)

32

Диаметр ядра сварной точки

Рисунок 17 d), е), g), h)

33

Длина выступа

Рисунок 9 b)

29

Длина нахлестки

Рисунок 10

34

Длина отбортовки кромок

Рисунок 8

22

Длина соединения

Рисунки 2, 5 и 6

7

Длина фольги

Рисунок 11

36

Длина шва

Рисунки 13 а) и 17 е), f)

17, 38

З

 

 

Зазор между свариваемыми поверхностями

Рисунки 2-7

4 и 11

Зона контакта между свариваемыми деталями

Рисунок 17 а), b)

37

Зона проплавления

Рисунок 12 а), b)

26

Зона сварного соединения

Рисунки 12 а), b) и 17 а), b), с)

4

Зона термического влияния

Рисунок 12 а), b)

3

К

 

 

Катет углового шва

3.21; Рисунки 12 b) и 16 е)

10

Корень шва

Рисунок 12 а), b)

7

Кромка пластины боковая

Рисунок 2

С

M

 

 

Металл выдавленный

Рисунок 17 а)

30

Металл основной

Рисунок 12 а), b)

1

Металл шва

Рисунок 12 а), b)

2

О

 

 

Область нахлестки

Рисунок 10

G

П

 

 

Перекрытие сварных точек

Рисунок 17 е)

40

Поверхность детали лицевая

Рисунки 2 и 3

А

Поверхность контакта с фольгой

Рисунок 11

H

Поверхность притупления кромки

Рисунки 3-5

F

Поверхность расплавляемая

Рисунки 6 и 7

I

Поверхность расплавляемая (без скоса кромки)

Рисунки 2, 3 и 8

D

Поверхность расплавляемая (со скосом кромки)

Рисунки 3, 4, 5 и 7

Е

Поверхность сопрягаемая

3.4

 

Поверхность шва чешуйчатая

Рисунок 13 а)

18

Подготовка под сварку стыкового соединения без скоса кромок

Рисунок 2

 

Подготовка под сварку стыкового соединения со скосом одной кромки с притуплением и с подкладкой

Рисунок 3

 

Подготовка под сварку стыкового соединения с отбортовкой кромок

Рисунок 8

 

Подготовка под сварку стыкового соединения с U-образным скосом кромок

Рисунок 5

 

Подготовка под сварку стыкового соединения с V-образным скосом кромок и притуплением

Рисунок 4

 

Подготовка под сварку таврового соединения

Рисунок 6

 

Подготовка под сварку таврового соединения с двухсторонним скосом кромок

Рисунок 7

X

Подкладка

Рисунок 3

 

Примеры стыковых швов

Рисунок 13

 

Примеры швов при сварке плавлением

Рисунок 12

 

Притупление кромки

Рисунки 3, 4, 5 и 7

12

Проплавление неполное

3.6

 

Проход корневой

Рисунок 16 а)-d)

20

Проход с обратной стороны первый

Рисунок 16 d)

24

Р

 

 

Радиус отбортовки кромки

Рисунок 8

26

Радиус при вершине разделки

Рисунок 5

10

Расстояние до края детали

Рисунок 9 а), b), с)

33

 

Рисунок 17 f)

43

Расстояние между рядами сварных точек

Рисунок 17 f)

42

Ребро детали боковое

Рисунок 2

3

Ребро отбортованной кромки продольное

Рисунок 8

23

Ребро притупления кромки боковое

Рисунки 4, 5 и 7

14

Ребро притупления кромки продольное

Рисунки 6 и 7

13

Ребро расплавляемой поверхности боковое

Рисунок 2

6

Ребро скошенной кромки боковое

Рисунки 4 и 7

15

Ребро скошенной кромки продольное

Рисунки 5 и 7

8

Ребро стыкуемой поверхности

Рисунки 2 и 10

5

Ряд двойной сварных точек, расположенных в шахматном порядке

Рисунок 17 f)

 

С

 

 

Сборка под контактную точечную и шовную сварки с раздавливанием кромок

Рисунок 10

 

Сборка под шовную контактную стыковую сварку по фольге

Рисунок 11

 

Сварка давлением

3.3

 

Сварка плавлением

3.2

 

Слой заполняющих проходов

Рисунок 16 а)-d)

21

Слой облицовочных проходов

Рисунок 16 а)-d)

22

Смещение точек в соседних рядах продольное

Рисунок 17 f)

41

Соединение

3.1

 

Соединение крестообразное

3.11; Рисунок 1 е)

 

Соединение нахлесточное

3.9; Рисунок 1 с)

 

Соединение нескольких деталей

3.15; Рисунок 1 i)

 

Соединение параллельное

3.8; Рисунок 1 b)

 

Соединение перекрестное

3.16; Рисунок 1 j)

 

Соединение стыковое

3.7; Рисунок 1 а)

 

Соединение с уступом

Рисунок 18.39

 

Соединение тавровое под острым углом

3.12; Рисунок 1 f)

 

Соединение тавровое под прямым углом

3.10; Рисунок 1 d)

 

Соединение торцовое

3.14; Рисунок 1 h)

 

Соединение угловое

3.13; Рисунок 1 g)

 

Сторона детали обратная

Рисунки 2 и 3

В

Стык отбортованных кромок

Рисунок 8

24

Т

 

 

Толщина пластины

Рисунки 2-6, 8, 9 а), 10, 11

1

Толщина соединения

Рисунки 2-5

9

Толщина фольги

Рисунки 11

38

Толщина шва максимальная

3.17; Рисунки 13 a)-d), 14 а), b) и 15 а) f)

12

Толщина шва проектная

3.18; Рисунки 13 а)-d), 14 а), b) и 15 а)-f)

13

Толщина шва теоретическая

3.19; Рисунки 14 а), b) и 15 а)-f)

14

Толщина ядра сварной точки

Рисунок 17 g), h)

34

Толщины угловых швов

Рисунок 14

 

У

 

 

Угол перехода шва к основному металлу

Рисунок 13 а)

16

Угол разделки кромок

Рисунки 4, 5

21

Угол скоса кромки

Рисунки 4, 5 и 7

17

Ф

 

 

Форма соединений при рельефной сварке

Рисунок 9

 

Ш

 

 

Шаг выступа

Рисунок 9 а), b), с)

27

Шаг сварных точек

Рисунок 17d), f)

39

Ширина выпуклости корня шва

Рисунок 13 а)

27

Ширина выступа

Рисунок 9 b), с)

30

Ширина детали

Рисунок 11

2

Ширина нахлестки

Рисунок 10

35

Ширина обработки кромки

Рисунки 4, 5 и 7

16

Ширина разделки соединения

Рисунки 3-5, 7

20

Ширина скошенной поверхности

Рисунок 4

19

Ширина фольги

Рисунок 11

37

Ширина шва

Рисунок 12 а)

8

Шов при приварке шпильки

Рисунок 17 с)

 

Шов при рельефной сварке

Рисунок 17 h)

 

Шов при стыковой сварке с гратом

Рисунок 17 b)

 

Шов при стыковой сварке сопротивлением

Рисунок 17 а)

 

Шов при точечной контактной сварке

Рисунок 17 d), g)

 

Шов при шовной контактной сварке

Рисунок 17 е)

 

Шов стыковой с неполным проплавлением

Рисунок 13 с)

 

Шов стыковой с V-образной разделкой кромок

Рисунок 12 а)

 

Шов стыковой с V-образной разделкой кромок и с подварочным валиком

Рисунок 16 с)

 

Шов стыковой с V-образной разделкой кромок и с притуплением

Рисунок 16 а)

 

Шов стыковой с Х-образной разделкой кромок

Рисунок 16 d)

 

Шов стыковой с полным проплавлением

Рисунок 13 b)

 

Шов стыковой таврового соединения

Рисунок 13 d)

 

Шов стыковой таврового соединения с односторонней разделкой кромки

Рисунок 16 b)

 

Шов угловой

Рисунок 12 b)

 

Шов угловой вогнутый

Рисунок 15 b)

 

Шов угловой выпуклый

Рисунок 15 а)

 

Шов угловой многопроходный

Рисунок 16 е)

 

Шов угловой с глубоким проплавлением

Рисунок 15 f)

 

Шов угловой с зазором

Рисунок 15 с)

 

Шов угловой с неполным проплавлением

Рисунок 15 е)

 

Шов угловой с разными катетами

Рисунок 15 d)

 

Шпилька

Рисунок 17 с)

45

Я

 

 

Ядро точки сварной

Рисунок 17 g), h)

32

Алфавитный указатель на английском языке

 

Figure/reference

Identification

А

 

 

abutment of raised edge

Figure 8

24

actual throat thickness

3.19

 

 

Figures 14 a), b) and 15 a) to f)

14

angle joint

3.12; Figure 1 f)

 

angle of bevel

Figures 4, 5 and 7

17

annular projection diameter

Figure 9 c)

32

annular projections

Figure 9 c)

 

arc stud weld

Figure 17 c)

 

В

В

 

butt join

3.7; Figure 1 a)

 

butt weld T-joint

Figure 13 d)

 

butt weld with flash (flash or friction)

Figure 17 b)

 

butt weld with upset

Figure 17 a)

 

С

С

 

concave fillet weld

Figure 15 b)

 

configuration for foil-seam-welds

Figure 11

 

configuration for spot, seam or mash welds

Figure 10

 

convex fillet weld

Figure 15 a)

 

corner joint

3.13; Figure 1 g)

 

cross joint

3.16; Figure 1 j)

 

cruciform joint

3.11; Figure 1 e)

 

D

D

 

depth of preparation

Figures 4 and 7

18

depth of raised edge

Figure 8

25

depth of root face

Figures 3, 4, 5 and 7

12

design throat thickness

3.18

 

 

Figures 13 a) to d), 14 a), b) and 15 a) to f)

13

double row of staggered, spaced spot welds

Figure 17 f)

 

double V-butt weld

Figure 16 d)

 

E

E

 

edge distance

Figure 9 a), b), c)

33

 

Figure 17 f)

43

edge joint

3.14; Figure 1 h)

 

effective throat thickness

3.20

Figures 13 b), c), d), 14 a), b) and 15 a) to f)

15

elongated projections

Figure 9 b)

 

excess weld metal

Figure 12 a), b)

9

F

F

 

faying surface

3.4

 

fillet weld

Figure 12 b)

 

fillet weld with deep penetration

Figure 15 f)

 

fillet weld with gap

Figure 15 c)

 

fillet weld with incomplete penetration

Figure 15 e)

 

fillet weld with unequal legs

Figure 15 d)

 

first run on the second side

Figure 16 d)

24

flash

Figure 17 b), c)

31

foil contact surface

Figure 11

H

foil length

Figure 11

36

foil thickness

Figure 11

38

foil width

Figure 11

37

forms of projection welds

Figure 9

 

full penetration butt weld

Figure 13 b)

 

fusion penetration

Figure 16 e)

5

fusion face (fillet weld)

Figures 6 and 7

I

fusion face (prepared)

Figures 3, 4, 5 and 7

E

fusion face (unprepared)

Figures 2, 3 and 8

D

fusion line

Figure 12 a), b)

6

fusion penetration

Figures 12 a), b), 16 e)

5

fusion welding

3.2

 

fusion zone

Figure 12 a), b)

26

G

G

 

general view of butt weld

Figure 13 a)

 

H

H

 

heat-affected zone

Figure 12 a), b)

3

I

I

 

included angle

Figures 3-7

21

incomplete penetration

3.6

 

incomplete penetration butt weld

Figure 13 c)

 

indentation

Figure 17 g)

35

indentation depth

Figure 17 g)

36

J

J

 

joggle joint

Figure 18.39

 

joint

3.1

 

joint length

Figures 2, 5 and 6

7

joint thickness

Figures 2-5

9

joint width

Figures 3-5 and 7

20

L

L

 

land

Figure 5

44

lap joint

3.9; Figure 1 c)

 

lap length

Figure 10

34

lapped area

Figure 10

G

lap width

Figure 10

35

layer of capping runs

Figure 16 a) to d)

22

layers of filling runs

Figure 16 a) to d)

21

leg length

3.21

Figures 12 b) and 16 e)

10

length of raised edge

Figure 8

22

longitudinal edge of preparation

Figures 5 and 7

8

longitudinal edge of root face

Figures 6 and 7

13

longitudinal side of raised edge

Figure 8

23

M

M

 

maximum throat thickness

3.17

 

 

Figures 13 a) to d), 14 a), b) and 15 a) to f)

12

multiple joint

3.15; Figure 1 i)

 

multi-run fillet weld

Figure 16 e)

 

N

N

 

nugget diameter

Figure 17 d), e), g), h)

33

nugget overlap

Figure 17 e)

40

nugget thickness

Figure 17 g), h)

34

P

P

 

parallel joint

3.8; Figure 1 b)

1

parent metal

Figure 12 a), b)

 

partial penetration

3.5

11

penetration bead thickness

Figures 12 a) and 16 a), b)

27

pitch (of projections)

Figure 9 a), b), c)

С

plate edge

Figure 2

1

plate thickness

Figures 2-6, 8, 9 a), 10, 11

 

preparation for butt weld between plates with raised edges

Figure 8

 

preparation for double-bevel T-butt welds

Figure 7

 

preparation for fillet weld (T-joint)

Figure 6

 

preparation for single bevel butt weld with backing

Figure 3

 

preparation for single U-butt weld

Figure 5

 

preparation for single V-butt weld

Figure 4

31

preparation for square butt weld

Figure 2

28

projection diameter

Figure 9 a)

29

projection height

Figure 9 a), b), c)

 

projection length

Figure 9 b)

30

projection weld

Figure 17 h)

 

projection width

Figure 9 b), c)

 

R

R

 

radius of raised edge

Figure 8

26

resistance spot weld

Figure 17 g)

 

reverse side

Figures 2 and 3

В

root face

Figures 3-5

F

root gap

Figures 2-7

4 and 11

root of weld

Figure 12 a), b)

7

root penetration

Figures 12 b) and 16 e)

25

root radius

Figure 5

10

root run

Figure 16 a) to d)

20

root width

Figure 13 a)

27

round projections

Figure 9 a)

 

row pitch

Figure 17 f)

42

S

S

 

sealing run

Figure 16 c)

23

seam weld

Figure 17 e)

 

side edge of preparation

Figures 4 and 7

15

side edge of root face

Figures 4, 5 and 7

14

side edge of workpiece

Figure 2

3

side of fusion face

Figure 2

6

side of gap face

Figures 2 and 10

5

single bevel T-butt weld

Figure 16 b)

 

single V-butt weld

Figure 12 a)

 

single V-butt weld with root face

Figure 16 a)

 

single V-butt weld with sealing run

Figure 16 c)

 

spot welds

Figure 17 d)

 

stagger

Figure 17 f)

41

stud

Figure 17 c)

45

T

T

 

throat thicknesses for fillet welds

Figure 14

 

T-joint

3.10; Figure 1 d)

 

toe

Figure 16 a) toe)

19

typical examples of butt welds

Figure 13

 

typical examples of fusion welds

Figure 12

 

U

U

 

upper workpiece surface

Figures 2 and 3

A

upset metal

Figure 17 a)

30

W

W

 

welding using pressure

3.3

 

weld interface

Figure 17 a), b)

37

weld length

Figure 13 a)

17

 

Figure 17 e), f)

38

weld metal

Figure 12 a), b)

2

weld nugget

Figure 17 g), h)

32

weld pitch

Figure 17 d), f)

39

weld pool backing

Figure 3

X

weld surface with bead ripples

Figure 13 a)

18

weld toe angle

Figure 13 a)

16

weld width

Figure 12 a)

8

weld zone

Figures 12 a), b) and 17 a), b), c)

4

width of preparation

Figures 4, 5 and 7

16

width of prepared face

Figure 4

19

workpiece width

Figure 11

2

Алфавитный указатель на французском языке

 

Figure/Paragraphe

Identification

А

 

 

angle d'ouverture

Figures 3 а 7

21

angle de raccordement

Figure 13 a)

16

angle du chanfrein

Figures 4, 5 et 7

17

arête faciale du chanfrein

Figures 4 et 7

15

arête faciale du talon

Figures 4, 5 et 7

14

arête latérale de la piиce

Figure 2

3

arête latérale du joint arкte

Figure 2

6

arête longitudinale du bord relevé

Figure 8

23

arête longitudinale du chanfrein

Figures 5, 7

8

 

Figures 2, 10

5

arête longitudinale du joint

Figure 8

24

arête longitudinale du talon

Figure 7

13

assemblage

Paragraphe 3.1

 

assemblage а bords relevés

Figure 8

 

assemblage à joints multiples

Paragraphe 3.15; Figure 1 i)

 

assemblage à recouvrement

Paragraphe 3.9; Figure 1 c)

 

assemblage à recouvrement total

Paragraphe 3.8; Figure 1 b)

 

assemblage bout à bout

Paragraphe 3.7; Figure 1 a)

 

assemblage de fils (ou de ronds) en croix

Paragraphe 3.16; Figure 1 j)

 

assemblage en angle а forte inclinaison

Paragraphe 3.12; Figure 1 f)

 

assemblage en angle extérieur

Paragraphe 3.13; Figure 1 g)

 

assemblage en croix

Paragraphe 3.11; Figure 1 e)

 

assemblage en T

Paragraphe 3.10; Figure 1 d)

 

assemblage sur chant

Paragraphe 3.14; Figure 1 h)

 

В

 

 

bavure

Figure 17 b) et c)

31

bossages allongés

Figure 9 b)

 

bossages annulaires

Figure 9 c)

 

bossages ronds

Figure 9 a)

 

bourrelet de refoulement

Figure 17 a)

30

С

 

 

chant de la pièce

Figure 2

с

configuration pour soudure à la molette avec feuillard d'apport

Figure 11

 

 

 

 

configuration pour soudure par points, à la molette ou parécrasement

Figure 10

 

 

 

 

côté

Paragraphe 3.21; Figures 12 b) et 16 e)

10

D

 

 

décalage des noyaux

Figure 17 f)

41

diamètre du bossage

Figure 9 a)

31

diamètre du bossage annulaire

Figure 9 c)

32

diamètre du noyau

Figure 17 d), e), g) et h)

33

distance au bord (de la pièce)

Figure 9 a), b) et c)

33

 

Figure 17 f)

43

double rangée de soudures par points en quinconce

Figure 17 f)

 

 

E

 

 

écartement а la racine

Figures 3, 4, 5 et 7

11

écartement des bords

Figures 2 et 6

4

écartement des rangées

Figure 17 f)

42

entraxe (des bossages)

Figure 9 a), b) et c)

27

entraxe (des points de soudure)

Figure 17 d) et f)

39

épaisseur de la pièce

Figures 2 à 6, 8, 9 a), 10 et 11

1

épaisseur du feuillard

Figure 11

38

épaisseur du noyau

Figure 17 g) et h)

34

spaisseur efficace

Paragraphe 3.20; Figure 13 b) а d)

15

épaisseur réelle

Paragraphe 3.19; Figure 13 a) а d)

14

épaisseur théorique

Paragraphe 3.18; Figure 13 a) а d)

13

épaisseur totale

Paragraphe 3.17; Figure 13 a) а d)

12

exemples types de soudures bout à bout

Figure 13

 

exemples types de soudures par fusion

Figure 12

 

F

 

 

face à souder

Paragraphe 3.4

 

 

Figures 2, 3, et 8

D

 

Figure 6

I

face du chanfrein

Figures 3, 4, 5 et 7

E

face inférieure de la pièce

Figures 2 et 3

В

face supérieure de la pièce

Figures 2 et 3

A

formes de bossages

Figure 9

 

G

 

 

gorge efficace

Paragraphe 3.20; Figures 13 b), c) et d), 14 a) et b) et 15 a) à f)

15

gorge réelle

Paragraphe 3.19; Figures 14 a) et b) et 15 a) à f)

14

gorges des soudures d'angle

Figure 14

45

gorge théorique

Paragraphe 3.18; Figures 13 a) à d), 14 a) et b) et 15a) à f)

13

gorge totale

Paragraphe 3.17; Figures 13 a) à d), 14 a) et b) et 15a) à f)

12

goujon

Figure 17 c)

45

H

 

 

hauteur du bord relevé

Figure 8

25

hauteur du bossage

Figure 9 a) à c)

28

hauteur du talon

Figures 3, 4, 5 et 7

12

I

 

 

indentation

Figure 17 g)

35

interface

Figure 17 a) et b)

37

L

 

 

largeur de la face du chanfrein

Figure 4

19

largeur de la pièce

Figure 11

2

largeur de la soudure

Figure 12 a)

8

largeur de l'ouverture

Figures 3, 4, 5 et 7

20

largeur de recouvrement

Figure 10

35

largeur du bossage

Figure 9 b) et c)

30

largeur du chanfrein

Figures 4, 5 et 7

16

largeur du cordon à la racine

Figure 13 a)

27

largeur du feuillard

Figure 11

37

latte-support

Figure 3

X

lèvre

Figure 5

44

longueur de la soudure

Figure 13 a)

Figure 17 e) et f)

17

38

longueur de recouvrement

Figure 10

34

longueur du bord relevй

Figure 8

22

longueur du bossage

Figure 9 b)

29

longueur du feuillard

Figure 11

36

longueur du joint

Figures 2, 5 et 6

7

M

 

 

manque de pénétration

Paragraphe 3.6

 

méplat, talon

Figures 3, 4 et 5

F

métal de base

Figure 12 a) et b)

1

métal fondu

Figure 12 a) et b)

2

N

 

 

noyau de la soudure P

Figure 17 g) et h)

32

passe de fond

Figure 16 a) а d)

20

passes de remplissage

Figure 16 a) а d)

21

passe(s) terminale(s)

Figure 16 a) а d)

22

pénétration

Figures 12 a) et b) et 16 e)

5

25

pénétration à la racine

Figures 12 b) et 16 e)

24

pénétration partielle

Paragraphe 3.5

 

premiиre passe à l'envers

Figure 16 d)

 

préparation en U

Figure 5

 

préparation en Y

Figure 4

 

préparation pour soudure bout à bout sur bords droits

Figure 2

 

préparation pour soudure en demi-Y avec support du bain

Figure 3

 

préparation pour soudures d'angle sur assemblage en T

Figure 6

 

préparation pour soudures d'angle sur assemblage en T avec double chanfrein

Figure 7

 

profondeur d'indentation

Figure 17 g)

36

profondeur du chanfrein

Figures 4 et 7

18

profondeur du joint

Figures 2, 3, 4 et 5

9

R

 

 

raccordement

Figure 16 a) а e)

19

racine (de la soudure)

Figure 12 a) et b)

7

rayon à fond de chanfrein

Figure 5

10

rayon de pliage du bord relevé

Figure 8

26

recouvrement des noyaux

Figure 17 e)

40

reprise à l'envers

Figure 16 c)

23

S

 

 

soudure à pleine pénétration

Figure 13 b)

 

soudure avec bavure d'étincelage ou de friction

Figure 17 b)

 

soudure avec bourrelet de refoulement

Figure 17 a)

 

soudure avec manque de pénétration

Figure 13 c)

 

soudage avec pression

Paragraphe 3.3

 

soudure bout à bout en V

Figure 12 a)

 

soudure d'angle

Figure 12 b)

 

soudure d'angle à pénétration partielle

Figure 15 e)

 

soudure d'angle à pleine pénétration

Figure 15 f)

 

soudure d'angle asymétrique

Figure 15 d)

 

soudure d'angle avec jeu

Figure 15 c)

 

soudure d'angle concave

Figure 15 b)

 

soudure d'angle convexe

Figure 15 a)

 

soudure d'angle multipasse

Figure 16 e)

 

soudure de goujon

Figure 17 c)

 

soudure en demi-V sur assemblage en T

Figures 13 d) et 16 b)

 

soudure en ligne continue par points

Figure 17 e)

 

soudure en V avec reprise à l'envers

Figure 16 c)

 

soudure en V exécutée d'un seul côté

Figure 16 a)

 

soudure en X

Figure 16 d)

 

soudure par bossage

Figure 17 h)

 

soudage par fusion

Paragraphe 3.2

 

soudure par points

Figure 17 d)

 

soudure par résistance points

Figure 17 g)

 

surépaisseur

Figure 12 a) et b)

9

surépaisseur à la racine

Figures 12 a) et 16 a) et b) 11

11

surface de contact du feuillard

Figure 11

H

surface de la soudure avec vagues de solidification

Figure 13 a)

18

surface de recouvrement

Figure 10

G

T

 

 

talon

Figures 3, 4 et 5

F

V

 

 

vue d'ensemble d'une soudure Bout à bout

Figure 13 a)

 

Z

 

 

zone de dilution

Figure 12 a) et b)

26

zone de liaison

Figure 12 a) et b)

6

zone soudйe

Figures 12 a) et b) et 17 a), b) et c)

4

zone thermiquement affectée

Figure 12 a) et b)

3

Приложение Б
(справочное)

Сведения о соответствии национальных стандартов Российской Федерации ссылочным международным стандартам

Таблица А. 1

Обозначение ссылочного международного стандарта

Обозначение и наименование соответствующего национального стандарта

ИСО 857-1

ГОСТ Р ИСО 857-1-2009 Сварка и родственные процессы. Словарь. Часть 1. Процессы сварки металлов. Термины и определения

ИСО 2553

*

* Соответствующий национальный стандарт отсутствует. До его утверждения рекомендуется использовать перевод на русский язык данного международного стандарта. Перевод данного международного стандарта находится в Федеральном информационном фонде технических регламентов и стандартов.

Ключевые слова: сварка, соединение, шов, термины

 



© 2013 Ёшкин Кот :-)