Информационная система
«Ёшкин Кот»

XXXecatmenu

КОМПЛЕКС ПЕРСПЕКТИВНОГО РАЗВИТИЯ ГОРОДА

ТЕХНИЧЕСКИЕ РЕКОМЕНДАЦИИ
по конструкциям и технологии
строительства дорог, тротуаров,
площадок на территориях
культурно-бытового назначения

ТР 72-98

МОСКВА - 1998

Технические рекомендации по конструкциям и технологии строительства дорог, тротуаров, площадок на территориях культурно-бытового назначения разработаны кандидатами технических наук В.М. Гольдиным, Л.В. Городецким, Р.И. Бега (лаборатория дорожного строительства НИИМосстроя) при участии ГУ "Мосстройлицензия".

Рекомендации составлены на основе научно-исследовательских работ, выполненных лабораторией дорожного строительства НИИМосстроя, а также опыта, накопленного дорожно-строительными организациями Москвы и других городов России.

Рекомендации разработаны впервые и в основном предназначены для строительства в районах нового жилищного строительства, хотя с успехом могут быть использованы и для центральных районов города при капитальном ремонте сооружений соцкультбыта.

Рекомендации согласованы с институтом "Мосинжпроект" и трестом "Гордорстрой".

Правительство Москвы

Комплекс перспективного развития города

Технические рекомендации
по конструкциям и технологии строительства дорог, тротуаров, площадок на территориях культурно-бытового назначения

ТР 72-98

1. ОБЩИЕ ПОЛОЖЕНИЯ

1.1. Настоящие Технические рекомендации распространяются на строительство дорог, тротуаров, отмосток, площадок различного назначения на территориях соцкультбыта (больницы, поликлиники, школы, детские сады и ясли).

1.2. Рекомендации разработаны с учетом действующих нормативных документов и альбома СК 6101-97 "Дорожные конструкции для г. Москвы. Типовые конструкции".

1.3. Покрытия дорог, площадок, тротуаров, отмосток устраиваются двух типов: монолитные - из литой бетонной смеси, сборные - из мелкоразмерных и крупноразмерных бетонных и железобетонных плит.

1.4. Ширина проезжей части дорог принимается 3,5 и 5,5 м (в отдельных случаях - 6-7 м). Ширина одной полосы пешеходного движения принимается 0,75 м.

1.5. Строительство дорог, тротуаров, площадок, отмосток на объектах культурно-бытового назначения следует производить при положительных температурах воздуха. В случае производства работ по строительству отдельных элементов дорог, тротуаров, площадок и отмосток при отрицательных температурах воздуха следует пользоваться рекомендациями "Инструкции по технологии строительства городских дорог в зимнее время (ВСН 51-96).

Разработаны НИИМосстроем

Внесены

Управлением развития Генплана

Утверждены:

Первый заместитель руководителя Комплекса перспективного развития города

Е.В. Васин

"7" августа 1998 г

Дата введения в действие

"1" сентября 1998 г

1.6. Для покрытий дорог, площадок используются железобетонные плиты в соответствии с требованиями ГОСТ 21924.0-84 - ГОСТ 21924.3-84 следующих конфигураций: П - прямоугольная; ПБ - прямоугольная с одним совмещенным бортом; ПББ - прямоугольная с двумя совмещенными бортами; ПТ - трапецеидальная; ПШ -шестиугольная; ПШД - шестиугольная осевая диагональная; ПШП - шестиугольная осевая поперечная; ДПШ - диагональная половина шестиугольной плиты; ППШ - поперечная половина шестиугольной плиты.

1.7. Для покрытий тротуаров применяют в соответствии с ГОСТ 17608-91 следующие плиты: квадратные (К), прямоугольные (П), шестиугольные (Ш), фигурные (Ф) и элементы декоративные дорожные (ЭДД).

1.8. Бетонные и железобетонные бортовые камни используются в соответствии с ГОСТ 6665-91 следующих типов: БР - прямые рядовые; БУ - прямые с уширением; БУП - прямые с прерывистым уширением; БЛ - прямые с лотком; БВ - въездные; БК - криволинейные.

1.9. На стесненных территориях культурно-бытового назначения для автотранспорта устраиваются разворотные площадки. Схемы разворотных площадок проставлены на рис. 1.1.

2. КОНСТРУКЦИИ

2.1. Конструкции дорог, площадок включают следующие элементы:

дренаж мелкого заложения; подстилающий слой; бортовой камень; основание; покрытие. Конструкции тротуаров состоят из подстилающего слоя, основания и покрытия. Варианты конструкций представлены на рис. 2.1.

2.2. Дренаж мелкого заложения предназначен для осушения дорожной одежды и верхней части земляного полотна.

Конструкция дренажа состоит из дренирующего слоя и трубчатых дрен, уложенных на спланированное дно ровика.

2.3. В качестве дрены могут использоваться керамзитобетонные трубофильтры, перфорированные асбестоцементные, керамические и полимерные дренажные трубы. Стыки и водоприемные отверстия дрен защищают от запыления муфтами и фильтрами, в качестве которых могут быть использованы каменные материалы, нетканые синтетические материалы, а также стеклохолсты.

Рис. 1.1. Схемы разворотных площадок для автотранспорта

Рис. 2.1. Варианты конструкций дорог, площадок, тротуаров:

а, б - покрытия из литого бетона;

в, г - покрытии из сборных бетонных, железобетонных плит;

д, е - покрытия тротуаров

1 - монолитный цементобетон; 2 - щебеночная смесь, укатываемый бетон; 3 - песчаный подстилающий слой; 4 - полиэтиленовая пленка или пергамин; 5 - крупноразмерные плиты; 6 - выравнивающий слой (песчаная или спецсмесь); 7 - мелкоразмерные плиты

2.4. Толщина конструктивных слоев принимается в соответствии с проектом.

2.5. Подстилающий слой устраивается из песка, коэффициент фильтрации которого должен быть не менее 3 м/сутки.

2.6. Применяются бортовые, бетонные и железобетонные камни. Основные размеры камней представлены в таблице 2.1.

Таблица 2.1.

Размеры бетонных и железобетонных бортовых камней

Марки

Размеры, мм

длина

высота

ширина

БР 100.30.15

1000

300

150

БР 300.30.15

3000

300

150

БР 100.30.18

1000

300

180

БР 300.30.18

3000

300

180

БР 100.20.8

1000

200

80

2.7. Основание дорог и площадок различного назначения устраивают из щебеночных смесей или укатываемого бетона (принимается бетон марки 2), прочность которого в возрасте 28 дней должна быть не менее 100 кгс/см2.

2.8. Покрытия дорог, площадок различного назначения устраиваются двух типов: монолитные бетонные; сборные - из бетонных или железобетонных плит.

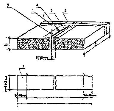
2.9. В бетонных покрытиях дорог и площадок устраиваются температурные швы через 6-8 метров.

На рис. 2.2. представлена схема устройства температурного шва.

Ширина укладываемой полосы

Рис. 2.2. Температурный шов в покрытиях дорог и тротуаров:

1 - бетон; 2 - толь; 3 - металлический шаблон толщиной 4-5 мм; 4 - петля; 5 - штырь

3. ТЕХНОЛОГИЧЕСКАЯ ПОСЛЕДОВАТЕЛЬНОСТЬ СТРОИТЕЛЬСТВА ДОРОГ И ПЛОЩАДОК

3.1. Технология строительства дорог, площадок включает: возведение земляного полотна; устройство дренажа, устройство дренирующего песчаного слоя; установку бортового камня; устройство основания; устройство покрытия.

3.2. Сооружение земляного полотна должно производится согласно требованиям ВСН 52-96 "Инструкция по производству земляных работ в дорожном строительстве и при устройстве подземных инженерных сетей".

3.3. Для производства земляных работ следует использовать экскаваторы с ковшом емкостью от 0,25 м3 до 1,0 м3, бульдозеры, автогрейдеры, скрепера.

3.4. Ширина корыта в выемке должна быть больше ширины покрытия на 0,5 м.

3.5. Возведение земляного полотна должно осуществляться послойно. Отсыпка, разравнивание и уплотнение каждого слоя производится с соблюдением продольных и поперечных уклонов.

Уплотнение грунтов земляного полотна необходимо производить при оптимальной влажности до требуемой плотности, которая соответствует коэффициенту уплотнения не менее 0,98. Уплотняющая техника выбирается в зависимости от вида грунта и толщины отсыпанного слоя (табл. 3.1.) Необходимое число проходов по одному следу для связных грунтов должно быть не менее 10-12, для несвязных - 6-8.

3.6. Поверхность земляного полотна планируется так, чтобы просвет под трехметровой рейкой, характеризующей ровность поверхности, не превышал 1 см.

3.7. Работы по устройству дренажа из трубофильтров выполняются непосредственно перед распределением песчаного подстилающего слоя.

Таблица 3.1.

Машины для уплотнения грунтов

Марка машины

Тип катков

Масса, т

Глубина уплотнения (в плотном теле), м

связный грунт

несвязный грунт

ДУ-31А (Д-627)

Самоходный, на пневматических шинах, статический

16

0,20

0,25

ДУ-29 (Д-624)

30

0,30

0,35

ДУ-52

СД-4 и др.

Самоходный, комбинированный, с вибрационным вальцом

10-11

0,40

0,60

А-8

Прицепной вибрационный

9

0,30

0,50

3.8. Траншеи под дренаж следует отрывать до наступления заморозков при помощи автогрейдера ДЗ-180А с навесным оборудованием или экскаваторов ЭО-2621, ЭО-2626 с трапецеидальным ковшом. Укладка труб в траншею производится вручную или при помощи автокранов.

3.9. Технологический процесс устройства дренажей мелкого заложения включает: рытье ровика; устройство в нем подушки под трубы; укладку труб с фильтрами, сопряжение трубчатых дрен с водоприемниками, заполнение ровика песком и его уплотнение. Трубы с раструбами или трубофильтрами обращают против уклона раструбами и пазами. Особое внимание должно уделяться уплотнению дна ровика.

3.10. При устройстве дренажей проверяют: уклон подушки; качество фильтров обсыпки; плотность соединения звеньев труб в стыках; гранулометрический состав и коэффициент фильтрации; толщина слоя песка; влажность и степень уплотнения песка.

3.11. К устройству подстилающего слоя из песка приступают после приемки земляного полотна дороги и оформления соответствующего акта. Подлежат проверке в обязательном порядке соответствие фактических отметок профилей проектным и степень уплотнения грунта.

3.12. Коэффициент фильтрации песка для подстилающего слоя должен быть не менее 3 м/сутки. Песок доставляется к месту строительства автомобилями-самосвалами и выгружается непосредственно в корыто дороги. Разравнивание песка производится бульдозерами или автогрейдерами по способу "от себя" с соблюдением проектных уклонов.

3.13. Катки для уплотнения песка выбирают в зависимости от вида песка и толщины уплотняемого слоя в соответствии с табл. 3.1.

3.14. Уплотненный подстилающий слой из песка должен иметь проектную толщину, отклонение от проекта не должно превышать ±1 см, а коэффициент уплотнения должен быть не менее 0,98. Наибольший просвет под трехметровой рейкой не должен превышать 1 см. Продольные и поперечные уклоны должны соответствовать проекту.

3.15. Перед установкой бортового камня на выровненный и уплотненный песчаный подстилающий слой устанавливается опалубка высотой 20 см и шириной на 20 см больше ширины бортового камня.

3.16. Установка метровых бортовых камней производится бортоукладчиками и вручную при помощи клещевого или П-образного приспособления. Схема установки метровых бортовых камней при помощи указанных приспособлений представлена на рис. 3.1.

3.17. Бортовой камень устанавливается на бетонное основание толщиной 10 см по натянутому между металлическими штырями шнуру. Бортовой камень осаживается до уровня натянутого шнура деревянной трамбовкой.

После установки бортового камня с двух его сторон устраивается бетонная обойма в опалубке на высоту 10 см.

3.18. Длинномерные бортовые камни устанавливаются на песчаное основание автокранами грузоподъемностью 3-5 т или при помощи пневмоколесных погрузчиков ТО-30 грузоподъемностью 2,2 т и ПК-271 грузоподъемностью 2,7 т.

3.19. Швы между бортовыми камнями заполняются цементно-песчаным раствором состава 1:4, после чего расшиваются цементно-песчаным раствором состава 1:2.

3.20. Для покрытий дороги и площадок основание, как правило, устраивается из уплотняемых щебеночных смесей или укатываемых малоцементных бетонных смесей.

Рис. 3.1. Схемы приспособлений и оснастки для установки бортовых камней:

1 - бортовой камень; 2 - опалубка; 3 - участок бетонирования (обойма); 4 - бетонная подготовка; 5 - песчаный подстилающий слой; 6, 7 - приспособление для установки бортового камня

3.21. Щебеночные смеси для устройства оснований изготавливают на заводе путем смешивания различных фракций известнякового щебня или гравия до получения однородного материала с добавлением оптимального количества воды.

Таблица 3.2

Зерновой состав щебеночных смесей

Тип смеси

Содержание в смеси частиц, % массы, проходящих через сито с размером отверстий, мм

70

40

20

10

5

0,63

не менее 0,05

Крупнозернистая, I

80-100

40-50

20-30

15-25

12-20

5-10

0-3

То же, II

85-100

60-70

40-50

30-40

20-30

5-15

0-5

Среднезернистая, I

-

85-100

40-50

20-30

15-25

7-10

1-5

То же, II

-

-

85-100

60-70

40-50

15-20

2-5

3.22. Доставленная на строительный объект щебеночная смесь выгружается в приемный бункер самоходного распределителя или на подготовленное земляное полотно.

При отсутствии распределителя можно применять бульдозеры и автогрейдеры. Уплотнение смеси производится самоходными катками.

3.23. Укатку основания следует производить от бортов к оси проезда, причем каждый последующий слой должен перекрывать предыдущий на 20-25 см.

3.24. В процессе работы следует вести контроль за толщиной укладываемого щебеночного слоя, ровностью, соблюдением продольных и поперечных укладов.

3.25. Время транспортирования смеси укатываемого бетона не должно превышать 60 мин.

Время с момента выпуска смеси до ее окончательного уплотнения в основании не должно превышать 120 мин.

3.26. В таблице 3.3 представлены характеристики катков и режимы уплотнения щебеночных смесей и укатываемых бетонных смесей.

Таблица 3.3.

Модель, тип, марка

Основные конструктивные особенности

Масса, т

Щебеночные смеси

Укатываемые бетонные смеси

толщина уплотняемого слоя, м

число проходов по одному следу

жесткость бетонной смеси

толщина уплотняемого слоя, м

число проходов по одному следу

ДУ-476-1

Самоходные статические гладковальцевые

6

0,10

10

90-120

0,15

12-14

ДУ-63-1

10

0,14

10

90-120

0,15

12-14

ДУ-73-1

5-5,5

0,10

10

90-120

0,15

12-14

ДУ-54М

Самоходные вибрационные гладковальцевые

1,5-2,2

0,10

10

90-120

0,15

12-14

ДУ-47Б

6

0,20

10

90-120

0,25

6-8

ДУ-73

5-5,5

0,15

10

90-120

0,25

6-8

ДУ-63

8-10

0,20

10

90-120

0,30

6-8

ДУ-74

8-9

0,20

10

90-120

0,30

6-8

ДУ-65

Самоходные пневмоколесные на спецшасси

10-12

0,15

10

100-110

0,15

6-8

ДУ-58Н

Самоходные комбинированного действия

16

0,30

10

90-120

0,30

6-8

ДУ-64

8,5-9,5

0,20

10

90-120

0,25

6-8

3.27. При устройстве покрытий из литых бетонных смесей роль опалубки могут выполнять бортовые камни, а при их отсутствии используют инвентарную металлическую опалубку.

3.28. Опалубка должна быть установлена строго по отметкам на участке длиной, обеспечивающей устройство покрытий в течение смены и иметь герметичные стыковые соединения.

При односкатном профиле дороги опалубку устанавливают на всю ширину покрытия, при двухскатном - на половину ширины.

3.29. Литая бетонная смесь доставляется на строительный объект только в автобетоносмесителях. Во время движения автобетоносмесителя бетонная смесь должна перемешиваться.

На объекте бетонная смесь требуемой консистенции выливается из автобетоносмесителя на подготовленное основание.

3.30. После распределения смеси производят ее профилирование с помощью металлического или деревянного шаблона или различного специального оборудования.

3.31. В конце рабочей смены устраивают поперечный температурный шов. Шов устраивают в виде упорной доски толщиной 5 см или металлического шаблона, обернутых пергамином, на полную ширину и высоту укладываемой полосы дороги.

Закрепляется доска (шаблон) к грунту и бетону с помощью металлических штырей. Перед возобновлением работ установленная доска (шаблон) снимается.

3.32. Температурные швы можно нарезать в отвердевшем бетоне на всю толщину покрытия, они должны иметь ширину 10 мм и заполняться в верхней части на 1/3 толщины резино-битумной мастикой, в нижней - сухой цементно-песчаной смесью состава 1:3.

3.33. Уход за бетоном нужно осуществлять сразу после его укладки при помощи полиэтиленовой пленки, водонепроницаемой бумаги, пергамина, толя, дорнита.

3.34. В случае когда бетонное покрытие устраивается непосредственно по песчаному основанию, на это основание укладывается полиэтиленовая пленка с целью сохранения толщины бетонного покрытия.

3.35. Декоративные бетонные покрытия получают при помощи бетонных смесей, приготовленных на цветных заполнителях, цветных цементах или пигментах, а также благодаря различным технологическим приемам в процессе их устройства.

3.36. Выбор и количество вводимых пигментов определяется лабораторией дорожного строительства НИИМосстроя при подборе состава цветных бетонов с учетом применяемых материалов.

3.37. Из цветного бетона устраивают как однослойное покрытие, так и верхний слой двухслойного толщиной 6-8 см.

3.38. Для лучшего сцепления слоев перед укладкой смеси поверхность нижнего слоя очищают от пыли и грязи, увлажняют и обрабатывают тонким слоем цементно-песчаного раствора (1:3).

Деформационные швы в двухслойном покрытии должны быть совмещены в плане.

3.39. Свежеуложенный цветной монолитный бетон требует специального ухода. Наиболее оптимальными материалами для ухода являются светонепроницаемые пленки, песок, дорнит.

3.40. Для нанесения рисунка на поверхность покрытия используют различное оборудование, а также специальные матрицы, валики, щетки.

3.41. Строительство сборных покрытий выполняется из железобетонных плит, размеры и качество которых должны соответствовать ГОСТ 21924.0-84 - ГОСТ 21924.3-84.

На рис. 3.2. представлен общий вид дорожной конструкции из плит с двумя бортовыми камнями.

3.42. Монтаж покрытия следует осуществлять по возможности "с колес" без промежуточного складирования плит на объекте. Укладка плит производится автомобильными и пневмоколесными кранами с готового покрытия способом "от себя".

3.43. При двухскатном профиле монтаж ведется от оси дороги к ее краям. При односкатном профиле укладку ведут поперечными рядами от края до края навстречу уклону.

3.44. Уступы в швах не должны превышать 5 мм. Ширина шва между смежными плитами допускается от 6 до 8 мм. Швы между плитами должны быть очищены от пыли и грязи и заполнены разогретой битумной мастикой "Изол-2" следующего состава по весу (в %): битум 40/60-75; резиновая крошка - 20; кумароновая смола - 5.

3.45. Технологическая последовательность строительства покрытий из мелкоразмерных бетонных плит такая же, как и при строительстве покрытий из крупноразмерных плит.

Мелкоразмерные плиты должны укладываться на подготовленное основание специальными плитоукладчиками.

Рис. 3.2. Общий вид дорожной конструкции из плит с двумя бортовыми камнями:

а) сборная конструкция из плит; б) габаритные размеры плиты с бортами;

1 - плита с бортами; 2 - песок; 3 - грунт, 4 - монтажные петли; 5 - металлическая накладка; 6 - закладные детали; 7 - шов с мастикой "Изол-2"

4. ТЕХНОЛОГИЧЕСКАЯ ПОСЛЕДОВАТЕЛЬНОСТЬ СТРОИТЕЛЬСТВА ТРОТУАРОВ, ПЕШЕХОДНЫХ ДОРОЖЕК И ОТМОСТОК

4.1. Тротуары и пешеходные дорожки должны располагаться: между проезжей частью и застройкой; между проезжей частью и газоном; между газонами; в полосе зеленых насаждений.

4.2. При строительстве тротуаров, пешеходных дорожек к земляному полотну, песчаному подстилающему слою, основанию предъявляются такие же требования, как и при строительстве проезжей части дороги.

4.3. Для устройства монолитных бетонных покрытий и изготовления сборных плит должен применяться бетон морозостойкостью не ниже F150 с пределом прочности на растяжение при изгибе 40-45 кгс/см2, на сжатие - 300-350 кгс/см2.

4.4. Мелкоразмерные плиты укладываются в покрытие тротуаров плитоукладочными машинами (рис. 4.1.) или вручную, а крупноразмерные с помощью автомобильных и пневмоколесных кранов.

4.5. На рис. 4.2 представлены схемы раскладки плит в покрытии тротуаров, а на рис 4.3 схемы раскладки фигурных элементов мощения.

4.6. Для соблюдения уклона и ровности покрытия при укладке мелкоразмерных плит рекомендуется:

- устраивать верстовой ряд вдоль бортового камня или поперек тротуаров;

- укладку плит начинать от бортового камня и вести навстречу уклону;

- выравнивать уложенные плиты легким постукиванием деревянным молотком по деревянной прокладке, лежащей на плите;

- ширина швов между плитами должна быть в пределах 5-8 мм;

- превышение краев смежных плит не должно быть более 2 мм.

4.7. Швы между плитами заполняются цементно-песчаной смесью. Швы расширения устраивают шириной 10 мм через 50 м. Заделка швов расширения производится битумной мастикой или изолом.

На рис. 4.4. показано расположение швов расширения в покрытии тротуара.

4.8. Ровность покрытия проверяется 3-метровой рейкой не менее чем через 20 м, просвет под рейкой не должен превышать 3 мм.

4.9. Отмостки должны устраиваться у всех возводимых зданий. Ширина отмосток 0,75 м, с поперечным уклоном от здания не менее 20 %о.

4.10. Конструкция отмосток может выполняться двух типов.

Тип I. По уплотненному земляному полотну (Куп 0,98-1,0) укладывается песчаный подстилающий слой высотой 10 см, полиэтиленовая пленка и слой литого бетона высотой 10 см.

Тип II. По уплотненному земляному полотну (Куп 0,98-1,0) укладываются песчаный подстилающий слой высотой 10 см и железобетонные плиты следующих типоразмеров: 3,0х0,75х0,08; 1,5х0,75х0,08; 0,75х0,75х0,8; 0,3х0,75х0,08 (в см).

4.11. Указанные типоразмеры железобетонных плит (альбом "Плиты отмосток сборные бетонные", разработанный НПО "Прокатдеталь" и НИИМосстроем 1987 г.) позволяют устраивать отмостки у возводимых зданий любой конфигурации.

Рис. 4.1. Плитоукладчик

Рис. 4.2. Схемы раскладки тротуарных плит

Рис. 4.3. Схемы раскладки фигурных бетонных мелкоразмерных элементов мощения (размеры даны в мм)

Рис. 4.4. Расположение швов расширения в покрытии тротуара

5. КОНТРОЛЬ КАЧЕСТВА СТРОИТЕЛЬСТВА

СХЕМА ОПЕРАЦИОННОГО КОНТРОЛЯ КАЧЕСТВА

№ пп

Контролируемые производственные операции

Методы, время контроля, объем выборки

Кто контролирует используемый инструмент

Документация, по которой осуществляется контроль. Нормативные требования. Что проверяется

1

2

3

4

5

А. Входной контроль

 

Песок

Сплошной во время приемки в полном объеме

Прораб (мастер). Строительная лаборатория

Паспорта на песок. ГОСТ 8736-85. Фильтрация песка - коэффициент фильтрации должен быть не менее 3 м/сутки

2.

Бортовой камень

Сплошной во время приемки в полном объеме. Выборочный - 3 камня на объект

Прораб (мастер). Строительная лаборатория

Паспорта на бортовой камень. ГОСТ 6665-91. Соответствие марки бортового камня проекту. Отклонение бортовых камней от размеров не должно превышать:

- по длине и высоте ± 5 мм;

- по ширине верха камня ±3 мм;

- по ширине фаски камней ±2 мм;

- искривление по длине не должно превышать 3 мм на 1 метр

3.

Щебень

Сплошной во время приемки. Одна проба на партию

Прораб (мастер). Строительная лаборатория

Паспорта на щебень. ГОСТ 8267-93. Лабораторные испытания

4.

Литая бетонная смесь

Сплошной во время приемки. Выборочный - одна проба на объект

Прораб (мастер).  Формы для образцов, конус, весы. Строительная лаборатория

Паспорта на бетон и суперпластификатор. ГОСТ 10268-80; ТУ 14-628-80. Соответствие марки бетона проекту - лабораторные испытания. ВСН 7-94. Соответствие нормы добавки суперпластификатора для получения литой консистенции бетонной смеси с подвижностью 16-18 см

5.

Железобетонные плиты

Сплошной во время приемки в полном объеме

Прораб (мастер). Молоток эталонный "МЭ-1"; уровень, метр. Строительная лаборатория

Паспорта на железобетонные плиты. ГОСТ 21924.0-3,84

Б. Операционный контроль качества

1.

Устройство земляного полотна (корыта) дороги:

А) продольные и поперечные уклоны

Сплошной во время и после окончания работы. В полном объеме

Прораб (мастер). Нивелир, рулетка, метр

Указания по производству земляных работ в дорожном строительстве. ВСН 52-96. Соответствие уклонов проекту - допускается отклонение ±0,5 %

 

Б) уплотнение

Сплошной во время и после окончания работ. Выборочный через 10 м

Прораб (мастер).

3-метровая рейка. Строительная лаборатория

ВСН 52-96. Соответствие качества уплотнения проекту - коэффициент уплотнения должен быть не менее 0,98. Лабораторные испытания.

 

В) ровность

Сплошной во время работы

Прораб (мастер).

3-метровая рейка

ВСН 52-96. Соответствие ровности поверхности проекту, допускается просвет под 3-метровой рейкой 1 см. Составляется акт по приемке земляного полотна.

2.

Устройство песчаного подстилающего слоя

Сплошной во время и после окончания работ. Выборочный через 20 м

Прораб (мастер).

3-метровая рейка. Строительная лаборатория

СНиП 3.06.3-85 "Автомобильные дороги". Фильтрация песка - должна быть не менее 3 м/сутки. Уплотнение песка - коэффициент уплотнения должен быть не менее 0,98. Толщина слоя песка - допускается отклонение ±1 см. Ровность поверхности - просвет под 3-метровой рейкой не более 1 см. Составляется акт по приемке песчаного подстилающего слоя

3.

Устройство технологического слоя

Сплошной во время и после окончания работ. Выборочный через 20 м.

Прораб (мастер). 3-метровая рейка. Строительная лаборатория

ВСН 16-95. Коэффициент уплотнения щебня должен быть не менее 0,98. Толщина слоя щебня - допускается отклонение ±1 см. Ровность поверхности - просвет под 3-метровой рейкой не более 1 см.

4.

Установка бортового камня

Сплошной во время и после окончания работ. В полном объеме

Прораб (мастер). Нивелир, метр

ВСН 13-95. Соответствие проекту отметки верха камней - допускается перепад ±0,5 см. Соответствие ширины дороги между бортовыми камнями проекту - допускается отклонение ±5 см. Соответствие ширины швов между бортовыми камнями проекту

5.

Устройство щебеночного основания

Сплошной во время и после окончания работ. В полном объеме

Прораб (мастер). Нивелир, шаблон, метр. Строительная лаборатория

Смеси щебеночные уплотняемые ТУ 400-24-150-86. Ровность-просвет под 3-метровой рейкой 0,5 см. Толщина слоя ±1 см, при укладке смеси не менее 10 проходов катка по одному следу

6.

Устройство основания из укатываемого бетона

Сплошной во время работы в полном объеме. Выборочный через 10 м.

Прораб (мастер). Метр, рулетка, нивелир, 3-метровая рейка, формы для отбора проб, термометр

ВСН 16-95. Толщина слоя ±1 см; ровность - просвет под 3-метровой рейкой не более 0,5 см. Расстояние и конструкция швов - по проекту. Соблюдение температурного режима набора прочности бетона

7.

Устройство покрытия из литой бетонной смеси

Сплошной во время работы в полном объеме. Выборочный через 10 м

Прораб (мастер). Метр, рулетка, нивелир, 3-метровая рейка, формы для отбора проб, термометр. Строительная лаборатория. Заказчик

ВСН 7-94. Толщина слоя - допускается ±1 см. Ровность - просвет под 3-метровой рейкой не более 0,5 см. Расстояния и конструкция швов - по проекту.

8.

Уход за бетоном

Сплошной сразу по окончании работ. В полном объеме

Прораб (мастер).

ВСН 16-95; ВСН 7-94. Укрытие водонепроницаемой бумагой, пергамином, дорнитом и др.

9.

Устройство покрытий из железобетонных плит

Сплошной во время работы

Прораб (мастер). Нивелир, рулетка, метр. Строительная лаборатория.

Инструкция по строительству полносборных покрытий городских дорог ВСН 1-94. Полный контакт плит с основанием. Просвет под 3-метровой рейкой не должен превышать 5 мм. Ширина покрытия ±5 см.

10.

Устройство тротуаров и отмосток

Сплошной во время работы

Прораб (мастер). Нивелир, рулетка, метр. Строительная лаборатория.

Инструкция на устройство тротуаров из бетонных плит. ВСН 15-95. Просвет под 3-метровой рейкой не должен превышать 3 мм

Строители дорог предъявляют заказчику паспорта на применяемые строительные материалы, детали, смеси, а также акты на качественное сооружение земляного полотна, песчаного подстилающего слоя.

6. ТРЕБОВАНИЯ БЕЗОПАСНОСТИ

6.1. К работе по строительству дорог, площадок, тротуаров, отмосток допускаются лица не моложе 18 лет, прошедшие медицинский осмотр, обученные по утвержденной программе безопасным методам работы, получившие удостоверение о сдаче экзаменов и проинструктированные непосредственно на рабочем месте.

Проверка знаний рабочих производится ежегодно специальной комиссией.

6.2. Все подготовленные и механизированные работы должны производиться под непосредственным руководством инженерно-технических работников, назначенных приказом.

6.3. Рабочие должны быть обеспечены специальной одеждой и исправным ручным инструментом в соответствии с действующими нормами.

6.4. На строительных объектах должны быть оборудованы санитарно-бытовые помещения, обеспеченные аптечками с медикаментами и средствами для оказания первой помощи, питьевой кипяченой водой.

6.5. Ответственность за соблюдение техники безопасности при строительстве дорог, площадок, тротуаров, отмосток несут главный инженер строительного управления и производитель работ.

6.6. При монтажных работах по устройству покрытия из крупноразмерных плит рабочие должны находиться вне пределов опасной зоны, заключенной внутри круга, радиус которого на 5 м больше вылета стрелы крана.

6.7. Для обеспечения безопасности работ при укладке плит такелажники должны использовать специальные багры длиной 1,5-2,0 м.

6.8. При доставке бетонной смеси автобетоносмесителями необходимо соблюдать следующие правила:

- при их движении по обочине все рабочие должны находиться на противоположной обочине;

- не разрешается подходить к ним до полной их остановки;

- при движении автобетоносмесителей (особенно задним ходом) рабочий, находящийся в безопасной зоне, должен подавать шоферу сигналы.

6.9. Лица, занятые приготовлением и нанесением на бетонное покрытие пленкообразующих материалов, должны работать в комбинезонах, брезентовых рукавицах и защитных очках.

6.10. Категорически запрещается лицам, не имеющим специального удостоверения, управлять механизмами или ремонтировать их.

7. ОХРАНА ОКРУЖАЮЩЕЙ СРЕДЫ

7.1. К окончанию строительства зданий, спортивных сооружений, площадок и дорог на территориях соцкультбыта вся остальная площадь, отведенная для строительства объекта, должна быть озеленена.

7.2. Для определения мест размещения деревьев в виде аллей, рядовых, групповых или одиночных посадок и кустарника в виде живой изгороди следует производить геодезические работы по точному соблюдению рабочих чертежей утвержденного проекта озеленения объекта.

7.3. При озеленении объекта значительное внимание должно уделяться выбору вида растений для зеленых насаждений. При этом следует учитывать климатические, почвенные и гидрологические условия района посадки, а также особенности его планировки и застройки. В условиях г. Москвы чаще всего следует применять деревья с густой кроной: липа, береза, клен, тополь, лиственница, а также плодовые деревья: яблоню, вишню, грушу.

Из кустарниковых пород следует использовать акацию, жасмин, сирень и др.

7.4. Расстояния между деревьями и кустарниками, а также ассортимент посадочного материала должны быть определены в проектах озеленения объекта.

7.5. Для засева газона следует применять смеси трав, в частности смесь гребенника обыкновенного, мятлика лугового, райграса английского и красной овсяницы.

7.6. Продольные и поперечные уклоны возводимых газонов должны быть направлены в сторону построенных дорог, тем самым все сточные и талые воды попадают в дождеприемные решетки дорожного водостока.

7.7. В зимнее время очистка дорог от снега должна выполняться автогрейдерами, бульдозерами, механическими щетками. Применение различного рода солевых растворов для уборки снега с дорог запрещается.

СОДЕРЖАНИЕ

 



© 2013 Ёшкин Кот :-)