Информационная система
«Ёшкин Кот»

XXXecatmenu

Изменение № 1 ГОСТ 11851-85 Нефть. Метод определения содержания парафина

Утверждено и введено в действие Постановлением Государственного комитета СССР по стандартам от 30.03.88 № 918

Дата введения 01.09.88

Пункт 1.1 изложить в новой редакции: «1.1. Аппаратура, реактивы и материалы

Посуда и оборудование лабораторные стеклянные по ГОСТ 25336-82:

экстракционный аппарат, состоящий из колб круглодонных узкогорлых К-1-100-29/32ТС, насадки НЭТВ-25 ХС и холодильника X111-1-200-29/32 ХС, или экстракционный аппарат (черт. 1),

воронка коническая В-75-140,

колбы Кн-1-50-14/23 ТС, Кн-1-100-29/32 ТС, Кн-1-500-29/32 ТС, К-1-250-29/32 ТС, КП-1-1000-29/32ТС,

фильтрующие воронки ВФ-1-32 ПОР ТХС или ВФ-1-40 ПОР 40 ТХС,

пробирка П1-16-150 ХС,

холодильник стеклянный ХПТ-1-600-14/23ХС,

аллонж АИ-14/23-60 ТС,

эксикатор 1-140, или 1-190, или 1-250,

насос водоструйный или аналогичного типа, обеспечивающий остаточное давление не более 13,3 гПа (10 мм рт. ст.).

Лопаточка стеклянная длиной 220 мм, диаметром 5 - 7 мм.

Цилиндры 1 - 25, 50 по ГОСТ 1770-74.

Чашка фарфоровая диаметром 200 мм по ГОСТ 9147-80.

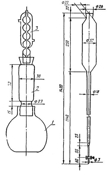
Адсорбционная колонка стеклянная (черт. 2).

Аппарат для фильтрования (черт. 3).

Термометр типа ТЛ-21-Б1 по ГОСТ 215-73.

Термометр ртутный типа ТН-6 по ГОСТ 400-80.

Плитка электрическая с закрытой спиралью.

Шкаф сушильный.

Весы аналитические с погрешностью не более 0,0002 г с верхним пределом 200 г.

Бумага фильтровальная ФНБ или по ГОСТ 12026-76.

Фильтры беззольные марки «синяя лента» с зольностью не более 0,00038 %.

Груша резиновая.

Баня водяная.

Баня масляная с температурой вспышки масла в закрытом тигле 250 °С и открытом 275 °С.

Ацетон по ГОСТ 2603-79.

Толуол по ГОСТ 14710-78 или ГОСТ 5789-78, марки ч. д. а.

н-Гексан, ч. д. а.

Спирт этиловый ректификованный по ГОСТ 5962-67 или спирт этиловый, ректификованный технический по ГОСТ 18300-87.

н-Гептан эталонный по ГОСТ 25828-83.

Фракция НК-50 °С, не содержащая ароматических углеводородов, выделенная из алкилбензина или нефраса П4-30/80 по ГОСТ 26377-84 ректификацией.

Нефрас-С2-80/120 или нефрас-С3-80/120 (бензин-растворитель) по ГОСТ 26377-84.

Черт 1-2

1 - колба; 2 - насадка; 3 - холодильник

Черт. 1            Черт. 2

Вода дистиллированная по ГОСТ 6709-72.

Охладительные смеси: спирт этиловый и двуокись углерода твердая (сухой лед) или жидкий азот.

Силикагель марок АСК с размером зерен 0,2 - 0,5 мм ГОСТ 3956-76, допускается применять регенерированный силикагель.

Азот-газ в баллоне».

Пункт 1.2 изложить в новой редакции:

«1.2. Подготовка к испытанию

1.2.1. Силикагель насыпают в фарфоровую чашку на 3/4 емкости и помещают на 6 ч в воздушный термостат при температуре (180 ± 10) °С.

Затем силикагель, не охлаждая, переносят в сухую колбу, предварительно нагретую в течение 15 мин в том же термостате. Колбу с силикагелем плотно закрывают резиновой пробкой во избежание поглощения влаги из воздуха.

Для регенерирования силикагель промывают в колонке спиртотолуольной смесью в соотношении 1:1 до получения бесцветного растворителя.

Далее силикагель промывают дистиллированной водой и сушат на воздухе в течение 6 ч, а затем выдерживают в воздушном термостате при температуре (180 ± 10) °С в течение 6 ч.

1.2.2. Для проведения анализа берут навеску нефти массой 5 г. При содержании асфальтово-смолистых веществ 10 % и более масса навески 3 г.

Навеску, взвешенную с погрешностью не более 0,01 г в колбе экстракционного аппарата вместимостью 500 см3, разбавляют 40-кратным объемом н-гептана или 30-кратным объемом фракции НК-50 °С.

1.2.3. Для осаждения асфальтенов раствор нефти в н-гептане отстаивают в темном месте в течение 16 ч при температуре окружающей среды.

Для осаждения асфальтенов нефти из раствора нефти фракцией НК-50 °С собирают экстракционный аппарат (см. черт. 1), ставят на водяную баню с температурой воды 50 - 55 °С, кипятят 30 - 35 мин, поддерживая указанную температуру добавлением горячей воды в баню (применение электроподогрева исключается). По истечении указанного срока раствор оставляют стоять в течение 12 ч в аппарате на водяной бане, с момента прекращения кипения, в защищенном от света месте.

1.2.4. Отстоявшийся раствор н-гептана (или фракции НК-50 °С) с асфальтенами осторожно без перемешивания фильтруют через двойной фильтр «синяя лента». Затем осадок переносят на тот же фильтр при помощи н-гептана (или фракции НК-50 °С) и промывают до тех пор, пока стекающий раствор не будет прозрачным и после его испарения на фильтровальной бумаге не останется масляного пятна.

1.2.5. Для удаления соосажденных смол и парафина фильтр быстро помещают в насадку экстракционного аппарата.

В колбу экстракционного аппарата вместимостью 100 см3 наливают 50 см3 н-гептана (или фракции НК-50 °С).

Собирают аппарат и помещают на масляную (водяную) баню.

При использовании н-гептана экстракцию проводят на масляной бане, нагретой до температуры 110 - 120 °С в течение часа, при использовании фракции НК-50 °С - на водяной бане, нагретой до 50 - 55 °С в течение 30 мин.

Перед началом экстракции нагрев проводят таким образом, чтобы фильтр с осадком полностью заполнился растворителем, затем продолжают экстракцию со скоростью 2 - 4 капли в секунду.

При использовании н-гептана проводят дополнительную экстракцию спиртом для более полного удаления высокоплавких церезинов. Для этого после окончания экстракции н-гептаном берут другую колбу вместимостью 100 см3, в которую наливают 50 см3 этилового спирта, и проводят экстракцию в течение 5 - 10 мин.

1.2.6. Фильтрат, полученный после фильтрования и промывки асфальтенов, помещают в колбу вместимостью 250 см3 и отгоняют н-гептан (или фракцию НК-50 °С) до объема остатка 50 - 70 см3.

К остатку в колбе, полученному после отгона н-гептана (или фракции НК-50 °С), добавляют экстракт этилового спирта и проводят отгонку с инертным газом до полного удаления растворителя. Затем остаток растворяют в 30 - 50 см3 нефраса С2-80/120 или нефраса С3-80/120 (бензина-растворителя).

1.2.7. В адсорбционную колонку, заполненную силикагелем в количестве 100 г, через воронку наливают 200 см3 бензина-растворителя. Когда он полностью впитается силикагелем, кран закрывают и в колонку наливают концентрат фильтрата. Колбу из-под концентрата промывают небольшим количеством бензина-растворителя, который также сливают в колонку.

Затем в колонку заливают еще 100 см3 бензина-растворителя так, чтобы силикагель был покрыт полностью.

Колонку сверху закрывают ватой и оставляют на 1 - 2 ч, затем вату вынимают и с помощью крана внизу колонки устанавливают скорость выхода раствора 5 см3 в минуту.

1.2.8. Когда уровень бензина-растворителя в колонке дойдет до поверхности силикагеля, добавляют 500 - 600 см3 смеси бензина и толуола (в соотношении 6:1) порциями по 100 см3 до тех пор, пока из колонки не будет стекать чистый растворитель. Дают растворителю стечь, затем колбу с растворителем убирают.

1.2.9. Для определения парафина используют продукт, оставшийся в результате отгона растворителя от фильтрата, полученного после адсорбции смол на силикагеле.

Основное количество растворителя отгоняют на масляной бане из круглодонной колбы вместимостью 1000 см3 через холодильник при температуре бани не выше 145 °С в токе азота или углекислого газа.

При применении в качестве растворителя н-гексана его отгоняют на водяной бане также через холодильник.

1.2.10. Обессмоленную нефть (примерно 15 - 20 см3) количественно переносят в коническую колбу вместимостью 50 см3 (с обязательным смывом нефти 10 - 15 см3 растворителя) с предварительно определенной массой и отпаривают остаток растворителя на масляной (или водяной) бане, продувая колбу несколько раз резиновой грушей.

Массу колбы с обессмоленной нефтью определяют с погрешностью не более 0,001 г и находят массу обессмоленной нефти».



© 2013 Ёшкин Кот :-)