НАУЧНО-ИССЛЕДОВАТЕЛЬСКИЙ
ИНСТИТУТ
ГИГИЕНЫ ВОДНОГО ТРАНСПОРТА
МЕТОДИЧЕСКИЕ УКАЗАНИЯ
НА МЕТОДЫ ОПРЕДЕЛЕНИЯ
ВРЕДНЫХ ВЕЩЕСТВ В ВОЗДУХЕ
ВЫПУСК XII
РЕКЛАМИНФОРМБЮРО
ММФ
Москва 1977
Начиная с данного выпуска, методики определения вредных
веществ в воздухе будут издаваться как Методические указания.
Методические указания, утвержденные заместителем Главного
государственного санитарного врача СССР, имеют ту же юридическую силу, что и
Технические условия.
Методические указания на методы определения вредных веществ
в воздухе предназначены для химиков научно-исследовательских институтов,
санитарно-эпидемиологических станций, промышленных лабораторий заводов и
медико-санитарных частей, а также для промышленно-санитарных врачей.
Сборник методических указаний составлен методической секцией
по промышленно-санитарной химия при проблемной комиссии «Научные основы гигиены
труда и профессиональной патологии».
Редакционная коллегия:
И.С. Новикова, М.Д. Бабина, Т.В. Соловьева, О.Н. Васильева, И.К. Рыжова.
|
УТВЕРЖДАЮ.
Заместитель
Главного
государственного
санитарного врача СССР
________
А.И. ЗАЙЧЕНКО
30 декабря 1975 г.
№
1380-75
|
МЕТОДИЧЕСКИЕ УКАЗАНИЯ
НА КОЛОРИМЕТРИЧЕСКОЕ ОПРЕДЕЛЕНИЕ
АЦЕТООКСИИЗОПРОПИЛ-N-ФЕНИЛКАРБАМАТА
(АЦИЛАТ-1), ИЗОПРОПИЛ-N-ФЕНИЛКАРБАМАТА (ИФК)
И ИЗОПРОПИЛ-N-ХЛОРФЕНИЛКАРБАМАТА
(хлор-ИФК) В ВОЗДУХЕ
1. Определение основано на реакции взаимодействия ацилата-1,
ИФК и хлор-ИФК с нитросмесью в присутствии уксусной кислоты.
2. Чувствительность определения - 10 мкг в анализируемом
объеме раствора.
3. Ароматические амины мешают определению.
4. Предельно допустимые концентрации этих веществ в воздухе
- 2 мг/м3.
5. Применяемые реактивы и растворы.
Ацетооксиизопропил-N-Фенилкарбамат
(ацилат-1).
Изопропил-N-Фенилкарбамат
(ИФК).
Изопропил-N-Хлорфенилкарбамат
(хлор-ИФК).
Стандартный раствор № 1. В мерную колбу емкостью 50 мл
вносят 30 - 35 мл уксусной кислоты, взвешивают, добавляют 2 - 3 капли ацилата-1
или порошка ИФК или хлор-ИФК и снова взвешивают. Содержимое колбы доводят до
метки уксусной кислотой. По разности второго и первого взвешиваний определяют
навески веществ и вычисляют содержание их в 1 мл раствора.
Стандартный раствор № 2, содержащий 100 мкг/мл, готовят
соответствующим разбавлением раствора № 1 уксусной кислотой.
Уксусная кислота ледяная.
Серная кислота, ГОСТ 4204-66, плотность 1,84.
Нитрат аммония, ГОСТ, высушенный при температуре 80 °С.
Нитрационная смесь, 10 г. нитрата аммония растворяют в 100
мл серной кислоты.
6. Применяемые посуда и приборы.
Аспирационное устройство.
Поглотительные приборы с пористой пластинкой.
Пробирки колориметрические, плоскодонные из бесцветного
стекла, высотой 120 мм и внутренним диаметром 15 мм.
Колбы мерные, ГОСТ
1770-74, емкостью 25 и 50 мл.
Пипетки, ГОСТ
1770-74, емкостью 1, 2, 5 и 10 мл с делениями на 0,01 и 0,1 мл.
III. Отбор пробы
воздуха
7. Воздух со скоростью 0,5 л/мин аспирируют через два
поглотительных прибора, содержащих по 5 мл уксусной кислоты. Для
анализа следует отобрать 15 л воздуха.
8. Из каждого поглотительного прибора 3 мл пробы вносят в
колориметрические пробирки. Одновременно готовят шкалу
стандартов согласно табл. 4.
Таблица 4
ШКАЛА СТАНДАРТОВ
|
Номер
стандарта
|
Содержание
вещества, мкг
|
Стандартный
раствор № 2, мл
|
Уксусная
кислота, мл
|
|
1
|
0
|
0
|
3
|
|
2
|
10
|
0,1
|
2,9
|
|
3
|
20
|
0,2
|
2,8
|
|
4
|
40
|
0.4
|
2,6
|
|
5
|
60
|
0,6
|
2,4
|
|
6
|
80
|
0,8
|
2,2
|
|
7
|
90
|
0,9
|
2,1
|
|
8
|
100
|
1,0
|
2,0
|
|
9
|
1120
|
1,2
|
1,8
|
|
10
|
140
|
1,4
|
1,6
|
Во все пробирки шкалы и проб вносят
по 1,5 мл нитросмеси, перемешивают и через 10 мин сравнивают интенсивность
окраски проб со шкалой стандартов.
Концентрацию ацетооксиизопропил-N-Фенилкарбамата (ацилат-1), изопропил-N-Фенилкарбамата (ИФК) или изопропил-N-Хлорфенилкарбамата
(хлор-ИФК) в мг/м3 воздуха X вычисляют по формуле:
где: G -
количество вещества, найденное в анализируемом объеме пробы, мкг;
V1 - общий объем пробы, мл;
V - объем пробы, взятый для анализа, мл;
V0 - объем воздуха, л, отобранный для
анализа и приведенный к нормальным условиям по формуле (приложение 1).
ПРИЛОЖЕНИЕ 1
Приведение объема воздуха к
нормальным условиям производят согласно газовым законам Бойля-Мариотта и
Гей-Люссака по следующей формуле:
где Vt
- объем воздуха, отобранный для анализа, л;
р - барометрическое давление, мм. рт. ст.;
t - температура воздуха в
месте отбора пробы, °С.
Для удобства расчета V0
следует пользоваться таблицей коэффициентов (приложение 2). Для
приведения объема воздуха к нормальным условиям надо умножить Vt на соответствующий коэффициент.
ПРИЛОЖЕНИЕ 2
ТАБЛИЦА КОЭФФИЦИЕНТОВ ДЛЯ РАЗЛИЧНЫХ ТЕМПЕРАТУР
И ДАВЛЕНИЯ, НА КОТОРЫЕ НАДО УМНОЖИТЬ
ДЛЯ ПРИВЕДЕНИЯ ОБЪЕМА ВОЗДУХА
К НОРМАЛЬНЫМ УСЛОВИЯМ
|
t газа, °С
|
Давление р,
мм. рт. ст.
|
|
730
|
732
|
734
|
736
|
738
|
740
|
742
|
744
|
746
|
748
|
750
|
752
|
754
|
756
|
758
|
760
|
762
|
764
|
766
|
768
|
770
|
772
|
774
|
776
|
778
|
780
|
|
5
|
0,9432
|
0,9458
|
0,9484
|
0,9510
|
0,9536
|
0,9561
|
0,9587
|
0,9613
|
0,9638
|
0,9665
|
0,9691
|
0,9717
|
0,9742
|
0,9768
|
0,9794
|
0,9820
|
0,9846
|
0,9871
|
0,9897
|
0,9923
|
0,9949
|
0,9975
|
1,0001
|
1,0026
|
1,0051
|
1,0078
|
|
6
|
0,9398
|
0,9424
|
0,9450
|
0,9476
|
0,9501
|
0,9527
|
0,9553
|
0,9579
|
0,9604
|
0,9630
|
0,9658
|
0,9682
|
0,9707
|
0,9733
|
0,9759
|
0,9785
|
0,9810
|
0,9836
|
0,9862
|
0,9888
|
0,9913
|
0,9939
|
0,9965
|
0,9990
|
1,0016
|
1,0042
|
|
7
|
0,9365
|
0,9390
|
0,9416
|
0,9442
|
0,9467
|
0,9493
|
0,9518
|
0,9544
|
0,9570
|
0,9596
|
0,9621
|
0,9647
|
0,9673
|
0,9698
|
0,9724
|
0,9750
|
0,9775
|
0,9801
|
0,9827
|
0,9852
|
0,9878
|
0,9904
|
0,9929
|
0,9955
|
0,9980
|
1,0006
|
|
8
|
0,9331
|
0,9357
|
0,9383
|
0,9408
|
0,9434
|
0,9459
|
0,9485
|
0,9510
|
0,9536
|
,9561
|
0,9587
|
0,9613
|
0,9638
|
0,9664
|
0,9689
|
0,9715
|
0,9741
|
0,9766
|
09792
|
0,9817
|
0,9843
|
0,9868
|
0,9894
|
1,9919
|
0,9945
|
0,9970
|
|
9
|
0,9298
|
0,9324
|
0,9349
|
0,9375
|
0,9400
|
0,9426
|
0,9451
|
0,9477
|
0,9502
|
0,9528
|
0,9553
|
0,9578
|
0,9604
|
0,9629
|
0,9655
|
0,9680
|
0,9706
|
0,9731
|
0,9757
|
0,9782
|
0,9807
|
0,9833
|
0,9859
|
0,9884
|
0,9910
|
0,9935
|
|
10
|
0,9265
|
0,9291
|
0,9316
|
0,9341
|
0,9367
|
0,9392
|
0,9418
|
0,9443
|
0,9468
|
0,9494
|
0,9519
|
0,9544
|
0,9570
|
0,9595
|
0,9621
|
0,9646
|
0,9671
|
0,9697
|
0,9722
|
0,9747
|
0,9773
|
0,9798
|
0,9824
|
0,9849
|
0,9874
|
0,9900
|
|
11
|
0,9233
|
0,9258
|
0,9283
|
0,9308
|
0,9334
|
0,9359
|
0,9384
|
0,9410
|
0,9435
|
0,9460
|
0,9486
|
0,9511
|
0,9536
|
0,9562
|
0,9587
|
0,9612
|
0,9637
|
0,9663
|
0,9688
|
0,9713
|
0,9739
|
0,9764
|
0,9789
|
0,9814
|
0,9839
|
0,9865
|
|
12
|
0,9200
|
0,9225
|
0,9251
|
0,9276
|
0,9301
|
0,9326
|
0,9351
|
0,9376
|
0,9402
|
0,9427
|
0,9452
|
0,9477
|
0,9503
|
0,9528
|
0,9553
|
0,9578
|
0,9603
|
0,9629
|
0,9654
|
0,9679
|
0,9704
|
0,9730
|
0,9754
|
0,9780
|
0,9805
|
0,9830
|
|
13
|
0,9168
|
0,9193
|
0,9218
|
0,9243
|
0,9269
|
0,9294
|
0,9319
|
0,9344
|
0,9369
|
0,9394
|
0,9419
|
0,9444
|
0,9469
|
0,9495
|
0,9520
|
0,9545
|
0,9570
|
0,9595
|
0,9620
|
0,9645
|
0,9670
|
0,9695
|
0,9720
|
0,9745
|
0,9771
|
0,9796
|
|
14
|
0,9136
|
0,9161
|
0,9186
|
0,9211
|
0,9236
|
0,9261
|
0,9286
|
0,9311
|
0,9336
|
0,9363
|
0,9386
|
0,9411
|
0,9436
|
0,9461
|
0,9486
|
0,9511
|
0,9536
|
0,9561
|
0,9586
|
0,9612
|
0,9637
|
0,9661
|
0,9686
|
0,9711
|
0,9736
|
0,9762
|
|
15
|
0,9104
|
0,9129
|
0,9154
|
0,9179
|
0,9204
|
0,9229
|
0,9254
|
0,9279
|
0,9304
|
0,9329
|
0,9354
|
0,9378
|
0,9404
|
0,9428
|
0,9453
|
0,9478
|
0,9503
|
0,9528
|
0,9553
|
0,9578
|
0,9603
|
0,9628
|
0,9653
|
0,9678
|
0,9703
|
0,9728
|
|
16
|
0,9073
|
0,9097
|
0,9122
|
0,3147
|
0,9172
|
0,9197
|
0,9222
|
0,9247
|
0,9271
|
0,9296
|
0,9321
|
0,9346
|
0,9371
|
0,9396
|
0,9420
|
0,9445
|
0,9470
|
0,9495
|
0,9520
|
0,9545
|
0,9570
|
0,9595
|
0,9619
|
0,9644
|
0,9669
|
0,9694
|
|
17
|
0,9041
|
0,9066
|
0,9092
|
0,9116
|
0,9140
|
0,9165
|
0,9190
|
0,9215
|
0,9239
|
0,9264
|
0,9289
|
0,9314
|
0,9339
|
0,9363
|
0,9388
|
0,9413
|
0,9438
|
0,9462
|
0,9487
|
0,9512
|
0,9537
|
0,9561
|
0,9586
|
0,9611
|
0,9636
|
0,9661
|
|
18
|
0,9010
|
0,9035
|
0,9059
|
0,9084
|
0,9109
|
0,9134
|
0,9158
|
0,9183
|
0,9207
|
0,9232
|
0,9257
|
0,9282
|
0,9306
|
0,9331
|
0,9356
|
0,9380
|
0,9405
|
0,9430
|
0,9454
|
0,9479
|
0,9504
|
0,9528
|
0,9553
|
0,9578
|
0,9602
|
0,9627
|
|
19
|
0,8979
|
0,9004
|
0,9028
|
0,9053
|
0,9078
|
0,9102
|
0,9127
|
0,9151
|
0,9176
|
0,9200
|
0,9225
|
0,9260
|
0,9275
|
0,9299
|
0,9324
|
0,9348
|
0,9373
|
0,9397
|
0,9422
|
0,9447
|
0,9471
|
0,9496
|
0,9520
|
0,9545
|
0,9569
|
0,9594
|
|
20
|
0,8948
|
0,8973
|
0,8997
|
0,9022
|
0,9046
|
0,9041
|
0,9096
|
0,9120
|
0,9145
|
0,9169
|
0,9194
|
0,9218
|
0,9243
|
0,9267
|
0,9292
|
0,9316
|
0,9341
|
0,9365
|
0,9390
|
0,9414
|
0,9439
|
0,9463
|
0,9488
|
0,9512
|
0,9537
|
0,9561
|
|
21
|
0,8918
|
0,8942
|
0,8967
|
0,8991
|
0,9016
|
0,9040
|
0,9065
|
0,9089
|
0,9113
|
0,9138
|
0,9162
|
0,9187
|
0,9211
|
0,9236
|
0,9260
|
0,9285
|
0,9309
|
0,9333
|
0,9359
|
0,9382
|
0,9407
|
0,9431
|
0,9455
|
0,9480
|
0,9504
|
0,9529
|
|
22
|
0,8888
|
0,8912
|
0,8936
|
0,8961
|
0,8985
|
0,9010
|
0,9034
|
0,9058
|
0,9083
|
0,9107
|
0,9131
|
0,9155
|
0,9180
|
0,9204
|
0,9229
|
0,9253
|
0,9277
|
0,9302
|
0,9326
|
0,9350
|
0,9375
|
0,9399
|
0,9423
|
0,9448
|
0,9472
|
0,9496
|
|
23
|
0,8858
|
0,8882
|
0,8906
|
0,8930
|
0,8955
|
0,8979
|
0,9003
|
0,9028
|
0,9052
|
0,9076
|
0,9100
|
0,9125
|
0,9149
|
0,9173
|
0,9197
|
0,9222
|
0,9246
|
0,9270
|
0,9294
|
0,9319
|
0,9343
|
0,9367
|
0,9391
|
0,9416
|
0,9440
|
0,9464
|
|
24
|
0,8828
|
0,8852
|
0,8876
|
0,8900
|
0,8924
|
0,8949
|
0,8973
|
0,8997
|
0,9021
|
0,9045
|
0,9070
|
0,9094
|
0,9118
|
0,9142
|
0,9165
|
0,9191
|
0,9215
|
0,9239
|
0,9263
|
0,9287
|
0,9311
|
0,9336
|
0,9360
|
0,9384
|
0,9408
|
0,9432
|
|
25
|
0,8798
|
0,8822
|
0,8846
|
0,8870
|
0,8894
|
0,8919
|
0,8943
|
0,8967
|
0,8991
|
0,9015
|
0,9039
|
0,9063
|
0,9087
|
0,9112
|
0,9135
|
0,9160
|
0,9184
|
0,9208
|
0,9232
|
0,9256
|
0,9280
|
0,9304
|
0,9328
|
0,9352
|
0,9377
|
0,9401
|
|
26
|
0,8769
|
0,8793
|
0,8817
|
0,8841
|
0,8865
|
0,8889
|
0,8913
|
0,8937
|
0,8961
|
0,8985
|
0,9009
|
0,9033
|
0,9057
|
0,9081
|
0,9105
|
0,9120
|
0,9153
|
0,9177
|
0,9201
|
0,9225
|
0,9249
|
0,9273
|
0,9297
|
0,9321
|
0,9345
|
0,9369
|
|
27
|
0,8739
|
0,8763
|
0,8787
|
0,8811
|
0,8835
|
0,8859
|
0,8883
|
0,8907
|
0,8931
|
0,8955
|
0,8979
|
0,9003
|
0,9027
|
0,9051
|
0,9074
|
0,9099
|
0,9122
|
0,9146
|
0,9170
|
0,9194
|
0,9218
|
0,9242
|
0,9266
|
0,9290
|
0,9314
|
0,9338
|
|
28
|
0,8710
|
0,8734
|
0,8758
|
0,8782
|
0,8806
|
0,8830
|
0,8853
|
0,8877
|
0,8901
|
0,8925
|
0,8949
|
0,8973
|
0,8997
|
0,9021
|
0,9044
|
0,9068
|
0,9092
|
0,9116
|
0,9140
|
0,9164
|
0,9187
|
0,9211
|
0,9235
|
0,9259
|
0,9283
|
0,9307
|
|
29
|
0,8681
|
0,8705
|
0,8729
|
0,8753
|
0,8776
|
0,8800
|
0,8824
|
0,8848
|
0,8872
|
0,8895
|
0,8919
|
0,8943
|
0,8967
|
0,8990
|
0,9018
|
0,9038
|
0,9062
|
0,9086
|
0,9109
|
0,9133
|
0,9157
|
0,9181
|
0,9205
|
0,9228
|
0,9252
|
0,9276
|
|
30
|
0,8653
|
0,8676
|
0,8700
|
0,8724
|
0,8724
|
0,8771
|
0,8795
|
0,8819
|
0,8842
|
0,8866
|
0,8890
|
0,8914
|
0,8937
|
0,8961
|
0,8985
|
0,9008
|
0,9032
|
0,9056
|
0,9079
|
0,9109
|
0,9127
|
0,9151
|
0,9174
|
0,9198
|
0,9222
|
0,9245
|
|
31
|
0,8624
|
0,8648
|
0,8672
|
0,8695
|
0,8719
|
0,8742
|
0,8766
|
0,8790
|
0,8812
|
0,8837
|
0,8861
|
0,8884
|
0,8907
|
0,8931
|
0,8955
|
0,8979
|
0,9002
|
0,9026
|
0,9050
|
0,9073
|
0,9097
|
0,9121
|
0,9144
|
0,9168
|
0,9191
|
0,9215
|
|
32
|
0,8596
|
0,8619
|
0,8643
|
0,8667
|
0,8691
|
0,8714
|
0,8736
|
0,8761
|
0,8784
|
0,8808
|
0,8831
|
0,8855
|
0,8878
|
0,8802
|
0,8926
|
0,8949
|
0,8973
|
0,8996
|
0,9020
|
0,9043
|
0,9067
|
0,9091
|
0,9114
|
0,9138
|
0,9161
|
0,9185
|
|
33
|
0,3568
|
0,8591
|
0,8615
|
0,8638
|
0,8662
|
0,8685
|
0,8709
|
0,8732
|
0,8756
|
0,8779
|
0,8803
|
0,8826
|
0,8850
|
0,8873
|
0,8897
|
0,8920
|
0,8943
|
0,8967
|
0,8990
|
0,9014
|
0,9037
|
0,9061
|
0,9084
|
0,9108
|
0,9131
|
0,9154
|
|
34
|
0,8540
|
0,8563
|
0,8587
|
0,8610
|
0,8634
|
0,8658
|
0,8680
|
0,8704
|
0,8727
|
0,8750
|
0,8774
|
0,8797
|
0,8821
|
0,8844
|
0,8867
|
0,8891
|
0,8914
|
0,8938
|
0,8961
|
0,8984
|
0,9008
|
0,9031
|
0,9055
|
0,9078
|
0,9101
|
0,9125
|
|
35
|
0,8512
|
0,8535
|
0,8559
|
0,8582
|
0,8605
|
0,8629
|
0,8652
|
0,8675
|
0,8699
|
0,8722
|
0,8745
|
0,8768
|
0,8792
|
0,8815
|
0,8839
|
0,8862
|
0,8885
|
0,8908
|
0,8932
|
0,8955
|
0,8978
|
0,9002
|
0,9025
|
0,9048
|
0,9072
|
0,9092
|
|
36
|
0,8484
|
0,8508
|
0,8531
|
0,8554
|
0,8577
|
0,8601
|
0,8624
|
0,8647
|
0,8670
|
0,8694
|
0,8717
|
0,8740
|
0,8763
|
0,8787
|
0,8810
|
0,8833
|
0,8856
|
0,8880
|
0,8903
|
0,8926
|
0,8949
|
0,8972
|
0,8996
|
0,9019
|
0,9042
|
0,9065
|
|
37
|
0,8457
|
0,8480
|
0,8503
|
0,8526
|
0,8549
|
0,8573
|
0,8596
|
0,8619
|
0,8642
|
0,8665
|
0,8689
|
0,8712
|
0,8735
|
0,8758
|
0,8781
|
0,8804
|
0,8828
|
0,8851
|
0,8874
|
0,8897
|
0,8920
|
0,8943
|
0,8987
|
0,8990
|
0,9013
|
0,9036
|
|
38
|
0,8430
|
0,8453
|
0,8476
|
0,8499
|
0,8522
|
0,8545
|
0,8568
|
0,8591
|
0,8615
|
0,8638
|
0,8661
|
0,8684
|
0,8707
|
0,8703
|
0,8753
|
0,8776
|
0,8799
|
0,8822
|
0,8845
|
0,8869
|
0,8892
|
0,8915
|
0,8938
|
0,8961
|
0,8984
|
0,9007
|
|
39
|
0,8403
|
0,8426
|
0,8449
|
0,8472
|
0,8495
|
0,8518
|
0,8541
|
0,8564
|
0,8587
|
0,8610
|
0,8633
|
0,8656
|
0,8679
|
0,8702
|
0,8725
|
0,8748
|
0,8771
|
0,8794
|
0,8817
|
0,8840
|
0,8863
|
0,8886
|
0,8909
|
0,8932
|
0,8955
|
0,8978
|
|
40
|
0,8376
|
0,8399
|
0,8422
|
0,8444
|
0,8467
|
0,8490
|
0,8513
|
0,8536
|
0,8559
|
0,8582
|
0,8605
|
0,8628
|
08651
|
0,8674
|
0,8697
|
0,8720
|
0,8743
|
0,8766
|
0,8789
|
0,8812
|
0,8835
|
0,8857
|
0,8881
|
0,8903
|
0,8926
|
0,8949
|
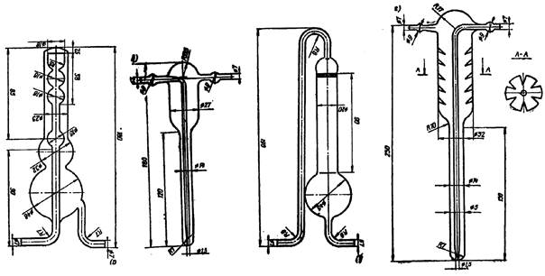
ВИДЫ ПОГЛОТИТЕЛЬНЫХ
ПРИБОРОВ

а - Рихтера;
б - Зайцева; в - с пористой пластинкой; г - Яворовской.
СПИСОК ИНСТИТУТОВ,
ПРЕДСТАВИВШИХ МЕТОДИКИ
В ДАННЫЙ СБОРНИК
|
Вещество
|
Наименование
института
|
|
Аминопеларгоновая кислота
|
Московский институт гиганты труда и профзаболеваний
|
|
Аминоэнантовая кислота
|
То же
|
|
Ацетонциангидрин
|
Горьковский институт гигиены труда и профзаболеваний
|
|
Ацетооксиизопропил-N-фенилкарбамат
(ацилат-1), изопропил-N-фенилкарбамат (ИФК), изопропил-N-хлорфенилкарбамат
(хлор-ИФК)
|
Ереванский государственный медицинский институт
|
|
3,4-Бензпирен и другие полициклические ароматические
углеводороды
|
Московский институт охраны труда ВЦСПС
|
|
Бутилкаптакс
|
Узбекский НИИ санитарии, гигиены и профзаболеваний
|
|
Винилхлорид
|
Горьковский институт гигиены труда и профзаболеваний
|
|
Диметилэтаноламин, диэтилэтаноламин
|
То же
|
|
3,4-Дихлорфенилизоцианат
|
»
|
|
Изопропилнитрит
|
Московский институт гигиены труда и профзаболеваний
|
|
Метилизотиоцианат (действующее начало карбатиона)
|
Киевский институт гигиены труда и профзаболеваний
|
|
Монометиловый эфир резорцина
|
ВНИИГИНТОКС, г. Киев
|
|
Нитрофен
|
Киевский институт гигиены труда и профзаболеваний
|
|
Прометрин
|
Саратовский институт сельской гигиены
|
|
Пропанид
|
ВНИИГИНТОКС, г. Киев
|
|
Севин
|
То же
|
|
Тетраметилтиурамдисульфид
|
Киевский институт гигиены труда и профзаболеваний
|
|
м-Феноксифенол
|
ВНИИГИНТОКС, г. Киев
|
|
Фтористый бор
|
Московский институт гигиены труда и профзаболеваний
|
|
Фторкарбоновые кислоты
|
То же
|
|
4-Хлорбутин-2-ил-N-3-Хлорфенил-карбамат
(карбин), изопропил-N-фенилкарбамат (ИФК), изопропил-N-3-хлорфенилкарбамат
(хлор-ИФК)
|
Киевский институт гигиены труда и профзаболеваний
|
|
Цианамид
|
Узбекский НИИ санитарии, гигиены и профзаболеваний
|
|
Цианистый аллил
|
Ленинградский институт гигиены труда и профзаболеваний
|
|
Этилтолуол
|
НИИМСК, г. Ярославль
|
СОДЕРЖАНИЕ
|