Pins and grooved pins. Shear test 

Информационная система
«Ёшкин Кот»

XXXecatmenu

ГОСТ Р 50076-92

(ИСО 8749-86)

ГОСУДАРСТВЕННЫЙ СТАНДАРТ РОССИЙСКОЙ ФЕДЕРАЦИИ

ШТИФТЫ И НАСЕЧЕННЫЕ ШТИФТЫ

ИСПЫТАНИЕ НА СРЕЗ

ГОССТАНДАРТ РОССИИ
Москва

ГОСУДАРСТВЕННЫЙ СТАНДАРТ РОССИЙСКОЙ ФЕДЕРАЦИИ

ШТИФТЫ И НАСЕЧЕННЫЕ ШТИФТЫ

Испытание на срез

Pins and grooved pins. Shear test

ГОСТ P
50076-92

(ИСО 8749-86)

Дата введения 01.01.93

1. НАЗНАЧЕНИЕ И ОБЛАСТЬ ПРИМЕНЕНИЯ

Настоящий стандарт устанавливает метод испытания на срез металлических штифтов с номинальным диаметром от 0,8 до 25 мм.

2. СУЩНОСТЬ ИСПЫТАНИЯ

Испытание состоит в нагрузке штифта на двойной срез с применением соответствующего приспособления для испытания в испытательной машине и фиксированием максимальной нагрузки, приводящей к разрушению.

3. МЕТОД И ОБОРУДОВАНИЕ ДЛЯ ИСПЫТАНИЯ

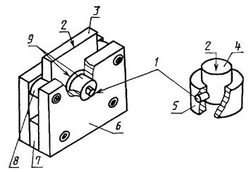
Испытание на срез с помощью приспособления (типичное приспособление изображено на чертеже), в котором детали, удерживающие штифт, и деталь, служащая для приложения нагрузки, имеют отверстия с диаметрами, соответствующими номинальному диаметру штифта (допуск Н6), и твердость не менее 700 HV.

Зазор между удерживающей деталью и деталью, передающей нагрузку, должен быть не более 0,15 мм. Плоскости среза должны находиться на минимальном расстоянии, равном одному диаметру от концов штифта и двум диаметрам друг от друга.

Штифты, слишком короткие для испытания двойным срезом, испытываются одинарным одновременным срезом двух штифтов.

Пружинные штифты устанавливаются в испытательном приспособлении прорезью вверх.

Штифты должны испытываться до разрушения. Максимальная нагрузка, прилагаемая к штифту в момент разрушения или перед разрушением, считается двойной нагрузкой на срез.

После испытаний на срез штифтов трещины не допускаются.

Скорость при испытании должна быть не выше 13 мм/мин.

Untitled-1

1 - штифт, 2 - нагрузка, 3 - срезающий блок, 4 - закаленный срезающий блок,
5 - закаленный поддерживающий блок, 6 - приспособление, 7 - прокладка,
8 - прокладки и направляющие срезающего блока, 9 - закаленные втулки

ИНФОРМАЦИОННЫЕ ДАННЫЕ

1. ПОДГОТОВЛЕН И ВНЕСЕН Техническим Комитетом по стандартизации ТК 229 «Крепежные изделия»

РАЗРАБОТЧИКИ

В.Г. Серегин, А.М. Свиридов, Ю.А. Алексеева

2. УТВЕРЖДЕН И ВВЕДЕН В ДЕЙСТВИЕ Постановлением Госстандарта России от 30.07.92 № 820

Настоящий стандарт подготовлен методом прямого применения международного стандарта ИСО 8749-86 «Штифты и насеченные штифты. Испытание на срез» и полностью ему соответствует

3. ВВЕДЕН ВПЕРВЫЕ

 

 



© 2013 Ёшкин Кот :-)