Информационная система
«Ёшкин Кот»

XXXecatmenu

ФЕДЕРАЛЬНАЯ СЛУЖБА ПО НАДЗОРУ В СФЕРЕ ПРИРОДОПОЛЬЗОВАНИЯ

УТВЕРЖДАЮ

Директор ООО НТФ «Хромос»

____________ М.Т. Джапаридзе

«01» августа 2014 г.

 

УТВЕРЖДАЮ

Директор ФБУ «Федеральный
центр анализа и оценки
техногенного воздействии»

________________ В.В. Новиков

«01» августа 2014 г.

МЕТОДИЧЕСКИЕ РЕКОМЕНДАЦИИ
ОТБОР ПРОБ ПОЧВ, ГРУНТОВ, ДОННЫХ ОТЛОЖЕНИЙ,
ИЛОВ, ОСАДКОВ СТОЧНЫХ ВОД, ШЛАМОВ ПРОМЫШЛЕННЫХ
СТОЧНЫХ ВОД, ОТХОДОВ ПРОИЗВОДСТВА И ПОТРЕБЛЕНИЯ

ПНД Ф 12.1:2:2.2:2.3:3.2-03

Методические рекомендации допущены для целей государственного
экологического контроля

МОСКВА
(издание 2014 г.)

СОДЕРЖАНИЕ

1 Назначение и область применения. 1

2 Средства отбора, средства измерений, вспомогательные материалы, реактивы.. 2

3 Подготовка посуды для отбора и хранения проб. 2

4 Отбор проб. 3

5 Принцип работы пробоотборника для отбора проб донных отложений и жидких осадков. 6

6 Требования техники безопасности. 6

Приложение А. 7

Приложение Б. Схема точек отбора проб из природного водоем без выпуска сточных вод. 8

Приложение В. Схема точек отбора проб из водоема с выпуском сточных вод. 9

Приложение Г. (рекомендуемое) АКТ ОТБОРА ПРОБ № 9

 

1 НАЗНАЧЕНИЕ И ОБЛАСТЬ ПРИМЕНЕНИЯ

1.1 Настоящие методические рекомендации предназначены для отбора проб:

- почв, грунтов;

- донных отложений, илов водных объектов естественного происхождения и искусственно созданных водоемов;

- осадков сточных вод (далее - осадков) после первичных отстойников хозбытовых сточных вод; после вторичных отстойников биологически очищенных сточных вод; после илоуплотнителей; после метантенков; после отстаивания сброженного осадка и избыточного активного ила на иловых площадках;

- шламов промышленных сточных вод, образующихся на различных стадиях химических производств, в процессе эксплуатации технологического оборудования (промывка, чистка, обеззараживание и т.п.);

- твердых и жидких отходов производства и потребления (далее - отходов), к которым относятся остатки сырья, материалов, полуфабрикатов, иных изделий или продуктов, образовавшиеся в процессе производства или потребления.

1.2 Основным требованием к методам отбора и хранения является обеспечение неизменности состава проб во временном интервале между отбором и выполнением анализа.

1.3 Масса или объем отбираемой пробы должны быть достаточными для последующего определения всех запланированных программой показателей и включать дополнительный объем, оставляемый на хранение в лаборатории.

1.4 Метод отбора проб, подготовка посуды для отбора и хранения проб, другие особенности техники отбора проб должны соответствовать требованиям документов, регламентирующих методики измерений.

1.5 При отборе проб составляют акт отбора. Рекомендуемая форма акта отбора приведена в Приложении Г.

При необходимости составляют карту (схему) участка отбора проб.

2 СРЕДСТВА ОТБОРА, СРЕДСТВА ИЗМЕРЕНИЙ, ВСПОМОГАТЕЛЬНЫЕ МАТЕРИАЛЫ, РЕАКТИВЫ

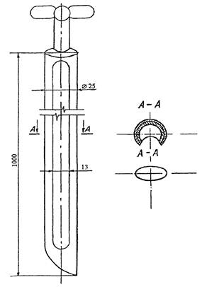
Пробоотборник из нержавеющей стали объемом 500 - 700 см3 (Приложение А, рис. 1)

Почвенный бур из химически нейтрального материала

Щуп с продольной щелью и поворотным устройством (Приложение А, рис. 2)

Щуп винтообразный (Приложение А, рис. 3)

Батометр

Лопата, ГОСТ 19596-87

Нож почвенный, ГОСТ 23707-95

Совок из нержавеющей стали, обеспечивающий объем прикопа для твердых отходов и осадков малой влажности

Совок из полимерного материала

Линейка измерительная с ценой деления не более 1 см или шест, отградуированный в см, длиной, соответствующей глубине отбора проб, ГОСТ 427-75

Герметично закрывающиеся стеклянные (пластиковые) емкости разной вместимости или полиэтиленовые пакеты для отбора и хранения проб

Емкость (ведро) для смешивания точечных проб

Кислота азотная, ГОСТ 4461-77 Натрий углекислый (бикарбонат натрия), ГОСТ 83-79

Примечание: Допускается применение другого оборудования с метрологическими и техническими характеристиками, аналогичными указанным.

3 ПОДГОТОВКА ПОСУДЫ ДЛЯ ОТБОРА И ХРАНЕНИЯ ПРОБ

Для отбора и хранения проб используют стеклянные (пластиковые) емкости или полиэтиленовые пакеты.

При необходимости определения летучих органических соединений пробы отбирают в герметично закрывающиеся стеклянные емкости. При необходимости определения веществ, неустойчивых под воздействием света (например, цианидов), пробы отбирают в емкости из темного стекла.

Посуда для отбора проб должна быть химически чистой. Стенки посуды осторожно смачивают 10 %-ным раствором азотной кислоты и оставляют на 2 - 3 часа, затем посуду тщательно промывают водопроводной водой, нейтрализуют 2 %-ным раствором бикарбоната натрия и промывают 3 - 4 раза дистиллированной водой.

Для мытья посуды не разрешается пользоваться хромовой смесью, синтетическими поверхностно-активными веществами и органическими растворителями.

При отборе проб в полиэтиленовые пакеты не допускается их повторное использование для отбора проб.

4 ОТБОР ПРОБ

4.1 Почвы, грунты отбирают, транспортируют и хранят в соответствии с ГОСТ 17.4.3.01-83 «Охрана природы. Почвы. Общие требования к отбору проб», ГОСТ 17.4.4.02-84 «Почвы. Методы отбора и подготовки проб для химического, бактериологического, гельминтологического анализа», ГОСТ 28168-89 «Почвы. Отбор проб», ГОСТ 12071-84 «Грунты. Отбор, упаковка, транспортирование и хранение образцов», ГОСТ 27753.1-88 «Грунты тепличные. Методы отбора проб».

Необходимым условием отбора проб почв (грунтов) является их предохранение от вторичного загрязнения (в том числе атмосферными осадками) на всех этапах отбора проб.

Объединенную пробу составляют путем смешивания не менее 5 точечных проб почвы (грунта), отобранных в разных точках пробной площадки, которая располагается в типичном для данной территории месте. Размеры и количество пробных площадок определяют в соответствии с ГОСТ 17.4.4.02-84. Объем точечных проб почвы (грунта) должен быть одинаков, поэтому для пробоотбора лучше использовать щуп или почвенный бур (Приложение А, рис. 2, 3).

Точечные пробы ссыпают на крафт-бумагу или клеенку, тщательно перемешивают, квартуют 3 - 4 раза (почву разравнивают на бумаге в виде квадрата, делят на четыре часта, две противоположные части отбрасывают, две оставшиеся части перемешивают). Оставшуюся после квартования почву делят на 6 - 9 квадратов, из центра которых отбирают примерно одинаковое количество почвы, обеспечивая захват всей толщины слоя, и помещают в подготовленную тару. Таким образом получают объединенную пробу, масса которой должна составлять не менее 1 кг.

Пробы почв (грунтов) в воздушно-сухом состоянии хранят в закрытой таре из химически нейтрального материала. Пробы почв (грунтов) не консервируют.

4.2 Донные отложения водных объектов естественного происхождения и искусственно созданных водоемов.

Отбираемая проба донных отложений должна характеризовать водный объект или определенную часть его за определенный промежуток времени. Для оценки динамики содержания загрязняющих веществ пробы отбираются в разное время года (не реже одного раза в квартал).

Пробы донных отложений отбирают с использованием пробоотборника из нержавеющей стали (Приложение А, рис. 1).

Отбор проб донных отложений водных объектов проводят в соответствии с ГОСТ 17.1.5.01-80 «Охрана природы. Гидросфера. Общие требования к отбору проб донных отложений водных объектов для анализа на загрязненность».

Донные отложения искусственно созданных водоемов отбирают по следующей схеме:

- изучают устройство искусственно созданного водоема, составляют карту-схему (в соответствии с проектом или гидрогеологической картой);

- определяют место выпуска (спуска) сточных вод;

- около спуска сточных вод отбирают пробы с шагом 0,8 - 1 м на расстоянии от берега не менее 0,8 - 1 м;

- далее шаг отбора проб увеличивают по мере удаления от выпуска, но не более чем на 500 м;

- поскольку донные отложения представляют собой накопленную иловую массу и в зависимости от степени чистоты пруда слой ила может быть разной глубины, необходимо замерить толщину слоя ила, опуская отградуированный в см шест или линейку до упора. Далее, исходя из глубины, опускают специальный пробоотборник (Приложение А, рис. 1 - 3) на дно и зачерпыванием отбирают первую точечную пробу;

- отбирают точечные пробы послойно (минимальное расстояние между точками отбора - 0,5 м).

Отбор проб послойно, особенно с глубины, важен, так как многие химические вещества по своим физико-химическим характеристикам могут находиться как только в верхнем слое ила (осадка), так и только в нижнем. Поэтому отбор проб необходимо проводить до конечной глубины площадки (до песка или бетонного покрытия).

Если толщина донных отложений не превышает 0,5 м, точечные пробы отбирают в одном слое.

Точечные пробы донных отложений объемом не менее 500 см3 каждая помещают в отдельную емкость и тщательно перемешивают. Для анализа отбирают объединенную пробу донных отложений объемом не менее 2 дм3.

Предлагаемая схема точек отбора проб из водоема без выпуска сточных вод и из водоема с выпуском сточных вод приведена в Приложениях Б, В.

4.3 Илы, осадки сточных вод, шламы с иловых и шламовых площадок отбирают методом точечных проб: площадку делят на 4 равные части и отбирают пробы из центра каждого квадрата послойно с глубины 0 - 5 см, 5 - 20 см и до конечной глубины площадки (но не более 1 м), массой не менее 200 г каждая. Точечная проба должна представлять собой часть осадка, типичного для обследуемых сооружений.

Точечные пробы илов, осадков и шламов отбирают в зависимости от условий:

- совком из прикопок (для проб малой влажности);

- щупом с продольной щелью и поворотным устройством (для проб высокой влажности и сыпучих проб);

- винтообразным щупом (для пастообразных проб).

Точечные пробы илов, осадков и шламов малой влажности тщательно перемешивают и квартуют 3 - 4 раза. Оставшуюся после квартования пробу делят на 6 - 9 квадратов, из центра каждого отбирают примерно одинаковые количества пробы, обеспечивая захват всей толщины слоя.

Масса объединенной пробы должна быть не менее 1 кг.

Точечные пробы илов, осадков и шламов высокой влажности сливают в отдельную емкость и тщательно перемешивают. Для анализа отбирают объединенную пробу объемом не менее 2 дм3.

Пробы хранят в холодильнике в стеклянной банке с притертой или плотно завинченной крышкой. Пробы в воздушно-сухом состоянии хранят в закрытой таре из химически нейтрального материала. Пробы илов, осадков и шламов не консервируют.

4.4 Жидкие осадки сточных вод отбирают из трубопроводов или других технологических сооружений с учетом их конструкции:

- осадок после отстойников, илоуплотнителей, метантенков отбирают из трубопровода при перекачивании осадка в приемник не ранее, чем через 10 минут работы перекачивающего насоса;

- активный ил отбирают зачерпыванием из распределительного лотка.

Точечные пробы жидких осадков отбирают соответствующим пробоотборником (Приложение А, рис. 1) с трех горизонтов (поверхность, середина, дно площадки) с интервалом 10 минут в количестве четырех - пяти, объемом не менее 500 см3 каждая. Затем сливают в отдельную емкость и тщательно перемешивают. Для анализа отбирают объединенную пробу жидких осадков объемом не менее 2 дм3.

Пробы хранят в холодильнике в стеклянной банке с притертой или плотно завинченной крышкой. Пробы жидких осадков сточных вод не консервируют.

4.5 Твердые отходы производства и потребления отбирают из специально оборудованных сооружений, предназначенных для размещения (свалки, полигоны) и накопления (контейнеры, емкости, площадки и т.д.) отходов или непосредственно в местах образования отходов.

На свалках (полигонах) при однородном распределении отходов пробы отбирают из расчета одна объединенная проба на 100 м2. Объединенную пробу составляют путем смешения не менее 5 точечных проб, отобранных методом конверта. Масса точечной пробы должна быть не менее 200 г.

При неоднородном распределении отходов участок разбивают на пробные площадки по типу отходов, измеряют площадь однородных участков. Однородные участки опробуют, как указано выше.

Допускается объединение точечных проб с различных уровней отвалов отходов.

Отобранные точечные пробы размещают на сухой чистой поверхности (бетонированная площадка, клеенка, полиэтилен и т.д.), тщательно перемешивают с помощью совка или лопаты, разравнивают тонким слоем в виде квадрата и делят по диагонали на четыре равные части. Отходы из двух противоположных частей отбрасывают, а две оставшиеся части соединяют, вновь перемешивают, разравнивают, и так до тех пор, пока не получится проба массой не менее 1 кг.

Отбор проб из емкостей для накопления твердых отходов производят из расчета одна объединенная проба на емкость. Объединенную пробу получают путем смешивания не менее 5 точечных проб массой не менее 200 г каждая. Точечные пробы следует отбирать на разных уровнях емкости для накопления отходов.

Отбор проб твердых отходов из емкости производят с помощью щупа (Приложение А, рис .2).

Для твердых отходов, представляющих собой изделия крупных размеров массой более 1 кг, для исследований производят выборку одной единицы данного вида отходов из партии.

Отбор проб твердых отходов для определения их токсичности производят в соответствии с требованиями соответствующих методик определения.

Пробы твердых отходов хранят в емкостях с притертой или плотно завинченной крышкой или полиэтиленовых пакетах. Пробы твердых отходов не консервируют.

4.6 Жидкие отходы производства и потребления отбирают непосредственно из объекта хранения (накопления) или из трубопровода, подающего жидкий отход в объект хранения (накопления).

Если объектом хранения (накопления) отходов является емкость небольшого объема (бочка, ванна и т.п.), перед началом отбора отходы в ней доводят до однородного состояния путем перемешивания специальными приспособлениями или палками из инертного материала, стойкого к воздействию отбираемых отходов (деревянными или пластиковыми). Затем из центра емкости отбирают точечные пробы в количестве четырех-пяти, объемом не менее 500 см3 каждая.

Если жидкие отходы хранятся (накапливаются) в емкости большого объема (резервуары, цистерны) и перемешивание произвести невозможно, то отбор точечных проб производят по вертикали с трех горизонтов:

- верхнего (на 10 см ниже поверхности отхода);

- среднего (в середине глубины объекта хранения отхода);

- нижнего (на 10 см выше дна объекта хранения отхода).

Глубину точек отбора контролируют по меткам на тросике пробоотборного устройства (Приложение А, рис. 1).

Объединенную пробу составляют смешиванием точечных проб верхнего, среднего и нижнего уровней объемом не менее 500 см3 каждая в соотношении 1:3:1. Точечные пробы сливают в отдельную емкость и тщательно перемешивают. Для анализа отбирают объединенную пробу объемом не менее 2 дм3.

При невозможности проведения вертикального отбора в связи с технологической конструкцией объекта хранения (накопления) допускается производить отбор проб из крана (патрубка), по которому производится слив жидких отходов. Отбор производят через 10 минут после начала слива. Отбирают одну пробу объемом не менее 2 дм3 непосредственно в емкость для хранения пробы.

Если объектом хранения (накопления) жидких отходов является пруд-накопитель, то отбор проб осуществляют из определенных точек или из подающего трубопровода. Точечные пробы в количестве четырех-пяти объемом не менее 500 см3 каждая сливают в отдельную емкость и тщательно перемешивают. Для анализа отбирают объединенную пробу жидких отходов объемом не менее 2 дм3.

Точечные пробы жидких отходов с высокой вязкостью (пастообразных, гелеобразных) отбирают щупом (Приложение А, рис. 2, 3).

Пробы жидких отходов хранят в холодильнике в стеклянной банке с притертой или плотно завинченной крышкой. Пробы жидких отходов не консервируют.

4.7 Емкости (пакеты) с отобранными пробами должны быть промаркированы способом, исключающим нарушение маркировки и содержать сведения о дате, времени, месте отбора, температуре пробы (при необходимости).

5 ПРИНЦИП РАБОТЫ ПРОБООТБОРНИКА ДЛЯ ОТБОРА ПРОБ ДОННЫХ ОТЛОЖЕНИЙ И ЖИДКИХ ОСАДКОВ

5.1 Последовательно опускают на дно с помощью тросика нижнюю пробку-клапан, имеющую в основании подставку для упора на дне весом 0,5 кг, полую трубу и верхнюю пробку-клапан, герметично закрывающую трубу.

5.2 При помощи тросика вытаскивают пробоотборник с пробой донных отложений на поверхность и пробу переносят в емкость.

5.3 Замеряют по тросику глубину отбора первой пробы и в этой же точке отбирают пробу из следующего слоя шагом 0,5 м.

6 ТРЕБОВАНИЯ ТЕХНИКИ БЕЗОПАСНОСТИ

6.1 При отборе проб следует соблюдать следующие меры предосторожности:

- работать исключительно в спецодежде, спецобуви, перчатках;

- перед отбором и после отбора проб необходимо обработать руки специальным дезинфицирующим раствором «биологические перчатки» (Приготовление раствора: смешать по 100 мл этилового спирта, глицерина и аммиачной воды с массовой долей 10 %);

- следить за состоянием кожи на лице и руках; раны и ссадины необходимо продезинфицировать.

6.2 Если отбор проб производится с глубины более 1 м, и в случае отбора проб с использованием лодки, в отборе должны участвовать не менее 2 человек. Необходимо иметь в лодке спасательное снаряжение.

Приложение А

рис. 1
ПРОБООТБОРНИК ДЛЯ ОТБОРА ПРОБ ДОННЫХ ОТЛОЖЕНИЙ И ЖИДКИХ ОСАДКОВ

рис. 2
ЩУП С ПРОДОЛЬНОЙ ЩЕЛЬЮ И ПОВОРОТНЫМ УСТРОЙСТВОМ

рис. 3
ВИНТООБРАЗНЫЙ ЩУП

Приложение Б

СХЕМА ТОЧЕК ОТБОРА ПРОБ ИЗ ПРИРОДНОГО ВОДОЕМ
без выпуска сточных вод

Условные обозначения

о - точки отбора проб на расстоянии от берега не менее (0,8 - 1,0) м,

+ - точки отбора точечных проб с шагом (0,8 - 1,0) м и до 5 м

* - точки отбора проб донных отложений

Примечание: +; * - точки отбора проб только с использованием лодки

Приложение В

СХЕМА ТОЧЕК ОТБОРА ПРОБ ИЗ ВОДОЕМА
с выпуском сточных вод

Условные обозначения

о - точки отбора проб на расстоянии от берега не менее (0,8 - 1,0) м,

+ - точки отбора точечных проб с шагом (0,8 - 1,0) м и до 5 м (только с использованием лодки)

Приложение Г
(рекомендуемое)

АКТ ОТБОРА ПРОБ № ___

от «__» ________ г.

Объект аналитического контроля ______________________________________________

(почва, грунт, донные отложения, активный ил. осадки, шламы, отходы)

Цель отбора ________________________________________________________________

Дата отбора «__» ________ г. Время отбора _____________________________________

Наименование заказчика (предприятия), адрес ___________________________________

Место отбора пробы _________________________________________________________

Наименование процесса, в результате которого получен отход (если известно) _______

Тип пробоотборного устройства _______________________________________________

(наименование, материал)

Вид пробы _________________________________________________________________

(точечная, периодическая, среднесуточная и др.)

Шифр (номер) пробы ________________________________________________________

Количество параллельно отобранных проб, масса (объем) каждой из них ____________

Сведения о емкости для хранения проб _________________________________________

(материал, укупорка и т.п.)

Агрегатное состояние пробы __________________________________________________

(жидкая, пастообразная, твердая и т.п.)

Химический состав пробы ____________________________________________________

(заполняется, если химический состав известен)

Условия отбора пробы _______________________________________________________

t °C и др. (при необходимости)

Наименование лаборатории, куда доставляется проба _____________________________

Дополнительные сведения об отобранной пробе _________________________________

Представитель лаборатории, отобравший пробу __________________________________

(Ф. И. О, должность, подпись)

Представитель заказчика, присутствовавший при отборе проб ______________________

(Ф. И. О, должность, подпись)

Представитель лаборатории, принявший пробу __________________________________

(Ф. И. О, должность, подпись)

Дата «__» _____________ г.

Подпись ____________________

Методические рекомендации рассмотрены и одобрены научно-техническим советом федерального бюджетного учреждения «Федеральный центр анализа и оценки техногенного воздействия» (ФБУ «ФЦАО»).

Протокол заседания НТС ФБУ «ФЦАО» от 01.08.2014 № 6.

Настоящее издание методических рекомендаций введено в действие взамен ПНД Ф 12.1:2:2.2:2.3.2-03 (издание 2003 г.) и действует до выхода новой редакции документа.

Е.Е. Троицкая



© 2013 Ёшкин Кот :-)