Информационная система
«Ёшкин Кот»

XXXecatmenu

ОДМ 218.2.026-2012

ОТРАСЛЕВОЙ ДОРОЖНЫЙ МЕТОДИЧЕСКИЙ ДОКУМЕНТ

МЕТОДИЧЕСКИЕ РЕКОМЕНДАЦИИ
ПО РАСЧЕТУ И ПРОЕКТИРОВАНИЮ
СВАЙНО-АНКЕРНЫХ СООРУЖЕНИЙ
ИНЖЕНЕРНОЙ ЗАЩИТЫ
АВТОМОБИЛЬНЫХ ДОРОГ

ФЕДЕРАЛЬНОЕ ДОРОЖНОЕ АГЕНТСТВО
(РОСАВТОДОР)

Москва 2013

Предисловие

1 РАЗРАБОТАН обществом с ограниченной ответственностью «НТЦ ГеоПроект» (ООО «НТЦ ГеоПроект»).

Коллектив авторов: д-р техн. наук, проф. С.И. Маций (руководитель работ), канд. техн. наук, доц. О.Ю. Ещенко, канд. техн. наук, доц. Е.В. Безуглова, канд. техн. наук Ф.Н. Деревенец, инж. И.В. Болгов, инж. P.O. Выходцев, инж. Н.А. Кликун, инж. Д.В. Плешаков, инж. А.К. Рябухин, инж. М.В. Силков, инж. Д.А. Чернявский, инж. М.В. Чумак, инж. С.А. Шелестов, инж. М.А. Шенгур.

2 ВНЕСЕН Управлением научно-технических исследований, информационного обеспечения и ценообразования, Управлением эксплуатации и сохранности автомобильных дорог Федерального дорожного агентства.

3 ИЗДАН на основании распоряжения Федерального дорожного агентства от 09.10.2012 № 703-р.

4 ВВЕДЕН ВПЕРВЫЕ.

5 ИМЕЕТ РЕКОМЕНДАТЕЛЬНЫЙ ХАРАКТЕР.

СОДЕРЖАНИЕ

1 Область применения. 2

2 Нормативные ссылки. 2

3 Термины и определения. 3

4 Общие положения. 5

5 Материалы и изделия. 5

5.1 Анкеры.. 5

5.2 Сваи. 6

6 Изыскания. 7

7. Расчет свайно-анкерных сооружений. 8

7.1 Общие положения. 8

7.2 Учет сейсмических нагрузок. 12

7.3 Учет пространственных эффектов. 13

8 Защита элементов свайно-анкерного сооружения от коррозии. 16

9 Конструирование свайно-анкерного сооружения. 17

9.1 Общие положения. 17

9.2 Анкеры.. 23

9.3 Сваи. 24

9.4 Микросваи. 25

10 Технология строительства свайно-анкерного сооружения. 25

10.1 Общие положения. 25

10.2 Анкеры.. 26

11. Испытания и контроль качества. 26

11.1. Общие положения. 26

11.2 Пробные испытания микросвай и анкеров. 28

11.3 Контрольные испытания анкеров. 28

11.4 Приемочные испытания анкеров. 29

11.5 Испытания анкеров и свай на действие динамических нагрузок. 30

12. Мониторинг. 31

Приложение А. Сравнение технологий бурения. 31

Библиография. 38

ОТРАСЛЕВОЙ ДОРОЖНЫЙ МЕТОДИЧЕСКИЙ ДОКУМЕНТ

Рекомендации по расчету и проектированию свайно-
анкерных сооружений инженерной защиты
автомобильных дорог

1 Область применения

1.1 Настоящий отраслевой дорожный методический документ (далее - методический документ) предназначен для использования органами управления автомобильных дорог и организациями, выполняющими работы по расчету, проектированию, строительству и содержанию свайно-анкерных сооружений на автомобильных дорогах.

1.2 Рекомендации методического документа распространяются на проектирование свайно-анкерных сооружений инженерной защиты автомобильных дорог. Они могут использоваться при строительстве сооружений на автомобильных дорогах в районах с сейсмичностью до 9 баллов включительно по шкале ИФЗ-64 (MSK-64).

1.3 Рекомендации методического документа не распространяются на районы вечной мерзлоты, карста, а также на проектирование гидротехнических сооружений и специальных сооружений гражданской обороны и чрезвычайных ситуаций.

1.4 Методический документ содержит материалы, которые предназначены как для информирования специалистов, так и для практической деятельности, причем эти материалы дают возможность разрабатывать специализированные рекомендации для конкретных технологий устройства свайно-анкерных сооружений. При этом вопрос о целесообразности использования рекомендаций должен решаться в каждом конкретном случае индивидуально квалифицированными специалистами.

2 Нормативные ссылки

В настоящем методическом документе использованы нормативные ссылки на следующие документы:

ГОСТ 3262-75 Трубы стальные водогазопроводные. Технические условия

ГОСТ 5686-94 Грунты. Методы полевых испытаний сваями

ГОСТ 8732-78 Трубы стальные бесшовные горячедеформированные. Сортамент

ГОСТ 8734-75 Трубы стальные бесшовные холоднодеформированные. Сортамент

ГОСТ 10178-85 Портландцемент и шлакопортландцемент. Технические условия

ГОСТ 12248-2010 Грунты. Методы лабораторного определения характеристик прочности и деформируемости

ГОСТ 18599-2001 Трубы напорные из полиэтилена. Технические условия

ГОСТ 20276-99 Грунты. Методы полевого определения характеристик прочности и деформируемости

ГОСТ 23732-2011 Вода для бетонов и строительных растворов. Технические условия

СП 63.13330.2012 Бетонные и железобетонные конструкции. Основные положения (актуализированная редакция СНиП 52-01-2003)

3 Термины и определения

В настоящем методическом документе применены следующие термины с соответствующими определениями:

3.1 анкер (грунтовый анкер): Устройство для передачи растягивающих нагрузок от закрепляемой конструкции на несущие слои грунта.

3.2 анкер предварительно напряженный: Устройство для передачи растягивающих нагрузок от закрепляемой конструкции на несущие слои грунта за счет напряженной растянутой тяги, закрепленной одним концом в голове устройства на сооружении, а другим - в заделке (корне) устройства внутри глубоких несущих слоев грунта.

3.3 анкер буроинъекционный: Анкер, устраиваемый в скважине при ее создании с выемкой грунта при бурении или его вытеснением в стороны за счет погружения скважинообразователя при одновременном или последующем формировании в скважине элементов (корня и тяги) анкерующего устройства с нагнетанием (инъекцией) твердеющей инъекционной смеси под избыточным давлением.

3.4 анкер временный: Устройство для обеспечения связи объекта с грунтом в интервале времени до двух лет.

3.5 анкер постоянный: Устройство для обеспечения длительной связи объекта с грунтом в течение срока эксплуатации сооружения.

3.6 анкер стержневой (стержневой анкер): Устройство для передачи растягивающих нагрузок от удерживающей конструкции на несущие слои грунта с тягой, способной воспринимать изгибающие моменты.

3.7 анкер тросовый (тросовый анкер): Устройство для передачи растягивающих нагрузок от удерживающей конструкции на несущие слои грунта с тягой, состоящей из проволочных прядей или канатов.

3.8 анкер мультикорневой (мультикорневой анкер): Устройство для передачи растягивающих нагрузок от закрепляемой конструкции на несущие слои грунта, имеющее более одного элемента (корня), передающего нагрузку от тяги на грунт.

3.9 анкер с уширениями в заделке: Анкер, имеющий уширения корня при механическом разбуривании, раскатке или опрессовке грунта нагнетаемой смесью.

3.10 бурение: Создание в грунтовой среде скважины с выемкой грунта.

3.11 вытрамбовывание: Создание в грунтовой среде (основании) скважины путем погружения в грунт штампа-трамбовки за счет его свободного циклического сбрасывания.

3.12 голова анкера: Часть анкера, обеспечивающая натяжение, блокировку и передачу анкерного усилия на объект.

3.13 давление грунта боковое активное σа: Величина бокового давления (напора) грунта на смещающуюся в горизонтальном направлении от него ограждающую конструкцию.

3.14 давление грунта боковое пассивное σр: Величина бокового давления (отпора) грунта на смещающуюся в горизонтальном направлении к нему ограждающую конструкцию.

3.15 давление грунта боковое в покое σ0: Давление (напор) грунта на поверхность неподвижной ограждающей конструкции, т.е. без ее смещения по направлению к грунту или от него.

3.16 заделка (корень): Часть анкера, передающая нагрузку от тяги на грунт.

3.17 контрольные испытания (анкеров): Испытания, проводимые с целью установления соответствия фактической несущей способности расчетной нагрузки.

3.18 микросвая: Свая с малым диаметром (диаметр скважины меньше 300 мм для буровых свай или максимальный диаметр стержня 150 мм для свай, погружаемых механическим способом), способная воспринимать как растягивающие, так и сжимающие нагрузки и изгибающие моменты.

3.19 многорядное удерживающее сооружение: Сооружение, применяемое для обеспечения устойчивости земляного полотна автомобильных дорог и имеющее в поперечном сечении более одного ряда конструктивных элементов, воспринимающих изгибающие моменты и/или поперечные усилия.

3.20 многоярусное удерживающее сооружение: Сооружение, применяемое для обеспечения устойчивости земляного полотна автомобильных дорог, представляющее собой группу взаимодействующих удерживающих сооружений, не объединенных между собой и имеющих различные высотные отметки.

3.21 сваи секущиеся: Сваи, которые созданы за счет взаимного пересечения их стволов при разбуривании скважин между ранее выполненными, с забетонированными в них сваями и удаленными друг от друга с зазором в свету менее диаметра вновь устраиваемых.

3.22 свободная длина анкера: Часть анкера, расположенная между заделкой и оголовком.

3.23 скважины секущиеся: Скважины, которые за счет проходки на удалении друг от друга менее размера их диаметра взаимно пересекаются и образуют в плане траншею с ломаным очертанием стенок.

3.24 стены свайные: Подземные стены, устраиваемые в вертикальных или наклонных буровых скважинах.

3.25 свая: Погруженная в грунт или изготовленная в грунте вертикальная или наклонная стержневая конструкция, предназначенная для восприятия и передачи вертикальных и горизонтальных нагрузок на основание.

3.26 свая анкерная (анкерная свая): Изготовленная в грунте вертикальная или наклонная стержневая конструкция, предназначенная для восприятия преимущественно выдергивающей нагрузки.

3.27 свайно-анкерное сооружение: Инженерная конструкция, состоящая из свай, анкеров и узлов сопряжения свай с анкерами и предназначенная для удержания склона или откоса грунта с пригружающими эксплуатационными нагрузками.

3.28 стена подпорная: Стена различного конструктивного исполнения, предназначенная для восприятия бокового давления грунта с пригружающими эксплуатационными нагрузками.

3.29 пакер: Уплотняющее устройство в виде расширяющейся камеры, препятствующее выбросу смеси по скважине при ее нагнетании в зону заделки анкера.

3.30 поверхность заделки (корня) лобовая: Поверхность фронтального торца корня, передающая на грунт сжимающее напряжение.

3.31 пробные испытания (анкеров): Испытания, проводимые с целью установления принципиальной пригодности способа анкерования и приемлемости выбранной конструкции анкера, уточнения технологии и расчетных нагрузок на анкер.

3.32 приемочные испытания (анкеров): Испытания, проводимые с целью проверки несущей способности каждого изготовленного анкера.

3.33 пята: Нижний конец анкера или сваи.

3.34 распределительная балка: Балка, воспринимающая все усилия от анкеров и распределяющая их между сваями одного ряда.

3.35 свая буроинъекционная: Разновидность буровой сваи, устраиваемой с опрессовкой грунта посредством нагнетания (инъекции) твердеющей смеси под избыточным давлением вдоль и/или ниже ствола сваи.

3.36 скважина: Вертикальная, горизонтальная или наклонная цилиндрическая горная выработка, выполняемая в земной коре для инженерно-геологической разведки или для размещения строительных или других элементов.

3.37 ствол: Тело сваи.

3.38 трубка манжетная: Трубка с отверстиями, закрытыми эластичными клапанами-манжетами. Манжетную трубку в необходимых случаях следует снабжать пакером.

3.39 усилие блокировочное: Преднапряжение в анкере, блокируемое на период его дальнейшей эксплуатации стопорным устройством.

3.40 усилие на анкер максимальное: Передаваемая на анкер максимальная нагрузка, которая соответствует исчерпанию прочности стальной тяги или несущей способности грунтового основания, а также ее сцепления с цементным камнем корня.

3.41 усилие на анкер предельное: Последняя ступень передаваемой на анкер вырывающей силы, при которой еще наступает затухание перемещений.

3.42 усилие на анкер расчетное допускаемое: Нагрузка, достаточная для обеспечения надежной эксплуатации анкера в сооружении и исключения его выхода из строя за счет возникновения случайных перегрузок или ухудшения свойств грунта в зоне заделки.

3.43 усилие на анкер расчетное проектное: Нагрузка на анкер, определяемая расчетом из условия обеспечения устойчивости сооружения от расчетных воздействий.

3.44 форшахта: Вспомогательная конструкция, используемая в качестве кондуктора при устройстве свай.

4 Общие положения

4.1 Основной концепцией, заложенной в основу настоящего документа, является требование о проектировании с целью недопущения достижения предельного состояния сооружения в процессе эксплуатации. Такой подход реализуется при обеспечении полного соответствия с другими стандартами, руководящими документами и рекомендациями.

4.2 Проектирование свайно-анкерного сооружения является комбинацией конструкторской и геотехнической разработки. Практика проектирования свайно-анкерных сооружений должна основываться на основном расчете конструкции исходя из предельного состояния разрушения и проверочном расчете, предела эксплуатационной надежности.

4.3 При расчете свайно-анкерных сооружений некоторые из упомянутых предельных состояний могут быть оценены на основе общих подходов механики грунтов (например, оценка осадки). С другой стороны, воспринимаемые сооружением нагрузки способны привести к чрезмерной деформации элементов конструкции, а практика проектирования должна, в принципе, гарантировать обеспечение адекватного запаса применительно ко всем элементам свайно-анкерного сооружения.

4.4 В методическом документе изложены только самые общие положения и методические подходы, приемлемые для свайно-анкерных сооружений. Подробные инструкции для расчета и конструирования отдельных видов свайно-анкерных сооружений должны разрабатываться на основе детального изучения их свойств на лабораторных моделях и натурных объектах.

5 Материалы и изделия

5.1 Анкеры

5.1.1 В качестве анкерных тяг допускается применять стержневую, прядевую и канатную арматуру, толстостенные трубы и специальные бурильные штанги. Рекомендуется использовать высокопрочные марки сталей, так как малый диаметр тяг обеспечивает лучшую экономию и адгезию с раствором при устройстве грунтового анкера [1].

5.1.2 Тяги буроинъекционных анкеров, которые при установке используются как буровой инструмент для бурения скважины, должны изготавливаться из высокопластичной стали с ударной вязкостью не менее 40 Дж при температуре -20 °С. Трубчатые буровые тяги должны производиться из бесшовных труб.

5.1.3 Материалы для устройства грунтовых анкеров должны отвечать следующим основным требованиям:

- для напрягаемых тяг анкеров рекомендуется применять марки стали, имеющие выраженную площадку текучести и обладающие достаточной коррозионной стойкостью; при этом предел текучести не должен превышать 600 Н/мм2;

- цемент для раствора следует выбирать в зависимости от вида пород, в которые забуривается анкер и их трещиноватости (пористости), устойчивости его в агрессивной среде, а также от срока схватывания и твердения;

- при неагрессивных грунтовых водах рекомендуется применять портландцементы марки не ниже М400;

- при сульфатной агрессии грунтовых вод рекомендуется применять сульфатостойкий и пуццолановый портландцемент;

- в инъецируемый раствор рекомендуется добавлять пластифицирующие добавки, не ухудшающие свойства раствора.

5.1.4 Рекомендации по приготовлению инъецируемых растворов должны содержать, как минимум, следующие требования:

- по консистенции раствора;

- по классу по морозостойкости;

- по защите арматуры от коррозии;

- по величине усадки;

- по прочности раствора при сжатии в 7-суточном возрасте не менее 200 кгс/см2, а в 28-суточном - не менее 300 кгс/см2.

5.1.5 Предельную крупность песка, его качество и зерновой состав допускается ставить в зависимость от диаметра скважины.

5.1.6 Свойства инъекционных смесей должны соответствовать требованиям ГОСТ 10178-75 и настоящего раздела. Вводимые воздухововлекающие и пластифицирующие добавки должны обеспечивать:

- минимально возможное водоцементное отношение;

- хорошую прокачиваемость с помощью используемых насосов;

- требуемую прочность и надежную связь цементного камня с металлом после твердения в грунте.

Вода для затворения смесей должна отвечать требованиям ГОСТ 23732-2011. Для ускорения набора прочности раствором из инъецируемой смеси в слабо-фильтрующих глинистых грунтах и при производстве работ в зимнее время следует вводить добавки в соответствии с нормами [2].

5.1.7 В качестве альтернативы цементному раствору могут применяться полимеры и полимерные растворы при условии, что их пригодность к применению подтверждена сертификатом соответствия. Для проверки качества смеси, времени схватывания и характеристик должны быть проведены лабораторные и полевые исследования [3].

5.2 Сваи

5.2.1 Для устройства свай в свайно-анкерных сооружениях допускается применять все материалы, имеющие соответствующие сертификаты и предусмотренные действующими нормативами в области проектирования и строительства свайных фундаментов.

5.2.2 При устройстве постоянных сооружений из свай, изготавливаемых на месте, рекомендуется отдавать предпочтение железо- и сталебетону, а из свай заводского изготовления - стальному прокату.

5.2.3 Применение забивных и вибропогружаемых свай допускается в случаях, когда проведение работ не ухудшает условий устойчивости склона (откоса) и обеспечивает плотное примыкание грунта к свае у поверхности земли.

5.2.4 Если для удержания стенок скважины от обрушения в процессе бурения используется суспензия из бетонита, глины или полимера, то для продольного армирования должна использоваться только ребристая сталь [3].

5.2.5 Поперечное армирование сваи рекомендуется выполнять из арматуры того же класса, что и продольное.

6 Изыскания

6.1 Для свайно-анкерных сооружений на дорогах I и II категорий, а также для объектов I уровня ответственности на дорогах всех категорий прочностные и деформационные характеристики грунтов рекомендуется определять прессиометрическими испытаниями как наиболее близко соответствующими технологии строительства и передачи нагрузки на сооружение. Лабораторные испытания глинистых грунтов рекомендуется выполнять в стабилометрах. Физико-механические характеристики песчаных грунтов следует определять полевыми методами [4].

6.2 При геотехнической категории III в состав изысканий независимо от типов свай следует включать опытные работы и испытания грунтов прессиометрами вне зависимости от категории дорог.

6.3 При отсутствии выраженной анизотропии свойств грунтов допускается применять штамповые испытания (ГОСТ 20276-99) и методы статического или комбинированного зондирования, испытания эталонными и натурными сваями (ГОСТ 5686-94). При этом необходимо учитывать категории сложности грунтовых условий, устанавливаемые в зависимости от однородности грунтов по условиям залегания и свойствам [5].

6.4 Динамическое зондирование целесообразно использовать в сочетании со статическим при условии возможности передачи динамического воздействия на анкеры или сваи в составе проектируемого или реконструируемого объекта [6].

6.5 Для сооружений инженерной защиты определять расчетные характеристики грунтов только на основе лабораторных методов не допускается [7].

6.6 При определении прочностных и деформационных характеристик грунтов на основе требований ГОСТ 12248-2010 предпочтение следует отдавать консолидировано-дренированной схеме испытаний. При этом материалы изысканий должны дополняться сведениями о ползучести глинистых грунтов и дилатансии или контрактации песчаных грунтов.

6.7 Отчет по инженерно-геологическим изысканиям должен содержать сведения о чувствительности грунтов к однонаправленным циклическим нагрузками («нагрузка - частичная разгрузка»).

6.8 Исследование грунта рекомендуется проводить до глубины, достаточной для определения всех формаций и слоев, влияющих на свайно-анкерную конструкцию и ее изготовление, и определения физико-механических свойств грунта под острием свай и в районе заделки (корня) анкера. Для объектов I и II уровней ответственности минимальная глубина выработок должна быть не менее 1,5 Н вдоль оси свай; 1,5 Н + Δh - в районе заделки анкеров, где Н - максимальная высота удерживаемого массива вдоль оси свайного сооружения с учетом временных подрезок в период строительства, м; Δh - превышение склона (откоса) в районе заделки (корня) анкера, м.

6.9 Разведочные скважины следует заглублять ниже зоны скольжения оползня не менее чем на 3 - 5 м, а на участках предполагаемого строительства свайных удерживающих конструкций часть скважин должна быть заглублена в коренные или устойчивые породы на 10 - 15 м. Глубоких скважин должно быть не менее 1/5 от их общего числа. Глубокие скважины располагают с учетом проведения наиболее полного обследования коренных или устойчивых пород в зоне в целом и особенно в зоне предполагаемого размещения свайных конструкций. В каждой пробуренной скважине должна быть четко зафиксирована поверхность скольжения. В пределах контура проектируемого ростверка должно быть пробурено не менее трех скважин по его оси.

6.10 Если сваи воспринимают вертикальную составляющую нагрузки от анкеров, то материалы изысканий должны подтвердить, что непосредственно под слоем, классифицированным как несущий, отсутствует слабый слой [8].

6.11 Геотехнические исследования должны распространяться до внешних границ зоны строительства таким образом, чтобы можно было интерполировать границы слоев внутри площадки между отдельными выработками грунта вместо их экстраполяции наружу.

6.12 Инженерно-геологический отчет рекомендуется дополнить следующими пунктами:

- наличие крупнозернистых или трещиноватых грунтов с большой водопроницаемостью, а также пустот, которые могут вызвать резкую потерю промывочного раствора или резкое оседание бетона при заливке;

- наличие камней или глыб, либо других препятствий, которые могут затруднить выемку или требуют особых методов, или инструментов при пересечении выработкой или удалении;

- наличие, протяженность и мощность всех слоев, которые могут быть восприимчивы к воде или к воздействию бурового оборудования (например, к вибрации, понижению уровня грунтовых вод или замачиванию);

- глубина, простирание и мощность всех основных скальных формаций.

6.13 Если устойчивость стенок скважины вызывает сомнения, то необходимо провести опытное бурение соответствующих размеров и по его результатам уточнить технологию строительства.

7. Расчет свайно-анкерных сооружений

7.1 Общие положения

7.1.1 Для расчета свайно-анкерных сооружений допускается использовать как численные расчеты, основанные преимущественно на методе конечных элементов, так и традиционные подходы в рамках теории предельного равновесия.

7.1.2 Для расчета и проектирования свайно-анкерных конструкций рекомендуется использовать следующий общий алгоритм работы (рисунок 1) [9].

Рисунок 1 - Рекомендуемая последовательность проектирования свайно-анкерных сооружений

7.1.3 Индивидуальный расчет и проектирование свайно-анкерных сооружений рекомендуется выполнять для инженерной защиты участков автомобильных дорог I, II и III категорий [10]. Для участков дорог IV и V категорий рекомендуется использовать, в основном, типовые решения с привязкой к текущим условиям.

7.1.4 При проектировании свайно-анкерных сооружений необходимо учитывать, что предельное состояние будет достигнуто при наступлении одного из следующих явлений:

а) разрушение или серьезное повреждение;

б) деформация свыше допустимых пределов;

в) другие формы разрушений или незначительные повреждения, которые нарушают нормальную эксплуатацию сооружения и требуют непредвиденного обслуживания или сокращают срок эксплуатации сооружения.

Состояние, определенное в пункте а), - это предельное состояние разрушения, а в пунктах б) и в) - предел эксплуатационной надежности.

7.1.5 Расчетная модель должна адекватно описывать предполагаемое поведение грунта. Расчетная методика может основываться на любой из следующих моделей:

- аналитической;

- полуэмпирической;

- численной.

Расчетная модель может включать в себя упрощения.

7.1.6 Расчетная модель должна быть максимально простой и содержать только существенные элементы. Попытки подробного моделирования микрорельефа поверхности земли, мелких геологических элементов или антропогенных образований не только не способствуют получению более точных результатов, но напротив - существенно снижают точность расчета.

7.1.7 Количество расчетных сценариев должно быть минимизировано. Вместе с тем, расчеты должны учитывать все наихудшие сценарии (сочетания нагрузок, геометрических и физико-механических условий) как на этапе строительства, так и на этапе эксплуатации в нормальных и особых условиях.

7.1.8 Расчет основных параметров свайно-анкерного сооружения должен вестись с учетом этапности производства работ. При этом обязательному рассмотрению подлежат этапы срезки основания до отметок устройства очередного яруса анкеров и максимальной подрезки.

7.1.9 При расчете общей устойчивости свайно-анкерного сооружения с возможностью обрушения откосов или склонов в рамках теории предельного равновесия уточнение напряженно-деформированного состояния вдоль поверхности смещения на основе метода конечных элементов, как правило, позволяет получить более точные результаты. Уточнение становится тем существеннее, чем выше откос, сложнее напластование основных инженерно-геологических элементов или наблюдаются колебания уровня грунтовых вод.

7.1.10 При выборе расчетной схемы и внесении упрощений следует иметь в виду, что, как правило, на устойчивость свайно-анкерного сооружения наибольшее влияние оказывают:

- величина порового давления в грунте;

- рельеф местности;

- величина угла внутреннего трения (φ);

- величина удельного сцепления грунта (с).

7.1.11 Разрушающую силу, которая используется при разработке проекта, следует принимать такой, чтобы она не превышала предела прочности анкера на разрыв в конце выбранного расчетного срока службы с учетом припуска на коррозию.

7.1.12 При вычислении таких сил необходимо принимать во внимание параметры сопротивления грунта срезу с учетом величины порового давления и ползучести скелета грунта.

7.1.13 При расчете сдвиговой прочности глинистого грунта засыпки необходимо использовать понижающий коэффициент к величине удельного сцепления или характеристики, полученные по схеме «плашка по плашке» по ГОСТ 12248-2010.

7.1.14 При расчете рабочего усилия в анкере должна быть принята меньшая из характеристик:

- предел текучести при растяжении;

- предельно допустимая деформация при растяжении.

7.1.15 При расчете свайно-анкерных сооружений следует производить оценку общей и местной их устойчивости. Устойчивость должна быть оценена как с точки зрения работоспособности основания, так и с точки зрения соскальзывания по критической (плоской или криволинейной) поверхности скольжения, проходящей как через сооружение, так и за его пределами (рисунок 2) [11].

7.1.16 В случае, если свайно-анкерное сооружение возводится в непосредственной близости от другого сооружения, то следует рассмотреть взаимное влияние сооружений на их устойчивость. Такую оценку следует, как правило, выполнять с учетом этапности строительства обоих сооружений. При невозможности учета этапности строительства допускается соответствующее объединение сооружений с представлением комплекса в виде единого сооружения, состоящего, по меньшей мере, из двух отдельных конструкций.

7.1.17 При назначении допустимой величины осадки следует учитывать как возможность снижения натяжения анкеров, так и допустимые деформации смежного сооружения, чувствительного к перемещениям основания.

7.1.18 При использовании в расчете конструкций метода конечных элементов рекомендуется учитывать следующие факторы:

- этапность строительства;

а - разрушение консоли над анкерами; б - прогиб в средней части стены; в - обрыв (деформация) тяги; г - потеря общей внешней устойчивости сооружения; д - разрушение основания в заделке свай; е - осадка свай от вертикальной нагрузки

Рисунок 2 - Формы потери устойчивости свайно-анкерного сооружения

- изгибную жесткость с учетом реального (прогнозного) состояния конструкций (толщину защитного слоя, коррозию, раскрытие трещин);

- нелинейность физико-механических свойств грунта;

- особенности напластования грунтов;

- природное напряженное состояние грунта (обжатие собственным весом);

- изменение с течением времени характеристик глинистых грунтов, вызванное дренированием;

- жесткости опор и преднапряжение в узлах крепления анкеров;

- пространственную работу сооружения, позволяющую уменьшить перемещения по отношению к плоской расчетной схеме.

7.1.19 При выполнении численных расчетов методом конечных элементов следует принимать во внимание нижеперечисленные особенности.

Достаточную густоту сетки конечных элементов следует поверять путем увеличения и уменьшения количества элементов не менее чем на 30 %. Если при этом контрольные параметры отклоняются не более чем на 1 %, густоту сетки следует признать достаточной.

Для итерационных решателей следует поверять минимальную погрешность решения системы линейных уравнений. Если при удвоении точности расчета контрольные параметры отклоняются менее чем на 1 %, то точность расчета считается обеспеченной.

Размеры расчетной области должны исключать влияние краевых условий на результат расчета. Считается, что расчетная область имеет достаточные размеры, если увеличение размера в данном направлении на 30 % меняет контрольные параметры менее чем на 1 %. Например, при использовании нелинейных моделей высота расчетной области свайно-анкерного сооружения В должна быть не менее 1,5 L, где L - полная длина сваи, м (рисунок 3).

Применяемая модель грунта и критерий пластического течения должны соответствовать виду напряженно-деформированного состояния грунтового массива и величинам наблюдаемых деформаций.

Расчетную модель рекомендуется тестировать на чувствительность к исходным данным, изменяя прочностные и деформационные характеристики материалов на 10 - 20 %. Если при этом не происходит качественного изменения напряженно-деформированного состояния сооружения, то расчетную схему можно считать условно устойчивой.

 

Рисунок 3 - Пример корректного размера расчетной области

7.1.20 Горизонтальные и поперечные нагрузки от центробежных сил на криволинейных участках дорог в расчете свайно-анкерных сооружений не учитываются.

7.1.21 Для сооружений с заделкой свай 3 м и менее предельные значения эффективного удельного сцепления грунта обратной засыпки, полученные с коэффициентом надежности 0,85 (сI'), следует принимать не более 5 кПа, а предельные значения эффективного удельного сцепления грунта обратной засыпки, полученные с коэффициентом надежности 0,95 (сII') - не более 7 кПа.

7.1.22 В начале анализа устойчивости свайно-анкерного сооружения анкеры следует размещать на расстоянии 1/3 - 1/4 высоты стены от верха конструкции.

7.1.23 В расчете инженерными способами сооружения, закрепленные анкерами в несколько уровней, рассматривают как статически неопределимую упругую балку, допуская следующие упрощения:

- балка закреплена на неподвижных опорах;

- каждый этап строительства рассматривается независимо от предыдущего;

- влиянием жесткостей опор допускается пренебречь;

- допускается линейное распределение давления грунта.

7.2 Учет сейсмических нагрузок

7.2.1 Учет сейсмических воздействий на свайно-анкерные сооружения рекомендуется выполнять следующими основными методами (таблица 1).

Таблица 1 - Рекомендуемые методы учета сейсмических воздействий

Метод учета сейсмического воздействия

Область применения

Прямой динамический расчет

Объекты I (повышенного) уровня ответственности

Квазистатический расчет

Объекты II (нормального) уровня ответственности

Конструктивные мероприятия

Временные сооружения и постоянные сооружения на дорогах IV и V категорий, если их разрушение не связано с гибелью людей или ценного имущества

7.2.2 Прямой динамический расчет рекомендуется выполнять на основе реальных или синтезированных акселерограмм. При отсутствии записей расчетной интенсивности в данном районе допускается использовать записи из других регионов при условии выполнения не менее трех поверочных расчетов на разные акселерограммы.

7.2.3 Квазистатический расчет рекомендуется выполнять путем введения повышающего или понижающего (что хуже) коэффициента в величину инерционных сил в зависимости от расчетной сейсмичности площадки:

- при 7 баллах - 0,025;

- при 8 баллах - 0,05;

- при 9 баллах - 0,1.

При этом вектор сейсмического воздействия должен иметь наихудшее направление для данного сценария расчета сооружения.

7.2.4 Применяемые конструктивные мероприятия должны снижать чувствительность сооружения к сейсмическим нагрузкам. Для этого рекомендуется:

- увеличивать глубину заделки свай;

- увеличивать длину свободной части тяги анкера;

- дополнительно заглублять корень анкера.

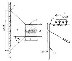
7.3 Учет пространственных эффектов

7.3.1 При расчете по плоским схемам (рисунок 4) локальную нагрузку от сосредоточенных объектов рекомендуется приводить к эквивалентной линейной пригрузке путем пересчета [12] по формуле

                                                          (1)

где q' - эквивалентная линейная пригрузка, кПа;

q - реальное давление на основание 3D объекта, кПа

                                                              (2)

d - расстояние от края пригрузки до оси стены, м;

L и b - соответственно длина и ширина площади загружения, м;

S - нагрузка от объекта, кН.

 

1 - свайно-анкерное сооружение; 2 - поверхность земли; 3 - нагрузка

Рисунок 4 - Расчетная схема для пересчета пространственной нагрузки в плоскую

7.3.2 Если сооружение образует внешний угол (рисунок 5), а расчет ведется по плоским схемам, то на участке не менее 2 Н от угла следует увеличивать расчетную нагрузку не менее чем в 1,5 раза.

Н - высота удерживаемого массива грунта, м; L - протяженность сооружения, м; R - радиус поворота сооружения, м

Рисунок 5 - Формы сооружения в плане (а, б), образующие внешний угол

7.3.3 Применение 3D расчетных схем рекомендуется в следующих случаях (рисунок 6) [13]:

L/H £ 3,                                                                (3)

                                                             (4)

где L - протяженность сооружения, м;

Н - высота удерживаемого массива грунта, м;

с - средневзвешенное удельное сцепление удерживаемого массива грунта, кПа;

γ - средневзвешенная плотность удерживаемого массива грунта, кН/м3.

Рисунок 6 - Свайно-анкерное сооружение

7.3.4 В случае, если подпорная стена в плане образует внешний угол (см. рисунок 5), а расчет ведется по пространственным 3D схемам, то для расчетной нагрузки следует применять повышающий коэффициент запаса fсe = 1,2.

7.3.5 В случае, если подпорная стена имеет форму внутреннего угла (рисунок 7) или примыкает к существующим условно неподвижным сооружениям (рисунок 8), или располагается между двумя условно-неподвижными сооружениями (рисунок 9), а расчет ведется по пространственным 3D схемам, то для расчетной нагрузки на участке до 2 Н допускается применять понижающий коэффициент fсi = 0,9.

Рисунок 7 - Форма внутреннего угла подпорной стены

Рисунок 8 - Примыкание к существующему сооружению

b - расстояние между условно-неподвижными сооружениями, м

Рисунок 9 - Возведение сооружения между двумя существующими условно-неподвижными сооружениями

8 Защита элементов свайно-анкерного сооружения от коррозии

8.1 Мероприятия по антикоррозионной защите должны увязываться с ответственностью сооружения, сроком службы анкеров и степенью агрессивности окружающей среды. Там, где необходимо, антикоррозийные элементы должны воспринимать растягивающие усилия без нарушения качества защиты [14].

8.2 Металлические элементы анкеров на весь период их эксплуатации должны быть защищены от коррозии, вызываемой агрессивностью окружающей среды, контактом с грунтовыми водами и блуждающими токами. При проектировании, изготовлении и приемке защитных покрытий следует руководствоваться требованиями норм [15, 16].

8.3 Постоянные анкеры должны иметь двойную защиту от коррозии. В случае применения одинарной защиты от коррозии, целостность покрытия должна проверяться путем испытания каждого анкера на месте.

8.4 Цементное тело можно учитывать как антикоррозионную защиту в следующих случаях:

- толщина цементного тела не менее 30 мм;

- неповрежденность цементного тела по всей длине анкера гарантируется;

- ширина раскрытия трещин не превышает 0,1 мм.

8.5 Расчет стальных элементов конструкций крепления оголовка анкера следует выполнять с учетом потери толщины от коррозии, кроме случаев, когда имеется естественная защита от коррозии посредством достаточного покрытия из бетона или формовочного раствора [17].

8.6 У постоянных анкеров защита оголовка от коррозии выполняется после их натяжения и включения в работу в составе сооружения на весь период его эксплуатации. Оголовок анкера должен быть полностью покрыт антикоррозионным составом или защитным колпаком из стали или пластика.

8.7 Полимерные растворы, которые запрессовываются или укладываются в контролируемых условиях и образуют над растягивающим элементом покрытие толщиной не менее 5 мм, допускаются в качестве долговечных защитных оболочек при условии, что они сами имеют оболочку, не напряжены и не трескаются [18].

8.8 Покрытия с ингибитором коррозии не должны наноситься на растягиваемые элементы. Но они могут наноситься на другие стальные детали, например, на опорные плиты, крышки и трубы.

8.9 Временные анкеры должны иметь защитный антикоррозионный слой по всей своей длине. В бандажированных анкерах рекомендуется использовать пластиковую трубку в свободной части тяги и покрытие цементным раствором толщиной не менее 10 мм (не менее 20 мм покрытия в водопроницаемых и 10 мм в водонепроницаемых грунтах).

8.10 В нескальных грунтах у временных анкеров с растянутой тягой в зоне заделки должен быть защитный слой из цементного камня толщиной не менее 30 мм.

8.11 В агрессивной среде следует обеспечить защиту от коррозии не только металла, но и цементного камня, бетона или другого твердеющего композиционного материала. Толщину защитного слоя цементного камня в зоне заделки постоянного анкера следует принимать не менее 50 мм.

8.12 Для защиты от коррозии тросовых (прядевых) анкеров рекомендуется использовать пластиковые трубки, которые имеют гофрированный профиль вдоль корня и гладкий - вдоль подвижной части анкера. Пространство между тягой и трубкой должно быть полностью заполнено цементным раствором по всей длине корня.

8.13 Анкерные штанги стержневых анкеров должны быть покрыты антикоррозионными составами до поставки на площадку строительства.

8.14 Изоляционные покрытия по свободной длине тяги следует устраивать таким образом, чтобы на этом участке исключалась связь между арматурой и цементным камнем обоймы. Антикоррозионное покрытие не должно повреждаться или разрушаться при транспортировке, заведении в скважину и предварительном напряжении анкера.

9 Конструирование свайно-анкерного сооружения

9.1 Общие положения

9.1.1 Для возведения свайно-анкерных удерживающих сооружений рекомендуется использовать следующие основные конструктивные схемы креплений, которые приведены на рисунке 10 [19].

Анкерную стену и небольшую свайную стенку (см. рисунок 10, а) рекомендуется устраивать в том случае, если удерживающую стену необходимо надежно закрепить в непосредственной близости к поверхности планировки, например, при устройстве автомобильных дорог вдоль набережных или причалов.

Анкерное крепление через железобетонный анкерный куб или анкерную плиту (см. рисунок 10, б) рекомендуется использовать в случае устройства искусственной насыпи в обратной засыпке.

а - анкерное крепление в виде анкерной стены или небольшой свайной стенки; б - то же, через железобетонный анкерный куб или анкерную плиту; в - крепление с помощью преднапряженного грунтового анкера; г - то же, с использованием наклонных микросвай

Рисунок 10 - Основные конструктивные схемы свайно-анкерных удерживающих сооружений

Варианты в) и г) на рисунке 10 рекомендуются для устройства свайно-анкерных сооружений при подрезке естественных склонов и откосов.

9.1.2 Для сопряжения анкеров со свайным рядом рекомендуется применять следующие конструктивные схемы.

Заделка оголовка анкера в ростверк свайного ряда (рисунок 11).

1 - стенка ростверка; 2 - ростверк; 3 - свая

Рисунок 11 - Устройство анкера через ростверк свайного ряда

Бурение анкера и заделка оголовка по центру забирочной сваи ряда буросекущихся свай (рисунок 12).

Рисунок 12 - Сопряжение через забирочную сваю

Бурение анкера и заделка оголовка в месте стыка рабочей и забирочной сваи ряда буросекущихся свай (рисунок 13).

Рисунок 13 - Сопряжение через стык рабочей и забирочной сваи

Передача давления от анкеров на свайный ряд через горизонтальную распределительную балку, расположенную ниже ростверка (рисунок 14).

а - буровые сваи; б - шпунт

Рисунок 14 - Сопряжение через горизонтальную распределительную балку

Передача давления от анкеров на свайный ряд через вертикальные распределительные балки, расположенные ниже ростверка (рисунок 15).

Рисунок 15 - Сопряжение через вертикальную распределительную балку

Бурение анкера и заделка оголовка по центру рабочей сваи (рисунок 16).

а - буровые сваи; б - шпунт

Рисунок 16 - Сопряжение через центр рабочей сваи

9.1.3 Оголовок анкера должен конструироваться так, чтобы выдерживать максимальное угловое отклонение растягивающего элемента до 3° [20]. При этом допускается падение разрушающего усилия растягивающего элемента до 97 % Рtk, где Рtk - максимальное усилие, воспринимаемое элементом, кН.

9.1.4 Расчетные диаметры свай и анкеров следует принимать по техническим характеристикам применяемого оборудования с учетом особенностей применения данной технологии в аналогичных грунтовых условиях. Для проектных проработок допускается принимать диаметры буровых свай по данным таблицы 2.

Таблица 2 - Рекомендуемые расчетные диаметры свай

Расчетный диаметр свай без инвентарной обсадной трубы, мм

Расчетный диаметр свай с извлекаемой инвентарной обсадной трубой, мм

430

-

530

-

630

620

720

750

820

880

1020

1080

1220

1300

1420

1500

9.1.5 Применение неизвлекаемых обсадных труб следует ограничивать в свайно-анкерных сооружениях. Как исключение, применение неизвлекаемых обсадных труб допускается с согласия заказчика в сложных геологических условиях только до отметки верха заделки сваи (рисунок 17). В случае, если применяется неизвлекаемая обсадная труба вторичного использования, то в расчете не допускается учитывать ее изгибную жесткость. В случае, если неизвлекаемая труба новая и ее расчетный срок службы антикоррозионного покрытия совпадает со сроком службы сооружения, допускается передача через нее нагрузки от анкера.

1 - линия подрезки участка склона после устройства удерживающей конструкции; 2 - слабый грунт; Lсв - длина сваи, м; Lзад - длина заделки сваи, м

Рисунок 17 - Применение неизвлекаемых обсадных труб

9.1.6 Расстояние от подошвы фундамента или края подземного сооружения до ближайшей точки корня грунтового анкера должно быть не менее 3 м (рисунок 18, а), а от поверхности планировки или естественного склона - не менее 4 м (рисунок 18, б).

Рисунок 18 - Минимальное расстояние (а, б) до корня анкера

9.1.7 Расстояние от этих же объектов до центра корня грунтового анкера должно быть не менее 4,5 м (рисунок 19).

9.1.8 Заделка анкера (корень) должна располагаться за пределами расчетной зоны обрушения, выпора или поверхности грунта. Расстояние от любой расчетной поверхности обрушения до корня анкера должно быть не менее 1,5 м или 0,2 Н, где Н - наибольшая высота удерживаемого массива за период строительства и эксплуатации сооружения с учетом устройства временных траншей или прогнозного подмыва нижнего рельефам, м (см. рисунок 19).

Рисунок 19 - Минимальное заглубление корня анкера

9.1.9 Продольное расстояние между корнями параллельных анкеров в плане Sh должно быть равно трем диаметрам корня анкера, но не менее 1,2 м (рисунок 20) [21].

Рисунок 20 - Расстояние между анкерами в плане

9.1.10 Если на криволинейных участках сооружений не удается обеспечить расстояние между анкерами одного яруса более 1,2 м, то необходимо менять углы наклона анкеров Δα так, чтобы соблюдалось минимальное расстояние между корнями с учетом технологической погрешности на устройство скважины в данных грунтах (рисунок 21).

Рисунок 21 - Расположение анкеров на криволинейных участках сооружения

9.1.11 Запрещено располагать корень анкера на границе песчаных и глинистых инженерно-геологических слоев (рисунок 22).

9.1.12 Постоянные анкеры в качестве оттяжек в противооползневых конструкциях должны сочетаться со свайными ростверками.

9.1.13 Для повышения эффективности противооползневые свайно-анкерные сооружения рекомендуется сочетать с лучевым дренажом.

а, б - соответственно недопустимое и допустимое расположение анкеров

Рисунок 22 - Расположение анкеров на границе инженерно-геологических элементов

9.1.14 При наличии подземных вод следует предусматривать гидроизоляцию по верховой грани подпорных стен и устройство застенного дренажа с выводом вод за пределы подпираемого грунтового массива. При этом следует учитывать влияние понижения уровня грунтовых вод на прилегающие объекты (при наличии дренажа) или барражный эффект (при отсутствии дренажа).

9.1.15 Сооружение, по возможности, должно перекрывать весь оползневой или оползнеопасный участок единой (сплошной) конструкцией и закрепляться в устойчивых грунтах за его пределами.

9.1.16 При необходимости, допускается делить сооружение на секции или применять в пределах оползневого (оползнеопасного) участка отдельно стоящие сооружения. При этом следует учитывать эффект пространственного воздействия оползня с учетом различной жесткости отдельных секций. Анкеры соседних секций не должны проходить ближе 3 м к расчетной поверхности смещения соседних отдельно стоящих секций.

9.1.17 Протяженность и расположение отдельно стоящих сооружений следует выбирать из условия обеспечения устойчивости оползневого массива между смежными сооружениями и влияния отдельных секций на смежные.

9.1.18 Параметры конструкции должны обеспечивать прочность и устойчивость каждой секции (отдельно стоящего сооружения) на действующие и прогнозируемые оползневые нагрузки.

9.1.19 Конструкция деформационных швов должна, как правило, исключать поперечные смещения смежных секций относительно продольной оси сооружений.

9.1.20 Положение деформационных швов не рекомендуется принимать в местах максимальных оползневых нагрузок (например, в середине оползневого участка).

9.1.21 В облицовочных панелях с большой поверхностью нагрева в районах со значительной амплитудой температурных колебаний следует предусматривать температурно-деформационные швы. Частоту расположения температурно-деформационных швов следует назначать по результатам расчета температурных деформаций удерживающего сооружения или назначать конструктивно по требованиям соответствующих глав СНиП 52-01-2003 (СП 63.13330.2012).

9.1.22 При наличии расчетного обоснования допускается использовать облицовочную панель в качестве распределительной балки анкеров.

9.2 Анкеры

9.2.1 Непреднапряженные буроинъекционные анкеры следует проектировать как непреднапряженные железобетонные конструкции с учетом требований норм [22].

9.2.2 Угол наклона анкерных скважин должен обеспечивать:

- получение достаточной мощности грунта над заделкой (корнем);

- минимально допустимую (или требуемую) вертикальную пригрузку стены за счет соответствующей составляющей анкерного усилия;

- размещение анкеров ниже подземных конструкций и коммуникаций или между ними.

9.2.3 Конструкция оголовка анкера должна обеспечивать:

- минимальность ее габаритов;

- надежность закрепления анкера на сооружении;

- простоту натяжения и блокирования при проектном усилии;

- возможность подачи инъекционной смеси в верхнюю часть скважины для защиты тяги от коррозии, а в случае необходимости - и в зону заделки анкера при повторной инъекции;

- недопустимость напряжений и излома тяги от поворота, смещения или прогиба опорной плиты, несоосной передачи усилия;

- снятие нагрузки и дополнительное загружение анкера в процессе испытаний и эксплуатации;

- отсутствие опасных деформаций в зоне передачи прижимного усилия от анкера на сооружение.

9.2.4 С учетом возможного отклонения оси анкера от проектного направления при бурении скважины следует предусматривать сферические поверхности на контакте стопорных устройств с целью исключения перегиба напрягаемой тяги.

9.2.5 При назначении размеров несущих элементов анкера (головы, тяги, муфты) необходимо стремиться к достижению их равнопрочности.

9.2.6 В случае напорных вод для предотвращения их попадания в сооружение следует предусматривать уплотняющие устройства в устье скважины (отверстия в стенке, днище и т.д.), а также производить бурение под сжатым воздухом.

9.2.7 Распорки и центрующие детали не должны создавать препятствий для заливаемого рабочего раствора.

9.2.8 Если распорки в постоянных тросовых анкерах устанавливаются вне антикоррозийной оболочки, то они должны быть изготовлены из антикоррозийного материала.

9.2.9 В конструкции анкера следует предусматривать не менее чем по два фиксатора для центрирования тяги и замка в скважине как по длинам корня, так и свободной части анкера [21].

9.2.10 Следует избегать стыков по длине тяги, но, при необходимости, их количество принимать минимальным. Конструкция стыков должна обеспечивать простоту и равнопрочность соединений. Стержневые анкеры с винтовой накаткой должны соединяться навинчиваемыми муфтами. Конструкция муфтовых соединений тяг стержневых анкеров должна исключать самопроизвольное разъединение при ударно-вращательном бурении.

9.2.11 Длина анкерных тяг должна назначаться с учетом возможности размещения натяжного оборудования (гидродомкрата, упорного цилиндра, устройства для упора гидродомкрата).

9.2.12 Свободная длина анкера (анкерная тяга) должна быть не менее 5 м.

9.2.13 Не следует назначать более трех уширений по длине корня анкера. При устройстве одного уширения его следует размещать вверху (у растянутого) или внизу (у сжатого) корня.

9.2.14 Если несущей способности анкера по грунту с одним корнем оказывается недостаточно для восприятия расчетной нагрузки, то рекомендуется применять мультикорневые анкеры. При этом не рекомендуется предусматривать более трех корней для одного анкера. Устройство мультикорневых анкеров должно выполняться только при научном сопровождении проекта.

9.2.15 С целью повторной инъекции смеси в зоне заделки анкеры следует оснащать пластмассовыми (ГОСТ 18599-2001) или металлическими (ГОСТ 8734-75, ГОСТ 8732-78, ГОСТ 3262-75) манжетными трубками. Соединяемые звенья трубок должны быть тщательно отторцованы и не иметь выступов.

9.3 Сваи

9.3.1 Минимальное конструктивное продольное армирование свай должно соответствовать требованиям таблицы 3.

Таблица 3 - Минимальное продольное армирование

Размер сечения сваи Ас

Площадь сечения продольного армирования As

£ 0,5 м2

³ 0,5 % Ас

0,1 - 1,0 м2

³ 0,0025 м2

> 1,0 м2

£ 0,25 % Ас

9.3.2 В качестве продольного армирования свай рекомендуется применять не менее четырех стержней диаметром 12 мм.

9.3.3 Расстояние между продольными стержнями должно обеспечивать беспрепятственное прохождение бетонной смеси, но не более 400 мм.

9.3.4 Расстояние в свету между продольными стержнями или связками стержней не должно быть менее 50 мм.

9.3.5 При продольном армировании с несколькими связками рекомендуется:

- количество стержней в связках для цилиндрических буровых свай принимать не более двух;

- связки стержней располагать радиально друг за другом;

- минимальное расстояние в свету между стержнями различных связок принимать более двух диаметров стержня или полутора диаметров наибольшей фракции цементобетонной смеси; при этом определяющим является большее значение.

9.3.6 В зоне стыков расстояние между стержнями арматуры может быть уменьшено при условии соблюдения требований действующих норм для монолитных железобетонных конструкций.

9.3.7 При несимметричном продольном армировании проектную ориентацию арматурного каркаса при установке в скважину и во время бетонирования необходимо обеспечивать с помощью специальных конструктивных решений и технологических мероприятий.

9.3.8 При конструктивном увеличении защитного слоя бетона в агрессивных средах более чем на 20 мм следует проверять расчетом остаточную жесткость и прочность свай. При этом перемещения сооружения следует определять с учетом потери прочности бетона за весь срок эксплуатации.

9.4 Микросваи

9.4.1 При армировании буроинъекционных свай пространственными каркасами или другими металлическими прокатными профилями стыковые соединения отдельных элементов (секций) могут быть сварными или муфтовыми (свинчиваемыми и впрессовываемыми). При армировании буроинъекционных свай центральными стержнями в зоне сопряжения с ростверками должны устраиваться пространственные каркасы на длину не менее 1 м для исключения скалывания цементного камня.

9.4.2 Толщина защитного слоя бетона или раствора вокруг арматуры буроинъекционных свай должна быть не менее 50 мм.

9.4.3 При устройстве удерживающих сооружений из нескольких рядов микросвай (вертикальных, наклонных или перекрестных решетчатых, включая закрепленные в одном или многих уровнях) армирование каждого ряда свай должно учитывать характер их загружения в соответствии с расчетной схемой. У свободно стоящих, а также защемленных ниже дна планировки стен микросваи со стороны грунта целесообразно устраивать наклонными в сторону массива и армировать на восприятие растягивающего (анкерного) усилия.

9.4.4 В системе ограждающих многорядных свайных стен микросваи должны иметь в плане, как правило, шахматное расположение (рисунок 23, а). Головы всех свай в таких сооружениях следует замоноличивать в общем ростверке.

1 - микросваи; 2 - анкеры; 3 - защитные стенки; 4 -распределительные упорные пояса для анкеров

Рисунок 23 - Устройство многорядных свайных стен из буроинъекционных вертикальных свай (а) и вертикальных и наклонных свай (б)

9.4.5 Устойчивость многорядных свайных стен при восприятии бокового давления грунта рекомендуется повышать за счет наклонных рядов микросвай, работающих на растяжение (рисунок 23, б).

10 Технология строительства свайно-анкерного сооружения

10.1 Общие положения

10.1.1 При выборе технологии устройства свай рекомендуется отдавать предпочтение тем технологиям, которые позволяют обеспечить получение геометрически равномерного ствола с проектной изгибной жесткостью. На этапе проектных проработок рекомендуется пользоваться сведениями из приложения А, а при рабочем проектировании следует учесть конкретные особенности применяемого оборудования и, при необходимости, уточнить проектное решение.

10.1.2 Для микросвай и анкеров, несущая способность которых обеспечивается трением по боковой поверхности, необходимо использовать такие методы бурения и промывки, которые не снижают профильное сечение скважины.

10.1.3 Если нельзя преодолеть препятствия, встретившиеся в процессе бурения, решение о возможности использования скважин для устройства свай или анкеров должна принять организация, проектировавшая свайно-анкерное сооружение. По окончании бурения следует зафиксировать в исполнительной документации фактические размеры скважин, отметки их устья, забоя и расположения каждой скважины в плане, а также установить соответствие типа грунта основания данным инженерно-геологических изысканий (при необходимости, с привлечением геолога).

10.1.4 На стадии проектирования рекомендуется пользоваться технологическими допусками на устройство свай, приведенными в таблице 4, а при выполнении работ следует учитывать инженерно-геологические особенности площадки и применяемого оборудования.

Таблица 4 - Максимальные допуски на устройство свай

Элементы удерживающего сооружения

Допустимое отклонение в плане в уровне земли, мм

Вертикальное отклонение, м

Буровые сваи

± 75

1/75L

То же, с обсадными трубами и повышенным контролем качества

± 25

1/150L

Погружаемые сваи и сваи колонны

± 75

1/75L

То же, с повышенным контролем качества

± 25

1/250L

± 10

1/400L

Примечание - L - длина сваи, м

10.2 Анкеры

10.2.1 Следует избегать изготовления отдельных элементов или узлов анкера на строительной площадке. Комплектующие анкера должны поставляться на строительную площадку, как правило, в готовом виде, не требующем очистки от грязи или обезжиривания. При необходимости, они должны иметь для этого специальную упаковку, позволяющую использовать комплектный анкер или небольшую серию анкеров.

10.2.2 Установка тяги анкера должна осуществляться, как правило, в день бурения скважины. Если задержки не удается избежать, то все скважины должны быть закрыты для предотвращения проникновения воды.

10.2.3 Если невозможно удалить из скважины остатки бурения, то длина скважины должна быть увеличена для обеспечения проектной длины. Выбор метода бурения должен минимизировать отрицательное воздействие на окружающий грунт, приводящее к уменьшению несущей способности анкера.

10.2.4 В случае использования воздуха для очистки забоя скважины при бурении, параметры продувки следует подбирать так, чтобы не возникало нарушение структуры грунта или снижение его несущей способности.

10.2.5 Прокладки и центрирующие устройства располагаются на расстоянии не более 3 м друг от друга, но не менее одного центрирующего устройства на элемент тяги анкера.

10.2.6 Давление раствора следует измерять как можно ближе к устью скважины.

10.2.7 В связных грунтах перед натяжением анкера рекомендуется выждать время до завершения процесса консолидации грунта.

10.2.8 Для повышения точности расположения свай в плане рекомендуется применять форшахты.

11. Испытания и контроль качества

11.1. Общие положения

11.1.1 Состав и объем мероприятий по контролю качества строительства и испытанию элементов свайно-анкерного сооружения определяются проектной организацией с учетом размера и ответственности сооружения, сложности инженерно-геологических условий и требований действующих нормативных документов. Он может корректироваться с учетом реального качества строительства и данных исполнительной документации.

11.1.2 Авторский надзор за строительством свайно-анкерных сооружений, как правило, обязателен. Как исключение, допускается строительство в труднодоступных местах временных сооружений без авторского надзора, если их разрушение не связано с риском для жизни людей или причинения значительного социально-экономического ущерба.

11.1.3 Контроль качества устройства свай и анкеров следует выполнять апробированными промышленными методами, пригодными для данного вида конструкций и технологии устройства с учетом требований настоящего методического документа.

11.1.4 Обеспечение эксплуатационной надежности сооружения следует, как правило, обеспечивать путем сочетания расчетно-конструктивных мероприятий с натурными испытаниями отдельных элементов. Обеспечение эксплуатационной надежности сооружения только за счет расчетно-конструктивных мероприятий допускается в исключительных случаях для временных сооружений в труднодоступных местах, если их разрушение не связано с риском для жизни людей или причинения значительного социально-экономического ущерба.

11.1.5 В проектах свайно-анкерных сооружений рекомендуется предусматривать следующие виды испытаний на строительной площадке (таблица 5).

Пробные испытания микросвай и анкеров выполняются, как правило, до начала строительства с целью определения разрушающих нагрузок в построечных условиях. Включение пробных микросвай и анкеров в состав сооружения, как правило, не допускается.

Таблица 5 - Рекомендуемые виды испытаний

Вид испытаний

Анкеры

Микросваи

Сваи

Пробные испытания

Да

Да

-

Контрольные испытания

Да

Да

-

Приемочные испытания

Да

-

-

Специальные испытания

В особых случаях

В особых случаях

В особых случаях

Контрольные испытания несущей способности микросвай и анкеров выполняются, как правило, в процессе строительства для оперативного контроля на всех постоянных сооружениях и, как правило, на временных сооружениях в объеме требований проекта с учетом требований действующих нормативов и настоящего методического документа.

Анкеры, прошедшие контрольные испытания, допускается не подвергать повторному нагружению в составе приемочных испытаний, если по данным мониторинга сооружение имеет допустимые деформации.

Специальные испытания включают проведение следующих испытаний.

Свай и микросвай на статическую вдавливающую вертикальную нагрузку. Выполняется как исключение для отдельных свай, устраиваемых в неоднородных грунтах, если существует угроза потери эксплуатационной надежности сооружения за счет осадки отдельных свай от действия вертикальной составляющей нагрузки усилия в анкере. Решение о необходимости выполнения испытания принимается проектной организацией на основе результатов авторского надзора и исполнительной документации на устройство данной сваи с участием геологов, выполнявших изыскательские работы.

Свай и микросвай на горизонтальную нагрузку. Выполняется как исключение для отдельных свай, устраиваемых в сильно неоднородных грунтах. Решение о необходимости выполнения испытания принимается проектной организацией на основе результатов авторского надзора и исполнительной документации на устройство данной сваи с участием геологов, выполнявших изыскательские работы.

Анкеров, микросвай и свай на динамические нагрузки.

11.1.6 Кроме вышеперечисленных испытаний, проектом могут предусматриваться другие виды испытаний (стендовые и т.д.), обусловленные особенностями конструкции элементов свайно-анкерного сооружения или технологии его устройства в данных инженерно-геологических условиях.

11.1.7 Для микросвай, работающих на выдергивающую нагрузку, испытываются две из первых 25 микросвай, а далее - по одной из каждых следующих 25 микросвай. Для микросвай, работающих на сжимающую или срезывающую нагрузку, испытываются три из первых 25 микросвай, а далее - по две из каждых следующих 25 микросвай.

11.1.8 Испытания свай и анкеров следует проводить не ранее достижения цементным камнем ствола 70 %-ной расчетной прочности.

11.2 Пробные испытания микросвай и анкеров

11.2.1 Пробные испытания следует проводить, как правило, в непосредственной близости от сооружения на площадке строительства либо за ее пределами при идентичности грунтовых условий для подтверждения правильности выбора конструкции и технологии устройства, уточнения расчетных нагрузок из условия равнопрочности всех элементов анкера или микросваи.

11.2.2 Пробные испытания должны предшествовать процессу проектирования сооружения и проводиться на стадии изысканий. При наличии запроектированного объекта результаты таких испытаний являются основанием для корректировки принятых конструктивных и технологических решений проекта.

11.2.3 На каждом ярусе следует испытывать не менее трех пробных анкеров. Их следует располагать на тех же расстояниях друг от друга и под теми же углами, что и в запроектированном сооружении.

11.2.4 Пробные анкеры и микросваи должны назначаться так, чтобы прочность их металлических элементов превышала в 1,5 раза прогнозируемую несущую способность заделки в грунте.

11.3 Контрольные испытания анкеров

11.3.1 Контрольные испытания должны проводиться на каждом объекте при устройстве анкеров для оперативной проверки их несущей способности и пригодности к дальнейшей безопасной эксплуатации в составе сооружения. При этом следует испытывать первые три анкера и один из десяти последующих.

11.3.2 Методика контрольных испытаний должна приниматься по аналогии с пробными при доведении дополнительной нагрузки, при которой закончено загружение анкера Nе не менее 1,2 Na для временных анкеров и до 1,5 Na - для постоянных (где Nа - расчетное пролетное усилие на анкер, кН). В грунтах, способных разжижаться при динамических нагрузках и проявлять тиксотропные свойства, следует осуществлять только однократное разгружение анкера при усилии Ne.

11.3.3 В ходе испытаний нормальные напряжения в тяге не должны приводить к удлинению более 0,8 % для временных анкеров и 0,2 % - для постоянных. После наступления стабилизации перемещений анкер следует разгрузить до 0,1Nа, измерить остаточное перемещение, снова загрузить и зафиксировать при усилии не более 1,05Nа с учетом обжатия стопорного устройства.

11.3.4 Если в процессе эксплуатации ожидаются значительные изменения и колебания величины вырывающего усилия, необходимо загружать анкер циклически испытательной нагрузкой до l,5Na.

11.3.5 При контрольных испытаниях должно быть установлено:

- затухание перемещений при испытательной нагрузке Nе во времени и возможность передачи на анкер проектного усилия Na;

- соответствие длины свободной части анкера проектной длине.

11.3.6 Величина упругих перемещений тяг в диапазоне усилий от 0,1Nа до Ne должна быть между значениями

                                                 (5)

                                              (6)

где S1 - величина упругих перемещений тяг, м;

lts и lta - соответственно длина свободной и анкерной части тяги, м;

Е - модуль упругости стали, МПа;

А - площадь сечения тяги анкера, м2.

11.3.7 Если величина упругой части перемещения тяги анкера меньше значения, определенного по формуле (5), то необходимо индивидуально оценить анкер и после сравнения с результатами пробных испытаний внести соответствующие коррективы в проект.

11.4 Приемочные испытания анкеров

11.4.1 Приемочные испытания проводятся для всех анкеров в сооружении. В ходе этих испытаний нагружение должно доводиться до испытательной нагрузки Ne, равной не менее 1,2Na для временных и 1,5Na - для постоянных анкеров. Нагрузки Na и Nе выдерживаются до стабилизации перемещений, а промежуточные ступени нагружения - по 5 мин в глинистых и по 2 мин в песчаных и скальных грунтах. Остаточные деформации должны фиксироваться при усилии Nе.

По результатам приемочных испытаний строятся графики зависимости упругих перемещений от нагрузки S = f(N) (рисунок 24).

1 - кривая общих перемещений тяги; 2 - кривые разгрузки; 3, 4 - координаты кривых упругих перемещений тяги, вычисленные соответственно по формулам (5) и (6)

Рисунок 24 - График зависимости перемещений тяги в голове анкера от вырывающего усилия (приемочные испытания)

11.4.2 Приращения перемещений за одинаковые интервалы времени при Ne не должны превышать значений, полученных при контрольных испытаниях.

11.4.3 Если сооружение с временными анкерами служит более трех лет, то по истечении этого срока снова проводятся приемочные испытания анкеров и повторяются через каждые 6 мес.

11.4.4 В случаях необходимости, при проведении повторных испытаний несущей способности анкеров исследованию подвергаются не менее 50 % анкеров от общего их количества на объекте.

11.5 Испытания анкеров и свай на действие динамических нагрузок

11.5.1 Если ожидаются ускорения колебаний грунта в основании корня анкера или острия сваи с амплитудой более 50 мкм, то их несущую способность следует определять опытным путем с имитацией динамического воздействия при помощи вибратора, закрепленного в оголовке анкера или сваи. При этом испытания анкеров и свай должны проводиться непосредственно на площадках строительства или существующих объектов с аналогичными грунтовыми условиями, обеспечивая безопасность расположенных вблизи зданий и сооружений.

11.5.2 Сваи и анкеры испытывают имитированными динамическими воздействиями в следующей последовательности:

- монтируют упорные конструкции и испытывают анкеры или сваи при загружении статической нагрузкой и фиксацией перемещений или осадок;

- устанавливают измерительную и регистрирующую аппаратуру на оголовок анкера или сваи и на грунт, причем первичные преобразователи размещают на расстоянии не более 0,5 м от сооружений;

- производят контрольные динамические воздействия на анкеры или сваи с регистрацией параметров колебаний;

- после обработки записей параметров колебаний уточняют соответствие интенсивности динамического воздействия прогнозируемому значению и, при необходимости, повторно создают уточненные контрольные динамические воздействия;

- при передаче статических нагрузок и последующих динамических воздействий измеряют общие и дополнительные осадки свай или перемещения голов анкеров с фиксацией падения блокировочного усилия в анкерах.

11.5.3 При эксплуатации предварительно напряженных постоянных анкеров или увеличенном сроке службы временных должен осуществляться в течение года контроль блокировочных усилий с точностью инструментальных измерений до 1 %. В зависимости от результатов контрольных испытаний методика их выполнения и значения блокировочных усилий могут уточняться научно-исследовательской организацией.

11.5.4 Контроль блокировочных усилий в анкерах рекомендуется осуществлять в течение года с периодичностью не менее двух раз в неделю. Частота контроля может корректироваться при изменении инженерно-геологических условий и влияния других факторов. В случае возникновения техногенных воздействий, сильно влияющих на работу анкеров, необходима экстренная проверка в них блокировочных усилий.

11.5.5 При выявлении уменьшения или увеличения блокировочных усилий у анкеров на 25 % и более следует выяснять причины, а периодичность контрольных измерений удвоить. Если значения усилий в анкерах продолжают изменяться, требуется экспертная оценка состояния для установления необходимости принятия своевременных мер по предотвращению негативных последствий.

11.5.6 Наряду с контролем блокировочных усилий в анкерах необходимо производить геодезические измерения смещений подпорной стены на отметках ярусов креплений, а в качестве мерок целесообразно использовать оголовки контрольных анкеров. Частота геодезических измерений должна соответствовать периодичности проверки блокировочных усилий в целях установления между ними взаимосвязи и закономерности изменения этих параметров во времени.

11.5.7 По данным испытаний анкеров статической нагрузкой следует определять коэффициенты жесткости Кj по формуле

Kj = 1,2Nb/S,                                                             (7)

где Nb - блокировочное усилие, кН;

S - перемещение тяги в голове анкера при испытательной нагрузке 1,2Nb, мм.

Коэффициент Кj рекомендуется использовать в расчетах напряженно-деформированного состояния анкерных подпорных стен при проектировании последующих аналогичных объектов.

12. Мониторинг

12.1 Мониторинг свайно-анкерных сооружений должен проводиться согласно рекомендаций [23] и настоящего методического документа.

12.2 Для ведения мониторинга рекомендуется предусматривать установку специальных геодезических марок, как правило, на несущие конструкции вблизи и в уровне анкеров. Конструкция марок должна позволять выполнить геодезический контроль вертикальных и горизонтальных перемещений по двум плоскостям проекций- в плоскости анкеров и в плоскости фасада сооружения.

12.3 Следует предусматривать не менее пяти геодезических марок для контроля за вертикальными и горизонтальными перемещениями удерживаемого массива грунта, располагая точки наблюдений в критически важных местах (рисунок 25). Для сооружений высотой более 10 м места установки геодезических марок и датчиков следует уточнять по рекомендациям квалифицированной организации.

1; 2 - геодезические марки; 3 - датчики давления грунта и порового давления; Н - высота удерживаемого массива грунта, м; L - максимальное расстояние установки геодезических марок, м

Рисунок 25 - Рекомендуемая схема расстановки точек наблюдения

12.4 Рекомендуется после окончания работ продолжать контроль горизонта грунтовых вод или контроль порового давления воды до тех пор, пока не будет подтверждено отсутствие отрицательного влияния на несущую способность стенки.

12.5 В случае установки комбинированной шпунтовой стенки, по меньшей мере, в нескольких промежуточных элементах следует использовать индикаторы разрыва замков. Их использование необходимо по всей глубине шпунта.

Приложение А

Сравнение технологий бурения


Таблица А.1 - Сравнение технологий бурения

Название технологии

Описание

Особенности

Грунтовые условия

Преимущества

Недостатки

 

1

2

3

4

5

6

 

Устройство буронабивных свай под защитой глинистого раствора

Обязательным условием является постоянное нахождение нижнего конца трубы ниже уровня поверхности бетона в скважине не менее чем на 1 м

Пески, водонасыщенные и текуче-пластичные глины

Отсутствие дополнительных осадок при ограниченном бурении скважин для устройства буронабивных сван в непосредственной близости от существующих сооружений

Высокая цена бентонита

Отмечается, что при бурении под глинистым раствором с использованием старевшего оборудования происходит отклонение скважины как по местоположению, так и по вертикали

 

Технология устройства свай с короткими проходными шнеками

При бурении через прослойки тугопластичных или полутвердых суглинков или глин скорость проходки снижается, поэтому необходим контроль соотношений скорости проходки и частоты вращения шнека для исключения выноса из скважины на дневную поверхность лишнего грунта

Пески, полутвердые и тугопластичные суглинки

Отсутствие вибрации и ударов (что дает возможность работать вблизи существующих зданий), высокая несущая способность свай, высокая производительность (4 - 6 скважин глубиной 25 м в смену), хорошее качество заполнения скважины бетоном за счет подачи его под давлением, высокая точность постановки свай (весь процесс контролируется при помощи бортового компьютера)

При бурении имеет место влияние на массив грунта, что вводит ограничение на количество одновременно устраиваемых скважин при работе вблизи существующих зданий (конкретно их число определяется ППР на основании геомониторинга)

 

 

Технология непрерывного проходного шнека или технология SOB-колонны CFA

Технология незаменима для грунтов, имеющих слои, существенно отличающиеся по прочности

Глубина свай ограничена 18 - 20 м, а стенки - 12 - 15 м

Пески, полутвердые и тугопластичные суглинки

Высокая производительность (до 79 свай глубиной 25 м в сутки) и высокое качество заполнения скважины бетоном, так как бетонная смесь подается под давлением при помощи бетононасоса

Оказывает низкое влияние на близко расположенные объекты в средних грунтовых условиях

При устройстве свай по технологии SOB-колонны CFA происходит тиксотропное разупрочнение грунта в околосвайном массиве, следствием чего введено ограничение по ее использованию вблизи существующих зданий, если модуль деформации грунта меньше 5 МПа, а угол внутреннего трения меньше 10°

Высокая скорость фильтрации или наличие струйных вод приводит к образованию локальных ослабленных зон

Относительно чувствительны к сейсмическим воздействиям

Технология устройства свай под защитой обсадной трубы

При устройстве свай по данной технологии особое внимание необходимо обратить на то, что во время прохождения водонасыщенных грунтов во избежание выпора грунта в скважине, необходимо создавать или грунтовую пробку большой длины, или избыточное давление с помощью воды или глинистого раствора

Водонасыщенные пески, глины

Отсутствие динамических и вибрационных воздействий на грунт, что делает возможным устройство свай вблизи существующих зданий и сооружений

Возможность разбуривания или извлечения валунов Заполнение скважины производится через бетонолитную трубу, что исключает образование шеек при наличии в скважине арматурного каркаса

Невысокая производительность

Технология двойного вращателя Double Rotary

Наличие системы двойного вращателя: верхний вращатель приводит в движение непрерывный проходной шнек, а нижний - поворачивает обсадную трубу в противоположном направлении

Все виды дисперсных грунтов (несвязные плотные грунты, илы, твердые глины)

Отсутствие шума и значимых вибрационных воздействий позволяет устраивать сваи вблизи существующих зданий

Высокая производительность - до 24 свай глубиной до 25 м в смену Возможность выполнять конструкции «стена в грунте» га секущихся свай

Высокая стоимость оборудования Высокая скорость фильтрации или наличие струйных вод приводит к образованию локальных ослабленных зон Относительно чувствительны к сейсмическим воздействиям

 

Технология устройства набивных свай уплотнения DDS

Устраивается без выемки грунта с уплотнением стенок скважины посредством применения рабочего органа - раскатчика

Плотные пески, глины

Высокая скорость устройства скважин Отсутствие вибрации Скважины имеют гладкие и прочные стенки

При массовом производстве работ возможен выпор грунта

 


Библиография

[1]

Don С. Warrington P.E. Anchored Sheet Pile Wall Analysis Using Fixed End Method Without Estimation of Point of Contraflexure, 2007

[2]

СНиП 3.09.01-85

Производство сборных железобетонных конструкций и изделий (СП 130.13330.2012 - в стадии актуализации)

[3]

CTБ EN 1536-2009

Выполнение специальных геотехнических работ. Буровые сваи. Госстандарт республики Беларусь, 2010

[4]

Accuracy Standards for Geodetic Surveys. SG Standard 1 version 1.1 Office of Surveyor-General

[5]

CTБ EN 12699-2009

Производство специальных геотехнических работ. Сваи забивные. Госстандарт республики Беларусь, 2010

[6]

ASTM D2166-06

Standard Test Method for Unconfined Compressive Strength of Cohesive Soil

[7]

Методические рекомендации по обеспечению устойчивости земляного полотна автомобильных дорог в сложных инженерно-геологических условиях с помощью анкерных конструкций, 1976

[8]

Gilbert Gedeon P.E. Design of Sheet Pile Walls. В журн. Engineer Manual, 31 March 1999

[9]

BS 1377-1:1990

Methods of test for soils for civil engineering purposes. Shtar strength tests (total stress)

[10]

СНиП 2.05.02.-85*

Автомобильные дороги (СП 34.13330.2012 - в стадии актуализации)

[11]

СТБ EN 14199-2009

Проведение специальных геотехнических работ. Микросваи. Госстандарт республики Беларусь, 2010

[12]

Design of Diaphragm and Pile Walls, Background. DelftGeoSystem, Msheet Manual

[13]

Зарецкий Ю.К., Ломбардо В.Н. Статика и динамика грунтовых плотин, 1983

[14]

Donald L., Basham P.E., Dr. James W WRIGHT, P.E. Geotechnical Engineering Procedurse for foundation Design of Buildings and Structures, 2005

[15]

СНиП 3.04.01-87

Изомеционные и отделочные покрытия (СП 71.13330.2012 - в стадии актуализации)

[16]

СНиП 3.04.03-85

Защита строительных конструкций и сооружений от коррозии (СП 72.13330.2012 - в стадии актуализации)

[17]

Ulrich Smoltczyk. Geotechnical Engineering Handbook, 2002

[18]

П14-01

к СНБ 5.01.01-99

Проектирование и устройство свайных и траншейных стен. Пособие к строительным нормам республики Беларусь, 2002

[19]

Рекомендации по расчету, проектированию и устройству свайных фундаментов нового типа в г. Москве, 1997

[20]

ВСН 506-88

Проектирование и устройство грунтовых анкеров

[21]

СНБ 5.01.01-90

Основания и фундаменты зданий и сооружений. Строительные нормы республики Беларусь, 1999

[22]

СНиП 2.02.03-85

Свайные фундаменты (СП 24.13330.2012 - в стадии актуализации)

[23]

ОДМ 218.3.008-2011

Рекомендации по мониторингу и обследованию подпорных стен и удерживающих сооружений на оползневых участках автомобильных дорог

 

 

 

 

Ключевые слова: свайно-анкерное сооружение, удерживающее сооружение, расчет свайно-анкерных сооружений, сваи, грунтовые анкеры

Руководитель организации-разработчика

ООО «НТЦ ГеоПроект»

Директор ________________________________С.И. Маций

 



© 2013 Ёшкин Кот :-)