Информационная система
«Ёшкин Кот»

XXXecatmenu

ФЕДЕРАЛЬНОЕ АГЕНТСТВО
ПО ТЕХНИЧЕСКОМУ РЕГУЛИРОВАНИЮ И МЕТРОЛОГИИ

НАЦИОНАЛЬНЫЙ
СТАНДАРТ
РОССИЙСКОЙ
ФЕДЕРАЦИИ

ГОСТ Р
51322.1-2011

(МЭК 60884-1:2006)

СОЕДИНИТЕЛИ ЭЛЕКТРИЧЕСКИЕ
ШТЕПСЕЛЬНЫЕ БЫТОВОГО
И АНАЛОГИЧНОГО НАЗНАЧЕНИЯ

Часть 1

Общие требования и методы испытаний

IEC 60884-1:2006
Plugs and socket-outlets for household and similar purposes -
P
art 1: General requirements
(MOD)

Москва

Стандартинформ

2012

Предисловие

Цели и принципы стандартизации в Российской Федерации установлены Федеральным законом от 27 декабря 2002 г. № 184-ФЗ «О техническом регулировании», а правила применения национальных стандартов Российской Федерации - ГОСТ Р 1.0-2004 «Стандартизация в Российской Федерации. Основные положения»

Сведения о стандарте

1 ПОДГОТОВЛЕН Автономной некоммерческой организацией «Научно-технический центр «Энергия» (АНО «НТЦ «Энергия») и Федеральным государственным унитарным предприятием «Всероссийский научно-исследовательский институт стандартизации и сертификации в машиностроении» (ФГУП «ВНИИНМАШ») на основе собственного аутентичного перевода на русский язык международного стандарта, указанного в пункте 4

2 ВНЕСЕН Техническим комитетом по стандартизации ТК 331 «Низковольтная коммутационная аппаратура и комплектные устройства распределения, защиты, управления и сигнализации»

3 УТВЕРЖДЕН И ВВЕДЕН В ДЕЙСТВИЕ Приказом Федерального агентства по техническому регулированию и метрологии от 28 сентября 2011 г. № 381-ст

4 Настоящий стандарт является модифицированным по отношению к международному стандарту МЭК 60884-1:2006 (издание 3.1) «Вилки и розетки бытового и аналогичного назначения. Часть 1. Общие требования», (IEC 60884:2006 « Plugs and socket-outlets for household and similar purposes. Part 1. General requirements»). При этом все разделы и приложения А и В полностью идентичны, а приложение ДА дополняет их с учетом потребностей национальной экономики Российской Федерации. В стандарт не включено приложение С примененного международного стандарта, которое нецелесообразно применять в российской национальной стандартизации в связи с неясностью установленных методов.

Наименование настоящего стандарта изменено относительно наименования указанного международного стандарта для приведения его в соответствие с ГОСТ Р -1.5 (пункт 3.5)

5 ВЗАМЕН ГОСТ Р 51322.1-99 (МЭК 60884-1-94)

Информация об изменениях к настоящему стандарту публикуется в указателе «Национальные стандарты», а текст этих изменений и поправок - в ежемесячно издаваемых информационных указателях «Национальные стандарты». В случае пересмотра или отмены настоящего стандарта соответствующее уведомление будет опубликовано в ежемесячно издаваемом информационном указателе «Национальные стандарты». Соответствующая информация, уведомление и тексты размещаются также в информационной системе общего пользования - на официальном сайте Федерального агентства по техническому регулированию и метрологии в сети Интернет

СОДЕРЖАНИЕ

1 Область применения. 4

2 Нормативные ссылки. 5

3 Термины и определения. 6

4 Общие требования. 9

5 Общие требования к испытаниям.. 9

6 Номинальные величины.. 10

7 Классификация. 10

8 Маркировка. 12

9 Проверка размеров. 14

10 Защита от поражения электрическим током.. 15

11 Заземление. 18

12 Контактные зажимы.. 19

13 Конструкция стационарных розеток. 29

14 Конструкция вилок и переносных розеток. 34

15 Сблокированные розетки. 39

16 Устойчивость к старению, защита от проникновения воды и влагостойкость. 40

17 Сопротивление и электрическая прочность изоляции. 42

18 Работа заземляющего контакта. 44

19 Превышение температуры.. 44

20 Отключающая способность. 45

21 Нормальная работа. 47

22 Усилие при разъеме штырей вилки с гнездами розетки. 49

23 Гибкие кабели, шнуры и их присоединение. 51

24 Механическая прочность. 55

25 Нагревостойкость. 64

26 Винты, токоведущие части и соединения. 65

27 Пути утечки тока, воздушные зазоры и расстояния через заливочную массу. 67

28 Теплостойкость, огнестойкость и устойчивость к токам поверхностного разряда. 69

29 Коррозиеустойчивость. 71

30 Дополнительные испытания частично опрессованных штырей вилки. 71

Приложение А (обязательное) Приемо-сдаточные испытания переносных соединителей на соответствие требованиям безопасности (защита от поражения электрическим током и соблюдение полярности) 99

Приложение В (обязательное) Обозначение и число образцов, необходимых для испытаний. 101

Приложение ДА (обязательное) Дополнительные требования к соединителям, устанавливаемые в стандартах и технических условиях на соединители конкретных типов. 102

Приложение ДБ (справочное) Сведения о соответствии ссылочных национальных и межгосударственных стандартов международным стандартам, использованным в качестве ссылочных в примененном международном стандарте. 113

Библиография. 115

Введение

Настоящий стандарт относится к группе основополагающих стандартов на вилки и розетки бытового и аналогичного назначения различных видов на напряжение до 440 В и номинальный ток до 32 А.

В связи с тем, что стандарт содержит требования к вилкам и розеткам одновременно в целом как к соединителям электрическим штепсельным, в настоящем стандарте принято его наименование, отличное от наименования международного стандарта, с целью сохранить преемственность с наименованием и изложением требований отменяемого национального стандарта ГОСТ Р 51322.1-99 (МЭК 60884-1-94)

Подготовленный на основе международного стандарта МЭК 60884-1:2006 настоящий стандарт содержит нормы, требования и методы испытаний вилок и розеток, которые включают в себя целиком требования отменяемого национального стандарта и новые требования в том числе:

- введены термины и их определения составных элементов соединителей (по 3.11, 3.12, 3.22, 3.33);

- введено требование к гнездовым контактам розеток для обеспечения необходимого контактного нажатия на штыри вилок (по 14.5);

- введено дополнительное требование к вилкам для обеспечения извлечения вилок из розеток (по 14.25);

- установлено новое требование к соединителям в части устойчивости к старению (по 16.1);

- уточнены испытания на превышение температуры (раздел 19);

- введены дополнительные требования в раздел 22;

- введено испытание на сжатие корпусов переносных розеток (по 24.19);

- введена таблица для испытаний соединителей на нагревостойкость (раздел 25);

Из стандарта исключено приложение С международного стандарта «Альтернативный вариант измерения силы разъема штырей вилки с гнездами розетки», так как установленное в приложении описание методов проведения испытаний и применяемых при этом испытательных установок непонятно для применения в практической работе по испытаниям, а положения раздела 22 «Усилие при разъеме штырей вилки с гнездами розетки» многократно опробовано при испытаниях и не вызывает у испытателей вопросов.

Из текста стандарта исключены примечания, содержащие информацию об особенностях применения установленных в международном стандарте требований в других странах.

В настоящем стандарте в отличие от примененного стандарта МЭК 60884-1:2006 на рисунках сохранены обозначения элементов рисунков, принятые в отменяемом стандарте ГОСТ Р 51322.1-99, что обеспечивает преемственность графического материала в ранее разработанных нормативных документах и не нарушает структуру и техническое содержание международного стандарта.

В настоящем стандарте:

- раздел «Нормативные ссылки» и ссылки на стандарты по тексту выделены курсивом;

- методы испытаний выделены курсивом.

ГОСТ Р 51322.1-2011

(МЭК 60884-1:2006)

НАЦИОНАЛЬНЫЙ СТАНДАРТ РОССИЙСКОЙ ФЕДЕРАЦИИ

СОЕДИНИТЕЛИ ЭЛЕКТРИЧЕСКИЕ ШТЕПСЕЛЬНЫЕ
БЫТОВОГО И АНАЛОГИЧНОГО НАЗНАЧЕНИЯ

Часть 1

Общие требования и методы испытаний

Plugs and socket-outlets for household and similar purposes. Part 1.
General requirements and methods of tests

Дата введения - 2012 - 07 - 01

1 Область применения

Настоящий стандарт распространяется на вилки и розетки бытового и аналогичного назначения стационарные, переносные, с контактами для заземления или без них, предназначенные для присоединения электрических приемников с номинальным напряжением свыше 50 В, но не более 440 В, и номинальными токами не более 32 А к электрической сети переменного и (или) постоянного тока при внутренней и наружной установке в помещениях жилого и производственного фонда.

Номинальный ток для розеток с безвинтовыми контактными зажимами ограничен максимально до 16 А.

Настоящий стандарт устанавливает только общие требования к монтажным коробкам по ГОСТ Р 50827.1 для установки розеток, которые необходимы для их испытания.

Настоящий стандарт распространяется также на вилки, опрессованные со шнуром, вилки и переносные розетки, опрессованные со шнуром, а также вилки и розетки, которые являются частью приборов, если нет иных указаний в стандартах на соответствующие приборы.

Настоящий стандарт не распространяется:

- на соединители промышленного назначения;

- на соединители для сверхнизких напряжений.

Примечание - Применение защитной меры посредством использования сверхнизких напряжений по ГОСТ Р 50571.3;

- на соединители приборные;

- на стационарные розетки с плавкими предохранителями, автоматическими выключателями и т.д.

Примечание - Розетки со световой индикацией рассматриваются в настоящем стандарте при условии, что световые индикаторы удовлетворяют требованиям соответствующих стандартов.

Вилки, стационарные и переносные розетки, соответствующие настоящему стандарту, предназначены для работы при температуре окружающей среды до 25 °С с допустимым временным увеличением до 35 °С.

Примечание - Розетки, соответствующие настоящему стандарту, предназначены для встраивания в оборудование, где температура окружающей среды не превышает 35 °С.

Настоящий стандарт не распространяется на вилки и розетки, предназначенные для использования в местах с особыми условиями среды, например на средствах водного и наземного транспорта, а также во взрывоопасных средах.

2 Нормативные ссылки

В настоящем стандарте использованы нормативные ссылки на следующие стандарты:

ГОСТ Р 50043.2-92 (МЭК 998-2-1-90) Соединительные устройства для низковольтных цепей бытового и аналогичного назначения. Часть 2-1. Частные требования для соединительных устройств с винтовыми зажимами

ГОСТ Р 50571.3-2009 (МЭК 60364-4-41:2005) Электроустановки низковольтные. Часть 4-41. Требования для обеспечения безопасности. Защита от поражений электрическим током

ГОСТ ИСО 2859-1-2007 Статистические методы. Процедуры выборочного контроля по альтернативному признаку. Часть 1. Планы выборочного контроля последовательных партий на основе приемлемого уровня качества

ГОСТ Р 50827.1-2009 (МЭК 60670-1:2002) Коробки и корпусы для электрических аппаратов, устанавливаемые в стационарные электрические установки бытового и аналогичного назначения. Часть 1. Общие требования

ГОСТ Р 51322.2.6-99 (МЭК 60884-2-6-97) Соединители электрические штепсельные бытового и аналогичного назначения. Часть 2-6. Дополнительные требования к розеткам с выключателями с блокировкой для стационарных установок и методы испытаний

ГОСТ Р 51325.1-99 (МЭК 60320-1-94) Соединители электрические бытового и аналогичного назначения. Часть 1. Общие требования и методы испытаний

ГОСТ Р 51328-99 (МЭК 61540-97) Устройства защитного отключения переносные бытового и аналогичного назначения, управляемые дифференциальным током, без встроенной защиты от сверхтоков (УЗО-ДП). Общие требования и методы испытаний

ГОСТ Р 51686.1-2000 (МЭК 60999-1-99) Соединительные устройства. Требования безопасности к контактным зажимам. Часть 1. Требования к винтовым и безвинтовым контактным зажимам для соединения медных проводников с номинальным сечением от 0,2 до 35 мм2

ГОСТ Р 54103-2010 Испытания на пожароопасность. Методы испытаний. Испытания нагретой проволокой

ГОСТ Р МЭК 60227 (все части) Кабели с поливинилхлоридной изоляцией на номинальное напряжение до 450/750 В включительно.

ГОСТ Р МЭК 60245 (все части) Кабели с резиновой изоляцией на номинальное напряжение до 450/750 В включительно

ГОСТ Р МЭК 61032-2000 Защита людей и оборудования, обеспечиваемая оболочками. Щупы испытательные

ГОСТ Р МЭК 61140-2000 Защита от поражения электрическим током. Общие положения по безопасности, обеспечиваемой электрооборудованием и электроустановками в их взаимосвязи

ГОСТ 7396.1-89 (МЭК 83-75) Соединители электрические штепсельные бытового и аналогичного назначения. Основные размеры

ГОСТ 8594-80 Коробки для установки выключателей и штепсельных розеток при скрытой электропроводке. Общие технические условия

ГОСТ 8724-2002 (ИСО 261-98) Основные нормы взаимозаменяемости. Резьба метрическая. Диаметры и шаги

ГОСТ 14254-96 (МЭК 60529-89) Степени защиты, обеспечиваемые оболочками (код IP)

ГОСТ 14312-79 Контакты электрические. Термины и определения

ГОСТ 15150-69 Машины, приборы и другие технические изделия. Исполнения для различных климатических районов. Категории, условия эксплуатации, хранения и транспортирования в части воздействия климатических факторов внешней среды

ГОСТ 15543.1-89 Изделия электротехнические. Общие требования в части стойкости к климатическим внешним воздействующим факторам

ГОСТ 16962.1-89 (МЭК 68-2-1-74) Изделия электротехнические. Методы испытаний на устойчивость к климатическим внешним воздействующим факторам

ГОСТ 16962.2-90 Изделия электротехнические. Методы испытаний на стойкость к механическим внешним воздействующим факторам

ГОСТ 17516.1-90 Изделия электротехнические. Общие требования в части стойкости к механическим внешним воздействующим факторам

ГОСТ 18620-86 Изделия электротехнические. Маркировка

ГОСТ 21962-76 Соединители электрические. Термины и определения

ГОСТ 23216-78 Изделия электротехнические. Хранение, транспортирование, временная противокоррозионная защита, упаковка. Общие требования и методы испытаний

ГОСТ 24622-91 (ИСО 2039-2-87) Пластмассы. Определение твердости. Твердость по Роквеллу

ГОСТ 24683-81 Изделия электротехнические. Методы контроля стойкости к воздействию специальных сред

ГОСТ 27473-87 (МЭК 112-79) Материалы электроизоляционные твердые. Метод определения сравнительного и контрольного индексов трекингостойкости во влажной среде

ГОСТ 28216-89 (МЭК 68-2-30-87) Основные методы испытаний на воздействие внешних факторов. Часть 2. Испытания. Испытание Db и руководство: Влажное тепло, циклическое (12 + 12 часовой цикл)

ГОСТ 28218-89 (МЭК 68-2-32-75) Основные методы испытаний на воздействие внешних факторов. Часть 2. Испытания. Испытание Ed: Свободное падение

ГОСТ 28312-89 (МЭК 417-73) Аппаратура радиоэлектронная профессиональная. Условные графические обозначения

Примечание - При пользовании настоящим стандартом целесообразно проверить действие ссылочных стандартов в информационной системе общего пользования - на официальном сайте Федерального агентства по техническому регулированию и метрологии в сети Интернет или по ежегодно издаваемому информационному указателю «Национальные стандарты», который опубликован по состоянию на 1 января текущего года, и ежемесячно издаваемым по соответствующим информационным указателям, опубликованным в текущем году. Если ссылочный стандарт заменен (отменен), то при пользовании настоящим стандартом следует руководствоваться заменяющим (измененным) стандартом. Если ссылочный стандарт отменен без замены, то положение, в котором дана ссылка на него, применяется в части, не затрагивающей эту ссылку.

3 Термины и определения

В настоящем стандарте использованы термины, приведенные в МЭК 60050-151 [1], МЭК 60050-442 [2], а также следующие термины с соответствующими определениями. Пример использования соединителей приведен на рисунке 1а.

Примечание 1 - При отсутствии других указаний под понятиями «напряжение» и «ток» подразумевают среднеквадратические значения этих величин.

Примечание 2 - Термин «заземление» означает «защитное заземление».

Примечание 3 - Термин «соединитель» используют как общий термин для вилок и розеток; термин «переносной соединитель» распространяют на вилки и переносные розетки.

Примечание 4 - Термин «розетка» охватывает стационарные и переносные розетки, за исключением случаев, когда имеются специальные указания.

3.1 вилка (plug): Часть соединителя, имеющая штыри для осуществления контакта с розеткой и средство для электрического соединения и закрепления гибкого кабеля.

3.2 розетка (socket-outlet): Часть соединителя, имеющая контакты для соединения со штырями вилки и контактные зажимы для присоединения кабеля, шнура или провода.

3.3 стационарная розетка (fixed socked-outlet): Розетка, предназначенная для соединения со стационарной проводкой.

3.4 переносная розетка (portable socked-outlet): Розетка, предназначенная для соединения с гибким кабелем или шнуром или являющаяся частью гибкого кабеля или шнура, присоединив которую к сети можно легко перемещать ее с одного места на другое.

3.5 многоместная розетка (multiple socked-outlet): Комбинация двух или большего числа розеток, см. рисунок 1b.

3.6 розетка для приборов (socked-outlet for appliances): Розетка, предназначенная для встраивания в прибор.

3.7 разборные вилки и разборные переносные розетки (rewirable plug or rewirable portable socked-outlet): Вилки и розетки, конструкция которых допускает замену гибкого кабеля или шнура.

3.8 опрессованные вилки и переносные розетки (non-rewirable plug or non-rewirable portable socked-outlet): Вилки и розетки, сконструированные так, что они являются одним целым с гибким кабелем или шнуром после соединения, произведенного изготовителем (см. 14.1).

3.9 неразборный соединитель (moulded-on accessory): Опрессованный соединитель, изготовление которого завершается заливкой изоляционным материалом, охватывающим прессованием части соединителя и концы гибкого кабеля или шнура, или соединитель, соответствующий требованиям по 14.1.

3.10 монтажная коробка (mounting box): Коробка в стене, на стене, на или в полу, на или в потолке для скрытой или открытой установки, предназначенная для установки в них стационарных розеток.

3.11 присоединительный комплект прибора (cord set): Комплект, состоящий из гибкого кабеля с опрессованной вилкой и опрессованной приборной розеткой, предназначенный для присоединения прибора к электрической сети

3.12 расширенный присоединительный комплект прибора (cord extension set): Комплект (с удлинителем), состоящий из гибкого кабеля (шнура) с опрессованной вилкой на одном конце и одноместной или многоместной розеткой на другом конце кабеля (шнура), предназначенный для присоединения электрического прибора к электрической сети.

3.13 контактный зажим (terminal): Проводящая часть одного полюса, состоящая из одного или более зажимного устройства и изолированная, если необходимо.

3.14 контактное соединение (termination): Изолированное или неизолированное соединительное устройство, предназначенное для неразборного присоединения кабеля, шнура или провода.

3.15 зажимной узел контактного зажима (clamping unit): Часть контактного зажима, необходимая для механического зажима и электрического соединения кабеля, шнура или провода.

3.16 контактный зажим винтового типа (screw-type terminal): Контактный зажим для присоединения и последующего отсоединения одного, двух и более проводов. Соединение может быть произведено путем прижатия проводника или кабельного наконечника, закрепленного на проводнике, к рабочей контактной поверхности вывода винтом или гайкой.

3.17 торцевой контактный зажим (pillar terminal): Контактный зажим винтового типа, в котором жила кабеля, шнура или провода вставляется в отверстие или паз и прижимается торцем винта или винтов.

Усилие зажима может осуществляться самим винтом или с помощью промежуточного зажимного устройства, к которому прилагается усилие винта (см. рисунок 2).

3.18 зажим с крепежной головкой (screw terminal): Контактный зажим винтового типа, в котором жила кабеля, шнура или провода прижимается головкой винта.

Усилие прижима может обеспечиваться непосредственно головкой винта или промежуточной частью, например шайбой, прижимной пластиной (см. рисунок 3).

3.19 зажим с крепежной гайкой (stud terminal): Контактный зажим винтового типа, в котором жила кабеля, шнура или провода прижимается гайкой.

Сила прижима может обеспечиваться непосредственно фигурной гайкой или промежуточной частью, например шайбой, прижимной пластиной (см. рисунок 3).

3.20 контактный зажим с прижимной планкой (saddle terminal): Контактный зажим, в котором жила кабеля, шнура или провода зажимается планкой с помощью двух или более винтов (см. рисунок 4).

3.21 колпачковый зажим (mantle terminal): Контактный зажим винтового типа, в котором жила кабеля, шнура или провода прижимается к вырезу в резьбовом болте с помощью гайки. Жила прижимается к вырезу шайбой особой формы с помощью гайки с центральным штифтом, если гайка является колпачковой, или другим эквивалентным эффективным средством для передачи давления от гайки на жилу в пределах паза (см. рисунок 5).

3.22 безвинтовой контактный зажим (screwless terminal): Контактный зажим для присоединения и отсоединения жилы кабеля, шнура или проводника или разъемного соединения двух или более жил непосредственно или с помощью пружин, клиньев, эксцентриков, конусов и аналогичных элементов без специальной подготовки провода, не считая снятия изоляции.

3.23 самонарезающий формующий винт (thread-forming screw): Самонарезающий винт с непрерывной резьбой, не предназначенной для удаления материала нарезки из отверстия (см. рисунок 6).

3.24 самонарезающий режущий винт (thread-cutting screw): Самонарезающий винт с прерывистой резьбой, предназначенный для удаления материала нарезки из отверстия (см. рисунок 7).

3.25 номинальное напряжение (rated voltage): Напряжение, установленное изготовителем соединителей, которое указывается в стандартах или технических условиях.

3.26 номинальный ток (rated current): Ток, установленный изготовителем соединителей, который указан в стандартах или технических условиях.

3.27 шторки (shutter): Подвижная часть розетки, автоматически закрывающая гнездовые контакты, когда вилка вынута из розетки.

3.28 испытание типа (type test): Испытание на одном или более соединителе, проведенное для определенной конструкции, чтобы показать, что конструкция удовлетворяет определенным характеристикам.

3.29 приемо-сдаточные испытания (routine test): Испытания, которым подвергают отдельное устройство в течение и/или после изготовления, с целью установления соответствия устройства определенному критерию.

3.30 основание розетки (base): Часть розетки, служащая для крепления гнездовых контактов и снабженная деталями для крепления розетки и присоединения ее к электрической сети.

3.31 токоведущая часть (live part): Часть устройства, через которую проходит электрический ток.

3.32 анкерное крепление кабеля (cable anchorage): Жесткое крепление кабеля к поверхности (например, винтовое посредством хомута), которое не допускает перемещения кабеля относительно точки крепления при толчках и внешнем приложении усилий.

3.33 главная часть (main part): Часть розетки, на которой установлены гнездовые контакты.

4 Общие требования

Вилки и розетки, выступающие монтажные коробки должны быть сконструированы так, чтобы они сохраняли надежность при нормальной эксплуатации и обеспечивали безопасность для людей и окружающей среды.

Соответствие требованиям настоящего стандарта проверяют проведением испытаний, установленных в настоящем стандарте.

5 Общие требования к испытаниям

5.1 Для определения соответствия соединителей требованиям настоящего стандарта проводят следующие испытания:

- испытания типа - на каждом типопредставителе соединителя;

- приемо-сдаточные испытания - на каждом выпускаемом соединителе с целью обнаружения дефектов в материалах и технологии изготовления.

Подпункты 5.2 - 5.5 применяют для проведения испытаний типа соединителя, 5.6 - для приемосдаточных испытаний.

5.2 Соединители испытывают в состоянии полной готовности к монтажу в нормальных условиях, если нет иных указаний.

Опрессованные соединители испытывают с тем кабелем или шнуром, с которым они опрессованы; соединители, не опрессованные с гибким шнуром или кабелем и не являющиеся частью прибора, испытывают с этим кабелем или шнуром длиной не менее 1 м.

Опрессованные переносные многоместные розетки испытывают с гибким кабелем или шнуром длиной около 2,5 м.

Розетки, не удовлетворяющие требованиям ГОСТ 7396.1, испытывают вместе с соответствующей монтажной коробкой.

Розетки, которые нуждаются в коробке для комплектации кожуха, испытывают вместе с коробками.

5.3 Испытания проводят в порядке следования пунктов стандарта при температуре окружающей среды 15 °С - 35 °С, если нет других указаний.

Если есть сомнения, испытания проводят при температуре окружающей среды (20 + 5) °С.

Вилки и розетки испытывают раздельно.

Нейтральный контакт, если таковой имеется, испытывают как фазный.

5.4 Испытания проводят на трех образцах.

Для испытания по 12.3.11 дополнительно требуются образцы розеток, имеющих по крайней мере пять безвинтовых контактных зажимов.

Для испытаний по 12.3.12 дополнительно требуется три образца розеток; в каждом образце испытывают зажимное устройство.

Для каждого испытания по 13.23 и 13.24 дополнительно требуются три образца диафрагм или соединителей с диафрагмами.

Для испытаний по 23.2 и 23.4 дополнительно требуется шесть образцов опрессованных соединителей.

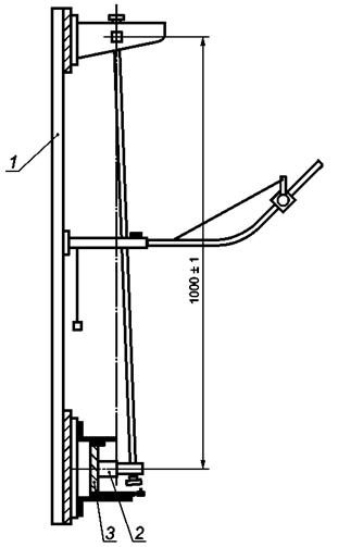
Для испытаний по разделам 20 и 21 могут потребоваться дополнительные экземпляры (см. разделы 20 и 21 и рисунок 43).

Для испытания по 24.10 дополнительно требуются три дополнительных образца.

Для испытания по разделу 28 дополнительно могут потребоваться три образца.

Примечание - Таблица, показывающая обозначение и число образцов, необходимых для проведения испытаний, приведена в приложении В.

5.5 Соединители считают не соответствующими настоящему стандарту, если имеется более одного образца, не выдержавшего какое-либо испытание.

Если один из образцов не выдерживает какого-либо испытания, то данное испытание, а также все предшествующие испытания, которые могут повлиять на его результаты, должны быть повторены на новой партии образцов.

Все образцы должны выдержать повторные испытания.

Примечание - Повторные испытания проводят по тем пунктам, по которым были получены неудовлетворительные результаты. Если образец вышел из строя в одном из испытаний, предшествующие испытания повторяют.

Вместе с первой партией образцов с числом, указанным в 5.4, представляют дополнительную партию, которая может понадобиться, если один из образцов не выдерживает испытания. При отрицательных результатах повторных испытаний образцы бракуют.

При непредставлении дополнительной партии образцы бракуют в случае, если один из них не выдержал какого-либо испытания.

5.6 Приемо-сдаточные испытания проводят в соответствии с приложением А.

6 Номинальные величины

6.1 Соединители предпочтительно должны иметь тип, напряжение и ток, указанные в таблице 1.

Таблица 1 - Предпочтительные сочетания типа и номинальных значений

Тип соединителя

Номинальное напряжение, В

Номинальный ток, А

2Р (только опрессованные вилки)

130 или 250

2,5

2Р (только вилки)

6,0

2Р, 2Р +

130 или 250

10,0; 16,0; 32,0

12Р +  3Р +  3P + N +

440

16,0; 32,0

Стандартные значения и геометрически размеры соединителей приведены в ГОСТ 7396.1

6.2 В удлинителе значение номинального тока переносной розетки должно быть не более, а номинальное напряжение не менее аналогичных значений для вилки.

Соответствие проверяют визуальным осмотром маркировки.

6.3 Соединители предпочтительно должны иметь степень защиты IP20, IP44, IP54 или IP55.

7 Классификация

7.1 Соединители классифицируют:

7.1.1 по степени защиты против доступа к опасным токоведущим частям и против проникновения внешних твердых частиц:

- IP2X - принадлежат изделия с защитой против доступа к опасным токопроводящим частям испытательного пальца и с защитой от доступа к токопроводящим частям твердых частиц 12,5 мм в диаметре и более;

- IP4X - принадлежат изделия с защитой против доступа к опасным токопроводящим частям испытательного пальца и с защитой от доступа к токопроводящим частям твердых частиц 1,0 мм в диаметре и более;

- IP5X - принадлежат изделия с защитой против доступа к опасным токопроводящим частям и с защитой от доступа пыли.

7.1.2 по степени защиты от воды:

- обычные - со степенью защиты IPX0 или IPX1, когда соединители не защищены от воздействия воды или установлены на вертикальной поверхности как при нормальной эксплуатации;

- со степенью защиты IPX4 - соединители брызгозащищенные;

- со степенью защиты IPX5 - соединители струезащищенные.

7.1.3 в зависимости от наличия заземления:

- без заземляющего контакта;

- с заземляющим контактом.

7.1.4 в зависимости от способа присоединения кабеля, провода или шнура:

- разборные;

- неразборные (опрессованные).

7.1.5 в зависимости от типа контактного зажима:

- с контактными зажимами винтового типа;

- с безвинтовыми контактными зажимами только для жестких проводов;

- с безвинтовыми контактными зажимами для жестких и гибких проводов.

7.2 Розетки классифицируют:

7.2.1 по степени от поражения электрическим током при установке для нормальной эксплуатации:

a) с нормальной защитой (см. 10.1), или

b) с усиленной защитой (см. 10.7).

Примечание - Розетки с усиленной защитой могут иметь или не иметь защитные шторки.

7.2.2 по наличию шторок:

a) без шторок;

b) со шторками (см. 10.5).

7.2.3 в зависимости от способа монтажа,

a) для открытой установки;

b) для скрытой установки;

c) для полускрытой установки;

d) для монтажа на панели;

e) необычного архитравного, бордюрного типа;

f) переносные;

g) удлинители (одно- или многоместными розетками);

h) потолочные;

i) для приборов.

7.2.4 по способу установки в зависимости от типа:

a) стационарные, в которых крышки или закрывающие пластины, или одна из их частей могут сниматься без отсоединения проводов (конструкция А), или

b) стационарные, в которых крышки или закрывающие пластины или одна из их частей не могут сниматься без отсоединения проводов (конструкция В).

Примечание - Если стационарная розетка имеет основание, которое не отделяется от крышки или закрывающей пластины и нуждается в дополнительной пластине, которую можно снимать в процессе ремонта стены, не отсоединяя проводников, то для этого рекомендуется конструкция А, при условии, что дополнительная пластина отвечает требованиям к крышкам и закрывающим пластинам.

7.2.5 Классификация по использованию

Штепсельные розетки классифицируют по намеченному использованию:

a) розетки для электрических цепей, снабженных единственным защитным заземлением для сопутствующего оборудования и открытых электропроводящих частей розетки;

b) розетки для электрических цепей, ограниченных по электрическим помехам для сопутствующего оборудования.

Цепь заземления оборудования электрически разделена от цепи заземления оборудования и открытых токопроводящих частей розетки.

7.3. Вилки классифицируют по классу защиты приборов, с которыми их используют:

- вилки для приборов класса защиты 0;

- вилки для приборов класса защиты I;

- вилки для приборов класса защиты II.

Определения классов защиты приборов по ГОСТ Р МЭК 61140.

8 Маркировка

8.1 На соединители наносят следующую маркировку:

- номинальный ток в амперах (А);

- номинальное напряжение в вольтах (В);

- символ вида источника питания;

- наименование, товарный или отличительный знак предприятия - изготовителя соединителей;

- обозначение типа, которое может быть, например, каталожным номером;

- если первая характерная цифра в символе степени защиты от доступа к опасным токоведущим частям и от проникновения внешних твердых частиц выше 2, то вторая характерная цифра должна быть отменена;

- если вторая характерная цифра в символе степени защиты от опасного проникновения воды выше 0, то первая характерная цифра должна быть отменена.

Если система разрешает вилку определенной степени защиты IP применять с розеткой, имеющей другую степень, то следует обратить внимание на то, что результирующей степенью защиты комбинации вилка/розетка является меньшая из двух. Это должно быть отмечено в документах изготовителя для розетки.

Примечание 1 - Степени защиты - по ГОСТ 14254.

Дополнительно на розетки с безвинтовыми контактными зажимами должна наноситься маркировка, обозначающая:

- длину изоляции, которую необходимо удалить перед закреплением провода, шнура или кабеля в безвинтовом контактном зажиме;

- возможность присоединения к розеткам только жестких проводников, имеют на это ограничение.

Примечание 2 - Дополнительную маркировку наносят на розетку, упаковку или указывают в инструкции, прилагаемой к розетке.

8.2 Должны применяться следующие символы:

- амперы... - А;

- вольты... - В;

- переменный ток... - ~;

- нейтральный провод... - N;

- заземление... - ;

- степень защиты соответственно... - IPXX;

- степень защиты принадлежностей, которые будут установлены на грубых поверхностях (см. рисунок 15)... IPXX;

- возможность присоединения к розеткам с безвинтовыми контактными зажимами только жестких проводников.

Примечание 1 - Обозначение символов - по ГОСТ 28312.

Примечание 2 - Буква X в обозначении степени защиты IP может заменяться соответствующей цифрой.

Примечание 3 - Следы, образованные инструментом, не считают частью маркировки.

Для маркировки номинального тока и номинального напряжения используют только цифры, которые следует наносить на одном уровне и разделять их косой линией (например, 16/440), или же цифра, обозначающая номинальный ток, должна находиться над цифрой номинального напряжения, в этом случае они должны разделяться горизонтальной линией (например, ). Маркировка символа тока должна располагаться рядом с обозначением номинальных токов и напряжения.

Примечание 4 - Маркировка переменного тока, напряжения и символа тока может быть одной из следующих: 16 А 440 В ~ или 16/440 ~ или  ~.

8.3 Для стационарных розеток: номинальный ток, номинальное напряжение и символ тока, а также наименование, товарный или отличительный знак предприятия - изготовителя соединителей и обозначение типа должны быть нанесены на основную часть соединителя. Обозначение типа должно быть промаркировано только ссылкой на серию.

Примечание 1 - Обозначение типа может быть номером серии.

Такие детали, как закрывающие пластины, необходимые для безопасности и предназначенные для продажи отдельно, должны иметь маркировку с указанием товарного или отличительного знака предприятия - изготовителя пластины и обозначение типа.

Символ степени защиты от проникновения воды, если это необходимо, должен наноситься на наружной части корпуса так, чтобы он был виден, когда розетка установлена для нормальной эксплуатации.

Примечание 2 - Обозначение типа может быть нанесено на основную или наружную, или внутреннюю части корпуса.

Символ степени защиты IP, если применение его необходимо, должен наноситься так, чтобы он был виден, когда розетка установлена как при нормальной эксплуатации.

Розетки по классификации перечисления b) по 7.2.5 следует маркировать треугольником, который должен быть видимым после монтажа розетки, и иметь обозначение, отличное от использования розеток в обычных электрических сетях.

8.4 На вилках и переносных розетках маркировка по 8.1, кроме обозначения типа, должна быть видима, когда вилка или переносная розетка присоединены к кабелю или шнуру и полностью смонтированы.

Розетки для приборов и вилки, предназначенные для приборов класса защиты II, не должны маркироваться знаком класса защиты

Примечание - Обозначение типа разборных соединителей должно наноситься внутри корпуса или крышки.

8.5 Контактные зажимы, предназначенные исключительно для нейтрального провода, должны быть маркированы буквой N.

Заземляющий контактный зажим обозначается знаком .

Эти знаки не должны помещаться на винтах или иных легко снимаемых деталях.

Контактные зажимы, предназначенные для присоединения проводов, не относящихся к основной функции розетки, должны четко определяться, если только их назначение явно, или определяться по монтажной схеме на соединителях.

Опознаваемость контактных зажимов соединителей достигают следующим образом:

- маркировкой графическими символами согласно ГОСТ 28312, цветовой комбинацией и/или алфавитной и цифровой индикацией;

- физическими размерами или относительным расположением.

Подводящие провода неоновых или индикаторных ламп не относят к требованиям настоящего подпункта.

Примечание 1 - «Легкоснимаемые детали» - детали, которые могут быть сняты во время установки розетки или сборки вилки.

Примечание 2 - Выводы в опрессованных соединителях не нуждаются в маркировке.

8.6 Монтажные коробки для скрытой установки с кодом IP выше чем IP20, являющиеся составной частью розеток, отличные от обычных, должны быть помечены знаком степени защиты от проникновения воды IP, так чтобы его было видно, когда коробка находится в собранном состоянии, в этом случае знак степени защиты от проникновения воды на розетку не наносится.

8.7 Посредством маркировки, в каталоге изготовителя или в инструкции изготовителя необходимо отметить, в каком положении или с какими специальными приспособлениями (например, монтажная коробка или поверхность монтажа) обеспечивается степень защиты IP выше чем IPX0 для стационарных розеток скрытой или полускрытой установки.

Соответствие проверяют визуальным осмотром

8.8 Маркировка должна быть стойкой и легко читаемой.

Соответствие проверяют визуальным осмотром и следующим испытанием. Маркировку следует потереть в течение 15 с куском ткани, смоченным водой, а затем 15 с куском ткани, смоченным бензином.

Примечание 1 - Маркировку, нанесенную оттиском, отливкой, вдавливанием или гравировкой, испытанию не подвергают.

Примечание 2 - Рекомендуется, чтобы бензин был на базе гексана в качестве растворителя, с максимальным содержанием ароматического карбида 0,1 % общего объема, каури-бутанола 29 %, с начальной температурой кипения ~ 65 °С, температурой полного испарения ~ 69 °С и с плотностью ~ 0,68 г/см3.

9 Проверка размеров

9.1 Соединители и монтажные коробки для скрытой установки должны гармонизировать с соответствующими калибрами на вилки и розетки.

Установка вилок в стационарные или переносные розетки должна быть обусловлена их соответствием стандартам.

Проверку проводят измерениями или калибрами. Допуски на размеры калибров должны соответствовать указанным в таблице 2, если нет иных указаний.

Примечание - В некоторых случаях (например, проверка расстояния между центрами) может возникнуть необходимость проверить оба крайних размера.

Перед проверкой розетки необходимо 10 раз соединить и 10 раз разъединить с соответствующими стандарту вилками с максимальными размерами штырей.

Таблица 2 - Отклонения калибров при проверке размеров соединителей

Проверяемый размер

Предельное отклонение, мм

Диаметр или толщина штыря вилки

Размер входного отверстия розетки, соответствующей диаметру штыря и расстояние между гнездовыми контактами

Длина и диаметр штырей вилки

Расстояние между штырями вилки

Расстояние от входной поверхности до точки первого контакта с гнездовым контактом

Направляющий элемент вилок и розеток

±0,03

9.2 Конструкция вилок должна быть такой, чтобы не было возможности применять вилки с розетками:

- имеющими более высокое номинальное напряжение или более низкий номинальный ток, чем аналогичные параметры для вилки;

- с различным числом токоведущих полюсов, за исключением розеток, специально сконструированных для применения с вилками, имеющими меньшее число полюсов, при условии, что не возникает опасной ситуации, например соединения одного из полюсов с заземляющим контактом или прерывания заземляющей цепи;

- с заземляющим контактом, если вилка предназначена для приборов класса защиты 0.

Недопустимо включать вилку для приборов класса защиты 0 или I в розетку, предназначенную для вилок к приборам класса II.

Соответствие проверяют визуальным осмотром или испытанием вручную, используя калибры, технологические допуски которых должны соответствовать указанным в таблице 2.

При сомнении невозможность ввода вилки проверяют соответствующим калибром в течение 1 мин при приложении к калибру усилия:

150 Н - для соединителей на номинальный ток не более 16 А;

250 Н - для остальных соединителей.

Испытание калибром проводят при температуре (35 ± 2) °С как для соединителей, так и для калибра, если соединители изготовлены из эластомера или термопластика, и это может повлиять на результаты испытания.

Примечание - Для соединителей из жесткого материала, например термореактивной смолы, керамики и т.п., соответствие ГОСТ 7396.1 гарантирует правильность применения общих требований.

9.3 Отклонения от размеров могут допускаться только при условии, что это обеспечивает какие-либо технические преимущества, не меняет их назначения и не снижает безопасность соединителей, особенно учитывая взаимозаменяемость и невзаимозаменяемость.

Соединители с такими отклонениями должны соответствовать требованиям настоящего стандарта, насколько это возможно.

10 Защита от поражения электрическим током

Примечание - Для соблюдения требований настоящего раздела лаковое, эмалевое или покрытие напылением не считают изолирующим материалом.

10.1 Конструкция розеток, установленных как при нормальной эксплуатации, должны обеспечивать недоступность прикосновения к их токоведущим частям, при этом детали, снимаемые с помощью инструмента, должны быть сняты.

Токоведущие части, находящиеся под напряжением, и заземляющие контакты вилок не должны быть доступными при частичном или полном введении их штырей в отверстия розеток.

Проверку проводят визуальным осмотром и, в случае необходимости, следующим испытанием.

Проверяемый соединитель устанавливают как при нормальной эксплуатации и к нему присоединяют провода наименьшего сечения, а затем испытание повторяют с проводами наибольшего сечения из указанных в таблице 3.

Для проверки розеток применяют стандартный испытательный палец по ГОСТ Р МЭК 61032, который прикладывают во всех возможных направлениях.

При испытании вилок палец прикладывают во всех возможных направлениях, при этом вилка должна быть частично или полностью вставлена в розетку.

Для регистрации контакта с соответствующей частью используют электрический индикатор с минимальным напряжением 40 В и максимальным напряжением 50 В.

Соединители, имеющие крышки или корпуса из эластичного или термопластичного материала, подвергают следующим дополнительным испытаниям, которые в случае термопластов проводят при температуре окружающей среды (35 ± 2) °С. Образцы должны иметь эту же температуру.

При дополнительном испытании соединители в течение 1 мин подвергают давлению с силой 75 Н, прикладываемому через наконечник прямого неразъемного испытательного пальца, имеющего размеры, идентичные стальному испытательному пальцу по ГОСТ Р МЭК 61032. Палец, соединенный с электрическим индикатором, описанным выше, прикладывают во всех точках, где прогиб изоляционного материала может вызвать нарушение безопасности соединения.

При этом палец не прикладывают к пробиваемым диафрагмам; им воздействуют на тонкостенные выталкиватели с силой 10 Н.

Во время испытания соединитель не должен деформироваться до такой степени, чтобы размеры, которые указаны в стандартах, изменялись и нарушалась безопасность.

Каждый образец опрессованной вилки или переносной опрессованной розетки зажимают между двумя пластинами с силой 150 Н на 5 мин, как приведено на рисунке 8, и спустя 15 мин после приложения силы не должно быть остаточной деформации соединителей, при которой были бы нарушены размеры, указанные в ГОСТ 7396.1.

10.2 Части, доступные прикосновению, когда соединитель смонтирован и подключен как для нормальной эксплуатации, за исключением винтов и т.п., изолированных от токоведущих частей и служащих для крепления оснований, крышки и закрывающей пластины розеток, должны быть выполнены из изоляционного материала. Крышки и закрывающие пластины стационарных розеток допускается изготовлять из металла, если выполняются требования одного из пунктов 10.2.1 или 10.2.2.

10.2.1 Конструкция крышек и закрывающих пластин с дополнительными защитными изоляционными прокладками или перегородками должна обеспечивать такое крепление прокладки или перегородки к крышкам, или закрывающим пластинам, или основанию соединителя, чтобы прокладки или перегородки нельзя было снять, не повредив соединитель; или крышки и закрывающие пластины должны иметь такую конструкцию, чтобы прокладки или перегородки нельзя было поставить в нерабочее положение, а при их отсутствии соединитель считался бы непригодным к эксплуатации или неукомплектованным, и таким образом была бы исключена возможность случайного прикосновения токоведущих частей к металлическим крышкам, например через винты, даже в случае, если провод выпадет из контактного зажима. Следует принять меры к недопустимости уменьшения расстояния утечки тока и воздушных зазоров, которые должны быть не менее указанных в таблице 23.

В части однополюсного введения вилки в розетку следует руководствоваться требованиями по 10.3.

Проверку проводят визуальным осмотром.

Указанные прокладки и перегородки должны проверяться испытаниями по разделам 17 и 27.

10.2.2 При установке металлические крышки и закрывающие пластины должны автоматически соединяться с заземлением через низкоомное сопротивление.

Расстояния утечки тока и воздушные зазоры между токоведущими штырями вилок при полном введении их в розетки и заземленными металлическими крышками розеток должны соответствовать требованиям раздела 7 и таблице 16.

Примечание - Допустимы винты или другие средства крепления.

Проверку проводят визуальным осмотром и испытанием по 11.5.

10.3 Недопустимо электрическое соединение между штырем вилки и гнездовым контактом розетки, в то время как другой штырь оказывается доступным для прикосновения.

Проверку проводят вручную с помощью калибров. Допуски на размеры калибров должны соответствовать таблице 2.

Для соединителей с корпусом или основанием из термопластов испытание проводят при температуре окружающей среды (35 ± 2) °С, причем как соединитель, так и калибр должен иметь эту же температуру.

Для розеток с корпусом или основанием из резины или поливинилхлорида калибр прикладывают с силой 75 Н в течение 1 мин.

Для розеток с металлической крышкой или закрывающей пластиной расстояние между штырем вилки и гнездовым контактом розетки должно быть не менее 2 мм, если другой штырь (или штыри) контактирует при этом с металлической крышкой или закрывающей пластиной.

Примечание 1 - Однополюсное включение может быть предотвращено одним из следующих способов:

- с помощью крышки достаточно большого диаметра;

- другими способами (например, шторками).

Примечание 2 - В некоторых странах не разрешено применение шторок как единственного средства для предотвращения однополюсного введения вилки в розетку.

10.4 Наружные детали вилок и переносных розеток, за исключением винтов и т.п., токоведущих и заземляющих штырей, заземляющих частей металлических колец вокруг штырей, должны изготавливаться по 10.2 из изоляционного материала.

Диаметры колец, если таковые имеются, вокруг штырей не должны превышать 8 мм, учитывая штыри.

Проверку проводят визуальным осмотром.

10.5 Розетки со шторками должны иметь такую конструкцию, чтобы токоведущие части не были доступны прикосновению наконечником прибора, приведенного на рисунках 9 и 10, без введенной вилки.

Может применяться шаблон для входных отверстий розетки, связанных только с токоведущими контактами, но этот шаблон не должен касаться токоведущих частей под напряжением.

Для обеспечения установленной степени защиты розетка должна иметь такую конструкцию, чтобы токоведущие контакты автоматически закрывались шторками при вынутой вилке.

Шторки должны открываться только под воздействием двух штырей вилки, а открывание шторок не должно зависеть от случайного выпадения некоторых частей розетки.

Электрический индикатор с напряжением не менее 40 В и не более 50 В должен применяться для проверки контактирования с соответствующими частями.

Проверку розеток с полностью выведенной вилкой проводят внешним осмотром и с помощью стального наконечника измерительного прибора, приведенного на рисунке 9, прикладываемого с силой до 20 Н в течение приблизительно 5 с тремя независимыми прямолинейными движениями, направленными под наиболее неблагоприятным углом, и извлекаемого после каждого цикла.

Розетки, с вилками, вставленными частично, проверяют стандартным испытательным пальцем, приведенным на рисунке 10, в течение приблизительно 5 с тремя независимыми прямолинейными движениями, и извлекаемым после каждого цикла.

Розетки с корпусами или основаниями, изготовленными из термопластика, испытывают при температуре окружающей среды (35 ± 2) °С, причем розетка и калибр должны иметь ту же температуру.

10.6 Заземляющие контакты розеток, если они имеются, должны иметь такую конструкцию, чтобы эти контакты при введении вилки в розетку не повреждались до такой степени, чтобы при этом нарушалась безопасность.

Проверку проводят следующим испытанием.

Розетку устанавливают в положение, при котором ее контакты находились бы в вертикальном положении.

Испытательную вилку, соответствующую типу розетки, вводят в нее с силой 150 Н и выдерживают в течение 1 мин. После этого испытания розетка должна соответствовать требованиям раздела 9.

10.7 Розетки с усиленной защитой должны иметь такую конструкцию, при которой токоведущие части не должны быть доступны, когда они смонтированы для нормальной эксплуатации с подключенными проводниками под напряжением.

Проверку проводят визуальным осмотром и с применением прибора, приведенного на рисунке 10, которым с силой 1 Н воздействуют на все доступные поверхности при самых неблагоприятных условиях, но при этом вилка не введена в розетку.

Для розеток с корпусом из термопластика испытания проводят при температуре окружающей среды (35 ± 2) °С, при этом розетка и измерительный прибор должны иметь такую же температуру.

Во время испытания токоведущие детали не должны быть доступны для измерительного прибора.

Следует применять электрический индикатор, приведенный в 10.1.

11 Заземление

11.1 Соединители с заземляющим контактом должны иметь такую конструкцию, чтобы при введении вилки заземление обеспечивалось до того, как фазные штыри вилки окажутся под напряжением.

При извлечении вилки из розетки фазные штыри вилки должны разъединяться раньше отключения заземляющих контактов.

Примечание - Соответствие вилок и розеток размерам по ГОСТ 7396.1 обеспечивает удовлетворение этому требованию.

Проверку проводят путем сличения вилок и розеток с чертежами и проверкой соответствующих размеров с учетом допусков.

11.2 Заземляющие контактные зажимы разборных соединителей должны отвечать соответствующим требованиям раздела 12.

Они должны иметь тот же размер, что и соответствующие контактные зажимы питающих проводов.

Заземляющие зажимы разборных соединителей с заземляющим контактом должны быть расположены внутри этих соединителей.

У штепсельных розеток может быть установлена дополнительная внешняя клемма заземления. Эта клемма должна иметь размер, удовлетворяющий проводникам с сечением, как минимум, 6 мм2.

Заземляющие зажимы стационарных розеток должны крепиться к основанию или к детали, прочно прикрепленной к основанию.

Заземляющие контакты стационарных розеток должны крепиться к основанию или крышке, причем во втором случае они автоматически присоединяются к заземляющему зажиму при установке крышки на место. Контактные части должны быть посеребренными или иметь другое защитное покрытие, не менее устойчивое к коррозии и истиранию в случае разъемного соединения.

Такое разъемное соединение должно быть надежным при всех нормальных условиях эксплуатации, в том числе при ослаблении фиксирующих винтов крышки, ее неправильном монтаже и т.п.

За исключением упомянутых выше случаев, элементы заземляющей цепи должны быть выполнены как одно целое или надежно соединены между собой клепкой, сваркой и т.п.

Примечание 1 - Требования, касающиеся соединения между заземляющим контактом, прикрепленным к крышке, и заземляющим зажимом, может быть удовлетворено при использовании сплошного штыря и эластичной контактной гильзой.

Примечание 2 - Винты не рассматриваются как части контактов.

Примечание 3 - При определении надежности соединения между частями заземляющей цепи необходимо учитывать возможность возникновения коррозии металлических деталей.

11.3 Доступные прикосновению металлические части стационарных розеток с заземляющим контактом, которые могут оказаться под напряжением в случае нарушения изоляции, должны быть постоянно и надежно соединены с заземляющим контактным зажимом.

Примечание 1 - Это требование не распространяется на металлические закрывающие пластины по 10.2.1.

Примечание 2 - С целью этого требования винты и другие детали, которые изолированы от токоведущих частей и предназначены для крепления основания, крышек или закрывающих пластин, не считаются доступными прикосновению частями, которые могут оказаться под напряжением в случае нарушения изоляции.

Примечание 3 - В стационарных розетках с металлическим корпусом, имеющих наружный заземляющий контактный зажим, последний должен быть соединен с зажимом, прикрепленным к основанию внутри розетки.

11.4 Розетки, имеющими код IP выше чем IPX0, с корпусами из изоляционного материала, имеющие более одного кабельного ввода, должны иметь дополнительный внутренний плавающий заземляющий контактный зажим с соответствующим пространством в розетке, позволяющий выполнять соединение входящего и выходящего проводов электропроводки для непрерывности заземляющей цепи. Недопустимо, чтобы к одному заземляющему контактному зажиму розетки присоединялись входящий и выходящий провода.

Требования к плавающим заземляющим контактным зажимам не распространяются на контактные зажимы, указанные в разделе 12.

Выполнение требований по 11.2 - 11.4 проводят визуальным осмотром и испытанием по разделу 12.

Наличие пространства для плавающего заземляющего зажима проверяют пробным монтажом, используя тип зажима, определенный предприятием-изготовителем.

11.5 Соединение между заземляющим контактным зажимом и доступными прикосновению металлическими частями, которые к нему присоединяют, должны иметь малое электрическое сопротивление.

Проверку проводят следующим испытанием.

Ток от источника переменного тока с напряжением холостого хода не более 12 В, равный 1,5-кратному значению номинального тока или 25 А, что является большим значением, пропускают поочередно через заземляющий контактный зажим и каждую доступную прикосновению металлическую часть.

При этом измеряют падение напряжения между заземляющим контактным зажимом и доступной металлической частью, а сопротивление рассчитывают по величинам тока и падения напряжения.

Значение электрического сопротивления не должно быть более 0,05 Ом.

Примечание - Сопротивление между измеряемым образцом и металлическим наконечником испытательного прибора не должно влиять на результаты испытаний.

11.6 Для стационарных розеток по перечислению b) по 7.2.5 при их использовании в электрических цепях с заданной помехозащищенностью для присоединяемого оборудования должен быть заземляющий контакт, изолированный от металлических частей крепления или других открытых проводящих частей, которые могут быть подключены к цепи заземления установки.

Соответствие проверяют визуальным осмотром.

12 Контактные зажимы

Все испытания контактных зажимов, за исключением проверок по 12.3.11, проводят после испытания по разделу 16.

12.1 Общие требования

12.1.1 Разборные стационарные розетки должны иметь винтовые или безвинтовые контактные зажимы.

Разборные вилки и переносные розетки должны иметь винтовые контактные зажимы.

Если применяют предварительно пропаянный гибкий провод, то следует его присоединять к винтовым контактным зажимам так, чтобы пропаянная часть находилась вне зажимаемого участка.

Детали для крепления проводов в зажимах не должны использоваться для крепления каких-либо других частей, хотя они могут удерживать контактный зажим на месте и препятствовать проворачиванию.

12.1.2 В опрессованных соединителях все соединения должны проводиться пайкой, сваркой, обжатием или другим эквивалентным способом.

Винтовые и зажимные соединения в этих соединителях недопустимы. Соединения, выполненные скручиванием пропаянного гибкого провода, допустимы в случае, когда пропаянная часть находится за пределами участка скручивания.

12.1.3 Проверку проводят внешним осмотром и испытаниями по 12.2 и 12.3.

12.2. Винтовые контактные зажимы для наружных медных проводов

12.2.1 Соединители должны иметь контактные зажимы, позволяющие присоединять медные провода сечением, указанным в таблице 3.

Таблица 3 - Соотношение между номинальными токами и сечением присоединяемых медных проводников

Номинальный ток и тип соединителя

Жесткий одно или многопроволочный медный проводc)

Гибкий медный провод

Номинальное сечение, мм2

Наибольший диаметр провода, мм

Номинальное сечение, мм2

Наибольший диаметр провода, мм

6 А

-

-

От 0,75 до
1,5 включ.

1,73

10 А
(стационарные)
2Р и 2Р +

От 1,00 до
2,50 включ.а)

2,13

-

-

10 А
(переносные)
2Р и 2Р +

-

-

От 0,75 до
1,50 включ.

1,73

16 А,
2Р и
2Р +  
(стационарные)

От 1,50 до
2
´2,50 включ.b)

2,13

-

-

16 А,
2Р и
2Р +  
(переносные)

-

-

От 0,75 до
1,50 включ.

1,73

16 А, иные чем 2Р
и
2Р +  
(стационарные)

От 1,50 до
4,00 включ.

2,72

-

2,21

16 А, иные чем 2Р
и
2Р +  
(переносные)

От 1,00 до
2,50 включ.

2,21

32 А
(стационарные)

От 2,50 до
10,00 включ.

4,32

-

-

32 А
(переносные)

От 2,50 до
6,00 включ.

-

a) Контактный зажим должен допускать присоединение двух проводов сечением 1,5 мм2 каждый, диаметром 1,45 мм.

b) В некоторые странах используют бифлярные провода с тремя проводниками сечением 2,5 мм2 или двумя проводниками сечением 4 мм2.

c) Допускается использование гибких проводников.

Пространство для присоединения проводов определяют по рисункам 2 - 5.

Проверку проводят визуальным осмотром, измерениями и присоединением проводов наименьшего и наибольшего сечений из выше указанных.

12.2.2 Винтовые зажимы должны позволять присоединение проводов без специальной подготовки.

Проверку проводят визуальным осмотром.

Примечание - Термин «специальная подготовка» означает пропаивание жилы провода, использование кабельных наконечников и т.д., но не изменение формы проводника перед введением его в контактный зажим или скручивание гибкого проводника для укрепления его концов.

12.2.3 Винты и гайки контактных зажимов должны иметь соответствующую механическую прочность и иметь метрическую резьбу по ГОСТ 8724.

Винты не должны изготавливаться из мягкого или легкоподдающегося деформации материала, например цинка или алюминия.

Проверку проводят визуальным осмотром и испытанием по 12.2.6 и 12.2.8.

Примечание - Резьбы S1, ВА и UN считают эквивалентными по шагу и механическим нагрузкам метрической резьбе по ГОСТ 8724.

12.2.4 Контактные зажимы с крепежной гайкой должны быть устойчивы к коррозии. Контактные зажимы, выполненные из меди или медных сплавов, соответствующих 26.5, удовлетворяют настоящему требованию.

12.2.5 Конструкция зажимов с крепежной гайкой должна исключать повреждение провода (проводов) при закреплении его (их) в зажиме(ах).

Проверку проводят следующим испытанием.

Контактный зажим размещают в испытательном устройстве, приведенном на рисунке 11.

Пространство для присоединения жилы провода в контактный зажим определяют по рисункам 3 - 5.

Соответствие проверяют визуальным осмотром, измерением и пробным монтажом проводников жилами с номинальным наименьшим и наибольшим поперечным сечением.

К контактному зажиму присоединяют жесткий одно- или многопроволочный провод вначале наименьшего, а затем наибольшего, из указанных в таблице 3 сечений. Зажимные винты или гайки следует затянуть крутящим моментом, указанным в таблице 6.

В случае отсутствия проводов с жесткими многопроволочными жилами испытание можно проводить с жесткими одножильными проводами.

Длина проводника для испытаний должна быть на 75 мм больше, чем высота Н (рисунок 11), указанная в таблице 9.

Конец проводника проходит через соответствующую втулку в платформе, расположенной на высоте Н ниже места закрепления зажима, как приведено в таблице 9. Втулка расположена в горизонтальной платформе так, что ее центр описывает окружность диаметром 75 мм, относительно центра, являющегося проекцией прижимного узла на горизонтальную плоскость. Платформа должна вращаться с частотой (10 ± 2) об/мин.

Расстояние между входом в прижимной узел и платформой должно быть Н ± 15 мм. Втулка должна быть смазана для предотвращения повреждения изоляции проводника.

Груз массой, указанной в таблице 9, подвешивают к концу проводника.

Продолжительность испытания - 15 мин.

Во время испытаний однопроволочный провод или отдельные проволоки многопроволочного провода не должны выходить из-под контактного зажима или обламываться.

В случае наличия проводов с жесткими многопроволочными жилами испытание повторяют с жесткими одножильными проводами.

12.2.6 Конструкция контактных зажимов винтового типа должна обеспечивать закрепление проводника между металлическими поверхностями с достаточным контактным усилием.

Проверку проводят визуальным осмотром и следующим испытанием.

К контактным зажимам стационарных розеток присоединяют жесткие одно- или многопроволочные провода, а к вилкам и переносным розеткам - гибкие провода наименьшего и наибольшего сечений из указанных в таблице 3. Винты контактных зажимов, в том числе и с шестигранной головкой, затягивают крутящим моментом, равным 2/3 указанных в таблице 6.

Если винт имеет шестигранную головку со шлицем, то прикладывают крутящий момент, равный по величине 2/3 крутящего момента, указанного в графе 2 таблицы 6.

Затем каждый провод подвергают натяжению силой, указанной в таблице 4, плавно, без рывков, в течение 1 мин, вдоль продольной оси провода.

Таблица 4 - Значения силы для испытания на натяжение

Сечение проводников контактного зажима, мм2

От 0,75 до
1,50 включ.

От 1,50 до
2,50 включ.

От 2,50 до
4,00 включ.

От 4,00 до
6,00 включ.

От 6,00 до
10,00 включ.

Сила натяжения, Н

40

50

50

60

80

Если контактный зажим предназначен для присоединения двух или трех проводов, то провода натягивают поочередно, каждый в отдельности.

За время испытаний жила провода не должна иметь заметных смещений в контактном зажиме.

12.2.7 Конструкция контактных зажимов винтового типа или их расположение в соединителе должны обеспечивать невозможность выхода жилы жесткого одно- и многопроволочного провода за пределы зажимов или гаек в затянутом положении.

Проверку проводят следующим испытанием.

К контактным зажимам присоединяют провода наибольшего сечения из указанных в таблице 3.

Контактные зажимы стационарных розеток проверяют как с жесткими однопроволочными, так и многопроволочными проводами.

Контактные зажимы вилок и переносных розеток проверяют с гибкими проводами.

Контактные зажимы, предназначенные для бифилярных подводов двух или трех проводов, проверяют с допустимым числом проводов.

К контактным зажимам присоединяются провода, указанные в таблице 5.

Таблица 5 - Структура и размеры проводников

Сечение, мм2

Число проволок и их номинальный диаметр, мм

Гибкие провода

Жесткие однопроволочные провода

Жесткие многопроволочные провода

0,75

24´0,20

-

-

1,00

32´0,20

1´1,13

7´0,42

1,50

30´0,25

1´1,38

7´0,52

2,50

50´0,25

1,78

7´0,67

4,00

56´0,30

1´2,25

7´0,86

6,00

84´0,30

1´2,76

7´1,05

10,00

-

1´3,57

7´1,35

Перед вводом в зажимное устройство контактного зажима жесткие одно- и многопроволочные провода выпрямляют. Жесткие многопроволочные провода можно еще и скрутить.

Гибкие провода скручивают в одном направлении, так чтобы был примерно одинаковый угол скручивания проволочек на длине около 20 мм.

Провод вставляют в зажимное устройство контактного зажима на минимальную из рекомендуемых глубину или, если таких рекомендаций нет, до тех пор, пока провод не упрется в стенку контактного зажима, причем его положение должно быть наиболее благоприятным для выпадания.

Затем зажимной винт затягивают крутящим моментом, равным 2/3 указанного в таблице 6.

Для гибких проводов испытание проводят также с другим проводом, который закручивают, как указано выше, но в обратном направлении.

После испытаний провод не должен выпадать из контактного зажима и нарушать требования по значениям путей токов утечки, воздушных зазоров по таблице 23.

12.2.8 Контактные зажимы должны быть установлены или размещены так, чтобы при затянутых или ослабленных винтах и гайках контактные зажимы не перемещались.

Примечание 1 - Требование не исключает смещения или поворачивания контактного зажима, но всякое смещение или поворачивание должно быть ограничено, чтобы не нарушались требования настоящего стандарта.

Примечание 2 - Использование компаунда или смолы считают достаточным для предотвращения выпадения контактного зажима при условии, что:

- компаунд или смола не подвергаются нагрузкам при нормальной эксплуатации;

- эффективность компаунда или смолы не ослабевает при температурах нагрева контактных зажимов в наиболее неблагоприятных условиях из указанных в настоящем стандарте.

Проверку проводят внешним осмотром, измерением и следующим испытанием.

Жесткий однопроволочный медный провод наибольшего сечения из указанных в таблице 3 закрепляют в контактном зажиме.

При отсутствии указанного однопроволочного провода испытание проводят с жестким многопроволочным проводом.

Перед введением в контактный зажим жилы концов жестких однопроволочных и многопроволочных проводников выправляют, устраняя их деформацию, чтобы восстановить их приблизительно к первоначальному профилю.

Винты и гайки следует затянуть и ослабить пять раз с помощью отвертки или гаечного ключа, специально используемых при испытаниях, причем прилагаемый момент должен быть равен указанному в таблице 6 или в таблице соответствующего чертежа зажима (см. рисунки 2 - 4) в зависимости от того, где значение момента будет больше.

Провод передвигают каждый раз, когда винт или гайку ослабляют.

Во время испытания в зажимах не должен возникать люфт или какие-либо повреждения, например излом винта или повреждение головки и шлица винта (что делает невозможным применение отвертки, резьбы, шайбы, или скобы), выводящие зажим из строя.

Примечание 1 - В колпачковых зажимах специфический номинальный диаметр равен диаметру шпильки со шлицем.

Примечание 2 - Форма лезвия испытательной отвертки должна соответствовать размеру головки испытуемого винта.

Примечание 3 - Винты и гайки должны затягиваться плавно и без рывков.

12.2.9 Зажимные винты или гайки заземляющих винтовых контактных зажимов должны быть защищены от случайного ослабления. Следует исключить возможность самопроизвольного ослабления их без помощи инструмента.

Проверку проводят вручную.

Примечание - Конструкции контактных зажимов, приведенных на рисунках 2 - 5, обеспечивают достаточную упругость, соответствующую настоящему требованию. Для других конструкций зажимов могут быть предусмотрены специальные меры, такие как использование достаточно упругой детали, которая гарантирует невозможность случайного ослабления винтов и гаек зажимов.

Таблица 6 - Зависимость диаметра резьбы и крутящего момента для винтовых зажимов

Номинальный диаметр резьбы, мм

Крутящий момент, Н × м

1а)

2b)

3с)

До 2,8 включ.

0,2

0,4

-

Св. 2,8 до 3,0 включ.

0,25

0,5

-

» 3,0 » 3,2 »

0,3

0,6

-

» 3,2 » 3,6 »

0,4

0,8

-

» 3,6 » 4,1 »

0,7

1,2

1,2

» 4,1 » 4,7 »

0,8

1,8

1,2

» 4,7 и более

0,8

2,0

1,4

a) Значения графы 1 относят к винтам без головок, если винт в затянутом положении не выходит из отверстия, и к другим винтам, которые нельзя затягивать отверткой, имеющей лезвие шире диаметра винта.

b) Значения графы 2 относят к винтам других типов, которые затягивают с помощью отвертки, а также к винтам и гайкам, которые затягивают с помощью иных средств.

c) Значения графы 3 относят к гайкам колпачкового зажима, которые затягивают отверткой.

12.2.10 Заземляющие винтовые зажимы не должны подвергаться коррозии при контакте частей зажима с медным заземляющим проводом или любым другим металлом, находящимся в контакте с этими частями. Основание заземляющего зажима должно быть изготовлено из латуни или другого не менее коррозиеустойчивого металла, если он не является частью металлического корпуса или крышки. Винты или гайки также должны быть выполнены из латуни или другого корозиеустойчивого металла.

Если заземляющий контактный зажим является частью крышки или корпуса из сплавов алюминия, то следует принять меры защиты от коррозии при контакте меди с алюминием или его сплавами.

Проверку проводят визуальным осмотром

Примечание - Винты или гайки, изготовленные из плакированной стали и выдержавшие испытание на коррозиеустойчивость, считают металлом не менее устойчивым к коррозии, чем латунь.

12.2.11 В торцевых контактных зажимах расстояние между зажимным винтом и концом жилы провода, полностью введенной в зажим, должно соответствовать рисунку 2.

Примечание - Минимальное расстояние между зажимным винтом и концом жилы провода касается только торцевых зажимов, в которых провод не может пройти насквозь.

Для колпачковых зажимов расстояние между фиксирующей частью и концом жилы провода, полностью введенной в зажим, должно соответствовать указанному на рисунке 2.

Проверку проводят измерением после того, как однопроволочный провод наибольшего сечения из приведенных в таблице 3 полностью введен в зажим и надежно закреплен.

12.3 Безвинтовые контактные зажимы для внешних медных проводов.

12.3.1 Безвинтовые контактные зажимы могут применяться либо только с жесткими, либо с жесткими и гибкими медными проводами.

Для последнего варианта испытания следует проводить сначала с жесткими, а затем с гибкими проводами.

Примечание - Требование по 12.3.1 не распространяется на розетки, имеющие:

- безвинтовые контактные зажимы, требующие специального приспособления к проводам до зажима их в безвинтовых контактных зажимах, например плоские штыревые соединители (оконцеватели);

- безвинтовые контактные зажимы, требующие скручивания проводов, например, со скрученными стыками;

- безвинтовые контактные зажимы, обеспечивающие прямой контакт с жилой провода с помощью прокалывания изоляции.

12.3.2 Безвинтовые контактные зажимы должны иметь два зажимных элемента, предназначенные для соответствующего присоединения жесткого или жесткого и гибкого медных проводов, сечения которых указаны в таблице 7.

Таблица 7 - Соотношение между номинальными токами и сечениями присоединяемых медных проводников для безвинтовых зажимов

Номинальный ток, А

Провода

Номинальное сечение, мм2

Наибольший диаметр жесткого провода, мм

Наибольший диаметр гибкого провода, мм

От 10 до 16 включ.

От 1,5 до 2,5 включ.

2,13

2,21

Если безвинтовой контактный зажим предназначен для присоединения двух проводов, то каждый из них должен быть введен в отдельное независимое зажимное устройство (не обязательно должно быть для каждого провода отдельное отверстие).

Проверку проводят визуальным осмотром, а также присоединением проводов наименьшего и наибольшего сечений, указанных в таблице 7.

12.3.3 Безвинтовые контактные зажимы должны обеспечивать присоединение проводов без их специальной подготовки.

Проверку проводят визуальным осмотром.

Примечание - Термин «специальная подготовка» означает пропаивание жилы провода, использование наконечников и т.д., но не изменение формы проводника перед введением его в контактный зажим или скручивание гибкого провода для укрепления его концов.

12.3.4 Части безвинтовых контактных зажимов, через которые проходит ток, должны быть изготовлены из материалов, указанных в 26.5.

Проверку проводят визуальным осмотром и химическим анализом.

Примечание - Пружины, упругие узлы, зажимные пластины и т.п. не считают частями, через которые проходит рабочее напряжение.

12.3.5 Безвинтовые контактные зажимы должны иметь такую конструкцию, чтобы зажимать провод достаточным контактным давлением без его повреждения.

Провод должен зажиматься между металлическими поверхностями.

Примечание - Провода считают неповрежденными, если они не имеют глубоких или острых надрезов.

Проверку проводят визуальным осмотром и испытанием по 12.3.10.

12.3.6 Безвинтовой контактный зажим должен обеспечивать четкое простое присоединение и отсоединение жил проводов. При отсоединении провода должно быть ясно, какую операцию, исключающую прямое натяжение провода вручную, следует провести с помощью инструмента или без него. Отверстие для инструмента, применяемого для присоединения и отсоединения провода, должно четко отличаться от отверстия, предназначенного для самого провода.

Проверку проводят визуальным осмотром и испытанием по 12.3.10.

12.3.7 Безвинтовые контактные зажимы, предназначенные для соединения двух или более проводов, должны иметь такую конструкцию, чтобы:

- в процессе ввода провода действие зажимного устройства одного из них было независимо от действия другого;

- в процессе отсоединения провода могли извлекаться из зажима одновременно или раздельно;

- каждый провод должен вводиться в отдельное зажимное устройство (не обязательно должно быть для каждого провода отдельное отверстие).

В зажиме должна быть обеспечена возможность безопасного зажатия любого числа проводов, которое указано в настоящем стандарте.

Проверку проводят визуальным осмотром или испытанием с соответствующим проводами (число и размер).

12.3.8 Безвинтовые контактные зажимы стационарных розеток должны иметь такую конструкцию, чтобы исключить неправильное введение провода, приводящее к снижению путей утечки и/или воздушных зазоров менее значений, приведенных в таблице 23, или ухудшению функционирования розетки.

Примечание - Требование обеспечивается тем, что на корпусе розетки или в инструкции к ней указывают длину изоляции, которую следует удалить перед вводом провода в безвинтовой контактный зажим.

Проверку проводят визуальным осмотром и испытанием по 12.3.10.

12.3.9 Безвинтовые контактные зажимы должны быть надежно закреплены в розетках. Они не должны ослабевать при присоединении и отсоединении провода во время установки.

Проверку проводят визуальным осмотром и испытанием по 12.3.10.

Покрытие компаундом без других способов блокировки зажима не является достаточным. Самозатвердевающая смола может быть использована для крепления безвинтовых зажимов, которые не подвергаются механическим нагрузкам при нормальной эксплуатации.

12.3.10 Безвинтовые контактные зажимы должны выдерживать механические нагрузки, которые могут возникать при нормальной эксплуатации.

Испытание проводят с неизолированными проводами на одном из безвинтовых контактных зажимов каждого образца соединителя, используя новый образец для каждого испытания.

Испытания проводят с медными однопроволочными жесткими проводами сначала наибольшего, а затем наименьшего сечений из указанных в таблице 7.

Проводят пять циклов введения и отсоединения проводов, используя каждый раз новый провод, за исключением последнего цикла, когда после четвертого цикла провод оставляют на месте. Для каждого цикла провода или заталкивают по возможности дальше в контактный зажим, или вставляют так, чтобы произошло надежное соединение.

После каждого цикла провод натягивают с усилием, указанным в таблице 8. Натяжение провода следует проводить вручную без рывков в течение 1 мин вдоль продольной оси провода.

При приложении растягивающего усилия провод не должен выходить из контактного зажима.

Таблица 8 - Соотношение между токами и растягивающей силой для безвинтовых зажимов

Номинальный ток, А

Растягивающая сила, Н

От 10 до 16 включ.

30

Испытания повторяют с жесткими многопроволочными медными проводами наибольшего и наименьшего сечений из указанных в 12.3.2. Эти провода вставляют и отсоединяют только один раз.

Безвинтовой контактный зажим, предназначенный как для жестких, так и для гибких проводов, должен испытываться также гибкими проводами путем их пятикратного вставления и разъединения. Во время испытания провод не должен заметно выходить из контактного зажима. После испытания ни контактный зажим, ни зажимное устройство не должны ослабевать, и провода не должны повредиться настолько, чтобы было невозможно их дальнейшее использование.

Для стационарных розеток с безвинтовыми контактными зажимами каждый проводник в течение 15 мин подвергают вращению с частотой (10 ± 2) об/мин, используя, например, установку, показанную на рисунке 11. На проводник воздействуют усилием натяжения в соответствии с таблицей 9.

В процессе испытания проводники не должны смещаться в прижимном устройстве.

После испытаний ни контактные зажимы, ни прижимные устройства не должны быть ослаблены и испытуемые проводники не должны иметь повреждений.

12.3.11 Безвинтовые контактные зажимы должны выдерживать электрические и тепловые нагрузки, возникающие при нормальной эксплуатации.

Проверку проводят нижеследующими испытаниями а) и b) на пяти безвинтовых контактных зажимах розеток, которые не подвергались ранее другим испытаниям.

Оба испытания проводят с новыми медными проводами.

а) Испытания проводят пропусканием переменного тока, указанного в таблице 9, через контактный зажим в течение 1 ч, присоединяя жесткие однопроволочные провода длиной 1 ми сечением, указанным в таблице 10. Испытания проводят на каждом зажимном устройстве.

Во время испытаний ток пропускают не через всю розетку, а только через безвинтовые контактные зажимы. Спустя 1 ч измеряют падение напряжения на каждом контактном зажиме при номинальном токе. Падение напряжения должно быть не более 15 мВ.

Измерения должны проводиться через каждый контакт и как можно ближе к месту контактирования.

Если невозможно повторное подключение контактного зажима, образцы должны быть соответствующим образом подготовлены изготовителем. Следует соблюдать меры предосторожности, чтобы не повлиять на работу контактного зажима. При испытании, включая измерения, провода и средства измерения не должны сдвигаться.

b) Безвинтовые контактные зажимы, уже проверенные на падение напряжения по перечислению а), испытывают следующим образом.

Пропускают через зажим испытательный ток, указанный в таблице 10. Все испытательное оборудование, включая провода, не должны перемещаться в процессе измерения падения напряжения.

Безвинтовые контактные зажимы подвергают 192 циклам испытаний, продолжительностью каждый 60 мин:

- 30 мин - прохождение тока;

- 30 мин - отключение тока.

Падение напряжения на каждом безвинтовом зажиме измеряют так же, как при испытании по перечислению а) после каждых 24 циклов, и таким образом завершают полностью 192 цикла испытаний.

Таблица 9 - Соотношение между сечением проводников и прилагаемыми механическими нагрузками для безвинтовых зажимов

Номинальное сечение проводника1), мм2

Диаметр отверстия втулки2), мм

Высота Н, мм, ± 15

Масса проводника, кг

0,50

6,5

-

0,3

0,75

1,00

6,5

260

0,4

1,50

2,50

0,7

4,00

0,9

6,00

9,5

280

1,4

7,00

2,0

1) Размеры в мм по ГОСТ Р 51686.1.

2) Если диаметр втулки недостаточен для проводника без обвязки, то рекомендуется использовать больший диаметр.

Таблица 10 - Испытательный ток для проверки электрических и тепловых нагрузок при нормальной эксплуатации безвинтовых зажимов

Номинальный ток, А

Испытательный ток, А

Номинальное сечение проводника, мм2

10

17,5

1,5

16

22,0

2,5

Примечание - В розетках на номинальный ток менее 10 А испытательный ток устанавливают в этой же пропорции, а сечение провода выбирают равным 1,5 мм2.

Падение напряжения не должно превышать наименьшего из двух значений: 22,5 мВ или двухкратного значения, полученного после 24-го цикла.

После этого испытания безвинтовой зажим подвергают внешнему осмотру, при котором не должны быть выявлены изменения, препятствующие его последующим испытаниям, например трещины, деформации и т.п.

Затем зажим испытывают на механическую прочность в соответствии с 12.3.10. Все образцы должны выдержать это испытание.

12.3.12 Безвинтовые контактные зажимы должны иметь такую конструкцию, чтобы присоединенный жесткий однопроволочный проводник был обжат даже в случае, если он погнут при монтаже (в коробке) и изгибающее усилие проводника воздействует на прижимное устройство.

Проверку проводят следующим испытанием на трех образцах розеток, которые не использовались при других испытаниях.

Испытательное устройство, показанное на рисунке 12а, должно отвечать следующим конструктивным требованиям:

- проводник, точно установленный в контактный зажим, подвергают последовательным изгибам в любом из 12 направлений с шагом в (30 ± 5)°;

- начальное положение может отличаться на 10° и 20° от первоначального.

Примечание - Исходное направление не указывают.

Изгиб проводника при переходе от прямого положения к испытательным положениям с изгибом должен быть выполнен с помощью подходящего устройства, передающего указанное усилие проводнику на определенном расстоянии от контактного зажима.

Устройство изгиба должно отвечать следующим конструктивным требованиям: -усилие изгиба проводника перпендикулярно проводнику в неизогнутом положении;

- в процессе изгиба проводник не должен перемещаться в зажимном устройстве;

- при воздействии усилия изгиба проводят измерение падения напряжения.

Обеспечение испытаний должно быть таким, чтобы падение напряжения на испытуемом зажимном устройстве могло быть измерено, когда проводник присоединен, как показано на рисунке 12b.

Образец устанавливают на зафиксированой части испытательного устройства таким образом, чтобы указанный проводник, введенный в испытуемое зажимное устройство, при испытании мог быть свободно отклонен.

Во избежание окисления изоляция провода должна быть удалена непосредственно перед началом испытания.

Примечание 1 - При необходимости введенный проводник может быть изогнут вокруг препятствий, чтобы они не влияли на результаты испытаний.

Примечание 2 - В некоторых случаях, за исключением направляющего приспособления проводников, рекомендуется снимать те части образцов, которые не позволяют проводу отклоняться в соответствии с приложенной силой.

Зажимное устройство подготавливают, как для нормальной эксплуатации жесткого одножильного проводника с наименьшим сечением, указанным в таблице 11, и подвергают первому испытательному циклу.

То же самое устройство подвергают второму испытательному циклу, используя проводник, имеющий наибольшее сечение, если не было отказа в первом испытательном цикле.

Сила для отклонения проводника приведена в таблице 12.

Расстояние 100 мм измеряют от края зажима, включая направляющее устройство для проводника, при его наличии, до точки приложения силы к проводнику.

Испытание проводят продолжительное время обязательно при наличии испытательного тока (т. е. ток не выключают и не включают в процессе испытаний). Необходимо использовать подходящий источник питания и соответствующее электрическое сопротивление должно быть введено в цепь так, чтобы ток в цепи изменялся в пределах ± 5 % во время испытания.

При испытании испытательный ток, равный номинальному току розетки, пропускают через зажимное устройство. Силой, в соответствии с таблицей 12, воздействуют на испытуемый проводник, установленный в зажимное устройство, в одном из 12 направлений согласно рисунку 12а и измеряют падение напряжения на зажимном устройстве. Затем действие силы прекращают.

После этого силой изгиба воздействуют поочередно в каждом из оставшихся 11 направлений согласно рисунку 17а, каждый раз измеряя падение напряжения.

Таблица 11 - Сечение жестких медных проводников для испытания на отклонение в безвинтовых зажимах

Номинальный ток розетки, А

Сечение испытуемого проводника, мм2

Первая серия испытаний

Вторая серия испытаний

£ 6

1,0а)

1,5

10

1,5

2,5

а) Только для стран, применяющих проводники сечением 1,0 мм2 для стационарных розеток.

Если в любом из 12 испытательных направлений падение напряжения более 25 мВ, то усилие удерживают в этом направлении до тех пор, пока падение напряжения не уменьшится до 25 мВ не более чем за 1 мин. После того как падение напряжения достигнет значения менее 25 мВ, усилие изгиба поддерживают в этом же направлении в течение 30 с.

За этот период падение напряжения не должно увеличиться.

Таблица 12 - Испытание проводника на прогиб

Сечение испытуемого проводника, мм2

Значение силы для прогиба испытуемого проводникаa), Н

1,0

0,25

1,5

0,50

2,5

1,00

а) Значение силы выбирают таким образом, чтобы оно было близко к пределу текучести материала проводника.

Два других образца испытывают аналогично, но при этом изменяют 12 направлений приложения усилия, так чтобы шаг составлял 10° для каждого образца.

Если один из образцов не прошел испытания в одном из направлений испытательного усилия, испытания повторяют на других образцах, причем все они должны пройти испытания.

13 Конструкция стационарных розеток

13.1 Гнездовые контакты розеток должны иметь достаточную упругость для обеспечения соответствующего контактного нажатия на штыри вилки.

Проверку проводят визуальным осмотром и испытанием по разделам 9, 21 и 22.

13.2 Гнездовые контакты и штыри розеток должны обладать устойчивостью к коррозии и истиранию.

Проверку проводят визуальным осмотром и испытанием по 26.5.

13.3 Изолирующие прокладки, перегородки и т.п. должны иметь соответствующую механическую прочность.

Проверку проводят визуальным осмотром и испытанием по разделу 24.

13.4 Конструкция розетки должна обеспечивать:

- легкое введение и присоединение проводов к контактным зажимам;

- удобное крепление к стене или монтажной коробке;

- правильное расположение проводов;

- наличие пространства между нижней поверхностью основания и поверхностью, на которой монтируется основание, или между боковыми поверхностями основания и корпусом (крышкой или монтажной коробкой) для того, чтобы после установки розетки изоляция провода не соприкасалась с токоведущими частями разных фаз.

Примечание - Это требование не предполагает, что металлические части контактных зажимов обязательно защищены изолирующими перегородками или буртиками для избежания соприкосновения с изоляцией провода из-за неправильного монтажа металлических частей контактного зажима.

В розетках для открытой установки, устанавливаемых без монтажной коробки, проводящий провода канал должен отвечать требованию настоящего пункта.

Розетки конструкции А должны позволять удобную установку и снятие крышки и закрывающей пластины, не нарушая при этом закрепление питающих проводов.

Проверку проводят визуальным осмотром и испытанием с проводами наибольшего сечения, установленного в таблице 3 для контактных зажимов определенного размера.

13.5 Розетки должны быть сконструированы таким образом, чтобы полному введению вилок в розетки не препятствовал какой-либо выступ (буртик) на рабочей поверхности розетки.

Проверку проводят определением зазора между рабочей поверхностью розетки и вилкой, который должен быть не более 1 мм, когда вилка полностью вставлена в розетку.

Наличие на рабочей поверхности розетки маркировки не считают выступами.

13.6 Если крышка розетки имеет проходные втулки вокруг вводных отверстий для штырей вилок, то должно быть невозможным их снятие снаружи и они самопроизвольно не должны сниматься изнутри, когда крышка розетки снята.

Соответствие проверяют визуальным осмотром и испытанием

13.7 Крышки или закрывающие пластины должны крепиться не менее чем в двух точках эффективными средствами, требующими для их снятия применение инструмента.

Крышки и закрывающие пластины могут крепиться и одним винтом, при условии, что они закрепляются на месте другим способом (например, буртиком, фиксирующим выступом).

Примечания

Примечание 1 - Средства фиксации крышек и закрывающих пластин должны обеспечивать надежность закрепления. Для обычных розеток средства фиксации крышек или закрывающих пластин не должны одновременно служить для закрепления иных частей.

Примечание 2 - Незакрепленные металлические детали, отделенные от токоведущих деталей таким образом, что воздушные зазоры и пути утечки тока соответствуют таблице 23, не считаются доступными для прикосновения, если это удовлетворяется требованиям настоящего стандарта.

Если для розеток типа А средства крепления крышек или закрывающих пластин используют также для крепления основания, это крепление должно быть надежно после снятия крышки и закрывающей пластины.

Проверку требований к безопасности и конструкции проводят в соответствии с 13.7.1 - 13.7.3.

13.7.1 Для крышек или закрывающих пластин с фиксаторами винтового типа - только визуальным осмотром.

13.7.2 Для крышек или закрывающих пластин с фиксаторами безвинтового типа, смещение которых производят с применением усилия в направлении, приблизительно перпендикулярном к монтажной поверхности (см. таблицу 13):

- когда их смещение может привести к доступности для прикосновения стандартным испытательным пальцем к токоведущим деталям - испытаниями по 24.14;

- когда их смещение может привести к доступности для прикосновения стандартным испытательным пальцем к незаземленным металлическим деталям, отделенным от токоведущих деталей таким образом, что воздушные зазоры и пути утечки имеют значения согласно таблице 23, - испытаниями по 24.15;

- когда их смещение может сделать доступными для прикосновения стандартным испытательным пальцем:

- изолирующие детали, или

- заземленные металлические детали, или

- металлические детали, отделенные от токоведущих деталей так, что воздушные зазоры и пути утечки имеют значения, в два раза превышающие приведенные в таблице 23, или

- токоведущие детали системы БСНН цепей с напряжением переменного тока не более 25 В - испытаниями по 24.16.

13.7.3 Для крышек или закрывающих пластин, которые фиксируются независимо от винтов и чье отсоединение осуществляется с помощью инструмента в соответствии с информацией изготовителя, приведенной в инструкции по эксплуатации или в каталоге:

- теми же испытаниями по 13.7.2, за исключением случаев, когда крышки или закрывающие пластины, или их детали при прикладывании усилия не более 120 Н в направлениях, перпендикулярных монтажной опорной поверхности, не выходят из строя.

13.8 Закрывающие пластины, предназначенные для розеток с заземляющим контактом, не должны быть взаимозаменяемы с закрывающими пластинами для розеток без заземляющего контакта, если такая замена изменяет классификацию розетки в соответствии с 8.12.

Примечание - Требование распространяется на розетки одного изготовителя.

Проверку на соответствие требованиям по 13.6 - 13.8 проводят визуальным осмотром и пробным монтажом.

Таблица 13 - Сила, прикладываемая к крышкам и закрывающим пластинам, крепящимся без помощи винтов

Доступность с помощью испытательного пальца после смещения крышек, закрывающих пластин или их деталей к:

Испытания, согласно требованиям подразделов

Прикладываемая сила, Н

Розетки, соответствующие 24.17 и 24.18

Розетки, не соответствующие 24.17 и 24.18

Не должно входить

Должно входить

Не должно входить

Должно входить

Токоведущим деталям

24.14

40

120

80

120

Незаземленным металлическим деталям, отделенным от токоведущих деталей воздушными зазорами и путями утечки согласно таблице 23

24.15

10

120

20

120

Изолирующим деталям, заземленным металлическим деталям, токоведущим деталям для цепей SELV переменного напряжения или металлическим деталям, отделенным от токоведущих частей воздушными зазорами и путями утечки, в 2 раза превышающими приведенные в таблице 23

24.16

10

120

10

120

Примечание - Небольшими зазорами между крышкой и подсоединенными проводами, а также между крышкой и заземляющим контактом, если таковой имеется, следует пренебречь.

13.9 Розетки для открытой установки обычного типа должны иметь такую конструкцию, чтобы в собранном состоянии и с подключенными как для нормальной эксплуатации проводами в корпусе не было свободных отверстий, за исключением отверстий для ввода штырей вилки или других отверстий, например боковых контактов заземления или фиксирующих устройств и т.д.

Сливными отверстиями, малыми зазорами между крышкой и подсоединенными проводами пренебрегают.

Проверку проводят визуальным осмотром и пробным монтажом с проводами наименьшего сечения из указанных в таблице 14.

13.10 Винты или иные средства монтажа розеток на поверхности или в монтажной коробке, или кожухе должны быть легко доступны с лицевой стороны, не должны служить одновременно для иных целей.

13.11 Многоместные розетки с общим основанием должны иметь фиксирующие звенья для параллельного соединения контактов; крепление этих звеньев должно быть независимым от присоединения питающих проводов.

13.12 Многоместные розетки на отдельных основаниях должны иметь такую конструкцию, чтобы обеспечивалось правильное положение каждого основания. Установка каждого основания должна быть независимой от установки всей розетки на монтажной поверхности.

Проверку требований по 13.10 и 13.12 проводят визуальным осмотром.

13.13 Монтажная пластина розеток для открытой установки должна иметь соответствующую механическую прочность.

Проверку проводят визуальным осмотром после испытаний по 13.4 и 24.3.

13.14 Розетки должны выдерживать боковые усилия при введении в них вилок или других приборов.

Розетки, имеющие номинальные ток до 16 А и напряжение до 250 В включительно, проверяют с помощью устройства, приведенного на рисунке 13.

Каждую розетку устанавливают на вертикальной поверхности, так чтобы плоскость, проходящая через гнездовые контакты, была расположена горизонтально. Устройство вставляют до упора в гнездовые контакты розетки и навешивают на него груз, обеспечивающий силу 5 Н.

Через 1 мин устройство извлекают из розетки, а розетку поворачивают на 90° на монтажной поверхности. Испытание повторяют четыре раза, и каждый раз розетку поворачивают на 90°. В процессе испытания розетка не должна выходить из строя.

После испытаний розетка не должна иметь повреждений, нарушающих требования настоящего стандарта, и она должна соответствовать требованиям раздела 22.

Примечание - Другие розетки не испытывают.

13.15 Розетки не должны встраиваться в патрон.

Проверку проводят визуальным осмотром.

13.16 Розетки, отличные по исполнению от обычных, без сочлененных с ними вилок, но имеющие ввинчиваемые изолирующие трубки, поливинилхлоридные оболочки или кабели с аналогичной изоляцией должны быть полностью защищены.

Розетки для открытой установки, отличные от обычных, имеющие код IP выше чем IP20, снабжаются кабелями (проводами) как при нормальной эксплуатации без вставленной вилки.

Розетки открытого типа, имеющие степень защищенности IPX4 и IPX5, должны иметь открытые сливные отверстия.

Если розетка имеет сливные отверстия, то они должны иметь диаметр не менее 5 мм или площадью 20 мм2 при ширине и длине не менее 3 мм.

Если розетка функционирует в одном монтажном положении, то сливное(ые) отверстие(я) должно быть в этом положении, сливное(ые) отверстие(я) должно(ы) функционировать по крайней мере в двух положениях розетки, когда она смонтирована на вертикальной плоскости при вводе кабеля (провода) сверху или снизу.

Пружины шторок, если таковые имеются, должны изготавливаться из коррозиестойкого металла, например бронзы или нержавеющей стали.

Проверку проводят визуальным осмотром, измерениями и испытаниями по 16.2.

Примечание 1 - При не вставленной вилке полная защита розетки должна обеспечиваться шторками.

Примечание 2 - Данное требование не подразумевает, что шторки, если имеются, или вводные отверстия для штырей вилки должны быть закрыты при извлеченной вилке при условии, что розетка выдержала соответствующие испытания по проверке проникновения в нее воды.

Примечание 3 - Сливное отверстие в задней стенке корпуса розетки может быть эффективным, если конструкция розетки обеспечивает зазор между стеной и этой стенкой не менее 5 мм или предусматривает сливной канал указанных размеров.

13.17 Заземляющие штыри должны иметь соответствующую механическую прочность.

Проверку проводят визуальным осмотром, а для трубчатых штырей - также испытанием по 14.2, которые проводят после испытаний по разделу 21.

13.18 Заземляющие и нейтральные контакты розетки после ее разборки должны быть защищены от проворачивания и смещения без применения инструмента.

Проверку проводят визуальным осмотром и вручную.

Примечание - Конструкция, позволяющая смещение контакта без применения инструмента после снятия крышки с помощью инструмента, недопустима.

13.19 Металлические заземляющие детали не должны иметь заусенцев, которые могут повредить изоляцию питающих проводов.

Проверку проводят визуальным осмотром.

13.20 Розетки, которые устанавливаются в монтажной коробке, должны иметь такую конструкцию, чтобы концы провода можно было зачистить после того, как коробка уже смонтирована, но до того, как розетка установлена в коробку.

Проверку проводят визуальным осмотром.

13.21 Вводные отверстия розеток должны допускать такое использование изолирующих трубок или изоляции кабеля, чтобы была обеспечена механическая защита.

Обычные розетки для открытой установки должны иметь такую конструкцию, чтобы изолирующие трубки или изоляция кабеля входили в корпус не менее чем на 1 мм. В этих розетках вводное отверстие для изолирующих трубок или два и более отверстий должны обеспечивать использование изолирующих трубок диаметрами 16, 20, 25 или 32 мм или их комбинации не менее чем из двух этих размеров согласно МЭК 60423 [3].

В розетках для открытой установки входные отверстия для ввода кабеля должны допускать возможность установки кабелей с размерами, указанными в таблице 14 или определяемыми изготовителем.

Проверку проводят визуальным осмотром и измерениями.

Примечание - Вводные отверстия соответствующего размера могут быть получены путем пробивки или использования дополнительных вводных деталей.

Таблица 14 - Соотношение номинального тока, структуры и характеристик проводников

Номинальный ток, А

Сечение проводника, мм2

Число проводников

Пределы наружных размеров кабеля, мм

мин

макс

10

От 1 до 2,5 включ.

2

6,4

13,5

3

14,5

16

От 1,5 до 2,5 включ.

2

7,4

13,5

3

14,5

16

От 1,5 до 4,0 включ.

4

7,6

18,0

5

19,5

32

От 2,5 до 10 включ.

2

8,9

24,0

3

25,5

4

28,0

5

30,5

Примечание - Указанные пределы наружных размеров кабеля в соответствии с серией ГОСТ Р МЭК 60227 и серией ГОСТ Р МЭК 60245.

13.22 Диафрагмы вводных отверстий должны быть закреплены и не должны смещаться от механических или тепловых воздействий, которые могут возникнуть при нормальной эксплуатации.

Проверку проводят следующим испытанием.

Диафрагму испытывают на розетке в собранном виде. Сначала розетку, имеющую диафрагму, испытывают по 16.1. Затем розетку помещают на 2 ч в термокамеру, как описано в 16.1, и выдерживают при температуре (40 ± 2) °С. Сразу после этого силу в 30 Н прилагают в течение 5 с к различным частям диафрагмы, применяя для этого испытательный палец тех же размеров, что и стандартный испытательный палец по ГОСТ Р МЭК 61032.

В процессе испытания диафрагма не должна деформироваться до такой степени, чтобы токоведущие части оказались открытыми.

Диафрагму подвергают также осевому натяжению силой 30 Н в течение 5 с.

В процессе испытания диафрагма не должна выйти из строя. Затем последнее испытание повторяют на диафрагмах, которые не подвергались нагреву в термокамере.

13.23 Рекомендуется такая конструкция диафрагм входных отверстий и изготовление из такого материала, чтобы ввод кабеля в розетку был возможен при низкой температуре окружающей среды.

Примечание - В некоторых странах проверку на соответствие данному требованию проводят методом установки диафрагм в холодных условиях.

Проверку проводят следующим испытанием.

Розетку снабжают диафрагмой, которая не была подвергнута обработке на старение (т.е. нагреву в термокамере). Затем розетку выдерживают в течение 2 ч в холодильнике при температуре минус (15 ± 2) °С.

По истечении двух часов розетки вынимают из холодильника и сразу же, пока они не нагрелись, через диафрагму вводят кабель наибольшего сечения, при этом он должен войти без приложения усилий.

После испытания по 13.22 и 13.23 диафрагмы не должны иметь деформаций, царапин и повреждений, которые могут вызвать несоответствие требованиям настоящего стандарта.

14 Конструкция вилок и переносных розеток

14.1 Опрессованные вилка и переносная розетка должны соответствовать следующим требованиям:

- гибкий кабель, провод или шнур не должен отделяться от соединителя, не выводя его из строя;

- соединитель не должен открываться ни вручную, ни с помощью обычного инструмента, например отвертки.

Проверку проводят визуальным осмотром.

Примечание - Соединитель считают непригодным, если для повторной его сборки потребуются новые детали или материалы.

14.2 Штыри вилок и заземляющие штыри переносных розеток должны обладать достаточной механической прочностью.

Проверку проводят испытаниями по разделу 24. Если штыри трубчатые, то их подвергают следующему испытанию, которое проводят после испытания по разделу 21.

Штыри укрепляют, как показано на рисунке 22. На штырь воздействуют силой 100 Н в течение 1 мин в направлении, перпендикулярном его оси, с помощью стальной штанги диаметром 4,8 мм, при этом ось штанги также перпендикулярна оси штыря.

Диаметр штыря в точке приложения силы должен быть не менее 0,15 мм. После снятия нагрузки максимальное изменение диаметра штыря в любом направлении не должно превышать 0,06 мм.

14.3 Штыри и вилки должны быть:

- зафиксированы от проворачивания;

- несъемными без разборки вилки;

- соответствующим образом закреплены на корпусе, когда к ним присоединены питающие провода как при нормальной эксплуатации.

Должна быть исключена возможность смещения заземляющего, нейтрального и фазных штырей вилки.

Проверку проводят визуальным осмотром и испытанием по 24.2 и 24.10.

14.4 Заземляющие и нейтральные контакты переносных розеток должны быть зафиксированы от проворачивания и сдвигаться после разборки розетки только с применением инструмента.

Проверку проводят визуальным осмотром и для одноместных переносимых розеток испытанием по 24.2.

14.5 Гнездовые контакты розеток должны обладать достаточной упругостью для обеспечения необходимого контактного нажатия на штыри вилки.

Части штепсельного контакта розетки, которые будут в контакте с частью штыря вилки, должны обеспечивать электрический контакт, когда вилка полностью вставлена в штепсельную розетку, в том случае, когда:

- контактное нажатие обеспечивается изолирующими частями, кроме керамического или другого материала с аналогичными характеристиками,

- гарантирует постоянный металлический контакт по крайней мере на двух противоположных сторонах каждого штыря вилки.

Контактное давление наконечника штыря не зависит от спаянных проводников.

Проверку проводят визуальным осмотром и испытанием по разделам 9, 21 и 22.

14.6 Штыри вилок и гнездовые контакты розеток должны быть устойчивы к коррозии и обладать износостойкостью.

Проверку проводят соответствующим испытанием, которое находится в стадии рассмотрения.

14.7 Крышки разборных соединителей должны по площади охватывать контактные зажимы и концы гибкого кабеля, шнура или провода.

Конструкция должна обеспечивать правильное и надежное присоединение проводов и, если провода присоединены к соединителю и готовы к нормальной эксплуатации, должно быть исключено:

- соприкосновение друг с другом жил проводов;

- касание жил проводов, присоединенных к контактным зажимам доступных металлических частей;

- касание жилы провода, присоединенного к заземляющему контактному зажиму токоведущих частей.

14.8 Разборные соединители должны иметь такую конструкцию, чтобы винты или гайки контактных зажимов не ослабевали и не выпадали из углублений.

Проверку требований по 14.7 и 14.8 проводят визуальным осмотром и пробным монтажом.

14.9 Разборные соединители должны иметь такую конструкцию, чтобы обеспечивалось достаточное пространство для размещения заземляющего провода, а при ослаблении его в контактном зажиме последующее закрепление заземляющего провода можно было произвести, не нарушая присоединения фазных проводов. При непредусмотренных избыточных механических нагрузках заземляющий провод должен ломаться после фазных.

Проверку проводят следующим испытанием.

Гибкий кабель, шнур или провод присоединяют к соединителю таким образом, чтобы фазные провода подводились от возможных мест ослабления к соответствующим контактным зажимам наиболее коротким путем.

После того как фазные провода подсоединены, жилу заземляющего провода подводят к своему контактному зажиму, обрезают с припуском 8 мм и присоединяют к зажиму.

В результате этого должна иметься возможность свободно вставить петлю, которая образована заземляющим проводом, имеющим избыточную длину, в пространство для проводов без чрезмерных сжатий или сдавливания жилы, когда крышка соединителя заново монтируется и правильно закрепляется.

В опрессованных соединителях с заземляющим контактом длина проводников между контактными соединениями и местом устройства крепления шнура должна быть такой, чтобы токопроводящие проводники натягивались до заземляющего проводника в случае, если гибкий кабель скользит в устройстве крепления шнура.

Проверку проводят визуальным осмотром.

14.10 Контактные зажимы разборных и опрессованных соединителей должны быть так закреплены и защищены, чтобы при освобождении жил проводников из зажима не нарушалась безопасность соединителей.

Опрессованные соединители должны иметь устройства для предупреждения ослабления крепления жил проводников путем уменьшения длины снятой изоляции с проводников и всеми доступными для прикосновения наружными поверхностями соединителя, за исключением рабочей лицевой поверхности вилки.

Проверку проводят следующим образом:

- для разборных соединителей испытанием по 14.10.1;

- для опрессованных неформованных соединителей испытанием по 14.10.2;

- для опрессованных формованных соединителей испытанием по 14.10.3.

14.10.1 Гибкий многопроволочный провод минимального номинального сечения, указанного в таблице 3, освобождают от изоляции на расстоянии 6 мм от края.

Жилу многопроволочного провода вставляют в контактный зажим так, чтобы одна из проволочек жилы был выведена из контактного зажима, а остальные проволочки жилы провода полностью вводят в контактный зажим и зажимают как при нормальной эксплуатации.

Свободную проволочку из зажима изгибают во всех возможных направлениях без натяжения, надрыва изоляции и образования острых перегибов и углов.

Примечание - Недопустимость острых перегибов и углов вокруг перегородки зажима не подразумевает, что свободная проволочка должна быть прямой во время испытаний. Острые углы имеют место тогда, когда предполагают, что они могут образоваться в нормальных условиях эксплуатации вилки или переносной розетки, например, если установлена крышка.

Свободная проволочка жилы провода, присоединенного к заземляющему зажиму, не должна касаться других токоведущих частей после окончания монтажа.

При необходимости испытание повторяют со свободной проволочкой в другом положении.

14.10.2 Изоляцию проводника длиной, эквивалентной максимальной заданной изготовителем и дополнительной длиной 2 мм снимают с конца гибкого проводника соответствующего сечения.

Жилу многопроволочного провода вставляют в контактный зажим так, чтобы одна из проволочек жилы была выведена из контактного зажима, а остальные проволочки жилы провода полностью вводят в контактный зажим и зажимают как при нормальной эксплуатации.

Свободную проволочку жилы провода изгибают во всех возможных направлениях без натяжения, надрыва изоляции и образования острых перегибов и углов.

Примечание - Недопустимость острых перегибов и углов вокруг перегородки зажима не подразумевает прямолинейности свободного проводника во время испытаний. Острые углы имеют место тогда, когда предполагают их образование в нормальных условиях эксплуатации вилки и переносной розетки, например после установки крышки.

Свободная проволочка жилы провода, присоединенная к токоведущему контактному зажиму, не должна касаться металлических частей или снижать пути утечки и воздушные зазоры в любом конструктивном зазоре менее 1,5 мм от наружной поверхности.

Свободная проволочка жилы провода, присоединенного к заземляющему контактному зажиму, не должна касаться токоведущих частей.

14.10.3 Опрессованные формованные соединители должны пройти визуальный осмотр, чтобы удостовериться в наличии средств для обеспечения защиты от жил свободных проводников и/или токоведущих деталей, уменьшающих минимальное изоляционное расстояние до наружной доступной для прикосновения поверхности до 1,5 мм (за исключением рабочей лицевой поверхности вилок).

Примечание - Проверка наличия «средств» может требовать проверки конструкции соединителя или способа его сборки.

14.11 Для разборных вилок и переносных розеток:

- должно быть ясно, как осуществить ослабление натяжения и избежать скручивания провода;

- устройство для зажима изоляции провода или часть его должна быть несъемной или должна быть постоянно фиксирована к одной из частей вилки или переносной розетки;

- недопустимо, например, завязывание кабеля или шнура в узел или привязывание концов;

- устройство для зажима изоляции должно быть пригодно для различных типов гибких проводов и шнуров, которые могут использоваться, и эффективность его не должна зависеть от сборки частей корпуса;

- винты, если они имеются, должны применяться для обжатия гибкого кабеля, а не для других целей.

Примечание - Это не исключает крышки, служащей для фиксации гибкого кабеля в устройстве крепления шнура при условии, что кабель остается на месте в этом устройстве, когда крышка снята;

- устройство для зажима изоляции должно быть из изоляционного материала или снабжено изоляционной прокладкой, закрепленной на металлических деталях;

- металлические детали устройства для зажима изоляции, включающие зажимные винты, должны быть изолированы от заземляющей цепи.

Проверку проводят визуальным осмотром и по возможности пробным монтажом.

14.12 Изолирующие части, на которых закрепляются токоведущие детали, должны надежно присоединяться друг к другу и должна исключаться возможность разборки соединителя без помощи инструмента.

Проверку проводят визуальным осмотром следующим образом:

- крышки, пластины или их части, крепление которых производят винтами, проверку проводят визуальным осмотром;

- крышки, пластины или их части у которых безвинтовое крепление и перемещение которых может открыть доступ к токоведущим частям, проверку проводят испытанием по 24.14.

14.13 Если крышки переносных розеток снабжены проходными втулками для ввода штырей вилки, эти втулки не должны перемещаться под внешними воздействиями.

14.14 Винты, предназначенные для обеспечения доступа к внутренним частям соединителя, должны быть предохранены от самопроизвольного выпадания.

Примечание - Использование шайб из картона или аналогичного материала является достаточным условием для выполнения этого требования.

Проверку соответствия требованиям по 14.13 и 14.14 проводят визуальным осмотром.

14.15 Рабочая поверхность вилки в собранном для нормальной эксплуатации состоянии не должна иметь выступов, препятствующих полному вставлению ее штырей в розетку.

Проверку проводят визуальным осмотром после присоединения указанного в таблице 3 провода наибольшего сечения.

Примечание - Заземляющий контакт не считают выступом на рабочей поверхности.

14.16 Конструкция переносных розеток должна обеспечивать отсутствие на рабочей поверхности каких-либо выступов, препятствующих полному вставлению в них соответствующей вилки.

Проверку проводят испытанием по 13.5.

14.17 Вилки и розетки, отличные от обычных, с кодом IP выше чем IP20, должны иметь кабельный ввод с эластичным уплотнением или аналогичное устройство.

Вилки и розетки, отличные от обычных, с кодом IP выше чем IP20, должны быть полностью уплотнены, когда к ним присоединен гибкий кабель или шнур как для нормальной эксплуатации.

Переносные розетки, отличные от обычных с кодом IP выше чем IP20, должны быть уплотнены даже без вставленной вилки.

Пружины крышек, при их наличии, должны быть изготовлены из коррозиеустойчивого материала, такого как бронза или нержавеющая сталь.

Проверку проводят визуальным осмотром и испытанием по 16.2.

Примечание - Полное уплотнение розетки без вставленной вилки обеспечивается подпружинной крышкой. Это требование не подразумевает, что подпружинная крышка, при ее наличии, или отверстия для входа штырей должны быть закрытыми, когда вилка вставлена, при условии, что выдерживаются испытания на защиту от проникновения воды.

14.18 Конструкция переносных розеток, имеющих устройство для подвески их на стене или другой монтажной поверхности, должна обеспечивать невозможность прикосновения этих устройств к токоведущим частям розетки, и отдельные неполадки с этим устройством во время испытаний не должны влиять на токоведущие части.

Не допускаются свободные отверстия между пространством, предназначенным для средств подвески, с помощью которых крепится розетка к стене, и токоведущими деталями.

Проверку проводят визуальным осмотром и испытанием по 24.11 - 24.13.

14.19 Вилки и розетки, имеющие прерыватель тока (выключатели, автоматические выключатели или другие устройства), должны соответствовать требованиям соответствующих стандартов, если таковые имеются.

Проверку проводят по соответствующим стандартам.

Примечание - Например, для комбинации вилок и розеток с переносным устройством защитного отключения бытового и аналогичного назначения (см. ГОСТ Р 51328).

14.20 Конструкция переносных розеток должна обеспечивать невозможность встраивания их в патроны для ламп.

Проверку проводят визуальным осмотром.

14.21 Вилки, классифицируемые исключительно как вилки для приборов класса защиты II, должны быть опрессоваными.

Если они являются элементом удлинительного шнура, то последний должен иметь приборную розетку, предназначенную для присоединения к системе питания приборов класса II.

Если вилки опрессованы с удлинительным шнуром, то последний должен использоваться с переносной розеткой класса защиты II.

Примечание - Вилки для приборов класса защиты II могут быть опрессованными или разборными.

Проверку проводят визуальным осмотром.

14.22 Встроенные в соединители выключатели и предохранители должны отвечать требованиям соответствующих стандартов.

Проверку проводят визуальным осмотром и, если необходимо, испытаниями встроенных элементов по соответствующему стандарту.

14.23 Если вилка является составной частью прибора, то последний не должен допускать перегрев ее штырей или значительную механическую перегрузку стационарных розеток.

Примечание 1 - Примерами таких приборов являются электрическая бритва и фонарь с автономным источником питания.

Вилки на номинальный ток выше 16 А не должны являться составной частью приборов. Двухполюсные вилки с заземляющим контактом или без него на номинальный ток до 16 А и напряжение 250 В включительно проверяют испытаниям по 14.23.1 и 14.23.2.

Примечание 2 - Для вилок иных типов испытания разрабатываются.

14.23.1 Вилку являющаяся встроенной частью прибора, вставляют в стационарную розетку, отвечающую требованиям настоящего стандарта. Розетка должна быть присоединена к сети напряжением, соответствующим наибольшему номинального напряжения прибора.

По истечении 1 ч температура перегрева штырей вилки прибора не должна превышать 45 °С.

14.23.2 Стационарную розетку, соответствующую настоящему стандарту с включенным в нее прибором, следует вращать вокруг горизонтальной оси, проходящей через гнездовые контакты на расстоянии 8 мм за рабочей поверхностью розетки и параллельно этой рабочей поверхности.

Дополнительный крутящий момент, который прилагают к розетке со вставленным в нее прибором для удержания ее рабочей поверхности в вертикальной плоскости, должен быть не более 0,25 Н × м.

14.24 Вилка должна иметь такую форму и быть изготовлена из такого материала, чтобы ее легко и удобно можно было извлечь рукой из соответствующей розетки.

Кроме того, поверхность захвата должна быть такой, чтобы вилку можно было извлечь из розетки, не натягивая при этом кабель или шнур.

Проверку проводят визуальным осмотром и в случае сомнения испытанием.

Примечание - Примеры испытаний приведены в приложении С.

14.25 Для диафрагм вводных отверстий применимы требования по 13.24 и 13.25.

15 Сблокированные розетки

Конструкция розетки, сблокированной с выключателем, должна исключать введение вилки в розетку или ее выведение из розетки в то время, когда контактные гильзы находятся под напряжением, и подачу напряжения на контактные гильзы до тех пор, пока вилка не будет полностью введена в розетку.

Проверку проводят визуальным осмотром и испытанием вручную.

Примечание - Другие требования по испытаниям по ГОСТ Р 51322.2.6.

16 Устойчивость к старению, защита от проникновения воды и влагостойкость

16.1 Устойчивость к старению

Соединители должны быть устойчивыми к старению.

Детали, предназначенные только для декоративных целей, например крышки, следует снять перед испытанием.

Проверку проводят следующим испытанием.

Соединители, смонтированные как для нормальной эксплуатации, испытывают на старение в атмосфере, имеющей такой же состав и давление, что и окружающий воздух.

Образцы свободно подвешиваются в тепловой камере, вентилируемой за счет естественной циркуляции воздуха.

Соединители, отличные от обычных, с кодом IP выше чем IРХ0, испытывают после монтажа и сборки, как указано в 16.2.

Для переносных розеток испытательной вилкой проводят испытания, как указано в разделе 20.

Для соединителей, имеющих крышки, испытательную вилку применяют после вставления закрывающей крышки.

Для переносных розеток обжимающее контактное давление гнездовых контактов розетки определяют по 22.2. При этом испытательная вилка-шаблон не должна выпадать из гнезд розетки в течение 30 с.

Температуру в тепловой камере доводят до (70 ± 2) °С.

Образцы выдерживают в тепловой камере 7 сут (168 ч).

Рекомендуется использовать электрическую тепловую камеру.

Естественная циркуляция воздуха обеспечивается отверстиями в стенках камеры. После нагрева и необходимой выдержки при этой температуре образцы извлекают из камеры и выдерживают при комнатной температуре и относительной влажности от 45 % до 55 % по крайней мере 4 сут (96 ч).

При проверке образцы не должны иметь трещин, видимых невооруженным глазом, при этом материал вилки не должен быть вязким или жирным, что оценивают следующим испытанием:

- указательным пальцем, обмотанным куском сухой грубой ткани, надавливают на испытуемый образец силой примерно 5 Н;

- на испытуемом образце не должно оставаться следов ткани и сама ткань не должна прилипать к нему;

- после испытаний образец не должен иметь повреждений, которые могли бы вызвать несоответствие его настоящему стандарту.

Примечание - Силу примерно 5 Н достигают следующим образом:

- испытуемый образец помещают на чашу весов, а другую чашу нагружают грузом, равным массе образца плюс 500 г;

- восстанавливая равновесие чашек весов нажатием на испытуемый образец указательным пальцем, обмотанным в сухую грубую ткань, получают необходимое усилие.

16.2 Защита от проникновения воды

Корпуса соединителей должны иметь защиту от проникновения внешних неблагоприятных факторов, таких как твердые частицы и вода, в соответствии с классификацией по кодам IP.

Проверку проводят испытанием по 16.2.1 и 16.2.2.

16.2.1 Защита от проникновения к токоведущим частям твердых внешних частиц

Корпуса соединителей должны иметь защиту от проникновения к токоведущим частям и против доступа внешних твердых частиц.

Розетки монтируют на испытательной вертикальной поверхности. Розетки для скрытой и полускрытой установки укрепляют в соответствующей монтажной коробке согласно инструкции изготовителя.

Розетки снабжают ввинчивающимися сальниками или мембранами, соединительными кабелями, которые должны соответствовать таблице 3.

Сальники завинчивают с приложением крутящего момента, равного 2/3 применяемого при испытаниях по 24.6.

Винты, крепящие корпус или крышку, затягивают с приложением крутящего момента, равного 2/3 значений, указанных в таблице 6.

Детали, снимаемые без помощи инструмента, должны быть сняты.

Если образец с таким оснащением выдержал испытание, то такая комбинация принимается в качестве основной.

Примечание - Сальники не устанавливают с помощью герметика.

16.2.1.1 Защита против доступа к токоведущим частям

Испытания проводят в соответствии с ГОСТ 14254 (см. раздел 10).

16.2.1.2 Защита от доступа внешних твердых частиц

Испытания проводят согласно ГОСТ 14254.

Для соединителя с цифрой 5, как первой характеристикой, соответствующей второй категории, пыль не должна проникать в количестве, ухудшающем работоспособность и снижающем безопасность.

Испытательные пробники не применяют к сливным отверстиям.

16.2.2 Защита против неблагоприятного воздействия воды

Соединители и их комплектация должны быть защищены от неблагоприятного воздействия воды в соответствии с классификацией по кодам IP.

Проверку проводят испытаниями в соответствии с ГОСТ 14254 при условиях, указанных ниже.

Розетки для скрытой и полускрытой установки укрепляют на вертикальной стене в месте их использования в соответствующей монтажной коробке согласно инструкции предприятия-изготовителя

Если в инструкции изготовителя не указан другой тип испытательной стены, то используют стену согласно рисунку 15.

Испытательная стена изготовлена из кирпичей, имеющих гладкую поверхность.

Монтажную коробку, размещенную в стене, устанавливают вплотную к стене так, чтобы вода не могла просочиться между коробкой и стеной.

Примечание 1 - При использовании герметика для монтажа коробки в стену необходимо обратить внимание на то, чтобы герметик не влиял на изолирующие свойства образца.

Примечание 2 - На рисунке 15 показан пример того, как грани монтажной коробки установлены в соответствующей плоскости. Другие положения возможны согласно инструкции изготовителя.

Испытания проводят в вертикальной плоскости.

Стационарные розетки от крытого типа монтируют как при нормальной эксплуатации и снабжают кабелями с наибольшим и наименьшим сечением согласно таблице 3, как адекватными их номинальному значению.

Переносные розетки испытывают в горизонтальной плоскости как при нормальной эксплуатации, так чтобы не было натяжения гибкого кабеля. Розетки снабжают гибкими кабелями согласно таблице 17, имеющими проводники наименьшего и наибольшего сечения согласно таблице 3, как адекватные их номинальному значению.

Винты, крепящие корпус или крышку, затягивают с приложением крутящего момента, равного 2/3 значений, указанных в таблице 6.

Уплотнительные элементы затягивают с приложением крутящего момента, равного 2/3 значений, указанных в 24.6.

Примечание 3 - Сальники не устанавливают с применением герметика или ему подобного.

Детали, снимаемые без помощи инструмента, должны быть сняты.

Во время испытания розетки со степенью защиты IP меньше чем IPX5 она должна иметь такую конструкцию со сливными отверстиями, чтобы одно отверстие было открыто в самом нижнем положении при нормальном использовании. Если корпус розетки имеет степень защиты IP выше чем IPX5, то при конструкции со сливными отверстиями, они должны быть открыты. Во время испытаний дренажное отверстие должно быть закрыто.

Вилки испытывают полностью вставленными сначала в стационарные, а затем в переносные розетки такой же системы и с той же степенью защиты от воды, как они определены в системе.

Необходимо при испытании соблюдать осторожность, чтобы не повредить соединитель (сотрясением или постукиванием), что влияет на результаты испытаний.

При наличии дренажного отверстия у соединителя, что определяется визуальным осмотром, необходимо обеспечить слив воды без нарушении работоспособности соединителя.

Образцы должны выдержать испытания на электрическую прочность изоляции согласно 17.2 спустя 5 мин после завершения испытаний по этому пункту.

16.3 Влагостойкость

Соединители должны быть устойчивы к воздействию влаги, которая может быть при их нормальной эксплуатации.

Проверку проводят непосредственно до измерения сопротивления изоляции и испытания на электрическую прочность по разделу 17.

Вводные отверстия в корпусе, если таковые имеются, оставляют открытыми.

Снимаемые без применения инструмента детали, снимают и подвергают проверке вместе с основной частью. Подпружиненные крышки во время проверки должны быть открытыми.

Испытуемые образцы помещают в камеру влажности.

Проверку проводят при относительной влажности воздуха от 91 % до 95 %. Температуру воздуха t поддерживают в пределах от 20 °С до 30 °С с точностью до ±1 K.

Перед помещением в камеру влажности испытуемые образцы доводят до температуры от t до (t + 4) °С.

Образцы выдерживают в камере влажности:

48 ч - для обычных вилок и розеток, имеющих код IP - IРХ0;

168 ч - для вилок и розеток, отличных от обычных, имеющих код IP выше чем IРХ0.

Примечание 1 - Выдержка образцов в камере должна заканчиваться не менее чем за 4 ч до проверки влагостойкости.

Примечание 2 - Относительная влажность воздуха от 91 % до 95 % может быть получена помещением в камеру влажности насыщенного раствора сульфата натрия (Na2SO4) или нитрата калия (KNO3) в воде, имеющих достаточно большую площадь соприкосновения с воздухом.

Примечание 3 - Для достижения нужных условий необходимо обеспечить постоянную циркуляцию воздуха в камере и использовать камеру с термоизоляцией.

После испытания образцы должны соответствовать требованиям настоящего стандарта.

17 Сопротивление и электрическая прочность изоляции

Сопротивление изоляции и электрическая прочность изоляции соединителей должны соответствовать нормируемым значениям.

Проверку проводят следующим испытанием непосредственно после испытаний по 16.3 в камере влажности или помещении, в котором испытуемые образцы доводят до указанной температуры после установки частей, снимаемых без применения инструмента, которые снимались во время других испытаний.

17.1 Сопротивление изоляции измеряют при напряжении постоянного тока приблизительно 500 В.

Показания снимают по истечении 1 мин после приложения напряжения. Сопротивление изоляции должно быть не менее 5 МОм.

17.1.1 Сопротивление изоляции для розеток измеряется последовательно между:

a) всеми полюсами, соединенными вместе, и корпусом при вставленной вилке;

b) каждым полюсом поочередно и всеми остальными полюсами, соединенными с корпусом, при вставленной вилке;

c) металлическим корпусом и металлической фольгой, соприкасающейся с внутренней поверхностью изолирующей прокладки, если таковая имеется.

Примечание 1 - Это испытание проводят, если прокладка необходима для обеспечения изоляции;

d) любой металлической частью узла крепления шнура, включая зажимные винты, и заземляющими контактными зажимами или заземляющим контактом, при их наличии;

e) любой металлической частью узла крепления шнура переносных розеток и металлического штыря с тем же диаметром, вставленного вместо провода (см. таблицу 17).

Под термином «корпус», применяемым в перечислениях а) и b), понимают все доступные металлические части, металлическую арматуру для крепления основных розеток для скрытой установки, металлическую фольгу, соприкасающуюся с внешней стороной наружных частей из изоляционного материала, крепежные винты оснований, крышки и накладки, наружные сборочные винты и заземляющие зажимы или контакты.

Примечание 2 - Измерения, указанные в перечислениях с), d) и е), не проводят на опрессованных переносных розетках.

Примечание 3 - При установке металлической фольги на наружную поверхность или внутреннюю часть изолирующих деталей ее прижимают к отверстиям или углублениям без чрезмерного усилия с помощью прямого испытательного щупа, имеющего те же размеры, что и стандартный испытательный палец по ГОСТ Р МЭК 61032.

17.1.2 Сопротивление изоляции вилок измеряют последовательно между:

a) всеми соединенными вместе полюсами и корпусом;

b) каждым полюсом поочередно и всеми остальными полюсами, соединенными с корпусом;

c) любой металлической частью узла крепления шнура, включая зажимные винты, и заземляющим зажимом или контактом при их наличии;

d) любой металлической частью узла крепления шнура или металлического штыря с тем же диаметром, вставленного вместо провода или шнура (см. таблицу 17).

Под термином «корпус», используемом в перечислениях а) и b), понимаются все доступные металлические части, наружные крепежные винты, заземляющие зажимы и контакты, а также металлическая фольга, соприкасающаяся с внешней поверхностью наружных частей из изоляционного материала, за исключением рабочей поверхности.

Примечание 1 - Измерения, указанные в перечислениях с) и d), не проводят на опрессованных вилках.

Примечание 2 - При установке металлической фольги на наружную поверхность или на внутреннюю часть изолирующих деталей ее прижимают к отверстиям или углублениям без чрезмерного усилия с помощью прямого испытательного пальца, имеющего те же размеры, что и стандартный палец по ГОСТ Р МЭК 61032.

17.2 Напряжение синусоидальной формы частотой 50 или 60 Гц прикладывают в течение 1 мин между частями, указанными в 17.1.

Испытательное напряжение должно быть:

1250 В - для соединителей на номинальное напряжение до 130 В включительно;

2000 В - для соединителей на номинальное напряжение свыше 130 В. Вначале прилагают менее половины указанного напряжения, а затем его резко и быстро доводят до указанного.

В процессе испытания не должно быть пробоев и коротких замыканий.

Примечание 1 - Трансформатор высокого напряжения, используемый для испытания, должен иметь такую конструкцию, чтобы при коротко замкнутых выходных контактных зажимах и при установленном выходном испытательном напряжении требуемой величины выходной ток был не менее 200 мА.

Примечание 2 - Реле не должно срабатывать при выходном токе менее 100 мА.

Примечание 3 - Рабочее значение испытательного напряжения должно измеряться с точностью ± 3 %.

Примечание 4 - Тлеющие разряды без падения напряжения не учитывают.

18 Работа заземляющего контакта

Заземляющие контакты должны обеспечивать достаточное контактное нажатие и не должны подвергаться износу при нормальных условиях эксплуатации.

Проверку проводят испытанием по разделам 19 и 21.

19 Превышение температуры

Соединители должны иметь такую конструкцию, которая обеспечивает нормируемое превышение температуры при испытаниях.

Опрессованные соединители испытывают в состоянии изготовления.

Разборные соединители испытывают с присоединенным проводом с поливинилхлоридной изоляцией с номинальным сечением, указанным в таблице 15.

Таблица 15 - Токи и сечения медных проводников при испытании на превышение температуры

Номинальный ток соединителя, А

Номинальное сечение, мм2

Гибкие провода для переносных соединителей

Жесткие однопроволочные или многопроволочные провода для стационарных соединителей

До 10

1,0

1,5

Св. 10 » 16

1,5

2,5

» 16

4,0

6,0

Винты и гайки контактных зажимов затягивают с приложением крутящего момента, равного 2/3 значения, указанного в 12.2.8.

Примечание 1 - Для обеспечения нормального охлаждения контактных зажимов провод, присоединенный к ним, должен иметь длину 1 м.

Соединители для скрытой проводки монтируют в монтажных коробках. Соединитель в коробке помещают в испытательный блок, изготовленный из массива сосны. Пространство вокруг коробки заполняют штукатуркой так, чтобы передняя часть соединения не выступала более чем на 5 мм относительно передней поверхности испытательного блока.

Примечание 2 - Испытательный блок после его изготовления должен высушиваться в естественных условиях не менее 7 сут.

Испытательный блок должен передней частью выступать не менее чем на 25 мм за слой штукатурки толщиной от 10 до 15 мм, покрывающей коробку с соединителем с боковых, верхней, нижней и тыльной сторон.

Примечание 3 - Внутренние боковые полости испытательного блока могут иметь цилиндрическую форму.

Кабель, присоединенный к розетке, должен проходить через крышку коробки, причем места входа должны быть изолированы, чтобы предотвратить циркуляцию воздуха. Длина каждого проводника в пределах коробки должна быть (80 ± 10) мм.

Розетки для открытой установки должны быть смонтированы в центре деревянного блока с размерами: 20,0 мм - ширина, 500 мм - длина, 500 мм - толщина (высота).

Розетки других типов должны устанавливаться в соответствии с инструкцией изготовителя или, при ее отсутствии, в положении как при нормальной эксплуатации, но в наиболее неблагоприятных условиях.

Испытательное устройство используют в условиях окружающей среды, без сквозняков.

Розетки испытывают, используя испытательную вилку с латунными (медными) штырями, имеющую минимальные нормируемые размеры.

При испытании превышение температуры измеряют на зажимах.

Вилки испытывают в центре плоского деревянного бокса толщиной 20 мм, шириной 500 мм и высотой 500 мм.

Вилки испытывают следующим образом.

Измерительный элемент, размеры которого показаны на рисунке 44, оснащают термопарой. Затем его закрепляют на каждом винте зажима питающего провода и винте зажима цепи заземления, если таковые имеются. Винт измерительного элемента расположен в середине неизолированной части шпильки и закручен с приложением крутящего момента 0,8 Н × м.

Переменный ток пропускают в течение 1 ч, его значение определяют по таблице 20.

Вилки, имеющие жесткие и упругие заземляющие контакты, испытывают, используя розетки, соответствующие настоящему стандарту и имеющие средние характеристики из числа отобранных, но с заземляющим штырем, имеющим минимальные размеры.

Примечание 4 - При испытании должны соблюдаться требования защиты от поражения электрическим током.

В соединителях, имеющих три и более полюсов, ток во время испытания должен проходить по фазным контактам. Кроме того, проводят отдельные испытания, подключив к току нейтральный контакт, если таковой имеется, через соседний фазный контакт; затем заземляющий контакт, если таковой имеется, также через соседний фазный контакт. При данном испытании заземляющие контакты, независимо от их числа, считают одним полюсом.

Для многоместных розеток испытание проводят на одной розетке каждого типа и текущего номинального значения тока и напряжения.

Температуру определяют с помощью термопар, которые подбирают и устанавливают так, чтобы они оказывали минимальное влияние на тепловой режим образцов.

Превышение температуры на контактных зажимах должно быть не более 45 К.

Примечание 5 - При испытании по 25.3 должно быть также определено превышение температуры на внешней стороне изолирующих деталей, не служащих для крепления токоведущих частей и частей заземляющей цепи, даже если они находятся с ними в контакте.

Примечание 6 - Если соединители имеют реостаты, плавкие предохранители, выключатели, регуляторы мощности и т. п., эти элементы следует накоротко замкнуть при этом испытании.

20 Отключающая способность

Соединители должны иметь соответствующую отключающую способность.

Проверку проводят испытанием розеток и вилок с полыми трубчатыми штырями с помощью установки, показанной на рисунке 16.

Разборные соединители снабжают проводом, как это указано в разделе 19.

Примечание 1 - Пересмотр испытательного устройства, показанного на рисунке А.16, находится на рассмотрении.

Примечание 2 - В случае выхода из строя шторок испытания розеток со шторками продолжают вручную.

Розетки испытывают, используя испытательные вилки с латунными штырями, имеющими изолированную часть, причем штыри должны быть максимальных размеров из указанных с допуском минус 0,06 мм и номинальное межосевое расстояние с допуском плюс 0,05 мм. Размеры изолированной части штыря не должны выходить за пределы допусков соответствующих стандартов по ГОСТ 7396.1.

Примечание 3 - Изолированная часть штырей не важна для этого испытания при условии, что они соответствуют определенному стандарту.

Примечание 4 - Требования к механическим свойствам, термообработке и твердости латуни CuZn39Pb2-M для штырей вилок - по ИСО 1639 [4].

Концы круглых штырей должны быть скругленными.

Вилки испытывают с помощью стационарной розетки, соответствующей требованиям настоящего стандарта и имеющей усредненные характеристики из числа отобранных.

Примечание 5 - Штыри испытательной вилки перед началом испытаний должны быть в хорошем состоянии.

Для испытаний соединителей с номинальным напряжением до 250 В включительно и токами до 16 А включительно длина хода подвижной части установки должна быть от 50 до 60 мм.

Примечание 6 - Длина хода (перемещение) для соединителей с другими номинальными значениями напряжения и тока разрабатываются.

Вилку в розетку вставляют и вынимают из нее в течение 50 циклов (100 движений или раз) с частотой:

- 30 раз в 1 мин - для соединителей на номинальный ток до 16 А включительно и номинальное напряжение до 250 В включительно;

- 15 раз в 1 мин для соединителей, рассчитанных на другие номинальные значения тока и напряжения.

Примечание 7 - Движением считают включение или отключение вилки.

Испытательное напряжение устанавливают 1,1 номинального значения напряжения, а испытательный ток - 1,25 номинального тока.

Время с момента вставления вилки в розетку (при прохождении испытательного тока) до ее отключения должно быть:

- для соединителей до 16 А включительно - 1,50+0,5 с;

- для соединителей свыше 16 А - 3,00+0,5 с.

Соединители испытывают переменным током в цепях с коэффициентом мощности cosφ = 0,6 ± 0,05.

Ток не должен пропускаться через заземляющую цепь при ее наличии.

Схема соединения при испытаниях приведена на рисунке 17.

Двухполюсные соединители с нейтральным контактом (2P + N и 2P + N + )присоединяют к двум фазам и нейтрали трехфазной электрической сети.

Не допускается параллельное присоединение активных и индуктивных сопротивлений, за исключением случаев, когда при применении индуктивного сопротивления без стального сердечника параллельно ему присоединяют активное сопротивление, забирающее приблизительно 1 % тока, проходящего через индуктивность.

Допускается применение индуктивностей со стальным сердечником, при условии, что ток имеет синусоидальную форму.

При испытании трех полюсных соединителей следует использовать индуктивности с тремя сердечниками.

В двухполюсных соединителях доступные металлические части, металлическую опору и металлическую арматуру для крепления основания розеток при скрытой установке присоединяют через селекторный выключатель С к одному из полюсов источника питания для одной половины нормируемых испытательных циклов и к другому полюсу - для другой половины циклов.

Для трех полюсных соединителей их присоединяют поочередно к каждой клемме источника для 1/3 общего нормируемого количества циклов.

Для многоместных розеток и удлинителей испытание проводят при номинальном токе на одной розетке.

Во время испытаний не должно наблюдаться устойчивой электрической дуги.

После испытаний не должно быть повреждений образцов, препятствующих их дальнейшей работе, в частности отверстий для штырей, которые могут повлиять на их безопасность согласно требованиям настоящего стандарта.

21 Нормальная работа

Соединители должны выдерживать без повышенного износа или других неблагоприятных результатов механические, электрические и тепловые перегрузки, возникающие при их нормальной эксплуатации.

Проверку проводят испытанием розеток с упругими заземляющими контактными гильзами и вилок с полыми трубчатыми штырями с помощью установки, показанной на рисунке 16, и методики, приведенной в разделе 20.

Примечание 1 - Внесение изменений в испытательную установку, приведенную на рисунке 16, находится в стадии рассмотрения.

Испытательные штыри (при испытаниях розеток) и стационарные розетки (при испытании вилок с полыми штырями и упругими заземляющими контактами) должны заменяться после 4500 и 9000 движений.

Программа испытаний приведена на рисунке 43.

Изготовитель должен указать пункт 1, 2 или 3 рисунка 43, с которого должна начинаться программа испытаний. Если изготовитель указывает на пункт 2 или 3, испытания начинают с использованием новых образцов, которые ранее испытывались по программе раздела 20 в условиях, требуемых к пунктам 2 или 3.

Розетки испытывают, используя испытательные вилки с латунными штырями, имеющих изолированную часть, причем штыри должны иметь максимальные размеры из указанных с допуском минус 0,06 мм и номинальное межосевое расстояние с допуском плюс 0,05 мм.

Размеры изолированной части штыря не должны выходить за пределы допусков соответствующих стандартных листов по ГОСТ 7396.1.

Примечание 2 - Форма штырей с изолированной частью не имеет значения при испытаниях при условии, что они соответствуют определенному стандарту.

Примечание 3 - Требования к механическим свойствам, термообработке и твердости латуни CuZn39Pb2-M для штырей вилок - по ИСО 1639 [4].

Состав материала должен быть однородным. Концы круглых штырей должны быть скругленными по сфере.

Вилки испытывают с помощью стационарной розетки, соответствующей требованиям настоящего стандарта и имеющей усредненные характеристики из числа отобранных образцов.

Примечание 4 - Штыри испытательной вилки перед началом испытаний должны быть в хорошем состоянии.

Образцы испытывают переменным током, указанным в таблице 20, в цепях с коэффициентом мощности cosφ = 0,8 ± 0,05 при номинальном напряжении.

Вилку вставляют в розетку и вынимают из розетки в течение 5000 циклов (10000 движений или раз) с частотой:

- 30 раз в 1 мин для соединителей на номинальный ток до 16 А включительно и номинальное напряжение до 250 В включительно;

- 15 раз в 1 мин для соединителей, рассчитанных на другие номинальные значения тока и напряжения.

Примечание 5 - Движением считают включение и отключение вилки.

Для соединителей на номинальные токи до 16 А включительно испытательный ток пропускают при каждом включении вилки.

Во всех других случаях номинальный ток пропускают через один испытательный цикл. Вилки вставляют и извлекают без токовой нагрузки.

Время с момента вставления вилки в розетку (при прохождении испытательного тока) до ее изъятия должно быть:

- для соединителей до 16 А включительно - 1,5+0,5 с.

- для соединителей более 16 А - 3+0,5 с.

Ток не пропускают через заземляющую цепь при ее наличии.

При испытании используют схему соединения, приведенную в разделе 20. Управление селекторным выключателем С также приводится в разделе 20.

Многоместные розетки испытывают при номинальном токе на розетке каждого типа.

Во время испытаний не должно наблюдаться устойчивой электрической дуги.

В результате испытания не должно быть:

- износа соединителей, препятствующих их дальнейшей работе;

- механического истирания корпуса, изоляционных прокладок или перегородок;

- повреждения вводных отверстий розеток для штырей вилок, которое препятствовало бы их дальнейшей работе;

- ослабление механических и электрических соединений;

- утечки заливочной массы.

Для проверки розеток со шторками следует использовать измерительный прибор, приведенный на рисунке 9, наконечником которого воздействуют на входные отверстия, соответствующие токоведущим контактам, с силой 20 Н последовательно в трех направлениях, не извлекая при этом наконечника после каждого движения. Затем воздействуют подобным прибором, показанным на рисунке 10, с измерительным наконечником другой формы в течение 5 с силой до 1 Н в трех направлениях с независимыми движениями, но уже вынимая наконечник после каждого движения. Измерительные наконечники калибров не должны касаться токоведущих деталей в процессе испытаний.

Электрический индикатор с рабочим напряжением не менее 40 В и не более 50 В применяют для выявления контакта между наконечником прибора и деталью соединителя.

После испытаний образцы должны соответствовать требованиям раздела 19 при испытательном токе по разделу 21, и превышение температуры для образцов в любой точке должно быть не более 45 °С. Испытуемые образцы должны также выдерживать испытание на электрическую прочность изоляции по 17.2, при этом испытательное напряжение должно быть 1500 В для соединителей на номинальное напряжение 250 и 1000 В - для соединителей на номинальное напряжение 130 В.

Примечание 6 - В этом случае образцы не обрабатывают в соответствии с 16.3 перед проверкой электрической прочности изоляции.

После испытаний по данному разделу проводят испытания по 13.2 и 14.2.

22 Усилие при разъеме штырей вилки с гнездами розетки

Конструкция соединителей должна обеспечивать легкое вставление и извлечение вилки из розетки, а также исключать ее самопроизвольное выпадение при нормальной эксплуатации.

В этом испытании упругие и неупругие заземляющие контакты считают, соответственно одним полюсом.

Примечание - Жесткий штырь, используемый в цепи заземления, не является упругим заземляющим контактом.

Соединители испытывают в разомкнутом положении.

Проверку розеток проводят с целью определения:

- максимального усилия, необходимого для разъема испытательной вилки с розеткой, которое должно быть не выше указанного в таблице 16;

- минимального усилия, необходимого для разъема испытательной вилки с розеткой, которое должно быть не ниже указанного в таблице 16.

Для вилок с боковыми упругими заземляющими контактами:

- максимального усилия, необходимого для разъема испытательной вилки с контактными гнездами цепи заземления розетки не выше указанного в таблице 16;

- минимального усилия, необходимого для разъема испытательной вилки с контактными гнездами цепи заземления розетки не ниже указанного в таблице 16.

22.1 Проверка максимального усилия разъема

22.1.1 Испытание для розеток

Розетки закрепляют в держателе монтажной плиты 1 установки, приведенной на рисунке 18, таким образом, чтобы, чтобы оси контактных гильз находились в вертикальной плоскости, а отверстия для штырей были ориентированы вниз.

Испытательные вилки должны иметь полированные штыри из закаленной стали с шероховатостью поверхности от 0,6 до 0,8 мкм на активной длине, а их межосевое расстояние должно быть с номинальным допуском ± 0,05 мм.

Диаметр круглых штырей и расстояние между контактными поверхностями для штырей иной формы должны иметь максимальные значения с допуском минус 0,01 мм.

Примечание 1 - Максимальным из указанных значений является номинальный размер с максимальным допуском.

Перед началом каждого испытания штыри обезжиривают, используя холодный химический обезжириватель, например бензин.

Примечание 2 - При использовании средств для обезжиривания должны быть приняты необходимые меры предосторожности.

Испытательную вилку, имеющую максимальные размеры штырей для соответствующего номинального тока, в течение 10 циклов вставляют в розетку и вынимают из нее. Затем вилку вновь вставляют в розетку, при этом опору 7 для основного груза 6 и дополнительного груза 5 крепят к ней захватом 4. Масса дополнительного груза должна обеспечивать силу, равную 1/10 максимальной нормируемой силы разъема, указанной в таблице 16.

Основной и дополнительные грузы с захватом, крепежным элементом и вилкой должны обеспечивать усилие, равное максимальному нормируемому усилию разъема вилки с розеткой по таблице 16.

Основной груз навешивают таким образом, чтобы не вызвать сотрясения вилки, а дополнительный груз с высоты 50 мм падает на основной груз.

Вилка не должна оставаться в розетке.

22.1.2 Испытание для вилок с упругими заземляющими контактами

Испытательный калибр вилки, приведенный на рисунке 19, оснащен упругими заземляющими контактами, в то время как оси контактных гильз розетки ориентированы в вертикальной плоскости, а отверстия для штырей были ориентированы вниз. Шаблон подвешивают снизу.

Штырь испытательного шаблона изготовлен из закаленной стали с шероховатостью поверхности от 0,6 до 0,8 мкм на его активной длине.

Диаметр круглого штыря калибра и расстояния между поверхностями контакта для штырей должны иметь максимальные значения с допуском минус 0,01 мм. Масса шаблона должна обеспечивать силу, равную максимальной нормируемой силе разъема, указанной в таблице 16.

Примечание 1 - Максимальным из указанных значений является номинальный размер с максимальным допуском.

Перед началом каждого испытания штыри обезжиривают.

Примечание 2 - При использовании средств для обезжиривания штырей должны быть приняты необходимые меры предосторожности от паров химического средства для обезжиривания.

Шаблон испытательной вилки, имеющий максимальные размеры штыря для соответствующего номинального тока, в течение 10 циклов плавно вставляют и вынимают из розетки. При дополнительном вставлении штыря шаблон не должен оставаться в гнездовом контакте розетки.

22.2 Проверка минимального усилия разъема

Испытательный калибр вилки, приведенный на рисунке 19, применяют для каждого индивидуального розеточного контакта при горизонтально расположенной розетке, ориентированной как в предыдущем испытании.

Влияние шторок на усилие разъема, при их наличии, необходимо исключить.

Испытательный калибр вилки должен быть изготовлен из закаленной стали с шероховатостью поверхности от 0,6 до 0,8 мкм на активной длине.

Штырь вилки-калибра должен иметь минимальные размеры поперечного сечения с допуском минус 0,01 мм и длину, достаточную для обеспечения контакта с розеткой. Общая масса калибра должна создавать усилие разъема, приведенное в таблице 16.

Если в розетку вставляют вилки со штырями других размеров, то они должны быть минимальными.

Примечание 1 - Минимальным из указанных значений является номинальный размер с минимальным допуском.

Перед началом каждого испытания штыри обезжиривают.

Примечание 2 - При использовании жидких средств для обезжиривания штырей должны быть приняты необходимые меры предосторожности.

Испытательный калибр вилки осторожно вставляют в розетку для определения минимальной силы разъема калибра вилки из розетки.

Испытательный калибр вилки не должен выпадать из гнездовых контактов розетки в течение 30 с.

Таблица 16 - Максимальная и минимальная сила разъема испытательного калибра вилки из розетки

Номинальный ток соединителей, А

Число полюсов

Усилие разъема вилки с розеткой, Н

Многоштыревой калибр, максимальная

Одиночный калибр, минимальная

Одиночный калибр, максимальнаяа)

До 10 А включ.

2

40,0

1,5

17,0

3

50,0

Св. 10 до 16 А включ.

2

50,0

2,0

18,0

3

54,0

Св. 3

70,0

Св. 16 до 32 А включ.

2

80,0

3,0

27,0

3

Св. 3

100,0

а) Усилие разъема указано для проверки упругости заземляющих контактов розетки.

23 Гибкие кабели, шнуры и их присоединение

23.1 Разборные вилки и разборные переносные розетки должны иметь устройства, предназначенные для защиты присоединяемых проводов и шнуров от натяжения и скручивания в месте присоединения к контактным зажимам или вводам, а их изоляция должна быть защищена от истирания.

Оболочка шнура, если таковая имеется, должна также зажиматься данным устройством.

Соответствие проверяют визуальным осмотром и испытанием по 23.2.

Для опрессованных вилок и опрессованных розеток должен быть очевидным способ защиты от натяжения и скручивания гибких проводов и шнуров. На оболочку шнура или кабеля также распространяется применяемый способ защиты.

Проверку проводят испытаниями по 23.2 и 23.4.

23.2 Эффективность устройства крепления провода или шнура проверяют следующим испытанием с использованием установки, приведенной на рисунке 20.

Опрессованные соединители испытывают с тем кабелем или шнуром, который у них имеется. Испытания проводят на новых образцах.

Разборные соединители испытывают с жилами кабеля наименьшего сечения, а затем с жилами кабеля наибольшего сечения из указанных в таблице 17.

Соединители, предназначенные для эксплуатации исключительно с плоским гибким кабелем, испытывают только с плоскими гибкими кабелями.

Жилы гибкого кабеля или шнура разборных соединителей присоединяют к контактным зажимам, винты контактных зажимов затягивают так, чтобы исключить возможность изменения положения провода.

Устройство крепления шнура используют, как обычно, его зажимные винты, если таковые имеются, затягивают крутящим моментом, равным 2/3 указанного в таблице 6.

После повторной сборки испытуемого образца его части должны быть хорошо подогнаны, и должна быть исключена возможность продвижения кабеля или шнура в образец сверх установленного предела.

Проверяемый образец устанавливают на испытательный прибор так, чтобы оси кабеля или шнура располагались вертикально в месте ввода их в образец.

Таблица 17 - Соотношение токов и структуры кабелей с жилами наименьшего и наибольшего сечений при испытании разборных соединителей

Номинальные токи и напряжения

Число полюсовb)

Тип кабеля или шнура по ГОСТ Р МЭК 60227-1

Число проводников и номинальные сечения, мм2

Наружные диаметры кабеля или шнура, мм

не менее

не более

От 6 до 10 А включ.

» 250 В »а)

2

60227 IEC 42

2´0,75

2,70´5,40

3,20´6,40

60227 IEC 53

2´0,75

3,80´6,00

5,20´7,60

От 6 до 10 А включ.

» 250 В »

2

60227 IEC 42

2´0,75

2,70´5,40

3,20´6,40

60227 IEC 53

2´1,00

6,40

8,00

3

60227 IEC 53

3´0,75

6,40

8,40

60227 IEC 53

3´1,00

Св. 10 до 16 А включ.

» 250 В »

2

60227 IEC 42

2´0,75

2,70´5,40

3,20´6,40

60227 IEC 53

2´1,50

7,40

9,00

3

60227 IEC 53

3´0,75

60227 IEC 53

3´1,50

6,40

9,80

16 А, свыше 250 В

3

60227 IEC 53

3´1,00

6,80

12,00

60227 IEC 53

3´2,50

4

60227 IEC 53

4´1,00

7,60

13,00

60227 IEC 53

4´2,50

5

60227 IEC 53

5´1,00

60227 IEC 53

5´2,50

8,30

14,00

Св. 16 А

до 440 В включ.

2

60227 IEC 53

2´2,50

8,90

11,00

60245 IEC 66

2´6,00

13,50

18,50

3

60227 IEC 53

3´2,50

9,60

12,00

60245 IEC 66

3´6,00

14,50

20,00

4

60227 IEC 53

4´2,50

10,50

13,00

60245 IEC 66

4´6,00

16,50

22,00

5

60227 IEC 53

5´2,50

11,50

14,00

60245 IEC 66

5´6,00

18,00

24,50

a) Исключительно для двухжильных проводов без общей оболочки.

b) Заземляющие контакты, независимо от их числа, считают одним полюсом.

Затем к кабелю или шнуру прикладывают 100 раз силу:

50 Н - для соединителей на номинальный ток 2,5 А;

60 Н - для соединителей на номинальный ток свыше 2,5 А, но не более 16 А и номинальное напряжение до 250 В включительно;

80 Н - для соединителей на номинальный ток свыше 2,5 А, но не более 16 А и номинальное напряжение свыше 250 В;

100 Н - для соединителей на номинальный ток свыше 16 А.

Силу прикладывают плавно без рывков, каждый раз в течение 1 с.

Сила должна прикладываться ко всем элементам (изоляция, оболочка, жила) гибкого кабеля или шнура одновременно.

Сразу же после этого гибкий кабель или шнур подвергают в течение 1 мин воздействию крутящего момента, указанного в таблице 18.

Таблица 18 - Соотношение токов, прилагаемых крутящих моментов при испытании гибких кабелей

Номинальный ток и напряжение вилок или переносных розеток

Крутящий момент, Н × м

Число жил´сечение, мм

2´0,5

2´0,75

3´0,5

3´0,75

(2 или более)´1

До 16 А и 250 В

0,1

0,15

0,15

0,25

0,25

От 16 А и свыше 250 В

-

-

-

-

0,35

Свыше 16 А

-

-

-

-

0,425

Вилки со шнуром, обернутым фольгой, не подвергают испытаниям крутящим моментом.

После испытаний кабель или шнур не должен смещаться более чем на 2 мм. В разборных соединителях жилы проводов не должны заметно смещаться в контактных зажимах. В опрессованных соединителях не должно быть разрывов в местах электрических соединений.

Для измерения продольного смещения перед началом испытания наносят метку на кабеле или шнуре на расстоянии примерно 20 мм от края образца или ограничителя шнура.

Если опрессованные соединители не имеют четкого края образца или ограничителя шнура, то на корпусе образца делают дополнительную метку. После испытания измеряют смещение метки на кабеле или шнуре относительно образца или ограничителя шнура, пока кабель или шнур еще находится под натяжением.

Кроме того, для разборных соединителей на номинальный ток до 16 А включительно необходимо проверить пробным монтажом пригодность присоединения к соединителям соответствующего кабеля согласно таблице 19.

23.3 К опрессованным вилкам и переносным розеткам присоединяют гибкий кабель или шнур по ГОСТ Р МЭК 60227 или ГОСТ Р МЭК 60245. Сечения проводов в зависимости от номинальных параметров соединителя приведены в таблице 20.

Примечание - В таблице 20 также указан испытательный ток для проверки превышения температуры и нормальной работы соединителей.

Гибкие кабели или шнуры должны иметь такое же число проводов, как и число полюсов у вилки или розетки. Заземляющие контакты, если таковые имеются, считают одним полюсом, независимо от их числа. Провод, присоединенный к заземляющему контакту, должен быть обозначен комбинацией желтого и зеленого цветов.

Проверку проводят визуальным осмотром, измерениями и испытанием гибкого кабеля или шнура по ГОСТ Р МЭК 60227 и ГОСТ Р МЭК 60245.

Таблица 19 - Соотношение между токами, числом полюсов и структурой проводников

Номинальные параметры соединителей

Число полюсовb)

Тип кабеля или шнура по ГОСТ Р МЭК 60227-1

Число проводов и номинальные сечения, мм2

Максимальные размеры для гибкого кабеля, мм

От 6 до 10 А включ.,

до 250 В включ.а)

2

60245 IEC 51

2´0,75

8,0

От 6 до 10 А включ.,

до 250 В включ.

2

60245 IEC 53

2´1,00

8,8

3

60245 IEC 53

3´1,00

9,2

От 10 до 16 А включ.,

до 250 В включ.

2

60245 IEC 53

2´1,50

10,5

3

60245 IEC 53

3´1,50

11,0

16 А, свыше 250 В

3

60245 IEC 53

3´2,50

13,0

4

60245 IEC 53

4´2,50

14,0

5

60245 IEC 53

5´2,50

15,5

a) Исключительно для двухжильных проводов без общей оболочки.

b) Заземляющие контакты, независимо от их числа, считают одним полюсом.

Таблица 20 - Соотношение между токами, сечением проводников и типами соединителей

Номинальный ток и напряжение соединителей

Разборные стационарные соединители

Разборные переносные соединители

Опрессованные переносные розетки

Опрессованные вилки

Испытательный ток, А

Испытательный ток, А

Сечение, мм2

Испытательный ток, А

Сечение, мм2

Испытательный ток, А

Раздел 19

Раздел 21

Раздел 19

Раздел 21

Раздел 19

Раздел 21

Раздел 19

Раздел 21

2,5 А

130/250 В

Фольга

1,00

1,00

0,50

2,50

2,50

-

-

-

-

-

-

-

0,75

4,00

2,50

1,00

4,00

2,50

6 А

130/250 В

Фольга

1,00

1,00

9,0

6,0

8,4

6,0

-

-

-

0,50

2,50

2,50

0,75

9,00

6,00

1,00

9,00

6,00

10 А

130/250 В

16,0

14,0

0,75

10,0

10,0

0,50

2,50

2,50

10,0

10,0

1,00

12,0

12,0

0,75

10,00

10,00

1,50

16,0

16,0

1,00

12,00

10,00

16 А

130/250 В

Фольга

1,00

1,00

16,0

1,00

12,0

12,0

0,50

2,50

2,50

22,0

20,0

16,0

1,50

16,0

16,0

0,75

10,00

10,00

1,00

12,00

12,00

1,50

16,00

16,00

16 А

130/250 В

Фольга

1,00

1,00

22,0

16,0

20,0

16,0

1,00а)

16,0

16,0

0,50

2,50

2,50

1,50

16,0

16,0

0,75

10,00

10,00

1,00

12,00

12,00

1,00а)

16,00

16,00

1,50

16,00

16,00

32 А

130/250/440 В

2,50

25,00

25,00

25

25

4,00

31,00

31,00

40,00

32,00

40,0

32,00

2,50

6,00

42,00

32,00

а) Кабели с поперечным сечением жилы 1 мм2 должны иметь длину не более 2 м.

Примечание 1 - Шнуры, обернутые фольгой, и шнуры сечением 0,5 мм2 можно применять длиной не более 2 м.

Примечание 2 - Опрессованные вилки и удлинители испытывают, как указано в соответствующих стандартах (настоящий стандарт - для вилок и ГОСТ Р 51325.1 - для приборных соединителей, причем каждый соединитель испытывают независимо от другого).

Примечание 3 - Испытательный ток для соединителей, имеющих иные номинальные токи, определяют интерполяцией между ближайшим наименьшим и наибольшим номинальными значениями, за исключением раздела 19 для испытательных токов для разборных соединителей, которые должны быть следующими:

- для 1п £ 10 А испытательный ток = 1,4 1п,

- для 1п ³ 10 А испытательный ток = 1,25 1п.

23.4 Конструкция опрессованных вилок и опрессованных переносных розеток должна обеспечивать защиту гибкого кабеля или шнура от чрезмерных изгибов на вводе в соединитель.

Предназначенное для этого ограничительное устройство должно быть из изолирующего материала и надежно укрепляться

Примечание 1 - Спиральные металлические пружины непокрытые или с изолирующим покрытием не должны использоваться в качестве ограничительного устройства.

Проверку проводят визуальным осмотром и испытанием на изгиб с помощью прибора, приведенного на рисунке 21.

Испытания проводят на новых образцах.

Испытуемый образец укрепляют на приборе так, чтобы ось гибкого кабеля или шнура на вводе в образец располагалась вертикально, когда образец находится в середине амплитуды качания (на оси испытательного прибора).

Испытуемые образцы с плоским шнуром монтируют так, чтобы главная ось шнура была параллельна оси испытательного прибора.

Соединитель закрепляют в испытательном приборе следующим образом:

- вилку - на штырях;

- переносную розетку - на расстоянии от 4 до 5 мм (временные значения) от рабочей поверхности по направлению к шнуру. Испытательная вилка, имеющая максимальные размеры, должна в процессе испытания вставляться в переносную розетку.

Изменяя расстояние между неподвижной частью прибора и его осью, соединитель располагают так, чтобы кабель или шнур совершал минимальные горизонтальные движения, когда прибор качается по полной амплитуде.

Примечание 2 - Для определения опытным путем монтажного положения шнура с минимальным горизонтальным движением в процессе испытания прибор выполняют таким образом, чтобы опорные части для соединителей, устанавливаемых на прибор, могли легко регулироваться.

Примечание 3 - Рекомендуются приспособления (например, прорезь или штыри), позволяющие наблюдать, совершает ли шнур минимальные горизонтальные движения.

К кабелю или шнуру прикладывают силу:

20 Н - для соединителей с кабелем или шнуром номинальным сечением более 0,75 мм2;

10 Н - для соединителей с кабелем или шнуром номинальным сечением 0,75 мм2 и менее.

Через провод (шнур, кабель) пропускают ток, равный номинальному току соединителя, или один из следующих минимальных:

16 А - для соединителей с кабелем или шнуром номинальным сечением более 0,75 мм2;

10 А - для соединителей с шнуром номинальным сечением 0,75 мм2;

2,5 А - для соединителей со шнуром номинальным сечением менее 0,75 мм2.

Напряжение между проводами должно быть равно номинальному напряжению испытуемого образца.

Качающаяся часть должна иметь угол отклонения от 90° до 45° в каждую сторону от вертикали: число изгибов 10000 при скорости 60 изгибов в 1 мин.

Примечание 4 - Изгиб - это одно движение вправо или влево.

После 5000 изгибов испытуемые образцы с кабелем или шнуром круглого сечения проворачивают на 90° в качающейся части. Образцы с плоским шнуром изгибают только в направлении, перпендикулярном оси провода.

В процессе испытания на изгиб не должны иметь место:

- прерывание тока;

- короткое замыкание между жилами проводов.

Примечание 5 - Короткое замыкание между жилами гибкого кабеля или шнура считают тогда, когда ток возрастает более чем в два раза относительно испытательного тока соединителя.

Падение напряжения между каждым контактом и соответствующим проводом при значении испытательного тока, указанном в разделе 21, должно быть не более 10 мВ.

После испытания ограничительное устройство, если таковое имеется, не должно отделяться от основания, а изоляция гибкого кабеля или шнура не должна иметь следов износа или потертостей. Сломанный провод многопроволочной жилы не должен прокалывать изоляцию, становясь тем самым доступным для прикосновения.

24 Механическая прочность

Соединители, выступающие монтажные коробки и ввинчиваемые уплотнения должны иметь соответствующую механическую прочность для того, чтобы выдерживать нагрузки, возникающие в процессе монтажа и эксплуатации.

Проверку механической прочности проводят соответствующим испытанием по 24.1 - 24.13 следующим образом:

- для всех видов стационарных розеток - по 24.1;

- для стационарных розеток, предназначенных для открытой установки, - по 24.3;

- для переносных одноместных розеток:

- с корпусами, крышками или основаниями не из эластомерика или термопластика - по 24.2;

- с корпусами, крышками или основаниями из эластомерика или термопластика - по 24.2, 24.4 и 24.5;

- для удлинителей:

- с корпусами, крышками или основаниями не из термопластика или эластомерика - по 24.1 и 24.9;

- с корпусами, крышками или основаниями из эластомерика или термопластика - по 24.1, 24.4 и 24.9;

- для вилок:

- с корпусами, крышками или основаниями не из эластомерика или термопластика - по 24.2 и 24.10;

- с корпусами, крышками или основаниями из эластомерика или термопластика - по 24.2, 24.4, 24.5 и 24.10;

- для ввинчиваемых уплотнителей соединителей, отличных от обычных, с кодом IP выше чем IР20 - по 24.6;

- для штырей вилок с частично опрессованной изоляционной частью - по 24.7;

- для розеток со шторками - по 24.8;

- для монтажных коробок открытой установки - по 24.1;

- для переносных розеток со средствами подвески на стене - по 24.11, 24.12 и 24.13.

- для переносных розеток с защитным кожухом - по 24.19.

24.1 Испытуемые образцы подвергают ударам с помощью испытательной установки, приведенной на рисунках 22 - 25.

Ударный элемент имеет полусферическую поверхность радиусом (10 ± 1) мм и изготовлен из полиамида, имеющего твердость по Роквеллу от 85 до 100 HR и массу (150 ± 1) г.

Он жестко закреплен в нижней части стальной трубки наружным диаметром 9 мм и с толщиной стенок 0,5 мм, которая на шарнирах укреплена в верхней части таким образом, что он может колебаться только в вертикальной плоскости.

Ось вращения расположена на расстоянии (1000 ± 1) мм от оси ударного элемента.

Твердость по Роквеллу полиамидного бойка определяют с помощью шарика диаметром (12,7000 ± 0,0025) мм с первоначальной нагрузкой (100 ± 2) Н и дополнительной нагрузкой (500 ± 2,5) Н.

Примечание 1 - Дополнительная информация по определению твердости по Роквеллу пластических материалов приведена в ГОСТ 24622.

Конструкцией установки должна быть предусмотрена возможность удержания ударного элемента в горизонтальном положении в случае приложения силы от 1,9 до 2,0 Н.

Испытуемый образец устанавливают на квадратном листе фанеры со стороной размером 175 мм и толщиной 8 мм, который в верхнем и нижнем углах крепят к жестким кронштейнам, являющимися частями основания монтажного устройства.

Монтажное основание должно иметь массу, равную (10 ± 1) кг и монтироваться на жесткой раме с помощью шарниров. Раму крепят к прочной стене.

Конструкцией установки должна быть предусмотрена возможность:

- размещения проверяемого образца так, чтобы точка удара лежала в вертикальной плоскости по оси шарнира;

- движения проверяемого образца в горизонтальном направлении и вращение его вокруг оси, перпендикулярной к поверхности фанерного листа;

- вращения фанерного листа вокруг вертикальной оси в оба направления.

Розетки для открытой установки, удлинители и монтажные коробки устанавливают на листе фанеры как при нормальной эксплуатации.

Вводные отверстия соединителей под провод, которые не имеют пробиваемых диафрагм, оставляют открытыми. Если имеются пробиваемые диафрагмы, то одну из них пробивают.

Розетки для скрытой установки устанавливают в углубление бруска из граба или аналогичного материала, который крепят к листу фанеры, а нее монтажную коробку.

При использовании деревянных брусков направление волокон древесного волокна должно быть перпендикулярно к направлению удара.

Розетку для открытой установки с винтовым креплением следует крепить винтами к кронштейнам, утопленным в бруске. Аналогичные розетки с креплением с помощью распорных лапок с зубцами крепят к бруску с помощью заостренных зубцов.

Перед испытанием на удар крепежные винты затягивают с приложением крутящего момента, равного 2/3 соответствующего значения, указанного в таблице 6.

Испытуемые образцы устанавливают так, чтобы точка нанесения удара лежала в вертикальной плоскости, проходящей через ось шарнира.

Ударный элемент должен падать с высоты, указанной в таблице 21.

Таблица 21 - Высота падения для испытания на удар

Высота падения, мм

Части оболочек (корпуса), подвергаемые удару

Обычные соединители с кодом защиты IPX0

Остальные соединители с кодом защиты выше чем IPX0

100

А и В

-

150

С

А и В

200

D

С

250

-

D

Обозначения частей:

А - части, находящиеся на фронтальной поверхности, включая части, имеющие углубления;

В - части, которые не выступают более чем на 15 мм от монтажной поверхности (расстояние от стены) после монтажа, как при нормальной эксплуатации, за исключением частей А;

С - части, которые выступают более чем на 15 мм, но не более 25 мм от монтажной поверхности (расстояние от стены) после монтажа, как при нормальной эксплуатации, за исключением частей А;

D - части, которые выступают более чем на 25 мм от монтажной поверхности (расстояние от стены) после монтажа, как при нормальной эксплуатации, за исключением частей А.

На все части испытуемого образца, за исключением частей А, воздействуют энергией удара, определяемой той частью образца, которая более всего выступает над монтажной поверхностью.

Высота падения - это расстояние по вертикали между положением контрольной точки в момент опускания маятника и положением этой точки в момент удара. Контрольную точку отмечают на поверхности бойка в том месте, где линия, проходящая через точку пересечения оси стальной трубки маятника и оси бойка, перпендикулярна плоскости, проходящей через обе оси, и пересекает поверхность бойка.

Образцы подвергают ударам, которые равномерно распределяют по испытуемому образцу.

Удары не наносят по пробивным (для штырей вилок) отверстиям.

Наносят следующее число ударов:

- для частей А - пять ударов (см. рисунки 26а и 26b):

- один удар в центре;

- по одному удару по каждой из двух самых неблагоприятных точек между центром и краями, после того как образец будет перемещен горизонтально;

- затем, после поворота образца на 90° вокруг оси, перпендикулярной листу фанеры, по одному удару по двум подобным точкам;

- для частей В (насколько это приемлемо), С и D - четыре удара (рисунок 26с):

- один удар по одной из сторон образца после поворота листа фанеры на 60° вокруг вертикальной оси (см. рисунок 26с);

- один удар по противоположной стороне образца после поворота листа фанеры на 60° вокруг вертикальной оси в противоположном направлении (рисунок 26с).

Затем, после поворота образца на 90° вокруг оси, перпендикулярной листу фанеры:

- один удар по одной из сторон образца после поворота листа фанеры на 60° вокруг вертикальной оси (см. рисунок 26d);

- один удар по противоположной стороне образца после поворота листа фанеры на 60° вокруг вертикальной оси в противоположном направлении (рисунок 26d).

Если имеется вводное отверстие, то образец устанавливают таким образом, чтобы две точки нанесения ударов были как можно ближе - равноудалены от этого отверстия.

В многоместных стационарных розетках испытывают все крышки и накладки, однако по каждой точке наносят только один удар.

Для розеток, отличных от обычных, с кодом IP выше чем IPX0, испытание проводят с закрытыми крышками. Кроме того, соответствующее число ударов наносят по тем частям, которые обнажены при открытых крышках.

После испытаний не должно быть повреждений образцов, нарушающих требования настоящего стандарта. Не должны быть открытыми токоведущие части.

После испытания шторки могут иметь трещины и (или) выпасть, но не должно быть возможностей касания токоведущих частей при испытании:

- стандартным испытательным пальцем В по ГОСТ Р МЭК 61032 - при условиях, указанных в 10.1;

- стандартным испытательным пальцем 11 по ГОСТ Р МЭК 61032 - при условиях, указанных в 10.1, но с силой 10 Н;

- стальным наконечником устройства, приведенного на рисунке 10, с силой 1 Н - для соединителей с усиленной защитой.

В случае сомнений проверяют возможность снятия и замены наружных частей, таких как коробки, корпуса, крышки и закрывающие пластины, без повреждения этих частей или их изолирующих прокладок.

Если закрывающая пластина, опирающаяся на внутреннюю крышку, будет повреждена, то повторное испытание проводят на внутренней крышке, которая после испытаний должна остаться неповрежденной.

Примечание 2 - Не принимают во внимание повреждения поверхности, небольшие вмятины, которые не влияют на снижение величины путей утечки тока или воздушные зазоры ниже величин, указанных в 27.1, и мелкие осколки, которые не сказываются отрицательно на защите соединителя от электрического удара или на водонепроницаемость.

Не принимают во внимание:

- трещины, невидимые невооруженным глазом, и поверхностные трещины волокнистых отливок и подобных им деталей;

- трещины или отверстия на наружной поверхности какой-либо части соединителя, если соединитель соответствует требованиям настоящего стандарта даже без этой части. Если декоративную крышку устанавливают на внутреннюю крышку, то скол декоративной крышки не принимают во внимание, если внутренняя крышка выдержит испытания при снятой декоративной крышке.

24.2 Разборные переносные соединители оснащают гибким кабелем или шнуром по 23.2, номинальным сечением, указанным в таблице 3, и длиной приблизительно 100 мм от наружной стороны зажимного устройства.

Винты контактных зажимов и крепежные винты затягивают с приложением крутящего момента, равного 2/3 от указанного в таблице 6.

Опрессованные соединители испытывают с кабелем или шнуром, с которым они опрессованы, длиной (100 ± 10) мм.

Образцы испытывают следующим образом.

При свободном падении в соответствии с ГОСТ 28218 число падений должно быть:

- 1000 - если масса образца без кабеля или шнура не более 100 г,

- 500 - если масса образца без гибкого кабеля превышает 100 г, но не превышает 200 г, и

- 100 - если масса образца без гибкого кабеля превышает 200 г.

Барабан вращают со скоростью 5 об/мин, что соответствует 10 падениям испытуемого образца в 1 мин.

После испытания образец не должен иметь повреждений, нарушающих требования настоящего стандарта. В особенности:

- ни одна из деталей не должна быть разъединена или ослаблено ее крепление;

- штыри вилки не должны иметь такие деформации, чтобы вилку нельзя было вставить в розетку, отвечающую требованиям соответствующего стандарта, ГОСТ 7396.1 или 9.1 и 10.3;

- штыри вилки не должны проворачиваться при приложении крутящего момента 0,4 Н × м сначала в одном направлении в течение 1 мин, затем в противоположном также в течение 1 мин.

Примечание 1 - Во время проверки следует обращать внимание на присоединение гибкого кабеля или шнура.

Примечание 2 - Небольшие куски могут отламываться, если при этом не возникает опасности поражения электрическим током.

Примечание 3 - Не принимают во внимание повреждения поверхности или маленькие вмятины, которые не снижают величины путей утечки тока или воздушные зазоры ниже величин, указанных в 27.1.

24.3 Обычные розетки для открытой установки сначала прикрепляют к цилиндру (из жесткого стального листа), имеющему радиус в 4,5 раза больший, чем расстояние между отверстиями для крепления, но не менее 200 мм.

Оси отверстия должны находиться в плоскости, перпендикулярной оси цилиндра и параллельной радиусу, проходящему через центр расстояния между отверстиями для крепления.

Крепежные винты постепенно затягивают с приложением максимального крутящего момента, равного 0,5 Н × м для винтов с диаметром резьбы до 3 мм включительно и 1,2 Н × м для винтов с большим диаметром резьбы. Затем розетки аналогичным образом крепят к плоскому стальному листу. В процессе и после испытания розетка не должна иметь повреждений, препятствующих ее дальнейшему использованию.

24.4 Образцы подвергают испытаниям на удар с помощью прибора, указанного на рисунке 27. Прибор устанавливают на пористую резину толщиной 40 мм и помещают вместе с испытуемыми образцами в холодильник, имеющий температуру минус (15 ± 2) °С, на время не менее 16 ч.

Спустя 16 ч каждый образец по очереди устанавливают в положение, указанное на рисунке 27, и на него сбрасывают боек массой (1000 ± 2) г с высоты 100 мм.

После испытания образцы не должны иметь повреждений, нарушающих требования настоящего стандарта.

24.5 Образцы подвергают испытаниям на сжатие, как показано на рисунке 8, температура прижимной пластины опорной плиты и образца должна быть (23 ± 2) °С, а прикладываемая сила 300 Н.

Сначала образцы помещают в положение а) на рисунке 8 и подвергают давлению в течение 1 мин, затем - в положение b) и снова подвергают давлению в течение 1 мин. Через 15 мин после окончания испытания образец не должен иметь повреждений, нарушающих требования настоящего стандарта.

24.6 Ввинчивающийся уплотнитель должен соответствовать цилиндрическому металлическому стержню, имеющему диаметр, равный наименьшему внутреннему диаметру уплотнения.

Уплотнители затягивают соответствующим гаечным ключом, к которому в течение 1 мин прилагают крутящий момент, указанный в таблице 22.

Таблица 22 - Соотношение между диаметром испытательного стержня и прилагаемым крутящим моментом

Диаметр испытательного стержня, мм

Крутящий момент, Н × м

Металлический уплотнитель

Уплотнитель из заливочного материала

До 14

6,25

3,75

Св. 14 » 20

7,5

5,0

» 20

10,0

7,5

После испытания уплотнение не должно иметь повреждений, нарушающих требования настоящего стандарта.

24.7 Вилки с частично опрессованными штырями испытывают с помощью прибора, указанного на рисунке 28.

Прибор состоит из горизонтального стержня, имеющего в центре шарнир. Короткий кусок стальной проволоки диаметром 1 мм, имеющий П-образную форму, жестко крепят обоими концами к концу стержня так, чтобы прямая часть выступала под стержнем и была параллельна оси вращения стержня.

Испытуемая вилка находится в зажимном устройстве в таком положении, чтобы прямая часть (перемычка) стальной проволоки была перпендикулярна оси штырей вилки.

Штыри вилки должны быть наклонены вниз под углом 10° к горизонтали.

Стержень нагружают так, чтобы перемычка создавала на штыре вилки силу, равную 4 Н.

Вилка может сдвигаться назад или вперед по горизонтали в плоскости оси стержня так, чтобы перемычка проволоки скользила вдоль штыря. Штырь вилки скользит примерно 9 мм, из них 7 мм перемычка должна скользить по опрессованной части штыря. Число циклов - 20000 (по 10000 в каждом направлении). Скорость движения перемычки - 30 движений в 1 мин.

Испытания проводят на одном штыре каждой вилки.

После испытания вилка не должна иметь повреждений, способных нарушить безопасность или препятствовать дальнейшей ее эксплуатации, опрессованные части не должны иметь проколов или морщин.

24.8 Розетки с защитными шторками должны иметь шторки такой конструкции, чтобы они могли противостоять механическому усилию, которое может возникнуть при нормальной эксплуатации, например, когда штырь вилки окажется прижат к шторкам в отверстии розетки.

Проверку проводят следующим испытанием, которое проводят на образцах, ранее подвергнутых испытаниям по разделу 21, и без предварительной обработки по 16.1.

Один штырь вилки той же системы, что и розетка, прижимают в течение 1 мин к отверстиям розетки с силой 40 Н перпендикулярно рабочей поверхности розетки.

Для шторок, которые являются единственным способом предотвращения однополюсного введения вилки в розетку, сила должна быть 75 Н вместо 40 Н.

Если конструкция розетки позволяет применять вилки различных типов, испытания проводят со штырями наибольшего размера.

Штырь вилки не должен контактировать с токоведущими деталями розетки.

Электрический индикатор с напряжением не менее 40 и не более 50 В используют для определения контактирования с соответствующими деталями розетки. После испытания образцы не должны иметь повреждений, нарушающих требования настоящего стандарта.

Примечание - Небольшими сколами на поверхности розетки, которые не влияют на дальнейшую эксплуатацию розетки, пренебрегают.

24.9 Разборные многоместные переносные розетки снабжают самым легким гибким кабелем или шнуром наименьшего сечения из указанных в таблице 3. Удлинители испытывают с тем кабелем или шнуром, который у них имеется.

Свободный конец кабеля или шнура прикрепляют к стене на высоте 750 мм от пола, как показано на рисунке 29.

Образец располагают так, чтобы ось кабеля или шнура была горизонтальна, а затем сбрасывают образец на пол восемь раз. Кабель или шнур должны при этом поворачиваться на угол 45° от первоначального положения.

После испытания образец не должен иметь повреждений, нарушающих требования настоящего стандарта. Детали не должны стираться или ослабевать. После этого разборные многоместные переносные розетки и удлинители со степенью защиты выше IPX0 (отличные от обычных), следует подвергнуть соответствующему испытанию по 16.2.

Примечание - Небольшими сколами и вмятинами, которые не снижают защиту от поражения электрическим током или водонепроницаемость, пренебрегают.

24.10 Приведенные испытания проводят на новых образцах.

Вилку помещают на стальную жесткую плиту, имеющую отверстия для штырей вилки, как показано на рисунке 30. Расстояние между центрами отверстий (например, d1 и d2) должно быть таким же, как и расстояние между центрами окружностей, очерченных вокруг сечения каждого штыря вилки согласно стандартному листу ГОСТ 7396.1.

Каждое отверстие должно иметь диаметр, равный диаметру окружности, очерченной вокруг сечения штыря плюс (6 ± 0,5) мм.

Вилка должна располагаться на стальной плите так, чтобы центры окружностей, очерченных вокруг штырей, совпадали с центрами отверстий.

Силу Р, равную максимальной из указанных в таблице 16, прилагают плавно без рывков в течение 1 мин к каждому штырю по очереди, по направлению продольной оси штыря.

Испытание проводят в термокамере при температуре (70 ± 2) °С спустя 1 ч пребывания в ней вилки. После испытания вилку можно охладить до комнатной температуры, а затем убедиться, что штыри не сместились более чем на 1 мм.

24.11 Перегородки между пространством, предназначенным для средств подвески, которые крепят к стене и токоведущим частям и которые могут подвергнуться механическому воздействию, когда переносную розетку, например, подвешенную на стене, испытывают следующим образом.

Цилиндрическим стальным стержнем диаметром 3 мм с полусферическим концом, радиусом R, равным 1,5 мм, воздействуют перпендикулярно опорной поверхности розетки в самых неблагоприятных местах в течение 10 с на перегородку с силой, равной 1,5 максимальной силы разъема вилки (как указано в таблице 16).

Стержень не должен повреждать перегородку.

24.12 Переносную розетку со шнуром или гибким кабелем подвешивают на стене как при нормальной эксплуатации и аналогично 24.11 воздействуют стальным стержнем на проводники под перегородкой.

Для проверки крепления гибкого шнура на него воздействуют в течение 10 с силой, указанной в 23.2, в самом неблагоприятном месте. Во время испытания средства подвески переносной розетки на стене не должны иметь повреждений, а в случае повреждения токоведущие части не должны быть доступны для стандартного испытательного пальца.

24.13 Переносную розетку подвешивают на стене как при нормальной эксплуатации, используя при этом винт М3 с круглой головкой, и испытывают на растяжение, прилагая максимальную силу натяжения, указанную для соответствующих вилок в таблице 16. Силу прикладывают без рывков.

Силу выдергивания прилагают в течение 10 с перпендикулярно лицевой стороне розетки, направляя при этом наибольшую силу на средство подвески.

Во время испытания средства подвески переносной розетки на стене не должны иметь повреждений или в случае повреждений токоведущий части не должны быть доступными для стандартного испытательного пальца по ГОСТ Р МЭК 61032.

Примечание - Испытания согласно 24.11 - 24.13 проводят по каждому отдельному средству подвески в случае, если их более одного.

24.14 Если испытательную силу необходимо приложить к крышкам или закрывающим пластинам, розетки устанавливают как при нормальной эксплуатации.

Розетки для скрытой установки монтируют в соответствующие монтажные коробки, которые устанавливают как при нормальной эксплуатации, так чтобы края коробок были утоплены в стенах, и оборудуют их крышками или закрывающими пластинами.

Если крышки или закрывающие пластины снабжены фиксирующим устройством, функционирующим без применения инструмента, то коробки оставляют в свободном состоянии.

Соответствие проверяют испытаниями по 24.14.1 и 24.14.2 (см. 13.7.2).

Для вилок и переносных розеток упругую податливость проверяют по 24.14.3.

24.14.1 Проверка прочности крепления крышек или закрывающих пластин

Силу прикладывают плавно в направлении, перпендикулярном монтажной поверхности, таким образом, что результирующая сила, воздействующая на центр крышек, закрывающих пластин или их составных деталей соответственно составляет:

- 40 Н для крышек, закрывающих пластин или их деталей, удовлетворяющих при испытаниях требованиям по 24.17 или 24.18, или

- 80 Н для других крышек, закрывающих пластин и их деталей.

Силу прикладывают в течение 1 мин. Крышки или закрывающие пластины не должны отсоединяться в местах крепления согласно настоящему стандарту.

Затем испытания повторяют на новых образцах крышек или закрывающих пластин, смонтированных на стене, после того как лист твердого материала толщиной (1 ± 0,1) мм устанавливают вокруг поддерживающей арматуры согласно рисунку 32.

Примечание - Лист твердого материала используют для имитации обоев. Он может состоять из отдельных кусков.

После испытаний образцы не должны иметь повреждений, которые снижали бы защиту от поражения электрическим током согласно требованиям настоящего стандарта.

24.14.2 Проверка усилия вырывания крышек и закрывающих пластин с мест крепления

Силу, не превышающую 120 Н, прикладывают постепенно в направлении, перпендикулярном к монтажно-опорной поверхности, к крышкам и закрывающим пластинам или их деталям с помощью крючка, вставляемого по очереди в каждое отверстие, паз или другую аналогичную полость с целью сдвига и вырывания с мест их крепления.

Крышки и закрывающие пластины должны быть сорваны с мест крепления.

Испытания проводят 10 раз на каждой части отделяемой детали, фиксация которой не зависит от винтового крепления (при равномерном распределении точек приложения).

Силу вырывания создают с помощью крючка, вставляемого по очереди в каждое отверстие, паз или другую аналогичную полость, и последующим вырыванием им крышек или закрывающих пластин из мест их крепления.

Затем испытание повторяют на новых образцах. При этом крышки или закрывающие пластины устанавливают на стене, предварительно установив вокруг поддерживающей арматуры лист твердого материала толщиной (1 ± 0,1) мм, как показано на рисунке 31.

После испытания образцы не должны иметь повреждений, которые снижали бы защиту от поражения электрическим током согласно требованиям настоящего стандарта.

24.14.3 После монтажа вилок и разборных розеток силу, достигающую 80 Н, прилагают плавное течение 1 мин на центр крышек, закрывающих пластин или их составных деталей.

Испытания проводят в самых неблагоприятных условиях.

Во время испытания крышки, закрывающие пластины и их части, должны быть закрыты.

Испытания повторяют с силой 120 Н.

В этом случае:

a) у разборных вилок и разборных розеток при воздействии силы крышки и закрывающие пластины или их части могут отрываться с их монтажных мест, но образец должен соответствовать настоящему стандарту;

b) у опрессованных вилок и переносных розеток могут отрываться прилитые крышки, закрывающие пластины или их части, что делает их непригодными к дальнейшему использованию (см. 14.1).

Соответствие проверяют визуальным осмотром.

24.15 Испытание проводят согласно требованиям по 24.14, но при этом по 24.14.1 в процессе испытаний прикладывают следующие силы:

- 10 Н для крышек и закрывающих пластин, прошедших испытания по 24.17 и 24.18;

- 20 Н для других крышек и закрывающих пластин.

24.16 Испытание проводят согласно требованиям по 24.14, но при этом по 24.14.1 в процессе испытаний прикладывают силу 10 Н для всех крышек или закрывающих пластин.

24.17 Калибром, приведенном на рисунке 32, воздействуют на каждую сторону крышек или закрывающих пластин, установленных без винтового крепления на монтажной или опорной поверхности, как это показано на рисунке 33.

Калибр прикладывают под прямым углом к каждой испытуемой плоскости.

При этом плоскость В находится на монтажной или опорной поверхности, а плоскость А перпендикулярна ей.

Если крышка или закрывающая пластина установлена без винтов на другой крышке или закрывающей пластине, или монтажной коробке, имеющей те же габаритные размеры, то плоскость В калибра должна быть помещена на том же уровне, что и соединение. Габарит крышки или закрывающей пластины не должен превышать габарита опорной поверхности.

Расстояние между плоскостью С калибра и габаритом испытуемой стороны, измеренное параллельно плоскости В, не должно уменьшаться (за исключением пазов, отверстий, обратных конусов или тому подобных, размещенных на расстоянии менее 7 мм от плоскости, включающей плоскость В, и удовлетворяющих испытаниям по 24.18), когда измерения повторяют, начиная от точки х в направлении стрелки у (см. рисунок 34).

24.18 Калибр в соответствии с рисунком 35, прикладываемый с силой 1 Н, не должен входить более чем на 1,0 мм от внешней детали в любые пазы, отверстия или обратные конуса или тому подобные отверстия, когда калибр прикладывают параллельно монтажной или опорной поверхности и под прямым углом к испытуемой детали, как показано на рисунке 36.

Примечание - Проверку того, как калибр в соответствии с рисунком 35 входит более чем на 1 мм, проводят с помощью поверхности, перпендикулярной плоскости В и включающей верхнюю деталь габарита паза, отверстия, обратного конуса или т.п.

24.19 Корпуса переносных розеток подвергают испытанию на сжатие при окружающей температуре (25 ± 5) °С в установке, показанной на рисунке 38.

Установка имеет два стальных кулачка цилиндрической формы с радиусом 25, шириной 15 и длиной 50 мм. Длина 50 мм может быть увеличена в зависимости от размера испытуемого соединителя.

Углы кулачка закругляют радиусом 2,5 мм.

Испытуемый образец зажимают между кулачками таким образом, чтобы центральная линия кулачков совпадала, по возможности, с центром испытуемой площади образца.

Сила давления кулачков равна (20 ± 2) Н.

Через 1 мин после сжатия, когда образцы находятся еще под давлением, проводят измерения образцов с целью их соответствия стандартному листу.

Испытание повторяют с поворотом образцов на 90°.

25 Нагревостойкость

Соединители и монтажные коробки для открытой установки должны иметь достаточную нагревостойкость.

Проверку проводят в соответствии с таблицей 24.

Таблица 24 - Нагревостойкость соединителей и их частей

Образцы

Испытание по 25.1

Испытание по 25.2

Испытание по 25.3

Испытание по 25.4

А

Устанавливающая поверхность монтажной коробки, отделимые покрытия, отделимые пластины покрытия и отделимые рамки, за исключением частей передней поверхностной зоны термопластической зоны материала 2 мм ширины, окружающей фазу и нейтральное отверстие розетки

-

-

´

-

В

Переносные соединители, за исключением частей, покрытых А

´

´

´

´

С

Переносные соединители, сделанные из естественного или синтетического каучука или их смеси, или поливинил-хлорида

´

´

-

´

D

Стационарные розетки, за исключением частей, покрытых А

´

´

´

-

Е

Стационарные розетки, сделанные из натурального или синтетического каучука или из их смеси

´

´

-

-

«´» - испытания применяют; «-» - испытания не применяют.

Части, предназначенные для декоративных целей, испытаниям не подлежат.

25.1 Испытуемые образцы на 1 ч помещают в термокамеру и нагревают до температуры (100 ± 2) °С.

В процессе испытаний не должно произойти изменений, нарушающих требования настоящего стандарта, не должен плавиться компаунд, если таковой имеется, до такой степени, чтобы оголились токоведущие части.

После испытания образец охлаждают до комнатной температуры.

Затем проводят испытание стандартным испытательным пальцем калибром В по ГОСТ Р МЭК 61032, который прикладывают с силой 5 Н, при этом токоведущие части должны оставаться недоступными для прикосновения, когда соединитель смонтирован как для нормальной эксплуатации.

Маркировка после испытаний должна быть четкой и легко читаемой. Изменением цвета, возникновением пузырей или небольшим вытеканием компаунда можно пренебречь, если при этом не нарушаются требования безопасности настоящего стандарта.

25.2 Детали из изоляционного материала, на которых крепятся токоведущие части и детали заземляющей цепи, а также наружные части из термопластичного материала толщиной 2 мм, окружающие фазные и нейтральные вводные отверстия розеток, испытывают шариком по 25.3 с помощью устройства, приведенного на рисунке 37, за исключением изолирующих частей, на которых закрепляют заземляющий контактный зажим.

Примечание - Если невозможно провести испытание на образце соединителя, то испытание проводят на образце материала толщиной 2 мм, взятом от образца.

Для достижения требуемой толщины могут быть использованы отдельные слои материала, но не более четырех. В каждом случае общая толщина слоев должна быть не менее 2,5 мм.

Испытываемый образец размещают на стальной пластине толщиной не менее 3 мм и стальной шарик диаметром (5 ± 0,1) мм вдавливают в испытываемую поверхность с силой 20 Н.

Испытательную нагрузку и опорное устройство необходимо поместить в термокамеру на время, достаточное для того, чтобы они достигли устойчивой температуры до начала испытаний.

Испытание проводят в термокамере при температуре (125 ± 2) °С.

Через 1 ч устройство убирают с образца, затем образец погружают в воду для охлаждения до комнатной температуры.

Диаметр оттиска должен быть не более 2 мм.

25.3 Части изоляционного материала, не предназначенные для крепления на них токоведущих частей и частей заземляющей цепи, даже если они контактируют с ними, подвергают испытаниям шариком согласно 25.2, но испытание проводят при температуре (70 ± 2) °С или (40 ± 2) °С с учетом температуры перегрева, определяемой для соответствующих частей во время испытания по разделу 19.

25.4 Образцы испытывают сдавливанием на установке, показанной на рисунке 38. Испытание проводят в термокамере при температуре (80 ± 2) °С.

Установка имеет два стальных кулачка цилиндрической формы с радиусом 25, шириной 15 и длиной 50 мм. Длина 50 мм может быть увеличена в зависимости от размера испытуемого соединителя.

Углы кулачка закругляют радиусом 2,5 мм.

Испытуемый образец зажимают между кулачками таким образом, чтобы они оказывали давление как при нормальной эксплуатации, центральная линия кулачков должна совпадать, по возможности, с центром испытуемой площади образца. Сила давления равна 20 Н.

Через 1 ч кулачки снимают с образца; образец не должен иметь повреждений, нарушающих требования настоящего стандарта.

26 Винты, токоведущие части и соединения

26.1 Электрические и механические соединения должны выдерживать механические нагрузки, возникающие при нормальной эксплуатации.

Механические соединения, используемые при монтаже вилок и розеток, могут быть изготовлены с применением самонарезающих и самонарезающих формующих винтов при условии, что винты поставляются с деталью, в которую они должны вкручиваться. Кроме этого самонарезающие винты, используемые при монтаже, должны быть закреплены соответствующей деталью соединителя.

Винты и гайки, передающие контактное давление, должны ввинчиваться в металлическую резьбу.

Проверку проводят визуальным осмотром. Винты и гайки, передающие контактное давление или предназначенные для подключения к соединителям питающих проводов, подвергают следующим испытаниям.

Примечание 1 - Требования, предъявляемые к проверке контактных зажимов, приведены в разделе 12.

Винты или гайки затягивают и отпускают:

10 раз - для винтов, ввинчиваемых в резьбу из изолирующего материала, и винтов из изолирующего материала;

5 раз - во всех остальных случаях.

Винты или гайки, ввинчиваемые в резьбу из изолирующего материала, и винты из изолирующего материала каждый раз полностью ввинчивают и вывинчивают.

Испытания проводят с помощью соответствующих испытательной отвертки или инструмента с приложением крутящего момента, указанного в таблице 6.

Во время испытания не должны возникать повреждения, препятствующие дальнейшему использованию винтовых соединений, таких как излом винтов, повреждение шлица резьбы, шайбы или хомутика.

Примечание 2 - К винтам или гайкам, применяемым при монтаже соединителя, относятся винты для крепления крышек, закрывающих пластин и т.д. Однако к ним не относятся соединительные детали для ввинчиваемых кабельных вводов и винты для крепления основания соединителя.

Примечание 3 - Форма лезвия испытательной отвертки должна соответствовать шлицу испытуемого винта. Винты или гайки следует затягивать плавно, без рывков. Повреждения крышек при этом не принимают во внимание.

Примечание 4 - Винтовые соединения после испытания по разделам 21 и 24 считают частично прошедшими проверку.

26.2 Для винтов, ввинчиваемых в изолирующий материал и предназначенных для крепления соединителей при монтаже, должен быть обеспечен их правильный ввод в отверстие или гайку.

Проверку проводят визуальным осмотром и испытанием вручную.

Примечание - Требование к правильному введению винта может быть соблюдено при наличии направляющего устройства на фиксируемой части, применении утопленной гаечной резьбы или винтов со снятой начальной резьбой.

26.3 Электрические соединения должны иметь такую конструкцию, чтобы контактное давление не передавалось через изолирующий материал, как то: керамику, чистую слюду или другие материалы с аналогичными свойствами, за исключением случаев, когда металлические детали обладают достаточной упругостью и могут при этом компенсировать возможную усадку и сжатие изолирующего материала.

Данное требование не должно препятствовать созданию конструкций соединителей шнуром, обмотанным фольгой, где контактное давление обеспечивается изолирующими частями или частями со свойствами, обеспечивающими постоянное и надежное контактирование при нормальной эксплуатации, учитывая в особенности усадку, износ или холодное течение изолирующих материалов.

Соединения, выполненные путем прокола, изоляции шнура, обмотанного фольгой, должны быть надежными.

Проверку проводят визуальным осмотром и испытанием, которое разрабатывается.

Примечание - Пригодность применяемых материалов рассматривают по отношению их устойчивости к стабильности размеров.

26.4 Винты и заклепки, служащие в качестве электрических и механических соединений, должны иметь устройство, препятствующее их ослаблению или самоотвинчиванию.

Проверку проводят визуальным осмотром и испытанием вручную.

Примечание 1 - В качестве устройства, препятствующих самоотвинчиванию, может служить пружинная шайба.

Примечание 2 - Для заклепок и некруглых заклепок достаточными условиями от ослабления являются наличие соответствующие канавок.

Примечание 3 - Компаунд, который при нагревании размягчается, может служить удовлетворительным средством от самоотвинчивания для тех винтовых соединений, которые при нормальной эксплуатации не должны отвинчиваться.

26.5 Токоведущие части, включая контактные зажимы (также и заземляющие), должны изготавливаться из металла, имеющего механическую прочность, электропроводность и устойчивость к коррозии при нормальной эксплуатации.

Проверку проводят визуальным осмотром и, при необходимости, химическим анализом.

Примечание - Примерами таких металлов, работающих в пределах допустимых температур при нормальных химических загрязнениях, являются:

- медь;

- сплав, содержащий не менее 58 % меди для изготовления частей, изготавливаемых из холоднокатанных листов, или не менее 50 % меди для других частей;

- нержавеющая сталь, содержащая не менее 13 % хрома и не более 0,09 % углерода;

- сталь, имеющая гальваническое цинковое покрытие в соответствии с ИСО 2081 [5] толщиной не менее:

5 мкм - рабочие условия № 1 для обычных соединителей с кодом IP IPX0;

12 мкм - рабочие условия № 2 для брызгозащищенных соединителей с кодом с IPX4;

25 мкм - рабочие условия № 3 для струезащищенных соединителей с кодом с IPX5;

- сталь, имеющая гальваническое никелевое покрытие в соответствии с ИСО 1456 [6] толщиной не менее:

20 мкм - рабочие условия № 2 для обычных соединителей с кодом с IPX0;

30 мкм - рабочие условия № 3 для брызгозащищенных соединителей с кодом с IPX4;

40 мкм - рабочие условия № 4 для струезащищенных соединителей с кодом с IPX5;

- сталь, имеющая гальваническое оловянное покрытие в соответствии с ИСО 2093 [7] толщиной не менее:

12 мкм - рабочие условия № 2 для обычных соединителей с кодом с IPX0;

20 мкм - рабочие условия № 3 для брызгозащищенных соединителей с кодом с IPX4;

30 мкм - рабочие условия № 4 для струезащищенных соединителей с кодом с IPX5.

Токоведущие части, которые в процессе эксплуатации могут подвергаться механическому износу, недопустимо изготовлять из стали с гальваническим покрытием.

Во влажных условиях металлы, обладающие значительными различиями электрохимического потенциала, не следует использовать в контакте друг с другом.

Процедура испытания разрабатывается

Примечание - Требование пункта не распространяется на винты, гайки и шайбы, прижимные пластины и аналогичные части контактных зажимов.

26.6 Контакты, которые при номинальной эксплуатации подвергаются трению, должны изготавливаться из коррозиеустойчивого материала.

Соответствие требованиям по 26.5 и 26.6 проверяют визуальным осмотром и, при необходимости, химическим анализом.

26.7 Самонарезающие и самонарезающие формующие винты не должны использоваться для соединения токоведущих частей соединителей.

Самонарезающие и самонарезающие формующие винты могут применяться в цепи заземления в том случае, если при нормальной эксплуатации соединения не будут разъединяться и для каждого соединения будет использовано не менее двух винтов.

Проверку проводят визуальным осмотром.

27 Пути утечки тока, воздушные зазоры и расстояния через заливочную массу

27.1 Значения путей утечки тока, воздушных зазоров и расстояний через заливочную массу не должны быть менее значений, указанных в таблице 23.

Таблица 23 - Значения путей утечки тока, воздушных зазоров и расстояний через заливочную массу

Наименование

Значение, мм

Пути утечки тока

1 Между токоведущими частями различных фаз.

4,0а)

2 Между токоведущими частями и доступными изолирующими частями; заземленными металлическими частями и частями заземляющей цепи; металлическими рамами, поддерживающими основание розетки для скрытой установки; винтами или устройствами для крепления оснований, крышек и закрывающих пластин стационарных розеток; наружными крепежными винтами, исключая винты, которые находятся на рабочей поверхности вилки и изолированы от заземляющей цепи.

3,0

3 Между штырями вилки и металлическими частями, присоединенными к ней при полном введении вилки в розетку той же системы, имеющей доступные прикосновению незаземленные металлические частиb) при самой неблагоприятной конструкцииc).

6,0d)

4 Между доступными незаземленными металлическими частямиb) розетки и полностью вставленной вилкой этой же системы, имеющей штыри и металлические части, присоединенные к ним, при самой неблагоприятной конструкцииc).

6,0d)

5 Между токоведущими частями розетки (без вилки) и доступными для прикосновения незаземленными металлическими частямиb)

6,0d)

Воздушные зазоры

6 Между токоведущими частями различных фаз.

3,0

7 Между токоведущими частями различных фаз, доступными изолирующими частями, заземленными металлическими частями, указанными в пунктах 8 и 9 таблицы, частями заземляющей цепи; металлическими рамами, поддерживающими основание розетки для скрытой установки; винтами или устройствами для крепления оснований крышек или закрывающих пластин стационарных розеток; наружными крепежными винтами, исключая винты, которые находятся на рабочей поверхности вилки и изолированы от заземляющей цепи.

3,0

8 Между токоведущими частями и:

- заземленными металлическими коробкамие), смонтированными в наиболее неблагоприятном положении;

3,0

- незаземленными металлическими коробками, без изолирующих прокладок с розеткой, смонтированной в наиболее неблагоприятном положении

4,5

- доступными незаземленными или функционально заземленными металлическими частямиb) вилок и розеток.

6,0

9 Между токоведущими частями и поверхностью, на которой монтируют основание розетки для открытой установки.

6,0

10 Между токоведущими частями и дном паза для прохода проводов, если таковой имеется в основании розетки для открытой установки

3,0

Расстояние через заливочную массу

11 Между токоведущими частями, покрытыми слоем заливочной массы толщиной не менее 2 мм, и поверхностью, на которой монтируют основание розетки для открытой установки.

4,0а)

12 Между токоведущими частями, покрытыми слоем заливочной массы толщиной не менее 2 мм, и дном паза для прохода проводов, если таковой имеется в основании розетки для открытой установки

2,5

a) Значение снижают до 3 мм для соединителей с номинальным напряжением до 250 В.

b) За исключением винтов и тому подобных деталей.

c) Наиболее неблагоприятные конструкции могут проверяться калибром, который соответствует стандарту данной системы по ГОСТ 7396.1.

d) Значение снижают до 4,5 мм для соединителей, имеющих номинальное напряжение до 250 В включительно.

e) Металлические коробки предназначены только для монтажа в тех условиях, где требуется их заземление.

Проверку проводят измерением.

Измерения проводят на соединителе с присоединенными проводами наибольшего сечения из указанных в таблице 3 и на соединителе без проводов.

Для опрессованных соединителей измерения проводят в процессе изготовления.

Розетки проверяют со вставленной вилкой и без нее.

Расстояния в пазах или отверстиях наружных частей изолирующего материала измеряют до металлической фольги, соприкасающейся с открытой поверхностью. Фольгу заталкивают в углы и другие аналогичные выемки с помощью неразъемного испытательного щупа, имеющего размеры, как и стандартный испытательный палец по ГОСТ Р МЭК 61032, при этом фольга не должна вдавливаться в отверстие.

В розетки для открытой установки обычного типа наиболее неблагоприятный трубчатый ввод или кабель вводят на 1 мм в соответствии с 13.22. Если металлическая рама, поддерживающая основание розетки для скрытой установки подвижна, то раму устанавливают в наиболее неблагоприятном положении.

Примечание 1 - При рассмотрении влияния утечки тока в пазе шириной менее 1 мм учитывают его ширину.

Примечание 2 - При подсчете полной величины воздушного зазора воздушный промежуток менее 1 мм не учитывают.

Примечание 3 - Поверхность, на которой монтируют основание соединителя для открытой установки, включает в себя любую поверхность, находящуюся в контакте с основанием при установке соединителя. Если на задней стенке основания имеется металлическая плата, то ее не считают поверхностью для установки соединителя.

27.2 Изолирующая заливочная масса не должна выходить за пределы полости, в которой ее помещают.

27.3 Соединители обычного типа для открытой установки не должны иметь на задней поверхности открытые для прикосновения токоведущие части.

Проверку соответствия требованиям по 27.2 и 27.3 проводят визуальным осмотром.

28 Теплостойкость, огнестойкость и устойчивость к токам поверхностного разряда

28.1 Устойчивость к воздействию повышенной температуры и огня

Части из изолирующего материала, которые могут испытывать термические нагрузки под воздействием электрического тока и нарушение которых может привести к снижению электрической безопасности соединителя, не должны подвергаться чрезмерному воздействию повышенной температуры и огня.

Проверку проводят испытанием по 28.1.1, для вилок с частично опрессованными штырями - по 28.1.2.

28.1.1 Испытание раскаленной проволокой

Испытание проводят в соответствии с ГОСТ Р 54103 при следующих условиях:

- для частей из изолирующего материала, на которых закрепляют токоведущие части и части заземляющей цепи стационарных соединителей, - при температуре 850 °С, кроме частей из изолирующего материала, на которых установлен зажим заземления в коробке, которую следует испытывать при температуре 650 °С.

Примечание 1 - Боковой контакт заземления в основании розетки не принимают во внимание при съемной крышке, когда вилка не вставлена в розетку;

- для частей из изолирующего материала, на которых закрепляют токоведущие части и части заземляющей цепи переносных соединителей, - при температуре 750 °С;

- для частей из изоляционного материала, на которых не закрепляют токоведущие части и части заземляющей цепи, даже если они контактируют с ними, - испытанием при температуре 650 °С.

Если указанное испытание должно проводиться в нескольких местах одного и того же образца, необходимо обращать внимание на то, чтобы любые повреждения образца, вызванные предыдущими испытаниями, не повлияли на результат последующего испытания.

Мелкие детали, например шайбы, поверхность которых полностью вписывается в круг диаметром 15 мм или часть поверхности не вписывается в этот круг и нет возможности вписать в круг диаметром 8 мм в этой поверхности, указанному испытанию не подвергают (см. рисунок 39).

Примечание 2 - При визуальной проверке поверхности выступы и отверстия диаметром менее 2 мм не принимают во внимание.

Испытание не проводят на частях из керамики.

Примечание 3 - Испытание является проверкой того, что испытательная проволока, нагретая с помощью электрического тока, не вызовет загорания изолирующих деталей или что часть из изолирующего материала, которая при определенных условиях может воспламениться от нагретой испытательной проволоки, будет гореть непродолжительное время, а огонь не перейдет в постоянное пламя и не произойдет выпадания из испытываемой детали горящих частей или капель на сосновую доску, покрытую тонкой бумагой.

По возможности в качестве испытуемого образца следует брать собранный соединитель.

Примечание 4 - Если испытание нельзя провести на собранном образце, то испытанию подвергают вырезанную из него часть (фрагмент).

Испытания проводят на одном образце.

В случае сомнения испытания проводят еще на двух образцах.

Раскаленную проволоку следует прикладывать только один раз. Образец во время испытания следует устанавливать в наиболее неблагоприятном положении (испытуемая поверхность должна находиться в вертикальном положении).

Конец раскаленной проволоки прикладывают к поверхности испытуемого образца, учитывая при этом условия предполагаемого использования, при которых нагретый элемент мог бы войти в контакт с образцом.

Образец считают прошедшим испытание, если:

- нет видимого пламени или тления;

- пламя и тление угасают через 30 с после удаления раскаленной проволоки.

Не должны иметь место загорания тонкой бумаги или подпаленные места на доске.

28.1.2 Образец вилки с частично опрессованными штырями испытывают с помощью устройства, показанного на рисунке 40, которое состоит из изолирующей плиты А и металлической части В. Между этими двумя частями имеется воздушный промежуток 3 мм, достигаемый с помощью средств, которые препятствуют циркуляции воздуха вокруг штырей.

Передняя поверхность плиты должна быть круглой с плоской поверхностью и иметь диаметр, равный двум максимальным размерам рабочей поверхности вилки, приведенным в ГОСТ 7396.1.

Толщина плиты должна быть не менее 5 мм.

Деталь В должна быть изготовлена из латуни и иметь длину не менее 20 мм и такую же форму, что и контур вилки, соответствующий стандартному листу.

Деталь В должна иметь такую форму, чтобы испытуемая вилка нагревалась ею и при передаче тепла испытуемой вилке в процессе испытания конвенция или облучение были бы снижены до минимума.

Термопара должна устанавливаться на расстоянии 7 мм от передней поверхности части 2 симметрично, как это показано на рисунке 40.

Размеры отверстий для штырей вилки в детали В должны быть на 0,1 мм больше, чем максимальные размеры штырей, указанные в ГОСТ 7396.1, а расстояние между штырями, как указано в ГОСТ 7396.1. Глубина отверстий должна быть достаточной для полного введения в них вилки.

Примечание 1 - Деталь В может изготавливаться из двух или более кусков для удобства их очистки.

Испытуемые образцы вставляют в устройство в наиболее неблагоприятном горизонтальном положении, когда устройство достигает установившейся температуры, измеряемой с помощью термопары, (120 ± 5) °С для вилок на номинальный ток 2,5 А и (180 ± 5) °С для вилок, имеющих более высокий номинальный ток.

Температуру при этих значениях поддерживают в течение 3 ч.

Испытуемые вилки вынимают из устройства и охлаждают до комнатной температуры в течение 4 ч.

Затем частично опрессованные штыри вилки подвергают испытанию на удар по разделу 30, но при комнатной температуре, после чего производят внешний осмотр.

Примечание 2 - При внешнем осмотре не должно быть обнаружено невооруженным глазом никаких трещин на изолирующих частях, а размеры этих частей не должны измениться до такой степени, чтобы была нарушена защита от случайного прикосновения к токоведущим деталям.

28.2 Устойчивость к токам утечки

В соединителях со степенью защиты выше IРХ0 изолирующие части, на которых крепят токоведущие детали, должны быть изготовлены из материала, устойчивого к токам утечки.

Соответствие проверяют по ГОСТ 27473.

Керамические части соединителей не испытывают.

Плоские поверхности испытуемой детали размером не менее 15´15 мм располагают в горизонтальном положении.

Закругленные края электродов должны касаться образца по всей их длине.

Электроды включают в электрическую цепь переменного тока напряжением 175 В и частотой 50 - 60 Гц с интервалом (30 ± 5) с.

Прежде чем на поверхность образца не будет нанесено 50 капель, между электродами не должно возникнуть короткого замыкания или пробоя.

29 Коррозиеустойчивость

Металлические части, включая крышки и монтажные коробки, должны быть надежно защищены от коррозии.

Соответствие данному требованию проверяют следующим испытанием.

Смазочные вещества удаляют с испытуемых частей путем погружения их на 10 мин в раствор тетрахлорметана, трихлорметана или аналогичного обезжиривающего вещества.

После этого испытуемые части погружают на 10 мин в 10 %-ный раствор нашатырного спирта с водой температурой (20 ± 5) °С.

Стряхнув капли, испытуемые части без просушки помещают на 10 мин в камеру при температуре (20 ± 5) °С.

После того как испытуемые части будут просушены в термокамере при температуре (100 ± 5) °С в течение 10 мин, на их поверхностях не должно быть следов коррозии.

Примечание 1 - Следы коррозии на острых краях и желтоватую пленку, которую удаляют путем протирания, не учитывают.

Примечание 2 - Слой смазки, наносимый на небольшие пружины и аналогичные детали, а также на закрытые части, подверженные стиранию, могут служить защитой от коррозии.

30 Дополнительные испытания частично опрессованных штырей вилки

Материал для опрессования штырей вилки должен быть устойчив к нагрузкам, которые могут возникнуть при повышенных температурах в условиях, близких к ненадлежащему соединению, и низких температурах - в особых условиях эксплуатации.

Проверку проводят следующим испытанием.

30.1 Испытание давлением при высокой температуре

Образцы испытывают с помощью прибора, приведенного на рисунке 41. Прибор имеет лезвие прямоугольной формы с концом шириной 0,7 мм (рисунок 41а) для использования с цилиндрическими штырями или лезвие круглой формы (рисунок 41в) диаметром 6 мм и с концом 0,7 мм - для всех остальных случаев.

Образцы устанавливают, как показано на рисунке 41. Сила, прикладываемая к лезвию, равна 2,5 Н.

Прибор с испытуемым образцом содержат 2 ч в термокамере при температуре (200 ± 5) °С.

Затем образец извлекают из прибора и в течение 10 с охлаждают в холодной воде.

Толщину изоляции измеряют сразу же в точке сжатия.

Толщина изоляции в точке сжатия должна быть не менее 50 % ее толщины до испытания.

Примечание - Значения прикладываемой силы 2,5 Н и температуры (200 ± 5) °С являются временными.

30.2 Нагревание горячим паром

Три образца подвергают двум циклам нагревания паром в соответствии с ГОСТ 28216.

После обработки паром и охлаждения до комнатной температуры образцы подвергают следующим испытаниям:

- на сопротивление изоляции и электрическую прочность - в соответствии с разделом 17;

- на истирание - в соответствии с 24.7.

30.3 Испытания при низкой температуре

Три образца выдерживают при температуре минус (15 ± 2) °С в течение 24 ч.

После достижения образцом комнатной температуры его подвергают следующим испытаниям:

- на сопротивление изоляции и электрическую прочность в соответствии с разделом 17;

- на истирание в соответствии с 24.7.

30.4 Испытание ударом при низкой температуре

Образцы подвергают испытанию ударом с помощью прибора, приведенного на рисунке 42. Масса падающего груза принимается равной (100 ± 1) г.

Прибор на прокладке из пористой резины толщиной 4 см помещают вместе с испытуемыми образцами в холодильник при температуре минус (15 ± 2) °С на 24 ч. Спустя 24 ч каждый образец по очереди укрепляют в положении, показанном на рисунке 42 и на него сбрасывают груз с высоты 10 см. Четыре раза груз сбрасывают последовательно на один и тот же образец, поворачивая его на 90° после каждого удара

После испытания образцы доводят до комнатной температуры, а затем проводят визуальный осмотр.

Повреждения опресованной части шрифта не должны быть заметны при визуальном осмотре.

Примечание - Период охлаждения 24 ч, приведенный в 30.3 и 30.4, включает в себя время, необходимое для охлаждения прибора.

1 - розетка стационарная; 2 - вилка опрессованная; 3 - удлинитель одноместный;
4 - соединитель штепсельный; 5 - розетка переносная опрессованная; 6 - вилка опрессованная;
7 - соединитель штепсельный; 8 - розетка приборная опрессованная;
9 - удлинитель с приборной розеткой; 10 - вилка приборная; 11 - прибор; 12 - соединитель приборный

Рисунок 1а - Пример использования соединителей

Рисунок 1б - Многоместная переносная розетка (удлинитель)

Сечение проводника в зажиме, мм2

Минимальный диаметр D или минимальные размеры места расположения проводника, мм

Минимальное расстояние g между зажимным винтом и концом проводника, полностью вставленного в зажим, мм

Крутящий момент, Н × м

11)

21)

31)

Один винт

Два винта

Один винт

Два винта

Один винт

Два винта

Один винт

Два винта

1,5

2,5

1,5

1,5

0,20

0,20

0,40

0,40

0,40

0,40

2,5 (цилиндрическое отверстие)

2,0

0,25

0,50

0,50

2,5 (эллиптическое отверстие)

2,5´4,5

4,0

3,6

1,8

0,40

0,80

0,80

6,0

4,0

0,25

0,50

0,50

10,0

4,5

2,0

0,70

1,20

1,20

1) Относится к винтам, указанным в соответствующих графах таблицы 6.

Часть зажима, имеющая отверстие с резьбой, и часть зажима, в которой зажимается проводник, могут представлять собой две самостоятельные детали, как, например, в случае зажима, снабженного хомутом.

Форма места расположения проводника может быть иной при условии, что в нее можно будет вписать окружность диаметром, равным минимальной величине, указанной для D, или минимальные размеры, указанные для проводника сечением 2,5 мм2.

Рисунок 2 - Торцевые зажимы

Зажимы с крепежной головкой

Зажимы, не требующие применения прокладки, прижимной пластины или специальной прижимной детали

Зажимы, требующие применения прокладки, прижимной пластины или специальной прижимной детали

Зажимы с крепежной гайкой

                                    

1 - возможный вариант; 2 - неподвижная деталь; 3 - прокладка или прижимная пластина;
4 - специальная прижимная деталь;
D - место расположения проводника

Сечение проводника в зажиме, мм2

Минимальный диаметр D места расположения проводника, мм

Крутящий момент, Н × м

31)

Один винт

Два винта

1,5

1,7

0,5

-

2,5

2,0

0,8

-

4,0

2,7

1,2

0,5

6,0

3,6

2,0

1,2

10,0

4,3

1) Относится к винтам, указанным в соответствующих графах таблицы 6.

Деталь, удерживающая проводник в определенном положении, может быть изготовлена из изоляционного материала при условии, что давление, необходимое для зажатия проводника, не будет передаваться через изоляционный материал.

Второе возможное место расположения проводника для зажима размера 2 может быть использовано для присоединения второго проводника при необходимости подключения двух проводников сечением 2,5 мм2.

Рисунок 3 - Зажимы с крепежной головкой и гайкой

1 - прижимная пластина; 2 - неподвижная деталь; 3 - шпилька; D - место расположения проводника

Сечение проводника в зажиме, мм2

Минимальный диаметр D места расположения проводника, мм

Крутящий момент, Н × м

4

3,0

0,5

6

4,0

0,8

10

4,5

1,2

Форма места расположения проводника может быть иной по сравнению с изображенной на рисунке при условии, что в нее можно будет вписать окружность диаметром, равным минимальной величине, указанной для D.

Форма верхней и нижней сторон прижимной планки может быть неодинаковой, что обусловлено различными размерами сечения проводника, и поэтому при зажатии проводника ее можно переворачивать.

Рисунок 4 - Зажимы с прижимной планкой

1 - неподвижная деталь; 2 - деталь соединителя с отверстием для контактного зажима;
D - место расположения проводника

Сечение проводника в зажиме, мм2

Минимальный диаметр D места расположения проводника, мм

Минимальное расстояние g между неподвижной деталью и концом проводника, полностью вставленного в зажим, мм

1,5

1,7

1,5

2,5

2,0

4,0

2,7

1,8

6,0

3,6

10,0

4,3

2,0

1) Нижняя часть места расположения проводника должна быть слегка закруглена для обеспечения надежного соединения с проводником.

Рисунок 5 - Колпачковый зажим

Рисунок 6 - Самонарезающий формующий винт

Рисунок 7 - Самонарезающий режущий винт

Р - сила 150 Н; 1 - стальная нажимная пластина; 2 - образец; 3 - стальное основание

Рисунок 8 - Установка для испытания на сжатие по 24.5

При калибровке прибора силу 1 Н прикладывают к наконечнику жесткого стального стержня вдоль его оси до смещения плоскостей А и Б за счет сжатия внутренней пружины.

Рисунок 9 - Измерительный прибор для проверки недоступности токоведущих частей
через шторки и токоведущих частей розеток с усиленной защитой

При калибровке прибора силу 20 Н прикладывают к наконечнику жесткого стального стержня вдоль его оси до смещения плоскостей А и Б за счет сжатия внутренней пружины.

Рисунок 10 - Измерительный прибор для проверки недоступности токоведущих частей

Размеры в миллиметрах

1 - зажим; 2 - плата; 3 - втулка; 4 - груз

Примечание - Следует обратить внимание, что отверстие втулки изготавливают так, чтобы была уверенность, что усилие, прикладываемое к испытуемому кабелю, - это усилие натяжения, и передача вращающего момента на жилы кабеля отсутствует.

Рисунок 11 - Устройство для испытания прочности изоляции проводов
(повреждаемости проводов)

Рисунок 12а)

Принцип действия испытательной установки для проверки на изгиб безвинтовых контактных винтовых зажимов

Рисунок 12b)

Принципиальная схема для определения падения напряжения во время испытаний на изгиб контактных зажимов

А - амперметр; S - выключатель; мВ - милливольтметр; 1 - образец;
2 - испытуемое прижимное устройство; 3 - испытуемый проводник;
4 - испытуемый проводник с прогибом; 5 - точка приложения силы для прогиба проводника;
6 - направление отклоняющей силы (перпендикулярно к проводнику в исходном состоянии)

Рисунок 12 - Испытание на изгиб

Размеры в миллиметрах

Р - усилие;

материал: сталь.

Примечания

1 Размеры а и b подбирают по ГОСТ 7396.1.

2 Размеры и расположение штырей по ГОСТ 7396.1

Рисунок 13 - Устройство для проверки сопротивления стационарных розеток боковой
деформации

1 - опора; 2 - стальная штанга; 3 - груз

Рисунок 14 - Установка для испытания трубчатых штырей

Размеры в миллиметрах

1 - кирпич; 2 - строительный раствор; 3 - монтажная коробка; 4 - плоскость установки.

________

* Размер для справок.

Примечание - Все швы строительного раствора толщиной (10 ± 5) мм, если не указано иное.

Рисунок 15 - Блок строительной стены для проведения испытаний в соответствии
с требованиями по 16.2.1

1 - вилка; 2 - розетка; 3 - стальной шар

Пружины, отличные от пружины В, выбирают и регулируют таким образом, чтобы в разъединенном положении сила разъема вилки с розеткой обеспечивалась требованиями следующей таблицы:

Номинальные параметры соединителей

Число полюсов

Сила разъема вилки с розеткой, Н

До 10 А включ.

2

3,5

3

4,5

Св. 10 » 16 А »

2

7,2

3

8,1

Больше чем 3

9,0

» 16 » 32 А »

2

12,6

3

12,6

Больше чем 3

14,4

Будучи сжатыми на 1/3 разницы между длиной в нерабочем положении и полной длиной сжимаемой части, пружины обеспечивают силу разъема, равную 1,2-кратному от соответствующей максимальной силы удерживания из указанных в разделе 22

Рисунок 16 - Установка для испытания соединителей на нормальную работу

1 - металлическая опора

Рисунок 17 - Схема соединения для испытания соединителей на нормальную работу

Размеры в миллиметрах

1 - держатель; 2 - образец; 3 - испытуемая вилка; 4 - захват; 5 - дополнительный груз;
6 - основной груз; 7 - опора

Рисунок 18 - Установка для проверки усилия разъема штырей вилки с гнездами розетки

Примечание - Масса калибра должна быть равномерно распределена относительно осевой линии. Размеры калибра - по ГОСТ 7396.1.

Рисунок 19 - Калибр для определения минимального усилия при разъеме штырей вилки
с гнездами розетки

Размеры в миллиметрах

1 - эксцентрик; 2 - ручка; 3 - образец

Рисунок 20 - Установка для испытания узла крепления шнура

1 - устройство для закрепления образца; 2 - образец; 3 - груз

Регулировку устройств для закрепления образца для различных соединителей проводят в соответствии с 23.4.

Рисунок 21 - Установка для испытания узла крепления шнура

Размеры в миллиметрах

1 - плита; 2 - образец; 3 - монтажная опора

Рисунок 22 - Установка для проверки механической прочности соединителей

Размеры в миллиметрах

Материал деталей: 1 - полиамид; 2, 3, 4, 5 - сталь

Рисунок 23 - Ударный элемент

Размеры в миллиметрах

1 - ось вращения; 2 - фанерный лист

Рисунок 24 - Монтажная опора

Размеры в миллиметрах

1 - брусок из граба; 2 - фанерный лист

Размер углублений в бруске из граба приведен ориентировочно.

Рисунок 25 - Устройство для крепления розеток для скрытой установки

Таблица

Методика испытаний соединителей

Эскизы образцов

Число ударов

Координаты ударов

Части образцов, которые будут проверены

26а)

3

Один в центре

А

Один между О и Р1)

Один между О и Q1)

26b)

2

Один между О и R1)

А

Один между О и S1)

26с)

2

Один между О и T1)

В, С и D

Один между О и U1)

26d)

2

Один между О и V1)

В, С и D

Один между О и Z1)

1) Удар наносят в самой неблагоприятной точке соединителя.

1 - образец; 2 - лист фанеры; 3 - ось поворота

Рисунок 26 - Эскизы, поясняющие информацию об испытаниях механической
прочности соединителей (согласно таблице)

Размеры в миллиметрах

1 - боек массой (1000 ± 2) г; 2 - образец; 3 - прижим массой 100 г; 4 - края закруглить

Рисунок 27 - Устройство для проверки механической прочности розеток,
вилок, разветвителей и удлинителей

1 - основание; 2 - образец; 3 - зажим; 4 - груз; 5 - стержень; 6 - ось;
7 - стальная проволока; 8 - штырь вилки

На сечении А-А конфигурация стальной проволоки.

Рисунок 28 - Устройство для испытания на истирание изоляционных
трубок штырей вилок

Размеры в миллиметрах

Рисунок 29 - Устройство для проверки механической прочности переносных
многоканальных розеток (удлинителей)

Размеры в миллиметрах

Рисунок 30 - Устройство для проверки механической прочности вилок

Размеры в миллиметрах

1 - лист жесткого материала; 2 - закрывающая пластина; 3 - опорная рама; 4 - монтажная кробка; 5 - стена

Рисунок 31 - Устройство для испытания крышек и закрывающих пластин (накладок)

Размеры в миллиметрах

Рисунок 32 - Калибр для проверки габаритов крышек или закрывающих пластин

1 - монтажная поверхность; 2 - розетка; 3 - опорная поверхность;
4 - расположение детали, имеющей ту же толщину, что и опорная часть

Рисунок 33 - Пример применения калибра на рисунке 32 к стационарным крышкам
без винтов крепления к опорной или монтажной поверхности

В случаях а) и b) - несоответствие.

В случаях с) - f) соответствие, но оно должно быть подтверждено испытаниями по 24.8 с использованием калибра, изображенного на рисунке 35

Рисунок 34 - Пример применения калибра (по рисунку 37) в соответствии с 24.17

Рисунок 35 - калибр для проверки пазов, отверстий и обратных конусов

1 - розетка; 2 - монтажная поверхность

Рисунок 36 - Схема, показывающая направление приложения калибра,
изображенного на рисунке 35

1 - стальной шарик диаметром 5 мм; 2 - образец

Рисунок 37 - Калибр для проверки пазов, отверстий и обратных конусов

1 - направляющие; 2 - подвижный зажим; 3 - образец; 4 - неподвижный зажим;
Р - направление приложения силы

Рисунок 38 - Установка для испытания на сжатие вилок по 25.4

Размеры в миллиметрах

Рисунок 39 - Схематическое изображение требований по 28.1.1

Размеры в миллиметрах

1 - нагревательный элемент; 2 - металлическая часть (деталь); 3 - термопара; 4 - изолирующая плита;
5 - прокладка; 6 - контур вилки

Примечания

1 Максимальный контур вилки должен соответствовать ГОСТ 7396.1.

2 Диаметр изолирующей плиты 4 должен быть в два раза больше максимально допустимого размера рабочей поверхности, указанной в ГОСТ 7396.1.

Рисунок 40 - Установка для испытания опрессованных вилок с частично
изолированными штырями

1 - образец; 2 - опора

Рисунок 41 - Установка для испытания давлением при высокой температуре

Вид спереди

Размеры в миллиметрах

1 - образец; 2 - груз массой (1000 ± 2) г; 3 - промежуточная стальная вставка массой (100 ± 1) г;
4 - стальная опора массой (10 ± 1) кг; 5 - края закруглить

Рисунок 42 - Установка для испытания ударом при низкой температуре

Рисунок 43 - Методика испытаний по разделу 21 «Нормальная работа»

1 - пространство (отверстие) для питающего кабеля; 2 - резьбовое отверстие для зажимного винта

Материал: латунь с минимальным содержанием меди 52 %.

Допуск на указанные размеры 0,2 мм

Примечания

1 Допуск на измерение(я) в заштрихованной площадке для измерения температуры + 0,8 мм.

2 Значение d находится в пределах: 1,5 < d < 3 (мм).

3 Термопара должна быть помещена в пределах заштрихованной области, но на некотором отдалении от зажимного винта

Рисунок 44 - Методика испытаний соединителей на превышение температуры
согласно разделу 19

Приложение А
(обязательное)

Приемо-сдаточные испытания переносных соединителей на соответствие
требованиям безопасности (защита от поражения электрическим током
и соблюдение полярности)

А.1 Общие положения

Все вилки и переносные розетки при изготовлении подвергают приемо-сдаточным испытаниям. Схематическое представление испытаний соединителей приведено в таблице А.1:

- двухполюсные поляризованные системы - по А.2;

- с числом полюсов более двух - по А.2, А.3, А.4.

Таблица А.1 - Схематическое представление установленных испытаний

Пункт

Число полюсов

2

Свыше 2

А.2

´

´

А.3

-

´

А.4

-

´

Испытательное оборудование и средства измерений, а также методы проведения испытаний должны обеспечивать непригодность для использования образцов, не соответствующих требованиям настоящего стандарта. Бракованные соединители должны храниться отдельно от соединителей, поставляемых потребителю.

Примечание - «Непригодность для использования» означает, что изделие повреждено так, что не в состоянии выполнять свои функции.

При проведении испытаний соединителей на предприятии-изготовителе в протоколе испытаний регистрируют следующие данные:

- обозначение типа, которое может быть, например, каталожным номером,

- дату испытаний,

- наименование, товарный или отличительный знак предприятия - изготовителя соединителей,

- число испытанных образцов,

- число отбракованных образцов и порядок или результаты испытаний.

Средства измерения и испытательное оборудование для испытаний проверяют перед каждым испытанием. При продолжительных циклах испытаний калибровку измерительных систем оборудования проводят не реже одного раза в сутки.

Настройка испытательного оборудования и проверка средств измерений должны обеспечить отбраковку дефектных образцов.

Соединители подлежат поставке потребителю при положительных результатах приемо-сдаточных испытаний.

А.2 Проверка полярности электрических цепей соединителей

При испытаниях применяют безопасное сверхнизкое напряжение (БСНН), которым воздействуют продолжительностью не менее 2 с.

Примечание 1 - Время воздействия БСНН может быть уменьшено до 1 с при наличии испытательного оборудования с автоматическим отсчетом времени подачи напряжения.

Проверку проводят:

- для вилок и переносных розеток - между удаленным концом жилы проводника гибкого кабеля L и N и соответствующим штырем L и N вилки или соответствующими гнездовыми контактами розетки;

- для удлинителей - между штырями L и N вилки на одном конце жилы соответствующего проводника гибкого кабеля.

Полярность проводников должна быть правильной.

Примечание 2 - Могут быть использованы результаты аналогичных испытаний.

А.3 Проверка цепи заземления

При испытаниях применяют безопасное сверхнизкое напряжение (БСНН), которым воздействуют продолжительностью не менее 2 с.

Примечание 1 - Время воздействия БСНН может быть уменьшено до 1 с при наличии испытательного оборудования с автоматическим отсчетом времени.

Проверку проводят:

- для вилок и переносных розеток - между удаленным концом жилы проводника гибкого кабеля и штырем цепи заземления или заземляющими контактами розетки;

- для удлинителей - между соответствующим заземляющим штырем вилки на одном конце и заземляющим контактом розетки - на другом конце.

Непрерывность электрической цепи заземления должна соблюдаться.

Примечание 2 - Используют результаты аналогичных испытаний.

А.4 Сопротивление и электрическая прочность изоляции электрических цепей соединителей (между проводниками L или N и цепью заземления)

При испытаниях после завершения изготовления применяют источник электрического напряжения, которым воздействуют в течение не менее 2 с.

Примечание 1 - Время воздействия напряжения может быть уменьшено до 1 с при наличии испытательного оборудования с автоматическим отсчетом времени.

Испытания проводят при напряжении:

- (1250 ± 10 %) В - для соединителей на номинальное напряжение до 130 В включительно;

- (2000 ± 10 %) В - для соединителей на номинальное напряжение свыше 130 В или

- для всех нормированных напряжений с использованием установки с импульсным испытательным напряжением с пиковым значением 4 кВ, длительностью 1,2/50 мкс. Прикладывают три импульса с интервалом не менее 1 с:

- между L и ,

- между N и .

Примечание 2 - Проводники цепи L и N для этого источника при этом испытании могут быть закорочены.

В процессе испытания не должно быть пробоев и коротких замыканий.

Приложение В
(обязательное)

Обозначение и число образцов, необходимых для испытаний

Таблица В.1 - Число образцов, необходимых для испытаний в соответствии с 5.4

Разделы и подразделы настоящего стандарта

Число образцов

Неразборные розетки

Разборные розетки

Вилки

6

Номинальные величины

А

A

A

7

Классификация

А

A

A

8

Маркировка

А

A

A

9

Проверка размеров

ABC

ABC

ABC

10

Защита от поражения электрическим током

ABC

ABC

ABC

11

Заземление

ABC

ABC

ABC

12

Контактные зажимы

АВСа)

ABC

ABC

13

Конструкция стационарных розеток

ABCb)

-

-

14

Конструкция вилок и переносных розеток

-

ABCb)

ABCb)

15

Сблокированные розетки

ABC

ABC

-

16

Устойчивость к старению, защита от проникновения воды и влагостойкость

ABC

ABC

ABC

17

Сопротивление и электрическая прочность изоляции

ABC

ABC

ABC

18

Работа заземляющего контакта

ABC

ABC

ABC

19

Превышение температуры

ABC

ABC

ABC

20

Отключающая способность

ABC

ABC

ABC

21

Нормальная работа

ABC

ABC

ABC

22

Усилие при разъеме штырей вилки с гнездами розетки

ABC

ABC

-

23

Гибкие кабели, шнуры и их присоединение

-

ABCс)

ABCс)

24

Механическая прочность

ABCd), e)

ABCd)

ABCf)

25

Нагревостойкость

ABC

ABC

ABC

26

Винты, токоведущие части и соединения

ABC

ABC

ABC

27

Пути утечки тока, воздушные зазоры и расстояния через заливочную массу

ABC

ABC

ABC

29

Корозиеустойчивость

ABC

ABC

ABC

28.1

Устойчивость к воздействию повышенной температуры и огня

DEF

DEF

DEF

28.2

Устойчивость к токам утечкиg)

DEF

DEF

DEF

30

Дополнительные испытания частично опрессованных штырей вилки

-

-

GHIh)

Общее число

6

6

9

а) Один дополнительный комплект образцов используют для испытания по 12.3.10, пять дополнительных комплектов безвинтовых контактных зажимов используют для испытания по 12.3.11 и один дополнительный комплект образцов используют для испытания по 12.3.12.

b) Один дополнительный комплект мембран необходим для каждого из испытаний по 13.22 и 13.23.

c) Один дополнительный комплект образцов необходим для испытания по 23.2 и 23.4 для образцов без заземляющего контакта для каждого типа кабеля.

d) Один дополнительный комплект образцов используют для испытания по 24.8 для розеток со шторками.

e) Один дополнительный комплект образцов используют для испытания по 24.14.1 и 24.14.2.

f) Один дополнительный комплект образцов используют для испытания по 24.10.

g) Один дополнительный комплект образцов.

h) Один дополнительный комплект образцов используют для испытания по 30.2 и 30.3 для вилок с частично изолированными штырями.

Приложение ДА
(обязательное)

Дополнительные требования к соединителям, устанавливаемые в стандартах
и технических условиях на соединители конкретных типов

В настоящем приложении изложены технические требования, правила приемки и методы испытаний, дополняющие соответствующие разделы, подразделы и пункты настоящего стандарта.

Нумерация разделов, пунктов и подпунктов настоящего приложения соответствует нумерации настоящего стандарта.

ДА.1 Раздел 1 «Область применения»

Раздел дополнить абзацами:

Стандарт распространяется также на разветвители.

Виды климатических исполнений - по ГОСТ 15150.

Номинальные значения климатических факторов - по ГОСТ 15150 и ГОСТ 15543.1.

Виды климатических исполнений и номинальные значения климатических факторов должны устанавливаться в стандартах и технических условиях на соединители конкретных типов.

ДА.2 Раздел 3 «Термины и определения»

Раздел дополнить определениями:

3.34 электрический соединитель: По ГОСТ 21962.

3.35 гнездовый контакт: По ГОСТ 14312.

3.36 штырь: По ГОСТ 14312.

3.37 розетка для открытой установки: Стационарная розетка, предназначенная для установки на открытых поверхностях при открытой проводке электрических сетей.

3.38 розетка для скрытой установки: Стационарная розетка, предназначенная для установки в монтажные коробки по ГОСТ 8594 или специальные монтажные полости при скрытой проводке электрических сетей.

3.39 основание розетки: Часть розетки, служащая для крепления гнездовых контактов и снабженная деталями для крепления розетки и присоединения ее к электрической сети.

3.40 разветвитель: Соединитель, представляющий собой армированные в одном корпусе вилку и многоместную розетку, гнездовые контакты которой электрически соединены со штырями вилки.

3.41 узел крепления розетки: Элемент розетки для скрытой установки, предназначенный для закрепления розетки в монтажной коробке или специальной монтажной полости.

3.42 монтажная скоба: Элемент узла крепления розетки для скрытой установки, на котором монтируют распорные лапки.

3.43 распорные лапки: Элемент узла крепления розетки для скрытой установки, с помощью которого осуществляют крепление розетки.

ДА.3 Раздел 5 «Общие требования к испытаниям»

Раздел дополнить абзацами:

Приемо-сдаточные испытания проводят на каждой партии соединителей. За партию принимают соединители одного типа, изготовленные за одну смену.

Порядок проведения выборочного контроля - по ГОСТ Р ИСО 2859-1 при уровне дефектности не менее 2,5 и 1 % (при проверке сопротивления изоляции по 17.1).

Предусматривают следующие виды испытаний: квалификационные, периодические, приемо-сдаточные, типовые и сертификационные. Программа испытаний типа соединителей по настоящему стандарту является основной для разработки программ любых контрольных испытаний на соединители.

Программы приемочных и квалификационных испытаний соединителей должны включать в себя полную программу испытаний типа по настоящему стандарту, а также испытания на стойкость к внешним воздействующим факторам, проверку защитных покрытий, испытания на надежность.

Испытания на воздействие климатических и, механических внешних воздействующих факторов и специальных сред проводятся в соответствии с ГОСТ 16962.1, ГОСТ 16962.2, ГОСТ 24683 и должны устанавливаться в стандартах и технических условиях на соединители конкретных типов.

Соединители должны сохранять свои параметры в процессе и после воздействия механических факторов по ГОСТ 17516.1. Группа по ГОСТ 17516.1 должна быть указана в технических условиях на соединители конкретных типов.

Испытания проводят с медными проводами по ГОСТ Р МЭК 60227-1 и ГОСТ Р МЭК 60245-4.

Визуальным осмотром проверяют класс защиты, тип контактного зажима, правильность сборки соединителей, наличие маркировки соединителей и транспортной тары, соответствие упаковки и транспортной тары ГОСТ 23216, внешний вид соединителей, а также наличие:

- пружинящего устройства для обеспечения постоянства контактного нажатия в контактных зажимах;

- фасок или закруглений на концах штырей вилок;

- устройств, предохраняющих гнездовые контакты от попадания посторонних предметов;

- пазов для прохода проводов у розеток для открытой установки;

- полости для монтажной скобы у крышек розеток для скрытой установки;

- отверстий в вилках и удлинителей для прохода проводов;

- сальниковых вводов и сливных отверстий у соединителей степени защиты выше IP 20;

- винта заземляющего контактного зажим;

- шнуров с опрессованными вилками в удлинителях;

- устройств, предохраняющих винты от самопроизвольного выпадания.

ДА.4 Раздел 7 «Классификация»

Раздел дополнить:

Классификация соединителей по степени защиты от воды и пыли - по ГОСТ 14254.

На обычные соединители не наносят символы степени защиты от проникновения воды.

Пункт 7.1 дополнить подпунктом 7.1.6:

в зависимости от назначения:

- вилки,

- розетки,

- удлинители,

- разветвители.

7.4 Вилки классифицируют по вводу проводов:

- с прямым вводом,

- с боковым вводом.

7.5 Разветвители и удлинители классифицируют по ограничению потребляемого тока:

- с ограничительным устройством,

- без ограничительного устройства.

ДА.5 Раздел 8 «Маркировка»

Подраздел 8.7 дополнить абзацем: Дополнительно испытания проводят по ГОСТ 18620.

ДА.6 Раздел 9 «Проверка размеров»

Размеры соединителей на номинальные токи до 20 А и напряжение до 277 В должны соответствовать требованиям ГОСТ 7396.1.

Габаритные размеры соединителей должны соответствовать установленным в технических условиях на соединители конкретных типов.

9.1.1 Расстояние от верхнего края рабочей плоскости крышки до верхней точки гнездового контакта розеток, удлинителей и разветвителей проверяют калибром, указанным на рисунке ДА.1, с размером d, равным:

4,43+003 мм - для соединителей на номинальные токи до 2,5 А;

5,43+0 мм - для соединителей на номинальные токи до 16 А.

Корпус калибра из изоляционного материала, а также штыри из электропроводящего материала не должны иметь между собой электрической связи.

Калибр вставляют поочередно в каждое отверстие до упора сначала коротким, а затем длинным штырем. Определение касания штыря калибра с гнездовым контактом проводят с помощью электрической схемы световой, звуковой или иной сигнализацией, указывающей на наличие электрического контакта между калибром и гнездовым контактом. Напряжение питания схемы - не более 12 В.

Результаты проверки считают удовлетворительными, если между коротким штырем калибра и гнездовым контактом отсутствует, а между длинным штырем калибра и гнездовым контактом имеется электрический контакт.

9.1.2 Расстояние между штырями вилок на номинальные токи до 16 А проверяют калибрами А и В, приведенными на рисунке ДА.2.

Штыри полностью собранной вилки вставляют сначала в калибр А, а затем в калибр В.

Результаты проверки считают удовлетворительными, если штыри свободно входят внутрь калибра А, а калибр В свободно проходит между штырями.

Расстояние между штырями вилок на номинальный ток 2,5 А следует проверять универсальным измерительным инструментом или проходным и непроходным калибрами.

9.1.3 Нормируемые диаметры штырей вилок на номинальные токи 16 А следует проверять проходными и непроходными калибрами, приведенными на рисунке ДА.3.

Результаты проверки считают удовлетворительными, если штырь вилки вводится в проходной калибр без усилия. Должна отсутствовать возможность введения штыря в непроходной калибр.

9.1.4 Размеры вилки с боковыми заземляющими контактами следует проверять калибром, указанным на рисунке ДА.4.

Полностью собранную вилку три раза вводят в калибр до упора.

Результаты проверки считают удовлетворительными, если вилка без усилий входит в калибр. Перед испытаниями необходимо 10 раз вставить и вынуть из розетки вилку, соответствующую ГОСТ 7396.1, с максимальными размерами штырей.

ДА.7 Раздел 11. «Заземление»

Подраздел 11.1 дополнить абзацами:

Проверку проводят с использованием схемы, указанной на рисунке ДА.5, при напряжении питания не более 12 В.

Результаты проверки считают удовлетворительными, если при введении вилки 1 в розетку 2 вначале загорается лампа Л3 (при этом лампы Л1 и Л2 не загораются и не мигают).

При полном введении вилки в розетку должны гореть все три лампы.

При выключении вилки из розетки первыми должны погаснуть лампы Л1 и Л2 (при этом лампа Л3 не мигает и не гаснет).

ДА.8 Раздел 12. «Контактные зажимы»

Подраздел 12.2 дополнить абзацем:

Соединители должны иметь винтовые контактные зажимы по ГОСТ Р 50043.2.

Пункт 12.2.5 дополнить абзацем:

Проводники считают поврежденными, если в многопроволочных проводах перерезаются более 25 % проволок, а в однопроволочных деформация не превышает 50 % диаметра провода.

ДА.9 Раздел 13. «Конструкция стационарных розеток»

Подраздел 13.1 дополнить абзацем и подпунктом:

Проверку проводят дополнительно по 13.1.1.

13.1.1 Проверку проводят на каждом гнездовом контакте розетки калибром массой (400 ± 10) г, размеры которого указаны на рисунке ДА.6.

Розетку устанавливают на приспособлении горизонтально, отверстиями для штырей вилки вниз.

Результаты проверки считают удовлетворительными, если соответствующий калибр, вставленный в каждый гнездовой контакт розетки, не выпадает под собственной массой в течение 10 с.

Дополнить подразделами:

13.24 Винты, крепящие крышки и другие детали (кроме винтов контактных зажимов), снимаемые при монтаже, должны быть защищены от выпадания.

Проверку защиты винтов от выпадения проводят следующим образом.

Винты ослабляют до момента выхода из соединения с гаечной частью в соответствии с таблицей 6. После проведения трех циклов ослабления - затягивания снимают крышку или другую съемную часть розетки вместе с винтами. Крышку или другую съемную часть розетки располагают таким образом, чтобы винты находились в вертикальной плоскости, головкой вниз, и удерживают в таком положении (10 ± 2) с.

Результаты проверки считают удовлетворительными, если не произошло выпадения винтов из крышки или другой съемной части розетки.

13.25 Узел крепления розетки для скрытой установки, закрепленной в монтажной коробке по ГОСТ 8594, должен выдерживать усилие выдергивания не менее (180 ± 5) Н.

Прочность узла крепления розеток для скрытой установки проверяют с помощью приспособления, указанного на рисунке ДА.7.

Узел крепления проверяют со снятой крышкой. Резьбовые соединения затягивают динамометрическим инструментом с приложением крутящего момента, указанного в таблице 6.

Измеряют расстояние между распорными лапками, которое должно соответствовать ГОСТ 7396.1.

Затем резьбовые соединения узла крепления ослабляют и розетку устанавливают в приспособление. Резьбовые соединения узла крепления затягивают с приложением крутящего момента, указанного в таблице 6.

К основанию розетки с помощью специальных захватов (типа скобы или хомута) прикладывают силу, направленную вдоль оси приспособления, плавно увеличивая ее от нуля до (180 ± 5) Н со скоростью, позволяющей проводить визуальный контроль величины прикладываемой силы.

После (60 ± 5) с воздействия силу плавно уменьшают до нуля.

Резьбовые соединения узла крепления ослабляют и розетку извлекают из приспособления. Затем резьбовые соединения узла крепления розетки затягивают с приложением крутящего момента, указанного в таблице 6, и измеряют расстояние между распорными лапками.

Метод испытания розетки, имеющей способ крепления в монтажной коробке, отличный от установленного в ГОСТ 7396.1, должен быть указан в технических условиях на розетки конкретных типов или групп.

Результаты проверки считают удовлетворительными, если:

- после приложения силы розетка осталась в приспособлении;

- расстояние между распорными лапками розетки до и после приложения силы соответствует указанному в ГОСТ 7396.1;

- отсутствуют механические повреждения, препятствующие дальнейшей эксплуатации розеток.

ДА.10 Раздел 14 «Конструкция вилок и переносных розеток»

Подраздел 14.14 дополнить абзацем:

Дополнительную защиту винтов от выпадания следует проверять по 13.25.

Дополнить подразделами:

14.26 Удлинители должны иметь шнур, длина которого (от места выхода из удлинителя до рабочей поверхности вилки) должна быть указана в технических условиях на удлинители конкретных типов.

Присоединение шнуров в удлинителе должно осуществляться с помощью пайки или зажимов с крепежной головкой.

Примечание - Допускается применение втычных быстросоединяемых зажимов.

Проверку проводят внешним осмотром.

Допускается применение разборной вилки, если она содержит устройство для ограничения потребляемого тока.

14.27 Корпуса вилок степени защиты IR20 должны иметь отверстия для прохода проводов диаметром, равным диаметру вписанной окружности.

Проверку проводят внешним осмотром и измерениями.

14.28 Крышки розеток, удлинителей и разветвителей должны иметь фиксированное положение относительно гнездовых контактов.

Отверстия для прохода штырей вилок должны быть соосны гнездовым контактам. Наличие фиксированного положения крышек розеток, удлинителей и разветвителей проверяют внешним осмотром и пробным монтажом.

Соосность гнездовых контактов с отверстиями в крышке проверяют калибром:

- по рисунку ДА.8 - для соединителей без заземляющего контакта;

- по рисунку ДА.9 - для соединителей с боковыми заземляющими контактами.

Калибр вставляют три раза в полностью собранную розетку, удлинитель и разветвитель. При этом калибр по рисунку ДА.8 вставляют по три раза каждой стороной.

Результаты испытания считают удовлетворительными, если калибр входит в розетку, удлинитель и разветвитель до упора.

ДА.11 Раздел 16 «Устойчивость к старению, защита от проникновения воды и влагостойкость»

Подраздел 16.1. Восьмой абзац после слов «в тепловой камере 7 сут (168 ч)» дополнить:

Температура и продолжительность испытаний в тепловой камере составляют:

- (70 ± 2) °С и 10 сут (240 ч) - для соединителей из резины;

- (80 ± 2) °С и 7 сут (168 ч) - для соединителей из поливинилхлорида и аналогичных материалов.

Пункт 16.2.2 после первого абзаца дополнить словами:

Степень защиты должна быть указана в технических условиях на соединители конкретных типов.

ДА.12 Раздел 17 «Сопротивление и электрическая прочность изоляции»

Подраздел 17.1 дополнить абзацем:

Сопротивление изоляции должно быть не менее 20 МОм в холодном обесточенном состоянии при нормальных климатических условиях испытаний по ГОСТ 15150.

При приемо-сдаточных испытаниях проводят проверку только между частями, указанными в перечислениях а), b) 17.1.1 и перечислениях а), b) 17.1.2.

Подраздел 17.2 Четвертый абзац после слов «до указанного» дополнить абзацами:

После (1 ± 0,1) мин испытательное напряжение плавно снижают до нуля в течение не более 10 с.

При приемо-сдаточных испытаниях проводят проверку между частями, указанными в перечислениях а), b) 17.1.1 и перечислениях а), b) 17.1.2.

При приемо-сдаточных испытаниях допускается длительность испытания (1 ± 0,1) с при условии повышения испытательного напряжения на 25 %.

После примечаний дополнить абзацем:

Токи поверхностного разряда, не вызывающие уменьшение испытательного напряжения более 20 %, не учитывают при оценке результатов проверки.

ДА.13 Раздел 18 «Работа заземляющего контакта»

Раздел дополнить подразделом:

18.1 Проверку контактного нажатия боковых заземляющих контактов розеток и удлинителей проводят на установке, указанной на рисунке ДА.10.

Установка имеет два поворотных рычага 2, нижние концы которых упираются в заземляющие боковые контакты розетки. Верхние концы снабжены крючками 3, к которым стандартным динамометром прикладывают силу. На верхних концах поворотных рычагов имеется метка «а», расположенная таким образом, что она и метка «б» на неподвижной части установки совпадали, когда расстояние между точкой Л рычага и осью установки равняется 16 мм.

Установку вставляют в полость розетки или удлинителя и фиксируют запирающим винтом 5, с помощью которого три штифта 8 равномерно упираются в стенки полости розетки. Если концы рычагов не упираются в ту часть заземляющих контактов розетки или удлинителя, которая соприкасается с заземляющими контактами вилки, то правильное положение устройства в розетке регулируют с помощью кулачков 4, которые подкладывают под нижний конец устройства. Затем поочередно к каждому крючку 3 прикладывают силу, значение которой измеряют во время совпадения меток «а» и «б». Испытание повторяют при повернутой на 180° розетке.

Результаты испытания считают удовлетворительными, если сила, необходимая для перемещения каждого контакта в отмеченное положение, составляет не менее 5 Н.

ДА.14 Раздел 20 «Отключающая способность»

Третий абзац после примечаний дополнить предложением:

Испытания розеток со шторками и удлинителей со шторками проводят вручную.

Предпоследний абзац после слов «устойчивой электрической дуги» дополнить абзацем:

После испытаний превышение температуры контактных зажимов над температурой окружающей среды не должно быть более 40 °С при токе, равном 1,25 номинального значения, а усилие разъема гнездовых контактов соединителя с вилкой должно быть не менее 5 Н.

ДА.15 Раздел 22 «Усилие при разъеме штырей вилки с гнездами розетки»

Подраздел 22.2

После таблицы 16 дополнить абзацами:

Для испытательных вилок на номинальный ток 2,5 А и напряжение 250 В максимальный диаметр штырей равен 4,06 мм, минимальный - 3,94 мм.

Для вилок на номинальные токи до 16 А и напряжение 250 В максимальный диаметр штырей равен 4,85 мм, минимальный - 4,75 мм.

ДА.16 Раздел 23 «Гибкие кабели, шнуры и их присоединение»

Подраздел 23.2. После таблицы 17 дополнить абзацем:

Длину шнура, провода или кабеля от места приложения силы (крепления груза) до подвижной панели выбирают такой, чтобы за время не менее четверти и не более половины периода вращения эксцентрика груз находился на опорной поверхности установки. Частота вращения эксцентрика (30 ± 5) об/мин.

После таблицы 18 дополнить абзацем:

Проверку проводят на установке, указанной на рисунке ДА.11 с жилами проводов (шнуров) минимального и максимального сечения.

ДА.17 Раздел 24 «Механическая прочность»

Подраздел 24.1 дополнить абзацем (после второго абзаца):

Допускается изготовление бойка из древесины твердых пород.

Подпункт 24.2 после первого абзаца дополнить абзацем:

Разборные соединители заряжают гибким кабелем или шнуром по 23.2, имеющим наименьшее сечение из указанных в таблице 3, и длиной (100 ± 5) мм.

Опрессованные соединители испытывают с тем кабелем или шнуром, который у них имеется, при этом кабель или шнур следует оставить длиной (100 ± 5) мм.

ДА.18 Раздел 26 «Винты, токоведущие части и соединения»

Пункт 26.2 после первого абзаца дополнить абзацем:

Диаметр винта, ввертываемого в электроизоляционный материал, должен быть не менее 3 мм + 1/3 номинального диаметра резьбы.

ДА.19 Раздел 28 «Теплостойкость, огнестойкость и устойчивость к токам поверхностного разряда»

Подраздел 28.1 после первого абзаца дополнить абзацем:

Требование не распространяется на крышки розеток, удлинителей и разветвителей, если отверстия для штырей вилки выполнены во втулках из керамических материалов.

Рисунок ДА.1 - Калибр для проверки расстояния от верхнего края рабочей плоскости
крышки до верхней точки гнездового контакта розетки

Рисунок ДА.2 - Калибры для проверки расстояния между штырями вилок

Проходной калибр

Проверка диаметров штырей вилок

Номинальный ток, А

а

+0,01

b

-0,01

2,5

4,06

3,94

6, 10 и 16

4,86

4,74

Рисунок ДА.3 - Калибры для проверки расстояния между штырями вилок

Размеры в миллиметрах

Рисунок ДА.4 - Калибр для проверки размеров вилки с боковыми
заземляющими контактами

1 - вилка; 2 - розетка

Рисунок ДА.5 - Схема для проверки соединителей с заземляющим контактом
на опережающее включение заземляющего контакта

Размеры в миллиметрах

________

* Размер для справок.

Рисунок ДА.6 - Калибр для проверки контактного нажатия розеток

Размеры в миллиметрах

________

* Размер для справок.

Рисунок ДА.7 - Калибр для проверки прочности крепления розеток
для скрытой установки

Размеры в миллиметрах

Таблица

Номинальный ток, А

D

-0,01

L

+0,02

L1

-0,02

2,5

4,06

14,90

23,1

6, 10 и 16

4,86

14,10

23,9

Штыри на обеих сторонах калибра должны полностью входить в розетку без усилия.

Рисунок ДА.8 - Калибр для проверки соосности гнездовых контактов с отверстиями
в крышках розеток, удлинителей и разветвителей без заземляющих контактов

Размеры в миллиметрах

Рисунок ДА.9 - Калибр для проверки размеров розеток и удлинителей
с заземляющими боковыми контактами

1 - ось рычага; 2 - поворотный рычаг; 3 - крючки; 4 - калиброванные кулачки; 5 - запирающий винт;
6 - корпус; 7 - возвратная пружина; 8 - штифты

Рисунок ДА.10 - Установка для проверки усилия контактного нажатия боковых
заземляющих контактов двухполюсных розеток на 10 и 16 А, 250 В

1 - испытуемый образец; 2 - зажимное приспособление; 3 - провод, шнур или кабель; 4 - груз

Рисунок ДА.11 - Установка для воздействия на привод соединителя крутящим моментом

Приложение ДБ
(справочное)

Сведения о соответствии ссылочных национальных и межгосударственных
стандартов международным стандартам, использованным в качестве ссылочных
в примененном международном стандарте

Таблица ДБ.1

Обозначение ссылочного национального, межгосударственного стандарта

Степень соответствия

Обозначение и наименование ссылочного международного стандарта

ГОСТ Р 50043.2-92

IDT

МЭК 60998-2-1:2002 (1990) «Устройства соединительные для низковольтных цепей бытового и аналогичного назначения. Часть 2-1: Частные требования к соединительным устройствам как отдельным элементам с винтовыми зажимами»

ГОСТ Р 50571.3-2009

IDT

МЭК 60364-4-41:2005 «Низковольтные электроустановки. Часть 4-41. Защита для обеспечения безопасности. Защита от поражения электрическим током»

ГОСТ Р 50827.1-2009

MOD

МЭК 60670-1:2002 «Кожухи и оболочки для принадлежностей бытовых и аналогичных стационарных электрических установок. Часть 1. Общие требования»

ГОСТ Р 51322.2.6-99

MOD

МЭК 60884-2-6:1997 «Вилки и розетки бытового и аналогичного назначения. Часть 2-6. Частные требования к штепсельным розеткам, снабженным выключателем, с блокировкой для стационарных электроустановок»

ГОСТ Р 51325.1-99

MOD

МЭК 60320:2004 «Соединители электроприборов бытового и аналогичного назначения. Часть 1. Общие требования»

ГОСТ Р 51328-99

MOD

МЭК 61540:1999 «Электроаппаратура вспомогательная. Переносные устройства защиты от токов замыкания на землю без встроенной максимальной токовой защиты бытового и аналогичного назначения»

ГОСТ Р 51686.1-2000

IDT

МЭК 60999-1:1999 «Устройства соединительные. Медные электропровода. Требования безопасности к винтовым и безвинтовым зажимам. Часть 1. Общие и частные требования к зажимам для проводов сечением от 0,2 мм2 до 35 мм2 (включительно)»

ГОСТ Р 54103-2010

MOD

МЭК 60695-2-10:2000 «Испытания на пожарную опасность. Часть 2-10. Методы испытания с применением накаленной/нагретой проволоки. Аппаратура и общие положения методики испытаний накаленной проволокой»

MOD

МЭК 60695-2-11:2000 «Испытания на пожароопасность. Часть 2-11. Методы испытания с применением накаленной/нагретой проволоки. Метод испытания воспламеняемости конечной продукции от накаленной/нагретой проволоки»

ГОСТ Р 54103-2010

MOD

МЭК 60695-2-12:2000 «Испытания на пожарную опасность. Часть 2-12. Методы испытания с применением накаленной/нагретой проволоки. Метод испытания воспламеняемости материалов от накаленной/нагретой проволоки»

MOD

МЭК 60695-2-13:2000 «Испытания на пожарную опасность. Часть 2-13. Методы испытания с применением накаленной/нагретой проволоки. Метод испытания зажигаемости материалов от накаленной/ нагретой проволоки»

ГОСТ Р МЭК 60227 (все части)

MOD

МЭК 60227 (все части) «Кабели с поливинилхлоридной изоляцией на номинальные напряжения до 450/750 В включительно»

ГОСТ Р МЭК 60245 (все части)

MOD

МЭК 60245 (все части) «Кабели с резиновой изоляцией на номинальное напряжение до 450/750 В включительно»

ГОСТ Р МЭК 61032-2000

IDT

МЭК 61032:1997 «Защита людей и оборудования, обеспечиваемая корпусами. Щупы для проверки»

ГОСТ Р МЭК 61140-2001

NEQ

МЭК 61140:2001 «Защита от поражения электрическим током. Общие аспекты, связанные с электроустановками и электрооборудованием»

ГОСТ 8724-2002

-

ИСО 261-98*

ГОСТ 14254-96

NEQ

МЭК 60529:2001 «Степени защиты, обеспечиваемые корпусами (Код IP)»

ГОСТ 16962.1-89

NEQ

МЭК 60068-2-1:2007 «Испытания на воздействия внешних факторов. Часть 2-1. Испытания. Испытания А: Холод»

ГОСТ 24622-91

IDT

ИСО 2039-2-1987 «Пластики. Определение твердости. Часть 2. Твердость по Роквеллу»

ГОСТ 27473-87

NEQ

МЭК 60112:2003 «Материалы электроизоляционные твердые. Методы определения нормативного и сравнительного индексов трекингостойкости»

ГОСТ 28216-89

NEQ

МЭК 60068-2-30:2005 «Испытания на воздействия внешних факторов. Часть 2. Испытания. Испытание Db и руководство: Влажное тепло, циклическое (12 + 12-часовой цикл)»

ГОСТ 28218-89

IDT

МЭК 60068-2-32:1975 «Испытания на воздействие внешних факторов. Часть 2. Испытания. Испытание Ed. Свободное падение*»

ГОСТ 28312-89

NEQ

МЭК 60417-DB:2008 «Графические обозначения, применяемые на оборудовании»

* В Федеральном информационном фонде технических регламентов и стандартов отсутствует.

Примечание - В настоящей таблице использованы следующие условные обозначения степени соответствия стандартов:

- IDT - идентичные стандарты;

- MOD - модифицированные стандарты;

- NEQ - неэквивалентные стандарты.

Библиография

[1]

МЭК 60050-151:2001

Международный электротехнический словарь. Глава 151. Электрические и магнитные устройства

(IEC 60050-151:2001

International Electrotechnical Vocabulary. Part 151. Electrical and magnetic devices)

[2]

МЭК 60050-442:1998

Международный электротехнический словарь. Часть 442. Электрические аксессуары

(IEC 60050-442:1998

International Electrotechnical Vocabulary - Part 442: Electrical accessories)

[3]

МЭК 60423:1993

Кабелепроводы электротехнического назначения. Наружные диаметры кабелепроводов для электроустановок и резьбы для кабелепроводов и фитингов

(IEC 60423:1993

Conduits for electrical purposes; outside diameters of conduits for electrical installations and threads for conduits and fittings)

[4]

ИСО 1639-1974 (1986)

Сплавы медные деформируемые. Экструдированные профили. Механические свойства

(ISO 1639-1974(1986)

Wrought copper alloys; Extruded sections; Mechanical properties)

[5]

ИСО 2081-91(1986)

Покрытия металлические. Электролитические покрытия цинком по железу или стали

(ISO 2081-91

Metallic coatings; Electroplated coatings of zinc on iron or steel)

[6]

ИСО 1456-1988

Покрытия металлические. Электролитические покрытия из никель-хрома и медь-никель-хрома

(ISO 1456-1998

Metallic coatings; electrodeposited coatings of nickel plus chromium and of copper plus nickel plus chromium )

[7]

ИСО 2093-1986

Покрытия электролитические оловянные. Технические требования и методы испытания

(ISO 2093-1986

Electroplated coatings of tin; Specification and test methods)

 

Ключевые слова: соединители электрические штепсельные, вилки и розетки бытовые, присоединение электрических приемников, требования безопасности, методы испытаний

 

 



© 2013 Ёшкин Кот :-)