Информационная система
«Ёшкин Кот»

XXXecatmenu

Нормативные документы в сфере деятельности
Ф
едеральной службы по экологическому
,
технологическому и атомному надзору

_________________

Серия 05

Документы по безопасности,
надзорной
и разрешительной деятельности
в
угольной промышленности

Выпуск 22

ИНСТРУКЦИЯ
ПО ДЕГАЗАЦИИ
УГОЛЬНЫХ
ШАХТ

Москва
ЗАО НТЦ ПБ
2012

Инструкция по дегазации угольных шахт разработана на основе Методических рекомендаций о порядке дегазации угольных шахт (РД-15-09-2006), утвержденных приказом Ростехнадзора от 24.08.2006 № 797.

Инструкция предназначена для организаций, занимающихся проектированием, строительством и эксплуатацией систем дегазации угольных шахт, и применяется в части, не противоречащей действующим законодательным и иным нормативным правовым актам.

СОДЕРЖАНИЕ

I. Общие положения. 3

Ii. Требования к оснащению и эксплуатации дегазационных установок. 8

Iii. Требования к монтажу, оснащению и эксплуатации дегазационных газопроводов. 13

Iv. Требования к бурению и эксплуатации дегазационных скважин. 15

V. Требования к персоналу по обслуживанию дегазационных систем.. 18

Vi. Требования к оснащению и эксплуатации дегазационных систем шахт при поставке газа потребителю и при утилизации каптируемых смесей. 19

Vii. Безопасность ведения дегазационных работ. 20

Приложение № 1. Термины и определения. Условные обозначения. 22

Приложение № 2. Определение газоносности угольных пластов. 33

Приложение № 3. Оценка эффективности применения дегазации. 39

Приложение № 4. Дегазация неразгруженных угольных пластов. 42

Приложение № 5. Определение параметров дегазации разрабатываемых угольных пластов. 55

Приложение № 6. Дегазация пологих и наклонных пластов угля при их подработке. 62

Приложение № 7. Определение параметров дегазации подрабатываемых пологих и наклонных пластов. 67

Приложение № 8. Дегазация надрабатываемых пологих и наклонных пластов. 75

Приложение № 9. Определение параметров скважин для дегазации надрабатываемых пологих и наклонных пластов. 77

Приложение № 10. Дегазация крутых пластов. 79

Приложение № 11. Определение параметров дегазации крутых пластов. 84

Приложение № 12. Дегазация подрабатываемых пластов и выработанных пространств скважинами, пробуренными с земной поверхности. 87

Приложение № 13. Определение параметров дегазации подрабатываемых пластов и выработанных пространств скважинами, пробуренными с земной поверхности. 90

Приложение № 14. Дегазация выработанных пространств скважинами, пробуренными из подземных выработок. 92

Приложение № 15. Определение параметров дегазации выработанных пространств скважинами, пробуренными из подземных выработок. 96

Приложение № 16. Особенности дегазации ликвидируемых шахт. 97

Приложение № 17. Способы предупреждения и борьбы с суфлярами. 98

Приложение № 18. Определение объемов каптируемого метана. 99

Приложение № 19. Расчет газопроводов, выбор вакуум-насосов. 104

Приложение № 20. Дегазационные станции и их помещения. 115

Приложение № 21. Контроль работы дегазационных систем.. 116

Приложение № 22. Техническая документация при эксплуатации дегазационных систем.. 122

Приложение № 23. Порядок проведения вакуумно-газовых съемок в дегазационных газопроводах. 126

Приложение № 24. Герметизация скважин и проверка качества герметизации. 128

ПРИКАЗ
Федеральной службы по экологическому,
технологическому и атомному надзору
от 1 декабря 2011 г. № 679

Об утверждении Инструкции по дегазации угольных шахт*

______________

* Бюллетень нормативных актов федеральных органов исполнительной власти. 2012. № 13. (Примеч. изд.)

Зарегистрирован Минюстом России 29 декабря 2011 г.
Регистрационный № 22811

В соответствии с подпунктом 5.2.2.17 Положения о Федеральной службе по экологическому, технологическому и атомному надзору, утвержденного постановлением Правительства Российской Федерации от 30 июля 2004 г. № 401 (Собрание законодательства Российской Федерации, 2004, № 32, ст. 3348; 2006, № 5, ст. 544; № 23, ст. 2527, № 52, ст. 5587; 2008, № 22, ст. 2581; № 46, ст. 5337; 2009, № 6, ст. 738; № 33, ст. 4081; № 49, ст. 5976; 2010, № 9, ст. 960; № 26, ст. 3350; № 38, ст. 4835; 2011, № 6, ст. 888; № 14, ст. 1935; № 41, ст. 5750), приказываю:

Утвердить прилагаемую Инструкцию по дегазации угольных шахт.

Руководитель

Н.Г. Кутьин

Приложение

ИНСТРУКЦИЯ
ПО ДЕГАЗАЦИИ УГОЛЬНЫХ ШАХТ

I. ОБЩИЕ ПОЛОЖЕНИЯ

1. Инструкция по дегазации угольных шахт (далее - Инструкция) разработана в соответствии с Законом Российской Федерации от 21 февраля 1992 г. № 2395-1 «О недрах» (Собрание законодательства Российской Федерации, 1995, № 10, ст. 823; 1999, № 7, ст. 879; 2000, № 2, ст. 141; 2001, № 21, ст. 2061; № 33, ст. 3429; 2002, № 22, ст. 2026; 2003, № 23, ст. 2174; 2004, № 27, ст. 2711; № 35, ст. 3607; 2006, № 17, ст. 1778; № 44, ст. 4538; 2007, № 27, ст. 3213; № 49, ст. 6056; 2008, № 18, ст. 1941; № 29, ст. 3418; ст. 3420; № 30, ст. 3616; 2009, № 1, ст. 17; № 29, ст. 3601; № 52, ст. 6450; 2010, № 21, ст. 2527; № 31, ст. 4155; 2011, № 15, ст. 2018; ст. 2025; № 30, ст. 4567, 4570, 4572, 4590; Официальный интернет-портал правовой информации (www.pravo.gov.ru), 22 ноября 2011 г.), Федеральным законом от 20 июня 1996 г. № 81-ФЗ «О государственном регулировании в области добычи и использования угля, об особенностях социальной защиты работников организаций угольной промышленности» (Собрание законодательства Российской Федерации, 1996, № 26, ст. 3033; 2000, № 33, ст. 3348; 2004, № 35, ст. 3607; 2006, № 25, ст. 2647; 2007, № 31, ст. 4010; 2008, № 30, ст. 3616; 2009, № 1, ст. 17; 2010, № 31 ст. 4155; 2011, № 19, ст. 2707; № 30, ст. 4596), Федеральным законом от 21 июля 1997 г. № 116-ФЗ «О промышленной безопасности опасных производственных объектов» (Собрание законодательства Российской Федерации, 1997, № 30, ст. 3588; 2000, № 33, ст. 3348; 2003, № 2, ст. 167; 2004, № 35, ст. 3607; 2005, № 19, ст. 1752; 2006, № 52, ст. 5498; 2009, № 1, ст. 17, 21; № 52, ст. 6450; 2010, № 30, ст. 4002; № 31, ст. 4195, 4196; 2011, № 27, ст. 3880, № 30, ст. 4590, 4591, 4596; Официальный интернет-портал правовой информации (www.pravo.gov.ru), 29 ноября 2011 г.), постановлением Правительства Российской Федерации от 25 апреля 2011 г. № 315 «О допустимых нормах содержания взрывоопасных газов (метана) в шахте, угольных пластах и выработанном пространстве, при превышении которых дегазация является обязательной» (Собрание законодательства Российской Федерации, 2011, № 18, ст. 2642) и Правилами безопасности в угольных шахтах (ПБ 05-618-03), утвержденными постановлением Госгортехнадзора России от 5 июня 2003 г. № 50 (зарегистрировано Министерством юстиции Российской Федерации 19 июня 2003 г., регистрационный № 4737; Российская газета, 2003, № 120/1; 2004, № 71), в редакции приказа Федеральной службы по экологическому, технологическому и атомному надзору от 20 декабря 2010 г. № 1158 «О внесении изменений в Правила безопасности в угольных шахтах, утвержденные постановлением Госгортехнадзором России от 5 июня 2003 г. № 50» (зарегистрирован Министерством юстиции Российской Федерации 15 марта 2011 г., регистрационный № 20113; Бюллетень нормативных актов федеральных органов исполнительной власти, 2011, № 16).

2. Инструкция предназначена для организаций, занимающихся проектированием, строительством и эксплуатацией систем дегазации угольных шахт. Для целей настоящей Инструкции используются термины, определения и условные обозначения, приведенные в приложении № 11 к настоящей Инструкции.

______________

1 Приложения к Инструкции в Бюллетене не приводятся. Информация размещена на официальном сайте Федеральной службы по экологическому, технологическому и атомному надзору, www.gosnadzor.ru. - Прим. ред.

3. Инструкция содержит порядок:

проектирования дегазационных работ;

оснащения и эксплуатации дегазационных скважин, газопроводов и дегазационных станций и установок;

ведения эксплуатационных работ по дегазации;

выбора схем и способов дегазации источников газовыделения;

определения объемов извлекаемого из источников газовыделения метана;

контроля параметров каптируемых газовоздушных смесей;

расчета газопроводов и выбора вакуум-насосов;

проведения вакуумно-газовых съемок;

оценки качества герметизации дегазационных скважин.

4. В Инструкции представлены описания способов и схем дегазации источников метановыделения, их параметры и эффективность, способы предупреждения и борьбы с суфлярами, предложены типовые мероприятия по предотвращению возможного возгорания метана и распространения пламени по дегазационному газопроводу при возникновении очагов пожаров в горных выработках, типовые мероприятия по обеспечению возможности транспортирования метановоздушной смеси по дегазационному трубопроводу с концентрацией метана от 3 до 25 %, требования по промышленной безопасности при ведении дегазационных работ.

5. Дегазация обязательна, когда работами по вентиляции невозможно обеспечить содержание взрывоопасных газов (метана) в рудничной атмосфере действующих горных выработок шахты в размере до 1 %.

6. Дегазация угольного пласта обязательна, когда природная метаноносность пласта превышает 13 м3/т сухой беззольной массы (далее - с.б.м.) и работами по вентиляции невозможно обеспечить содержание метана в исходящей струе очистной горной выработки в размере менее 1 %.

7. Дегазация выработанного пространства обязательна, когда концентрация метана в газопроводах и газодренажных выработках превышает 3,5 %.

8. Природная газоносность угольных пластов действующих, строящихся и реконструируемых шахт принимается по данным геолого-разведочных работ, для действующих шахт уточняется по данным фактического газовыделения в горные выработки разрабатываемых пластов в соответствии с приложением № 2 к настоящей Инструкции.

9. Дегазация применяется во всех случаях, когда извлечение и утилизация шахтного метана экономически выгодны.

10. Работы, связанные с проектированием дегазации, строительством дегазационных систем, осуществлением дегазации на шахтах и контролем ее проведения, проводятся в соответствии с настоящей Инструкцией.

11. Проектирование дегазации, строительства и эксплуатации дегазационных систем шахт, новых горизонтов, блоков, крыльев должно осуществляться на основании технического задания, утвержденного техническим руководителем организации-заказчика.

12. Новые схемы дегазации применяются по проекту, выполненному организацией, разработавшей новую схему дегазации в соответствии с требованиями, предъявляемыми к внедрению новых технологий и технических устройств на опасных производственных объектах.

13. Параметры и режимы осуществления работ по дегазации и утилизации шахтного метана определяются проектами строительства шахт, вскрытия и подготовки выемочных полей, горизонтов, блоков, панелей (далее - проект строительства).

14. Обоснование параметров проведения дегазации, определение необходимых коэффициентов дегазации источников газовыделения и выбор способов дегазации представляются в самостоятельном разделе «Дегазация» проекта строительства*.

______________

* Состав разделов проектной документации и требования к содержанию этих разделов установлены Положением о составе разделов проектной документации и требованиях к их содержанию, утвержденным постановлением Правительства Российской Федерации от 16.02.2008 № 87 (Собрание законодательства Российской Федерации 2008 № 8. Ст. 744) в соответствии с Градостроительным кодексом Российской Федерации от 29 12.2004 № 190-ФЗ (Собрание законодательства Российской Федерации. 2005 № 1. Ст. 16). (Примеч. изд.)

15. Выбор способа и средств утилизации метана представляется в самостоятельном разделе «Утилизация шахтного метана» проекта строительства.

16. Монтаж и эксплуатация дегазационных систем осуществляется по самостоятельным проектам дегазации угольных шахт (далее - проект дегазации).

17. Проектирование дегазационных установок проводится в рамках разработки проекта дегазации.

18. При проектировании стационарных дегазационных станций разрабатывается самостоятельный проект строительства дегазационной станции.

19. Установка передвижных наземных и подземных дегазационных установок осуществляется по паспортам выемочных участков или проведения и крепления горных выработок.

20. Эксплуатация дегазационных систем и установок осуществляется в соответствии с технической и эксплуатационной документацией.

21. Для действующих шахт строительство дегазационных систем шахты, горизонтов, блоков, крыльев, а также внедрение новых способов дегазации, не изложенных в настоящей Инструкции, должно осуществляться по документации на техническое перевооружение, которая подлежит экспертизе промышленной безопасности в соответствии с законодательством Российской Федерации о промышленной безопасности.

(Измененная редакция. Изм. от 20.05.2015 г.)

22. Проект дегазации состоит из пояснительной записки и графического материала:

а) пояснительная записка содержит:

общие положения;

горно-техническую и горно-геологическую характеристику шахты;

обоснование необходимости применения дегазации разрабатываемых и сближенных пластов, выработанных пространств;

выбор способов, схем и коэффициентов дегазации различных источников газовыделения;

расчет параметров дегазационных систем и выбор вакуум-насосов;

требования по оснащению и эксплуатации дегазационных установок;

требования безопасности при производстве работ по дегазации;

мероприятия по предотвращению возможного возгорания метана и распространению* пламени по дегазационному трубопроводу при возникновении очагов пожара в горных выработках;

______________

* Текст соответствует оригиналу. Следует читать «распространения». (Примеч. изд.)

б) графический материал содержит:

геологические разрезы по ближайшим разведочным скважинам;

выкопировку из плана горных работ с нанесенными на нее схемой вентиляции, трубопроводами и дегазационными скважинами;

схемы применяемых способов дегазации;

схему газопроводов от выемочного участка (выработки) до вакуум-насосов с указанием расположения защитной, контрольно-измерительной аппаратуры и запорно-регулирующей арматуры;

схемы бурения и герметизации дегазационных скважин;

схемы подключения дегазационных скважин к дегазационному газопроводу, расположенному в горных выработках.

При дегазации скважинами, пробуренными с поверхности, к пояснительной записке прилагаются:

выкопировка из плана горных работ, совмещенная с планом поверхности;

план поверхности с расположением дегазационной установки и схемами ее электроснабжения, заземления и молниезащиты.

Графический материал представляется непосредственно в пояснительной записке или в отдельном приложении к пояснительной записке.

23. Способы, схемы и объемы работ по дегазации, предусмотренные проектами дегазации, корректируются при изменении горно-геологических или горно-технических условий отработки выемочных участков и проведения горных выработок.

При корректировке проекта дегазации используются фактические параметры действующей дегазационной сети шахты.

24. Эксплуатация дегазационной системы на выемочных участках или при проведении подготовительных выработок осуществляется в соответствии с разделом «Дегазация» паспорта выемочного участка или паспорта проведения и крепления горных выработок с учетом положений раздела «Дегазация» проекта строительства (реконструкции) или проекта дегазации, утвержденного техническим руководителем (главным инженером) шахты.

25. Способы и параметры дегазации основных источников метановыделения (разрабатываемых угольных пластов, сближенных подрабатываемых и/или надрабатываемых пластов угля и газосодержащих пород, выработанных пространств) выбирают с учетом метанообильности и газового баланса очистной выработки.

26. В зависимости от прогнозных величин газового баланса выемочных участков применяются один или несколько способов дегазации источников метановыделения. Дегазационные скважины бурятся из подземных выработок или с земной поверхности.

27. Виды и объемы работ по дегазации шахт и выемочных полей разрабатываются при подготовке к рассмотрению годовых планов развития горных работ и утверждаются техническим руководителем (главным инженером) шахты.

28. В случае повышения газообильности горных выработок (при проектных параметрах вентиляции и расчетной нагрузке на лаву) корректируются параметры дегазации в разделе «Дегазация», являющемся составной частью паспорта выемочного участка или паспорта проведения и крепления подземных выработок. Корректируются в первую очередь параметры способа (способов) дегазации, оказывающие существенное влияние на снижение газообильности выработок. Корректировка параметров скважин проводится в срок не более одной недели.

29. Параметры дегазации для вновь вводимого выемочного участка действующих шахт разрабатываются при составлении паспорта выемочного участка с учетом фактических параметров дегазации ранее отработанных в аналогичных горно-геологических условиях выемочных участков.

Аналогичными горно-геологическими условиями считаются условия при глубинах разработки до 300 м ниже верхней границы зоны метановых газов при разности глубин разработки 20 м, при ведении работ на глубинах более 300 м ниже верхней границы зоны метановых газов при разности глубин разработки 75 м при условии, что на этом интервале глубины природная газоносность пласта увеличивается не более чем на 10 %.

30. Критерии применения дегазации, ее необходимая эффективность, режимы работы и параметры скважин определяются в соответствии с приложениями № 3 - 18 к настоящей Инструкции.

31. Использование каптируемого дегазационной установкой шахтного метана осуществляется в соответствии с проектом утилизации шахтного метана (далее - проект утилизации), который разрабатывается организациями, имеющими свидетельство о допуске к видам работ по подготовке проектной документации.

В проектах утилизации дегазационная станция (установка) рассматривается как элемент энергетической установки с сохранением всех требований ее безопасной эксплуатации, предусмотренных настоящей Инструкцией.

32. (Утратил силу. Изм. от 20.05.2015 г.).

33. Прием в эксплуатацию дегазационных систем проводится комиссией, назначаемой руководителем организации-заказчика, с участием подрядной организации, осуществлявшей бурение дегазационных скважин и монтаж дегазационных газопроводов в порядке, установленном в организации-заказчике.

34. Сдача в эксплуатацию горизонтов, блоков и выемочных полей шахт, в пределах которых предусмотрено применение дегазации, проводится после выполнения всех работ по монтажу дегазационных систем, а приемка в эксплуатацию выемочных участков и подготовительных забоев - при функционирующей на них дегазационной системе.

35. В том случае, когда снижение содержания метана в рудничном воздухе до установленной нормы не удается с помощью одного способа, применяется комплексная дегазация.

Для снижения газообильности шахт применяются различные способы и схемы дегазации основных источников газовыделения - разрабатываемых угольных пластов, сближенных подрабатываемых и надрабатываемых угольных пластов, газосодержащих пород и выработанных пространств.

36. Оценка эффективности применения дегазации определяется в соответствии с приложением № 3 к настоящей Инструкции.

37. Способы, режимы и параметры ведения дегазационных работ на действующих шахтах в различных горно-технических условиях разработки угольных пластов определяются согласно приложениям № 4 - 15 к настоящей Инструкции.

38. Для извлечения метана из выработанных пространств отработанных выемочных полей действующих шахт используются способы дегазации, применявшиеся при отработке данных полей, и/или дегазационные скважины, пробуренные с земной поверхности.

39. Особенности дегазации ликвидированных шахт изложены в приложении № 16 к настоящей Инструкции*. Режимы работы скважин при дегазации выработанных пространств ликвидированных шахт устанавливаются опытным путем. Содержание метана в скважинах должно быть не менее 25 %.

______________

* В приложении № 16 изложены особенности дегазации не ликвидированных, а ликвидируемых шахт (Примеч. изд.)

40. Для предупреждения суфлярных выделений метана в горные выработки шахт применяются схемы дегазации окружающего горную выработку массива скважинами или шпурами, пробуренными в зону суфлярных трещин, или используются каптажные колпаки, подключенные к дегазационной сети. Способы предупреждения и борьбы с суфлярами приведены в приложении № 17 к настоящей Инструкции.

41. (Утратил силу. Изм. от 20.05.2015 г.)

42. Работа дегазационной системы на шахте в аварийной ситуации осуществляется в соответствии с планом ликвидации аварий.

43. Решение о прекращении дегазации на выемочном участке или в подготовительной выработке принимается техническим руководителем (главным инженером) шахты.

Это решение не распространяется на случаи применения дегазации для предотвращения внезапных выбросов угля и газа, расширения зоны защитного влияния надработки (подработки) выбросоопасных пластов и предотвращения прорывов и суфлярных выделений метана из вмещающих пород.

44. Порядок определения объемов каптируемого метана приведен в приложении № 18 к настоящей Инструкции, а расчет газопроводов и выбор вакуум-насосов - в приложении № 19 к настоящей Инструкции.

45. Контроль безопасности и качества выполнения работ по дегазации на шахте возлагается на службу производственного контроля и должен включать:

периодичность и объем проводимых проверок;

меры, принимаемые по устранению выявленных нарушений;

анализ причин допущенных нарушений в целях их устранения и предупреждения;

оценку эффективности дегазации;

проверку деятельности подразделений шахты по обеспечению ими условий для соблюдения на рабочих местах требований настоящей Инструкции и других нормативных документов в области промышленной безопасности.

II. ТРЕБОВАНИЯ К ОСНАЩЕНИЮ И ЭКСПЛУАТАЦИИ ДЕГАЗАЦИОННЫХ УСТАНОВОК

46. Для дегазации шахт применяется дегазационное оборудование, эксплуатируемое в условиях и режимах, обеспечивающих его взрывобезопасность.

47. В зависимости от месторасположения, назначения и условий эксплуатации дегазационные установки подразделяются на стационарные дегазационные станции (далее - ДС) и мобильные дегазационные установки (далее - ДУ) в соответствии со схемой «Дегазационные станции и установки», приведенной на рисунке 1 к настоящей Инструкции.

Дегазационные установки со сроком службы более трех лет и/или обслуживающие более одного очистного забоя или одного выемочного поля относятся к стационарным.

Рис. 1. Схема «Дегазационные станции и установки»

48. ДС и ДУ оборудуются рабочими и резервными вакуум-насосами равной подачи.

ДС и ДУ, предназначенные для дегазации выработанных пространств и сближенных пластов действующих выемочных участков, оснащаются одним резервным вакуум-насосом на три одновременно работающих вакуум-насоса подачей не более 50 м3/мин и одним резервным вакуум-насосом на два действующих подачей более 50 м3/мин.

ДС и ДУ, предназначенные для предварительной пластовой дегазации разрабатываемых пластов и выработанных пространств ранее отработанных выемочных столбов, эксплуатируются без обеспечения 100-процентного резервирования по производительности и электроснабжению. Замена вышедшего из строя оборудования производится в течение одних суток.

49. ДС и ДУ оборудуются огнепреградителями на всасывающем трубопроводе. Характеристика огнепреградителей должна соответствовать максимальной производительности ДС и ДУ.

50. ДС и ДУ, за исключением автоматизированных, обслуживаются дежурным машинистом. Запрещается использовать одного дежурного машиниста для обслуживания нескольких ДУ и на работах, не связанных с обслуживанием ДУ.

51. ДС и ДУ работают непрерывно. Остановка ДС и ДУ осуществляется на время профилактических осмотров и ремонтов, а также для выполнения иных мероприятий, по письменному распоряжению технического руководителя (главного инженера) шахты с уведомлением начальника участка аэрологической безопасности и начальника службы (участка), осуществляющего выполнение работ по дегазации.

При остановке ДС или ДУ поступающий по газопроводу газ отводится через отводную трубу в атмосферу и обеспечивается продувка вакуум-насосов свежим воздухом.

При аварийной остановке ДС и ДУ, обеспечивающих дегазацию сближенных пластов и/или выработанного пространства действующего выемочного участка, на срок более 30 минут, работы на выемочном участке прекращаются, электроэнергия отключается, люди выходят в выработки со свежей струей воздуха.

52. Для предотвращения скопления взрывоопасной газовой смеси во внутренней полости вакуум-насоса перед пуском и остановкой производится продувка насоса и водоотделителя свежим воздухом в течение 5 минут.

53. Температура воды, подаваемой к вакуум-насосу, не должна превышать температуру, установленную заводом-изготовителем.

54. Требования к помещениям ДС и ДУ, их технологические схемы и характеристики вакуум-насосов приведены в приложении № 20 к настоящей Инструкции.

55. ДС и ДУ располагаются от ближайших жилых и технических сооружений, автомобильных дорог общего пользования, железных дорог на расстоянии не менее 20 м, высоковольтных линий электропередачи, подстанций, трансформаторов и электрораспределительных устройств - не менее 30 м, от горящих отвалов - не менее 300 м, от негорящих - за пределами механической защитной зоны.

(Измененная редакция. Изм. от 20.05.2015 г.)

56. Территория ДС и ДУ и территория наземных скважин, расположенных за территорией ДС и ДУ, обносится оградой высотой не менее 1,5 м, изготовленной из негорючего материала. Расстояние от ограды до помещения вакуум-насосов должно составлять не менее 10 м.

57. ДС размещается в отдельном здании и не должна содержать помещений, не относящихся к ее функционированию.

Машинный зал и помещение контрольно-измерительных приборов (далее - КИП) соединяются между собой тамбуром с двумя противопожарными дверями огнестойкостью не менее 45 минут. Каждое из этих помещений оборудуется выходом на улицу.

В машинном зале предусматривается место для ремонта вакуум-насосов. Над каждым вакуум-насосом по его оси, а также над огнепреградителями устанавливаются монорельсы и передвижные тали.

Перед воротами машинного зала с наружной стороны здания вакуум-насосной станции (далее - ВНС) устанавливается разгрузочная балка.

Сливной колодец (водосборник) отработанной воды и смотровые колодцы располагаются вне здания ВНС в пределах ограды и оборудуются люками для доступа к оборудованию колодца. Верх перекрытия устанавливается на высоте 0,5 м от планировочной отметки земли. В перекрытии колодцев устанавливается вытяжная труба внутренним диаметром не менее 150 мм, выведенная на 3 м выше перекрытия.

В перекрытии резервуара для воды, поступающей из вакуум-насосов, устанавливается вытяжная труба, выведенная выше него на 3 м, а в случае размещения резервуара в помещении - выше верхнего уровня крыши на 2 м.

58. Для отвода извлекаемой из шахты газовоздушной смеси в атмосферу на дегазационном трубопроводе предусматриваются отводные трубы:

на магистральном всасывающем трубопроводе до ввода в здание ВНС;

на нагнетательном газопроводе каждого коллектора.

Трубы устанавливаются на расстоянии не менее 1 м от здания и имеют высоту не менее чем на 2 м выше наиболее выступающей части крыши здания.

59. Для районов с низкой температурой разрешается устанавливать отводную трубу непосредственно в здании ВНС.

60. На всех трубопроводах, предназначенных для выбросов в атмосферу газовоздушной смеси, следует предусматривать защитные зонты.

61. Проветривание помещений ДС и ДУ осуществляется за счет принудительной вентиляции, обеспечивающей трехкратный воздухообмен в помещениях в течение одного часа.

62. Помещения ДС и ДУ оснащаются системами противопожарной защиты, а также первичными средствами пожаротушения в соответствии с проектными решениями. Снаружи помещения и на ограде вывешиваются предупредительные плакаты: «Опасно: метан!», «Вход посторонним воспрещен!», «Курить строго воспрещается!».

63. Отопление зданий ДС и ДУ осуществляется паровыми, водяными или электрическими приборами во взрывозащищенном исполнении.

64. В машинном зале ДС и ДУ должны быть вывешены утвержденные техническим руководителем (главным инженером) шахты схемы электроснабжения агрегатов, коммутации газопроводов и водопроводов, инструкции по пуску, остановке вакуум-насосов и по безопасному обслуживанию, выписка из плана ликвидации аварий.

65. ВНС оборудуются санитарно-бытовыми помещениями, обеспечивающими нормальную работу персонала в любое время года.

66. В помещениях и на территории ДС и ДУ запрещается курение и применение открытого огня.

67. Огневые, в том числе сварочные и автогенные, работы в помещениях и на территории ДС и НДУ проводятся в соответствии с требованиями к ведению огневых работ на опасных производственных объектах с разрешения технического руководителя (главного инженера) шахты.

Дополнительные меры безопасности должны быть указаны в наряде-допуске на выполнение данных работ:

огневые работы проводятся при остановленном дегазационном оборудовании;

на время огневых работ обеспечивается принудительная вентиляция;

в помещениях ДС и ДУ осуществляется непрерывный контроль содержания метана с помощью автоматических приборов;

при концентрации метана в помещении 0,5 % и более сварочные работы проводить запрещается.

68. В помещениях ВНС применяются газопроводы и их фасонные части (отводы, переходы, тройники, седловины, заглушки), выполненные из металла (стали). Трубы и фасонные части соединяются сваркой или фланцами.

В ВНС применяется арматура и регулирующие устройства, предназначенные для соответствующей среды.

69. Оборудование, арматура и трубопроводы окрашиваются следующими цветами:

газопроводы - желтый;

арматура газопроводов - оранжевый;

трубопроводы гидросистемы - светло-зеленый;

арматура гидросистемы, бак напорный - темно-зеленый;

воздухопровод - голубой;

арматура воздухопровода напорного - синий.

70. Все вновь сооружаемые дегазационные газопроводы испытываются на плотность соединения труб под разрежением не менее 15 кПа (113 мм рт.ст.). Газопровод считается выдержавшим испытание, если снижение разрежения в нем за первые 30 минут после его перекрытия не превышает 10 мм рт.ст.

71. В непосредственной близости от действующего наземного дегазационного трубопровода запрещается проведение доставочных, погрузочно-разгрузочных и монтажных работ.

72. Наземный дегазационный трубопровод оборудуется тепловой изоляцией, исключающей образование льда в нем. Запрещается использование открытого огня и применение электрических нагревателей для ликвидации наледи в дегазационном трубопроводе.

73. ДС и ДУ оснащаются замерными устройствами и приборами для контроля разрежения, давления, температуры, расхода и концентрации метана в газовой смеси, уровня воды в водоотделителях.

Контроль разрежения, расхода, концентрации и температуры дегазируемой газовоздушной смеси на ДС и ДУ осуществляется автоматическими приборами контроля.

74. Система сбора, передачи и регистрации информации о параметрах работы ДС и ДУ функционирует в рамках единой действующей на шахте системы аэрогазового контроля с обеспечением всех предусмотренных в ней функций.

75. При технической невозможности организации работы системы контроля параметров работы ДС и ДУ в рамках единой шахтной системы (значительное удаление от поверхностного технологического комплекса шахты) организуется автономный пункт сбора и регистрации информации для одной или нескольких ДС и ДУ, удовлетворяющий всем требованиям, предъявляемым к шахтным системам контроля. Передача информации из автономных систем контроля в единую шахтную систему осуществляется на машинных носителях информации.

76. При обслуживании ДС и ДУ дежурным машинистом при использовании автоматической системы для сбора информации проводится инструментальный контроль параметров работы ДС и ДУ в соответствии с приложением № 21 к настоящей Инструкции. При инструментальном контроле показания КИП снимаются с периодичностью 2 часа и заносятся в журнал контроля работы ДС (ДУ) по рекомендуемой образцу в соответствии с приложением № 22 к настоящей Инструкции. В автоматизированных ДС и ДУ журнал контроля работы ДС (ДУ) должен формироваться автоматически с временным интервалом выборки информации для хранения не более одной минуты.

77. В машинном зале и помещении КИП устанавливаются автоматические приборы контроля содержания метана, выдающие команду на отключение электроэнергии, включение аварийной сигнализации и принудительного проветривания при содержании метана 1 % и более.

78. ДУ относится к потребителям I категории по бесперебойности обеспечения электроэнергией.

ДУ обеспечивается резервным электроснабжением.

Режим нейтрали ДС определяется проектом. В сетях переменного тока до 1 кВ с изолированной нейтралью предусматривается автоматический контроль изоляции с воздействием на отключение.

79. Устройство заземления ДС (ДУ) выполняется в соответствии с проектом ДС (ДУ).

80. Взрывозащита электрооборудования соответствует действующим стандартам на взрывозащищенное и рудничное электрооборудование.

Светильники, электрооборудование, измерительные приборы по исполнению, а также устройство кабельных линий, заземлений должны соответствовать классам взрывоопасности помещений согласно требованиям по устройству электроустановок.

81. Здания и сооружения ДС и ДУ оборудуются молниезащитой по I категории в соответствии с требованиями по устройству молниезащиты зданий, сооружений и промышленных коммуникаций.

82. Территория и помещения ДС и ДУ, включая градирню или брызгательный бассейн, должны быть освещены.

83. Для освещения помещений ВНС применяется взрывозащищенное электроосветительное оборудование для I категории и группы взрывоопасности смеси.

Освещенность помещения ДУ должна быть не ниже 30 лк, остальных помещений станции - не ниже 10 лк.

84. ДС и ДУ обеспечиваются телефонной или альтернативной связью.

85. Передвижные подстанции в рудничном исполнении, предназначенные для электроснабжения ДС и ДУ, устанавливаются в пределах ограды ДС и ДУ.

86. Передвижные наземные ДУ (далее - ПНДУ) изготавливаются из огнестойкого материала и оборудуются следующими помещениями:

помещение вакуум-насосов (машинное отделение);

помещение для электроаппаратуры и дежурного машиниста.

Помещение для дежурного машиниста оборудуется на расстоянии не более 15 м от помещения вакуум-насосов, а помещение вакуум-насосов - не менее чем 15 м от дегазационной скважины.

Каждое помещение ПНДУ монтируется на металлических платформах с возможностью передвижения на другое место.

Проветривание машинного отделения ПНДУ осуществляется за счет естественной вентиляции с помощью дефлекторов или механических побудителей, обеспечивающих трехкратный обмен воздуха в час.

87. В случаях, когда применение дегазации носит временный характер и направлено на снижение газовыделения из временного локального источника газовыделения или когда для осуществления дегазации необходим монтаж протяженной дегазационной сети, применяются подземные дегазационные установки (далее - ПДУ).

88. Использование секционных дегазационных установок (далее - СДУ), состоящих из нескольких однотипных установок, осуществляется по проекту.

89. ПДУ размещаются в выработках или камерах, проветриваемых свежей струей воздуха.

90. ПДУ эксплуатируются самостоятельно или совместно с другими ДУ.

91. Для бесперебойной работы ПДУ с водокольцевым вакуум-насосом на случай прекращения подачи воды из водопровода предусматривается резервная емкость с водой.

92. На ПДУ (кроме установок с закрытой замкнутой системой водоснабжения) вода отводится в сточную канаву, при этом место стока находится за вакуум-насосом по направлению вентиляционной струи.

93. Метан, извлекаемый ПДУ, выпускается в действующую выработку с исходящей струей воздуха через камеру смешивания. Содержание метана в атмосфере выработки, в которую выпускается метан из ПДУ, за пределами камеры смешивания не должно превышать допустимых значений, предусмотренных Правилами безопасности (далее - ПБ) в угольных шахтах.

В случае невозможности выполнения настоящего требования извлекаемый метан принудительно отводится на поверхность и выпускаться в атмосферу через трубу, которая располагается не менее 15 м от промышленных или жилых объектов и имеет высоту не менее 4 м от уровня земли.

В ПДУ предусматривается возможность транзитного прохода газа по газопроводу, минуя вакуум-насос в случае его остановки.

94. Срок и порядок эксплуатации передвижных подземных дегазационных установок (далее - ППДУ) определяются паспортом выемочного участка или паспортом проведения и крепления подземных выработок.

95. При остановке ПДУ всасывающий газопровод переключается на нагнетательный, о чем сообщается горному диспетчеру и начальнику участка аэрологической безопасности.

96. При аварии в выработке, в которую отводится газ, извлекаемый ПДУ, работа вакуум-насосов прекращается.

III. ТРЕБОВАНИЯ К МОНТАЖУ, ОСНАЩЕНИЮ И ЭКСПЛУАТАЦИИ ДЕГАЗАЦИОННЫХ ГАЗОПРОВОДОВ

97. Транспортирование метановоздушной смеси от дегазационных скважин до ДС (ДУ) осуществляется по участковым и магистральным трубопроводам.

98. Дегазационные газопроводы монтируются из стальных труб с толщиной стенок не менее 2,5 мм или из труб других материалов, допущенных к применению в подземных выработках для целей дегазации.

99. Трубы подземных трубопроводов соединяются посредством фланцев или муфт. Трубы наземных трубопроводов соединяются посредством фланцев, муфт или сварки.

Соединения дегазационных труб должны обеспечивать надежную герметизацию и прочность стыков.

100. Для уплотнения фланцевых соединений применяются прокладки из трудносгораемого материала, внутренний диаметр которых на 2 - 3 мм больше внутреннего диаметра трубы.

101. В качестве магистральных газопроводов используются специально обсаженные скважины, пробуренные с поверхности.

Трубы газопровода в скважинах и стволах соединяются сваркой. Для увеличения прочности на сварные швы накладываются пластины или бандажи длиной 150 - 200 мм.

102. В горизонтальных и наклонных выработках газопроводы подвешиваются или монтируются на опорах. Запрещается укладывать газопроводы на почве выработки.

103. Магистральные газопроводы прокладываются по выработкам с исходящей струей воздуха.

Прокладка магистральных газопроводов по главным выработкам со свежей струей воздуха, в том числе и по воздухоподающим стволам, производится в соответствии с проектом дегазации и дополнительными мероприятиями по обеспечению сохранности газопровода в этих выработках.

104. Монтажные работы, связанные с рассоединением участкового газопровода, производятся при закрытых дегазационных скважинах на этом участке.

105. Рассоединение магистрального газопровода выполняется при закрытых задвижках на участковых газопроводах, подключенных к этому участку магистрального трубопровода.

106. При производстве демонтажных работ на ДУ, связанных с рассоединением дегазационного трубопровода, обеспечивается принудительное проветривание трубопровода для удаления метановоздушной смеси.

107. Трубы в дегазационном газопроводе испытываются на давление 0,6 МПа при его прокладке по горизонтальным или наклонным выработкам и 1,6 МПа - при прокладке по вертикальным выработкам.

108. Для организации гидрозатворов при пожарах в выработках, в которых проложен дегазационный трубопровод, на участковых газопроводах у мест соединения их с магистральными газопроводами, а также на всех ответвлениях от участкового газопровода устанавливаются задвижки и врезки для подсоединения к пожарооросительному трубопроводу.

109. В местах возможного скопления воды в газопроводах устанавливаются водоотделители.

При выделении воды из пластовых дегазационных скважин водоотделитель устанавливается на группу скважин.

Конструкция водоотделителя должна исключать выход газа через него в выработку.

110. Для обеспечения возможности заполнения газопровода водой или пожаротушащим агентом при пожаре в горной выработке, в которой проложен газопровод, в конструкции водоотделителя предусматривается принудительный слив воды.

111. Дегазационные скважины присоединяются к участковому газопроводу с помощью гибкого гофрированного рукава. Между металлическими частями трубопровода монтируется надежное электрическое соединение - не менее двух проводников сечением не менее 25 мм2 каждый.

112. Расчет газопровода проводится на наиболее трудный период эксплуатации дегазационной системы в соответствии с приложением № 19 к настоящей Инструкции.

Диаметр участковых и магистральных газопроводов устанавливается расчетом по расходу газовоздушной смеси.

Минимальный диаметр участкового трубопровода принимается не менее 150 мм, минимальный диаметр магистрального трубопровода - не менее 300 мм.

113. Для магистральных газопроводов протяженностью не более 500 м диаметр определяется расчетом.

114. Контроль параметров газовоздушной смеси в дегазационных участковых и магистральных газопроводах осуществляется с помощью замерных устройств и приборов контроля параметров каптируемой смеси.

Количество и места установки замерных станций и автоматических приборов контроля параметров каптируемой смеси определяются проектом дегазации.

115. Контроль работы дегазационных систем изложен в приложении № 21 к настоящей Инструкции.

116. Для контроля герметичности и пропускной способности дегазационных трубопроводов один раз в год проводится вакуумно-газовая съемка, на основании которой разрабатываются мероприятия по обеспечению проектных характеристик газопроводов.

117. При подключении новых магистральных и участковых газопроводов проводятся дополнительные вакуумно-газовые съемки подключенных газопроводов. Объем работ по проведению дополнительных съемок определяется техническим руководителем (главным инженером) шахты.

118. Вакуумно-газовые съемки в дегазационных газопроводах проводятся в соответствии с порядком проведения вакуум-газовых* съемок дегазационных трубопроводов, приведенном в приложении № 23 к настоящей Инструкции.

______________

* Текст соответствует оригиналу. Следует читать «вакуумно-газовых». (Примеч. изд.)

119. Осмотр газопроводов проводится один раз в неделю. Обнаруженные неплотности и изгибы газопровода, где возможны скопления воды и подсосы воздуха, немедленно устраняются. Результаты осмотра газопроводов заносятся в журнал осмотра и ремонта дегазационных газопроводов по рекомендуемому образцу, приведенному в приложении № 22 к настоящей Инструкции.

120. Запрещается засыпать газопроводы, проложенные в действующих выработках, породой, заваливать лесом, материалами и оборудованием, а также использовать их в качестве опорных конструкций.

121. Подземный газопровод соединяется с общей сетью заземления шахты.

122. На газопроводах, проложенных на поверхности, и устьях скважин, пробуренных с поверхности, выполняется теплоизоляция.

IV. ТРЕБОВАНИЯ К БУРЕНИЮ И ЭКСПЛУАТАЦИИ ДЕГАЗАЦИОННЫХ СКВАЖИН

123. Бурение скважин осуществляется в соответствии с разделом «Дегазация» и паспортом бурения скважин.

Паспорта бурения и герметизации скважин утверждаются техническим руководителем (главным инженером) шахты.

При ведении буровых работ сторонней организацией паспорт бурения согласовывается с техническим руководителем (главным инженером) шахты, выполняющей буровые работы.

124. Паспорт бурения подземных дегазационных скважин содержит: выкопировку из плана горных работ; структурную колонку пласта и пород кровли (почвы) с классификацией слагающих пород по буримости; крепление камер (ниш), схемы расположения транспортных средств в горной выработке, бурового и электрического оборудования, способов крепления бурового станка, параметров скважин; расстояние между скважинами и способ герметизации затрубного пространства.

125. Паспорт бурения вертикальных скважин с земной поверхности содержит: выкопировку из плана горных работ, совмещенного с планом поверхности; геологический разрез с отметками отработанных пластов и водоносных горизонтов; конструкцию обсадной колонны с указанием участков перфорации и параметров скважин.

126. Паспорт гидроразрыва пласта из подземных выработок содержит: план выемочного участка с нанесением скважин гидроразрыва и схему вентиляции участка; расчетные параметры нагнетания (объем закачиваемой жидкости, давление нагнетания, расход жидкости в единицу времени); схему размещения оборудования, напорного трубопровода и арматуры в горной выработке; места расположения постов наблюдения; прямую телефонную связь рабочего места с диспетчером шахты.

127. Дегазационные скважины бурятся из горных выработок или из камер (ниш). Размеры камер определяются возможностью размещения в них бурового оборудования и обеспечения проветривания в соответствии с требованиями ПБ в угольных шахтах.

128. Пусковая аппаратура бурового станка при бурении скважин в тупиковой части проводимой выработки блокируется с вентилятором, проветривающим выработку. Не допускается подача электроэнергии к станку при выключенном вентиляторе.

129. Для бурения подземных скважин применяется буровой инструмент диаметром не менее 75 мм.

130. Параметры скважин фиксируются в журнале учета работы дегазационных скважин оформленного* по рекомендуемому образцу, приведенному в приложении № 22 к настоящей Инструкции.

______________

* Текст соответствует оригиналу. Следует читать «оформленном» (Примеч. изд.)

131. Удаление бурового шлама осуществляется с помощью воды, глинистых растворов или сжатым воздухом.

132. Сжатый воздух для удаления бурового шлама используется при бурении скважин диаметром не более 93 мм в угольном и породном массиве, не разгруженном от горного давления, при давлении воздуха в трубопроводе у бурового станка не менее 0,5 МПа (5 кгс/см2).

133. Устье дегазационной скважины оборудуется обсадной трубой с тампонированием всего затрубного пространства с помощью цементного раствора или химических твердеющих составов (пены, смолы).

Устья скважин, пробуренных в плоскости разрабатываемого пласта, обсаживаются пластиковыми трубами или гибкими гофрированными рукавами с металлической оплеткой.

134. Для герметизации скважин применяются герметизирующие устройства (пакеры), исключающие подсосы воздуха в скважину.

135. После окончания тампонажных работ проводится проверка качества герметизации дегазационной скважины (приложение № 24 к настоящей Инструкции). При обнаружении подсосов воздуха в дегазационную скважину в паспорт бурения вносится корректировка по изменению параметров или способов герметизации последующих дегазационных скважин.

136. Для снижения подсосов воздуха в подземные скважины применяются герметизирующие покрытия, наносимые на стенки выработки.

137. Подземные пластовые скважины герметизируются на глубину не менее 6 м при угле разворота скважины от оси выработки в пределах 60 - 90° и не менее 10 м при угле разворота до 60°.

138. Скважины, пробуренные на подрабатываемые пласты или над куполами обрушения, герметизируются на глубину не менее 10 м.

139. Скважины, пробуренные на надрабатываемые пласты, герметизируются на глубину не менее 4 м.

140. Короткие скважины (длиной до 20 м), предназначенные для борьбы с суфлярами, герметизируются на глубину не менее 6 м. При разрежении в скважине не менее 4,0 кПа (30 мм рт.ст.) герметизация производится на глубину до 6 м.

141. Обсадка скважин для подземного гидроразрыва производится трубами диаметром не менее 73 мм. Первые 10 м обсадки от устья скважин выполняются из цельнотянутых металлических труб, рассчитанных на давление не менее 20 МПа. Остальная часть обсадной колонны (20 - 30 м) выполняется из электросварных труб.

142. Обсадка скважин для подземного гидроразрыва, пробуренных по вмещающим породам вкрест простирания угольного пласта, выполняется на глубину, обеспечивающую после цементного тампонажа затрубного пространства фильтрующую часть скважины по угольному массиву, не менее 2 м.

143. После окончания бурения и обсадки на каждую дегазационную скважину составляется акт приемки скважины с указанием фактических параметров скважин в соответствии с рекомендуемым образцом, представленным в приложении № 22 к настоящей Инструкции.

Акт подписывается представителями шахты и представителем подрядной организации, производившей буровые работы.

144. При бурении дегазационных скважин осуществляется контроль содержания метана в соответствии с требованиями ПБ в угольных шахтах. При превышении нормы содержания метана в выработке бурение немедленно прекращается, а скважина подключается к дегазационному газопроводу. Дальнейшее бурение скважины выполняется через устройство, обеспечивающее изолированный отвод газа из скважины в дегазационный трубопровод.

145. Дегазационные скважины на сближенные пласты бурятся до начала их разгрузки от горного давления.

146. Дегазационные скважины в разгружаемом от горного давления массиве бурятся в следующем порядке: бурение под обсадную трубу; обсадка скважины и герметизация затрубного пространства; бурение скважины на проектную длину с изолированным отводом газа в дегазационный трубопровод.

При использовании в качестве герметизирующего устройства пластиковых труб с последующим заполнением затрубного пространства химическими составами бурение под обсадную трубу, обсадка скважины и герметизация затрубного пространства производятся после окончания бурения скважины на всю длину.

147. Дегазационные скважины после окончания их бурения подключаются к дегазационному трубопроводу. Неподключенные дегазационные скважины герметично закрываются.

148. На действующих дегазационных скважинах устанавливаются: задвижка; устройство, позволяющее измерять разрежение, расход газа и содержание в нем метана; водоотделители (если из скважин поступает вода).

149. Для группы пластовых скважин, подключенных к отводам от участкового газопровода длиной не более 300 м, устанавливаются одна задвижка и одно измерительное устройство.

150. Устья использованных и отключенных от газопровода скважин перекрываются металлическими заглушками с прокладками из трудносгораемого материала.

151. Устья использованных скважин, пробуренных с поверхности, перед перекрытием заглушкой заливаются цементно-песчаным раствором на глубину не менее 2 м. Скважины диаметром 200 мм и более ликвидируются в соответствии с требованиями нормативных документов.

152. При слоевой отработке пласта скважины, пробуренные по нижнему слою, во время их надработки лавой верхнего слоя отключаются от газопровода после удаления лавы от устья скважины на расстояние не менее 30 - 50 м; при бурении ориентированных на очистной забой скважин в нижний слой из выработок верхнего слоя - до подхода очистного забоя к устью скважины.

153. Дальнейшее использование пластовых дегазационных скважин для предварительного увлажнения угля в массиве определяется техническим руководителем (главным инженером) шахты.

154. Дегазационные скважины с поверхности на разрабатываемый пласт бурятся впереди очистного забоя. Скважины к газопроводу подключаются при расстоянии от проекции скважины на пласт до забоя лавы не менее 30 м.

155. Скважины с поверхности в купол обрушения горных пород бурятся позади очистного забоя.

156. Скважины, пробуренные с поверхности, после окончания их бурения подключаются к трубопроводу, соединяющему их с ДУ, или оборудуются трубой высотой не менее 5 м для отвода метана в атмосферу.

157. Замерная станция на подземных дегазационных скважинах для извлечения метана из сближенных пластов и выработанного пространства располагается между скважиной и участковым газопроводом.

Для скважин предварительной дегазации пласта и барьерных скважин замерное устройство устанавливается для группы скважин, пробуренных из камер (ниш) проводимой выработки.

158. Контроль режимов работы скважин осуществляется не реже одного раза в неделю путем измерения разрежения, расхода газа и содержания метана.

Для контроля режимов работы дегазационных скважин замеры проводятся на замерных станциях, установленных на участковых газопроводах.

Результаты измерений заносятся в журнал учета работы дегазационных скважин, рекомендуемый образец которого приведен в приложении № 22 к настоящей Инструкции. К журналу прилагается выкопировка из плана горных работ с нанесенными скважинами, указанием их параметров, индекса пласта, по которому или до которого они пробурены, а также с нанесением местоположения забоя лавы.

159. При содержании метана в каптируемом газе менее 25 % скважины подключаются к дегазационному трубопроводу и эксплуатируются по указанию технического руководителя (главного инженера) шахты при выполнении мероприятий по обеспечению промышленной безопасности при его транспортировании по дегазационному трубопроводу.

V. ТРЕБОВАНИЯ К ПЕРСОНАЛУ ПО ОБСЛУЖИВАНИЮ ДЕГАЗАЦИОННЫХ СИСТЕМ

160. Для осуществления дегазационных работ на шахтах организуется подразделение (участок) дегазации и/или привлекается специализированная подрядная организация.

При выполнении работ по бурению дегазационных скважин, монтажу и обслуживанию дегазационной системы специализированными подрядными организациями контроль качества выполняемых работ осуществляется заказчиком.

161. Контроль работы дегазационных систем возлагается на участок аэрологической безопасности.

162. При незначительном объеме дегазационных работ на шахте работы по бурению дегазационных скважин, монтажу и обслуживанию дегазационной системы выполняются специализированными подрядными организациями или линейными участками шахты, а контроль качества их выполнения возлагается на участок аэрологической безопасности.

163. В целях организации и осуществления работ по дегазации угледобывающая организация:

производит замену вакуум-насосов и прокладку газопроводов;

разрабатывает график организации работ, паспорта бурения дегазационных скважин, инструкции по пуску и остановке вакуум-насосов, безопасному обслуживанию ДУ и несет ответственность за их выполнение;

организует работы по подготовке оборудования к бурению дегазационных скважин;

производит или организует бурение дегазационных скважин;

контролирует качество бурения и герметизации дегазационных скважин;

обеспечивает нормальную и непрерывную работу ДУ и контрольно-измерительной аппаратуры, а в случае необходимости - ремонт и замену оборудования;

осуществляет периодические измерения концентрации и дебита метана, разрежения на скважинах и газопроводах под контролем участка аэрологической безопасности;

ведет техническую документацию по осмотру и ремонту газопроводов, по контролю работ дегазационных установок и скважин, параметров каптируемой метановоздушной смеси, подаваемой потребителю;

обеспечивает безопасность и качество ведения дегазационных работ в соответствии с требованиями настоящей Инструкции.

164. Для организации работ по дегазации шахт назначается лицо со стажем работы в газовых шахтах не менее одного года.

165. Руководить работами по утилизации метана имеют право руководители и специалисты, прошедшие обучение и сдавшие экзамены на знание требований настоящей Инструкции, технологии проведения работ.

166. Дежурным машинистом ДС (ДУ) назначается лицо, прошедшее обучение и имеющее соответствующую профессию.

Запрещается использовать дежурного машиниста на других работах.

167. Рабочие, занятые строительством (монтажом), наладкой и эксплуатацией дегазационных газопроводов и дегазационных систем, проходят обучение и проверку знаний по безопасным методам и приемам выполнения работ в объеме инструкций по охране труда по соответствующей профессии.

168. Рабочие, занятые строительством (монтажом), наладкой и эксплуатацией газопроводов и газового оборудования для утилизации метана, до назначения на самостоятельную работу проходят обучение и проверку знаний по безопасным методам и приемам выполнения работ на соответствующем рабочем месте.

169. Очередная проверка знаний настоящей Инструкции у руководителей и специалистов экзаменационными комиссиями проводится один раз в 5 лет; проверка знаний безопасных методов труда и приемов выполнения работ у обслуживающего персонала - один раз в 12 месяцев.

VI. ТРЕБОВАНИЯ К ОСНАЩЕНИЮ И ЭКСПЛУАТАЦИИ ДЕГАЗАЦИОННЫХ СИСТЕМ ШАХТ ПРИ ПОСТАВКЕ ГАЗА ПОТРЕБИТЕЛЮ И ПРИ УТИЛИЗАЦИИ КАПТИРУЕМЫХ СМЕСЕЙ

170. Использование извлекаемого шахтного метана осуществляется в соответствии с проектом утилизации шахтного метана. Проект утилизации шахтного метана разрабатывается на основании технического задания, утвержденного заказчиком и согласованного с угледобывающей организацией, эксплуатирующей дегазационные системы.

171. Проектирование, строительство и эксплуатация утилизационных установок, газопроводов, газового оборудования потребителей метановоздушной смеси осуществляется в соответствии с нормами и правилами для систем газораспределения и газопотребления.

172. Оборудование ДС (ДУ) и способы утилизации метана выбираются с учетом объемов метана и его содержания в метановоздушных смесях.

173. На шахтах, имеющих наземные сети дегазации и оборудование для утилизации каптируемых метановоздушных смесей, приказом по шахте назначаются лица, ответственные за безопасную эксплуатацию газового хозяйства. На шахтах, где каптируемый метан используется в нескольких цехах (участках), кроме лица, ответственного за безопасную эксплуатацию газового хозяйства шахты, назначаются ответственные лица по цехам (участкам).

174. Для снабжения потребителя необходимым количеством шахтного метана содержание и объем каптируемой смеси на выходе вакуум-насоса должны составлять величины, установленные проектом. Запрещается использовать добываемый при дегазации метан с содержанием ниже 25 % на факельных установках, 30 % - в качестве топлива для котельных установок, 25 % - на газомоторных установках и с содержанием ниже 50 % - для бытовых нужд.

(Измененная редакция. Изм. от 20.05.2015 г.)

175. Подача газа потребителю осуществляется дежурным машинистом по согласованию с потребителем и по указанию инженерно-технического работника, ответственного за эксплуатацию ДС (ДУ).

176. Каптируемый газ потребителю подается по нагнетательному газопроводу, диаметр которого определяется проектом. Давление газа перед газорегуляторным пунктом потребителя определяется технической характеристикой последнего*.

______________

* Текст соответствует оригиналу. Очевидно, имеется в виду техническая характеристика не потребителя, а газорегуляторного пункта. (Примеч. изд.)

177. ДС (ДУ), подающие газ потребителю, оборудуются:

стационарным измерительным устройством для контроля параметров подаваемой потребителю газовоздушной смеси;

автоматическим прямого действия регулятором давления смеси после вакуум-насосов со сбросом избытка смеси в атмосферу или гидравлическим клапаном избыточного давления;

задвижками с электроприводом, установленными на трубе в атмосферу и на газопроводе перед каплеотделителем, и клапаном-отсекателем с электромагнитным приводом для прекращения подачи смеси потребителю и направления ее в атмосферу при отклонении параметров смеси от требуемых значений;

каплеотделителем;

огнепреградителем в нагнетательном газопроводе;

одоризатором или аппаратурой контроля содержания метана в газораспределительном устройстве (далее - ГРУ) котельной. Необходимость установки одоризатора или газоанализатора определяется проектом;

прямой телефонной связью между ДС (ДУ) и потребителем газа.

178. ДС (ДУ), подающие каптированный газ потребителю, оборудуются средствами автоматизации процессов управления оборудованием, ГРУ и приборами контроля режимов их работы.

При подаче метана потребителю на ДС (ДУ) непрерывно контролируются дебит и концентрация метана, подаваемого потребителю, разрежение на стороне всасывания смеси и давление на нагнетательном газопроводе.

179. Трубы, оборудование, приборы и арматура, идущая на сооружение систем газоснабжения, а также условия прокладки и способы крепления газопроводов должны соответствовать действующим стандартам.

180. Установки для утилизации метана оснащаются приборами, обеспечивающими автоматическое прекращение подачи газа при недопустимом снижении метана в подаваемом газе и отклонении его давления от проектного.

181. Регулирование количества поставляемого на утилизацию газа и его давления и поддержание их на заданном уровне осуществляется регуляторами, установленными на нагнетательном трубопроводе в здании ДС.

При увеличении объемов газа, поставляемого на утилизационную установку, и повышении его давления регулирование осуществляется регуляторами, установленными на дегазационном трубопроводе в здании утилизационной установки.

VII. БЕЗОПАСНОСТЬ ВЕДЕНИЯ ДЕГАЗАЦИОННЫХ РАБОТ

182. В организациях, осуществляющих эксплуатацию дегазационных систем, утилизацию каптированного метана, бурение дегазационных скважин, монтаж дегазационных трубопроводов и пусконаладочные работы дегазационного оборудования, разрабатываются мероприятия по безопасному ведению дегазационных работ.

183. Мероприятия по безопасному ведению работ, связанных с эксплуатацией дегазационных систем, технологические инструкции, паспорта и другие эксплуатационные документы, содержащие требования промышленной безопасности при эксплуатации дегазационных систем, утверждает технический руководитель (главный инженер) шахты.

184. Мероприятия по безопасному ведению работ при эксплуатации дегазационных систем разрабатываются с учетом требований промышленной безопасности, ПБ в угольных шахтах и настоящей Инструкции.

185. Мероприятия по безопасному ведению работ при эксплуатации дегазационных систем содержат:

организационные и технические меры по безопасному ведению работ при бурении дегазационных скважин, при монтаже, демонтаже и производству* ремонтных работ дегазационного трубопровода, при запуске, остановке и эксплуатации вакуум-насосов, началу и прекращению подачи газа потребителям;

______________

* Текст соответствует оригиналу. Возможно, следует читать «производстве». (Примеч. изд.)

порядок проведения замеров метана стационарными и переносными приборами контроля при производстве дегазационных работ в горных выработках шахты;

порядок осуществления контроля метана в зданиях и помещениях, где проложен дегазационный трубопровод или находится дегазационное оборудование;

порядок действий персонала, выполняющего работы по дегазации и эксплуатирующего дегазационное оборудование в аварийных ситуациях (при повышении концентрации метана в атмосфере горных выработок шахты, в помещениях ДС и ДУ, при аварийной остановке работающих вакуум-насосов, прекращении подачи газа потребителю);

порядок действия персонала, обслуживающего дегазационные системы шахт, и режимы работы дегазационных систем при возникновении аварии в шахте и вводе в действие плана ликвидации аварий;

меры по предотвращению возможного распространения возгораний метана в дегазационном трубопроводе при возникновении очагов пожара в горных выработках шахты;

расстановку средств пожаротушения и противопожарного оборудования в ДС и ДУ;

порядок действий при пожаре в зданиях ДС и ДУ;

меры по обеспечению взрывобезопасности при транспортировании метановоздушной смеси в дегазационных трубопроводах с содержанием метана менее 25 %.

(Измененная редакция. Изм. от 20.05.2015 г.)

186. Транспортирование метановоздушной смеси в дегазационных трубопроводах с содержанием метана менее 25 % осуществляется при выполнении следующих условий по обеспечению промышленной безопасности:

установка электрооборудования и прокладка электрических кабелей в горных выработках, в которых проложен дегазационный трубопровод, должны производиться на стороне, противоположной месту прокладки трубопровода;

исключение ведения взрывных работ в выработках, в которых проложен дегазационный трубопровод, и в выработках, примыкающих к ним;

недопущение проведения погрузочно-разгрузочных работ в местах прокладки магистрального дегазационного трубопровода на поверхности земли;

запрещение транспортирования и перемещения грузов через дегазационный трубопровод;

запрещение использования открытого огня для размораживания газопровода в зимний период времени;

назначение лиц, персонально ответственных за состояние выработок, в которых проложен дегазационный трубопровод, и за выполнение настоящих мероприятий.

Приложение № 1
к Инструкции по дегазации угольных шахт

Термины и определения. Условные обозначения

1. Для целей настоящей Инструкции использованы следующие термины:

вакуум-насос - устройство водокольцевое или ротационное, предназначенное для удаления по трубопроводу метана из шахты с концентрацией от 0 до 100 %;

вариант дегазации - разновидность схем и способов дегазации, учитывающих технологию ведения горных работ и вид воздействия на дегазируемый источник;

выработанное пространство - пространство, образовавшееся после извлечения полезного ископаемого в результате ведения очистных работ. Выработанное пространство является коллектором метана, выделяющегося из оставшегося после выемки угля, надрабатываемых и подрабатываемых пластов и газоносных пород;

газовая съемка - комплекс работ по установлению параметров распределения газовоздушной смеси в сети горных выработок или в дегазационной системе;

газовыделение (метановыделение) - процесс поступления газа в горные выработки (скважины) и выработанные пространства из источников газовыделения;

газовыделение удельное (интенсивность газовыделения) - количество (объем) газа, выделившегося из единицы объема, веса, поверхности, длины в единицу времени, м3/(м3 ∙ мин); м3/(т ∙ мин); м3/(м2 ∙ мин); м3/(м ∙ мин); м3/(м2 ∙ сут); м3/(м ∙ сут);

газовый баланс шахты - распределение газовыделения в системе горных выработок (шахта, крыло, выемочный участок, очистной забой, подготовительная выработка);

газовый баланс - распределение газовыделения из источников поступления газа в систему горных выработок (разрабатываемый пласт, сближенные надрабатываемые и подрабатываемые пласты, горные породы);

газовый дренаж - удаление газа из угольных пластов и пород по естественным или искусственным каналам;

газодренажная выработка - неконтролируемая выработка специального назначения, изолированная от действующих выработок и отработанных выемочных участков и служащая для перемещения метановоздушной смеси;

газоемкость угля - способность угля поглощать газ в определенных термодинамических условиях, см3/г или м3/т;

газоносность - количество (объем) газов, содержащихся в массовой или объемной единице полезного ископаемого и горной породы, м3/т с.б.м.; м3/т; м33;

газообильность выработок - количество (объем) газа, выделившегося в горные выработки. Различают газообильность:

абсолютную - объем выделившегося газа в горные выработки в единицу времени, м3/сут; м3/мин;

относительную - объем газа, выделившегося в горные выработки за определенный период времени и отнесенный к количеству угля, добытого за этот же период времени, м3/т;

газоотсасывающая установка - установка, предназначенная для удаления газовоздушной смеси из угольных пластов или выработанных пространств;

газопроницаемость - свойство угля (горной породы) при наличии перепада давления пропускать сквозь себя газ, Дарси;

дебит газа - количество (объем) газа, поступающего в атмосферу выработки или в дегазационную систему в единицу времени (м3/с; м3/мин; м3/сут);

дегазационная установка (ДУ) - водокольцевые или ротационные вакуум-насосы для извлечения метана из угольных пластов, вмещающих пород или выработанных пространств;

дегазация - естественное или искусственное удаление метана из угольных пластов и пород в целях уменьшения поступления метана в горные выработки и предотвращения его внезапных выделений;

дегазация выемочных участков - комплекс работ по извлечению и улавливанию метана из источников выделения в пределах выемочного участка с изолированным выводом его на поверхность или в горные выработки, в которых возможно их разбавление до допустимых концентраций;

дегазация подготовительных выработок - комплекс работ по извлечению метана из прилегающего к выработке массива угля с изолированным выводом на поверхность или в горные выработки, в которых возможно их разбавление до допустимых концентраций;

дегазация шахт - комплекс работ, направленных на удаление газов, выделяющихся из различных источников газовыделения, и их изолированный отвод на поверхность или в горные выработки, в которых возможно их разбавление до допустимых концентраций;

дегазация угольных пластов и пород - комплекс работ по извлечению газа из угольных пластов или пород до начала и в процессе ведения горных работ по выемке угля;

дегазация сближенных пластов - комплекс работ по извлечению газов из подрабатываемых или надрабатываемых угольных пластов, разгружаемых от горного давления;

дегазация выработанного пространства - комплекс работ по извлечению газа из выработанного пространства и примыкающего к нему трещиноватого углепородного массива;

дегазация заблаговременная - дегазация, осуществляемая скважинами с земной поверхности с предварительным гидрорасчленением пластов и извлечением газа из углепородного массива до начала очистных или подготовительных работ;

дегазация предварительная - дегазация разрабатываемых пластов угля, осуществляемая пробуренными из горных выработок скважинами до начала очистных работ с изолированным выводом метана на поверхность;

дегазация текущая - дегазация различных источников газовыделения в пределах выемочного участка, блока, панели в процессе ведения горных работ;

дегазация комплексная - сочетание различных способов или схем дегазации одного или нескольких источников газовыделения;

дегазационная (вакуум-насосная) станция - капитальное здание с размещенными в нем машинами и устройствами, обеспечивающими транспортирование отсасываемой из шахты газовоздушной смеси, выброс ее в атмосферу или доставку потребителю;

дегазационная (вакуум-насосная) установка - комплекс мобильных помещений с размещенными в них машинами и устройствами, обеспечивающими транспортирование отсасываемой из шахты метановоздушной смеси, выброс ее в атмосферу (в горную выработку) или доставку потребителю. По месту расположения дегазационные установки делятся на подземные и наземные, по сроку службы - на стационарные и передвижные;

дегазационная система - система, предназначенная для изолированного отвода газа из дегазируемых источников и состоящая из горных выработок или скважин, шахтных газопроводов, дегазационных установок, регулирующей, регистрирующей и защитной аппаратуры и устройств;

дегазационный газопровод - сборный или сварной трубопровод, предназначенный для транспортирования газовоздушной смеси. Дегазационный газопровод подразделяется на:

участковый - газопровод, проложенный в выработках выемочных участков или в проводимых с применением дегазации подготовительных выработках и предназначенный для транспортирования газовоздушной смеси от дегазационных скважин до магистрального газопровода;

магистральный - газопровод, проложенный в главных выработках и на поверхности и предназначенный для транспортирования газовоздушной смеси от участковых газопроводов до дегазационных станций или дегазационных установок;

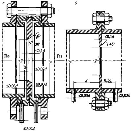
дегазационная скважина - горная выработка (полость) круглого сечения, пробуренная с поверхности земли или из подземной выработки без доступа человека к забою под любым углом к горизонту, диаметр которой много меньше ее глубины;

диаметр дегазационной скважины - определяется диаметром режущей части коронки, которой бурится основная часть скважины, расположенная за пределами участка герметизации. Диаметр дегазационной скважины определяет внутренний диаметр обсадной колонны;

зона влияния геологического нарушения - локальный участок углепородного массива, примыкающий к геологическому нарушению, в пределах которого изменены свойства угля и пород и его напряжено-деформированное состояние;

зона газового дренажа - участок угольного или породного массива, в пределах которого газоносность снижается путем естественного или искусственного истечения газа;

зона обрушения горных пород - часть области сдвижения горных пород, подвергшихся обрушению;

зона опорного давления - краевая часть пласта вокруг выработки (очистной, подготовительной), в пределах которой уровень напряжений выше, чем в нетронутом массиве;

зона разгрузки - часть области влияния очистной выработки или защитного пласта, в пределах которой напряжения, действующие перпендикулярно напластованию, меньше соответствующих напряжений в нетронутом массиве;

зона повышенного горного давления (зона ПГД) - часть массива угля и боковых пород, испытывающая повышенные напряжения, передаваемые краевыми частями, оставленными целиками или другими концентраторами напряжений, расположенными на смежных пластах;

изогаза - линия равной природной газоносности угольных пластов;

интенсивность газовыделения - количество газа, выделяющегося из массива в выработку (скважину) в единицу времени;

источники газовыделения - углепородный массив, выделяющий газы в подземные выработки (скважины);

каптаж - процесс улавливания газа в скважины, специальные газосборные выработки или устройства и вывода его с помощью вакуум-насосов по трубам на поверхность или через диффузор-смеситель в вентиляционную выработку;

коллекторы газа - пористые и трещиноватые горные породы и газоносные угольные пласты, которые могут служить емкостью для газа и достаточно проницаемы, чтобы отдавать его при вскрытии этих пород и пластов горной выработкой, выработанные пространства, заполненные газом, сети газодренажных выработок и газоотводящих труб;

коэффициент дегазации - отношение снижения метанообильности выработки при осуществлении дегазации к ее метанообильности без дегазации;

коэффициент дегазации отдельного источника - отношение разности дебита метана без дегазации и с ее осуществлением к дебиту газа из источника без применения дегазации;

коэффициент дегазации шахты (крыла, блока, панели, выемочного участка, отдельной выработки) - отношение объема каптированного метана за тот или иной промежуток времени к суммарному объему каптированного метана и вынесенного вентиляционной струей воздуха;

коэффициент дегазации выработанного пространства - отношение объема каптированного метана из выработанного пространства к суммарному объему газа, каптированного дегазацией и выносимого вентиляционной струей;

коэффициент дегазации разрабатываемого пласта - отношение величины снижения газоносности пласта за счет дегазации к разности природной и остаточной метаноносности пласта в зоне выемки угля;

метановыделение - процесс поступления метана из газосодержащего источника в горные выработки (скважины);

метанодобываемость - количество метана, поступающего в дегазационную скважину из источника метановыделения и извлекаемого дегазационной системой в единицу времени, м3/мин; м3/сут;

метаноносность пласта - количество (объем) метана, содержащегося в массовой или объемной единице полезного ископаемого и горной породы в свободном и сорбированном состоянии, м3/т с. б. м.; м3/т; м33. Различают метаноносность:

потенциальную - возможную при определенных условиях (температура, газовое давление, пористость, влажность, зольность);

природную - метаноносность в природных условиях;

остаточную - метаноносность частично дегазированного в результате ведения горных работ полезного ископаемого или горной породы;

метанообильность выработок - количество (объем) метана, выделившегося в горные выработки. Различают метанообильность:

абсолютную - количество метана, выделившегося в выработку (шахту, крыло, участок) в единицу времени, м3/мин; м3/сут;

относительную - количество метана, выделившегося в выработку (шахту, крыло, участок) и отнесенного к единице массы или объема угля или породы, добытых за этот же период (м3/т, м33);

нагрузка на очистной забой - количество угля, извлекаемого очистным забоем в единицу времени;

обсадная труба - труба, выполненная из металла или иного материала, допущенного к применению в шахтах, и предназначенная для изоляции устья скважины от подсосов воздуха;

остаточная газоносность - объем газа, содержащегося в единице массы угля или породы, частично дегазированных в результате ведения горных работ, м3/т угля;

отсос газа - извлечение газа из угольных пластов, горных пород и выработанных пространств средствами дегазации;

параметры скважин - диаметр, длина и углы заложения скважин;

подработка (надработка) - порядок шахтной разработки свит (групп) пластов полезного ископаемого, при котором первоначально отрабатывают нижележащие (вышележащие) пласты продуктивной толщи;

прогноз метанообильности - определение предполагаемой метанообильности проектируемых или действующих угольных шахт, горизонтов, участков, отдельных выработок;

проект дегазации - технический документ, определяющий порядок ведения дегазации на шахте;

проект утилизации - технический документ, определяющий порядок утилизации шахтного метана энергетическими установками;

сближенный пласт - пласт газоносной угольной свиты пластов, отдающий газ в выработки разрабатываемого пласта при его надработке или подработке;

свита пластов угля - группа пластов угля, заключенных в толще согласно залегающим горным породам;

сдвижение горных пород - перемещение и деформирование горных пород в результате нарушения их равновесия под влиянием горных работ, изменения физико-механических свойств пород и других причин;

способ (метод) дегазации шахт - совокупность операций, позволяющих осуществить извлечение метана из дегазируемых источников;

скважина - горная выработка (полость) цилиндрической формы глубиной более 5 м и диаметром более 42 мм, пройденная в горной породе или полезном ископаемом механическим или иными способами бурения;

скважины ограждающие - скважины, пробуренные за контуром поперечного сечения выработки, предназначенные для дегазации угольного массива при проведении горной выработки;

скважины опережающие - скважины, устья которых располагаются в пределах забоя проводимой выработки;

степень дегазации пласта - уровень снижения метаноносности пласта;

степень использования каптируемого метана - отношение объема использованного метана к объему метана, извлеченного дегазационной системой;

суфляр - выделение газа из трещин природного или эксплуатационного происхождения, шпуров или скважин, вскрывающих трещиноватые породы;

схема дегазации - схема расположения дегазационных скважин в пространстве выемочного участка, подготовительной выработки, выработанного пространства;

угол заложения скважины - направление бурения дегазационной скважины;

угленосная толща - комплекс осадочных отложений, заключающих в себе пласты угля;

управление метановыделением (газовыделением) - совокупность мероприятий, направленных на снижение или перераспределение потоков выделяющихся газов в пределах горных выработок;

утилизация каптированного в шахтах метана - технологический процесс использования метановоздушных смесей в устройствах для их сжигания;

целик - не извлеченная или временно не извлекаемая в процессе разработки месторождения часть угольного пласта.

2. В настоящей Инструкции используются следующие условные обозначения*:

______________

* Почти все обозначения повторно определены в пояснениях к формулам в приложениях к Инструкции. (Примеч. изд.)

А

- коэффициент;

Ас

- зольность пробы, отобранной газокернонаборником, %;

Асут

- суточная производительность лавы, т/сут;

а

- коэффициент, характеризующий темп снижения метановыделения в дегазационные пластовые скважины, сут-1;

aN

- коэффициент, характеризующий темп снижения во времени газовыделения из N скважин, сут1;

a1

- проекция оси скважины на горизонтальную проекцию оси выработки, м;

a'

- эмпирический коэффициент;

a'i

- эмпирический коэффициент;

aз

- поправочный коэффициент замерного устройства;

Вв.т

- разрежение по типовой аэродинамической характеристике вакуум-насоса, мм рт.ст.;

Вв.ф

- разрежение на вакуум-насосе (фактическое), мм рт.ст.;

Ву

- разрежение в устье скважины, мм рт.ст.;

Вл

- эмпирический коэффициент;

Вмин

- минимальное разрежение, мм рт.ст.;

bс

- эмпирический коэффициент;

bк

- содержание газовых компонентов в отобранной пробе;

b1

- протяженность зоны, препятствующей разгрузке горных пород, м;

b'

- эмпирический коэффициент;

Св

- концентрация воздуха в каптируемой газовой смеси, %;

Св.п

- концентрация метана в отводимой из выработанного пространства или из сближенных пластов газовоздушной смеси, %;

Ск

- содержание карбонатов в фильтрующих каналах, доли единицы;

Ск.т

- концентрация товарной кислоты, %;

См

- содержание метана в газовой смеси, %;

Ср

- концентрация кислотного раствора, %;

С1-4

- концентрация метана в пунктах отбора пробы газа из скважины, %;

с

- концентрация метана, допустимая в вентиляционной струе, %;

ск

- содержание компонента в газовой смеси, %;

см i

- концентрация метана в i-м пункте замера, %;

смаг j

- концентрация метана j-й ветви магистрального газопровода, %;

сo

- концентрация метана в поступающей вентиляционной струе, %;

cуч i

- концентрация метана в газовоздушной смеси участкового газопровода на i-м выемочном участке, %;

сi

- концентрация метана в газовоздушной смеси i-й ветви газопровода, %;

с1

- резерв, учитывающий возможное отклонение скважины от заданного направления, м;

с'

- эмпирический коэффициент;

с'max

- концентрация метана в скважинах на расстоянии L'max от монтажной камеры (после первой посадки основной кровли), %;

D

- коэффициент;

dс

- диаметр дегазационной скважины, м;

d

- внутренний диаметр газопровода, м;

dст

- стандартный диаметр газопровода, м;

dэк

- эквивалентный диаметр дегазационной скважины, м;

do

- диаметр отверстия диафрагмы, мм;

di

- внутренний диаметр i-го газопровода, м;

dпр

- приведенный диаметр скважин в кусте, м;

f

- коэффициент крепости угля по М.М. Протодьяконову;

Gб

- дебит метана из N скважин на момент завершения буровых работ, м3/мин;

G'б

- дебит метана из N' скважин, м3/мин;

G'τ

- дебит метана из скважин на участке разрабатываемого пласта, м3/мин;

Gд

- суммарный расход (дебит) метана, извлекаемого на выемочном участке средствами дегазации, м3/мин;

Gс

- дебит метана из скважин, м3/мин;

Gд.б

- прогнозное значение дебита метана из барьерных скважин, м3/мин;

Gд.с

- прогнозное значение дебита метана из подрабатываемых и/или надрабатываемых сближенных пластов, м3/мин;

Сд i

- дебит метана, извлекаемого средствами дегазации из i-го источника, м3/мин;

Сд j

- дебит извлеченного средствами дегазации газа на j-м дегазируемом участке, м3/мин;

Gпл

- прогнозное значение дебита метана из разрабатываемого пласта при дегазации скважинами, м3/мин;

- дебит метана из скважин i-го выемочного участка, м3/мин;

Gд.т i

- дебит метана в i-м пункте газопровода, м3/мин;

G'max

- дебит метана в скважинах на расстоянии L'max от монтажной камеры, м3/мин;

Gд.в.п

- прогнозное значение дебита метана, каптируемого из выработанного пространства, м3/мин;

g

- ускорение силы тяжести, м/с2;

g0

- начальное удельное метановыделение из пластовой скважины, м3/(м2 ∙ сут);

g'0

- среднее удельное газовыделение в течение первого месяца функционирования скважин, м3/(м ∙ сут);

H

- глубина горных работ (залегания угольного пласта) от земной поверхности, м;

Hв.п

- расстояние от земной поверхности до верхнего подрабатываемого пласта, м;

h

- расстояние по нормали от устья скважины до кровли разрабатываемого пласта, м;

hв

- депрессия ветви газопровода, мм рт.ст.;

hв.н

- депрессии вакуум-насоса, мм рт.ст.;

hд

- перепад давлений на диафрагме, мм вод.ст.;

hс

- депрессия дегазационной скважины, мм рт.ст.;

hтр

- депрессия дегазационного трубопровода, мм рт.ст.;

hтр i

- депрессия ветви участкового дегазационного трубопровода, мм рт.ст.;

hтр j

- депрессия ветви магистрального (группового, шахтного) дегазационного трубопровода, мм рт.ст.;

h1

- мощность непосредственной кровли, м;

I

- метанообильность выработки по прогнозу (или фактическая) без дегазации источников газовыделения, м3/мин;

Iуч

- газообильность выемочного участка, м3/мин;

Iв

- газовыделение в выработку (очистной участок, выемочное поле, подготовительная выработка), допустимое по фактору вентиляции без дегазации источников газовыделения, м3/мин;

Iв.п

- газовыделение в выработанное пространство, м3/мин;

Iп.в

- газовыделение в подготовительную выработку без дегазации пласта, м3/мин;

Iс.п

- газовыделение из сближенных пластов и вмещающих пород, м3/мин;

Ii

- газовыделение на участке из i-го источника метановыделения, м3/мин;

I'

- газовыделение в выработку (очистной забой, выемочный участок, поле, подготовительная выработка) при применении дегазации, м3/мин;

I'j

- газовыделение в вентиляционную сеть на j-м дегазируемом участке, м3/мин;

j

- индекс дегазируемого участка;

K

- коэффициент диафрагмы;

K'

- коэффициент перерасчета для приведения газа к нормальным условиям;

Kд

- коэффициент дегазации выработки (очистного участка, поля, подготовительной выработки), доли единицы;

K'д

- необходимое (проектное) значение коэффициента дегазации, доли единицы;

Kдег

- суммарное значение коэффициента дегазации нескольких источников газовыделения на выемочном участке, доли единицы;

Kд.ш

- эффективность работы дегазационной системы шахты, доли единицы;

Kг.и

- коэффициент интенсификации газоотдачи пластовых скважин, пробуренных в зонах гидроразрыва пласта, доли единицы;

Kи.г

- коэффициент интенсификации газоотдачи пластовых скважин после гидрорасчленения угольного пласта;

Kн

- коэффициент неравномерности газовыделения;

Kж

- коэффициент, учитывающий потери жидкости на фильтрацию;

Kот

- коэффициент, учитывающий возможное отклонение скважины при ее бурении;

Kр.п

- коэффициент разрыхления пород кровли;

Kс

- эмпирический коэффициент;

Kт

- эмпирический коэффициент;

K1

- суммарный коэффициент потерь воздуха;

K'1

- эмпирический коэффициент;

K'д

- необходимый коэффициент дегазации, доли единицы;

- коэффициент интенсификации газовыделения в скважины предварительной дегазации, пробуренные в зонах гидроразрыва пласта;

k

- число дегазируемых подготовительных и очистных выработок, шт.;

kд.п

- коэффициент дегазации газоносных пород, доли единицы;

kд.пл

- коэффициент дегазации разрабатываемого пласта, доли единицы;

k'д.пл

- проектный коэффициент дегазации разрабатываемого пласта, доли единицы;

kд.с.н

- коэффициент дегазации сближенных надрабатываемых пластов, доли единицы;

kд.c.п

- коэффициент дегазации сближенных подрабатываемых пластов, доли единицы;

kд.c

- коэффициент дегазации сближенных угольных пластов, доли единицы;

ke

- коэффициент естественной дегазации массива угля впереди очистного забоя, доли единицы;

kи

- коэффициент интенсификации выделения метана в перекрещивающиеся пластовые скважины;

kп

- коэффициент, указанный в паспорте прибора для учета диаметра газопровода;

kд.в.п

- коэффициент дегазации выработанного пространства, доли единицы;

kи.н

- коэффициент, учитывающий интерференцию скважин и неравномерность обработки массива;

kз

- коэффициент, учитывающий заполнение угольного массива рабочей жидкостью;

kд i

- коэффициент дегазации i-го источника метановыделения, доли единицы;

k'и

- коэффициент интенсификации выделения метана в пластовые скважины, ориентированные на очистной забой;

kµ

- коэффициент, учитывающий сорбцию и скорость реакции соляной кислоты с карбонатами;

k0

- коэффициент приведения;

L

- длина выемочного участка, м;

Lб

- расстояние от очистного забоя до места установки бурового станка, м;

Lг

- расстояние между скважинами гидроразрыва, м;

Lmax

- расстояние (в плоскости разрабатываемого пласта) от забоя лавы до местоположения проекции зоны максимального газовыделения в скважины из сближенного пласта, м;

Lmax i

- расстояние (в плоскости разрабатываемого пласта) от забоя лавы до места положения проекции зоны максимального газовыделения i-го дегазируемого пласта, м;

L'

- длина отрабатываемого выемочного участка от зоны максимального газовыделения (после первой посадки основной кровли), м;

L'в

- расстояние от вентиляционной выработки до проекции забоя скважины на разрабатываемый пласт, м;

L'max

- расстояние (в плоскости разрабатываемого пласта) относительно монтажной камеры до местоположения проекции зоны максимального газовыделения в скважины (после первой посадки основной кровли), м;

Lт

- длина участка газопровода, м;

lб

- ширина бутовой полосы, м;

lоч

- длина очистного забоя, м;

lс

- длина скважины, м;

l'с

- полезная длина скважины, м;

lcp

- средняя длина скважин в кусте, м;

lтр

- длина участка трубопровода, м;

lф

- фактическая длина ветви газопровода, м;

lц

- ширина целика угля, м;

li

- длина i-й скважины в кусте, м;

l'г

- полезная длина скважины гидроразрыва, м;

M

- масса отобранной газокернонаборником пробы, г;

Mг

- количество горючей массы в пробе, отобранной газокернонаборником, г;

Мс.п

- расстояние по нормали между кровлей разрабатываемого и почвой сближенного (при подработке) и между почвой разрабатываемого и кровлей сближенного (при надработке) пластов, м;

Мс.п i

- расстояние по нормали между разрабатываемым и г-м сближенным пластами, м;

М'

- расстояние по нормали между разрабатываемым пластом и дегазируемой толщей газосодержащих пород, м;

М"

- расстояние по нормали от полевого штрека до сближенного пласта, м;

т

- мощность угольных пачек разрабатываемого пласта, м;

тв

- вынимаемая мощность разрабатываемого пласта, м;

тд

- дегазируемая скважинами мощность угольного пласта, м;

тi

- мощность дегазируемого i-го сближенного пласта, м;

т'

- мощность дегазируемой толщи пород, м;

N

- общее число дегазационных скважин на участке, шт.;

Nэ

- эквивалентное число скважин, участвующее в активном процессе газоотдачи, шт.;

N1

- эмпирический коэффициент;

nк

- количество кустов скважин в одновременной работе, шт.;

nп

- долевое участие в газообильности выработки газоносных пород, доли единицы;

ппл

- долевое участие в газообильности выработки разрабатываемого пласта, доли единицы;

nс

- число одновременно работающих скважин, шт.;

nс.к

- количество скважин в кусте, шт.;

nс.н

- долевое участие в газообильности выработки сближенных надрабатываемых пластов, доли единицы;

пс.п

- долевое участие в газообильности выработки сближенных подрабатываемых пластов, доли единицы;

nу

- число выемочных участков, из которых газ транспортируется в j-й магистральный газопровод, шт.;

nф

- фильтрующая пористость пласта по газу, доли единицы;

пэ

- эффективная пористость угольного пласта, доли единицы;

пi

- долевое участие i-го источника газовыделения в газовом балансе участка без дегазации, доли единицы;

Р

- давление смеси газов в трубопроводе, мм рт. ст.;

Рвыр

- давление в выработке, мм рт.ст.;

Рвых

- давление в газовоздушной смеси на выходе из газопровода, мм рт.ст.;

Рг

- давление жидкости, при котором происходит гидроразрыв угольного пласта, МПа;

Рз.в

- давление закачки газообразного агента, МПа;

Рпл

- давление газа в пласте, МПа;

Рср

- среднее давление газообразной среды, МПа;

Рус

- ожидаемое давление на устье скважины при рабочем темпе нагнетания жидкости, МПа;

Р0

- атмосферное давление, мм рт.ст. (МПа);

Р'1

- давление газа в газопроводе, мм рт.ст.;

Q

- расход газовоздушной смеси, транспортируемой по дегазационному газопроводу, м3/с;

Qб

- расход газовоздушной смеси в ветви газопровода, примыкающей к магистральному газопроводу, м3/с;

Qвых

- дебит газовоздушной смеси из газопровода, м3/мин;

Qг.о

- объем газообразного рабочего агента, м3;

Qж

- объем рабочей жидкости, необходимой для гидроразрыва или гидрорасчленения пласта, м3;

Qв.ф

- фактический расход газовоздушной смеси на вакуум-насосе, м3/мин;

Qк.р

- объем кислотного раствора, м3;

Qк.т

- необходимый объем товарной соляной кислоты, т;

Qв

- производительность вакуум-насоса, м3/мин;

Qн.у

- расход газовоздушной смеси, транспортируемой по дегазационному газопроводу, приведенный к нормальным условиям, м3/мин;

Qп

- подсос воздуха в дегазационную сеть, м3/мин;

Qп.г.в

- суммарный объем нагнетаемых при пневмовоздействии рабочих агентов, м3;

Qр.ж

- объем жидкого рабочего агента, м3;

Qк

- дебит газовоздушной смеси из одного куста скважин, м3/мин;

Qс

- дебит газовоздушной смеси из одной скважины, м3/мин;

Qсм.в.п

- расход извлекаемой из выработанного пространства и/или пластов-спутников газовоздушной смеси, м3/мин;

Qсм

- расход газовоздушной смеси в начальных ветвях сети, м3/мин;

Qтр i

- расход газовоздушной смеси в i-й точке участкового газопровода, м3/мин;

Qц

- объем закачки жидкости за цикл, м3;

Qсм j

- расход газовоздушной смеси в j-й ветви магистрального газопровода, м3/мин;

Qсм i

- расход газовоздушной смеси в i-й ветви газопровода, м3/мин;

ΔQ

- притечки воздуха в дегазационную скважину, м3/мин;

- расход газовоздушной смеси в j-й ветви магистрального газопровода с учетом резерва его пропускной способности, м3/мин;

- расход газовоздушной смеси в участковом газопроводе с учетом резерва его пропускной способности, м3/мин;

- расход газовоздушной смеси в участковом газопроводе i-го выемочного участка, м3/мин;

Q'ж

- объем рабочей жидкости, необходимой для гидроразрыва пласта через пластовые скважины, м3;

qн

- темп нагнетания жидкости в пласт угля, м3/ч;

qр

- рабочий темп закачки ПАВ и воды в скважину, м3/с;

qпл

- метановыделение из пласта без его дегазации, м3/т;

qс.п.п

- газовыделение из сближенных подрабатываемых пластов, м3/т;

qуд

- удельный расход соляной кислоты на 1 т карбонатов, т/т;

qз

- рабочий темп закачки растворов ПАВ и воды, м3/с;

q'

- суммарный объем извлекаемого газа при заблаговременной дегазации угольных пластов, м3/т;

R

- расстояние между пластовыми дегазационными скважинами в зонах гидрорасчленения пласта, м;

Rг

- радиус действия скважин гидроразрыва, м;

Rк

- расстояние между кустами скважин, м;

Rн

- расстояние между параллельно-одиночными пластовыми нисходящими скважинами, м;

Rс

- расстояние между параллельно-одиночными скважинами, м;

Rэ

- эффективный радиус гидрорасчленения угольного пласта, м;

Rуд

- удельная депрессия газопровода, даПа/м;

R1

- большая полуось эллипса зоны гидрорасчленения угольного пласта, м;

R2

- малая полуось эллипса зоны гидрорасчленения угольного пласта, м;

- расстояние между пластовыми скважинами, буримыми в зонах гидроразрыва, м;

R'

- расстояние от монтажной камеры до первой скважины гидрорасчленения, м;

R'э

- расстояние от участковых выработок до скважин гидрорасчленения на оконтуренных или подготавливаемых к отработке выемочных участках, м;

R"э

- расстояние между последующими скважинами гидрорасчленения, располагаемыми вдоль выемочного столба, м;

rс

- расстояние между скважинами, пробуренными на пологие подрабатываемые пласты вкрест их простирания, м;

S

- сечение выработки, м2;

Тв

- температура нагнетаемого воздуха, °С;

Тпл

- температура пласта после нагнетания воздуха, °С;

ΔTпл

- прирост температуры пласта в результате нагнетания воздуха;

Т0

- природная температура пласта, °С;

τ

- продолжительность дренирования пласта скважинами (по проекту), сутки;

τ'

- продолжительность дегазации, отсчитываемая с момента окончания буровых работ (N скважин) на дегазируемом участке, сутки;

τ'1

- продолжительность дегазации пласта скважинами, сутки;

tг

- время освоения и эксплуатации скважин гидрорасчленения, сутки;

tб.г

- время, необходимое для монтажа станка, бурения, герметизации и подключения скважин к газопроводу, сутки;

tб

- время обуривания дегазируемого участка разрабатываемого пласта, сутки;

t'б

- время бурения N' скважин, сутки;

tн

- время работы насоса для нагнетания жидкости в пласт, час;

t0

- температура газа перед диафрагмой, °С;

V

- объем закачиваемого в массив газообразного рабочего агента, м3;

Vг

- объем извлеченных из газокернонаборника газов, см3;

Vн

- объем газов, приведенный к нормальным условиям, см3;

Vн.к

- объем компонентов в газовой смеси, приведенный к нормальным условиям, см3;

Vсм

- скорость движения газовоздушной смеси в газопроводе, м/с;

Vdaf

- выход летучих веществ, %;

Vж

- объем жидкости при определении компонентов газа в промывочной жидкости, л;

Vпр

- количество извлеченного газа (без атмосферного кислорода и азота), см3;

v

- скорость движения воздуха в выработке, м/с;

vоч

- скорость подвигания очистного забоя, м/сут;

vп

- измеренная скорость потока газовой смеси, м/с;

W

- влажность угля в пробе, %;

X

- природная газоносность пласта, м3/т;

Xг

- природная метаноносность пласта, м3/т с.б.м (см3/г с.б.м);

Xп

- газосодержание в пробе угля, см3/г;

Хo

- остаточная газоносность угля, м3/т;

- остаточная метаноносность угля, м3/т с.б.м (см3/г с.б.м);

xж

- содержание газовых компонентов в жидкости см3/л;

xм

- условная величина, используемая для определения (выбора) наиболее трудного маршрута по условиям транспортирования каптируемой газовоздушной смеси, мм рт.ст. ∙ мин27;

x0

- расстояние от забоя лавы до зоны подбучивания пород кровли, м;

Z

- коэффициент сжимаемости газа;

α

- угол падения пласта, град;

αр

- коэффициент расхода;

α'

- угол падения пласта в плоскости скважины, град;

β

- угол возвышения скважины (наклона скважины к горизонту), град;

βл

- эмпирический коэффициент;

β'

- проекция угла наклона скважины на вертикальную плоскость, проходящую через линию падения пласта, град;

βп

- размерный эмпирический коэффициент;

γ

- объемный вес угля, т/м3;

γсм

- объемный вес газовоздушной смеси, кг/м3;

γн

- объемная масса газовоздушной смеси при давлении 760 мм рт. ст. и температуре 293 К, кг/м3;

γ'

- объемная масса газа в рабочем состоянии при фактической концентрации метана, кг/м3;

ε

- поправочный коэффициент;

λт

- безразмерный коэффициент сопротивления трения;

ρк

- плотность соляной кислоты, т/м3;

ρуг

- плотность угля, т/м3;

φ

- угол между проекцией скважин на горизонтальную плоскость и перпендикуляром к оси выработки в той же плоскости, град;

φ1

- угол между осью выработки и проекцией скважины на плоскость пласта, град;

ψ

- угол разгрузки пород кровли, град;

ψ1

- угол разгрузки пород почвы, град;

ψ'

- угол разгрузки пород кровли в плоскости скважины, град;

Δ

- величина, принимаемая в зависимости от длины лавы и местоположения границы разгрузки дегазируемого пласта, м;

Пг

- допустимые подсосы воздуха в газопровод, м3/мин;

Пс

- допустимые подсосы воздуха в дегазационные скважины, м3/мин;

Пуд

- допустимые удельные подсосы воздуха в дегазационные скважины, м3/мин.

Приложение № 2
к Инструкции по дегазации угольных шахт

Определение газоносности угольных пластов

I. Общие сведения

1. Для определения количественных показателей газоносности в пределах метановой зоны, характеризующейся повышенным выделением, применяются методы прямого и косвенного определения природной газоносности угольных пластов и вмещающих пород.

Метод прямого определения основан на применении специальных колонковых снарядов (керногазонаборников), которые позволяют отобрать пробы угля, пород и газа в их естественном соотношении и определить содержание газа в керне, близкое к природному. Данный метод используется геолого-разведочными партиями (далее - ГРП), геолого-разведочными экспедициями (далее - ГРЭ) при ведении геолого-разведочных работ.

Метод косвенного определения сводится к установлению газоносности угля или пород по их газоемкости, полученной лабораторным путем, для условий давления газа и температуры, замеренных в скважинах в угольном пласте или породном слое.

2. Газовыми съемками, проводимыми в горных выработках, устанавливается газовый баланс выемочных участков по источникам газовыделения, в том числе из разрабатываемого пласта. Газовыделение из разрабатываемого пласта, отнесенное к 1 т угля, в сумме с остаточной газоносностью угля, выдаваемого из лавы, соответствует природной газоносности угольного пласта.

3. Природная газоносность угольных пластов рассчитывается по данным газообильности выработок действующих шахт по формулам прогноза метанообильности. Исходными данными является фактическая метанообильность действующих выработок, рассчитанная по плановым и категорийным замерам, проводимым военизированными горно-спасательными частями и службой вентиляции шахт.

4. Комплексный метод основан на использовании непрерывного газового каротажа выходящей из скважины промывочной жидкости. Газовым каротажем по скважине в разрезе пород выявляются газовыделяющие интервалы (угольные пласты и газоносные породы). По объему газа, вынесенного буровым раствором из интервала газосодержащих углей и пород, определяют количество газа, выделившегося при перебуривании одного метра углепородного массива. Определив объем газа, вынесенного буровым раствором из интервала угольного пласта, и остаточную газоносность угольного керна и шлама, рассчитывают по уравнению газового баланса природную газоносность угольного пласта.

5. На всех стадиях разведки угольных месторождений и участков определение газоносности угольных пластов и вмещающих пород-коллекторов является обязательным.

На поисковой стадии производятся сбор и обобщение сведений о газоносности месторождения или участка, определение качественного состава природных газов в угольных пластах и вмещающих породах методом отбора проб в герметические сосуды - ориентировочное определение природной газоносности месторождения (наличие или отсутствие в угленосных отложениях метана на глубине, до которой производится оценка запасов).

На стадии предварительной разведки месторождений с наличием метана необходимо получить данные о газоносности исследуемой площади, достаточные для составления соответствующего раздела в технико-экономическом докладе о целесообразности детальной разведки.

Для этого необходимо установить:

общий характер качественного состава газов и газовую зональность;

глубину поверхности зоны метановых газов и общую качественную характеристику природной газоносности угольных пластов в зоне метановых газов;

возможное влияние геологических факторов на распределение газов в угольных пластах и вмещающих породах.

На стадии детальной разведки выполненный объем опробования угольных пластов месторождения (участка) должен обеспечить получение исходных данных о природной газоносности, достаточных для составления прогноза ожидаемой газообильности горных выработок шахты с погрешностью не более 30 %.

Для этого необходимо:

уточнить гипсометрическое положение поверхности зоны метановых газов с точностью ±50 м;

определить природную газоносность рабочих пластов в зоне метановых газов на всей площади месторождения (участка) с предельной погрешностью не более ±5 м3/т, которая устанавливается сравнением со среднединамической величиной газоносности проб одного пластопересечения мощных пластов угля или со средней газоносностью тонких угольных пластов на данной глубине;

определить наличие горизонтов вмещающих пород-коллекторов и установить их газосодержание;

установить газосодержание подземных вод водоносных горизонтов, оказывающих значительное влияние на газообильность горных выработок;

изучить влияние геологических факторов на распределение газа и установить количественные зависимости, дать прогноз газоносности с учетом выявленного влияния геологических факторов на возможные региональные и локальные изменения газоносности.

6. При доразведке полей действующих шахт дополнительное опробование угольных пластов на газоносность проводится в случае, если нет условий, позволяющих применять горностатистический метод прогноза газообильности горных выработок, а именно при:

отсутствии данных о газообильности горных выработок на отработанных и действующих горизонтах шахты, а также по соседним шахтам;

вскрытии первого горизонта в зоне метановых газов;

вскрытии новых пластов;

изменении системы разработки или способов управления метановыделением;

отсутствии аналогии геологических условий действующих горизонтов с разведываемыми;

наличии в пределах шахтного поля значительных тектонических нарушений.

7. При повышенной углекислотообильности (более 5 м3/т добычи угля) выявляются источники поступления углекислого газа, для чего используются результаты подземных газовых съемок и исследования подземных и шахтных вод.

8. При реконструкции действующих шахт с прирезкой новых площадей и пластов на расстоянии по вертикали от горных работ более 200 м при пологих и более 300 м при крутых пластах, а также на расстоянии более 2000 - 3000 м от действующих горных работ изучение природной газоносности основных рабочих угольных пластов производится в соответствии с требованиями детальной разведки.

9. При опробовании керногазонаборниками угольных пластов число проб, отбираемых из одного пласта, определяется по таблице № 1.

Таблица № 1

Объем опробования угольных пластов на газоносность в зависимости от их мощности

Мощность угольного пласта, м

Количество проб, подлежащих отбору, шт.

До 1,5

1

1,5 - 3

2 - 3

3 - 5

3 - 4

Более 5

5 - 10

10. На действующих шахтах прогноз ожидаемой газообильности нижележащих горизонтов осуществляется по данным горных работ.

II. Опробование угольных пластов на газоносность

11. Опробование угольных пластов на газоносность производится в присутствии комиссии в составе бурового мастера, геолога по изучению газоносности и участкового геолога.

Отбор проб угля, намеченных для определения газоносности, производится одинарной или двойной колонковой трубой либо специальным колонковым снарядом-керногазонаборником.

Перед перебуркой угольного пласта скважина должна быть полностью очищена от породного керна, буровой мелочи и шлама во избежание истирания угля при бурении и засорения керногазонаборника шламом. Пробы отбираются в виде кусков кернов: для изучения физико-механических свойств - длиной 30 - 40 см (или три образца длиной по 15 см); для изготовления шлифов - 5 см; для определения общей и открытой пористости до 10 см.

12. Каждая проба, направляемая в лабораторию, маркируется своим номером.

В состав лабораторных работ входят: дегазация проб, химический анализ извлеченного газа, изготовление шлифов, аншлифов-брикетов, подготовка образцов и определение основных показателей коллекторских свойств (для углей - общая пористость, кажущаяся и действительная плотность, сорбционная газоемкость, трещиноватость, прочность). Пробы угля, пород и жидкости (промывочная жидкость, шахтные и самоизливающиеся из скважин воды), направляемые в лабораторию для определения их газосодержания, и пробы газа принимаются в керноприемниках и пробоотборниках при отсутствии видимых дефектов (плохо пригнанных крышек и пробок, пробоин в шлангах). В лабораториях организуется учет поступивших проб. Каждой присваивается свой лабораторный номер.

13. Перед постановкой керноприемника на дегазацию предварительно определяется количество керна в нем с помощью дефектоскопа.

Перед дегазацией проб, отобранных в керноприемники, в последних измеряется газовое давление мановакуумметром.

Дегазация проб, отобранных в керноприемники и сосуды для жидкости, производится на дегазационной установке.

При наличии избыточного газового давления в керноприемниках пробы дегазируются в следующем порядке:

собирается газ, выделяющийся при комнатной температуре;

собирается газ, выделяющийся при термовакуумной дегазации проб, с нагревом в водяной ванне до 60 - 90 °С при вакууме с остаточным давлением 5 - 10 мм рт.ст.;

пробы полуантрацитов и антрацитов, а также пород для полного извлечения газа подвергаются дроблению с последующей дегазацией.

14. Дегазация жидкости производится в горизонтальной бюретке при вакууме с остаточным давлением 5 - 10 мм рт.ст. при нагревании до 60 - 90 °С.

Дегазация проб считается законченной, когда при нагреве до 60 - 90 °С под вакуумом с остаточным давлением 5 - 10 мм рт.ст. из нее за 1 час выделится 10 - 15 см3 газа, что должно составлять не более 1 % извлеченного газа.

15. Угольные керны сдаются на технический анализ раздельно. Шлам и случайные обломки породы обязательно сдаются на технический анализ, так как следует учитывать всю органическую массу, из которой выделяется газ.

16. Анализ извлеченного газа для определения основных компонентов: углекислого газа, кислорода, водорода, метана и его гомологов, азота и редких газов - производится на газоаналитических аппаратах по установленным методикам.

Объемы газов, извлеченных из газосборника и керноприемника, приводятся к нормальным условиям (760 мм рт.ст. и 20 °С):

Vн = VгK',                                                                 (1)

где Vг - объем извлеченного газа, см3;

K' - коэффициент перерасчета для приведения газа к нормальным условиям.

Определяются объемы Vн.к компонентов, см3, по объемам, приведенным к нормальным условиям, и данным газового анализа:

                                                             (2)

где ск - содержание компонента, %.

Определяются общие объемы Vн.к каждого компонента (в случае поэтапной дегазации пробы с раздельным анализом газов):

                                                          (3)

______________

* Формула соответствует оригиналу. (Примеч. изд.)

Рассчитывается газосодержание Хп соответствующего компонента на 1 г пробы, см3/г:

                                                         (4)

где М - масса пробы, г.

Рассчитывается газосодержание каждого компонента на 1 г сухой беззольной массы пробы, см3/г с.б.м.:

                                                         (5)

где Мг - количество горючей массы пробы, г, определяемое по формуле

                                             (6)

где Ас и W - зольность и влажность пробы соответственно, %.

Газоносность рассчитывается с учетом поправочного коэффициента, величина которого устанавливается для каждого бассейна и составляет 1,1 - 1,25.

По данным газового анализа и объему извлеченного газа рассчитывается содержание газовых компонентов Vк, см3, в газосодержащей жидкости по формуле

                                                              (7)

Из объема газовой смеси исключается объем кислорода и азота воздуха, растворившихся в жидкости при ее отборе.

Содержание газовых компонентов в извлеченном из пробы газе, %, рассчитывается по соотношению

                                                           (8)

где Vпр - количество извлеченного газа (без атмосферного кислорода и азота), см3.

Абсолютное содержание отдельных газовых компонентов на 1 л жидкости, см3/л, определяется по формуле

                                                       (9)

где Vж - объем жидкости, л.

Результаты расчетов заносятся в журнал по рекомендуемому образцу в соответствии с приложением № 22 к настоящей Инструкции.

III. Обработка материалов по определению газоносности

17. При обработке пробы подразделяются на представительные, условно представительные и непредставительные.

К представительным относятся пробы, отвечающие всем требованиям технологии отбора и лабораторной обработки, которые приводятся в соответствующих инструкциях по каждому виду опробования. Эти пробы являются основными исходными данными для характеристики газоносности угленосной толщи.

К условно представительным относятся пробы, имеющие незначительные отклонения от основных требований. Эти пробы принимаются во внимание при ориентировочной оценке газоносности угленосной толщи, особенно когда общее количество проб недостаточное.

Бракованными признаются пробы, имеющие явные признаки негерметичности и непредставительные по массе. Такие пробы не учитываются при определении газоносности.

18. Для учета возможных потерь газа при отборе проб и их лабораторной обработке в расчеты природной газоносности вводится поправочный коэффициент.

19. При отборе нескольких проб из одного пластопересечения (по пластам большой мощности) природная газоносность определяется как среднединамическое значение газоносности по отобранным пробам.

20. При наличии разброса значений газоносности (более ±5 м3/т) по пробам с одного пластопересечения производится более тщательная отбраковка проб. В первую очередь выбраковываются пробы повышенной зольности, а также при наличии тех или иных дефектов, если последние обусловливают этот разброс, рассчитывается скорректированная средняя газоносность (без учета выбракованных проб), после чего определяется природная газоносность пласта умножением скорректированной газоносности на поправочный коэффициент.

21. Для более объективной оценки получаемых данных рекомендуется сопоставление результатов определений газоносности, получаемых независимыми методами.

22. Основным видом графической обработки результатов газового опробования являются карты прогноза газоносности, которые строятся наряду с построением геолого-газовых разрезов, а также графиков нарастания газоносности угольных пластов с глубиной от поверхности метановой зоны.

Основой для построения геолого-газовых разрезов являются геологические разрезы. На этих разрезах строится граница зоны метановых газов. Верхняя граница зоны метановых газов проходит на глубине, где содержание метана в отобранных в герметический сосуд газах равно 80 %; давление метана равно 1 кгс/см2; метаноносность угля соответствует его метаноемкости при давлении метана 1 кгс/см2; метанообильность выработок более 2 м3/т.

23. Изолинии газоносности на геолого-газовых разрезах проводятся в соответствии с темпом и характером изменения газоносности по площади и с глубиной с учетом конкретной геологической обстановки.

24. Карты прогноза газоносности угольных пластов строятся на геологической основе структурных гипсометрических карт для пологого или наклонного падения или профилей пластов при крутом залегании масштабом 1:5000, 1:10000 или 1:25000. На них наносятся точки опробования пластов с указанием величины газоносности и граница зоны метановых газов.

25. Построение карт прогноза газоносности заключается в проведении изогаз на гипсометрических планах угольных пластов через 2 - 5 м3/т с.б.м. с учетом геолого-газовых разрезов и графиков изменения газоносности. При значительной дизъюнктивной нарушенности месторождений или при крутом залегании угольных пластов, когда построение карт прогноза газоносности по отдельным пластам затруднительно, следует строить погоризонтные карты прогноза газоносности, по возможности отвечающие намеченным горизонтам горных работ или через каждые 100 м глубины.

Указанные карты строятся для участка разведки в целом или в более крупном масштабе для шахтного поля. При необходимости карты составляются для отдельных блоков шахтного поля при блочной разработке.

26. Аналогично составляются карты прогноза газоносности вмещающих пород, которые строятся на основе структурных гипсометрических карт почвы природных слоев. На них наносятся точки опробования с указанием величины газоносности, места суфлярных выделений и внезапных выбросов породы и газа, а также проводятся изогазы соответствующих компонентов.

27. Для решения вопросов перспективного планирования разработки угольных бассейнов строятся карты регионального прогноза метаноносности угольных пластов по всей площади бассейна или его отдельным месторождениям. В качестве геологической основы для построения таких карт принимаются мелкомасштабные структурно-тектонические карты месторождений. На них выделяются области распространения неметаноносных угольных пластов, переходные (если такие имеются) и области залегания метаноносных угольных пластов.

28. На площадях областей метаноносных угольных пластов и переходных в изолиниях глубин наносится поверхность зоны метановых газов. Затем вся площадь этих областей разбивается на крупные блоки с примерно одинаковыми факторами, предопределяющими изменение газоносности угольных пластов. В региональном плане главным фактором является степень метаморфизма углей. Для каждого блока приводится в графическом или аналитическом виде установленная зависимость изменения метаноносности угольных пластов с глубиной (от поверхности зоны метановых газов).

IV. Определение газоносности угольных пластов по данным газовоздушных съемок в шахтах

29. Природная газоносность одиночного пласта, не подвергавшегося надработке или подработке, определяется путем проведения газовоздушных съемок в тупиках проводимых в плоскости пласта подготовительных выработок с привлечением специалистов научно-исследовательских институтов.

Приложение № 3
к Инструкции по дегазации угольных шахт

Оценка эффективности применения дегазации

1. Критерием, определяющим необходимость выполнения работ по дегазации источников метановыделения, является превышение расчетной (или фактической) метанообильности выработок I сверх допустимой по фактору вентиляции Iв (без дегазации), т.е.

                                               (1)

где I - метанообильность выработки (фактическая или по прогнозу), м3/мин;

Iв - допустимое по фактору вентиляции метановыделение в выработку без дегазации источников метановыделения, м3/мин;

v - скорость движения воздуха в выработке, м/с;

S - сечение выработки, м2;

с - допустимая концентрация метана в вентиляционной струе, %;

с0 - концентрация метана в поступающей вентиляционной струе, %;

Kн - коэффициент неравномерности метановыделения, принимается согласно нормативному документу по вентиляции угольных шахт.

Под метанообильностью выработки понимается метановыделение в подготовительную выработку, метановыделение в очистную выработку, метановыделение на выемочном участке, метановыделение из сближенных пластов в выработанное пространство.

При превышении метановыделения в подготовительной выработке предусматривается барьерная или ограждающая дегазация.

При превышении метановыделения в очистную выработку предусматривается предварительная дегазация разрабатываемого угольного пласта.

При превышении метановыделения на выемочном участке и из выработанного пространства предусматривается дегазация сближенных пластов и/или выработанного пространства.

При превышении метановыделения на выемочном участке применяется комплексная дегазация.

2. Необходимое значение коэффициента дегазации (K'д) горной выработки, угольного пласта, сближенных пластов и выработанного пространства, выемочного участка или подготовительной выработки определяется по формуле

                                                          (2)

3. Фактическая эффективность дегазации оценивается коэффициентом дегазации Kд, доли единицы, равным отношению величины снижения газообильности горной выработки за счет дегазации к газообильности выработки без применения дегазации:

                                                          (3)

где I' - метановыделение в выработку при применении дегазации, м3/мин.

При фактически измеренном расходе каптируемого метана величина коэффициента Kд может быть определена по формуле

                                                          (4)

где Gд - суммарный расход (дебит) метана, извлекаемого на выемочном участке средствами дегазации, м3/мин.

4. Суммарное значение коэффициента дегазации Kдег нескольких источников метановыделения на выемочном участке, горные работы которого воздействуют на угленосную толщу или свиту угольных пластов, слагается из величин:

Kдег = nплkд.пл + nс.пkд.с.п + nс.нkд.с.н + nпkд.п,                               (5)

где nпл, nс.п, nс.н, nп - долевое участие в метанообильности выработки соответственно разрабатываемого пласта, сближенных подрабатываемых пластов, сближенных надрабатываемых пластов и газоносных пород, доли единицы;

kд.пл, kд.с.п, kд.с.н, kд.п - коэффициент дегазации соответственно разрабатываемого пласта, сближенных подрабатываемых пластов, сближенных надрабатываемых пластов и газоносных пород, доли единицы.

Долевое участие i-го источника ni, доли единицы, метановыделения в газовом балансе участка без дегазации устанавливается из соотношения

                                                              (6)

где Ii - метановыделение на участке из i-го источника метановыделения, м3/мин;

I - метанообильность выемочного участка, м3/мин.

Значения ni, Ii, I устанавливаются согласно нормативному документу по вентиляции угольных шахт.

Коэффициент дегазации i-го источника метановыделения kд.i, доли единицы, рассчитывается по формуле

                                                                (7)

где Gд i - дебит метана, извлекаемого средствами дегазации из i-го источника, м3/мин.

5. Контроль эффективности дегазации способа (схемы) осуществляется путем замера дебитов метана на скважинах, расчета фактического коэффициента дегазации и сравнения его с проектным значением.

При оценке эффективности комплекса способов (схем) дегазации выемочного участка определяются фактические коэффициенты дегазации каждого способа и комплексной схемы в целом.

Эффективность работы дегазационной системы на шахте оценивается величиной коэффициента

                                                      (8)

где k - число дегазируемых подготовительных и очистных выработок;

j - индекс дегазируемого участка;

Gд j - дебит извлеченного средствами дегазации метана на j дегазируемом участке, м3/мин;

I'j - метановыделение в вентиляционную сеть на j-м дегазируемом участке, м3/мин.

Количество извлеченного средствами дегазации метана Gд j, м3/мин, и газовыделение в вентиляционную сеть I'j, м3/мин, принимаются по отдельно взятым участкам.

6. Коэффициент дегазации источника метановыделения при последовательном применении нескольких способов его дегазации составит

kд =kд1 + (1 - kд1)kд2 + (1 - kд1)(1 - kд2)kд3 + ...                                 (9)

7. Для предварительной дегазации угольного массива влияние суммарного воздействия предварительной дегазации и естественной дегазации массива угля впереди очистного забоя при разгрузке от горного давления на интегральный показатель эффективности дегазации kд.с к началу выемки угля комбайном определяется:

при предварительной дегазации пласта подземными скважинами и естественной его дегазации

kд.с = kд.пл + (1 - kд.пл)kc,                                                 (10)

при дегазации пласта с применением средств воздействия на него через подземные или наземные скважины и последующей естественной дегазации массива угля вследствие его разгрузки от горного давления

                             (11)

где kд.пл и  - соответственно коэффициенты дегазации разрабатываемого пласта при предварительной (скважинной) дегазации и с применением средств гидравлического воздействия на пласт, доли единицы;

kе - коэффициент естественной дегазации массива угля впереди очистного забоя, доли единицы. Определяется опытным путем.

Приложение № 4
к Инструкции по дегазации угольных шахт

Дегазация неразгруженных угольных пластов

I. Дегазация пластов при проведении горных выработок

1. При проведении вертикальных выработок (стволов, шурфов, гезенков) дегазация угольных пластов и пород осуществляется скважинами, пробуренными с поверхности или из камер (рисунок 1). Скважины располагаются параллельно выработке на расстоянии 2,5 - 3 м от ее стенок. Расстояние между забоями скважин составляет 4 - 5 м. Величина неснижаемого опережения скважинами забоя выработки принимается не менее 10 м. Газоносный угольный пласт или слой газосодержащей породы перебуривается полностью.

Рис. 1. Схема дегазации газоносного массива при проходке вертикальных выработок:

1 - газоносный пласт угля; 2 - газосодержащая порода; 3 - дегазационная скважина; 4 - дегазационный трубопровод; 5 - ниша; D - диаметр ствола

2. При проведении квершлагов дегазация газосодержащего пласта осуществляется скважинами, пробуренными из забоя или из камер (рисунок 2). Бурение скважин начинают до подхода забоя квершлага к угольному пласту или газосодержащему слою породы не ближе 5 м.

Рис. 2. Схема дегазации газоносного массива при вскрытии квершлагом:

1 - угольный пласт; 2 - квершлаг; 3 - скважина; 4 - дегазационный трубопровод; 5- ниша

Направление бурения и количество скважин выбираются так, чтобы скважины пересекали газоносный слой пород или пластов угля по окружности, диаметр которой равен удвоенной ширине выработки.

3. При проведении полевых выработок вблизи газоносных угольных пластов скважины на них бурят с опережением забоя выработки. Бурение и оборудование скважин должно быть завершено до начала разгрузки сближенных пластов. Расстояние между скважинами, пробуренными на подрабатываемый пласт, составляет 20 - 25 м, на надрабатываемый - 10 - 15 м.

4. Для снижения газообильности выработок, проводимых по угольным пластам, применяется предварительная дегазация пластов или текущая дегазация угольного массива вблизи проводимой выработки.

Предварительная дегазация угольного пласта проводится до начала проходческих работ по схемам, приведенным на рисунках 3 и 4. Срок каптажа газа устанавливается условием достижения проектного коэффициента дегазации с учетом показателей газоотдачи пласта в скважины: интенсивности начального удельного метановыделения (g0), темпа снижения во времени начального удельного метановыделения (а). На пластах с низкой газоотдачей срок каптажа газа принимается не менее 6 и 12 месяцев соответственно для восстающих (горизонтальных) и нисходящих скважин, буримых за контур будущих подготовительных выработок.

Рис. 3. Схема дегазации пласта восстающими скважинами, пробуренными за контуры проводимых выработок:

а - перекрещивающиеся скважины; б - параллельные и барьерные скважины.

1 - монтажная камера; 2 - скважина, параллельная забою; 3 - скважина, ориентированная на забой; 4 - дегазационный трубопровод; 5 - забой подготовительной выработки; 6 - скважина барьерная

Рис. 4. Схема дегазации пологого пласта нисходящими скважинами, пробуренными за контуры будущей выработки:

1 - лава; 2 - штрек вентиляционный действующей лавы; 3 - скважина нисходящая; 4 - газопровод; 5 - штрек будущей лавы; α - угол падения пласта

В целях сокращения сроков предварительной дегазации пласта проводится гидроразрыв угольного массива с целью повышения его газопроницаемости.

Дегазация угольного массива вблизи проводимой выработки осуществляется с помощью барьерных или забойных и барьерных скважин.

На пластах с высокой газоносностью, когда одной схемой дегазации не удается снизить газообильность проводимой выработки, применяется сочетание (комбинация) нескольких схем дегазации.

5. Дегазация угольного массива вблизи проводимой выработки осуществляется с помощью барьерных или забойных и барьерных скважин (рисунки 5 и 6).

Рис. 5. Схема дегазации пласта барьерными скважинами:

а - одиночные скважины; б - перекрещивающиеся скважины.

I и II - серии перекрещивающихся барьерных скважин; III - серия барьерных скважин; 1 - штрек; 2 - камера; 3 - скважина; 4 - газопровод; α - угол падения пласта

Барьерные скважины бурятся из камер под углом 3 - 5° к оси выработки. Длина скважин до 100 - 150 м. Расстояние между камерами на 15 - 20 м меньше длины скважин, устья скважин располагаются на расстоянии 2 - 2,5 м от стенки выработки. Число и расположение барьерных скважин принимаются по таблице № 1.

При проведении парных выработок с опережением одного из забоев и шириной целика между ними менее 15 м бурение барьерных скважин с обеих сторон выработки проводится только для опережающего забоя. Бурение скважин в боковой стенке отстающей выработки со стороны межштрекового целика при его ширине более 15 м определяется паспортом проведения выработки.

Рис. 6. Схема дегазации пласта длинными ограждающими скважинами направленного бурения:

1, 1' - выработки; 2 - сбойка; 3 - скважины направленного бурения; 4 - дегазационный трубопровод; 5 - забои спаренных выработок

Таблица № 1

Число и расположение барьерных скважин

Мощность пласта, м

Расположение выработки

Число скважин

по бокам выработки

в почве выработки

в кровле выработки

всего

6 - 8

В верхней части пласта

4

2

-

6

6 - 8

В середине

4

-

-

4

6 - 8

В нижней части пласта

4

-

2

6

4 - 6

В верхней части пласта

4

-

-

4

4 - 6

В нижней части пласта

4

-

-

4

2 - 4

В пласте

4

-

-

4

Менее 2

В пласте

2

-

-

2

Ранее пробуренные барьерные скважины, расположенные на расстоянии более 100 м от забоя выработки, отключаются от дегазационной сети по решению технического руководителя (главного инженера) шахты.

6. Для снижения подсосов воздуха и повышения концентрации метана в каптируемой смеси применяется схема барьерной дегазации массива угля с использованием перекрещивающихся скважин (рисунок 5, 6).

При данной схеме дегазации применяется следующий порядок отключения скважин: первыми отключаются от дегазационного трубопровода непродуктивные скважины I серии и оставляют под вакуумом только короткие скважины серии II.

7. При расположении полевой выработки не далее 30 м от крутого пласта дегазация осуществляется скважинами, пробуренными вкрест простирания пласта (рисунок 7). Скважины бурятся из полевого штрека таким образом, чтобы один ряд скважин располагался на 2 - 4 м выше будущей выработки, а другой ряд скважин - вблизи оси выработки.

Рис. 7. Схема дегазации крутого пласта скважинами, пробуренными из полевой выработки вкрест простирания пласта:

1 - полевая выработка; 2 - скважина вблизи оси проводимой выработки; 3 - скважина над будущей выработкой; 4 - дегазационный трубопровод; 5 - пластовая выработка; α - угол падения пласта

8. Для повышения эффективности дегазации проводится гидроразрыв угольного пласта.

Жидкость в пласт подается через скважину в статическом режиме либо проводится поинтервальный разрыв пласта. Условия применения, способы и параметры гидроразрыва устанавливаются в соответствии с рекомендациями научно-исследовательских институтов.

При проходке выработок гидроразрыв пласта осуществляется через скважины, пробуренные из забоя проводимой выработки, до бурения барьерных скважин.

9. При проведении выработок вблизи геологических нарушений или при пересечении последних скважины бурят из камер заблаговременно за 30 - 40 м до подхода забоя выработки к нарушению. Скважины должны пересекать зону геологического нарушения как внутри контура будущей выработки, так и на расстоянии двух-трех ее диаметров от оси выработки.

10. Максимально достижимая эффективность различных способов дегазации при проведении выработок по угольным пластам приведена в таблице № 2, а определение параметров - в приложении № 5 к настоящей Инструкции.

Таблица № 2

Максимально достижимая эффективность дегазации угольных пластов при проведении выработок

№ п/п

Способ дегазации

Коэффициент дегазации

Минимальная величина

без гидроразрыва

с предварительным гидроразрывом

разрежения у устья скважины

кПа

мм рт.ст.

1

Дегазация угольного массива по схеме:

рисунок 1

0,15 - 0,2

0,2 - 0,3

13,3

100

рисунок 2

0,2 - 0,25

0,3 - 0,35

13,3

100

рисунок 3, а

0,3 - 0,4

0,4 - 0,5

6,7

50

рисунок 3, б

0,2 - 0,3

0,4 - 0,5

6,7

50

рисунок 4

0,2 - 0,25

0,25 - 0,3

6,7

50

рисунок 7

0,25 - 0,3

0,35 - 0,45

6,7

50

2

Дегазация барьерными скважинами по схеме:

рисунок 5, а

0,15 - 0,2

0,25 - 0,3

6,7

50

рисунок 5, б

0,2 - 0,3

0,25 - 0,35

6,7

50

рисунок 6

0,2 - 0,3

0,3 - 0,4

6,7

50

Примечание. При невозможности обеспечения концентрации метана в газовоздушной смеси в дегазационном трубопроводе более 25 % допускается снижение минимальной величины разряжения в дегазационных скважинах.

II. Дегазация разрабатываемых пластов на выемочных участках

11. Дегазация разрабатываемых угольных пластов осуществляется скважинами, пробуренными из подготовительных выработок.

Дегазационные скважины бурятся в плоскости пласта по восстанию, простиранию, падению или под углом к линии простирания (параллельно линии очистного забоя, веером или перекрестно). Скважины бурятся вкрест системы кливажных трещин.

На шахтах, разрабатывающих крутые угольные пласты, бурение скважин производится через породную толщу вкрест простирания пласта.

12. Бурение дегазационных скважин на выемочном поле производится при проведении подготовительной выработки и/или после окончания ее проведения. Схемами дегазации предусматривается бурение скважин как в контуре выемочного участка, так и за его контуром. При бурении скважин за контур выемочного участка осуществляется дегазация участка пласта, по которому будет проводиться подготовительная выработка, оконтуривающая участок (рисунок 3).

13. На оконтуренных выработками выемочных участках скважины не добуриваются до противоположной выработки на 10 - 15 м.

14. Скважины, пробуренные в плоскости пласта, герметизируются на 6 - 10 м, а пробуренные вкрест пласта - на 3 - 5 м. При выполнении герметизации учитывается состояние массива горных пород у устьев скважин.

15. При использовании буровой техники, позволяющей бурить сверхдлинные скважины, дегазация пласта проводится по схеме, которая показана на рисунке 8. В остальных случаях применяются схемы, показанные на рисунках 9 - 12.

16. На пластах, склонных к внезапным выбросам угля и газа, применяются схемы дегазации пласта с использованием перекрещивающихся скважин (рисунки 3, а, 8 - 11, 13).

17. При слоевой отработке высокогазоносных и выбросоопасных мощных пологих пластов применяются схемы дегазации, изображенные на рисунках 13, 14. При схеме, приведенной на рисунке 13, восстающие перекрещивающиеся скважины бурятся из конвейерного штрека, пройденного по верхнему слою, и дополнительно к ним бурятся восстающие ориентированные на очистной забой скважины по нижнему слою. При схеме, приведенной на рисунке 14, из конвейерного штрека бурятся восстающие перекрещивающиеся скважины по верхнему слою и восстающие скважины на нижний слой.

Рис. 8. Схема дегазации угольного пласта при бурении параллельных и сверхдлинных направленных на очистной забой скважин:

1 - очистной забой; 2 - параллельная очистному забою скважина; 3' - сверхдлинная скважина, ориентированная на очистной забой; 4 - участковый газопровод; 5 - магистральный газопровод

Рис. 9. Схема дегазации угольных пластов при ограниченных возможностях буровой техники:

1 - очистной забой; 2 - скважина, параллельная очистному забою; 3 - скважина, ориентированная на очистной забой из конвейерного штрека; 3' - скважина, ориентированная на очистной забой из уклона; 4 - участковый газопровод; 5 - магистральный газопровод

Рис. 10. Схема дегазации угольных пластов перекрещивающимися скважинами, пробуренными из конвейерной выработки:

1 - очистной забой; 2 - скважина, параллельная очистному забою; 3 - скважина, ориентированная на очистной забой; 4 - дегазационный трубопровод

Рис. 11. Схема дегазации пласта параллельными и веерными, ориентированными на очистной забой, скважинами:

1 - очистной забой; 2 - параллельные очистному забою скважины; 3 - веерные скважины, ориентированные на очистной забой; 4 - дегазационный трубопровод; α - угол падения пласта

Рис. 12. Схема дегазации угольных пластов скважинами, пробуренными из конвейерной и вентиляционной выработок:

1 - очистной забой; 2 - скважины, параллельные очистному забою и ориентированные на очистной забой; 3 - угольный пласт; 4 - дегазационный трубопровод

Рис. 13. Схема дегазации мощного пласта восходящими скважинами, пробуренными из выработок верхнего и нижнего слоев:

1 - очистной забой; 2 - параллельная очистному забою скважина; 3 - ориентированная на забой скважина, пробуренная по верхнему слою; 3' - ориентированная на забой скважина, пробуренная по нижнему слою; 4, 4' - газопроводы

Рис. 14. Схема дегазации мощного пласта восстающими скважинами, пробуренными из выработки верхнего слоя:

1 - очистной забой; 2 - параллельная очистному забою скважина, пробуренная по верхнему слою; 3 - ориентированная на забой скважина, пробуренная по верхнему слою; 3' - скважина, пробуренная на нижний слой; 4 - газопровод

18. Дегазация крутых пластов осуществляется скважинами, пробуренными веером в плоскости разрабатываемого пласта (рисунок 15), веером вкрест пласта (рисунок 16). В первом случае (рисунок 15) опорными точками геометрического расположения забоев дегазационных скважин являются вентиляционные квершлаги и линии, разделяющие очистной забой пополам и длину столба (высоту этажа) на части, равные 1/3 и 2/3, а во втором (рисунок 16) - линии, разделяющие высоту этажа пополам и на части, равные 1/3 и 2/3.

19. На пологих и наклонных пластах при отсутствии технической возможности пробурить скважины на всю ширину столба применяются схемы дегазации, предусматривающие бурение скважин из двух подготовительных выработок. При данной схеме дегазации скважины располагаются таким образом, чтобы их забойные части перекрещивались (рисунок 12).

Рис. 15. Схема дегазации разрабатываемого пласта скважинами, пробуренными веером в плоскости крутого пласта:

1 - очистной забой (щитовой агрегат); 2 - пластовые дегазационные скважины; 3 - квершлаг; 4 - штрек полевой откаточный; 5 - квершлаг вентиляционный; α - угол падения пласта

20. Срок каптажа газа устанавливается условием достижения проектного коэффициента дегазации с учетом показателей газоотдачи пласта в скважины: интенсивности начального удельного метановыделения (g0), темпа снижения во времени начального удельного метановыделения (а). На пластах с низкой газоотдачей срок каптажа газа принимается не менее 6 и 12 месяцев соответственно для восстающих (горизонтальных) и нисходящих скважин.

Рис. 16. Схема дегазации свиты крутых пластов скважинами, пробуренными веером вкрест одного пласта и в плоскости другого:

1 - отрабатываемый пласт; 2 - пластовые дегазационные скважины; 3 - дегазационные скважины, пробуренные вкрест пласта; 4 - газопровод; 5 - квершлаг; 6 - полевой штрек; 7 - откаточный штрек

При осушении нисходящих скважин путем перетока воды в восходящие скважины срок предварительной дегазации пласта принимается равным 6 месяцев.

Расстояние между дегазационными скважинами определяется паспортом выемочного участка с учетом условий и сроков проведения предварительной дегазации.

21. Для повышения эффективности дегазации разрабатываемых пластов подземными скважинами применяются способы интенсификации газоотдачи угольного массива путем предварительного гидроразрыва (гидрорасчленения) пласта через скважины (пункт 8).

22. Максимально достижимые значения эффективности предварительной дегазации разрабатываемых пластов на участках ведения очистных работ приведены в таблице № 3.

Таблица № 3

Максимально достижимая эффективность предварительной дегазации разрабатываемых пластов на выемочных участках

Схема расположения пластовых скважин

Коэффициент дегазации пласта, доли единицы

Минимальная величина разрежения у устья скважины

кПа

мм рт.ст.

Восстающие или горизонтальные параллельно-одиночные скважины на пологих пластах

0,2 - 0,25

6,7

50

Нисходящие параллельно-одиночные скважины

0,15 - 0,20

13,3

100

Пластовые параллельно-одиночные скважины в зоне предварительного гидроразрыва

0,3 - 0,4*

0,2 - 0,3

6,7*

13,3

50

100

Перекрещивающиеся скважины

0,3 - 0,4

6,7

50

Перекрещивающиеся скважины в зоне предварительного гидроразрыва

0,4 - 0,5

6,7

50

Восстающие скважины на крутых пластах

0,25 - 0,30

6,7

50

Скважины вкрест простирания крутых пластов

0,2 - 0,25

6,7

50

______________

* Числитель - для восстающих или горизонтальных скважин; знаменатель - для нисходящих скважин.

Примечание. При невозможности обеспечения концентрации метана в газовоздушной смеси в дегазационном трубопроводе более 25 % допускается снижение минимальной величины разряжения в дегазационных скважинах.

III. Дегазация разрабатываемых пластов скважинами с применением подземного гидроразрыва

23. Дегазация с предварительным гидроразрывом пластов применяется с целью повышения ее эффективности и сокращения сроков дегазации.

24. Подземные скважины гидроразрыва бурятся по двум основным схемам: из полевых выработок - при полевой подготовке (рисунок 17), по разрабатываемому пласту - при пластовой подготовке (рисунок 18). Скважины для гидроразрыва бурятся восстающими, нисходящими или горизонтальными.

Рис. 17. Схема дегазации с предварительным гидроразрывом угольного массива через скважины, пробуренные из полевой выработки:

1 - полевой штрек; 2 - дегазационные скважины; 3 - скважины гидроразрыва; 4 - дегазационный трубопровод; 5 - конвейерный штрек; 6 - вентиляционный штрек; α - угол падения пласта

В выработках, пройденных с подрывкой почвы пласта, скважины гидроразрыва бурятся на пласт с таким расчетом, чтобы устье скважины находилось в породах почвы.

25. Забои скважин, пробуренных из полевых выработок, должны находиться в средней части дегазируемого участка, считая по длине лавы.

Обсадную трубу герметизируют до почвы обрабатываемого пласта.

26. Длина скважин, пробуренных по пласту, принимается на 30 - 40 м меньше длины лавы для проведения дегазации только очистных выработок и на 10 - 20 м меньше длины лавы для проведения дегазации очистных и подготовительных выработок.

Рис. 18. Схема дегазации с предварительным гидроразрывом пласта через скважины, пробуренные из пластовой выработки:

1 - конвейерный бремсберг; 2 - дегазационная скважина; 3 - скважина гидроразрыва; 4 - дегазационный трубопровод

27. Гидроразрыв пласта осуществляется водой из шахтного водопровода, нагнетаемой под давлением не менее 15 - 20 МПа. Темп закачки не менее 30 - 40 м3/ч.

28. Параметры гидроразрыва пласта через скважины, пробуренные из горных выработок, определяются опытным путем.

Глубина герметизации пластовых скважин гидроразрыва принимается не менее половины расстояния между ними.

Условия применения и параметры гидроразрыва пластов согласуются с научно-исследовательской организацией, разработавшей способ.

29. Подготовка и проведение гидроразрыва из выработок включают:

измерение дебита метана из скважин до гидроразрыва пласта;

опробование насоса и электродвигателя до подключения к скважине (без нагрузки);

опрессовку нагнетательного става и насоса до давления 20 МПа;

включение в работу насоса;

контроль давления на насосе и расхода воды.

30. Гидроразрыв пласта прекращают после закачки в пласт заданного объема жидкости, появления воды в соседних скважинах или прилегающих выработках, при резком падении давления жидкости на насосе.

31. Скважины гидроразрыва подключаются к вакуумной сети после прекращения обильного выделения воды. Эффективность гидроразрыва пласта определяют путем измерения дебита метана.

32. Пластовые дегазационные скважины бурятся после проведения гидроразрыва.

33. Применение гидроразрыва угольных пластов в импульсном режиме, поинтервального гидроразрыва и других способов выполняются по рекомендациям научно-исследовательских институтов, являющихся их разработчиками.

IV. Дегазация неразгруженных угольных пластов с предварительным их гидрорасчленением через скважины, пробуренные с поверхности

34. Способ заблаговременной дегазации неразгруженных угольных пластов с предварительным их гидрорасчленением основан на активном воздействии на пласты угля через скважины, пробуренные с поверхности.

Параметры способа гидрорасчленения пластов, установленные по результатам промышленного внедрения данного способа на шахтах Карагандинского и Донецкого бассейнов уточняются институтами - разработчиками способа гидрорасчленения пласта. Способ гидрорасчленения пласта применяется по проекту с разрешения территориальных органов Ростехнадзора при авторском надзоре институтов-разработчиков.

35. Заблаговременная дегазация на основе гидрорасчленения пласта применяется на пластах с природной газоносностью более 10 м3/т и при их залегании в водонепроницаемых породах не ниже средней устойчивости.

36. Заблаговременная дегазация на основе активного воздействия на пласты угля через скважины, пробуренные с поверхности, осуществляется при сроке извлечения метана из угольного пласта более 3 лет, а дегазация пласта в зонах гидрорасчленения пласта в сочетании с подземными пластовыми скважинами - при сроке функционирования скважин гидрорасчленения пласта до 3 лет.

37. Технология дегазации угольных пластов с предварительным их гидрорасчленением включает три основных этапа: гидродинамическое воздействие, освоение скважин и извлечение газа из угольных пластов и из выработанного пространства после подработки скважин гидрорасчленения очистными работами.

38. Гидрорасчленение из одной скважины проводится на пластах угля мощностью свыше 0,2 м, а также в труднообрушаемых и газоносных породах.

39. Скважины при заблаговременной дегазации закладываются на расстоянии не менее 300 м от действующих пластовых выработок. Заложение скважин от тектонических нарушений с амплитудами, превышающими мощность обрабатываемого пласта, производится на расстоянии не более радиуса их влияния.

40. Скважины гидрорасчленения бурятся на 30 - 40 м ниже почвы наиболее удаленного от земной поверхности угольного пласта из принятых к гидрорасчленению угольных пластов.

Конструкция скважины определяется числом пересекаемых интервалов водопоглощения, каждый из которых перекрывается промежуточной колонной с цементацией затрубного пространства.

Эксплуатационная колонна с внутренним диаметром не менее 98 мм цементируется на всю глубину.

41. Для гидрорасчленения используются вновь пробуренные скважины и переоборудованные геолого-разведочные скважины.

42. При гидрорасчленении выбросоопасных угольных пластов для обеспечения разгрузки призабойной части пласта производится дополнительное воздействие на вмещающую породу основной кровли.

43. Вскрытие угольных пластов и вмещающих пород в угленосной толще, подвергаемых гидровоздействию, проводится путем гидро- или кумулятивной перфорации скважины.

44. Расчленение угольных пластов в свите производится последовательно, начиная с нижнего пласта. Все ранее обработанные интервалы скважины гидрорасчленения изолируются с помощью песчаной пробки или пакером.

45. В качестве рабочих агентов для расчленения пластов используются вода и водные растворы поверхностно-активных (далее - ПАВ) или химически активных веществ (далее - ХАВ), а также воздух.

Растворы ПАВ обеспечивают лучшее проникновение рабочей жидкости в поры и трещины пласта и вмещающих пород. В качестве ПАВ используются смачиватели ДБ, ДС-10, сульфонол. Рабочая концентрация ПАВ - 0,01 - 0,025 % по объему (макс).

Растворы ХАВ (соляная кислота, комплексоны) повышают проницаемость и газоотдачу пласта.

Водные растворы соляной кислоты 2 - 4 % концентрации применяются на пластах с содержанием карбонатов не менее 0,3 %.

Водные растворы комплексонов (типа НТФ и ИСБ-М) применяются на угольных пластах с высоким (более 10 %) содержанием в минеральной части угля соединений металлов Fe, Cu, Mg (пирита, халькопирита, сидерита). Рабочие концентрации растворов НТФ и ИСБ-М для углей марок «ОС», «Ж», «Т», «А» составляют 1 - 5 % и 2 - 10 % соответственно.

46. При падении давления при постоянном темпе нагнетания закачка рабочей жидкости в скважину прекращается и производится тампонаж гидропроводных каналов древесными опилками или высоковязкими жидкостями. Тампонаж гидропроводных трещин проводится до тех пор, пока давление нагнетания не достигает проектных величин.

47. При гидрорасчленении мощных пластов, залегающих на глубинах более 600 м, в скважину гидрорасчленения закачивается закрепитель трещин.

На пластах мощностью до 2 м закачка закрепителя в скважину определяется проектом гидрорасчленения пласта.

48. После гидрорасчленения последнего из обрабатываемых пластов скважина гидрорасчленения закрывается на 3 - 12 месяцев для выдержки рабочей жидкости в пласте.

По истечении срока выдержки скважина гидрорасчленения промывается до забоя. Рабочая жидкость из нее удаляется с помощью эрлифта, глубинных штанговых насосов или погружных электронасосов.

49. При заблаговременной дегазации угольных пластов для повышения равномерности их обработки на этапе гидродинамического воздействия используются пороховые генераторы давления, на этапе освоения скважины применяется циклическое пневмогидровоздействие.

50. При предварительной дегазации угольных пластов, осуществляемой в сочетании с пластовыми подземными скважинами, для интенсификации процесса освоения скважины гидрорасчленения применяется пневмооттеснение рабочей жидкости.

51. Каптаж газа из угольных пластов осуществляется в режиме самоистечения или путем подключения скважины к вакуум-насосной установке.

Для достижения проектного дебита метана (или при его снижении на 30 % и более) выполняются работы по интенсификации газоотдачи пласта: промывка скважины, пневмооттеснение, пневмовоздействие, повторное вскрытие и расчленение пласта, циклическое пневмогидроимпульсное воздействие или другие способы, позволяющие увеличить дебит метана из скважины.

52. После подработки скважин гидрорасчленения очистными работами они подключаются к вакуум-насосной установке и используются для дегазации выработанного пространства.

Приложение № 5
к Инструкции по дегазации угольных шахт

Определение параметров дегазации разрабатываемых угольных пластов

I. Параметры дегазации угольных пластов подземными скважинами

1. Изложенные ниже методы определения параметров дегазации разрабатываемых угольных пластов используются при разработке проектов дегазации строящихся (реконструируемых) угольных шахт и при разработке разделов «Дегазация» в паспортах выемочных участков при отработке выемочных полей на действующих шахтах. Допускается на действующих шахтах принимать параметры дегазации в паспортах выемочных участков по аналогии с параметрами дегазации ранее отработанных выемочных участков на этом пласте.

Расчетные параметры дегазации разрабатываемых угольных пластов корректируются в процессе бурения скважин и проведения дегазации.

На оконтуренном выработками участке пологого или наклонного отрабатываемого на полную мощность пласта расстояние Rc, м, между параллельными очистному забою восстающими или горизонтальными скважинами определяется:

                                                (10)

где l'с - полезная длина скважины, м, рассчитывается по формуле

l'с = lс - lг,                                                            (11)

здесь lс - длина скважины, м;

lг - глубина герметизации устья скважины, м;

mд и m - дегазируемая скважинами и полная мощность угольных пачек пласта соответственно (при наличии породного прослоя), м;

g0 - начальное удельное метановыделение в скважину, м3/(м2 ∙ сут);

а - коэффициент, характеризующий темп снижения во времени газовыделения из пласта в скважины, сут-1;

τ - продолжительность дегазации пласта скважинами, сут; устанавливается с учетом показателей газоотдачи пласта;

lоч - длина лавы (очистного забоя), м;

γ - объемная масса угля, т/м3;

k'д.пл - проектный коэффициент предварительной дегазации разрабатываемого пласта, доли единицы;

qпл - метановыделение из пласта без его дегазации, м3/т, устанавливается прогнозом по геолого-разведочным данным и уточняется для действующих шахт по данным газовых съемок в горных выработках шахты специализированными научными и научно-исследовательскими организациями.

Величина принимается по фактическим данным или рассчитывается по эмпирической формуле

g0 = Xβп,                                                           (12)

где X - природная метаноносность угольного пласта, м3/т с.б.м.;

βп - размерный эмпирический коэффициент, учитывающий мощность угольных пачек пласта и размерность g0, находится из выражения

                                                         (13)

Величина коэффициента а принимается по фактическим данным или определяется по формуле

a = b - c'Vdaf,                                                      (14)

где b и c' - эмпирические коэффициенты, значения которых составляют при Vdaf ≤ 25 % 0,042 и 8,8 ∙ 10-4 соответственно, а при Vdaf > 25 % - 0,025 и 3,9 ∙ 10-4 соответственно;

Vdaf - выход летучих веществ, %.

Показатели газоотдачи угольных пластов в скважины определяются до начала дегазационных работ по материалам газовоздушных съемок, которые проводятся в тупиковых частях подготовительных выработок на подлежащем дегазации выемочном поле, участке.

Значения показателей газоотдачи пласта g0 и а, рассчитанные по формулам (12) и (14), корректируются по мере накопления данных о метановыделении в скважины или группу скважин. После завершения очистных работ на дегазируемом участке угольного пласта проводится их окончательная корректировка.

2. Расстояние Rк, м, между кустами восстающих или горизонтальных перекрещивающихся скважин (одна скважина пробурена параллельно очистному забою, вторая - ориентированно на забой лавы с углом встречи 30 - 35°) рассчитывается по формуле

Rк = kиRс,                                                         (15)

где kи - коэффициент интенсификации выделения метана в перекрещивающиеся скважины, рассчитывается по формуле

kи = 2,8 - 1,31f,                                                      (16)

где f - коэффициент крепости угля по М.М. Протодьяконову.

Углы заложения скважин, ориентированных на очистной забой, определяются по формулам, приведенным в таблице № 4.

Углы заложения скважин корректируются в процессе бурения скважин.

Таблица № 4

Углы заложения ориентированных на очистной забой скважин, пробуренных из участковой выработки

Направление отработки пласта очистным забоем

Угол наклона скважин к горизонту β, град

Угол разворота скважин φ, град

По простиранию, скважины бурят из конвейерной (нижней) выработки

sin β = sin λ sin α

ctg φ = tg λ cos α

По простиранию, скважины бурят из вентиляционной (верхней) выработки

sin β = -sin λ sin α

ctg φ = tg λ cos α

По восстанию

sin β = -cos λ sin α

tg φ = ctg λ cos α

По падению

sin β = cos λ sin α

tg φ = ctg λ cos α

Примечание. λ - угол между осью выработки и проекцией скважины на плоскость пласта, град (определяется графически с плана горных работ); α - угол падения пласта, град.

3. При слоевой отработке мощных пологих угольных пластов работы по дегазации проводятся в лавах верхнего слоя. При этом расстояние между ориентированными на забой лавы скважинами, пробуренными из выработки нижнего слоя или пробуренными на нижний слой из выработки верхнего слоя, принимается равным 2Rк.

С таким же интервалом бурятся и ориентированные на очистной забой фланговые скважины.

Расстояние Rн, м, между параллельно-одиночными пластовыми нисходящими скважинами определяется:

Rн = Rс/2,                                                            (17)

с последующей корректировкой.

Расстояние Lг, м, между скважинами гидроразрыва, буримыми из подземных выработок, определяется:

Lг = 2Rг - 10,                                                         (18)

где Rг - радиус действия скважины гидроразрыва, м. Определяется опытным путем или по рекомендациям НИИ (ориентировочно Rг ≤ 30 м).

4. Необходимый объем рабочей жидкости Qж, м3, (воды или воды с добавками) для гидроразрыва пласта через скважины, пробуренные вкрест простирания пласта из полевых выработок, рассчитывается:

                                                (19)

где m - полная мощность угольных пачек пласта, м;

kз - коэффициент, учитывающий заполнение угольного массива жидкостью. Определяется опытным путем или принимается по таблице № 5.

Таблица № 5

Значения коэффициента kз

Пласты угля

Мощные

Средней мощности

Коэффициент kз

0,0007 - 0,0010

0,0012 - 0,0017

При гидроразрыве угольного массива через скважину, пробуренную по разрабатываемому пласту, объем рабочей жидкости Q'ж, м3, определяется по формуле

                                             (20)

где  - полезная длина скважины гидроразрыва, м.

Минимальное давление жидкости Рг, МПа, при котором происходит гидроразрыв угольного пласта через подземные скважины (опыт, полученный при гидроразрыве угольных пластов в Карагандинском угольном бассейне), определяется:

Рг = 0,3H - 41,8,                                                   (21)

где Н - глубина горных работ (залегания угольного пласта) от земной поверхности, м.

Оборудование для проведения гидроразрыва пласта должно обеспечивать давление нагнетаемой жидкости не менее величины Рг, определенной по формуле (21).

Расчетное время tг, ч, работы насоса рассчитывается как отношение требуемого количества жидкости по формулам (19) и (20) к темпу ее закачки, принимаемому равным производительности насоса:

tг = Qж/qн,                                                          (22)

где qн - темп нагнетания жидкости в пласт угля, м3/ч.

5. Расстояние между пластовыми скважинами, буримыми в зонах подземного гидроразрыва, рассчитывается:

                                                           (23)

где  - коэффициент интенсификации газовыделения в скважины предварительной дегазации, пробуренные в зонах гидроразрыва пласта (таблица № 6).

Таблица № 6

Значения коэффициента

Продолжительность предварительной дегазации угольных пластов, сут

Величина коэффициента

120

1,9

180

1,8

270

1,7

360

1,6

450

1,5

6. Параметры скважин при дегазации крутых и крутонаклоных угольных пластов устанавливаются с учетом геометрических размеров подготовленных (или подготавливаемых) к отработке выемочных столбов и указаний по расположению скважин в соответствии с приложением № 11 к настоящей Инструкции.

II. Параметры активного воздействия на неразгруженные угольные пласты через скважины, пробуренные с поверхности

При заблаговременной дегазации угольных пластов

7. Эффективный радиус Rэ, м, активного воздействия на не разгруженный от горного давления угольный пласт с целью его гидрорасчленения определяется по формуле

                                                       (24)

где R1 и R2 - большая и малая полуоси эллипса зоны гидрорасчленения угольного пласта, м.

Эллипсы зоны гидрорасчленения ориентированы большой полуосью в направлении главной системы естественных трещин, причем

R2 = 0,7R1.                                                         (25)

8. При заблаговременной дегазации величина Rэ принимается равной 120 - 140 м в зависимости от раскройки шахтного поля и направления основной системы трещиноватости пласта.

9. Скважины, предназначенные для гидрорасчленения, располагаются таким образом, чтобы:

отсутствовали необработанные участки пласта при минимальном количестве скважин;

перекрывались зоны воздействия от смежных скважин;

скважины, пересекая пласт угля, находились на расстоянии 30 - 40 м от запланированных на выемочном поле выработок.

10. Объем , м3, рабочей жидкости для закачки в пласт определяется:

                                                     (26)

где Kж - коэффициент, учитывающий потери жидкости на фильтрацию и нарушенность пласта на обрабатываемом участке. Принимается равным 1,1 - 1,6;

Rэ - эффективный радиус воздействия (гидрорасчленения пласта), м;

m - мощность пласта, м;

nэ - эффективная пористость угольного пласта, доли единицы.

11. Необходимый объем товарной соляной кислоты Qкт, т, рассчитывается:

                                         (27)

где ρуг - плотность угля, т/м3;

Ск - содержание карбонатов в фильтрующих каналах, доли единицы;

qуд - удельный расход 100 % соляной кислоты на 1 т карбонатов, принимается равным 0,73 т/т;

Ск.т - концентрация товарной кислоты (Ск.т = 26 %);

kµ - коэффициент, учитывающий сорбцию и скорость реакции соляной кислоты с карбонатами (kµ = 0,02);

kи.н - коэффициент, учитывающий интерференцию скважин и неравномерность обработки массива (kи.н = 0,8).

12. Объем кислотного раствора Qк.р, м3, с рабочей концентрацией Ср, равной 4 %, составляет:

                                                         (28)

где ρк - плотность соляной кислоты, принимается равной 1,1 т/м3.

13. Кислотный раствор объемом Qк.p закачивается порциями 180 м3, между которыми подаются порции воды или раствора ПАВ.

Рабочий темп qр, м3/с, закачки ПАВ и воды определяется:

                                             (29)

где Q' = Qж - Qк.р - 200, м3.

14. Ожидаемое давление Рус, МПа, на устье скважины при рабочем темпе нагнетания жидкости определяется:

Рус = (0,02 ÷ 0,025)Н,                                                 (30)

где Н - глубина залегания пласта, м.

15. При циклическом пневмогидровоздействии темп и объем закачки рабочих агентов в каждом последующем цикле на 15 - 20 % выше предыдущего. Число циклов определяется числом трещин (принимается по рекомендациям геологов).

16. Суммарный объем Qп.гв, м3, нагнетаемых при пневмовоздействии рабочих агентов должен удовлетворять условию

Qп.гв Qж.                                                          (31)

Объем рабочих агентов определяется:

Qп.гв = Qг.о + Qр.ж,                                                (32)

где Qг.о, Qр.ж - объем газообразного и жидкого рабочего агента при давлении нагнетания соответственно, м3.

31. Общий объем Qр.ж, м3, закачиваемой рабочей жидкости при пневмогидровоздействии:

                                               (33)

где Рз.в - давление закачки газообразного агента, МПа;

Р0 - атмосферное давление, МПа;

Z - коэффициент сжимаемости газа. Принимается по таблицам в зависимости от давления нагнетания.

32. Рабочий темп закачки qр, м3/с, жидкости в последнем цикле, обеспечивающий необходимый радиус обработки, определяется:

                                                 (34)

33. Для каждого цикла в соответствии с радиусом обработки и объемами закачки определяется насыщенность пласта рабочими агентами, на основе которой корректируется величина эффективной пористости.

34. При проведении пневмовоздействия объем закачиваемого в массив газообразного рабочего агента V, м3, при условии заполнения всего фильтрующего объема в зоне обработки определяется:

                                          (35)

где m - мощность пласта (угольных пачек пласта), м;

nф - фильтрующая пористость пласта по газу, доли единицы;

Рср - среднее давление газообразной среды, МПа;

                                                        (36)

здесь Рз.в - давление закачки газообразного агента (воздуха), МПа;

Рпл - давление газа в пласте, МПа;

Тв - температура нагнетаемого воздуха, °С;

Т0 - природная температура пласта, °С;

Тпл - температура пласта после нагнетания воздуха, °С;

Tпл = T0 + ΔТпл,                                                  (35)

здесь ΔТпл - прирост температуры пласта в результате нагнетания воздуха, °С. При отсутствии данных о температуре пласта после пневмовоздействия его температура принимается Тпл = T0);

K1 - суммарный коэффициент потерь воздуха (1,2 ÷ 1,8).

35. Суммарный объем извлекаемого газа q', зависящий от газоносности обрабатываемого пласта и времени эксплуатации скважин, определяется по формуле

q' = a'lntг/k0 + b',                                              (36)

где а', b' - коэффициенты, значения которых приведены в таблице № 7;

tг - время освоения и эксплуатации скважин гидрорасчленения, то есть срок дегазации (tг > 3 лет);

k0 - коэффициент приведения, k0 = 1 год.

Таблица № 7

Значения коэффициентов a' и b'

Коэффициенты

Размерность

При природной газоносности пласта, м3

10 - 15

15,1 - 20

20,1 - 25

a'

м3

2,1 - 2,8

2,9 - 3,3

3,4 - 3,7

b'

м3

0,7 - 1,0

1,1 - 1,4

1,5 - 1,9

Значения коэффициентов а' и b' внутри интервалов определяются интерполяцией.

При дегазации выемочных участков

36. При предварительной дегазации оконтуренных или подготавливаемых к отработке выемочных участков с последующим после гидрорасчленения бурением пластовых скважин скважины гидрорасчленения располагаются посередине выемочного столба.

Величина R'э, м, в этом случае определяется:

R'э = 0,5lоч,                                                       (37)

а расстояние R', м, от монтажной камеры до первой скважины гидрорасчленения:

R' = 0,35lоч,                                                        (38)

где lоч - длина лавы, м.

37. Расстояние , м, между последующими скважинами гидрорасчленения, располагаемыми вдоль столба, рассчитывается:

                                                            (39)

где Kт - коэффициент, равный 0,9 - 1,3.

Расстояние  принимается с учетом перекрытия зон воздействия соседних скважин и направления основной трещиноватости пласта.

38. Объем закачиваемой рабочей жидкости в пласт на выемочном участке определяется по формуле (26).

39. Рабочий темп qз, м3/с, закачки растворов ПАВ или воды на участке определяется:

                                          (40)

где Qц - объем закачки жидкости за цикл, м3.

40. Расстояние R, м, между пластовыми скважинами в зонах гидрорасчленения рассчитывается:

                                                              (41)

где Rc - расстояние между пластовыми дегазационными скважинами без применения средств интенсификации газоотдачи угольных пластов. Определяется опытным путем или по формуле (10);

Kи.г - коэффициент интенсификации газоотдачи пластовых скважин. Величина коэффициента Kи.г устанавливается опытным путем.

Ориентировочные его значения могут быть приняты в пределах 1,5 - 3.

41. Параметры воздействия на углевмещающую толщу пород определяются в соответствии с требованиями по заблаговременной дегазационной подготовке для каждого пласта в свите в зависимости от горно-геологических и горнотехнических условий залегания и разработки угольных пластов.

Приложение № 6
к Инструкции по дегазации угольных шахт

Дегазация пологих и наклонных пластов угля при их подработке

1. Дегазация сближенных подрабатываемых пластов угля и пород применяется на очистных участках с использованием следующих вариантов схем расположения скважин:

скважины пробурены из выработки, отделенной от выработанного пространства целиком угля (рисунок 1);

Рис. 1. Схема дегазации подрабатываемых сближенных пластов скважинами, пробуренными из охраняемой целиком угля выработки (схема 1):

1 - разрабатываемый пласт; 2 - сближенный пласт; 3 - скважина дегазационная; 4 - газопровод; 5 - вентиляционный штрек; 6 - конвейерный штрек; 7 - выработка, охраняемая целиком угля; α - угол падения пласта; ψ - угол разгрузки пород кровли; β - угол возвышения скважины; Мс.п - расстояние по нормали от разрабатываемого до сближенного пласта; b1 - ширина целика (охранная зона); c1 - резерв, учитывающий возможное отклонение скважины от заданного направления

скважины пробурены из поддерживаемой за лавой выработки (рисунок 2);

Рис. 2. Схема дегазации подрабатываемых пологих пластов скважинами, пробуренными из поддерживаемой за лавой выработки (схема 2):

1 - разрабатываемый пласт; 2 - подрабатываемый пласт; 3 - дегазационная скважина; 4 - газопровод; 5 - выработка, поддерживаемая за лавой; α - угол падения пласта; ψ - угол разгрузки пород кровли; β - угол возвышения скважины; b1 - ширина охранной зоны; с1 - резерв, учитывающий возможное отклонение скважины от заданного направления

скважины пробурены из выработки, погашаемой за лавой (рисунок 3);

скважины пробурены из двух и более выработок (рисунок 4).

2. Параметры бурения скважин выбираются так, чтобы скважины пересекали в зоне разгрузки наиболее мощный из подрабатываемых пластов, расположенных на расстоянии Мс.п не далее 60 м по нормали от разрабатываемого пласта.

Если в этом интервале междупластья подрабатываемых угольных пластов нет (пласты угля залегают на расстоянии Мс.п > 60 м), то скважины бурятся до пересечения ближайшего подрабатываемого пласта или до контакта с крепким породным слоем, расположенным на расстоянии Мс.п ≤ 60 м.

При наличии на выемочном участке за очистным забоем охраняемой целиком угля выработки дегазационные скважины на подрабатываемый пласт бурятся из этой выработки над целиком угля.

Рис. 3. Схема дегазации подрабатываемого пласта скважинами, пробуренными навстречу движущемуся очистному забою из погашаемой за лавой выработки (схема 3):

1 - разрабатываемый пласт; 2 - подрабатываемый пласт; 3 - скважина; 4 - газопровод; 5 - вентиляционный штрек; β - угол возвышения скважины; α' - угол падения пласта в плоскости скважины; ψ' - угол разгрузки пород кровли в плоскости скважины

Схема дегазации подрабатываемого пласта скважинами, пробуренными навстречу движущемуся очистному забою из погашаемой за лавой выработки, применяется на выемочных участках со скоростью подвигания очистного забоя до 1,5 м/сут и на выемочных участках с погашением выработок за лавой при условии, что газопровод с подключенными к нему скважинами сохраняется в погашенной части выработки.

3. Для повышения эффективности дегазации на участках с погашением выработок за лавой паспортом выемочного участка предусматривается подключение к газопроводу скважин, оставляемых в выработанном пространстве, при принятии мер по охране устьев скважин и трубопровода.

Рис. 4. Схема комплексной дегазации подрабатываемого пласта на выемочном поле (схема 4):

1 - разрабатываемый пласт; 2 - сближенный пласт; 3 - скважина; 4 - газопровод; 5 - вентиляционная выработка; ψ - угол разгрузки пород кровли; φ - угол между проекцией скважины на горизонтальную плоскость и перпендикуляром к оси выработки в той же плоскости

4. Для дегазации сближенных пластов в период первичной посадки основной кровли дополнительно бурятся фланговые скважины из уклона (рисунок 4) или из подготовительной выработки, пройденной за монтажной камерой. Устья скважин должны находиться на расстоянии не менее 5 м от монтажной камеры (рисунок 5).

Рис. 5. Схема дегазации подрабатываемого пласта скважинами в период первичной посадки основной кровли:

1 - разрабатываемый пласт; 2 - подрабатываемый пласт; 3 - скважина; 4 - газопровод; α' - угол падения пласта в плоскости скважины; ψ' - угол разгрузки пород кровли в плоскости скважины; β - угол возвышения скважины

5. При сплошной системе разработки применяется схема дегазации, при которой скважины бурятся из вентиляционной и/или откаточной выработки на сближенный пласт позади очистного забоя в направлении его движения.

6. На участках очистных работ с высокой метанообильностью и преобладающим газовыделением из подрабатываемых угольных пластов применяется комплекс схем подземной дегазации (рисунок 4).

7. Параметры скважин рассчитываются по формулам, изложенным в приложении № 7 к настоящей Инструкции. На основе данных о фактической эффективности дегазации в конкретных горнотехнических условиях разработки угольных пластов параметры скважин, рассчитанные по формулам, подлежат корректировке.

8. При использовании буровой техники, позволяющей бурить длинные направленные скважины, применяется схема дегазации сближенного пласта, представленная на рисунках 6, 7. Скважины бурятся из фланговой (рисунок 6) или из участковой (рисунок 7) выработки вдоль столба навстречу очистному забою. Горизонтальная часть скважины в лавах по простиранию пласта или наклонная в лавах по падению (восстанию) располагается в сближенном пласте и должна быть пробурена до начала его разгрузки от горного давления.

Рис. 6. Схема дегазации сближенного пласта скважинами, пробуренными вдоль столба из фланговой выработки (схема 5а):

1 - разрабатываемый пласт; 2 - сближенные пласты; 3 - дегазационные скважины; 4 - дегазационный трубопровод; 5 - фланговая выработка; 6 - очистной забой

Рис. 7. Схема дегазации направленными скважинами, пробуренными на сближенный пласт из участковой выработки (схема 5б):

1 - разрабатываемый пласт; 2 - сближенный пласт; 3 - дегазационные скважины; 4 - дегазационный трубопровод; 5 - участковая выработка; 6 - очистной забой

9. Для дегазации подрабатываемых пластов, залегающих выше зоны обрушения горных пород, используются изолированные от рудничной атмосферы газодренажные выработки. Газодренажные выработки проводятся вдоль выемочного столба на расстоянии (0,25 - 0,35)lоч от выработки с исходящей вентиляционной струей и подключаются к дегазационной системе с помощью труб, заведенных за изолирующую выработку перемычку.

Для интенсификации процесса дегазации сближенных пластов на них из газодренажной выработки в процессе ее проходки бурятся дегазационные скважины.

10. Максимально возможная эффективность дегазации подрабатываемых пластов скважинами, пробуренными из горных выработок, и режимы функционирования скважин приведены в таблице № 1.

Таблица № 1

Максимально возможная эффективность схем дегазации подрабатываемых пологих и наклонных пластов скважинами, пробуренными из горных выработок

Схема дегазации

Вариант схемы расположения скважин

Условия применения и схема расположения скважин

Коэффициент дегазации источника, доли единицы

Минимальная величина разрежения у устья скважины

кПа

мм рт.ст.

Схема 1. Скважины пробурены из выработки, отделенной от участка (отрабатываемого столба) целиком угля

Скважины пробурены в параллельной очистному забою плоскости, над выработкой с исходящей струей (рисунок 1)

0,6

13,3

100

То же, но скважины пробурены над выработкой с поступающей струей

0,5

13,3

100

Схема 2. Скважины пробурены из выработки, поддерживаемой за лавой

Выработка за лавой охраняется и скважины пробурены с разворотом в сторону очистного забоя из вентиляционной выработки (рисунок 2)

0,5

6,7

50

То же с дополнительными скважинами, пробуренными над монтажной камерой

0,6

6,7

50

Схема 3. Скважины пробурены впереди очистного забоя из выработки, погашаемой за лавой

Скважины пробурены навстречу очистному забою из вентиляционной выработки (рисунок 3)

0,3

6,7

50

То же, но дополнительно пробурены скважины над монтажной камерой (рисунок 5)

0,4

6,7

50

Схема 4. Скважины пробурены из выработок выемочного поля (комплекс схем дегазации)

4

Скважины пробурены из оконтуривающих выемочное поле выработок и из выработки, поддерживаемой за лавой (рисунок 4)

0,7 - 0,8

6,7 - 13,3*

50 - 100*

Схема 5. Сверхдлинные направленные скважины пробурены в плоскости сближенного пласта навстречу очистному забою

Скважины пробурены вдоль столба из фланговой выработки (рисунок 6)

0,7 - 0,8

13,3

100

Скважины пробурены вдоль столба из участковой выработки (рисунок 7)

0,6 - 0,7

13,3

100

______________

* Минимальное значение принимается для скважин, пробуренных позади лавы в направлении очистного забоя.

Приложение № 7
к Инструкции по дегазации угольных шахт

Определение параметров дегазации подрабатываемых пологих и наклонных пластов

1. Параметры скважин, буримых из участковых выработок на подрабатываемые пласты (рисунок 1 приложения № 6 к настоящей Инструкции), определяются по формулам, приведенным в таблице № 1.

2. При бурении скважин из фланговых выработок (рисунок 4 приложения № 6 к настоящей Инструкции) параметры скважин задаются значением угла φ, углом между проекцией скважины на горизонтальную плоскость и перпендикуляром к оси выработки в той же плоскости. Остальные параметры скважин определяются по формулам, приведенным в таблице № 2.

3. При бурении развернутых на очистной забой скважин из поддерживаемой за лавой выработки (рисунок 2, таблица № 1 приложения № 6 к настоящей Инструкции) параметры скважин задаются величиной а1 или рассчитывают ее по формуле

а1 = Lб + l,3tб.гvоч - Mс.п/tg ψ,                                          (1)

где Lб - расстояние от очистного забоя до места установки бурового станка, м;

tб.г - время, необходимое для монтажа станка, бурения, герметизации и подключения скважины к газопроводу, сут;

voч - скорость подвигания очистного забоя, м/сут;

Мс.п - расстояние по нормали между разрабатываемым пластом и сближенным дегазируемым пластом, м;

ψ - угол разгрузки подрабатываемой толщи горных пород, град. Определяется опытным путем или по таблице № 3.

5. Величина b1 (протяженность зоны, препятствующей интенсивной разгрузке пород вблизи выработки, из которой бурится скважина) определяется по таблице № 4.

6. Графическое определение параметров дегазационных скважин при бурении их навстречу очистному забою производится на одномасштабных планшетах или выкопировках с плана горных работ и вертикальном разрезе угленосной толщи дегазируемого участка.

На вертикальном разрезе в лаве по простиранию из точки А (рисунок 1), соответствующей устью скважины, по падению пласта откладывается отрезок AK = с1 + b1.

Из точки K под углом ψ разгрузки подрабатываемой толщи горных пород к линии падения пласта проводится линия KB до дегазируемого подрабатываемого пласта. Отрезок АВ представляет собой проекцию скважины на вертикальную плоскость, проходящую через точку А. Из точки В строится перпендикуляр BF на горизонталь АН, проведенную через точку А.

Таблица № 1

Параметры скважин для дегазации подрабатываемых пологих и наклонных пластов

Проведение выработки, из которой бурятся скважины

Скважины бурятся в плоскости, параллельной забою лавы 1 = 0, φ = 0)

Угол наклона скважины к горизонту

Длина скважины, м

По простиранию пласта

По падению или восстанию пласта

Скважины бурятся с разворотом от линии падения (восстания) или простирания пласта

Угол разворота скважины

Угол наклона скважины к горизонту

Длина скважины, м

tg φ = а1/[(b1 + с1 + Mс.пctgψ)cosα ± (Mс.п + h)sinα)]

Обозначение символов:

φ

- угол между проекцией скважин на горизонтальную плоскость и перпендикуляром к оси выработки в той же плоскости, град;

β

- угол наклона скважин к горизонту (угол между осью скважины и горизонтальной плоскостью), град;

Мс.п

- расстояние от разрабатываемого до сближенного пласта по нормали, м;

b1

- протяженность зоны, препятствующей разгрузке пород у выработки, из которой бурится скважина (ширина охранной зоны), м;

с1

- резерв, учитывающий возможное отклонение скважины от заданного направления, м (принимается равным 5 - 10 м);

ψ

- угол разгрузки подрабатываемой толщи пород, отсчитываемый от плоскости напластования, град;

h

- расстояние по нормали от устья скважины до кровли разрабатываемого пласта (считается положительным, если устье скважины располагается ниже кровли пласта, и отрицательным - выше кровли), м;

α

- угол падения пласта, град;

а1

- проекция оси скважины на горизонтальную проекцию оси выработки, м.

Примечание. Верхний знак (плюс или минус) здесь и в дальнейшем принимается при бурении скважин в сторону падения пласта, нижний - в сторону восстания.

Таблица № 2

Определение параметров скважин, пробуренных для дегазации подрабатываемых пластов из фланговых выработок

Фланговая выработка

Угол наклона скважины к горизонту, град

Длина скважины, м

Горизонтальная

Наклонная

Таблица № 3

Значение угла разгрузки подрабатываемой толщи пород

Состав пород междупластья

Процент от всей мощности междупластья

Угол разгрузки ψ, град

Песчаники и алевролиты

Более 80

50 - 55

То же

50

60 - 65

Аргиллиты

50

60 - 65

То же

60

65 - 70

Песчаники и алевролиты

40

65 - 70

Аргиллиты

Более 80

70 - 80

Таблица № 4

Протяженность зоны, в которой скважины защищены от разрушения

Способ охраны выработки, из которой пробурены скважины

Протяженность зоны, препятствующей разгрузке пород у выработки (b1), м

Оставление целиков угля

lц + 5

Возведение костров, бутокостров, бутовых полос шириной менее 10 м

5

Возведение бутовых полос шириной более 10 м

0,5lб

Примечание. lц - ширина целика угля, м; lб - ширина бутовой полосы, м.

На плане горных работ параллельно вентиляционному штреку на расстоянии AF, взятом с разреза Б-Б, проводится линия FH. Из точки А по линии простирания пласта откладывается отрезок AG, равный величине а1, затем из точки G восстанавливается перпендикуляр GC к линии AG до пересечения с линией FH. Отрезок АС - проекция скважины на горизонтальную плоскость, угол FAC - искомый угол разворота скважины φ.

На вертикальном разрезе из точки А на горизонтали АН откладывается отрезок АС, взятый из плана горных работ. Из точки С восстанавливается перпендикуляр CD, равный BF. Отрезок AD - искомая длина скважины в соответствующем масштабе, угол DAC - искомый угол наклона скважины к горизонту (угол β).

7. При бурении скважин в плоскости, параллельной очистному забою (φ = 0), графическое определение параметров выполняется аналогично. В этом случае отрезок АВ на вертикальном разрезе есть длина скважины в соответствующем масштабе, а угол BAF - угол наклона скважины к горизонту (угол β).

8. При бурении скважин над монтажной камерой (рисунок 2) геометрические построения начинают на вертикальном разрезе в плоскости, нормальной напластованию по линии простирания пласта, где откладывают b1 и с1 и проводят линию KB под углом ψ. На плане горных работ на горизонтали АН откладывают отрезок AG = a1 и восстанавливают перпендикуляр GC (отрезок GC = a1tg φ, поскольку задается углом φ). Затем на вертикальном разрезе определяют местоположение точки D, то есть забоя скважины: на горизонтали АН откладывают отрезок АС, снятый с плана, и восстанавливают перпендикуляр CD до линии BD, параллельный горизонтали АН. Угол CAG на плане есть угол разворота скважины относительно линии простирания пласта (угол φ), угол CAD на разрезе - угол наклона скважины к горизонту (угол β), а отрезок AD - длина скважины в соответствующем масштабе.

Рис. 1. Графическое определение параметров скважин, буримых на подрабатываемый пласт

9. При бурении развернутых на очистной забой скважин из поддерживаемой за лавой выработки (рисунок 3) сначала задается длина проекции оси скважины на горизонтальную проекцию оси выработки (a1), равная расстоянию между буровыми камерами, увеличенному на 15 - 20 м.

На вертикальном разрезе из точки А откладывается отрезок AK= b1 + с1 (где b1 - расстояние, равное сумме ширины поддерживаемой выработки и расстояния от устья скважины до выработки). Из точки K под углом ψ проводится линия KB. Из точки В опускается перпендикуляр BF.

Рис. 2. Графическое определение параметров скважин, буримых на подрабатываемый пласт над монтажной камерой

Рис. 3. Графическое определение параметров скважин, буримых из поддерживаемой за лавой выработки вслед очистному забою

Из точки А (см. горизонтальную плоскость) откладывается отрезок AG, равный величине а1, затем из точки G восстанавливается перпендикуляр GC. Угол FАС - искомый угол разворота скважины φ от линии падения пласта. Затем определяют местоположение точки D, то есть забоя. Угол DAC - искомый угол наклона скважины β, а отрезок AD - длина скважины в соответствующем масштабе.

10. Параметры скважин при других вариантах их бурения на подрабатываемые пласты (рисунки 4 - 7) определяются аналогично указанному выше.

Рис. 4. Графическое определение параметров дегазационных скважин, буримых на подрабатываемый пласт навстречу очистному забою

Рис. 5. Графическое определение параметров дегазационных скважин, буримых на подрабатываемый пласт в сторону восстания из откаточного штрека

Рис. 6. Графическое определение параметров дегазационных скважин, буримых на подрабатываемый пласт в сторону восстания из погашаемой вслед за лавой выработки

11. Расстояние Lmax, м, в плоскости разрабатываемого пласта от забоя лавы до местоположения проекции зоны максимального метановыделения из сближенного пласта в скважины рассчитывается:

                                                          (2)

где Мс.п - расстояние по нормали между разрабатываемым и сближенным пластами, м;

K'1 и N1 - эмпирические коэффициенты.

При ведении дегазационных работ расстояние Lmax корректируется на основе фактических данных.

Рис. 7. Графическое определение параметров дегазационных скважин, буримых на подрабатываемый пласт из поддерживаемой выработки в лавах по падению

Величина K'1 рассчитывается по формуле

K'1 = D - Aexp(-εvоч),                                                     (3)

где D, А - коэффициенты, равные 2,13; 2,4 и 0,66 соответственно;

voч - скорость подвигания очистного забоя, м/сут.

Значение N1 принимается равным 3,3.

12. Влияние скорости подвигания очистного забоя на эффективность дегазации kд.с.п сближенных пластов подземными скважинами, пробуренными отечественными станками, определяется:

kд.с.п = Вл - βлvоч,                                                          (4)

где Вл и βл - эмпирические коэффициенты, равные в различных горнотехнических условиях 0,5 - 0,7 и 0,017 - 0,18 соответственно.

На участках с поддержанием вентиляционных выработок позади очистного забоя лавы величина коэффициента βл принимается равной 0,017 - 0,022, а на участках с их погашением - 0,08 - 0,18. Скважины, пробуренные на подрабатываемые пласты, на выемочных участках, отрабатываемых с погашением вентиляционных выработок позади очистного забоя, применяются в лавах со скоростью подвигания линии очистного забоя менее 2 - 2,5 м/сут.

13. Дебит метана G'д, м3/мин, и его концентрация см, %, в каптируемой газовоздушной смеси на выемочном участке изменяются от зоны максимума газовыделения вдоль отрабатываемого столба по зависимостям:

G'д = G'max - bcL',                                                         (5)

см =с'max - KcL',                                                          (6)

где G'max, с'max - дебит, м3/мин, и концентрация метана, %, в скважинах на расстоянии L'max от монтажной камеры соответственно;

bс, Kс - эмпирические коэффициенты для различных схем дегазации изменяющиеся в пределах 0,001 - 0,009 и 0,006 - 0,057 соответственно;

L' - длина отрабатываемого выемочного участка от зоны максимального газовыделения (после первой посадки основной кровли), м:

L' = L - L'max,                                                         (7)

где L - длина выемочного участка, м;

L'max - расстояние (в плоскости разрабатываемого пласта) относительно монтажной камеры до местоположения проекции зоны максимального метановыделения в скважины (после первой посадки основной кровли), м.

14. Расстояние между скважинами, буримыми на подрабатываемые угольные пласты, определяется по номограмме рисунка 8.

15. До начала бурения дегазационных скважин на подрабатываемые пласты по схемам, приведенным в на рисунках 1 и 2 приложения № 6 к настоящей Инструкции, расстояние rc, м, между ними определяется по номограмме (рисунок 8) в зависимости от необходимой эффективности дегазации сближенных подрабатываемых пластов, возможного разрежения в скважинах и коэффициента a'i, характеризующего газоотдачу i-го сближенного пласта.

Величина коэффициента a'i, 1/(мс), рассчитывается:

                                           (8)

где Iс.п - газовыделение из сближенных пластов и вмещающих пород в выработки участка, м3/мин

                                                           (9)

где Асут - суточная производительность лавы, т/сут;

qc.п.п - газовыделение из сближенных подрабатываемых пластов, м3/т;

Lmax i - расстояние (в плоскости разрабатываемого пласта) от забоя лавы до места положения проекции зоны максимального газовыделения i-го дегазируемого пласта;

lоч - длина лавы, м;

mi - мощность дегазируемого i-го сближенного пласта, м;

Mс.п i - расстояние по нормали между разрабатываемым и i-м сближенным пластами, м;

Мp - предельное расстояние по нормали от разрабатываемого пласта до сближенного, при котором газовыделение из сближенного пласта близко нулю, м.

Рис. 8. Определение расстояния между скважинами при их бурении на подрабатываемые угольные пласты

16. При бурении скважин из выработок, погашаемых за лавой, вводится коэффициент снижения эффективности дегазации, определяемый по номограмме (рисунок 9).

Рис. 9. Снижение эффективности дегазации сближенных угольных пластов на участках, отрабатываемых с погашением выработок за лавой

17. После завершения дегазационных работ на выемочном участке показатели, входящие в формулы (2) - (9), уточняются с учетом данных, полученных за весь период проведения дегазационных работ на выемочном участке.

Приложение № 8
к Инструкции по дегазации угольных шахт

Дегазация надрабатываемых пологих и наклонных пластов

1. Дегазация надрабатываемых пластов осуществляется скважинами, пробуренными из выработок разрабатываемого пласта вкрест дегазируемого пласта (рисунки 1, 2) или из выработок, проведенных в надрабатываемом пласте с расположением скважин в плоскости надрабатываемого пласта (рисунок 3).

Скважины бурятся параллельно очистному забою или ориентированно на него.

2. Дегазация надрабатываемых пластов осуществляется при их расположении на расстоянии до 45 м по нормали от разрабатываемого пласта.

3. В условиях шахт Воркутского месторождения дегазация надрабатываемых пластов проводится по схеме, приведенной на рисунке 4, и при параметрах заложения скважин, приведенных в таблице № 1.

4. При дегазации вскрытого квершлагами надрабатываемого пласта скважины бурятся веерообразно в плоскости пласта до начала его разгрузки очистными работами.

5. Герметизация устьев скважин проводится на глубину не менее 10 м.

6. Параметры способа определяются по рекомендациям, изложенным в приложении № 9 к настоящей Инструкции, с последующей их корректировкой.

7. Максимально возможная эффективность дегазации надрабатываемых пластов скважинами, пробуренными из горных выработок, приведена в таблице № 2.

8. Для снижения уровня воды в нисходящих скважинах проводится осушение скважин.

Рис. 1. Схема дегазации надрабатываемого пласта пробуренными из вентиляционной выработки скважинами при столбовой системе разработки с погашением выработки за лавой:

1 - разрабатываемый пласт; 2 - надрабатываемый пласт; 3 - дегазационная скважина; 4 - газопровод; α - угол падения пласта; а1 - проекция оси скважины на горизонтальную проекцию оси выработки; Мс.п - расстояние по нормали между разрабатываемым и сближенным пластами; Δ - расстояние (в плоскости разрабатываемого пласта) от проекции забоя скважины на пласт до границы разгруженной зоны сближенного пласта

Рис. 2. Схема дегазации надрабатываемого пласта скважинами, пробуренными из поддерживаемой за лавой откаточной выработки:

1 - разрабатываемый пласт; 2 - надрабатываемый пласт; 3 - дегазационная скважина; 4 - газопровод; α - угол падения пласта; Мс.п - расстояние по нормали между разрабатываемым и сближенным пластами; Δ - расстояние (в плоскости разрабатываемого пласта) от проекции забоя скважины на пласт до границы разгруженной зоны сближенного пласта

Рис. 3. Схема дегазации надрабатываемого угольного пласта пластовыми скважинами:

1 - разрабатываемый пласт; 2 - надрабатываемый пласт; 3 - дегазационная скважина по надрабатываемому пласту; 4 - дегазационный трубопровод; 5 - выработка по надрабатываемому пласту

Рис. 4. Схема дегазации надрабатываемых пластов скважинами, пробуренными веером из выработок выемочного поля:

1 - разрабатываемый пласт; 2 - надрабатываемые пласты; 3 - скважины, пробуренные на близко расположенные надрабатываемые пласты; 3' - скважины, пробуренные на удаленные надрабатываемые пласты; 3" - скважины, пробуренные под монтажно-демонтажные камеры (фланговые скважины); 4, 4' - дегазационный трубопровод; α - угол падения пласта

Таблица № 1

Технические параметры скважин

Показатели

Размерность

Группа скважин

I (скв. 3")

II (скв. 3)

III (скв. 3')

Угол разворота скважин от оси выработки

град

10 - 50

55 - 70

80 - 90

Угол падения скважин

град

20 - 60

20 - 45

55 - 80

Расстояние от разрабатываемого пласта до дегазируемого

м

10 - 45

10 - 30

30 - 45

Расстояние между нишами (кустами скважин)

м

-

40

80

Расстояние между забоями скважин

м

15 - 20

15 - 20

80

Количество скважин в кусте, не менее

шт.

2

2

1

Длина герметизации скважин, не менее

м

15

10

10

Способ герметизации

Цементный раствор, химические смолы (пены)

Таблица № 2

Эффективность дегазации пологих и наклонных надрабатываемых пластов

Схема дегазации

Коэффициент дегазации источника, доли единицы

Минимальная величина разрежения на устье скважины

кПа

мм рт.ст.

Схема 1. Скважины пробурены из выработки, пройденной по надрабатываемому пласту (рисунок 3)

0,5 - 0,6

6,7

50

Схема 2. Скважины пробурены из погашаемой за лавой выработки при столбовой системе разработки (рисунок 1)

0,3

13,3

100

Схема 3. Скважины пробурены из поддерживаемой за лавой выработки при сплошной (рисунок 2) или столбовой системе разработки

0,4

13,3

100

Схема 4. Скважины пробурены из выработок выемочного поля (рисунок 4)

0,4 - 0,5

13,3

100

Приложение № 9
к Инструкции по дегазации угольных шахт

Определение параметров скважин для дегазации надрабатываемых пологих и наклонных пластов

1. Для условий шахт Воркутского месторождения технические параметры скважин, буримых на надрабатываемые пласты по технологической схеме, приведенной на рисунке 4 приложения № 8 к настоящей Инструкции, сведены в таблице № 1 приложения № 8 к настоящей Инструкции.

2. В условиях, где нет опыта проведения дегазации надрабатываемых пластов, параметры скважин, пробуренных на эти пласты, определяются по формулам, приведенным в таблице № 1. В процессе ведения дегазационных работ параметры скважин корректируются.

3. Величина А определяется в соответствии с рекомендациями, приведенными на рисунке 1, с последующей ее корректировкой.

4. Графический метод определения параметров скважин, буримых на надрабатываемые пласты, изложен на рисунке 2.

5. Местоположение (на плоскости разрабатываемого пласта) максимума газовыделения в скважины определяется по формулам (2) и (3), приведенным в приложении № 7 к настоящей Инструкции, в которых принимается N1 = 4, D, А и ε - соответственно 3,48; 3,34 и 0,49.

6. Расстояние между скважинами принимается по рекомендациям, приведенным в таблице № 2.

Обозначения символов:

Δ - величина, принимаемая в зависимости от длины лавы и местоположения границы разгрузки дегазируемого пласта, м;

h' - расстояние от кровли разрабатываемого пласта до полевой выработки, м.

Остальные обозначения приведены в таблице № 1 приложения № 7 к настоящей Инструкции.

Таблица № 1

Параметры скважин при дегазации надрабатываемых пологих и наклонных пластов

Проведение выработки

Скважины бурятся в плоскости, параллельной забою лавы (a1 = 0; φ = 0)

Угол наклона скважин к горизонту

Длина скважин, м

По простиранию пласта

В почве разрабатываемого пласта по простиранию

По падению или восстанию пласта

Скважины бурятся с разворотом от линии падения (восстания) или простирания

Угол разворота скважин

Угол наклона скважин к горизонту, град

Длина скважин, м

Рис. 1. Схемы дегазации надрабатываемой толщи горных пород:

а - при отсутствии сближенного угольного пласта; б - при наличии сближенного угольного пласта; М' - расстояние по нормали между разрабатываемым пластом и дегазируемой толщей газосодержащих пород; m' - мощность дегазируемой толщи пород; α - угол падения пласта; β - угол наклона скважины к горизонту; b1 - протяженность зоны (ширина целика угля), препятствующей разгрузке горных пород; lоч - длина лавы; ψ1 - угол разгрузки пород почвы

Рис. 2. Графическое определение параметров дегазационных скважин, буримых на надрабатываемые пласты

Таблица № 2

Расстояние между скважинами и величина проекции скважин на горизонтальную проекцию оси выработки

Система разработки и схема дегазации

Расстояние до сближенного пласта, на который бурят скважины, м

Расстояние между скважинами, м

Величина проекции скважины на горизонтальную проекцию оси выработки а1, м

Сплошная или комбинированная система разработки:

а) скважины бурят из нижнего штрека

До 10

15 - 20

0 - 50

10 - 20

20 - 25

20 - 30

25 - 30

б) скважины бурят из верхнего штрека

До 10

10 - 15

0 - 50

10 - 20

15 - 20

20 - 30

20 - 25

Столбовая система разработки:

а) скважины бурят навстречу очистному забою

До 10

10 - 15

30 - 50

10 - 20

15 - 20

20 - 30

20 - 25

б) скважины бурят навстречу очистному забою с оставлением газопровода в погашаемой выработке

До 10

10 - 15

20 - 40

10 - 20

15 - 20

20 - 30

20 - 25

в) скважины бурят из выработки, проведенной по нижнему пласту

До 10

15 - 20

0 - 30

10 - 20

20 - 25

20 - 30

25 - 30

Приложение № 10
к Инструкции по дегазации угольных шахт

Дегазация крутых пластов

1. На крутых пластах применяются схемы дегазации сближенных пластов скважинами, пробуренными из выработок разрабатываемого пласта, сближенного с ним пласта или из полевой выработки (штрека, квершлага). Скважины бурятся вкрест дегазируемого пласта или в его плоскости параллельно друг другу или веером.

2. При полевой или групповой схеме подготовки свиты пластов дегазация осуществляется скважинами, пробуренными вкрест надрабатываемого пласта (рисунок 1) или в его плоскости (рисунки 2 - 4). При этом скважины должны быть пробурены до начала разгрузки надрабатываемого пласта.

3. Если промежуточные квершлаги пересекают надрабатываемый пласт, то скважины бурятся веером в его плоскости из места его пересечения промежуточным квершлагом в соответствии со схемой представленной на рисунке 5 настоящего приложения.

4. При пластовой подготовке крутого пласта дегазация подрабатываемых и надрабатываемых пластов производится скважинами, пробуренными из выработок разрабатываемого пласта (рисунок 6).

5. При системе разработки длинными столбами по простиранию, когда штреки после прохода лавы погашаются, скважины на сближенный пласт бурятся навстречу движению лавы (рисунок 6, а).

6. При сплошной системе разработки скважины бурятся из откаточного и/или вентиляционного штрека разрабатываемого пласта на сближенные пласты в зону, разгружаемую от горного давления (рисунок 6, б).

7. Глубина герметизации скважин должна составлять не менее 10 м при бурении скважин из выработок разрабатываемого пласта и 6 м при бурении скважин в плоскости соседнего пласта или в плоскости пласта, вскрытого промежуточным квершлагом.

Рис. 1. Схема дегазации надрабатываемого крутого пласта скважинами, пробуренными веером вкрест его залегания:

а - скважины пробурены из выработок разрабатываемого пласта; б - скважины пробурены из полевого штрека; в - скважины пробурены из группового штрека; 1 - разрабатываемый пласт; 2 - сближенный пласт; 3 - дегазационные скважины; 4 - дегазационный трубопровод; 5 - откаточный штрек; 6 - промежуточный квершлаг; 7 - полевой штрек

Рис. 2. Схема дегазации надрабатываемого пласта скважинами, пробуренными по надрабатываемому пласту из подготовительной выработки:

1 - разрабатываемый пласт; 2 - сближенный пласт; 3 - дегазационная скважина; 4 - дегазационный трубопровод; 5 - откаточный штрек; 6 - промежуточный квершлаг; 7 - полевой штрек; 8 - подготовительная выработка

8. Параметры дегазации сближенных крутых пластов устанавливаются по рекомендациям, изложенным в приложении № 11 к настоящей Инструкции, с последующим их уточнением.

9. Максимально возможная эффективность дегазации сближенных крутых пластов скважинами, пробуренными из горных выработок, приведена в таблице № 1.

Рис. 3. Схема дегазации разрабатываемого пласта скважинами, пробуренными по простиранию пласта из подэтажных камер:

1 - разрабатываемый пласт; 2 - полевой штрек; 3 - промежуточный квершлаг; 4 - скат; 5 - камера; 6 - дегазационная скважина

Рис. 4. Схема дегазации разрабатываемого пласта перекрещивающимися скважинами, пробуренными из подэтажных камер и из нижнего подэтажного штрека:

а - скважины пробурены из подэтажного штрека и подэтажных камер; б - скважины пробурены из подэтажного штрека и нижней подэтажной камеры;

1 - разрабатываемый пласт; 2 - полевой штрек; 3 - промежуточный квершлаг; 4 - скат; 5 - камера; 6 - дегазационная скважина

Рис. 5. Схема дегазации надрабатываемого пласта скважинами, пробуренными веером из промежуточного квершлага:

1 - разрабатываемый пласт; 2 - надрабатываемый пласт; 3 - дегазационные скважины; 4 - дегазационный трубопровод; 5 - выработка разрабатываемого пласта; 6 - квершлаг промежуточный

Рис. 6. Схема дегазации крутых сближенных пластов скважинами, пробуренными из выработок разрабатываемого пласта:

а - при столбовой системе разработки; б - при сплошной системе разработки;

1 - разрабатываемый пласт; 2 - сближенные пласты; 3 - дегазационные скважины; 4 - дегазационный трубопровод; 5 - откаточный штрек; 6 - промежуточный квершлаг; 7 - вентиляционный штрек; ψ - угол разгрузки пород кровли; ψ1 - угол разгрузки пород почвы

Таблица № 1

Максимально возможная эффективность схем дегазации сближенных крутых пластов

Схема дегазации

Вариант схемы

Условия применения и схема расположения скважин

Коэффициент дегазации источника, доли единицы

Минимальная величина разрежения у устья скважины

кПа

мм рт.ст.

Схема 1. Скважины пробурены вкрест надрабатываемого пласта

Скважины пробурены из полевого или группового штрека (рисунок 1, б, в)

0,5

6,7

50

Скважины пробурены из откаточного штрека разрабатываемого пласта (рисунок 1, а)

0,4

6,7

50

Схема 2. Скважины пробурены по восстанию надрабатываемого пласта

Скважины пробурены параллельно из выработки разрабатываемого пласта (рисунок 2)

0,6

6,7

50

Скважины пробурены веером из промежуточных квершлагов (рисунок 5)

0,7

6,7

50

Схема 3. Скважины пробурены веером на подрабатываемые и надрабатываемые пласты

Скважины пробурены из откаточного и вентиляционного штреков при столбовой системе разработки с погашением выработок за лавой (рисунок 6, а)

0,4

6,7

50

Скважины пробурены из откаточного и вентиляционного штреков при сплошной системе разработки (рисунок 6, б)

0,5

6,7

50

Схема 4. Скважины пробурены по разрабатываемому пласту

Скважины пробурены по простиранию пласта (рисунок 3)

0,2

6,7

50

Перекрещивающиеся скважины (рисунок 4)

0,3

6,7

50

Примечание. При невозможности обеспечения концентрации метана в газовоздушной смеси в дегазационном трубопроводе более 25 % допускается снижение минимальной величины разряжения в дегазационных скважинах.

Приложение № 11
к Инструкции по дегазации угольных шахт

Определение параметров дегазации крутых пластов

1. Параметры дегазации подрабатываемых и надрабатываемых крутых пластов устанавливаются паспортом выемочного участка с учетом условий их залегания и отработки.

2. В неизученных условиях разработки пластов параметры дегазационных скважин определяются по формулам, приведенным в таблице № 1.

Таблица № 1

Определение длины и угла наклона скважин при дегазации сближенных крутых пластов

Схема дегазации сближенных крутых пластов

Угол наклона скважин, град

Длина скважин, м

к горизонту

к линии простирания пласта

Скважинами, пробуренными из полевого штрека или пройденной по нижнему пласту выработки

90

Скважинами, пробуренными из выработки по разрабатываемому пласту

φ

Скважинами, пробуренными из откаточного штрека по восстанию надрабатываемого пласта

β = α

90

На 5 - 10 м меньше высоты этажа по восстанию пласта

Скважинами, пробуренными из промежуточных квершлагов по надрабатываемому пласту веером

β ≤ α

5 - 90

На 5 - 10 м не добуриваются до вентиляционного штрека

Обозначения символов:

знак «плюс» принимается при надработке, знак «минус» - при подработке;

hп - расстояние по вертикали от уровня откаточного горизонта до места пересечения скважиной сближенного пласта, м. Принимается равным от 0,3 до 0,7 высоты этажа по вертикали;

М" - расстояние по нормали от полевого штрека до сближенного пласта, м.

3. При бурении скважин в плоскости, нормальной к простиранию пласта, параметры дегазационных скважин определяются графическим способом (рисунки 1 - 4) аналогично определению параметров скважин на пологих пластах (приложение № 7 к настоящей Инструкции).

Рис. 1. Схема к определению направления скважины, буримой из откаточного штрека на вышележащий сближенный пласт в плоскости, нормальной к простиранию пласта:

а - при отсутствии целика (бутовой полосы) над штреком; б - при наличии целика (бутовой полосы) над штреком

Рис. 2. Схема к определению направления скважины, буримой из группового откаточного штрека на вышележащий сближенный пласт, в плоскости, нормальной к простиранию пласта при отсутствии целика угля (бутовой полосы) над штреком:

a - K > f; б - K < f; (K = PK; f = ES)

Рис. 3. Схема к определению параметров скважины, буримой из группового откаточного штрека на вышележащий сближенный пласт, в плоскости, нормальной к простиранию пласта, и при наличии целика угля (бутовой полосы) над штреком:

a - K > f; б - K < f; (K = PZ; f = ES)

Рис. 4. Схема к определению направления скважины, буримой из вентиляционного штрека на вышележащий сближенный пласт, в плоскости, нормальной к простиранию пласта:

а - при отсутствии целика угля (бутовой полосы) под штреком; б - при наличии целика угля (бутовой полосы) под штреком

Исходными данными для определения параметров дегазационных скважин являются угол залегания пластов α, высота целика выработки b1, из которой производится бурение скважин, и границы зон повышенной газоотдачи сближенных пластов, определяемые углами разгрузки горных пород ψ (таблица № 2)

Таблица № 2

Определение угла разгрузки на крутых пластах

Угол падения пласта α, град

Угол разгрузки горных пород ψ, град

при подработке ψ

при надработке ψ1

45

59

77

47

59

77

49

60

77

51

61

76

53

62

76

55

63

76

57

65

75

59

66

75

61

68

75

63

71

74

65

73

74

67

76

74

69

80

73

4. В неизученных условиях расстояние между дегазационными скважинами на крутых пластах определяется по таблице № 3 с последующей корректировкой.

Таблица № 3

Определение расстояния между дегазационными скважинами на крутых пластах

Расстояние до дегазируемого сближенного крутого пласта, кратное вынимаемой мощности разрабатываемого пласта

(n = Мс.п/mв), м

Расстояние между дегазационными скважинами

rс.х, м

10 - 20

15 - 25

20 - 30

25 - 35

30 - 40

35 - 45

40 - 60

45 - 60

Более 60

60 - 70

5. Ориентировочные значения коэффициента дегазации крутых сближенных пластов определяются по таблице № 4.

Таблица № 4

Значение коэффициента дегазации крутых сближенных пластов

Место залегания сближенного пласта

Расстояние до сближенного пласта, Мс.п i, м

Коэффициент дегазации источника kд.с.к, доли единицы

В кровле

10 - 20

0,2 - 0,3

20 - 30

0,3 - 0,4

30 - 40

0,4 - 0,5

40 - 60

0,5 - 0,6

Свыше 60

0,6 - 0,7

В почве

6 - 10

0,1 - 0,2

10 - 20

0,2 - 0,3

20 - 30

0,3 - 0,4

Свыше 30

0,4 - 0,6

Приложение № 12
к Инструкции по дегазации угольных шахт

Дегазация подрабатываемых пластов и выработанных пространств скважинами, пробуренными с земной поверхности

1. Дегазация залегающих в угленосной толще сближенных пластов и выработанных пространств скважинами с поверхности осуществляется при глубине разработки до 600 м при условии, что поверхность позволяет разместить буровое и дегазационное оборудование.

2. На пластах, склонных к самовозгоранию, дегазация скважинами с поверхности применяется при скорости подвигания очистного забоя не менее 45 м/мес и при осуществлении непрерывного контроля ранних признаков самонагревания угля в выработанном пространстве.

3. Дегазационные скважины бурятся вдоль выемочного столба. Забои дегазационных скважин должны находиться в разгружаемой зоне подрабатываемого пласта. Первая скважина бурится на расстоянии 30 - 40 м от монтажной камеры.

При отработке выемочных участков пласта, оконтуренных с обеих сторон выработанными пространствами, вертикальные скважины располагаются в ряд посредине выемочного столба.

4. Место заложения скважины на поверхности следует выбирать так, чтобы к моменту окончания бурения проекция ее забоя на разрабатываемый пласт находилась на расстоянии не менее 30 м впереди очистного забоя.

В случаях, когда по горно-геологическим условиям невозможно сохранить дегазационную скважину, пробуренную впереди очистного забоя, дегазационные скважины бурятся после прохода лавы в выработанное пространство на расстоянии не менее шага обрушения основной кровли от забоя лавы.

5. При дегазации подрабатываемых пластов забой дегазационной скважины должен находиться выше границы зоны крупноблочного обрушения пород подрабатываемого горного массива. При этом конец обсадной колонны располагается выше зоны интенсивной трещиноватости пород подрабатываемого горного массива. Обсадная колонна в местах пересечения угольных пластов выше зоны интенсивной трещиноватости пород перфорируется. Величина зон крупноблочного обрушения и интенсивной трещиноватости пород кровли отрабатываемого пласта определяется геологической службой шахты.

6. При дегазации выработанного пространства забой дегазационной скважины углубляется в породы почвы разрабатываемого пласта на 5 - 10 м. При этом конец обсадной колонны располагается выше зоны интенсивного обрушения пород кровли отрабатываемого пласта. Обсадная колонна в зоне повышенной трещиноватости и в местах пересечения подрабатываемых угольных пластов должна перфорироваться.

7. После окончания бурения скважины она промывается водой с целью удаления из нее шлама.

8. Перед обсадкой скважины производится инклинометрическая съемка.

Скважина обсаживается стальными трубами диаметром не менее 100 мм. Затрубное пространство на глубину не менее 10 м от поверхности, в местах пересечения водоносных горизонтов и выработанных пространств отработанных вышележащих пластов тампонируется цементным раствором.

Обсадная труба в местах пересечения подрабатываемых пластов перфорируется отверстиями диаметром 10 - 15 мм (20 отверстий на 1 м трубы).

9. Для защиты труб от обмерзания в зимнее время верхняя их часть должна быть утеплена.

10. Схемы дегазации выработанного пространства и подрабатываемых пластов представлены на рисунках 1 и 2.

При схеме (рисунок 2) глубину скважины принимают такой, чтобы расстояние между ее забоем и кровлей отрабатываемого пласта было не менее десяти вынимаемых его мощностей.

Рис. 1. Схема дегазации подрабатываемых пластов и выработанного пространства скважинами, пробуренными с поверхности:

1 - разрабатываемый пласт; 2 - сближенные пласты; 3 - скважина; 4 - очистной забой; 5 - выработанное пространство

Рис. 2. Схема дегазации подрабатываемых пластов скважинами, пробуренными с поверхности:

1 - разрабатываемый пласт; 2 - сближенные пласты; 3 - скважина; 4 - очистной забой; 5 - выработанное пространство

11. При расстоянии от забоя скважины до очистного забоя не менее 30 м скважина подключается к вакуум-насосу.

12. При отработке пластов угля по бесцеликовой технологии дегазация выработанного пространства осуществляется как скважинами, пробуренными на выемочный столб действующего очистного забоя, так и скважинами, расположенными на ранее отработанных выемочных полях.

13. Скважины, пробуренные с целью гидрорасчленения угольных пластов, используются для дегазации подрабатываемых пластов и выработанного пространства.

14. Параметры скважин, режимы их работы и расстояния между скважинами определяются паспортом выемочного участка в зависимости от необходимой эффективности дегазации в соответствии с приложением № 13 к настоящей Инструкции.

15. Отвод метана из выработанного пространства по неподдерживаемой выработке к скважине, пробуренной с поверхности на эту выработку, применяется на пластах, не склонных к самовозгоранию.

16. Максимально возможная эффективность дегазации сближенных пластов и выработанных пространств действующих выемочных участков скважинами, пробуренными с земной поверхности, приведена в таблице № 1.

Таблица № 1

Максимально возможная эффективность дегазации выработанных пространств и подрабатываемых пластов скважинами, пробуренными с поверхности

Схема дегазации

Условия применения

Коэффициент дегазации источника kд.в.п (kд.с.п), доли единицы

Минимальная величина разрежения у устья скважины Ву

кПа

мм рт.ст.

Схема 1

Дегазация выработанных пространств при:

столбовой системе разработки с погашением выработок за лавой;

0,5 - 0,6

6,7

50

столбовой системе разработки с поддержанием выработки с исходящей вентиляционной струей;

0,4 - 0,5

6,7

50

сплошной системе разработки

0,3 - 0,4

6,7

50

Схема 2

Дегазация подрабатываемых пластов

0,6 - 0,7

20

150

18. Для повышения эффективности дегазации и снижения объемов бурения скважин по пустым породам бурятся вертикально-горизонтальные скважины с выводом их забойной части на подрабатываемый пласт. При этом горизонтальную часть скважины бурят навстречу очистному забою.

Если в кровле отрабатываемого пласта залегает несколько пластов, попадающих в зону разгрузки, то горизонтальная часть скважины располагается в плоскости самого мощного из них или в ближайшем к нему нижезалегающем (ближе к лаве) пласте.

Бурение вертикально-горизонтальных скважин производится по специальным проектам.

19. Для извлечения и использования метана из старых выработанных пространств производится повторное подключение к вакуумной сети шахты скважин, которые функционировали во время отработки выемочных участков.

20. Режим работы скважин, предназначенных для дегазации старых выработанных пространств, устанавливается проектом дегазации.

Приложение № 13
к Инструкции по дегазации угольных шахт

Определение параметров дегазации подрабатываемых пластов и выработанных пространств скважинами, пробуренными с земной поверхности

1. Расстояние между вертикальными скважинами, пробуренными для дегазации подрабатываемых пластов и выработанных пространств проектируемых шахт, горизонтов, блоков и полей реконструируемых и проектируемых шахт принимается кратным шагу обрушения пород основной кровли, но не менее 60 м и не более 120 м.

При эксплуатации выемочных участков с применением данных способов дегазации расстояние между вертикальными скважинами корректируется по мере отработки выемочного столба. Для вновь вводимых в действие выемочных участков расстояние между скважинами принимается по фактическим данным, полученным при отработке лав-аналогов.

2. Для обеспечения проектных коэффициентов дегазации применяется дегазационное оборудование, позволяющее обеспечить извлечение расчетных объемов газовоздушной смеси из дегазируемых источников метановыделения.

3. Расстояние от вентиляционной выработки до проекции забоя скважины на разрабатываемый пласт L'в, м, рассчитывается:

при дегазации подрабатываемых пластов:

L'в = b1 + Mctg(ψ + α) + KотHв.п,                                         (1)

где b1 - протяженность зоны, препятствующей разгрузке горных пород, м;

М - расстояние по нормали между разрабатываемым и верхним подрабатываемым пластами, м;

Kот - коэффициент, учитывающий возможное отклонение скважины при ее бурении, равный 0,05;

Hв.п - расстояние от земной поверхности до верхнего подрабатываемого пласта, м;

при дегазации выработанного пространства:

L'в = b1 + Kотlc,                                                        (2)

где lc - длина скважины, м.

4. Проектное значение дебита Gд.в.п, м3/мин, каптируемого метана из выработанного пространства на действующем выемочном участке, рассчитывается:

Gд.в.п = Iв.пkд.в.п,                                                        (3)

где Iв.п - газовыделение из выработанного пространства, м3/мин, определяется по факту или по прогнозу;

kд.в.п - коэффициент дегазации выработанного пространства, доли единицы.

5. Проектное значение дебита Gд.с, м3/мин, каптируемого метана из подрабатываемых пластов на действующем выемочном участке рассчитывается:

Gд.с = Iс.пkд.с.п,                                                          (4)

где Iс.п - газовыделение из сближенных пластов и вмещающих пород, м3/мин;

kд.с.п - коэффициент дегазации сближенных подрабатываемых пластов, доли единицы.

6. Расход каптируемой по скважине (скважинам) газовоздушной смеси Qсм.в.п, м3/мин, при дегазации выработанного пространства определяется:

                                                    (5)

где Св.п - концентрация метана в дегазируемой газовоздушной смеси, %. Для действующих шахт принимается по лаве-аналогу, а при отсутствии лав-аналогов принимается Св.п = 50 %.

Расход каптируемой по скважине (скважинам) газовоздушной смеси Qсм.в.п, м3/мин, при дегазации подрабатываемых пластов определяется:

                                                 (6)

где Св.п - концентрация метана в дегазируемой газовоздушной смеси, %. Для действующих шахт принимается по лаве-аналогу, а при отсутствии лав-аналогов принимается Св.п = 70 %.

Объем газовоздушной смеси, необходимой для обеспечения проектного коэффициента дегазации, определяется количеством скважин, пробуренных в выработанное пространство или на подрабатываемые пласты и их параметрами.

В соответствии с методикой, изложенной в пункте 16 приложения № 19 к настоящей Инструкции, определяется депрессия одной дегазационной скважины.

По найденным значениям hс и Qсм.в.п определяется расчетная точка работы предполагаемой дегазационной установки.

Если предусматривается бурение несколько дегазационных скважин, то определяется их эквивалентный диаметр dэк, м, по формуле

                                                    (7)

производится расчет депрессии дегазационной скважины с эквивалентным диаметром dэк и повторная оценка режима работы дегазационной установки.

Приложение № 14
к Инструкции по дегазации угольных шахт

Дегазация выработанных пространств скважинами, пробуренными из подземных выработок

1. Дегазация выработанного пространства применяется для снижения метанообильности действующего участка, а также для извлечения метана из соседних с ним отработанных пространств или из старых ранее отработанных выемочных полей.

2. Извлекаемая газовоздушная смесь по трубопроводам отводится на поверхность или в исходящую струю выемочного поля (крыла, шахты).

3. Дегазация выработанного пространства действующего участка осуществляется с помощью скважин, пробуренных над куполом обрушения из пластовых (рисунок 1, а, б) или полевых (рисунок 2) выработок или с помощью перфорированных труб и сбоечных скважин, заведенных в выработанное пространство (рисунки 1, в, 3, 4).

4. При дегазации выработанного пространства действующей лавы с использованием скважин, пробуренных над целиком угля (таблица № 1, схема 1а), расстояние между скважинами определяется паспортом выемочного участка.

Фланговые скважины располагаются ближе к вентиляционной выработке.

5. При дегазации выработанного пространства действующей лавы с использованием сбоечных скважин и перфорированных труб (таблица № 1, схема 1в, схема 2) расстояние между скважинами определяется паспортом выемочного участка.

Сбоечные скважины проводятся до подхода лавы и с обоих концов обсаживаются трубами. К скважинам со стороны лавы подключаются перфорированные трубы, которые охраняются кострами.

6. Глубина герметизации скважин должна быть не менее 6 м.

7. Величина разрежения на устье скважины устанавливается в соответствии с таблицей № 1.

8. Дегазационные скважины и перфорированные трубы закладываются вблизи выработок с исходящей вентиляционной струей.

9. Перфорированные трубы подключаются к дегазационному газопроводу, который проложен в соседней выработке или оставляется в завале.

10. Величина разрежения, подводимого к перфорированным трубам, должна быть не менее 4,0 кПа (30 мм рт.ст.).

11. Эффективность и условия применения схем дегазации выработанного пространства приведены в таблице № 1.

Рис. 1. Схемы дегазации выработанного пространства пологих угольных пластов (начало):

а - скважины пробурены над целиком угля при столбовой системе разработки пологих или наклонных пластов: 1 - разрабатываемый пласт; 2 - конвейерный штрек; 3 - дегазационная скважина; 4 - дегазационный газопровод; 5 - вентиляционный штрек; 6 - выработка, охраняемая целиком угля; α - угол падения пласта; ψ - угол разгрузки пород кровли; β - угол возвышения скважины;

б - скважины пробурены из фланговой выработки при отработке пологих или наклонных пластов: 1 - разрабатываемый пласт; 2 - вентиляционная выработка; 3 - дегазационные скважины; 4 - дегазационный газопровод; 5 - фланговая выработка

Рис. 1. Окончание:

в - скважины пробурены в межлавном целике из дренажных выработок: 1 - очистной забой; 2 - выработанное пространство; 3 - сбоечная скважина; 4 - дегазационный газопровод; 5 - вентиляционный штрек лавы; 6 - отрабатываемый пласт; 7 - штрек

Рис. 2. Схема дегазации выработанных пространств мощных крутых пластов скважинами, пробуренными из полевых выработок:

1 - разрабатываемый пласт; 2 - выработанное пространство; 3 - дегазационные скважины; 4 - дегазационный газопровод; 5 - полевой штрек откаточного горизонта; 6 - полевой штрек вентиляционного горизонта

Рис. 3. Схема дегазации выработанного пространства с использованием сбоечных скважин и перфорированных труб:

а - скважины пробурены из полевых выработок или из выработки сближенного угольного пласта: 1 - очистной забой; 2 - выработанное пространство; 3 - сбоечная скважина; 4 - дегазационный газопровод; 5 - перфорированная труба; 6 - штрек по нижнему пласту; 7 - вентиляционный штрек лавы;

б - перфорированный дегазационный газопровод, оставляемый в выработанном пространстве: 1 - очистной забой; 2 - выработанное пространство; 3 - перфорированный дегазационный газопровод; 4 - костры; 5 - дегазационный газопровод; 6 - конвейерный штрек

Рис. 4. Схема дегазации выработанного пространства с использованием дегазационного газопровода во фланговой выработке:

1 - очистной забой; 2 - выработанное пространство; 3 - перемычка; 4 - дегазационный газопровод; 5 - перфорированная труба; 6 - конвейерный штрек; 7 - вентиляционный штрек

Таблица № 1

Максимальная эффективность и условия применения схем дегазации выработанного пространства

Схема дегазации

Вариант схемы

Условия применения и схема расположения скважин или перфорированных труб

Коэффициент дегазации источника kд.в.п, доли единицы

Минимальная величина разрежения у устья скважины (перфорированной трубы) Ву

кПа

мм рт.ст.

Схема 1. Дегазация скважинами, пробуренными из выработок

Скважины пробурены над целиком угля при столбовой системе разработки пологих или наклонных пластов (рисунок 1, а)

0,6 - 0,7

6,7

50

Скважины пробурены из фланговой выработки при отработке пологих или наклонных пластов (рисунок 1, 6)

0,5 - 0,6

13,3

100

Скважины пробурены в межлавном целике из параллельной выработки (рисунок 1, в)

0,4 - 0,5

4,0

30

Скважины пробурены из полевой выработки при отработке крутых пластов (рисунок 2)

0,3 - 0,4

4,0

30

Схема 2. Отвод метана через перфорированные трубы

Перфорированные трубы оставляются в погашаемой вентиляционной выработке и сообщаются со сбоечными скважинами (рисунок 3, а)

0,4 - 0,5

6,7

50

Перфорированные трубы заводят за перемычки вблизи монтажной камеры (рисунок 4)

0,5 - 0,6

6,7

30

Перфорированные трубы подключаются к газопроводу, оставляемому в завале (рисунок 3, б)

0,4 - 0,5

6,7

50

Приложение № 15
к Инструкции по дегазации угольных шахт

Определение параметров дегазации выработанных пространств скважинами, пробуренными из подземных выработок

1. Геометрические параметры подземных скважин, буримых над куполами обрушения, рассчитываются по формулам, приведенным в таблицах № 1 и 2 приложения № 7 к настоящей Инструкции. При этом численное значение М принимается равным h1 + 8 (h1 - мощность непосредственно кровли), а величина с1 - равной 10 м.

2. Графическим методом параметры подземных скважин, буримых над куполами обрушения, определяются в соответствии с рекомендациями, изложенными в приложении № 7 к данной Инструкции, при этом М = h1 + 8, a c1 = 10 м.

3. Расстояние между скважинами определяется паспортом выемочного участка и должно быть кратным шагу обрушения пород кровли, но не менее 25 м и не более 50 м.

4. Параметры дегазации выработанных пространств перфорированными трубами определяются паспортом выемочного участка.

5. Оставляемый в завале вентиляционной выработки газопровод и подсоединенные к нему перфорированные трубы монтируются из труб диаметром 75 - 100 мм.

Интервал между участками перфорированных труб устанавливается паспортом выемочного участка.

6. Расстояние между пробуренными в выработанное пространство через межлавный целик скважинами устанавливается паспортом выемочного участка.

7. В случаях возведения бутовых полос вблизи вентиляционной выработки интервал между перфорированными трубами, прокладываемыми через бутовую полосу, устанавливается паспортом выемочного участка.

8. Режим работы перфорированных труб устанавливается паспортом выемочного участка.

9. Проектный дебит Gд.в.п, м3/мин, каптируемого из выработанного пространства метана на действующем выемочном участке определяется по формуле

Gд.в.п = Iв.пkд.в.п,                                                        (1)

где Iв.п - метановыделение из выработанного пространства, м3/мин;

kд.в.п - коэффициент дегазации выработанного пространства, доли единицы.

Расход извлекаемой из выработанного пространства газовоздушной смеси Qсм.в.п, м3/мин, определяется:

                                        (2)

где Св.п - концентрация метана в извлекаемой газовоздушной смеси, %, Для действующих шахт, применяющих данный способ дегазации, принимается по лаве-аналогу, а при отсутствии лав-аналогов принимается Св.п = 50 %.

Исходя из проектного расхода газовоздушной смеси, необходимого для обеспечения принятого коэффициента дегазации, производится расчет количества одновременно действующих скважин, пробуренных в выработанное пространство из параллельных горных выработок.

При бурении скважин кустами дебит газовоздушной смеси Qк, м3/мин, из одного куста скважин определяется:

                                                       (3)

где dпр - приведенный диаметр скважин в кусте, м;

                                                        (4)

nс.к - количество скважин в кусте;

Ву - разрежение на устье скважины, мм рт.ст.;

lср - средняя длина скважин в кусте, м:

                                                             (5)

li - длина i-й скважины в кусте, м.

Количество кустов скважин в одновременной работе nк, необходимое для отведения расчетного количества газовоздушной смеси, определяется:

                                                          (6)

где Qсм.в.п - расход извлекаемой из выработанного пространства газовоздушной смеси при использовании данного способа дегазации, м3/мин.

При бурении одиночных скважин дебит газовоздушной смеси Qсм, м3/мин, из одной скважины определяется:

                                                       (7)

где dc - диаметр скважины, м;

Ву - разрежение на устье скважины, мм рт.ст.;

lс - длина скважины, м.

Количество скважин в одновременной работе пс.к, необходимое для отведения расчетного количества газовоздушной смеси, определяется:

                                                           (8)

Приложение № 16
к Инструкции по дегазации угольных шахт

Особенности дегазации ликвидируемых шахт

1. При извлечении метана в условиях закрываемых шахт применяется схема, предусматривающая бурение или использование ранее пробуренных скважин с земной поверхности в выработанные пространства лав, и применение дегазационных установок.

2. Дегазационная скважина, пробуренная с поверхности, располагается таким образом, чтобы проекция ее забоя находилась от вентиляционного штрека остановленной лавы на расстоянии 1/4 - 1/5 ее длины и в 140 - 150 м от демонтажной камеры.

3. Дегазационные скважины обсаживаются стальными трубами, конечный диаметр - 100 мм.

4. Забойная часть скважины должна находиться в куполе обрушения горных пород, преимущественно в его наивысшей части, а в месте пересечения скважиной подработанных угольных пластов и на участке 10 - 15 м от нижнего конца обсадной колонны трубы перфорируются отверстиями 15 - 20 мм (20 отверстий на 1 м трубы).

5. В период ликвидации шахты предусматривается подключение к дегазационной системе скважин, пробуренных для дегазации сближенных подрабатываемых пластов или выработанного пространства остановленной лавы.

6. После полной изоляции участковых выработок остановленной лавы в работе оставляются только скважины, пробуренные с земной поверхности.

7. Типы и число передвижных дегазационных установок и режимы их работы на изолированных выработанных пространствах устанавливаются проектом дегазации ликвидируемой шахты.

Приложение № 17
к Инструкции по дегазации угольных шахт

Способы предупреждения и борьбы с суфлярами

1. Для предупреждения суфлярного метановыделения в проводимые тупиковые выработки применяются схемы скважинной дегазации окружающего выработку массива.

Скважины бурятся в предполагаемую зону суфлярных трещин с применением устройства, отводящего газ в газопровод в процессе бурения. После окончания бурения и герметизации скважины она подключается к дегазационному трубопроводу.

Скважины должны оставаться подсоединенными к газопроводу до прекращения суфлярного газовыделения или до изоляции (погашения) выработки.

2. Для предотвращения суфлярных выделений метана в очистных выработках осуществляется дегазация разрабатываемого, подрабатываемых и надрабатываемых пластов.

3. При возникновении суфляра необходимо повысить вакуум на скважинах предполагаемого источника формирования суфлярного выделения. Если снижения метановыделения в выработку из суфлярных трещин не происходит, бурятся дополнительные скважины.

4. При наличии доступа к суфлярным трещинам, обнаруженным в почве выработки, применяется отвод газа в дегазационную сеть из-под каптажных колпаков, перекрывающих опасные трещины (рисунок 1).

Колпаки изготавливаются из секций конвейерного става - рештаков, металлических вентиляционных труб или листового железа.

Размеры колпака определяются протяженностью видимых суфлярных трещин. Если метан выделяется на большой площади, то устанавливается несколько колпаков.

Перед установкой колпаков на площади выделения газа почва выработки зачищается от угля или породы на глубину 30 - 40 см.

Для создания герметичности вокруг колпаков устраивается бетонная или глиняная подушка.

Рис. 1. Схема отвода суфлярных газов при помощи каптажных колпаков:

1 - выработка; 2 - массив угля или пород с суфлярными трещинами; 3 - каптажный колпак; 4 - дегазационный трубопровод; 5 - гибкий шланг; 6 - подушка, герметизирующая колпак

Колпак герметизируется бетоном или глиной.

5. На колпаке устанавливается патрубок, посредством которого колпак через гибкий шланг соединяется с газопроводом.

Величина разрежения под колпаком должна быть не менее 30 мм рт.ст.

6. Отвод газа из-под колпака за счет самоистечения в выработку с исходящей струей воздуха производится при устройстве в ней камеры смешивания.

7. При выделении из суфлярных трещин вместе с метаном воды вблизи колпаков монтируется водоотделитель.

8. При интенсивных суфлярных выделениях газа, когда применение указанных выше способов невозможно или неэффективно, выработку с суфляром изолируют перемычкой (рисунок 2).

Рис. 2. Схема извлечения метана из суфлярных трещин средствами дегазации путем бурения скважин и возведения изолирующей забой перемычки:

1 - угольный пласт; 2 - геологическое нарушение; 3 - скважина; 4 - газопровод; 5 - шланг для отвода газов; 6 - перемычка; 7 - труба с вентилем для слива воды

Место установки перемычки устанавливается паспортом проведения выработки.

Газ из изолированной выработки или ее части отводится по трубе в дегазационный газопровод (рисунок 2).

9. Труба, по которой отводится газ, оборудуется устройствами для замера разрежения, расхода извлекаемой газовоздушной смеси и содержания в ней метана.

10. На шахтах, опасных по суфлярным выделениям метана и не имеющих стационарных дегазационных систем, для отвода метана из суфляров применяются подземные передвижные дегазационные установки.

Приложение № 18
к Инструкции по дегазации угольных шахт

Определение объемов каптируемого метана

I. Определение объемов метана, каптируемого при дегазации разрабатываемых угольных пластов

Фактический расход метана, каптируемого пластовой скважиной, устанавливается замерами расхода газовоздушной смеси и содержания в ней метана, выполняемыми на замерном устройстве, установленном на дегазационной скважине.

Фактический расход метана, каптируемого несколькими пластовыми скважинами, устанавливается замерами расхода газовоздушной смеси и содержания в ней метана, выполняемыми на замерном устройстве, установленном на дегазационном трубопроводе, к которому подключены эти скважины.

Фактический расход метана, каптируемого пластовыми скважинами на выемочном участке, подготовительной выработке, устанавливается замерами расхода газовоздушной смеси и содержания в ней метана, выполняемыми на замерном устройстве, установленном на участковом дегазационном трубопроводе.

Динамика скважинной добычи метана на участке разрабатываемого пласта приведена на рисунке 1.

Проектное значение дебита метана при дегазации пласта параллельно-одиночными скважинами Gпл, м3/мин, определяется:

в процессе обуривания участка (блока) пласта:

                                                   (1)

после завершения буровых работ на участке:

                                                          (2)

Рис. 1. Динамика извлечения метана скважинами, пробуренными по разрабатываемому пласту на выемочном участке:

gN - дебит метана из скважины при дегазации участка разрабатываемого пласта; t - время; tб - время обуривания дегазируемого участка разрабатываемого пласта; τ' - время дегазации, отсчитываемое с момента окончания буровых работ на дегазируемом участке разрабатываемого пласта

- дебит метана из скважин за время т, сут, обуривания участка, м3/мин;

- дебит метана из скважин после завершения буровых работ на участке разрабатываемого пласта, м3/мин;

Gб

- дебит метана из N скважин на момент завершения буровых работ, м3/мин;

- полезная длина скважины, м;

m

- мощность угольных пачек пласта, м;

N', N

- число скважин на участке в процессе обуривания и после завершения буровых работ соответственно;

g0

- начальное удельное метановыделение в скважину, м3/(м2 ∙ сут);

a

- коэффициент, характеризующий темп снижения во времени газовыделения из пласта в скважину, сут-1;

aN

- коэффициент, характеризующий темп снижения во времени газовыделения из N скважин, сут-1;

- продолжительность дегазации, отсчитываемая с начала бурения скважин N' на дегазируемом участке разрабатываемого пласта, сут;

τ'

- продолжительность дегазации, отсчитываемая с момента окончания буровых работ на дегазируемом участке разрабатываемого пласта, сут.

Снижение интенсивности метановыделения g 3/(м2 ∙ сут)) из неразгруженного пласта угля в дегазационную скважину во времени описывается:

                                                        (3)

где g0 - начальное удельное метановыделение из пласта в скважину, м3/(м2 ∙ сут);

g - метановыделение в скважину на период времени τ' (сут) дегазации пласта, м3/(м2 ∙ сут);

а - коэффициент снижения метановыделения из пласта в скважину в зависимости от времени его дегазации, сут-1;

τ' - продолжительность дегазации пласта скважиной, сут.

Время τ' отсчитывается с момента окончания бурения скважины.

Показатели газоотдачи неразгруженных пластов угля в дегазационные скважины g0 и a определяются:

1) на основе фактических данных метановыделения из пласта в дегазационные скважины на участке лавы-аналога;

2) на основе опыта ведения дегазационных работ на угольных шахтах;

3) по газовоздушным съемкам, выполненным в проводимой в массиве угля тупиковой подготовительной выработке (с последующим перерасчетом показателей газоотдачи пласта в дегазационные скважины).

1. Фактические замеры дебита метана на скважинах, оборудованных диафрагмами, переводятся в удельное метановыделение (дебит метана, поделенный на полезную длину скважины и на мощность пласта), строится график зависимости 1/g = f(τ), (рисунок 2, а) и определяются начальное метановыделение из пласта в скважины (g0) и коэффициент его снижения (a) во времени τ.

Рис. 2. Графики зависимости удельного метановыделения из угольных пластов в скважины

Динамика метановыделения из пласта в группу скважин на выемочном участке, установленная по результатам фактических замеров дебита метана из пластовых скважин на участковой диафрагме, описывается зависимостью, изображенной на рисунке 2, б.

По зависимости метановыделения, полученной по результатам фактических замеров в течении времени τ', определяются фактические значения gmax и aN:

                                          (4)

а при фиксированной величине tб

                                               (5)

где gmax и aN - коэффициенты уравнения (5) при дегазации пласта группой скважин, определенные по результатам фактических замеров.

2. Показатели газоотдачи разрабатываемого пласта в дегазационные скважины рассчитываются:

начальное удельное метановыделение

g0 = βпХ, м3/(м2 ∙ сут),                                                         (6)

где                                                            (7)

коэффициент а, сут-1, снижения метановыделения во времени:

для пластов с Vdaf = 25 - 40 %

a = 0,025 - 3,9 ∙ 10-4Vdaf, сут-1;                                            (8)

для пластов с Vdaf = 5 - 25 %

а = 0,042 - 8,8 ∙ 10-4Vdaf, сут-1;                                               (9)

X - метаноносность пласта, м3/т с.б.м;

βп - эмпирический коэффициент;

m - мощность угольных пачек пласта, м;

Vdaf - выход летучих веществ, %.

3. При проведении газовоздушной съемки в действующей тупиковой выработке на подготавливаемом к отработке участке разрабатываемого пласта показатели газоотдачи угольного массива в выработку перерасчитываются в показатели газоотдачи пласта в дегазационные скважины:

                                                          (10)

a = kg0, сут-1,                                                           (11)

где g0 - начальное метановыделение из пласта в подготовительную выработку, м3/(м2 ∙ сут);

d - диаметр дегазационных скважин, м;

т - мощность угольных пачек пласта, м;

k - коэффициент, характеризующий газодинамические и фильтрационные свойства угольного пласта (k-фактор), м23;

k - фактор определяется тангенсом угла наклона прямой 1/G = φ(t),

1/G = kt + b,                                                         (12)

а начальное метановыделение G0 рассчитывается:

G0 = 1/b, м3/(м2 ∙ сут).                                                (13)

Значения показателей газоотдачи пласта g0 и а, рассчитанные по формулам (3), (8) и (9), подлежат корректировке по мере накопления данных о метановыделении в скважины или группу скважин.

Показатели газоотдачи угольных пластов в скважины определяются до начала дегазационных работ по материалам газовоздушных съемок (метод 3).

При применении предварительной дегазации угольного пласта скважинами, ориентированными на очистной забой, величина G'τ (формула 1) увеличивается на коэффициент (kи) интенсификации выделения метана в дегазационные скважины, равный 1,2 - 1,5.

При применении предварительной дегазации угольного пласта перекрещивающимися скважинами величина G'τ увеличивается на коэффициент kи интенсификации выделения метана в перекрещивающиеся скважины, который рассчитывается по формуле (16) приложения № 5 к настоящей Инструкции.

При интенсификации газоотдачи угольных пластов средствами гидроразрыва или гидрорасчленения (пневмогидрорасчленения) расход каптируемого метана из пластовых скважин определяется с учетом величины коэффициента интенсификации газоотдачи угольного массива в скважины  при гидроразрыве или Kи.г при гидрорасчленении пластов. Коэффициенты интенсификации газоотдачи устанавливаются институтами - разработчиками способа.

Прогнозное значение дебита метана Gд.б, м3/мин, при использовании барьерных скважин находится:

Gд.б = Iп.вkд.б,                                                         (14)

где Iп.в - метановыделение в подготовительную выработку без дегазации пласта, м3/мин;

kд.б - коэффициент дегазации пласта барьерными скважинами, доли единицы.

II. Определение объемов метана, каптируемого при дегазации сближенных пластов и выработанных пространств

Фактический дебит каптируемого скважинами метана определяется измерением на диафрагме (участковой или отдельной скважины) расхода газовоздушной смеси и содержания в ней метана.

Проектное значение дебита Gд.с, м3/мин, каптируемого метана из подрабатываемых и надрабатываемых сближенных пластов на действующем выемочном участке рассчитывается:

Gд.с = Iс.пkд.с,                                                      (5)

где Iс.п - газовыделение из сближенных пластов и вмещающих пород, м3/мин;

kд.с - коэффициент дегазации сближенных угольных пластов, доли единицы.

Проектное значение дебита метана при дегазации выработанного пространства выемочных участков вертикальными скважинами, пробуренными с поверхности, определяется в соответствии с формулой (3) приложения № 12.

III. Определение объемов метана, каптируемого шахтными дегазационными системами

Дебит каптируемого метана подземными скважинами или скважинами, пробуренными с поверхности, устанавливается замерами расхода газовоздушной смеси и содержания в ней метана на нагнетательном трубопроводе ДУ.

Проектное значение дебита метана, извлекаемого шахтными дегазационными системами, определяется равной суммой дебитов каптируемого метана из источников газовыделения на всех дегазируемых участках.

Приложение № 19
к Инструкции по дегазации угольных шахт

Расчет газопроводов, выбор вакуум-насосов

I. Расчет вакуумной дегазационной сети

1. Расчет газопроводов и выбор вакуум-насосов производится исходя из условия обеспечения дегазационными системами шахт проектных показателей дегазации.

2. Расчетные параметры газопроводов и режимы работы дегазационных систем шахт должны снижать газообильность выработок до допустимого по фактору проветривания уровня и обеспечивать извлечение пригодных для использования газовоздушных смесей.

3. Тип и число одновременно работающих вакуум-насосов выбираются по их характеристикам в зависимости от расхода газовоздушной смеси, транспортируемой по дегазационной системе, и разрежения в дегазационном трубопроводе перед вакуум-насосом.

4. При проектировании дегазационного трубопровода учитываются аэродинамические характеристики вакуум-насосов и аэродинамические сопротивления дегазационного трубопровода с установленной на нем арматуры.

5. Для выполнения расчетов дегазационной системы строится расчетная схема дегазационной сети.

Расчетная схема - схема соединений газопроводов с указанием на ней узлов, ветвей дегазационного трубопровода, их длины и диаметра.

Узел - пункт соединения или разветвления дегазационного трубопровода и изменения его диаметра.

Нумерация узлов производится по направлению движения метановоздушной смеси в дегазационном трубопроводе.

Ветвь - участок газопровода, заключенный между двумя соседними узлами.

Нумерация ветвей производится по начальному и конечному ее узлам (по направлению движения метановоздушной смеси).

Начальными ветвями сети являются ветви, к которым подключаются дегазационные скважины, конечными - ветви, подводящие к вакуум-насосу.

Расчетом дегазационного трубопровода определяются следующие параметры ветвей газопровода: дебит смеси, концентрация метана в смеси, депрессия каждой ветви газопровода, депрессия установленной в газопроводе арматуры, и проверка действующих или выбор новых вакуум-насосов.

Схема для расчета газопроводов составляется (рисунок 1) с учетом развития горных работ на наиболее трудный период эксплуатации дегазационной системы. Диаметры дегазационных трубопроводов определяются с учетом требований раздела III настоящей Инструкции.

Для ветвей с параллельными газопроводами вместо стандартного диаметра газопровода dст подставляется эквивалентный диаметр dэк, м, определяемый по формуле

                                                       (1)

где di - внутренний диаметр i-го газопровода, м.

6. Расход метановоздушной смеси Qс.м, м3/мин, начальных ветвей сети определяется по расходу (дебиту) метана из дегазационных скважин и допустимыми подсосами воздуха:

Qсм = Gд + Пс + Пг,                                                      (2)

где Gд - дебит метана из скважин, м3/мин;

Пс - допустимые подсосы воздуха в дегазационные скважины, м3/мин;

Пг - допустимые подсосы воздуха в газопровод, м3/мин.

7. Величина подсосов воздуха Пг3/мин) в газопровод рассчитывается:

Пг = 0,001lф.                                                            (3)

Рис. 1. Схема для расчета газопроводов

8. Величина подсосов воздуха в подземные дегазационные скважины Пс, м3/мин, определяется для каждого способа дегазации в зависимости от допустимых удельных подсосов воздуха в дегазационные скважины Пуд, м3/мин ∙ (мм рт.ст.)1/2, величины разрежения на устьях скважин Ву, мм рт.ст., и числа одновременно работающих скважин nс:

                                                      (4)

Допустимые удельные подсосы воздуха в дегазационные скважины принимаются по таблице № 1.

9. Подсосы воздуха в вертикальные скважины, пробуренные с поверхности, определяются из выражения

                                                   (5)

где lс - длина скважины, м.

Таблица № 1

Удельные подсосы воздуха в дегазационные скважины

Источники метановыделения, тип скважин

Пуд

м3/мин (кПа)1/2

м3/мин (мм рт.ст.)1/2

Разрабатываемые пласты:

барьерные скважины

0,16

0,06

пластовые скважины

0,014

0,005

Подрабатываемые пласты:

подземные скважины

0,55

0,2

вертикальные скважины

14

5

Надрабатываемые пласты:

скважины на надрабатываемый пласт

0,028

0,01

скважины по надрабатываемому пласту

0,014

0,005

Выработанное пространство:

скважины над куполами обрушения

0,55

0,2

вертикальные скважины

28

10

Примечание. До начала влияния горных выработок на скважины значения допустимых подсосов воздуха для всех видов скважин принимаются равными 0,005 м3/мин (мм рт.ст.)1/2.

10. Величина Ву для всех видов скважин принимается по рекомендациям соответствующих разделов приложений.

11. Расход газовоздушной смеси Qсм j, м3/мин, в конечной точке ветви определяется суммой расходов, поступающих в начальную точку ветви газопровода газовоздушной смеси и допустимых подсосов Пг j, в ветви:

                                                  (6)

12. Концентрация метана ci, %, в газовоздушной смеси каждой, ветви газопровода определяется из выражения:

                                                             (7)

13. Расход газовоздушной смеси в участковом газопроводе выемочного участка , м3/мин, определяется с учетом резерва пропускной способности газопровода:

                                                           (8)

Концентрация метана в газовоздушной смеси участкового газопровода суч i, %, на выемочном участке определяется:

                                                            (9)

где  - дебит метана из скважин выемочного участка, м3/мин.

14. Расход газовоздушной смеси в ветвях магистрального газопровода , м3/мин, определяется с учетом резерва его пропускной способности:

                                                         (10)

где nу - число выемочных участков, из которых газ транспортируется по рассчитываемому магистральному газопроводу.

Концентрация метана cмаг.j, %, в рассчитываемой ветви магистрального газопровода определяется:

                                                       (11)

15. Потери давления в газопроводе ΔB, мм рт.ст., с неизменным диаметром определяются:

                                                (12)

где γсм - объемный вес смеси, кг/м3,

γсм = 5,37 ∙ 10-3(224 - С),                                               (13)

где Lт - длина газопровода, м;

Р - среднее давление в газопроводе, мм рт. ст.;

d - диаметр трубопровода, м;

с - концентрация метана в смеси, %.

16. Перепад давлений на участке газопровода постоянного диаметра, не содержащем врезок, определяется:

                                         (14)

17. Депрессия ветви дегазационного газопровода hтр i, мм рт.ст., и депрессия дегазационной скважины hc определяются по формуле

                                                     (15)

где lтр - длина участка газопровода, м;

Rуд - удельная депрессия газопровода, даПа/м.

                                                         (16)

где λт - коэффициент сопротивления газопровода (таблица № 2);

g - ускорение силы тяжести; g = 9,81 м/с2;

Vсм - скорость движения смеси, м/с.

18. Проектные величины - расход газовоздушной смеси и концентрация метана - для всех ветвей дегазационного трубопровода указываются на расчетной схеме.

19. При депрессии вакуум-насоса более 350 мм. рт.ст. производится изменение параметров дегазационной сети: увеличение пропускной способности ветвей с максимальной удельной депрессией за счет увеличения диаметра трубопровода этой ветви или увеличением количества трубопроводов.

20. Число одновременно работающих вакуум-насосов и их типоразмер принимается с учетом обеспечения требуемого режима работы дегазационной системы. Для этого точку, характеризующую требуемый режим работы дегазационной установки (Q, hв.н), наносят на характеристику вакуум-насосов. Производительность вакуум-насоса QB принимается равной расходу газа в ветви газопровода перед вакуум-насосом. Выбирают один или несколько параллельно работающих насосов, характеристика которых лежит выше точки требуемого режима работы дегазационной установки (Q, hв.н).

21. Расчет нагнетательной сети дегазационного газопровода сводится к определению диаметра нагнетательного газопровода, избыточного давления в нагнетательной трубе вакуум-насоса с учетом местных сопротивлений газопровода и арматуры.

22. Выбор вакуум-насосов производится по результатам расчетов всасывающей и нагнетательной сети газопровода.

Таблица № 2

Значение коэффициента сопротивления λт в зависимости от внутреннего диаметра дегазационного трубопровода и скорости движения газовоздушной смеси

Скорость движения метановоздушной смеси, м/с

Значение безразмерного коэффициента сопротивления λт в зависимости от внутреннего диаметра дегазационного трубопровода, мм

100

125

150

207

259

307

359

406

1

0,036

0,034

0,032

0,030

0,028

0,027

0,026

0,025

2

0,030

0,028

0,027

0,025

0,023

0,023

0,022

0,021

3

0,027

0,025

0,024

0,022

0,021

0,021

0,020

0,019

4

0,025

0,024

0,023

0,021

0,020

0,019

0,019

0,018

5

0,024

0,022

0,022

0,020

0,019

0,018

0,018

0,017

6

0,023

0,022

0,021

0,019

0,018

0,018

0,017

0,017

7

0,022

0,021

0,020

0,019

0,018

0,017

0,017

0,016

8

0,021

0,020

0,019

0,018

0,017

0,017

0,016

0,016

9

0,021

0,020

0,019

0,018

0,017

0,016

0,016

0,015

10

0,020

0,019

0,018

0,017

0,016

0,016

0,015

0,015

11

0,020

0,019

0,018

0,017

0,016

0,016

0,015

0,015

12

0,019

0,018

0,018

0,017

0,016

0,015

0,015

0,015

13

0,019

0,018

0,017

0,016

0,016

0,015

0,015

0,014

14

0,019

0,018

0,017

0,016

0,015

0,015

0,014

0,014

15

0,018

0,018

0,017

0,016

0,015

0,015

0,014

0,014

16

0,018

0,017

0,017

0,016

0,015

0,015

0,014

0,014

17

0,018

0,017

0,017

0,016

0,015

0,014

0,014

0,014

18

0,018

0,017

0,016

0,015

0,015

0,014

0,014

0,014

19

0,018

0,017

0,016

0,015

0,015

0,014

0,014

0,013

20

0,017

0,017

0,016

0,015

0,014

0,014

0,014

0,013

23. Аэродинамические характеристики типовых отечественных вакуум-насосов представлены на рисунке 2. При применении вакуум-насосов, аэродинамические характеристики которых не представлены в настоящей Инструкции, параметры режимы работы вакуум-насосов принимаются по данным заводов-изготовителей.

24. Для уточнения аэродинамической характеристики вакуум-насоса определяется аэродинамическое сопротивление Rвн, мм рт.ст. мин26, арматуры и газопровода на ВНС:

                                                          (17)

где Bвт - разрежение, установленное по типовой аэродинамической характеристике вакуум-насоса и фактическому расходу газовоздушной смеси, мм рт.ст.;

Bвф - измеренное на вакуум-насосе (фактическое) разрежение, мм рт.ст.;

Qвф - фактический (измеренный) расход газовоздушной смеси, м3/мин.

II. Алгоритм программы для расчета параметров дегазационной сети и выбора вакуум-насосов

Перепад давлений на участке газопровода постоянного диаметра, не содержащем скважин и врезок (то есть всех источников притока смеси за исключением подсосов воздуха через стыки труб газопровода) определяется формулой

                                         (1)

где P1 - давление газа на входе в участок, мм рт.ст.;

Р2 - давление газа на выходе с участка мм рт.ст.;

Qсм - дебит газа на выходе с участка, м3/мин;

L - длина участка, м;

γсм - объемный вес смеси, кг/м3;

d - диаметр газопровода, м.

На давления Р1 и Р2 накладываются очевидные ограничения:

Pвыр > P1 > 0 и Pвыр > P2 > 0,

где Pвыр - давление в выработке.

Объемный вес смеси определяется по формуле

                                                 (2)

где С - объемная концентрация метана в смеси, %.

Для учета местных сопротивлений значение L в формуле (1) увеличивается на 10 %.

В любой точке дегазационной системы объемный дебит воздуха - Qв и метана - Qм связан с объемным дебитом смеси - Qсм соотношениями:

Qм = 0,01CQсм;                                                           (3)

Qв = (1 - 0,01С)Qсм.                                                       (4)

Средняя величина подсосов воздуха в газопровод Пг, м3/мин, через стыки труб определяется по формуле

Пг = 0,001L м3/мин.                                                      (5)

В местах подключения скважин величина подсосов воздуха через скважины, то есть величина притока воздуха в дегазационный газопровод, определяется по формуле:

 м3/мин,                                                 (6)

где Ву - разрежение в устье скважины, мм рт.ст., относительно давления в выработке;

Пуд - задается для каждого способа дегазации (таблица № 1).

Таблица 1

Удельные подсосы воздуха в скважины

Источники метановыделения.

Тип скважин

Пуд

м3/мин (кПа)1/2

м 3/мин (мм рт.ст.)1/2

Разрабатываемые пласты:

барьерные скважины

0,16

0,06

пластовые скважины

0,014

0,005

Подрабатываемые пласты:

подземные скважины

0,55

0,2

вертикальные скважины

14

5

Надрабатываемые пласты:

скважины на надрабатываемый пласт

0,028

0,01

скважины по надрабатываемому пласту

0,014

0,005

Выработанное пространство:

скважины над куполами обрушения

0,55

0,2

вертикальные скважины

28

10

Примечание. До начала влияния горных выработок на скважины значения допустимых подсосов воздуха для всех видов скважин принимаются равными 0,005 м3/мин (мм рт.ст.)1/2.

Значения Ву не должны быть меньше минимальных значений Вмин, устанавливаемых нормативно для каждого способа дегазации.

В Вмин.                                                                (7)

Приток метана из скважины должен задаваться в соответствии с теоретическим расчетом или опытными данными.

Соотношения баланса в точках подключения дегазационных скважин к газопроводу имеют вид:

Qсм+ = Qсм- + Qм + Пс;                                                    (8)

C+ = 100(Qсм-0,01C + Qм)/Qсм+;                                          (9)

Py = P+ = P-,                                                     (10)

где Qм-, Qсм-, С- и Р- - дебит метана, смеси, концентрация метана и давление в газопроводе непосредственно перед точкой подключения скважины;

Qм+, Qсм+, С+ и Р+ - дебит метана, смеси и давление в газопроводе непосредственно за точкой подключения скважины;

Qм + Пс - дебит метана и воздуха из скважины.

В узлах дегазационной сети, то есть в местах стыковки отдельных ветвей дегазационного газопровода, выполняются следующие уравнения:

                                                    (11)

                                         (12)

P21 = P22;

P21 = P22;

P22 = P23;

P2m-1 = P2m;                                                           (13)

P21 = P11;

P11 = P12;

P1n-1 = P1n;

В уравнениях (11) - (13) использованы следующие обозначения:

j = 1 ... т - ветви газопровода, по которым смесь подходит к узлу (входящие в узел ветви);

i = 1 ... n - ветви газопровода, по которым смесь выходит из узла (исходящие из узла ветви);

Q1j см и C1j - дебиты и концентрации метана во входящих ветвях непосредственно перед узлом;

Q2i см и С2j - дебиты и концентрации метана в исходящих ветвях непосредственно за узлом;

Р1j - давление во входящих ветвях непосредственно перед узлом;

Р2i - давление в исходящих ветвях непосредственно за узлом.

Уравнение (11) выражает закон сохранения массы для смеси, уравнение (12) - закон сохранения массы для метана, а уравнения (13) отражают факт равенства давлений во всех точках ветвей, образующих один узел. В каждом узле общее число уравнений (13) на единицу меньше количества точек, образующих узел: n + m - 1.

Общий подход к параметрам дегазационной сети:

Приведенные выше уравнения (1) - (6), (8) - (10) позволяют для каждой ветви дегазационного газопровода найти зависимости:

                                                    (14)

где Р1, Q1, C1 - давление, расход смеси и концентрация метана в начальной по ходу движения газа точке ветви;

P2, Q2, C2 - давление, расход смеси и концентрация метана в конечной по ходу движения газа точке ветви. В общем случае эти зависимости находятся численно и могут быть представлены только в форме таблиц.

В начальных точках тупиковых ветвей газопровода (т.е. тех ветвей, в которые смесь не поступает из других ветвей) дебиты смеси и концентрации метана равны нулю:

Q1 = 0;                                                                (15)

С1 = 0.                                                                (16)

Пусть дегазационная сеть состоит из p ветвей. Конечная точка последней ветви является входом в вакуум-насос. Общее количество уравнений, задающих движение смеси в дегазационном газопроводе, сравнивается с количеством переменных. В каждой ветви в соответствии с приведенными выше соотношениями имеется 6 переменных: Р1, Q1, С1 - давление, расход смеси, концентрация метана в начальной точке и Р2, Q2, C2 - давление, расход смеси, концентрация метана в конечной точке. Таким образом, общее количество переменных равно 6р.

В начальной точке каждой ветви задано соотношение, определяющее концентрацию метана в смеси на входе в ветвь, - это либо соотношение (12) (если ветвь не является тупиковой), либо соотношение (16) (для тупиковых ветвей). Следовательно, общее количество таких уравнений равно p.

В каждом узле дегазационной сети заданы уравнения (13) в количестве на единицу меньшем количества точек, образующих узел и уравнение (12). Таким образом, общее количество уравнений (12) и (13) для узла равно количеству конечных и начальных точек ветвей, входящих в него. Следовательно, на каждую точку, входящую в узел, приходится одно уравнение. Все точки, не входящие в узлы, - это либо начальные точки тупиковых ветвей - для них заданы соотношения (15), либо конечная точка последней ветви (вход в вакуум-насос) - для нее не задано никаких соотношений. Таким образом общее число уравнений (12), (13) и (15) на единицу меньше общего количества конечных и начальных ветвей: оно равно 2р - 1.

Итак, общее количество уравнений (11), (12), (13), (15), (16) равно 3р - 1.

Количество уравнений (14) равно утроенному количеству ветвей (так как для каждой ветви имеется 3 уравнения). Следовательно общее количество уравнений равно 6р - 1.

Поскольку количество независимых уравнений на единицу меньше количества переменных, то все переменные, определяющие движение смеси в дегазационном газопроводе, можно выразить через одну. В качестве переменной, через которую должны быть выражены все остальные, следует взять давление в конечной точке последней ветви газопровода. В дальнейшем это давление обозначается через Рвых. Дебит смеси в этой точке, т.е. дебит смеси из дегазационного газопровода обозначается Qвых. Зависимость Qвых(Рвых) является основой расчета рабочей точки вакуум-насоса.

Полученное решение должно быть проверено на соответствие ограничениям (11) и (7), и область определения зависимости всех параметров от Рвых должна быть сужена до области, в которой выполняются неравенства (11) и (7). Впрочем, сам численный метод решения может включать такую проверку, выполняемую по ходу вычислений, и обеспечивать получение решения, заведомо удовлетворяющего неравенствам (11) и (7).

Не исключено, что область определения каких-либо переменных от Рвых окажется пустой. Это будет означать с содержательной точки зрения, что прокачка смеси при заданных диаметрах и длинах каких-либо ветвей или физически невозможна, или не выполняются нормативные требования (7) на разрежения в устьях скважин. В этом случае должны быть увеличены диаметры ветвей газопровода.

Рабочая точка вакуум-насосной станции определяется точкой пересечения найденной зависимости Qвых(Рвых) с характеристикой вакуум-насосной станции Q(P). Если точка пересечения отсутствует или лежит вне рекомендуемого диапазона работы вакуум-насосной станции, то необходимо увеличивать либо диаметры ветвей дегазационного газопровода, либо мощность вакуум-насосной станции.

Алгоритм численного определения параметров смеси и давления в конечной точке ветви по заданным значениям параметров в начальной точке (алгоритм численного расчета зависимостей (14))

Соотношения (14) определяются методом конечных разностей. Рекомендуемый шаг конечно-разностной схемы Δl = 1 м. Расчет выполняется от начальной точки ветви (точки входа смеси в ветвь) к конечной точке ветви (точке выхода смеси из ветви).

Таким образом каждая ветвь газопровода делится на g отрезков длиной Δl, причем Δlg = l. Точки деления называются узлами разностной схемы. Скважины должны быть размещены в узлах. Началом i-го отрезка является точка li-1, концом - точка li. Давление, дебит и концентрацию метана в точке i обозначается как Pi, Qi, Сi.

Тогда в соответствии с уравнениями (1) - (5) конечно-разностные уравнения будут иметь вид:

Qп = 0,001Δl;

Qi = Qi-1 + Qп;

Ci = (Qi-1Ci-1)/Qi;

Cср i = 0,5(Ci + Ci-1);                                                         (17)

γср i = 5,37 ∙ 10-3 ∙ (224 - Сср i);

αi = 4,8 ∙ 10-5 ∙ 1,1γср i/d5,33;

где d - диаметр газопровода.

Переменные Qп, Ccp i, γcp i имеют смысл суммарного подсоса воздуха в отрезок газопровода длиной Δl, средней концентрации метана в смеси и среднего объемного веса смеси на этом отрезке.

Если в узле i размещена скважина с дебитом метана Qм, то при вычислении соотношений (17) для i + 1 узла вместо Qi и Сi нужно использовать значения

Qi + Qм + Пс;

100(Qi ∙ 0,01Ci + Qм + Пс)/( Qi + Qм + Пс),

где Пс вычисляется по формуле (6) при Ву, равном разности давления в выработке и Рi - давления в месте подключения скважины к газопроводу.

Производя последовательные вычисления в узлах разностной схемы (двигаясь от начальной точки ветви к конечной), через g шагов (каждый шаг - это вычисление по формулам (17)), найдем значения давления, дебита смеси и концентрации метана в конечной точке ветви.

Если в процессе вычислений окажется, что

то это будет означать, что прокачка смеси по ветви при заданных в начальной точке давления, дебите смеси и концентрации метана невозможна.

Если в процессе вычислений окажется, что нарушено неравенство (7), это будет означать, что не выполнено нормативное требование по минимально допустимому разрежению на устье скважины.

Именно таким образом в процессе вычислений контролируется как физическая возможность прокачки смеси по ветви, так и выполнение условия по нормативному разрежению на устье скважин.

Алгоритм численного расчета зависимости дебита смеси из дегазационной сети древовидной топологии от давления на входе в вакуум-насосную установку

Дегазационная сеть древовидной топологии - дегазационная сеть, в которой к каждому узлу газопровода подключена одна исходящая ветвь.

Пример дегазационной сети с древовидной топологией приведен на рисунке 1.

Конечная точка последней ветви (вход вакуум-насосной станции) обозначен в приведенном примере дегазационной сети цифрой 7. Поскольку к каждому узлу газопровода подключена только одна исходящая ветвь, пройти по ветвям газопровода от какого-либо узла к конечной точке можно единственным способом.

Рис. 1. Пример дегазационной сети с древовидной топологией

Количество ветвей, отделяющих какой-либо узел от конечной точки газопровода (в нашем примере - от узла 7) определяется уровнем узла.

В нашем примере узлы дегазационной схемы находятся на следующих уровнях:

Номера узлов

Уровень

Номера узлов

Уровень

7

0

4, 12

3

6

1

3, 2, 10, 13

4

5

2

1, 8, 9, 11

5

Все узлы верхнего уровня (в нашем случае 1, 8, 9, 11) - это всегда начальные точки тупиковых ветвей.

Переходя к непосредственному изложению алгоритма расчета, приведем, прежде всего, форму таблиц, в которые помещаются исходные данные и результаты расчета по каждой ветви. Разумеется, объем вычислений и самих таблиц таков, что все операции должен выполнять компьютер, а не человек.

Таблица № 2

Форма представления исходных данных и результатов расчета по каждой ветви

Параметры на входе в ветвь

Параметры на выходе из ветви

Давление Рвх

Дебит смеси Qвх

Концентрация метана в смеси Свх

Давление Рвых

Дебит смеси Qвых

Концентрация метана в смеси Свых

В левую часть таблицы (столбцы Рвх, Qвх, Свх) помещаются исходные данные для расчета, в правую - результаты расчета.

Покажем вначале как заполняется эта таблица для тупиковых ветвей. На входе в тупиковую ветвь зададим ряд давлений с шагом 0,1 мм рт.ст.

от Рmin = 300 мм рт.ст. до Рmax = Рвыр - max(Вmin),

где Рвыр - давление в выработке, по которой проложен газопровод;

max(Вmin) - максимальное из значений минимально допустимых разрежений на устье скважин (таблица № 1).

Давлениями из этого ряда заполним столбец Рвх таблицы № 2. Поскольку дебит смеси и концентрация метана на входе в тупиковую ветвь равны нулю, столбцы Qвх и Свх заполним нулями.

Таким образом, будет заполнена левая часть таблицы, то есть определены исходные данные для расчета параметров на выходе из тупиковых ветвей.

Вычисление выходных параметров выполняется по алгоритму, приведенному выше. При этом вычисленные значения Рвых, Qвых, Свых помещаются в ту же строку, из которой брались исходные данные для расчета по алгоритму, приведенному выше.

Не исключено, что правая часть таблицы № 2 для некоторых строк в начале и конце таблицы № 2 окажется незаполненной. Это связано либо с тем, что в ходе вычисления по алгоритму, приведенному выше, будет выявлена физическая невозможность прокачки смеси при заданном в начальной точке давлении, либо с тем, что будет выявлено нарушение нормативного требования по минимально допустимому разрежению в устьях скважин.

Правая часть таблицы № 2 представляет собой заданные в табличном виде зависимости дебита смеси и концентрации метана на выходе из ветви от давления: Qвых(Рвых) и Свых(Рвых). При этом область определения этих зависимостей задается минимальным и максимальным значениями Рвых в заполненных строках правой части таблицы № 2.

Хотя заполненная правая часть таблицы № 2 и задает функции Qвых(Рвых) и Свых(Рвых), для удобства дальнейших вычислений было бы лучше, чтобы границы области определения этих функций были кратны 0,1 мм рт.ст. и с тем же самым шагом (0,1 мм рт.ст.) следовали данные в столбце Рвых. Новая таблица № 2 строится методом линейной интерполяции строк с интерполяционным параметром Рвых и шагом интерполяции 0,1 мм рт.ст.

Расчет начинается с ветвей, выходящих из узлов максимального уровня. Эти ветви являются тупиковыми, поэтому для них можно использовать приведенный выше алгоритм.

Множество узлов предыдущего (меньшего максимального на единицу) уровня делится на два подмножества. Первое из них - это узлы, являющиеся началом тупиковых ветвей (в нашем примере - узлы 3 и 13). Второе - это узлы, в которые смесь поступает из ветвей, начинающихся в узлах максимального уровня (в нашем примере - узлы 2 и 10).

Для ветвей, начинающихся из узлов первого подмножества, вычисления производятся в соответствии с приведенным выше алгоритмом.

Выполнение вычислений для ветвей, начинающихся в узлах второго подмножества, требует предварительного заполнения левой части таблицы № 2. Покажем, как это сделать, используя уже заполненную таблицу № 2 для узлов верхнего уровня.

Пусть к какому-либо узлу второго подмножества подходит к ветвей. Поскольку для узлов верхнего уровня таблицы № 2 ветви уже построены, то, тем самым, на выходе каждой из этих ветвей заданы в табличном виде зависимости Qвых(Рвых) и Свых(Рвых). Пересечение областей определения этих функций, т.е. совокупность значений Рвых, для которых все эти функции определены, есть область определения функций Qвх(Pвх) и Cвх(Pвх) - дебита смеси и концентрации метана на входе в ветвь, отводящую смесь из узла. Сами функции Qвх(Pвх) и Свх(Рвх) вычисляются по нижеприведенным формулам (18) и (19), полученным из уравнений (11) и (12):

                                             (18)

                    (19)

где j = 1, k - номера ветвей, подводящих смесь к узлу.

С точки зрения заполнения левой части таблицы № 2 приведенные выше формулы означают выполнение следующих действий:

заполнение столбца Рвх значениями давления из пересечения областей определения функций Qвых(Рвых) и Свых(Рвых) ветвей, подводящих смесь к узлу;

вычисление значений в столбцах Qвх по формуле (18) при использовании Qвых из тех строк таблицы № 2 для ветвей, подводящих смесь к узлу, в которых Рвых равно Рвх в уже заполненном столбце;

вычисление значений в столбцах Свх по формуле (19) при использовании Qвых и Свых из тех строк таблицы № 2 для ветвей подводящих смесь к узлу, в которых Рвых равно Рвх в уже заполненном столбце.

После того, как левая часть таблицы № 2 будет заполнена, правая вычисляется аналогично тому, как она вычислялась для тупиковых ветвей. Затем таблицу № 2 перестраивается методом линейной интерполяции строк с интерполяционным параметром Рвых и шагом интерполяции 0,1 мм рт.ст.

Таким образом, спускаясь уровень за уровнем от узлов верхнего уровня, мы придем к построению таблицы № 2 для конечной ветви газопровода и, тем самым, определим в табличном виде функцию Qвых(Рвых) на входе в вакуум-насос. Пересечение графика этой функции с характеристикой вакуум-насоса определяет рабочую точку вакуум-насосной станции.

Вычисления при наличии параллельных ветвей газопровода

Параллельные ветви газопровода, имеющие диаметры d1 и d2, можно заменить одной ветвью с эквивалентным диаметром dэкв, вычисляемым по формуле:

При этом величину подсосов воздуха из выработки следует удвоить (ведь фактически подсосы осуществляются в два газопровода, а не в один, пусть и эквивалентного диаметра). Следовательно, вместо формулы (5) следует использовать формулу

Пг = 0,002L, м3/мин,

а вместо формулы Qп = 0,001Δl из соотношений (17) формулу:

Qп = 0,002Δl.

Если к ветвям не подключены дегазационные скважины, то замена двух газопроводов одним - с эквивалентным диаметром - приводит к небольшим погрешностям расчета. В тех же случаях, когда к ветвям подключены дегазационные скважины с существенно разными дебитами, погрешность может оказаться значительной, а иногда и вовсе неприемлемой.

Приложение № 20
к Инструкции по дегазации угольных шахт

Дегазационные станции и их помещения

1. Помещения ДС (ДУ) должны быть удалены от промышленных и жилых объектов на расстояния не менее приведенных в таблице № 1.

Таблица № 1

Расстояние от ДС (ДУ) до промышленных и жилых объектов

Наименование объекта

Расстояние, м

Технические и жилые сооружения, автомобильные дороги общего пользования, железные дороги

20

Линии высоковольтных передач, открыто установленные трансформаторы и электрораспределительные устройства

30

Дегазационные скважины

15

Породные отвалы:

горящие

300

негорящие

За пределами механической защитной зоны, но не менее 100 м

2. Помещения наземных ДС и ДУ в зависимости от размещенного в них оборудования, подразделяются на классы взрывоопасность в соответствии с таблицей № 2.

Таблица № 2

Категория помещений и класс взрывоопасности здания и наружных сооружений ДС

Наименование

Категория помещений

Класс взрывоопасности

Машинный зал

А

В-1а

Распределительные устройства (далее - РУ) до 1 кВ и выше 1 кВ

Г

-

Пункт оператора

Г

-

Помещение огнепреградителей

А

В-1а

Помещение насосов и баков гидросистемы

А

В-1а

Помещение аппаратуры газоподготовки

А

В-1а

Помещение приемников газоанализаторов

А

В-1а

Сливной колодец отработанной воды

А

В-1

Приемный колодец градирни

А

В-1г

Смотровые колодцы

А

В-1а

Тамбур между машинным залом и помещением приемников газоанализаторов

А

В-1б

3. Технологические схемы ДС и ДУ определяются соответствующими проектами на их строительство.

Приложение № 21
к Инструкции по дегазации угольных шахт

Контроль работы дегазационных систем

1. Измерение расхода метановоздушных смесей в дегазационных скважинах и газопроводах осуществляется стационарными или переносными приборами. Порядок проведения замеров стационарными и переносными приборами определяется документацией по их эксплуатации.

Замеры расхода метановоздушной смеси в дегазационном трубопроводе выполняются на замерных станциях. Каждая замерная станция оборудуется диафрагмой (рисунок 1) или иным сужающим устройством. Замерные станции для отбора проб и контроля концентрации метана в метановоздушной смеси через штуцер (рисунок 2) сужающими устройствами не оборудуются. Для замеров метана без применения стационарных или переносных приборов используются U-образный манометр с водяным или ртутным заполнением и интерферометры.

Отбор проб газовоздушной смеси из газопровода или обсадной трубы скважины осуществляется через диафрагму или штуцер, показанные на рисунках 1 и 2.

Места установки замерных станций, порядок осуществления контроля за параметрами газовой смеси и передачи информации от установленных приборов в систему АГК определяется проектом дегазации.

2. Замерные станции располагаются на прямом участке газопровода. Минимальная длина прямого участка газопровода до и после сужающего устройства должна быть не менее 10 диаметров трубопровода.

Состояние замерных станций проверяется при производстве замеров. Аэродинамическое сопротивление определяется при проведении вакуумно-газовой съемки в дегазационном трубопроводе.

Рис. 1. Диафрагмы для замера расхода газа:

а - нормальная; б - дисковая; Δ6, Δ7 - чистота обработки поверхности диска

Рис. 2. Схема отбора проб газовоздушной смеси:

1 - насос ручной; 2 - обратный клапан; 3 - интерферометр; 4 - газопровод; 5 - штуцер для отбора пробы

3. Замерные станции без диафрагмы располагаются на прямых участках газопровода в соответствии с рекомендациями, предусмотренными руководством по их эксплуатации.

4. Расход газовоздушной смеси, транспортируемой по дегазационному газопроводу Q, м3/мин, на замерной станции, в качестве сужающего устройства на которой применяется диафрагма, рассчитывается:

                                                  (1)

где ε, аз, αр - коэффициенты, определяемые по номограммам (рисунки 3, 4 и 5 соответственно);

d0 - диаметр отверстия диафрагмы, мм;

hд - перепад давлений на диафрагме, мм вод.ст.;

γ' - объемная масса газа в рабочем состоянии при фактической концентрации метана, кг/м3.

На упомянутых выше номограммах приняты следующие обозначения:

P'1 - давление газа в газопроводе, то есть разность между атмосферным давлением у места установки диафрагмы и разрежением в газопроводе перед диафрагмой, мм рт.ст.;

αр - коэффициент расхода, определяемый в зависимости от модуля диафрагмы. Модуль диафрагмы отношение  к квадрату внутреннего диаметра трубопровода d2 .

Выражение 0,209 ∙ 10-3εазαрd20 называется коэффициентом K диафрагмы: при d0 = 25 мм и d = 100 мм коэффициент K = 0,65, при d0 = 50 мм и d = 150 мм K = 2,62, а при d0 = 65 мм и d = 200 мм K = 4,4.

Рис. 3. Определение коэффициента ε при малых (а) и при больших (б) значениях hд/13,6Р1

Рис. 4. Определение поправочного коэффициента аз

С учетом коэффициента диафрагмы зависимость (1) представляется в виде

                                                             (2)

Величина γ' определяется

                                                       (3)

где Р0 - атмосферное давление, мм рт.ст.;

t0 - температура газа перед диафрагмой, °С;

γн - объемная масса газовоздушной смеси при давлении 760 мм рт.ст. и температуре 293 К.

Рис. 5. Зависимость коэффициента расхода αp от

5. Расход Q, м3/мин, газовоздушной смеси при использовании замерного устройства без диафрагмы определяется по формуле

                                                          (4)

где vп - измеренная скорость потока газовой смеси, м/с;

kп - коэффициент, учитывающий диаметр газопровода (указывается в паспорте прибора);

Sп - площадь сечения замерного устройства, м2.

Расход газовоздушной смеси приводится к нормальным условиям:

                                                  (5)

6. Дебит отсасываемого метана Gм, м3/мин, находится из выражения

                                                         (6)

где См - концентрация метана в отсасываемой смеси, %.

7. Схема отбора проб газовоздушной смеси для последующего определения в ней концентрации метана показана на рисунке 6.

При отборе проб газа по схемам а и б (рисунок 6) краники или зажимы на вакуумных (полувакуумных) резиновых трубках должны закрываться одновременно.

Рис. 6. Схема отбора проб газовоздушной смеси из газопровода:

а - бюреткой Зегера; б - бутылкой при вакууме; в - бутылкой при давлении выше атмосферного

8. При автоматизации работы ДС (ДУ) и контроля параметров дегазационных систем обеспечиваются:

непрерывный контроль содержания метана в помещениях ДС (ДУ);

подача аварийного сигнала на пульт диспетчера и автоматическое включение вентилятора, проветривающего помещения ДС (ДУ) при превышении допустимого уровня концентрации метана;

непрерывный контроль концентрации метана в отсасываемой газовоздушной смеси и расхода отсасываемого метана;

непрерывный контроль разрежения во всасывающем и давления в нагнетательном газопроводах;

автоматическое отключение работающего вакуум-насоса (вакуум-насосов) с подачей аварийного сигнала на пульт диспетчера при нарушении нормального режима работы;

пропуск газовой смеси под естественным давлением в обход вакуум-насосов при их остановке;

автоматическое включение в работу резервных водяных насосов при остановке работающих водяных насосов или при снижении давления воды в системе водоснабжения ниже установленного паспортом водокольцевого вакуум-насоса;

автоматический отвод газа в нагнетательном газопроводе в атмосферу через отводную трубу при давлении выше установленного проектом;

автоматическая отсечка подачи газа потребителю и отвода его в атмосферу при концентрации метана ниже предусмотренной проектом утилизации, а также при падении давления смеси в нагнетательном газопроводе ниже установленного проектом утилизации;

индикация контролируемых параметров на рабочих местах в помещениях ДС (ДУ), передача данных о контролируемых параметрах работы ДС (ДУ) диспетчеру шахты;

возможность перевода на ручное управление работы вакуум-насосной установки в случае неисправности схемы автоматизации;

контроль параметров газовой смеси (концентрации, разрежения, дебита) в дегазационных газопроводах, в местах установки автоматических приборов контроля.

10. Средства контроля и автоматизации шахтных дегазационных систем должны иметь разрешение на применение в условиях угольных шахт.


Приложение № 22
к Инструкции по дегазации угольных шахт

Техническая документация при эксплуатации дегазационных систем

Образец 1

Журнал контроля работы ДС (ДУ)

Дата

Время проведения замера

№ работающих вакуум-насосов

Разрежение на вакуум-насосах, мм рт.ст.

Давление на нагнетательном газопроводе, кгс/см2

Температура отсасываемого газа, °С

Перепад давления на диафрагме, мм рт.ст.

Концентрация метана в отсасываемой смеси, %

Расход смеси, отсасываемой установкой, м3/мин

Расход метана, отсасываемого установкой, м3/мин

Результаты осмотра системы пожаровзрывобезопасности

Общие замечания по работе установки

Подпись лица, производившего замер

Подпись лица, ответственного за эксплуатацию ДС (ДУ)

Подпись технического руководителя (главного инженера) шахты

1

2

3

4

5

6

7

8

9

10

11

12

13

14

15

Примечание. Срок хранения Журнала - весь период эксплуатации ДС (ДУ).

Периодичность осмотра ДС (ДУ) лицом, ответственным за эксплуатацию установки - ежедневно.

Периодичность контроля эксплуатации ДС (ДУ) техническим руководителем (главный инженер) шахты - один раз в месяц.

Образец 2

Утверждаю

Технический руководитель

(главный инженер) шахты

________________________

«__» _____________ 20__ г.

Журнал проведения вакуумно-газовых съемок дегазационной сети

Дата

Участок газопровода (скважина)

Длина участка газопровода, м

Диаметр газопровода в точке замера, м

Разряжение в газопроводе (скважине), (МПа) мм рт.ст.

Перепад давления на диафрагме в точке замера, (Па) мм вод. ст.

Скорость смеси в газопроводе, м/с

Концентрация метана в точке замера, %

Удельное сопротивление газопровода, даПа/м

Расход смеси в точке замера, м3/мин

Подсосы воздуха в газопровод, м3/мин

фактическое

расчетное

фактический

приведенный к нормальным условиям

фактические

расчетные

1

2

3

4

5

6

7

8

9

10

11

12

 

Начальник участка дегазации ____________________________

Начальник участка АБ (ВТБ) ____________________________

Начальник участка № _____ _____________________________

Примечание. Срок хранения журнала - весь период эксплуатации дегазационной сети шахты.


Образец 3

Журнал учета работы дегазационных скважин

Скважина №

Назначение скважины

 

Место заложения (выработка, камера)

Параметры скважин:

направление (углы возвышения и разворота)

длина, м

диаметр, мм

длина герметизации устья, м

Дата начала бурения скважины

Дата окончания бурения скважины

Дата подключения скважины к трубопроводу

Дата отключения скважины

 

Результаты замера

№ п/п

Дата

Разрежение в газопроводе у скважины, мм рт.ст.

Перепад давлений на диафрагме, мм рт.ст. (мм вод.ст.)

Концентрация метана в смеси

Расход, м3/мин

Подпись лица, проводившего замер

смеси

метана

1

2

3

4

5

6

7

8

 

Начальник участка дегазации

 

Начальник участка АБ (ВТБ)

 

Примечание. Срок хранения Журнала - весь период эксплуатации выемочного участка. Для скважин, пробуренных в старые выработанные пространства - весь период эксплуатации скважины.

Образец 4

Утверждаю

Технический руководитель

(главный инженер) шахты

_______________________

«__» ______________ 20__ г.

Журнал
осмотра и ремонта дегазационных газопроводов

Назначение газопровода (всасывающий, нагнетательный, магистральный, участковый)

 

Наименование выработки

 

Длина газопровода, м

Диаметр газопровода, мм

Материал труб

Дата осмотра

Вид ремонтных работ

 

Начальник участка дегазации

Начальник участка АБ (ВТБ)

Примечание. Срок хранения Журнала - весь период эксплуатации дегазационной системы шахты.

Образец 5

Утверждаю

Технический руководитель

(главный инженер) шахты

_______________________

«__» ______________ 20__ г.

Акт
приемки подземных дегазационных скважин

Примечание. Срок хранения актов - весь период эксплуатации выемочного участка.

Для скважин, пробуренных в старые выработанные пространства, - весь период эксплуатации скважины.

Образец 6

Утверждаю

Технический руководитель

(главный инженер) шахты

«__» ______________ 20__ г.

Акт
приемки дегазационных скважин, пробуренных с поверхности

Примечание. Срок хранения актов - весь период эксплуатации выемочного участка.

Для скважин, пробуренных в старые выработанные пространства, - весь период эксплуатации скважины.

Приложение № 23
к Инструкции по дегазации угольных шахт

Порядок проведения вакуумно-газовых съемок в дегазационных газопроводах

1. Вакуумно-газовая съемка дегазационной сети шахты производится для определения величины подсосов воздуха в дегазационный газопровод и изменения сопротивления дегазационного газопровода в процессе его эксплуатации.

2. Вакуумно-газовая съемка в дегазационном газопроводе проводится не реже одного раза в три года, а также в случаях, когда не обеспечивается заданная эффективность дегазации или содержание метана в отсасываемой метановоздушной смеси ниже установленной нормы.

Контролируемыми параметрами являются: разрежение, концентрация и дебит метановоздушной смеси в скважинах и на участках газопровода.

3. Перед производством вакуумно-газовой съемки на схеме дегазационной сети шахты выделяются участки газопровода и намечаются пункты замера параметров газовоздушного потока (рисунок 1). Критериями выбора участков являются постоянство дебитов метана и диаметров газопровода.

Маршрут проведения дегазационной съемки начинают от дегазационных скважин. Замеры производятся на скважинах и всех замерных станциях, установленных на дегазационном трубопроводе. В точках замера, где не установлены замерные станции, производятся замеры разрежения, концентрации метана и температуры газа с использованием установленных штуцеров. Последние должны располагаться не ближе 3 м от разветвления трубопровода.

Измерения показателей потока производятся:

на скважинах (группе пластовых скважин);

на выходе участкового газопровода;

на прямолинейных участках через каждые 500 м;

Рис. 1. Схема расположения пунктов замера параметров газовоздушных потоков при проведении вакуумно-газовой съемки

в шахте перед стволом (скважиной) и в местах разветвления газопровода или изменения его диаметра;

на выходе газопровода из шахты (скважины);

в здании ДС (ДУ).

4. Вакуумно-газовая съемка выполняется группой квалифицированных работников.

Время производства замеров в намеченных пунктах газопровода устанавливается графиком. Вакуумно-газовая съемка проводится за время, не превышающее одну смену.

При невозможности проведения вакуумно-газовой съемки за одну смену продолжение работ по ее проведению начинается с выполнения замеров на двух последних замерных станциях предыдущего этапа.

5. Состояние газопровода по пропускной способности оценивается путем сопоставления фактических потерь давления газовоздушной смеси с проектным значением на отдельных участках газопровода или на выбранных маршрутах (от скважин до ДС (ДУ)).

Фактические потери давления должны быть меньше расчетных значений, установленных проектом.

6. Подсосы воздуха в газопровод на отдельных его участках определяются как разность дебитов метановоздушной смеси, измеренных на концах исследуемого участка.

7. Дебит метана, измеренный на диафрагме, принимается постоянным на всем протяжении участка газопровода (до следующего пункта установки диафрагмы).

Расход метановоздушной смеси Qтр i, м3/мин, в i-м пункте газопровода определяется по формуле

                                                         (1)

где Gд.т i - дебит метана в i-м пункте газопровода, м3/мин;

см i - концентрация метана в i пункте замера, %.

8. Депрессия отдельных участков газопровода определяется как разница измеренных величин разряжения в газопроводе на концах исследуемых участков.

9. Значения фактических и проектных параметров сети газопровода на участках (ветвях) газопровода приводятся к нормальным условиям и заносятся в Журнал проведения вакуумно-газовых съемок дегазационной сети (приложение № 22).

10. Сопоставлением фактических и проектных подсосов воздуха оценивается наличие негерметичных участков трубопровода, а сопоставлением фактического и расчетного удельного сопротивления газопровода - состояние дегазационного трубопровода и его нарушенных участков.

11. Для оценки состояния дегазационной сети и контроля ее работы используются компьютерные программы.

12. По результатам вакуумно-газовой съемки дегазационной сети техническим руководителем (главным инженером) шахты разрабатываются мероприятия по приведению дегазационной сети в соответствие с ее проектными значениями.

Приложение № 24
к Инструкции по дегазации угольных шахт

Герметизация скважин и проверка качества герметизации

1. Обустройство дегазационных скважин осуществляется с помощью оборудования обвязки скважин, которое обеспечивает подачу промывочной жидкости при бурении и герметизацию устьев скважин.

2. Для увеличения эффективности дегазации и получения пригодной для использования высококонцентрированной метановоздушной смеси устье каждой дегазационной скважины герметизируется. Герметизация устьев скважин производится при помощи специальных паккеров или цементацией обсадных труб.

3. Для герметизации устьев скважин применяется цементно-песчаный раствор в соотношении цемент:песок = 1:1 марки цемента 400 или 500, количество воды определяется в зависимости от назначения и типа скважины.

4. Длина герметизации определяется глубиной зоны растрескивания массива угля или породы. При бурении в ненарушенном массиве герметизация проводится на 6 - 10 м, при бурении скважин вблизи выработанных пространств на 20 м и более.

5. Технология герметизации дегазационных скважин цементным раствором.

5.1. Устье пробуренной до начала подработки пласта дегазационной скважины разбуривается на длину герметизации до диаметра 115 - 130 мм. В разбуренную часть вставляется обсадная труба с приваренными с внешней стороны металлическими бортиками, обеспечивающими правильную центровку трубы в скважине. У устья скважины обсадная труба расклинивается деревянными клиньями. Затрубное пространство у устья скважины тампонируется с применением вяжущего раствора. Через нагнетательную трубку длинной до 2 м и диаметром 42 мм в кольцевое затрубное пространство подается цементный раствор (Т:Ж = 1:5) (отношение твердого к жидкому в цементном растворе частей). После затвердения раствора производится окончательная цементация обсадной трубы. Цементный раствор (Т:Ж = 1:8 - 1:10) подается в затрубное пространство до тех пор, пока не потечет в штрек через обсадную трубу. После затвердевания раствора скважина присоединяется к газопроводу.

Этим же способом герметизируются скважины, буримые в два приема, первоначально на глубину герметизации и затем, после установки и цементации обсадной трубы, на проектную длину (с бурением скважины через обсадную трубу). Обсадная труба состоит из отрезков длиной по 1,5 - 1,7 м, расстояние между центрирующими трубу бортиками принимается 1 - 1,3 м.

5.2. При небольшой длине герметизируемой части скважины в условиях крепких нетрещиноватых пород после установки обсадной трубы разбуренное до диаметра 115 - 130 мм устье скважины тампонируется с применением вяжущего раствора. После затвердения затампонированной части затрубного пространства устья скважины в кольцевое затрубное пространство подается герметизирующий состав до тех пор, пока не заполнится все тампонируемое пространство.

5.3. Тампонаж трещин в массиве пород в зоне герметизации устья скважины для цементации обсадной трубы производится с помощью бурового станка. В скважину, пробуренную диаметром 130 мм на длину герметизации (6 - 10 м) вставляется обсадная труба, внутренний диаметр которой больше, чем окончательный диаметр скважины. Обсадная труба центрируется в скважине при помощи приваренных бортиков. Устье дегазационной скважины тампонируется и в затрубное пространство по загнутой на конце трубке подается раствор (Т:Ж = 1:10). После затвердевания цементного раствора в кольцевое затрубное пространство по обсадной трубе при помощи деревянного поршня, подаваемого буровым станком, нагнетается цементный раствор (Т:Ж = от 1:2 до 1:4). Этот же способ применяется в основном для герметизации нисходящих угольных и породных скважин.

6. Герметизация восстающих угольных скважин производится по 5.1 или 5.2. Работы по герметизации дегазационной скважины проводятся после разбуривания герметизируемого ее участка. Разбуривание устья восстающих угольных скважин с диаметра 76 - 97 мм до диаметра 132 мм производится на глубину до 10 м. В разбуренную часть скважины до упора устанавливается обсадная труба внутренним диаметром 75 - 100 мм и две трубки длиной по 10 м и диаметром 25 мм. На верхнем конце обсадной трубы устанавливается фланец с двумя отверстиями для трубок для подачи цементного раствора (Т:Ж = 1:6 - 1:8) в кольцевое затрубное пространство и выпуска воздуха из него.

7. При герметизации нисходящих угольных и породных скважин цементный раствор подается в кольцевое затрубное пространство по обсадной трубе при помощи деревянного поршня или самотеком. В последнем случае скважина до надрабатываемого пласта (газоносной трещиноватой породы) бурится в два приема: сначала на глубину герметизации, а затем, после установки и цементации обсадной трубы, на проектную глубину. Для цементации обсадной трубы на ее конце устанавливается стальное кольцо с резиновым уплотнителем, препятствующее вытеканию цементного раствора (Т:Ж = 1:3 - 1:5) внутрь обсадной трубы.

8. Дегазационные скважины, пробуренные в неустойчивых породах от участка герметизации до устойчивых пород, обсаживаются перфорированными трубами.

9. При бурении скважин из полевых или групповых выработок через выработанное пространство устья скважин герметизируются следующим способом в два этапа. Проводится герметизация устья скважины. Для герметизации устья скважины скважина разбуривается, в нее вставляется и цементируется обсадная труба диаметром 75 - 100 мм и длиной до 10 м. Затем в обсадную трубу вводится внутренняя труба диаметром 50 мм на длину скважины, пробуренной через обрушенные и нарушенные трещинами породы междупластья. На расстоянии 10 м от верхнего конца внутренней трубы снаружи устанавливается резиновая манжета. По внутренней трубе подается цементный раствор. Раствор заполняет затрубное пространство до манжеты, перекрывающей затрубное пространство между внутренней трубой и стенками скважины.

10. Цементный раствор подается в затрубное пространство вручную или при помощи шламового насоса с механическим приводом.

11. Длина обсадной трубы должна быть такой, чтобы верхний конец трубы был углублен в нетрещиноватый массив на 10 м по длине скважины. Вручную раствор может подаваться при помощи поршневого насоса.

12. Герметизация устьев пластовых скважин проводится герметизатором ГСХУ. Технология ведения работ по герметизации пластовых скважин герметизатором ГСХУ.

12.1. Скважину бурят на проектную длину. Устье скважины разбуривается Æ 93 - 97 мм на длину 3,5 - 7,5 м.

12.2. Герметизации устья коротких скважин производится кондуктором, выполненным из цельной пластиковой трубы.

12.3. Герметизация устья длинных скважин производится составной трубой, отрезки которой соединяются между собой металлическими муфтами длиной 200 мм и фиксируются резиновой манжетой. Крепление муфты и манжеты производится непосредственно во время установки составной трубы в скважину.

12.4. На конец трубы одевается уплотнительная резиновая манжета.

12.5. Труба с уплотнительной манжетой вводится в скважину. Длина трубы, не введенной в скважину, составляет не более 400 мм.

12.6. На невведенный участок трубы устанавливается вторая уплотнительная манжета. Расстояние между манжетами - не более 50 мм.

12.7. Труба вводится в скважину с таким расчетом, чтобы расстояние от устья скважины до второй установленной манжеты составляло не менее 50 мм, а свободный конец трубы - 300 мм.

12.8. В околотрубное пространство за первой от устья скважины резиновой манжетой через отверстие вводится металлическая трубка и по ней подается герметизирующий состав.

12.9. Подача герметизирующего состава производится ручным насосом. Количество полиуретанового клея определяется в зависимости от длины трубы.

12.10. После подачи герметизирующего состава металлическая трубка извлекается.

13. Для герметизации устьев скважин используются:

пластиковые дегазационные трубы;

пластиковые армированные соединительные трубы;

герметизирующие резиновые и пенопластовые манжеты;

пены для заполнения пространства между стенкой скважины и обсадной трубой.

14. Число труб, используемых для герметизации устья дегазационной скважины, определяется глубиной герметизации. В стыках труб размещаются расширяющие резиновые втулки или прокладки. Резиновые герметизирующие манжеты устанавливаются в стыках труб у устья скважины и в верхней/нижней части обсадной трубы.

15. Определение мест подсосов воздуха (притечек) в скважину производится после герметизации скважины, а также в тех случаях, когда содержание метана в участковом газопроводе или эффективность дегазации ниже принятых в проекте.

16. Места подсосов воздуха определяются при измерении расхода газовоздушной смеси из скважины и содержания метана в скважине.

17. Отбор проб газа из скважины производят с помощью специального зонда (рисунок 1). В его комплект входит тройник с патрубками 2 и 3. Патрубок 2 служит для ввода в скважину штанг 8, а патрубок 3 для соединения скважины 6 с газопроводом 4.

На конце патрубка 2 имеется уплотнительный элемент 7, препятствующий подсосам воздуха в скважину при перемещении штанг. Штанги 8 соединяются муфтами. На первой штанге установлено газоотборное устройство 9. Для отбора проб газа в комплекте зонда имеется гибкая трубка 10, намотанная на катушку 11, двухклапанный насос 12 и камера 13.

Рис. 1. Схема устройства и применения зонда для измерения содержания метана в скважине

18. Работы по зондированию скважины выполняют в следующем порядке. С помощью диафрагмы, установленной на обсадной трубе, измеряют расход газовой смеси, содержание в ней метана и разрежение. Затем отключают скважину от газопровода, снимают патрубок с диафрагмой и на его месте крепят к обсадной трубе 5 тройник 1. Патрубок 3 с помощью гофрированного шланга 14 соединяют с газопроводом 4. Через уплотнительный элемент 7 вводят первую штангу с газоотборным устройством 9. Гибкую трубку 10 соединяют с газоотборным устройством и крепят к штангам.

Всасывающий патрубок насоса 12 соединяют со свободным концом гибкой трубки 10, а нагнетательный - с камерой 13. Зонд готов к работе.

Открывают задвижку 15 и отбирают пробы газа для определения концентраций метана С1, С2, С3, С4 из характерных пунктов скважины (см. рисунок 1), перемещая газозаборное устройство по скважине и наращивая штанги. Проба, набранная в камеру, анализируется на месте, например, с помощью интерферометра ШИ-12. В каждом пункте отбирают не менее двух проб. Если они отличаются не более чем на 4 %, то результаты усредняются. При большем различии измерение повторяется.

Определение концентраций метана С1 и С2 производится в нижней и верхней частях обсадной трубы, концентрации метана С3 - на расстоянии 0,5 м от верхнего конца обсадной трубы, концентрации метана С4 - на расстоянии 20 - 25 м от устья скважины.

19. По результатам измерений рассчитывают подсосы воздуха ΔQ в скважину на интервалах измерений концентраций С2 и С3, С3 и С4. Результаты с погрешностью измерения содержания метана менее 4 % следует считать одинаковыми. Подсосы воздуха ΔQ2-3, м3/мин, в скважину на интервале измерений концентраций С2 и С3 рассчитывается:

                                          (1)

Подсосы воздуха ΔQ3-4, м3/мин, в скважину на интервале измерений концентраций С3 и С4 рассчитывается:

                                          (2)

20. Результаты измерений записываются в таблице № 1.

21. По результатам измерений концентраций С2 и С3 устанавливается наличие подсосов воздуха в скважину из зоны герметизации скважины, а по результатам измерений концентраций С3 и С4 - подсосов воздуха в скважину через угольный или породный массив.

Подсосы воздуха в скважину считаются допустимыми при выполнении условия

ΔQ2-3 + ΔQ3-4Пс.                                                  (3)

Таблица № 1

Результаты определения места и величины подсосов воздуха в скважины

Лава/Участок

Размерность

Пласт

Параметры

№ скважин

1

2

3

4

...

N

1

2

3

4

5

6

...

п

Расход газовой смеси

м3/мин

Разрежение

мм рт.ст.

Концентрация метана в пунктах:

%

С1

С2

С3

С4

Общие подсосы воздуха в скважину

м3/мин

Доля подсосов воздуха на интервалах:

%

С2 - С3

С3 - С4

При невыполнении условия (3) принимается решение о повышении качества герметизации последующих скважин. Для сокращения величины подсосов ΔQ2-3 должно быть повышено качество герметизации скважины или изменен способ ее герметизации. Для сокращения величины подсосов ΔQ3-4, должна быть увеличена длина герметизации скважины.

22. Для проверки качества герметизации восстающих дегазационных скважин применяется способ на основе измерения давления водяного столба в скважине. Для этого в скважине создается столб воды высотой на 0,2 - 0,3 м больше, чем высота обсадной колонны труб. Если столб воды удерживается на этой высоте, то герметичны и затрубное пространство, и обсадная колонна. Если вода удерживается только на высоте обсадной колонны, то стыки труб герметичны, а затрубное пространство негерметично. Если вода удерживается на отметке ниже высоты обсадной колонны, то на этой отметке колонна труб имеет негерметичный стык.

23. Для выполнения таких замеров необходимо к устью скважины подсоединить специальное приспособление для контроля герметичности скважин (рисунок 2). При открытом вентиле высота столба воды, подаваемой в скважину по шлангу от противопожарного водопровода, увеличивается. По параметрам заложения скважины известно, до какой высоты должен подняться столб воды, чтобы он стал на 0,2 - 0,3 м выше обсадной колонны. Когда вода поднимается до этой высоты, вентиль закрывается. Высота столба воды определяется по манометру (10 кПа соответствуют 1 м столба воды).

Рис. 2. Приспособление для контроля герметичности скважины:

1 - скважина без обсадки; 2 - обсадная колонна; 3 - герметизирующая среда; 4 - ветошь; 5 - деревянные клинья; 6 - патрубок обсадной колонны; 7 - уплотнение; 8 - фланец; 9 - трубка; 10 - тройник; 11 - манометр; 12 - вентиль; 13 - переходной штуцер; 14 - шланг

24. Проверка качества герметизации проводится способом контроля качества герметизации скважин, основанным на измерении давления в скважине. После герметизации устья скважины ее подключают к дегазационному трубопроводу и создают в ней разрежение. Затем с помощью задвижки скважину перекрывают и по скорости роста давления (снижения вакуума) определяют наличие подсосов воздуха. Если подсосы большие, то их можно измерить в обсадной трубе.



© 2013 Ёшкин Кот :-)