Информационная система
«Ёшкин Кот»

XXXecatmenu

Федеральное государственное унитарное предприятие

Государственный научный метрологический центр
ВСЕРОССИЙСКИЙ НАУЧНО-ИССЛЕДОВАТЕЛЬСКИЙ
ИНСТИТУТ РАСХОДОМЕТРИИ
(ФГУП ВНИИР)

УТВЕРЖДАЮ

Заместитель директора ФГУП ВНИИР

_________________ М.С. Немиров

«___» _____апреля____ 2003 г.

РЕКОМЕНДАЦИЯ

Государственная система обеспечения единства измерений.

ПОТЕНЦИАЛЬНЫЕ ПОТЕРИ
УГЛЕВОДОРОДОВ В НЕФТИ ОТ
ИСПАРЕНИЯ.

Методика выполнения измерений

МИ 2795-2003

Казань
2003

ПРЕДИСЛОВИЕ

РАЗРАБОТАНА Научно-производственным центром «СКПнефть» (НПЦ «СКПнефть»)

ИСПОЛНИТЕЛЬ: Баринов Б.А.

РАЗРАБОТАНА ФГУП ГНМЦ ВНИИР

ИСПОЛНИТЕЛИ: Немиров М.С., Фишман И.И., Ибрагимов Т.Ф.

УТВЕРЖДЕНА ФГУП ГН

МЦ ВНИИР 21 апреля 2003 г.

ЗАРЕГИСТРИРОВАНА ФГУП ВНИИМС 28 апреля 2003 г.

В развитие МИ 2566-99

СОДЕРЖАНИЕ

1. Нормы погрешности измерений. 2

2. Средства измерений и вспомогательные устройства. 2

3. Метод измерений. 3

4. Требования безопасности и охраны окружающей среды.. 3

5. Требования к квалификации операторов. 3

6. Условия измерений. 3

7. Подготовка к выполнению измерений. 3

8. Выполнение измерений. 4

9. Обработка результатов измерений. 5

10. Контроль погрешности результатов измерении. 6

Приложение А. Прибор алп-01 дп-01. 6

Приложение Б. Индивидуальный пробоотборник ип-1. 7

Приложение В. Индивидуальный пробоотборник ип-3. 8

Приложение г. Испарительная камера ик-2. 10

Приложение д. Принципиальная схема размещения технических средств при определении количества выделяющихся углеводородов и соответствующего ему днп.. 11

РЕКОМЕНДАЦИЯ

Государственная система обеспечения единства измерений.

Потенциальные потери углеводородов в нефти от испарений.

Методика выполнения измерений

МИ 2795-2003

Настоящая рекомендация распространяется на потенциальные потери углеводородов от испарения, которые могут возникнуть в системах подготовки и транспорта при поступлении в них нефти с давлением насыщенных паров (ДНП) выше заданной величины, в диапазоне 0,15 ... 2,00 % масс, и устанавливает методику выполнения их измерений.

1. НОРМЫ ПОГРЕШНОСТИ ИЗМЕРЕНИЙ

Доверительные границы суммарной погрешности (расширенная неопределенность) измерений потенциальных потерь углеводородов составляют ± 0,15 % масс.

2. СРЕДСТВА ИЗМЕРЕНИЙ И ВСПОМОГАТЕЛЬНЫЕ УСТРОЙСТВА

2.1. При выполнении измерений применяют следующие средства измерений и вспомогательные устройства:

2.2. Автоматический лабораторный прибор АЛП-01 ДП-01, описание которого приведено в приложении А (зарегистрирован в Государственном реестре средств измерений под номером 16774-03).

2.3. Индивидуальный пробоотборник ИП-1 по ТУ 3663-003-12754454-97 (для нефти, содержащей воду в свободном состоянии и газ), описание которого приведено в приложении Б.

2.4. Индивидуальный пробоотборник ИП-3 по ТУ 3663-003-12754454-97 (для нефти, не содержащей воду в свободном состоянии и газ), описание которого приведено в приложении В.

2.5. Испарительная камера ИК-2, описание которой приведено в приложении Г.

2.6. Термостат с диапазоном регулирования температуры от 0 до 60 °C и обеспечивающий стабильность поддержания температуры ± 0,1 °C.

2.7. Весы лабораторные микрокомпьютерные 4-го класса модели ВЛМК-550 г с погрешностью не более 20 мг.

2.8. Барометр-анероид типа БАММ-1 по ТУ 2511-1513.

2.9. Допускается применение других средств измерений утвержденного типа с аналогичными или лучшими метрологическими характеристиками.

2.10. Применяемые средства измерений поверены, испытательное оборудование аттестовано, а вспомогательное оборудование проверено на работоспособность.

3. МЕТОД ИЗМЕРЕНИЙ

3.1. Метод измерений основан на том, что в процессе испарения из нефти преимущественно выделяются легкие углеводороды, вследствие чего ДНИ в нефти снижается, и заключается в установлении зависимости ДНИ от количества выделившихся углеводородов с последующим определением их массовой доли по величине ДНИ на входе и выходе объекта.

4. ТРЕБОВАНИЯ БЕЗОПАСНОСТИ И ОХРАНЫ ОКРУЖАЮЩЕЙ СРЕДЫ

При выполнении измерений соблюдают следующие требования:

4.1. Требования безопасности, приведенные в паспортах на средства измерений и вспомогательные устройства.

4.2. Температура, влажность, скорость движения воздуха, содержание вредных веществ в рабочей зоне соответствуют ГОСТ 12.1.005.

4.3. Отработанные продукты сливают в специальные герметизированные сливные емкости.

4.4. При сливе отработанного продукта используют индивидуальные средства защиты.

4.5. Помещение, в котором проводят измерения, оборудуют средствами пожаротушения в соответствии с ГОСТ 12.4.009.

5. ТРЕБОВАНИЯ К КВАЛИФИКАЦИИ ОПЕРАТОРОВ

5.1. К выполнению измерений допускают лиц, изучивших настоящую рекомендацию, прибор АЛП-01 ДП-01, термостат, весы, индивидуальные пробоотборники, испарительную камеру, имеющих специальную подготовку по эксплуатации этих технических средств и прошедших инструктаж по технике безопасности.

6. УСЛОВИЯ ИЗМЕРЕНИЙ

При выполнении измерений соблюдают следующие условия:

- температура окружающего воздуха, °C

25 ± 10;

- температура исследуемой нефти при измерениях ДНП, °C

37,8;

- температура испаряемой нефти, °C

25 ± 10.

7. ПОДГОТОВКА К ВЫПОЛНЕНИЮ ИЗМЕРЕНИЙ

7.1. Подготовка технических средств

7.1.1. Прибор АЛП-01 ДП-01 подготавливают к проведению измерений ДНП нефти по МИ 2379 «ГСИ. Давление насыщенных паров нефти. Методика выполнения измерений».

7.1.2. Весы лабораторные, термостат и индивидуальные пробоотборники подготавливают к работе согласно инструкциям по их эксплуатации.

7.1.3. Взвешивают стакан испарительной камеры совместно с поршнем, (Мс).

7.1.4. Собирают испарительную камеру, приводят поршень в нижнее положение и подключают к прибору АЛП-01 ДП-01 (принципиальная схема приведена в приложении Д).

7.1.5. Подключают термостат.

7.2. Отбор пробы нефти

7.2.1. Подключают индивидуальный пробоотборник ИП-1 или ИП-3 к пробозаборному устройству трубопровода и отбирают пробу нефти согласно приложениям Б или В при технологическом режиме, обеспечивающем максимально возможную величину ДНП для обследуемого объекта.

7.2.2. Отключают пробоотборник от пробозаборного устройства и подключают к испарительной камере и прибору АЛП-01 ДП-01 (рисунок Д.1).

8. ВЫПОЛНЕНИЕ ИЗМЕРЕНИЙ

8.1. Определение зависимости потерь углеводородов от изменения ДНП нефти на выходе объекта

8.1.1. Определение ДНП анализируемой нефти

8.1.1.1. При закрытых входном и выходном клапанах испарительной камеры (приложение Г) открывают вначале выходной вентиль пробоотборника, а затем вентиль-распределитель испарительной камеры.

8.1.1.2. Отбирают порцию нефти объемом около 8 мл и промывают ей камеры прибора.

8.1.1.3. Проводят отбор проб нефти и определение ДНП согласно МИ 2379 дважды (Рм вх).

8.1.2. Заполнение испарительной камеры нефтью

8.1.2.1. Заполнение испарительной камеры нефтью проводят в соответствии с приложением Г.

8.1.3. Определение исходной массы отобранной нефти

8.1.3.1. После проведения операции по п. 8.1.2 откручивают стяжные винты, затем, придерживая одной рукой стакан, другой выкручивают стяжные толкатели из поршня, плавно опускают стакан на весы, и фиксируют массу стакана, заполненного нефтью, сн).

8.1.3.2. Определяют исходную массу нефти:

Мн = Мсн - Мс.                                                         (1)

8.1.4. Определение ДНП нефти в процессе испарения

8.1.4.1. За опорное значение потенциальных потерь принимают потери, установленные технологическим регламентом на эксплуатацию объекта (DМ0).

8.1.4.2. После проведения операций по п. 8.1.3 дают такую выдержку во времени, чтобы масса нефти в стакане уменьшилась на 0,15 % масс, от DМ0, а именно

DM1 = DМ0 - 0,15.                                                       (2)

8.1.4.3. Открывают входной клапан (приложение Г), отбирают в прибор около 8 мл нефти и сливают ее, обеспечив тем самым промывку подводящих трубок и камер прибора.

8.1.4.4. Проводят отбор порции нефти для определения ДНП, закрывают входной клапан, фиксируют массу стакана, заполненного нефтью, (Mсн1) и определяют массу нефти в нем.

M1 = Mсн1 - Mc.                                                        (3)

8.1.4.5. Проводят измерения ДНП нефти согласно МИ 2379 после первого цикла испарения, (P1).

8.1.4.6. Выполняют операции по п.п. 8.1.4.1, 8.1.4.2, 8.1.4.3, 8.1.4.4 еще четырежды при условии уменьшения каждый раз массы нефти в стакане на 0,05 % масс:

DМ2 = DM1 + 0,05;                                                          (4)

DM3 = DM1 + 0,10;                                                         (5)

DM4 = DM1 + 0,15;                                                         (6)

DМ5 = DM1 + 0,20                                                         (7)

и определяют при этом давления насыщенных паров (Р2, Р3, Р4, P5)

8.1.4.7. Испарительную камеру разбирают, промывают растворителем и сушат.

8.2. Определение зависимости потерь углеводородов от изменения ДНП на нефти на входе объекта

8.2.1. Повторяют операции по п.п. 8.1.1, 8.1.2, 8.1.3 с новой пробой нефти, измеряя при этом ДНП (Рвх) и исходную массу нефти в стакане ().

8.2.2. Определение ДНП нефти в процессе испарения

8.2.2.1. После проведения операций по п. 8.2.1 дают такую выдержку во времени, чтобы исходная масса нефти  за счет испарения уменьшилась на 0,05 % масс:

                                                         (8)

8.2.2.2. Открывают входной клапан (приложение Г), отбирают в прибор около 8 мл нефти и сливают ее, обеспечив тем самым промывку подводящих трубок и камер прибора.

8.2.2.3. Проводят отбор порции нефти для измерений ДНП, закрывают входной клапан, фиксируют массу стакана, заполненного нефтью, (Мсн) и определяют оставшуюся массу нефти:

                                                (9)

8.2.2.4. Проводят измерения ДНП нефти согласно МИ 2379 после первого цикла испарения, ().

8.2.2.5. Выполняют операции по п.п. 8.2.2.1, 8.2.2.2, 8.2.2.3, 8.2.2.4 еще четырежды при условии уменьшения каждый раз массы нефти в стакане на 0,05 % масс.:

DМ2 = 0,10;                                                          (10)

DМ3 = 0,15;                                                           (11)

DМ4 = 0,20;                                                           (12)

DМ5 = 0,25                                                           (13)

и определяют при этом давления насыщенных паров (, , , ).

8.2.2.6. Испарительную камеру разбирают, промывают растворителем и сушат.

8.3. В тех случаях, когда требуется определение повторяемости (сходимости) и воспроизводимости метода измерений, его осуществляют в соответствии с ГОСТ Р ИСО 5725-2002 «Точность (правильность и прецизионность) методов и результатов измерений».

9. ОБРАБОТКА РЕЗУЛЬТАТОВ ИЗМЕРЕНИЙ

9.1. Для расчета потенциальных потерь углеводородов на входе и выходе объекта определяют ДНП, соответственно, Рвх и Рвых.

9.2. Расчет потенциальных потерь анализируемой нефти (ДНП равно Рм вх) проводят по формуле

                                    (14)

где DMn-1 - массовая доля выделившихся углеводородов, при которой величина ДНП (Pn-1) максимально приближена с большей стороны к фактической или заданной величине ДНП на выходе объекта (Рвых), % масс;

DMn - массовая доля выделившихся углеводородов, при которой величина ДНП (Рn) максимально приближена с меньшей стороны к фактической или заданной величине ДНП на выходе объекта (Рвых), % масс.

9.3. Расчет величины возможного изменения потенциальных потерь при снижении ДНП на входе в объект с Рм вх до Рвх и неизменном значении ДНП на выходе проводят по формуле

                                 (15)

где  - массовая доля выделившихся углеводородов, при которой величина ДНП () максимально приближена с большей стороны к фактической величине ДНП на входе объекта (Рвх), % масс;

 - массовая доля выделившихся углеводородов, при которой величина ДНП () максимально приближена с меньшей стороны к фактической величине ДНП на входе объекта (Рвх).

9.4. Потенциальные потери углеводородов нефти на объекте, ДНП которой равно Рвх, а на выходе Рвых, определяют по формуле

                                                       (16)

10. КОНТРОЛЬ ПОГРЕШНОСТИ РЕЗУЛЬТАТОВ ИЗМЕРЕНИИ

Расхождение между двумя результатами измерений потенциальных потерь углеводородов в условиях повторяемости не должно превышать 0,05 % масс.

ПРИЛОЖЕНИЕ А

ПРИБОР АЛП-01 ДП-01

Прибор предназначен для измерений по методу расширения давления насыщенных паров (ДНП) нефти и нефтепродуктов при соотношении фаз 4:1. Прибор применяют при оценке качества товарной нефти и нефтепродуктов и определении количества испаряющихся углеводородов.

А.1. Технические характеристики

А.1.1.

Диапазон измерения давления насыщенных паров, МПа

0,01 ... 0,16.

А.1.2.

Предел суммарной абсолютной погрешности измерения давления, МПа

± 0,001.

А.1.3.

Соотношение вместимости измерительной камеры и объема отбираемой пробы

5:1.

А.1.4.

Погрешность определения соотношения вместимости измерительной камеры и объема отбираемой пробы, %

± 5.

А.1.5.

Давление ввода пробы в измерительную камеру, МПа

1,2 ... 1,5.

А.1.6.

Температура анализируемого продукта, °C

10 ... 60.

А.1.7.

Максимальная дискретность измерений, мин

3.

А.1.8.

Масса, кг, не более

15.

А.1.9.

Потребляемая мощность в номинальном режиме работы, вт, не более

50.

А.1.10.

Габариты, мм, не более

350´350´200.

А.2. Устройство прибора (рисунок А.1)

Прибор функционально состоит из измерительного блока с приводом и узла управления.

Измерительный блок включает в себя пробоотборную (1) и измерительную (2) камеры с поршнями (3) и (4), входным (5) и выходным (6) клапанами, термостатирующими рубашками (7) и вспрыскным клапаном (8), а также имеет датчик давления (13) и подпорную газовую камеру (14). Привод измерительного блока состоит из двигателя (9), одноступенчатого редуктора (10), винтовой ходовой пары с визиром (11) и микровыключателями (12).

Блок управления (15), соединенный с приводом, датчиком давления, позволяет проводить измерения в ручном и автоматическом режимах.

А.3. Принцип работы прибора

Принцип действия прибора основан на герметичном отборе пробы нефти или нефтепродукта, расширении измерительной камеры до объема, необходимого для создания заданного соотношения фаз, впрыске в нее отобранной пробы и приведении тем самым системы «жидкость - пар» в термодинамическое равновесие, регистрации давления.

Рисунок А.1

ПРИЛОЖЕНИЕ Б

ИНДИВИДУАЛЬНЫЙ ПРОБООТБОРНИК ИП-1

Предназначен для отбора проб нефти и нефтепродуктов, их автоматической подачи в прибор на анализ.

Пробоотборник может работать как в горизонтальном, так и в вертикальном положении.

Б.1. Технические характеристики

Б.1.1.

Объем отбираемой пробы, мл

250.

Б.1.2.

Максимальное давление отбора, МПа

2,5.

Б.1.3.

Масса, кг, не более

3,5.

Б.1.4.

Габаритные размеры, мм не более

140´380´150.

Б.2. Устройство пробоотборника (рисунок Б.1)

Б.2.1. Пробоотборник состоит из заборной камеры и пресса.

Б.2.2. Заборная камера имеет в своем составе штуцер входной (1), нижнюю часть рабочего цилиндра (2), выполненную из оргстекла, верхнюю стальную часть цилиндра (3), штуцер выходной (10), манометр (11), вентиль входной (12), вентиль выходной (13) и опору (14).

Б.2.3. Пресс включает в себя: линейную шкалу (4), штурвал (5), визир (6), шток (7), пружину (8) и поршень (9).

Б.2.4. На нижней части рабочего цилиндра указывают номер пробоотборника и значения давлений, при которых пружина начинает сжиматься Pmin и разжиматься Рmax.

Б.3. Наполнение пробами, находящимися под давлением выше Рmax

Б.3.1. Проверяют, что давление в трубопроводе не превышает 2,5 МПа.

Б.3.2. Соединяют устройство, из которого отбирают пробу, с помощью шланга с входным штуцером.

Б.3.3. Надевают резиновую трубку на выходной штуцер и соединяют ее со сборной емкостью, связанной с атмосферой.

Б.3.4. Открывают заборное устройство и входной вентиль пробоотборника.

Б.3.5. Приоткрывают выходной вентиль, поддерживая тонкую струю жидкости, сливают в емкость около 50 мл нефти и закрывают выходной вентиль.

Б.3.6. После истечения 30 с закрывают входной вентиль и путем открытия выходного вентиля выпускают нефть до тех пор, пока давление не снизится до Р £ Рmax.

Б.3.7. Движением штока вверх до упора проводят разжатие пружины, затем открывают входной вентиль и выполняют операцию по п. Б.3.6.

Б.3.8. Если в заборную камеру попала свободная вода или газ, что определяют визуально через прозрачную нижнюю часть рабочего цилиндра, их выпускают путем установки пробоотборника в горизонтальное положение и открытия выходного вентиля.

Б.4. Наполнение пробами, находящимися под давлением ниже Рmax

Б.4.1. Проводят операции по п.п. Б.3.1 - Б.3.5.

Б.4.2. Движением штока вверх до упора проводят отбор пробы нефти.

Б.4.3. Если в заборную камеру попала свободная вода или газ, их выпускают путем установки пробоотборника в горизонтальное положение, открытия выходного вентиля и перемещения штока с поршнем «вниз».

Б.4.4. Дозаполняют заборную камеру и отсоединяют пробоотборник от устройства.

Рисунок Б.1

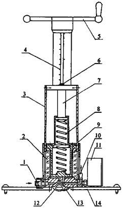
ПРИЛОЖЕНИЕ В

ИНДИВИДУАЛЬНЫЙ ПРОБООТБОРНИК ИП-3

Предназначен для отбора проб нефти, газа и нефтепродуктов, их автоматической подачи в прибор на анализ при заданной температуре.

Пробоотборник может работать как в горизонтальном, так и в вертикальном положении.

В.1. Технические характеристики

В.1.1.

Объем отбираемой пробы, мл

250.

В.1.2.

Максимальное давление отбора, МПа

6,0.

В.1.3.

Начальное давление для перемещения поршня, Р1 МПа

0,1 ... 0,2.

В.1.4.

Конечное давление для перемещения поршня, Р2, МПа

0,2 ... 0,3.

В.1.5.

Масса, кг, не более

3,5.

В.1.6.

Габаритные размеры, мм, не более

350´195´135.

В.2. Устройство пробоотборника (рисунок В.1)

В.2.1. Пробоотборник состоит из пробоотборной камеры и узла пресса.

В.2.2. Пробоотборная камера включает в себя входной штуцер (1), цилиндр (2), выходной штуцер (9), термостатирующую рубашку (10), манометр (11), входной вентиль (12), выходной вентиль (13) и установочные опоры (14).

В.2.3. Узел пресса состоит из корпуса с линейной шкалой (3), рукоятки (4), визира (5), винта (6) с ходовой гайкой (15), пружины (7) и поршня (8).

В.3. Наполнение пробами, находящимися под давлением выше Р2

В.3.1. Подсоединяют пробоотборник к пробозаборному устройству с помощью шланга высокого давления.

В.3.2. Надевают на выходной штуцер (9) резиновую трубку, направленную в открытую сборную емкость.

В.3.3. Открывают пробозаборное устройство и вентили (12) и (13) на пробоотборнике.

В.3.4. После слития в емкость около 50 мл продукта закрывают выходной вентиль (13), дают выдержку 30 с, закрывают входной вентиль (12) и отсоединяют пробоотборник.

В.3.5. Если температура отбираемого продукта (t) ниже максимально ожидаемой температуры (tmax) при транспортировке и хранении, то, приоткрывая выходной вентиль (13), сливают 0,25(tmax - t) мл продукта.

Рисунок В.1

1 - входной штуцер; 2 - цилиндр; 3 - корпус поршня с линейной шкалой; 4 - рукоятка; 5 - визир; 6 - ходовой винт; 7 - пружина; 8 - поршень; 9 - выходной штуцер; 10 - термостатирующая рубашка; 11 - манометр; 12 - входной вентиль; 13 - выходной вентиль; 14 - установочные опоры; 15 - гайка; 16 - положение шланга высокого давления при отборе пробы; 17 - положение шланга высокого давления при измерении ДНП; 18 - фильтр.

В.4. Наполнение пробами, находящимися под давлением ниже Р2

В.4.1. Проводят операции по п.п. В.3.1 - В.3.3.

В.4.2. После слития в емкость около 50 мл продукта, закрывают выходной вентиль (13), вращением рукоятки (4) и винта (6) перемещают поршень (8) и ходовую гайку (15) влево до упора и отбирают пробу продукта.

В.4.3. Вентиль входной (12) закрывают, вращением рукоятки (4) и винта (6) ходовую гайку (15) перемещают вправо до упора, пробоотборник отсоединяют.

В.4.4. Если температура отбираемого продукта (t) ниже максимально ожидаемой температуры (tmax) при транспортировке и хранении, то, приоткрывая выходной вентиль (13), сливают 0,25(tmax - t) мл продукта.

ПРИЛОЖЕНИЕ Г

ИСПАРИТЕЛЬНАЯ КАМЕРА ИК-2

Предназначена для испарения нефти при определении зависимости давления насыщенных паров от массы выделившихся углеводородов.

Г.1. Технические характеристики

Г.1.1.

Вместимость камеры, мл, не менее

170.

Г.1.2.

Максимальное давление, МПа

0,5.

Г.1.3.

Масса, г, не более

350.

Г.1.4.

Габаритные размеры, мм, не более

180´200´110.

Г.2. Устройство камеры (рисунок Г.1)

Г.2.1. Испарительная камера состоит из испарительного стакана (1) и крышки (2).

Г.2.2. Испарительный стакан включает в себя нижний поршень (3) и выходной клапан (4).

Г.2.3. Крышка в своем составе имеет трубку (5) с входным клапаном (6), верхний поршень (7), стяжные толкатели (8), вспомогательные толкатели (9), крепежные винты (10) и распределительный вентиль (11).

Г.3. Работа с испарительной камерой

Г.3.1. Подготовка к работе

Г.3.1.1. Перед началом работ чистый сухой стакан (1) вместе с нижним поршнем (3) и выходным клапаном (4) взвешивают.

Г.3.1.2. Нижний поршень (3) с помощью стяжных толкателей (8) соединяют с верхним поршнем (7).

Г.3.1.3. Стакан (1) соединяют с помощью крепежных винтов (10) с крышкой (2) и соединенные поршни (3), (7), при открытых входном (6) и выходном (4) клапанах, с помощью стяжных толкателей (8) опускают в крайнее нижнее положение.

Г.3.1.4. Посредством распределительного вентиля (11) собранную испарительную камеру подключают к пробоотборнику и прибору.

Г.3.2. Заполнение испарительной камеры

Г.3.2.1. При открытом выходном клапане (4) и закрытом входном клапане (6) открывают распределительный вентиль (11).

Г.3.2.2. После отбора проб нефти в прибор, приоткрывают входной клапан (6), через выходной клапан (4) сливают около 5 мл нефти и закрывают его.

Г.3.2.3. Полностью открывают входной клапан (6) и следят за заполнением испарительного стакана (1) нефтью по подъему стяжных толкателей (8).

Г.3.2.4. После достижения стяжными толкателями (8) крайнего верхнего положения закрывают вначале распределительный вентиль (11), а затем входной клапан (6).

Г.3.3. Процесс испарения и отбора проб на анализ

Г.3.3.1. Откручивают крепежные винты (10) и, придерживая одной рукой стакан, другой отворачивают стяжные толкатели (8).

Г.3.3.2. Плавно опускают испарительный стакан (1) на весы, фиксируют общую массу стакана с нефтью и дают выдержку во времени.

Г.3.3.3. После того, как масса нефти уменьшится на нужную величину, открывают входной клапан (6), отбирают в прибор около 8 мл нефти и закрывают входной клапан (6).

Г.3.3.4. После пропускания через прибор 8 мл нефти, вновь открывают входной клапан (6), отбирают в прибор 20 мл пробы, закрывают входной клапан (6) и фиксируют массу стакана с оставшейся нефтью.

Г.3.3.5. Пока идет второй цикл испарения, проводят измерения ДНП на приборе.

Г.3.3.6. Операции по п.п. Г.3.3.3 - Г.3.3.5 проводят пять раз, затем испарительную камеру отсоединяют, разбирают, промывают и сушат.

Г.3.3.7. При высоких газосодержаниях возможна с применением вспомогательных толкателей принудительная замена находящейся в трубке газонефтяной смеси на нефть, разгазированную в испарительном стакане при первом цикле испарения.

Рисунок Г.1

Приложение Д

Принципиальная схема размещения технических средств при определении количества выделяющихся углеводородов и соответствующего ему ДНП

Рисунок Д.1

1 - прибор АЛП-01 ДП; 2 - индивидуальный пробоотборник; 3 - термостат; 4 - весы лабораторные; 5 - распределитель; 6 - испарительная камера.



© 2013 Ёшкин Кот :-)