| |||||||||||||||||||||||||||||||||||||||||||||||||||||||||||||||||||||||||||||||||||||||||||||||||||||||||||||||||||||||||||||||||||||||||||||||||||||||||||||||||||||||||||||||||||||||||||||||||||||||||||||||||||||||||||||||||||||||||||||||||||||||||||||||||||||||||||||||||||||||||||||||||||||||||||||||||||||||||||||||||||||||||||||||||||||||||||||||||||||||||||||||||||||||||||||||||||||||||||||||||||||||||||||||||||||||||||||||||||||||||||||||||||||||||||||||||||||
|
ФЕДЕРАЛЬНОЕ АГЕНТСТВО
БАТАРЕИ ПЕРВИЧНЫЕ Часть 1 Общие требования IEC 60086-1:2006 Primary batteries - Part 1: General (IDT)
Цели и принципы стандартизации в Российской Федерации установлены Федеральным законом от 27 декабря 2002 г. № 184-ФЗ «О техническом регулировании», а правила применения национальных стандартов Российской Федерации - ГОСТ Р 1.0-2004 «Стандартизация в Российской Федерации. Основные положения» Сведения о стандарте 1 ПОДГОТОВЛЕН Автономной некоммерческой организацией НТЦСЭ «ИСЭП» на основе собственного аутентичного перевода на русский язык международного стандарта, указанного в пункте 4 2 ВНЕСЕН Техническим комитетом по стандартизации ТК 044 «Аккумуляторы и батареи» 3 УТВЕРЖДЕН И ВВЕДЕН В ДЕЙСТВИЕ Приказом Федерального агентства по техническому регулированию и метрологии от 21 декабря 2010 г. № 853-ст 4 Настоящий стандарт идентичен международному стандарту МЭК 60086-1:2006 «Батареи первичные. Часть 1. Общие положения» (IEC 60086-1:2006 «Primary batteries - Part 1: General») При применении настоящего стандарта рекомендуется использовать вместо ссылочных международных стандартов соответствующие им национальные стандарты Российской Федерации, сведения о которых приведены в дополнительном приложении ДА 5 ВЗАМЕН ГОСТ Р МЭК 86-1-96 Информация об изменениях к настоящему стандарту публикуется в ежегодно издаваемом информационном указателе «Национальные стандарты», а текст изменений и поправок - в ежемесячно издаваемых информационных указателях «Национальные стандарты». В случае пересмотра (замены) или отмены настоящего стандарта соответствующее уведомление будет опубликовано в ежемесячно издаваемом информационном указателе «Национальные стандарты». Соответствующая информация, уведомление и тексты размещаются также в информационной системе общего пользования - на официальном сайте Федерального агентства по техническому регулированию и метрологии в сети Интернет СОДЕРЖАНИЕ
Техническое содержание настоящего стандарта состоит из фундаментальных требований и информации о первичных элементах и батареях. Настоящий стандарт - основной стандарт серии стандартов МЭК 60086, базовый для последующих стандартов этой серии. В частности, настоящий стандарт содержит общую информацию относительно применяемых терминов и определений, номенклатуры, размеров и маркировки. В настоящий стандарт включены определенные требования, однако в основном он содержит методологию (как) и обоснования (почему). За время действия настоящий стандарт неоднократно изменяли для улучшения его информационного наполнения, и можно гарантировать, что он будет совершенствоваться и далее в связи с совершенствованием технологии изготовления батарей и устройств с батарейным питанием. Примечание - Безопасность элементов и батарей описана в МЭК 60086-4, МЭК 60086-5, МЭК 62281. ГОСТ Р МЭК 60086-1-2010 НАЦИОНАЛЬНЫЙ СТАНДАРТ РОССИЙСКОЙ ФЕДЕРАЦИИ БАТАРЕИ ПЕРВИЧНЫЕ Часть 1 Общие требования Primary batteries. Part 1. General Дата введения - 2011-07-01 1 Область примененияНастоящий стандарт устанавливает основные технические требования к первичным батареям в соответствии с их электрохимической системой, а также их размеры, номенклатуру, конфигурации выводов, маркировку, методы испытаний, типичные технические характеристики, аспекты безопасности и экологические аспекты. Примечание - Требования, предъявляемые к элементам и батареям для их включения в стандарты серии МЭК 60086, см. в приложении А. Настоящий стандарт предназначен для использования потребителями первичных батарей, проектировщиками оборудования и изготовителями батарей и обеспечивает гарантии того, что батареи, изготовленные различными изготовителями, взаимозаменяемы в части геометрических размеров, допусков и функциональных параметров. Кроме того, настоящий стандарт устанавливает стандартные методы испытаний для проверки первичных элементов и батарей (далее - батареи или первичные батареи, кроме случаев, когда для целей настоящего стандарта необходимо указать требования, распространяющиеся на элементы), что обеспечивает взаимопонимание между потребителями, изготовителями оборудования и изготовителями элементов и батарей. 2 Нормативные ссылкиВ настоящем стандарте использованы нормативные ссылки на следующие стандарты, обязательные при применении настоящего стандарта. Для датированных ссылок применяется только указанное издание. Для недатированных ссылок применяется последнее издание ссылочного документа (включая все изменения и поправки). ИСО 3951 (все части) Методы выборочного контроля по количественным признакам (ISO 3951 (all parts as applicable), Sampling procedures for inspection by variables) МЭК 60086-2 Батареи первичные. Часть 2. Требования к физическим и электрическим характеристикам (IEC 60086-2, Primary batteries - Part 2: Physical and electrical specifications) МЭК 60086-3 Батареи первичные. Часть 3. Батареи для часов (IEC 60086-3, Primary batteries - Part 3: Watch batteries) МЭК 60086-4 Батареи первичные. Часть 4. Безопасность литиевых батарей (IEC 60086-4, Primary batteries - Part 4: Safety of lithium batteries) МЭК 60086-5 Батареи первичные. Часть 5. Безопасность батарей с водным электролитом (IEC 60086-5, Primary batteries - Part 5: Safety of batteries with aqueous electrolyte) МЭК 60410 Правила и планы выборочного контроля по качественным признакам (IEC 60410, Sampling plans and procedures for inspection by attributes) МЭК 61429 Маркирование аккумуляторов и аккумуляторных батарей международным символом переработки ИСО 7000-1135 (IEC 60429, Marking of secondary cells and batteries with the international recycling symbol ISO 7000-1135) ИСО/МЭК Директивы. Часть 1. Процедуры выполнения технических работ (ISO/IEC Directives, Part 1: Procedures for the technical work) 3 Термины и определенияВ настоящем стандарте применены термины, приведенные в МЭК 60050 (482) (часть из которых для удобства приведена ниже), с соответствующими определениями: 3.1 испытание на применение (application test): Моделирование фактического использования батареи в специфических областях применения. 3.2 разряд (первичной батареи) (discharge (of a primary battery)): Действие, в продолжение которого батарея отдает ток во внешнюю цепь. (IEV 482-03-23:2004, модифицированный) 3.3 сухая (первичная) батарея (dry (primary) battery): Первичная батарея, в которой раствор жидкого электролита иммобилизован (неподвижен). (IEV 482-04-14:2004, модифицированный) 3.4 эффективное внутреннее сопротивление - DC метод (effective internal resistance - DC method): Сопротивление всех составных частей, определенное путем расчета отношения падения напряжения DU на этих компонентах и амплитудой тока Di, протекающего через эти компоненты и вызывающего падение напряжения R = DU/Di. Примечание - По аналогии внутреннее d.c. сопротивление любых электрохимических элементов описывают следующей формулой:
Внутреннее d.c. сопротивление иллюстрирует диаграмма изменения напряжения, приведенная на рисунке 1. Рисунок 1 - Диаграмма изменения напряжения Как видно из рисунка, падение напряжения DU состоит из двух составляющих, различных по природе, что вытекает из следующей зависимости: DU = DUW + DU(t). (2) Первая составляющая DUW при t = t1 независима от времени и является результатом увеличения тока Di и соответствует зависимости В этой зависимости RW является активным омическим сопротивлением. Вторая составляющая DU(t) зависит от времени и электрохимического происхождения. 3.5 конечное напряжение EV (end-point voltage EV): Установленное значение напряжения батареи, при котором разряд батареи прекращают. (IEV 482-03-30: 2004, модифицированный) 3.6 утечка (leakage): Незапланированное выделение электролита, газа или иных материалов из батареи. (IEV 482-02-32:2004, модифицированный) 3.7 минимальная средняя продолжительность MAD (minimum average duration, MAD): Минимальная средняя продолжительность разряда, которая должна быть характерна для выборки батарей. Примечание - Испытания на разряд проводят в соответствии с установленными методами или стандартами. Они предназначены для определения соответствия стандарту, применяемому для батарей конкретного типа. 3.8 номинальное напряжение первичной батареи Vn (nominal voltage of a primary battery Vn): Соответствующее приблизительное значение напряжения, которое используется для идентификации первичной батареи. (IEV 482-03-31:2004, модифицированный) 3.9 напряжение замкнутой цепи CCV (on-load voltage, closed-circuit voltage, CCV): Напряжение между выводами батареи при ее разряде. (IEV 482-03-28:2004, модифицированный) 3.10 напряжение разомкнутой цепи (open-circuit voltage, off-load voltage, OCV): Напряжение между выводами батареи при отсутствии протекания тока. (IEV 482-03-32:2004, модифицированный) 3.11 первичная батарея (primary battery): Один первичный элемент или более, включая корпус, выводы и маркировку. 3.12 первичный элемент (primary cell): Источник электрической энергии, получаемой прямым преобразованием химической энергии, который конструктивно не может быть заряжен от любого другого источника тока. (IEV 482-01-02:2004, модифицированный) 3.13 эксплуатационные показатели (первичной батареи) (service output (of a primary battery)): Срок службы, или емкость, или выходная мощность батареи при установленных условиях разряда. 3.14 испытание эксплуатационных характеристик (service output test): Испытание, предназначенное для измерения эксплуатационных характеристик батареи. Примечание - Эксплуатационные испытания могут быть применены, например, в следующих случаях: a) испытания на применение затруднительно повторить; b) продолжительность испытания на применение может не соответствовать целям испытаний. 3.15 срок сохраняемости (storage life): Продолжительность времени при установленных условиях, до конца которого батарея способна сохранять свои эксплуатационные показатели. (IEV 482-03-47:2004, модифицированный) 3.16 выводы (первичной батареи) (terminals (of a primary battery)): Токопроводящая часть батареи, предназначенная для ее соединения с внешней цепью. 4 Требования4.1 Общие положения4.1.1 КонструкцияПервичные батареи продаются главным образом на потребительском рынке. В последнее время они стали более сложными как по химическому составу, так и по конструкции. И емкость, и номинальная мощность выросли для удовлетворения растущих требований, предъявляемых к новым технологиям с батарейным питанием. Вышеупомянутое следует принимать во внимание при проектировании первичных батарей. В частности, должны быть обеспечены соответствие размеров и допусков, физические и электрические характеристики, безопасность работы при нормальном использовании и прогнозируемом неправильном применении. Дополнительную информацию по проектированию оборудования см. в приложении В. 4.1.2 Размеры батарейРазмеры для каждого типа батарей приведены в МЭК 60086-2 и МЭК 60086-3. 4.1.3 ВыводыВыводы батарей должны соответствовать разделу 7 МЭК 60086-2. Их конфигурация должна быть такой, чтобы был гарантирован постоянный прочный электрический контакт. Они должны быть сделаны из материалов, обеспечивающих соответствующую электрическую проводимость и коррозионную стойкость. 4.1.3.1 Устойчивость контактов к деформации В соответствии со спецификационными таблицами или индивидуальными листами спецификаций МЭК 60086-2 контакты должны быть устойчивы к деформации и выдерживать воздействие силой 10 Н в течение 10 с, передаваемой через стальной шар диаметром 1 мм, установленный в центр каждого контакта. Примечание - Исключения см. в МЭК 60086-3. 4.1.3.2 Крышка и основание Тип выводов, используемый в батареях, размеры которых установлены на рисунках 1 и 2 МЭК 60086-2, с цилиндрическим корпусом, изолированным от выводов. 4.1.3.3 Крышка и корпус Тип выводов, используемый в батареях, размеры которых установлены на рисунках 3 и 4 МЭК 60086-2, с цилиндрическим корпусом, в котором цилиндрическая сторона является положительным выводом. 4.1.3.4 Винтовой вывод Винтовой вывод состоит из резьбового стержня и металлической или изолированной гайки. 4.1.3.5 Плоские контакты Плоские контакты представляют собой главным образом плоские металлические поверхности, способные создать электрический контакт с подходящим контактом опорного механизма, расположенного напротив них. 4.1.3.6 Плоские и спиральные пружины Контакты, состоящие из плоских металлических полос или скрученного спиралью провода, который с помощью своей формы создает контакт давлением. 4.1.3.7 Штепсельное гнездо Штепсельное гнездо - сборка из металлических контактов, смонтированная в изоляционном корпусе или зажимном приспособлении, и соответствующих им контактов штепсельного разъема. 4.1.3.8 Кнопки Кнопки представляют собой комбинацию шпильки (не упругой) в качестве положительного вывода и розетки (упругой) в качестве отрицательного вывода. Они должны быть изготовлены из подходящего металла для обеспечения эффективного электрического соединения в случае соединения с ответной частью внешней цепи. 4.1.3.8.1 Расстояние между контактами Межцентровые расстояния между шпилькой (штырем) и розеткой приведены в таблице 1. Шпилька всегда осуществляет положительное подключение, а розетка - отрицательное. Таблица 1 - Расстояние между контактами
4.1.3.8.2 Неупругие кнопочные соединители (кнопки) Все неустановленные размеры выбираются свободно. Форма кнопки должна быть выбрана в соответствии с установленными размерами.
Рисунок 2 - Кнопка Таблица 2 - Кнопочные соединители В миллиметрах
4.1.3.8.3 Упругие кнопочные соединители (розетки). Размеры и требования Размеры упругих частей кнопочного соединителя (розеток) не устанавливаются. Они должны иметь следующие свойства: a) упругость контактов гарантирует правильное совмещение розетки со штырями; b) обеспечивается хороший электрический контакт. 4.1.3.9 Проволочный вывод Проволочный вывод бывает одножильным и многожильным из гибкой луженой меди. Изоляция может быть из хлопкового шнура или подходящего пластика. Положительный проводной вывод должен быть красным, а отрицательный - черным. 4.1.3.10 Другие пружинные контакты и зажимы Эти контакты применяют в случае, когда соответствующие части внешней цепи не точно установлены. Они должны быть выполнены из пружинной латуни или другого материала с аналогичными свойствами. 4.1.4 Классификация (электрохимические системы)Первичные батареи классифицируют в соответствии с их электрохимической системой. Каждая система, за исключением системы цинк-хлористый аммоний, хлористый цинк-двуокись марганца, имеет обозначение в виде символов, обозначающих конкретную систему. Стандартизованные электрохимические системы приведены в таблице 3. Таблица 3 - Стандартизованные электрохимические системы
4.1.5 ОбозначениеОбозначение первичных батарей основано на их физических характеристиках, электрохимической системе, а также, при необходимости, на модификациях. Полное разъяснение обозначений систем (номенклатура) см. в приложении С. 4.1.6 МаркировкаЗа исключением батарей, относимых к малогабаритным, каждая батарея должна иметь маркировку, содержащую следующую информацию: a) обозначение; b) дату истечения рекомендуемого периода эксплуатации, или год и месяц, или неделю изготовления. Год и месяц или неделя изготовления могут быть указаны в виде кода; c) полярность выводов (если возможно); d) номинальное напряжение; e) наименование или торговую марку изготовителя или поставщика; f) руководящие указания. 4.1.6.2 Маркировка малогабаритных батарей a) В случае если это установлено МЭК 60086-2, главным образом для батарей категорий 3 и 4, сведения по перечислениям а) и с) 4.1.6.1 должны быть нанесены на батарею. Сведения по перечислениям b), d), e) 4.1.6.1 могут быть размещены непосредственно на упаковке, а не на батарее. b) Для батарей Р-системы сведения по перечислению а) 4.1.6.1 могут быть нанесены как на батарею, так и на изолированный вывод или на упаковку, сведения по перечислению с) 4.1.6.1 - на изолированный вывод батареи и (или) на батарею. Сведения по перечислениям b), d), e) 4.1.6.1 могут быть размещены непосредственно на упаковке, а не на батарее. c) Должно быть дано указание о возможности проглатывания маленьких батарей. Дополнительные сведения приведены в МЭК 60086-4 (перечисление m) подпункта 7.2 и пункт 9.2) и МЭК 60086-5 (перечисление l) подпункта 7.1 и пункт 9.2). 4.1.6.3 Маркировка батарей символами способа утилизации Маркировка батарей, определяющая способ утилизации, должна соответствовать действующему законодательству Российской Федерации. При необходимости следует пользоваться рекомендациями МЭК 61429. 4.1.7 Взаимозаменяемость: напряжение батареиПервичные батареи согласно стандартам серии МЭК 60086 могут быть классифицированы в соответствии с их стандартным напряжением разряда Us1). Для батарей новых систем их взаимозаменяемость по напряжению оценивают для согласования по следующей формуле: _____________ 1) Стандартное разрядное напряжение Us было введено для соблюдения принципа возможности экспериментальной проверки. Ни один из двух показателей, таких как номинальное напряжение и максимальное напряжение нагрузки, не соответствует этому требованию. n × 0,85Ur £ m × Us £ n × 1,15Ur, где n - количество элементов, соединенных последовательно, с базовым справочным напряжением Ur; т - количество элементов, соединенных последовательно, с базовым стандартным разрядным напряжением Us. Два диапазона напряжения, указанные в формуле, должны быть идентифицированы. Они определяются через опорное напряжение Ur, которое является средним значением соответствующего диапазона напряжений. Диапазон напряжений 1, Ur = 1,4 В: батареи, имеющие стандартные напряжения, равные mUs, или находящиеся внутри диапазона от 1,19n до 1,61n В. Диапазон напряжений 2, Ur = 3,2 В: батареи, имеющие стандартные напряжения, равные mUs, или находящиеся внутри диапазона от 2,72n В до 3,68n В. Определение термина «стандартное разрядное напряжение» и соответствующие его величины, а также методы их определения приведены в приложении F. Примечание - Для батарей, состоящих из одного элемента, и многоэлементных батарейных сборок, состоящих из элементов с одинаковым диапазоном напряжений, значения тип должны быть одинаковыми. Значения тип должны быть различными для многоэлементных батарей, если сборка состоит из элементов, отличающихся по диапазону от стандартизованных батарей. Диапазон напряжений 1 включает в себя батареи с номинальным напряжением 1,5 В, т.е. системы без обозначения A, F, G, L, P, S и Z, а диапазон напряжений 2 - батареи с номинальным напряжением около 3 В, т.е. системы В, С, Е. Поскольку батареи диапазона напряжения 1 и диапазона напряжения 2 значительно различаются по разрядному напряжению, их следует проектировать так, чтобы они были физически невзаимозаменяемыми. Прежде чем стандартизировать новую электрохимическую систему, ее стандартное разрядное напряжение должно быть определено в соответствии с процедурой, приведенной в приложении F, чтобы решить вопрос о взаимозаменяемости по напряжению. ПРЕДУПРЕЖДЕНИЕ - Отказ от выполнения этого требования может представлять для пользователя опасность (например, огонь, взрыв, утечка и (или) повреждение устройства). Это требование необходимо для соблюдения безопасности и работоспособности. 4.2 Технические характеристики4.2.1 Разрядные характеристикиРазрядные характеристики первичных батарей указаны в МЭК 60086-2 и МЭК 60086-3. 4.2.2 Стабильность размеровРазмеры батарей должны соответствовать специфицированным размерам, указанным в МЭК 60086-2 и МЭК 60086-3, и оставаться стабильными в течение всего времени испытаний на разряд в стандартных условиях, указанных в настоящем стандарте. Примечание 1 - Допускается увеличение высоты на 0,25 мм для дисковых (кнопочных) элементов электрохимических систем В, С, G, L, P, S, если они разряжены ниже установленного конечного напряжения. Примечание 2 - Для некоторых дисковых (кнопочных) элементов электрохимических систем С и В может произойти уменьшение их высоты в процессе проведения разряда. 4.2.3 УтечкиНе должно наблюдаться утечки при хранении и разряде батарей в случае стандартных условий, указанных в настоящем стандарте. 4.2.4 Пределы напряжений разомкнутой цепиМаксимальное напряжение разомкнутой цепи батареи не должно превышать значений, указанных в 4.1.4 и таблице 3. 4.2.5 Эксплуатационные характеристикиПродолжительности разряда, начальные и изменяющиеся со временем, должны соответствовать требованиям МЭК 60086-2 и МЭК 60086-3. 4.2.6 БезопасностьПри проектировании батарей должны быть учтены требования безопасности при использовании по назначению и возможном неправильном применении, как установлено в МЭК 60086-4 и МЭК 60086-5. 5 Технические характеристики. Испытания5.1 Общие положенияДля подготовки стандартных методов измерений характеристик (SMMP) потребительских товаров необходимо ознакомиться с приложением G. 5.2 Испытания на разрядИспытания на разряд, установленные настоящим стандартом, делятся на две категории: - испытания на применение; - эксплуатационные испытания. Для обеих категорий испытаний сопротивления нагрузки специфицированы в соответствии с 6.4. Методы определения нагрузки и условия проведения испытаний приведены ниже. 5.2.1 Испытания на применениеa) Эквивалентное сопротивление рассчитывают, исходя из среднего значения тока и среднего действительного напряжения оборудования под нагрузкой; b) функциональное конечное напряжение и значение эквивалентного сопротивления рассчитывают по данным, полученным со всего измерительного оборудования; c) средняя категория определяет конечное напряжение и эквивалентное значение сопротивления, используемое при испытаниях на разряд; d) если данные измерений сгруппированы в две и более далеко отстоящие друг от друга группы, может потребоваться проведение более одного испытания; e) при выборе суточной продолжительности разряда рассматривают возможность полного еженедельного использования оборудования. Суточная продолжительность разряда в этом случае должна быть наиболее приближенным предпочтительным значением (см. 6.5) к 1/7 полного еженедельного использования оборудования. Примечание 1 - Некоторые установленные испытания на разряд на сопротивления были выбраны для того, чтобы упростить конструкцию и гарантировать надежность испытательного оборудования, несмотря на то, что в определенных случаях испытания при постоянном токе или при постоянной мощности могут быть более представительными для испытаний на применение. В дальнейшем могут быть применены альтернативные условия нагрузки при проведении испытаний. Нагрузочные характеристики определенных категорий оборудования также будут изменяться со временем в связи с развитием технологий. Не всегда возможно точное определение функционального конечного напряжения оборудования. Условия разряда в лучшем случае - компромисс, выбранный для представления категории оборудования, характеристики которого могут иметь широкий диапазон. Однако, несмотря на указанные ограничения, представленные испытания на применение - лучшие из известных для оценки возможности использования батареи для определенной категории оборудования. Примечание 2 - В целях минимизации роста количества испытаний на применение специфицируемые испытания должны охватывать до 80 % рынка определенного типа батарей. 5.2.2 Эксплуатационные испытанияДля проведения эксплуатационных испытаний значение сопротивления нагрузки должно быть выбрано таким образом, чтобы их продолжительность была приблизительно 30 сут. Когда полная емкость не может быть снята в пределах требуемых временных рамок, продолжительность эксплуатационных испытаний может быть увеличена на короткое время, после того как будет выбрано более высокое значение сопротивления нагрузки, как установлено в 6.4. 5.3 Проверка соответствия установленной минимальной средней продолжительности разрядаДля проверки соответствия батарей могут быть выбраны испытания на применение или эксплуатационные испытания (любая из двух категорий), установленные в МЭК 60086-2 и МЭК 60086-3. Испытания должны быть проведены следующим образом: a) испытаниям подвергают 9 батарей; b) проводят расчет среднего значения с включением всех результатов испытаний; c) в случае если расчетное среднее значение равно или больше, чем значение, установленное в спецификации, и не более одной батареи имеют эксплуатационные характеристики меньше, чем 80 % установленного значения, батареи считают соответствующими эксплуатационным характеристикам; d) в случае если расчетное среднее значение меньше, чем значение, установленное в спецификации, и (или) более одной батареи имеют эксплуатационные характеристики меньше, чем 80 % установленного значения, следует повторить испытание на другой выборке из 9 батарей и снова рассчитать среднее значение, как указано выше; e) в случае если расчетное среднее значение по результатам второго испытания равно или больше, чем значение, установленное в спецификации, и не более одной батареи имеют эксплуатационные характеристики меньше, чем 80 % установленного значения, батареи считают соответствующими эксплуатационным характеристикам; f) в случае если расчетное среднее значение меньше, чем значение, установленное в спецификации, и (или) более одной батареи имеют эксплуатационные характеристики меньше, чем 80 % установленного значения, батареи считают не соответствующими эксплуатационным характеристикам и дальнейшие испытания не проводят. Примечание - Разрядные характеристики первичных батарей специфицированы в МЭК 60086-2. 5.4 Расчетный метод установленного значения минимальной средней продолжительности разрядаМетод расчета см. в приложении D. 5.5 Проверка напряжения разомкнутой цепи (OCV)Напряжение разомкнутой цепи первичных батарей должно быть измерено с помощью измерительного оборудования для измерения напряжения, имеющего характеристики, указанные в 6.8.1. 5.6 Размеры батарейРазмеры батарей должны быть измерены с помощью измерительного оборудования, имеющего характеристики, указанные в 6.8.2. 5.7 Утечка и деформацияПо окончании проверки эксплуатационных характеристик при установленных условиях окружающей среды разряд батареи должен быть продолжен таким же образом до тех пор, пока напряжение замкнутой цепи впервые не снизится ниже 40 % значения номинального напряжения батареи. Батареи должны удовлетворять требованиям 4.1.3, 4.2.2, 4.2.3. 6 Технические характеристики. Условия испытаний6.1 Предразрядная подготовкаХранение перед проведением разряда и фактические разрядные испытания необходимо проводить в строго определенных условиях. Если не установлено иное, необходимо соблюдать условия, установленные в таблице 4. Условия при проведении разряда, приведенные далее, следует считать стандартными. Таблица 4 - Условия для хранения перед и во время проведения разрядных испытаний
6.2 Первоначальные разрядные испытания после храненияПродолжительность периода между окончанием хранения и началом последующего испытания на разряд не должна превышать 14 сут. В течение этого периода батареи необходимо хранить при температуре (20 ± 2) °С и относительной влажности (60 ± 15) % [за исключением батарей Р-системы, для которых значение относительной влажности должно быть (60 ± 10) %]. Батареи должны быть выдержаны в течение минимум 1 сут при вышеуказанных условиях для их нормализации перед началом проведения испытаний на разряд после хранения при высокой температуре. 6.3 Условия проведения испытаний на разрядВ целях испытаний батарей они должны быть разряжены согласно требованиям МЭК 60086-2 до первого падения напряжения на нагрузке ниже установленного конечного напряжения. Эксплуатационные показатели могут быть представлены как в виде продолжительности, так и в ампер-часах или в ватт-часах. В случае если в соответствии с МЭК 60086-2 эксплуатационные показатели включают в себя более одного разрядного испытания, батареи должны отвечать всем этим требованиям, чтобы соответствовать МЭК 60086-2. 6.4 Сопротивления нагрузкиЗначения активной нагрузки (которая включает в себя все части внешней цепи) должны быть установлены в соответствующем спецификационном листе. Значения должны быть указаны с точностью 0,5 %. При введении новых испытаний активная нагрузка должна по возможности соответствовать показаниям таблицы 5. Таблица 5 - Активные нагрузки для новых испытаний Значения в омах с их десятикратным увеличением или уменьшением
6.5 Периоды времени разрядаПериоды времени разряда и времени покоя должны быть установлены в соответствии с указанными в МЭК 60086-2. При введении новых испытаний по возможности следует применять следующую суточную продолжительность периодов разряда согласно таблице 6. Таблица 6 - Периоды разряда для новых испытаний
В ином случае - согласно МЭК 60086-2. 6.6 Допустимые отклонения условий испытанийНеобходимо применять допустимые отклонения условий испытаний, указанные в таблице 7, если не установлено иное. Таблица 7 - Допустимые отклонения условий испытаний
6.7 Активация батарей Р-системыМежду активацией батарей и началом электрических измерений должно пройти не менее 10 мин. 6.8 Измерительное оборудование6.8.1 Измерение напряженияПогрешность измерительного оборудования должна быть не более 0,25 %, а точность измерений - не более 50 % значения последней значащей цифры. Внутреннее сопротивление измерительного оборудования должно быть более или равно 1 МОм. 6.8.2 Измерение линейно-геометрическоеПогрешность измерительного оборудования должна быть не более 0,25 %, а точность измерений - не более 50 % значения последней значащей цифры. 7 Отбор образцов и проверка качестваИспользуемые планы выборочного контроля и показатели качества продукции должны быть согласованы между изготовителем и потребителем. 7.1 Отбор образцов7.1.1 Контроль по качественным признакамПри необходимости проведения испытаний по качественным признакам план контроля должен соответствовать установленному в МЭК 60410. Должны быть установлены проверяемые индивидуальные параметры и приемлемый уровень качества (AQL) (минимум три батареи каждого типа должны быть испытаны). 7.1.2 Контроль по количественным признакамПри необходимости проведения испытаний по количественным признакам план контроля должен соответствовать установленному в ИСО 3951. Должны быть установлены проверяемые индивидуальные параметры, объем выборки и приемлемый уровень качества (AQL). 7.2 Показатели качества продукцииМожет быть применен один из нижеприведенных показателей качества, посредством которых может быть оценено и обеспечено качество продукции. 7.2.1 Показатель мощности срЭтот показатель характеризует возможности процесса. Он устанавливает, сколько образцов s¢ может выйти из строя в пределах типового изменения процесса, и определяется следующим образом:
где 6R/d2 - диапазон процесса. Если ср ³ 1 и центрировано, то возможно производство продукции соответствующей спецификации. Однако если ср = 1, то автоматически количество образцов продукции, не соответствующих спецификации, будет 2700×10-6 штук. Примечание - USL равен верхнему пределу показателя, установленному в спецификации, LSL равен нижнему пределу показателя, установленному в спецификации, R равен среднему значению диапазона процесса, d2 равен общему статистическому коэффициенту, связанному с R. 7.2.2 Показатель мощности сркПоказатель мощности срк характеризует
возможности процесса и показывает устойчивость процесса к встречающимся
допускам и центрирован ли процесс относительно заданной величины. Как и в
случае с показателем ср, предполагается, что отбор выборки
происходит из устойчивого процесса и изменение является случайным, измеренным в
пределах изменения выборки 7.2.3 Показатель производительности рррр - показатель производительности процесса, показывающий, сколько образцов из допускаемого диапазона непригодно при полном отклонении в системе. Это показатель того, как система фактически себя ведет, потому что все источники изменения включены в s¢T. Значение s¢T рассчитывают, исходя из того, что все наблюдения представляются как одна большая выборка. рр определяется как равное (USL - LSL)/6s¢T. 7.2.4 Показатель производительности рркррк - другой индекс производительности процесса, показатель фактической производительности процесса, как и приведенный выше показатель рр но подобно срк он также показывает, как центрирован процесс. ppk
представляет собой минимальное значение из где s¢T включает в себя все источники вариации в системе. 8 Упаковка батарейПрактическое руководство по упаковке батарей, отгрузке, хранению, использованию и утилизации см. в приложении Е. Приложение А
| |||||||||||||||||||||||||||||||||||||||||||||||||||||||||||||||||||||||||||||||||||||||||||||||||||||||||||||||||||||||||||||||||||||||||||||||||||||||||||||||||||||||||||||||||||||||||||||||||||||||||||||||||||||||||||||||||||||||||||||||||||||||||||||||||||||||||||||||||||||||||||||||||||||||||||||||||||||||||||||||||||||||||||||||||||||||||||||||||||||||||||||||||||||||||||||||||||||||||||||||||||||||||||||||||||||||||||||||||||||||||||||||||||||||||||||||||||||
|
Диаметр |
Длина |
Ширина |
Толщина |
|
|
F15 |
- |
14,5 |
14,5 |
3,0 |
|
F16 |
- |
14,5 |
14,5 |
4,5 |
|
F20 |
- |
24 |
13,5 |
2,8 |
|
F22 |
- |
24 |
13,5 |
6,0 |
|
F24 |
23 |
- |
- |
6,0 |
|
F25 |
- |
23 |
23 |
6,0 |
|
F30 |
- |
32 |
21 |
3,3 |
|
F40 |
- |
32 |
21 |
5,3 |
|
F50 |
- |
32 |
32 |
3,6 |
|
F70 |
- |
43 |
43 |
5,6 |
|
F80 |
- |
43 |
43 |
6,4 |
|
F90 |
- |
43 |
43 |
7,9 |
|
F92 |
- |
54 |
37 |
5,5 |
|
F95 |
- |
54 |
38 |
7,9 |
|
F100 |
- |
60 |
45 |
10,4 |
|
Примечание - Полностью габаритные размеры этих батарей приведены в МЭК 60086-2. |
||||
Таблица С.3 - Физическое обозначение и габаритные размеры квадратных элементов и батарей
Размеры в миллиметрах
|
Номинальные размеры элементов |
Максимальные размеры батарей |
|||||
|
Длина |
Ширина |
Высота |
Длина |
Ширина |
Высота |
|
|
S4 |
- |
- |
- |
57,0 |
57,0 |
125,0 |
|
S6 |
57 |
57 |
150 |
- |
- |
- |
|
S8 |
- |
- |
- |
85,0 |
85,0 |
200,0 |
|
S10 |
95 |
95 |
180 |
- |
- |
- |
|
Примечание - Полностью габаритные размеры этих батарей приведены в МЭК 60086-2. |
||||||
В некоторых случаях в таблицах приведены габаритные размеры элементов, не установленные в МЭК 60086-2, в связи с тем, что их используют в национальных стандартах.
С.1.2 Электрохимическая система
За исключением системы цинк-хлористый аммоний, хлористый цинк-двуокись марганца, буквам R, F и S предшествует буква, обозначающая электрохимическую систему (см. таблицу 3).
Если батарея состоит из одного элемента, для ее обозначения используют обозначение элемента.
Если батарея включает в себя более одного элемента, соединенных последовательно, перед обозначением элемента указывают число, обозначающее количество применяемых элементов.
Если элементы соединены параллельно, число, обозначающее количество параллельных групп, следует за обозначением элемента. Между ними ставится дефис.
Если батарея состоит из более чем одной секции, каждую секцию обозначают отдельно и их обозначения разделяют наклонной чертой.
В целях исключения двусмысленности обозначения батареи варианты одного основного обозначения типа батареи могут различаться буквами X или Y для указания различного размещения или выводов и буквами С, Р или S, чтобы указать различные характеристики мощности батареи.
С.1.5 Примеры
R20 - Батарея, которая состоит из одного элемента размера R20 системы цинк-хлористый аммоний, хлористый цинк-двуокись марганца.
LR20 - Батарея, которая состоит из одного элемента размера R20 системы цинк-гидроокись щелочного металла-двуокись марганца.
3R12 - Батарея, которая состоит из трех последовательно соединенных элементов размера R12 системы цинк-хлористый аммоний, хлористый цинк-двуокись марганца.
4R25X - Батарея, которая состоит из четырех последовательно соединенных элементов R25 системы цинк-хлористый аммоний, хлористый цинк-двуокись марганца со спиральным пружинным контактом.
С.2 Система обозначения, используемая после октября 1990 года
Этот раздел распространяется на все батареи, которые были стандартизованы после октября 1990 года.
Основанием для этой системы обозначения (номенклатуры) является концепция понимания батареи посредством применяемой системы обозначения. Это достигается использованием в качестве основы диаметра и высоты корпуса для всех как цилиндрических (R), так и нецилиндрических (Р) батарей.
Этот раздел распространяется как на батареи, состоящие из одного элемента, так и на батареи, состоящие из нескольких элементов, соединенных последовательно и (или) параллельно.
Например, батарею с максимальным диаметром 11,6 мм и максимальной высотой 5,4 мм обозначают как R1154. Этому обозначению предшествует обозначение кода электрохимической системы батареи, как описано в этом разделе.
С.2.1 Цилиндрические батареи
С.2.1.1 Цилиндрические батареи с диаметром и высотой менее 100 мм
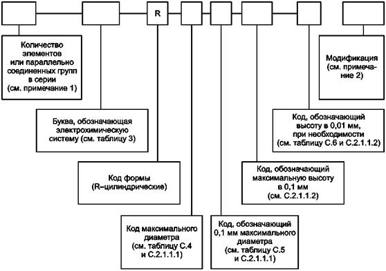
Обозначение цилиндрических батарей с диаметром и высотой менее 100 мм приведено на рисунке С.1.
Примечание 1 - Количество элементов или групп, соединенных параллельно, не устанавливается.
Примечание 2 - Модификации включают для обозначения, например, специфического расположения выводов, нагрузочной способности и иных специальных требований.
Рисунок С.1 - Обозначение систем цилиндрических батарей диаметром менее 100 мм и высотой менее 100 мм
С.2.1.1.1 Метод определения кода диаметра
Шифр кода диаметра основывается на максимальном диаметре. Его устанавливают в соответствии с:
a) таблицей С.4 в случае рекомендуемых диаметров;
b) таблицей С.5 в случае нерекомендуемых диаметров.
Таблица С.4 - Код диаметра для рекомендуемых значений диаметров
Размеры в миллиметрах
|
Рекомендуемый максимальный диаметр |
Код |
Рекомендуемый максимальный диаметр |
|
|
4 |
4,8 |
20 |
20,0 |
|
5 |
5,8 |
21 |
21,0 |
|
6 |
6,8 |
22 |
22,0 |
|
7 |
7,9 |
23 |
23,0 |
|
8 |
8,5 |
24 |
24,5 |
|
9 |
9,5 |
25 |
25,0 |
|
10 |
10,0 |
26 |
26,2 |
|
11 |
11,6 |
28 |
28,0 |
|
12 |
12,5 |
30 |
30,0 |
|
13 |
13,0 |
32 |
32,0 |
|
14 |
14,5 |
34 |
34,2 |
|
15 |
15,0 |
36 |
36,0 |
|
16 |
16,0 |
38 |
38,0 |
|
17 |
17,0 |
40 |
40,0 |
|
18 |
18,0 |
41 |
41,0 |
|
19 |
19,0 |
67 |
67,0 |
Таблица С.5 - Код диаметра для нерекомендуемых значений диаметров
С.2.1.1.2 Метод определения кода высоты
Код высоты - число, выраженное в целых числах максимального значения высоты батареи, выраженной в десятых долях миллиметра (т.е. при значении максимальной высоты 3,2 мм высота выражается числом 32).
Максимальную высоту определяют следующим образом:
a) при плоских контактных выводах батареи максимальной высотой считают общую высоту, включая выводы;
b) при других типах выводов максимальной высотой считают общую высоту, исключая выводы (от нижнего края до верхнего края).
В случае необходимости установить значения высоты в сотых долях миллиметра код высоты может быть описан в соответствии с таблицей С.6.
Таблица С.6 - Код высоты, установленный в сотых долях высоты в миллиметрах
Примечание - Код в сотых долях миллиметра применяют при необходимости.
Пример 1
LR1154 - Батарея, состоящая из одного цилиндрического элемента или соединенных параллельно групп с максимальным диаметром 11,6 мм (по таблице С.4) и максимальной высотой 5,4 мм электрохимической системы цинк - гидроокись щелочного металла - двуокись марганца.
Пример 2
LR27A116 - Батарея, состоящая из одного цилиндрического элемента или соединенных параллельно групп с максимальным диаметром 27 мм (по таблице С.5) и максимальной высотой 11,6 мм электрохимической системы цинк - гидроокись щелочного металла - двуокись марганца.
Пример 3
LR2616J - Батарея, состоящая из одного цилиндрического элемента или соединенных параллельно групп с максимальным диаметром 26,2 мм (по таблице С.4) и максимальной высотой 1,67 мм (по таблице С.6) электрохимической системы цинк - гидроокись щелочного металла - двуокись марганца.
С.2.1.2 Цилиндрические батареи с диаметром и (или) высотой, равной или превышающей 100 мм
Обозначение цилиндрических батарей с диаметром и (или) высотой, равной или превышающей 100 мм, приведено на рисунке С.2.
Примечание 1 - Количество элементов или групп, соединенных параллельно, не устанавливается.
Примечание 2 - Модификации включают для обозначения, например, специфического расположения выводов, нагрузочной способности и иных специальных требований.
Рисунок С.2 - Обозначение систем цилиндрических батарей диаметром, равным или превышающим 100 мм, и высотой, равной или превышающей 100 мм
С.2.1.2.1 Метод определения кода диаметра
Код диаметра определяют по максимальному значению диаметра. Это целое число максимального диаметра батареи, выраженного в миллиметрах.
С.2.1.2.2 Метод определения кода высоты
Код высоты - целое число максимальной высоты батареи, выраженной в миллиметрах.
Максимальную высоту определяют следующим образом:
a) при плоских контактных выводах батареи (т.е. если батарея соответствует рисункам 1 - 4 МЭК 60086-2) максимальной высотой считают общую высоту, включая выводы;
b) при других типах выводов максимальной высотой считают общую высоту, исключая выводы (от нижнего края до верхнего края).
Пример
5R184/177 - Цилиндрическая батарея, состоящая из пяти элементов или соединенных параллельно групп, системы цинк - хлористый аммоний, хлористый цинк - двуокись марганца, соединенных последовательно, диаметром 184,00 мм и максимальной высотой от верхнего до нижнего края 177,0 мм.
С.2.2 Нецилиндрические батареи
Система обозначения нецилиндрических батарей следующая.
Строят воображаемый цилиндр по точкам поверхностей корпуса, из которых выходят выводы батарей. Рассчитывают диагональ, которая является диаметром воображаемого цилиндра, используя максимальные размеры длины l и ширины w.
Для обозначения используют целое число значения диаметра цилиндра в миллиметрах и целое число максимальной высоты в миллиметрах.
Максимальную высоту устанавливают следующим образом:
a) при плоских контактных выводах батареи максимальной высотой считают общую высоту, включая выводы;
b) при других типах выводов максимальной высотой считают общую высоту, исключая выводы (от нижнего края до верхнего края).
Примечание - В случае, если у батареи два или более выводов, выходящих с разных поверхностей батареи, в расчет принимают один контакт c наибольшим значением напряжения.
С.2.2.1 Нецилиндрические батареи с размерами менее 100 мм
Обозначение нецилиндрических батарей с диаметрами менее 100 мм приведено на рисунке С.3.
Примечание 1 - Количество элементов или групп, соединенных параллельно, не устанавливается.
Примечание 2 - Модификации включают для обозначения, например, специфического расположения выводов, нагрузочной способности и иных специальных требований.
Примечание 3 - В случае необходимости указать высоту с точностью до десятых долей миллиметра применяют код в соответствии с таблицей С.7.
Рисунок С.3 - Обозначение систем нецилиндрических батарей с размерами менее 100 мм
Пример - 6LP3146 - Батарея, состоящая из шести элементов или групп, соединенных параллельно, системы цинк - гидроокись щелочного металла - двуокись марганца, соединенных последовательно, с максимальной длиной 26,5 мм, шириной 17,5 мм и высотой 46,4 мм.
Целочисленный диаметр этой поверхности рассчитывают исходя из длины l и ширины w следующим образом:
![]()
Целочисленный диаметр равен 31 мм.
С.2.2.2 Нецилиндрические батареи с размерами, равными или превышающими 100 мм

Примечание 1 - Количество элементов или групп, соединенных параллельно, не устанавливается.
Примечание 2 - Модификации включают для обозначения, например, специфического расположения выводов, нагрузочной способности и иных специальных требований.
Примечание 3 - В случае необходимости указать высоту с точностью до десятых долей миллиметра применяют код в соответствии с таблицей С.7.
Рисунок С.4 - Обозначение систем нецилиндрических батарей с размерами, равными или превышающими 100 мм
Таблица С.7 - Код высоты, установленный в десятых долях высоты в миллиметрах
Примечание - Код используют при необходимости.
Пример - 6Р222 - Батарея, состоящая из шести элементов или групп, соединенных параллельно, системы цинк - хлористый аммоний, хлористый цинк - диоксид марганца, соединенных последовательно, с максимальной длиной 192 мм, шириной 113 мм и высотой 162 мм.
С.2.3 Неопределенности
Могут быть случаи, когда две или более батареи будут иметь одинаковый диаметр и высоту воображаемого цилиндра. В этом случае к обозначению подобной батареи добавляют обозначение «-1».
Таблица С.8 - Физические обозначения и размеры цилиндрических элементов и батарей, базирующихся на требованиях раздела С.2
Размеры в миллиметрах
Таблица С.9 - Физические обозначения и размеры нецилиндрических элементов и батарей, базирующихся на требованиях С.2
Размеры в миллиметрах
Значение минимальной средней продолжительности разряда рассчитывают следующим образом:
a) представляют случайно выбранные данные измерений значений продолжительности разряда, но которые продолжались не менее 10 недель;
b) рассчитывают среднее значение
продолжительности разряда по
результатам измерений продолжительности разряда х девяти образцов каждой
выборки.
Примечание - Если несколько значений выходят за пределы 3s этой выборки, то эти значения не учитывают при вычислениях;
c) рассчитывают среднее
вышеупомянутого среднего значения
каждой
выборки, а также
;
d) значение минимальной средней продолжительности предусмотрено для каждой области:
А: ![]()
В: ![]()
Рассчитывают значения А и В. Большее из двух значений чисел и будет минимальной средней продолжительностью.
Наилучшее удовлетворение потребностей потребителей первичных батарей - это комбинация действий по качественному изготовлению, распределению и использованию.
Цель этого руководства состоит в том, чтобы описать эту комбинацию действий в целом. Они изложены в форме рекомендаций для изготовителей батарей, дистрибьюторов и пользователей.
Е.1 Упаковка
Упаковка должна обеспечивать защиту от механического повреждения во время транспортирования, обслуживания и штабелирования. Материалы и конструкция упаковки должны быть такими, чтобы обеспечить отсутствие случайной электропроводности, коррозии выводов и обеспечить защиту от проникновения влаги.
Е.2 Транспортирование и обслуживание
Удары и вибрации при транспортировании и обслуживании должны быть сведены к минимуму. Например, коробки недопустимо бросать с грузовиков, резко устанавливать на место или штабелировать так высоко, что нижние контейнеры с батареями будут перегружены. Должна быть обеспечена защита от внешних климатических воздействий.
Е.3 Хранение и перемещения при хранении
Место хранения должно быть чистым, прохладным, сухим, вентилируемым и защищенным от внешних климатических воздействий.
Для нормального хранения температура должна быть от 10 °С до 25 °С и не должна превышать 30 °С. Необходимо избегать экстремальных значений влажности (более чем 95 % и ниже 40 % относительной влажности) в течение длительных периодов, потому что они вредны как для батарей, так и для упаковки. Батареи недопустимо хранить рядом с радиаторами или бойлерами и под прямыми солнечными лучами.
Несмотря на то что нормальными условиями хранения батарей являются условия при комнатной температуре, при хранении при более низких температурах (например, в холодных комнатах при температуре от минус 10 °С до плюс 10 °С или в условиях холодильника при температуре ниже минус 10 °С) должны быть обеспечены специальные меры предосторожности.
Батареи должны быть размещены в специальной защитной упаковке (такой как запечатанные полиэтиленовые пакеты или иные виды упаковки), которая обеспечит их сохранность и защитит их от конденсата, могущего появиться при нагреве в условиях температуры окружающей среды. Быстрое нагревание вредно.
Батареи, которые находились при холодном хранении (хранение при пониженной температуре), должны быть использованы как можно скорее после их перемещения к нормальным условиям окружающей среды.
Батареи допустимо хранить установленными в оборудование или упаковку, если это разрешено изготовителем батареи.
Высота, на которую могут быть помещены батареи при хранении в штабелях, напрямую зависит от основания упаковки. В общем случае эта высота не должна превышать 1,5 м для картонных упаковок или 3 м для деревянных упаковок.
Вышеупомянутые рекомендации также распространяются на условия хранения и во время длительного транспортирования. Таким образом, батареи должны быть удалены от судовых механизмов и не должны перемещаться в течение длительных периодов в непроветренных металлических товарных вагонах (контейнерах) в летний период.
Батареи должны быть сразу после изготовления перемещены попеременно к дистрибутивным центрам и к пользователям. Чтобы осуществить такое перемещение («первый поступил, первый продан»), склады и демонстрационные места должны быть должным образом спроектированы, а упаковки соответствующим образом отмечены.
Е.4 Места размещения и точки продажи
После распаковывания батарей должны быть обеспечены условия, исключающие их физическое повреждение и электрический контакт. Например, они не должны быть перемешаны вместе.
Батареи, предназначенные для продажи, недопустимо размещать в течение продолжительных периодов времени на витринах, выставленных на прямом солнечном свету.
Изготовитель батареи должен предоставить достаточную информацию, чтобы дать возможность розничному продавцу выбрать батарею, пригодную для использования в соответствующей области, необходимой пользователю. Это особенно важно при первых поставках батарей для вновь приобретенного оборудования.
Контрольные приборы не обеспечивают надежное сравнение рабочих характеристик, ожидаемых от хороших батарей различных уровней качества и изготовленных различными изготовителями. Однако они действительно могут обнаружить серьезные отказы.
Е.5 Выбор, использование и утилизация
Е.5.1 Приобретение
Следует приобретать батареи нужного размера и уровня качества, наиболее подходящие для намеченного использования. Многие изготовители поставляют батареи более одного уровня качества в любых объемах. Информация относительно уровней качества большинства подходящих для использования батарей должна быть доступной в точке продажи и на оборудовании.
Когда не указаны необходимый размер и уровень качества батареи специфической марки, обозначения электрохимической системы согласно обозначениям МЭК и размера дают возможность выбора альтернативной батареи. Обозначение батареи должно быть приведено на маркировке, размещенной на этикетке батареи. Батарея должна иметь четкую маркировку, содержащую сведения о напряжении, наименование или торговую марку изготовителя или поставщика, дату изготовления, которая может быть в виде кода, или окончание периода гарантии, а также четкое обозначение полярности (+ и -). Для некоторых батарей часть этой информации может быть указана на упаковке (см. 4.1.6.2).
Е.5.2 Установка
Прежде чем вставить батареи в батарейный отсек оборудования, контакты оборудования и батарей должны быть проверены на чистоту и правильность установки. В случае необходимости батарейный отсек и батарея должны быть протерты чистой влажной, а потом сухой тканью перед установкой.
Особенно важно, чтобы батареи были установлены правильно в соответствии с их полярностью (+ и -). Тщательно соблюдайте инструкции, указанные на оборудовании, и используйте рекомендуемые батареи. Невыполнение инструкций, указанных на оборудовании, может привести к сбою и повреждению оборудования и (или) батарей.
Е.5.3 Использование
Не рекомендуется использовать или оставлять оборудование в критических условиях, например вблизи радиаторов или в автомобилях, припаркованных на солнце, и т.д.
Важно немедленно изъять батареи из оборудования в случае прекращения его удовлетворительного функционирования или в случае неиспользования в течение продолжительного времени (например, камеры, фотовспышки и т.д.).
Необходимо убедиться, что оборудование выключено после использования.
Следует хранить батареи в прохладном сухом месте и при отсутствии прямых солнечных лучей.
Е.5.4 Замена
Замену батарей необходимо производить единовременно и в полном наборе. Недавно приобретенные батареи не должны быть смешаны с частично разряженными. Батареи различных электрохимических систем, уровней качества или марок не должны быть смешаны. Отказ от соблюдения этих мер предосторожности может привести к ненормированному разряду некоторых батарей из набора и таким образом увеличить вероятность утечки.
Е.5.5 Утилизация
Утилизацию первичных батарей допустимо производить посредством общих мест размещения мусора, если отсутствуют иные местные нормы и требования. Для уточнения требований следует ознакомиться с МЭК 60086-4 и МЭК 60086-5 - для уточнения подробностей.
Стандартные напряжения разряда Us. Описание и метод определения
F.1 Описание
Стандартное напряжение разряда Us типично для данной электрохимической системы. Это уникальное напряжение, которое не зависит ни от размера, ни от внутренней конструкции батареи. Это напряжение зависит только от реакции передачи заряда. Стандартное напряжение разряда определено формулой (F.1)
где Us - стандартное напряжение разряда;
Cs - стандартная разрядная емкость;
ts - стандартное время разряда;
Rs - стандартное разрядное сопротивление.
F.2 Определение напряжения
F.2.1 Общие положения. C/R-диаграмма
Определение разрядного напряжения Ud проводят с помощью C/R-диаграммы, где С - разрядная емкость батареи, R - разрядное сопротивление. Иллюстрация метода приведена на рисунке F.1, где показан схематически график зависимости разрядной емкости С от разрядного сопротивления Rd1) в нормализованном представлении, т.е. C(Rd)/Cp строится как функция от Rd. Для низких значений Rd получают низкие значения C(Rd) и наоборот. При постепенном увеличении Rd происходит постепенное увеличение разрядной емкости C(Rd) до выхода на плато диаграммы и достижения постоянной величины C(Rd)2)
Ср = constant, (F.2)
что означает C(Rd)/Cp = 1 и обозначено горизонтальной линией на рисунке F.1. Как показано далее, емкость С = f(Rd) зависит от верхнего конечного напряжения Uc: чем выше его значение, тем большая доля DС, которая не может быть отдана в процессе разряда.
Примечание - Емкость С независима от Rd при условиях, отображенных на плато диаграммы.
Рисунок F.1 - Нормализованная C/R диаграмма (схематично)
_____________
1) Нижний индекс d дифференцирует это сопротивление от Rs, указанного в формуле (F.1).
2) Очень длинные периоды разряда Сp могут уменьшаться за счет саморазряда батареи. Это может быть заметно для батарей, имеющих высокий саморазряд, например 10 % в месяц или более.
Напряжение разряда Ud определено формулой (F.3)
Отношение Cd/td в формуле (F.3) представляет среднее значение электрического тока iср протекающего при разряде батареи через разрядное сопротивление Rd при установленном конечном напряжении батареи Uc = constant. Это отношение может быть описано как
Cd = iсрtd. (F.4)
При Rd = Rs (стандартное разрядное сопротивление) формула (F.3) изменяется на формулу (F.1) и, следовательно, формула (F.4) изменяется следующим образом:
Cs = iсрts. (F.4a)
Среднего значения электрического тока iср и ts достигают согласно методу, описанному в F.2.3 и показанному на рисунке F.2.
F.2.2 Определение стандартных разрядных сопротивлений
Определение значения Us лучше всего проводить при разряде на сопротивление Rd при снятии 100 % емкости. Время проведения этого разряда может быть достаточно длинным. Для уменьшения этого времени разряда хорошую аппроксимацию для определения Us дает формула (F.5)
Cs(Rs) = 0,98Cp. (F.5)
Это означает, что 98 % емкости, как полагают, являются достаточными для точного определения стандартного напряжения разряда Us. Этого достигают при разряде батареи через стандартное разрядное сопротивление Rs. Коэффициент 0,98 или выше не является решающим, потому что Us остается фактически постоянным для Rs £ Rd. При этом условии точная реализация 98 % емкости не очень важна.
F.2.3 Определение стандартных разрядных емкостей Cs и стандартного времени разряда ts
Схематическая кривая разряда батареи приведена на рисунке F.2. Рисунок F.2 иллюстрирует область А1 ниже и область А2 выше кривой разряда. Среднее значение электрического тока разряда iср получено при
А1 = А2. (F.6)
Условие, описанное формулой (F.6), не обязательно обращается к средней точке разряда, как показано на рисунке F.2. Время разряда td определено от точки пересечения для U(R, t) = Uc. Разрядную емкость получают из формулы (F.7)
Cd = icptd. (F.7)
Стандартную емкость Cs получают при Rd = Rs, и формула (F.7) теперь выглядит следующим образом:
Cs = icpts. (F.7a)
Данный метод позволяет экспериментально определить стандартную разрядную емкость Cs и стандартное время разряда ts, необходимые для определения стандартного напряжения разряда Us (см. формулу (F.1)).
Рисунок F.2 - Стандартное напряжение разряда (схематично)
F.3 Экспериментальные условия и результаты испытаний
Для экспериментального построения C/R-диаграммы рекомендуется использовать 10 индивидуальных результатов разряда, каждый из которых содержит средние результаты разряда 9 батарей; эти данные должны быть равномерно распределены по ожидаемому диапазону C/R-диаграммы. Рекомендуется взять первое значение разряда приблизительно 0,5Сp, как изображено на рисунке F.1. Последнее экспериментальное значение должно быть взято приблизительно при разряде на сопротивление Rd = 2Rs. Собранные данные могут быть графически представлены в форме C/R-диаграммы согласно рисунку F.1. Из этого графика должно быть определено значение сопротивления Rd, при разряде на которое определяется емкость, приблизительно равная 0,98Сp. Стандартное напряжение разряда Us, при котором получается снятие 98 % емкости, должно отличаться менее чем на 50 мВ от того значения, которое приводит к снятию 100 % емкости. Различия в пределах этого милливольтового диапазона будут вызваны только реакцией передачи заряда, характерной для исследуемой системы. При определении Cs и ts согласно F.2.3 следует использовать конечные напряжения в соответствии с МЭК 60086-2:
- диапазон напряжения 1: Us = 0,9 В;
- диапазон напряжения 2: Us = 2,0 В.
Следующие экспериментально определенные стандартные напряжения разряда Us (SDV) приведены только для того, чтобы разрешить заинтересованному эксперту проверить их воспроизводимость.
Таблица F.1 - Стандартные разрядные напряжения для батарей электрохимических систем
|
Буква, обозначающая систему |
Без обозначения |
С |
Е |
F |
L |
S |
Z |
|
Стандартное напряжение разряда (SDV) Us, В |
1,30 |
2,90 |
3,50 |
1,48 |
1,30 |
1,55 |
1,56 |
Определение Us для систем А, В, G и Р находится на рассмотрении. Система Р является особым случаем, потому что значение Us зависит от типа катализатора для поглощения кислорода. Так как Р-система является открытой системой к воздуху, то дополнительное значение имеют влажность воздуха и поглощение СO2 после активации системы. Для Р-системы могут наблюдаться значения Us до 1,37 В.
Подготовка
стандартных методов измерения характеристик (SMMP)
для потребительских товаров
Примечание - Это приложение было взято из Руководства ИСО/МЭК 36:1982 «Подготовка стандартных методов измерения характеристик (SMMP) для потребительских товаров» (отменено в 1998 году).
G.1 Введение
Информация, используемая потребителями потребительских товаров производственно-технического назначения, должна базироваться на воспроизводимых стандартных методах измерений характеристик (т.е. методы испытаний, результаты которых могут четко характеризовать продукт при его практическом использовании и которые следует использовать как основание для информирования потребителя о технических характеристиках продукта).
Следует учитывать ограничения, накладываемые возможностями используемого испытательного оборудования, временем проведения испытаний и их стоимостью.
G.2 Технические характеристики
Первым шагом при подготовке SMMP должно быть составление максимально возможного списка технических характеристик согласно рекомендациям, установленным в G.1.
Примечание - Как только такой список будет составлен, рассмотрение должно быть направлено на выбор наиболее важных для потребителей, принимающих решение о покупке, признаков продукта.
G.3 Критерии для разработки испытательных методов
Метод испытаний должен быть дан для каждой из перечисленных в перечне технических характеристик. Должно быть учтено следующее:
a) установленные методы испытаний должны обеспечивать наибольшую приближенность результатов испытаний, получаемых при испытании у потребителя, к фактическим показателям;
b) важно, чтобы методы испытаний были объективными и давали значимые и воспроизводимые результаты;
c) методы испытаний должны быть изложены подробно с учетом оптимальной потребности потребителя, принимая во внимание отношение между значением продукта и затратами на испытания;
d) по возможности должны быть проведены испытания с использованием ускоренных испытательных процедур или по методам, имеющим только косвенное отношение к практическому использованию продукта; технический комитет должен обеспечить необходимую методику для правильной интерпретации результатов испытаний относительно нормального использования продукта.
Таблица ДА.1
|
Обозначение ссылочного международного стандарта |
Степень |
Обозначение и
наименование соответствующего |
|
МЭК 60086-2 |
- |
* |
|
МЭК 60086-3 |
- |
* |
|
МЭК 60086-4 |
IDT |
ГОСТ Р МЭК 60086-4-2009 «Батареи первичные. Часть 4. Безопасность литиевых батарей» |
|
МЭК 60086-5 |
IDT |
ГОСТ Р МЭК 60086-5-2009 «Батареи первичные. Часть 5. Безопасность батарей с водным электролитом» |
|
МЭК 60410 |
- |
ГОСТ Р ИСО 2859-1-2007 «Статистические методы. Процедуры выборочного контроля по альтернативному признаку. Часть 1. Планы выборочного контроля последовательных партий на основе приемлемого уровня качества» |
|
МЭК 61429 |
IDT |
ГОСТ Р МЭК 61429 «Маркирование аккумуляторов и аккумуляторных батарей международным символом переработки ИСО 7000-1135» |
|
ИСО/МЭК Директивы, Часть 1. Процедуры выполнения технических работ |
- |
** |
|
ИСО 3951 (все части) |
IDT |
ГОСТ Р ИСО 3951-1-2007 «Статистические методы. Процедуры выборочного контроля по количественному признаку. Часть 1. Требования к одноступенчатым планам на основе предела приемлемого качества для контроля последовательных партий по единственной характеристике и единственному AQL» |
|
IDT |
ГОСТ Р ИСО 3951-2-2009 «Статистические методы. Процедуры выборочного контроля по количественному признаку. Часть 2. Общие требования к одноступенчатым планам на основе AQL при контроле последовательных партий по независимым характеристикам качества» |
|
|
IDT |
ГОСТ Р ИСО 3951-3-2009 «Статистические методы. Процедуры выборочного контроля по количественному признаку. Часть 3. Двухступенчатые схемы на основе AQL для контроля последовательных партий» |
|
|
IDT |
ГОСТ Р ИСО 3951-5-2009 «Статистические методы. Процедуры выборочного контроля по количественному признаку. Часть 5. Последовательные планы на основе AQL для известного стандартного отклонения» |
|
|
* Соответствующий национальный стандарт отсутствует. До его утверждения рекомендуется использовать перевод на русский язык данного международного стандарта. Перевод данного международного стандарта находится в АНО НТЦСЭ «ИСЭП». ** Соответствующий документ находится на официальном сайте Федерального агентства по техническому регулированию и метрологии в сети Интернет. Примечание - В настоящей таблице использовано следующее условное обозначение степени соответствия стандартов: - IDT - идентичные стандарты. |
||
|
[1] |
IEC 60050(482):2004 |
International Electrotechnical Vocabulary (IEV) - Part 482: Primary and secondary cells and batteries |
|
МЭК 60050(482):2004 |
Международный электротехнический словарь - Часть 482: Первичные и вторичные элементы и батареи |
|
|
[2] |
ISO 7000 |
Graphical symbols for use on equipment - Index and synopsis |
|
ИСО 7000 |
Графические символы, наносимые на оборудование. Перечень и сводная таблица |