Информационная система
«Ёшкин Кот»

XXXecatmenu

Некоммерческое Партнерство «Инновации в электроэнергетике»

СТАНДАРТ
ОРГАНИЗАЦИИ

СТО
70238424.27.100.025-2008

СИСТЕМА ПЫЛЕПРИГОТОВЛЕНИЯ ТЭС
ОРГАНИЗАЦИЯ ЭКСПЛУАТАЦИИ И ТЕХНИЧЕСКОГО
ОБСЛУЖИВАНИЯ.
НОРМЫ И ТРЕБОВАНИЯ

Дата введения - 2008-12-22

Москва

2008

Предисловие

Цели и принципы стандартизации в Российской Федерации установлены Федеральным законом от 27 декабря 2002 г. № 184-ФЗ «О техническом регулировании» и ГОСТ Р 1.0-2004 «Стандартизация в Российской Федерации. Основные положения».

Порядок разработки и применения стандартов организации установлены ГОСТ Р 1.4-2004 «Стандартизация в Российской Федерации. Стандарты организаций. Общие положения».

Сведения о стандарте

РАЗРАБОТАН

Открытым акционерным обществом «Всероссийский теплотехнический научно-исследовательский институт» (ОАО «ВТИ»), Красноярским филиалом открытого акционерного общества «Сибирский энергетический научно-технический центр» (Красноярский филиал ОАО «Сибирский ЭНТЦ»)

ВНЕСЕН

Комиссией по техническому регулированию НП «ИНВЭЛ»

УТВЕРЖДЕН И ВВЕДЕН В ДЕЙСТВИЕ ВВЕДЕН ВПЕРВЫЕ

Приказом НП «ИНВЭЛ» от 15.12.2008 г. № 43

СОДЕРЖАНИЕ

1 Область применения. 2

2 Нормативные ссылки. 2

3 Термины, определения, обозначения и сокращения. 3

4 Общие положения и задачи. 3

5 Требования к организации эксплуатации и технического обслуживания. 5

6 Организация ремонта оборудования. 15

7 Утилизация оборудования. 18

8 Подтверждение соответствия. 18

Приложение А (обязательное) Типовая инструкция по эксплуатации индивидуальных систем пылеприготовления прямого вдувания с мельницами-вентиляторами. 19

Приложение Б (обязательное) Типовая инструкция по эксплуатации индивидуальных систем пылеприготовления прямого вдувания со среднеходными мельницами. 40

Приложение В (обязательное) Типовая инструкция по эксплуатации индивидуальных систем пылеприготовления с молотковыми мельницами. 62

Приложение Г (обязательное) Типовая инструкция по эксплуатации индивидуальных систем пылеприготовления с шаровыми барабанными мельницами и бункером пыли. 94

Библиография. 118

СТО 70238424.27.100.025-2008

СТАНДАРТ ОРГАНИЗАЦИИ

СИСТЕМА ПЫЛЕПРИГОТОВЛЕНИЯ ТЭС ОРГАНИЗАЦИЯ ЭКСПЛУАТАЦИИ И ТЕХНИЧЕСКОГО ОБСЛУЖИВАНИЯ.

НОРМЫ И ТРЕБОВАНИЯ

Дата введения - 2008-12-22

1 Область применения

Стандарт распространяется на системы пылеприготовления тепловых электростанций для подготовки и подачи твердого топлива в стационарные котлы, сжигающие органическое твердое топливо в пылевидном состоянии, и устанавливает общие положения по организации эксплуатации, технического обслуживания и ремонта таких систем.

Положения настоящего стандарта предназначены для применения организациями, осуществляющими проектирование, строительство, монтаж, наладку и эксплуатацию систем пылеприготовления тепловых электростанций.

2 Нормативные ссылки

В настоящем стандарте использованы ссылки на следующие стандарты:

Федеральный закон от 21.07.1997 № 116-ФЗ «О промышленной безопасности опасных производственных объектов»

ГОСТ 17.2.1.04-77 Источники и метереологические факторы загрязнения, промышленные выбросы. Термины и определения;

ГОСТ 16504-81 Система государственных испытаний продукции. Испытания и контроль качества продукции. Основные термины и определения;

ГОСТ 18322-91 Система технического обслуживания и ремонта техники. Термины и определения;

ГОСТ 23172-78 Котлы стационарные. Термины и определения.

СТО 70238424.27.100.024-2008 Система пылеприготовления ТЭС. Условия создания. Нормы и требования

СТО 70238424.27.100.012-2008 Тепловые и гидравлические станции. Методики оценки качества ремонта энергетического оборудования.

Примечание - При пользовании настоящим стандартом целесообразно проверить действие ссылочных стандартов и классификаторов в информационной системе общего пользования - на официальном сайте национального органа Российской Федерации по стандартизации в сети Интернет или по ежегодно издаваемому информационному указателю «Национальные стандарты», который опубликован по состоянию на 1 января текущего года, и по соответствующим ежемесячно издаваемым информационным указателям, опубликованным в текущем году. Если ссылочный документ заменен (изменен), то при пользовании настоящим стандартом следует руководствоваться замененным (измененным) документом. Если ссылочный документ отменен без замены, то положение, в котором дана ссылка на него, применяется в части, не затрагивающей эту ссылку.

3 Термины, определения, обозначения и сокращения

3.1 В настоящем стандарте применены термины по ГОСТ 17.2.1.04, ГОСТ 16504, ГОСТ 18322, ГОСТ 23172, а также следующие термины с соответствующими определениями:

3.1.1 воздушная сушка: Сушка топлива, при которой объемная концентрация кислорода в сухом сушильном агенте за мельницей (сепаратором) более 16 %.

3.1.2 газовая сушка: Сушка топлива, при которой объемная концентрация кислорода в сухом сушильном агенте за мельницей (сепаратором) не более 16 %.

3.1.3 котельная установка: Составная часть тепловой электростанции, включающая стационарный котел и вспомогательное оборудование, в том числе в общем случае и систему пылеприготовления.

3.1.4 система пылеприготовления: Комплекс оборудования в составе тепловой электростанции (котельной установки), объединенного в единую технологическую систему, предназначенного для сушки и размола топлива и транспорта его в пылевидном состоянии в топочно-горелочное устройство котлов (котла).

3.1.5 сушильный агент: Технологическая (внутренняя) среда в тракте системы пылеприготовления (организовано подаваемые из котельной установки воздух, дымовые газы или их смесь, присосанный воздух, водяные пары топлива).

3.1.6 техническое обслуживание: Комплекс операций или операция по поддержанию работоспособности или исправности изделия при использовании по назначению, ожидании, хранении и транспортировании (ГОСТ 18322).

3.1.7 техническое освидетельствование: Проведение работ по проверке соответствия параметров объекта требованиям нормативной и технической документации с диагностическим обследованием составных частей объекта и определение на этой основе фактического технического состояния и возможности дальнейшей безопасной эксплуатации при установленных техническими и технологическими требованиями режимах работы.

3.2 В настоящем стандарте применены следующие обозначения и сокращения:

БСУ - бункер сырого топлива;

ВПК - взрывной предохранительный клапан;

КИП - контрольно-измерительные приборы;

MB - мельничный вентилятор;

М-В - мельница-вентилятор;

ММ - молотковая мельница;

ПВК - система подачи пыли высокой концентрации;

ПВКд - система подачи пыли высокой концентрации под давлением;

ПВКр - система подачи пыли высокой концентрации под разрежением;

ПСУ - питатель сырого топлива;

СМ - среднеходная мельница;

ТЭС - тепловая электростанция;

ШБМ - шаровая барабанная мельница.

4 Общие положения и задачи

4.1 Запуск в эксплуатацию системы пылеприготовления возможен только при соблюдении следующих условий:

- полное соответствие системы пылеприготовления требованиями Федерального закона «О промышленной безопасности опасных производственных объектов», предъявляемым к опасным производственным объектам;

- получено разрешение на применение от органов технического надзора.

- полное соответствие с конструкторской документацией;

- наличие утвержденной инструкции по эксплуатации системы пылеприготовления;

- наличие приемо-сдаточного акта системы пылеприготовления из монтажа;

- наличие режимной карты с указаниями по ведению режимов работы системы пылеприготовления;

- наличие эксплуатационного персонала, обученного и прошедшего проверку знаний.

4.2 Приемка в эксплуатацию системы пылеприготовления должна осуществляться в соответствии с порядком и требованиями статьи 8 Федерального закона «О промышленной безопасности опасных производственных объектов», правил технической эксплуатации электрических станций и сетей, утвержденных Минэнерго РФ (пункты 1.2, 4.2.8) [1], порядком получения разрешения на применение, установленным федеральным органом исполнительной власти в области промышленной безопасности (или его территориальным органом).

4.3 Эксплуатация систем пылеприготовления должна обеспечивать:

- надежность и безопасность работы оборудования системы пылеприготовления;

- бесперебойную подачу к горелкам котлов пыли требуемой тонкости и влажности в количестве, соответствующем нагрузке котлов;

- экономичный режим работы, определенный инструкциями предприятий-изготовителей и режимной картой;

- регулирование требуемого диапазона нагрузок мельниц и питателей;

- надежность и безопасность пуска-остановки;

- выбросы твердых веществ в атмосферу, не превышающие допустимых значений (для систем пылеприготовления со сбросом сушильного агента в атмосферу).

4.4 Для обеспечения безопасной и надежной эксплуатации должно быть организовано техническое обслуживание оборудования системы пылеприготовления во время работы и в период остановки. Задачей технического обслуживания является выполнение комплекса операций по поддержанию его работоспособного, исправного состояния, которые предусмотрены в конструкторских и эксплуатационных документах.

4.5 Для каждой системы пылеприготовления должна быть составлена производственная (местная) инструкция по эксплуатации.

4.6 Производственные инструкции составляются непосредственно на ТЭС. Они должны базироваться на основании правил и требований федерального органа исполнительной власти в области промышленной безопасности, инструкций предприятий-изготовителей по эксплуатации, положений и требований настоящего стандарта и отражать особенности установленного на ТЭС оборудования системы пылеприготовления. К составлению инструкции рекомендуется привлекать наладочную организацию.

4.7 Производственные инструкции должны содержать:

- краткую характеристику оборудования системы пылеприготовления;

- порядок подготовки системы пылеприготовления к пуску;

- порядок пуска системы пылеприготовления после монтажа, ремонта и из резерва;

- порядок остановки и обслуживания оборудования системы пылеприготовления во время нормальной эксплуатации;

- порядок остановки и обслуживания оборудования системы пылеприготовления при аварийных режимах;

- требования по технике безопасности и взрывобезопасности и пожаробезопасности;

- мероприятия по предупреждению и ликвидации аварий в системе пылеприготовления;

- мероприятия по обслуживанию неработающей системы пылеприготовления.

4.8 Инструкция составляется для пылеприготовительных установок при эксплуатации на основном и резервном топливах, принятых в проекте.

При поступлении на предприятия непроектного топлива выполняются необходимые мероприятия, обеспечивающие экономичную и взрывобезопасную эксплуатацию оборудования системы пылеприготовления, и вносятся соответствующие изменения в инструкции.

4.9 До ввода оборудования в работу необходимо внести в производственную инструкцию, схемы и чертежи все изменения, выполненные в процессе эксплуатации, испытаний, ремонта. Информация об изменениях в инструкциях, схемах и чертежах должна доводиться до сведения всех работников (с записью в журнале распоряжений), для которых обязательно знание этих инструкций, схем и чертежей.

4.10 Типовые инструкции по эксплуатации для систем пылеприготовления, имеющих преимущественное распространение на ТЭС Российской Федерации, рекомендуемые для составления производственных (местных) инструкций приведены в приложениях А - Г.

4.11 Требования к эксплуатационному персоналу:

4.11.1 К работе на системах пылеприготовления разрешается допускать лиц с профессиональным образованием, а к управлению системами пылеприготовления также и с соответствующим опытом работы.

Лица, не имеющие соответствующего профессионального образования или опыта работы, как вновь принятые, так и переводимые на новую должность, должны пройти обучение.

4.11.2 На ТЭС должна проводиться постоянная работа с персоналом, обслуживающим систему пылеприготовления, направленная на обеспечение его готовности к выполнению профессиональных функций и поддержание его квалификации.

4.11.3 Эксплуатационный персонал, обслуживающий систему пылеприготовления, обязан:

- обеспечить надежность и безопасность работы оборудования системы;

- вести режим работы системы в соответствии с требованиями настоящего стандарта, режимной картой, в том числе соблюдать режимы, обеспечивающие поддержание бесперебойного поступления топлива в мельницу, допустимых температур сушильного агента перед и за мельницей (сепаратором), содержания кислорода в сушильном агенте за мельницей (при газовой сушке топлива), допустимого уровня и температуры пыли в бункере пыли;

- не допускать работу системы без включенных технологических защит, блокировок, сигнализации и автоматических регуляторов;

- регулярно проводить обход системы, обращая особое внимание на наличие тлеющих отложений (очагов) пыли, пыление, работу подшипников и вибрацию оборудования.

5 Требования к организации эксплуатации и технического обслуживания

5.1 Требования безопасности

5.1.1 Общие требования

Системы пылеприготовления в соответствии с Федеральным законом «О промышленной безопасности опасных производственных объектов» относятся к опасным производственным объектам в связи с получением и транспортировкой в них горючей пыли топлив и взрывоопасных пылевоздушных смесей.

Эксплуатация системы пылеприготовления должно удовлетворять требованиям статьи 9 Федерального закона «О промышленной безопасности опасных производственных объектов». Руководитель организации, эксплуатирующей систему пылеприготовления, несет ответственность за полноту и достоверность сведений, содержащихся в декларации промышленной безопасности, в соответствии с законодательством Российской Федерации.

5.1.1.1 Система пылеприготовления должна подлежать освидетельствованию на предмет соответствия требованиям правил технической эксплуатации электрических станций и сетей, утвержденных Минэнерго РФ [1], СТО 70238424.27.100.024-2008, настоящего стандарта и документации предприятий-изготовителей оборудования системы пылеприготовления:

- перед вводом в эксплуатацию по завершении монтажа, ремонта и реконструкции установки;

- не позднее чем через 2000 ч наработки после ввода в эксплуатацию из монтажа, капитального (среднего) ремонта или реконструкции;

- профилактически через каждые 6000 ч наработки установки;

- после каждой аварийной остановки вследствие взрыва в системе пылеприготовления с вскрытием ВПК и разрушением оборудования и (или) пылегазовоздухопроводов.

В программу освидетельствования входят:

- осмотр системы пылеприготовления с вскрытием всех люков и лазов для выявления и устранения возможных отложений пыли, а также для удаления посторонних предметов;

- испытания системы пылеприготовления на герметичность под давлением (разрежением), соответствующим полному напору MB.

5.1.1.2 Техническое освидетельствование системы пылеприготовления проводится при остановке системы (котельной установки). Освидетельствование должно производиться комиссией, назначаемой техническим руководителем предприятия (ТЭС). Результаты освидетельствования должны оформляться актом, утверждаемым техническим руководителем предприятия.

5.1.2 Требования взрывобезопасности и пожарной безопасности

5.1.2.1 В целях предупреждения возникновения взрывоопасной и пожароопасной ситуации при эксплуатации и обслуживании системы пылеприготовления не допускается:

- производство ремонтных работ на работающей системе пылеприготовления, связанных с применением газовой и электродуговой сварки, с нарушением эксплуатационной герметичности системы (вскрытие люков, лазов, замена диафрагм предохранительных клапанов);

- производство любых ремонтных работ в зоне размещения оборудования системы пылеприготовления и в опасных пределах вблизи этой зоны, а также расшлаковка топки и устройств шлакоудаления котла при работе системы пылеприготовления в нестабильных режимах (при пуске, остановке, перебоях в поступлении топлива);

- загромождение зон размещения и обслуживания пылеприготовительного оборудования запасными частями, строительными и другими материалами;

- взвихривание пыли, отложившейся на поверхностях оборудования, пылегазовоздухопроводов, полов перекрытий и других поверхностей в зоне размещения систем пылеприготовления.

5.1.2.2 Перед производством сварочных работ на системе пылеприготовления необходимо смыть в канал золоудаления распыленной водой угольную пыль с участков вблизи места сварки, на которые возможно попадание искр от сварки.

5.1.2.3 При обнаружении в системах пылеприготовления, газоходах и транспортных трубопроводах мест отложений пыли необходимо устранить причины, вызывающие эти отложения.

5.1.2.4 Для предотвращения возникновения очагов тления в бункерах пыли для топлив II группы взрывоопасности и выше при длительной остановке системы пылеприготовления (более трех суток) необходимо подвести в надпылевое пространство бункера инертные газы из расчета 0,6 кг углекислоты или 0,4 кг азота на каждый 1 м свободного объема бункера.

Группы взрывоопасности топлив - определены в СТО 70238424.27.100.024-2008.

5.1.2.5 Для тушения очагов тления в бункерах пыли необходимо подвести углекислоту, азот или насыщенный пар в верхнюю часть бункера. Подача инертной среды во избежание взвихривания пыли должна осуществляться рассредоточенными струями параллельно потолку бункера. Расход инертной среды должен определяться из условия ограничения содержания кислорода в надпылевом пространстве не более 16 %.

5.1.2.6 Не допускается сброс пыли и запыленного сушильного агента из системы пылеприготовления в топку неработающего котла, а также в недостаточно разогретую топку растапливаемого котла.

5.1.2.7 Необходимо содержать в порядке и постоянной готовности все противопожарные средства:

- стационарные системы пожаротушения в бункерах сырого топлива, бункерах пыли, пылегазовоздушном тракте системы пылеприготовления, зоне размещения пылеприготовительного оборудования;

- огнетушители, ящики с песком, лопаты и остальной ручной противопожарный инвентарь, для нахождения которого необходимо установить постоянные, четко обозначенные места.

5.1.2.8 При осмотре и ремонте любых элементов системы пылеприготовления необходимо пользоваться только хорошо защищенной от проникновения пыли низковольтной переносной электроаппаратурой во взрывобезопасном исполнении.

5.1.2.9 Запрещается применять в помещениях системы пылеприготовления открытый огонь или электронагревательные приборы.

5.1.2.10 Осмотр, очистка, ремонт оборудования системы пылеприготовления, бункеров сырого топлива и пыли допускаются только по наряду-допуску. Перед открыванием люков и дверок для осмотра или ремонта остановленной системы пылеприготовления необходимо убедиться в отсутствии тлеющих отложений пыли. Обнаруженные очаги немедленно должны быть потушены.

Перед вскрытием люков при работе на топливах II - IV групп взрывоопасности в мельницы необходимо подать пар, в ММ и М-В следует подать воду.

При вскрытии дверок и люков запрещается находиться напротив них, изменять положение регулирующих шиберов и лопаток в сепараторе, клапанов в подводящем газовоздухопроводе и за сепаратором, наносить удары по корпусу сепаратора мельницы и пылегазовоздухопроводам, что может привести к взвихриванию пыли.

5.1.2.11 На работающей системе пылеприготовления запрещается открывать люки или лазы, а также проводить работы, связанные с нарушением герметичности пылегазовоздушного тракта. Исключение составляют работы по очистке сеток под циклонами.

5.1.2.12 В помещениях размещения систем пылеприготовления должна соблюдаться чистота, регулярно производиться тщательная уборка, удаление пыли со стен, подоконников, перекрытий, лестниц, поверхностей оборудования и с других мест отложения пыли. При обнаружении пылений необходимо принимать меры к их немедленному устранению. Особое внимание должно обращаться на предотвращение накапливания пыли на горячих поверхностях оборудования. Уборка помещений должна быть механизированной, без взвихривания пыли. При необходимости ручной уборки пыли ее разрешается выполнять лишь после предварительного увлажнения пыли водой путем разбрызгивания.

Сметать или тушить тлеющий очаг в помещении или внутри оборудования струей воды, огнетушителем либо другим способом, могущим вызвать взвихривание пыли не допускается.

5.1.3 Требования экологической безопасности

При эксплуатации систем пылеприготовления, в которых предусмотрен сброс сушильного агента в атмосферу, должен осуществляться постоянный контроль за выбросами твердых веществ в атмосферу. При этом на всех нагрузках должно обеспечиваться выполнение нормативов предельно допустимых выбросов твердых веществ в атмосферу, устанавливаемых для конкретной ТЭС территориальными органами специально уполномоченного федерального органа власти в области охраны атмосферного воздуха.

5.1.4 Санитарные требования

Контроль запыленности помещений в зоне размещения системы пылеприготовления следует производить не реже одного раза в месяц. Концентрация пыли в воздухе должна быть не более 10 мг/м .

5.2 Технический контроль

5.2.1 За системой пылеприготовления должен быть организован постоянный и периодический технический контроль (осмотры, технические освидетельствования, обследования технического состояния оборудования), в том числе:

- подтверждение соответствия условий эксплуатации и технического обслуживания оборудования требованиям Федерального закона «О промышленной безопасности опасных производственных объектов», в том числе с участием представителей органов государственного надзора;

- подтверждение соответствия условий эксплуатации и технического обслуживания оборудования требованиям настоящего стандарта;

- оценка текущего технического состояния оборудования и соответствия его параметров, указанным в проектной документации и технических условиях, и определение технико-экономических показателей оборудования.

5.2.2 Для обеспечения безопасных условий и расчетных режимов эксплуатации системы пылеприготовления должен быть организован контроль за следующими процессами, показателями и оборудованием:

- бесперебойным поступлением топлива в мельницы;

- уровнями в бункерах сырого топлива и пыли для предотвращения снижения их или увеличения по сравнению с предельными значениями, указанными в инструкции по эксплуатации. В системах пылеприготовления с прямым вдуванием пыли в топку не допускается снижение уровня топлива в бункерах ниже 2 м над входным патрубком питателя, а также образование сквозных воронок в бункерах;

- протоком масла через подшипники с жидкой принудительной смазкой мельниц и их электродвигателей;

- уровнем вибрации блоков подшипников;

- работоспособностью мигалок под циклоном и сепаратором;

- сменой бил, билодержателей, рабочих лопаток, бандажей валков, брони мельниц и сепараторов, шаров (для мельниц типа ШБМ);

- исправностью всех ВПК;

- исправностью ограждений соединительных муфт;

- освещенностью мест установки пылеприготовительного оборудования;

- отсутствием течи масла из картеров MB и редукторов ПСУ;

- состоянием изоляции и плотностью (герметичностью) всех элементов установки;

- токовой загрузкой электродвигателей;

- температурой сушильного агента на выходе из подсушивающих и размольных установок для предотвращения ее повышения сверх значений, указанных в инструкции по эксплуатации (режимной карте);

- температурой масла в блоке подшипников;

- температурой в бункере пыли для предотвращения во всех режимах работы установки повышения ее сверх значений, указанных в инструкции по эксплуатации (режимной карте);

- при газовой сушке топлива содержанием кислорода в сушильном агенте за мельницей (сепаратором) и в других местах системы пылеприготовления, указанных в инструкции по эксплуатации (режимной карте);

- расходом сушильного агента в системах пылеприготовления с прямым вдуванием;

- тонкостью и влажностью пыли;

- давлением транспортирующего агента в коллекторе, перед распылителем системы ПВКд;

- давлением и расходом воздуха в трубопроводах от коллектора к смесителям пыли;

- давлением (разрежением) сушильного агента перед подсушивающим устройством, перед и за мельницами и MB;

- аэродинамическим сопротивлением мельниц типа ШБМ и СМ;

- разрежением в верхней части бункера пыли.

5.2.3 Контроль тонкости и влажности пыли при эксплуатации системы пылеприготовления с промежуточным бункером пыли должен осуществляться по пробам пыли из-под циклона с частотой отбора, устанавливаемой инструкцией по эксплуатации.

В системах пылеприготовления с прямым вдуванием тонкость и влажность пыли должны контролироваться косвенным путем по количеству сушильного агента, поступающего в мельницу, и по положению регулирующих органов сепаратора и по температуре сушильного агента за мельницей (сепаратором).

5.2.4 Контроль (с регистрацией в журнале) и устранение присосов воздуха в системе пылеприготовления должны быть организованы с периодичностью, устанавливаемой инструкцией по эксплуатации, а также после ремонта.

В системах с прямым вдуванием пыли при воздушной сушке значения присосов не определяются, а плотность (герметичность) установки должна проверяться путем ее опрессовки.

5.2.5 В разомкнутых системах пылеприготовления с периодичностью, устанавливаемой инструкцией по эксплуатации, должно контролироваться состояние устройств для очистки сушильного агента за установкой, аэродинамические сопротивления устройств пылеулавливания. Не реже двух раз в год, а также после ремонта или реконструкции системы должна проверяться эффективность очистки от пыли сушильного агента за установкой.

5.2.6 Для предупреждения самовозгорания и слеживания сырого топлива и пыли в бункерах необходимо:

- периодически, не реже одного раза, за период от 7 до 10 суток, опорожнять бункера сырого топлива до минимально допустимого уровня (периодичность опорожнения устанавливается в инструкции по эксплуатации);

- периодически, с частотой, устанавливаемой инструкцией по эксплуатации, необходимо опорожнять бункера пыли до минимального уровня, при котором исключается поступление воздуха в бункер и обеспечивается равномерность подачи пыли пылепитателем. В зависимости от способности пыли к слеживанию и самовозгоранию в инструкции по эксплуатации должен быть установлен предельный срок ее хранения в бункерах;

- перед ремонтом системы пылеприготовления и (или) котла производить полную выгрузку бункеров сырого топлива и пыли и очистку их внутренних стенок;

- опорожнять бункера сырого топлива и пыли при переводе котла на сжигание газа или мазута на срок, превышающий допустимый срок хранения топлива по условиям самовозгорания и слеживания топлива и пыли в бункерах;

- не допускать длительного простоя питателей пыли во избежание возгорания пыли в ячейках питателя и бункере.

5.2.7 Периодически по графику, установленному инструкцией по эксплуатации системы пылеприготовления, необходимо контролировать и регистрировать в журнале исправность ВПК и их мембран.

5.2.8 Систематически по графику должны осматриваться изнашивающиеся элементы пылеприготовительного оборудования (била, билодержатели, броня, рабочие колеса, бандажи валков, уплотнения) и при необходимости заменяться или ремонтироваться. Должны также поддерживаться в исправности защитные устройства, устанавливаемые на быстроизнашивающихся участках оборудования.

5.2.9 Тепловая изоляция трубопроводов и оборудования должна поддерживаться в исправном состоянии.

5.2.10 В разомкнутых системах пылеприготовления необходимо контролировать сопротивление тканевых угольных фильтров, регулярно проверять их состояние и удалять осевшую на них пыль.

5.2.11 В установках с паровыми сушилками следует осуществлять постоянный контроль за поддержанием установленных параметров пара и соблюдением оптимального режима сушки.

5.2.12 При эксплуатации барабанных газовых или паровых трубчатых и панельных сушилок необходимо осуществлять регулярную очистку внутренних устройств или труб от налипшего топлива. Периодичность очистки устанавливается инструкцией по эксплуатации.

5.3 Технические требования к эксплуатации

5.3.1 Подготовка оборудования к пуску

5.3.1.1 Перед пуском вновь смонтированной или реконструированной установки независимо от вида размалываемого топлива в целях выявления возможных мест отложений пыли и их устранения должен быть проведен внутренний осмотр установки с вскрытием всех люков и лазов.

5.3.1.2 Перед пуском оборудования систем пылеприготовления из ремонта или длительного нахождения в резерве должны быть проверены исправность и готовность его к включению, КИП, средств дистанционного управления арматурой и механизмами, авторегуляторов, устройств защиты, блокировок, предупредительной сигнализации и средств оперативной связи.

5.3.1.3 При подготовке оборудования системы пылеприготовления к пуску необходимо:

- осмотреть подшипники и редукторы всех вращающихся механизмов;

- убедиться в отсутствии повреждений корпусов и уплотнений подшипников;

- проверить уровень масла в подшипниках, имеющих картерную систему смазки, а также наличие консистентной смазки в подшипниках с системой консистентной смазки. В механизмах, имеющих картерную систему смазки, уровень масла должен находиться в рабочем диапазоне, отмеченном на указателях уровня или щупах;

- проверить плотность закрытия люков на оборудовании системы пылеприготовления;

- проверить исправность мембран ВПК;

- проверить соответствие положения регулятора высоты слоя топлива в ПСУ по указаниям режимной карты. Убедиться в работоспособности датчика сигнализатора обрыва топлива;

- проверить наличие и исправность ограждений муфт, заземления электродвигателей MB и ПСУ;

- проверить фундаментные блоки MB и гайки на двери MB;

- проверить положение отключающих и режимных шиберов на MB;

- проверить наличие давления воды и пара в трубопроводах пожаротушения системы пылеприготовления. Давление воды должно быть в пределах от 0,5 до 0,8 МПа включительно, а пара - не более 1,5 МПа;

- проверить наличие топлива в бункере сырого угля;

- осуществить сборку, проверку и включение необходимых схем приборов, защит и блокировок;

- открыть и отрегулировать подачу охлаждающей воды в системы охлаждения подшипников, валов, редукторов оборудования системы пылеприготовления, на встроенный маслоохладитель блока подшипников мельниц типа М-В, внешний воздухоохладитель электродвигателей мельниц типа М-В и ШБМ;

- для систем с прямым вдуванием открыть отсекающие шиберы, подачу воздуха на уплотнение мельницы.

5.3.2 Подготовка к работе и пуску масляных систем

5.3.2.1 Для смазки узлов и агрегатов оборудования системы пылеприготовления необходимо использовать смазочные материалы, рекомендованные инструкцией предприятия-изготовителя и указанные в технических условиях на оборудование.

5.3.2.2 Все масла должны иметь сертификаты качества или паспорта предприятия-изготовителя и быть подвергнуты входному контролю на определение соответствия сертификатам или паспортам. В случае несоответствия их качества применение этих масел в оборудовании не допускается.

5.3.2.3 При подготовке к работе и пуску масляной системы необходимо:

- произвести тщательный наружный осмотр системы жидкой смазки (масляных насосов, фильтров, маслоохладителя, всей арматуры и КИП), убедиться в целостности пломб на предохранительных клапанах;

- проверить высоту уровня масла в баке-отстойнике системы жидкой смазки и, при необходимости, долить масло до рабочего уровня. В бак-отстойник можно заливать только очищенное масло, которое должно быть пропущено через центрифугу и фильтр-пресс;

- проверить температуру масла в баке-отстойнике;

- проверить вращение масляных насосов, фильтров;

- проверить правильность настройки контрольно-измерительной аппаратуры, сигнализации и защит;

- осмотреть станцию густой смазки, проверить состояние ее аппаратуры, наличие смазки.

5.3.3 Пуск и контроль работы системы пылеприготовления

5.3.3.1 Пуск системы пылеприготовления должен производиться со щита управления котлом (энергоблоком) с включенными технологическими защитами, блокировками и сигнализацией. С неисправными системами защит, блокировок и сигнализации пуск системы пылеприготовления запрещается.

5.3.3.2 Перед пуском системы пылеприготовления в работу необходимо:

- проверить готовность всего оборудования к пуску в соответствии с 5.3.1, 5.3.2 и убедиться в отсутствии в нем тлеющих отложений топлива и пыли. При обнаружении тлеющих очагов топлива следует действовать в соответствии с 5.3.10;

- при размоле топлив II - IV групп взрывоопасности подать пар, а для ММ и М-В подать воду в подводящие газовоздухопроводы перед мельницами;

- обеспечить прогрев систем пылеприготовления, режим которого должен быть установлен инструкцией по эксплуатации системы пылеприготовления, для чего перед подачей топлива на сушку и размол необходимо провентилировать, прогреть до требуемой температуры систему пылеприготовления расходом сушильного агента, превышающим на 25 % расчетное значение. Сброс сушильного агента в топку должен производиться только при работающих растопочных устройствах.

5.3.3.3 Подача пыли в горелки котла допускается только при устойчивом горении растопочного топлива и достижении заданного значения температуры продуктов сгорания в поворотном газоходе котла. Температура газов и соответствующая ей тепловая нагрузка указываются в инструкции по эксплуатации котла.

5.3.3.4 Включение в работу ПСУ должно производиться после разворота мельницы. Во время пуска оборудования системы пылеприготовления необходимо осуществлять постоянный контроль за включаемым оборудованием со щита управления и по месту (контролировать продолжительность разворота электродвигателя, работу системы смазки, охлаждение валов, подшипников, работу мигалок).

5.3.3.5 Необходимо убедиться в устойчивой подаче пыли от системы пылеприготовления в горелки котла (по приборам и визуально).

5.3.3.6 Включать в работу вторую и последующие системы пылеприготовления на котле следует в соответствии с требованиями инструкции по эксплуатации котла и готовностью систем пылеприготовления к работе.

5.3.3.7 После включения в работу второй и последующих систем пылеприготовления необходимо привести в соответствие суммарную производительность работающих систем пылеприготовления с тепловой нагрузкой котла и подключить включенную схему пылеприготовления к регулятору топлива или к групповому управлению расхода топлива на работающие системы пылеприготовления.

5.3.3.8 Все исправные системы пылеприготовления с прямым вдуванием при относительной нагрузке котла от 100 до 60 % включительно, как правило, должны быть в работе. Режим работы систем пылеприготовления должен быть организован в соответствии с режимной картой.

5.3.3.9 При работе системы пылеприготовления необходимо осуществлять технический контроль за оборудованием системы в соответствии с 5.2.

5.3.4 Плановая остановка системы пылеприготовления

5.3.4.1 Плановая остановка системы пылеприготовления должен осуществляться с опорожнением системы от топлива и ее вентиляцией. В инструкции по эксплуатации должны даваться указания по режиму опорожнения и вентиляции системы.

5.3.4.2 При плановой остановке системы пылеприготовления при размоле топлив II - IV групп взрывоопасности в мельницы всех типов должен подаваться насыщенный пар.

5.3.4.3 При длительной остановке системы пылеприготовления должно производиться полное опорожнение бункеров сырого топлива и очистка их стенок.

Максимальная продолжительность хранения топлива в бункерах, не более:

- 10 суток для топлив IV группы взрывоопасности;

- 20 суток для топлив II и III групп взрывоопасности;

- 30 суток для топлив I группы взрывоопасности.

В инструкции по эксплуатации допустимые сроки хранения сырого топлива в бункерах уточняются с учетом местных условий.

5.3.4.4 Предельный срок хранения пыли в бункерах должен устанавливаться инструкцией по эксплуатации системы пылеприготовления в зависимости от склонности пыли к слеживанию.

При плановой остановке всех систем пылеприготовления, подключенных к одному бункеру пыли, на срок, превышающий предельный срок ее хранения, бункера пыли полностью должны опорожняться, внутренние стенки бункера должны очищаться (при необходимости обмываться изнутри водой) и осматриваться.

При превышении допустимого срока хранения пыли в бункерах, бункер должен быть опорожнен в систему гидрозолоудаления.

В инструкции по эксплуатации системы пылеприготовления должны указываться последовательность и меры безопасности при проведении работ по опорожнению бункеров сырого топлива и пыли.

5.3.4.5 При сжигании топлив II группы взрывоопасности и выше при плановой остановке всех подключенных к одному бункеру пыли систем пылеприготовления на срок более трех суток должна производиться его консервация путем подачи в надпылевое пространство углекислоты или азота не позднее чем через одни сутки после остановки.

5.3.4.6 При остановке мельницы и закрытии обоих плотных клапанов на газовоздухопроводе сушильного агента перед мельницей необходимо открыть атмосферный клапан, расположенный между ними.

5.3.5 Остановка в резерв системы пылеприготовления

5.3.5.1 При остановке системы пылеприготовления в резерв необходимо проследить за действием технологических защит и блокировок, автоматически выполняющих операции по остановке системы пылеприготовления после отключения электродвигателя мельницы. При нарушениях в работе защит и блокировок необходимо выполнить операции по остановке системы пылеприготовления вручную.

5.3.5.2 В отличие от плановой остановки системы пылеприготовления при остановке ее в резерв не производится:

- разбора электрических схем питания электродвигателей оборудования и приводов запорной и регулирующей арматуры;

- отключение подачи масла от системы маслоснабжения (если это предусмотрено в документации предприятия-изготовителя).

5.3.6 Аварийная остановка системы пылеприготовления

5.3.6.1 Противоаварийные инструкции (указания) должны быть разработаны с учетом опыта эксплуатации систем пылеприготовления и требований правил технической эксплуатации электрических станций и сетей, утвержденных Минэнерго РФ [1].

5.3.6.2 При ликвидации аварии действия оперативного персонала должны быть направлены на устранение опасности для персонала, предотвращение развития аварии, сохранение в работе оборудования, не затронутого аварией, восстановление максимально возможной нагрузки.

5.3.6.3 Основные направления деятельности персонала в аварийных условиях должны быть предусмотрены местными противоаварийными инструкциями и определяться следующими задачами: предотвращение развития аварии; быстрая ликвидация аварийной ситуации с устранением опасности для персонала и оборудования; восстановления нормального режима работы.

5.3.6.4 При аварийной остановке котла, мельницы и MB должны быть остановлены без опорожнения от топлива системы пылеприготовления.

5.3.6.5 Система пылеприготовления должна быть немедленно остановлена при аварийных ситуациях, к которым относятся:

- взрыв и пожар внутри системы пылеприготовления;

- хлопок с вскрытием ВПК в системах пылеприготовления, оборудованных ВПК;

- аварийная остановка MB (кроме схем с ПВК) или вентиляторов первичного воздуха, мельницы (в установках с прямым вдуванием), всех установленных в схеме дымососов газов рециркуляции (кроме схем с ПВК);

- пожар (воспламенение масла или отложений пыли и топлива) на оборудовании системы пылеприготовления или вблизи него;

- вибрация выше допустимой корпусов подшипников вращающихся механизмов оборудования (конкретные значения опасных вибраций для каждого механизма должны быть уточнены в инструкциях по эксплуатации);

- появление грозящих разрушением ударов, стука и скрежета в оборудовании, которые могут быть вызваны попаданием посторонних предметов вместе с топливом, а также задеванием ротора вращающегося оборудования о корпус;

- нагрев подшипников вращающихся механизмов оборудования системы пылеприготовления или электродвигателей выше допустимой температуры, указанной в инструкции по эксплуатации, вследствие нарушений в работе маслоснабжения, охлаждения и других;

- появление искр или дыма из электродвигателей, токоподводящих кабелей или подшипников;

- повышение температуры сушильного агента за мельницей (сепаратором) до второго предела действия технологической защиты по этому параметру;

- нарушения непрерывности подачи топлива;

- исчезновение напряжения на устройствах дистанционного и автоматического управления и на всех КИП;

- выход из строя всех приборов, измеряющих температуру сушильного агента за мельницей при работе на топливах II - IV группы взрывоопасности;

- обнаружение пыления в системе пылеприготовления, которое невозможно устранить без ее остановки.

5.3.7 Устранение характерных нарушений в работе

5.3.7.1 Необходимо немедленно реагировать на предупреждения сигнализации об отклонении основных параметров от значений, указанных в режимной карте, предупреждая оперативными действиями развитие нарушений до аварийных ситуаций и не допуская тем самым срабатывания защит и аварийных остановках системы пылеприготовления.

5.3.7.2 При возникновении нарушений режима работы системы пылеприготовления необходимо контролировать работу автоматических регуляторов, срабатывание защит и блокировок При неисправности регуляторов, защит или блокировок необходимые операции выполняются вручную.

5.3.7.3 При устранении нарушений режимов работы системы пылеприготовления, не предусмотренных защитами и блокировками, необходимо действовать в соответствии правилами технической эксплуатации электрических станций и сетей, утвержденных Минэнерго РФ [1], настоящего стандарта, инструкций по эксплуатации системы пылеприготовления и инструкций предприятий-изготовителей, действующих на ТЭС инструкций по пожарной безопасности.

5.3.7.4 При появлении признаков горения в какой-либо части системы пылеприготовления, за исключением бункеров сырого топлива и пыли, необходимо вызвать пожарную охрану, удалить персонал, не участвующий в тушении очагов горения (пожара), в безопасное место и приступить к ликвидации очага возгорания. Запрещается сметать или тушить тлеющий очаг в помещении или внутри оборудования направленной струей воды или углекислоты из огнетушителя либо другим способом, могущим вызвать взвихривание пыли. Открытый тлеющий очаг следует гасить песком или распыленной водой.

5.3.7.5 При появлении признаков горения внутри оборудования системы пылеприготовления (мельницы) в нее необходимо подать пар или распыленную воду (через штатные форсунки или сопла), погасить пожар и остановить систему (мельницу).

5.3.7.6 Пуск в работу остановленного оборудования разрешается только после тщательной его ревизии, очистки от очаговых остатков и посторонних предметов. При появлении видимых дефектов конструкции (расхождении сварочных швов, нарушения герметичности, соосности и т.п.) проводится техническое освидетельствование оборудования или отдельных узлов системы пылеприготовления.

5.3.7.7 При обнаружении очагов тления или горения в бункере сырого топлива необходимо:

- подать пар в газовоздухопровод сушильного агента перед мельницей;

- залить очаг горения в бункере распыленной водой;

- полностью заполнить бункер топливом;

- продолжать опорожнение бункера, не допускать включения в работу средств побуждения движения топлива в бункере.

5.3.7.8 При обнаружении очагов тления в бункере пыли работающего котла необходимо:

- закрыть клапаны на трубопроводах отсоса влаги из бункера;

- увеличить производительность работающих систем пылеприготовления, включить в работу резервные системы и заполнить бункер пыли до максимально допустимого уровня;

- увеличить паровую нагрузку котла, включив в работу резервные питатели пыли, продолжать интенсивное опорожнение бункера пыли в топку котла, поддерживая максимальный уровень пыли в бункере.

В случае если указанные выше мероприятия не ликвидировали тления пыли, подать в бункер углекислоту, азот или пар и продолжить опорожнение и сброс пыли в топку котла.

5.3.7.9 При обнаружении очагов тления в бункере пыли на остановленном котле подать в бункер углекислоту или другой инертный газ.

5.3.7.10 В случае взрыва в системе пылеприготовления необходимо ее немедленно остановить, подать воду, закрыть клапаны в подводящих газовоздухопроводах к мельнице. Пуск системы пылеприготовления возможен только после выявления и устранения причин взрыва, освидетельствования системы пылеприготовления, восстановления ВПК и поврежденных элементов.

5.3.7.11 После взрыва в системе пылеприготовления, топке, газоходе и золоуловителе ответственным лицом из оперативного персонала должно быть проведено тщательное обследование зоны взрыва для обнаружения пострадавших лиц и оказания им помощи.

Все случаи взрывов и возгораний пыли, произошедшие в системе пылеприготовления, обязательно регистрируются и расследуются в установленном порядке с оформлением соответствующей документации, предусмотренной действующим законодательством.

5.3.8 Особенности эксплуатации систем пылеприготовления с ПВК

5.3.8.1 При появлении признаков забивания пылепроводов в системе ПВКд должны автоматически отключаться питатели пыли.

5.3.8.2 При отсутствии необходимого расхода транспортирующего воздуха по пылепроводу системы ПВКд должна срабатывать блокировка, не позволяющая включать питатели пыли.

5.3.8.3 При отказе воздуходувки в системе ПВКд должна срабатывать система аварийного включения в работу для автоматического включения резервной воздуходувки.

5.3.8.4 При эксплуатации системы ПВКд должны контролироваться следующие параметры:

- давление воздуха в коллекторах;

- давление и расходы воздуха в трубопроводах от коллектора к смесителям пыли;

- токовая загрузка электродвигателей пылепитателей;

- давление транспортирующего агента в каждом пылепроводе перед распылителем.

5.3.8.5 В системе ПВКр должно контролироваться давление пара перед эжекторами и срабатывать защита при его понижении.

5.3.8.6 Защита пылепроводов от забивания пылью в системе ПВКр должна быть организована по величине перепада давления за смесителем пыли в пыле-проводе.

5.3.8.7 В схеме подвода пара к эжекторам в системе ПВКр должны работать 4 независимых датчика давления для первого и второго пределов защиты для работы в системе авторегулирования, для дистанционной передачи показаний на щит управления.

5.3.8.8 Для ведения экономичных режимов эксплуатации системы пылеприготовления необходимо регистрировать расход пара на пневмотранспорт в общем паропроводе системы ПВКр.

5.3.8.9 При аварийной остановке котла и при отсутствии пара в общем паропроводе к эжекторам системы ПВКр питатели пыли должны отключаться по блокировке.

6 Организация ремонта оборудования

6.1 Принципы организации ремонта

6.1.1 Комплекс мероприятий по организации ремонта оборудования систем пылеприготовления включает в себя:

- создание базы данных о выполненных плановых и неплановых ремонтных работах, использованных ресурсах с идентификацией во времени в течение жизненного цикла объекта, сопоставление результатов ремонтных воздействий с понесенными затратами;

- учет и анализ повреждаемости оборудования, эффективности управления ремонтами и разработку на этой основе мероприятий по повышению надежности и эффективности эксплуатации оборудования;

- осуществление непрерывности процесса планирования, организационно-технической подготовки и выполнения ремонтных работ;

- создание и использование в ремонтной деятельности минимально необходимого и достаточного документооборота, обязательного для применения как собственным ремонтным персоналом ТЭС, так и привлекаемыми к выполнению ремонтных работ подрядными ремонтными предприятиями и организациями;

- создание методической расчетной базы для осуществления рационального и экономного использования трудовых, материальных и финансовых ресурсов.

6.1.2 Комплекс проводимых ремонтных работ включает:

- плановый ремонт оборудования;

- накопление и изучение опыта эксплуатации и ремонта, установление оптимальной периодичности и продолжительности проведения капитальных, средних и текущих ремонтов;

- применение современных средств диагностирования для контроля и прогнозирования технического состояния оборудования и принятия решения о необходимости ремонта;

- внедрение прогрессивных форм организации и управления ремонтом с применением вычислительной техники и информационных технологий;

- внедрение передовых методов ремонта, комплексной механизации и прогрессивной технологии;

- широкое внедрение специализации ремонтных работ;

- контроль качества выполняемых работ в процессе ремонта и контроль качества отремонтированного оборудования;

- своевременное обеспечение ремонтных работ материалами, запчастями и комплектующим оборудованием;

- анализ параметров технического состояния оборудования до и после ремонта по результатам испытаний.

6.1.3 Вид ремонта системы пылеприготовления, входящей в состав котельной установки, определяется, как правило, видом ремонта котельной установки в целом.

6.2 Порядок вывода в ремонт

6.2.1 Началом ремонта системы пылеприготовления, входящей в состав котельных установок, считается время вывода в ремонт котла.

6.2.2 Вывод в ремонт системы пылеприготовления производится при наличии утвержденной заявки на ремонт котельной установки и программы, утвержденной техническим руководителем ТЭС.

Программа ремонта должна предусматривать:

- проведение эксплуатационных испытаний по специальной программе, утвержденной в установленном порядке, которые должны быть проведены не ранее чем за месяц и не позднее чем за 5 дней до вывода котла в ремонт;

- составление дефектных ведомостей и смет;

- проведение работ по уборке системы пылеприготовления снаружи;

- сработку топлива из бункера сырого топлива.

6.2.3 После остановки оборудования в ремонт персонал производит все отключения, обеспечивающие безопасные условия производства работ.

6.2.4 Отключения должны производиться по программе и в соответствии с графиком, утвержденным техническим руководителем ТЭС. В графике указываются лица, ответственные за отключения и время исполнения.

6.2.5 Руководители работ от предприятий и организаций, участвующих в ремонте, совместно с представителями ТЭС:

- осуществляют входной контроль качества применяемых материалов и запасных частей;

- проводят оперативный контроль качества выполняемых ремонтных работ;

- контролируют соответствие отремонтированных составных частей и деталей требованиям нормативно-технической и конструкторской документации;

- проверяют соблюдение технологической дисциплины (выполнение требований технологической документации, качества применяемых оснастки, приспособлений и инструмента);

- обеспечивают в сроки, предусмотренные графиком ремонта, окончание дефектации узлов и деталей оборудования;

- по результатам дефектации, с учетом предусмотренных эксплуатационных испытаний, определяют объем дополнительных ремонтных работ по устранению обнаруженных дефектов.

6.3 Порядок приемки и ввода в эксплуатацию после ремонта

6.3.1 Перед приемкой системы пылеприготовления в эксплуатацию должны быть проведены:

- освидетельствование системы пылеприготовления;

- индивидуальные и функциональные испытания оборудования, КИП и системы управления;

- пробные пуски оборудования систем пылеприготовления.

6.3.2 Подтверждение соответствия качества выполненного ремонта гарантийным обязательствам производителя ремонта осуществляется в приемосдаточных или контрольных эксплуатационных испытаниях, выполняемых в соответствии с СТО 70238424.27.100.012-2008.

6.3.3 Индивидуальные и функциональные испытания оборудования и отдельных систем проводятся производителем ремонта с привлечением персонала ТЭС и, по необходимости, наладочной организацией.

6.3.4 Пробные пуски системы пылеприготовления проводятся после проведения индивидуальных испытаний и устранения дефектов и недоделок оборудования до комплексного опробования котельной установки. При пробном пуске должны быть проверены:

- работоспособность оборудования и технологических схем;

- безопасность эксплуатации;

- проведены проверка и настройка всех систем контроля и управления, в том числе автоматических регуляторов, устройств защиты и блокировок, устройств сигнализации и КИП;

6.3.5 Перед пробным пуском должны быть выполнены условия для надежной и безопасной эксплуатации системы пылеприготовления, а именно:

- укомплектован и обучен (в случае необходимости) персонал, скорректированы (или составлены вновь) и утверждены инструкции по эксплуатации и другая необходимая документация;

- подготовлены запасы топлива, материалов, инструмента и запасных частей;

- введены в действие линии связи, системы пожарной сигнализации и пожаротушения, аварийное освещение, вентиляция;

- налажены системы контроля и управления;

- получены разрешения от органов технического надзора.

6.3.6 Приемку оборудования системы пылеприготовления из ремонта должна производить комиссия, состав которой определяет руководитель ТЭС.

Приемка системы пылеприготовления из ремонта должна производиться по программе, согласованной с производителем ремонта и утвержденной техническим руководителем ТЭС.

6.3.7 Руководители работ предприятий, участвующих в ремонте, предъявляют приемочной комиссии необходимую документацию, составленную в процессе ремонта. Документация утверждается полномочным представителем ТЭС.

6.3.8 По результатам контроля установки, испытаний и опробования оборудования, проверки и анализа предъявленной документации приемочная комиссия устанавливает возможность пуска установки.

6.3.9 Пуск системы пылеприготовления должен выполняться эксплуатационным персоналом после сдачи производителями ремонта наряда-допуска на ремонт.

Оборудование системы пылеприготовления, прошедшее ремонт, подлежит приемо-сдаточным испытаниям под нагрузкой в течение не менее 72 ч.

6.3.10 Если в течение приемо-сдаточных испытаний были обнаружены дефекты, препятствующие работе оборудования с номинальной нагрузкой, или обнаруженные дефекты требуют немедленной остановки, то ремонт считается незаконченным до устранения этих дефектов и повторного проведения приемосдаточных испытаний. Обнаруженные дефекты устраняются производителем ремонта в сроки, согласованные с руководством ТЭС.

Приемка в эксплуатацию оборудования с дефектами и недоделками не допускается.

6.3.11 Если приемо-сдаточные испытания оборудования под нагрузкой прерывались для устранения дефектов, то временем окончания ремонта считается время последней в процессе испытания постановки под нагрузку.

6.3.12 Если в течение приемо-сдаточных испытаний не были обнаружены дефекты, препятствующие работе оборудования с номинальной нагрузкой, или обнаруженные дефекты не требуют немедленной остановки, то приемочная комиссия принимает решение о приемке из ремонта системы пылеприготовления.

6.3.13 После окончания приемо-сдаточных испытаний начинается подконтрольная эксплуатация отремонтированного оборудования, которая завершается через 30 календарных дней с момента включения оборудования под нагрузку.

В период подконтрольной эксплуатации заканчивается проверка работы оборудования на всех режимах, проводятся испытания и наладка всех систем, завершаются отделочные работы по тепловой изоляции.

6.3.14 После подконтрольной эксплуатации (или во время ее проведения) должны проводиться режимные испытания для составления новой или корректировки действующей режимной карты.

7 Утилизация оборудования

7.1 Утилизация оборудования (элементов, узлов, материалов) осуществляется после течения срока службы, в результате его замены при ремонте в соответствии с проектом на ликвидацию и порядком утилизации, указанном в технических условиях предприятия-изготовителя оборудования.

В составе проектной документации на ликвидацию опасного производственного объекта должна быть представлена декларация промышленной безопасности.

7.2 Оборудование (его элементы и узлы), не представляющее опасности для жизни, здоровья людей или окружающей среды, подлежит сортировке и отправке на специализированные предприятия для переработки и последующего рационального его использования.

7.3 Отработанные синтетические масла, нефтепродукты, содержащие коррозионно-активные, агрессивные, токсичные и другие вещества отходов производства, подлежат утилизации, переработке, складированию, захоронению (в зависимости от их класса опасности) в установленном на ТЭС порядке.

8 Подтверждение соответствия

8.1 Подтверждение соответствия систем пылеприготовления осуществляются в форме декларации промышленной безопасности. Декларация промышленной безопасности утверждается руководителем эксплуатирующей организации (ТЭС).

8.2 Руководитель эксплуатирующей организации (ТЭС) несет ответственность за полноту и достоверность сведений, содержащихся в декларации промышленной безопасности, в соответствии с законодательством Российской Федерации. Декларация промышленной безопасности проходит экспертизу.

8.3 Технические устройства, применяемые в системе пылеприготовления, в процессе эксплуатации подлежат экспертизе промышленной безопасности в установленном порядке.

Приложение А
(обязательное)

Типовая инструкция по эксплуатации индивидуальных систем пылеприготовления прямого вдувания с мельницами-вентиляторами

А.1 Общие положения

А.1.1 Настоящая типовая инструкция (далее - Инструкция) устанавливает общий порядок, последовательность и условия выполнения основных технологических операций, обеспечивающих безаварийную и экономичную эксплуатацию индивидуальных систем пылеприготовления прямого вдувания с мельницами-вентиляторами.

А.1.2 Инструкция составлена применительно к системе пылеприготовления (рисунок А.1), имеющей преимущественное распространение на электростанциях Российской Федерации.

А.1.3 Вопросы маслоснабжения механизмов системы пылеприготовления в Инструкции рассмотрены применительно к типовой схеме жидкой смазки подшипников (рисунок А.2). Для схем, отличающихся от типовой, в местные инструкции должны быть внесены необходимые изменения.

А.2 Общие указания

А.2.1 Указания по организации эксплуатации систем пылеприготовления

А.2.1.1 Допускайте к эксплуатации систему пылеприготовления только:

- при полном соответствии требованиям нормативной технической и проектной документации оборудования, его компоновки, оснащения системы пылеприготовления предохранительными клапанами, средствами пожаротушения, контрольно-измерительной аппаратурой, технологическими защитами, блокировками и сигнализацией;

- при наличии приемо-сдаточного акта системы пылеприготовления из монтажа;

- при наличии на щите управления котлом (энергоблоком) местной инструкции по эксплуатации системы пылеприготовления;

- после проведения инструктажа дежурного эксплуатационного персонала и проверки знаний им правил взрывобезопасности, технической эксплуатации, противопожарной инструкции и местных инструкций по эксплуатации системы пылеприготовления.

Проконтролируйте при приемке системы пылеприготовления из монтажа и капитального ремонта правильность установки в газозаборной шахте в месте ввода топлива специальных форсунок для впрыска воды и штуцеров для подачи пара, а также правильность выбранных сечении этих форсунок и штуцеров.

А.2.1.2 Организуйте пуск системы пылеприготовления, принятой из монтажа, под руководством ответственного лица, имеющего опыт пуска и эксплуатации аналогичных систем и назначаемого руководством электростанции.

А.2.1.3 Выявите и устраните небрежности монтажа, а также проектные и конструктивные недостатки, предопределяющие отложения пыли в тракте системы пылеприготовления. Для этого принятую в эксплуатацию после монтажа или реконструкции систему пылеприготовления периодически останавливайте, производите тщательный осмотр ее тракта через люки и лазы и устраняйте обнаруженные недостатки.

Организуйте специальную комиссию и выполните контрольный осмотр тракта системы пылеприготовление не позднее чем через 2000 ч ее наработки с оформлением специального акта и разработкой мероприятий по устранению всех мест отложений пыли.

А.2.1.4 Организуйте проведение испытаний системы пылеприготовления, с учетом результатов которых разработайте режимную карту котла, содержащую в том числе полные и конкретные указания по ведению оптимального режима систем пылеприготовления в предусмотренном проектом и условиями эксплуатации диапазоне нагрузок.

Проводите испытания системы пылеприготовления перед каждым капитальным ремонтом котла и после него.

А.2.1.5 Организуйте при подачах топлива в систему обязательное включение в работу металло- и щепоуловителей, установленных в тракте топливоподачи.

А.2.1.6 Разработайте и внедрите графики выполнения следующих профилактических мероприятий:

- проведения испытаний для проверки правильности корректировки указаний режимной карты;

- проверки плотности (присосов) тракта систем пылеприготовления, работающих под разрежением;

- полной сработки топлива из БСУ;

- включения в работу системы пневмообрушения в БСУ;

- проверки контрольно-измерительной аппаратуры и аппаратуры технологических защит, блокировок, сигнализации и автоматических регуляторов;

- проверки исправности электрооборудования, кабелей электропитания и управления, а также заземления корпусов оборудования;

- проверки постоянной готовности к работе стационарных систем и ручных средств пожаротушения;

- проверки исправности стационарного освещения зоны размещения пылеприготовительного оборудования;

- проверки запыленности атмосферного воздуха в цехе, которая не должна превышать 10 мг/м3;

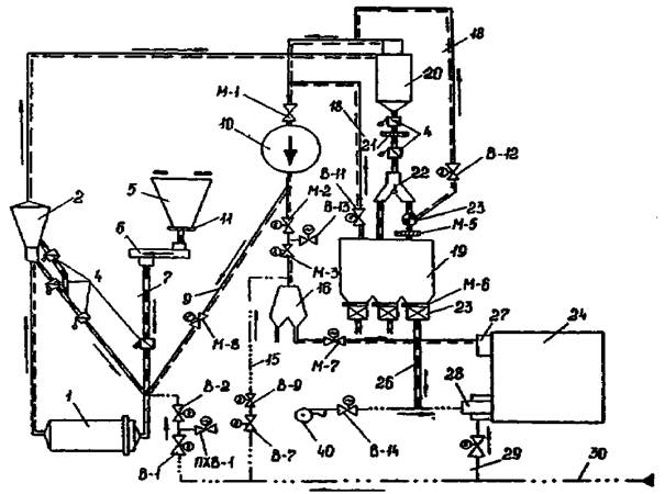
1 - бункер сырого угля; 2 - питатель угля; 3 - течка топлива; 4 - газозаборная шахта; 5 - мельница-вентилятор; 6 - инерционный сепаратор; 7 - пыледелитель (пылеконцентратор); 8 - пылепроводы к горелкам; 9 - горелка; 10 - котел; 11 - воздухоподогреватель; 12 - дутьевой вентилятор; 13 - воздуховоды холодного воздуха на уплотнения мельниц-вентиляторов; 14 - воздуховоды горячего воздуха после воздухоподогревателя; 15 - батарейный золоуловитель; 16 - дымосос рециркуляции газов; 17 - газоход присадки холодных газов; 18 - воздуховод присадки горячего воздуха; 19 - общий клапан вторичного воздуха на горелки; 20 и 21 - индивидуальные клапаны вторичного воздуха на горелки; 22 - клапан присадки горячего воздуха в газозаборную шахту; 23 - клапан присадки холодных газов в верхнюю часть топки; 24 - клапан присадки холодных газов в газозаборную шахту; 25 - клапан холодного воздуха на уплотнение М-В; 26 - общий вентиль подачи пара на систему пылеприготовления; 27 и 28 - индивидуальные вентили подачи пара в М-В и сепаратор; 29 и 30 - ремонтный и дистанционные вентили впрыска воды в газозаборную шахту; 31 - отсечной шибер перед М-В; 32 - клапан в течке возврата; 33 - регулирующая лопатка сепаратора; 34, 35 и 36 - ремонтные шиберы за сепаратором и в пылепроводах перед горелками; 37 - мигалка в течке топлива; 38 - отсечной шибер в нижней части бункера топлива; 39 - клапан присадки холодного воздуха на стороне всасывания М-В.

Рисунок А.1 - Система пылеприготовления прямого вдувания с мельницами-вентиляторами

1 - бак-отстойник; 2 и 3 - масляные насосы; 4 и 5 - предохранительные клапаны; 6 и 7 - обратные клапаны; 8 и 9 - фильтры механической очистки масла; 10 - маслоохладитель; 11 и 12 - подшипники одной М-В; 13 - 16 - вентили на маслопроводах перед насосами и за ними; 17 - 20 - вентили на маслопроводах перед фильтрами и за ними; 21 и 22 - вентили на маслопроводах перед маслоохладителем и за ним; 23 - вентиль на подводе воды перед маслоохладителем; 24 - 27 - общие вентили в маслопроводах к каждой М-В; 28 и 29 - вентили подачи масла на подшипники одной М-В; 30 и 31 - вентили на подводе и сливе масла из маслобака; 32 - вентиль на перемычке масла из напорного маслопровода в бак-отстойник; 33 - вентиль на подводе охлаждающей воды встроенного в подшипник М-В маслоохладителя; 34 - электронагреватель; 35 - термометры и температурное реле масла в баке-отстойнике; 36 и 37 - термометры в напорном и сливном маслопроводах; 38 и 39 - термометры в сливных маслопроводах после каждого подшипника М-В; 40 и 41 - термометры на подводе и сливе воды маслоохладителя; 42 и 43 - показатели уровня масла в баке-отстойнике и реле уровня; 44 и 45 - показатели уровня масла в подшипниках М-В; 46 и 47 - манометры измерения давления масла перед фильтрами и за ними; 48 - манометр измерения давления масла за маслоохладителем; 49 и 50 - манометры измерения давления масла перед каждым подшипником М-В; 51 - манометр измерения давления воды перед маслоохладителем; 52 и 53 - реле протока масла после каждого подшипника М-В; 54 и 55 - свободный видимый проток охлаждающей воды в воронки; 56 и 57 - указатели течения жидкости (масла); 58 - вентиль шунтовой линии маслоохладителя; 59 - маслоохладитель в блоке подшипников.

Рисунок А.2 - Принципиальная схема жидкой смазки подшипников для группы М-В

- проверки качества масла в редукторах привода питателя сырого топлива и в системе маслоснабжения подшипников с принудительной и картерной жидкой сказкой.

А.2.1.7 Установите с учетом местных условий эксплуатации периодичность профилактического осмотра оборудования системы пылеприготовления и уборки грязи и пыли в зонах размещения пылеприготовительного оборудования.

А.2.1.8 Разработайте и выполняйте программы и планы технической учебы и противоаварийных игр персонала.

А.2.1.9 Организуйте плановое (регулярное) техническое обслуживание и ремонт систем пылеприготовления, включая учет наработки, частоты и причины отказов оборудования.

А.2.2 Указания по составлению местной инструкции

А.2.2.1 Используйте указания настоящей Инструкции с учетом конкретных особенностей, имеющихся на электростанции схем систем пылеприготовления, типов и компоновки оборудования.

А.2.2.2 Конкретизируйте содержащиеся в Инструкции технологические параметры с учетом характеристик размалываемого топлива, местных условий эксплуатации и требований, содержащихся в нормативной технической и проектной документации.

А.2.3 Общие ограничения в работе систем пылеприготовления

А.2.3.1 Не допускайте работу системы пылеприготовления без включенных технологических защит, блокировок и сигнализации.

А.2.3.2 Не допускайте работу системы пылеприготовления с пылением. При обнаружении пыления немедленно примите меры к его устранению, вплоть до останова системы

А.2.3.3 Не допускайте во всех режимах работы системы пылеприготовления (пуске, нормальной работе, останове, перерывах в подаче топлива):

- температуры сушильного агента на входе в М-В свыше 500 °С (уточните по инструкции завода-изготовителя);

- температуры сушильного агента за сепаратором свыше значения, установленного в проектной документации;

- содержания кислорода в сухой пылегазовой смесь за сепаратором свыше 16 %, если система пылеприготовления отнесена к системам с газовой сушкой. Для выполнения указанного условия на регулирующих клапанах присадки горючего 22 и холодного 39 воздуха (рисунок А.1) при пусконаладочных работах должны быть установлены ограничители открытия.

А.2.3.4 Немедленно останавливайте систему пылеприготовления в аварийных ситуациях, указанных в А.7.1.1.

А.3 Указания по мерам безопасности

А.3.1 Соблюдайте при эксплуатации систем пылеприготовления требования и указания нормативной технической и проектной документации, не допуская ситуаций, угрожающих травмами обслуживающему персоналу.

Не допускайте:

- нахождения в зоне размещения оборудования систем пылеприготовления посторонних лиц, не занятых оперативным обслуживанием или ремонтом оборудования;

- производства ремонтных работ без наряда-допуска и обеспечения всех установленных мер безопасности;

- производства ремонтных работ на работающей системе пылеприготовления, связанных с применением газовой и электродуговой сварки; с нарушением эксплуатационной герметичности системы (вскрытие люков, лазов, замена диафрагм предохранительных клапанов);

- производства любых ремонтных работ в зоне размещения оборудования системы пылеприготовления и в опасных пределах вблизи этой зоны, а также расшлаковку топки и шлакоудаляющих устройств при работе системы пылеприготовления в нестабильных режимах (при пуске, останове, перебоях в поступлении топлива);

- загромождения зон размещения и обслуживания оборудования запасными частями, строительными и другими материалами;

- нарушения графиков выполнения профилактических мероприятий, указанных в А.2.1.6 и А.2.1.7;

- обдувки сжатым воздухом и сухой уборки пыли с поверхностей оборудования, пылегазовоздухопроводов, полов перекрытий и других поверхностей в зоне размещения систем пылеприготовления.

А.3.2 Принимайте специальные меры, разработанные с учетом местных условий, для защиты персонала от горящей пыли, выброшенной из предохранительных клапанов и отраженной от стен перекрытий при взрыве в системе пылеприготовления.

А.3.3 Не допускайте к проведению любых ремонтных работ и к осмотру системы пылеприготовления со вскрытием люков дверей и лазов персонал, спецодежда которого не соответствует требованиям отраслевых норм.

А.3.4 Принимайте при вскрытии люков и лазов на остановленной и подготовленной к осмотру или ремонту системе пылеприготовления следующие меры безопасности:

- удостоверьтесь в отсутствии посторонних предметов, препятствующих быстрому отходу в безопасное место в случае выброса горящей пыли через открываемый люк (лаз, дверь), и наметьте путь отхода;

- не наносите удары по корпусу оборудования или пылегазовоздухопроводу, в котором расположен открываемый люк, и не трогайте прилегающие шиберы во избежание взвихривания пыли;

- находитесь сбоку от открываемого люка со стороны его петель, используйте крышку люка в качестве экрана-отражателя в случае выброса горящей пыли;

- открывайте люк медленно и постепенно, крепко удерживая его крышку во избежание ее резкого захлопывания или открывания под действием собственной массы, разрежения или давления.

А.3.5 Содержите в порядке и постоянной готовности все противопожарные средства:

- стационарные системы пожаротушения в БСУ, пылегазовом тракте системы пылеприготовления, зоне размещения пылеприготовительного оборудования;

- огнетушители, ящики с песком, лопаты и остальной ручной противопожарный инвентарь, для нахождения которого установите постоянные, четко обозначенные места.

А.3.6 Ликвидируйте обнаруженные отложения горящей пыли, осторожно заливая их водой через стволы-распылители, не допуская взвихривания пыли.

А.4 Подготовка системы пылеприготовления к работе

А.4.1 Общие указания

А.4.1.1 Убедитесь в прекращении всех ремонтных работ, отсутствии ремонтного персонала на местах производства работ, а также посторонних предметов вблизи подготавливаемого к пуску оборудования и закрытия всех нарядов-допусков на ремонт оборудования подготавливаемой системы пылеприготовления.

А.4.1.2 Осмотрите систему пылеприготовления и при длительном ее простое (свыше 8 ч, уточните по местным условиям) убедитесь в отсутствии очагов горения в БСУ и питателе топлива, в корпусе и входном патрубке М-В, сепараторе, пыледелителе, пылепроводах, отключающих клапанах и других элементах.

Очаги горения выявляйте по запаху гари, дыму, повышенному нагреву отдельных элементов оборудования и участков тракта, устанавливаемому визуально и на ощупь.

Выявленные очаги горения немедленно ликвидируйте, залив тлеющие отложения водой через стволы-распылители. Закройте люки.

Проведение дальнейшей подготовки и пуск системы пылеприготовления до ликвидации очагов горения запрещается.

А.4.1.3 Производите осмотр системы пылеприготовления, пускаемой после монтажа или реконструкции, со вскрытием всех люков; контрольный внутренний осмотр производите не позднее чем через 2000 ч наработки.

А.4.1.4 Подготовьте и пустите систему жидкой смазки подшипников М-В, если она не работала, в соответствии с А.4.3.

Если маслостанция работает, откройте вентиль 24 (рисунок А.2) подачи масла на подшипники подготавливаемой мельницы, контролируя его поступление по реле протока масла 52 и 53 и указателям течения масла 56 и 57.

Проверьте и при необходимости подрегулируйте работу системы жидкой смазки аналогично А.4.3.12 и А.4.3.13.

А.4.2 Подготовка оборудования

А.4.2.1 Осмотрите подшипники и редукторы с жидкой и консистентной смазкой всех вращающихся механизмов подготавливаемой системы пылеприготовления: питателя топлива 2, электродвигателя М-В 5, воздухоохладителя электродвигателя М-В и другие (рисунок А.1).

Убедитесь в отсутствии повреждений корпусов и уплотнений подшипников. Проверьте уровень масла в подшипниках, имеющих жидкую картерную смазку, а также наличие смазки в подшипниках с густой смазкой.

В механизмах с жидкой смазкой ее уровень должен находиться в рабочем диапазоне, отмеченном на маслоуказателях.

Подшипники с консистентной смазкой должны быть заполнены смазкой на 2/3 свободного объема их корпусов. Марка и периодичность замены смазки устанавливаются инструкциями заводов-изготовителей оборудования.

А.4.2.2 Проверьте плотность закрытия люков на МБ 5, питателе топлива 2, сепараторе б и другом пылеприготовительном оборудовании.

А.4.2.3 Проверьте исправность диафрагм предохранительных клапанов (на них не должно быть пробоев, не плотностей и посторонних предметов).

А.4.2.4 Проверьте соответствие положения регуляторов высоты слоя топлива на столе питателя 2 указанию режимной карты. Убедитесь в работоспособности сигнализатора обрыва топлива.

А.4.2.5 Проверьте положение клапана 32 и регулирующего органа 33 сепаратора и установите их в соответствии с указаниями режимной карты.

А.4.2.6 Проверьте наличие и исправность ограждений муфт и валов приводов М-В 5 и питателя топлива 2.

А.4.2.7 Проверьте визуально исправность заземления и устройств аварийного отключения электродвигателей М-В и питателя топлива.

А.4.2.8 Откройте запорные вентили 26 и 29 и проверьте наличие давления воды и пара в трубопроводах пожаротушения перед пылеприготовительной установкой. Давление воды должно быть примерно 0,5 МПа, пара до 1,5 МПа.

А.4.2.9 Проверьте наличие топлива в бункере 1 и, если его недостаточно, потребуйте от начальника смены топливно-транспортного цеха (ТТЦ) заполнения бункера.

А.4.2.10 Осмотрите приводы к клапанам и, проверьте:

- исправность механических рычагов-тяг (отсутствие изгибов, трещин, наличие шайб и шплинтов в шарнирных соединениях);

- легкость хода и управления шиберами вручную по месту;

- соответствие местных указателей (реперов) положения клапанов рискам на их осях;

- рабочий диапазон перемещения шиберов.

Установите штурвалы приводов клапанов в рабочее положение, обеспечивающее дистанционное управление клапанами от электропривода.

А.4.2.11 Дайте заявку дежурному оперативному персоналу электроцеха на сборку электрических схем и подачу напряжения на электродвигатели оборудования и на приводы дистанционного управления клапанами, которые находились в ремонте.

А.4.2.12 Вызовите дежурный персонал электроцеха, а также цеха тепловой автоматики и измерений для сборки, проверки и включения необходимых схем приборов, защит и блокировок.

А.4.2.13 Проверьте действие блокировки механизмов путем пробного включения питателя топлива при неработающей М-В.

А.4.2.14 Откройте отсечной шибер 38 на течке из бункера к питателю топлива, шиберы: 31 на входе в М-В и 34 за сепаратором.

А.4.2.15 Откройте запорный клапан 25 на трубопроводе воздуха, подаваемого на уплотнение М-В.

А.4.2.16 Установите в необходимое положение, определяющее время прогрева системы пылеприготовления при пуске, клапан 24 присадки холодных газов в газозаборную шахту 4.

А.4.2.17 Установите в положение «Закрыто» клапан 22 на подводе присадки горячего воздуха в газозаборную шахту 4.

А.4.2.18 Откройте и отрегулируйте подачу охлаждающей воды на встроенный маслоохладитель блока подшипников М-В вентилем 33 (рисунок А.2) и внешний воздухоохладитель электродвигателя М-В (при его наличии).

А.4.2.19 Потребуйте от дежурного персонала электроцеха и цеха тепловой автоматики и измерений произвести проверку работоспособности технологических защит и блокировок без их воздействия на исполнительные механизмы (в испытательном положении) в случаях простоя системы пылеприготовления более 3 суток и выполнения ремонтных работ в цепях защит во время простоев меньшей продолжительностью

А.4.2.20 Получите подтверждение о вводе в работу устройств и схем управления электрическими защитами технологическими защитами, блокировками и сигнализацией.

Пуск системы пылеприготовления с неисправной системой защит и блокировок запрещен.

А.4.2.21 Подайте напряжение на лампы подсветки табло световой сигнализации нажатием кнопки их проверки и при наличии перегоревших ламп (отдельные табло не подсвечиваются) потребуйте от дежурного персонала цеха тепловой автоматики и измерений заменить их новыми.

А.4.3 Подготовка к пуску и пуск системы жидкой смазки подшипников мельниц

А.4.3.1 Проверьте уровень масла в баке-отстойнике 1 (рисунок А.2). В бак-отстойник можно заливать только очищенное масло надлежащего качества, рекомендованное заводом-изготовителем М-В. Уровень масла в баке-отстойнике должен составлять от 0,5 до 0,7 включительно высоты бака. Замена масла производиться после нормальной работы в течение от 6 до 12 месяцев включительно или по результатам ежемесячного контроля состояния масла.

А.4.3.2 Произведите тщательный наружный осмотр масляных насосов 2 и 3 фильтров 8 и 9 маслоохладителя 10 корпусов подшипников 11 и 12, всей арматуры к контрольно-измерительных приборов.

А.4.3.3 Убедитесь в отсутствии протечек масла, включите электронагреватель 34 и переведите его на автоматическую работу от температурного реле 35.

А.4.3.4 Проверьте вращение масляных насосов 2 и 3; фильтров 8 и 9, которые должны легко проворачиваться от руки.

А.4.3.5 Проверьте правильность настройки контрольно-измерительной аппаратуры, сигнализации и защит на требуемые по условиям эксплуатации давление и температуру масла (конкретизируйте в местной инструкции). Убедитесь в полном открытии запорных вентилей на соединительных (импульсных) линиях к манометрам (на схеме условно не показаны).

А.4.3.6 Убедитесь в полном закрытии или закройте вентиль 23 в трубопроводе охлаждающей воды и следующие вентили и маслопроводах:

- слива из бака-отстойника 31;

- заполнения бака-отстойника 30;

- перед рабочим фильтром 17;

- перед и за резервным фильтром 18 и 20;

- в байпасе маслоохладителя 58;

- в перемычке между напорным маслопроводом и баком-отстойником 32 (при ее наличии);

- подачи масла к подшипникам мельниц, не подготавливаемых к работе, 25 - 27.

А.4.3.7 Откройте полностью или убедитесь в полном открытии следующих вентилей в маслопроводах:

- со стороны всасывания маслонасосов 13 и 14;

- после маслонасосов 15 и 16;

- за подготавливаемым к работе фильтром 19;

- перед и за маслоохладителем 21 и 22;

- подачи масла к подшипникам 24 подготавливаемой к работе М-В.

Вентили 28 и 29 должны быть отрегулированы (при пуско-наладочных работах) так, чтобы при рабочем давлении масла за фильтром обычно от 0,2 до 0,3 МПа включительно обеспечить необходимый проток масла через каждый подшипник.

А.4.3.8 Проверьте температуру масла в баке-отстойнике и при ее значении в пределах от 40 до 60 °С включительно включите в работу маслонасос 2.

А.4.3.9 Убедитесь по показаниям манометра 46, термометра 35 и циркуляции масла в баке-отстойнике в нормальной работе маслонасоса, предохранительного клапана 4 и обратного клапана 7.

При возникновении в работающем маслонасосе посторонних шумов, периодических ударов, повышенной вибрации к других неисправностях немедленно остановите маслонасос.

А.4.3.10 Проверьте работу предохранительных клапанов 4 и 5, для чего:

- Поднимите давление в напорном маслопроводе до 0,6 МПа прикрытием вентиля 21 и, если в течение от 30 до 60 с не сработает защита по повышенному давлению масла, отключите маслонасос, уменьшите рабочее давление клапана 4, включите маслонасос;

- Подрегулируйте предохранительный клапан 4 в соответствии с инструкцией завода-изготовителя, если давление масла после включения маслонасоса стабилизируется ниже необходимого;

Для настройки предохранительного клапана 5 остановите маслонасос 2, включите маслонасос 3 и выполните операции по А.3.10.1 и А.3.10.2.

А.4.3.11 Откройте полностью вентиль 17 перед рабочим электрофильтром 8 и подайте масло на подшипники 11 и 12 подготавливаемой к работе М-В. Убедитесь в нормальной работе маслосистемы и КИП в отсутствии утечек масла, нормальном поступлении масла через сливной маслопровод.

Проверьте уровень масла в баке-отстойнике 1 и при: необходимости долейте масло до рабочего уровня (по А.4.3.1).

А.4.3.12 Оставьте в работе маслонасос 3 до восстановления температуры масла в баке-отстойнике до рабочего диапазона температур от 40 до 60 °С включительно.

А.4.3.13 Проверьте и подрегулируйте вентилями 28 и 29 в соответствии с инструкцией завода-изготовителя М-В подачу масла на подшипники, наблюдая за протоком масла по указателям его течения 56 и 57, уровнемерам масла 44 и 45 корпуса подшипников и давлением масла по манометрам 49 и 50 перед подшипниками.

А.4.3.14 Отрегулируйте вентилем 16 или 32 по манометру 47 рабочее давление масла за фильтрами в пределах от 0,2 до 0,3 МПа включительно, уточните по местным условиям эксплуатации. Проверьте показания всех КИП и убедитесь в отсутствии отклонений от нормальных параметров

А.4.3.15 Проверьте действие ключа автоматического включения в работу резервного маслонасоса и восстановите рабочее давление масла за фильтрами, для чего:

- поставьте ключ автоматического включения в работу резервного маслонасоса в положение «Сблокировано»;

- отключите маслонасос 3 и убедитесь в автоматическом включении маслонасоса 2 при понижении давления за фильтрами до 0,7 от рабочего давления масла;

- проверьте и при необходимости подрегулируйте вентилем 16 или 32 давление за фильтрами.

А.4.3.16 Контролируйте температуру масла в баке-отстойнике 1 и температуру подшипников 11 и 12. При прогреве масла в баке-отстойнике системы жидкой смазки, работающей хотя бы на подшипники одной MB до 60 °С, откройте вентиль 23 на подводе охлаждающей воды к маслоохладителю. Давление воды должно быть на от 0,03 до 0,05 МПа включительно ниже рабочего давления масла.

А.5 Включение системы пылеприготовления в работу

А.5.1 Общие указания

А.5.1.1 Выполняйте операции по пуску пылеприготовительного оборудования и регулированию технологических параметров системы пылеприготовления со щита управления котлом (энергоблоком).

А.5.1.2 Предупреждайте о каждом включении в работу пылеприготовительного оборудования машиниста-обходчика, который в момент пуска оборудования должен находиться на месте, у кнопки аварийного отключения, и обязан немедленно отключить пускаемое оборудование в случае явных нарушений в его работе (при сильной вибрации, постороннем шуме в корпусе, пробое диафрагмы предохранительных клапанов и других).

А.5.1.3 Контролируйте продолжительность разворота пускаемого оборудования по показанию амперметра его электродвигателя (стрелка амперметра показывает пусковой ток или зашкалена). При превышении максимально допустимой продолжительности разворота электродвигателя, установленной инструкцией завода-изготовителя, немедленно отключите электродвигатель (продолжительность разворота каждого электродвигателя и предельные значения пусковых токов укажите в местных инструкциях с привязкой к конкретному оборудованию, приводом которого он служит).

А.5.1.4 Производите повторный пуск электродвигателя только с разрешения начальника смены электроцеха после обязательной проверки электрической к механической части оборудования, приводом которого он является.

А.5.1.5 Убедитесь (при включении в работу первой системы пылеприготовления на котле) в том, что температура дымовых газов в поворотном газоходе котла 10 (рисунок А.1) за топкой не ниже минимально допустимого значения, соответствующего тепловой нагрузке топки, при которой обеспечивается устойчивое воспламенение пыли (в местной инструкции назовите конкретное значение этой температуры).

А.5.1.6 Включите в работу вторую и последующие системы пылеприготовления на котле в соответствии с рекомендациями инструкции по эксплуатации котла и готовностью систем пылеприготовления к работе.

А.5.1.7 Приведите в соответствие суммарную производительность работающих систем пылеприготовления с тепловой нагрузкой котла (после включения в работу второй и последующих систем пылеприготовления).

При наличии необходимых условий (количестве работающих систем пылеприготовления, тепловой нагрузке котла и других) подключите включенную схему пылеприготовления к регулятору топлива или к групповому управлению расхода топлива на работающие системы пылеприготовления.

А.5.2 Пуск системы пылеприготовления

А.5.2.1 Включите вентилятор охлаждения электродвигателя М-В (при наличии внешнего воздушного охлаждения).

А.5.2.2 Откройте подачу пара вентилем 27 (рисунок А.1) через специальные сопла на входе в М-В.

А.5.2.3 Включите электродвигатель М-В 5. Контролируйте запуск электродвигателей в соответствии с инструкцией завода-изготовителя. При пуске электродвигателей с фазным ротором контролируйте продолжительность разворота и максимальный ток на каждой ступени.

При первом пуске после ремонта с откатыванием патрубка получите подтверждение от машиниста-обходчика об отсутствии задеваний в размольной камере и повышенных вибрациях

А.5.2.4 Удостоверьтесь по сигнальным лампам (при их наличии), по сообщению дежурного персонала цеха тепловой автоматики и измерений в автоматическом вводе в работу технологических защит в системе маслоснабжения М-В, действующих на останов при:

- понижении давления масла перед подшипниками по манометрам 49 и 50 (рисунок А.2) до второго предела (обычно 0,1 МПа);

- отсутствии протока масла по реле 52 и 53 (рисунок А.2) в сливных маслопроводах за подшипниками М-В.

А.5.2.5 Закройте вентиль 27 (рисунок А.1) подачи пара на вход М-В через 2 мин после его открытия (уточните в местной инструкции).

А.5.2.6 Включите в работу питатель угля 2 (рисунок А.1) после разворота М-В и повышения температуры пылегазовой смеси за сепаратором в пределах от 80 до 100 °С включительно. Откройте полностью клапан 19 подачи вторичного воздуха на горелки.

А.5.2.7 Получите от дежурного персонала цеха тепловой автоматики и измерений подтверждение об автоматическом вводе в работу технологической защиты, действующей при прекращении поступления топлива в питатель на включение вибраторов или сопл пневмообрушения, установленных на БСУ.

А.5.2.8 Контролируйте воспламенение пыли в основных горелках 9 пускаемой системы пылеприготовления по датчикам пламени, росту температур по газовому тракту котла и другим показателям, указанным в инструкции по эксплуатации котла. Если пыль не загорелась или погас факел в топке, аварийно остановите систему пылеприготовления.

А.5.2.9 Отрегулируйте режим работы системы пылеприготовления в соответствии с режимной картой и требуемой тепловой нагрузкой котла.

Включите в работу регулятор температуры пылегазовой смеси за сепаратором.

А.6 Управление системой пылеприготовления и контроль за режимом работы

А.6.1 Используйте параллельную работу всех исправных систем пылеприготовления на котле с одинаковыми расходами топлива в диапазоне нагрузок от 60 до 100 % включительно от номинальной.

А.6.2 Не допускайте работу системы пылеприготовления без включенных технологических блокировок, защит, сигнализации и автоматических регуляторов. Требуйте от персонала цеха тепловой автоматики и измерений своевременных проверок и постоянной работоспособности блокировок, защит, сигнализации и автоматических регуляторов.

А.6.3 Ведите режим работы системы пылеприготовления в соответствии с указаниями режимной карты, составленной на основании испытаний и опыта эксплуатации и учитывающей особенности оборудования системы пылеприготовления и котла.

Контролируйте режимы работы оборудования систем пылеприготовления по показаниям КИП.

Требуйте от дежурного персонала цеха тепловой автоматики и измерений и электроцеха обеспечения постоянной работоспособности и правильности показаний КИП.

А.6.4 Следите за равномерным и непрерывным поступлением топлива в М-В по амперметрам электродвигателей мельницы и питателя топлива, регистратору температуры пылегазовой смеси за сепаратором, а также по сигнализатору обрыва подачи топлива. Для возможности косвенного контроля за производительностью питателя топлива в местной инструкции назовите конкретное значение токовой нагрузки электродвигателя питателя при его работе на холостом ходу.

А.6.4.1 Не допускайте снижения уровня топлива в бункерах ниже 1/3 высоты бункера (за исключением случаев плановой сработки топлива из бункера). Требуйте от начальника смены топливоподачи своевременного заполнения топливом бункеров работающих систем пылеприготовления.

А.6.4.2 Контролируйте постоянную готовность к работе систем побудительного движения топлива в БСУ (в местной инструкции конкретизируйте пневмо- и парообрушение, вибраторы и др.); не допускайте уменьшения давления в ресиверах системы пневмообрушения ниже предела от 0,5 до 0,6 МПа включительно (уточните в местной инструкции).

А.6.4.3 Включайте в работу системы побудительного движения топлива в БСУ (кроме вибраторов) в соответствии с графиком (независимо от стабильности истечения топлива из бункеров) в целях предотвращения условий для образования плотных отложений топлива на стенках БСУ.

Включение в работу систем побудительного движения топлива при обнаружении в БСУ очага горения категорически запрещается.

А.6.4.4 Осуществляйте в соответствии с графиком полное срабатывание топлива из БСУ с зачисткой из стенок от плотных отложений.

А.6.4.5 Эксплуатируйте питатели сырого топлива с постоянной высотой слоя топлива на столах скребковых и ленточных питателей (в местной инструкции конкретизируйте тип питателя и назовите высоту слоя топлива в миллиметрах).

Высота слоя топлива для всех питателей одного котла устанавливается одинаковой и такого значения, при котором параллельная работа всех питателей топлива с минимальной частотой вращения их электродвигателей обеспечивает 60 % номинальной тепловой нагрузки котла. Увеличение подачи топлива каждым питателем обеспечивается увеличением частоты вращения их электродвигателей без изменения высоты слоя топлива.

А.6.5 Своевременно выявляйте отклонения от нормальных условий эксплуатации системы пылеприготовления и принимайте оперативные меры к устранению нарушений режима и неполадок в работе пылеприготовительного оборудования, действуя в соответствии с указаниями раздела А.7.

А.6.6 Осматривайте два раза в смену (уточните с учетом местных условий эксплуатации) систему пылеприготовления, контролируя:

- отсутствие очагов горения в тракте системы пылеприготовления (по А.4.1.2);

- нормальную работу пылеприготовительного оборудования и его приводов по отсутствию посторонних шумов, стука и скрежета в корпусах и подшипниках;

- степень нагрева и вибрацию (на ощупь) подшипников оборудования и его приводов;

- плотность тракта системы пылеприготовления - визуально по наличию пылений или явных присосов атмосферного воздуха, особенно через предохранительные клапаны, компенсаторы и гибы пылепроводов;

- исправность ограждений соединительных муфт, валов и других вращающихся частей пылеприготовительного оборудования и их приводов;

- освещенность мест установки пылеприготовительного оборудования и арматуры местных щитов, КИП и другой арматуры, требуя от персонала электроцеха своевременной замены перегоревших электрических ламп в стационарной сети освещения.

А.6.7 Контролируйте работу смазки подшипников и редукторов М-В и питателя топлива.

А.6.7.1 Проверьте два раза в смену высоту уровня масла в редукторах и подшипниках с картерной смазкой по уровнемерам и с помощью щупа. При необходимости долейте масло так, чтобы его уровень находился в указанных пределах.

Проверяйте визуально отсутствие течи масла и состояние уплотнений.

А.6.7.2 Производите своевременно (по графику, составленному по указаниям заводов-изготовителей и из опыта эксплуатации) добавку консистентной смазки в подшипники с густой смазкой.

А.6.7.3 Осматривайте два раза в смену (уточните с учетом местных условий эксплуатации) станцию жидкой смазки, проверяя:

- высоту уровня масла в баке-отстойнике 1 по уровнемерам 42 и 43 (рисунок А.2), которая должна находиться в пределах от 0,5 до 0,7 высоты бака;

- температуру масла в баке-отстойнике по термометру 35, значение которой не должно выходить за пределы от 35 до 60 °С включительно;

- давление масла в маслопроводе за фильтрами (манометр 47), которое должно находиться в пределах от 0,2 до 0,3 МПа включительно (уточните по местным условиям). При необходимости подрегулируйте давление вентилем 15 или 32 после работающего маслонасоса 2;

- гидравлическое сопротивление фильтра (разницу давлений, измеряемых манометрами 46 и 47), которое не должно превышать 0,08 МПа. При превышении указанного давления производите очистку фильтра в соответствии с А.6.7.4;

- давление и расходы масла на каждый подшипник М-В по манометрам 49 и 50, указателям течения 56 и 57 и уровню масла в подшипниках. При необходимости подрегулируйте расход и давление масла вентилем расхода масла на подшипник;

- давление и расход охлаждающей воды по манометру 51 и свободному протоку 54 на маслоохладитель маслостанции и по свободному протоку 55 на встроенный маслоохладитель в блоке подшипников М-В;

- температуру масла после маслоохладителя по термометру 36, которая должна быть на от 5 до 10 °С ниже (уточните по местным условиям), чем температура масла в баке-отстойнике при работе всех подключенных к маслосистеме М-В. Проверьте температуру охлаждающей воды перед маслоохладителем, после чего при необходимости по термометрам 40 и 41 увеличьте расход охлаждающей воды открытием вентиля 23. При увеличении расхода не допускайте повышения давления охлаждающей воды по манометру 51 до уровня на от 0,03 до 0,05 МПа включительно ниже, чем давление масла перед маслоохладителем по манометру 47;

- плотность корпусов оборудования, маслопроводов, соединительных линий к манометрам, уплотнений по отсутствию подтеков масла.

Не допускайте попадание масла на работающее оборудование, фундаменты и строительные конструкции, а в случае попадания необходимо немедленно убрать его.

А.6.7.4 Производите вручную (при отсутствии автоматической системы) при повышении сопротивления работающего фильтра очистки масла, например 8, выше 0,08 МПа по манометрам 46 и 47 его очистку в следующем порядке:

- включите в работу резервный фильтр 9, открыв вентили 18 и 20 перед и за ним;

- отключите работающий фильтр 8, закрыв вентили 17 и 19 перед и за ним;

- проверните несколько раз маховик отключенного фильтра;

- удалите через специальный сливной маслопровод в нижней части фильтра в заранее подготовленную емкость загрязненное масло с механическими примесями;

- проверьте эффективность выполненной очистки, включив очищенный фильтр в работу, отключив резервный, и зафиксируйте разность давлений по манометрам 46 и 47 в соответствии с предыдущими операциями настоящего пункта. При удовлетворительном качестве очистки отключите очищенный фильтр и резерв. При неудовлетворительной очистке повторите ее и в случае необходимости потребуйте от ремонтного персонала очистки со вскрытием фильтра.

А.6.7.5 Требуйте от персонала химической лаборатории выполнения один раз в 2 месяца (уточните с учетом местных условий эксплуатации) отбора проб масла из нижней точки бака-отстойника 1, корпусов подшипников и редукторов с картерной смазкой для проведения химического анализа проб и выдачи заключения о пригодности масла для дальнейшей эксплуатации. На основе заключения химической лаборатории планируйте и осуществляйте своевременную замену отработавшего свой ресурс масла новым.

Производите смену масла в системе жидкой смазки только при полном ее останове. В бак-отстойник заливается масло по инструкции завода-изготовителя М-В и техническому паспорту станции жидкой смазки. Производите смену масла в подшипниках и редукторах с картерной смазкой только при остановленном механизме Марка масла должна соответствовать требованиям заводов-изготовителей.

Одновременно с заменой отработавшего масла производите промывку системы жидкой смазки или корпусов подшипников и редукторов с картерной смазкой в соответствии с указаниями заводов-изготовителей.

А.6.8 Записывайте в специальном журнале один раз в сутки значения присосов воздуха в каждую систему пылеприготовления, определяемые по разрежению перед М-В и перепаду статических давлений на верхней части газозаборной шахты. Время, объем измерений и режим работы системы пылеприготовления уточняются с учетом местных условий эксплуатации Желательно проводить эти измерения при нагрузке, близкой к номинальной.

Требуйте от персонала цеха наладки один раз в месяц определения значений присосов в каждую систему пылеприготовления.

Планируйте и осуществляйте на основании результатов измерений присосов своевременный останов системы пылеприготовления для приведения ее плотности в соответствие с требованиями проектной документации.

А.6.9 Ведите в суточной ведомости четкий ежесменный учет включений и переключений оборудования системы пылеприготовления Ведите в специальном журнале учет продолжительности работы каждой М-В с фиксацией на конец каждой смены времени их наработки за смену и суммарной продолжительности работы после каждой замены ротора и ремонта языковой брони.

Подготавливайте заявки, планируйте совместно с ремонтным персоналом и осуществляйте плановые остановы системы пылеприготовления в профилактический ремонт для:

- своевременной замены ротора М-В, поворота или замены угловой брони;

- контроля за состоянием указанных элементов и другого оборудования системы пылеприготовления;

- устранения явленных при ежесменных осмотрах дефектов оборудования.

А.7 Остановка системы пылеприготовления

А.7.1 Общие указания

А.7.1.1 Немедленно остановите систему пылеприготовления при следующих аварийных ситуациях:

- взрыве в системе пылеприготовления;

- во всех случаях, непосредственно угрожающих безопасности людей;

- несрабатывании технологических защит по аварийному останову котла или системы пылеприготовления;

- опасной вибрации корпусов подшипников М-В, питателя топлива, их электродвигателей и редукторов (конкретные значения опасных вибраций для каждого механизма уточните в местных инструкциях в соответствии с указаниями заводов-изготовителей);

- появлении ударов, стука и скрежета в размольной камере М-В, которые могут быть вызваны попаданием посторонних предметов вместе с топливом, а также задевании ротора с корпус;

- нагреве подшипников вращающихся механизмов системы пылеприготовления или электродвигателей свыше 80 °С;

- появлении искр или дыма из электродвигателей, токоподводящих кабелей или подшипников.

А.7.1.2 Сообщите немедленно начальнику смены котлотурбинного (котельного) цеха об аварийном останове системы пылеприготовления и других принятых мерах.

А.7.1.3 Своевременно останавливайте систему пылеприготовления по заявке ремонтного персонала для проведения планового технического обслуживания и предупредительного ремонта оборудования и пылегазовоздухопроводов в целях предотвращения отказов в их работе. Требуйте от ремонтного персонала устранения во время плановых остановов всех замеченных дефектов оборудования, КИП, защит, блокировок и других.

А.7.1.4 Останавливайте систему пылеприготовления в случаях, не указанных в А.7.1.1, с разрешения начальника смены котлотурбинного (котельного) цеха

А.7.1.5 Фиксируйте в оперативном журнале:

- время останова системы пылеприготовления и его причины;

- время подачи заявок на разборку электрических схем и цепей питания электродвигателей и приводов арматуры, а также собственно разборки схем;

- время выполнения мероприятий по обеспечению безопасных условий для ремонта системы пылеприготовления;

- время допуска к работе по наряду ремонтного персонала.

А.7.2 Плановый останов в ремонт со сработкой топлива из бункера

А.7.2.1 Производите плановый останов системы пылеприготовления со сработкой топлива из бункера сырого угля при планируемой продолжительности простоя свыше максимально допустимой по условиям самовозгорания топлива и образования плотных отложений и сводов в бункере (в местной инструкции назовите конкретную максимально допустимую продолжительность простоя системы пылеприготовления с топливом в бункере, установленную с учетом конкретных условий эксплуатации)

А.7.2.2 Осмотрите работающую систему пылеприготовления и зафиксируйте обнаруженные дефекты пылеприготовительного оборудования и тракта пылега-зовоздухопроводов в журнале учета дефектов.

Проверьте показания всех КИП. Удостоверьтесь в отсутствии перегоревших ламп подсветки табло световой сигнализации (по А.4.2.21)

А.7.2.3 Предупредите начальника смены топливно-транспортного цеха о подготавливаемом останове системы пылеприготовления, потребуйте прекратить подачу топлива в ее бункер и организовать визуальный контроль за высотой уровня топлива в бункере.

А.7.2.4 Начните с работку топлива из бункера 1 (рисунок А.1), не изменяя режима работы системы пылеприготовления, с использованием по мере необходимости системы побуждения движения топлива из бункера (по А.6.4.3 и А.6.4.4).

А.7.2.5 Контролируйте уровень топлива в бункере. При снижении уровня до минимально допустимого (укажите в местной инструкции конкретную высоту минимально допустимого уровня) произведите следующие операции:

- переключите на индивидуальное управление частотой вращения электродвигателя питателя топлива 2 (рисунок А.1);

- увеличьте до максимально возможного значения высоту слоя топлива на столе питателя 2 и уменьшите до минимально допустимого значения частоту вращения электродвигателя питателя топлива, таким образом, чтобы температура пылегазовой смеси за сепаратором 6 не превышала уровня начала срабатывания сигнализации, контролируйте работу автоматического регулятора температуры пылегазовой смеси за сепаратором;

- следите за стабильностью поступления топлива в питатель 2 и М-В 5 по амперметрам их электродвигателей и температуре пылегазовой смеси.

При появлении перебоев в поступлении топлива подайте пар в мельницу и сепаратор, открыв вентили 27 и 28, отключите воздействие автоматического регулятора температуры пылегазовой смеси за сепаратором на клапаны 22, 39 и 24 присадки воздуха и низкотемпературных дымовых газов в систему пылеприготовления, откройте полностью клапан 24, закройте полностью клапаны 22 и 39 и уменьшите температуру пылегазовой смеси за сепаратором до минимально допустимого значения по условию отсутствия конденсации водяных паров (в местной инструкции укажите это значение).

При необходимости откройте вентиль 30 дистанционного впрыска воды в газозаборную шахту через специальные форсунки, задействованные в I пределе защиты от повышения температуры пылегазовой смеси за сепаратором. Используйте систему побуждения движения топлива в бункере 1 и обстукивайте нижнюю часть бункера вручную. Таким образом сработайте полностью топливо из бункера и шпателя топлива.

А.7.2.6 Отключите питатель топлива 2 после полного срабатывания топлива из бункера 1 и питателя топлива 2.

А.7.2.7 Отключите М-В 5 и вентилятор обдувки ее электродвигателя (при его наличии) сразу же после отключения питателя топлива 2. Проконтролируйте действие защиты на открытие вентиля 30 в трубопроводе подачи воды на впрыск в газозаборную шахту при повышении температуры пылегазовой смеси за сепаратором до I предела и закрытие этого вентиля при понижении температуры за сепаратором ниже I предела. При сбоях в срабатывании защиты выполните эти операции вручную.

А.7.2.8 Закройте полностью клапан 24 присадки низкотемпературных дымовых газов и прикройте клапан 19 в воздухопроводе вторичного воздуха к горелкам котла до положения, обеспечивающего минимально необходимый для надежного охлаждения горелок расход воздуха (в местной инструкции назовите степень открытия клапана 19). Прекратите подачу пара в мельницу и сепаратор, закрыв вентили 27 и 28 после понижения температуры за сепаратором до 130 °С.

А.7.2.9 Закройте полностью после полного останова ротора запорные вентили 26 и 29 в трубопроводах подачи пара и распыленной воды в, систему пылеприготовления, ремонтный шибер 34 за сепаратором и отсечной шибер 38 на выходе из бункера топлива, зафиксируйте в закрытом положении мигалку 37 в течке топлива 3 после питателя 2. Закройте ремонтные шиберы 35 и 36 в пылепроводах.

А.7.2.10 После понижения температуры за сепаратором до значения, установленного заводом-изготовителем мельницы (укажите в местной инструкции), закройте отсечной шибер 31 перед входным парубком М-В.

А.7.2.11 Закройте полностью вентиль 24 (рисунок А.2) подачи масла на подшипники остановленной М-В и вентиль 33 технической воды на встроенный маслоохладитель блока подшипников (при его наличии).

Проверьте рабочее давление масла в напорном маслопроводе станции жидкой смазки и, если оно превышает допустимое значение, понизьте его до номинального закрытием вентиля 15 после рабочего маслонасоса 2 или открытием вентиля 32 в перемычке между напорным маслопроводом и баком-отстойником 1 (в местной инструкции укажите конкретное допустимое значение давления масла).

А.7.2.12 Положите предупредительные плакаты на ключи пуска и отключения электродвигателей питателя топлива, М-В, а также на следующие шиберы, клапаны и вентили системы пылеприготовления (рисунок А.1):

- отсечной шибер 31 перед М-В;

- вентиль 30 впрыска воды в газозаборную шахту;

- управление лопаточным аппаратом пылеконцентратора (пыледелителя) 7;

- клапан 24 присадки холодных газов;

- клапан 22 присадки горячего воздуха;

- клапан 39 присадки холодного воздуха на стороне всасывания М-В;

- вентили 27 и 28 в трубопроводах подачи, пара в мельницу и сепаратор.

А.7.2.13 Дайте заявку начальнику смены электроцеха и цеха тепловой автоматики и измерений на разборку электрических схем питания электродвигателей и приводов, указанных в А.7.2.12.

После сообщения о разборке схем удостоверьтесь в том, что схемы разобраны, для чего:

- убедитесь в том, что сигнальные лампы на ключах и мнемосхемах погасли;

- квитируйте ключи в рабочее положение «Включено» и убедитесь в том, что электродвигатели и электроприводы не работают;

- квитируйте ключи в положение «Выключено» и положите на них предупредительные плакаты.

А.7.2.14 Выведите из зацепления с редукторами штурвалы приводов арматуры, указанной в А.7.2.12, и штурвалы приводов запорных вентилей и ремонтных шиберов, не оснащенных электроприводом:

- шиберов 34, 35 и 36 (см. рис. 1) за сепаратором и в пылепроводах;

- вентиля 26 на подводе пара в М-В и сепаратор;

- вентиля 29 на подводе воды в газозаборную шахту;

- клапана 25 холодного воздуха на уплотнение вала М-В.

Заприте эти штурвалы на цепь с замком и повесьте на них предупредительные плакаты.

А.7.3 Плановый останов в ремонт со сработкой топлива из питателя сырого угля

А.7.3.1 Выполните указания по А.7.2.2 и потребуйте от начальника топливно-транспортного цеха прекратить подачу топлива в бункер останавливаемой системы пылеприготовления.

А.7.3.2 Потребуйте от дежурного персонала цеха тепловой автоматики и измерений отключить технологическую защиту, действующую на включение в работу средств побуждения топлива в бункере при прекращении выхода топлива из последнего, и получите подтверждение об исполнении этого требования.

Примечание. Допускается отключение названной защиты посредством фиксирования подручными средствами ее первичного датчика в поднятом положении.

А.7.3.3 Выполните указания по А.7.2.5 - А.7.2.14, закрывая отсечной шибер 38 (рисунок А.1) под бункером. Систему побуждения движения топлива в бункере не используйте. После полного закрытия шибера 38 обстучите вручную стенки приемного патрубка питателя под этим шибером и отключите питатель.

А.7.4 Останов в резерв

А.7.4.1 Предупредите начальника смены топливно-транспортного цеха об останове и потребуйте прекратить подачу топлива в бункер останавливаемой системы пылеприготовления.

А.7.4.2 Отключите электродвигатель М-В и вентилятор его обдувки.

А.7.4.3 Проследите за действием технологических защит и блокировок, автоматически выполняющих операции по останову системы пылеприготовления после отключения электродвигателя мельницы. При нарушениях в работе защит и блокировок выполняйте операции по останову системы пылеприготовления вручную.

А.7.4.4 Отрегулируйте подачу вторичного воздуха на охлаждение горелок (по А.7.2.8), закройте запорный вентиль 29 (рисунок А.1) в трубопроводе подачи распыленной воды в газозаборную шахту и выполните указание по А.7.2.10.

А.7.4.5 При останове системы пылеприготовления в резерв на длительное время (продолжительность длительного простоя устанавливается главным инженером предприятия) отключите масло-снабжение подшипников мельницы, закрыв вентиль 24 (рисунок А.2), и прекратите подачу охлаждающей, воды на встроенный маслоохладитель блока подшипников (при его наличии), закрыв вентиль 33.

А.7.5 Аварийный останов

А.7.5.1 Немедленно отключите электродвигатели М-В в аварийных ситуациях, указанных в А.7.1.1. Если аварийная ситуация не связана с питателем топлива, взрывом или аварийным остановом котла, требующая немедленного прекращения подачи пыли, питатель топлива отключите после прошествия от 3 до 10 % времени выбега ротора.

А.7.5.2 Немедленно откройте вентиль 30 (рисунок А.1) подачи воды на впрыск в газозаборную шахту, если питатель топлива отключен одновременно с М-В. Закройте вентиль 30, прекратив впрыск воды в газозаборную шахту при уменьшении температуры пылегазовой смеси за сепаратором ниже значения первого предела.

А.7.5.3 Откройте вентили 27 и 28 в трубопроводах подачи пара в мельницу и сепаратор одновременно с отключением питателя сырого топлива.

А.7.5.4 Выполните дальнейшие операции по останову системы пылеприготовления в соответствии с А.7.2.8 - А.7.2.14. Если по ходу аварийного останова удалось установить причину аварии, меры безопасности по подготовке к устранению причины аварии с разборкой необходимых схем могут приниматься в ограниченном объеме по распоряжению начальника смены котельного цеха, согласованному с руководством.

А.7.5.5 Осмотрите систему пылеприготовления после останова, обратив особое внимание на отсутствие очагов горения и зафиксируйте выявленные дефекты оборудования.

А.7.5.6 Произведите останов системы пылеприготовления после аварийного отключения питателя топлива в соответствии с А.7.2.7 - А.7.2.11, немедленно подав распыленную воду в газозаборную шахту. Указания мер безопасности по подготовке к ремонту питателя 2 в соответствии с А.7.2.12 - А.7.2.14 выполните для электродвигателя питателя 2, шибера 38, клапанов 24 и 22, вентилей 29 и 30, мигалки 37 (рисунок А.1).

А.7.6 Останов системы жидкой смазки подшипников мельниц

А.7.6.1 Остановите систему жидкой смазки только после останова всех связанных с ней М-В.

А.7.6.2 Снимите с блокировки резервный маслонасос и отключите работающий маслонасос, электронагреватель и автоматическую сигнальную аппаратуру.

А.7.6.3 Слейте масло из напорного маслопровода в бак-отстойник, для чего откройте вентиль 32 (рисунок А.2) на перемычке между напорным и сливным маслопроводами (при ее наличии) для подготовки маслостанции к смене масла, промывке или ремонту.

А.7.6.4 Закройте вентили 13 - 16 на сторонах всасывания и нагнетания насосов 2 и 3.

А.7.6.5 Закройте вентили 17 - 20 перед фильтрами и за ними.

А.7.6.6 Закройте вентили 21 и 22 на входе масла в маслоохладитель и выходе из него.

А.7.6.7 Прекратите подачу воды на маслоохладитель, закрыв вентиль 23.

А.7.6.8 Дайте заявку начальнику смены электроцеха о разборке электрической схемы цепей питания электродвигателей маслонасосов и электронагревателя, после получения сообщения о разборке схем удостоверьтесь в этом по погасанию сигнальных ламп и кратковременному квитированию ключей пуска и останова маслонасосов в рабочее положение. Квитируйте ключи в нерабочее положение.

А.8 Характерные нарушения в работе системы пылеприготовления и действия по их устранению

А.8.1 Контролируйте работу автоматических регуляторов, срабатывание защит и блокировок при возникновении нарушений режима работы системы пылеприготовления (устранение наиболее характерных нарушений режима работы системы пылеприготовления, представляющих опасность для жизни обслуживающего персонала и угрозу разрушения оборудования, предусмотрено действием автоматических регуляторов, технологических защит и блокировок. При неисправности регуляторов, защит или блокировок выполняйте необходимые операции вручную.

А.8.2 Немедленно реагируйте на предупреждения светозвуковой сигнализации об отклонении основных параметров от значений, указанных в режимной карте, предупреждая оперативными действиями развитие нарушений до аварийных ситуаций и не допуская тем самым срабатывания защит и аварийных остановов системы пылеприготовления.

А.8.3 Действуйте при устранении нарушений режимов работы системы пылеприготовления, не предусмотренных защитами и блокировками, в соответствии с таблицей А.1.

Таблица А.1

Нарушения в работе

Признаки проявления нарушения

Действия персонала по устранению нарушений

Загорание топлива в бункере сырого топлива

Запах гари, дым, прежде всего в надбункерной галерее топливоподачи. Высокая температура стенок бункера, близких к очагу горения, определяемая в допустимых местах на ощупь.

Предупредите начальников смен котлотурбинного и топливно-транспортного цехов о загорании топлива в бункере. Удалите из опасных зон ремонтный и эксплуатационный персонал, не занятый устранением очага горения. Включите систему пожаротушения в бункере, залейте очаг горения в бункере водой через стволы-распылители. Потребуйте от персонала топливно-транспортного цеха заполнения бункера топливом до максимального уровня и ускорьте сработку топлива из бункера, контролируя визуально изменение степени задымленности и на ощупь изменение степени нагрева стенок бункера. В процессе ликвидации очага горения не допускайте включения в работу систем пневмообрушения, вибраторов и других средств побуждения движения топлива в бункере.

Застревание сырого топлива в бункере, образование сквозной воронки в БСУ

Срабатывание сигнализаторов минимального уровня топлива в бункере и обрыва потока топлива в питателе. Повышение температур пылегазовой смеси перед и за М-В. Увеличение перепада статических давлений на верхней части газозаборной шахты. Уменьшение токовой нагрузки электродвигателей питателя топлива и М-В. При работе регулятора температуры пылегазовой смеси за сепаратором автоматическое увеличение степени открытия клапанов 24 и 22 (рисунок А.1).

Включите в работу средства, побуждающие движение топлива в бункере (систему пневмообрушения, вибраторы и другие) Поднимите регулятор высоты слоя топлива на столе питателя в верхнее положение, обстучите и прошуруйте при наличии специальных лючков вручную нижнюю часть бункера и приемный патрубок питателя топлива. Проверьте высоту уровня топлива в бункере, потребуйте при необходимости от персонала топливно-транспортного цеха заполнения бункера. Восстановите нормальный режим работы системы пылеприготовления и положение регулятора высоты слоя топлива при восстановлении движения топлива. Остановите систему пылеприготовления в соответствии с А.7.4 при необходимости большого времени устранения нарушения

Отключение питателя топлива (дозатора или транспортера) из-за попадания посторонних предметов, перекоса цепи, а также срезание предохранительных шпилек механизмов привода питателя.

Кратковременное увеличение токовой нагрузки электродвигателей питателя с последующим их отключением или снижением токовой нагрузки ниже значений незагруженного питателя. Повышение температур пылегазовой смеси перед и за М-В. Увеличение перепада статических давлений на верхней части газозаборной шахты. При работе регулятора температуры пылегазовой смеси за сепаратором автоматическое увеличение степени открытия клапанов 24 и 22 (рисунок А.1).

Отключите питатель при перегрузках электродвигателя питателя или разгрузке его ниже значений незагруженного питателя. Дайте команду обходчику срочно осмотреть питатель топлива по месту. При этом необходимо обратить внимание на выход топлива из-под регулятора слоя на муфты со срезанными шпильками, а также состояние скребковых цепей на приводных валах. При обнаружении посторонних предметов постарайтесь их удалить. При необходимости замените срезанные шпильки. Включите питатель в работу после устранения неисправности. Остановите систему пылеприготовления в ремонт, если устранение неисправности требует большого времени. При наличии включите резервную систему пылеприготовления.

Попадание посторонних предметов, задевание ротора о корпус, повышенная вибрация ротора и подшипников.

Посторонний шум в М-В, повышенная вибрация ротора и подшипников. Повышенная амплитуда токовой загрузки электродвигателя М-В.

Аварийно отключите М-В и систему пылеприготовления в соответствии с А.7.5. Подготовьте М-В и систему пылеприготовления к осмотру и ремонту.

Повышение температуры подшипников М-В и других вращающихся механизмов до 70 °С (уточните по инструкции завода-изготовителя).

Повышение температуры подшипников по регистрирующему прибору, срабатывание сигнализации.

Проверьте по месту (на ощупь) и ртутными термометрами фактическую температуру и скорость ее роста, увеличьте проток охлаждающей воды и масла в блок подшипников М-В и маслоохладитель маслостанции, проверив открытие и открыв вентили 33, 28, 29 и 23 (рисунок А.2). Проверьте по прибору или по месту (на ощупь) уровень вибрации М-В. Остановите аварийно М-В и систему пылеприготовления в соответствии с А.7.5 при быстром продолжении повышения температуры подшипников свыше 80 °С.

Перегрузка М-В топливом.

Уменьшение перепада статических давлений на верхней части газозаборной шахты. Понижение температуры пылегазовой смеси за сепаратором, срабатывание сигнализации о понижении температуры за сепаратором. Повышение токовой нагрузки электродвигателя М-В и амплитуды ее колебаний. При работе регулятора температуры пылегазовой смеси за сепаратором автоматическое увеличение степени открытия клапанов 24 и 22 (рисунок А.1).

Уменьшите на от 15 до 20 % включительно подачу топлива питателем за счет частоты вращения его электродвигателя. Отключите питатель топлива от 0,5 до 2 минут при большой перегрузке М-В топливом, не допуская роста температуры пылегазовой смеси до I предела срабатывания защиты (в местной инструкции укажите время отключения питателя по опыту эксплуатации). Включите питатель топлива через указанное время отключения и восстановите подачу топлива на от 10 до 15 % ниже первоначальной. Проверьте по месту через смотровые лючки отсутствие шлакования верхней части газозаборной шахты, степень открытия клапана присадки холодного воздуха, на стороне всасывания М-В исправность уплотнений входного патрубка М-В. Остановите аварийно систему пылеприготовления при длительной перегрузке электродвигателя М-В до номинальных значений или аварийном отключении электродвигателя в соответствии с А.7.4. Подготовьте и включите электродвигатель М-В с соблюдением требований к повторному пуску электродвигателя. Восстановите нормальный режим работы системы пылеприготовления. Отключите электродвигатель М-В при повышенном сверх установленного значения времени разворота, указанного в А.5.1.3, или отключении его защитой по пусковому току. Потребуйте от начальника смены электроцеха разобрать схему его питания. Выполните необходимые меры предосторожности и откройте ремонтный люк в нижней части корпуса М-В. Удалите излишки топлива из нижней части корпуса М-В. Восстановите нормальный режим работы системы пылеприготовления.

Замазывание выходной части улитки М-В влажным топливом

Уменьшение перепада статических давлений на верхней части газозаборной шахты. Повышение, а затем снижение токовой загрузки электродвигателя М-В ниже значений, характерных для незагруженной М-В Снижение разрежения на входе в М-В.

Попытайтесь восстановить нормальный режим, работы систем пылеприготовления отключением питателя топлива аналогично на от 3 до 5 минут, не допуская превышения предельных температур пылегазовой смеси за сепаратором и подачи воды в ГЗШ за счет открытия присадки холодных газов и кратковременного включения питателя топлива. Остановите систему пылеприготовления в соответствии с А.7.4, если 2 или 3 отключения питателя окажутся безуспешными. Примите необходимые меры безопасности для удаления топлива из нижней части корпуса и выходной части улитки через открытые люки М-В.

Шлакование верхней части газозаборной шахты.

Понижение температуры аэросмеси и вынужденное уменьшение подачи топлива в систему пылеприготовления. Увеличение разрежения на стороне всасывания М-В. Уменьшение перепада статических давлений на верхней части газозаборной шахты.

Осмотрите, соблюдая необходимые меры предосторожности, и уточните места шлакования и имеющиеся средства их очистки, а также опасность попадания крупных кусков шлака в М-В. При наличии опасности попадания шпака при очистке в М-В перед очисткой остановите систему пылеприготовления в соответствии с А.7.4. Удалите отложения шлака, используя имеющиеся средства очистки. Если М-В был предварительно остановлен, убедитесь в отсутствии попадания глыб шлака в размольную камеру, а при попадании удалите их. Подготовьте и пустите систему пылеприготовления в соответствии с разделами А.4 и А.5. Если система пылеприготовления не останавливалась, восстановите нормальный режим ее работы.

Повышенные присосы во входной патрубок М-В или ошибочное открытие клапана 39 (рисунок А.1).

Понижение по сравнению с другими системами пылеприготовления с близкой загрузкой по топливу температуры пылегазовой смеси за сепаратором. Уменьшение перепада статических давлений на верхней части газозаборной шахты. Уменьшение степени открытия клапанов 24 и 24 (рисунок А.1) регулятором температуры пылегазовой смеси за сепаратором. Вынужденное снижение подачи топлива питателем за счет уменьшения частоты вращения его электродвигателя машинистом котла. Снижение разрежения перед М-В.

Потребуйте от машиниста-обходчика проверить по месту степень открытия клапанов 39, 22 и 24 (рисунок А.1) горячего воздуха и холодных газов, и полностью их закройте, а также осмотрите уплотнения входного патрубка М-В. Потребуйте от ремонтного персонала устранения повышенных присосов во время очередного останова системы пылеприготовления.

10. Забивание одного или двух пылепроводов после пыледелителя.

При неизменном расходе топлива (частоте вращения и токовой загрузке питателя топлива): понижение температуры пылегазовой смеси за сепаратором. Уменьшение перепада на верхней части газозаборной шахты. Уменьшение разрежения перед М-В. Понижение температуры пылегазовой смеси в забитом пылепроводе. Одновременное повышение давления за М-В, сепаратором и пыледелителем.

Уменьшите подачу топлива, снизив частоту вращения электродвигателя питателя топлива, для повышения температуры газовой смеси за сепаратором до значений от 160 до 170 °С. Потребуйте от машиниста-обходчика уточнить по месту на ощупь, какой пылепровод забит и в каком месте. Дайте команду машинисту-обходчику прикрыть на от 40 до 60 % включительно шиберы на не забитых пыле-проводах, на время от 3 до 5 минут контролируя продувку забитого пылепровода. При понижении температуры пылегазовой смеси повторите операцию с уменьшением подачи топлива. Отключите питатель топлива, если забитый пылепровод не продувается, и, не допуская повышения температуры пылегазовой смеси, повторите в течение от 5 до 7 минут продувку забитого пылепровода. Откройте шиберы на всех пылепроводах, включите питатель и восстановите режим работы системы пылеприготовления.

Повышенный износ языковой брони М-В

Пониженный перепад статических давлений на верхней части газозаборной шахты. Пониженная температура пылегазовой смеси за сепаратором.

Уточните по журналу наработки время наработки системы пылеприготовления после предыдущего ремонта языковой брони и сравните со средним эксплуатационным сроком ее службы. Согласуйте с руководством котельного цеха и ремонтным персоналом и выполните плановый останов для ремонта языковой брони, если ресурс ее работы исчерпан, или для профилактического осмотра М-В.

Повышение температуры пылегазовой смеси за сепаратором

Срабатывание сигнализации повышения температуры пылегазовой смеси за сепаратором при нормальном заполнении бункера и нормальной работе питателей топлива.

Проверьте правильность работы приборов, показывающих температуру пылегазовой смеси и регулятора температуры за сепаратором. При неисправности регулятора откройте полностью клапан присадки холодных газов 24 и в допустимых пределах клапан присадки горячего воздуха 22 (рисунок А.1), чтобы содержание кислорода не превышало 16 %. Увеличьте подачу топлива питателем за счет изменения частоты вращения его электродвигателя индивидуальным задатчиком, если шиберы открыты полностью, а система пылеприготовления меньше других загружена по топливу. Остановите одну из параллельно работающих систем пылеприготовления и увеличьте подачу топлива на оставшиеся в работе, если все резервы по понижению температуры использованы и требуется условиям работы котла дальнейшее снижение расхода топлива.

Приложение Б
(обязательное)

Типовая инструкция по эксплуатации индивидуальных систем пылеприготовления прямого вдувания со среднеходными мельницами

Б.1 Общие положения

Б.1.1 Настоящая типовая инструкция (далее - Инструкция) устанавливает общий порядок, последовательность и условия выполнения основных технологических операций, обеспечивающих безаварийную и экономичную эксплуатацию индивидуальных систем пылеприготовления прямого вдувания со среднеходными мельницами типа МВС.

Б.1.2 Инструкция составлена применительно к системам пылеприготовления (рисунки Б. и Ж.2), имеющим преимущественное распространение на электростанциях Российской Федерации.

Б.1.3 Вопросы маслоснабжения механизмов мельниц в Инструкции рассмотрены применительно к типовой схеме жидкой смазки (рисунки Ж.3 и Ж.4). Для схем, отличающихся от типовой, в местные инструкции должны быть внесены необходимые изменения.

Б.1.4 В Инструкции рассмотрен режим эксплуатации, порядок пуска и останова применительно к одной системе пылеприготовления из всех параллельно установленных на котле.

Б.2 Общие указания

Б.2.1 Указания по составлению местной инструкции

Б.2.1.1 Используйте указания настоящей Инструкции с учетом конкретных особенностей, имеющихся на электростанции схем систем пылеприготовления, типов и компоновки оборудования.

Б.2.1.2 Конкретизируйте содержащиеся в Инструкции технологические параметры с учетом характеристик размалываемого топлива, местных условий эксплуатации и требований, содержащихся в нормативной технической и проектной документации.

Б.2.2 Указания по организации эксплуатации систем пылеприготовления

Б.2.2.1 Допускайте к эксплуатации систему пылеприготовления только при:

- при полном соответствии требованиям нормативной технической и проектной документации оборудования, его компоновки, оснащения системы пылеприготовления предохранительными клапанами, средствами пожаротушения, контрольно-измерительной аппаратурой, технологическими защитами, блокировками и сигнализацией;

- при наличии приемо-сдаточного акта системы пылеприготовления из монтажа;

- при наличии на щите управления котлом (энергоблоком) местной инструкции по эксплуатации системы пылеприготовления;

- после проведения инструктажа дежурного эксплуатационного персонала и проверки знаний им правил взрывобезопасности, технической эксплуатации, противопожарной инструкции и местных инструкций по эксплуатации системы пылеприготовления.

Б.2.2.2 Организуйте пуск системы пылеприготовления, принятой из монтажа, под руководством ответственного лица, имеющего опыт пуска и эксплуатации аналогичных систем пылеприготовления и назначаемого руководством электростанции.

Б.2.2.3 Выявите и устраните недостатки монтажа, а также проектные и конструктивные недостатки, предопределяющие отложения пыли в тракте системы пылеприготовления. Для этого произведите тщательный внутренний осмотр тракта системы пылеприготовления со вскрытием всех люков и лазов.

Организуйте специальную комиссию и произведите не позднее чем через 2000 ч наработки системы пылеприготовления контрольный внутренний осмотр системы с составлением акта по его результатам.

Осматривайте все оборудование перед пуском смонтированной или реконструированной системы пылеприготовления, а также после ее ремонта или нахождения в резерве более 3 суток. Проверяйте исправность КИП, устройств дистанционного управления, защит, сигнализации, блокировок и автоматического регулирования. Не допускайте пуск систем пылеприготовления с неисправными системами КИП, управления, сигнализации, защит и блокировок.

Б.2.2.4 Организуйте проведение испытаний системы пылеприготовления, на основе результатов которых разработайте полные и конкретные указания по ведению оптимального режима системы пылеприготовления и внесите их в режимную карту котла.

Проводите испытания перед каждым капитальным ремонтом системы пылеприготовления и после него.

Б.2.2.5 Организуйте при подаче топлива в бункера сырого угля обязательную и непрерывную работу металло- и щепоуловителей, установленных в тракте топливоподачи.

1 - бункер сырого угля; 2 и 11 - отсечные шиберы; 3 - питатель топлива; 4 - мигалка; 5 - течка топлива; 6 - мельница; 7 - центробежный сепаратор; 8 - мельничный вентилятор; 9 - делитель пыли; 10 - пылепроводы; 2 - горелка; 13 - котел; 14 - направляющий аппарат дутьевого вентилятора; 15 - дутьевой вентилятор; 16 - воздухоподогреватель; 17 - воздухопровод горячего воздуха; 18 - воздухопровод слабоподогретого воздуха; 19 - общий шибер вторичного воздуха; 20 - воздухопроводы вторичного воздуха к горелкам; 21 - запорный шибер; 22 - воздухопроводы горячего воздуха к мельницам; 23 - воздухопроводы слабоподогретого воздуха к мельницам; 24 - запорный шибер горячего воздуха; 25 - запорнорегулирующий шибер на подаче слабоподогретого воздуха; 26 - атмосферный клапан; 27 - измерительное расходомерное устройство; 28 - регулирующий шибер; 29 - трубопровод подачи воды; 30 и 32 - вентили; 31 - трубопровод подачи пара; 33 - мигалка на течке провала; 34 - шибер на трубопроводе уплотняющего воздуха; 36 - трубопровод уплотняющего воздуха.

Рисунок Б.1 - Схема системы пылеприготовления с мельницей типа МВС для работы под разрежением:

8 - вентилятор первичного воздуха; 33 - мигалки провала с электроприводом; 34 и 35 - шиберы подачи уплотняющего воздуха; 36 - вентилятор уплотняющего воздуха; 37 - запорный шибер; 38 - коллектор уплотняющего воздуха; 39 - направляющий аппарат вентилятора первичного воздуха. Остальные обозначения по рисунку Б.

Рисунок Б.2 - Схема системы пылеприготовления с мельницей типа МВС для работы под давлением

1 - напорный бак; 2, 14 - 18 - вентили; 3 - указатели течения жидкости; 4 - подшипники валков; 5 - маслоохладитель; 6 - фильтр; 7 - манометр; 8 - обратный клапан; 9 - насосная установка; 10 - предохранительный клапан; 11 - реле уровня; 12 - электронагреватель; 13 - бак-отстойник; 19 - трубопровод подвода охлаждающей воды; 20 - трубопровод слива охлаждающей воды; 21 - переливной маслопровод; 22 - маслопровод опорожнения напорного бака; 23, 24 - маслопроводы подачи масла к валкам мельниц.

Рисунок Б.3 - Принципиальная схема станции жидкой смазки валков для группы мельниц типа МВС

1 - маслоохладитель; 2 - фильтр; 3 - предохранительный клапан; 4 - насосная установка; 5 - маслопровод; 6 - манометр; 7 - электроконтактный термометр; 8 - термометр; 9 - указатель течения масла; 10 - редуктор; 11 - трубопровод подвода охлаждающей воды; 12 - трубопровод слива охлаждающей воды; 13 и 14 - запорные вентили.

Рисунок Б.4 - Принципиальная схема жидкой смазки редуктора мельницы типа МВС

Б.2.2.6 Разработайте и внедрите графики выполнения следующих профилактических мероприятий:

- проведения испытаний для проверки правильности и корректировки указаний режимной карты;

- включения в работу систем побуждения движения топлива в БСУ (кроме вибраторов);

- проверки плотности (присосов) тракта системы пылеприготовления с периодичностью не реже одного раза в месяц;

- проверки контрольно-измерительной аппаратуры и устройств технологических защит, блокировок, сигнализации и автоматических регуляторов;

- проверки исправности электрооборудования, электрической проводки, а также заземления корпусов оборудования;

- проверки постоянной готовности к работе стационарных систем и ручных средств пожаротушения;

- проверки исправности стационарного освещения зоны размещения пылеприготовительного оборудования;

- сработки топлива до минимально допустимого уровня в бункерах сырого топлива с периодичностью не реже чем через каждые 10 суток;

- проверки запыленности атмосферы воздуха в котельном цехе, которая не должна превышать 10 мг/м;

- проверки качества жидких масел, применяемых для смазки оборудования системы пылеприготовления: редуктора питателя топлива, подшипников мельничного вентилятора или вентилятора первичного воздуха, размольных валков, редуктора мельницы.

Б.2.2.7 Установите с учетом местных условий эксплуатации периодичность и объем профилактического осмотра оборудования и тракта системы пылеприготовления. Не реже одного раза в месяц проводите контрольную опрессовку в целях проверки плотности системы пылеприготовления.

Б.2.2.8 Организуйте плановое (регулярное) техническое обслуживание и ремонт систем пылеприготовления, включая учет наработки, частоты и причины отказов оборудования.

Б.2.2.9 Разработайте и выполните программы и планы технической учебы и противоаварийных игр для оперативного эксплуатационного персонала.

Б.2.2.10 Установите с учетом местных условий эксплуатации периодичность и объем уборки грязи и пыли в зоне размещения оборудования.

Б.2.2.11 Не допускайте работы системы пылеприготовления с выключенными (неисправными) технологическими защитами, блокировками и сигнализацией.

Б.2.2.12 Не допускайте пыления при работе системы пылеприготовления. При обнаружении пыления немедленно примите меры к его устранению, вплоть до останова системы.

Б.2.2.13 Не допускайте во всех режимах работы системы пылеприготовления (пуск, нормальная работа, останов, перерывы в подаче топлива):

- повышения температуры сушильного агента перед мельницей более 350 °С (400 °С для мельниц типа МВС-180);

- повышения температуры пылевоздушной смеси за сепаратором мельницы выше допустимой, указанной в проектной документации.

Б.2.2.14 Немедленно останавливайте систему пылеприготовления в аварийных ситуациях (по Б.6.4).

Б.2.3 Указания по мерам безопасности

Б.2.3.1 Соблюдайте при эксплуатации систем пылеприготовления требования и указания документов, приведенных в нормативной технической и проектной документации, указания настоящей Инструкции, не допуская ситуаций, угрожающих обслуживающему персоналу или оборудованию системы.

Не допускайте:

- нахождения в зоне размещения оборудования системы пылеприготовления посторонних лиц, не занятых оперативным обслуживанием или ремонтом оборудования;

- производства ремонтных работ без обеспечения всех указанных в наряде-допуске мер безопасности;

- производства ремонтных работ на работающей системе пылеприготовления, связанных:

а) с применением газовой и электродуговой сварки или других источников открытого огня;

б) с нарушением герметичности системы пылеприготовления (вскрытие люков, замена диафрагм предохранительных клапанов);

- производства любых ремонтных работ в зоне размещения оборудования системы пылеприготовления и в опасных пределах вблизи этой зоны, а также расшлаковки топки и шлакоудаляющих устройств котла при работе системы пылеприготовления в нестабильных режимах (пуск, останов, перебои в поступлении топлива);

- загромождения зон размещения и обслуживания пылеприготовительного оборудования запасными частями, строительными и другими материалами;

- нарушения графиков профилактических мероприятий, указанных в Б.2.2.6 и Б.2.2.7;

- обдувки сжатым воздухом и сухой уборки пыли с поверхностей оборудования, пылевоздухопроводов, полов перекрытий, стен и других поверхностей в зоне размещения системы пылеприготовления.

Б.2.3.2 Принимайте специальные меры, разработанные с учетом местных условий, для защиты персонала от горящей пыли, выбрасываемой из предохранительных клапанов и отраженной от стен и перекрытий при взрыве в системе пылеприготовления.

Б.2.3.3 При вскрытии люков и лазов на остановленной и подготовленной к осмотру или ремонту системе пылеприготовления:

- удостоверьтесь в отсутствии посторонних предметов, препятствующих быстрому отходу в безопасное место в случае выброса горящей пыли через открываемый лаз (люк), и наметьте путь отхода;

- не наносите удары по корпусу оборудования, в котором расположен открываемый лаз (люк), и не трогайте прилегающие шиберы во избежание взвихривания пыли;

- находитесь сбоку от открываемого лаза (люка) со стороны его петель, используйте крышку люка в качестве экрана-отражателя в случае выброса горящей пыли;

- открывайте лаз (люк) медленно и постепенно, крепко удерживая его крышку.

Б.2.3.4 Не допускайте к проведению любых ремонтных работ и к осмотру системы пылеприготовления со вскрытием лазов (люков) персонал, спецодежда которого не соответствует требованиям отраслевых норм.

Б.2.3.5 Содержите в порядке и постоянной готовности все противопожарные средства:

- стационарные системы пожаротушения в мельнице и сепараторе, зоне размещения оборудования;

- огнетушители, ящики с песком, лопаты и остальной ручной противопожарный инвентарь, для нахождения которого установите постоянные места.

Б.2.3.6 Ликвидируйте обнаруженные отложения пыли, осторожно заливая их водой через стволы-распылители, не допуская взвихривания пыли. Крупные подтеки масла удаляйте, предварительно засыпав их песком.

Б.3 Подготовка системы пылеприготовления к пуску

Б.3.1 Общие указания

Б.3.1.1 Пуск систем пылеприготовления после ремонта производите после полного окончания работ по наряду-допуску, вывода ремонтного персонала с места производства работ, осмотра рабочего места и закрытия наряда-допуска.

Перед пуском системы пылеприготовления произведите осмотр оборудования и проверьте его готовность к работе, для чего:

- убедитесь в прекращении всех ремонтных работ и отсутствии посторонних предметов как вблизи пускаемого пылеприготовительного оборудования, так и внутри мельницы и питателя;

- при длительном простое мельницы (свыше 8 ч, уточняется по местным условиям) проследите за тем, чтобы в корпусе мельницы, сепараторе, MB, пылепроводах и в других элементах системы пылеприготовления, а также на наружных поверхностях оборудования, пылевоздухопроводов и площадках их обслуживания не было тлеющих отложений и очагов горения. Обращайте внимание на запах гари, нагрев отдельных участков, дым и другие признаки наличия тлеющих отложений пыли. Обнаруженные тлеющие отложения и очаги горения немедленно ликвидируйте. Дальнейшая подготовка и пуск системы пылеприготовления до ликвидации очагов горения запрещаются;

- проверьте исправность мембран взрывных предохранительных клапанов (не должно быть пробоев мембран и посторонних предметов на них);

- проверьте соответствие положения регулятора высоты слоя топлива в питателе сырого угля указаниям режимной карты (в местной инструкции дайте конкретное значение). Убедитесь в работоспособности датчика сигнализатора обрыва потока топлива в ПСУ, проверив от руки вращение его оси (или другим возможным способом);

- убедитесь (предварительно сняв цепь) в исправности мигалки на течке топлива (она должна открываться при нажатии на рычаг-противовес и закрываться без заеданий при устранении нажатия);

- проверьте наличие пара давлением от 0,3 до 0,5 МПа включительно в трубопроводе пожаротушения и воды давлением от 0,5 до 0,8 МПа включительно в трубопроводе подачи охлаждающей воды;

- убедитесь в исправности мигалок на течке провала, для чего: на мельницах типа МВС-90 - МВС-140, работающих под разрежением, проверьте плотность закрытия мигалки и отсутствие заеданий при ее ходе нажатием на рычаг; на мельницах типа МВС-180, вращая штурвал клапана дистанционного управления, дополнительно убедитесь в том, что при открытии одной из мигалок (и до полного ее закрытия) вторая плотно закрыта;

- проверьте значение давления воздуха в ресивере системы пневмообрушения топлива в БСУ. При давлении менее 0,5 МПа потребуйте через начальника смены поднять давление до номинального (в местной инструкции приведите номинальное и минимально допустимое значения давления сжатого воздуха);

- проверьте плотность и надежность закрытия люков на мельнице, питателе и другом оборудовании пылеприготовительной установки;

- проверьте наличие топлива в бункере и, если его недостаточно; потребуйте от персонала топливно-транспортного цеха заполнения бункера;

- снимите цепи и предупредительные плакаты с шиберов на воздухопроводах перед мельницей, пылепроводов, вентилей на трубопроводах пожаротушения и подачи воды, пара;

- проверьте состояние шиберов на воздухопроводах, пылепроводах и их приводов, а также соответствие реперов «Открыто» и «Закрыто» положению рисок на осях шиберов. Шиберы должны легко и полностью открываться и плотно закрываться по месту вручную;

- установите штурвалы приводов шиберов в положение, обеспечивающее дистанционное управление шиберами;

- проверьте наличие и исправность ограждений муфт привода мельницы, MB, вентилятора первичного дутья, питателя топлива и других движущихся частей механизмов;

- дайте заявку начальникам смены электроцеха и цеха тепловой автоматики и измерений на сборку электрических схем и подачу напряжения на электродвигатели оборудования, приводы шиберов, задвижек, вентилей имеющих дистанционное управление. Получите от них подтверждение о сборке заказанных схем, удостоверьтесь в этом по светящимся сигнальным лампам на ключах управления электродвигателей оборудования и на ключах управления шиберами (вентилями) в системе пылеприготовления;

- проверьте выборочно работоспособность дистанционного управления шиберами и соответствие показаний установленных на щите управления указателей положения фактическому положению шиберов.

Б.3.1.2 Потребуйте от дежурного персонала электроцеха и цеха тепловой автоматики и измерений подать напряжение электропитания в схемы защит, блокировок, сигнализации, автоматических регуляторов и измерительных систем; включить в работу измерительные приборы и произвести проверку работоспособности технологических защит, блокировок и сигнализации без воздействия на исполнительные механизмы (в испытательном положении) в случаях простоя системы пылеприготовления более 3 суток и выполнения ремонтных работ в цепях защит во время простоя меньшей продолжительности.

Пуск системы пылеприготовления с неисправной системой защит, блокировок и сигнализации запрещается.

Б.3.1.3 Подайте контрольное напряжение на лампы подсветки световой сигнализации и при наличии перегоревших ламп потребуйте от дежурного цеха тепловой автоматики и измерений замены их исправными.

Б.3.1.4 Получите от дежурного персонала цеха тепловой автоматики и измерений подтверждение о подаче напряжения в цепи защит, блокировок и сигнализации и удостоверьтесь в этом.

Б.3.1.5 Проверьте визуально исправность заземления и устройств аварийного отключения электродвигателей мельницы, питателя топлива и вентилятора первичного дутья (для мельниц типа МВС-180).

Б.3.1.6 Проверьте действие блокировки механизмов путем пробного включения питателя топлива при неработающей мельнице, а также при неработающем вентиляторе первичного дутья в схемах с мельницами типа МВС-180.

Б.3.2 Подготовка системы пылеприготовления к работе

Б.3.2.1 Проверьте закрытие и при необходимости установите в положение «Закрыто» шиберы 24, 25, 26 (рисунки Б. и Б.2), 37 и направляющий аппарат вентилятора первичного дутья 39 (рисунок Б.2).

Б.3.2.2 Проверьте закрытие вентилей 30 и 32 (рисунки Б. и Б.2).

Б.3.2.3 Установите в положение «Открыто» шиберы 2, 28, 34 (рисунки Б. и Б.2). Отрегулируйте шибером 34 давление в камере уплотнения на уровне от 2,5 до 3,0 кПа включительно.

Б.3.2.4 Включите в работу вентилятор уплотняющего воздуха 36 (рисунок Б.2).

Б.3.2.5 Откройте шибер 37 (рисунок Б.2) на нагнетательном патрубке вентилятора уплотняющего воздуха.

Б.3.2.6 Открывая шиберы 34 и 35 (рисунок Б.2), отрегулируйте давление в камере уплотнения стола на уровне от 10,5 до 11,0 кПа включительно и уплотнении размольных валков на уровне от 6,5 до 7 кПа включительно.

Б.3.2.7 Установите в соответствии с режимной картой в необходимое положение регулирующие лопатки сепаратора.

Б.3.3 Подготовка к работе и пуск систем смазки

Б.3.3.1 Проверьте наличие максимально допустимого уровня масла в картере редуктора (по маслоуказательным стеклам) и в баке-отстойнике 13 (рисунок Б.3) системы смазки подшипников валков, который должен составлять от 0,6 до 0,8 включительно высоты бака. Убедитесь в наличии масла и его достаточности в редукторе питателя топлива, подшипниках вентилятора первичного дутья и вентилятора уплотняющего воздуха.

Б.3.3.2 Для смазки узлов и агрегатов мельницы, вентиляторов и питателя топлива используйте смазочные материалы, указанные в инструкции завода-изготовителя.

В системы жидкой смазки заливайте только очищенное масло, пропущенное через центрифугу и фильтр-пресс, надлежащего (проверенного) качества.

Б.3.3.3 Проверьте вращение насосов и фильтров, которые должны легко вращаться от руки. Обратите внимание на совпадение стрелок направления вращения на электродвигателе и маслонасосе. Убедитесь в целостности пломб на предохранительных клапанах.

Б.3.3.4 Подайте воду на охлаждение подшипников MB или вентилятора первичного дутья при работе с мельницами типа МВС-180.

Б.3.3.5 Установите в положение «Закрыто» вентили 16 и 18 (рисунок Б.3).

Б.3.3.6 Откройте вентили 14, 15 (рисунок Б.3) и 13 (рисунок Б.4).

Б.3.3.7 Включите электронагреватель 12 (рисунок Б.3) и переведите его на автоматическую работу от температурного реле.

Б.3.3.8 Включите один из маслонасосов системы смазки подшипников валков и заполните до уровня от 0,6 до 0,8 включительно высоты напорный бак 1 (рисунок Б.3).

Б.3.3.9 Остановите работающий маслонасос и долейте масло в бак-отстойник до нормального уровня (от 0,6 до 0,8 включительно высоты бака).

Б.3.3.10 Включите в работу второй (неработавший) маслонасос системы смазки подшипников валков.

Б.3.3.11 Ключ аварийного включения резерва поставьте в положение «Сблокировано».

Б.3.3.12 Проверьте ключ аварийного включения резерва масляных насосов.

Б.3.3.13 После заполнения системы смазки долейте масло в бак-отстойник до нормального уровня (от 0,6 до 0,8 включительно).

Б.3.3.14 Откройте и отрегулируйте вентилями 2 (рисунок Б.3) по указателю течения жидкости равномерную подачу масла к валкам пускаемой мельницы. Проконтролируйте после заполнения валков по указателю течения жидкости достаточный слив масла из валков в бак-отстойник.

Б.3.3.15 Поручите дежурному цеха тепловой автоматики и измерений включить и проконтролировать правильность работы системы автоматического регулирования уровня масла в напорном баке. Получите от него сообщение о нормальном функционировании системы.

Б.3.3.16 При прогреве масла до 50 °С (в системе смазки подшипников валков) подайте воду на маслоохладитель 5 (рисунок Б.3).

Б.3.3.17 При пуске мельниц типа МВС-180, имеющих маслонасос системы смазки редуктора с электроприводом:

- откройте вентили на стороне всасывания и стороне нагнетания насоса;

- включите масляный насос;

- проверьте работоспособность и правильность настройки предохранительного клапана. Для этого, прикрывая вентиль за фильтром, поднимите давление за насосом до максимально допустимого (значение укажите в местной инструкции). При этом должен открыться предохранительный клапан, и дальнейшее закрытие вентиля за фильтром не будет вызывать повышения давления масла.

- при отказе предохранительного клапана вызовите ремонтный персонал для его проверки и настройки;

- проверьте по указателю течения жидкости поступление масла к смазываемым узлам редуктора.

Б.3.3.18 При пуске систем жидкой смазки, используя воздушники, установленные на оборудовании маслосистем, и трехходовые краники на соединительных (импульсных) линиях к КИП, выпустите из маслосистемы воздух.

Б.3.3.19 Зафиксируйте в суточной ведомости котла (энергоблока) время включения в работу системы смазки подшипников валков (редуктора для систем с мельницами типа МВС-180).

Б.3.3.20 После пуска систем жидкой смазки (пускаемых с местного щита) дальнейшие операции по пуску и регулированию работы системы пылеприготовления производите со щита управления котла (энергоблока).

Б.4 Включение системы пылеприготовления в работу

Б.4.1 Общие указания

Б.4.1.1 Предупреждайте о каждом включении в работу пылеприготовительного оборудования машиниста-обходчика, который в момент пуска должен находиться у кнопки аварийного включения и обязан немедленно отключить пускаемое оборудование в случае явных нарушений в работе (посторонний шум, стук в корпусе, сильная вибрация и другие) самого оборудования и его электропривода.

Б.4.1.2 Контролируйте продолжительность разворота пускаемого оборудования по показаниям амперметра его электродвигателя. При превышении максимально допустимой продолжительности пускового тока электродвигателя немедленно отключите электродвигатель. Допустимую продолжительность работы электродвигателя с пусковым током и его значение укажите в местной инструкции в соответствии с указаниями завода - изготовителя электродвигателя.

Б.4.1.3 Сообщите начальнику смены электроцеха об отключении электродвигателя при пуске.

Повторный пуск производите только с разрешения начальника смены электроцеха после проверки электрической и механической части оборудования и выдержки времени (назовите в местной инструкции конкретное значение), установленной заводом - изготовителем электродвигателя.

Б.4.1.4 Убедитесь при растопке котла перед включением в работу первой системы пылеприготовления в том, что температура дымовых газов в поворотном газоходе за топкой (после пароперегревателя) не ниже минимально допустимого значения (указанного в местной инструкции по пуску котла), соответствующего тепловой нагрузке топки, при которой обеспечивается устойчивое воспламенение пыли.

Проверьте соответствие давления воздуха за воздухоподогревателем указаниям режимной карты. При необходимости откорректируйте его, используя направляющий аппарат дутьевого вентилятора и общие шиберы вторичного воздуха 19 (рисунки Б. и Б.2).

Б.4.1.5 Убедитесь в соответствии давления вторичного воздуха перед горелками пускаемой мельницы указаниям режимной карты (режим с подачей пыли). При необходимости, используя шиберы 21 (рисунки Б. и Б.2), отрегулируйте давление в воздухопроводе перед горелками.

Б.4.1.6 Фиксируйте в суточной ведомости котла (энергоблока) время включения (разворота) мельницы (вентилятора первичного дутья в схемах с мельницами типа МВС-180) и время включения системы пылеприготовления в работу с топливом (время включения ПСУ).

Б.4.1.7 Контролируйте по сигнальным лампам (при их наличии) и сообщениям дежурного персонала цеха тепловой автоматики и измерений автоматический ввод в работоспособное состояние технологических защит после включения электродвигателей мельницы и ПСУ.

Б.4.2 Пуск оборудования системы пылеприготовления

Б.4.2.1 Включите вентилятор первичного дутья 8 и привод мигалок провала 33 (рисунок Б.2).

Б.4.2.2 Включите в работу мельницу 6 (рисунки Б. и Б.2). Удостоверьтесь по показаниям амперметра и сообщению машиниста-обходчика в ее нормальном развороте.

Б.4.2.3 Получите подтверждение от машиниста-обходчика о нормальной работе включенного оборудования (мельницы, систем смазки, уплотнений, MB, a для мельниц типа МВС-180 привода мигалок провала, вентилятора первичного дутья, вентилятора уплотняющего воздуха) и готовности оборудования к работе (подаче угля). Для мельниц типа МВС-90 - МВС-140 включение в работу системы смазки редуктора происходит одновременно с включением мельницы, поэтому обратите особое внимание на ее работу (по манометрам и указателю течения жидкости) и поручите машинисту-обходчику провести проверку предохранительного клапана по Б.3.3.17.

Б.4.2.4 Откройте полностью шибер 25 на подаче слабоподогретого воздуха (рисунки Б. и Б.2), провентилируйте и прогрейте систему пылеприготовления до температуры сушильного агента за сепаратором от 70 до 80 °С включительно.

Для мельниц типа МВС-180 при этом дополнительно откройте направляющий аппарат вентилятора первичного дутья 39 (рисунок Б.2).

Б.4.2.5 Поручите машинисту-обходчику открыть вентили 17 и 15 (рисунок Б.3). При этом давление воды в маслоохладителях должно быть меньше на от 0,03 до 0,05 МПа включительно давления масла.

Б.4.2.6 Включите ПСУ при достижении температуры сушильного агента за сепаратором в пределах от 70 до 80 °С включительно. При задержке с подачей топлива и для ограничения роста температуры сушильного агента подайте воду (через форсунку) в воздуховод перед мельницей (вентиль 30 на рисунок Б.).

Б.4.2.7 Проконтролируйте (в соответствии с указаниями инструкции по пуску котла) устойчивое воспламенение пыли в горелках пускаемой системы пылеприготовления. Если пыль не загорелась или погас факел в топке, аварийно остановите пускаемую систему пылеприготовления согласно Б.6.4.

Б.4.2.8 Получите сообщение (запросите) машиниста-обходчика о поступлении топлива в мельницу (крестовины валков колеблются, валки вращаются), отсутствии повышенной вибрации и стуков в мельнице, отсутствии большого выхода провала.

Б.4.2.9 Откройте полностью запорный шибер 24 в воздухопроводе горячего воздуха 22 перед мельницей (рисунки Б. и Б.2) и включите в работу автоматические регуляторы расхода первичного воздуха, температуры пылевоздушной смеси за мельницей и регулятор тепловой нагрузки котла. Проконтролируйте исправную работу регуляторов по автоматическому выводу регулируемых параметров на заданные режимной картой значения. В случае неисправности регуляторов установите вручную изменением степени открытия шибера 28 (см. рисунок Б.) или направляющего аппарата 39 вентилятора первичного дутья 8 (рисунок Б.2) требуемый расход первичного воздуха, поддерживая температуру пылевоздушной смеси за мельницей на уровне от 80 до 100 °С изменением подачи слабоподогретого воздуха в мельницу шибером 25 (рисунки Б. и Б.2); расход подаваемого в мельницу топлива установите соответствующим тепловой нагрузке котла изменением частоты вращения электродвигателя ПСУ. Потребуйте от дежурного персонала цеха тепловой автоматики и измерений устранить неисправности отказавшего регулятора.

Б.4.2.10 Удостоверьтесь по измерительным приборам (включая местные приборы на маслосистемах) в нормальной работе включенного оборудования и соответствии контролируемых параметров заданным в режимной карте.

Б.5 Управление системой пылеприготовления и контроль режимов ее работы

Б.5.1 Общие указания

Б.5.1.1 Не допускайте работу системы пылеприготовления без включенных технологических блокировок, защит, сигнализации и автоматических регуляторов.

Б.5.1.2 Режим работы системы пылеприготовления следует вести в соответствии с режимной картой, учитывающей обеспеченность мельницы необходимой вентиляцией, а также сохранение в приемлемых пределах тонкости пыли, температуры пылевоздушной смеси за сепаратором, количества и качества провала. Предварительный натяг пружин пружинного блока, зазор между бандажом валка и поверхностью размольного стола, а также высота подпорного кольца останавливаются при ремонте мельницы на оптимальных для каждой пылеприготовительной установки значениях, полученных на основе испытаний или опыта эксплуатации. Для пускаемых из монтажа систем пылеприготовления, а также для сопоставления эксплуатационных показателей работающих мельниц необходимо использовать рекомендуемые заводом-изготовителем значения параметров работы мельниц.

Б.5.1.3 Своевременно выявляйте отклонения от нормальных условий эксплуатации системы пылеприготовления и принимайте оперативные меры к устранению нарушений режима и неполадок в работе оборудования.

Обнаруженные дефекты в работе оборудования фиксируйте в журнале дефектов пылеприготовительной установки.

Б.5.1.4 Ведите в специальном журнале учет наработки бандажей размольных валков и броневых плит стола (брони корпуса и лопаток MB для схемы на рисунке Б.) с фиксацией на конец каждой смены наработки за смену и суммарной наработки с начала эксплуатации установленного комплекта размольных органов.

Планируйте и осуществляйте останов системы пылеприготовления в профилактический ремонт для своевременной регулировки зазора между бандажом и броней стола, натяга пружин нажимных устройств и замены изношенных элементов. В местной инструкции укажите наработку размольных органов (после установки) до первой (при наличии и до второй) регулировки зазора между бандажом и броней стола и натяга пружин нажимных устройств, а также фактические сроки службы быстроизнашивающихся элементов (бандажей, брони стола, брони и лопаток MB) и значение их максимально допустимого износа.

Б.5.1.5 Эксплуатируйте в диапазоне нагрузки котла от 100 до 60 % включительно от номинальной, как правило, все установленные на котле системы пылеприготовления. Их производительность регулируйте изменением частоты вращения электродвигателей ПСУ.

Б.5.1.6 Установите высоту слоя топлива во всех ПСУ котла одинаковой из условия обеспечения нагрузки 60 % номинальной с минимальной частотой вращения электродвигателя ПСУ (при работе всех систем пылеприготовления котла) на топливе улучшенного качества.

Б.5.1.7 Контролируйте своевременность выполнения цехом тепловой автоматики и измерений (по графику) проверки автоматического включения резервного питания измерительных приборов, устройств автоматики, сигнализации, защит и блокировок, а также проверки устройств автоматического регулирования, имеющихся в системе пылеприготовления, включая системы жидкой смазки.

Б.5.2 Контроль работы оборудования системы пылеприготовления и управление режимами ее работы

Б.5.2.1 Контролируйте в соответствии с режимной картой следующие параметры и характеристики работы системы пылеприготовления:

- расход сушильно-вентилирующего агента;

- производительность мельницы (косвенно по соответствию показания указателя частоты вращения электродвигателя ПСУ или указателя положения траверсы плоского контроллера рекомендациям режимной карты при соответствующей нагрузке);

- температуру пылевоздушной смеси за сепаратором;

- температуру сушильного агента перед мельницей, не допуская ее повышения свыше 400 °С;

- давление в уплотнении размольного стола, а для мельниц типа МВС-180 дополнительно в уплотнениях размольных валков;

- силу тока (мощность), потребляемого электродвигателями мельницы, ПСУ и вентилятора первичного дутья для систем пылеприготовления с мельницами типа МВС-180;

- аэродинамическое сопротивление мельницы с сепаратором;

- температуру всех подшипников размольных валков и всех подшипников редуктора, если это предусмотрено для эксплуатируемого типа мельницы (уточните по инструкции завода-изготовителя);

- надежную работу автоматических регуляторов (тепловой нагрузки котла, расхода первичного воздуха, температуры пылевоздушной смеси за мельницей) по выдерживанию регулируемых величин в соответствии с заданными значениями, особенно при переходных режимах;

- положение регулирующего шибера 28 (рисунок Б.), которое во всех режимах должно находиться в пределах от 40 до 70 % включительно (по указателю положения), и положение направляющего аппарата вентилятора первичного дутья, который должен быть открыт не более чем на 70 %. Для этого поддерживайте направляющие аппараты дутьевых вентиляторов котла и общие шиберы вторичного воздуха 19 в таких положениях, при которых одновременно соблюдается названное условие и обеспечивается оптимальный (установленный режимной картой, укажите значение) избыток воздуха в топке котла;

- непрерывное поступление топлива в мельницу по амперметрам электродвигателей ПСУ, мельницы, по температуре пылевоздушной смеси за сепаратором, сигнализатору обрыва топлива;

- автоматическое включение вибраторов или системы пневмообрушения при срабатывании сигнализации по обрыву топлива в ПСУ;

- количество провала, выпадающего из мельницы (визуально);

- плотность оборудования системы пылеприготовления по отсутствию пыления или мест явных присосов, особенно в уплотнениях;

- нормальное (без остановов) вращение размольных валков, отсутствие посторонних шумов и стуков в мельнице, MB или вентиляторе первичного дутья;

- уровень топлива в БСУ.

Б.5.2.2 При профилактическом осмотре оборудования системы пылеприготовления, выполняемом машинистом-обходчиком один раз в смену (уточните в местной инструкции), контролируйте:

- отсутствие очагов горения (тления) пыли или масла на оборудовании системы пылеприготовления;

- степень нагрева и вибрацию (на ощупь) подшипников оборудования и его приводов;

- работоспособность датчика сигнализатора обрыва топлива;

- состояние тяг и рычагов шиберов, установленных в тракте системы пылеприготовления;

- исправность ограждений соединительных муфт, валов и других вращающихся частей оборудования и их приводов; достаточность освещенности оборудования системы пылеприготовления;

- постоянную готовность к работе систем побудительного движения топлива в БСУ (пневмообрушения, вибраторов и других). Не допускайте уменьшения давления в ресиверах систем пневмообрушения менее значений от 0,5 до 0,6 МПа включительно. Включайте в работу системы побудительного движения топлива в БСУ (кроме вибраторов) в соответствии с графиком (укажите в местной инструкции) независимо от качества истечения топлива из бункеров в целях предотвращения условий для образования крупных отложений топлива на стенках БСУ. Включение в работу систем побуждения движения топлива в БСУ запрещается при наличии в БСУ очага горения;

- нормальную работу мигалки на течке топлива под ПСУ по движению рычага с противовесом;

- работу привода мигалок на течке провала мельницы типа МВС-180 в соответствии с заданным графиком работы и отсутствие выбросов пыли и горячего сушильного агента в помещение;

- плотное закрытие мигалки на течке провала после выпуска провала на мельницах, работающих под разрежением;

- соответствие давления пара в линии пожаротушения и воды в трубопроводе подачи охлаждающей воды в воздуховод перед мельницей значениям, указанным в Б.3.1.1;

- состояние крепежа узлов и деталей оборудования системы пылеприготовления, особенно мельницы.

Б.5.2.3 Не допускайте снижения уровня топлива в БСУ менее 2 м над ПСУ (уточните по месту и конкретизируйте в местной инструкции), за исключением случаев плановой сработай топлива из БСУ (график периодичности плановой сработки топлива из БСУ приведите в местной инструкции).

Б.5.2.4 Не допускайте частой загрузки БСУ топливом, стремитесь к тому, чтобы очередная загрузка производилась при срабатывании топлива в БСУ до уровня, близкого к указанному в Б.5.2.3.

Б.5.2.5 Потребуйте от персонала цеха наладки и испытаний после выполнения капитального ремонта или реконструкции мельницы и сепаратора проверки тонкости пыли и установки регулирующих лопаток сепаратора в оптимальное положение.

Б.5.3 Контроль работы систем смазки

Б.5.3.1 В системе смазки редуктора мельниц необходимо контролировать:

- гидравлическое сопротивление фильтра [разницу давлений, измеряемых манометрами 6 (рисунок Б.4) до фильтра и после него, которая не должна превышать 0,08 МПа];

- уровень масла в редукторе по маслоуказательным стеклам;

- температуру масла в маслопроводе перед маслоохладителем, которая должна быть в пределах от 30 до 60 °С включительно;

- давление масла за фильтром в пределах от 0,1 до 0,2 МПа включительно (уточните по фактическому сопротивлению маслопроводов);

- давление охлаждающей воды перед маслоохладителем, которое должно быть ниже давления масла за маслофильтром от 0,03 до 0,05 МПа включительно;

- температуру охлаждающей воды перед маслоохладителем, которая не должна превышать 40 °С;

- свободный слив охлаждающей воды из маслоохладителя в сливную воронку;

- отсутствие пропуска масла предохранительным клапаном 3 (рисунок Б.4) на ощупь по нагреву сбросного маслопровода за предохранительным клапаном. В системах, имеющих маслонасос с приводом от электродвигателя (мельницы типа МВС-180), дополнительно проверяйте на ощупь нагрев корпуса и подшипников электродвигателя, отсутствие течи масла через сальники маслонасоса, исправность ограждения соединительной муфты;

- поступление масла по указателю течения 9 (рисунок Б.4) к смазываемым узлам редуктора: подшипникам быстроходного вала, зубчатым зацеплениям, подшипникам (верхним) промежуточного и тихоходного валов;

- плотность всей системы смазки, включая редуктор и соединительные линии к измерительным приборам, по отсутствию подтеков масла.

Б.5.3.2 В системе смазки размольных валков мельниц необходимо контролировать:

- температуру масла в маслопроводе перед подачей в размольные валки, которая должна быть в пределах от 35 до 50 °С включительно;

- температуру масла на сливе из каждого размольного валка, которая должна быть не выше 60 °С;

- уровень масла в напорном баке, который должен системой автоматического регулирования поддерживаться в заданных пределах (укажите в местной инструкции);

- соответствие между подачей и сливом масла из размольного валка по указателю течения жидкости;

- гидравлическое сопротивление маслофильтра по разнице давлений масла до фильтра и после него, измеряемых манометром 7 (рисунок Б.3), которое не должно превышать 0,08 МПа (уточните по месту);

- давление масла за маслофильтром, которое должно составлять от 0,20 до 0,30 МПа включительно в зависимости от высоты установки напорного бака;

- уровень масла в баке-отстойнике (в местной инструкции укажите конкретное значение, при этом учтите необходимость погружения в масло электронагревателя);

- давление охлаждающей воды перед маслоохладителем, которое не должно превышать значений от 0,01 до 0,03 МПа включительно;

- свободный слив охлаждающей воды из маслоохладителя в сливную воронку;

- температуру воды перед маслоохладителем, которая не должна превышать 40 °С;

- исправность ограждения муфт маслонасосов и нагрев (на ощупь) электродвигателей маслонасосов и их подшипников, а также отсутствие течи масла через сальник маслонасоса;

- плотность оборудования системы смазки валков, особенно в масляных уплотнениях валков по отсутствию подтеков масла.

Б.5.3.3 Ежедневно проверяйте уровень масла в редукторе питателя топлива, подшипниках MB или вентилятора первичного дутья.

Б.5.3.4 Охлаждение подшипников MB или вентилятора первичного дутья (в схеме рисунка Б.2) регулируйте подачей охлаждающей воды. Контролируйте ее свободный слив в сливную воронку.

Б.5.3.5 Контролируйте своевременность выполнения один раз в два месяца (уточните по условиям эксплуатации) отбора проб масла из бака-отстойника системы смазки размольных валков, из маслопровода системы смазки редуктора до фильтра, редуктора ПСУ и подшипников MB или вентилятора первичного дутья, проведения химического анализа проб и выдачи заключения о пригодности масла для дальнейшей эксплуатации. На основе заключения о качестве масла планируйте и осуществляйте замену отработавшего свой ресурс масла новым. Для замены используйте масло, прошедшее через центрифугу и пресс-фильтр. Одновременно с заменой масла произведите промывку системы маслоснабжения, подшипников, фильтров в соответствии с указаниями инструкции завода-изготовителя оборудования.

Б.5.3.6 Производите не реже одного раза в неделю смазку осей качения рычагов размольных валков через колпачковые масленки и один раз в месяц смазывайте подшипники нажимных устройств (пружинных блоков) смазкой, указанной в инструкции завода-изготовителя.

Б.6 Останов системы пылеприготовления

Б.6.1 Общие указания

Б.6.1.1 Остановы системы пылеприготовления подразделяются на плановые (в ремонт, в резерв) и неплановые (аварийные).

Б.6.1.2 При плановом останове системы пылеприготовления или котла в ремонт в случае длительного простоя (укажите конкретную продолжительность простоя в местной инструкции) сработайте топливо из бункера и питателя.

Б.6.1.3 Выполняйте вентиляцию систем пылеприготовления максимально возможным расходом горячего и слабоподогретого воздуха (конкретное значение расхода или перепада на измерительном устройстве и продолжительность вентиляции укажите в местной инструкции). Температуру пылевоздушной смеси за сепаратором поддерживайте в пределах от 60 до 80 °С. При останове в ремонт поддерживайте минимальное значение температуры пылевоздушной смеси за мельницей.

Б.6.1.4 После останова системы пылеприготовления проверьте внешним осмотром ее оборудование на отсутствие дефектов. Обнаруженные неисправности запишите в журнал дефектов оборудования систем пылеприготовления.

Б.6.1.5 Произведите уборку оборудования от отложений пыли и подтеков масла, а также от выпавшего из мельницы провала.

Б.6.1.6 Контролируйте постоянно на остановленной системе пылеприготовления температуру за сепаратором, которая после останова должна постепенно понижаться до температуры воздуха в котельной. Повышение температуры за сепаратором на остановленной мельнице свидетельствует о загорании отложений пыли (масла, провала) в мельнице.

Б.6.1.7 Фиксируйте в суточной ведомости котла время и причину останова системы пылеприготовления.

Б.6.2 Плановый останов

Б.6.2.1 При плановом останове в резерв системы пылеприготовления выполните следующие операции:

а) отключите системы пылеприготовления от регулятора тепловой нагрузки котла;

б) отключите регулятор расхода первичного воздуха;

в) остановите ПСУ;

г) прикройте шиберы 21 (рисунки Б. и Б.2) остановленной системы до положения, обеспечивающего давление вторичного воздуха в воздухопроводах перед горелками в соответствии с указаниями режимной карты;

д) отключите регулятор температуры пылевоздушной смеси за мельницей;

е) выполните вентиляцию системы по Б.6.1.3;

ж) закройте шиберы 24, 25 и 28 (рисунки Б. и Б.2);

з) в схеме по рисунку Б.2 (имеющих вентилятор первичного дутья) предварительно закройте направляющий аппарат 39 и остановите вентилятор первичного дутья;

и) закройте вентиль 30 (рисунки Б. и Б.2);

к) откройте атмосферный клапан 26 (рисунки Б. и Б.2);

л) остановите мельницу;

м) поручите машинисту-обходчику осмотреть систему пылеприготовления и закрыть подачу охлаждающей воды в маслоохладитель системы смазки редуктора;

н) закройте (в случае планируемого простоя в резерве более 4 ч) вентили 2 (рисунок Б.3), шиберы 34 (рисунок Б. и 2) и 35 (рисунок Б.2), а в системах пылеприготовления с мельницами типа МВС-180 остановите маслонасос системы смазки редуктора и отключите привод мигалок провала.

Б.6.2.2 При плановом останове в ремонт со сработкой топлива из ПСУ выполните следующие операции:

а) потребуйте от дежурного персонала цеха тепловой автоматики и измерений отключить технологическую защиту, действующую на включение в работу средств побуждения движения топлива в БСУ. Допускается отключение названной защиты посредством фиксирования подручными средствами ее первичного датчика в поднятом положении;

б) закройте отсечной шибер (штыковой затвор) 2 под БСУ 1 (рисунки Б. и Б.2);

в) после появления признаков прекращения подачи топлива в мельницу (уменьшилось значение и прекратились колебания тока, потребляемого электродвигателями мельницы и ПСУ) проведите вентиляцию системы пылеприготовления и выполните операции по перечислениям а) - л) Б.6.2.1;

г) отключите электропривод мигалок провала мельницы типа МВС-180;

д) закройте шиберы 34 и 35 (рисунок Б.2;

е) закройте отсечные шиберы 11 (рисунки Б. и Б.2), заприте их цепями с замком;

ж) закройте вентили 2 (рисунок Б.3);

з) дайте заявку начальнику смены электроцеха на разборку электрических схем электродвигателей мельницы, ПСУ, вентилятора первичного дутья;

и) остановите систему смазки редуктора по Б.6.3.1 и Б.6.3.2;

к) дайте заявку дежурному цеха тепловой автоматики и измерений на разборку электрических схем шиберов на воздухопроводах, а также схем автоматического регулирования, защит, блокировок и сигнализации;

л) вывесите предупредительные плакаты на ключи управления шиберов 24 - 26 и 28 (рисунки Б. и Б.2), а также на ключ управления направляющим аппаратом вентилятора первичного дутья 39 (рисунок Б.2) и на ключи управления вентилями 30 и 32 (рисунки Б. и Б.2);

м) проверьте по месту плотное закрытие шиберов по Б.6.2.2 (кроме шибера 26, который должен быть полностью открыт), при необходимости обожмите вручную;

н) зафиксируйте (заприте) приводы к указанным в Б.6.2.2 шиберам цепями с замком, а также рычаг мигалки 4 (рисунки Б. и Б.2) на течке топлива в закрытом положении.

Б.6.2.3 При плановом останове со сработкой топлива из БСУ:

а) сообщите заблаговременно (от 2 до 3 ч) дежурному персоналу топливно-транспортного цеха о запланированной полной сработке топлива из БСУ выводимой в ремонт системы пылеприготовления для принятия мер к прекращению и недопущению подачи в него топлива;

б) дайте заявку начальнику смены цеха тепловой автоматики и измерений на отключение защиты по обрыву топлива;

в) в период сработки топлива из БСУ периодически включайте системы побуждения движения топлива в БСУ и обстукивайте его нижнюю часть;

г) выполните мероприятия по перечислениям в) - н) Б.6.2.2, ПСУ оставьте в работе до останова мельницы. Отключение ПСУ блокировкой при останове мельницы проконтролируйте;

д) закажите начальнику смены цеха тепловой автоматики и измерений обесточить схемы управления систем побуждения движения топлива в БСУ. Закройте на цепь с замком вентиль на подаче сжатого воздуха (пара) в систему пневмообрушения.

Б.6.3 Остановка системы смазки

Б.6.3.1 Остановку системы смазки редуктора мельниц типа МВС-90 - МВС-140 выполняйте сразу после останова мельницы, для этого закройте вентиль 14 подачи воды в маслоохладитель (рисунок Б.4) и закройте вентиль 13 на маслопроводе.

Б.6.3.2 Остановку системы смазки редуктора мельницы типа МВС-180 начинайте с прекращения подачи воды в маслоохладитель, затем отключите маслонасос, закройте вентили перед насосом и за ним, а также за фильтром.

Б.6.3.3 Остановка системы смазки подшипников размольных валков (рисунок Б.3) производите после останова всех подключенных к маслостанции мельниц, для этого:

- закройте вентиль 15;

- снимите с блокировки резервный маслонасос;

- отключите работающий маслонасос и электронагреватель 12;

- закройте вентили 14 и 15;

- при планировании ремонта напорного бака 1 (или маслоохладителя) слейте масло из него в бак-отстойник, открыв вентиль 18. При этом контролируйте уровень масла в баке-отстойнике. При необходимости (уровень в баке-отстойнике поднялся свыше 0,8 его высоты) слейте через вентиль 16 масло в заранее приготовленные емкости.

Б.6.4 Аварийная остановка системы пылеприготовления

Б.6.4.1 Остановите систему пылеприготовления аварийно в случае:

а) повышения температуры пылевоздушной смеси за сепаратором мельницы;

б) взрыва в системе пылеприготовления;

в) пожара (воспламенения масла или отложений пыли и топлива) на оборудовании системы пылеприготовления или вблизи него, угрожающего персоналу или оборудованию электростанции, а также цепям дистанционного управления и цепям КИП, силовым и осветительным кабелям;

г) появления сильных ударов в размольной камере мельницы;

д) нагрева подшипников механизмов до 70 °С или подшипников электродвигателей свыше 80 °С (уточните по местным условиям) или появления дыма из них;

е) сильной вибрации мельницы, MB, вентилятора первичного дутья, ПСУ или их приводов;

ж) появления запаха дыма или искр из электродвигателей;

з) погасания факела в топке котла и отсутствия воспламенения пыли в горелках при пуске системы пылеприготовления;

и) отсутствия масла на сливе из подшипников размольных валков;

к) прекращения поступления масла в подшипники валков;

л) понижения давления масла в системе смазки редуктора ниже допустимого по инструкции завода-изготовителя;

м) несрабатывания защиты по аварийному останову котла;

н) исчезновения напряжения на устройствах дистанционного и автоматического управления и на всех КИП;

о) несрабатывания защиты, блокировки по аварийному останову мельницы, ПСУ или вентилятора первичного дутья для систем с мельницами типа МВС-180;

п) выхода из строя всех приборов, измеряющих температуру пылевоздушной смеси за мельницей;

р) обнаружения неплотностей в системе пылеприготовления, которые невозможно устранить без останова;

с) поломки привода мигалок провала (для мельниц типа МВС-180);

т) отключения электродвигателя мельницы, ПСУ, вентилятора первичного дутья (для систем с мельницами типа МВС-180) электрическими защитами;

у) уменьшения перепада давлений в уплотнениях мельницы между уплотняющим воздухом и сушильным агентом: для мельниц типа МВС-90 - МВС-140 в камере уплотнения стола менее 1,3 кПа, а для всех уплотнений мельницы типа МВС-180 менее 2,0 кПа.

Б.6.4.2 В первую очередь (если не сработали защиты), остановите оборудование, на котором возникла аварийная ситуация (по перечислению у) Б.6.4.1), а мельницу остановите после вентиляции.

Б.6.4.3 Откройте вентиль 32 (рисунки Б. и Б.2) на подаче пара в мельницу в случаях аварии по перечислениям а) - в), з), и), м), н), и п) Б.6.4.1.

Б.6.4.4 Остановите ПСУ, если он не отключился защитой или блокировкой.

Б.6.4.5 Остановите мельницу в случаях аварии по перечислениям б) - е), ж), з) - н), о) Б.6.4.1, кроме следующих случаев:

- по перечислениям д) и е) Б.6.4.1 остановка мельницы всегда кроме аварий с вентилятором первичного дутья, ПСУ или их приводами;

- по перечислению ж) Б.6.4.1 остановка мельницы только при неисправности электродвигателя мельницы;

- по перечислению н) Б.6.4.1 остановка мельницы всегда кроме указанных повреждений для ПСУ.

Б.6.4.6 После останова мельницы по Б.6.4.5 выполните следующее:

- закройте шиберы 24, 25 и 28 (рисунки Б. и Б.2), направляющий аппарат вентилятора первичного дутья 39 (рисунок Б.2) и остановите вентилятор первичного дутья, если он не отключился защитой или не отключен по Б.6.4.2;

- откройте атмосферный клапан 26;

- закройте шиберы 34 (рисунки Б. и Б.2) и 35 (рисунок Б.2) в случае останова мельницы по Б.6.4.2 и Б.6.4.5;

- остановите привод мигалок провала мельницы типа МВС-180;

- закройте подачу пара в мельницу (вентиль 32);

- закройте шиберы 11 в пылепроводах;

- на закрытые шиберы, вентили и ключи управления остановленного оборудования повесьте предупредительные плакаты;

- выполните операции по перечислениям ж) - л), н) Б.6.2.2;

- сообщите об аварийном останове начальнику смены КТЦ и примите меры к ликвидации аварии.

Б.6.4.7 В случае аварийного останова ПСУ (его привода), когда мельница и ее системы смазки, вентилятор первичного дутья для мельницы типа МВС-180 исправны, и аварийных остановов по перечислениям а), р) - у) Б.6.4.1

- выполните вентиляцию системы пылеприготовления, закройте шиберы по пылевоздушному тракту, вентили в трубопроводах подачи пара и воды и другие операции по перечислениям в) - н) Б.6.2.2 и Б.6.4.9 настоящей Инструкции;

- закройте отсечной шибер 2 (рисунки Б. и Б.2) под бункером топлива.

Б.6.4.8 Информируйте при остановах системы пылеприготовления по перечислению в) Б.6.4.1 начальника смены котельного (котлотурбинного) цеха. Потребуйте от него принятия мер к тушению возникшего пожара (вплоть до вызова пожарной команды). При опасности повреждения кабелей электрических (силовых, осветительных), контрольно-измерительных, систем регулирования, защит, блокировок сообщите о пожаре начальникам смен электроцеха и цеха тепловой автоматики и измерений для принятия мер по обесточиванию поврежденных участков.

Б.6.4.9 Запрещается пускать аварийно остановленный или отключившийся механизм до выявления и устранения причин останова.

Б.7 Характерные нарушения режима работы системы пылеприготовления и действия по их устранению

Б.7.1 Устранение наиболее опасных нарушений режима работы оборудования системы пылеприготовления предусмотрено действием защит и блокировок по Б.6.4.

Б.7.2 Контролируйте срабатывание защит и блокировок в аварийной ситуации. При их отказе выполните необходимые операции по останову системы пылеприготовления по Б.6.4.

Б.7.3 Действуйте при устранении нарушений режима работы системы пылеприготовления в соответствии с указаниями таблицы Б.1. На основе опыта эксплуатации дополните таблицу Б. (в местных инструкциях) перечнем неисправностей, характерных для конкретных систем пылеприготовления, их причин и действий персонала по устранению нарушений.

Б.7.4 Ликвидацию нарушений в работе оборудования, не носящих характера нарушений режима работы системы пылеприготовления, выполняйте в соответствии с инструкцией завода-изготовителя конкретного оборудования.

Таблица Б.1

Нарушения, признаки проявления нарушений

Вероятная причина

Действия персонала по устранению нарушений

Дым, запах гари в надбункерной галерее топливоподачи. Высокая температура стенок БСУ.

Очаг горения в БСУ.

Удалите из опасной зоны ремонтный и эксплуатационный персонал, не занятый в работах по устранению неисправности. Потребуйте от персонала топливно-транспортного цеха заполнения БСУ топливом до максимального уровня. Продолжайте сработку топлива из БСУ, увеличив ее при возможности до максимума. Если указанные выше мероприятия не дают эффекта, включите систему пожаротушения, залейте очаг горения водой через стволы распылителя.

Срабатывание сигнализации по обрыву потока топлива в ПСУ. Повышение температуры пылевоздушной смеси за мельницей. Уменьшение токовой нагрузки электродвигателей ПСУ и мельницы.

Отсутствие топлива в БСУ. Образование сквозной воронки или свода топлива в БСУ.

Потребуйте при необходимости заполнения БСУ. Включите в работу средства, побуждающие движения топлива в БСУ. Обстучите и прошуруйте при наличии лючков вручную нижнюю часть БСУ и приемный патрубок ПСУ.

Кратковременное повышение токовой нагрузки электродвигателя ПСУ с последующим его отключением или снижением токовой нагрузки ниже значения токовой незагруженного ПСУ. Прекращение вращения ведущего вала ПСУ.

Попадание посторонних предметов в ПСУ, перекос или обрыв цепей и другие. Срезание предохранительной шпильки механизма привода ПСУ.

Отключите электродвигатель ПСУ.

Провентилируйте и остановите мельницу (только для мельниц типа МВС-90-МВС-140) по Б.6.1.3. Для мельниц типа МВС-180 после вентиляции остановите вентилятор первичного дутья, закройте шиберы на пылепроводах и воздуховодах перед мельницей, откройте атмосферный клапан 26 (рисунки Б. и Б.2). Дайте команду машинисту-обходчику осмотреть ПСУ по месту. Удалите посторонние предметы и замените предохранительную шпильку.

Посторонний шум в мельнице. Повышенная вибрация в мельнице. Повышенная токовая нагрузка с большими колебаниями тока электродвигателя мельницы.

Попадание посторонних предметов в мельницу. Выпадение крепежных и других деталей вследствие недостаточного их закрепления.

Аварийно остановите мельницу и систему пылеприготовления (по Б.6.4). Дайте команду машинисту-обходчику осмотреть мельницу, обратив внимание на наличие посторонних предметов, на размольном столе и сопловом аппарате, крепление броневых плит стола, бандажей и фигурной брони. Устраните обнаруженные неисправности.

Повышение количества провала.

Перегрузка мельницы топливом. Сильный износ бандажей валков и бронеплит стола. Не вращается размольный валок (валки). Недостаточная вентиляция мельницы вследствии неисправности в работе автоматики расхода, завала провалом патрубков подводов. Большой зазор между бандажом и размольным столом. Размольный валок не поднимается на слое топлива

Увеличьте вентиляцию мельницы. Временно уменьшите (прекратите) подачу топлива до восстановления нормального количества провала. Проверьте автоматику загрузки мельницы топливом. При необходимости остановите систему пылеприготовления в ремонт.

Стук в редукторе и вибрация

Нарушение правильности зацепления вследствие износа зубьев шестерен. Износ подшипников. Ослабление крепежа.

Остановите систему пылеприготовления в ремонт.

Пыление (просыпание) пыли на редуктор, пыление уплотнений валков

Давление воздуха, подаваемого в уплотнения, мало. Износ уплотнений стола, валков.

Проверьте и отрегулируйте подачу воздуха в уплотнение стола и валков (для мельницы типа МВС-180) в соответствии с Б.3.Б.2.3 и Б.3.Б.2.6. При необходимости остановите систему пылеприготовления в ремонт.

Утечка масла через уплотнения размольных валков.

Забивание картера уплотнения посторонними предметами. Неправильная установка маслосбрасывателя. Уплотнение зажато больше допустимого. Биение втулки слива масла, крепящейся к корпусу валка, более допустимого.

Замените уплотнение. Разберите и очистите от топлива, грязи, посторонних предметов. Отрегулируйте установку деталей уплотнения размольного валка и маслослива в соответствии с инструкцией завода-изготовителя.

Отсутствие масла на сливе из валков при наличии масла в валках.

Утечка масла через неплотности между крышкой и корпусом валка. Ослабления крепежа крышки валка

Остановите систему пылеприготовления в ремонт.

Недостаточное поступление масла в размольные валки и редуктор.

Засорение всасывающей линии насосов или фильтра. Засорение напорных маслопроводов

Остановите систему пылеприготовления в ремонт.

Пыление из течки провала мельницы типа МВС-180

Попадание посторонних предметов, препятствующих плотному закрытию клапанов. Отсутствие зазора между кулачком исполнительного механизма и приводными рычагами клапана

Откройте клапаны мигалки при ручном управлении. Установите зазоры в соответствии с инструкцией завода-изготовителя.

Утечка масла через разрезную конусную втулку размольного валка.

Переполнение уровня масла в подшипниках размольного валка из-за увеличенного расхода масла.

Отрегулируйте вентилем подачу масла в размольный валок.

Повышенный нагрев подшипников валков и редуктора

Плохое качество масла. Недостаточная подача масла к подшипникам. Недостаточное охлаждение масла в маслоохладителе. Износ, поломка подшипника.

Проверьте качество масла. Слейте масло, промойте маслосистему и залейте новое масло. Отрегулируйте подачу масла. Проверьте работу насоса и фильтра в системе смазки редуктора. Уточните температуру масла, подаваемого на смазку подшипников, увеличьте расход охлаждающей воды через маслоохладитель. При необходимости остановите систему пылеприготовления в ремонт.

Повышение температуры пылевоздушной смеси за сепаратором мельницы при нормальной подаче топлива в мельницу. Срабатывание сигнализации

Неисправность системы автоматического регулирования расхода и температуры вентилирующего агента. Пожар в мельнице.

Перейдите на ручное управление, увеличьте подачу в мельницу слабо-подогретого воздуха. Проверьте и отрегулируйте работу регуляторов расхода и температуры. Если температура за сепаратором продолжает расти и достигает второго предела - остановите мельницу (систему пылеприготовления) аварийно, подайте пар в патрубки подвода вентилирующего агента и в размольную камеру в течение от 5 до 15 минут (уточните по месту).

Нарушение плотности системы пылеприготовления.

Взрыв в системе пылеприготовления. Износ элементов оборудования

Остановите систему пылеприготовления аварийно. Подайте в мельницу пар от 5 до 15 минут. Проведите внутренний и внешний осмотр оборудования, обнаруженные очаги горения (тления) топлива и масла погасите распыленной водой. Все неплотности в системе пылеприготовления устраните немедленно после обнаружения.

Снижение расхода воздуха на мельницу и температуры пылевоздушной смеси за мельницей при неизменной производительности мельницы и отсутствии резкого увеличения сопротивления мельницы.

Износ лопаток MB. Забивание пылью одного или двух пылепроводов, отложения пыли в пылепроводах.

Уменьшите подачу топлива в мельницу до установления соответствия с имеющимся расходом воздуха (по режимной карте). Продуйте по очереди все пылепроводы. При необходимости остановите систему пылеприготовления в ремонт.

Приложение В
(обязательное)

Типовая инструкция по эксплуатации индивидуальных систем пылеприготовления с молотковыми мельницами

В.1 Общие положения

В.1.1 Настоящая типовая инструкция (далее - Инструкция) устанавливает общий порядок, последовательность и условия выполнения основных технологических операций, обеспечивающих безаварийную и экономичную эксплуатацию индивидуальных систем пылеприготовления прямого вдувания с молотковыми мельницами.

В.1.2 Инструкция составлена применительно к системам пылеприготовления (рисунки В.1 и В.2), имеющим преимущественное распространение на электростанциях Российской Федерации:

- для работы под разрежением с прямым вдуванием, сушкой топлива горячим воздухом и шахтным сепаратором пыли (рисунок В.1);

- для работы под давлением с прямым вдуванием и сушкой топлива горячим воздухом (рисунок В.2);

- для работы под давлением с прямым вдуванием и сушкой топлива горячим воздухом, с раздельными трактами первичного и вторичного воздуха (рисунок В.3);

- для работы под разрежением с бункером пыли и сушкой топлива дымовыми газами (рисунок В.4);

- для работы под разрежением с бункером пыли и сушкой топлива горячим воздухом (рисунок В.5).

В.1.3 Вопросы маслоснабжения механизмов мельниц в Инструкции рассмотрены применительно к типовой схеме жидкой смазки (рисунок В.6). Для схем, отличающихся от типовой, в местные инструкции должны быть внесены необходимые изменения.

В.1.4 В Инструкции рассмотрен режим эксплуатации, порядок пуска и останова применительно к одной системе пылеприготовления из всех параллельно установленных на котле.

В.2 Общие указания

В.2.1 Указания по составлению местной инструкции

В.2.1.1 Используйте указания настоящей Инструкции с учетом конкретных особенностей, имеющихся на электростанции схем систем пылеприготовления, типов и компоновки оборудования.

В.2.1.2 Конкретизируйте содержащиеся в Инструкции технологические параметры с учетом характеристик размалываемого топлива, местных условий эксплуатации и требований, содержащихся в нормативной технической и проектной документации.

В.2.2 Указания по организации эксплуатации систем пылеприготовления

В.2.2.1 Допускайте к эксплуатации систему пылеприготовления только при:

- при полном соответствии требованиям нормативной технической и проектной документации оборудования, его компоновки, оснащения системы пылеприготовления предохранительными клапанами, средствами пожаротушения, контрольно-измерительной аппаратурой, технологическими защитами, блокировками и сигнализацией;

- при наличии приемо-сдаточного акта системы пылеприготовления из монтажа;

- при наличии на щите управления котлом (энергоблоком) местной инструкции по эксплуатации системы пылеприготовления;

- после проведения инструктажа дежурного эксплуатационного персонала и проверки знаний им правил взрывобезопасности, технической эксплуатации,, противопожарной инструкции и местных инструкций по эксплуатации системы пылеприготовления.

В.2.2.2 Осмотрите все оборудование перед пуском вновь смонтированной или реконструированной системы пылеприготовления, а также после ее ремонта или нахождения в резерве более 3 суток; проверьте исправность КИП, устройств дистанционного управления, защит, сигнализации, блокировок и автоматики. Не допускайте пуск и эксплуатацию системы пылеприготовления с неисправными системами управления, сигнализации, защит и блокировок.

Произведите (со вскрытием всех люков и лазов) тщательный внутренний осмотр тракта вновь смонтированной или реконструированной системы пылеприготовления. Выявите и устраните дефекты монтажа, а также проектные и конструктивные недостатки, приводящие к отложению пыли в тракте системы пылеприготовления.

Организуйте специальную комиссию и произведите не позднее чем через 2000 ч работы системы пылеприготовления контрольный внутренний осмотр установки с составлением акта по его результатам.

В.2.2.3 Организуйте пуск системы пылеприготовления, принятой из монтажа, под руководством ответственного лица, имеющего опыт пуска и эксплуатации аналогичных систем и назначаемого руководством электростанции.

В.2.2.4 Организуйте проведение испытаний системы пылеприготовления, с учетом их результатов разработайте режимную карту котла, содержащую также указания по ведению оптимального режима систем пылеприготовления.

Проводите испытания системы пылеприготовления перед каждым капитальным ремонтом котла и после него.

1 - бункер сырого топлива; 2 - питатель сырого топлива; 3 - взрывной предохранительный клапан; 4 - мигалка; 5 - устройство для нисходящей сушки топлива; 6 - мельница; 7 - сепаратор пыли; 8 - горелочное устройство; 9 - топка котла; 10 - дутьевой вентилятор; 11 - расходомерное устройство; 12 - воздухоподогреватель; 13 - сопло для подачи воздуха в топку; 14 - воздухопроводы к другим мельницам или горелкам котла; 15 - 22 - клапаны; 23 - атмосферный клапан; 24, 25 - задвижки.

Рисунок В.1 - Система пылеприготовления для работы под разрежением с прямым вдуванием, сушкой топлива горячим воздухом и шахтным сепаратором пыли

24 - 27 - задвижка; 28 - вентилятор первичного воздуха; 29 - вентилятор уплотняющего воздуха; 30 - делитель пылевоздушной смеси; 31 - автоматический сбросной (противопомпажный) клапан; 32 - 35 - клапаны. Остальные обозначения по рисунку В.1

Рисунок В.2 - Система пылеприготовления для работы под давлением с прямым вдуванием и сушкой топлива горячим воздухом

Описание: Untitled-1 copy

36 - течки возврата грубой пыли из сепаратора в мельницу; 37 - клапан в перемычке между трактами первичного и вторичного воздуха: 38 - воздухоподогреватель первичного воздуха; 39 - воздухоподогреватель вторичного воздуха. Остальные обозначения по рисункам В.1 и В.2

Рисунок В.3 - Система пылеприготовления для работы под давлением с прямым вдуванием и сушкой топлива горячим воздухом с раздельными трактами первичного и вторичного воздуха

40 - вентилятор первичного воздуха; 41 - распределительный короб первичного воздуха; 42 - смеситель пыли с первичным воздухом; 43 - циклон пыли; 44 - сетка в течке под циклоном; 45 - бункер пыли; 46 - питатель пыли; 47 - фланцы для установки заглушки; 48 - трубопровод влагоотсоса; 49 - мельничный вентилятор; 50 - распределительный короб отработавшего сушильного агента; 51 - сопла сброса в топку отработавшего сушильного агента; 52 - пылегазовоздухопроводы к сбросным соплам; 53 - газовоздухопровод рециркуляции сушильного агента; 54 - пылегазовоздухопроводы к другим горелкам котла; 55 - газозаборное окно; 56 - 70 - клапаны; 71 - дымосос рециркуляции дымовых газов; 72 - течки пыли от циклонов других систем пылеприготовления котла. Остальные обозначения по рисункам В.1 - В.3

Рисунок В.4 - Система пылеприготовления для работы под разрежением с бункером пыли и сушкой топлива дымовыми газами

73 и 74 - клапаны в воздухопроводе подачи горячего воздуха на сторону всасывания MB. Остальные обозначения по рисункам В.1 - В.4

Рисунок В.5 - Система пылеприготовления для работы под разрежением с бункером пыли и сушкой топлива горячим воздухом

1 - бак-отстойник; 2 - электронагреватель; 3, 4 - маслонасосы; 5, 6 - фильтры; маслоохладитель; 8 - опорной подшипник мельницы; 9 - опорно-упорный подшипник мельницы; 10 - маслопровод заполнения бака-отстойника; 11 - маслопровод опорожнения бака-отстойника; 12, 13 - предохранительные перепускные клапаны; 14 - обратный клапан; 15 - 32 - вентили; 33 - трубопровод охлаждающей воды; 34 - уровнемер уровня масла; реле-уровнемер поплавковое; 36 - измерение температуры; 37 - 41 - измерение давления; 42 - указатель течения масла; 43 - датчик реле протока масла в сливном маслопроводе за подшипником; 44 - напорные маслопроводы к подшипникам других мельниц; 45 - сливные маслопроводы от подшипников других мельниц

Рисунок В.6 - Принципиальная схема маслосистемы для жидкой смазки подшипников группы мельниц

В.2.2.5 Организуйте при загрузке бункера сырого топлива обязательное включение в работу металло- и щепоуловителей, установленных в тракте топливоподачи.

В.2.2.6 Разработайте и внедрите графики выполнения следующих профилактических мероприятий:

- проведения испытаний для проверки правильности и корректировки указаний режимной карты;

- проверки плотности (присосов) тракта систем пылеприготовления, работающих под разрежением;

- сработки топлива до минимально допустимого уровня в бункерах сырого топлива с периодичностью не реже чем через каждые 7 - 10 суток;

- полной сработки склонного к зависанию топлива из бункеров сырого топлива;

- включения в работу системы пневмообрушения в бункерах сырого топлива;

- сработки пыли до минимально допустимого уровня в бункере пыли;

- проверки контрольно-измерительной аппаратуры и аппаратуры технологических защит, блокировок, сигнализации и автоматических регуляторов;

- проверки исправности электрооборудования, электрической проводки, а также заземления корпусов оборудования;

- проверки постоянной готовности к работе стационарных систем и ручных средств пожаротушения;

- проверки исправности стационарного освещения зоны размещения пылеприготовительного оборудования;

- проверки запыленности атмосферного воздуха в котельном цехе, которая не должна превышать 10 мг/м3;

- проверки качества масла в редукторах привода питателя сырого топлива и в системе маслоснабжения подшипников с принудительной жидкой смазкой мельниц.

В.2.2.7 Установите с учетом местных условий эксплуатации периодичность профилактического осмотра оборудования и тракта системы пылеприготовления машинистом-обходчиком и уборки грязи и пыли в зоне размещения оборудования.

В.2.2.8 Разработайте и выполните программы и планы технической учебы и противоаварийных игр для оперативного эксплуатационного персонала.

В.2.2.9 Организуйте техническое обслуживание и ремонт систем пылеприготовления, включая:

- учет наработки оборудования, основных его узлов и элементов;

- учет частоты и причин отказов систем пылеприготовления.

В.2.3 Указания общих ограничений в работе системы пылеприготовления

В.2.3.1 Не допускайте работу системы пылеприготовления без включенных технологических защит; блокировок и сигнализации.

В.2.3.2 Не допускайте работу системы пылеприготовления с пылением. При обнаружении пыления немедленно примите меры к его устранению вплоть до останова системы.

В.2.3.3 Не допускайте во всех режимах работы системы пылеприготовления (при пуске, нормальной работе, останове, перерывах в подаче топлива):

- повышения температуры сушильного агента в воздухопроводе (рисунки В.1 - В.3 и В.5) или газопроводе (рисунок В.4) перед мельницей более 450 °С для мельниц с охлаждаемыми водой сверлеными валами и более 400 °С для мельниц с несверлеными валами (уточните по заводской инструкции);

- повышения температуры пылевоздушной (пылегазовоздушной) смеси за мельницей.(рисунок В.1), сепаратором (рисунки В.2 - В.5) выше значения, установленного в проектной документации;

- понижения температуры пылевоздушной (пылегазовоздушной) смеси в пылепроводе за сепаратором системы пылеприготовления с прямым вдуванием (рисунки В.1 - В.3) и перед MB системы с бункером пыли (рисунки В.4 и В.5) до значения, при котором происходит конденсация водяных паров и налипание пыли на внутренние поверхности системы пылеприготовления (укажите в местной инструкции это значение температуры);

- повышения объемного содержания кислорода более 16 % в сухой пылегазовоздушной смеси в конце установки (для систем с прямым вдуванием - за мельницей или сепаратором, для систем с бункером пыли - за MB) при сушке топлива дымовыми газами.

В.2.3.4 Немедленно останавливайте систему пылеприготовления в аварийных ситуациях, указанных в В.7.1.2.

В.3 Указание мер безопасности

В.3.1 Соблюдайте при эксплуатации систем пылеприготовления требования и указания нормативной технической и проектной документации, не допуская ситуаций, угрожающих травмами обслуживающему персоналу.

Не допускайте:

- нахождения в зоне размещения оборудования систем пылеприготовления посторонних лиц, не занятых оперативным обслуживанием или ремонтом оборудования;

- производства ремонтных работ без наряда-допуска и принятия всех мер безопасности;

- производства ремонтных работ на работающей системе пылеприготовления, связанных с применением газовой и электродуговой сварки и нарушением эксплуатационной герметичности системы (вскрытием люков, лазов, заменой диафрагм предохранительных клапанов);

- производства любых ремонтных работ в зоне размещения оборудования системы пылеприготовления и в опасных пределах вблизи этой зоны, а также расшлаковки топки и шлакоудаляющих устройств котла при работе системы пылеприготовления в нестабильных режимах (при пуске, останове, перебоях в поступлении топлива);

- загромождения зон размещения и обслуживания пылеприготовительного оборудования запасными частями, строительными и другими материалами;

- нарушения графиков выполнения профилактических мероприятий, указанных в В.2.2.6 и В.2.2.7;

- обдувки сжатым воздухом и сухой уборки пыли с поверхностей оборудования, пылегазовоздухопроводов, полов перекрытий, стен и других поверхностей в зоне размещения систем пылеприготовления.

В.3.2 Предпринимайте специальные меры, разработанные с учетом местных условий, для защиты персонала от горящей пыли, выброшенной из предохранительных клапанов и отраженной от стен и перекрытий при взрыве в системе пылеприготовления.

В.3.3 Не допускайте к проведению любых ремонтных работ и к осмотру системы пылеприготовления со вскрытием люков, дверей и лазов персонал, спецодежда которого не соответствует требованиям отраслевых норм.

В.3.4 Соблюдайте при вскрытии люков и лазов на остановленной и подготовленной к осмотру или ремонту системе пылеприготовления следующие меры безопасности:

- удостоверьтесь в отсутствии посторонних предметов, препятствующих быстрому отходу в безопасное место в случае выброса горящей пыли через открываемый лаз (дверь, люк) и наметьте путь отхода; не наносите удары по корпусу оборудования или пылегазовоздухопровода, в котором расположен открываемый люк, и не трогайте прилегающие клапаны во избежание взвихривания пыли;

- находитесь сбоку от открываемого люка, со стороны его петель, используйте крышку люка в качестве экрана-отражателя в случае выброса горящей пыли; открывайте люк медленно и постепенно, крепко удерживая его крышку во избежание ее захлопывания под действием собственной массы.

В.3.5 Содержите в порядке и постоянной готовности все противопожарные средства:

- стационарные системы пожаротушения в бункерах сырого топлива и пыли, пылегазовоздушном тракте системы пылеприготовления, зоне размещения оборудования;

- огнетушители, ящики с песком, лопаты и остальной ручной противопожарный инвентарь, для размещения которого установите постоянные места.

В.3.6 Ликвидируйте обнаруженные отложения горящей пыли, осторожно заливая их водой через стволы-распылители, не допуская взвихривания пыли.

В.4 Подготовка системы пылеприготовления к работе

В.4.1 Общие указания

В.4.1.1 Убедитесь в прекращении всех ремонтных работ, отсутствии ремонтного персонала на местах производства работ и посторонних предметов вблизи подготавливаемого к работе оборудования.

В.4.1.2 Осмотрите систему пылеприготовления и при ее простое свыше 8 ч (уточните по местным условиям) и убедитесь в отсутствии очагов горения:

- в бункерах сырого топлива и пыли;

- в корпусах мельницы, сепаратора, циклона, MB;

- на клапанах мигалок;

- на сетке в течке пыли под циклоном;

- на наружных поверхностях оборудования, пылегазовоздухопроводов и площадках их обслуживания.

Обращайте внимание при осмотре на запах гари, дым, нагрев отдельных участков тракта системы пылеприготовления (проверьте на ощупь) и другие признаки наличия тлеющих отложений пыли.

В.4.1.3 Производите осмотр системы пылеприготовления, пускаемой после монтажа или реконструкции, со вскрытием всех люков и лазов.

В.4.1.4 Пуск системы пылеприготовления до ликвидации очагов горения запрещается.

В.4.2 Подготовка системы пылеприготовления к пуску

В.4.2.1 Осмотрите подшипники мельницы и подшипники остального оборудования: питателей топлива, вентилятора первичного воздуха, MB, вентилятора уплотняющего воздуха, питателей пыли.

Убедитесь в отсутствии повреждений корпусов и уплотнений подшипников. Проверьте уровень масла в подшипниках, имеющих жидкую картерную смазку (все подшипники с консистентной смазкой заполняются смазкой на 2/3 свободного объема их корпусов).

В.4.2.2 Проверьте соответствие уровня масла в редукторах питателя топлива требованию инструкции завода-изготовителя (в местной инструкции конкретизируйте). При меньшем уровне долейте в редукторы масло (марку масла уточните по инструкции завода-изготовителя).

В.4.2.3 Проверьте соответствие положения регулятора высоты слоя топлива на столе питателя топлива указанию режимной карты (в местной инструкции укажите конкретное значение).

Убедитесь в работоспособности первичного датчика сигнализатора обрыва топлива, проверив от руки вращение его оси.

В.4.2.4 Проверьте плотность закрытия люков и лазов на корпусах питателя топлива, сепаратора, циклона, мельницы и другого оборудования.

В.4.2.5 Убедитесь в наличии и исправности ограждений соединительных муфт, валов и других вращающихся частей приводов питателей топлива, пыли, мельницы, вентиляторов.

В.4.2.6 Проверьте наличие топлива в бункере сырого угля и, если его недостаточно, потребуйте от персонала топливно-транспортного цеха заполнения бункера.

В.4.2.7 Проверьте значение давления воздуха в ресивере системы пневмообрушения бункера сырого топлива; при давлении воздуха менее 0,5 МПа (уточните в местной инструкции) потребуйте через дежурного инженера электростанции поднять давление до номинального значения (укажите в местной инструкции).

В.4.2.8 Проверьте работоспособность мигалок в течках топлива и пыли. Мигалки должны приоткрываться без заеданий при ручном нажатии на груз-противовес и плотно закрываться при прекращении нажатия.

В.4.2.9 Осмотрите диафрагмы предохранительных клапанов. При обнаружении в диафрагмах пробоев и неплотностей замените их новыми.

В.4.2.10 Осмотрите шины заземления корпусов мельниц, вентиляторов и их электродвигателей и убедитесь в их исправности.

В.4.2.11 Удостоверьтесь в соответствии рабочим значениям давлений перед задвижками 24, 25 и 27 (рисунки В.1 - В.5) в трубопроводах подачи воды и пара в газовоздухопровод перед мельницей и в сепаратор пыли (в местной инструкции укажите конкретные значения давлений) и убедитесь в отсутствии пропуска воды и пара через эти задвижки, проверив на ощупь степень нагрева трубопровода за ними.

В.4.2.12 Включите систему охлаждения вала мельницы, для чего приоткройте вентиль в трубопроводе охлаждающей воды до положения, обеспечивающего свободный слив воды в открытую воронку.

При наличии водяного охлаждения подшипников вентиляторов отрегулируйте аналогично расход воды на их охлаждение.

В.4.2.13 Проверьте положение регулирующих органов сепаратора пыли и установите их в соответствии с указаниями режимной карты (в местной инструкции укажите конкретное положение указателей положения регуляторов).

В.4.2.14 Осмотрите приводы к клапанам, задвижкам и проверьте:

- исправность механических рычагов-тяг (отсутствие изгибов, трещин, наличие шайб и шплинтов в шарнирных соединениях);

- легкость управления клапанами вручную по месту;

- соответствие местных указателей (реперов) положения клапанов «Открыто» и «Закрыто» рискам на их осях;

- рабочий диапазон перемещения клапанов.

Установите штурвалы приводов клапанов и задвижек в рабочее положение, обеспечивающее дистанционное управление ими от электропривода.

В.4.2.15 Закажите через начальников смен электроцеха и цеха тепловой автоматики и измерений сборку электрических схем для подачи напряжения на электродвигатели оборудования, маслонасосов станции жидкой смазки подшипников мельницы, приводов дистанционного управления клапанами и задвижками и дымососа рециркуляции дымовых газов, если он не работает.

Получите от начальников смен названных цехов подтверждение о том, что электрические схемы собраны.

Опробуйте со щита дистанционное управление клапанами и убедитесь в соответствии установленных на щите управления указателей степени открытия клапанов, их фактическому положению.

В.4.2.16 Вызовите дежурный персонал электроцеха и цеха тепловой автоматики и измерений для проверки и включения схем управления электрическими защитами и сигнализацией, контрольно-измерительных приборов, технологических защит, блокировок и сигнализации.

Потребуйте произвести проверку работоспособности технологических защит и блокировок без их воздействия на исполнительные механизмы (в испытательном положении) в случаях простоя системы пылёприготовления более 3 суток и выполнения ремонтных работ в цепях защит во время простоя меньшей продолжительности.

В.4.2.17 Подайте напряжение на лампы подсветки табло световой сигнализации нажатием кнопки их проверки и при наличии перегоревших ламп (отдельные табло не подсвечиваются) потребуйте от дежурного персонала цеха тепловой автоматики и измерений заменить их новыми.

Получите от дежурного персонала цеха тепловой автоматики и измерений подтверждение о подаче напряжения в цепи защит, блокировок и сигнализации.

В.4.2.18 Удостоверьтесь в полном закрытии следующих запорно-регулирующих клапанов в пылегазовоздухопроводах системы пылеприготовления:

- клапана 19 в воздухопроводе присадки низкотемпературного сушильного агента перед мельницей (рисунки В.1 - В.5);

- клапана 22 в общем воздухопроводе сушильного агента перед мельницей (рисунки В.1 - В.3 и В.5);

- клапана 56 в пылегазовоздухопроводе перед MB (рисунки В.4 и В.5);

- клапана 60 в пылегазовоздухопроводе рециркуляции сушильного агента (рисунки В.4 и В.5).

В.4.2.19 Убедитесь в полном закрытии:

- направляющего аппарата индивидуального вентилятора первичного воздуха 28 (рисунок В.2);

- запорного клапана 58 в пылегазовоздухопроводе за MB 49 (рисунок В.4);

- запорного клапана 69 в общем газовоздухопроводе перед мельницей (рисунок В.4).

В.4.2.20 Удостоверьтесь в том, что режим охлаждения пылеугольных горелок 8 (рисунки В.1 - В.5) и сопл 51 (рисунок В.4) для подачи отработавшего сушильного агента в топку котла соответствует указаниям режимной карты:

- проконтролируйте значения давлений в воздухопроводах вторичного воздуха перед отключенными по пыли горелками и при необходимости установите их равными указанным в режимной карте (в местной инструкции укажите абсолютное значение давления воздуха перед горелкой) изменением степени открытия клапанов 21;

- проконтролируйте значение давления в распределительном коробе 50 (рисунок В.4) и при необходимости установите его равным значению, указанному в режимной карте (укажите в местной инструкции), изменением степени открытия клапана 61.

В.4.2.21 Закройте атмосферные клапаны 23, установленные:

- в воздухопроводе (рисунки В.1 - В.3 и В.5) сушильного агента перед мельницей;

- в пылегазовоздухопроводе за MB 49 (рисунок В.4).

В.4.2.22 Откройте полностью следующие запорные клапаны:

- клапан 15 под бункером сырого топлива (рисунки В.1 - В.5);

- клапан 16 в шахтном сепараторе (рисунок В.1);

- клапан 17 в воздухопроводе горячего воздуха перед мельницей (рисунки В.1 - В.3 и В.5);

- клапан 32 в общем воздухопроводе сушильного агента перед вентилятором первичного воздуха 28 (рисунок В.2);

- клапан 34 в пылевоздухопроводах перед пылеугольными горелками 8 (рисунки В.2 - В.5);

- клапан 57 в пылегазовоздухопроводе за MB 49 (рисунок В.4).

В.4.2.23 Подготовьте к работе тракт первичного воздуха котла с системой пылеприготовления с бункером пыли по рисунку В.4, если вентилятор первичного воздуха 40 и питатели пыли 46 не работают, для чего удостоверьтесь в полном закрытии:

- направляющего аппарата вентилятора первичного воздуха 40;

- запорных клапанов 67 в воздухопроводах первичного воздуха к пылеугольным горелкам 8;

- запорно-регулирующего клапана 63 в воздухопроводе присадки слабоподогретого воздуха перед вентилятором первичного воздуха;

- запорно-регулирующего клапана 68 в трубопроводе влагоотсоса 48 из бункера пыли 45;

- замените проходными шайбами заглушки, установленные во фланцевых соединениях 47 на течках за питателями пыли;

- закройте атмосферные клапаны 23 в воздухопроводах перед и за вентилятором первичного воздуха;

- откройте полностью запорные клапаны 59 над питателями пыли, 62 и 64 в воздухопроводе первичного воздуха перед вентилятором первичного воздуха, 65 и 66 в воздухопроводе между вентилятором первичного воздуха и коробом первичного воздуха.

В.4.2.24 Подготовьте к работе напорный тракт первичного воздуха котла с системой пылеприготовления с бункером пыли по рисунку В.5, если MB 49 и питатели пыли 46 не работают, для чего:

- удостоверьтесь в полном закрытии клапанов 63, 73, 74 и полном открытии атмосферного клапана 23 в воздухопроводах перед MB 49; убедитесь также в полном закрытии клапана 68 в трубопроводе влагоотсоса 48, подключенном к подготавливаемой к пуску установке;

- замените проходными шайбами заглушки, установленные во фланцевых соединениях 47 на течках за питателями пыли;

- откройте полностью запорные клапаны 67 и 34 в пылевоздухопроводах и клапаны 59 над питателями пыли.

В.4.2.25 Подготовьте к работе тракт уплотняющего воздуха с вентилятором уплотняющего воздуха 29 (рисунок В.2 и 3), если последний был остановлен:

- убедитесь в полном закрытии запорно-регулирующего клапана 35 за вентилятором уплотняющего воздуха;

- включите в работу вентилятор уплотняющего воздуха;

- откройте запорно-регулирующий клапан 35.

В.4.2.26 Откройте следующие запорно-регулирующие клапаны:

- клапан 18 в воздухопроводах уплотняющего воздуха перед уплотнениями корпуса мельницы в местах прохода вала ротора (рисунки В.1 - В.5);

- клапан 33 в воздухопроводах уплотняющего воздуха перед уплотнениями корпуса питателя сырого топлива системы пылеприготовления, работающей под давлением (рисунки В.2 и В.3).

В.4.2.27 Подготовьте к работе дымосос рециркуляции газов 71 (рисунок В.4), если он не работает, для чего удостоверьтесь в полном закрытии направляющего аппарата дымососа.

В.4.3 Подготовка к работе и пуск системы маслоснабжения подшипников мельниц

В.4.3.1 Проверьте высоту уровня масла (рисунок В.6) в баке-отстойнике 1, которая должна составлять от 0,5 до 0,7 включительно высоты бака. При меньшем уровне долейте в бак-отстойник масло (марка инструкции завода-изготовителя), прошедшее очистку через фильтр-пресс и центрифугу.

В.4.3.2 Произведите тщательный, наружный осмотр маслонасосов 3 и 4, фильтров 5 и 6, маслоохладителя 7, подшипников 8 и 9 мельницы, всей арматуры системы маслоснабжения, мест установки контрольно-измерительных приборов и убедитесь в отсутствии протечек масла.

В.4.3.3 Проверьте вращение насосов и фильтров, которые должны легко вращаться от руки.

В.4.3.4 Потребуйте от персонала цеха тепловой автоматики и измерений проверить правильность настройки сигнализации всей контрольно-измерительной аппаратуры на требуемые по условиям эксплуатации давление и температуру масла (конкретизируйте в местной инструкции).

Убедитесь в полном открытии запорных вентилей на соединительных (импульсных) линиях к манометрам.

В.4.3.5 Включите в работу электронагреватель 2 в баке-отстойнике и переведите его в автоматический режим работы от температурного реле.

В.4.3.6 Убедитесь в полном закрытии следующих вентилей:

- вентиля 30 в напорном трубопроводе 33 охлаждающей воды;

- вентиля 31 в маслопроводе заполнения бака-отстойника;

- вентиля 32 в маслопроводе опорожнения бака-отстойника;

- вентилей 21 и 22 в маслопроводах перед и за резервным фильтром 6;

- вентиля 23 в маслопроводе перед маслоохладителем;

- вентиля 24 в байпасе маслоохладителя;

- вентиля 28 в напорных маслопроводах подачи масла к подшипникам мельниц, не подготавливаемых к работе.

В.4.3.7 Откройте полностью следующие вентили в маслопроводах:

- вентили 15 и 16 перед маслонасосами;

- вентили 17 и 18 в напорных маслопроводах за маслонасосами;

- вентили 19 и 20 перед и за подготавливаемым к работе фильтром 5;

- вентиль 25 в маслопроводе за маслоохладителем;

- вентиль 26 в перемычке между напорным маслопроводом и баком-отстойником;

- вентиль 27 в напорном маслопроводе подачи масла к подшипникам подготавливаемой к работе мельницы.

В.4.3.8 Удостоверьтесь в том, что вентили 29 в маслопроводах перед подшипниками подготавливаемой к работе мельницы приоткрыты до положения, в котором они находились при работающей мельнице и были оставлены после ее останова.

Приоткройте эти вентили до указанного положения в случае, если они закрыты и оснащены указателями положения.

Откройте эти вентили полностью в случае, когда они закрыты и не оснащены указателями.

В.4.3.9 Проверьте температуру масла в баке-отстойнике и при ее значении от 40 до 50 °С включительно включите маслонасос 3.

Удостоверьтесь в нормальной работе маслонасоса по появлению давления в напорном маслопроводе, измеряемого манометрами 37 и 38, повышению температуры стенок труб напорного маслопровода (определите на ощупь) и некоторому понижению температуры масла в, баке-отстойнике.

Осмотрите напорный тракт маслостанции, включая перемычку между напорным маслопроводом и баком-отстойником, и удостоверьтесь в отсутствии протечек масла.

Сравните на ощупь температуры стенок напорного маслопровода за насосом и сбросного маслопровода за перепускным клапаном 12 и по более низкой температуре стенки сбросного маслопровода убедитесь в том, что клапан закрыт.

В.4.3.10 Проверьте правильность настройки перепускного клапана 12, для чего:

- прикройте вентиль 26 в перемычке до положения, при котором давление в маслопроводе перед фильтрами 5 и 6, измеряемое манометром 37, повысится до значения, на которое настроен перепускной клапан 0,6 МПа (уточните по инструкции завода-изготовителя);

- удостоверьтесь по повышающейся температуре стенок сбросного маслопровода (на ощупь) в том, что клапан работает;

- приоткройте вентиль 26, наблюдая за давлением масла по шкале манометра 37, и убедитесь в том, что клапан закрылся при давлении 0,5 МПа (уточните по инструкции завода).

Отрегулируйте клапан на его рабочее давление в случае, если он настроен неправильно.

В.4.3.11 Откройте полностью вентиль 26 и отключите маслонасос 3. Включите в работу маслонасос 4, удостоверьтесь в его нормальной работе и проверьте правильность настройки перепускного клапана 13, действуя аналогично указаниям в В.4.3.9 и В.4.3.10.

Установите вентиль 26 в положение, при котором давление, измеряемое манометром 38, будет составлять от 0,25 до 0,3 МПа включительно (уточните с учетом фактического гидравлического сопротивления системы маслопроводов к подшипникам мельниц).

В.4.3.12 Подайте масло к подшипникам подготавливаемой к работе мельницы, для чего выполните следующие операции:

- откройте вентиль 23 в маслопроводе перед маслоохладителем;

- убедитесь в заполнении системы маслопроводов (удалении воздуха из маслосистемы), наблюдая за протоком масла по указателям 42, уровнемерам 34 в корпусах подшипников и за температурой масла в баке-отстойнике, которая должна понизиться после открытия вентиля 23;

- проверьте уровень масла в баке-отстойнике после заполнения маслосистемы и при необходимости долейте масло до номинального уровня (по В.4.3.1);

- прогрейте масло в рабочем контуре системы маслоснабжения до значения в пределах от 40 до 50 °С включительно, контролируя температуру масла в баке-отстойнике.

В.4.3.13 Отрегулируйте вентилем 29 в соответствии с указаниями инструкции завода-изготовителя мельницы подачу масла на подшипники мельницы, наблюдая за поступлением масла по указателям его течения 42, уровнемерам масла 34 в корпусах подшипников и манометра 40. При наличии в маслопроводе перед или за подшипником реле-протока удостоверьтесь в правильности его настройки на минимально допустимый расход масла (по инструкции завода-изготовителя).

В.4.3.14 Установите изменением положения вентиля 26 в перемычке давление масла в маслопроводе за фильтрами, измеряемое манометром 38, в диапазоне значений от 0,15 до 0,2 МПа включительно (уточните в местной инструкции).

Повторно убедитесь в нормальном маслоснабжении подшипников мельницы по указателям течения 42 и уровнемерам 34.

В.4.3.15 Проверьте действие автоматического включения в работу резервного маслонасоса, для чего:

- квитируйте ключ автоматического включения в положение «Сблокировано»;

- отключите маслонасос 4;

- убедитесь в автоматическом включении маслонасоса 3 при уменьшении давления масла за фильтрами (манометр 38) до 0,7 номинального (уточните и конкретизируйте в местной инструкции).

В.4.3.16 Подайте охлаждающую воду в маслоохладитель, приоткрыв вентиль 30 до положения, обеспечивающего давление воды перед маслоохладителем (манометр 41) на от 0,03 до 0,05 МПа включительно ниже давления, масла перед маслоохладителем (манометр 38).

В.4.3.17 Проверьте показания всех контрольно-измерительных приборов и убедитесь в отсутствии отклонений измеряемых параметров от нормальных рабочих значений.

В.5 Включение системы пылеприготовления в работу

В.5.1 Общие указания

В.5.1.1 Убедитесь при пуске системы пылеприготовления на котле, работающем на растопочном топливе, в том, что температура дымовых газов в поворотном газоходе за топкой котла не ниже минимально допустимого значения, соответствующего тепловой нагрузке топки, при которой обеспечивается устойчивое воспламенение пыли (в местной инструкции укажите конкретное значение этой температуры).

В.5.1.2 Выполняйте операции по пуску оборудования и регулированию технологических параметров системы пылеприготовления со щита управления котлом (энергоблоком).

Предупреждайте о каждом включении в работу оборудования машиниста-обходчика, который в момент пуска оборудования должен находиться у кнопки его аварийного отключения и обязан немедленно отключить пускаемое оборудование в случае явных нарушений в его работе (при сильной вибрации, грохоте в корпусе, пробое диафрагм предохранительных клапанов и др.).

В.5.1.3 Контролируйте продолжительность разворота пускаемого оборудования по показанию амперметра его электродвигателя (стрелка амперметра зашкалена). При превышении максимально допустимой продолжительности разворота электродвигателя (укажите в местной инструкции), установленной инструкцией его завода-изготовителя, электродвигатель немедленно отключите.

Повторите пуск электродвигателя только с разрешения начальника смены электроцеха после обязательной проверки электрической и механической частей двигателя и механической части оборудования, приводом которого он является.

Все последующие пуски производите также с разрешения начальника смены электроцеха после проверки электрической части и выдержки времени (укажите в местной инструкции), установленной инструкцией завода-изготовителя электродвигателя.

В.5.2 Пуск системы пылеприготовления

В.5.2.1 Для системы пылеприготовления, работающей на взрывоопасных топливах, залейте водой возможные отложения пыли и очаги горения в корпусах мельницы и сепаратора, для чего откройте на 2 или 3 минуты (уточните в местной инструкции) следующие задвижки (рисунки В.1 - В.5):

- задвижку 24 в трубопроводе подачи воды в газовоздухопровод перед мельницей;

- задвижку 27 в трубопроводе подачи воды в сепаратор пыли.

В.5.2.2 Выполните следующие переключения клапанов в тракте системы пылеприготовления с бункером пыли по рисунку В.4:

- закройте запорно-регулирующий клапан 61, прекратив подачу воздуха на охлаждение сопл 51 сброса в топку сушильного агента;

- откройте запорный клапан 58 в пылегазовоздухопроводе перед распределительным коробом 50 сушильного агента;

- откройте запорный клапан 69 в газовоздухопроводе перед мельницей.

В.5.2.3 Подайте в систему пылеприготовления (рисунки В.1 - В.5), работающей на взрывоопасных топливах, пар, открыв задвижку 25 в трубопроводе подачи пара в газовоздухопровод перед мельницей.

В.5.2.4 Включите в работу:

- вентилятор первичного воздуха перед мельницей 28 в системе пылеприготовления с прямым вдуванием (рисунок В.2);

- мельничный вентилятор 49 и дымосос рециркуляции газов 71 (если он не работал) в системе пылеприготовления с бункером пыли по рисунку В.4;

- мельничный вентилятор 49 (если он не работал) в системе пылеприготовления с бункером пыли по рисунку В.5.

Удостоверьтесь по показаниям амперметров электродвигателей включенных механизмов в их нормальном развороте (по В.5.1.3). Получите подтверждение машиниста-обходчика об отсутствии нарушений в работе механизмов и их электродвигателей (по В.5.1.2).

В.5.2.5 Подайте в систему пылеприготовления по рисунку В.4 дымовые газы и установите по показанию расходомера сушильного агента 11 их расход на от 15 до 20 % включительно выше максимального, указанного в режимной карте (в местной инструкции укажите конкретное значение). Для этого приоткройте клапан 19 на подаче в мельницу низкотемпературных дымовых газов, направляющий аппарат дымососа рециркуляции газов и запорно-регулирующий клапан 56 в пылегазовоздухопроводе перед мельничным вентилятором 49.

В.5.2.6 Включите в работу мельницу 6 (рисунки В.1 - В.5), удостоверьтесь по показанию амперметра ее электродвигателя и по сообщению машиниста-обходчика в ее нормальном развороте.

- удостоверьтесь в автоматическом вводе в работоспособное состояние технологических защит, действующих на останов мельницы при:

- отключении электродвигателя вентилятора первичного воздуха в системе пылеприготовления с прямым вдуванием;

- отключении электродвигателя MB в системе пылеприготовления с бункером пыли;

- прекращении (уменьшении ниже заданного значения) протока масла через любой подшипник мельниц.

Указания машинисту-обходчику:

- немедленно отключите электродвигатель мельницы кнопкой аварийного останова при явных нарушениях в работе мельницы или ее двигателя (по В.5.1.2);

- удостоверьтесь по характеру шума в размольной камере в отсутствии задеваний бил о броню корпуса мельницы;

- убедитесь в отсутствии повышенной вибрации подшипников мельницы и двигателя (на слух и на ощупь при отсутствии штатных средств измерения вибрации);

- проверьте по указателям течения масла 42 и уровнемерам 34 (рисунок В.6) маслоснабжение подшипников с жидкой смазкой и при необходимости отрегулируйте подачу масла к подшипникам вентилями 29;

- убедитесь в поступлении воды на охлаждение вала мельницы и отрегулируйте ее подачу, не допуская перелива через край сливной воронки;

- убедитесь визуально в том, что все вентиляторы обдува электродвигателя работают;

- доложите машинисту энергоблока (котла) о готовности мельницы к работе.

В.5.2.7 Подайте в систему пылеприготовления с воздушной сушкой (рисунки В.1 - В.3 и В.5) горячий воздух и установите его расход в количестве, равном указанному в В.5.2.5, для чего приоткройте:

- запорно-регулирующий клапан 22 в системе пылеприготовления с подачей первичного воздуха вентилятором, установленным перед воздухоподогревателем (рисунки В.1 и В.3);

- направляющий аппарат вентилятора первичного воздуха 28 в системе пылеприготовления с индивидуальным вентилятором, установленным перед мельницей (рисунок В.2);

Полностью откройте клапан 56 в пылевоздухопроводе перед MB 49 (если он не работал) в системе пылеприготовления с бункером пыли и подачей пыли в топку сушильным агентом (рисунок В.5); если MB находился в работе, подключите его к тракту включаемой установки, для чего одновременно и постепенно приоткрывайте клапан 22 и прикрывайте клапан 74, поддерживая постоянным давление в коробе первичного воздуха 41; после полного закрытия клапана 74 закройте клапаны 63 и 73 и откройте атмосферный клапан 23 в воздухопроводе перед MB.

В.5.2.8 Прогрейте систему пылеприготовления до значения температуры сушильного агента в пылегазовоздухопроводе за сепаратором (в шахтном сепараторе) на от 10 до 15 °С включительно ниже максимально допустимого по условиям взрывобезопасности (в местной инструкции укажите конкретное значение).

В.5.2.9 Включите в работу автоматические регуляторы расхода сушильного агента и его температуры в пылегазовоздухопроводе за сепаратором.

Удостоверьтесь в том, что объемное содержание кислорода в сухой пылегазовоздушной смеси за системой пылеприготовления с сушкой топлива дымовыми газами не превышает 16 %. Не допускайте повышения температуры пылегазовоздушной смеси свыше значения, установленного в проектно документации (укажите в местной инструкции).

Убедитесь в том, что температура в пылегазовоздухопроводе за сепаратором в системе пылеприготовления с прямым вдуванием и перед MB в системе с бункером пыли выше значения, при котором происходит конденсация водяных паров и налипание пыли на элементы оборудования (укажите в местной инструкции).

В.5.2.10 Включите в работу питатель сырого топлива, убедитесь по увеличению тока двигателя мельницы в поступлении топлива в мельницу и закройте задвижку 25 (рисунки В.1 - В.5), прекратив подачу пара в газовоздухопровод перед мельницей.

Удостоверьтесь в автоматическом вводе в работоспособное состояние локальных технологических защит, действующих при:

- прекращении поступления сырого топлива из бункера в питатель на включение вибраторов или сопл пневмообрушения в бункере;

- понижении уровня в бункере сырого топлива до минимально допустимого на отключение электродвигателя питателя сырого топлива.

В.5.2.11 Подайте вторичный воздух к горелкам системы пылеприготовления с прямым вдуванием (рисунки В.1 - В.3), открыв полностью клапаны 21 в воздухопроводах перед горелками, и установите изменением положения клапана 20 общий расход вторичного воздуха в соответствии с указаниями режимной карты котла.

Включите в соответствии с указаниями местной инструкции по эксплуатации котла питатель сырого топлива в автоматический режим регулирования производительности по сигналу от регулятора тепловой нагрузки котла.

В.5.2.12 Установите при отключенных других мельницах системы пылеприготовления с бункером пыли (рисунки В.4 и В.5) клапанами 68 в трубопроводах влагоотсосов значение разрежения в верхней части бункера от 0,25 до 0,3 кПа включительно (уточните с учетом местных условий эксплуатации).

Убедитесь в отсутствии забивания пылью трубопровода влагоотсоса по характерному гулкому шуму внутри трубопровода.

При подозрении в забивании трубопровода влагоотсоса обстучите его при приоткрытом клапане 68 до появления в нем гулкого шума и возможности регулирования разрежения в бункере пыли изменением степени открытия этого клапана.

В.5.2.13 Замените в максимально возможной степени рециркуляцией сушильного агента (при ее наличии) присадку низкотемпературного сушильного агента в систему пылеприготовления с бункером пыли (рисунки В.4 и В.5), для чего прикройте клапан 60 в пылегазовоздухопроводе рециркуляции 53 и приоткройте клапан 19 в газовоздухопроводе присадки низкотемпературного сушильного агента до такой степени, при которой одновременно обеспечиваются следующие условия:

- объемное содержание кислорода в сухой пылегазовоздушной смеси за MB 49 в системе пылеприготовления с сушкой топлива дымовыми газами (рисунок В.4) составляет не более 16 %;

- температура пылегазовоздушной смеси за сепаратором (рисунки В.4 и В.5) на от 5 до 10 °С включительно меньше максимально допустимой по условиям взрывобезопасности (в местной инструкции укажите конкретное значение температуры);

- давление в распределительном коробе 50 сушильного агента (рисунок В.4) не ниже минимально допустимого по условиям взрывобезопасности с учетом обеспечения надежного охлаждения сопл 51 (в местной инструкции укажите конкретное значение);

- давление в коробке первичного воздуха 41 или перепады давлений в пылевоздухопроводах перед смесителями пыли 42 (рисунок В.5) не ниже минимально допустимых значений, установленных режимной картой котла;

- расход сушильного агента близок к оптимальному, установленному режимной картой (рисунки В.4 и В.5).

Настройку, названного режима производите постепенным открытием клапана 60, наблюдая за изменением перечисленных выше параметров и за работой авторегуляторов температуры и расхода сушильного агента, воздействующих на клапаны 19 и 56.

В.5.2.14 Проверьте работу мигалок 4 в течке сырого топлива перед мельницей (рисунки В.1 - В.5) и в течке ныли под циклоном (рисунки В.4 и В.5); при необходимости подрегулируйте положение груза на их рычагах.

В.5.2.15 Выполните следующие операции после стабилизации режима работы системы пылеприготовления:

- установите клапанами 18 (рисунки В.1 - В.5) и 33 (рисунки В.2 и В.3) в воздухопроводах уплотняющего воздуха заданный режимной картой перепад давлений на уплотнениях корпусов мельницы и питателя сырого топлива в местах прохода их валов (в местной инструкции укажите конкретные значения);

- отрегулируйте расход воды на охлаждение вала мельницы таким образом, чтобы ее температура на сливе в открытую воронку находилась в пределах от 40 до 60 °С включительно (уточните по инструкции завода-изготовителя).

Проверьте соответствие тонкости помола готовой пыли оптимальной (в местной инструкции укажите оптимальные значения остатков на ситах с размером ячеек 90 и 200 мкм), для чего:

- потребуйте от персонала химической лаборатории отобрать пробу пыли из-под циклона в системе пылеприготовления с бункером пыли (рисунки В.4 и В.5) и произвести ее ситовый анализ;

- потребуйте от персонала цеха наладки отобрать пробы пыли в пылепроводах за сепаратором в системе пылеприготовления с прямым вдуванием (рисунки В.1 - В.3) в случаях ее пуска после монтажа, капитального ремонта или реконструкции и передать пробы в химическую лабораторию для выполнения ситового анализа;

- сравните результаты ситового анализа с оптимальной тонкостью помола и при их несовпадении подкорректируйте положение регулирующих органов сепаратора; убедитесь в правильности коррекции повторным отбором и ситовым анализом проб пыли.

В.5.2.16 Подайте пыль из бункера 45 (рисунок В.4) в топку котла, если вентилятор первичного воздуха 40 и питатели пыли 46 были остановлены, для чего:

- проверьте уровень пыли в бункере 45 и при его высоте менее минимально допустимой по условиям обеспечения стабильной производительности питателей пыли (обычно 3 м, уточните по местным условиям) увеличьте подачу пыли в бункер, повысив частоту вращения двигателей работающих питателей сырого топлива;

- включите в работу вентилятор первичного воздуха и удостоверьтесь в его нормальном развороте;

- продуйте пылевоздухопроводы к горелкам 8 в следующем порядке:

- откройте полностью клапан 67 в одном из пылевоздухопроводов;

- приоткройте направляющий аппарат вентилятора первичного воздуха до положения, при котором, перепад давлений на измерительной диафрагме, установленной в начале продуваемого пылевоздухопровода, превысит на от 15 до 20 % включительно значение максимального перепада давлений, указанного в режимной карте (в местной инструкции укажите конкретное значение);

- продуйте пылевоздухопровод в течение 1 или 2 минуты (уточните с учетом местных условий эксплуатации) и закройте клапан 67 в нем;

- продуйте остальные пылевоздухопроводы, открывая поочередно на 1 или 2 минуты (уточните по местным условиям) установленные в них клапаны 67; по окончании продувки последнего пылевоздухопровода клапан 67 в нем закройте;

- проверьте высоту уровня пыли в бункере и убедитесь в том, что она составляет не менее 3 м (уточните по местным условиям);

- подайте пылевоздушную смесь к одной из горелок котла:

а) откройте полностью клапан 67 в пылевоздухопроводе, относящемся к включаемой горелке;

б) включите в работу соответствующий питатель пыли 46;

в) приоткройте направляющий аппарат вентилятора первичного воздуха до положения, обеспечивающего указанные в режимной карте котла перепад давлений на измерительной диафрагме в пылевоздухопроводе и (или) давление в коробе первичного воздуха (конкретизируйте в местной инструкции);

г) приоткройте клапан 21 в воздухопроводе вторичного воздуха и установите указанное в режимной карте давление последнего перед включаемой горелкой;

д) убедитесь в нормальном воспламенении и загорании пылевоздушной смеси в топке котла;

е) следите за температурой пылевоздушной смеси в пылевоздухопроводе перед горелкой, не допуская ее повышения сверх допустимого значения по условиям взрывобезопасности (в местной инструкции укажите конкретное значение) увеличением присадки слабоподогретого воздуха на сторону всасывания вентилятора первичного воздуха (открытием клапана 63, рисунок В.4);

ж) аналогичным образом подайте поочередно пылевоздушную смесь к остальным горелкам котла;

- после стабилизации режима работы котла в соответствии с указаниями местной инструкции по его эксплуатации включите питатели пыли в автоматический режим регулирования производительности по сигналу от регулятора тепловой нагрузки котла и погасите растопочные форсунки (горелки) в топке.

В.5.2.17 Обеспечьте выше минимально допустимой высоту уровня пыли в бункере 45 (рисунок В.5), подайте вторичный воздух во включаемые горелки котла, включите поочередно в работу питатели пыли, удостоверьтесь в нормальном воспламенении и загорании пылевоздушной смеси в топке, включите питатели пыли в режим автоматического регулирования производительности по сигналу от тепловой нагрузки котла, погасите форсунки (горелки) на растопочном топливе и при необходимости понизьте до допустимого предельного значения температуру пылевоздушной смеси в пылепроводах перед горелками, действуя в соответствии с аналогичными указаниями В.5.2.16.

В.6 Управление системой пылеприготовления и контроль за режимом ее работы

В.6.1 Используйте в параллельной работе с одинаковой производительностью все исправные системы пылеприготовления с прямым вдуванием пыли в топку при нагрузках котла от 100 до 60 % включительно от номинальной паропроизводительности.

В.6.2 Не допускайте работу системы пылеприготовления без включенных технологических блокировок, защит, сигнализации и автоматических регуляторов.

В.6.3 Ведите режим работы системы пылеприготовления в соответствии с указаниями режимной карты, контролируя процесс сушки и размола топлива по показаниям контрольно-измерительных приборов. Требуйте от дежурного персонала цеха тепловой автоматики и измерений обеспечения постоянной работоспособности и правильности показаний контрольно-измерительной аппаратуры.

В.6.4 Своевременно выявляйте отклонения от нормальных условий эксплуатации системы пылеприготовления и принимайте оперативные меры к устранению нарушений режима и неполадок в работе, действуя в соответствии с указаниями раздела В.8.

В.6.5 Осматривайте два раза в смену (уточните с учетом местных условий) систему пылеприготовления, контролируя:

- отсутствие очагов горения в тракте системы пылеприготовления (по В.4.1.2);

- нормальную работу оборудования и его приводов по отсутствию посторонних шумов, стука и скрежета в корпусах и подшипниках;

- степень нагрева и вибрацию (на ощупь) подшипников оборудования и его приводов;

- высоту уровня масла в редукторах питателей топлива и в корпусах подшипников мельниц с принудительной жидкой смазкой по уровнемерам и с помощью щупа;

- свободное вращение оси механического датчика сигнализатора и защиты обрыва топлива в питателе сырого топлива (по беспрепятственному опусканию флажка под собственной массой датчика после поднятия его вручную);

- нормальную работу мигалок в течках сырого топлива от питателей к мельницам и в течках пыли под циклонами по частоте колебаний рычагов мигалок;

- температуру воды, охлаждающей валы роторов мельниц, на сливе в открытую воронку (по В.5.2.15);

- плотность тракта системы пылеприготовления (визуально, по наличию пыления или явных присосов атмосферного воздуха);

- состояние тяг и рычагов клапанов, установленных в тракте системы пылеприготовления (по В.4.2.14);

- исправность ограждений соединительных муфт, валов и других вращающихся частей оборудования и их приводов;

- чистоту сеток под циклонами пыли, ликвидируя отложения на них щепы, ветоши и другого мусора;

- освещенность мест установки оборудования и арматуры, местных щитов КИП, требуя от персонала электроцеха производить своевременную замену перегоревших электрических ламп в стационарной сети освещения.

Профилактический осмотр системы пылеприготовления производится машинистом-обходчиком, который обязан доложить результаты осмотра машинисту котла (энергоблока). Обнаруженные дефекты оборудования фиксируйте в специальном журнале учета дефектов.

В.6.6 Обеспечивайте стабильную и бесперебойную подачу топлива в мельницы, для чего:

В.6.6.1 Следите за равномерным и непрерывным поступлением топлива в мельницу по стабильности показаний амперметра двигателя питателя топлива, ваттметра (амперметра) двигателя мельницы, регистратора температуры пылегазовоздушной смеси за сепаратором (в шахте), расходомера сушильного агента и по степени открытия клапана регулятора расхода сушильного агента при автоматическом регулировании последнего.

В.6.6.2 Не допускайте частой загрузки бункеров сырого угля топливом, стремясь к тому, чтобы очередная загрузка производилась при срабатывании топлива в бункере до уровня, близкого к минимально допустимому по условиям предотвращения образования в бункере сквозной воронки (в местной инструкции укажите конкретную высоту уровня топлива в бункере, при которой должна осуществляться их загрузка).

В.6.6.3 Контролируйте постоянную готовность к работе систем побудительного движения топлива в бункерах сырого топлива. Не допускайте уменьшения давления в ресиверах систем пневмообрушения менее значений от 0,5 до 0,6 МПа включительно (уточните в местной инструкции).

Включайте в работу системы пневмообрушения топлива в бункерах сырого топлива, в соответствии с графиком независимо от стабильности истечения топлива из бункеров в целях предотвращения условий для образования плотных отложений топлива на стенках бункеров.

Включение в работу систем пневмообрушения, вибраторов (конкретизируйте в местной инструкции) при обнаружении в бункере сырого топлива очага горения категорически запрещается.

Включайте вибраторы только в случаях прекращения истечения топлива из бункера, так как их использование при нормальной работе бункера приводит к нарушению стабильности истечения топлива за счет чрезмерного его уплотнения в устье бункера.

В.6.6.4 Осуществляйте в соответствии с графиком полное срабатывание топлива из бункеров с зачисткой их стенок от плотных отложений.

В.6.6.5 Эксплуатируйте питатели сырого топлива с постоянной высотой слоя топлива на столах скребковых и лентах ленточных питателей (в местной инструкции конкретизируйте тип питателя и высоту слоя топлива).

Высота слоя топлива во всех питателях котла устанавливается одинаковой и такой, при которой параллельная работа всех питателей топлива с минимальной частотой вращения их двигателей обеспечивает подачу топлива в количестве, необходимом для несения котлом паровой нагрузки равной 0,6 от номинальной. При большей нагрузке котла и (или) меньшем количестве работающих мельниц необходимое увеличение производительности питателей обеспечивается повышением частоты вращения их двигателей без изменения высоты слоя топлива.

В.6.6.6 Требуйте от персонала химической лаборатории выполнения один раз в 3 месяца (уточните с учетом местных условий эксплуатации) отбора проб масла из редукторов питателей сырого топлива, проведения химического анализа проб и выдачи заключения о пригодности масла для дальнейшей эксплуатации. На основе заключения химической лаборатории о качестве масла планируйте и осуществляйте своевременную замену масла новым.

В.6.7 Организуйте режим вентиляции системы пылеприготовления с прямым вдуванием (рисунки В.1 - В.3) таким образом, чтобы при заданном режимной картой расходе сушильного агента степень открытия клапана регулятора расхода (клапана 22 на рисунках В.1 и В.3, направляющего аппарата вентилятора первичного воздуха 28 на рисунке В.2) во всех режимах находилась в диапазоне от 40 до 70 % включительно. Для этого поддерживайте направляющие аппараты вентиляторов 10 (рисунки В.1 и В.2), 28 (рисунок В.3) и клапан 20 (рисунки В.1 - В.3) в общем воздухопроводе вторичного воздуха в таких положениях, при которых одновременно соблюдается названное условие и обеспечивается оптимальный избыток воздуха в топке котла (указанный в режимной карте).

В.6.8 Ведите в специальном журнале учет наработки бил каждой молотковой мельницы с фиксацией на конец каждой смены времени их наработки за смену и суммарного времени наработки с начала эксплуатации установленного комплекта бил.

Планируйте и осуществляйте останов системы пылеприготовления в ремонт для своевременной частичной и полной замены изношенных бил.

В.6.9 Требуйте от персонала цеха наладки измерения один раз в месяц присосов атмосферного воздуха в системы пылеприготовления, работающие под разрежением.

Планируйте и осуществляйте на основании результатов измерений присосов своевременный останов системы пылеприготовления для приведения плотности ее тракта в соответствие с проектной документацией.

В.6.10 Контролируйте работу станции жидкой смазки (рисунок В.6) подшипников мельниц, для чего:

В.6.10.1 Осматривайте два раза в смену (уточните с учетом местных условий эксплуатации) станцию жидкой смазки, проверяя:

- высоту уровня масла в баке-отстойнике, которая должна находиться в пределах от 0,5 до 0,7 включительно высоты бака;

- температуру масла в баке-отстойнике, значение которой не должно выходить за пределы от 40 до 60 °С включительно;

- давление масла в маслопроводе за фильтрами (манометр 38) в пределах от 0,15 до 0,25 МПа включительно (уточните с учетом фактического гидравлического сопротивления системы маслопроводов);

- давление охлаждающей воды перед маслоохладителем (манометр 41), которое должно быть ниже давления масла за маслоохладителем (манометр 39) на от 0,03 до 0,05 МПа включительно;

- гидравлическое сопротивление фильтра (разницу давлений, измеряемых манометрами 37 и 38), которое не должно превышать 0,08 МПа;

- плотность корпусов оборудования, маслопроводов, соединительных линий к манометрам по отсутствию подтеков масла.

В.6.10.2 Произведите вручную (при отсутствии автоматической системы) два раза в смену (уточните с учетом местных условий эксплуатации) очистку от загрязнений работающего масляного фильтра. Очистку производите в следующем порядке:

- включите в работу резервный фильтр, открыв вентили в маслопроводах перед и за ним;

- отключите подлежащий очистке фильтр, закрыв вентили в маслопроводах перед и за ним;

- проверните несколько раз маховик отключенного фильтра.

В.6.10.3 Удалите один раз в месяц (уточните с учетом местных условий эксплуатации) через сливное отверстие в нижней части корпуса фильтра скопившиеся в нем механические примеси.

В.6.10.4 Требуйте от персонала химической лаборатории выполнения один раз в 2 месяца (уточните с учетом местных условий эксплуатации) отбора проб масла из нижней части точки бака-отстойника, проведения химического анализа проб и выдачи заключения о пригодности масла для дальнейшей эксплуатации. На основе заключения химической лаборатории о качестве масла планируйте и осуществляйте своевременную замену масла новым.

Одновременно с заменой отработавшего масла производите промывку всей системы маслоснабжения в соответствии с указаниями инструкции завода-изготовителя мельницы и станции жидкой смазки.

В.7 Остановка системы пылеприготовления

В.7.1 Общие указания

В.7.1.1 Производите плановый останов системы пылеприготовления, срабатывая топливо из бункера сырого угля при планируемой продолжительности простоя больше максимально допустимой по условиям самовозгорания топлива и образования плотных отложений и сводов в бункере (в местной инструкции назовите конкретную максимально допустимую продолжительность простоя системы пылеприготовления с топливом в бункере).

В.7.1.2 Немедленно остановите все механизмы системы пылеприготовления при следующих аварийных ситуациях:

- взрыве в системе пылеприготовления;

- внезапном отказе вентилятора первичного воздуха 28 в системе пылеприготовления с прямым вдуванием (рисунок В.2) и MB 49 в системе пылеприготовления с бункером пыли (рисунки В.4 и В.5);

- несрабатывании технологических защит, автоматически отключающих систему пылеприготовления при аварийном останове котла;

- повышении температуры пылегазовоздушной смеси за мельницей, сепаратором (конкретизируйте в местной инструкции) до 2 предела действия технологической защиты по этому параметру (укажите конкретное значение температуры);

- появлении грозящих разрушением механизма сильных ударов, стука и скрежета в корпусах вентилятора первичного воздуха, MB, дымососа рециркуляции дымовых газов и их электродвигателей;

- образовании сквозной воронки в бункере сырого топлива системы пылеприготовления, работающей под давлением (рисунки В.2 и В.3);

- появлении искр или дыма из электродвигателей вентилятора первичного воздуха 28 (рисунок В.2) и MB 49 (рисунок В.4);

- прекращении маслоснабжения подшипников с принудительной смазкой мельниц;

- нагреве подшипников вентилятора первичного воздуха 28 (рисунок В.2), MB 49 (рисунки В.4 и В.5), дымососа рециркуляции дымовых газов 71 - (рисунок В.4) и подшипников их электродвигателей свыше 70 °С (уточните по инструкции завода-изготовителя);

- забивании течки пыли под циклоном в системе пылеприготовления с бункером пыли (рисунки В.4 и В.5); при этом дополнительно отключите необходимое для восстановления паровой нагрузки котла количество питателей пыли 46;

- во всех случаях, угрожающих жизни людей.

В системе пылеприготовления с бункером пыли по рисунку В.5:

- при отказе MB 49 дополнительно остановите питатели пыли 46, подключенные к пылепроводам на стороне нагнетания отказавшего вентилятора;

- при повышении температуры пылевоздушной смеси за сепаратором до 2 предела, прекращении маслоснабжения подшипников мельницы и забивании течки пыли под циклоном переведите MB 49 на горячий воздух (по В.7.2.14) и оставьте его и необходимое количество питателей пыли 46 в работе; во всех остальных названных в В.7.1.2 случаях MB и питатели пыли должны быть также отключены.

В.7.1.3 Немедленно остановите мельницу и питатель сырого топлива при следующих аварийных ситуациях:

- появлении аналогичных перечисленным в В.7.1.2 признаков, представляющих угрозу разрушения мельницы или ее привода;

- отказе вентиляторов обдува электродвигателя мельницы;

- прекращении маслоснабжения подшипников с принудительной жидкой смазкой; при этом в системе пылеприготовления с бункером пыли и подачей пыли в топку котла сушильным агентом (рисунок В.5) переведите MB 49 на горячий воздух (по В.7.2.14);

- забивании течки пыли под циклоном в системе пылеприготовления с бункером пыли (рисунки В.4 и В.5).

В.7.1.4 Немедленно остановите питатель сырого топлива при появлении представляющих угрозу разрушения питателя или его привода признаков, аналогичных перечисленным в В.7.1.2.

В.7.1.5 Останавливайте систему пылеприготовления в остальных случаях с разрешения начальника смены котлотурбинного (котельного) цеха.

В.7.1.6 Останавливайте систему пылеприготовления, включая предварительно мазутные форсунки в топке котла, работающего на низкореакционных топливах, и при нарушении устойчивости горения топлива в топках котлов с системами пылеприготовления прямого вдувания.

В.7.1.7 Объявите немедленно об аварийном останове системы пылеприготовления и отдельных ее механизмов.

В.7.1.8 Регистрируйте в оперативном журнале время:

- останова системы пылеприготовления или ее отдельных механизмов и причины останова;

- подачи заявок на разборку электрических схем цепей питания электродвигателей и приводов арматуры и разборки схем;

- выполнения мероприятий по обеспечению безопасных условий для ремонта системы пылеприготовления;

- допуска к работе по наряду ремонтного персонала.

В.7.2 Плановый останов в ремонт со сработкой бункера сырого топлива

В.7.2.1 Проверьте показания всех контрольно-измерительных приборов. Осмотрите систему пылеприготовления и зарегистрируйте обнаруженные дефекты оборудования и пылегазовоздухопроводов в журнале учета дефектов.

В.7.2.2 Предупредите об останове начальника смены топливно-транспортного цеха, потребуйте прекратить подачу топлива в бункер сырого топлива и организовать визуальный контроль за высотой уровня топлива в бункере.

В.7.2.3 Начните сработку топлива из бункера, не изменяя режима работы системы пылеприготовления и периодически включая в работу систему пневмообрушения топлива в бункере.

В.7.2.4 Контролируйте высоту уровня топлива в бункере. Произведите следующие операции при снижении уровня топлива в бункере до минимально допустимого (в местной инструкции укажите высоту минимально допустимого уровня по В.6.6.2):

- отключите в системе пылеприготовления с прямым вдуванием пыли в топку (рисунки В.1 - В.3) питатель сырого топлива от регулятора тепловой нагрузки котла и группового регулирования частоты вращения электродвигателей питателей;

- установите минимальную частоту вращения электродвигателя питателя сырого топлива и максимальную высоту слоя топлива на столе питателя;

- установите расход сушильного агента задатчиком его автоматического регулятора по шкале расходомера на от 10 до 15 % включительно более минимально допустимого значения (в местной инструкции укажите конкретное значение расхода);

- проконтролируйте в системе пылеприготовления с бункером пыли по рисунку В.4 давление в распределительном коробе 50 отработавшего сушильно-вентилирующего агента, не допуская его снижения за пределы минимально допустимого значения (в местной инструкции укажите значение минимально допустимого давления).

В.7.2.5 Продолжайте сработку топлива из бункера, не допуская образования в нем сквозной воронки, периодическим включением в работу сопл системы пневмообрушения, обстукиванием нижней части бункера и шуровкой топлива через лючки в бункере.

В.7.2.6 Подайте в газовоздухопровод перед мельницей воду при повышении температуры за сепаратором (мельницей) до максимально допустимого значения, для чего откройте задвижку 24 (рисунки В.1 - В.5). В местной инструкции конкретизируйте место измерения температуры и укажите ее максимально допустимое значение.

При размоле невзрывоопасных топлив температуру понижайте не водой, а присадкой слабоподогретого или холодного воздуха.

В.7.2.7 Сработайте топливо до уровня установки запорного клапана 15 под бункером (рисунки В.1 - В.5) и отключите питатель топлива. Закройте клапан 15 под бункером сырого топлива.

В.7.2.8 Включите в работу питатель сырого топлива и сработайте оставшееся в нем топливо, обстукивая стенки приемного патрубка питателя.

В.7.2.9 Отключите питатель. Удалите возможные отложения топлива на клапане мигалки, установленной в течке сырого топлива перед мельницей, для чего вручную полностью откройте и захлопните мигалку; повторите эту операцию 2 или 3 раза. Удостоверьтесь в плотном закрытии клапана мигалки.

В.7.2.10 Прикройте клапаны 21 в воздухопроводах вторичного воздуха перед горелками останавливаемой системы пылеприготовления с прямым вдуванием (рисунки В.1 - В.3) до положения, обеспечивающего указанное в режимной карте давление вторичного воздуха перед отключенными по пыли горелками.

В.7.2.11 Установите по шкале расходомера задатчиком автоматического регулятора расход сушильного агента в пределах от 15 до 20 % больше максимального значения расхода, указанного в режимной карте (в местной инструкции укажите конкретное значение расхода).

Провентилируйте систему пылеприготовления в течении от 3 до 5 минут (уточните по местным условиям эксплуатации).

Дополнительно контролируйте при вентиляции системы пылеприготовления с бункером пыли, в схеме которой имеется рециркуляция сушильного агента, давление в распределительном коробе 50 отработавшего агента (рисунок В.4) и давление в коробе 41 первичного воздуха (рисунок В.5), не допуская его снижения за пределы допустимого значения (укажите в местной инструкции) прикрытием клапана 60 в пылегазовоздухопроводе рециркуляции 53 (рисуноки В.4 и В.5))

В.7.2.12 Закройте клапан 60 в пылегазовоздухопроводе рециркуляции сушильного агента и дополнительно провентилируйте в течении от 3 до 5 минут (уточните по местным условиям) систему пылеприготовления с бункером пыли (рисунки В.4 и В.5), соблюдая указания В.7.2.11.

В.7.2.13 Отключите автоматические регуляторы расхода сушильного агента и температуры пылегазовоздушной смеси за мельницей (конкретизируйте применительно к установленной системе пылеприготовления).

В.7.2.14 Прекратите подачу в систему пылеприготовления сушильного агента и уплотняющего воздуха, для чего:

- переведите MB 49 в системе пылеприготовления с бункером пыли по рисунку В.5 на горячий воздух, закрыв атмосферный клапан 23 в воздухопроводе перед MB, открыв полностью клапан 73 и постепенно открывая клапан 74 и закрывая клапаны 56 в пылевоздухопроводе перед MB и 22 в воздухопроводе перед мельницей, поддерживая постоянным значение давления в коробе первичного воздуха 41 или перепад давлений на расходомерных устройствах в пылепроводах перед смесителями пыли (в местной инструкции укажите значения этих параметров). При необходимости понизьте до допустимого максимального значения температуру пылевоздушной смеси в пылепроводах перед горелками, приоткрыв клапан 63 в воздухопроводе присадки слабоподогретого воздуха на сторону всасывания MB и прикрыв регулирующий клапан 73 до положения, при котором обеспечивается заданное значение давления в коробе первичного воздуха;

- закройте полностью запорно-регулирующие клапаны 22 (рисунки В.1 и В.3), 56 (рисунки В.4 и В.5), 19 (рисунки В.1 - В.5), направляющий аппарат вентилятора первичного воздуха 28 (рисунок В.2);

- прикройте направляющий аппарат дымососа рециркуляции дымовых газов 71 (рисунок В.4), если дымовые газы подаются в топку котла, и (или) к другим мельницам, и закройте его, если потребность рециркуляции дымовых газов в топку отсутствует, а подача газов к другим мельницам не осуществляется;

- закройте запорные клапаны, 17 (рисунки В.1 - В.3), 32 (рисунок В.2), 57, 58 и 69 (рисунок В.4);

- откройте полностью атмосферные клапаны 23, установленные в воздухопроводе сушильного агента перед мельницей (рисунки В.1 - В.3 и В.5) и в пылегазовоздухопроводе за MB 49 (рисунок В.4);

- закройте полностью клапаны 18 (рисунки В.1 - В.5) и 33 (рисунки В.2 и В.3), прекратив подачу воздуха на уплотнения корпусов мельницы и питателя сырого топлива в местах прохода их валов.

В.7.2.15 Откройте и через 2 или 3 минуты (уточните в местной инструкции) закройте задвижку 25 в трубопроводе подачи пара (рисунки В.1 - В.5) в систему пылеприготовления, работающую на взрывоопасных топливах (необходимость подачи пара на других топливах определяется конкретными условиями эксплуатации и устанавливается местной инструкцией).

В.7.2.16 Закройте через 2 или 3 минуты (уточните по местным условиям) после прекращения подачи сушильного агента в мельницу задвижку 24 в трубопроводе подачи воды в мельницу (рисунки В.1 - В.5).

В.7.2.17 Подайте воздух на охлаждение сопл 51 сброса в топку сушильного агента (рисунок В.4), для чего приоткройте клапан 61 до положения, при котором обеспечивается указанное в режимной карте значение давления в распределительном коробе 50 при остановленной системе пылеприготовления на работающем котле (в местной инструкции укажите конкретное значение давления).

В.7.2.18 Отключите электродвигатели мельницы 6 (рисунки В.1 - В.5), вентилятора первичного воздуха 28 (рисунок В.2), MB 49, а также дымососа рециркуляции газов, если отсутствует необходимость подачи газов в топку котла (рисунок В.4).

В.7.2.19 Отключите тракт системы пылеприготовления с прямым вдуванием (рисунки В.1 - В.3) от топки котла, для чего закройте следующие запорные клапаны:

- клапан 16 в шахтном сепараторе пыли (рисунок В.1);

- клапан 34 в пылевоздухопроводах перед горелками (рисунки В.2 и В.3).

В.7.2.20 Смойте возможные отложения пыли в сепараторе системы пылеприготовления, работающей на взрывоопасном топливе, для чего откройте на 2 или 3 минуты (уточните в местной инструкции) задвижку 27 в трубопроводе подачи воды в сепаратор пыли (рисунки В.2 - В.5).

В.7.2.21 Отключите полностью подачу воды на охлаждение вала мельницы летом и сократите ее до минимальной, исключающей замерзание зимой.

В.7.2.22 Закройте полностью в системе пылеприготовления с бункером пыли (рисунки В.4 и В.5) клапан 68 в трубопроводе влагоотсоса, подключенном к остановленному MB, и установите клапанами оставшихся в работе влагоотсосов разрежение в бункере пыли равным указанному в режимной карте (в местной инструкции укажите значение разрежения).

В.7.2.23 Спустите в бункер пыли (рисунки В.4 и В.5) пыль, оставшуюся в циклоне и течке пыли под ним, для чего:

- откройте полностью и зафиксируйте в этом положении обе мигалки, установленные в течке пыли под циклоном;

- обстучите течку пыли, закройте и зафиксируйте в закрытом положении верхнюю мигалку;

- осторожно вскройте лючок в течке над сеткой 44 и удалите скопившийся на сетке мусор; выньте, прочистите и поставьте на место сетку;

- осторожно приоткройте верхнюю мигалку и, удостоверившись в отсутствии пыли в течке над ней, закройте лючок, освободите нижнюю мигалку, убедитесь в плотном закрытии мигалок и зафиксируйте их в закрытом положении.

В.7.2.24 Закройте вентиль 27 в начале напорного маслопровода от станции жидкой смазки (рисунок В.6), прекратив подачу масла к подшипникам мельниц.

Проверьте рабочее давление масла в напорном маслопроводе станции жидкой смазки и, если оно превышает допустимое значение, понизьте его до номинального открытием вентиля 26 в перемычке между напорным маслопроводом и баком-отстойником (в местной инструкции укажите номинальное значение рабочего давления масла).

В.7.2.25 Дайте заявку начальнику смены электроцеха на разборку электрических схем питания электродвигателей названного оборудования. Получите сообщение о разборке схем и удостоверьтесь в том, что схемы разобраны. Квитируйте ключи в положение «Выключено».

В.7.2.26 Дайте начальнику смены электроцеха заявку на разборку электрических схем питания приводов арматуры:

- задвижками 24, 25 и 27 в трубопроводах подачи воды и пара в газовоздухопровод сушильного агента (рисунки В.1 - В.4 и В.5);

- атмосферными клапанами 23, перечисленными в В.7.2.14;

- клапанами 17 (рисунки В.1 - В.3 и В.5), 19 (рисунки В.1 - В.5), 56 (рисунок В.5) и 58 (рисунок В.4);

Получите сообщение о разборке схем и удостоверьтесь в том, что схемы разобраны.

В.7.2.27 Выведите из зацепления с редукторами штурвалы приводов арматуры, перечисленной в В.7.2.26, и штурвалы запорных клапанов 16 (рисунок В.1), 34 (рисунки В.2 - В.5) и клапана 69 (рисунок В.4), отключающих систему пылеприготовления от топки котла.

В.7.3 Плановый останов в ремонт со сработкой топлива из питателя сырого угля

В.7.3.1 Выполните указания по В.7.2.1 и потребуйте от начальника смены топливно-транспортного цеха прекратить подачу топлива в бункер сырого топлива.

В.7.3.2 Потребуйте от дежурного персонала цеха тепловой автоматики и измерений отключить технологическую защиту, действующую на включение в работу средств побуждения движения топлива в бункере сырого топлива при прекращении выхода топлива из последнего и получите подтверждение об исполнении этого требования.

Допускается отключение названной защиты посредством фиксирования подручными средствами ее первичного датчика в поднятом положении.

В.7.3.3 Закройте запорный клапан 15 под бункером топлива (рисунки В.1 - В.5), внимательно контролируя работу автоматического регулятора температуры пылевоздушной (пылегазовоздушной) смеси за мельницей, сепаратором (конкретизируйте в местной инструкции).

Выполните указания по В.7.2.6.

В.7.3.4 Сработайте оставшееся топливо в питателе, обстукивая стенки его приемного патрубка.

В.7.3.5 Выполните указания по В.7.2.9 - В.7.2.27.

В.7.4 Останов в резерв

В.7.4.1 Предупредите начальника смены топливно-транспортного цеха об останове и потребуйте прекратить подачу топлива в бункер сырого топлива.

В.7.4.2 Отключите питатель сырого топлива и выполните указания по В.7.2.6.

В.7.4.3 Выполните указания по В.7.2.9 - В.7.2.18 и В.7.2.20 - В.7.2.24.

В.7.5 Аварийный останов

В.7.5.1 Контролируйте работу автоматических защит и блокировок, действующих в аварийных ситуациях.

Выполняйте вручную операции, предусмотренные к автоматическому выполнению защитами и блокировками при отказе последних.

В.7.5.2 Выполните при аварийных ситуациях, перечисленных в В.7.1.2, следующие операции:

- немедленно отключите электродвигатели следующих механизмов:

а) мельницы и питателя сырого топлива (рисунки В.1 - В.5);

б) вентилятора первичного воздуха 28 в системе пылеприготовления с прямым вдуванием по рисунку В.2;

в) мельничного вентилятора 49 в системе пылеприготовления с бункером пыли по рисунку В.4;

- в системе пылеприготовления с бункером пыли по рисунку В.5 в случаях, указанных в В.7.1.2, переведите MB на горячий воздух, действуя в соответствии с указаниями по В.7.2.14;

- немедленно прекратите подачу воздуха в систему пылеприготовления, для чего:

а) отключите автоматические регуляторы расхода сушильного агента и температуры пылегазовоздушной смеси;

б) закройте клапаны 22 (рисунки В.1 - В.3 и В.5) и 69 (рисунок В.4) в воздухопроводе перед мельницей, направляющий аппарат вентилятора первичного воздуха 28 и клапан 32 перед ним (рисунок В.2), клапаны 18 (рисунки В.1 - В.5) и 33 (рисунки В.2 и В.3) в воздухопроводах уплотняющего воздуха;

в) при необходимости подайте пар в систему пылеприготовления, открыв на 2 или 3 минуты (уточните в местной инструкции) задвижку 25 (рисунки В.1 - В.5);

- отключите полностью систему пылеприготовления со стороны подачи сушильного агента, для чего:

а) закройте клапаны 17 (рисунки В.1 - В.3 и В.5), 19 (рисунки В.1 - В.5), 60 (рисунки В.4 и В.5);

б) откройте атмосферный клапан 23, установленный в воздухопроводе перед мельницей (рисунки В.1 - В.3 и В.5);

в) закройте направляющий аппарат дымососа рециркуляции газов 71 (рисунок В.4), если отсутствует потребность подачи газов в топку котла и (или) к другим мельницам, и отключите дымосос;

г) залейте водой оставшееся в мельнице и сепараторе топливо (по В.5.2.1), для чего откройте на 2 или 3 минуты (уточните по местным условиям эксплуатации) задвижки 24 и 27 в трубопроводах подачи воды в воздухопровод (газовоздухопровод) перед мельницей и сепаратор;

- подайте воздух на охлаждение сопл 51 сброса в топку сушильного агента в системе пылеприготовления с бункером пыли по рисунку В.4, для чего:

а) закройте запорно-регулирующий клапан 56 в пылегазовоздухопроводе перед MB 49;

б) закройте запорные клапаны 57 и 58 в пылегазовоздухопроводе, соединяющем MB и короб первичного воздуха 50;

в) откройте атмосферный клапан 23, установленный между запорными клапанами 57 и 58;

г) приоткройте клапан 61 в воздухопроводе подачи горячего воздуха на охлаждение сопл 51 до положения, установленного в В.7.2.17;

- проконтролируйте и отрегулируйте разрежение в бункере пыли 45 (рисунки В.4 и В.5), руководствуясь указаниями по В.7.2.22;

- установите расход воды на охлаждение вала мельницы в соответствии с указанием по В.7.2.21;

- отключите подачу масла к подшипникам мельниц, руководствуясь указаниями по В.7.2.24;

- отключите тракт системы пылеприготовления с прямым вдуванием от топки котла (по В.7.2.19);

- выведите систему пылеприготовления в ремонт, для чего выполните операции по В.7.2.25, В.7.2.26 и В.7.2.27;

- осмотрите систему пылеприготовления со вскрытием люков и лазов, ликвидируйте обнаруженные очаги горения и удалите отложения топлива и пыли из корпусов мельницы и MB, циклона и течки пыли под ним, соблюдая соответствующие меры безопасности.

В.7.5.3 Остановите систему пылеприготовления в случае немедленного отключения мельницы и питателя сырого топлива по причинам, указанным в В.7.1.3, действуя в такой последовательности:

- выполните указания по В.7.2.6 и В.7.2.9 с учетом того, что питатель топлива уже отключен;

- выполните указания по В.7.2.10 - В.7.2.17;

- выполните указания по В.7.2.18 с учетом того, что мельница уже отключена;

- выполните указания по В.7.2.19 - В.7.2.27;

- вскройте осторожно двери и люки в корпусе размольной камеры мельницы и очистите размольную камеру от оставшегося в ней топлива, соблюдая соответствующие меры безопасности.

В.7.5.4 Остановите систему пылеприготовления в случае немедленного отключения питателя сырого топлива по причинам, указанным в В.7.1.4, действуя в соответствии с указаниями по В.7.2.9 - В.7.2.27 с учетом того, что питатель уже остановлен.

В.7.6 Останов станции жидкой смазки подшипников мельниц

В.7.6.1 Общие указания

Останавливайте станцию жидкой смазки (рисунок В.6) только после останова всех подключенных к ней мельниц.

В.7.6.2 Останов в резерв

Квитируйте переключатель блокировки маслонасосов в нерабочее положение.

Удостоверьтесь в том, что защиты, действующие при изменении температуры масла в маслопроводе за маслоохладителем 7 и в маслобаке-отстойнике 1, введены в работоспособное состояние.

Прекратите подачу охлаждающей воды в маслоохладитель 7, закрыв вентиль 30 в трубопроводе 33 в том случае, если этот вентиль не оснащен электроприводом и защита, действующая при изменении температуры масла за маслоохладителем, отсутствует. После повышения температуры масла удостоверьтесь в автоматическом отключении электроподогревателя 2 в баке-отстойнике 1.

Отключите работающий маслонасос.

В.7.6.3 Останов в ремонт или для замены масла

Остановите станцию жидкой смазки в резерв в соответствии с указаниями по В.7.6.2.

Дайте заявку начальнику смены электроцеха о разборке электрической схемы цепей питания электродвигателей маслонасосов и электронагревателя, получите сообщение о том, что схемы разобраны, и удостоверьтесь в этом кратковременным квитированием ключей пуска и останова маслонасосов в рабочее положение.

Отключите подлежащий ремонту механизм вентилями, установленными в маслопроводах перед и за ним.

Опорожните маслосистему при необходимости замены масла, для чего откройте полностью установленные в маслопроводах вентили 15 - 29 и 32.

Промойте маслосистему и заполните ее новым маслом, прошедшим центрифугу и пресс-фильтр, в соответствии с указаниями инструкции завода-изготовителя.

В.7.7 Отключение тракта первичного воздуха котла, оснащенного системами пылеприготовления с бункером пыли

В.7.7.1 Остановите все системы пылеприготовления, подключенные к бункеру пыли (рисунки В.4 и В.5), выполнив операции в соответствии с указаниями по В.7.2; в системе пылеприготовления по рисунку В.5 переведите MB на горячий воздух, действуя в соответствии с указаниями по В.7.2.14.

В.7.7.2 Сработайте уровень пыли в бункере до минимально допустимого по условиям обеспечения стабильной производительности питателей пыли (в местной инструкции укажите высоту минимально допустимого уровня).

Включите мазутные форсунки в топке котла.

В.7.7.3 Отключите питатели пыли от регулятора тепловой нагрузки котла и установите минимальную частоту вращения их электродвигателей.

В.7.7.4 Сработайте полностью пыль из бункера, обстукивая, приемные патрубки питателей пыли, и закройте запорные клапаны 59 над питателями пыли 46.

В.7.7.5 Обстучите течки под питателями пыли и отключите питатели пыли.

В.7.7.6 Продуйте поочередно пылевоздухопроводы к пылеугольным горелкам, руководствуясь указаниями по В.5.2.16.

В.7.7.7 Закройте полностью направляющий аппарат вентилятора первичного воздуха 40 (рисунок В.4) и клапан 74 в воздухопроводе перед MB 49 (рисунок В.5), после чего отключите электродвигатели вентиляторов.

В.7.7.8 Закройте полностью запорно-регулирующий клапан 63 присадки слабоподогретого воздуха на сторону всасывания вентилятора первичного воздуха 40 (рисунок В.4), MB 49 (рисунок В.5) и следующие запорные клапаны:

- клапаны 62 и 64 в воздухопроводе перед вентилятором первичного воздуха;

- клапан 65 и 66 в воздухопроводе между вентилятором и коробом первичного воздуха 41;

- клапан 67 в начале пылевоздухопроводов к горелкам;

- клапан 73 в воздухопроводе перед MB 49 (рисунок В.5);

- клапан 34 в пылевоздухопроводах перед горелками.

В.7.7.9 Откройте атмосферные клапаны 23, установленные в воздухопроводах между запорными клапанами 62 и 64, 65 и 66, 73 и 74.

В.7.7.10 Установите заглушки во фланцы 47 на течках под питателями пыли.

В.7.7.11 Начните отключение тракта первичного воздуха с отключения питателей пыли при останове котла на срок, продолжительность которого меньше максимально допустимой по условиям самовозгорания и слеживания пыли в бункере пыли (в местной инструкции укажите максимально допустимую продолжительность).

В.8 Характерные нарушения в работе системы пылеприготовления и действия по их устранению

В.8.1 Устранение наиболее характерных нарушений в работе системы пылеприготовления, представляющих опасность для жизни обслуживающего персонала и угрозу разрушения оборудования, предусмотрено действием автоматических регуляторов технологических защит и блокировок.

Следите за правильностью действий, выполняемых автоматическими регуляторами, защитами и блокировками при отклонении контролируемых ими параметров от номинальных значений.

Выполняйте вручную необходимые операций по устранению нарушений в работе системы пылеприготовления при отказах автоматических регуляторов, защит и блокировок.

В.8.2 Немедленно реагируйте на предупреждения светозвуковой сигнализации об отклонении основных параметров от номинальных значений, предупреждая оперативными действиями развитие нарушений до аварийных ситуаций и не допуская тем самым срабатывания защит.

В.8.3 Действуйте при устранении нарушений в работе системы пылеприготовления в соответствии с указаниями по В.7.1.2 - В.7.1.7, В.7.5 и таблицы В.1.

В.8.4 Фиксируйте в оперативном журнале время происшествия, характер нарушений в работе системы пылеприготовления и основные операции по устранению нарушений.

Таблица В.1

Нарушения в работе

Признаки проявления нарушения

Действия персонала по устранению нарушения

Загорание топлива в бункере сырого угля.

Запах гари, дым, прежде всего в надбункерной галерее топливоподачи. Высокая температура стенок бункера.

Предупредите начальников смен котлотурбинного и топливно-транспортного цехов и дежурного инженера электростанции о загорании топлива в бункере. Удалите из опасных зон ремонтный и эксплуатационный персонал, не занятый устранением очага горения. Включите систему пожаротушения в бункере. Залейте очаг горения в бункере водой через стволы-распылители. Потребуйте от начальника смены топливно-транспортного цеха заполнить бункер топливом до максимального уровня. Ускорьте сработку топлива из бункера, контролируя визуально изменение степени задымленности и на ощупь изменение степени нагрева стенок бункера.

Застревание сырого топлива в бункере.

Срабатывание сигнализатора обрыва потока топлива в питателе. Уменьшение токовой нагрузки электродвигателей питателя топлива и мельницы.

Включите в работу средства, побуждающие движение топлива в бункере (вибраторы, систему пневмообруше-ния и др.). Поднимите регулятор высоты слоя топлива в верхнее положение, обстучите нижнюю часть бункера и приемный патрубок питателя топлива, установите в прежнее положение регулятор высоты слоя топлива. Проверьте высоту уровня топлива в бункере и при необходимости потребуйте от начальника смены топливно-транспортного цеха заполнения бункера.

Образование сквозной воронки в бункере сырого угля системы пылеприготовления, работающей под давлением (рисунки В.2 и В.3).

Срабатывание сигнализатора обрыва потока топлива в питателе. Уменьшение токовой нагрузки электродвигателей питателя топлива и мельницы. Автоматическое прикрытие клапана, регулирующего общий расход сушильного агента и увеличение степени открытия клапана, регулирующего присадку низкотемпературного сушильного агента при работающих авторегуляторах. Увеличение расхода сушильного агента и его температуры за мельницей при отсутствии автоматических регуляторов. Срабатывание сигнализатора минимального уровня в бункере (при наличии сигнализатора). Сильное пыление из бункера в надбункерную галерею.

Немедленно остановите систему пылеприготовления действуя в соответствии с указаниями по В.7.5.2. Потребуйте от начальника смены топ-ливно-транспортного цеха заполнения бункера.

Образование сквозной воронки в бункере сырого угля системы пылеприготовления, работающей под разрежением (рисунки В.1, В.4 и В.5).

Срабатывание сигнализатора обрыва потока топлива в питателе. Уменьшение токовой нагрузки электродвигателей питателя топлива и мельницы. Автоматическое прикрытие клапана, регулирующего общий расход сушильного агента и увеличение степени открытия клапана, регулирующего присадку низкотемпературного сушильного агента при работающих авторегуляторах. Увеличение расхода сушильного агента и его температуры за мельницей при отсутствии автоматических регуляторов. Срабатывание сигнализатора минимального уровня топлива в бункере (при его наличии).

Немедленно подайте воду (рисунки В.1 - В.5) в воздухопровод (газовоздухопровод) сушильного агента перед мельницей (по В.7.2.6). Отключите питатель сырого топлива и остановите систему пылеприготовления в резерв (по В.7.4). Потребуйте от начальника смены топливно-транспортного цеха заполнить бункер топливом.

Прекращение подачи топлива в мельницу вследствие застревания топлива в течке от питателя к мельнице, отказа питателя топлива.

Кратковременное увеличение токовой нагрузки электродвигателя питателя с последующим его отключением защитой по перегрузке при несрабатывании предохранительной муфты, установленной между валами привода и питателя. Кратковременное увеличение токовой нагрузки электродвигателя с последующим ее уменьшением ниже значения нагрузки холостого хода питателя при срабатывании предохранительной муфты (срезание предохранительных пальцев, проворачивание полумуфт). Срабатывание сигнализации об отключении электродвигателя защитой по его перегрузке. Уменьшение, токовой нагрузки электродвигателя мельницы. Увеличение расхода сушильного агента и его температуры за мельницей при отсутствии автоматических регуляторов.

Немедленно подайте воду (рисунки В.1 - В.5) в воздухопровод (газовоздухопровод) перед мельницей. Переведите систему, пылеприготовления, работающую под разрежением (рисунки В.1, В.4, В.5), в режим вентиляции, действуя в соответствии с указаниями по В.7.2.11 и В.7.2.12. Провентилируйте и остановите систему пылеприготовления, работающую под давлением (рисунки В.2 и В.3), выполнив указания по В.7.2.11, В.7.2.13 - В.7.2.18. Выполните мероприятия (ремонт) по устранению повреждений.

Повышение температуры подшипников оборудования или его электродвигателя.

Показания стационарных приборов (при их наличии) или переносных ртутных термометров. Срабатывание сигнализации (при ее наличии). Определение перегрева подшипника на ощупь.

Остановите систему пылеприготовления в соответствии с указаниями по В.7.5. Выполните мероприятия (ремонт) по устранению повреждений.

Забивание течки пыли под циклоном. Заклинивание в закрытом положении мигалки в течке пыли под циклоном (рисунки В.4 и В.5)

Резкое увеличение значений следующих параметров: паровой нагрузки котла, давления и температуры перегретого пара, давления в распределительном коробе 50 сушильного агента, токовой нагрузки электродвигателя MB. Быстрое уменьшение уровня пыли в бункере 45. Увеличение степени открытия клапана 56 при работающем авторегуляторе расхода сушильного агента. Резкое уменьшение расхода сушильного агента, увеличение токовой нагрузки мельницы, понижение температуры пылегазовоздушной смеси за циклоном и автоматическое уменьшение степени открытия клапана 19 при неработающем авторегуляторе расхода сушильного агента

Отключите мельницу, питатель сырого топлива и необходимое для восстановления паровой нагрузки котла количество питателей пыли. Прекратите подачу сушильного агента в мельницу. Увеличьте до максимально возможной частоту вращения электродвигателей питателей сырого топлива оставшихся в работе систем пылеприготовления, контролируя высоту уровня пыли в бункере. Выведите систему пылеприготовления в ремонт.

Загорание пыли в бункере пыли (рисунки В.4 и В.5) на работающем котле

Повышение температуры в бункере пыли выше максимально допустимого значения.

Закройте клапаны в трубопроводах всех влагоотсосов; Увеличьте производительность работающих систем пылеприготовления и включите в работу резервные системы; Включите в работу резервные питатели пыли. Срабатывайте пыль из бункера в топку котла, поддерживая максимальный уровень пыли в бункере, до понижения температуры пыли в бункере до допустимого значения.

Приложение Г
(обязательное)

Типовая инструкция по эксплуатации индивидуальных систем пылеприготовления с шаровыми барабанными мельницами и бункером пыли

Г.1 Общие положения

Г.1.1 Настоящая типовая инструкция (далее - Инструкция) устанавливает общий порядок, последовательность и условия выполнения основных технологических операций, обеспечивающих безаварийную и экономичную эксплуатацию индивидуальных систем пылеприготовления с шаровыми барабанными мельницами и бункером пыли.

Г.1.2 Инструкция составлена применительно к следующим системам пылеприготовления, имеющим преимущественное распространение на электростанциях Российской Федерации:

- с сушкой топлива горячим воздухом и подачей пыли в топку с помощью вентилятора горячего дутья (рисунок Г.1);

- с сушкой топлива смесью топочных газов с горячим воздухом (газовоздушной сушкой) и подачей пыли в топку с помощью мельничного вентилятора (рисунок Г.2);

- с сушкой топлива горячим воздухом и подачей пыли в топку с помощью мельничного вентилятора (рисунок Г.3);

- с сушкой топлива смесью горячих и холодных газов (газовоздушной сушкой) и подачей пыли в топку с помощью мельничного вентилятора (рисунок Г.4);

- с сушкой топлива горячим воздухом и подачей пыли высокой концентрации с помощью воздуходувок (рисунок Г.5).

Г.1.3 Вопросы маслоснабжения механизмов системы пылеприготовления в Инструкции рассмотрены применительно к типовой схеме масляной системы (рисунок Г.6). Для схем, отличающихся от типовой, в местные инструкции должны быть внесены необходимые изменения.

Г.2 Общие указания

Г.2.1 Указания по составлению местной инструкции

Г.2.1.1 Используйте указания настоящей Инструкции с учетом конкретных особенностей, имеющихся на электростанции схем систем пылеприготовления, типов и компоновки оборудования.

Г.2.1.2 Конкретизируйте содержащиеся в Инструкции технологические параметры с учетом характеристик размалываемого топлива, местных условий эксплуатации и требований, содержащихся в нормативной технической и проектной документации.

Г.2.2 Указания по организации эксплуатации систем пылеприготовления

Г.2.2.1 Допускайте к эксплуатации систему пылеприготовления только:

- при полном соответствии требованиям нормативной технической и проектной документации оборудования, его компоновки, оснащения системы пылеприготовления предохранительными клапанами, средствами пожаротушения, контрольно-измерительной аппаратурой, технологическими защитами, блокировками и сигнализацией;

- при наличии приемо-сдаточного акта системы пылеприготовления из монтажа;

- при наличии на щите управления котлом (энергоблоком) местной инструкции по эксплуатации системы пылеприготовления;

- после проведения инструктажа дежурного эксплуатационного персонала и проверки знаний им правил взрывобезопасности, технической эксплуатации, противопожарной инструкции и местных инструкций по эксплуатации системы пылеприготовления.

Г.2.2.2 Организуйте пуск системы пылеприготовления, принятой из монтажа, под руководством ответственного лица, имеющего опыт пуска и эксплуатации аналогичных систем.

Г.2.2.3 Организуйте проведение испытаний системы пылеприготовления и с учетом их результатов разработайте режимную карту, содержащую указания по ведению оптимального режима систем пылеприготовления.

Г.2.2.4 Организуйте определение значений присосов холодного воздуха в систему пылеприготовления не реже одного раза в месяц, а также перед капитальным ремонтом и после него для оценки качества ремонта.

Г.2.2.5 Организуйте при загрузке БСУ обязательное включение в работу ме-талло- и щепоуловителей, установленных в тракте топливоподачи.

Г.2.2.6 Разработайте график выполнения и обеспечьте внедрение следующих профилактических мероприятий:

- проверки плотности оборудования системы пылеприготовления;

- проверки шаровой загрузки мельницы для определения необходимого количества догружаемых шаров взамен изношенных;

- сортировки шаров с удалением мелочи размером менее 15 мм;

- проверки степени износа лопаток MB, брони мельницы, колен пылегазо-воздухопроводов;

- полной сработки топлива из БСУ с зачисткой стенок для углей, склонных к налипанию.

1 - мельница; 2 - сепаратор; 3 - течка возврата из сепаратора; 4 - мигалка; 5 - бункер сырого угля; 6 - питатель сырого угля; 7 - течка сырого угля; 8 - клапан присадки холодного воздуха; 9 - трубопровод рециркуляции; 10 - MB; 11 - отсечной шибер (штыревой затвор); 12 - вентилятор горячего дутья; 13 - атмосферный клапан; 14 - трубопровод обвода вентилятора горячего дутья; 15 - трубопровод охлаждения сбросных горелок; 16 - короб первичного воздуха; 17 - короб сбросного воздуха; 18 - трубопровод отсоса водяных паров; 19 - бункер пыли; 20 - циклон; 21 - сетка; 22 - перекидной шибер; 23 - шнек; 24 - топка; 25 - питатель пыли; 26 - течка пыли; 27 - сбросная горелка; 28 - пылеугольная горелка; 29 - короб вторичного воздуха к горелкам; 30 - воздуховод от воздухоподогревателя.

Рисунок Г.1 - Система пылеприготовления с сушкой топлива горячим воздухом и подачей пыли в топку с помощью вентилятора горячего дутья

31 - трубопровод подачи топочных газов; 32 - трубопровод подачи смеси топочных газов с горячим воздухом; 33 - трубопровод подачи горячего воздуха на сторону всасывания MB. Остальные обозначения по рисунку Г.1.

Рисунок Г.2 - Система пылеприготовления с сушкой топлива смесью топочных газов с горячим воздухом и подачей пыли в топку с помощью мельничного вентилятора

Обозначения по рисункам Г.1 и Г.2.

Рисунок Г.3 - Система пылеприготовления с сушкой топлива горячим воздухом и подачей пыли в топку с помощью MB

34 - дымосос рециркуляции газов (горячих дымовых газов); 35 - трубопровод подачи горячих дымовых газов в систему пылеприготовления, 36 - обводной трубопровод; 37 - дымосос холодных газов; 38 - трубопровод подачи холодных дымовых газов в систему пылеприготовления; 39 - то же в другую систему пылеприготовления. Остальные обозначения по рисункам Г.1 и Г.2

Рисунок Г.4 - Система пылеприготовления с сушкой топлива смесью горячих и холодных дымовых газов и подачей пыли в топку с помощью MB:

40 - воздуходувка, 41 - трубопровод высококонцентрированной подачи пыли. Остальные обозначения по рисункам Г.1 - Г.4

Рисунок Г.5 - Система пылеприготовления с сушкой топлива горячим воздухом и подачей пыли высокой концентрации в топку под давлением с помощью воздуходувок

1 - мельница, 2 - зубчатый венец; 3 - приводная шестерня, 4 - электродвигатель мельницы; 5 - маслонасос жидкой смазки; 6 - бак-отстойник; 7 - фильтры; 8 - маслоохладитель; 9 - маслостанция густой смазки; 10 - форсунки; 11 - золотниковые клапаны, 12 - реверсивный электромагнитный клапан, 13 - распределители; 14 - пневматический мембранный клапан; 15 - сжатый воздух; 16 - указатель течи масла; 17 - к другим системам пылеприготовления; 18 - от других систем пылеприготовления; 19 - маслопровод заполнения бака-отстойника; 20 - маслопровод опорожнения бака-отстойника, 21 - маслоуказательное стекло; 22 - датчик сигнализации предельного уровня масла; 23 - электронагреватель; 24 - трубопровод охлаждающей воды; 25 - напорный маслопровод жидкой смазки; 26 - сливной маслопровод.

Рисунок Г.6 - Схема маслоснабжения системы пылеприготовления с ШБМ и бункером пыли

Г.2.2.7 Организуйте плановое (регулярное) техническое обслуживание и ремонт систем пылеприготовления, включая учет наработки, частоты и причины отказов оборудования.

Г.2.3 Указания ограничений в работе систем пылеприготовления

Г.2.3.1 Не допускайте работу системы пылеприготовления без включенных технологических защит, блокировок и сигнализации.

Г.2.3.2 Не допускайте работу системы пылеприготовления с пылением. При обнаружении пыления немедленно примите меры к его устранению, вплоть до останова системы.

Г.2.3.3 Не допускайте во всех режимах работы системы пылеприготовления (при пуске, нормальной работе, остановке):

- повышения температуры сушильного агента за мельницей свыше значения, установленного в проектной документации;

- повышения содержания кислорода в сушильном агенте свыше 16 % (для систем пылеприготовления с газовой сушкой).

Примечание - Наиболее взрывоопасными режимами являются пуск и остановка системы пылеприготовления, перебои в подаче топлива в мельницу, разгрузка мельницы после переполнения ее топливом, так как они могут привести к повышению температуры сушильного агента на выходе из мельницы сверх допустимого значения.

Г.2.3.4 Немедленно останавливайте систему пылеприготовления в аварийных ситуациях, указанных в Г.7.1.

Г.3 Указания мер безопасности

Г.3.1 Соблюдайте при эксплуатации систем пылеприготовления требования и указания нормативной технической и проектной документации, не допуская ситуаций, угрожающих травмами обслуживающему персоналу.

Не допускайте:

- нахождения в зоне размещения оборудования посторонних лиц;

- производства ремонтных работ без наряда-допуска;

- производства ремонтных работ на работающей системе пылеприготовления, связанных с применением газовой и электродуговой сварки и нарушением эксплуатационной герметичности системы (вскрытие люков, лазов, замена диафрагм предохранительных клапанов);

- производства любых ремонтных работ в зоне размещения и в опасных пределах вблизи этой зоны при работе системы пылеприготовления в нестационарных режимах (при пуске, останове, перебоях в поступлении топлива);

- загромождения зон размещения и обслуживания оборудования запасными частями, строительными и другими материалами;

- сухой уборки угольной пыли как внутри оборудования, так и вне его.

Г.3.2 Предпринимайте следующие меры для предупреждения появления тлеющих очагов в системе пылеприготовления:

- выявляйте места возможных отложений пыли и ликвидируйте их;

- тщательно выхолащивайте систему пылеприготовления при останове;

- не допускайте длительного простоя системы пылеприготовления в резерве на работающем котле;

- включайте при первой возможности для выхолащивания аварийно остановленную (не выхолощенную) систему пылеприготовления.

Предусматривайте перед пуском невыхолощенной системы пылеприготовления на взрывоопасных топливах специальные меры безопасности (заполнение холодными инертными газами, вентиляцию холодным воздухом при воздушной сушке и другие).

Г.3.3 Проверяйте перед пуском системы пылеприготовления, а также перед вскрытием люков на ее оборудовании отсутствие тлеющих отложений на ощупь по отсутствию нагревающихся участков под съемной изоляцией и по отсутствию запаха гари или по результатам газового анализа (отсутствие оксида углерода в пробе).

Примечание - Для контроля за содержанием оксида углерода в пыле проводах непосредственно за мельницей и перед циклоном предусматриваются газозаборные устройства с запорными вентилями для присоединения переносного газоанализатора.

Г.3.4 Заполните при обнаружении очагов горения систему пылеприготовления (за исключением бункера пыли) паром через систему пожаротушения. Ликвидируйте затем очаги горения путем осторожной заливки их водой через стволы-распылители и удалите очаговые остатки наружу.

Г.3.5 Не допускайте сброса сушильного агента из системы пылеприготовления в топку неработающего котла, а также в недостаточно разогретую топку растапливаемого котла.

Г.3.6 Оставляйте открытым в атмосферу при работающей мельнице клапан между двумя отключающими заслонками горячего воздуха перед MB, при остановленной - между двумя отключающими заслонками горячего воздуха перед мельницей.

Г.3.7 Предпринимайте с учетом местных условий специальные меры для защиты персонала от горящей пыли, выбрасываемой из предохранительных клапанов и отражаемой от стен и перекрытий при взрыве в системе пылеприготовления (установка огнепреградителей, навесов, заградительных щитов и другие).

Г.3.8 Не допускайте к проведению любых ремонтных работ и к осмотру системы пылеприготовления, со вскрытием люков и лазов персонал, спецодежда которого не соответствует требованиям отраслевых норм.

Г.3.9 Выполните перед вскрытием люков для осмотра или ремонта оборудования и элементов системы пылеприготовления (мельница, сепаратор, циклон и другие) следующее:

- закройте отсечной шибер в нижней части БСУ и сработайте уголь из ПСУ;

- тщательно выхолостите систему пылеприготовления;

- проверьте закрытие шиберов на подводах воздуха (газа) к мельнице и открытие атмосферного клапана между ними, а также закрытие шиберов на стороне всасывания MB и на трубопроводе рециркуляции;

- убедитесь в снятии напряжения с электродвигателей ПСУ, мельницы и с приводов перечисленных выше шиберов; в закрытии на замок приводов этих шиберов; в расцеплении муфты, а также в наличии соответствующих плакатов по месту и на ключах управления электродвигателями и приводами шиберов;

- обстучите и надежно закрепите в закрытом положении мигалки на течке сырого угля, течках возврата из сепаратора и под циклоном;

- убедитесь в отсутствии тлеющих отложений в соответствии с указаниями Г.3.3.

Г.3.10 Соблюдайте при вскрытии люков следующие меры безопасности:

- удалите всех посторонних лиц от люка;

- уберите с площадки посторонние предметы, мешающие отходу персонала;

- при температуре за мельницей не более 50 °С медленно откройте люк, не допуская взвихривания пыли; находитесь при этом сбоку от люка со стороны его петель; не трогайте шиберы, не наносите удары по корпусам оборудования и элементам системы пылеприготовления, пылепроводам и газовоздухопроводам во избежание взвихривания пыли;

- проверьте визуально дополнительно через люк отсутствие очагов горения; при обнаружении очагов залейте их распыленной водой и удалите.

Примечание - Если система пылеприготовления была предварительно заполнена паром, то люки открываются на мельнице, сепараторе и циклоне.

Г.3.11 Смойте перед производством сварочных работ на системе пылеприготовления распыленной водой угольную пыль с участков вблизи места сварки, на которые возможно попадание искр от сварки.

Г.3.12 Удаляйте ремонтный и эксплуатационный персонал перед пуском, остановкой и расхолащиванием системы пылеприготовления, работающей на взрывоопасном топливе, из зон, расположенных в радиусе возможного выброса при взрыве в системе пылеприготовления горящей пыли из предохранительных клапанов (с учетом дальнодействия выброса до 40 калибров клапана и отражения выброшенной горящей пыли от стен и перекрытий) и из течек сырого угля.

Г.3.13 Остановите систему пылеприготовления при появлении признаков горения пыли в какой-либо ее части, за исключением бункера пыли, и подайте в нее пар.

Не допускайте пуска MB, а также мельницы с выявленными признаками горения в какой-либо ее части до полной ликвидации очагов горения.

Г.3.14 Провентилируйте MB перед его остановкой для ремонта на работающем котле в течение от 2 до 3 минут включительно холодным воздухом при закрытом шибере М-1.

Примечание - маркировка арматура указана на рисунках.

Г.3.15 Не допускайте длительного простоя питателей пыли в резерве во избежание загорания пыли в ячейках питателей и в бункере над ними. Допустимая продолжительность простоя определяется по месту в зависимости от склонности пыли к самовозгоранию (укажите в местной инструкции).

Г.3.16 Обеспечьте при выводе механизмов системы приготовления в ремонт на работающем котле выполнение мер безопасности, указанных в Г.3.9.

Г.3.17 Содержите в порядке и постоянной готовности все противопожарные средства: стационарные системы пожаротушения в бункерах пыли, пылегазовоз-душном тракте системы пылеприготовления, зоне размещения оборудования; огнетушители, ящики с песком, лопаты и остальной ручной противопожарный инвентарь, для нахождения которого установите постоянные места.

Г.3.18 Пользуйтесь при осмотре и ремонте любых элементов системы пылеприготовления только хорошо защищенной от проникновения пыли низковольтной (12 В) переносной электроаппаратурой во взрывобезопасном исполнении.

Г.3.19 Не применяйте в помещениях системы пылеприготовления открытый огонь или электронагревательные приборы, кроме мест, особо для этого выделенных (за исключением установок, работающих на антраците).

Г.4 Подготовка системы пылеприготовления к работе и включение ее в работу

Г.4.1 Подготовка системы пылеприготовления к пуску

Г.4.1.1 Убедитесь, если система пылеприготовления находилась в ремонте, в завершении всех ремонтных работ, закрытии наряда на них, отсутствии ремонтного персонала на местах производства работ и посторонних предметов вблизи подготавливаемого к работе оборудования, наличии и исправности тепловой изоляции на элементах системы пылеприготовления.

Г.4.1.2 Убедитесь в отсутствии тления или горения пыли в системе пылеприготовления по результатам газового анализа или по отсутствию запаха гари и нагрева лючков и участков под съемной изоляцией на входном и выходном патрубках мельницы, на сепараторе, входном патрубке циклона, на горизонтальном участке пылегазовоздухопровода перед MB, а также на течках пыли из-под циклона и возврата из сепаратора (выше мигалок); в случае выявления признаков горения в какой-либо части системы пылеприготовления действуйте в соответствии с Г.3.4.

Г.4.1.3 Убедитесь путем наружного осмотра мельницы, ПСУ, MB, дымососов, вентилятора горячего дутья (в схеме с вентилятором горячего дутья) и питателей пыли в наличии и хорошем закреплении ограждений и защитных кожухов у соединительных муфт.

Г.4.1.4 Проверьте исправность ПСУ: состояние и натяжение ленты - у ленточного питателя; отсутствие застрявшего металла и щепы, а также налипшего на днище угля - у скребкового питателя; состояние шнека - у шнекового питателя.

Проверьте дополнительно у ленточного, скребкового и дискового ПСУ исправное состояние ножа, служащего для регулирования подачи угля в мельницу. Убедитесь в исправности флажка сигнализатора обрыва угля на ПСУ.

Г.4.1.5 Проверьте у питателей пыли; закрытие отсечных шиберов М-6; плотность закрытия смотровых лючков; легкость вращения вручную механизма питателей.

Г.4.1.6 Проверьте по маслоуказателям уровень масла в картерах подшипников MB, дымососов и вентилятора горячего дутья, в редукторах приводов мельницы (на мельницах типа ШК-32, Ш-25А, Ш-16, Ш-12, Ш-10), ПСУ и питателей пыли (уровень должен находиться между нижней и верхней рисками на масло указательном стекле). Если масло загрязнено, слейте его и залейте свежее до верхнего уровня по масло указательному стеклу.

Проверьте наличие густой смазки в подшипниках приводной шестерни у мельницы и наполнение колпачковых масленок в подшипниках ПСУ и питателей пыли.

Г.4.1.7 Проверьте у электродвигателей всех механизмов системы пылеприготовления наличие густой смазки в подшипниках и исправность шин заземления корпусов и кабелей.

Г.4.1.8 Подайте воду в систему охлаждения коренных подшипников мельницы, в змеевики картеров MB, дымососов и вентилятора горячего дутья, в змеевики редуктора мельницы (на мельницах типа ШК-32, Ш-25А, Ш-16, Ш-12 и Ш-10), а также на воздухоохладитель электродвигателя мельницы (на мельницах типа Ш-50 и Ш-50А).

Г.4.1.9 Осмотрите и при необходимости прочистите течку сырого угля. Убедитесь в исправности мигалок на течках сырого угля, возврата из сепаратора и пыли под циклоном (мигалки под действием грузов должны быть плотно прижаты и приоткрываться от руки). Проверьте состояние сетки под циклоном и при необходимости прочистите ее. Установите перекидной шибер 22 (рисунки Г.1 - Г.3) на течке пыли под циклоном в требуемое положение: на подачу пыли в бункер или на реверсивный шнек (в последнем случае откройте заслонку М-5 под шнеком).

Г.4.1.10 Проверьте соответствие степени открытия направляющих лопаток сепаратора пыли указаниям режимной карты.

Проверьте дополнительно после ремонта направляющих лопаток сепаратора их нормальное открытие и закрытие, а также соответствие положения указателю.

Г.4.1.11 Проверьте состояние труб влагоотсоса из бункера пыли и шнека (отсутствие забивания и исправность изоляции). Откройте на них заслонки (В-11, В-12 на рисунке Г.1 и Г.3; В-7 на рисунках Г.2 и Г.4; В-8 на рисунке Г.2).

Г.4.1.12 Проверьте исправность мембран и наличие креплений фланцев у всех предохранительных клапанов.

Г.4.1.13 Проверьте у шиберов и клапанов: исправность соединительных тяг привода; легкость управления вручную по месту; рабочий диапазон перемещения; соответствие надписей «Открыто» и «Закрыто» фактическому положению шиберов.

Г.4.1.14 Убедитесь в плотном закрытии люков и лазов на всем оборудовании системы пылеприготовления.

Г.4.1.15 Подготовьте к работе устройства для обрушения топлива в БСУ, а также средства пожаротушения на системе пылеприготовления.

Г.4.1.16 Проверьте наличие топлива в БСУ и, если его недостаточно, потребуйте от персонала топливно-транспортного цеха заполнения бункера. Откройте отсечной шибер (штыревой затвор 11 на рисунках Г.1 - Г.5) в нижней части БСУ.

Г.4.1.17 Закажите через начальников смен электроцеха и цеха теплового контроля, автоматики и измерений сборку электрических схем для подачи напряжения на электродвигатели оборудования и на приводы дистанционного управления шиберами и клапанами системы пылеприготовления.

Удостоверьтесь в том, что электрические схемы собраны по светящимся сигнальным лампам на ключах управления пуском и остановом электродвигателей и на ключах управления шиберами и клапанами.

Г.4.1.18 Опробуйте со щита дистанционное управление шиберами и клапанами и убедитесь в соответствии степени их открытия по указателям положения фактическому положению (если производился ремонт этих шиберов и клапанов).

Г.4.1.19 Вызовите дежурный персонал электроцеха и цеха теплового контроля, автоматики и измерений для проверки и включения схем управления электрическими защитами и сигнализацией, контрольно-измерительных приборов, технологических защит, блокировок и сигнализации по пылеприготовительной установке и системе масло снабжения. Потребуйте произвести проверку работы технологических защит и блокировок в испытательном режиме (без воздействия на исполнительные механизмы).

Г.4.1.20 Убедитесь в том, что перед пуском пыле приготовительной установки с сушкой угля горячим воздухом и подачей пыли в топку с помощью вентилятора горячего дутья (рисунок Г.1) в положении «Открыто» находятся:

- шибер В-2 на подводе горячего воздуха к мельнице;

- шиберы М-2 и М-3 на стороне нагнетания MB;

- шиберы М-7 на пылепроводах к сбросным горелкам;

- шибер В-9 на трубопроводе горячего воздуха для охлаждения сбросных горелок (этот шибер закрывается непосредственно перед пуском MB);

- шиберы В-3, В-4, В-5 и В-6 на сторонах всасывания и нагнетания вентилятора горячего дутья;

- шиберы В-10 на пылепроводах к основным горелкам;

- шиберы В-7 и В-8 на трубопроводе горячего воздуха для охлаждения горелок (шибер В-8 закрывается непосредственно перед пуском вентилятора горячего дутья);

в положении «Закрыто» находятся:

- шибер В-1 на воздуховоде горячего воздуха к мельнице;

- шибер М-8 на линии рециркуляции и шибер М-1 на стороне всасывания MB;

- направляющий аппарат вентилятора горячего дутья;

- клапан В-12 в трубопроводе отсоса водяных паров из бункера пыли;

- клапан присадки холодного воздуха ПХВ-1 и все атмосферные клапаны.

Г.4.1.21 Убедитесь в том, что перед пуском системы пылеприготовления с сушкой угля смесью дымовых газов и горячего воздуха и подачей пыли в топку с помощью MB (рисунок Г.2):

в положении «Открыто» находятся:

- шибер В-3 на подводе сушильного агента к мельнице;

- шиберы В-4 на пылепроводах к горелкам;

- шиберы В-6 и ПХВ-2 перед MB (эти шиберы открываются при неработающем MB для охлаждения горелок холодным воздухом, засасываемым из атмосферы за счет разрежения в топке; непосредственно перед пуском MB шибер В-6 закрывается);

в положении «Закрыто» находятся:

- шиберы В-1 и В-2 на подводе сушильного агента к мельнице;

- шибер М-1 перед MB;

- шибер М-2 на линии рециркуляции;

- шибер В-5 на линии подвода горячего воздуха перед MB;

- клапан В-8 в трубопроводе отсоса водяных паров из бункера пыли;

- клапан ПХВ-1 присадки холодного воздуха перед мельницей.

Г.4.1.22 Убедитесь в том, что перед пуском системы пылеприготовления с сушкой топлива горячим воздухом и подачей пыли в топку с помощью MB (рисунок Г.3):

в положении «Открыто» находятся:

- шибер В-2 на подводе горячего воздуха к мельнице;

- шиберы В-10 на пылепроводах к горелкам;

- шиберы В-6 и ПХВ-2 на воздуховоде горячего воздуха перед MB (эти шиберы открываются для охлаждения горелок холодным воздухом при неработающем MB;

- непосредственно перед пуском MB шибер В-6 закрывается);

в положении «Закрыто» находятся:

- шибер В-1 на подводе горячего воздуха к мельнице;

- шибер М-1 перед MB;

- шибер М-2 на линии рециркуляции;

- клапан В-12 в трубопроводе отсоса водяных паров из бункера пыли;

- шибер В-5 на линии подвода горячего воздуха перед MB;

- клапан ПХВ-1 присадки холодного воздуха перед мельницей.

Г.4.1.23 Убедитесь в том, что перед пуском системы пылеприготовления с сушкой топлива смесью горячих и холодных дымовых газов, подаваемых в систему дымососами газов, и подачей пыли в топку с помощью MB (рисунок Г.4):

в положении «Открыто» находятся:

- шибер В-3 на подводе сушильного агента к мельнице;

- шиберы В-4 на пылепроводах к горелкам;

- шиберы В-6 и ПХВ-2 на линии подвода горячего воздуха перед MB (шибер В-6 закрывается непосредственно перед пуском MB);

в положении «Закрыто» находятся:

- шибер В-2 на подводе сушильного агента к мельнице;

- шибер М-1 перед MB;

- шибер М-2 на линии рециркуляции;

- клапан В-1 в трубопроводе отсоса водяных паров из бункера пыли;

- шибер В-5 на линии подвода горячего воздуха перед MB;

- клапан ПХВ-1 присадки холодного воздуха перед мельницей;

- шибер Г-1 на линии подвода холодных инертных газов от дымососа холодных газов в систему пылеприготовления и направляющий аппарат дымососа холодных газов (открывается после включения дымососа холодных газов);

- направляющий аппарат дымососа рециркуляции газов (при неработающем дымососе рециркуляции газов) и шибер Г-2 на линии подвода горячих газов от дымососа рециркуляции газов в систему пылеприготовления.

Г.4.1.24 Убедитесь в том, что перед пуском системы пылеприготовления с сушкой топлива горячим воздухом и подачей пыли высокой концентрации в топку с помощью воздуходувки (рисунок Г.5):

в положении «Открыто» находятся:

- шибер В-2 на подводе сушильного агента к мельнице;

- шиберы М-7 на пыле проводах к сбросным горелкам;

- шиберы М-2 и М-3 на стороне нагнетания MB;

- шиберы В-7 и В-9 на трубопроводе горячего воздуха для охлаждения сбросных горелок (эти шиберы закрываются непосредственно перед пуском MB);

в положении «Закрыто» находятся:

- шибер В-1 на воздуховоде горячего воздуха к мельнице;

- шибер М-8 на линии рециркуляции и шибер М-1 на стороне всасывания MB;

- клапан В-12 в трубопроводе отсоса водяных паров из бункера пыли;

- клапан присадки холодного воздуха ПХВ-1 и все атмосферные клапаны.

Г.4.1.25 Удостоверьтесь в том, что перед пуском системы пылеприготовления с подачей пыли в топку с помощью MB (рисунки Г.2 - Г.4) при работе MB на горячем воздухе, подаваемом по обводному трубопроводу (байпасу), в положении «Открыто» дополнительно к указанным в Г.4.1.21 - Г.4.1.23 находится шибер В-5.

Г.4.2 Подготовка к работе и пуск масляной системы

Г.4.2.1 Произведите наружный осмотр (рисунок Г.6) станции жидкой смазки (маслонасосов, фильтров, маслоохладителя, всей арматуры и мест установки КИП), убедитесь в отсутствии протечек масла.

Проверьте высоту уровня масла в баке-отстойнике, которая должна составлять от 0,5 до 0,7 включительно высоты бака. При меньшем уровне долейте в бак-отстойник очищенное масло (уточните марку масла по техническому паспорту станции жидкой смазки и инструкции завода-изготовителя).

Проверьте температуру масла в баке-отстойнике.

Если температура масла в баке ниже 35 °С, подогрейте его, для чего включите и поставьте на автоматическую работу электронагреватель (выключается при подогреве масла до 50 °С); в случае змеевикового обогрева подается горячая вода.

Осмотрите станцию густой смазки, проверьте состояние ее аппаратуры, наличие смазки.

Г.4.2.2 Подготовьте схему маслоснабжения мельницы (рисунок Г.6):

- откройте вентили на ответвлениях напорного маслопровода к узлам смазки пускаемой мельницы:

а) у мельниц Ш-50 и Ш-50А - на коренные подшипники мельницы (зубо-венечная пара мельниц Ш-50А смазывается от станции густой смазки, мельниц Ш-50 - жидкой смазкой, поступающей самотеком из отдельного бачка);

б) у мельниц ШК-32 - на коренные подшипники мельницы, редуктор и зубовенечную пару;

в) у мельниц Ш-25А - на коренные подшипники мельницы (зубовенечная пара смазывается от станции густой смазки);

в) у мельниц Ш-10, Ш-12 и Ш-16 - на ответвлении маслопровода от напорного бака (при его наличии) к коренным подшипникам пускаемой мельницы и на зубовенечную пару;

- проверьте закрытие вентилей на линиях подачи масла к другим (неработающим) мельницам;

- проверьте закрытие вентилей на линии слива масла из бака и на перемычке между напорным и сливным маслопроводами, а также на подводе охлаждающей воды к маслоохладителю;

- откройте пробковые краны на стороне всасывания масляных насосов (уточните по месту);

- откройте краны на стороне нагнетания всех масляных насосов;

- откройте вентили перед фильтром и за ним (для схем с автоматической очисткой фильтров от электропривода);

- откройте в схемах с ручной очисткой фильтров вентили перед рабочим фильтром и за ним; вентили перед резервным фильтром и за ним должны быть закрыты; при наличии в схеме обводного маслопровода (помимо фильтров) вентиль на нем должен быть закрыт;

- откройте вентили у маслоохладителя на входе и выходе масла, закройте вентиль на линии подачи масла помимо маслоохладителя;

- откройте вентиль напорного маслопровода на выходе из маслонасосной к пускаемой мельнице;

- проверьте открытие вентилей на соединительных (импульсных) линиях к электроконтактным манометрам;

- проверьте настройку всей контрольно-измерительной аппаратуры на требуемые по условиям эксплуатации давление и температуру масла;

- откройте вентили на подводах сжатого воздуха к форсункам для распыления густой смазки на зубовенечную пару мельниц Ш-25А и Ш-50А; подготовьте к пуску станцию густой смазки в соответствии с заводской инструкцией.

Г.4.2.3 Пустите масляную систему (рисунок Г.6), для чего:

- включите резервный масляный насос;

- установите вентилем на стороне нагнетания масляного насоса давление масла после маслоохладителя в соответствии с указаниями заводской инструкции (обычно от 0,15 до 0,25 МПа включительно) по манометру; подайте воду на маслоохладитель при температуре масла выше 50 °С (давление воды должно быть на от 0,03 до 0,05 МПа включительно ниже давления масла);

- отрегулируйте подачу масла вентилями на ответвлениях напорного маслопровода к узлам смазки;

- остановите резервный масляный насос и включите рабочий масляный насос;

- отрегулируйте давление масла после маслоохладителя;

- поставьте ключ аварийного включения резерва в положение «Сблокировано»;

- долейте масло в маслоотстойник после заполнения системы;

- проверьте поступление масла к смазываемым точкам;

- проверьте показания приборов и регулировку всей контрольно-измерительной аппаратуры по тракту после пуска масляной системы;

- проверьте ключ аварийного включения резерва масляных насосов при пуске после ремонта.

Г.4.3 Пуск системы пылеприготовления

Г.4.3.1 Выполняйте операции по пуску и регулированию работы системы пылеприготовления со щита управления котла (энергоблока).

Г.4.3.2 Убедитесь перед пуском системы пылеприготовления в том, что температура дымовых газов в поворотном газоходе за топкой не ниже минимального значения, соответствующего тепловой нагрузке топки, при которой обеспечивается надежное и устойчивое воспламенение и горение сбрасываемой из системы пылеприготовления пыли (укажите в местной инструкции конкретное значение этой температуры).

Г.4.3.3 Включите электродвигатель MB, если MB не работает; стрелка амперметра при этом должна отклониться до упора. Если стрелка амперметра не вернулась в рабочее положение в течение времени, установленного инструкцией завода-изготовителя, отключите электродвигатель (укажите это время в местной инструкции).

Производите повторный пуск только с разрешения начальника смены электроцеха после обязательной проверки электрической и механической частей двигателя и механической части MB. Все последующие пуски производите в строгом соответствии с указаниями инструкции завода-изготовителя по эксплуатации электродвигателя (укажите в местной инструкции предписанные заводом-изготовителем выдержки времени между пусками).

Г.4.3.4 Прогрейте систему пылеприготовления смесью горячего и холодного воздуха (рисунки Г.1, Г.3 и Г.5), смесью дымовых газов и холодного воздуха (рисунок Г.2) и холодными дымовыми газами (рисунок Г.4), для чего:

- откройте не полностью (на от 20 до 30 % включительно по указателю положения, уточните в местной инструкции) шибер М-1 на стороне всасывания MB; при размоле взрывоопасных топлив этот шибер открывайте постепенно во избежание взвихривания пыли;

- включите дымосос холодных газов, если он не работает, в системах с подсушкой топлива с помощью смеси горячих и холодных дымовых газов (рисунок Г.4), откройте шиберы Г-2 и направляющий аппарат дымососа холодных газов;

- откройте шиберы на подводе сушильного агента перед мельницей (В-1 на рисунках Г.1, Г.3 и Г.5, В-2 на рисунках Г.2 и Г.4) и клапаны присадки холодного воздуха ПХВ-1 (рисунки Г.1, Г.3 и Г.5);

- установите необходимое разрежение перед мельницей изменением положения шиберов М-1, В-1 (рисунки Г.1, Г.3 и Г.5) и В-2 (рисунки Г.2 и Г.4);

- закройте в системах пылеприготовления, схемы которых приведены на рисунках Г.1 и Г.5, шиберы В-7 и В-9 на трубопроводе охлаждения сбросных горелок.

Если MB перед пуском системы пылеприготовления работал на горячем воздухе, подаваемом по обводному трубопроводу (байпасу) мельницы для транспортирования пыли в топку, переведите его в работу на сушильном агенте. Откройте для этого одновременно шиберы М-1 и ПХВ-1 (рисунки Г.2 и Г.3), В-2 (рисунок Г.2), В-1 (рисунок Г.3) и закройте шиберы В-5 и В-6 (шибер ПХВ-2 остается открытым).

Г.4.3.5 Производите особенно тщательно прогрев всей системы пылеприготовления после длительного простоя в зимнее время во избежание налипания пыли на стенки элементов системы.

Укажите в местной инструкции продолжительность прогрева системы пылеприготовления и температуру сушильного агента перед MB (за мельницей - при отсутствии измерения перед MB) с учетом особенностей системы пылеприготовления, вида топлива и климатических условий для обеспечения отсутствия конденсации водяных паров сушильного агента на стенках пылегазовоздухопроводов и элементов оборудования.

Не допускайте при прогреве системы пылеприготовления повышения температуры сушильного агента за мельницей выше значений, установленных как в Г.2.3.3.

Следите при всех переключениях шиберов за поддержанием необходимого давления в коробе первичного воздуха, а в системах пылеприготовления, выполненных по схемам рисунков Г.2 и Г.4, также за содержанием кислорода за MB (перед пуском должен быть включен кислородомер).

Г.4.3.6 Включите мельницу после прогрева системы пылеприготовления, для чего:

- включите электродвигатель мельницы (на мельницах Ш-50 и Ш-50А предварительно включите возбудитель их электродвигателя). При включении электродвигателя стрелка амперметра отклоняется от нуля до упора и устанавливается в рабочем положении. Если произошел незавершенный пуск электродвигателя (стрелка амперметра отклонилась до упора, а затем сразу же до нуля, и загорелась лампочка отключения), сообщите об этом начальнику смены электроцеха и повторный пуск производите только после разрешения дежурного электрика;

- убедитесь при пуске механизмов в отсутствии вибрации, задеваний, повышенного шума установки, недопустимого нагрева подшипников механизмов и их электродвигателей. При появлении сильной вибрации, стука; дыма, а также в тех случаях, когда электродвигатель начинает гудеть и механизм не разворачивается, отключите электродвигатель аварийной кнопкой;

- включите маслостанцию густой смазки (на мельницах Ш-50А и Ш-25А) на ручное управление и в течение 2 минут производите смазку зубчатого венца мельницы поочередно обеими форсунками, после чего переключите эту масло-станцию на автоматическое управление;

- проверьте через 15 или 20 минут после включения мельницы температуру масла в магистрали после маслоохладителя (не должна превышать 40 °С), температуру вкладышей коренных подшипников мельницы (не должна превышать 65 или 70 °С, уточните по месту), температуру масла на сливе из подшипников электродвигателей мельницы (у мельниц Ш-50 и Ш-50А не должна превышать 60 °С); подайте охлаждающую воду в трубную систему маслоохладителя.

Г.4.3.7 Откройте полностью шибер М-1 на стороне всасывания MB.

Г.4.3.8 Включите ПСУ, убедитесь при этом в непрерывности поступления топлива (мигалки на течке сырого угля должны открываться равномерно).

Г.4.3.9 Перейдите на нормальную подачу в мельницу сушильного агента путем соответствующего переключения шиберов (укажите в местной инструкции).

Г.4.3.10 Включите дымосос рециркуляции газов (если он не работает) в системах пылеприготовления с сушкой топлива смесью горячих и холодных дымовых газов (рисунок Г.4), подайте горячие дымовые газы в мельницу, переведите постепенно вентиляцию системы на горячие дымовые газы и остановите дымосос холодных газов (если холодные дымовые газы не подаются на другую систему пылеприготовления).

Г.4.3.11 Откройте клапаны В-12 (рисунки Г.1, Г.3 и Г.5), В-8 (рисунок Г.2) и В-1 (рисунок Г.4) в трубопроводе отсоса водяных паров из бункера пыли до положения, обеспечивающего разрежение в бункере от 0,25 до 0,3 кПа включительно.

Г.4.3.12 Проверьте работу сепаратора пыли (мигалки на течках возврата должны равномерно открываться). Если мигалки не работают, значит течки возврата, наружный или внутренний конус сепаратора забиты пылью.

Г.4.3.13 Проверьте работу мигалок под циклоном.

Г.4.3.14 Установите режим работы системы пылеприготовления в соответствии с режимной картой.

При наличии запаса по сушке используйте для регулирования температуры сушильного агента за мельницей вместо присадки низкотемпературного сушильного агента рециркуляции сушильного агента с напорной стороны MB, приоткрывая шиберы М-8 (рисунки Г.1 и Г.5) и М2 (рисунки Г.2 - Г.4).

Г.4.3.15 Включите автоматические регуляторы системы пылеприготовления после стабилизации режима работы пылеприготовительной установки.

Г.4.3.16 Проверьте тонкость пыли, отобрав пробу из-под циклона. Производите при необходимости подрегулировку положения регулирующих органов сепаратора.

Г.4.3.17 При достижении уровня пыли в бункере не менее 3 м (уточняется по месту) включите питатели пыли и откройте отсечные шиберы над ними. Предварительно включите воздуходувку в системе по рисунку Г.5, а также блокировку пылепитатели - воздуходувка и пылепитатели - вентилятор горячего дутья в системе по рисунку Г.1. Убедитесь в закрытии шиберов В-7, В-8 и В-9 на трубопроводах охлаждения горелок при работе системы пылеприготовления.

Вентилятор горячего дутья включается во время растопки котла во избежание коробления насадок горелок.

Г.5 Порядок работы системы пылеприготовления

Г.5.1 Ведение режима работы системы пылеприготовления

Г.5.1.1 Ведите режим работы системы пылеприготовления в соответствии с указаниями режимной карты, составленной на основе испытаний оборудования.

Г.5.1.2 Работайте с включенной автоматикой мельницы, поддерживающей оптимальное заполнение барабана мельницы топливом.

Г.5.1.3 Поддерживайте оптимальную тонкость готовой пыли, определяемую на основе совместных испытаний котельной установки и системы пылеприготовления. Регулируйте тонкость пыли изменением положения регулирующих органов сепаратора пыли.

Отбирайте на каждой системе пылеприготовления (мельнице) не реже одного раза в сутки пробы готовой пыли для анализа на тонкость пыли (для антрацитов и полуантрацитов тонкость пыли определяется один раз в смену). Результаты анализа сообщайте машинисту котла (энергоблока).

Г.5.1.4 Следите тщательно за плотностью пылегазовоздушного тракта. Поддерживайте разрежение перед мельницей наименьшим, но таким, чтобы не было пыления входного патрубка мельницы и ПСУ.

Г.5.1.5 Измеряйте регулярно уровень пыли в бункерах пыли, он должен быть достаточным для обеспечения надежной работы питателей пыли - не менее 3 м (уточняется по месту).

Г.5.1.6 Останавливайте мельницу в резерв после заполнения бункера пыли котла, если производительность работающих мельниц превышает расход пыли котлом и излишек пыли не может быть подан с помощью реверсивных шнеков в бункера других котлов.

Переключайте перекидной шибер 22 под циклоном на пылевой шнек при необходимости пополнения пылью бункеров пыли других котлов.

Г.5.1.7 Поддерживайте оптимальную шаровую загрузку мельниц, обеспечивающую получение необходимого количества угольной пыли требуемой тонкости с учетом наименьшего необходимого простоя мельниц в резерве.

Добавляйте в мельницу систематически, но не реже одного раза в неделю шары диаметром 40 мм вместо изношенных.

Применяйте при размоле подмосковного и других углей, содержащих значительное количество колчедана, частично (до 40 %) шары диаметром 60 мм.

Пользуйтесь имеющейся на электростанции для мельниц каждого типоразмера загрузочной характеристикой, отражающей зависимость тока электродвигателя или расходуемой мощности от шаровой загрузки барабана (без топлива).

Производите сортировку шаров с удалением мелочи размером менее 15 мм по графику, а также во время капитального ремонта мельницы.

Г.5.1.8 Следите при работе мельницы за тем, чтобы топливо поступало в ПСУ непрерывно, и он работал нормально, обеспечивая равномерную подачу топлива в мельницу.

В случае зависания топлива в бункере примените средства обрушения (включите вибраторы, установку паро- или пневмообрушения), протолкните топливо шуровкой через специальные лючки.

Прекратите в случае прекращения подачи топлива подачу горячего воздуха в мельницу, и откройте клапан присадки холодного воздуха (при воздушной сушке и при сушке смесью горячих дымовых газов и воздуха для взрывоопасных топлив). При сушке взрывоопасных топлив смесью горячих и холодных дымовых газов (рисунок Г.4) установите наибольшую подачу холодных дымовых газов в мельницу, и одновременно прекратите подачу горячих дымовых газов. Следите при этом за поддержанием требуемого давления в коробе первичного воздуха.

Г.5.1.9 Следите за размером кусков поступающего на ПСУ топлива, он не должен превышать 25 мм.

При поступлении крупного топлива потребуйте от персонала топливно-транспортного цеха включения дробилок или регулировки их к подаче топлива с нормальными размерами кусков.

Г.5.1.10 Регулируйте температуру сушильного агента за мельницей при воздушной сушке топлива с помощью шиберов горячего воздуха, присадки слабо подогретого воздуха, рециркуляции от MB к входной горловине мельниц.

Регулируйте при сушке топлива газовоздушной смесью температуру сушильного агента перераспределением подачи в мельницу горячих и холодных дымовых газов путем включения дымососа холодных газов, а также изменением количества рециркулирующего сушильного агента (при отсутствии холодных дымовых газов и необходимости понижения температуры используйте присадку холодного воздуха, рисунок Г.2).

Поддерживайте необходимое давление в коробе первичного воздуха при регулировании температуры сушильного агента.

Следите за полным закрытием шибера на трубопроводе рециркуляции при отключении этого трубопровода во избежание забивания линии рециркуляции пылью и образования в ней очагов горения.

Следите особенно внимательно при размоле взрывоопасных топлив за температурой сушильного агента за мельницей, которая не должна превышать значений как указано в Г.2.3.3 (укажите в местной инструкции значение этой температуры).

Примечание - Для антрацитов и полуантрацитов температура за мельницей по условиям взрывобезопасности не ограничивается, и ее максимальное значение устанавливается заводом-изготовителем по условиям надежной работы механической части мельницы и других элементов системы пылеприготовления.

Г.5.1.11 Следите внимательно за температурой коренных подшипников мельницы, при необходимости увеличивая количество охлаждающей воды и масла.

Г.5.1.12 Следите при работе системы пылеприготовления с газовоздушной сушкой взрывоопасных топлив за тем, чтобы содержание кислорода в сушильном агенте не превышало 16 %.

Г.5.1.13 Проверяйте периодически, не реже одного раза в смену, состояние сетки под циклоном, работу мигалок под сепаратором, циклоном, на течке после ПСУ; при неисправной работе мигалок разработайте их.

Г.5.1.14 Проверяйте периодически состояние труб влагоотсоса из пылевых бункеров и реверсивных шнеков; при нормальной работе в этих трубах должен быть слышен шум. В них не должно быть отложений пыли, в случае забивания прочищайте их через лючки.

Г.5.1.15 Осматривайте периодически предохранительные клапаны с соблюдением требуемых мер безопасности (укажите эти меры в местной инструкции с учетом конкретных условий).

Производите осмотр предохранительных клапанов, расположенных в малодоступных местах, а также все работы по уплотнению клапанов только на остановленных и тщательно выхолощенных системах пылеприготовления.

Г.5.1.16 Производите в тех системах пылеприготовления, где наблюдается слеживание и застревание топлива в бункерах, периодически в соответствии со специальным графиком полную сработку топлива из бункеров с зачисткой их стенок.

Г.5.1.17 Для предупреждения слеживания срабатывайте периодически пыль в бункере до минимального уровня, определяемого надежной подачей пыли пылепитателями (укажите в местной инструкции периодичность этого срабатывания и значение минимального уровня пыли в бункере).

Г.5.1.18 Производите систематически (в соответствии с графиком) осмотр изнашивающихся элементов пылеприготовительной установки (лопаток MB, брони и патрубков мельниц, пылепроводов, внутренних конусов сепараторов) и при необходимости выполняйте их замену, ремонт или наплавку. Проверяйте состояние уплотнений горловин мельницы и, если требуется, производите их подтяжку.

Г.5.1.19 Следите в установках с подсушкой топлива смесью топочных газов и воздуха за состоянием газоотборных окон и, если требуется, производите их очистку.

Г.5.1.20 Соблюдайте чистоту в помещении пылеприготовления, производите регулярно тщательную уборку, удаляйте пыль со стен, подоконников, перекрытий, лестниц и с внешних поверхностей оборудования.

Обращайте особое внимание на предотвращение накапливания пыли на горячих поверхностях оборудования. Укажите график и объем работ по уборке в местной инструкции.

Уборка помещений должна производиться механизированно. Ручная уборка пыли возможна лишь после предварительного увлажнения пыли водой путем разбрызгивания.

Г.5.1.21 Производите регулярно в соответствии с графиком контроль запыленности воздуха в помещениях пылеприготовления с регистрацией результатов контроля.

Г.5.2 Контроль за маслоснабжением подшипников

Г.5.2.1 Следите при работе системы пылеприготовления за:

- нормальной работой станции жидкой смазки, поддерживая требуемые давление и температуру масла. Уровень масла в баке должен быть не ниже 0,5 м, температура в пределах от 35 до 50 °С включительно. Давление масла за маслоохладителем должно быть в пределах от 0,15 до 0,25 МПа включительно, уточняется по месту;

- разностью давлений до фильтров и после них. При перепаде давлений более 0,08 МПа должно включаться устройство очистки фильтра. Для очистки фильтра от загрязнения при обслуживании вручную несколько раз проверните маховик фильтра и удалите через спускную трубу осевшие на дно резервуара загрязнения. Фильтры с механическим приводом очищайте не менее двух раз в смену (продолжительность очистки 3 минуты). При очистке фильтра в работу включается резервный фильтр;

- давлением охлаждающей воды в маслоохладителе; оно должно быть на от 0,03 до 0,05 МПа включительно ниже давления масла во избежание попадания воды в масло;

- поступлением масла на коренные подшипники мельницы и подшипники их электродвигателей. Температура масла на сливе из этих подшипников не должна превышать 60 или 65 °С (уточняется по месту);

- температурой нагрева подшипников (не должна превышать диапазон значений от 65 до 70 °С включительно);

- подачей жидкой циркуляционной смазки на редукторы мельниц. Температура масла в редукторе должна быть не свыше 60 °С;

- подачей жидкой или густой смазки на зубовенечную пару у мельниц (Ш-50, Ш-50А, ШК-32, Ш-25А, Ш-16, Ш-12 и Ш-10) и работой установок централизованной смазки 0-600-2-1-1, автоматически подающих графитовую смазку на мельницы Ш-50А и Ш-25А;

- уровнем масла в редукторах мельниц и в картерах подшипников вращающихся механизмов;

- бесперебойным поступлением воды на охлаждение коренных подшипников мельницы, редукторов мельницы, картеров подшипников MB, вентилятора горячего дутья, дымососов.

Следите также за тем, чтобы в бак-отстойник станции жидкой смазки не попадала вода.

Г.6 Останов системы пылеприготовления

Г.6.1 Останов оборудования системы пылеприготовления

Г.6.1.1 Производите полную сработку топлива из бункера перед остановом котла в капитальный ремонт, а в тех системах, где наблюдается слеживание, застревание или загорание топлива в бункерах, также перед остановом мельниц в ремонт на срок более чем от 7 до 30 суток (уточните по месту в зависимости от марки топлива и конструкции бункера).

Закройте перед остановом мельницы на длительное время (уточняется по местным условиям) отсечной шибер М-4 (штыревой затвор) в нижней части БСУ, освободите от топлива и остановите ПСУ. При останове мельницы на короткое время достаточно остановить ПСУ.

Г.6.1.2 Заполните перед плановым остановом котла на непродолжительный срок (до 2 суток - уточняется по местным условиям) бункер пыли до верхнего уровня и тщательно закупорьте его, для чего закройте заслонку под реверсивным шнеком, клапаны на влагоотсосных трубах и шиберы над питателями пыли, закрепите в закрытом положении мигалки и установите уплотнительные заглушки из войлока или аналогичного материала на сетках в течках пыли под циклонами.

Для антрацитов, тощего и экибастузского угля заполнение бункера пыли до верхнего уровня можно не производить.

Г.6.1.3 Срабатывайте пыль из бункера с обстукиванием его нижней части перед остановом котла на срок более чем от 2 до 15 суток (уточните по местным условиям).

Г.6.1.4 Провентилируйте после прекращения подачи топлива систему пылеприготовления в течение от 10 до 15 минут включительно (уточните по месту) для выхолащивания мельницы и освобождения системы от пыли. При размоле антрацитов выхолащивание мельницы выполняйте лишь при ее останове на длительный срок.

Выполняйте выхолащивание мельницы перед ее остановом при полностью открытом шибере на трубопроводе рециркуляции и с возможно большим расходом сушильно-вентилирующего агента. Особенно тщательно выхолащивайте мельницу при ее останове в ремонт. Сопротивление мельницы после выхолащивания не должно превышать значения, определенного на основании опыта эксплуатации.

В схемах с газовой сушкой взрывоопасных топлив выхолащивание мельницы производите холодными дымовыми газами для системы на рисунке Г.4 и дымовыми газами с присадкой холодного воздуха для системы на рисунке Г.2, поддерживая содержание кислорода за MB на уровне не более 16 %.

Не допускайте при выхолащивании мельницы повышения температуры за ней выше значений как в Г.2.3.3.

Следите при выхолащивании мельницы за температурой подшипников мельницы и MB, а в схемах с транспортированием пыли с помощью MB (рисунки Г.2 - Г.4) - также за поддержанием требуемого давления в коробе первичного воздуха.

Г.6.1.5 Обстучите мигалки на течке сырого угля, течках возврата из сепаратора, а также под циклоном.

Г.6.1.6 Отключите электродвигатель мельницы, а у мельниц Ш-50 и Ш-50А также возбудитель электродвигателя.

В соответствии с требованиями завода-изготовителя во избежание изгиба нагретого барабана мельницы выхолощенную мельницу производительностью 25 т/ч и более необходимо вращать от вспомогательного привода при включенном гидроподпоре подшипников до полного остывания барабана (при наличии этого привода и гидроподпора).

Г.6.1.7 Закройте после останова мельницы шиберы М-8 (рисунки Г.1 и Г.5) и М-2 (рисунки Г.2 - Г.4) в трубопроводе рециркуляции сушильного агента, а также клапаны В-12 (рисунки Г.1, Г.3 и Г.5), В-8 (рисунок Г.2) и В-1 (рисунок Г.4) в трубопроводе отсоса водяных паров из бункера пыли.

Г.6.1.8 Произведите в системах с транспортированием пыли горячим воздухом от вентилятора горячего дутья и высокой концентрации (рисунки Г.1 и Г.5) следующие операции:

- закройте шибер М-1 на стороне всасывания MB и шиберы В-1 и В-2 на подводе горячего воздуха к мельнице и остановите электродвигатель MB (шибер присадки холодного воздуха перед мельницей ПХВ-1 оставьте открытым);

- закройте шиберы М-2 и М-3 на стороне нагнетания MB и откройте атмосферный клапан, а также шиберы В-7 и В-9 на воздуховоде подачи воздуха для охлаждения сбросных горелок;

- переведите MB в системах с транспортированием пыли сушильным агентом с помощью MB на работу на горячем воздухе, для чего откройте шиберы В-5, В-6 и ПХВ-2 на трубопроводе подвода горячего воздуха к MB (байпасе системы пылеприготовления), закройте шиберы М-1 на стороне всасывания MB, В-2 и В-3 на рисунках Г.2 и Г.4, В-1 и В-2 на рисунке Г.3 на подводе сушильного агента к мельнице и откройте присадку холодного воздуха перед мельницей ПХВ-1; дополнительно закройте в системе на рисунке Г.2 шибер В-1 перед камерой смешения, а в системе на рисунке Г.4 закройте шиберы Г-1 и Г-2.

Следите при этом за поддержанием необходимого давления в коробе первичного воздуха и особенно тщательно за температурой подшипников MB.

Г.6.1.9 Закройте при останове системы пылеприготовления на срок более чем от 3 до 4 ч (уточните по месту) клапан на линии отсоса влаги из бункера пыли.

При наличии дистанционного привода у этого клапана закрывайте клапан при каждом останове системы пылеприготовления.

Г.6.1.10 Отключите перед остановом MB в системах с транспортированием пыли с помощью MB (рисунки Г.2 - Г.4) соответствующие питатели пыли и в течение от 2 до 3 минут включительно продуйте пылепроводы (при наличии факела в топке).

Закройте после останова MB шибер В-5, а шиберы В-6 и ПХВ-2 оставьте открытыми для охлаждения горелок.

Г.6.1.11 Закройте при останове питателя пыли в ремонт отсечной шибер, сработайте пыль из корпуса питателя, а затем остановите электродвигатель, снимите с него напряжение и прикройте наполовину шибер на соответствующем пылепроводе для охлаждения неработающей горелки.

Г.6.1.12 Установите при останове реверсивного шнека перекидной шибер (рисунок Г.1) под циклоном на подачу пыли в бункер и в течение 5 минут спустите в бункер пыли оставшуюся в шнеке пыль; выключите электродвигатель шнека и закройте шиберы на течке под шнеком М-5 и на трубопроводе отсоса влаги из шнека.

Г.6.1.13 Вывесите предупредительные плакаты при останове оборудования системы пылеприготовления в ремонт и дайте заявку в электроцех и цех тепловой автоматике и измерений на разборку электрических схем электродвигателей и приводов дистанционного управления шиберами и клапанами и отключение схем управления электрическими защитами и сигнализацией, КИП, технологических защит, блокировок и сигнализации по системе пылеприготовления и системе маслоснабжения. Подайте заявку на разборку указанных выше схем также при останове системы пылеприготовления в связи с переводом котла на другой вид топлива.

Г.6.2 Останов масляной системы

Г.6.2.1 Останавливайте маслостанцию только после останова всех систем пылеприготовления, которые она обслуживает. Выполните при останове масляной системы мельниц следующие операции:

- отключите после снятия блокировки работающий масляный насос и автоматическую сигнальную аппаратуру;

- спустите масло из напорного маслопровода в бак-отстойник, для чего откройте вентиль на перемычке между напорным и сливным маслопроводами;

- закройте пробковые краны на сторонах всасывания и нагнетания масляных насосов;

- закройте вентили перед фильтрами и за ними;

- закройте вентили на входе масла в маслоохладитель и выходе из него;

- закройте вентили напорных маслопроводов на выходе из маслонасосной;

- прекратите подачу воды на маслоохладитель;

- сообщите дежурному электрику о необходимости разобрать электрическую схему электродвигателей масляных насосов.

Г.6.2.2 Выполните при длительном останове одной из систем пылеприготовления следующие операции:

- прекратите подачу масла от станции жидкой смазки к останавливаемой системе пылеприготовления, закрыв вентиль на отводе маслопровода к этой системе;

- закройте вентиль подачи воды на охлаждение подшипников механизмов отключенной, системы пылеприготовления. В зимних условиях во избежание замерзания вентиль подачи воды оставьте открытым.

Г.7 Действия по устранению характерных нарушений в работе системы пылеприготовления

Г.7.1 Остановите немедленно все механизмы системы пылеприготовления при:

- аварийном останове котла;

- аварийном останове MB;

- взрыве пыли в системе пылеприготовления.

Г.7.2 Остановите немедленно отдельные механизмы системы пылеприготовления:

Г.7.2.1 Питатель сырого угля, мельницу, MB при:

- появлении в этих механизмах ненормального стука, задеваний или сильной вибрации, угрожающей их поломкой;

- появлении запаха дыма, искр из электродвигателей привода указанных механизмов или нагреве статора свыше 100 °С (уточните по месту в соответствии с инструкцией завода-изготовителя).

Г.7.2.2 Питатель сырого угля при:

- забивании топливом течки сырого угля от ПСУ к мельнице;

- повреждении или обрыве ленты у ленточного ПСУ и цепи у скребкового ПСУ;

- перегрузке мельницы топливом, пылении горловин мельницы;

- перегрузке электродвигателя ПСУ, вызванной застреванием поступающих с топливом посторонних предметов под ножом регулятора слоя топлива ПСУ, под цепями или скребками скребкового ПСУ, в шнеке шнекового ПСУ, между тарелкой и корпусом дискового ПСУ;

- переполнении бункера пыли, если нельзя передать пыль на соседние котлы.

Г.7.2.3 Мельницу при:

- прекращении подачи масла в коренные подшипники мельницы или в подшипники электродвигателя ее привода;

- нагреве коренных подшипников мельницы или подшипников ее электродвигателя свыше 70 °С (уточните по месту), а также при появлении дыма из указанных подшипников.

Г.7.2.4 Мельничный вентилятор при нагреве подшипников MB или его электродвигателя свыше 70 °С (уточните по месту) или появлении дыма из подшипников.

Г.7.3 При аварийном останове MB:

- остановите немедленно мельницу и ПСУ, а в системе с транспортированием пыли сушильным агентом с помощью MB (рисунки Г.2 - Г.4) также соответствующие питатели пыли, если не сработала блокировка, останавливающая эти механизмы;

- закройте шиберы: М-1 на стороне всасывания MB; M-2 (рисунки Г.2 - Г.4), М-8 (рисунки Г.1 и Г.5) на линии рециркуляции сушильного агента к мельнице; В-1, В-2 и В-3 (рисунки Г.2 и Г.4); В-1, В-2 (рисунки Г.1, Г.3 и Г.5); Г-1 и Г-2 (рисунок Г.4) на подводах сушильного агента к мельнице, а для систем с транспортированием пыли с помощью вентилятора горячего дутья и высокой концентрации (рисунки Г.1 и Г.5) также М-2 и М-3 на стороне нагнетания MB;

- откройте присадку холодного, воздуха (атмосферный клапан) ПХВ-1 перед мельницей и шиберы В-6 и ПХВ-2 (рисунки Г.2 - Г.4), атмосферный клапан (рисунки Г.1 и Г.5) и шиберы В-7 и В-9 (рисунки Г.1 и Г.5) для охлаждения сбросных горелок;

- остановите дымосос рециркуляции газов, если он работает на одну систему, и закройте его направляющий аппарат.

Г.7.4 У остановившегося из-за исчезновения напряжения электродвигателя мельницы или MB сквитируйте ключ включения. Не пускайте отключившийся механизм до выявления причины его останова. Пуск установки, отключенной электрической защитой или из-за неполадки электродвигателя, разрешается только начальником смены электростанции. В случае необходимости проведения ремонтных работ на отключившемся механизме прекратите подачу на его смазываемые точки масла и воды.

В зимнее время подачу воды не отключайте во избежание размораживания трубопроводов воды.

Г.7.5 Проверьте при повышении температуры подшипников MB поступление охлаждающей воды в змеевик картера подшипников (по наличию слива из змеевика) и при возможности увеличьте подачу воды; проверьте в картере подшипников наличие масла и при необходимости долейте его.

Г.7.6 Увеличьте при возрастании температуры коренных подшипников мельницы подачу на них масла и охлаждающей воды; если указанной меры окажется недостаточно, понизьте температуру сушильного агента на входе в мельницу.

Г.7.7 Остановите ПСУ при обнаружении перегрузки мельницы, угрожающей ей завалом.

Если в течение от 3 до 5 минут включительно после останова ПСУ мельница не начнет выхолащиваться, остановите ее (при отсутствии протока сушильного агента через работающую мельницу он может появиться после останова мельницы и осаждения пыли в барабане). Если после останова мельницы появится разрежение перед ней, провентилируйте остановленную мельницу в течение от 3 до 5 минут включительно, а затем включите ее и продолжайте выхолащивание.

Наблюдайте при выхолащивании мельницы за температурой сушильного агента за мельницей (не должна превышать допустимого предела) и за содержанием кислорода за MB.

При снижении сопротивления мельницы до рабочего значения вновь включите ПСУ и восстановите нормальный режим системы пылеприготовления.

Примечание - Признаками перегрузки мельницы являются:

- резкое увеличение сопротивления мельницы и уменьшение разрежения перед ней, а также давления на стороне нагнетания MB;

- пыление через входную или выходную горловины мельницы; уменьшение тока электродвигателя MB.

Г.7.8 При обнаружении забивания сепаратора остановите ПСУ, поддерживая температуру за мельницей в допустимых пределах; простучите течки возврата, разработайте мигалки на них и спустите возврат в мельницу. Если эти меры не помогут, остановите систему пылеприготовления, откройте люк в сепараторе, осмотрите сепаратор и очистите его от пыли и посторонних предметов.

Примечание - Признаки забивания сепаратора:

- уменьшение сопротивления мельницы при нормальном поступлении в нее топлива;

- прекращение работы мигалок на течках возврата и остывание течек возврата;

- угрубление пыли (увеличение остатка на ситах).

Г.7.9 При обнаружении забивания циклона остановите немедленно мельницу и закройте шиберы на подводе сушильного агента к ней; в системе с транспортированием пыли с помощью MB (рисунки Г.2 - Г.5) переведите MB на работу по обводному трубопроводу мельницы (байпасу); закройте шибер на стороне всасывания MB; проверьте мигалки и сетки на течке под циклоном; разработайте мигалки под циклоном, закрепите их в открытом положении; обстучите течку под циклоном, спустите пыль из циклона в бункер пыли, очистите сетку и вновь пустите систему пылеприготовления.

В системе с транспортированием пыли горячим воздухом, а также высокой концентрации при забивании циклона дополнительно остановите MB и подайте воздух для охлаждения сбросных горелок.

Примечание - Признаки забивания циклона:

- прекращение работы мигалок на течке пыли под циклоном;

- увеличение тока электродвигателей MB;

- резкий скачок нагрузки котла или повышение параметров пара из-за увеличения подачи пыли помимо питателей.

Г.7.10 Выполните при взрыве в системе пылеприготовления следующие операции:

- остановите мельницу и ПСУ, а для систем с транспортированием пыли с помощью вентилятора горячего дутья и высокой концентрации (рисунки Г.1 и Г.5) также MB;

- закройте шиберы; М-1 на стороне всасывания MB; M-2 (рисунки Г.3 и Г.4); М-8 (рисунки Г.1 и Г.5) - на линии рециркуляции сушильного агента к мельнице; В-1, В-2 и В-3 (рисунок Г.2); В-1 и В-2 (рисунки Г.1, Г.3 и Г.5); В-2 и В-3 (рисунок Г.4); Г-1 и Г-2 (рисунок Г.4) на подводе сушильного агента к мельнице, а для систем с транспортированием пыли с помощью вентилятора горячего дутья и высокой концентрации (рисунки Г.1 и Г.5) - также М-2 и М-3 на стороне нагнетания MB;

- остановите дымососы, если они работают на одну систему пылеприготовления, и закройте их направляющие аппараты (рисунок Г.4);

- откройте присадку холодного воздуха (атмосферный клапан) ПХВ-1 перед мельницей и шиберы В-6 и ПХВ-2 (рисунки Г.2 - Г.4), атмосферный клапан и шиберы В-7 и В-9 (рисунки Г.1 и Г.5) для охлаждения сбросных горелок;

- подайте пар в систему пылеприготовления для ликвидации очагов горения, засыпьте наружные очаги горения песком (в крайних случаях разрешается их заливка распыленной водой);

- замените после полной ликвидации очагов горения все поврежденные диафрагмы предохранительных клапанов.

Пуск в работу системы пылеприготовления, на которой произошел взрыв, возможен только при полной уверенности в ликвидации причин взрыва, очагов горения и восстановления клапанов и поврежденных элементов.

Примечание - Признаки взрыва в системе пылеприготовления:

- сильный хлопок;

- выбивание пыли и газов из предохранительных клапанов;

- резкое и значительное повышение температуры за мельницей (по показаниям регистрирующих приборов).

Г.7.11 При обнаружении признаков загорания пыли в бункере выполните следующее:

- на работающем котле увеличьте подачу пыли в бункер, подняв уровень в нем до наибольшего, и продолжайте расходовать пыль в топку котла; примите меры для ускоренной сработай тлеющей пыли, для чего увеличьте нагрузку на котле, если она ниже номинальной; исключите возможность попадания в бункер воздуха через течки неработающих питателей пыли и влагоотсосную трубу неработающей системы пылеприготовления;

- на остановленном котле выявите причины загорания пыли и примите меры к их устранению (ввод углекислоты, азота и другие инертные газы). Если это не помогает, произведите сработку пыли в канал гидрозолоудаления или примите меры к пуску котла.

Примечание - Признаки загорания пыли в бункере:

- повышение температуры в бункере свыше пределов от 70 до 130 °С включительно (уточните по месту в зависимости от марки топлива, схемы сушки, допустимой температуры за мельницей и других условий эксплуатации);

- запах гари.

Библиография

[1] СО 153-34.20.501-2003 Правила технической эксплуатации электрических станций и сетей Российской федерации. М.: СПО ОРГРЭС, 2003

Ключевые слова: стандарт организации, организация эксплуатации, техническое обслуживание, нормы, требования безопасности, система пылеприготовления, пылеприготовительная установка, мельницы углеразмольные

Руководитель организации-разработчика

ОАО «ВТИ»

Генеральный директор

Г.Г. Ольховский

Руководитель разработки

Заместитель генерального директора

В.Ф. Резинских

Исполнитель

Заведующий сектором

М.Н. Майданик

Руководитель организации-соисполнителя

Красноярский филиал

ОАО «Сибирский ЭНТЦ»

Директор

М.С. Пронин

Руководитель разработки

Директор

М.С. Пронин

Исполнители:

Заведующий лабораторией

А.И. Новиков

Старший научный сотрудник

Л.М. Костина

 



© 2013 Ёшкин Кот :-)