Информационная система
«Ёшкин Кот»

XXXecatmenu

ФЕДЕРАЛЬНОЕ АГЕНТСТВО
ПО ТЕХНИЧЕСКОМУ РЕГУЛИРОВАНИЮ И МЕТРОЛОГИИ

НАЦИОНАЛЬНЫЙ
СТАНДАРТ
РОССИЙСКОЙ
ФЕДЕРАЦИИ

ГОСТ Р
53805-
2010

Автомобильные транспортные средства

РЫЧАГИ РЕГУЛИРОВОЧНЫЕ БАРАБАННЫХ
ТОРМОЗНЫХ МЕХАНИЗМОВ ГРУЗОВЫХ
АВТОМОБИЛЕЙ И АВТОБУСОВ

Технические требования и методы испытаний

Москва
Стандартинформ
2010

Предисловие

Цели и принципы стандартизации в Российской Федерации установлены Федеральным законом от 27 декабря 2002 г. № 184-ФЗ «О техническом регулировании», а правила применения национальных стандартов Российской Федерации - ГОСТ Р 1.0-2004 «Стандартизация в Российской Федерации. Основные положения»

Сведения о стандарте

1. РАЗРАБОТАН Федеральным государственным унитарным предприятием «Центральный ордена Трудового Красного Знамени научно-исследовательский автомобильный и автомоторный институт «НАМИ» (ФГУП «НАМИ»)

2. ВНЕСЕН Техническим комитетом по стандартизации ТК 56 «Дорожный транспорт»

3. УТВЕРЖДЕН И ВВЕДЕН В ДЕЙСТВИЕ Приказом Федерального агентства по техническому регулированию и метрологии от 7 июля 2010 г. № 133-ст

4. ВВЕДЕН ВПЕРВЫЕ

Информация об изменениях к настоящему стандарту публикуется в ежегодно издаваемом информационном указателе «Национальные стандарты», а текст изменений и поправок - в ежемесячно издаваемых информационных указателях «Национальные стандарты». В случае пересмотра (замены) или отмены настоящего стандарта соответствующее уведомление будет опубликовано в ежемесячно издаваемом информационном указателе «Национальные стандарты». Соответствующая информация, уведомление и тексты размещаются также в информационной системе общего пользования - на официальном сайте Федерального агентства по техническому регулированию и метрологии в сети Интернет

СОДЕРЖАНИЕ

НАЦИОНАЛЬНЫЙ СТАНДАРТ РОССИЙСКОЙ ФЕДЕРАЦИИ

Автомобильные транспортные средства

РЫЧАГИ РЕГУЛИРОВОЧНЫЕ БАРАБАННЫХ ТОРМОЗНЫХ МЕХАНИЗМОВ ГРУЗОВЫХ
АВТОМОБИЛЕЙ И АВТОБУСОВ

Технические требования и методы испытаний

Motor vehicles. Manual slack adjusters of drum brakes for trucks and buses.
Technical requirements and test methods

Дата введения - 2010-09-15

1. Область применения

Настоящий стандарт устанавливает технические требования к регулировочным рычагам барабанных тормозов автотранспортных средств с ручным регулированием зазора между барабаном и колодками, поставляемым в запасные части, и методы их испытаний.

2. Нормативные ссылки

В настоящем стандарте использованы ссылки на следующие стандарты:

ГОСТ Р 8.568-97 Государственная система обеспечения единства измерений. Аттестация испытательного оборудования. Основные положения

ГОСТ Р 41.13-2007 (Правила ЕЭК ООН № 13) Единообразные предписания, касающиеся транспортных средств категорий М, N и О в отношении торможения

ГОСТ Р 50779.30-95 Статистические методы. Приемочный контроль качества. Общие требования

ГОСТ Р 52849-2007 Автомобильные транспортные средства. Камеры тормозные пневматических приводов. Технические требования и методы испытаний

ГОСТ Р ИСО 2859-1-2007 Статистические методы. Процедуры выборочного контроля по альтернативному признаку. Часть 1. Планы выборочного контроля последовательных партий на основе приемлемого уровня качества

ГОСТ Р ИСО/ТО 8550-1-2007 Статистические методы. Руководство по выбору и применению систем статистического приемочного контроля дискретных единиц продукции в партиях. Часть 1 Общие требования

ГОСТ 9.308-85 Единая система защиты от коррозии и старения. Покрытия металлические и неметаллические неорганические. Методы ускоренных коррозионных испытаний

Примечание - При пользовании настоящим стандартом целесообразно проверить действие ссылочных стандартов и классификаторов в информационной системе общего пользования - на официальном сайте национального органа Российской Федерации по стандартизации в сети Интернет или по ежегодно издаваемому информационному указателю «Национальные стандарты», который опубликован по состоянию на 1 января текущего года, и по соответствующим ежемесячно издаваемым информационным указателям, опубликованным в текущем году. Если ссылочный документ заменен (изменен), то при пользовании настоящим стандартом следует руководствоваться замененным (измененным) документом. Если ссылочный документ отменен без замены, то положение, в котором дана ссылка на него, применяется в части, не затрагивающей эту ссылку.

3. Технические требования

3.1. Регулировочные рычаги должны соответствовать требованиям настоящего стандарта и конструкторской документации (КД), утвержденной в установленном порядке.

3.2. Регулировочные рычаги должны быть работоспособны.

3.3. Прочность регулировочных рычагов должна обеспечивать выполнение требований 5.2.1.2.7 ГОСТ Р 41.13.

3.3.1. Регулировочные рычаги должны выдерживать изгибающее усилие, величина которого должна быть не менее F = 3´Р, где:

Р - нормативное усилие на штоке тормозной камеры максимального типоразмера, используемого на автотранспортном средстве, для которого предназначен испытываемый регулировочный рычаг, соответствующее номинальному давлению, предписываемому ГОСТ Р 52849.

3.4. Регулировочные рычаги должны быть стойкими к воздействию солей при испытаниях по ГОСТ 9.308.

3.5. Регулировочные рычаги должны быть долговечными в условиях циклического нагружения.

3.6. Внешний вид регулировочных рычагов должен соответствовать КД или образцу-эталону.

4. Правила приемки

4.1. Изготовленные регулировочные рычаги барабанных тормозов (далее в разделе - изделия) до их отгрузки, передачи или продажи потребителю подлежат приемке с целью удостоверения их годности для использования в соответствии с требованиями, установленными в настоящем стандарте и в КД, договорах, контрактах (далее в разделе - нормативная и техническая документация).

4.2. Для контроля качества и приемки изготовленные изделия подвергают:

- приемке (контролю) службой технического контроля (СТК);

- периодическим испытаниям;

- типовым испытаниям (при внесении предлагаемых изменений в конструкцию выпускаемых изделий и (или) технологию их изготовления).

4.3. Приемка СТК и периодические испытания в совокупности должны обеспечивать достоверную проверку всех свойств выпускаемых изделий, подлежащих контролю на соответствие требованиям нормативной и технической документации.

4.4. Применяемые при испытаниях и контроле средства измерений и контроля должны быть поверены, а испытательное оборудование - аттестовано в установленном порядке в соответствии с ГОСТ Р 8.568.

4.5. Результаты испытаний и контроля единиц изделия считают положительными, а единицы изделия - выдержавшими испытания, если они испытаны в объеме и последовательности, которые установлены для данной категории испытаний (контроля), а результаты подтверждают соответствие испытуемых единиц изделия заданным требованиям.

4.6. Результаты испытаний единиц изделия считают отрицательными, а единицы изделия - не выдержавшими испытания, если по результатам испытаний будет установлено несоответствие единицы изделия хотя бы одному требованию, установленному в нормативной и технической документации для проводимой категории испытаний.

4.7. Приемка изделий службой технического контроля

4.7.1. Изготовленные изделия должны быть приняты СТК предприятия-изготовителя согласно технологическому процессу и должны иметь ее приемочное клеймо. Места и тип клеймения должны быть установлены в КД.

Объем (состав необходимых проверок) и последовательность проведения контроля, а также места и тип клеймения СТК должны быть установлены в технической документации предприятия-разработчика.

4.7.2. Основанием для принятия решения о приемке единиц (партий) изделий СТК являются положительные результаты предшествующих периодических испытаний, проведенных в установленные сроки.

4.7.3. Правила отбора образцов:

а) предъявление изделий на приемку СТК осуществляют поштучно либо партиями, что отражают в предъявительском документе, оформляемом в порядке, принятом у изготовителя. Партией считают изделия одного варианта конструкции (модели, модификации, вариантного исполнения, комплектации), изготовленные за одну смену;

б) образцы изделий, предъявляемые на приемку СТК, должны быть укомплектованы в соответствии с требованиями нормативной и технической документации;

в) в процессе контроля СТК не допускается подстраивать (регулировать) образцы изделий и заменять входящие в них сменные элементы, если это не предусмотрено специальными требованиями нормативной и технической документации.

4.7.4. Приемку СТК проводят методом сплошного или выборочного контроля.

При выборочном контроле рекомендуется применять процедуры выборочного контроля по ГОСТ Р ИСО 2859-1. При этом значения объема выборки и приемлемого уровня качества (AQL) должны назначаться из установленных в ГОСТ Р ИСО 2859-1 для одноступенчатого плана при нормальном контроле с приемочным числом Ас = 0 и браковочным числом Re = 1.

Принятый метод контроля (сплошной или выборочный), объем выборки и приемлемый уровень качества (AQL) должны быть установлены в технических условиях на изделие.

4.7.5. Приемку изделий СТК приостанавливают в следующих случаях:

- изделия не выдержали периодических испытаний;

- обнаружены нарушения выполнения технологического процесса (в том числе обнаружены несоответствия установленным требованиям средств испытаний и контроля), приводящие к неисправимым дефектам изделий.

Примечания

1. Приемку изделий могут приостанавливать также в других случаях по усмотрению предприятия-изготовителя, что рекомендуется отражать в документации, действующей у предприятия-изготовителя, в соответствии с действующей на предприятии системой менеджмента качества.

2. В случае приостановки приемки изделий изготовление и проводимую техническую проверку (или приемку) деталей и сборочных единиц, не подлежащих самостоятельной поставке, разрешается продолжать (кроме тех, дефекты которых являются причиной приостановки приемки).

4.7.6. Решение о возобновлении приемки изделий СТК принимает руководство предприятия-изготовителя после устранения причин приостановки приемки и оформления соответствующего документа.

Если приемка изделий была приостановлена вследствие отрицательных результатов периодических испытаний, то решение о возобновлении приемки принимают после выявления причин возникновения дефектов, их устранения и получения положительных результатов повторно проводимых периодических испытаний.

4.7.7. Изделия, принятые СТК, подлежат отгрузке или передаче на ответственное хранение. Изготовитель должен обеспечить сохранение качества изделий после приемки СТК вплоть до доставки к месту назначения, если это определено условиями договора (контракта).

4.8. Правила проведения периодических испытаний

4.8.1. Периодические испытания проводят для периодического подтверждения качества изделий и стабильности технологического процесса в установленный период с целью подтверждения возможности продолжения изготовления изделий по действующей конструкторской и технологической документации и продолжения ее приемки СТК.

Объем (состав необходимых проверок) и последовательность проведения контроля, а также места и тип клеймения СТК должны быть установлены в технической документации предприятия-разработчика.

4.8.2. Периодические испытания проводит изготовитель с привлечением, при необходимости, других заинтересованных сторон, в том числе представителей потребителя.

4.8.3. Периодические испытания проводят не реже одного раза в квартал.

Календарные сроки проведения периодических испытаний устанавливают в графиках, которые составляет предприятие-изготовитель.

В графике указывают: место и сроки проведения испытаний, сроки оформления документации по результатам испытаний.

Графики оформляют в соответствии с порядком, принятым на предприятии-изготовителе.

4.8.4. Правила отбора образцов:

а) образцы изделий для проведения очередных периодических испытаний отбирают, как правило, из числа единиц изделий, изготовленных за одну смену производственного цикла, предшествующую очередным испытаниям, и прошедших приемку СТК;

б) образцы изделий, предъявляемые на периодические испытания, должны быть укомплектованы в соответствии с требованиями нормативной и технической документации;

в) в процессе периодических испытаний не допускается подстраивать (регулировать) образцы изделий и заменять входящие в них сменные элементы, если это не предусмотрено специальными требованиями нормативной и технической документации;

г) отбор изделий оформляют документально в порядке, установленном предприятием-изготовителем.

4.8.5. Периодические испытания проводят методом выборочного контроля. Система, схема и план приемочного контроля, включая объем выборки, устанавливаются предприятием-изготовителем в технических условиях на изделие.

Рекомендуемые системы, схемы и планы статистического приемочного выборочного контроля - по ГОСТ Р ИСО/ТО 8550-1. Общие требования к организации и нормативно-методическому обеспечению статистического приемочного контроля - по ГОСТ Р 50779.30.

4.8.6. При получении положительных результатов периодических испытаний качество изделий контролируемого периода считается подтвержденным по показателям, проверяемым в составе периодических испытаний. Также считается подтвержденной возможность дальнейшего изготовления и приемки изделий (по той же документации, по которой изготовлены изделия, подвергнутые данным периодическим испытаниям) до получения результатов очередных (последующих) периодических испытаний, проведенных с соблюдением установленных норм периодичности.

Примечание - При условии применения единого технологического процесса для изготовления вариантов конструкций (комплектаций и вариантных исполнений) базовой модели (или модификации базовой модели) изделия допускается положительные результаты периодических испытаний образцов базовой модели (или модификации базовой модели) распространять на совокупность вариантов конструкций (комплектации и вариантные исполнения).

4.8.7. Если образцы изделий не выдержали периодических испытаний, то приемку изделий СТК и их отгрузку потребителю приостанавливают до выявления причин возникновения дефектов, их устранения и получения положительных результатов повторных периодических испытаний.

Предприятие-изготовитель должен проанализировать результаты периодических испытаний для выявления причин появления и характера дефектов, составить перечень дефектов и мероприятий по устранению дефектов и (или) причин их появления, который оформляют в порядке, принятом на предприятии-изготовителе.

4.8.8. Если данные проведенного анализа показывают, что обнаруженные дефекты существенно снижают технические характеристики изделий, а также могут привести к причинению вреда для жизни, здоровья и имущества граждан и окружающей среды, то все принятые (но неотгруженные) изделия, в которых могут быть подобные дефекты, возвращают на доработку (замену), а по всем принятым и отгруженным изделиям, в которых могут быть подобные дефекты, принимают решение, не противоречащее интересам потребителей.

4.8.9. Повторные периодические испытания проводят в полном объеме периодических испытаний на доработанных (или вновь изготовленных) образцах изделий после устранения дефектов.

К моменту проведения повторных периодических испытаний должны быть представлены материалы, подтверждающие устранение дефектов, выявленных при периодических испытаниях, и принятие мер по их предупреждению.

В технически обоснованных случаях в зависимости от характера дефектов повторные периодические испытания допускается проводить по сокращенной программе, включая только те виды испытаний, при проведении которых обнаружено несоответствие изделий установленным требованиям, а также виды, по которым испытания не проводились.

4.8.10. При положительных результатах повторных периодических испытаний приемку изделий СТК и их отгрузку потребителю возобновляют.

4.8.11. При получении отрицательных результатов повторных периодических испытаний предприятие-изготовитель принимает решение о прекращении приемки изделий, изготовленных по той же документации, по которой изготовлялись единицы изделий, не подтвердившие качество изделий за установленный период, и о принимаемых мерах по отгруженным (реализованным) изделиям.

В случае невозможности устранения изготовителем причин выпуска изделий с дефектами, которые могут принести вред здоровью и имуществу граждан и окружающей среде, такие конструкции изделий снимаются с производства.

4.8.12. Решение об использовании образцов изделий, подвергавшихся периодическим испытаниям, принимают руководство предприятия-изготовителя и потребитель на взаимоприемлемых условиях, руководствуясь условиями договоров на поставку изделий и рекомендациями соответствующих правовых актов.

4.9. Правила проведения типовых испытаний

4.9.1. Типовые испытания изделий проводят с целью оценки эффективности и целесообразности предлагаемых изменений в конструкции или технологии изготовления, которые могут повлиять на технические характеристики изделий, связанные с безопасностью для жизни, здоровья или имущества граждан или на соблюдение условий охраны окружающей среды, либо могут повлиять на эксплуатацию изделий, в том числе на важнейшие потребительские свойства изделий.

4.9.2. Необходимость внесения изменений в конструкцию изделий или технологию их изготовления и проведения типовых испытаний определяет держатель подлинников КД на изделия (далее - разработчик изделия) с учетом действия и защиты авторского права.

4.9.3. Типовые испытания проводит предприятие-изготовитель или по договору с ним и при его участии испытательная (сторонняя) организация с участием, при необходимости, представителей разработчика изделия, потребителя, природоохранных органов и других заинтересованных сторон.

4.9.4. Типовые испытания проводят по разработанным разработчиком изделия программе и методикам, которые в основном должны содержать:

- необходимые проверки из состава периодических испытаний;

- требования по количеству образцов, необходимых для проведения типовых испытаний;

- указание об использовании образцов, подвергнутых типовым испытаниям.

В программу типовых испытаний, при необходимости, могут быть включены также специальные испытания (например, сравнительные испытания образцов изделий, изготовленных без учета и с учетом предлагаемых изменений, а также испытания из состава проводившихся испытаний опытных образцов изделий или испытаний, проводившихся при постановке изделий на производство).

Объем испытаний и контроля, включаемых в программу, должен быть достаточным для оценки влияния вносимых изменений на характеристики изделий, в том числе на ее безопасность, на взаимозаменяемость и совместимость, на ремонтопригодность, на производственную и эксплуатационную технологичность, а также на утилизируемость изделий.

4.9.5. Программу и методики (при отсутствии стандартизованных) типовых испытаний разрабатывает разработчик изделий, который в установленном порядке утверждает конструкторскую или технологическую документацию на изделия.

4.9.6. Типовые испытания проводят на образцах изделий, изготовленных с внесением в конструкцию или технологию изготовления предлагаемых изменений.

4.9.7. Результаты типовых испытаний считают положительными, если полученные фактические данные по всем видам проверок, включенных в программу типовых испытаний, свидетельствуют о достижении требуемых значений показателей изделий (технологического процесса), оговоренных в программе и методике, и достаточны для оценки эффективности (целесообразности) внесения изменений.

4.9.8. Если эффективность и целесообразность предлагаемых изменений конструкции (технологии изготовления) подтверждены положительными результатами типовых испытаний, то эти изменения вносят в документацию на изделия в соответствии с установленным порядком.

4.9.9. Если эффективность и целесообразность предлагаемых изменений не подтверждены положительными результатами типовых испытаний, то эти изменения в соответствующую утвержденную и действующую документацию на продукцию не вносят и принимают решение по использованию образцов изделий, изготовленных для проведения типовых испытаний (в соответствии с требованиями программы испытаний).

4.10. Отчетность о результатах испытаний

4.10.1. Результаты каждого испытания, проведенного испытательной лабораторией (далее - лаборатория), должны быть оформлены точно, четко, недвусмысленно и объективно.

Примечание - Под «испытательной лабораторией» в настоящем стандарте подразумеваются предприятия (организации), центры, специальные лаборатории, подразделения предприятий (организаций), являющиеся первой, второй или третьей стороной и осуществляющие испытания, которые, в том числе, составляют часть контроля при производстве и сертификации продукции.

4.10.2. Результаты испытаний оформляют протоколом испытаний, в котором указывают всю информацию, необходимую для толкования результатов испытаний.

4.10.3. Каждый протокол испытаний должен содержать, по крайней мере, следующую информацию (если лаборатория не имеет обоснованных причин не указывать ту или иную информацию):

а) наименование документа - «Протокол испытаний»;

б) вид испытаний (периодические, типовые и др.);

в) уникальную идентификацию протокола испытаний (например, серийный номер), а также идентификацию на каждой странице, чтобы обеспечить признание страницы как части протокола испытаний;

г) нумерацию страниц с указанием общего числа страниц;

д) наименование и адрес лаборатории, а также место проведения испытаний, если оно не находится по адресу лаборатории;

е) наименование и адрес изготовителя испытываемого изделия;

ж) идентификацию используемого метода;

з) описание, состояние и недвусмысленную идентификацию испытываемого изделия (модель, тип, марка и т.п.);

и) дату получения изделия, подлежащего испытаниям, если это существенно для достоверности и применения результатов, а также дату проведения испытаний;

к) ссылку на метод отбора образцов, используемый лабораторией, если он имеет отношение к достоверности и применению результатов;

л) результаты испытаний с указанием (при необходимости) единиц измерений;

м) имя, должность и подпись лица, утвердившего протокол испытаний;

н) при необходимости указание на то, что результаты относятся только к изделиям, прошедшим испытания.

Примечание - Лабораториям рекомендуется делать запись в протоколе испытаний или прилагать заявление о том, что протокол испытаний не может быть полностью или частично воспроизведен без письменного разрешения лаборатории.

4.10.4. В дополнение к требованиям, перечисленным в 4.10.3, протоколы испытаний должны, если это необходимо для толкования результатов испытаний, включать следующее:

а) отклонения, дополнения или исключения, относящиеся к методу испытаний, а также информацию о специальных условиях испытаний, таких как условия окружающей среды;

б) указание на соответствие/несоответствие требованиям и/или техническим условиям;

в) мнения и толкования, которые могут, в частности, касаться следующего:

- мнения о соответствии/несоответствии результатов требованиям;

- рекомендаций по использованию результатов;

- мнения по улучшению образцов.

4.10.5. В дополнение к требованиям, приведенным в 4.10.3 и 4.10.4, протоколы испытаний, содержащие результаты отбора образцов, должны включать, если это необходимо для толкования результатов испытаний, следующее:

- дату отбора образцов;

- однозначную идентификацию изделий, образцы которых отбирались (включая, при необходимости, наименование производителя, обозначение модели или типа и серийные номера);

- место, где проводился отбор образцов, включая любые графики, эскизы или фотографии;

- ссылку на план и процедуры отбора образцов;

- подробное описание условий окружающей среды во время проведения отбора образцов, которые могут повлиять на истолкование результатов испытаний;

- ссылку на любой стандарт или другую нормативную и техническую документацию, касающиеся метода или процедуры отбора образцов, а также отклонения, дополнения или исключения из соответствующей нормативной и технической документации.

4.10.6. Рекомендуемая форма протокола испытаний приведена в приложении Б (форма Б.1).

4.10.7. По результатам испытаний (периодических, типовых и др.) также оформляют акт. Рекомендуемые формы актов испытаний приведены в приложении Б (формы Б.2 и Б.3).

5. Методы испытаний

5.1. Общие положения

5.1.1. Испытания проводят по методике предприятия-изготовителя в соответствии с требованиями настоящего стандарта.

5.1.2. Стендовое оборудование должно позволять осуществлять нагружение регулировочного рычага путем приложения тангенциального усилия к нему, и быть снабжено измерительными приборами для определения усилия с погрешностью, не превышающей 3 %.

5.1.3. Испытания проводят при температуре окружающей среды (20 ± 10) °C.

5.1.4. Проверка качества изготовления регулировочного рычага включает:

- визуальный контроль;

- определение соответствия геометрических параметров регулировочного рычага КД предприятия-изготовителя;

- определение работоспособности регулировочного рычага;

- определение статической прочности регулировочного рычага;

- определение стойкости регулировочного рычага к воздействию солей;

- определение долговечности регулировочного рычага в условиях циклического нагружения.

5.2. Визуальный контроль

При визуальном контроле определяется соответствие внешнего вида регулировочного рычага требованиям КД или образцу-эталону.

5.3. Определение соответствия геометрических параметров регулировочного рычага

Проверка заключается в измерении присоединительных параметров регулировочного рычага стандартным мерительным инструментом, обеспечивающим погрешность измерения не более ± 3 %.

5.3.1. Допускается проверка присоединительных параметров регулировочного рычага методом контрольной сборки с сопрягаемыми деталями, при этом сборка должна осуществляться без значительных усилий.

5.4. Определение работоспособности регулировочного рычага

5.4.1. Проверка работоспособности регулировочного механизма

Повернуть гаечным ключом регулировочный вал на достаточное число оборотов так, чтобы червячное колесо повернулось не менее чем на один оборот в каждом направлении. При этом крутящий момент не должен превышать 8,5 Н · м.

5.4.2. Определение свободного хода

Закрепить регулировочный рычаг в приспособлении, исключающем перемещение червячного колеса.

Измерить свободный ход рычага на плече 150 мм от центра вращения рычага при приложении к нему крутящего момента (6,8 · 0,5) Н · м в каждом направлении и замерить свободный ход (см. рисунок 1).

Повернуть регулировочный вал так, чтобы червячное колесо повернулось на новую позицию на 90° от предыдущего положения и провести проверку свободного хода. Повторить процедуру 4 раза. Свободный ход при всех измерениях должен быть не больше 6 мм.

Измерения проводят на любом плече, но результаты измерения приводят к 150 мм от центра вращения рычага.

Рисунок 1

5.5. Испытания на стойкость к воздействию солей

5.5.1. Образцы выдерживают в течение 96 часов в камере простого соляного тумана по ГОСТ 9.308, после чего они должны быть высушены на воздухе при температуре (20 ± 10) °C в течение 72 ч. После обработки образцы подвергают испытанию по 5.4.

5.5.1.1. Допускается при испытаниях на стойкость к воздействию солей погружать образцы в ванну с 50 % раствором смеси солей, состоящей из 30 % хлористой меди, 20 % хлористого натрия, 20 % хлористого калия и 30 % хлористого цинка и выдерживать в течение 48 ч при температуре 60 °C, после чего они должны быть высушены на воздухе в течение 72 ч.

5.6. Определение прочности регулировочного рычага

5.6.1. К регулировочному рычагу прикладывают усилие (см. рисунок 2), равное указанному в 3.3.1. Нарастание усилия на рычаге должно происходить со скоростью не более 150 Н/с.

Рисунок 2

5.6.2. Время выдержки рычага под нагрузкой должно составлять не менее 2 мин.

5.6.3. После проведения испытания механические повреждения и изменения геометрических параметров регулировочного рычага не допускаются.

5.7. Определение долговечности регулировочного рычага в условиях циклического нагружен ия

5.7.1. Подготовка к испытаниям

5.7.1.1. Установить регулировочный рычаг на испытательный стенд, рекомендуемая схема которого представлена на рисунке А.1 приложения А.

5.7.1.2. Положение регулировочного рычага должно быть таким, чтобы расположение механизма ручной регулировки на сжатие или растяжение, в зависимости от рекомендаций изготовителя, было таким, чтобы приложение нагрузки в процессе испытаний было направлено по стрелке (см. рисунок 3). Двухнаправленные (реверсивные) регулировочные рычаги, которые могут работать как на сжатие, так и на растяжение, должны быть испытаны в каждом режиме на отдельных образцах.

5.7.1.3. Установить регулировочный рычаг на испытательной установке таким образом, чтобы приложенный номинальный крутящий момент (рекомендованная изготовителем нагрузка´эффективная длина), действующий со стороны штока тормозной камеры, прикладывался к нему перпендикулярно 90° ± 3° на эффективном уровне длины.

5.7.1.4. Установить на регулировочном рычаге момент сопротивления прикладываемой нагрузки (22,6 ± 11,3) Н · м, что имитирует торможение барабанного тормоза и действие возвратной пружины соответственно.

5.7.1.5. Установленный крутящий момент и свободный ход рычага, равный 6 мм max на длине рычага 150 мм от центра вращения, должны сохраняться до конца испытаний.

Если в процессе испытаний свободный ход увеличится, то испытания прекращаются, а испытываемый регулировочный рычаг бракуется.

а) режим растяжения; б) режим сжатия

Рисунок 3 - Установка регулировочного рычага для испытаний

5.7.1.6. Установить максимальное значение испытательного давления в нагрузочной камере (0,6 ± 0,03) МПа [(6,0 ± 0,3) кгс/см2].

5.7.1.7. Установить необходимое время цикла управления давлением в нагрузочной камере для получения приложения крутящего момента и его снятия:

а) суммарное время цикла - 4,0 с;

б) максимальное время нарастания крутящего момента - 1,0 с;

в) минимальная выдержка крутящего момента - 2 с.

Рекомендуемая циклограмма процесса ресурсных испытаний представлена на рисунке А.2 приложения А.

5.7.2. Проведение испытаний

5.7.2.1. Сделать отметки на регулировочном валу и червячном колесе, чтобы гарантировать возврат на исходную позицию после испытаний.

5.7.2.2. Полный цикл испытаний регулировочного рычага на долговечность при циклических нагрузках должен быть в объеме не менее 100 тысяч циклов.

5.7.2.3. Через 25, 50, 75 и 100 тысяч циклов испытаний проверить состояние регулировок регулировочного рычага по 5.4, после чего вернуть регулировочный вал на первоначальную позицию и продолжать испытания.

6. Гарантии изготовителя

6.1. Изготовитель гарантирует соответствие рычагов требованиям настоящего стандарта при соблюдении условий эксплуатации.

6.2. Гарантийный срок эксплуатации и гарантийная наработка рычагов должны быть не менее гарантийного срока эксплуатации АТС, на котором они установлены.

Приложение А
(рекомендуемое)

Схема испытательного стенда и циклограмма процесса ресурсных испытаний

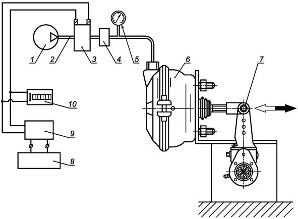
1 - компрессор; 2 - пневматическая магистраль; 3 - электрогидроклапан; 4 - регулятор давления; 5 - манометр;
6 - нагрузочная камера; 7 - объекты испытаний; 8 - блок питания; 9 - генератор импульсов; 10 - счетчик импульсов

Рисунок А.1 - Схема испытательной установки для определения долговечности
рычагов регулировочных автотранспортных средств при циклическом нагружении

Рисунок А.2 - Циклограмма изменения давления в нагрузочной камере

Приложение Б
(рекомендуемое)

Типовые формы документов, оформляемых в процессе испытаний

Форма Б.1 - Протокол испытаний

Лист 1 Всего листов 2

УТВЕРЖДАЮ

_______________________________________________

должность руководителя испытательной лаборатории*

____________________               _______________________

личная подпись                                                                                                инициалы, фамилия

М.П.                                                                                                    Дата ____________

Протокол ______________ испытаний

вид испытаний

№ _____ от _________ 20___ г.

1. Испытываемое изделие ____________________________________________________

наименование и чертежное обозначение, идентификационный

__________________________________________________________________________

номер изделия

2. Предприятие - изготовитель испытываемого изделия ___________________________

__________________________________________________________________________

наименование и адрес

3. Испытательная лаборатория ________________________________________________

__________________________________________________________________________

наименование и адрес

4. Дата поступления образцов на испытания

5. Количество испытываемых образцов ________________________________________

6. Дата проведения испытаний

7. Технические требования ___________________________________________________

наименование документа

8. Методы испытаний _______________________________________________________

наименование документа

___________

* Предприятие (организация), испытательный центр, специальная лаборатория, подразделение предприятия (организации) и т.п., осуществляющие испытания.

Лист 2 Всего листов 2

Продолжение протокола ________________ испытаний

вид испытаний

№ _____ от _________ 20___ г.

9. Результаты испытаний:

Испытываемый параметр

Установленные требования

Результат испытания

10. Заключение _____________________________________________________________

__________________________________________________________________________

__________________________________________________________________________

Испытания провел (должностное лицо):

_____________________ _________________________ ___________________________

должность                                                            личная подпись                                      инициалы, фамилия

Дата ________

Форма Б.2 - Акт о результатах периодических испытаний

Лист 1 Всего листов 1

УТВЕРЖДАЮ

___________________________________________

должность руководителя предприятия-изготовителя

____________________ ______________________

личная подпись                                                                                                                            инициалы, фамилия

М.П.                                                                                                          Дата

АКТ № _____
о результатах периодических испытаний

№ _____ от ____________ 20____ г.

1. Испытанное изделие _______________________________________________________

наименование и чертежное обозначение, идентификационный

___________________________________________________________________________

номер изделия

2. Предприятие - изготовитель изделия _________________________________________

наименование и адрес

3. Результаты испытаний _____________________________________________________

положительный или отрицательный результат в целом;

___________________________________________________________________________

при отрицательном результате перечисляют выявленные дефекты или приводят ссылки

___________________________________________________________________________

на перечень дефектов

4. Заключение ______________________________________________________________

(выдержали или не выдержали изделия периодические испытания)

5. Акт составлен на основании Протокола периодических испытаний № _____________

от «______» _________ 20___ г.

Данные результаты периодических испытаний распространяются на продукцию, выпускаемую до ___________________________________________________________

месяц, год

Акт составил (должностное лицо):

______________________ _________________________ __________________________

должность                                                                 личная подпись                                    инициалы, фамилия

Дата _______

Форма Б.3 - Акт о результатах типовых испытаний

Лист 1 Всего листов 1

УТВЕРЖДАЮ

___________________________________________

должность руководителя предприятия-изготовителя

_____________________ ______________________

личная подпись                                                                                                                        инициалы, фамилия

М.П.                                                                                                 Дата _______

АКТ № ______
о результатах типовых испытаний

№ ____ от ________ 20____ г.

1. Испытанное изделие ______________________________________________________

наименование и чертежное обозначение, идентификационный

_______________________________, изготовленное _____________________________

номер изделия                                                                                                            месяц и год изготовления

2. Предприятие - изготовитель изделия ________________________________________

наименование и адрес

3. Цель испытаний: оценка эффективности и целесообразности предлагаемых изменений _________________________________________________________________

__________________________________________________________________________

внесенные изменения

4. Результаты испытаний ____________________________________________________

положительный или отрицательный результат в целом;

__________________________________________________________________________

при наличии отрицательных результатов их перечисляют

5. Заключение _____________________________________________________________

соответствует (не соответствует) образец изделий требованиям программы испытаний;

__________________________________________________________________________

подтверждена (не подтверждена) целесообразность внесения предлагаемых изменений в конструкцию,

__________________________________________________________________________

в технологический процесс изготовления

6. Акт составлен на основании Протокола типовых испытаний № __________________

от «___» _________20___ г.

Акт составил (должностное лицо):

______________________ _________________________ __________________________

должность                                                                 личная подпись                             инициалы, фамилия

Дата _______

 

Ключевые слова: автомобильные транспортные средства, регулировочные рычаги, циклическое нагружение, статическая прочность, номинальное давление

 



© 2013 Ёшкин Кот :-)