Информационная система
«Ёшкин Кот»

XXXecatmenu

ФЕДЕРАЛЬНОЕ АГЕНТСТВО
ПО ТЕХНИЧЕСКОМУ РЕГУЛИРОВАНИЮ И МЕТРОЛОГИИ

НАЦИОНАЛЬНЫЙ
СТАНДАРТ
РОССИЙСКОЙ
ФЕДЕРАЦИИ

ГОСТ Р
53631-
2009

СОЕДИНЕНИЯ ТРУБОПРОВОДОВ С УГЛОМ
КОНУСА 24°

Общие технические требования

Москва

Стандартинформ

2010

Предисловие

Цели и принципы стандартизации в Российской Федерации установлены Федеральным законом от 27 декабря 2002 г. № 184-ФЗ «О техническом регулировании», а правила применения национальных стандартов Российской Федерации - ГОСТ Р 1.0-2004 «Стандартизация в Российской Федерации. Основные положения»

Сведения о стандарте

1 РАЗРАБОТАН Федеральным государственным унитарным предприятием «Научно-исследовательский институт стандартизации и унификации» (ФГУП «НИИСУ»)

2 ВНЕСЕН Управлением технического регулирования и стандартизации Федерального агентства по техническому регулированию и метрологии

3 УТВЕРЖДЕН И ВВЕДЕН В ДЕЙСТВИЕ Приказом Федерального агентства по техническому регулированию и метрологии от 15 декабря 2009 г. № 977-ст

4 ВВЕДЕН ВПЕРВЫЕ

Информация об изменениях к настоящему стандарту публикуется в ежегодно издаваемом информационном указателе «Национальные стандарты», а текст изменений и поправок - в ежемесячно издаваемых информационных указателях «Национальные стандарты». В случае пересмотра (замены) или отмены настоящего стандарта соответствующее уведомление будет опубликовано в ежемесячно издаваемом информационном указателе «Национальные стандарты». Соответствующая информация, уведомление и тексты размещаются также в информационной системе общего пользования - на официальном сайте Федерального агентства по техническому регулированию и метрологии в сети Интернет

СОДЕРЖАНИЕ

НАЦИОНАЛЬНЫЙ СТАНДАРТ РОССИЙСКОЙ ФЕДЕРАЦИИ

СОЕДИНЕНИЯ ТРУБОПРОВОДОВ С УГЛОМ КОНУСА 24°

Общие технические требования

Tubing junctions with 24° cone angle. General technical requirements

Дата введения - 2010-07-01

1 Область применения

Настоящий стандарт распространяется на соединения трубопроводов с углом конуса 24° (далее - соединения), используемые в самолетах и вертолетах для различных жидкостных и газовых систем, в том числе и для агрессивных, при давлении не более 48 МПа (480 кгс/см2) в зависимости от толщины стенки трубы.

Допускается применение в других отраслях техники при соблюдении требований настоящего стандарта.

2 Нормативные ссылки

В настоящем стандарте использованы ссылки на следующие стандарты:

ГОСТ 13977-74 Соединения трубопроводов по наружному конусу. Технические условия

ГОСТ 18143-72 Проволока из высоколегированной коррозионностойкой и жаростойкой стали. Технические условия

ГОСТ 19277-73 Трубы стальные бесшовные для маслопроводов и топливопроводов. Технические условия

Примечание - При пользовании настоящим стандартом целесообразно проверить действие ссылочных стандартов в информационной системе общего пользования - на официальном сайте Федерального агентства по техническому регулированию и метрологии в сети Интернет или по ежегодно издаваемому информационному указателю «Национальные стандарты», который опубликован по состоянию на 1 января текущего года, и по соответствующим ежемесячно издаваемым информационным указателям, опубликованным в текущем году. Если ссылочный стандарт заменен (изменен), то при пользовании настоящим стандартом следует руководствоваться заменяющим (измененным) стандартом. Если ссылочный стандарт отменен без замены, то положение, в котором дана ссылка на него, применяется в части, не затрагивающей эту ссылку.

3 Технические требования

3.1 Основные показатели

3.1.1 Показатели назначения

3.1.1.1 Рабочие давления внутри трубопровода в зависимости от наружного диаметра и толщины стенки трубы - по ГОСТ 13977.

3.1.1.2 Температура эксплуатации - от минус 70 °С до плюс 300 °С.

3.1.1.3 Герметичность для жидких рабочих сред - не более 10-8 см3/с, для газообразных рабочих сред - не более 1,3 · 10-6 Па · м3/с (10-2 мкм рт. ст. · л/с).

3.1.2 Конструктивные требования

3.1.2.1 Соединения должны быть изготовлены в соответствии с требованиями настоящего стандарта по рабочей конструкторской документации, утвержденной в установленном порядке.

3.1.2.2 Конструкция соединений должна соответствовать указанной на рисунках 1 - 3.

Исполнение 1

1 - законцовка трубопроводов деформированная, исполнение 1, с ниппелем 6 и трубой 7;
2
- гайка накидная; 3 - арматура; 4 - проволока из стали 12Х18Н9Т 0,8 - 1,2 мм
по ГОСТ 18143; 5 - пломба трубчатая

_____________

* Размеры для справок.

Рисунок 1 - Схема соединения с соединительной арматурой исполнения 1

Исполнение 2

Остальное - см. рисунок 1

8 - законцовка трубопроводов деформированная,
исполнение 2 с проходным штуцером 9

_____________

* Размеры для справок.

Рисунок 2 - Схема соединения без соединительной арматуры

Исполнение 3

Остальное - см. рисунки 1 и 2

10 - законцовка трубопровода деформированная,
исполнение 3 с переходным ниппелем 11; 12 - гайка переходная

_____________

* Размеры для справок.

Рисунок 3 - Схема соединения с переходным ниппелем исполнения 3

3.1.2.3 По усмотрению разработчика изделия допускается отсутствие трубчатых пломб (см. рисунок 1, позиция 5).

3.1.2.4 Наружные диаметры, толщины стенок труб, габаритные и присоединительные размеры должны соответствовать указанным в таблице 1.

Таблица 1

В миллиметрах

Труба

D

D1

lmin

L

L1

Наружный диаметр Dн

Толщина стенки S

6

0,5; 0,6; 0,8; 1,0

М12´1,25

16

10

19

33

8

М14´1,5

20

11

21

34

10

М16´1,5

22

12

23

40

12

0,5; 0,6; 0,8; 1,0; 1,2

М18´1,5

25

44

14

0,5; 0,6; 0,8; 1,0; 1,2; 1,4

М20´1,5

28

24

46

16

0,5; 0,6; 0,8; 1,0; 1,2; 1,4; 1,6

М22´1,5

31

20

0,5; 0,6; 0,8; 1,0; 1,2; 1,4; 1,6; 1,8

М27´1,5

35

26

47

25

0,5; 0,6; 0,8; 1,0; 1,2; 1,4; 1,6; 1,8; 2,0

М33´1,5

41

13

27

48

32

0,5; 0,6; 0,8; 1,0; 1,2; 1,4; 1,6; 1,8; 2,0; 2,2

М42´2

53

14

30

50

3.1.3 Технологические требования

3.1.3.1 Значения крутящих моментов затяжки накидных гаек соединений должны соответствовать указанным в таблице 2.

Таблица 2

Наружный диаметр трубы Dн, мм

Размер под ключ гайки, мм

Крутящий момент затяжки, Н · м (кгс · см)

рабочий пред.откл. +5 (50)

максимально допустимый

6

14

10 (100)

25 (250)

8

17

15 (150)

30 (300)

22

35 (350)

55 (550)

10

19

25 (250)

40 (400)

27

50 (500)

75 (750)

12

22

35 (350)

55 (550)

27

50 (500)

75 (750)

14

24

40 (400)

60 (600)

30

65 (650)

100 (1000)

16

27

50 (500)

75 (750)

36

70 (700)

110 (1100)

20

30

65 (650)

100 (1000)

41

85 (850)

140 (1400)

25

36

75 (750)

120 (1200)

32

46

95 (950)

160 (1600)

3.1.3.2 Количество переборок, допускаемых соединениями, должно быть не менее 100.

3.1.3.3 Длина прямого участка трубы за ниппелем согласно [1].

3.1.3.4 Схемы выполнения законцовок приведены в справочном приложении А.

3.1.3.5 Изготовление и контроль соединений - согласно [1].

3.1.3.6 Монтаж соединений - согласно [2].

3.1.4 Показатели надежности

3.1.4.1 Срок службы соединений должен быть не менее срока службы основного изделия, на котором эти соединения используются.

3.1.4.2 Предел выносливости соединений должен быть не менее 196 МПа (20 кгс/см2) - для трубопровода Dн ´ S = 8 ´ 0,8 мм; 186,2 МПа (19 кгс/см2) - для трубопровода Dн ´ S = 12 ´ 1 мм; 167 МПа (17 кгс/см2) - для трубопровода Dн ´ S = 16 ´ 1 мм.

3.2 Требования к материалам

3.2.1 Материал трубы - сталь 12X18Н10Т по ГОСТ 19277.

3.2.2 Материал ниппелей - сталь 13X11Н2В2МФ-Ш.

3.2.3 Материал проходного штуцера - сталь 13X11Н2В2МФ-Ш, 15Х16Н2АМ-Ш.

3.2.4 Материал арматуры - сталь 13X11Н2В2МФ-Ш, 15Х16Н2АМ-Ш, титановый сплав ВТ6.

3.2.5 Материал накидных (переходных) гаек - сталь 13X11Н2В2МФ-Ш, 15X16Н2АМ-Ш, 14X17Н2, титановый сплав ВТ6.

3.3 Комплектность

3.3.1 Изогнутая труба наружным диаметром Dн, толщиной стенки S - 1 шт.

3.3.2 Законцовки исполнения 1 - 3 произвольного сочетания и с накидными (переходными) гайками - 2 шт.

Приложение А
(справочное)

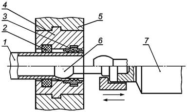
1 - труба; 2 - зажимные полукольца; 3 - ниппель; 4 - сменные полуматрицы;
5 - зажимное устройство; 6 - инструмент; 7 - установка дорнования

Рисунок А.1 - Схема выполнения деформированной законцовки
трубопровода
Dн = 6 - 10 мм методом импульсного дорнования

1 - труба; 2 - зажимные полукольца; 3 - сменные полуматрицы;
4 - зажимное устройство; 5 - ниппель; 6 - раскатник

Рисунок А.2 - Схема выполнения деформированной законцовки
трубопровода
Dн ³ 12 мм методом раскатки

Библиография

[1] РТМ 1.4.1638-90

Конструктивно-технологическая отработка трубопроводных коммуникаций, изготовление и контроль труб и патрубков

[2] РТМ 1.4.1003-89

Изготовление и монтаж трубопроводов гидрогазовых систем с разъемными соединениями с углом конуса 24°

Ключевые слова: соединения трубопроводов, жидкостные и газовые среды



© 2013 Ёшкин Кот :-)