Информационная система
«Ёшкин Кот»

XXXecatmenu

ОТКРЫТОЕ АКЦИОНЕРНОЕ ОБЩЕСТВО

ПРОЕКТНО-КОНСТРУКТОРСКИЙ И ТЕХНОЛОГИЧЕСКИЙ
ИНСТИТУТ ПРОМЫШЛЕННОГО СТРОИТЕЛЬСТВА
ОАО ПКТИпромстрой

КАТАЛОГ
МОНТАЖНОЙ ОСНАСТКИ, ПРИСПОСОБЛЕНИЙ
И ИНВЕНТАРЯ

180-01

 

Главный инженер

_______________ А.В. Колобов

Начальник отдела

_______________ Б.И. Бычковский

2001

В настоящем каталоге приведены приспособления для временного закрепления и выверки строительных конструкций, средства подмащивания и инвентарь.

Каталог рекомендуется для широкого круга специалистов строительных, ремонтно-строительных и проектно-технологических организаций как справочный материал при разработке технической документации для производства строительно-монтажных работ, а также при составлении проектов организации строительства и проектов производства работ.

Каталог включает прогрессивные средства оснастки, инвентаря, приспособлений для монтажа строительных конструкций и для выполнения ремонтных работ.

Монтажная оснастка, грузозахватные приспособления, средства подмащивания могут быть изготовлены централизованно в заводских условиях или в ремонтно-механических мастерских только по рабочим чертежам организации-разработчика и использоваться при наличии акта производственных испытаний.

Каталог составлен лабораторией совершенствования и технологии строительства (отдел 41) ОАО ПКТИпромстрой (Бычковский Б.И., Савина О.А.).

предложения и возможные замечания просим направлять по адресу: 125040, г. Москва, Ленинградский проспект, д. 26

Тел. (095)214-36-49         Факс (095) 214-95-53

СОДЕРЖАНИЕ

1 Приспособления для временного закрепления и выверки строительных конструкций. 5

Струбцина. 5

Струбцина. 6

Струбцина. 7

Струбцина. 8

Струбцина. 9

Струбцина. 10

Струбцина. 11

Штанга телескопическая. 12

Стойка для временного крепления гипсобетонных перегородок. 13

Стойка для монтажа гипсокартонных перегородок. 14

Упор для монтажа гипсокартонных перегородок. 15

Расчалка универсальная. 15

Расчалка универсальная тросовая. 16

Распорка винтовая. 16

Устройство для монтажа ригеля-распорки рр-60-6. 17

Вкладыш клиновый. 18

Скоба грузоподъемностью 5 т. 19

Фиксатор для временного крепления арматурных каркасов. 20

Хомут для соединения выпусков колонн. 21

Кондуктор одиночный для монтажа колонн. 22

Групповой кондуктор для монтажа конструкций зданий с безбалочными перекрытиями. 23

Площадка - кондуктор для монтажа колонн. 24

Площадка фасадная для монтажа колонн. 25

Площадка угловая для монтажа колонн. 26

Приспособление для монтажа ограждающих элементов. 27

Домкрат винтовой. 28

Домкрат. 29

2 Средства подмащивания. 29

Подмости панельные для кирпичной кладки. 29

Самоходные универсальные облегченные подмости. 30

Подмости самоходные универсальные усп-2. 31

Передвижная сборно-разборная вышка-тура высотой 4,0 м.. 32

Вышки-туры высотой 6-10 м.. 33

Вышка высотой до 5 м.. 34

Вышка высотой до 10 м.. 35

Люлька с электроприводом лэ-100-300 для сварочных работ. 36

Люлька л-100-600. 37

Люлька одноместная самоподъемная лос-100-120. 38

Консоль универсальная ку-2,5. 39

Передвижная площадка для сварщика и монтажника. 40

Передвижная площадка для монтажника. 41

Передвижная площадка монтажника. 42

Переходной мостик. 43

Столик универсальный. 44

Столик двухвысотный. 45

Лестница складная лс-2. 46

Лестница. 47

Лестница монтажная. 48

Лестница приставная. 49

Лестница наклонная. 50

Приставная накладная лестница. 51

Лестница приставная вертикальная длиной 20,1 м.. 51

Лестница навесная. 53

Лестница для подъема на этаж.. 54

Лестница высотой 2,85 м.. 55

3 Инвентарь. 56

Бадья для бетона. 56

Емкость для раствора 0,35 м3 57

Ящик-контейнер емкостью 0,35 м3 58

Ларь для закладных деталей. 58

Контейнер для сыпучих материалов м-21. 59

Футляр траверсный. 60

Траверсный футляр для пакетов с поддоном 520´1030. 61

Склад-пирамида. 62

Тележка на пневмоходу. 62

Тележка для раствора. 63

Тачки фирмы «эммерлен». 63

Затирочно-отделочная машина. 64

Покровный слой мата для вакуумирования бетонных полов. 65

Переносной контейнер (машзал) на два сварочных поста. 66

Контейнер для перевозки и хранения нормокомплекта средств малой механизации и инструмента. 67

Тележка универсальная со съемным кузовом.. 68

Ларь для хранения вяжущих. 69

4 Разное. 70

Страховочное приспособление для монтажников. 70

Вышка поэтажная прожекторная. 71

Кронштейн защитного козырька. 72

Мусоропровод. 73

Рукав для эвакуации мусора. 74

Мусоросборник. 75

Варианты креплений для комплектации рукавов для эвакуации мусора. 76

Мобильная сборно-разборная установка многоразового применения для мойки колес (кроме москвы) 77

Установка городская для мойки колес автотранспорта с оборотным водоснабжением.. 78

1 ПРИСПОСОБЛЕНИЯ ДЛЯ ВРЕМЕННОГО ЗАКРЕПЛЕНИЯ И ВЫВЕРКИ СТРОИТЕЛЬНЫХ КОНСТРУКЦИЙ

СТРУБЦИНА


1 - корпус струбцины; 2 - винт в сборе

Схема установки струбцины


Техническая характеристика

Зев струбцины (В), мм            300...275

Угол a, град не менее              45

Масса, кг                                   8,0

Разработчик: ГП Мосоргстрой, проект № 2492 МА

СТРУБЦИНА


ТЕХНИЧЕСКАЯ ХАРАКТЕРИСТИКА

Габаритные размеры, мм:

длина                                325

ширина                             90

высота                               255

зев                                     70...170

Масса, кг                          4,2

Разработчик: ГП Мосоргстрой. Проект № 3959 М

СТРУБЦИНА


ТЕХНИЧЕСКАЯ ХАРАКТЕРИСТИКА

Габаритные размеры, мм:

длина                                525

ширина                             90

высота                               306

зев                                     215...335

Масса, кг                          3,5

Разработчик: ГП Мосоргстрой, проект № 4107

СТРУБЦИНА


ТЕХНИЧЕСКАЯ ХАРАКТЕРИСТИКА

Габаритные размеры, мм:

длина                                540

ширина                             60

высота                               256

зев                                     280...400

Масса, кг                          4,45

Разработчик: ГП Мосоргстрой, проект № 4270А

СТРУБЦИНА


ТЕХНИЧЕСКАЯ ХАРАКТЕРИСТИКА

Габаритные размеры, мм:

длина                                          415

ширина                                       90

высота                                        256

зев                                               105...225

Масса, кг                                    4,8

Разработчик: ГП Мосоргстрой, проект № 5190 УД

СТРУБЦИНА


ТЕХНИЧЕСКАЯ ХАРАКТЕРИСТИКА

Габаритные размеры, мм:

длина                            530

ширина                         90

высота                          256

зев                                 240...340

Масса, кг                      4,9

Разработчик: ГП Мосоргстрой, проект № 5191

СТРУБЦИНА


ТЕХНИЧЕСКАЯ ХАРАКТЕРИСТИКА

Габаритные размеры, мм:

длина                                610

ширина                             60

высота                               256

зев струбцины                 290...410

Масса, кг                          5,8

Разработчик: ГП Мосоргстрой, проект № 5192А

ШТАНГА ТЕЛЕСКОПИЧЕСКАЯ


Предназначена для временного крепления поперечных стен.

Состоит из:

1 - штанга телескопическая; 2 - фиксаторы; 3 - резьбовая стяжка; 4 - гайка; 5 - крюк.

ТЕХНИЧЕСКИЕ ХАРАКТЕРИСТИКИ

Организация-разработчик

ГП Мосоргстрой

ОАО ПКТИпромстрой

Номер проекта

5193

5194

6949

4104А

4250УД

Длина (L), мм

2650...4400

4300...6100

1625-2650

2425-4150

4800-6400

Масса, кг

18,62

24,0

12,0

20,3

25,0

СТОЙКА ДЛЯ ВРЕМЕННОГО КРЕПЛЕНИЯ ГИПСОБЕТОННЫХ ПЕРЕГОРОДОК


ТЕХНИЧЕСКАЯ ХАРАКТЕРИСТИКА

Габаритные размеры, мм:

длина                                1000

ширина                             400

высота                               1600

Масса, кг                          12,5

Разработчик: ГП Мосоргстрой, проект № 1631 М

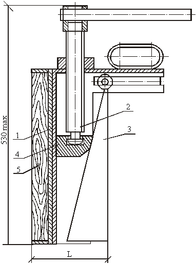
СТОЙКА ДЛЯ МОНТАЖА ГИПСОКАРТОННЫХ ПЕРЕГОРОДОК


Предназначена для крепления гипсобетонных перегородок толщиной 60 - 120 мм.

Состоит из стойки 1 и струбцины 2.

ТЕХНИЧЕСКАЯ ХАРАКТЕРИСТИКА

Габаритные размеры, мм:

высота                              1500

ширина                             1000

Масса, кг                          6,0

Разработчик: ГП Мосоргстрой, проект № 10328АЛ (алюминиевая)

УПОР ДЛЯ МОНТАЖА ГИПСОКАРТОННЫХ ПЕРЕГОРОДОК


Разработчик: ГП Мосоргстрой, проект № 1320 А

РАСЧАЛКА УНИВЕРСАЛЬНАЯ


Предназначена для временного закрепления колонн, балок и ферм.

Состоит из:

1 - клиновый зажим; 2 - резьбовая стяжка; 3 - тяга с крюком; 4 - трос со скобой

ТЕХНИЧЕСКАЯ ХАРАКТЕРИСТИКА

Усилие, кгс                                1500

Длина стяжки L max, мм          1200

Длина стяжки L min, мм           700

Масса, кг                                    14,4

Разработчик: проектный институт «Промстальконструкция», проект № 3093

РАСЧАЛКА УНИВЕРСАЛЬНАЯ ТРОСОВАЯ


Предназначена для временного закрепления колонн высотой до 15 м.

Состоит из:

1 - обойма; 2 - карабин; 3 - винтовая стяжка; 4 - трос

ТЕХНИЧЕСКАЯ ХАРАКТЕРИСТИКА

Усилие, кгс                      3000

Длина стяжки L, мм        1000...1500

Масса, кг                          72

Разработчик: проектный институт «Промстальконструкция», проект № 3094

РАСПОРКА ВИНТОВАЯ


Предназначена для удержания колонн при сварке, а также для временного закрепления железобетонных ферм длиной 18 м.

ТЕХНИЧЕСКАЯ ХАРАКТЕРИСТИКА

Расстояние между колоннами L, мм                 6000

Ширина колонн В, мм                                        400

Масса, кг                                                               65

Разработчик: проектный институт «Промстальконструкция», проект № 3434 Р

УСТРОЙСТВО ДЛЯ МОНТАЖА РИГЕЛЯ-РАСПОРКИ РР-60-6


Предназначено для временного закрепления ригеля-распорки при сварке железобетонных конструкций.

Состоит из:

1 - винт с рукояткой; 2 и 3 - резьбовые стяжки; 4 - верхняя перекладина; 5 - нижняя перекладина

ТЕХНИЧЕСКАЯ ХАРАКТЕРИСТИКА

Габаритные размеры, мм           550´760´63

Масса, кг                                      10,5

Разработчик: ОАО ПКТИпромстрой, проект № 329

ВКЛАДЫШ КЛИНОВЫЙ


Предназначен для выверки и временного закрепления сборных железобетонных колонн в фундаментах стаканного типа.

Состоит из:

1 - корпус; 2 - винт; 3 - клин; 4 - бобышка; 5 - сменные приставки

ПРИМЕЧАНИЕ: максимальное усилие распора между колонной и стенкой фундамента стакана 8000 кгс.

ТЕХНИЧЕСКАЯ ХАРАКТЕРИСТИКА

№ проекта

607.00.000

01

02

03

L, мм без приставок

55...95

94...131

125...165

150...200

L, мм с приставкой

 

94...131

125...165

150...200

Масса, кг без приставок

7.5

 

 

 

Масса, кг с приставкой

 

9,3

10

11

Разработчик: Экспериментальное конструкторское бюро ЦНИИОМТП

СКОБА ГРУЗОПОДЪЕМНОСТЬЮ 5 т


1 - серьга с двумя проушинами; 2 - ось, нарезанная с одного конца

ТЕХНИЧЕСКАЯ ХАРАКТЕРИСТИКА

Грузоподъемность, т       5

Диаметр каната. мм        20...22

Масса, т                            4,4

Разработчик: ВНИИПИпромстальконструкция, проект № 29700-140

ФИКСАТОР ДЛЯ ВРЕМЕННОГО КРЕПЛЕНИЯ АРМАТУРНЫХ КАРКАСОВ


1 - верхняя втулка; 2 - нижняя втулка; 3 - винт; 4 - откидной болт; 5 - винт

ТЕХНИЧЕСКАЯ ХАРАКТЕРИСТИКА

Диаметр скрепляемых стержней, мм   18...36

Масса, кг                                                  8

Разработчик: ОАО ПКТИпромстрой, проект № 468

ХОМУТ ДЛЯ СОЕДИНЕНИЯ ВЫПУСКОВ КОЛОНН


1 - кронштейн; 2 - упор

ТЕХНИЧЕСКАЯ ХАРАКТЕРИСТИКА

Длина, мм                                                                        210

Ширина, мм                                                                     80

Высота, мм                                                                      120

Масса, кг                                                                          3

Диаметр стыкуемых арматурных выпусков, мм          20...40

Разработчик: ЦНИИОМТП, проект № 839.09.000

КОНДУКТОР ОДИНОЧНЫЙ ДЛЯ МОНТАЖА КОЛОНН


1 и 2 - две половины; 3 - шестнадцать упорных винтов для закрепления кондукторов на пеньке; 4 - двенадцать винтов для установки колонны в проектное положение

При монтаже угловых и фасадных колонн кондуктор используется совместно с площадками угловыми (см. лист 29) и площадками фасадными (см. лист 28). Для извлечения кондуктора используется специальная траверса для извлечения одиночного конструктора по проекту № 321А ОАО ПКТИпромстрой

ТЕХНИЧЕСКАЯ ХАРАКТЕРИСТИКА

Организация-разработчик

Трест Мосоргстрой

ОАО ПКТИпромстрой

№ проекта

2050

215А

212А

Сечение колонн, мм

400´ 400

300´450

350´550

В, мм

720

1150

1260

Высота кондуктора (Н), мм

1850

1700

1700

Масса, кг

590

464

490

ГРУППОВОЙ КОНДУКТОР ДЛЯ МОНТАЖА КОНСТРУКЦИЙ ЗДАНИЙ С БЕЗБАЛОЧНЫМИ ПЕРЕКРЫТИЯМИ


Предназначен для монтажа несущих элементов надземной части унифицированного безбалочного каркаса серии ИИ-70.

Состоит из двух секций: нижней (1) и верхней (2), нижняя секция состоит из корпуса (3) и четырех самооткидывающихся подмостей (4), верхняя секция состоит из площадок (5) и тросовинтовых захватов (6).

Групповой кондуктор может быть использовать для монтажа колонн серии КМС-101.

ТЕХНИЧЕСКАЯ ХАРАКТЕРИСТИКА

Тип

Групповой кондуктор на 4 колонны

Шаг колонн, мм

6000

Габаритные размеры, мм

2520´2520´6000

Масса нижней секции (в транспортном положении), кг

4430

Масса верхней секции (в транспортном положении), кг

4300

Общая масса, кг

8730

Разработчик: трест Мосоргпромстрой, проект № 207А.

Изготовитель: завод по ремонту башенных кранов объединения «Мосремстроймаш»

ПЛОЩАДКА - КОНДУКТОР ДЛЯ МОНТАЖА КОЛОНН


1 - корпус; 2 - фиксирующая муфта; 3 - откидная балка; 4 - площадка; 5 - винты

предназначен для монтажа одноярусных фасадных и угловых колонн.

ТЕХНИЧЕСКАЯ ХАРАКТЕРИСТИКА

Сечение колоны, мм       300´300

                                          300´450

                                          350´350

                                          400´400

                                          400´450

масса кондуктора, кг      793

Разработчик: ОАО ПКТИпромстрой (Авторское свидетельство № 651108), проект № 319А

ПЛОЩАДКА ФАСАДНАЯ ДЛЯ МОНТАЖА КОЛОНН


Предназначена для монтажа колонн по территориальному каталогу ТК-3021. применяется совместно с кондуктором для монтажа одиночных колонн.

Состоит из корпуса (1), откидной балки (2) с винтом (3), двух откидных щитов (4) и восьми крепежных винтов (5).

ТЕХНИЧЕСКАЯ ХАРАКТЕРИСТИКА

Сечение колонны, мм                       400´400

Высота площадки, (Н), мм               1600

Ширина площадки, (В), мм              2320

Длина площадки, (L), мм                  2320

Масса, кг                                             390

Разработчик: Трест Мосоргстрой, № 2318

ПЛОЩАДКА УГЛОВАЯ ДЛЯ МОНТАЖА КОЛОНН


Предназначена для монтажа колонн по территориальному каталогу ТК-3021. применяется совместно с кондуктором для монтажа одиночных колонн.

Состоит из корпуса (1), двух откидных балок (2 и 3) с винтами (4 и 5), двух откидных щитов (6) и восьми крепежных винтов (7).

ТЕХНИЧЕСКАЯ ХАРАКТЕРИСТИКА

Сечение колонны, мм                 400´400

Высота площадки, (Н), мм          1600

Ширина площадки, (В), мм        2170

Длина площадки

(L), мм                                           2320

(l), мм                                            1180

Масса, кг                                       410

Разработчик: Трест Мосоргстрой, проект № 2319

ПРИСПОСОБЛЕНИЕ ДЛЯ МОНТАЖА ОГРАЖДАЮЩИХ ЭЛЕМЕНТОВ


Предназначено для монтажа и выверки ограждающих элементов зданий (плит, располагаемых вертикально).

Состоит из сварной рамы (1), откидной балки (2) с винтами (3). Промежуточной балки (4) и двух тросовых подвесок (5), висящих на грузовых винтах (7).

ТЕХНИЧЕСКАЯ ХАРАКТЕРИСТИКА

Грузоподъемность, кгс             6500

Ход грузового винта, мм          240

Масса, кг                                    270

Разработчик: трест Мосоргпромстрой, проект № 232А

Изготовитель: завод по ремонту башенных кранов объединения «Мосремстроймаш»

ДОМКРАТ ВИНТОВОЙ


Применяется для строительства потолочных перекрытий

ТЕХНИЧЕСКАЯ ХАРАКТЕРИСТИКА

Расчетная продольная нагрузка, кг                    450

Наибольшая высота при полностью

выдвинутой подвижной штанге, мм                   5000

Наименьшая высота, мм                                      3300

Ход регулировки по высоте, мм                         100

Плавная регулировка по высоте, мм                  0:100

Ориентировочный вес, кг                                    25

ООО «МЕТАКОН»

Адрес поставщика: Москва, Дорожная ул., 1, вл. 1

Тел. 389-17-22; 389-09-44

ДОМКРАТ


ТЕХНИЧЕСКАЯ ХАРАКТЕРИСТИКА

Грузоподъемность, т                5,0

Ход силового винта, мм           350

Габариты, мм:

длина                                          800

ширина                                       560

высота                                        800...1150

Масса, кг                                    30

Разработчик: трест Мосоргинжстрой, проект № 78-007

2 СРЕДСТВА ПОДМАЩИВАНИЯ

ПОДМОСТИ ПАНЕЛЬНЫЕ ДЛЯ КИРПИЧНОЙ КЛАДКИ


ТЕХНИЧЕСКАЯ ХАРАКТЕРИСТИКА

Допускаемая нагрузка, кг/м2                               300

Высота со сложенными опорами, м                   1,0

Высота с откинутыми опорами, м                      2,0

Длина площадки, м                                              5,3

Ширина площадки, м                                           2,5

Рабочая площадка, м2                                           13,25

масса, кг                                                                770

Разработчик: Карачаровский мех. завод, проект № ПП6

САМОХОДНЫЕ УНИВЕРСАЛЬНЫЕ ОБЛЕГЧЕННЫЕ ПОДМОСТИ


Подмости предназначены для производства работ по устройству подвесных потолков и других отделочных работ внутри строящихся объектов.

Подмости состоят из двух секций, передней (1) и задней (2) позиций, ограждения (3), штурвала (4), настила деревянного (5), червячной передачи (6), вставки (7)

ТЕХНИЧЕСКАЯ ХАРАКТЕРИСТИКА

Грузоподъемность, кг                            160

Высота настила от уровня пола, м       2100; 1850; 1600

Габариты настила, мм                           630´1590

Скорость передвижения, м/мин           до 4,5

Масса подмостей в сборе, кг                 133,0

Разработчик: ОАО ПКТИпромстрой, проект № 1150

ПОДМОСТИ САМОХОДНЫЕ УНИВЕРСАЛЬНЫЕ УСП-2


Подмости предназначены для выполнения наружных отделочных работ при возведении и ремонте зданий.

Подмости состоят из двух стоек, платформы с приводом подъема (опускания) и устройства для крепления подмостей к стене.

ТЕХНИЧЕСКАЯ ХАРАКТЕРИСТИКА

Наибольшая высота подъема, м                                                                40

Ширина платформы, м                                                                              1,2

Скорость подъема (опускания), м/мин                                                    4,55

Удельное давление опоры стойки на грунт, МПа (кг/м3)                      0,3 (3)

Наибольшее расстояние между креплением стоек к зданию, м           9,6

Масса, кг                                                                                                      8000

Разработчик: СКБ Мосстрой, проект № 4520

ПЕРЕДВИЖНАЯ СБОРНО-РАЗБОРНАЯ ВЫШКА-ТУРА ВЫСОТОЙ 4,0 М


Вышка предназначена для выполнения отделочных и ремонтных работ внутри помещений высотой до 6 м и для наружных работ.

Вышка состоит из рамы (1), металлоконструкции (2), щита настила (3), блока (4), лестницы (5), колес (6).

ТЕХНИЧЕСКАЯ ХАРАКТЕРИСТИКА

Допустимая нагрузка, Н (кг/м2)                2000 (200)

Высота до щита настила, м                        4,0

Размер рабочей площадки, м:

для отдельной стоящей вышки                  2,0´2,0

для сплошных подмостей                           2,0´6,0

Габаритные размеры, мм                           5200´2300´2250

Масса одной                                                секции, кг  18,3

Общая масса, кг                                           414

Разработчик: Управление механизации отделочных работ Главмосстроя, проект № 318

ВЫШКИ-ТУРЫ ВЫСОТОЙ 6-10 М


Подмости передвижные

1 - основание; 2 - секция; 3 - связь; 4 - лестница; 5 - лестница; 6 - щит; 7 - связь

Предназначены для выполнения отделочных и ремонтных работ как снаружи, так и внутри жилых и общественных зданий высотой до 8 (10) м, а также для выполнения специальных работ - электромонтажных и санитарно-технических.

ТЕХНИЧЕСКАЯ ХАРАКТЕРИСТИКА

Допускаемая нагрузка, кгс                         200

Размер рабочей площадки, мм                  2000´2000

Наибольшая высота рабочего настила

(рабочей площадки) от пола, мм               6732 (8512)

Количество ярусов настила, шт.                2 (3)

Шаг яруса, мм                                             1780

Масса, кг                                                      800 (940)

ООО «МЕТАКОН»

Адрес поставщика: Москва, ул. Дорожная, д.1, вл. 1

Тел. 389-17-22; 389-09-44

ВЫШКА ВЫСОТОЙ ДО 5 М


Вышка предназначена для выполнения отделочных и ремонтных работ.

Вышка состоит из секций (1), складывающейся рамы (2), опорных винтов (3), рояльных колес (4), диагональных связей (5), щитов настила (6), перил (7), подъемного блока (8), лестницы (9).

ТЕХНИЧЕСКАЯ ХАРАКТЕРИСТИКА

Допустимая нагрузка, Н /кг/м2                         2000 (200)

Наибольшая высота рабочего настила, м        4,022

Масса, кг                                                             590

Разработчик: АОЗТ ЦНИИОМТП, проект № 3241.08.000

ВЫШКА ВЫСОТОЙ ДО 10 М


Вышка предназначена для выполнения отделочных и ремонтных работ, а также электромонтажных, санитарно-технических и специальных работ.

Вышка состоит из секций (1), складывающейся рамы (2), опорных винтов (3), рояльных колес (4), диагональных связей (5), щитов настила (6), перил (7), подъемного блока (8), лестницы (9).

ТЕХНИЧЕСКАЯ ХАРАКТЕРИСТИКА

Допустимая нагрузка, Н (кг/м2)                          2000 (200)

Наибольшая высота рабочего настила, м           8,512

Масса, кг                                                                940

Разработчик: АОЗТ ЦНИИОМТП, проект № 3241.10.000

ЛЮЛЬКА С ЭЛЕКТРОПРИВОДОМ ЛЭ-100-300 ДЛЯ СВАРОЧНЫХ РАБОТ


Люлька предназначена для выполнения сварочных работ при строительстве, отделке и ремонте фасадов зданий и сооружений.

ТЕХНИЧЕСКАЯ ХАРАКТЕРИСТИКА

Грузоподъемность, кг                                                                            300

Максимальная высота подъема, м                                                        100

Скорость подъема, м/мин                                                                      5,3

Габаритные размеры люльки, мм:

длина                                                                                                        4425

ширина                                                                                                     935

высота                                                                                                      1815

Масса люльки (без консолей, канатов и сварочного поста), кг       415

Разработчик: СКБ Мосстрой, проект № 4781

ЛЮЛЬКА Л-100-600


Люлька Л-100-600 предназначена для выполнения работ по остеклению зданий крупногабаритным стеклом с максимальными размерами 2,5´3 м

Люлька оборудована пирамидой для стекла, откидными сиденьями и тентом.

ТЕХНИЧЕСКАЯ ХАРАКТЕРИСТИКА

Грузоподъемность, кг                             600

Высота подъема, м                                  100

Скорость подъема, м/мин                      4,35

Консоли:

число, шт.                                            2

масса, кг                                              1451

Габаритные размеры люльки, мм:

длина                                                   6300

ширина                                                1000

высота (с тентом)                               2150 (3850)

Масса (с тентом и канатами), кг           760 (1200)

Разработчик: СКБ Мосстрой, проект № 4216

ЛЮЛЬКА ОДНОМЕСТНАЯ САМОПОДЪЕМНАЯ ЛОС-100-120


Люлька предназначена для подъема одного рабочего, строительных материалов и инструмента к рабочему месту при выполнении отделочных работ снаружи здания на высоте до 100 м.

На трубчатом каркасе установлены две электрические лебедки (1) и ручная (2), ловитель (3), ограничитель высоты подъема (4), четыре колеса (6), пульт управления (7).

Люлька подвешивается к консоли с помощью грузового и предохранительного канатов (5).

ТЕХНИЧЕСКАЯ ХАРАКТЕРИСТИКА

Грузоподъемность, кг                       100

Наибольшая высота подъема, м       100

Масса, кг                                             165

Разработчик: СКБ Мосстрой, проект № 3449

КОНСОЛЬ УНИВЕРСАЛЬНАЯ КУ-2,5


Консоль универсальная КУ-2,5 предназначена для подвешивания люлек ЛЭ-100-300, ЛЭ-30-250 и др. с нагрузкой на консоль не более 550 кгс при вылете нагрузки до 2,5 м на зданиях с плоскими и скатными крышами.

ТЕХНИЧЕСКАЯ ХАРАКТЕРИСТИКА

Грузоподъемность на любом вылете, кг                      550

Вылет, м:

минимальный                                                             0,75

максимальный                                                            2,5

Масса, кг:

консоли без контргрузов                                           184

контргрузов (общая при максимальном вылете)    700

разработчик: СКБ Мосстрой, проект № 4793

ПЕРЕДВИЖНАЯ ПЛОЩАДКА ДЛЯ СВАРЩИКА И МОНТАЖНИКА


Предназначена для выполнения сварочных и монтажных работ при монтаже жилых зданий.

ТЕХНИЧЕСКАЯ ХАРАКТЕРИСТИКА

Допустимая нагрузка, кг                   120

Габаритные размеры, мм:

длина                                              1475

ширина                                           1100

высота                                            2580

высота рабочего настила             1500

Масса, кг                                             55

Разработчик: ГП Мосоргстрой, проект № 1999 СМ

ПЕРЕДВИЖНАЯ ПЛОЩАДКА ДЛЯ МОНТАЖНИКА


Предназначена для выполнения монтажных работ при монтаже жилых зданий.

ТЕХНИЧЕСКАЯ ХАРАКТЕРИСТИКА

Допустимая нагрузка, кг                   100

Габаритные размеры, мм:

длина                                              1154

ширина                                           1153

высота                                            3700

высота рабочего настила             2700

разработчик: ГП Мосоргстрой, проект № 2646 С

ПЕРЕДВИЖНАЯ ПЛОЩАДКА МОНТАЖНИКА


Состоит из стоек (1), ступенек (2), балки настила (3), стоек ограждения (4,5).

Разработчик: ГП Мосоргстрой, проект № 3437

ПЕРЕХОДНОЙ МОСТИК


Предназначен для прохода монтажников в межферменном пространстве. Одновременно на мостике могут находиться не более двух человек. Мостик устанавливается по выверенным и закрепленным стальным и железобетонным фермам при шаге ферм 12 м и ширине пояса не менее 210 мм.

Состоит из мостика (1), ограждений (2), упоров (3).

ТЕХНИЧЕСКАЯ ХАРАКТЕРИСТИКА

№ проекта

Длина мостика L, мм

Допускаемая нагрузка, кг

Масса, кг

29800-21

12000

200

951

29800-22

6000

200

385

Разработчик: ВНИИПИ ПСК, проекты № 29800-21, 29800-22

СТОЛИК УНИВЕРСАЛЬНЫЙ


Предназначен для производства внутренних отделочных работ в помещениях высотой до 2,7 м, а также для работ на лестничных клетках.

Столик состоит из стоек (1), связей (2), съемных ограждений (3), деревянного настила (4). Стойки, связи и ограждения выполнены из труб. Стойки снабжены опорными втулками (5). На перилах ограждения установлены полки (6).

ТЕХНИЧЕСКАЯ ХАРАКТЕРИСТИКА

Допустимая нагрузка, Н (кг/м2)            1200 (120)

Габаритные размеры, мм:

длина                                                       1335

ширина                                                    660

высота                                                      2400

Масса, кг                                                 24

Разработчик: АОЗТ ЦНИИОМТП, проект № 3241.08.000

СТОЛИК ДВУХВЫСОТНЫЙ


Предназначен для производства внутренних отделочных работ в помещениях на высоте до 2,7 м.

Столик состоит из секции (1), стойки (2), настила (3), снабжен лестницей (4) и имеет ограждение (5) и съемную полку (6) для рабочего инструмента. Столик может складываться в вертикальной плоскости.

ТЕХНИЧЕСКАЯ ХАРАКТЕРИСТИКА

Допустимая нагрузка, Н (кг/м2)       1500 (150)

Габаритные размеры, мм:

длина                                                   756

ширина                                                1500

высота                                                 900

Разработчик: АОЗТ ЦНИИОМТП, проект № 3241.07.000

ЛЕСТНИЦА СКЛАДНАЯ ЛС-2


Предназначена для производства монтажных и электромонтажных работ в помещениях высотой 2,8 - 5,0 м.

Состоит из двух составных частей: лестницы нижней (1) и лестницы верхней (2). При складывании лестница трансформируется в стремянку. Конструкция лестницы сварена из дюралюминиевых труб.

ТЕХНИЧЕСКАЯ ХАРАКТЕРИСТИКА

Грузоподъемность, кг                       120

Высота, мм:

лестницы приставной                  4840

лестницы стремянки                    2640

Ширина лестницы, мм:

рабочего участка                                418

основания                                           900

Габаритные размеры в транспортном положении, мм:

длина                                              2800

ширина                                           918

высота                                            324

Масса, кг                                             13

Разработчик: ЦНИИЭПСельстрой, проект № 322

ЛЕСТНИЦА


Предназначена для выполнения отделочных работ внутри строящихся зданий. Изготовляется из газовых и стальных труб

ТЕХНИЧЕСКАЯ ХАРАКТЕРИСТИКА

Высота площадки, мм              1200

Габаритные размеры, мм:

длина                                     1000

ширина                                  500

высота                                    2200

Масса, кг                                    14

Разработчик: ГП Мосоргстрой, чертеж № 501.00.00

ЛЕСТНИЦА МОНТАЖНАЯ


Предназначена для обеспечения удобства выполнения различных видов строительно-монтажных работ.

Состоит из стоек (1), штырей (2), поручней (4 и 5), ступеней (3) штырей (7).

ТЕХНИЧЕСКАЯ ХАРАКТЕРИСТИКА

Высота опорной площадки, мм        3000; 3250

Габаритные размеры, мм:

длина                                               1100; 850

ширина                                            600.600

высота                                             4000; 3000

Масса, кг                                              38,0; 24,3

Разработчик: АОЗТ ЦНИИОМТП, проект № 727-3.00.000

ЛЕСТНИЦА ПРИСТАВНАЯ


Предназначена для обеспечения удобства выполнения различных видов строительно-монтажных работ.

Состоит из двух стоек (1), поручней (2), промежуточных стоек (3), ступеней (4), штырей (5), наконечников (6).

ТЕХНИЧЕСКАЯ ХАРАКТЕРИСТИКА

Габаритные размеры, мм:

длина                                               1630

ширина                                            600

высота                                             5000

Масса, кг                                              56,4

Разработчик: АОЗТ ЦНИИОМТП, проект № 635-3.00.000

ЛЕСТНИЦА НАКЛОННАЯ


Предназначена для безопасного доступа рабочих к месту монтажа конструкций возводимого здания.

Состоит из нижней опоры секции (1), верхней секции с площадкой (2) и промежуточных секций (3, 4, 5, 6) длиной 1,2 м каждая.

ТЕХНИЧЕСКАЯ ХАРАКТЕРИСТИКА

Марка лестницы

Высота, Н (м)

Расстояние, Е (м)

Масса, кг

СЛ-18

18,5

5,6

695

СЛ-17

17,3

5,3

649

СЛ-16

16,1

5,0

617

СЛ-15

14,9

4,6

571

СЛ-14

13,72

4,3

539

СЛ-12

12,52

4,0

507

СЛ-11

11,32

3,6

461

СЛ-10

10,13

3,3

430

СЛ-9

8,93

3,0

398

СЛ-8

7,74

2,6

366

СЛ-7

6,55

2,3

320

Разработчик: ОАО «Промстальконструкция», проект № 29800-03

ПРИСТАВНАЯ НАКЛАДНАЯ ЛЕСТНИЦА


Предназначена для подъема (спуска) монтажников с этажа на этаж при монтаже конструкций типовых многоэтажных зданий.

Состоит из металлоконструкции и узлов крепления к строительным конструкциям.

ТЕХНИЧЕСКАЯ ХАРАКТЕРИСТИКА

Высота этажа, Н

Марка лестницы

Масса, кг

7,2

Л-7,2

171

6,0

Л-6,0

140

4,8

Л-4,8

105

4,2

Л-4,2

94

3,6

Л-3,6

81

3,2

Л-3,3

74

Разработчик: ВНИПИ «Промстальконструкция», проект № 29800-04

ЛЕСТНИЦА ПРИСТАВНАЯ ВЕРТИКАЛЬНАЯ ДЛИНОЙ 20,1 М

а) с основными площадками длиной 2,3 м;

б) с основными площадками длиной 3 м;

в) с основными и дополнительными площадками.


Предназначена для выполнения любых монтажных операций на площадках соответствующих размеров, а также используется при закреплении конструкций практически всех одноэтажных зданий типовых серий.

Состоит из рабочей площадки (1), ствола лестницы (2), дополнительного элемента для изменения высоты лестницы на 340 и 680 мм (3), дополнительных верхнего (4), нижнего (5) упоров, дополнительной площадки (6), дополнительной секции (7).

Разработчик: ОАО «Промстальконструкция» - а.с. № 325332

ЛЕСТНИЦА НАВЕСНАЯ


Лестницы с ограждениями и без ограждений предназначены для навески на хомуты или элементы крепления, приваренные к колоннам, а также на вышерасположенную лестницу.

ТЕХНИЧЕСКАЯ ХАРАКТЕРИСТИКА

№ п/п

Марка

Размеры, мм

Масса, кг

L

lH

lC

lB

lO

B

1

Л-5

1490

150

1020

320

-

400

14

2

Л-6

2850

150

2380

320

-

400

24

3

Л-7

2850

150

2380

320

2400

400

44

4

Л-8

3870

150

3400

320

-

400

31

5

Л-9

3870

150

3400

320

3300

400

55

6

Л-10

4100

200

3400

300

-

400

34

7

Л-11

4100

200

3400

300

1950

400

54

Разработчик: ОАО «Промстальконструкция», проект № 15058

ЛЕСТНИЦА ДЛЯ ПОДЪЕМА НА ЭТАЖ


Предназначена для обеспечения удобства выполнения строительно-монтажных работ.

Состоит из лестницы (1), оголовка (2), вставки (3), штырей (4, 6), ступеней (5).

ТЕХНИЧЕСКАЯ ХАРАКТЕРИСТИКА

Габаритные размеры, мм:

длина                                              1335; 2090

ширина                                           676

высота                                            4345; 4645; 5260; 5860; 7060

Высота опорной площадки, мм       3300; 3600; 4200; 4800; 6000

Масса, кг                                             66,0; 69,0; 66,8; 74,1; 87,8

Разработчик: АОЗТ ЦНИИОМТП, проект № 638-3.00.000

ЛЕСТНИЦА ВЫСОТОЙ 2,85 М


Предназначена для подъема на следующий этаж монтажников и сварщиков при монтаже зданий из сборного железобетона. Изготовляется из угловой стали и стальных труб.

ТЕХНИЧЕСКАЯ ХАРАКТЕРИСТИКА

Габаритные размеры, мм:

ширина                                           570

высота                                            4750

Масса, кг                                             35

Разработчик: ГП Мосоргстрой, чертеж № 1644А

3 ИНВЕНТАРЬ

БАДЬЯ ДЛЯ БЕТОНА


ТЕХНИЧЕСКАЯ ХАРАКТЕРИСТИКА

Наименование бадьи по ГОСТ 21807-76*

БП-2,0

БП-1,6

БП-1,0

БП-0,5

Объем заливаемого бетона, м3

2,0

1,6

1,0

0,5

Масса, кг

920

760

570

500

Разработчик: трест Мосоргинжстрой, № 78-067, 79-041, 83-3249

ЕМКОСТЬ ДЛЯ РАСТВОРА 0,35 М3


ТЕХНИЧЕСКАЯ ХАРАКТЕРИСТИКА

Длина, мм                        1322

Ширина, мм                     645

Высота, мм                       650

Масса, кг                          41,3

Разработчик: ПО Моспромстроймеханизация, проект № 2619

ЯЩИК-КОНТЕЙНЕР ЕМКОСТЬЮ 0,35 М3


ТЕХНИЧЕСКАЯ ХАРАКТЕРИСТИКА

Длина, мм                                           1678

Ширина, мм                                       750

Высота, мм                                         522

Масса, кг                                             68

Масса принимаемого груза, кг         800

Разработчик: СКБ Мосстрой, проект № 5161

ЛАРЬ ДЛЯ ЗАКЛАДНЫХ ДЕТАЛЕЙ


ТЕХНИЧЕСКАЯ ХАРАКТЕРИСТИКА

Грузоподъемность, кгс                     2500

Количество отсеков, шт.                   8

Габаритные размеры, мм:

длина                                              1508

ширина                                           642

высота                                            610

Масса (без груза), кг                          150

Разработчик: ГП Мосоргстрой, проект № 1164М

КОНТЕЙНЕР ДЛЯ СЫПУЧИХ МАТЕРИАЛОВ М-21


ТЕХНИЧЕСКАЯ ХАРАКТЕРИСТИКА

Грузоподъемность, кг                       2000

Габаритные размеры, мм:

длина                                              2000

ширина                                           600 - 1100

высота                                            1000

Масса, кг                                             280

Разработчик: ДСК № 3, проект № М21-00-000

ФУТЛЯР ТРАВЕРСНЫЙ


ТЕХНИЧЕСКАЯ ХАРАКТЕРИСТИКА

Грузоподъемность, кг                       1500

Габаритные размеры, мм:

длина                                              1100

ширина                                           1090

высота                                            900

Масса, кг                                             82

Разработчик: Карачаровский мех. завод, проект № Р408Б

ТРАВЕРСНЫЙ ФУТЛЯР ДЛЯ ПАКЕТОВ С ПОДДОНОМ 520´1030


Предназначен для подачи кирпича на поддонах к месту производства работ.

Состоит из двух полуфутляров (1, 2), имеющих открывающиеся стенки (3, 4) для разгрузки кирпича.

ТЕХНИЧЕСКАЯ ХАРАКТЕРИСТИКА

Емкость, поддон, шт.                        2

Габариты, мм:

длина                                              1230

ширина                                           1180

высота                                            990

Масса, кг                                             86,2

Разработчик: трест Мосоргпромстрой, проект № 1201 (переработка рабочих чертежей проекта Р-408 Карачаровского механического завода).

Изготовитель: завод стройинструмента и оснастки.

Филиал № 1 Главмосмонтажспецстроя

СКЛАД-ПИРАМИДА


ТЕХНИЧЕСКАЯ ХАРАКТЕРИСТИКА

Длина, мм                                                              5040

Ширина, мм                                                          6020

Ширина в транспортном положении, мм          2400

Высота, мм                                                            2300

Длина опоры, мм                                                  2000

Масса, кг                                                                2143

Разработчик: ГП Мосоргстрой, проект № 3942А

ТЕЛЕЖКА НА ПНЕВМОХОДУ

ТЕХНИЧЕСКАЯ ХАРАКТЕРИСТИКА

Емкость кузова, л                              120

Грузоподъемность, кг                       200

Колеса                                                 от мотоцикла М-103

Количество колес, шт.                       2

Шины, мм                                           65´484

Габаритные размеры, мм:

длина                                              1250

ширина                                           770

высота                                            950

Масса, кг                                             53

Разработчик: СКБ Мосстрой, проект № 2751

ТЕЛЕЖКА ДЛЯ РАСТВОРА


ТЕХНИЧЕСКАЯ ХАРАКТЕРИСТИКА

Емкость ящика, м3                             0,08

Количество ходовых колес, шт.        2

Диаметр колеса, мм                          250

Габаритные размеры, мм                  1000´525´690

Масса, кг                                             26,3

Разработчик: УМ отделочных работ, проект № Р-57

ТАЧКИ ФИРМЫ «ЭММЕРЛЕН»

Предназначены для перевозки груза как в строительстве, так и в качестве садового инвентаря при работах по озеленению территорий.

ТЕХНИЧЕСКАЯ ХАРАКТЕРИСТИКА

Вместимость кузова        90 л (до 200 кг)

Надувное колесо              диаметр 400 мм

Труба рамы                      32 мм

ООО «МЕТАКОН»

Адрес поставщика: Москва, ул. Дорожная, 1, вл. 1

Тел. 389-17-22, 389-09-44

ЗАТИРОЧНО-ОТДЕЛОЧНАЯ МАШИНА


Предназначена для затирки бетона затирочным кругом непосредственно после вибровакуумирования и для последующего шлифования поверхности бетона после набора им определенной прочности.

Состоит из корпуса (1), электродвигателя (2), редуктора (3),затирочного диска (4) и рукоятки (5).

ТЕХНИЧЕСКАЯ ХАРАКТЕРИСТИКА

Мощность электродвигателя, кВт             1,1/1,5

Напряжение источника питания

переменное 3 фазы                                     380 В, 50 Гц

количество шлифующих пластин, шт.     3

Масса машины, кг                                       57

Разработчик: трест Мосоргпромстрой, проект № 1101

ПОКРОВНЫЙ СЛОЙ МАТА ДЛЯ ВАКУУМИРОВАНИЯ БЕТОННЫХ ПОЛОВ


Предназначен для вакуумирования горизонтальных поверхностей из свежеуложенного бетона.

Состоит из винилового полотна (1), фильтрующего элемента (2), патрубка (3) для соединения с вакуумнасосом, труб (4) для переноски и сворачивания мата.

ТЕХНИЧЕСКАЯ ХАРАКТЕРИСТИКА

Габаритные размеры мата, мм         6100´4000

Масса, кг                                             32

Разработчик: трест Мосоргпромстрой, проект № 1151

ПЕРЕНОСНОЙ КОНТЕЙНЕР (МАШЗАЛ) НА ДВА СВАРОЧНЫХ ПОСТА


Предназначен для размещения сварочных материалов и сварочного оборудования на два сварочных поста для производства полуавтоматической сварки голой легированной проволокой, ручной дуговой сварки, полуавтоматической ванной сварки стыков арматуры.

Состоит из корпуса-контейнера (1), в котором расположены сварочный преобразователь типа ПГС-500 (2), трансформатор сварочный типа ТД-500 (3), два сварочный полуавтомата типа А-1114 с тележкой (4) электропечь для прокалки электродов (5), распределительный пульт (6).

ТЕХНИЧЕСКАЯ ХАРАКТЕРИСТИКА

Внутренняя площадь, м2                                                          4,0

Высота помещения, м                                                              1,95

Масса укомплектованного контейнера, кг                            2180

Установленная мощность электрооборудования, кВт         62,3

Напряжение на вводе, В                                                          380

Напряжение внутренней сети потребления

(освещение, ручной электроинструмент), В                         42

Разработчик: трест Мосоргпромстрой, проект 425

КОНТЕЙНЕР ДЛЯ ПЕРЕВОЗКИ И ХРАНЕНИЯ НОРМОКОМПЛЕКТА СРЕДСТВ МАЛОЙ МЕХАНИЗАЦИИ И ИНСТРУМЕНТА


Предназначен для хранения и перевозки нормокомплекта средств малой механизации и инструмента на строительной площадке.

Состоит из каркаса (1), кассет (2-4). Для удобства передвижения контейнер установлен на колеса (3, 6, 7). Длинномерный инструмент хранится в футлярах (8).

ТЕХНИЧЕСКАЯ ХАРАКТЕРИСТИКА

Назначение

№ проекта

Масса контейнера с инструментом

Габариты

длина

ширина

высота

Для монтажа подвесных потолков

903

168,0

 

 

 

Для малярных работ

918

420,0

 

 

 

Для штукатурных работ

919

446,0

1660

700

1500

Для плиточных работ

923

247,0

 

 

 

Для паркетных работ

926

230,0

 

 

 

Разработчик: трест Мосоргпромстрой

ТЕЛЕЖКА УНИВЕРСАЛЬНАЯ СО СЪЕМНЫМ КУЗОВОМ


Предназначен для транспортировки жидких, сыпучих и штучных строительных материалов.

Состоит из тележки (1), двух колес (2) и съемного кузова (3).

ТЕХНИЧЕСКАЯ ХАРАКТЕРИСТИКА

Емкость кузова, м3                    0,2

Габариты, мм:

длина                                     1370

ширина                                  680

высота                                    530

Масса, кг                                    36

Разработчик: трест Мосоргпромстрой, проект № 1143

ЛАРЬ ДЛЯ ХРАНЕНИЯ ВЯЖУЩИХ


Предназначен для хранения вяжущих материалов на строительной площадке.

Состоит из сварного корпуса (1), закрывающегося крышкой (2).

ТЕХНИЧЕСКАЯ ХАРАКТЕРИСТИКА

Габариты, мм:

длина                           2080

ширина                        2000

высота                          1320

Масса, кг                          431

Полезный объем, м3        4

Разработчик: трест Мосоргпромстрой, проект № 1200

Изготовитель: завод стройинструмента и оснастки, филиал № 1 Главмосмонтажспецстроя

4 РАЗНОЕ

СТРАХОВОЧНОЕ ПРИСПОСОБЛЕНИЕ ДЛЯ МОНТАЖНИКОВ


1 - направляющий канат; 2 - барабан; 3 - переходные канаты

ТЕХНИЧЕСКАЯ ХАРАКТЕРИСТИКА

Допускаемая нагрузка, кг                          600

Длина направляющего каната, м              12

Длина переходного каната, м                    4

Количество переходных канатов, шт.       3

Масса, кг                                                      20

Разработчик: ГП Мосоргстрой, проект № 4645Е

ВЫШКА ПОЭТАЖНАЯ ПРОЖЕКТОРНАЯ


ТЕХНИЧЕСКАЯ ХАРАКТЕРИСТИКА

Длина, мм                                           2000

Ширина, мм                                       2000

Высота, мм                                         4000

Масса (без балласта), кг                   250

Разработчик: ГП Мосоргстрой, проект № 1131М

КРОНШТЕЙН ЗАЩИТНОГО КОЗЫРЬКА


Разработчик: Гипрооргсельстрой, проект № К-55046

МУСОРОПРОВОД


1 - мусороприемник; 2 - воронка прямая; 3 - воронка левая; 4 - воронка правая; 5 - крепление мусоропровода.

Разработчик: ГП Мосоргстрой

РУКАВ ДЛЯ ЭВАКУАЦИИ МУСОРА

Предназначен для эвакуации мусора, гарантируя при этом безопасность и защиту окружающей среды.

ТЕХНИЧЕСКАЯ ХАРАКТЕРИСТИКА

Предельная нагрузка цепи, кг                             1000

Масса, м                                                                 8,6

Общая длина втулки, м                                        1,1

Рабочая длина втулки, м                                      1

Толщина стенки, мм                                            5

Толщина верхнего и нижнего бортов, мм          7,5

Толщина ребра жесткости, мм                            2

Внутренний диаметр, мм                                    515/380

Наружный диаметр, мм                                       550/620

Материал изготовления - высокоплотный полиэтилен, обладающий повышенной прочностью, эластичностью и легкостью

ООО «МЕТАКОН»

Адрес поставщика: Москва, ул. Дорожная, 1, вл. 1

Тел. 389-17-22; 389-09-44

МУСОРОСБОРНИК


Разработчик: ГП Мосоргстрой

ВАРИАНТЫ КРЕПЛЕНИЙ ДЛЯ КОМПЛЕКТАЦИИ РУКАВОВ ДЛЯ ЭВАКУАЦИИ МУСОРА

1. Крепление для опоры, предназначенное для установки изделий на окнах, выступах и т.п.

2. Крепление лесов, предназначенное для фиксации изделий к лесам, металлическим конструкциям и пр.

3. Рама для крепления на крыше с ровной поверхностью, предназначенное для установки на террасах, балконах и плитах.

ООО «МЕТАКОН»

Адрес поставщика: Москва, ул. Дорожная, 1, вл. 1

Тел. 389-17-22; 389-09-44

МОБИЛЬНАЯ СБОРНО-РАЗБОРНАЯ УСТАНОВКА МНОГОРАЗОВОГО ПРИМЕНЕНИЯ ДЛЯ МОЙКИ КОЛЕС (КРОМЕ МОСКВЫ)



ТЕХНИЧЕСКАЯ ХАРАКТЕРИСТИКА

Количество шлангов, шт.                                                        2

Мощность электропривода насоса, кВт                                8

Габаритные размеры, мм:

длина                                                                                         9190

ширина                                                                                      3930

высота                                                                                       716

Высота проезжей части, мм                                                   243

Максимальное давление воды после насоса, МПа              1,5

Расход воды при максимальном давлении, л/мин               до 80

Длина шланга моечного, м                                                     10

Разработчик: ОАО ПКТИпромстрой

УСТАНОВКА ГОРОДСКАЯ ДЛЯ МОЙКИ КОЛЕС АВТОТРАНСПОРТА С ОБОРОТНЫМ ВОДОСНАБЖЕНИЕМ


Установка городская для мойки колес автотранспорта представляет собой сборно-разборную эстакаду (1), состоящую из плиты дорожной (2), желоба сливного продольного (3) и желоба сливного поперечного (4) с баком водозаборным (5) и двумя баками-отстойниками (6, 7) и оснащена покупными установками: моечной модели М217 (8) и оборотного водоснабжения «Автосток» (9), а также электрошкафа (10) и шланга моечного (11).

Установка может быть смонтирована на любом строительном объекте как в заглубленном котловане, так и на насыпной площадке.

ТЕХНИЧЕСКАЯ ХАРАКТЕРИСТИКА

Установка моечная модель М217

Максимальное давление воды после насоса, МПа (кгс/см)                  1,5 (15)

Расход воды при максимальном давлении, л/мин (м3/час)                   80 (4,8)

Длина шланга моечного, м                                                                        10

Количество шлангов, шт.                                                                           2

Длина шланга водозаборного, м                                                               8

Мощность электропривода, кВт                                                               7,5

Установка оборотного водоснабжения «Автосток»

Производительность, м3/час                      5

Мощность электропривода, кВт                3

Разработчик: ОАО ПКТИпромстрой



© 2013 Ёшкин Кот :-)