Информационная система
«Ёшкин Кот»

XXXecatmenu

ОДМ 218.7.005-2008

ОТРАСЛЕВОЙ ДОРОЖНЫЙ МЕТОДИЧЕСКИЙ ДОКУМЕНТ

РЕКОМЕНДАЦИИ ПО МЕТОДУ ОПРЕДЕЛЕНИЯ
УСТОЙЧИВОСТИ К СТАРЕНИЮ ВЯЗКИХ
НЕФТЯНЫХ ДОРОЖНЫХ БИТУМОВ

ФЕДЕРАЛЬНОЕ ДОРОЖНОЕ АГЕНТСТВО
(РОСАВТОДОР)

Москва 2009

ОДМ 218.7.005-2008

ОТРАСЛЕВОЙ ДОРОЖНЫЙ МЕТОДИЧЕСКИЙ ДОКУМЕНТ

Утверждены

распоряжением Росавтодора

от 20.10.2008 г. № 438-р

РЕКОМЕНДАЦИИ ПО МЕТОДУ ОПРЕДЕЛЕНИЯ
УСТОЙЧИВОСТИ К СТАРЕНИЮ ВЯЗКИХ
НЕФТЯНЫХ ДОРОЖНЫХ БИТУМОВ

ФЕДЕРАЛЬНОЕ ДОРОЖНОЕ АГЕНТСТВО
(РОСАВТОДОР)

Москва 2009

Предисловие

1. РАЗРАБОТАН: Московским автомобильно-дорожным институтом (Государственным техническим университетом).

2. ВНЕСЕН: Управлением строительства и проектирования автомобильных дорог.

3. ИЗДАН: на основании распоряжения Федерального дорожного агентства от 20.10.2008 г. № 438-р.

4. ИМЕЕТ РЕКОМЕНДАТЕЛЬНЫЙ ХАРАКТЕР.

Метод основан на EN 12607-1 Bitumen and bituminous binders - Determination of the resistance to hardening under the influence of heat and air - Part 1: RTFOT method и EN 12607-3 Bitumen and bituminous binders - Determination of the resistance to hardening under the influence of heat and air - Part 3: RFT method.

Раздел 1. Область применения

Настоящий отраслевой методический документ распространяется на вязкие дорожные нефтяные битумы (далее битумы), предназначенные в качестве вяжущего материала при строительстве, реконструкции и ремонте дорожных и аэродромных покрытий.

Настоящий отраслевой методический документ устанавливает метод определения эффекта совместного влияния высокой температуры и воздуха на битум при вращении его в виде тонкой пленки, воспроизводящего процесс старения, которому подвергается битум во время приготовления асфальтобетонной смеси.

Раздел 2. Нормативные ссылки

В настоящем отраслевом методическом документе использованы нормативные ссылки на следующие стандарты:

ГОСТ 859-2001 Медь. Марки.

ГОСТ 6613-86 Сетки проволочные тканые с квадратными ячейками. Технические условия.

ГОСТ 25336-82 Посуда и оборудование лабораторные стеклянные. Типы, основные параметры и размеры.

Часть I Метод RTFOT

Раздел 3. Аппаратура

а) Климатическая камера с системой контроля подачи воздуха, внутренние размеры которой:

- высота (340 ± 15) мм,

- длина (405 ± 15) мм,

- ширина (445 ± 15) мм.

Камера имеет двойные стенки и дверцу с двойным термоустойчивым стеклянным окном с размерами:

- высота (215 ± 15) мм,

- длина (320 ± 15) мм.

Камера снабжена отверстиями для забора воздуха и выпуска горячих газов. Площадь воздухозаборников (15 ± 1) см2, площадь выпускных отверстий (10 ± 1) см2.

Конструкция камеры дает возможность производить циркуляцию воздуха вдоль боковых стенок на расстоянии (38 ± 3) мм от нагревательного элемента.

Размеры указаны в миллиметрах

Рис. а 1. Схема климатической камеры:

1 - верхние отверстия; 2 - термометр; 3 -регулятор

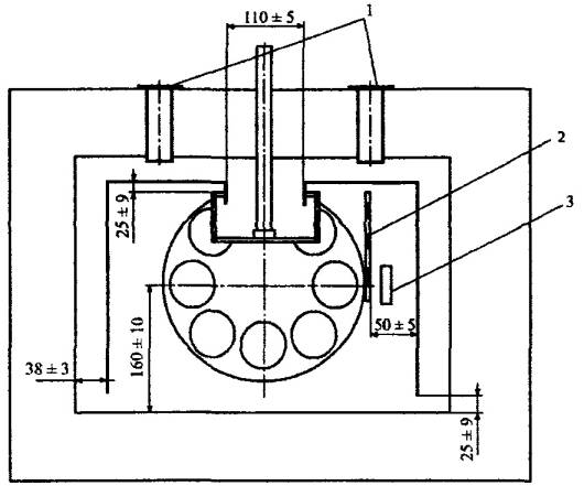
Внутри климатической камеры установлен в вертикальном положении алюминиевый барабан (рис. а 2) диаметром (300 ± 10) мм. Горизонтальная ось барабана расположена на расстоянии (160 ± 10) мм от дна камеры. Передняя сторона барабана располагается на расстоянии (110 ± 5) мм от задней внутренней стенки барабана. Барабан имеет соответствующие отверстия, каждое из которых диаметром (66,7 ± 1,0) мм, и зажимы для прочного закрепления восьми стеклянных контейнеров в горизонтальном положении. Скорость вращения барабана (15,0 ± 0,2) об/мин.

Сверху на равном расстоянии от боковых стенок климатической камеры на расстоянии (150 ± 5) мм от передней стенки установлен вентилятор диаметром (135 ± 5) мм и шириной (75 ± 5) мм, приводимый в движение внешним мотором с частотой вращения (1725 ± 100) об/мин. Вентилятор снабжен выходным отверстием диаметром (1,0 ± 0,1) мм, соединенным с медной трубкой длиной (7,60 ± 0,05) м и внешним диаметром (8,0 ± 0,1) мм (медь по ГОСТ 859). Трубка изогнута и уложена на дне камеры. Отверстие трубки находится на расстоянии от 5 до 10 мм от отверстия в контейнере.

Размеры указаны в миллиметрах

Рис. а 2. Схема барабана:

1 - климатическая камера; 2 - контейнер; 3 - термометр; 4 - инжектор; 5 - медная трубка; 6 - алюминиевый диск барабана; 7 - пружинные зажимы; 8 - отверстия, расположенные на окружности диаметром (200 ± 5) мм; 9 - винты, расположенные под углом 90°  на окружности диаметром (280 ± 2) мм; 10 - распор с внешним диаметром (12 ± 1) мм и внутренним диаметром (6,5 ± 1,0) мм

Примечание. Для осушения воздуха может быть использован хлористый кальций или другой осушитель.

Климатическая камера оборудована термостатом, способным поддерживать постоянную температуру с точностью ±0,5 °С.

Температура внутри камеры измеряется термометром, установленным, как показано на рис. а 1 и а 2.

б) Расходомер, способный поддерживать постоянную скорость движения потока воздуха (4000 ± 200) мл/мин при соответствующих температуре и давлении.

в) Термометр ртутный стержневой с диапазоном температур от 100 до 200 °С, ценой деления 0,5 °С, внешним диаметром стержня от 5,5 до 7,0 мм.

Допускается вместо ртутных стержневых термометров использовать другие температурные измерительные приборы, соответствующие приведенным требованиям.

г) Стеклянный контейнер, изготовленный из термостойкого стекла, размеры которого указаны на рис. г1.

Примечание. Допускается использование контейнера со съемной стеклянной пробкой. Все указанные размеры должны быть соблюдены.

Размеры указаны в миллиметрах

Рис. г1. Контейнер

д) дополнительное оборудование:

- сито с металлической сеткой № 07 по ГОСТ 6613 или другие сита с аналогичными размерами сетки;

- стакан фарфоровый или металлический для расплавления битума;

- палочка стеклянная или металлическая для перемешивания битума;

- весы лабораторные с точностью до ±10 мг;

- эксикатор по ГОСТ 25336.

Раздел 4. Подготовка к испытанию

а) Образец битума нагревают до подвижного состояния, при наличии влаги его обезвоживают путем нагрева до температуры на 80 - 100 °С выше температуры размягчения, но не выше 160 °С при осторожном перемешивании, избегая местных перегревов. Время нагревания битума при указанных условиях не должно превышать 30 мин.

Обезвоженный и расплавленный до подвижного состояния битум процеживают через металлическое сито и наливают в контейнер для испытания. Затем нагревают пробу в контейнере с неплотно закрытой крышкой до температуры на 10 °С ниже температуры испытания.

б) Определяют начальные характеристики битума: пенетрацию при 25 °С P1 по [1] и температуру размягчения Т1 по [2].

Раздел 5. Проведение испытания

а) Предварительно нагревают климатическую камеру до температуры (163 ± 1) °С.

б) Контейнеры взвешивают с погрешностью ±0,01 г и затем наливают (35,0 ± 0,5) г в каждый контейнер. Число контейнеров должно быть достаточным для выполнения всех запланированных испытаний.

в) Для определения процентного изменения массы необходимо отметить два контейнера с испытуемым образцом и охладить их в эксикаторе до температуры (25 ± 10) °С в течение 1 ч. Затем контейнеры взвешивают с погрешностью ±0,01 г.

Примечание. Допускается использовать другие устройства для охлаждения контейнеров, предохраняющие пробы испытуемого битума от пыли.

г) Размещают контейнеры с испытуемыми образцами в предварительно нагретую до температуры испытания климатическую камеру с вращающимся вентилятором. Необходимо заполнить все пустые ячейки барабана пустыми контейнерами. Испытание проводят с частотой вращения барабана (15,0 ± 0,2) об/мин и при движении воздуха со скоростью (4000 ± 200) мл/мин. Время испытания (75 ± 1) мин с того времени, как в камере установится температура (163 ± 1) °С. Время достижения заданной температуры не должно превышать 15 мин, в противном случае испытание прерывают. Во время испытания климатическую камеру нельзя открывать.

д) После испытания два отмеченных контейнера охлаждают в эксикаторе до температуры (25 ± 10) °С. Затем контейнеры взвешивают с погрешностью ±0,01 г.

е) Содержимое других контейнеров сразу выливают в одну емкость и перемешивают до однородной массы. Затем проводят испытания в соответствии с [1] (пенетрация при 25 °С Р2) и [2] (температура размягчения Т2), избегая повторного нагревания образца.

Раздел 6. Обработка результатов

а) Вычисляют процентное изменение пенетрации DР, определенной при температуре 25 °С по формуле (1)

                                                                                                (1)

б) Вычисляют изменение температуры размягчения DT по формуле (2)

                                                                                                 (2)

в) Вычисляют процентное изменение масс для первого отмеченного контейнера  по формуле (3.1)

                                                                                       (3.1)

и для второго отмеченного контейнера  по формуле (3.2)

                                                                                     (3.2)

где m - масса пробы до прогрева в камере, г;

 - масса пробы после прогрева в камере, г.

Процент изменения масс выражается как среднее арифметическое значение двух определений с погрешностью ±0,01 %.

г) Сходимость метода

Два результата испытания, полученные одним исполнителем на одной и той же пробе битума, признаются достоверными (с 95 %-ной доверительной вероятностью), если расхождение между ними не превышает значения, указанного в таблице 1.

д) Воспроизводимость метода

Два результата испытания, полученные в разных лабораториях, признаются достоверными (с 95 %-ной доверительной вероятностью), если расхождение между ними не превышает значения, указанного в таблице 1.

Таблица 1

Характеристика

Сходимость

Воспроизводимость

Изменение массы, %

 

 

более 0,3

0,15

0,20

менее 0,8

0,15

0,20

Изменение пенетрации при 25 °С, %

7

10

Изменение температуры размягчения, °С

1,5

2,0

Часть II Метод RFT

Раздел 7. Аппаратура

а) Вращающийся испаритель со скоростью вращения (20 ± 5) об/мин, применяемый вместе с колбой объемом 1000 мл с круглым основанием с углом конусности 29/32.

б) Прибор регулирования плавной подачи воздуха со скоростью подачи воздуха (500 ± 10) мл/мин при температуре (25 ± 10) °С.

Примечание. Воздух может быть заменен инертным газом (например, азотом) для отщепления продуктов реакции окисления.

в) Расходомер, способный измерять расход воздушного потока при скорости (500 ± 5) мл/мин.

г) Термометр ртутный стержневой с диапазоном температур от 30 до 200 °С, ценой деления 0,5 °С, внешним диаметром стержня от 6 до 8 мм.

Допускается вместо ртутных стержневых термометров использовать другие температурные измерительные приборы, соответствующие приведенным требованиям.

д) Стеклянный входной воздухопровод длиной (400 ± 5) мм и внутренним диаметром (7 ± 1) мм, установленный вдоль оси вращения колбы (рис. д1).

Размеры указаны в миллиметрах

Рис. д 1. Вид колбы во время вращения

е) Компрессор или пневматический цилиндр, оснащенный редукционным клапаном.

ж) Термостатическая управляемая масляная ванна, отрегулированная до температуры (165 ± 1) °С.

з) Термошкаф с поддерживанием температуры не менее 120 °С.

и) Дополнительное оборудование:

- сито с металлической сеткой № 07 по ГОСТ 6613 или другие сита с аналогичными размерами сетки;

- стакан фарфоровый или металлический для расплавления битума;

- палочка стеклянная или металлическая для перемешивания битума;

- весы лабораторные с точностью до 10 мг.

Раздел 8. Подготовка к испытанию

а) Образец битума нагревают до подвижного состояния, при наличии влаги его обезвоживают путем нагрева до температуры на 80 - 100 °С выше температуры размягчения, но не выше 160 °С при осторожном перемешивании, избегая местных перегревов. Время нагревания битума при указанных условиях не должно превышать 30 мин.

Масса пробы (100 ± 1) г. Если данного количества битума недостаточно для определения необходимых характеристик, то рекомендуется дополнительно взять пробу материала такой же массы и провести испытание еще раз.

Обезвоженный и расплавленный до подвижного состояния битум процеживают через металлическое сито и наливают в колбу для испытания.

б) Определяют начальные характеристики битума: пенетрацию при 25 °С P1 по [1] и температуру размягчения Т1 по [2].

Раздел 9. Проведение испытания

Взвешенную пробу битума охлаждают в эксикаторе до температуры (23 ± 5) °С и снова взвешивают с погрешностью 0,05 г.

Нагревают масляную ванну до температуры испытания (165 ± 1) °С и устанавливают колбу с пробой в ванну с осью вращения колбы под углом 45° к нормали (см. рис. д 1), полностью погрузив в жидкость ванны. Затем вставляют трубку стеклянного входного воздухопровода вдоль оси вращения колбы с зазором (40 ± 2) мм между нижним концом трубки и основанием.

Нагревают пробу при вращении колбы со скоростью (20 ± 5) об/мин. После первых (10 ± 1) минут включают подачу воздуха с расходом (500 ± 10) мл/мин. При этом необходимо поддерживать температуру подачи сжатого воздуха (23 ± 5) °С, чтобы в течение испытания температура жидкости в ванне оставалась постоянной.

Через (150 ± 1) минут со времени начала подачи воздуха выключают вращающийся механизм и подачу сжатого воздуха и вынимают колбу из ванны. Когда колба достаточно остынет, ее протирают тканью для удаления масла с поверхности. Сразу помещают колбу в термошкаф с температурой (110 ± 5) °С и выдерживают в течение (30 ± 1) мин.

Охлаждают колбу в эксикаторе до температуры (23 ± 5) °С в течение (90 ± 5) мин и взвешивают с погрешностью ±0,05 г.

Примечание. Допускается использовать другие устройства для охлаждения колбы, предохраняющие испытуемый битум от пыли.

Нагревают колбу до температуры на 80 - 90 °С выше температуры размягчения, и содержимое колбы разливают для проведения необходимых испытаний: в соответствии с [1] (пенетрация при 25 °С Р2) и [2] (температура размягчения Т2), избегая повторного нагревания образца.

Раздел 10. Обработка результатов

а) Вычисляют процентное изменение пенетрации DР, определенной при температуре 25 °С по формуле (4)

                                                                                                (4)

б) Вычисляют изменение температуры размягчения DT по формуле (5)

                                                                                                 (5)

в) Вычисляют процентное изменение массы пробы  по формуле (6)

                                                                                       (6)

где m - масса пробы до испытания, г;

 - масса пробы после испытания, г.

Процент изменения масс выражается как среднее арифметическое значение двух определений с погрешностью ±0,01 %.

г) Сходимость метода

Два результата испытания, полученные одним исполнителем на одной и той же пробе битума, признаются достоверными (с 95 %-ной доверительной вероятностью), если расхождение между ними не превышает значения, указанного в таблице 2.

д) Воспроизводимость метода

Два результата испытания, полученные в разных лабораториях, признаются достоверными (с 95 %-ной доверительной вероятностью), если расхождение между ними не превышает значения, указанного в таблице 2.

Таблица 2

Характеристика

Сходимость

Воспроизводимость

Изменение массы, %:

 

 

более 0,3

0,15

0,20

менее 0,8

0,15

0,20

Изменение пенетрации при 25 °С, %

7

10

Изменение температуры размягчения, °С

1,5

2,0

Раздел 11. Протокол испытания

Протокол испытания должен содержать следующую информацию:

марку испытуемого битума;

ссылку на нормативный документ, по которому проводилось испытание;

сведения об используемых средствах измерения и другой аппаратуре;

температуру испытания;

результат испытания;

дату испытания.

Библиография

[1] ОДМ 218.7.002-2008 Рекомендации по определению глубины проникания иглы для вязких нефтяных дорожных битумов.

[2] ОДМ 218.7.004-2008 Рекомендации по определению температуры размягчения вязких нефтяных дорожных битумов по кольцу и шару.

Ключевые слова: битумы нефтяные дорожные, устойчивость к старению, климатическая камера, масляная ванна

СОДЕРЖАНИЕ

 



© 2013 Ёшкин Кот :-)