Информационная система
«Ёшкин Кот»

XXXecatmenu

ИНСТРУКЦИЯ
о порядке содержания и эксплуатации
спидометрового оборудования автомобилей

 

Р 301265-0333-87

 

Дата введения 1987-07-01

 

УТВЕРЖДЕНА Заместителем Министра внутренних дел СССР Б.К. Елисовым 20.01.1987 г.

 

УТВЕРЖДЕНА Заместителем Министра Автомобильного транспорта РСФСР В.Б. Ефимовым 31.12.1986 г.

Заместитель начальника Главного управления ГАИ MB П.Я. Драчук 25.12.1986 г.

Начальник Технического управления А.М. Пешков 29.12.1986 г.

Заместитель начальника управления Госнадзора и территориальных органов Госстандарта В.И. Винник 15.12.1986 г.

И.о. начальника Центравтотех Б.В. Кодочигов 10.12.1986 г.

 

ВЗАМЕН инструкции от 01.04.84 г.

 

Инструкция о порядке содержания и эксплуатации спидометрового оборудования подготовлена к утверждению:

Техническим управлением Минавтотранса РСФСР

Начальник отдела А.Л. Плечов

 

В разработке данной инструкции принимали участие:

 

Центральное проектно-технологическое бюро по внедрению новой техники и научно-исследовательских работ на автомобильном транспорте ("Центравтотех") Минавтотранса РСФСР

 

Начальник Ю.П. Созонтов

Зав. отделом В.И. Ляско

Зам. зав. отделом В.А. Трегубов

Руководитель бригады (рук. темы) А.И. Баранов

Ст. инженер Н.Б. Хилько

Конструкторско-технологическое бюро "Челябинскавтотранс"

Зав. отделом В.И. Коптелов

Зав. сектором Ю.В. Куликов

Проектно-технологическое бюро "Кавминводавтотранс"

И.о. главного инженера О.Д.Волков

И.о. зав. отделом П.И. Баклицкий

Ст. инженер А.А. Черницын

Проектно-технологическое бюро "Воронежавтотранс"

Зав. отделом В.П. Кудинов

 

Настоящий документ разработан в соответствии с постановлением ЦК КПСС и Совета Министров СССР от 05.08.83 г. № 759 "О повышении эффективности использования автотранспортных средств в народном хозяйстве, усилении борьбы с приписками при перевозке грузов автомобильным транспортом и обеспечении сохранности горючесмазочных материалов" и на основе "Технических требований к опломбированию спидометров и их приводов на грузовых автомобилях и автобусах в производстве", утвержденных Министерством автомобильной промышленности и согласованных с ГАИ МВД СССР, ГОСТ 1578-76, ГОСТ 12936-82.

 

Данный документ предназначен для всех Министерств народного хозяйства СССР, организаций и учреждений (независимо от их ведомственной принадлежности), имеющих автотранспортные средства, и устанавливает порядок пломбирования спидометров и их приводов, содержит схемы пломбирования, формы документов по учету и оформлению пломбирования, а также устанавливает обязанности и ответственность лиц, отвечающих за эксплуатацию и пломбирование спидометрового оборудования.

 

1. Общие положения

1.1. Настоящая инструкция устанавливает единый порядок содержания, эксплуатации и пломбирования спидометрового оборудования на автомобилях.

1.2. Автомобили, эксплуатируемые на предприятиях, организациях и учреждениях (независимо от их ведомственной принадлежности), в дальнейшем именуемые автопредприятия, должны быть оснащены исправным и опломбированным спидометровым оборудованием.

1.3. Эксплуатация автомобиля с неисправным спидометровым оборудованием, нарушенной пломбировкой и не поверенные Госповерителем запрещается.

1.4. Требования настоящей инструкции распространяются на грузовые, легковые автомобили и автобусы: ГАЗ (за исключением ГАЗ-14), ЗАЗ, ЛуАЗ, УАЗ, ЗиЛ (за исключением ЗиЛ-114, 4104, 117), ВАЗ, АЗЛК, Иж, ЛАЗ, ЛиАЗ, ПАЗ, КаВЗ, РАФ, ЕрАЗ, КАЗ, КрАЗ, МАЗ, КамАЗ, БелАЗ, Урал, Икарус, Татра, ИФА, Жук, Шкода, Магирус-Дойтц, Ныса, АВИА, Робур, Вольво, Мерседес-Бенц.

На автомобили, которые не включены в настоящую инструкцию, а также поступающие новые марки от вновь введенных автомобильных заводов и из-за рубежа, схемы пломбирования спидометрового оборудования и их приводов будут разрабатываться дополнительно к настоящей инструкции.

1.5. Спидометровое оборудование включает в себя:

1.5.1. Спидометр.

1.5.2. Редуктор привода спидометра.

1.5.3. Электродатчик спидометра.

1.5.4. Гибкий вал привода спидометра.

1.5.5. Электрическую проводку и штекерные разъемы.

1.5.6. Дополнительный счетчик пройденного пути.

1.6. Спидометры всех типов подлежат государственной поверке в соответствии с государственными стандартами:

ГОСТ 8.513-84 "Поверка средств измерений. Организация и порядок проведения"

ГОСТ 8.002-86 "Организация и порядок проведения поверки, ревизии и экспертизы средств измерений".

Первичная поверка проводится при выпуске из производства и ремонта.

Периодическая поверка проводится не реже 1 раза в два года.

Ответственность за соблюдение выполнения периодичности поверок спидометрового оборудования возлагается на руководителя технической службы предприятия.

1.6.1. Спидометры, признанные годными после проведения первичной или периодической поверок, подлежат пломбированию или клеймению органами Госстандарта (ГОСТ 8.262-77).

При установке спидометров на автомобиль пломбировка проводится согласно настоящей инструкции.

Допускается автотранспортным предприятиям производить поверку спидометров при необходимости без вскрытия их и нарушений пломб Госповерителя.

Примечание: На автомобилях всех марок на спидометры до ремонтного периода и дополнительные счетчики пройденного пути, которые смонтированы в едином блоке с остальными контрольно-измерительными приборами, а также на спидометры, у которых на ободке отсутствует буртик для сверления отверстий, после их поверки Госповерителем вместо пломбы наносят оттиск клейма мастикой на стекло, закрывающее блок приборов, либо на циферблат спидометра (стекло спидометра). При проведении ремонтных работ спидометра (за исключением спидометра, на ободке которого отсутствует буртик) выполняются в обязательном порядке работы по сверлению отверстий на ободке и корпусе спидометра для установки пломб. Спидометры, не удовлетворяющие требованиям указанной инструкции, к применению не допускаются.

1.7. Новые автомобили в период действия гарантии должны эксплуатироваться со спидометрами, имеющими пломбу завода-изготовителя. Пломбирование спидометров должно соответствовать "Техническим требованиям к опломбированию спидометров и их приводов на грузовых автомобилях и автобусах в производстве", утв. Минавтопромом 10.06.83 по согласованию с Главным управлением Госавтоинспекции МВД СССР.

В случае нарушения заводской пломбировки в гарантийный период или поступления новых автомобилей с завода-изготовителя с неопломбированным спидометровым оборудованием до ввода автомобиля в эксплуатацию составляется акт совместно с представителем незаинтересованной организации, в котором должны быть указаны причины перепломбировки, дата, показания спидометра.

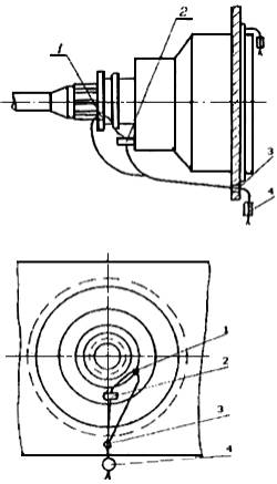
По истечении гарантийного срока эксплуатации автомобиля спидометр и его привод перепломбируются с постановкой пломб предприятия на съемный ободок спидометра по схеме на рис. 1.

1.8. Оттиск клейма на пломбе должен иметь четкое обозначение: на одной стороне наименование предприятия, а на другой - квартал, год и номер клейма. Пример клейма показан на рис. 2. По истечении срока действия клеймо уничтожается, о чем составляется акт комиссией.

1.9. Пломба должна быть механически прочной, надежно обеспечивать зажим проволоки, исключающей снятие и перемещение ее по проволоке.

1.9.1. Для пломбирования спидометров и их приводов используются пломбы свинцовые по ТУ 78 КазССР 12-82.

1.9.2. Пломба свинцовая должна соответствовать требованиям указанных технических условий.

1.9.3. Форма и основные размеры пломбы должны соответствовать указанным на чертеже.

 

 

 

1.9.4. Допуски на размеры должны соответствовать 14 квалитету СТ СЭВ 144-75.

1.9.5. Пломбы должны изготавливаться из промышленного свинца марки СО или С1 (ГОСТ 3778-77Е) и отработанных пломб тех же марок в соотношении 70% промышленного свинца и 30% отработанных пломб.

1.9.6. Отверстия в пломбе жатия должны допускать свободный проход шнура (проволоки) льнопенькового крученого по ГОСТ 5107-70.

1.9.7. Масса 1000 шт. должна быть в пределах 4,1±0,2 кг.

1.9.8. Пломба должна легко поддаваться сжатию ручным пломбиром и после сжатия иметь четкий оттиск клейма, а внутренние поверхности пломбы должны быть плотно прижаты друг к другу и не должны допускать движение шнура (проволоки).

Для пломбирования используется проволока: стальная низкоуглеродистая общего назначения ГОСТ 3282-74, диаметром 0,4-1,0 мм.

Условное обозначение: проволока диаметром 0,5 мм, термически обработанная, светлая; проволока 0,5-0-С ГОСТ 3282-74.

То же, диаметром 0,5 мм, термически обработанная, черная: проволока 0,5-0-Ч ГОСТ 3282-74.

Стальная низкоуглеродистая качественная ГОСТ 792-67, диаметром 0,5-1,0 мм.

Условное обозначение:

Проволока без покрытия диаметром 0,5 мм:

Проволока КС 0,5 ГОСТ 792-67.

Проволока оцинкованная диаметром 0,5 мм:

Проволока КО ГОСТ 792-67.

При пломбировке проволоку диаметром 0,4-0,6 мм необходимо скрутить вдвое (5-6 витков на 1 см), проволоку в одну жилку можно применять при диаметре 0,7 мм и выше. Запрещается применять проволоку повторно, а также и из цветных металлов.

2. Учет и оформление пломбирования спидометров и их приводов

2.1. Для контроля и учета технического состояния, ремонта и пломбирования спидометрового оборудования устанавливается следующая документация.

2.1.1. Пломбирование спидометров, гибких валов, датчиков и приводов к ним учитывается в журнале. Форма заполнения журнала по учету ремонта, осмотров и пломбирования спидометров и их приводов приведена в приложениях 1 и 2. Указанный журнал хранится в ОТК.

2.1.2. Сменные пуансоны пломбиров с указанием кварталов года должны храниться в сейфе бухгалтерии (кассира) автопредприятия. Учет выдачи и замены клейм по кварталам года необходимо производить в журнале. Форма журнала приведена в приложении 3 (обязательное).

Применение пуансонов для других целей категорически запрещается.

2.1.3. При технической неисправности спидометрового оборудования, а также в случаях, вызывающих необходимость нарушения пломбирования (С.О., ремонт автомобиля, спидометрового оборудования), ответственным лицом за пломбирование в присутствии водителя составляется акт в одном экземпляре. Форма акта приведена в приложении 4 (обязательное). Срок хранения актов - один год. В случае перепломбирования спидометра, связанного с изменением показаний счетчика, акт составляется в двух экземплярах. Один экземпляр акта после отметки в журнале (приложение 1) и лицевой карточке автомобиля подшивается в формуляр автомобиля, который хранится в техническом отделе предприятия, другой - поступает в службу эксплуатации для внесения в путевой лист новых показаний счетчика перед выездом.

2.1.4. При необходимости списания спидометра комиссией составляется акт на списание. Форма акта на списание спидометра приведена в приложении 5.

3. Обязанности и ответственность руководителей автотранспортных предприятий, работников, выполняющих пломбирование, а также водителей и других лиц, связанных с эксплуатацией и пломбированием спидометрового оборудования

3.1. Приказом по предприятию должны быть назначены лица, ответственные за пломбирование спидометрового оборудования из числа работников ОТК, механиков, мастеров зон ТО и ТР с указанием номеров клейм пломбиров.

Примечание: Ответственным лицам за пломбирование спидометрового оборудования:

1) запрещается передавать пломбир с клеймом другим лицам или производить пломбирование других объектов, не относящихся к спидометровому оборудованию;

2) обжатие пломб спидометрового оборудования производится лично.

3.2. Должностные лица, ответственные за выпуск автомобилей на линию, должны ежедневно проверять исправность спидометра, гибкого вала или электродатчика, их пломбирование, а также контролировать соответствие записи в путевых листах с показаниями спидометров.

3.3. Пломбиры с пуансонами должны выдаваться ответственным лицам через бухгалтерию предприятия. Хранение пломбиров с пуансонами текущего квартала года, находящихся у ответственных лиц, производится в закрытых недоступных для других лиц местах и контролируется начальником автопредприятия.

3.4. Водитель обязан следить за исправностью и состоянием пломбирования спидометра и его привода. В случае выхода из строя спидометрового оборудования водитель обязан:

3.4.1. Сделать отметку в путевом листе с указанием где и когда это произошло, а также записать в путевом листе показания спидометра.

3.4.2. При работе в городе доставить имеющийся груз или пассажиров к месту назначения и возвратиться в автопредприятие, соблюдая необходимые меры предосторожности.

3.4.3. При междугородной перевозке имеющийся груз или пассажиров доставить до места назначения и совместно с представителями грузовой или пассажирской автостанции составить акт на неисправность спидометрового оборудования, загрузиться и вернуться в автопредприятие, соблюдая необходимые меры предосторожности.

3.5. За управление транспортным средством с нарушенной пломбировкой или неисправным спидометровым оборудованием, за исключением случаев, перечисленных в пункте 3.4. настоящей Инструкции, водители несут ответственность в соответствии с действующим законодательством.

3.6. За выпуск на линию транспортных средств с нарушенной пломбировкой или неисправным спидометровым оборудованием должностные лица, ответственные за техническое состояние и эксплуатацию транспортных средств, несут ответственность в соответствии с Указом Президиума Верховного Совета СССР "Об административной ответственности за нарушение Правил дорожного движения" от 15 марта 1983 года.

4. Техническое обслуживание спидометров и их приводов

4.1. Периодичность по видам технического обслуживания регламентируется второй (нормативной) частью "Положения по техническому обслуживанию и ремонту подвижного состава автомобильного транспорта" для каждой марки автомобиля.

4.2. Работы по проверке спидометрового оборудования проводятся на постах (линиях) технического обслуживания и диагностики.

4.3. Ежедневное обслуживание.

4.3.1. Проверка вращения барабанчика с цифрами-указателями пробега и отклонение стрелки спидометра. Проверка проводится на ходу автомобиля.

4.3.2. Проверка правильности пломбирования спидометра и его привода (выполняется должностными лицами, ответственными за выпуск автомобиля на линию).

4.4. Первое техническое обслуживание.

4.4.1. Для спидометров с механическим приводом.

Проверка надежности крепления гибкого вала к спидометру и к коробке передач (раздаточной коробке), а также целостность оболочки гибкого вала. Гайки должны быть завернуты до отказа от руки полностью, причем в креплении наконечников оболочки гибкого вала (при покачивании рукой) не должно быть люфта.

Гибкий вал должен быть обязательно закреплен скобами, не должен иметь крутых изгибов, особенно вблизи его концов и провисаний над дорожным покрытием.

4.4.2. Для спидометров с электроприводом. Проверка состояния и надежности крепления проводов спидометра и датчика. Провода спидометра и датчика не должны иметь повреждений и должны быть закреплены.

4.4.3. Проверка наличия пломб и правильности пломбирования спидометров и его привода (выполняется должностными лицами, перечисленными в п. 3.1. настоящей Инструкции).

4.5. Второе техническое обслуживание.

4.5.1. Выполняется работа по п.п. 4.4.1. и 4.4.2. настоящей Инструкции.

4.5.2. Проверка вращения барабанчика с цифрами-указателями пробега.

4.5.3. Проверка правильности пломбирования спидометра и его привода (выполняется должностными лицами, перечисленными в п. 4.1. настоящей Инструкции).

4.6. Сезонное обслуживание.

4.6.1. Для спидометров с механическим приводом замена смазки гибкого вала привода спидометра. Применяется смазка ЦИАТИМ-201 (ГОСТ 6267-74).

4.6.2. Для спидометров с электроприводом. Замена смазки цилиндрических шестерен привода датчика спидометра. Применяется смазка ЦИАТИМ-201 (ГОСТ 6267-74).

4.6.3. После проведения монтажно-демонтажных работ проверяется исправность спидометра и проводится пломбирование спидометра и его привода и делается отметка в листке учета (показание спидометра, спидометровое оборудование опломбировано, подпись проверяющего).

4.7. Контроль за техническим состоянием спидометрового оборудования возлагается на руководителя технической службы предприятия.

5. Порядок пломбирования спидометров и их приводов

5.1. Пломбирование спидометрового оборудования производится с таким расчетом, чтобы исключить доступ к счетному механизму спидометров, приводу, электродатчику и штекерным соединениям с целью измерения показаний спидометра.

5.2. Перед пломбированием необходимо тщательно проверить и убедиться, что спидометр, гибкий вал с накидными гайками или счетчик, электродатчик с приводами и штекерные соединения были стандартные и не подвергались каким-либо переделкам.

Кроме того, необходимо проверить завальцовку ранта спидометра, отсутствие дополнительных сверлений в корпусе спидометра, включая шпильки крепления, и прочие нарушения целостности спидометра, гибкого вала или счетчика, электродатчика и приводов, штекерных соединений.

При выявлении каких-либо дефектов в спидометрах, гибких валах, электродатчиках и штекерных соединениях производится их замена.

5.3. Накидные гайки на обоих концах оболочки гибкого вала, винты (болты) крепления спидометра к щитку приборов должны быть затянуты.

5.4. Проволока должна быть продета через все отверстия, указанные настоящей Инструкцией и через отверстия пломбы. Принципиальная схема установки пломб дана по ТУ 78 КазССР 12-82, на рис. 3.

При навешивании пломбы по схеме рисунка 3 концы проволоки пропускают через входные отверстия пломбы, после чего один конец проволоки закручивается вокруг второго, а затем вокруг первого в последовательном порядке, указанном на рисунке. Образовавшийся узел втягивают до упора в камеру пломбы, концами огибают по периметру (окружности) пломбу, вновь пропускают через входное отверстие и зажимают пломбиром.

5.5. Общий порядок пломбирования спидометров.

5.5.1. Пломбирование ободка спидометра.

Пломбирование ободка спидометра проводится Госповерителем при периодической поверке.

На спидометрах, имеющих в корпусе спидометра заводские устройства для пломбирования (отверстия в корпусе, головке винтов), ободок спидометра пломбируется.

На спидометрах, пришедших с заводов-изготовителей без устройств для пломбирования, при выполнении ремонтных работ спидометра одновременно проводятся и работы по выполнению указанных устройств в следующем порядке.

При разобранном спидометре (с целью исключения попадания стружки на магнит и катушку) просверлить в ободке спидометра четыре сквозных отверстия диаметром 1,5 мм с таким расчетом, чтобы отверстия проходили через фланец корпуса спидометра (рис. 1, разрез А-А). Отверстия в ободке спидометра должны быть расположены попарно - два в верхней части корпуса и два в нижней, на расстоянии 10 мм друг от друга. При пломбировании проволоку необходимо пропустить в правое нижнее отверстие, обвести вправо по периметру спидометра и вдеть в верхнее правое отверстие, затем в левое нижнее отверстие, обвести влево по периметру спидометра и вдеть в верхнее левое отверстие. Выступающие сверху концы проволоки пломбируются на лицевой части спидометра.

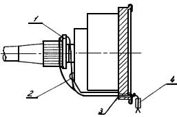
5.5.2. Пломбирование спидометров с механическим приводом от гибкого вала.

Принципиальная схема пломбирования спидометров дана на рисунке 4 (вид по А в схеме пломбирования спидометров выполнен и в дальнейшем по тексту Инструкции).

Пломбировочная проволока пропускается через отверстия: на ушках скоб крепления спидометров (1), в ушке гайки гибкого вала (2), в пломбировочной планке (3), продетой через отверстие в скобе, в щитке приборов (4), оба конца выводятся на его лицевую часть и спрессовываются пломбой (5).

Указанный способ пломбировки исключает отсоединение гибкого вала и извлечение спидометра посредством снятия или отгиба ее упорных элементов, а также обеспечивает возможность легкого контроля пломбы.

5.5.3. Пломбирование привода спидометра.

Принципиальные схемы пломбирования гибкого вала спидометров даны на рисунках: рис. 5, 6 - пломбировочная проволока пропускается через отверстия в ушке гайки гибкого вала (1), головки болта (шпильке) крепления стопорной пластины привода спидометра (2) и отверстия пломбы (3); рис. 7, 8 - пломбировочная проволока пропускается через отверстия в ушке гибкого вала (1), гайки крепления привода спидометра (2), отверстие в головке ближайшего болта коробки передач (2) (рис. 8), отверстия пломбы (3);

рис. 9 - пломбировочная проволока пропускается через отверстия в ушке гибкого вала (1), в болте крепления стопорной пластины привода спидометра (2), стойки (3) и отверстия пломбы (4);

рис. 10 - пломбировочная проволока пропускается через отверстие в ушке гайки гибкого вала (1), отверстие в стойке под редуктором привода спидометра (2) и отверстия в пломбе (3);

рис. 11 - пломбировочная проволока пропускается через отверстие в ушке гайки гибкого вала (1), дополнительное отверстие в ребре коробки передач (2) и отверстия в пломбе (3);

рис. 12 - пломбировочная проволока пропускается через отверстие в ушке гайки гибкого вала (1), отверстие в головке болта крепления крышки блокировки коробки передач (2) и отверстия пломбы (3);

рис. 13 - пломбировочная проволока пропускается через отверстие в ушке гибкого вала (1), отверстие в шпильке, крепящей фланец на коробке передач (2) и отверстие пломбы (3);

рис. 14 - пломбировочная проволока пропускается через отверстия ушка гайки гибкого вала (1), в головке болта (2) и отверстия пломбы (3);

рис. 15 - пломбировочная проволока пропускается через отверстие ушка гайки вала (1), отверстие болта крепления привода спидометра (2) и отверстия пломбы (3);

рис. 16 - пломбировочная проволока пропускается через отверстия ушка гайки гибкого вала (1), прилива на коробке передач (2) и отверстия пломбы (3).

5.6. Порядок пломбирования электромеханических спидометров с электроприводом.

5.6.1. Принципиальная схема пломбировки электромеханических спидометров (на примере спидометра 12.3802, с защитным колпачком штекерного разъема, автомобиля КамАЗ) дана на рис. 17.

Пломбировочная проволока пропускается через отверстия: в ушке скобы крепления спидометра (1), винта крепления защитного колпачка штекерного разъема (2), отверстия, проколотые шилом в торцевой и боковой стенках защитного колпачка штекерного разъема (3, 4), в ушке скобы крепления спидометра (5), винта крепления электромотора спидометра (6), щитка приборов (7) и пломбы (8).

5.6.2. Принципиальная схема пломбирования электромеханических спидометров и тахометров (на примере спидометра 12.3802, без защитного колпачка штекерного разъема и тахометров марки 12.3813, 121.3813 автомобилей КамАЗ) дана на рис. 18.

Пломбировочная проволока пропускается через отверстие винта крепления крышки электромоторчика спидометра (1), отверстие ушка скобы крепления спидометра (2), обвивается одним оборотом вокруг прилива штекерной колодки (3), в отверстия винтов крепления механизма спидометра к корпусу (4, 5), обвивается одним оборотом вокруг прилива штекерной колодки (6), отверстие щитка приборов (8), отверстия пломбы (9).

Примечание: 1. Пломба (9) при пломбировании тахометра на лицевую часть щитка приборов не выводится.

2. На автомобилях КамАЗ выпуска с 1986 г. с тахометрами марки 251.3813 штекерный разъем тахометра не пломбируется.

Пломбирование датчика электропривода спидометра

Принципиальная схема пломбирования датчика электропривода спидометра (на примере автомобиля КамАЗ) дана на рис. 19.

Пломбировочная проволока пропускается через отверстия: винта крепления присоединительной колодки электропроводов (1), винта крепления крышки электродатчика (2), в головке болта (3) крепления электродатчика к редуктору, в шпильке крепления редуктора (4), прилива на коробке передач (5), и отверстия пломбы (6).

 

Пломбирование датчика электропривода тахометра

Принципиальная схема пломбирования электродатчика тахометра 12.3613 (на примере автомобиля КамАЗ) дана на рис. 20.

Пломбировочная проволока пропускается через отверстия: винта крепления присоединительной колодки электропроводов (1), винта крепления крышки электродатчика (2), в шпильке крепления электродатчика к двигателю (3) и отверстия пломбы (4).

Примечание: На автомобилях КамАЗ выпуска с 1986 г. с тахометрами марки 251.3813 электродатчика на двигателе нет.

Пломбирование промежуточного штекерного разъема спидометра и тахометра

Принципиальная схема пломбирования промежуточного штекерного разъема спидометра 12.3802 (без защитного колпака) и тахометров 12.3813, 121.3813 (расположенных на наружной стенке кабины автомобилей КамАЗ, выпуска до 1986 г.) дана на рис. 21.

Пломбировочная проволока пропускается через отверстие (1), огибается по периметру наружной колодки штекерного разъема, пропускается через отверстие (2) (отверстия 1 и 2 прокалываются шилом), после соединения колодок штекерного разъема концы проволоки огибаются двумя оборотами (движением навстречу друг другу) вокруг электропроводов внутренней колодки штекерного разъема и пропускаются в отверстие пломбы (3).

 

Пломбирование промежуточного штекерного разъема спидометра

Принципиальная схема пломбирования промежуточного штекерного разъема спидометра 12.3802 (с защитным пластмассовым колпачком, расположенным на наружной стороне передней стенки кабины, на примере автомобиля КамАЗ, выпуска 1986 г.) дана на рис. 22.

Пломбировочная проволока пропускается через отверстия головок болтов крепления защитного колпачка штекерного разъема и отверстия пломбы.

 

Пломбирование промежуточного штекерного разъема электродатчика спидометра, тахометра

Принципиальная схема пломбирования промежуточного штекерного разъема электродатчика спидометра 12.3802 и тахометра 12.3813, 121.3813 (на примере автомобиля КамАЗ) дана на рис. 23.

Пломбировочная проволока огибается вокруг резинового защитного чехла штекерного разъема, оба конца проволоки скручиваются одним оборотом и концы проволоки разводятся вдоль штекерного разъема к электропроводам, один из концов проволоки огибается полутора оборотами вокруг электропроводов и направляется вдоль штекерного разъема, огибается одним оборотом вокруг проволоки (первоначального кольца) и направляется к противоположным электропроводам штекерного разъема, затем оба конца проволоки огибают двумя оборотами (движением навстречу друг другу) вокруг электропровода штекерного разъема и пропускаются через отверстия пломбы.

Примечание: 1. На автомобилях КамАЗ выпуска 1986 года с тахометром марки 251.3813 данный разъем отсутствует.

2. Общее количество пломб на автомобиле КамАЗ:

а) со спидометром 12.3802 и тахометрами марки 12.3813, 121.3813 составляет 9 шт., из них на: спидометре - 2, Госповерителя - 1, предприятия (завода-изготовителя) - 1, промежуточных штекерных разъемов спидометра - 2, электродатчика спидометра - 1, тахометра - 1, промежуточных штекерных разъемов тахометра - 2, электродатчика тахометра - 1;

б) со спидометром 12.3802 и тахометром марки 251.3813 составляет 5 шт., все на спидометре, из них: Госповерителя - 1, предприятия (завода-изготовителя) - 1, промежуточных штекерных разъемов - 2, электродатчик спидометра - 1.

3. Тахометр марки 251.3813, его присоединительные колодки и промежуточные штекерные разъемы не пломбировать.

С 1986 года автомобильная промышленность приступила к выпуску автомобилей с электрическими приводами спидометров с дополнительным счетчиком пройденного пути (мод.11.3823, "Автоприбор" г. Владимир) к датчикам с проходным валом (марки 20.3843, "Октап" г. Октябрьский, Башкирской АССР).

По мере приобретения указанного спидометрового оборудования датчики старого образца (МЭ-307) подлежат замене на датчики 20.3843 с присоединением к ним дополнительных счетчиков пройденного пути мод.11.3823 и пломбированию с установкой пломб по схеме, приведенной на рис. 3.

Пломбирование спидометров 22.3801

Принципиальная схема пломбирования указанных спидометров дана на рис. 24.

Пломбировочная проволока пропускается через ушко накидной гайки гибкого вала (1), отверстие в стойке на корпусе спидометра (2) и отверстия пломбы.

Для контроля целостности пломбы спидометра и перепломбирования снимается окантовка щитка приборов, щиток приборов отводится от панели приборов и проверяется целостность пломбировки, при пломбировке необходимо дополнительно отсоединить гибкий вал привода счетчика "суточного пройденного пути", больше отвести щиток приборов от панели приборов и выполнить пломбировку.

Схема пломбирования привода гибкого вала спидометра 22.3801 дана на рис. 6.

 

Пломбирование спидометра 26/15/12 и его привода

Принципиальная схема пломбирования спидометра 26/15/12 дана на рис. 25, а его привода на рис. 26.

Пломбировочная проволока пропускается через отверстия: ушка накидной гайки гибкого вала (1), в стойку на корпусе (2), щитка приборов (3) и пломбы (4).

Привод гибкого вала спидометра 26/15/12 пломбировать путем пропускания проволоки через отверстия головки стопорного болта привода спидометра (1), гаек корпуса спидометра (2, 3), гайки гибкого вала (4) и отверстия пломбы (5).

 

Пломбирование спидометров СП201, СП201А

Принципиальная схема пломбирования спидометров СП201, СП201А дана на рис. 27. Перед пломбированием спидометра вынуть нижний патрон осветительной лампы и проверить целостность пластмассового колпачка (не должен быть расплавлен или разрушен) с целью исключения доступа к счетному узлу спидометра.

При пломбировании пропускать через отверстия ушка накидной гайки (1), ушка корпуса спидометра (2), ушка скобы крепления спидометра (3), щитка приборов (4) и отверстия пломбы.

 

Пломбирование спидометров СП116, СП135, СП205

Принципиальная схема пломбирования спидометров дана на рис. 28. Перед пломбированием спидометра вынуть нижний патрон осветительной лампы и проверить целостность пластмассового колпачка (не должен быть расплавлен или разрушен) с целью исключения доступа к счетному узлу спидометра. При пломбировании проволоку пропустить через отверстия скобы на корпусе спидометра (1), ушка накидной гайки гибкого вала (2), ушка в скобе крепления спидометра (3), щитка приборов (4) и пломбы (5).

 

Пломбирование спидометров СП148, 22.3801, СП104

Принципиальная схема пломбирования спидометров СП148, 22.3801 и СП104 дана на рис. 29.

Пломбировочная проволока пропускается через отверстия ушка накидной гайки гибкого вала (1), стойки, корпуса спидометра (2), (у спидометра СП104 через отверстие ребра корпуса спидометра), ободка спидометра (3) и отверстия пломбы (4).

Привод спидометра пломбировать по схеме на рис. 5.

Пломбирование спидометра СП264.

Принципиальная схема пломбирования спидометра СП264 дана на рис. 30.

Пломбировочная проволока: пропускается через отверстия ушка накидной гайки гибкого вала (1), стойки корпуса спидометра (2), дополнительное отверстие (3) в панели кабины (проколотое шилом) и отверстия пломбы (4).

Привод спидометра пломбировать по схеме на рис. 14.

 

Пломбирование спидометров СП24, СП24А, СП24Д2, СП24В, СП24В2, СП24В4, СП24Д

Принципиальная схема пломбирования указанных спидометров приведена на рис. 31.

Пломбировочная проволока пропускается через отверстия ушка накидной гайки гибкого вала (1), скобы крепления спидометра (2), стойки на корпусе спидометра (3), щитка приборов (4) и пломбы (5).

 

Пломбирование спидометров СП20БЗ, СП45, СП45А, СП20В, СП122, СП118, СП140

Принципиальная схема пломбирования указанных спидометров дана на рис. 32.

Пломбировочная проволока пропускается через отверстия ушка накидной гайки гибкого вала (1), прилива на корпусе спидометра (2) в щитке приборов (3) и пломбы (4).

 

Пломбирование спидометров СП119, СП134

Принципиальная схема пломбирования указанных спидометров дана на рис. 33.

Пломбировочная проволока пропускается через отверстие головки винта крепления крышки электромоторчика спидометра (1), головки винта крепления электромоторчика (2), щитка приборов (3), пломбы (4).

 

Пломбирование спидометров СП125

Принципиальная схема пломбирования спидометров СП125 дана на рис. 34.

Пломбировочная проволока пропускается через отверстия головки винта крепления крышки электромоторчика (1), головки винта крепления спидометра к корпусу (2), щитка приборов (3) и пломбы (4).

 

Пломбирование датчика электропривода спидометра

Принципиальная схема пломбирования датчика МЭ-304, МЭ-307 дана на рис. 35.

Перед пломбированием датчика заменить винты крепления траверзы, крышки и штепсельного разъема на винты того же диаметра с цилиндрической головкой. В головках винтов просверлить отверстия диаметром 1,5 мм. При пломбировании проволоку пропустить через отверстия в головке болта крепления датчика (1), головке винта крепления траверзы (2), головке винта крепления крышки (3), голове винта штепсельного разъема (4) и пломбы (5), у датчика МЭ-307 штепсельный разъем и соответственно винт 4 отсутствует.

 

Пломбирование спидометров СП191-А, СП191-Е2, СП193, СП262

Принципиальная схема пломбирования указанных спидометров дана на рис. 36.

Пломбировочная проволока пропускается через отверстия ушка накидной гайки гибкого вала (1), головки винта (2) крепления спидометра к корпусу (стойки корпуса приборов у СП262), панели приборов (3) и отверстия пломбы (4).

Принципиальные схемы пломбирования приводов спидометров с механическим приводом даны на рис. 37, 38, 39.

Рис. 37 - пломбировочная проволока пропускается через отверстия ушка накидной гайки гибкого вала (1), головки болта крепления привода спидометра (2) и отверстия пломбы (3).

Рис. 38 - пломбировочная проволока пропускается через отверстия ушка накидной гайки гибкого вала (1), головки болта крепления привода спидометра (2) и отверстия пломбы (3).

Рис. 39 - пломбировочная проволока пропускается через отверстия ушка накидной гайки гибкого вала (1), головки болта крепления привода спидометра (2) и отверстия пломбы (3).

 

Пломбирование спидометров СП122 и 621/11 автомобилей ПАЗ-672, Ныса-501, 521, ЖУК и их приводов

Принципиальные схемы пломбирования указанных спидометров и их приводов даны на рис. 5 и 32.

Пломбировочная проволока продевается через отверстие ушка накидной гайки гибкого вала, отверстие в скобе, отверстие в пластине корпуса спидометра, отверстие в щитке приборов и отверстие пломбы, которая подвешивается под справочным кольцом на передней части панели.

Привод гибкого вала спидометра пломбируется путем продевания проволоки через ушко накидной гайки гибкого вала, дополнительное отверстие в головке болта крепления привода, отверстие пломбы.

 

Пломбирование спидометров СП175 и 16.3802 автомобилей ЛуАЗ и их приводов

Принципиальная схема пломбирования указанных спидометров дана на рис. 25, а их приводов на рис. 5.

Пломбировочная проволока продевается через отверстие ушка накидной гайки гибкого вала, ушко на задней стенке корпуса спидометра, дополнительное отверстие в щитке приборов и отверстие пломбы.

Привод гибкого вала спидометра пломбируется путем продевания проволоки через ушко накидной гайки гибкого вала, дополнительное отверстие в головке болта крепления редуктора привода спидометра к коробке передач, отверстия пломбы.

 

Пломбирование спидометра автомобиля ИФА-В-50 и его привода

Принципиальная схема пломбирования указанного спидометра и его привода дана на рис. 13, 40.

Пломбировочная проволока продевается через дополнительное отверстие в накидной гайке гибкого вала, дополнительное отверстие в щитке приборов и отверстия пломбы. Привод гибкого вала спидометра пломбируется путем продевания проволоки через дополнительное отверстие в накидной гайке, дополнительное отверстие в шпильке крепления фланца на коробке передач и отверстия пломбы.

 

Пломбирование спидометра автомобиля ИФА-мультикар и его привода

Принципиальная схема пломбирования автомобиля ИФА-мультикар и его привода дана на рис. 41, 42.

Пломбировочная проволока обкручивается 2-3 раза вокруг оплетки гибкого вала и продевается через дополнительное отверстие гайки крепления спидометра, дополнительное отверстие в щитке приборов и отверстия пломбы. Привод гибкого вала пломбируется путем продевания проволоки через дополнительное отверстие в головке стопорного винта механизма привода, отверстия пломбы и обкручивается (2-3 витками) проволоки оплетки гибкого вала.

 

Пломбирование спидометра автомобиля Шкода-706 и его привода

Принципиальная схема пломбирования указанного спидометра и его привода дана на рис. 5, 43.

Пломбировочная проволока продевается через ушко накидной гайки гибкого вала, дополнительное отверстие в щитке приборов и отверстие пломбы.

Привод гибкого вала пломбируется путем продевания проволоки через ушко накидной гайки гибкого вала, дополнительное отверстие в головке болта крепления привода к коробке передач и отверстия пломбы.

 

Пломбирование спидометра автомобиля Шкода 100.42 и его привода

Принципиальная схема пломбирования спидометра и схема пломбирования его привода даны на рис. 44, 45.

Пломбировочная проволока продевается через ушко накидной гайки гибкого вала, отверстие в пластине под патроном лампочки подвески, отверстие в щитке приборов, отверстия в пломбе.

Привод гибкого вала пломбируется путем продевания проволоки через ушко накидной гайки гибкого вала, дополнительное отверстие в головке болта крепления привода к коробке передач и отверстия пломбы.

 

Пломбирование спидометра автомобиля Робур-3000 и его привода

Принципиальные схемы пломбирования спидометра и его привода даны на рис. 46, 47.

Пломбировочная проволока оборачивается 2-3 раза вокруг троса гибкого вала, продевается через дополнительное отверстие в щитке приборов и отверстие в пломбе.

Привод гибкого вала пломбируется путем продевания проволоки через дополнительное отверстие в накидной гайке гибкого вала, отверстие в приливе корпуса коробки передач, отверстия в пломбе.

 

Пломбирование спидометра автомобиля Авиа-20Ф, 30Н, 31К, 31Н и его привода

Принципиальные схемы пломбирования указанного спидометра и его привода даны на рис. 48, 49, 50.

При пломбировании спидометра автомобиля Авиа-20Ф необходимо проволоку продеть через отверстие ушка на задней стенке спидометра, обернуть три раза вокруг троса привода, продеть через дополнительное отверстие в щитке приборов и отверстия пломбы.

При пломбировании спидометра автомобиля Авиа-30Н, 31К, 31Н необходимо продеть проволоку через отверстие в ушке накидной гайки, дополнительное отверстие в щитке приборов, отверстие в ушке корпуса спидометра и отверстие в пломбе.

Привод гибкого вала пломбируется путем продевания проволоки через отверстие в головке болта крепления привода, обернуть ее 3 раза вокруг троса привода и продеть в отверстие пломбы.

 

Пломбирование спидометра РС120-42-10 автомобиля Татра-138 и его привода

Принципиальные схемы пломбирования указанного спидометра и его привода даны на рис. 11, 51.

При пломбировании спидометра необходимо проволоку продеть через отверстие накидной гайки гибкого вала, дополнительное отверстие в щитке приборов и отверстия пломбы.

Привод гибкого вала спидометра пломбируется путем продевания проволоки через отверстие в ушке накидной гайки гибкого вала, дополнительное отверстие в ребре коробки передач и отверстия пломбы.

 

Пломбирование спидометра PC-120-57-10 автомобиля Татра-148 и его привода

Принципиальные схемы пломбирования указанного спидометра и его привода даны на рис. 12, 52. При пломбировании спидометра проволока продевается через отверстие накидной гайки гибкого вала, дополнительное отверстие в шпильке крепления спидометра, отверстие в щитке приборов и отверстия в пломбе.

Привод гибкого вала пломбируется путем продевания проволоки через отверстие накидной гайки гибкого вала, дополнительное отверстие в головке болта крепления крышки блокировки коробки передач и отверстия в пломбе.

 

Пломбирование спидометра автомобиля Татра-815С1-26208 и его привода

Принципиальные схемы пломбирования указанного спидометра и его привода даны на рис. 53, 54.

При пломбировании спидометра пломбировочная проволока продевается через отверстие ушка накидной гайки гибкого вала, отверстие в пластине на задней стенке спидометра и отверстия пломбы.

Привод гибкого вала пломбируется путем продевания проволоки через отверстие ушка накидной гайки гибкого вала, отверстие гайки М10, приваренной к приливу редуктора переднего моста и отверстия пломбы.

 

Пломбирование спидометра 013Р-В-72 автомобилей Вольво и Мерседес-Бенц и его привода

Принципиальные схемы пломбирования указанного спидометра и его привода даны на рис. 55, 56.

При пломбировании спидометра пломбировочная проволока продевается через отверстие ушек на задней стенке спидометра, отверстие в винте крепления механизма привода к корпусу спидометра, оборачивается 3 раза вокруг троса спидометра, продевается через дополнительное отверстие в щитке приборов и отверстия пломбы.

Привод гибкого вала пломбируется путем продевания проволоки через отверстие в головке болта привода к коробке передач, отверстие в гайке крепления редуктора привода к приводу, оборачивается 3 раза вокруг троса привода и продевается в отверстие пломбы.

 

Пломбирование спидометра СП-119 автобусов ЛАЗ, ЛиАЗ и его датчиков электроприводов

Принципиальные схемы пломбирования указанного спидометра и его датчика даны на рис. 23, 33, 57.

При пломбировании спидометра пломбировочная проволока продевается через отверстие винта крепления крышки, отверстие винта крепления кожуха спидометра, отверстие в щитке приборов и отверстия в пломбе.

При пломбировании датчика проволоку необходимо продеть через отверстие в ушке крышки датчика, отверстие винта крепления крышки датчика, отверстие в головке болта крепления датчика и отверстия в пломбе.

 

Пломбирование спидометров СП-149, 15.3802 автобусов ЛАЗ, ЛиАЗ и их датчиков электропривода

Принципиальные схемы пломбирования указанных спидометров и их датчиков даны на рис. 18, 20, 23.

При пломбировании спидометров необходимо продеть проволоку в отверстие винта крепления крышки спидометра, отверстие винта крепления крышки, закрывающей колодку с питающими проводами (крышку необходимо изготовить самим), и кожуха спидометра, отверстие в щитке приборов и отверстие в пломбе.

Пломбирование датчика МЭ-307 необходимо производить путем продевания проволоки через отверстие винта крепления колодки к крышке датчика, отверстие винта крепления крышки датчика, отверстие болта крепления датчика и отверстия пломбы.

 

Пломбирование спидометров 38004302002, 38006302002 автобусов Икарус и их датчиков электропривода

Принципиальные схемы пломбирования спидометров и датчика даны на рис. 58, 59.

При пломбировании спидометров необходимо продеть проволоку в дополнительные отверстия в шпильках крепления спидометра, дополнительное отверстие в щитке приборов и в отверстия пломбы. При этом необходимо закрыть контакты спидометра пломбировочной крышкой, которую необходимо изготовить самим. Спидометр крепится совместно с пломбировочной крышкой скобой крепления к щитку приборов, при этом провода выводятся через отверстие в пломбировочной крышке.

При пломбировании датчика проволоку необходимо продеть в отверстия кожуха, закрывающего контакты датчика, дополнительное отверстие в гайке крепления датчика, отверстия в пломбе. Кожух, закрывающий, необходимо изготовить самим.

В качестве справки в приложении 6 приведен перечень применяемых спидометров.

 

6. Приложения

Приложение 1

Обязательное

 

наименование автотранспортного предприятия

 

 

наименование вышестоящей организации

 

Журнал
 учета ремонта, осмотров и пломбирования
спидометров и датчиков

 

 

В журнале пронумеровано
и прошнуровано ___________ листов

Ответственный за контроль
ведения учета
Начальник ОТК

ф.и.о.

 

Начато ____________ 19   г.

Окончено ____________ 19   г.

 

 

 

Приложение 2

Обязательное

 

Марка автомобиля

 

 

 

 

 

 

Гос. Знак №

 

Гаражный номер автомобиля

 

 

 

 

 

Марка спидометра

 

 

 

 

 

 

Фамилия водителей, закрепленных за данным автомобилем и их табельный номер:

      

 

 

т. __________ таб. №

 

 

 

 

 

 

т. __________ таб. №

 

 

 

 

 

 

 

 

Дата
пломбирования

Показания спидометра при пломбировании
км

Основные причины перепломбирования спидометра, привода

№ акта об установлении неиспр. спидометра или привода и срыва пломбировки

Фамилия
№ клейма лица, производившего пломбировку

Подпись лица, принявшего автомобиль после пломбирования

Спидометра

Привода

 

 

 

 

 

 

 

 

 

 

 

 

 

 

 

 

 

 

 

 

 

 

 

 

 

 

 

 

 

 

 

 

 

 

 

 

 

 

 

 

 

 

 

 

 

 

 

 

 

 

 

 

 

 

 

 

 

 

 

 

 

 

 

 

 

 

 

 

 

 

 

Приложение 3

Обязательное

Журнал
учета выдачи и замены клейм

 

Квартал

Наименование цеха, участка автоколонны, филиала

Ф.И.О.
 ответственного за опломбирование

Номер
 клейма

Дата получения

Подпись ответственного лица, получившего клеймо

Подпись лица, принявшего клеймо прошедшего квартала

Примечание

|

 

 

 

 

 

 

 

 

II

 

 

 

 

 

 

 

 

III

 

 

 

 

 

 

 

 

IV

 

 

 

 

 

 

 

 

 

Приложение 4

Обязательное

 

наименование автопредприятия

 

 

Акт № _____

от "       "_____________19    г.

о технической неисправности спидометра

 

"      "_________19    г. в _________ час. __________ мин.

 

автомобиль марки ____________ гос. №

 

 

вернулся в гараж с неисправным спидометром, имеющим

 

 

пломбы с оттиском № _____________________ с показанием счетчика ___________ км.

 

Спидометр вышел из строя по причине:

 

 

 

Спидометр № ___________отремонтирован и опломбирован

 

 

______________ пломба с оттиском №

 

 

с показанием счетчика __________ км. "      "_________ 19      г.

 

Должностное лицо, ответственное за опломбирование

 

 

 

 

Работник службы эксплуатации

 

 

 

Водитель

 

 

 

 

Приложение 5

Обязательное

 

Утверждаю

 

 

руководитель технической службы

вышестоящей организации

 

 

 

Ф.И.О.

 

Акт

на списание спидометра "          " _______19    г.

 

Комиссия в составе: председателя - главного инженера

АТП

 

и членов комиссии:

 

наименование АТП

 

 

 

должность, Ф.И.О.

 

произвел технический осмотр ________ шт. спидометров, находящихся в эксплуатации и установил следующее:

 

Модель спидометра и завод-изготовитель

 

Год выпуска спидометра

 

Показания указателя пробега спидометра

 

Примечание

 

 

При осмотре спидометров комиссия установила следующее состояние:

 

 

На основании изложенного комиссия считает, что износ механизмов

спидометров, подвергнутых осмотру

 

модель

 

 

в результате длительной эксплуатации

количество

     

 

достигает _____ % и подлежит списанию с баланса

автотранспортного предприятия.

 

 

 

     Непригодные списанные спидометры подлежат к сдаче в ремонтную группу предприятия или в метрологическую службу для использования непригодных деталей в ремонтном фонде спидометров.

 

 

 

Председатель комиссии

 

 

 

 

Члены комиссии

 

 

 

 

 

Приложение 6

Справочное

Применение спидометров

 

Марка спидометра

Марка автомобиля

Номер рисунка спидометра

Номер рисунка привода

1

2

3

4

СП20/Б3

 

ЗИЛ-158, 158В

32

5

СП20-В

 

ЗИЛ-158В, ГАЗ-5ЭФ

32

5

СП24

 

ГАЗ-51А, 51Б, 63, 63А,

31

5

 

 

САЗ-2500,

31

5

 

 

ГАЗ-69, 69А, 69АМ, 69М,

31

5

 

 

КАВЗ-651А, 651Б

31

5

СП24-А

 

ЗИЛ-157, 157К, 157В, 157КВ

31

5

 

 

164, 164А, 164Н, 164АР,

31

5

 

 

ЗИЛ-ММЗ-585, 585И, 585К, 585Л,

31

9

 

 

585М,

31

9

 

 

КАЗ-600А, 600В, 600АВ,

31

38

 

 

ЗАЗ-969

 

 

СП24-В

 

ГАЗ-52Ф, 52-03

31

5

СП-24-В2

 

ГАЗ-66-02

31

8

СП-24-В4

 

ГАЗ-66-01

31

8

СП-24-Д

 

Урал-377

31

8

СП24-Д2

 

Урал-375, 375Д, 377C

31

8

СП45-А

 

УАЗ-451, 451А, 451Д, 451ДМ,

32

5

 

 

451М,

 

 

452, 452Г, 452Д

СП104

 

РАФ-2203, ГАЗ-24

29

5

СП116

 

ГАЗ-69, 69А,

28

5

 

 

ГАЗ-51,

28

5

 

 

ГАЗ-63,

28

8

 

 

УАЗ-450, 450А, 450Д,

28

5

 

 

Урал-355, 355М,

28

5

 

 

КрАЗ-214, 214Б, 257, 219Б,

 

 

 

 

222, 222Б

28

5

 

 

КрАЗ-221

28

8

 

 

МАЗ-200, 200Г, 200П, 200В, 200М,

 

 

 

 

205, 501, 501Б

28

5

СП116-Б

 

Урал-375, 375ДМ, 377, 377C

28

8

СП118

 

КрАЗ-254, 255Л, 255Б, 256, 257, 258

32

8

СП125

 

БелАЗ-531, 540, 540В, 548В, 542, 546

34

35

СП134

 

МАЗ-500, 500А, 503, 503А, 503Б,

33

35

 

 

504

 

 

504А, 504Б, 504В, 504Г, 509, 509П,

 

 

516

СП138-Б

 

ГАЗ-3102, 31022, 31011

29

5

СП140

 

КрАЗ-255БС

32

8

СП148

 

РАФ-2203, ГАЗ-24

29

5

СП152

 

МАЗ-5432, 54322, 6422, 64227,

18

19, 23

 

 

5551

 

 

СП153

 

БелАЗ-531, 540А, 548А

18

20, 23

СП155

 

МАЗ-500А, 503А, 504А,

18, 21

20, 23

 

 

КамАЗ-5320, 5410, 5511

18, 21

20, 23

СП170

 

БелАЗ-549Г, КамАЗ-5320, 5410,

18, 21

20, 23

 

 

5511

 

 

СП175

 

ЛуАЗ-969,

25

5

 

 

ЕраЗ-762В, 37341, 37305, 37304,

 

 

 

 

37301, 37302

25

5

22.3801

 

ВАЗ-2108

24

6

СП191-А

 

ВАЗ-2101, 2102

36

37

СП191-Е2

 

ВАЗ-21012, 21022

36

37

СП193

 

ВАЗ-2103, 2106, 2121, 2105, 2107

36

37

СП201

ЗИЛ-130, 130Б, 130Г, 131A, 131,

 

 

 

138A, 138И, ММЗ-555, 4502, 45021,

 

 

 

 

45022, 45023, 431410, 431610,

27

9

 

 

43142

27

9

 

 

КАЗ-608

 

 

СП201А

 

ЗИЛ-130, 131, 131A, 131В, 138A,

 

 

 

 

138И,

27

9

 

 

ММЗ-555, 4502, 45021, 45022,

27

9

 

 

45023,

 

 

 

 

КАЗ-608

 

 

СП205

 

ЗИЛ-130Г, ЗИЛ-133Гя

28

9

СП135

 

ГАЗ-53А, 53-07, 52-01, 52-04, 52-08,

 

28

5

 

 

52-07, 52, 28

 

28

8

 

 

ГАЗ-66-01, 66-02, 66-04, 66-05,

 

28

5

 

 

САЗ-53Б

 

 

 

 

 

КрАЗ-255Б, 255Л1, 255В1, 256Б1,

 

28

8

 

 

257, 258

 

 

 

СП135

 

УАЗ-469, 469Б, 451М, 452, 451ДМ,

 

 

 

 

452А, 452В, 452Д,

28

5

 

 

КАВЗ-685, 685М, 685Б, 685Г

28

5

СП264

 

РАФ-977ДМ,

30

5

 

 

Москвич-408, 412, 426, 427, 433,

 

 

 

 

434, 2138, 2137, 2140, 2125, 2715,

30

14

 

 

ЕрАЗ-762, 762В

30

14

СП262

 

ЗАЗ-966

30

38

 

 

ЗАЗ-968, 968М

36

39

 

 

26/15/12 Мегирус-Дойти 232Д19

25

26

12.3802

 

КамАЗ-5410, 5320, 53212, 54112,

17, 18

20, 23

 

 

5511, 43101,

21, 22

20, 23

 

 

КрАЗ-260, 260В,

21, 22

20, 23

 

 

Урал-4320, 5557,

21, 22

20, 23

 

 

БелАЗ-540, 540А, 548

17, 18

20, 23

СП-122,

 621/11

 

ПАЗ-672, Ниса-501, 521, Жук

32

5

СП-175,

 16.3802

ЛуАЗ-969

 

 

 

 

ИФА-В-50

25

5

 

 

ИФА-мультикар

40

13

 

 

Шкода-706

41

42

 

 

Шкода 100.42

43

5

 

 

Робур-Л/Д 3000

44

45

 

 

Авиа-20Ф

46

47

 

 

Авиа-30Н, 31К, 31П

48

50

 

 

 

49

50

PC120-42-10

 

Татра-138

51

11

PC120-57-10

 

Татра-148

52

12

 

 

Татра-815С1-26208

53

54

013P-B-72

 

Вольво Ф-12, Ф-89, Мерседес-Бенц-2232

55

56

СП119

 

ЛАЗ-695Б, 695Е, 695М, 695Н,

 

 

 

 

697Е,

33

23, 57

 

 

697М, 697И, 699, 699А, 42021

33

23, 57

 

 

ЛиАЗ-677, 677А

 

 

СП149.15.3802

 

То же

18

20, 23

38004302002

 

Икарус-250, 256, 260, 280

58

59

38006302002

 

 

 

 

380.00102004

 

 

 

 

380.04602002

 

 

 

 

380.00202012

 

 

 

 

 

 

Рис. 1.

 

Принципиальная схема пломбирования спидометра органами Госстандарта

 

 

 

Рис. 2.

 

Содержание надписей клейма пломбира

 

 

 

Рис. 3.

 

Принципиальная схема установки свинцовой пломбы

 

 

 

Рис. 4.

 

Принципиальная схема пломбирования спидометра

 

 

 

Рис. 5.

 

Принципиальная схема пломбирования привода спидометра

 

 

 

Рис. 6.

 

Принципиальная схема пломбирования привода спидометра

 

 

 

Рис. 7.

 

Схема пломбирования привода спидометра

 

 

 

Рис. 8.

 

Схема пломбирования привода спидометра

 

 

 

Рис. 9.

 

Принципиальная схема пломбирования привода спидометра

 

 

 

Рис. 10.

 

Принципиальная схема пломбирования привода спидометра

 

 

 

Рис. 11.

 

Принципиальная схема пломбирования привода спидометра

 

 

 

Рис. 12.

 

Принципиальная схема пломбирования привода спидометра

 

 

 

Рис. 13.

 

Принципиальная схема пломбирования привода спидометра

 

 

 

Рис. 14.

 

Принципиальная схема пломбирования привода спидометра

 

 

 

Рис. 15.

 

Принципиальная схема пломбирования привода спидометра

 

 

 

Рис. 16.

 

Принципиальная схема пломбирования привода спидометра

 

 

 

Рис. 17.

 

Принципиальная схема пломбирования электромеханического спидометра
с электроприводом 12.3802

 

 

Рис. 18.

 

Принципиальная схема пломбирования электромеханического спидометра
с электроприводом 12.3802. СП153

 

 

Рис. 19.

 

Принципиальная схема пломбирования датчика электропривода спидометра

 

 

 

Рис. 20.

 

Принципиальная схема пломбирования датчика электропривода тахометра

 

 

 

Рис. 21.

 

Принципиальная схема пломбирования штекерного разъема

 

 

Рис. 22.

 

Принципиальная схема пломбирования штекерного разъема

 

 

 

Рис. 23.

 

Принципиальная схема пломбирования промежуточного штекерного разъема

 

 

Рис. 24.

 

Схема пломбирования спидометра 22.3801

 

 

Рис. 25.

 

Схема пломбирования спидометра 26/15/12, СП-175

 

 

Рис. 26.

 

Схема пломбирования привода спидометра

 

 

Рис. 27.

 

Схема пломбирования спидометра СП201, 201А

 

 

Рис. 28.

 

Схема пломбирования спидометра СП116, СП116Б, СП135, СП205

 

 

Рис. 29.

 

Схема лавирования спидометров СП148, 22.3801, СП104, СП138-Б

 

 

 

Рис. 30.

 

Схема пломбирования спидометров СП264

 

 

Рис. 31.

 

Схема пломбирования спидометра СП24, СП24А, СП24Д2, СП24В, СП24В2, СП24В4, СП24Д

 

 

Рис. 32.

 

Схема пломбирования спидометров СП20БЗ, СП45, СП45А, СП20Б, СП122, СП118, СП140, 621/11

 

 

Рис. 33.

 

Схемы пломбирования спидометров СП119, СП149, СП134

 

 

Рис. 34.

 

Схема пломбирования спидометров СП125

 

 

Рис. 35.

 

Схема пломбирования датчика электропривода спидометра

 

 

Рис. 36.

 

Схема пломбирования спидометров СП191-А, СП191-Е2, СП193, СП262

 

 

Рис. 37.

 

Схема пломбирования привода спидометра

 

 

Рис. 38.

 

Принципиальная схема пломбирования привода спидометра

 

 

Рис. 39.

 

Принципиальная схема пломбирования привода спидометра

 

 

Рис. 40.

 

Схема пломбирования спидометров СП-122 и 621/11

 

 

Рис. 41.

 

Схема пломбирования спидометра автомобиля ИФА-мультикар

 

 

Рис. 42.

 

Схема пломбирования привода спидометра автомобиля ИФА-мультикар

 

 

Рис. 43.

 

Схема пломбирования спидометра автомобиля Шкода-706

 

 

Рис. 44.

 

Схема пломбирования спидометра автомобиля Шкода 100.42

 

 

Рис. 45.

 

Схема пломбирования привода спидометра автомобиля Шкода 100.42

 

 

Рис. 46.

 

Схема пломбирования спидометра автомобиля Робур LD-3000

 

 

 

Рис. 47.

 

Схема пломбирования привода спидометра автомобиля Робур-ЛД 3000

 

 

Рис. 48.

 

Схема пломбирования спидометра автомобиля Авиа-20Ф

 

 

Рис. 49.

 

Схема пломбирования спидометра автомобилей Авиа-30Н, 31К, 31Н

 

 

Рис. 50.

 

Схема пломбирования привода спидометра автомобилей Авиа-20Ф, 30Н, 31К, 31Н

 

 

Рис. 51.

 

Схема пломбирования спидометра РС 120-42-10

 

Рис. 52.

 

Схема пломбирования спидометра РС 120-57-10

 

 

Рис. 53.

 

Схема пломбирования спидометра автомобиля Татра-815 С1-26208

 

 

Рис. 54.

 

Схема пломбирования спидометра автомобиля Татра-815С1-26208

 

 

Рис. 55.

 

Схема пломбирования спидометра 013Р-В-72

 

 

Рис. 56.

 

Схема пломбирования привода спидометра 013Р-13-72

 

 

Рис. 57.

 

Схема пломбирования датчиков МЭ-300, МЭ-303 спидометров СП-119, СП-149

 

 

 

Рис. 58.

 

Схема пломбирования спидометров 38 004 302002 и 38 006 302002

 

 

Рис. 59.

 

Схема пломбирования датчика спидометров 38 004 302002 и 38 006 302002

 

 

 

 



© 2013 Ёшкин Кот :-)