Информационная система
«Ёшкин Кот»

XXXecatmenu

ФЕДЕРАЛЬНОЕ АГЕНТСТВО
ПО ТЕХНИЧЕСКОМУ РЕГУЛИРОВАНИЮ И МЕТРОЛОГИИ

НАЦИОНАЛЬНЫЙ
СТАНДАРТ
РОССИЙСКОЙ
ФЕДЕРАЦИИ

ГОСТ Р
53293-2009

Пожарная опасность веществ и материалов

МАТЕРИАЛЫ, ВЕЩЕСТВА
И СРЕДСТВА ОГНЕЗАЩИТЫ

Идентификация
методами термического анализа

Москва
Стандартинформ
2011

Предисловие

Цели и принципы стандартизации в Российской Федерации установлены Федеральным законом от 27 декабря 2002 г. № 184-ФЗ «О техническом регулировании», а правила применения национальных стандартов Российской Федерации - ГОСТ Р 1.0-2004 «Стандартизация в Российской Федерации. Основные положения»

Сведения о стандарте

1 РАЗРАБОТАН ФГУ ВНИИПО МЧС России

2 ВНЕСЕН Техническим комитетом по стандартизации ТК 274 «Пожарная безопасность»

3 УТВЕРЖДЕН И ВВЕДЕН В ДЕЙСТВИЕ Приказом Федерального агентства по техническому регулированию и метрологии от 18 февраля 2009 г. № 69-ст

4 ВВЕДЕН ВПЕРВЫЕ

5 ПЕРЕИЗДАНИЕ. Июнь 2011 г.

Информация об изменениях к настоящему стандарту публикуется в ежегодно издаваемом информационном указателе «Национальные стандарты», а текст изменений и поправок - в ежемесячно издаваемых информационных указателях «Национальные стандарты». В случае пересмотра (замены) или отмены настоящего стандарта соответствующее уведомление будет опубликовано в ежемесячно издаваемом информационном указателе «Национальные стандарты». Соответствующая информация, уведомление и тексты размещаются также в информационной системе общего пользования - на официальном сайте Федерального агентства по техническому регулированию и метрологии в сети Интернет

СОДЕРЖАНИЕ

1 Область применения. 2

2 Нормативные ссылки. 2

3 Термины и определения. 2

4 Методы идентификации. 3

5 Подготовка к испытаниям и их проведение. 3

6 Обработка результатов испытаний. 5

7 Установление идентичности образцов. 5

Приложение А (обязательное) Протоколы результатов термического анализа образцов. 7

Приложение Б (обязательное) Требования к приборам, применяемым для проведения идентификации. 9

Приложение В (рекомендуемое) Схемы определения характеристик термического анализа. 10

Библиография. 12

ГОСТ Р 53293-2009

НАЦИОНАЛЬНЫЙ СТАНДАРТ РОССИЙСКОЙ ФЕДЕРАЦИИ

Пожарная опасность веществ и материалов

МАТЕРИАЛЫ, ВЕЩЕСТВА И СРЕДСТВА ОГНЕЗАЩИТЫ

Идентификация методами термического анализа

Fire hazard of substances and materials Мaterials, substance and fire protective means
Identification by thermal analysis methods

Дата введения - 2009-05-01
с правом досрочного применения

1 Область применения

Настоящий стандарт является нормативным документом по пожарной безопасности в области стандартизации и распространяется на вещества, материалы, применяемые в строительстве, энергетике, текстильные материалы (далее по тексту - вещества (материалы)), а также на средства огнезащиты.

Стандарт устанавливает порядок и методы проведения термического анализа и последующей аналитической идентификации веществ (материалов) и средств огнезащиты в целях выявления соответствия определенным требованиям.

Стандарт предназначен для применения при испытаниях веществ (материалов) на пожарную опасность, определении огнезащитных свойств составов и пропиток, установлении соответствия и инспекционном контроле продукции, изготавливаемой предприятиями, юридическими и физическими лицами независимо от форм собственности и ведомственной подчиненности, а также продукции, произведенной за рубежом и ввезенной в Российскую Федерацию.

Стандарт может быть использован при экспертизе пожаров и других видах экспертной оценки.

2 Нормативные ссылки

В настоящем стандарте использованы нормативные ссылки на следующие стандарты:

ГОСТ 9.715-86 Единая система защиты от коррозии и старения. Материалы полимерные. Методы испытаний на стойкость к воздействию температуры

ГОСТ 9980.2-86 Материалы лакокрасочные. Отбор проб для испытаний

ГОСТ 18276.0-88 Покрытия и изделия ковровые машинного способа производства. Метод отбора проб

ГОСТ 29127-91 (ИСО 7111-87) Пластмассы. Термогравиметрический анализ полимеров. Метод сканирования по температуре

ГОСТ Р ИСО 5725-2002 Точность (правильность и прецизионность) методов и результатов измерений. Часть 1. Основные положения и определения

ГОСТ Р 52361-2005 Контроль объекта аналитический. Термины и определения

Примечание - При пользовании настоящим стандартом целесообразно проверить действие ссылочных стандартов в информационной системе общего пользования - на официальном сайте Федерального агентства по техническому регулированию и метрологии в сети Интернет или по ежегодно издаваемому информационному указателю «Национальные стандарты», который опубликован по состоянию на 1 января текущего года, и по соответствующим ежемесячно издаваемым информационным указателям, опубликованным в текущем году. Если ссылочный стандарт заменен (изменен), то при пользовании настоящим стандартом следует руководствоваться заменяющим (измененным) стандартом. Если ссылочный стандарт отменен без замены, то положение, в котором дана ссылка на него, применяется в части, не затрагивающей эту ссылку.

3 Термины и определения

В настоящем стандарте применены следующие термины с соответствующими определениями:

3.1 идентификация продукции: Установление соответствия конкретной продукции образцу и (или) ее описанию.

[ГОСТ Р 51293-99, раздел 2]

3.2 аналитическая идентификация: Отнесение объекта аналитического контроля или его компонентов к конкретному веществу, материалу, классу веществ или материалов.

[ГОСТ Р 52361-2005, раздел 2, пункт 39]

3.3 аналитический контроль: По ГОСТ Р 52361.

3.4 проба вещества (материала): Часть вещества (материала) объекта аналитического контроля, отобранная для анализа и/или исследования его структуры, и/или определения свойств, отражающая его химический состав и/или структуру, и/или свойства.

[ГОСТ Р 52361-2005, раздел 2, пункт 8]

3.5 кривая нагревания: Запись температуры вещества (образца), помещенного в среду, нагреваемую с регулируемой скоростью, в зависимости от времени.

3.6 термический анализ; ТА: Группа методов анализа вещества (материала), объединяющая термогравиметрию, дифференциально-термический анализ, дифференциально-сканирующую калориметрию и ряд других методов.

3.7 термогравиметрия; ТГ: Метод термического анализа, при котором регистрируется изменение массы образца в зависимости от температуры или времени при нагревании в заданной среде с регулируемой скоростью.

3.8 термогравиметрия по производной: Метод, позволяющий получить первую или вторую производную термогравиметрической кривой по времени или температуре.

3.9 дифференциально-термический анализ; ДТА: Метод, позволяющий регистрировать разность температур исследуемого вещества и вещества, используемого в качестве эталона, в зависимости от температуры или времени.

3.10 дифференциально-сканирующая калориметрия; ДСК: Метод, позволяющий регистрировать энергию, необходимую для выравнивания температур исследуемого вещества и вещества, используемого в качестве эталона, в зависимости от температуры или времени.

3.11 степень превращения ω: Количество прореагировавшего вещества; применительно к ТГ - величина, связанная с начальным m0, конечным mк значениями массы образца и его массой в данный момент времени mτ соотношением

Примечание - ω - безразмерная величина, меняется от 0 до 1.

3.12 экстраполированная точка начала или окончания процесса: Точка пересечения касательной, проведенной в точке наибольшего наклона, с экстраполированной базовой линией.

3.13 температура начала разложения: По ГОСТ 29127.

3.14 значимые идентификационные характеристики термического анализа (критерии идентификации): Характеристики термоаналитических кривых, по которым устанавливается идентичность веществ (материалов) и средств огнезащиты.

3.15 качественные идентификационные характеристики термического анализа: Характеристики ТА-кривых, которые дополняют информацию о процессе разложения.

3.16 холостой опыт: Проведение процедуры анализа вещества, материала объекта аналитического контроля без аналитической пробы или с холостой пробой.

[ГОСТ 52361-2005, раздел 2, пункт 31]

4 Методы идентификации

4.1 Идентификация проводится с использованием:

- технической документации;

- визуального метода;

- инструментального метода.

4.2 Идентификация с использованием технической документации проводится на основании представленных сопроводительных документов. Сопроводительные документы должны содержать наименование вещества (материала), данные об изготовителе, показатели назначения и другие основные показатели, принадлежность к определенной партии и иные характеристики.

4.3 Визуальный метод основан на восприятии внешнего вида объекта с помощью зрения. Внешний вид является комплексным показателем, который включает в себя форму, цвет (окраску), состояние поверхности, целостность.

4.4 В качестве инструментального метода идентификации используется термический анализ, включающий в себя методы:

- термогравиметрический (ТГ);

- термогравиметрический по производной (ДТГ);

- дифференциально-термический анализ (ДТА) или дифференциально-сканирующую калориметрию (ДСК).

4.5 Идентификация с применением методов термического анализа проводится в два этапа:

- первый этап - получение идентификационных термоаналитических характеристик в результате проведения испытаний с использованием статистических методов обработки и вычисления средних величин и дисперсий;

- второй этап - установление идентичности (тождественности) испытываемого объекта идентификатору* на основе сравнения дисперсий и средних величин значимых характеристик термического анализа с использованием статистических критериев: Фишера (F) и t-критерия.

___________

* Идентификатор - объект, впервые прошедший термоаналитические испытания и получивший идентификационные характеристики (опорное значение по ГОСТ Р ИСО 5725, часть 1, пункт 3.5).

5 Подготовка к испытаниям и их проведение

5.1 Образцы для проведения испытаний отбираются согласно соответствующим стандартам или техническим условиям (например, для лакокрасочных материалов - по ГОСТ 9980.2, для ковровых покрытий и изделий - по ГОСТ 18276.0).

Примечание - Погрешность отбора проб вещества (материала) или средства огнезащиты включает в себя (по ГОСТ Р 52361): погрешность, обусловленную неоднородностью объекта идентификации; погрешность результатов сопутствующих измерений; погрешность, обусловленную изменением состава и/или структуры, и/или свойств пробы в процессе отбора проб и др.

5.2 Приготовление навесок из образцов объектов непосредственно для испытаний проводится с учетом физических свойств веществ (материалов): теплопроводности, теплоемкости, плотности упаковки частиц образца, размеров включенных частиц и т.п.

Примечания

1 Если образец представляет собой гетерогенную смесь разнородных материалов, компоненты которых распределены во всем объеме случайно, то приготовление навески для испытаний проводят, исходя из опыта сохранения представительности, которая в процессе получения идентификационных характеристик оценивается статистически по нескольким параллельным испытаниям.

2 При приготовлении навески образца указанных выше материалов проводят усреднение пробы, т.е. зернистость и объем ее уменьшают размельчением и последующим делением общего объема пробы на части.

3 Для материалов, состоящих из нескольких частей, например ковровых покрытий или многослойных материалов, используют метод стратификации, т.е. разделение продуктов на однородные части и последующее испытание каждой с проведением параллельных испытаний по ГОСТ Р 52361.

5.3 Масса, форма и размер навески образцов для испытаний выбираются в зависимости от типа используемого прибора, при этом указанные характеристики образцов фиксируются в протоколе в соответствии с приложением А.

5.4 Рекомендуемые характеристики навесок для некоторых видов веществ (материалов):

- однородные композиционные вещества (материалы) и огнезащитные составы - масса от 1 до 20 мг, толщина от 0,2 до 2 мм, форма - пластина, диск, кольцо;

- ворс ковровых покрытий, нити, волокна - масса от 1 до 20 мг, при этом рекомендуется использование специальных капсул и других приспособлений для удерживания навесок образцов от расползания;

- вспучивающиеся огнезащитные покрытия - в форме диска (пластины, кольца) толщиной от 0,2 до 1 мм и массой от 3 до 20 мг, при этом необходимо учитывать увеличение объема образца во время испытаний и не допускать перелива образца из тигля;

- древесина сосны, обработанная пропиточным составом, - в форме пластины, диска, мелкой стружки, слой с поверхности толщиной от 0,5 до 1 мм.

5.5 Перед испытаниями проводят калибровку прибора на стандартных образцах, прилагаемых к данному типу приборов, в соответствии со стандартами [1 - 6].

Примечание - Требования к приборам термического анализа - в соответствии с приложением Б.

5.6 Стандартные образцы выбираются для каждого метода термического анализа с учетом рекомендаций ГОСТ 9.715, ИСO 11357 [1] и ИСO 11358 [2].

5.7 Погрешность результатов калибровки должна соответствовать параметрам, указанным в инструкции для конкретного типа прибора термического анализа.

5.8 Перед испытаниями должны быть изучены возможные источники систематических погрешностей и учтено их влияние (например, дрейф базисной линии во времени при проведении холостого опыта).

Для этого проводят предварительные испытания и определяют их оптимальные условия: скорость нагревания, массу и форму навески, с учетом приведенных выше рекомендаций. При этом в параллельных испытаниях следует учесть факторы, влияющие на характер термоаналитических кривых (например, вспучивание, расслоение или резкое изменение размеров навески образца в процессе нагревания и т.п.).

5.9 Нагревание образца проводится в динамической окислительной (воздух) или инертной (для коксующихся материалов и средств огнезащиты на органической основе) атмосфере газа. В необходимых случаях, когда требуется повысить сходимость данных, используется переменная динамическая инертная атмосфера газа (азот, аргон) со сменой ее при определенной температуре на окислительную. Смена атмосферы в процессе нагревания проводится также в целях определения коксового и зольного остатков вещества.

Примечания

1 Испытания образцов веществ (материалов), разлагающихся с высокими скоростями потери массы (например, полипропилен, полистирол, полиэтилен и т.п.), проводятся в инертной атмосфере.

2 Температура смены атмосферы определяется для каждого материала индивидуально.

3 Скорость газа во время испытаний от 50 до 100 см3/мин.

4 Требования к газу по ГОСТ 29127 (например, азот особой чистоты - по ГОСТ 9293 с изм. 1, 2, 3).

5.10 Количество проводимых параллельных испытаний и используемые методы термического анализа определяются с учетом специфики исследуемого объекта (состава, однородности и т.п.).

5.11 Рекомендуемое количество параллельных испытаний n от трех до пяти, но не менее трех.

Примечание - В особых случаях допускается проведение двух параллельных испытаний. Особым случаем считают многократные параллельные испытания одних и тех же или однотипных образцов, для которых методически определены форма, масса навески, погрешность, зависящие от структуры образца и других параметров.

5.12 Рекомендуемые основные условия проведения весовых испытаний:

- начальная температура - от 25 °С до 30 °С или температура окружающей среды;

- скорость нагревания - 5, 10, 20 °С/мин;

- атмосфера - инертный газ или воздух с расходом от 50 до 150 мл/мин (рекомендуемая температура переключения газа для полимерных материалов от 500 °С до 650 °С, для огнезащитных красок и термостойких материалов от 750 °С до 850 °С);

- конечная температура - по окончании процесса деструкции (для большинства объектов идентификации не превышает диапазон от 900 °С до 1000 °С).

Примечание - Для получения качественных идентификационных характеристик допускается проведение испытаний в атмосфере воздуха.

5.13 Характеристики термического анализа

5.13.1 Все характеристики ТА, полученные в результате испытаний, разделяют на значимые и качественные.

5.13.2 Значимые идентификационные характеристики ТА:

а) значения температуры, °С, при фиксированных потерях массы (например, 5, 10, 20, 30, 50 %), которые определяются по ТГ-кривым, приведенным на рисунке В.1 (приложение В), для веществ (материалов) и огнезащитных покрытий на полимерной основе.

При определении значений температуры диапазон суммарной потери массы материала разбивается не менее чем на четыре значения. Например, для материалов с потерей массы, не превышающей 10 %, фиксируются температуры при 1, 2, 3, 4, 5 %.

б) потеря массы Δm, %, при фиксированных значениях температуры (например 100, 150, 200, 250, 300 °С и т.д.), определяемая по ТГ-кривым, приведенным на рисунке В.2 (приложение В);

в) значения температуры при максимумах скорости потери массы, определяемые по ДТГ-кривым (см. рисунок В.3 приложения В);

г) скорость потери массы, %/мин, или амплитуда максимумов (ДТГ-максимум), определяемые по ДТГ-кривым, приведенным на рисунке В.3 (приложение В);

д) коксовый остаток, %, который определяется по окончании процесса пиролиза в инертной атмосфере или при фиксированной температуре по ТГ-кривым, приведенным на рисунке В.4 (приложение В);

е) зольный остаток, %, который определяется по окончании процесса термоокисления при фиксированной температуре по ТГ-кривым, приведенным на рисунке В.4 (приложение В);

ж) значения температуры плавления и соответствующие им тепловые эффекты, Дж/г, определяемые по ДСК (ДТА)-кривым (см. рисунок В.5 приложения В).

5.13.3 Качественные характеристики ТА:

а) интервалы температур, внутри которых происходят процессы деструкции по ТГ- и ДТГ-кривым, или тепловых эффектов по ДТА (ДСК)-кривым;

б) экстраполированные значения температуры начала и окончания протекания термоаналитических эффектов (см. рисунок В.3 приложения В);

в) тепловые эффекты в абсолютных единицах, Дж/г, по ДСК-кривым или в относительных единицах, °С·мин/мг, по ДТА-кривым.

6 Обработка результатов испытаний

6.1 В результате термоаналитических испытаний получают соответствующие графические зависимости, которые обрабатываются по схемам, приведенным на рисунках В.1 - В.6 (см. приложение В). При этом характеристики ТА, определяемые по а), б) и г) 5.13.2 рекомендуется приводить к безразмерному виду с использованием степени превращения ω, которая изменяется в пределах 0 ≤ ω ≤ 1 (см. рисунок В.6 приложения В), и скорости превращения (см. рисунок А.2.1 приложения А)

                                                              (1)

Обработка графических зависимостей проводится с использованием соответствующего программного обеспечения приборов термического анализа.

6.2 В результате обработки графических зависимостей для каждой нормированной точки и нескольких параллельных испытаний определяют:

- среднее арифметическое  по формуле

                                             (2)

где x1, x2, x3 ... xn - оценка значимой характеристики термического анализа;

- отклонения d от среднего арифметического значения по формулам:

                          (3)

- квадраты этих отклонений по формулам:

                           (4)

- среднеквадратическое отклонение повторяемости (сходимости) результатов измерений S для каждой точки по формуле

                                           (5)

6.3 Результаты обработки заносят в протокол испытаний, в котором указывают дату и время испытаний, приводят информацию о материале, заказчике (производителе) и другие сведения в соответствии с приложением А.

7 Установление идентичности образцов

7.1 Идентификация двух испытанных объектов (идентификатора и поступившего повторно на испытания объекта) проводится на основе сравнения следующих критериев идентификации:

- количества ДТГ-максимумов на соответствующих кривых;

- всех значимых характеристик, определенных в разделе 6.

7.2 В этих целях повторно поступивший материал проходит испытания и проводится обработка результатов согласно разделам 5, 6 настоящего стандарта.

7.3 Результаты испытаний сравниваются с аналогичными результатами, полученными для идентификатора. Сравнению подлежат характеристики ТА, полученные на приборах одного класса и при одинаковых условиях эксперимента: массе, форме и размере образцов; форме, размере и материале тигля; виде газа динамической атмосферы и расходе газа; скорости нагревания и др.

7.4 Сравнение результатов проводится по следующей схеме:

7.4.1 Вычисляются дисперсии σ для каждой значимой точки по формуле

σ = S2.                                                                (6)

7.4.2 Выясняется причастность сравниваемых дисперсий одной и той же генеральной совокупности (проверка нуль-гипотезы, т.е. σ1 = σ2) на основании сравнения критериев Фишера (F-критерий) - экспериментального Fэксп и теоретического Fтеор с использованием следующего неравенства:

Fэксп < Fтеор,                                                             (7)

где

 - дисперсии нормированных точек идентификатора и идентифицируемого (повторно поступившего на испытания) материала; при этом в числитель всегда ставится большая дисперсия, т.е. ;

Fтеор выбирается по таблице 1 в зависимости от уровня значимости α = 1 - Р и числа степеней свободы f1 и f2 (f1 = n1 - 1 для числителя и f2 = n2 - 1 для знаменателя);

P - доверительная вероятность (рекомендуется принимать равной 0,95 в соответствии с таблицей 1).

Таблица 1 - F-критерий в зависимости от числа степеней свободы f1 и f2 (при вероятности 0,95)

f2

f1 = 1

f1 = 2

f1 = 3

f1 = 4

f1 = 5

f1 = 6

1

161

200

216

225

230

234

2

8,51

19,00

19,16

19,25

19,30

19,34

3

10,13

9,55

9,28

9,12

9,01

8,94

4

7,71

6,94

6,59

6,39

6,26

6,16

5

6,61

5,79

5,41

5,19

5,05

4,95

6

5,99

5,14

4,76

4,53

4,39

4,28

7.5 Если для каждой значимой характеристики неравенство (7) выполняется, то нуль-гипотеза подтверждается. В этом случае случайные ошибки обеих серий испытаний близки по величине и не вызваны влиянием на них состава материалов. В противном случае (Fэксп > Fтеор) делается вывод о том, что материалы не идентичны, проводятся уточняющие расчеты или дополнительные испытания для выявления причин обнаруженных отклонений.

7.6 В случае выполнения неравенства (7) для каждой значимой характеристики проводится сравнение двух средних с помощью t-критериев (tэксп и tтеор) в следующем порядке:

- для каждой значимой точки определяется усредненная дисперсия по формуле

                                        (8)

где n1 - количество испытаний идентификатора;

n2 - количество испытаний сравниваемого материала;

- вычисляется tэксп по формуле

                                            (9)

7.6.1 Если найденное значение tэксп по абсолютной величине окажется меньше tтеор:

tэксп < tтеор,                                                           (10)

где tтеор определяется по таблице 2 при заданных уровне значимости (α = 1 - Р = 0,05) и числе степеней свободы объединенной выборки (f = n1 + n2 - 2), то нуль-гипотеза принимается и сравнение средних для каждой нормированной характеристики не дает значимого расхождения.

7.6.2 Если при соответствующих значениях α и f (см. таблицу 2) найденное значение tэксп по абсолютной величине окажется больше tтеор (tэксп > tтеор), то нуль-гипотеза отвергается и значения средних для каждой характеристики ТА имеют значимые расхождения. Выясняются причины полученных расхождений.

Таблица 2 - t-критерий в зависимости от вероятности и числа степеней свободы

Число степеней свободы f

Вероятность Р

0,90

0,95

0,98

0,99

2

2,92

4,30

6,97

9,93

3

2,35

3,18

4,54

5,84

4

2,13

2,78

3,75

4,60

5

2,01

2,57

3,37

4,03

6

1,94

2,45

3,14

3,71

7

1,89

2,36

3,00

3,50

8

1,86

2,31

2,90

3,36

9

1,83

2,26

2,82

3,25

7.7 Сравниваемые образцы материалов считаются идентичными по результатам термического анализа на основании следующих заключений:

- совпадает количество основных (значимых) ДТГ-максимумов;

- значимые характеристики ТА удовлетворяют неравенствам (7) и (10) (см. 7.4 - 7.6).

7.8 На основании проведенных испытаний составляется протокол в соответствии с приложением А.

7.9 Протокол испытаний должен содержать:

а) параметры проведения съемки, которые включают в себя:

- тип используемого прибора;

- тип устройства для измерения температуры;

- массу образца;

- форму и размер образца;

- скорость нагревания;

- вид и расход газа используемой динамической атмосферы;

- тип тигля и дополнительного контейнера для образца;

- для автоматизированных приборов - скорость съема информации;

б) информацию об образце материала (ГОСТ, ТУ и т.п.);

в) номер аттестата на термоаналитическое оборудование и срок его действия;

г) результаты расчетов характеристик в соответствии с разделом 6.

7.10 Отчет о проведении идентификации должен содержать результаты и выводы по использованным методам идентификации (см. 4.2 - 4.4).

7.11. При положительном результате испытаний в выводах указывается, что материалы являются идентичными.

7.12 При отрицательном результате испытаний и невыполнении требования 7.6.1 в отчете приводятся соответствующие выводы, на основе которых проводятся корректирующие мероприятия.

7.13 Отчет заверяется подписями исполнителей, выполнивших работу по идентификации.

Приложение А
(обязательное)

Протоколы результатов термического анализа образцов

Образец протокола А.1

ПРОТОКОЛ № _____ от «___» __________ 20___ г
результатов термического анализа материалов

А.1.1 Изготовитель __________________________________________________________

А.1.2 Наименование материала (ТУ, ГОСТ) _____________________________________

А.1.3 Дата поступления образца на испытания ___________________________________

А.1.4 Дата проведения испытаний _____________________________________________

А.1.5 Аппаратура термического анализа ________________________________________

А.1.6 Аттестат № __________ действителен до «____» ____________ 20___ г.

А.1.7 Условия проведения испытаний: таблица А.1.1

Таблица А.1.1

Условия испытаний

Используемый метод (модуль)

ТГ

ДСК (ДТА)

Термопара (материал, диаметр провода)

Тигель (материал, объем)

Масса образца, мг

Форма образца

Атмосфера

Расход газа, мл/мин

Скорость нагрева, °С/мин

Конечная температура нагрева, °C

А.1.8 Результаты испытаний: таблица А.1.2, рисунок А.1.1 (наименование файлов данных)

Таблица А.1.2

Потеря массы Δm, %, при температуре, °C

Коксовый остаток, %, при Т, °С

Зольный остаток, %, при Т, °С

Δmср

Δm100

Δm200

Δm300

Δm400

Δm500

S

Температура, °C, при потере массы

T5 %

T10 %

T20 %

T50 %

Tср

S

Характеристика максимумов ДТГ-пиков в температурном интервале (температура максимума Tmах, °C/максимальная скорость потери массы Аmах, %/мин-1)

Интервал, °C

Тmax ср/Аmax ср

S/S

Температуры максимумов ДСК (ДТА)-пиков, °С

Тmax ср

S

Исполнитель                                                                     /Ф. И. О./

Начальник                                                                         /Ф. И. О./

1 - ТГ-кривая (потеря массы); 2 - ДТГ-кривая (скорость потери массы);
3 - температура (скорость нагревания - 20 °С/мин)

Рисунок А.1.1 - Характерные термоаналитические кривые
образца материала

Образец протокола А.2

ПРОТОКОЛ № _____ от «___» __________ 20___ г
результатов термического анализа материалов

А.2.1 Изготовитель __________________________________________________________

А.2.2 Наименование материала (ТУ, ГОСТ) _____________________________________

А.2.3 Дата поступления образца на испытания __________________________________

А.2.4 Дата проведения испытаний _____________________________________________

А.2.5 Аппаратура термического анализа ________________________________________

А.2.6 Аттестат № __________ действителен до «____» ____________ 20___ г

А.2.7 Условия проведения испытаний: таблица А.2.1

Таблица А.2.1

Условия испытаний

Используемый метод (модуль)

Термопара (материал, диаметр провода)

Тигель (материал, объем)

Масса образца, мг

Форма образца

Атмосфера

Расход газа, мл/мин

Скорость нагрева, °С/мин

Конечная температура нагрева, °C

А.2.8 Результаты испытаний: таблица А.2.2, рисунок А.2.1 (наименование файлов данных)

Таблица А.2.2

Степень превращения ω при температуре, °С

Т

100

200

300

400

500

600

ωср

S

Температура, °C, при степени превращения ω

ω0,05

ω0,10

ω0,20

ω0,30

ω0,40

ω0,50

Тmax ср, C

S

Характеристика максимумов скорости превращения

Тмах, °С/ώmax, 1/мин

S

Исполнитель                                                                     /Ф. И. О./

Начальник                                                                         /Ф. И. О./

Описание: Описание: Описание: Описание: Untitled-1 copy

1 - степень превращения ω; 2 - скорость превращения ώ

Рисунок А.2.1 - Характерные термоаналитические кривые
образца материала

Приложение Б
(обязательное)

Требования к приборам, применяемым
для проведения идентификации

Б.1 Для проведения идентификации методами термического анализа применяют приборы, внесенные в Госреестр средств измерений и имеющие Сертификат об утверждении типа средств измерений, а также действующее Свидетельство о поверке.

Б.2 Для идентификации применяют автоматизированные приборы термического анализа, имеющие соответствующее программное обеспечение для обработки результатов, следующих типов:

- модульные, в которых каждому методу соответствует один прибор (например, только ТГ или только ДТА);

- совмещенные, в которых разные методы (ТГ, ДТА или ДСК) реализуются одним прибором;

- с горизонтальным или вертикальным размещением реакционных камер и механизмов весов;

- одно- или двухчашечные.

Б.3 Программное обеспечение должно позволять получать автоматическое представление измеряемого сигнала (ТГ, ДТА или ДСК) в виде зависимости «сигнал - температура» или «сигнал - время».

Б.4 Требования к термовесовым устройствам:

- взвешивание образца должно проводиться с точностью ± 0,1 мг или выше;

- температурный диапазон нагревания - не менее 1000 °С;

- погрешность измерения температуры - не более 2 °С;

- скорость нагревания - от 5 °С/мин до 20 °С/мин;

- возможность осуществлять контроль атмосферы на входе в реакционную камеру и на выходе из нее;

- возможность устанавливать расход продувочного газа с регулировкой ± 10 %.

Б.5 Требования к дифференциальным сканирующим калориметрам:

- обеспечение возможности работать с постоянными скоростями нагрева в диапазоне от 1 °С/мин до 20 °С/мин;

- погрешность измерения температуры не более 1 °С;

- чувствительность не хуже 10 мкВт;

- динамическая атмосфера с возможностью устанавливать скорость потока продувочного газа с регулировкой ± 10 %;

- температурный диапазон нагревания не менее 500 °С.

Б.6 Требования к дифференциально-термическим анализаторам:

- обеспечение возможности работать с постоянными скоростями нагревания в диапазоне от 5 °С/мин до 20 °С/мин;

- погрешность измерения температуры - не более 2,5 °С;

- чувствительность не хуже 0,1 мВ;

- динамическая атмосфера с возможностью устанавливать скорость потока продувочного газа с регулировкой ± 10 %;

- температурный диапазон нагревания не менее 1000 °С.

Приложение В
(рекомендуемое)

Схемы определения характеристик термического анализа

1 - ТГ-кривая (потеря массы); 2 - температура; 3 - характерные точки ТГ-кривой;
4 - температура при потере 10 % и 50 % массы

Рисунок В.1 - Схема определения характерных значений температуры при
фиксированных значениях потери массы (в координатах «потеря массы - время»)

1 - ТГ-кривая (потеря массы); 2 - температура; 3 - характерные точки ТГ-кривой;
4 - потеря массы при 300 °С и 400 °С

Рисунок В.2 - Схема определения характерных значений потери массы
при фиксированных значениях температуры (в координатах «потеря массы - время»)

1 - ТГ-кривая; 2 - ДТГ-кривая; 3 - экстраполированная температура начала процесса по ТГ-кривой;
4 - экстраполированные температуры начала и окончания процесса по ДТГ-кривой;
5 - экстраполированная температура максимума по ДТГ-кривой;
6 - амплитуда скорости потери массы по ДТГ-кривой

Рисунок В.3 - Схема определения экстраполированных температур (3, 4, 5)
по ТГ(1) и ДТГ(2)-кривым

1 - ТГ-кривая; 2 - ДТГ-кривая; 3 - коксовый остаток при 750 °С; 4 - зольный остаток при 900 °С

Рисунок В.4 - Схема определения коксового и зольного остатков по
термогравиметрической кривой (в координатах «сигнал - температура»)

1 - ДСК-кривая; 2 - температура экстремума теплового эффекта плавления;
3 - тепловой эффект плавления (
ΔНпл); 4 - экстраполированная температура начала плавления (Тпл);
5 - нулевая линия

Рисунок В.5 - Схема определения характеристик плавления по ДСК-кривой
(в координатах «сигнал - температура»)

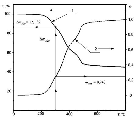
1 - по термогравиметрической кривой m = f (T); 2 - по кривой степени превращения ω = f (T)

Рисунок В.6 - Схема определения идентификационных характеристик при
фиксированной температуре
Т = 300 °С

Библиография

[1] ИСО 11357:1997

«Пластмассы. Дифференциально-сканирующая калориметрия ДСК» (ISO 11357:1997 «Plastics. Differential Scaning Calorimetry (DSC)»)

[2] ИСО 11358:1997

«Пластмассы. Термогравиметрия полимеров. Основные принципы» (ISO 11358:1997 «Plastics. Thermogravimetry (TG) of Polymers. General Principles»)

[3] АСТМ Е 967-97

«Температурная калибровка дифференциальных сканирующих калориметров и дифференциальных термических анализаторов» (ASTM E 967-97 «Standard Practice for Temperature Calibration of Differential Scanning Calorimeters and Differential Thermal Analyzers»)

[4] АСТМ Е 968-99

«Калибровка по тепловому потоку в дифференциальном сканирующем калориметре» (ASTM E 968-99 «Standard Practice for Heat Flow Calibration of Differential Scanning Calorimeters»)

[5] АСТМ Е 1131-98

«Стандартный метод композиционного анализа с применением термического анализа» (ASTM E 1131-98 «Standard Test Method for Compositional Analysis by Thermogravimetry»)

[6] АСТМ Е 1582-93

«Стандартный метод калибровки температуры в термогравиметрии» (ASTM E 1582-93 «Standard Practice for Calibration of Temperature Scale for Thermogravimetry»)

 

Ключевые слова: вещества, материалы, средства огнезащиты, идентификация, термический анализ

 

 



© 2013 Ёшкин Кот :-)