The equipment of smoke control systems. The test method for the fire resistance 

Информационная система
«Ёшкин Кот»

XXXecatmenu

ФЕДЕРАЛЬНОЕ АГЕНТСТВО
ПО ТЕХНИЧЕСКОМУ РЕГУЛИРОВАНИЮ И МЕТРОЛОГИИ

НАЦИОНАЛЬНЫЙ
СТАНДАРТ
РОССИЙСКОЙ
ФЕДЕРАЦИИ

ГОСТ Р
53302-2009

ОБОРУДОВАНИЕ ПРОТИВОДЫМНОЙ
ЗАЩИТЫ ЗДАНИЙ И СООРУЖЕНИЙ.
ВЕНТИЛЯТОРЫ.
Метод испытаний на огнестойкость

Москва

Стандартинформ

2009

Предисловие

Цели и принципы стандартизации в Российской Федерации установлены Федеральным законом от 27 декабря 2002 г. № 184-ФЗ «О техническом регулировании», а правила применения национальных стандартов Российской Федерации - ГОСТ Р 1.0-2004 «Стандартизация в Российской Федерации. Основные положения».

Сведения о стандарте

1 РАЗРАБОТАН Федеральным государственным учреждением «Всероссийский ордена «Знак Почета» научно-исследовательский институт противопожарной обороны» Министерства Российской Федерации по делам гражданской обороны, чрезвычайным ситуациям и ликвидации последствий стихийных бедствий (ФГУ ВНИИПО МЧС России)

2 ВНЕСЕН Техническим комитетом по стандартизации ТК 274 «Пожарная безопасность»

3 УТВЕРЖДЕН И ВВЕДЕН В ДЕЙСТВИЕ Приказом Федерального агентства по техническому регулированию и метрологии от 18 февраля 2009 г. № 78-ст

4 ВВЕДЕН ВПЕРВЫЕ

Информация об изменениях к настоящему стандарту публикуется в ежегодно издаваемом информационном указателе «Национальные стандарты», а текст изменений и поправок - в ежемесячно издаваемых информационных указателях «Национальные стандарты». В случае пересмотра (замены) или отмены настоящего стандарта соответствующее уведомление будет опубликовано в ежемесячно издаваемом информационном указателе «Национальные стандарты». Соответствующая информация, уведомление и тексты размещаются также в информационной системе общего пользования - на официальном сайте Федерального агентства по техническому регулированию и метрологии в сети Интернет.

СОДЕРЖАНИЕ

1 Область применения. 2

2 Нормативные ссылки. 2

3 Критерии огнестойкости. 3

4 Сущность метода и режимы испытаний. 3

5 Стендовое оборудование и измерительная аппаратура. 4

6 Подготовка к испытаниям.. 4

7 Последовательность проведения испытаний. 5

8 Обработка результатов измерений. 5

9 Оценка результатов испытания. 6

10 Отчет об испытании. 7

11 Техника безопасности. 7

Приложение А Схема стенда для испытания центробежных вентиляторов. 7

Приложение Б Схема стенда для испытания осевых вентиляторов. 8

Приложение В Схема стенда для испытания крышных вентиляторов. 8

Приложение Г (обязательное) 9

ГОСТ Р 53302-200

НАЦИОНАЛЬНЫЙ СТАНДАРТ РОССИЙСКОЙ ФЕДЕРАЦИИ

ОБОРУДОВАНИЕ ПРОТИВОДЫМНОЙ ЗАЩИТЫ
ЗДАНИЙ И СООРУЖЕНИЙ. ВЕНТИЛЯТОРЫ.
Метод испытаний на огнестойкость

The equipment of smoke control systems.
The test method for the fire resistance

Дата введения - 2010-01-01
с правом досрочного применения

1 Область применения

Настоящий стандарт устанавливает метод испытания на огнестойкость вентиляторов, предназначенных для применения в системах вытяжной противодымной вентиляции, а также в системах общеобменной, местной вытяжной вентиляции и кондиционирования, используемых в режиме вытяжной противодымной вентиляции при пожарах в зданиях и сооружениях различного назначения.

2 Нормативные ссылки

В настоящем стандарте использованы нормативные ссылки на следующие стандарты:

ГОСТ 30247.0-94 Конструкции строительные. Методы испытания на огнестойкость. Общие требования.

ГОСТ Р 8.585-2001 Государственная система обеспечения единства измерений. Термопары. Номинальные статические характеристики преобразования.

ГОСТ 12.3.018-79 ССБТ. Системы вентиляционные. Методы аэродинамических испытаний.

ГОСТ 10921-90 Вентиляторы радиальные (центробежные) и осевые. Методы аэродинамических испытаний.

ГОСТ 12.2.003-91 Оборудование производственное. Общие требования безопасности.

ГОСТ Р 12.1.019-2009 Система стандартов безопасности труда. Электробезопасность. Общие требования и номенклатура видов защиты.

(Измененная редакция, Изм. № 1).

Примечание - При пользовании настоящим стандартом целесообразно проверить действие ссылочных стандартов и классификаторов в информационной системе общего пользования - на официальном сайте Федерального агентства по техническому регулированию и метрологии в сети Интернет или по ежегодно издаваемому информационному указателю «Национальные стандарты», который опубликован по состоянию на 1 января текущего года, и по соответствующим ежемесячно издаваемым информационным указателям, опубликованным в текущем году. Если ссылочный документ заменен (изменен), то при пользовании настоящим стандартом следует руководствоваться замененным (измененным) документом. Если ссылочный документ отменен без замены, то положение, в котором дана ссылка на него, принимается в части, не затрагивающей эту ссылку.

3 Критерии огнестойкости

3.1 Огнестойкость вентилятора определяется временем от начала перемещения испытываемым вентилятором нагретых газов до момента наступления одного из предельных состояний.

3.2 Различают два вида предельных состояний конструкций вентиляторов по огнестойкости:

- разрушение;

- потеря функциональной способности.

3.2.1 Наступление предельного состояния по разрушению характеризуется следующими признаками:

а) разрушением одного или нескольких узлов конструкции вентилятора;

б) воспламенением в узле привода и (или) искрообразованием в различных узлах вентилятора;

в) образованием в корпусе вентилятора трещин и (или) отверстий с выбросом через них нагретых газов.

3.2.2 Наступление предельного состояния по потере функциональной способности характеризуется снижением подачи вентилятора более чем на 15 % или давления более чем на 10 % в процессе огневых испытаний по отношению к значениям, полученным на начальном этапе испытаний после достижения на входе в образец одного из установленных значений температурного ряда: 200 °С, 300 °С, 400 °С, 600 °С.

(Новая редакция, Изм. № 1).

4 Сущность метода и режимы испытаний

4.1 Испытание заключается в определении времени, по истечении которого достигается одно из предельных состояний конструкции вентилятора по 3.2 настоящего стандарта.

4.2 Перед началом испытаний значения подачи и давления испытываемого вентилятора устанавливаются в диапазоне, соответствующем рабочему участку аэродинамической характеристики вентилятора, приведенной в технической документации на изделие, и в процессе испытаний регулировке не подлежат.

4.3 Температура газовой среды, поступающей в вентилятор в процессе испытаний, должна изменяться в соответствии с соотношением

ΔT = 345lg (8τ + 1),                                                            (1)

где ΔT - изменение во времени температуры газовой среды на входе в вентилятор относительно начальной температуры окружающей среды, °С;

τ - время от начала нагрева, мин,

и поддерживаться до окончания испытаний постоянной по достижении одного из значений числового ряда по 3.2.2.

Допускаемые отклонения от расчетных по формуле (1) и указанных постоянных значений температуры должны соответствовать требованиям ГОСТ 30247.0. Относительное отклонение фиксированного (установленного) температурного значения по 3.2.2 не должно превышать 5 %.

(Измененная редакция, Изм. № 1).

4.4 С учетом особенностей функционального назначения и исполнения систем вытяжной противодымной вентиляции указанные в 4.3 температурные режимы могут быть изменены при наличии расчетного обоснования.

5 Стендовое оборудование и измерительная аппаратура

5.1 Стенд для проведения испытания вентиляторов состоит из печи внутренним размером не менее 2,0×2,0×2,5 м, выравнивающего и дросселирующего устройств, воздуховодов обвязки вентиляторов (приложения А, Б, В, Г).

Печь должна быть оборудована форсунками, обеспечивающими требуемые тепловые режимы по 4.3.

Выравнивающее устройство выполняется по ГОСТ 10921 в виде сеток, спрямляющих решеток и т.п., площадь проходного сечения которых должна составлять не менее 50 % площади всасывающего воздуховода обвязки вентилятора.

Дросселирующее устройство должно обеспечивать возможность регулирования подачи испытываемого вентилятора в диапазоне значений, соответствующих рабочему участку аэродинамической характеристики изделия.

(Измененная редакция, Изм. № 1).

5.2 Испытательный стенд оснащается средствами измерения давления, температуры и расхода газа.

5.2.1 Для измерения расхода газов, перемещаемых вентилятором, используются комбинированные приемники давления (КПД) по ГОСТ 12.3.018 с диаметром приемной части, не превышающим 8 % внутреннего диаметра круглого или ширины прямоугольного воздуховода.

5.2.2 Координаты точек последовательного размещения комбинированного приемника давления в мерном сечении I-I воздуховода (приложения А, Б, В, Г) при измерении расхода газов следует определять по ГОСТ 12.3.018.

(Измененная редакция, Изм. № 1).

5.2.3 Для измерения статических давлений в мерных сечениях следует устанавливать не менее четырех приемников в виде трубок с внутренним диаметром от 2 до 5 мм, расположенных равномерно по периметру воздуховода на его поверхности. Приемники статического давления должны быть соединены между собой трубкой с диаметром, превышающим диаметр отверстий приемников более чем в 2 раза.

5.2.4 Для регистрации давления газовой среды следует применять приборы (манометры, микроманометры и т.п.) класса точности не ниже 1,0.

5.2.5 Для измерения температуры газового потока на входе в вентилятор следует применять термоэлектрические преобразователи (ТЭП) с диаметром электродов не более 0,7 мм. Номинальные статические характеристики и пределы допускаемых отклонений термоэлектродвижущей силы (т.э.д.с.) ТЭП должны соответствовать ГОСТ Р 8.585 или индивидуальным градуировкам.

При этом в соответствии с обязательными приложениями А, Б термоэлектрические преобразователи должны устанавливаться в мерных сечениях II-II и III-III на расстоянии не более 0,1d от оси воздуховодов.

Расстояние от входного и выходного фланцев вентилятора до мерных сечений II-II и III-III соответственно не должно превышать 100 мм.

Термоэлектрический преобразователь в сечении I-I располагается на расстоянии от 5 до 15 мм от центра приемного отверстия полного давления КПД позади него по потоку.

(Измененная редакция, Изм. № 1).

5.2.6 Для регистрации измеряемых температур следует применять приборы класса точности не ниже 1,0.

5.2.7 Для измерения интервалов времени должны использоваться секундомеры класса точности не ниже 2,0.

6 Подготовка к испытаниям

6.1. Образцы вентиляторов, представленные на испытания, должны быть укомплектованы электроприводами, необходимыми для установочного монтажа узлами и деталями в соответствии с технической документацией изготовителя.

6.2. Испытываемый образец вентилятора должен быть отрегулирован и установлен на стенде с присоединением к воздуховодам обвязки и подключением электропитания привода согласно требованиям инструкции по монтажу.

7 Последовательность проведения испытаний

7.1 Испытание проводится при температуре окружающей среды от 0 °С до плюс 40 °С, если условия применения вентиляторов не определяют иных требований.

7.2 Для проведения испытания включается вентилятор, установленный на стенде, после чего в течение двух минут, необходимых для стабилизации режима его работы, производится внешний контроль работоспособности основных узлов стендового оборудования и измерительной аппаратуры.

7.3 До теплового воздействия на вентилятор снимается аэродинамическая характеристика вентилятора посредством его дросселирования при температуре окружающей среды. К испытанию допускаются вентиляторы, соответствующие данным технической документации и (для серийно выпускаемых изделий) прошедшие технический контроль на предприятии-изготовителе. Отклонение полученных значений подачи и давления, приведенных к стандартным условиям окружающей среды, от заявленных производителем в технической документации не должно превышать 15 % и 10 % соответственно. Началом испытания является момент включения форсунок печи.

Примечание - Под стандартными условиями окружающей среды принимается: барометрическое давление Рн = 103,3 кПа, температура tн = 20 °С.

7.4 В процессе теплового воздействия проводится контроль и осуществляются измерения следующих параметров:

температуры на входе в вентилятор;

температуры на выходе из вентилятора (для всех вентиляторов, за исключением крышных);

температуры в сечении установки расходомера;

разности давлений на входе и выходе вентилятора (для всех вентиляторов, за исключением струйных (импульсных), а для крышных вентиляторов - разности давлений на входе в вентилятор и наружного);

перепада давлений на КПД;

состояния конструкции испытываемого образца (наличие вибраций, биений рабочего колеса, воспламенение в узле привода, образование сквозных трещин и отверстий в корпусе с выбросом нагретых газов, появление отказов, приводящих к остановке рабочего колеса и т. п.).

7.5 Через 30 мин после начала огневого испытания прекращают подачу электропитания на двигатель вентилятора (в том числе на двигатель вентилятора охлаждения, при наличии) на 1 мин, после чего электропитание двигателя вентилятора восстанавливается до момента окончания испытания.

Окончание испытания соответствует моменту наступления одного из предельных состояний конструкции вентилятора по огнестойкости в соответствии с 3.2.1, 3.2.2 настоящего стандарта.

7.3 - 7.5 (Новая редакция, Изм. № 1).

8 Обработка результатов измерений

8.1 Обработка результатов измерения осуществляется по следующим формулам:

8.1.1 Подача вентилятора:

Qv = Vср×F,                                                              (2)

,                                                (3)

где Vср - средняя скорость газового потока в сечении воздуховода, м/с;

F - площадь поперечного сечения воздуховода, м2;

Рci - перепад давления на комбинированном приемнике давления в i-й точке сечения воздуховода, Па;

n - количество точек отбора давления;

tci - температура газового потока в i-й точке сечения воздуховода, °С.

8.1.2 Статическое давление для крышного вентилятора:

,                                                    (4)

где t1 - температура газового потока на входе в вентилятор, °С;

Рm1 - статическое давление перед вентилятором в сечении I-I (обязательное приложение В) относительно барометрического давления (для крышных вентиляторов), Па.

8.1.3 Полное давление центробежного и осевого вентилятора:

Рv = Psv + Pdv,                                                          (5)

Psv = P2 - P1,                                                          (6)

,                                       (7)

где Psv - статическое давление вентилятора, Па;

Р1, Р2 - абсолютное статическое давление потока перед вентилятором в сечении II-II и за ним в сечении III-III (обязательные приложения А, Б), Па;

Pdv - динамическое давление вентилятора, Па;

Vср2 - средняя скорость газового потока в сечении III-III, м/с.

8.1.4 Приведение полученных значений давления, развиваемого вентилятором, к нормальным (стандартным) условиям производится по формуле

,                                                         (8)

где Pпр - приведенное значение давления, Па;

Рi = Рv для центробежных и осевых вентиляторов и Pi = Рsv - для крышных вентиляторов, Па.

8.1.5 Средняя скорость газового потока в выходном сечении вентилятора определяется по формуле

Vср = Qv/F2,                                                             (9)

где Qv - подача вентилятора, м3/с;

F2 - площадь сечения III-III, м2.

8.2 Аэродинамические характеристики, определяемые при температуре окружающей среды и приведенные к нормальным (стандартным) условиям, должны приводиться в виде графических зависимостей в координатах Psv - Qv для крышных вентиляторов и в координатах Рv - Qv для центробежных и осевых.

9 Оценка результатов испытания

9.1 Огнестойкость вентилятора определяется интервалом времени до наступления одного из предельных состояний по 3.2 и температурой перемещаемой им газовой среды, при которой это предельное состояние достигнуто. Пример записи в отчете об испытаниях: «Фактический предел огнестойкости радиального вентилятора типа ВР-86-77-5ДУ составляет 1,5 часа при температуре 600 °С».

10 Отчет об испытании

10.1 Отчет об испытании, составленный по рекомендуемой форме, должен содержать следующие данные:

1 Наименование организации, проводящей испытания.

2 Наименование и адрес завода-изготовителя.

3 Характеристика объекта испытаний.

4 Метод испытания.

5 Процедура испытания.

6 Испытательное оборудование.

7 Результаты испытаний.

8 Оценка результатов испытаний.

11 Техника безопасности

11.1 При испытаниях вентиляторов на огнестойкость должны соблюдаться требования безопасности и производственной санитарии согласно ГОСТ 12.2.003 и ГОСТ Р 12.1.019.

(Измененная редакция, Изм. № 1).

11.2 К испытанию допускаются лица, ознакомленные с техническим описанием и инструкцией по эксплуатации испытательного стенда.

11.3 Лица, производящие пуск и остановку вентилятора, должны во время испытания находиться около выключающих устройств.

11.4 Перед проведением испытания необходимо проверить надежность крепления вентилятора, а также приборов и оборудования, необходимых для стендового испытания.

11.5 Все быстро движущиеся и вращающиеся части стендовой установки должны иметь ограждения.

Приложение А
(обязательное)

1 - испытываемый образец вентилятора; 2 - всасывающий воздуховод; 3 - нагнетательный воздуховод;
4 - печь; 5 - форсунки; 6 - дымоход; 7 - дросселирующее устройство; 8 - выравнивающее устройство;
9 - комбинированный приемник давления (КПД);
I-I, II-II, III-III - мерные сечения;
 - термоэлектрический преобразователь (ТЭП); Т1, Т2, Т3 - температуры на входе и выходе из
вентилятора и в сечении измерения расхода газов соответственно;
Рsv - статическое давление вентилятора; Рс - перепад давления на КПД

Рисунок А.1 - Схема стенда для испытания центробежных вентиляторов

Приложение Б
(обязательное)

1 - испытываемый образец вентилятора; 2 - всасывающий воздуховод; 3 - нагнетательный воздуховод;
4 - печь; 5 - форсунки; 6 - дымоход; 7 - дросселирующее устройство; 8 - выравнивающее устройство;
9 - комбинированный приемник давления (КПД);
I-I, II-II, III-III - мерные сечения;
 - термоэлектрический преобразователь (ТЭП); Т1, Т2, Т3 - температуры на входе и выходе из
вентилятора и в сечении измерения расхода газов соответственно;
Рsv - статическое давление вентилятора; Рс - перепад давления на КПД

Рисунок Б.1 - Схема стенда для испытания осевых вентиляторов

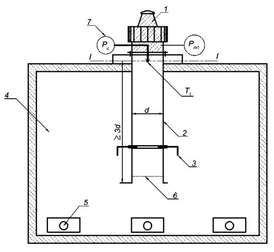
Приложение В
(обязательное)

1 - испытываемый образец вентилятора; 2 - всасывающий воздуховод; 3 - дроссельная диафрагма;
4 - печь; 5 - форсунки; 6 - выравнивающее устройство; 7 - комбинированный приемник давления (КПД);
I-I - мерное сечение; - термоэлектрический преобразователь (ТЭП);
Т1 - температура на входе в вентилятор; Р
m1 - статическое давление вентилятора;
Рс - перепад давления на комбинированном приемнике давления (КПД)

Рисунок В.1 - Схема стенда для испытания крышных вентиляторов

Приложение Г
(обязательное)

1 - испытываемый образец вентилятора; 2 - всасывающий воздуховод; 3 - нагнетательный воздуховод;
4 - печь; 5 - форсунки; 6 - дымоход; 7 - выравнивающее устройство;
8 - комбинированный приемник давления (КПД); I
-I, II-II, III-III - мерные сечения;
 - термоэлектрический преобразователь (ТЭП); Т1 Т2, Т3 - температуры на входе и выходе из
вентилятора и в сечении измерения расхода газов соответственно; Рс - перепад давления на КПД

Рисунок Г.1 - Схема стенда для испытания струйных (импульсных) вентиляторов

Приложение Г (Введено дополнительно, Изм. № 1).

Ключевые слова: вентилятор, давление, подача, методы испытаний.

 

 



© 2013 Ёшкин Кот :-)