Информационная система
«Ёшкин Кот»

XXXecatmenu

ОСТ 26.260.473-2000

СТАНДАРТ ОТРАСЛИ

УСТРОЙСТВА ДЛЯ УСТАНОВКИ ПРИБОРОВ
ИЗМЕРЕНИЯ ДАВЛЕНИЯ НА Ру 4,0 и 16,0 МПа
(с краном шаровым трехходовым)

Конструкция и размеры

Предисловие

1. РАЗРАБОТАН Дочерним открытым акционерным обществом Центральное конструкторское бюро нефтеаппаратуры ДАО ЦКБН

2. ПРИНЯТ И ВВЕДЕН В ДЕЙСТВИЕ Техническим комитетом 260 «Оборудование химическое и нефтегазоперерабатывающее»

3. ВВЕДЕН ВПЕРВЫЕ

 

 

СТАНДАРТ ОТРАСЛИ

УСТРОЙСТВА ДЛЯ УСТАНОВКИ ПРИБОРОВ ИЗМЕРЕНИЯ ДАВЛЕНИЯ НА Ру 4,0 и 16,0 МПа
(с краном шаровым трехходовым)

Конструкция и размеры

Дата введения 2000-12-01

1. Область применения

Настоящий стандарт устанавливает конструкцию, пределы применения и основные размеры устройств для установки приборов измерения давления на трубопроводах и аппаратах, применяемых в химической, нефтехимической, газовой и других смежных отраслях промышленности на условное давление 4,0 и 16,0 МПа, температуру от минус 40 до 100 °C и от минус 60 до 100 °C в зависимости от материального исполнения. Устройства материального исполнения 9 предназначены для следующих сред:

- природный газ и жидкие углеводороды с содержанием H2S до 6 %.

Устройства материального исполнения 8 тоже, что и для материального исполнения 9 без содержания H2S.

2. Нормативные ссылки

В настоящем стандарте использованы ссылки на следующие стандарты:

ОСТ 26.260.466-2000 Устройства для установки приборов измерения давления на Ру 4,0 и 16,0 МПа (с двумя вентилями). Конструкция и размеры

ОСТ 26.260.472-2000 Устройства для установки приборов измерения и отбора давления. Общие технические требования

ТУ 26-07-1622-95 Краны шаровые трехходовые под манометр. Технические условия

3. Конструкция и размеры

3.1. По конструкции и размерам устройства имеют четыре исполнения рисунки 1 - 4 и таблица 1.

Исполнение 1

1 - штуцер 1 ОСТ 26.260.473; 2 - кран шаровый ДN 15, PN 200 т/ф 11с28п КШТХ 200.050-00 ТУ 26-07-1622 или кран шаровый ДN 15, PN 200 т/ф 11с28п КШТХ200.050-00-01 ТУ 26-07-1622

Рисунок 1

Исполнение 2

Остальное см. исполнение 1

3 - тройник переходный 2 ОСТ 26.260.466

Рисунок 2

Исполнение 3

Остальное см. исполнение 1

3 - заглушка 3 ОСТ 26.260.466

Рисунок 3

Исполнение 4

Остальное см. исполнение 1

3* - заглушка 4 ОСТ 26.260.466

Рисунок 4

_____________

* Заглушку в устройствах для аппаратов 1 и 2 группы применять с уплотнительной поверхностью «выступ», рисунок 24 ОСТ 26.260.466

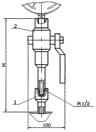
3.1.1. Конструкция и размеры штуцера устройства исполнения 1 должны соответствовать указанным на рисунке 5.

Рисунок 5

Примечание - Масса - 0,12 кг

Пример условного обозначения штуцера устройства исполнения 1, материального исполнения 8:

Штуцер 1-8 ОСТ 26.260.473-2000

Таблица 1

Исполнение

Давление условное Ру, МПа

Температура среды, °C

Н, мм

Масса, кг

1

16,0

До 80

185

0,95

2

240

1,40

3

235

4,50

4

4,0

220

2,50

Пример условного обозначения устройства измерения давления исполнения 2, материального исполнения 8, на Ру 16,0 МПа:

Устройство измерения давления 2-8-16,0 ОСТ 26.260.473-2000

3.2. Технические требования - по ОСТ 26.260.472.

 

СОДЕРЖАНИЕ

 



© 2013 Ёшкин Кот :-)