Информационная система
«Ёшкин Кот»

XXXecatmenu

ОСТ 26.260.469-2000

СТАНДАРТ ОТРАСЛИ

 

УСТРОЙСТВА ДЛЯ УСТАНОВКИ ПРИБОРОВ
ИЗМЕРЕНИЯ ДАВЛЕНИЯ НА Ру 4,0 и 16,0 МПа
(с двумя задвижками)

Конструкция и размеры

 

Предисловие

1. РАЗРАБОТАН Дочерним открытым акционерным обществом Центральное конструкторское бюро нефтеаппаратуры АО ЦКБН

2. ПРИНЯТ И ВВЕДЕН В ДЕЙСТВИЕ Техническим комитетом 260 «Оборудование химическое и нефтегазоперерабатывающее»

3. ВВЕДЕН ВПЕРВЫЕ

 

СТАНДАРТ ОТРАСЛИ

УСТРОЙСТВА ДЛЯ УСТАНОВКИ ПРИБОРОВ ИЗМЕРЕНИЯ ДАВЛЕНИЯ НА Ру 4,0 и 16,0 МПа
(с двумя задвижками)

Конструкция и размеры

Дата введения 2000-12-01

1. Область применения

Настоящий стандарт устанавливает пределы применения, конструкцию и основные размеры устройств для установки приборов измерения давления на трубопроводах и аппаратах, применяемых в химической, нефтехимической, газовой и других смежных отраслях промышленности на условное давление 4,0 и 16,0 МПа, температуру от минус 60 до 450 °C для неагрессивной среды со скоростью коррозии до 0,1 мм/год, в том числе

- природный газ с содержанием углекислоты до 1 % объемных, сероводорода не более 20 мг/нм3, нефтегазовая смесь, углеводородный конденсат, конденсационная вода, метанол, мехпримеси.

2. Нормативные ссылки

В настоящем стандарте использованы ссылки на следующие стандарты:

ОСТ 26.260.465-2000 Устройства для установки приборов измерения давления на Ру 1,6 МПа (с краном трехходовым). Конструкция и размеры

ОСТ 26.260.466-2000 Устройства для установки приборов измерения давления на Ру 4,0 и 16,0 МПа (с двумя вентилями). Конструкция и размеры

ОСТ 26.260.472-2000 Устройства для установки приборов измерения и отбора давления. Общие технические требования

ТУ 26-07-1171-83 Задвижки клиновые стальные ЗКС15-160-00, ЗКС-25-160-00, ЗКС-40-00. Технические условия

3. Конструкция и размеры

3.1. По конструкции и размерам устройства имеют шестнадцать исполнений:

исполнения 1 - 8 - рисунки 1 - 8, таблица 1

исполнения 9 - 16 - рисунки 9 - 16, таблица 1.

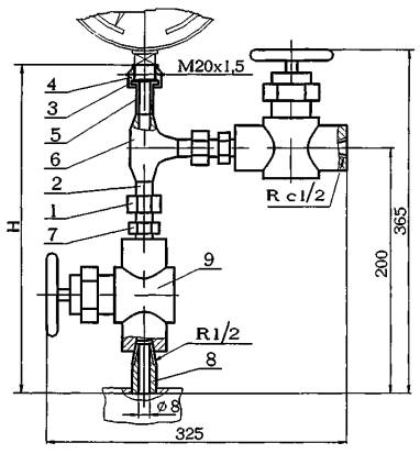
Исполнение 1

1 - гайка накидная 1 ОСТ 26.260.465; 2 - ниппель шаровый 1 ОСТ 26.260.465; 3 - прокладка 1 ОСТ 26.260.465; 4 - гайка накидная 1 ОСТ 26.260.466; 5 - ниппель 1 ОСТ 26.260.466; 6 - тройник равнопроходный 1 ОСТ 26.260.466; 7 - штуцер концевой 1 ОСТ 26.260.466; 8 - штуцер проходной 1 ОСТ 26.260.466; 9 - задвижка ЗКС15-160-00 т/ф31лс77нж ТУ 26-07-1171

Рисунок 1

Исполнение 2

Остальное см. исполнение 1

10 - тройник переходный 2 ОСТ 26.260.466

Рисунок 2

Исполнение 3

Остальное см. исполнение 1

10 - заглушка 3 ОСТ 26.260.466

Рисунок 3

Исполнение 4

Остальное см. исполнение 1

10* - заглушка 4 ОСТ 26.260.466

Рисунок 4

Исполнение 5

1 - гайка накидная 1 ОСТ 26.260.465; 2 - ниппель шаровый 1 ОСТ 26.260.465; 3 - прокладка 1 ОСТ 26.260.465; 4 - гайка накидная 1 ОСТ 26.260.466; 5 - ниппель 1 ОСТ 26.260.466; 6 - тройник равнопроходный 1 ОСТ 26.260.466; 7 - штуцер концевой 1 ОСТ 26.260.466; 8 - штуцер проходной 1 ОСТ 26.260.466; 9 - задвижка ЗКС15-160-00 т/ф31лс77нж ТУ 26-07-1171

Рисунок 5

Исполнение 6

Остальное см. исполнение 5

10 - тройник переходный 2 ОСТ 26.260.466

Рисунок 6

Исполнение 7

Остальное см. исполнение 5

10 - заглушка 3 ОСТ 26.260.466

Рисунок 7

Исполнение 8

Остальное см. исполнение 5

10* - заглушка 4 ОСТ 26.260.466

Рисунок 8

______________

* Заглушку поз. 10 в устройствах исполнений 4 и 8 для сосудов и аппаратов 1 и 2 группы применять с уплотнительной поверхностью «выступ» рисунок 24 ОСТ 26.260.466

Исполнение 9

1 - гайка накидная 1 ОСТ 26.260.465; 2 - ниппель шаровый 1 ОСТ 26.260.465; 3 - прокладка 1 ОСТ 26.260.465; 4 - трубка сифонная 4 ОСТ 26.260.465; 5 - ниппель 1 ОСТ 26.260.466; 6 - гайка накидная 1 ОСТ 26.260.466; 7 - штуцер концевой 1 ОСТ 26.260.466; 8 - штуцер проходной 1 ОСТ 26.260.466; 9 - тройник равнопроходный 1 ОСТ 26.260.466; 10 - задвижка ЗКС15-160-00 т/ф31лс77нж ТУ 26-07-1171

Рисунок 9

Исполнение 10

Остальное см. исполнение 9

11 - тройник переходный 2 ОСТ 26.260.466

Рисунок 10

Исполнение 11

Остальное см. исполнение 9

11 - заглушка 3 ОСТ 26.260.466

Рисунок 11

Исполнение 12

Остальное см. исполнение 9

11* - заглушка 4 ОСТ 26.260.466

Рисунок 12

Исполнение 13

1 - гайка накидная 1 ОСТ 26.260.465; 2 - ниппель шаровый 1 ОСТ 26.260.465; 3 - прокладка 1 ОСТ 26.260.465; 4 - трубка сифонная 4 ОСТ 26.260.465; 5 - ниппель 1 ОСТ 26.260.466; 6 - гайка накидная 1 ОСТ 26.260.466; 7 - штуцер концевой 1 ОСТ 26.260.466; 8 - штуцер проходной 1 ОСТ 26.260.466; 9 - тройник равнопроходный 1 ОСТ 26.260.466; 10 - задвижка ЗКС15-160-00 т/ф31лс77нж ТУ 26-07-1171

Рисунок 13

Исполнение 14

Остальное см. исполнение 13

11 - тройник переходный 2 ОСТ 26.260.466

Рисунок 14

Исполнение 15

Остальное см. исполнение 13

11 - заглушка 3 ОСТ 26.260.466

Рисунок 15

Исполнение 16

Остальное см. исполнение 13

11* - заглушка 4 ОСТ 26.260.466

Рисунок 16

_____________

* Заглушку поз. 11 в устройствах исполнений 12 и 16 для сосудов и аппаратов 1 и 2 группы применять с уплотнительной поверхностью «выступ» рисунок 24 ОСТ 26.260.466.

Таблица 1

Исполнение

Давление условное Ру, МПа

Температура среды, °C

Н, мм

Масса, кг

1

16

До 80

265

4,6

2

320

5,0

3

315

8,0

4

4

300

6,0

5

16

350

4,6

6

405

5,0

7

400

8,0

8

4

385

6,0

9

16

До 450

455

5,0

10

510

5,5

11

505

8,5

12

4

490

6,5

13

16

350

5,0

14

405

5,5

15

400

8,5

16

4

385

6,5

Пример условного обозначения устройства измерения давления исполнения 2, материального исполнения 7, на Ру 16,0 МПа:

Устройство измерения давления 2-7-16,0 ОСТ 26.260.469-2000

3.2. Технические требования - по ОСТ 26.260.472.

 

СОДЕРЖАНИЕ

 

 



© 2013 Ёшкин Кот :-)