Открытое акционерное общество
«Инжиниринговая компания по теплотехническому строительству
«ТЕПЛОПРОЕКТ»
|
Утверждаю:
Генеральный директор ОАО «Теплопроект»
_________________ М.М. Лущик
«__» _______________ 2004 г.
|
ОАО «ТЕРМОСТЕПС»
ТЕПЛОИЗОЛЯЦИОННЫЕ ИЗДЕЛИЯ «ТЕРМО»
В ОГРАЖДАЮЩИХ КОНСТРУКЦИЯХ ЗДАНИЙ
И СООРУЖЕНИЙ
Рекомендации по применению
с альбомом технических решений
ТР 12279 - ТИ.2004
Заместитель генерального
директора канд. техн. наук Б.М. Шойхет
Главный специалист
комплексного отдела тепловой изоляции Л.В. Ставрицкая
Москва
2004 г.
СОДЕРЖАНИЕ
Реализация программы энергосбережения в
строительном секторе экономики России требует радикального пересмотра принципов
проектирования и строительства зданий. Широкое жилищное строительство,
проводившееся в России в предшествующие годы в условиях дешевизны
энергоносителей, привело к тому, что теплозащитные характеристики ограждающих
конструкций зданий оказались много ниже, чем в странах, близких России по
климатическим условиям. Это привело к значительным затратам на отопление зданий
и подогрев воды. После введения новых нормативов по теплозащите зданий
применение традиционных для России строительных материалов и технических
решений не обеспечивает требуемое термическое сопротивление наружных
ограждающих конструкций.
Одним из путей повышения
энергоэффективности ограждающих конструкций жилых, общественных и
производственных зданий, является применение эффективных утеплителей в
конструкциях наружных стен, покрытиях, перекрытиях и перегородках. Существующие
варианты утепления зданий отличаются, как конструктивными решениями, так и
используемыми в конструкциях материалами.
В новом строительстве все
большее распространение получают трехслойные конструкции стен, в которых
предусмотрено применение эффективных утеплителей в качестве среднего слоя между
несущей или самонесущей стеной и защитно-декоративной облицовкой.
Рациональным и эффективным
способом повышения теплозащиты эксплуатируемых зданий является дополнительное
наружное утепление ограждающих конструкций.
При новом строительстве
используется как наружное утепление, так и применение эффективных утеплителей в
качестве среднего слоя в трехслойных стенах из кирпича и бетона.
При проектировании новых и
реконструкции существующих зданий, как правило, следует применять теплоизоляцию
из эффективных материалов, размещая её с наружной стороны ограждающей
конструкции.
В отечественной практике для
утепления ограждающих строительных конструкциях наибольшее применение нашли
гидрофобизированные теплоизоляционные плиты из тонковолокнистой минеральной
ваты из горных пород на синтетическом связующем.
Применение высококачественных
теплоизоляционных плит различной плотности из минеральной тонковолокнистой ваты
из горных пород повышает энергоэффективность ограждающих конструкций жилых,
общественных и производственных зданий и является реальным вкладом в решение
задачи энергосбережения в строительном секторе экономики России.
Теплоизоляционные плиты из
минеральной ваты «ТЕРМО», производимые ОАО «ТЕРМОСТЕПС» и предназначенные для
применения в ограждающих конструкциях зданий, отвечают требованиям,
предъявляемым к теплоизоляционным материалам в составе ограждающих конструкциях
зданий, и занимают прочное место на отечественном рынке теплоизоляционных
материалов.
В данных рекомендациях
рассмотрены технические решения по утеплению ограждающих конструкций зданий
теплоизоляционными плитами с учетом действующей номенклатуры и специфики их
эксплуатации в различных регионах России.
Приводятся результаты анализа
теплофизических, физико-механических и эксплуатационных свойств
теплоизоляционных плит из минеральной тонковолокнистой ваты из горных пород и
рекомендации по их использованию в современной отечественной строительной
практике в конструкциях утепления стен, покрытий и перекрытий реконструируемых
и вновь возводимых зданий.
Приведенные в настоящих
рекомендациях номенклатура и технические характеристики теплоизоляционных плит
«ТЕРМО», предназначенных для применения в строительстве, предоставлены ОАО
«ТЕРМОСТЕПС». Расчеты толщины теплоизоляционного слоя в конструкциях утепления
ограждающих конструкций зданий проведены на основании данных ОАО «ТЕРМОСТЕПС».
Физико-технические свойства используемых
в строительстве теплоизоляционных материалов оказывают определяющее влияние на
теплотехническую эффективность и эксплуатационную надежность конструкций,
трудоемкость монтажа, возможность ремонта в процессе эксплуатации и в
значительной степени определяют надежность, долговечность, безопасность для
окружающей среды и населения применяемых вариантов теплоэффективных конструкций
ограждений зданий.
Теплоизоляционные материалы в
конструкциях утепления зданий должны соответствовать требованиям пожарной
безопасности по СНиП 2.01.02-85* и СНиП 21-01-97, не
выделять токсичные вещества в процессе эксплуатации и при горении, иметь
санитарно-эпидемиологическое заключение и сертификат пожарной безопасности.
На долговечность и стабильность
теплофизических и физико-механических свойств теплоизоляционных материалов в
конструкциях утепления зданий влияют многие эксплуатационные факторы, включая:
■ знакопеременный
температурно-влажностный режим теплоизоляционных конструкций;
■ возможность капиллярного и
диффузионного увлажнения теплоизоляционного материала в конструкции;
■ воздействие ветровых нагрузок;
■ воздействие атмосферных осадков;
■ механические нагрузки от
собственного веса в конструкциях стен и нагрузки при перемещении людей в
конструкциях крыш и перекрытий.
С учетом указанных факторов
теплоизоляционные материалы для утепления зданий должны отвечать следующим
основным требованиям:
■ теплоизоляционный материал должен
обеспечивать требуемое сопротивление теплопередаче при возможно минимальной
толщине конструкции, что достигается применением материалов с расчетным
коэффициентом теплопроводности в условиях эксплуатации - 0,04 - 0,06
Вт/(м·ºС);
■ паропроницаемость материала
должна иметь значения исключающие возможность накопления влаги в конструкции в
процессе ее эксплуатации;
■ плотность теплоизоляционных
материалов для утепления зданий не должна превышать 200 - 250 кг/м3,
что определяется допустимыми нагрузками на несущие конструкции;
■ предел прочности при 10-ти %
деформации в конструкциях утепления крыш и перекрытий, не менее 0,020 МПа;
■ предел прочности на отрыв слоев
для волокнистых теплоизоляционных материалов в конструкции утепления со
штукатурным покрытием при жестком креплении теплоизоляционного слоя должен быть
не менее 0,015 МПа;
■ морозостойкость;
■ водостойкость, рН не более 4;
■ гидрофобность;
■ биостойкость и отсутствие
токсичных выделений при эксплуатации.
Для волокнистых
теплоизоляционных материалов, применяемых в наружных ограждающих конструкциях
зданий, особенно важным является показатель водостойкости. Учитывая возможность
периодического увлажнения теплоизоляционных материалов в конструкции,
показатель водостойкости в значительной степени определяет их долговечность.
Гидрофобизация снижает
смачиваемость волокнистых материалов, т.е. уменьшает поверхность контакта
волокон с капельной влагой, что приводит к повышению водостойкости и,
соответственно, долговечности материала.
В ограждающих конструкциях
зданий допускается применение только гидрофобизированных теплоизоляционных
материалов и изделий.
Для обеспечения долговременной
стабильности свойств теплоизоляционные материалы, применяемые в наружных
ограждающих конструкциях зданий, должны быть гидрофобизированы в процессе
производства.
Предотвращение конденсации
паров воды в конструкции может быть достигнуто за счет конструктивных решений
при соответствующем расположении слоев материалов с различной
паропроницаемостью. При необходимости могут быть установлены дополнительные
паровые барьеры, предотвращающие или ограничивающие конденсацию влаги.
2.1. Настоящие рекомендации
распространяются на ограждающие конструкций зданий с применением
гидрофобизированных теплоизоляционных плит из минеральной ваты из горных пород
на синтетическом связующем марки «ТЕРМО», выпускаемых ОАО «ТЕРМОСТЕПС» по ТУ
5762-005-0141183-04.
Производятся плиты следующих марок:
■ ТЕРМОЛАЙТ;
■ ТЕРМОЛАЙТ+;
■ ТЕРМОСТЕНА;
■ ТЕРМОСТЕНА+;
■ ТЕРМОВЕНТ;
■ ТЕРМОМОНОЛИТ;
■ ТЕРМОСЭНДВИЧ С;
■ ТЕРМОКРОВЛЯ Н;
■ ТЕРМОПОЛ;
■ ТЕРМОФАСАД;
■ ТЕРМОСЭНДВИЧ К;
■ ТЕРМОКРОВЛЯ;
■ ТЕРМОКРОВЛЯ В;
■ ТЕРМОКРОВЛЯ В+.
2.2. Плиты изготавливаются из
тонковолокнистой минеральной ваты вида ВМТ типа А, отвечающей требованиям ГОСТ 4640-93.
Для производства ваты применяют горные
породы габбро-базальтового типа и их аналоги, осадочные породы, вулканические
породы, шлаки и смеси перечисленных компонентов, обеспечивающих модуль
кислотности не менее 1,8.
Плиты изготавливаются на синтетическом
связующем с применением гидрофобизаторов (масляные и кремнийорганические
композиции) и модифицирующих добавок по действующей нормативной документации.
Теплоизоляционные плиты всех приведенных
выше марок относятся к группе негорючих материалов (НГ) по ГОСТ 30244 и
являются невзрывоопасным материалом.
2.3. Сырьевые материалы,
применяемые для изготовления минеральной ваты, проходят радиологический
контроль. Удельная эффективная активность естественных радионуклидов (ЕРН) не
превышает 370 Бк/кг, что соответствует требованиям НРБ «Нормы радиационной
безопасности».
Содержание вредных веществ, выделяющихся
из плит в процессе эксплуатации при температуре 40 °С и насыщенности 1,3 м2/м3
(пары фенола, формальдегида и аммиака) не превышает среднесуточных
предельнодопустимых концентраций (ПДК) для атмосферного воздуха в соответствии
с требованиями ГН
2.1.6.695-98 и или ориентировочных безопасных уровней воздействия (ОБУВ) в
соответствии с ГН
2.1.6.696-98, утвержденных органами здравоохранения.
2.4. Высокий уровень качества
тонковолокнистой минеральной ваты из горных пород обеспечивает высокое качество
изделий на её основе и позволяет получить стабильные показатели
теплоизоляционных плит по прочности, сжимаемости и водостойкости.
Тонковолокнистая вата при малом содержании неволокнистых включений обеспечивает
более низкую теплопроводность изготовленных из нее плит в сравнении с
показателями, указанными в государственных стандартах на аналогичную продукцию.
2.5. Номенклатура
теплоизоляционных плит «ТЕРМО» с указанием марки, условного обозначения и
размеров приведена в таблице 2.1.
Таблица 2.1
|
Марка
|
Наименование
|
Плотность, кг/м3
|
Размеры, мм
|
|
длина
|
ширина
|
толщина
|
|
ТЕРМОЛАЙТ
|
ПМ-35
|
35
|
1200/1000
|
400/600/1200
|
30 - 150
|
|
ТЕРМОЛАЙТ+
|
ПМ-50
|
50
|
1200/1000
|
400/600/1200
|
30 - 150
|
|
ТЕРМОСТЕНА
|
ПП-60
|
60
|
1200/1000
|
400/600/1200
|
30 - 200
|
|
ТЕРМОСТЕНА+
|
ПП-70
|
70
|
1200/1000
|
400/600/1200
|
30 - 200
|
|
ТЕРМОВЕНТ
|
ПЖ-80
|
80
|
1200/1000
|
400/600/1200
|
30 - 150
|
|
ТЕРМОМОНОЛИТ
|
ПЖ-100
|
100
|
1200/1000
|
400/600/1200
|
30 - 150
|
|
ТЕРМОСЭНДВИЧ С
|
ПЖ-120
|
120
|
1200/1000
|
400/600/1200
|
30 - 150
|
|
ТЕРМОКРОВЛЯ Н
|
ПЖ-120
|
120
|
1200/1000
|
400/600/1200
|
30 - 150
|
|
ТЕРМОПОЛ
|
ПЖ-140
|
140
|
1200/1000
|
400/600/1200
|
30 - 150
|
|
ТЕРМОФАСАД
|
ПСЖ-150
|
150
|
1200/1000
|
400/600/1200
|
30 - 100
|
|
ТЕРМОСЭНДВИЧ К
|
ПСЖ-150
|
150
|
1200/1000
|
400/600/1200
|
30 - 100
|
|
ТЕРМОКРОВЛЯ
|
ПСЖ-150
|
150
|
1200/1000
|
400/600/1200
|
30 - 100
|
|
ТЕРМОКРОВЛЯ В
|
ПСЖ-175
|
175
|
1200/1000
|
400/600/1200
|
30 - 100
|
|
ТЕРМОКРОВЛЯ В+
|
ПСЖ-200
|
200
|
1200/1000
|
400/600/1200
|
20-100
|
2.6. Основные и дополнительные технические
характеристики плит из минеральной ваты теплоизоляционных «ТЕРМО» по ТУ 5762-005-0141183-04,
приведены соответственно в таблицах 2.2. и 2.3.
2.7. Гидрофобизированные
теплоизоляционные плиты из тонковолокнистой минеральной ваты на синтетическом
связующем, выпускаемые ОАО «Термостепс» по ТУ 5762-005-0141183-04 следует
применять для утепления ограждающих конструкций зданий в соответствии с
настоящими рекомендациями.
Таблица 2.2.
Основные технические характеристики плит «ТЕРМО»
|
Марка
|
Наименование
|
Наименование показателя
|
|
Плотность, кг/м3
|
Теплопроводность, при 10 ºС (283 ± 5) К,
Вт\(м?К), не более
|
Теплопроводность, при 25 ºС (298 ± 5) К,
Вт\(м?К), не более
|
Сжимаемость, %, не более
|
Прочность на сжатие при 10 %-ной деформации, кПа, не
менее
|
Предел прочности на отрыв слоев, кПа
|
Водопоглощение при полном погружении, % по объему,
не более
|
Влажность, % по массе, не более
|
Содержание органических веществ, % по массе, не
более
|
Группа горючести
|
|
Значение
|
|
ТЕРМОЛАЙТ
|
ПМ-35
|
35 ± 5
|
0,036
|
0,039
|
25
|
-
|
-
|
1,5
|
0,5
|
2,5
|
НГ
|
|
ТЕРМОЛАЙТ+
|
ПМ-50
|
50 ± 5
|
0,036
|
0,039
|
10
|
-
|
-
|
1,5
|
0,5
|
2,5
|
НГ
|
|
ТЕРМОСТЕНА
|
ПП-60
|

|
0,035
|
0,038
|
10
|
-
|
-
|
1,5
|
0,5
|
3,0
|
НГ
|
|
ТЕРМОСТЕНА+
|
ПП-70
|

|
0,035
|
0,038
|
7
|
-
|
-
|
1,5
|
0,5
|
3,0
|
НГ
|
|
ТЕРМОВЕНТ
|
ПЖ-80
|

|
0,034
|
0,037
|
-
|
18
|
3
|
1,5
|
0,5
|
3,5
|
НГ
|
|
ТЕРМОМОНОЛИТ
|
ПЖ-100
|

|
0,034
|
0,037
|
2
|
20
|
3,5
|
1,5
|
0,5
|
3,5
|
НГ
|
|
ТЕРМОСЭНДВИЧ С
|
ПЖ-120
|

|
0,034
|
0,037
|
2
|
25
|
-
|
1,5
|
0,5
|
4,0
|
НГ
|
|
ТЕРМОКРОВЛЯ Н
|
ПЖ-120
|

|
0,034
|
0,037
|
-
|
25
|
4
|
1,5
|
0,5
|
4,0
|
НГ
|
|
ТЕРМОПОЛ
|
ПЖ-140
|

|
0,035
|
0,038
|
-
|
35
|
5
|
1,5
|
0,5
|
4,0
|
НГ
|
|
ТЕРМОФАСАД
|
ПСЖ-150
|

|
0,035
|
0,038
|
-
|
40
|
15
|
1
|
0,5
|
4,5
|
НГ
|
|
ТЕРМОСЭНДВИЧ К
|
ПСЖ-150
|

|
0,035
|
0,038
|
-
|
45
|
-
|
1
|
0,5
|
4,5
|
НГ
|
|
ТЕРМОКРОВЛЯ
|
ПСЖ-150
|

|
0,035
|
0,038
|
-
|
45
|
7,5
|
1
|
0,5
|
4,5
|
НГ
|
|
ТЕРМОКРОВЛЯ В
|
ПСЖ-175
|

|
0,037
|
0,041
|
-
|
50
|
7,5
|
1
|
0,5
|
4,5
|
НГ
|
|
ТЕРМОКРОВЛЯ В+
|
ПСЖ-200
|

|
0,037
|
0,042
|
-
|
60
|
7,5
|
1
|
0,5
|
4,5
|
НГ
|
Таблица 2.3.
Дополнительные технические
характеристики плит «ТЕРМО»
|
Марка
|
Наименование показателя
|
|
Теплопроводность при условиях эксплуатации А, Вт/(
м?К), не более
|
Теплопроводность при условиях эксплуатации Б, Вт/(
м?К), не более
|
Водопоглощение по массе при частичном погружении, %,
не более
|
Сжимаемость после сорбционного увлажнения, %, не
более
|
Прочность на сжатие при 10 %-ной деформации после
сорбционного увлажнения, кПа, не менее
|
Паропроницаемость, мг/(м·ч·Па), не менее
|
|
Значение
|
|
ТЕРМОЛАЙТ
|
0,042
|
0,045
|
20
|
30
|
-
|
0,60
|
|
ТЕРМОЛАЙТ+
|
0,041
|
0,044
|
15
|
15
|
-
|
0,60
|
|
ТЕРМОСТЕНА
|
0,041
|
0,044
|
12
|
12
|
-
|
0,56
|
|
ТЕРМОСТЕНА+
|
0,042
|
0,045
|
10
|
10
|
-
|
0,56
|
|
ТЕРМОВЕНТ
|
0,042
|
0,045
|
10
|
-
|
15
|
0,56
|
|
ТЕРМОМОНОЛИТ
|
0,042
|
0,045
|
8
|
-
|
18
|
0,54
|
|
ТЕРМОСЭНДВИЧ С
|
0,042
|
0,045
|
8
|
-
|
20
|
0,54
|
|
ТЕРМОКРОВЛЯ Н
|
0,043
|
0,046
|
8
|
-
|
20
|
0,54
|
|
ТЕРМОПОЛ
|
0,044
|
0,047
|
6
|
-
|
30
|
0,52
|
|
ТЕРМОФАСАД
|
0,045
|
0,048
|
5
|
-
|
40
|
0,52
|
|
ТЕРМОСЭНДВИЧ К
|
0,045
|
0,048
|
5
|
-
|
40
|
0,52
|
|
ТЕРМОКРОВЛЯ
|
0,045
|
0,048
|
5
|
-
|
40
|
0,52
|
|
ТЕРМОКРОВЛЯ В
|
0,046
|
0,049
|
5
|
-
|
45
|
0,50
|
|
ТЕРМОКРОВЛЯ В+
|
0,046
|
0,050
|
4
|
-
|
50
|
0,49
|
3.1. Значения теплотехнических
характеристик строительных материалов в ограждающих конструкциях зданий под
воздействием эксплуатационных факторов, перечисленных в разделе 1,
изменяются во времени и могут существенно отличаться от значений, получаемых
при лабораторных испытаниях.
При проектировании тепловой защиты зданий
следует использовать расчетные значения коэффициента теплопроводности,
теплоусвоения и паропроницаемости материалов ограждающих конструкций в условиях
эксплуатации А и Б, приведенные в СНиП
23-02-2003 «Тепловая защита зданий» и СП 23-101-2000
«Проектирование тепловой защиты зданий».
3.2. Значения коэффициентов
теплопроводности в условиях эксплуатации А и Б для плит марки «ТЕРМО»
производства ОАО «Термостепс», используемые при определении толщины теплоизоляционного
слоя в конструкциях ограждений зданий различного назначения, приняты по данным
ТУ 5762-005-0141183-04, которые приведены в таблице 2.3.
4.1. Расчет тепловой защиты зданий и
влажностных характеристик ограждающих конструкций зданий следует выполнять в
соответствии с требованиями и по методикам, изложенным в СНиП
23-02-2003 «Строительная теплотехника» и СП 23-101-2000
«Проектирование теплозащиты зданий».
Необходимый уровень теплозащиты наружных
ограждений зданий определяется требованиями СНиП
23-02-2003 в зависимости от числа градусо-суток отопительного периода (Dd, °C·cyт), с учетом рекомендаций территориальных строительных
норм, принятых в регионе.
4.2. Расчетные параметры окружающей среды
для различных регионов принимаются по СНиП
23-01-99 «Строительная климатология» и с учетом требований территориальных
строительных норм.
4.3. Расчетные параметры внутреннего
воздуха принимаются по ГОСТ
12.1.005-88 «ССБТ. Общие санитарно-гигиенические требования к воздуху
рабочей зоны», с учетом требований СНиП
2.08.01-89* «Жилые здания», СНиП 2.09.02-85* «Производственные здания»,
СНиП 2.09.04-87* «Административные
и бытовые здания», СНиП 2.08.02-89* «Общественные
здания и сооружения».
4.4. Приведенное сопротивление
теплопередаче ограждающих конструкций определяется исходя из необходимости
соблюдения санитарно-гигиенических требований, условий комфортности и
требований энергосбережения.
Сопротивление теплопередаче многослойной
ограждающей конструкции с последовательно расположенными однородными слоями
определяется по формуле:
R0 = 1/αi + R1 + R2 + ... + Rn + 1/αе;
где: αi
- коэффициент теплоотдачи внутренней поверхности ограждающих конструкций, Вт/(м2·°С);
R1, R2, ..., Rn - термическое сопротивление отдельных слоев
ограждающей конструкции, включая термическое сопротивление замкнутой воздушной
прослойки, если таковая имеется, (м2·°С)/Вт;
αе -
коэффициент теплоотдачи от наружной поверхности ограждающей конструкции, Вт/(м2·°С).
Коэффициент теплоотдачи для воздушной
вентилируемой прослойки принимается равным 10,8 Вт/(м2·°С).
Термическое сопротивление отдельного
однородного слоя многослойной ограждающей конструкции определяется по формуле:
R
= δ/λ,
где: δ - толщина слоя, м;
λ - расчетный коэффициент теплопроводности материала
слоя, Вт/(м·°С).
Расчетный коэффициент теплопроводности
каждого слоя конструкции, за исключением теплоизоляционного слоя из плит из
тонковолокнистой минеральной ваты из горных пород на синтетическом связующем,
принимается по приложению Е СП 23-101-2000
«Проектирование тепловой защиты зданий». Коэффициент теплопроводности плит
марки «ТЕРМО» следует принимать по таблице 2.3. раздела 2.
4.5. Приведенное сопротивление
теплопередаче , м2·°С/Вт, неоднородной
ограждающей конструкции или её участка (фрагмента) определяется по формуле:

где: n -
коэффициент, учитывающий положение наружной поверхности ограждающей конструкции
по отношению к наружному воздуху, принимаемый по СНиП
23-02-2003;
tint - температура наружного воздуха, ºС;
text - температура внутреннего воздуха, ºС;
А - площадь неоднородной ограждающей конструкции или её фрагмента, м2;
Q - суммарный тепловой поток через конструкцию, или её
фрагмент, площадью A, Вт, определяемый на основании расчета температурного
поля на персональном компьютере, либо по ГОСТ
26254 или ГОСТ
26602.1 с внутренней стороны.
4.6. Приведенное
сопротивление характерного участка ограждающей конструкции может быть также определено
по формуле:

где: - приведенное сопротивление с
учетом теплопроводных включений, м2·°С/Вт;
r - коэффициент теплотехнической однородности,
учитывающий наличие в конструкции теплопроводных включений (стыков, гибких и
жестких связей, крепежных элементов, обрамлений балконов и дверей и т.п.).
Коэффициент теплотехнической
однородности, r, фактически является отношением приведенного
сопротивления теплопередаче к сопротивлению теплопередаче однородной
конструкции (без теплопроводных включений).
Коэффициент теплотехнической однородности
- r определяется по методикам, изложенным в СНиП
23-02-2003 «Тепловая защита зданий» и СП 23-101-2000
«Проектирование тепловой защиты зданий».
В настоящих рекомендациях расчетная
толщина теплоизоляционного слоя в составе ограждающих конструкций определена по
глади многослойной конструкции ограждения с коэффициентом теплотехнической
однородности r = 0,9 - 0,95 в зависимости от вида конструкции при
расчетных значениях коэффициента теплопроводности теплоизоляционных плит в
соответствии с таблицей 2.3.
При расчетах толщины теплоизоляционного
слоя из теплоизоляционных плит для «сэндвич-панелей» принят коэффициент
теплотехнической однородности 0,75 в соответствии с рекомендациями СНиП
23-02-2003.
Приведенные в таблицах значения расчетной
толщины теплоизоляционных плит подлежат корректировке при проектировании
конкретного объекта с учетом фактического коэффициента теплотехнической
однородности (r) ограждающих конструкций. Расчетный коэффициент
теплотехнической однородности указан в примечании к каждой таблице разделов 5.10. -
5.15.
4.7. Требуемое сопротивление
паропроницанию ограждающей конструкции определяется исходя из условия
недопустимости накопления влаги в ограждающей конструкции при расчете за годовой
период эксплуатации и за период эксплуатации с отрицательными среднемесячными
температурами наружного воздуха.
Методика расчета основана на определении
материального баланса влаги в конструкции за расчетный период времени с учетом
изменения температурно-влажностных параметров окружающей среды в зависимости от
климатического района.
В связи с большим разнообразием
конструктивных решений, свойств применяемых теплоизоляционных и строительных
материалов и климатических условий для различных регионов страны, расчет
влажностного режима конструкции следует выполнять при проектировании
конкретного объекта.
Расчет возможности выпадения и количества
выпадающего в конструкции конденсата при стационарных условиях теплопередачи и
диффузии водяного пара, выполняется по принятой в практике проектирования
инженерной методике, позволяющей с достаточной степенью достоверности
установить возможность выпадения и накопления конденсата в конструкции в
процессе ее эксплуатации.
Исходными данными при расчете являются
температура и относительная влажность воздуха снаружи и внутри здания,
термическое сопротивление и сопротивление паропроницанию отдельных слоев и
конструкции в целом.
Распределение температур по толщине
конструкции рассчитывается по формулам стационарной теплопередачи. По
термодинамическим таблицам определяются значения максимальной упругости
водяного пара при расчетных температурах в конструкции.
Изменение парциального давления по
толщине конструкции рассчитывается по заданным значениям влажности воздуха
внутри и снаружи здания и сопротивлению паропроницанию отдельных слоев,
входящих в состав ограждающей конструкции.
Если рассчитанное значение парциального
давления пара в каком-либо сечении превышает значение максимальной упругости
пара для этого сечения, то выпадение конденсата возможно.
В расчете определяется протяженность зоны
выпадения конденсата и количество образующегося конденсата в единицу времени.
Температурно-влажностный режим
рассчитывается для периода возможного выпадения конденсата (холодное время года)
и для периода его сушки (теплое время года) при среднемесячных температурах и
влажностях воздуха.
По результатам расчета определяется
материальный баланс влаги в конструкции и возможность ее накопления в
круглогодичном цикле.
Результаты проведенных расчетов
влажностного режима различных вариантов ограждающих конструкций зданий с
применением теплоизоляционных плит марки «ТЕРМО» позволяют сделать обобщенные
выводы о необходимости применения пароизоляции для рассмотренных вариантов
конструкций.
На графиках приводятся распределение
температур - t, °C по толщине конструкции, изменение максимальной
упругости водяного пара - Е, мм. рт.ст. и фактической упругости пара -
е, мм. рт.ст. по толщине конструкции с учетом распределения температур и
возможной конденсации, изменение относительной влажности воздуха - φ, % и
сорбционная влажность материалов в слое - ω, % по массе и количество влаги
в конструкции в круглогодичном цикле.
5.1. В настоящих рекомендациях
рассматриваются системы наружного утепления стен и покрытий зданий. К
преимуществам систем наружного утепления зданий относятся следующие факторы:
- наружное утепление защищает ограждающие
конструкции (стены, покрытия, чердачные перекрытия) от воздействий переменных
температур наружного воздуха, благодаря чему улучшается их
температурно-влажностный режим, исключается появление трещин, что приводит к
увеличению долговечности конструкций;
- при эксплуатации точка росы
перемещается во внешний теплоизоляционный слой, что улучшает влажностный режим
внутренних частей ограждающих конструкций;
- обеспечивается благоприятный режим
работы ограждающих конструкций по условиям паропроницаемости (расположение
слоев в порядке возрастающей плотности, устраняется паровой барьер);
- формируется более благоприятный
микроклимат помещения за счет повышения температуры внутренних поверхностей
стен, потолка и пола над подвалом и уменьшения перепада температур внутреннего
воздуха и поверхности стены;
- при наружном утеплении стен при
реконструкции и ремонте не уменьшается площадь помещений;
- при реконструкции достигается
возможность улучшения оформления фасадов и проведения строительных работ без
отселения жильцов.
При наружной теплоизоляции зданий
возрастает теплоаккумулирующая способность утепляемой стены. Так при наружной
теплоизоляции кирпичных стен при отключении отопления они остывают значительно
медленнее, чем при внутренней изоляции такой же толщины, что особенно актуально
при печном отоплении индивидуальных домов.
5.2. Рекомендации по
применению гидрофобизированных теплоизоляционных плит из минеральной ваты марки
«ТЕРМО» производства ОАО «Термостепс» в ограждающих конструкциях зданий
разработаны для следующих вариантов наружного утепления.
5.2.1. Стены:
- трехслойные стены из кирпича глиняного
обыкновенного на цементно-песчаном растворе, легкобетонных панелей или блоков с
плитами марки ТЕРМОСТЕНА, ТЕРМОСТЕНА+, ТЕРМОМОНОЛИТ, ТЕРМОВЕНТ, в качестве
среднего слоя и наружной облицовкой из кирпича (с вентилируемым зазором и без
него);
- наружное утепление зданий плитами марки
ТЕРМОФАСАД и штукатурным покрытием;
- наружное утепление стен плитами марки
ТЕРМОВЕНТ (или ТЕРМОВЕНТ+ ТЕРМОСТЕНА) в конструкции с вентилируемым зазором и
защитно-декоративной облицовкой изделиями типа «сайдинг», «ранила», «этернит» и
др.;
- стены из «сэндвич-панелей» с облицовкой
тонколистовым металлом и внутренним слоем из плит марки ТЕРМОВЕНТ, ТЕРМОСЭНДВИЧ
С, ТЕРМОКРОВЛЯ Н, ТЕРМОСЭНДВИЧ К, ТЕРМОКРОВЛЯ.
5.2.2. Покрытия:
- железобетонная плита или многопустотный
настил с изоляцией плитами марки ТЕРМОКРОВЛЯ Н, ТЕРМОПОЛ, ТЕРМОКРОВЛЯ, в
сочетании с верхним слоем из плит марки ТЕРМОКРОВЛЯ В+ толщиной 20 мм или ТЕРМОКРОВЛЯ
В толщиной 40 мм с рулонной кровлей без устройства цементной стяжки;
- железобетонная плита или многопустотный
настил с изоляцией плитами марки ТЕРМОКРОВЛЯ или ТЕРМОКРОВЛЯ с рулонной кровлей
без устройства цементной стяжки;
- железобетонная плита или многопустотный
настил с изоляцией плитами марки ТЕРМОКРОВЛЯ Н, ТЕРМОПОЛ, ТЕРМОКРОВЛЯ с
рулонной кровлей по цементной стяжке;
- профилированный стальной лист с
изоляцией плитами марки ТЕРМОКРОВЛЯ Н, ТЕРМОПОЛ, ТЕРМОСЭНДВИЧ К и ТЕРМОКРОВЛЯ с
металлической кровлей;
- скатная крыша с изоляцией плитами марки
ТЕРМОЛАЙТ, ТЕРМОЛАЙТ+, ТЕРМОСТЕНА и ТЕРМОСТЕНА+, или ТЕРМОВЕНТ;
- покрытие из кровельных
«сэндвич-панелей» с теплоизоляционным слоем из плит марки ТЕРМОСЭНДВИЧ К,
ТЕРМОКРОВЛЯ, ТЕРМОКРОВЛЯ В.
5.2.3. Перекрытия:
- чердачное перекрытие из железобетонной
плиты или многопустотного настила (холодный проходной или полупроходной чердак)
с изоляцией плитами марки ТЕРМОЛАЙТ, ТЕРМОЛАЙТ+, ТЕРМОСТЕНА и ТЕРМОСТЕНА+,
ТЕРМОВЕНТ, ТЕРМОМОНОЛИТ;
- чердачное перекрытие из железобетонной
плиты или многопустотного настила (холодный проходной или полупроходной чердак)
с изоляцией плитами марки ТЕРМОПОЛ, ТЕРМОКРОВЛЯ и ТЕРМОКРОВЛЯ В с цементной
стяжкой;
- перекрытие из железобетонной плиты или
многопустотного настила над холодным подвалом или проездом с изоляцией плитами
из минеральной ваты теплоизоляционными ТЕРМОЛАЙТ, ТЕРМОЛАЙТ+, ТЕРМОСТЕНА и
ТЕРМОСТЕНА+, ТЕРМОВЕНТ, ТЕРМОМОНОЛИТ;
- перекрытие из железобетонного и
многопустотного настила над холодным подвалом или проездом с изоляцией плитами
из минеральной ваты теплоизоляционными ТЕРМОПОЛ, ТЕРМОКРОВЛЯ и ТЕРМОКРОВЛЯ В с
цементной стяжкой и паркетной доской.
5.3. Рекомендации по
применению плит теплоизоляционных «ТЕРМО» разработаны для следующих вариантов
ограждающих конструкций:
- кирпичные стены толщиной 250 мм, 380
мм, 510 и 640 мм с изоляцией теплоизоляционными плитами в качестве среднего
слоя в конструкции с наружной защитно-декоративной стенкой из кирпича толщиной
120 мм (трехслойная стена);
- стены из легкобетонных панелей или блоков
толщиной 250 и 380 мм с изоляцией теплоизоляционными плитами в качестве
среднего слоя в конструкции с защитно-декоративной стенкой из облицовочного
кирпича толщиной 120 мм (трехслойная стена);
- стены из кирпича толщиной 250 мм, 380
мм, 510 и 640 мм, легкобетонных панелей и блоков толщиной 250 и 380 мм с
изоляцией теплоизоляционными плитами марки ТЕРМОФАСАД с жестким креплением в
конструкции со штукатурным покрытием;
- стены из кирпича толщиной 250 мм, 380
мм, 510 и 640 мм, легкобетонных панелей и блоков толщиной 250 и 380 мм с
изоляцией плитами марки ТЕРМОВЕНТ в конструкции наружного утепления с
вентилируемым зазором и защитно-декоративным экраном;
- стены из бруса толщиной 150 мм с
теплоизоляционными плитами различных марок в конструкции наружного утепления со
штукатурным покрытием, с облицовкой кирпичом толщиной 120 мм без вентилируемого
зазора; с облицовкой вагонкой или защитно-декоративным экраном с вентилируемым
зазором;
- покрытие или перекрытие из сплошной
железобетонной плиты толщиной 100 мм или многопустотного настила толщиной 250
мм;
- покрытие из профилированного стального
листа;
- скатная крыша.
Для указанных видов ограждающих
конструкций и типов помещений даны рекомендуемые к применению марки плит
«ТЕРМО» и таблицы расчетной толщины теплоизоляционного слоя, соответствующей
требованиям СНиП 23-02-2003 для различных регионов
(городов) Российской Федерации.
5.4. Толщина
теплоизоляционного слоя определена для ограждений с коэффициентом
теплотехнической однородности по п. 4.6. при расчетных значениях
коэффициента теплопроводности теплоизоляционных изделий в соответствии с
таблицей 2.3.
Приведенные расчетные данные подлежат
корректировке при проектировании конкретного объекта с учетом фактического
коэффициента теплотехнической однородности (r) ограждающих
конструкций.
5.5. Толщину утеплителя в
конструкции ограждения следует принимать с учетом типоразмеров выпускаемых
изделий, при этом выбирается ближайшее большее значение, кратное толщине
применяемого изделия в соответствии с выпускаемой номенклатурой (таблица 2.1.).
В таблицах расчетной толщины
теплоизоляционного слоя из теплоизоляционных плит марки «ТЕРМО» в графе «Тип
помещения» номера соответствуют номерам указанных типов зданий.
1 - жилые здания;
2 - общественные и административные
здания;
3 - производственные здания.
5.6. В данных рекомендациях
для конкретных видов ограждающих конструкций приводятся одна или несколько
марок допускаемых к применению теплоизоляционных материалов.
При выборе марки утеплителя для
конкретной конструкции следует учитывать, что гидрофобизированные материалы
большей плотности характеризуются более высокой долговечностью (т.е. сроком
эксплуатации без разрушения) при одновременно более высокой стоимости,
обусловленной повышенными затратами при производстве.
5.7. При разработке
рекомендаций по применению теплоизоляционных плит «ТЕРМО» в ограждающих
конструкциях зданий использованы опубликованные в печати статьи и документы,
рекламные материалы фирм-разработчиков конкретных систем утепления зданий,
альбомы типовых конструкций утепления ограждающих конструкций, разработанные
институтами ЦНИИЭПжилища, в том числе при участии института Теплопроект, и
ЦНИИПромзданий, действующие строительные нормы и правила.
5.10.1. Наружное утепление зданий при
реконструкции и капитальном ремонте должно проводиться с учетом результатов
обследования технического состояния утепляемого фасада, с оценкой его
прочности, наличия трещин, влажности и т.д., так как эти показатели являются
определяющими при выборе конструкции крепления, ее эксплуатационной надежности
и долговечности.
5.10.2. В настоящее время в России
фирмами «TEX-COLOR», «Фасад-технология», «СИНТЕКО», «Капатек»,
«Бауколор» и др. применяются различные варианты системы наружного утепления с
оштукатуриванием фасадов, отличающиеся как конструктивными особенностями, так и
применяемыми материалами.
Принципиальное техническое решение систем
утепления «ХЕКК-ТИСС», «СИНТЕКО» и др., состоит в том, что на подготовленную
выровненную поверхность при помощи клеевого состава закрепляются плиты из
волокна из горных пород, которые затем дополнительно крепятся дюбелями. На
поверхность плит наносится клеевой состав и армирующая кислотощелочестойкая
стеклосетка. Затем наносится водоотталкивающая грунтовка и декоративная
штукатурка с окраской силикатными красками. Может применяться двойное
армирование.
Помимо указанных элементов в конструкции
системы утепления фирмами комплектуются элементы отделки цоколя, углов здания и
фасонных участков.
В указанных системах применяются жесткие
элементы крепления тепловой изоляции (дюбели), воспринимающие нагрузки от
собственного веса конструкции. Крепежные элементы рассчитывают на поперечный
изгиб и растяжение от ветрового отсоса.
В системах утепления с жесткими
крепежными элементами применяются плиты теплоизоляционные с пределом прочности
на отрыв слоев не менее 12 - 15 кПа.
Этому требованию отвечают
гидрофобизированные теплоизоляционные плиты марки «ТЕРМОФАСАД». Прочность на
отрыв слоев для этих изделий поданным заказчика составляет 15 кПа.
Система утепления для плит «ТЕРМОФАСАД» с
жесткими элементами крепления предусматривает комбинированное крепление плит к
стене: клеевое и дюбелями. При этом клей рекомендуется наносить полосами или
точечно во избежание создания сплошного парового барьера (слой клея).
Как правило, на плиты наносится базовый
штукатурный слой толщиной 3 - 5 мм, в который втапливают армирующую сетку. На
базовый слой наносят промежуточный грунтовочный слой специального состава
толщиной 2 - 4 мм для улучшения сцепления с отделочным слоем. Толщина
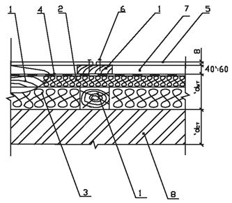
отделочного слоя от 3 до 5 мм (Рис. 5.10.1 - 5.10.3).
5.10.3. Плиты марки «ТЕРМОФАСАД» могут
быть применены в системах утепления с гибкими (подвижными) элементами
крепления, отличающихся тем, что плиты крепятся к стене без применения клеевого
состава с помощью специальных шарнирных крепежных элементов, что позволяет всей
теплоизоляционной конструкции свободно перемещаться вдоль утепляемой стены
(Рис. 5.10.4
- 5.10.6).
Помимо плит «ТЕРМОФАСАД» в системах
утепления с гибкими (подвижными) элементами крепления могут быть использованы
плиты «ТЕРМОМОНОЛИТ».
При таком способе крепления исключается
передача деформаций стен на отделочный штукатурный слой. В штукатурном слое не
возникает напряжений, приводящих к разрушению и появлению трещин на поверхности
штукатурки.
Такую технологию использует, например,
фирма «OPTIROC», разработавшая технологию «SERPOROCK» и ЗАО
«Хантер-Стар» с системой «Термофасад».
В соответствии с технологией «SERPOROCK» для крепления плит к стене применяют специальные шарнирные фиксаторы
с подвижными маятниковыми крючками. Плита насаживается на фиксаторы и
укрывается сеткой, которая закрепляется крючками (шпильками). Под действием
собственного веса конструкции крючки опускаются под углом к горизонтальной
плоскости, прижимая плиту к стене. Нанесенный сверху штукатурный слой толщиной
20 - 30 мм усиливает прижим (Рис. 5.10.7).
В конструкции применяется металлическая
гальванически оцинкованная сварная сетка с ячейкой не более 20×20 из
проволоки не менее 1 мм. На сетку наносятся штукатурные слои: вначале базовый
или укрывной толщиной до 10 - 11 мм, затем, выравнивающий примерно той же
толщины. Затем наносится отделочный слой толщиной 3 - 5 мм. Общая толщина
штукатурного слоя 20 - 30 мм. В конструкции может быть использована сетка из
нержавеющей стали.
В качестве элемента крепления может быть
использован также анкер и качающийся крюк типа «Пармитерм» или другие гибкие
крепежные элементы, которые вместе с металлической сеткой несут основные
нагрузки.
5.10.3. Для наружного
утепления стен зданий следует применять только гидрофобизированные
теплоизоляционные плиты из минеральной ваты вида ВМТ с модулем кислотности не
менее 1,8.
5.10.4. Штукатурки, применяемые в
конструкциях наружного утепления зданий плитами из минеральной ваты, должны
быть паропроницаемыми, но водонепроницаемыми, долговечными, обладать
необходимыми декоративными свойствами.
Для устройства штукатурных слоев
используют составы на основе минеральных и полимерных материалов. В цветных
штукатурках содержатся светостойкие сухие пигменты. Состав штукатурных смесей
определяется в зависимости от требований к оформлению фасада при
проектировании.
5.10.5. В соответствии с существующими
требованиями в штукатурном покрытии предусматривают вертикальные и
горизонтальные деформационные швы заполняемые нетвердеющими герметиками или с
установкой водоотбойной ленты (Рис. 5.10.8).
5.10.6. В конструкциях со штукатурным
покрытием рекомендуется защитно-декоративное покрытие цоколя выполнять из
материалов повышенной прочности (кирпич, керамические плиты и др.). Рис. 5.10.9.
5.10.7. Крепежные элементы, применяемые
для фиксации теплоизоляционных плит и металлической сетки должны быть
изготовлены из коррозионно-стойкой стали, а армирующая металлическая сетка - с
гальваническим оцинкованием поверхности или из нержавеющей стали.
5.10.8. Необходимое количество крепежных
элементов (дюбелей) на единицу поверхности определяется расчетом по известным
методикам, с учетом технического состояния поверхности утепляемой стены и
прочностных характеристик применяемых дюбелей.
5.10.10. Расчетные значения толщины
теплоизоляционного слоя из плит марки «ТЕРМОФАСАД» и «ТЕРМОМОНОЛИТ» для
различных регионов Российской Федерации в условиях эксплуатации А и Б,
приведены в таблицах 5.10.1 и 5.10.3, соответственно.
Расчеты выполнены для кирпичных стен
толщиной 250, 380 мм, 510 мм и 640 мм и стен из керамзитобетона с плотностью
1200 кг/м3 толщиной 250 и 380 мм.
Расчеты проведены для глади стены с
коэффициентом теплотехнической однородности 0,95, учитывающим крепление плит
дюбелями.
5.10.11. Результаты расчета влажностного
режима конструкций с применением плит марки «ТЕРМОФАСАД» для г. г. Москвы,
Волгограда и Архангельска приведены на рис. 5.10.10 - 5.10.12.
Расчеты выполнены для штукатурного
покрытия из сложного раствора (песок, известь, цемент). Расчетные коэффициенты паропроницаемости
и теплопроводности приняты по приложению Е СП 23-101-2000
«Проектирование тепловой защиты зданий». При использовании других штукатурных
покрытий с отличными от указанных свойствами (по паропроницаемости и
теплопроводности) следует проводить проверочный расчет возможности конденсации
и накопления влаги в конструкции.
Анализ результатов расчета показывает,
что в конструкции при определенном сочетании свойств применяемых материалов и
внешних и внутренних условий эксплуатации может происходить конденсация влаги
на границе утеплителя и наружного штукатурного покрытия, однако, образующееся
количество конденсата высыхает в теплое время года для большинства регионов
России.
Таблица 5.10.1. Расчетная толщина теплоизоляционного слоя из плит марки
«ТЕРМОФАСАД» в конструкции утепления со штукатурным покрытием для стен из
кирпича или керамзитобетонных блоков.
|
№ п/п
|
Город
|
Условия эксплуатации
|
Dd, ºС·сут
|
Тип помещения
|
R0тр, м2·ºС/Вт
|
Тип стены
|
|
кирпичная
|
керамзитобетон
|
|
Толщина стены, мм
|
|
250
|
380
|
510
|
640
|
250
|
380
|
|
Толщина теплоизоляционного слоя из плит марки
«ТЕРМОФАСАД», мм
|
|
1
|
2
|
3
|
4
|
5
|
6
|
7
|
8
|
9
|
10
|
11
|
12
|
|
1
|
Архангельск
|
Б
|
6426
|
1
|
3,65
|
159
|
151
|
144
|
136
|
151
|
139
|
|
5667
|
2
|
2,77
|
115
|
107
|
100
|
92
|
107
|
95
|
|
5667
|
3
|
2,13
|
83
|
75
|
67
|
60
|
74
|
62
|
|
2
|
Астрахань
|
А
|
3540
|
1
|
2,64
|
99
|
90
|
82
|
74
|
89
|
76
|
|
3206
|
2
|
1,99
|
68
|
59
|
51
|
43
|
58
|
45
|
|
3206
|
3
|
1,64
|
51
|
43
|
35
|
26
|
42
|
29
|
|
3
|
Анадырь
|
Б
|
9797
|
1
|
4,83
|
219
|
211
|
203
|
196
|
211
|
199
|
|
8864
|
2
|
3,80
|
167
|
159
|
151
|
144
|
158
|
146
|
|
8864
|
3
|
2,77
|
115
|
107
|
100
|
92
|
107
|
95
|
|
4
|
Барнаул
|
А
|
6343
|
1
|
3,62
|
145
|
137
|
128
|
120
|
136
|
122
|
|
5680
|
2
|
2,78
|
105
|
97
|
88
|
80
|
96
|
82
|
|
5680
|
3
|
2,14
|
75
|
66
|
58
|
50
|
65
|
52
|
|
5
|
Белгород
|
А
|
4183
|
1
|
2,86
|
109
|
101
|
93
|
84
|
100
|
86
|
|
3801
|
2
|
2,18
|
77
|
68
|
60
|
52
|
67
|
54
|
|
3801
|
3
|
1,76
|
57
|
49
|
40
|
32
|
47
|
34
|
|
6
|
Благовещенск
|
Б
|
6889
|
1
|
3,81
|
167
|
160
|
152
|
144
|
159
|
147
|
|
6235
|
2
|
2,96
|
124
|
116
|
109
|
101
|
116
|
104
|
|
6235
|
3
|
2,25
|
88
|
81
|
73
|
65
|
80
|
68
|
|
7
|
Брянск
|
Б
|
4572
|
1
|
3,00
|
126
|
119
|
111
|
103
|
118
|
106
|
|
4162
|
2
|
2,29
|
91
|
83
|
75
|
68
|
82
|
70
|
|
4162
|
3
|
1,83
|
67
|
60
|
52
|
44
|
59
|
47
|
|
8
|
Братск
|
А
|
7370
|
1
|
3,98
|
162
|
154
|
145
|
137
|
153
|
139
|
|
6623
|
2
|
3,08
|
119
|
111
|
103
|
94
|
110
|
97
|
|
6623
|
3
|
2,32
|
84
|
75
|
67
|
59
|
74
|
61
|
|
9
|
Волгоград
|
А
|
3952
|
1
|
2,78
|
105
|
97
|
89
|
80
|
96
|
83
|
|
3596
|
2
|
2,11
|
74
|
65
|
57
|
48
|
64
|
51
|
|
3596
|
3
|
1,72
|
55
|
47
|
38
|
30
|
46
|
32
|
|
10
|
Вологда
|
Б
|
5798
|
1
|
3,43
|
148
|
140
|
133
|
125
|
140
|
128
|
|
5105
|
2
|
2,59
|
106
|
98
|
90
|
83
|
98
|
86
|
|
5105
|
3
|
2,02
|
77
|
69
|
62
|
54
|
69
|
57
|
|
11
|
Воронеж
|
А
|
4528
|
1
|
2,98
|
115
|
107
|
98
|
90
|
105
|
92
|
|
4136
|
2
|
2,28
|
82
|
73
|
65
|
57
|
72
|
59
|
|
4136
|
3
|
1,83
|
60
|
52
|
43
|
35
|
51
|
37
|
|
12
|
Владимир
|
Б
|
5006
|
1
|
3,15
|
134
|
126
|
119
|
111
|
126
|
114
|
|
4580
|
2
|
2,43
|
97
|
90
|
82
|
74
|
89
|
77
|
|
4154
|
3
|
1,83
|
67
|
60
|
52
|
44
|
59
|
47
|
|
13
|
Владивосток
|
Б
|
4684
|
1
|
3,04
|
128
|
121
|
113
|
105
|
120
|
108
|
|
4292
|
2
|
2,33
|
93
|
85
|
77
|
70
|
84
|
72
|
|
4292
|
3
|
1,86
|
69
|
61
|
53
|
46
|
60
|
48
|
|
14
|
Владикавказ
|
А
|
3410
|
1
|
2,59
|
96
|
88
|
80
|
71
|
87
|
74
|
|
3062
|
2
|
1,94
|
65
|
57
|
49
|
40
|
56
|
43
|
|
3062
|
3
|
1,61
|
50
|
42
|
33
|
25
|
40
|
27
|
|
15
|
Грозный
|
А
|
3056
|
1
|
2,47
|
91
|
82
|
74
|
65
|
81
|
68
|
|
2736
|
2
|
1,84
|
61
|
52
|
44
|
35
|
51
|
38
|
|
2736
|
3
|
1,55
|
47
|
39
|
30
|
22
|
37
|
24
|
|
16
|
Екатеринбург
|
А
|
6210
|
1
|
3,57
|
143
|
134
|
126
|
118
|
133
|
120
|
|
5520
|
2
|
2,73
|
103
|
94
|
86
|
78
|
93
|
80
|
|
5520
|
3
|
2,10
|
73
|
65
|
57
|
48
|
64
|
50
|
|
17
|
Иваново
|
Б
|
см. Владимир
|
|
18
|
Игарка
|
Б
|
10575
|
1
|
5,10
|
233
|
225
|
217
|
209
|
224
|
212
|
|
9666
|
2
|
4,05
|
180
|
172
|
164
|
156
|
171
|
159
|
|
9666
|
3
|
2,93
|
123
|
115
|
108
|
100
|
115
|
103
|
|
19
|
Иркутск
|
А
|
7080
|
1
|
3,88
|
157
|
149
|
141
|
132
|
148
|
134
|
|
6360
|
2
|
3,00
|
115
|
107
|
99
|
90
|
106
|
93
|
|
6360
|
3
|
2,27
|
81
|
73
|
64
|
56
|
72
|
58
|
|
20
|
Ижевск
|
Б
|
5905
|
1
|
3,47
|
150
|
142
|
135
|
127
|
142
|
130
|
|
5239
|
2
|
2,64
|
108
|
100
|
93
|
85
|
100
|
88
|
|
5239
|
3
|
2,05
|
78
|
71
|
63
|
55
|
70
|
58
|
|
21
|
Йошкар-Ола
|
Б
|
5742
|
1
|
3,41
|
147
|
139
|
132
|
124
|
139
|
127
|
|
5082
|
2
|
2,59
|
105
|
98
|
90
|
82
|
97
|
85
|
|
5082
|
3
|
2,02
|
77
|
69
|
61
|
54
|
68
|
56
|
|
22
|
Казань
|
Б
|
см. Вологда
|
|
23
|
Калининград
|
Б
|
3648
|
1
|
2,68
|
110
|
102
|
95
|
87
|
102
|
90
|
|
3262
|
2
|
2,00
|
76
|
68
|
61
|
53
|
68
|
56
|
|
3262
|
3
|
1,65
|
58
|
51
|
43
|
35
|
50
|
38
|
|
24
|
Калуга
|
Б
|
см. Владивосток
|
|
25
|
Кемерово
|
А
|
6537
|
1
|
3,69
|
148
|
140
|
132
|
123
|
139
|
125
|
|
6075
|
2
|
2,90
|
111
|
103
|
94
|
86
|
102
|
88
|
|
6075
|
3
|
2,22
|
79
|
70
|
62
|
53
|
69
|
56
|
|
26
|
Вятка
|
Б
|
5660
|
1
|
3,38
|
146
|
138
|
130
|
123
|
137
|
125
|
|
4967
|
2
|
2,55
|
104
|
96
|
88
|
81
|
95
|
83
|
|
4967
|
3
|
1,99
|
76
|
68
|
60
|
52
|
67
|
55
|
|
27
|
Кострома
|
Б
|
5528
|
1
|
3,33
|
143
|
136
|
128
|
120
|
135
|
123
|
|
4862
|
2
|
2,52
|
102
|
94
|
87
|
79
|
94
|
82
|
|
4862
|
3
|
1,97
|
74
|
67
|
59
|
51
|
66
|
54
|
|
28
|
Краснодар
|
А
|
2682
|
1
|
2,34
|
84
|
76
|
68
|
59
|
75
|
62
|
|
2384
|
2
|
1,72
|
55
|
47
|
38
|
30
|
46
|
32
|
|
2384
|
3
|
1,48
|
44
|
35
|
27
|
18
|
34
|
21
|
|
29
|
Красноярск
|
А
|
6575
|
1
|
3,70
|
149
|
141
|
132
|
124
|
139
|
126
|
|
5873
|
2
|
2,84
|
108
|
100
|
91
|
83
|
99
|
85
|
|
5873
|
3
|
2,17
|
77
|
68
|
60
|
52
|
67
|
54
|
|
30
|
Курган
|
А
|
см. Барнаул
|
|
31
|
Курск
|
Б
|
4435
|
1
|
2,95
|
124
|
116
|
109
|
101
|
116
|
104
|
|
4039
|
2
|
2,25
|
89
|
81
|
73
|
66
|
80
|
68
|
|
4039
|
3
|
1,81
|
66
|
58
|
51
|
43
|
58
|
46
|
|
32
|
Кызыл
|
А
|
7875
|
1
|
4,16
|
170
|
162
|
154
|
145
|
161
|
148
|
|
7425
|
2
|
3,34
|
132
|
123
|
115
|
107
|
122
|
109
|
|
7425
|
3
|
2,49
|
91
|
83
|
75
|
66
|
82
|
69
|
|
33
|
Липецк
|
А
|
4703
|
1
|
3,05
|
118
|
110
|
101
|
93
|
108
|
95
|
|
4301
|
2
|
2,34
|
84
|
76
|
68
|
59
|
75
|
61
|
|
4301
|
3
|
1,86
|
62
|
53
|
45
|
37
|
52
|
39
|
|
34
|
Магадан
|
Б
|
7805
|
1
|
4,13
|
184
|
176
|
168
|
160
|
175
|
163
|
|
7229
|
2
|
3,27
|
140
|
133
|
125
|
117
|
132
|
120
|
|
7229
|
3
|
2,45
|
98
|
91
|
83
|
75
|
90
|
78
|
|
35
|
Махачкала
|
А
|
2560
|
1
|
2,30
|
82
|
74
|
66
|
57
|
73
|
60
|
|
2264
|
2
|
1,68
|
53
|
45
|
37
|
28
|
44
|
31
|
|
2264
|
3
|
1,45
|
42
|
34
|
26
|
17
|
33
|
20
|
|
36
|
Москва
|
Б
|
5027
|
1
|
3,16
|
134
|
127
|
119
|
111
|
126
|
114
|
|
4601
|
2
|
2,43
|
98
|
90
|
82
|
75
|
89
|
77
|
|
4601
|
3
|
1,92
|
72
|
64
|
56
|
49
|
64
|
52
|
|
37
|
Мурманск
|
Б
|
6380
|
1
|
3,63
|
158
|
151
|
143
|
135
|
150
|
138
|
|
5830
|
2
|
2,83
|
118
|
110
|
102
|
94
|
109
|
97
|
|
5830
|
3
|
2,17
|
84
|
77
|
69
|
61
|
76
|
64
|
|
38
|
Нальчик
|
А
|
3259
|
1
|
2,54
|
94
|
86
|
77
|
69
|
84
|
71
|
|
2923
|
2
|
1,90
|
63
|
55
|
47
|
38
|
54
|
41
|
|
2923
|
3
|
1,58
|
49
|
40
|
32
|
24
|
39
|
26
|
|
39
|
Нижний Новгород
|
Б
|
см. Владимир
|
|
40
|
Новгород
|
Б
|
4928
|
1
|
3,12
|
133
|
125
|
117
|
110
|
124
|
112
|
|
4486
|
2
|
2,40
|
96
|
88
|
80
|
73
|
88
|
76
|
|
4486
|
3
|
1,90
|
71
|
63
|
55
|
48
|
62
|
50
|
|
41
|
Новосибирск
|
А
|
см. Кемерово
|
|
42
|
Омск
|
А
|
6497
|
1
|
3,67
|
148
|
139
|
131
|
123
|
138
|
125
|
|
5834
|
2
|
2,83
|
107
|
99
|
91
|
82
|
98
|
85
|
|
5834
|
3
|
2,17
|
76
|
68
|
60
|
51
|
67
|
53
|
|
43
|
Оренбург
|
А
|
5515
|
1
|
3,33
|
131
|
123
|
115
|
106
|
122
|
109
|
|
4909
|
2
|
2,53
|
93
|
85
|
77
|
68
|
84
|
71
|
|
4909
|
3
|
1,98
|
67
|
59
|
51
|
42
|
58
|
45
|
|
44
|
Орел
|
Б
|
4654
|
1
|
3,03
|
128
|
120
|
112
|
105
|
120
|
108
|
|
4244
|
2
|
2,32
|
92
|
84
|
77
|
69
|
84
|
72
|
|
4244
|
3
|
1,85
|
68
|
61
|
53
|
45
|
60
|
48
|
|
45
|
Пенза
|
А
|
5072
|
1
|
3,18
|
124
|
116
|
107
|
99
|
114
|
101
|
|
4658
|
2
|
2,45
|
90
|
81
|
73
|
65
|
80
|
67
|
|
4658
|
3
|
1,93
|
65
|
57
|
48
|
40
|
56
|
42
|
|
46
|
Пермь
|
Б
|
см. Вятка
|
|
47
|
Петропавловск-Камчатский
|
Б
|
см. Ижевск
|
|
48
|
Петрозаводск
|
Б
|
см. Вологда
|
|
49
|
Псков
|
Б
|
см. Курск
|
|
50
|
Ростов-на-Дону
|
А
|
3523
|
1
|
2,63
|
98
|
90
|
82
|
73
|
89
|
76
|
|
3181
|
2
|
1,98
|
67
|
59
|
51
|
42
|
58
|
44
|
|
3181
|
3
|
1,64
|
51
|
43
|
34
|
26
|
42
|
28
|
|
51
|
Рязань
|
Б
|
4888
|
1
|
3,11
|
132
|
124
|
117
|
109
|
124
|
112
|
|
4472
|
2
|
2,39
|
96
|
88
|
80
|
73
|
87
|
75
|
|
4472
|
3
|
1,89
|
71
|
63
|
55
|
47
|
62
|
50
|
|
52
|
Самара
|
Б
|
см. Кострома
|
|
53
|
Санкт-Петербург
|
Б
|
см. Орел
|
|
54
|
Саранск
|
А
|
см. Пенза
|
|
55
|
Саратов
|
А
|
4763
|
1
|
3,07
|
119
|
111
|
102
|
94
|
109
|
96
|
|
4371
|
2
|
2,36
|
85
|
77
|
69
|
60
|
76
|
63
|
|
4371
|
3
|
1,87
|
62
|
54
|
46
|
37
|
53
|
40
|
|
56
|
Салехард
|
Б
|
9461
|
1
|
4,71
|
213
|
205
|
197
|
190
|
205
|
193
|
|
8585
|
2
|
3,71
|
162
|
154
|
147
|
139
|
154
|
142
|
|
8585
|
3
|
2,72
|
112
|
104
|
97
|
89
|
104
|
92
|
|
57
|
Смоленск
|
Б
|
4816
|
1
|
3,09
|
131
|
123
|
115
|
108
|
122
|
110
|
|
4386
|
2
|
2,36
|
94
|
87
|
79
|
71
|
86
|
74
|
|
4386
|
3
|
1,88
|
70
|
62
|
54
|
47
|
61
|
49
|
|
58
|
Ставрополь
|
А
|
3209
|
1
|
2,52
|
93
|
85
|
76
|
68
|
84
|
70
|
|
2873
|
2
|
1,88
|
63
|
54
|
46
|
38
|
53
|
40
|
|
2873
|
3
|
1,57
|
48
|
40
|
31
|
23
|
39
|
25
|
|
59
|
Сыктывкар
|
Б
|
6566
|
1
|
3,70
|
162
|
154
|
146
|
139
|
153
|
141
|
|
5831
|
2
|
2,83
|
118
|
110
|
102
|
94
|
109
|
97
|
|
5831
|
3
|
2,17
|
84
|
77
|
69
|
61
|
76
|
64
|
|
60
|
Тамбов
|
А
|
4764
|
1
|
3,07
|
119
|
111
|
102
|
94
|
109
|
96
|
|
4362
|
2
|
2,36
|
85
|
77
|
68
|
60
|
76
|
62
|
|
4362
|
3
|
1,87
|
62
|
54
|
46
|
37
|
53
|
39
|
|
61
|
Тверь
|
Б
|
5014
|
1
|
3,15
|
134
|
127
|
119
|
111
|
126
|
114
|
|
4578
|
2
|
2,42
|
97
|
90
|
82
|
74
|
89
|
77
|
|
4578
|
3
|
1,92
|
72
|
64
|
56
|
48
|
63
|
51
|
|
62
|
Томск
|
Б
|
см. Благовещенск
|
|
63
|
Тула
|
Б
|
см. Новгород
|
|
64
|
Тюмень
|
А
|
см. Екатеринбург
|
|
65
|
Ульяновск
|
А
|
5597
|
1
|
3,36
|
133
|
124
|
116
|
108
|
123
|
110
|
|
4961
|
2
|
2,55
|
94
|
86
|
78
|
69
|
85
|
71
|
|
4961
|
3
|
1,99
|
68
|
60
|
51
|
43
|
58
|
45
|
|
66
|
Улан-Уде
|
А
|
7442
|
1
|
4,00
|
163
|
155
|
147
|
138
|
154
|
140
|
|
6731
|
2
|
3,11
|
121
|
113
|
104
|
96
|
112
|
98
|
|
6731
|
3
|
2,35
|
85
|
76
|
68
|
60
|
75
|
62
|
|
67
|
Уфа
|
А
|
5517
|
1
|
3,33
|
131
|
123
|
115
|
106
|
111
|
109
|
|
5091
|
2
|
2,59
|
96
|
88
|
80
|
71
|
87
|
73
|
|
5091
|
3
|
2,02
|
69
|
61
|
52
|
44
|
60
|
46
|
|
68
|
Хабаровск
|
Б
|
6393
|
1
|
3,64
|
159
|
151
|
143
|
136
|
150
|
138
|
|
5760
|
2
|
2,80
|
116
|
109
|
101
|
93
|
108
|
96
|
|
5760
|
3
|
2,15
|
84
|
76
|
68
|
60
|
75
|
63
|
|
69
|
Чебоксары
|
Б
|
5620
|
1
|
3,37
|
145
|
137
|
130
|
122
|
137
|
125
|
|
4969
|
2
|
2,55
|
104
|
96
|
88
|
81
|
95
|
83
|
|
4969
|
3
|
1,99
|
76
|
68
|
60
|
52
|
67
|
55
|
|
70
|
Челябинск
|
Б
|
5995
|
1
|
3,50
|
152
|
144
|
136
|
128
|
143
|
131
|
|
5341
|
2
|
2,67
|
110
|
102
|
94
|
87
|
101
|
89
|
|
5341
|
3
|
2,07
|
79
|
72
|
64
|
56
|
71
|
59
|
|
71
|
Чита
|
А
|
7841
|
1
|
4,14
|
170
|
162
|
153
|
145
|
160
|
147
|
|
7115
|
2
|
3,24
|
127
|
119
|
110
|
102
|
117
|
104
|
|
7115
|
3
|
2,42
|
88
|
80
|
72
|
63
|
79
|
66
|
|
72
|
Элиста
|
А
|
3668
|
1
|
2,68
|
101
|
92
|
84
|
76
|
91
|
78
|
|
3322
|
2
|
2,02
|
69
|
61
|
53
|
44
|
60
|
47
|
|
3322
|
3
|
1,66
|
52
|
44
|
36
|
27
|
43
|
30
|
|
73
|
Южно-Сахалинск
|
Б
|
см. Вологда
|
|
74
|
Якутск
|
А
|
10650
|
1
|
5,13
|
216
|
208
|
200
|
191
|
207
|
194
|
|
9882
|
2
|
4,12
|
169
|
160
|
152
|
144
|
159
|
146
|
|
9882
|
3
|
2,98
|
115
|
106
|
98
|
89
|
105
|
92
|
|
75
|
Ярославль
|
Б
|
см. Смоленск
|
Примечание.
Толщина теплоизоляционного слоя рассчитана для гладкой стены при коэффициенте
теплотехнической однородности 0,95.
Таблица 5.10.2. Расчетная толщина теплоизоляционного слоя из плит марки
«ТЕРМОМОНОЛИТ» в конструкции утепления со штукатурным покрытием по несущей
металлической сетке и креплением гибкими анкерами для стен из кирпича или
керамзитобетонных блоков.
|
№ п/п
|
Город
|
Условия эксплуатации
|
Dd, ºС·сут
|
Тип помещения
|
R0тр, м2·ºС/Вт
|
Тип стены
|
|
кирпичная
|
керамзитобетон
|
|
Толщина стены, мм
|
|
250
|
380
|
510
|
640
|
250
|
380
|
|
Толщина теплоизоляционного слоя из плит марки
«ТЕРМОМОНОЛИТ», мм
|
|
1
|
2
|
3
|
4
|
5
|
6
|
7
|
8
|
9
|
10
|
11
|
12
|
|
1
|
Архангельск
|
Б
|
6426
|
1
|
3,65
|
149
|
142
|
135
|
128
|
142
|
130
|
|
5667
|
2
|
2,77
|
108
|
101
|
93
|
86
|
100
|
89
|
|
5667
|
3
|
2,13
|
77
|
70
|
63
|
56
|
70
|
58
|
|
2
|
Астрахань
|
А
|
3540
|
1
|
2,64
|
92
|
84
|
76
|
69
|
83
|
71
|
|
3206
|
2
|
1,99
|
63
|
55
|
48
|
40
|
54
|
42
|
|
3206
|
3
|
1,64
|
48
|
40
|
32
|
25
|
39
|
27
|
|
3
|
Анадырь
|
Б
|
9797
|
1
|
4,83
|
205
|
198
|
191
|
183
|
197
|
186
|
|
8864
|
2
|
3,80
|
156
|
149
|
142
|
135
|
148
|
137
|
|
8864
|
3
|
2,77
|
108
|
101
|
93
|
86
|
100
|
89
|
|
4
|
Барнаул
|
А
|
6343
|
1
|
3,62
|
135
|
128
|
120
|
112
|
127
|
114
|
|
5680
|
2
|
2,78
|
98
|
90
|
83
|
75
|
89
|
77
|
|
5680
|
3
|
2,14
|
70
|
62
|
54
|
46
|
61
|
49
|
|
5
|
Белгород
|
А
|
4183
|
1
|
2,86
|
102
|
94
|
86
|
79
|
93
|
81
|
|
3801
|
2
|
2,18
|
72
|
64
|
56
|
48
|
63
|
50
|
|
3801
|
3
|
1,76
|
53
|
45
|
38
|
30
|
44
|
32
|
|
6
|
Благовещенск
|
Б
|
6889
|
1
|
3,81
|
157
|
150
|
142
|
135
|
149
|
138
|
|
6235
|
2
|
2,96
|
116
|
109
|
102
|
95
|
109
|
97
|
|
6235
|
3
|
2,25
|
83
|
76
|
68
|
61
|
75
|
64
|
|
7
|
Брянск
|
Б
|
4572
|
1
|
3,00
|
119
|
111
|
104
|
97
|
111
|
100
|
|
4162
|
2
|
2,29
|
85
|
78
|
71
|
63
|
77
|
66
|
|
4162
|
3
|
1,83
|
63
|
56
|
49
|
42
|
55
|
44
|
|
8
|
Братск
|
А
|
7370
|
1
|
3,98
|
151
|
143
|
136
|
128
|
142
|
130
|
|
6623
|
2
|
3,08
|
111
|
104
|
96
|
88
|
103
|
90
|
|
6623
|
3
|
2,32
|
78
|
70
|
63
|
55
|
69
|
57
|
|
9
|
Волгоград
|
А
|
3952
|
1
|
2,78
|
98
|
91
|
83
|
75
|
90
|
77
|
|
3596
|
2
|
2,11
|
69
|
61
|
53
|
45
|
60
|
47
|
|
3596
|
3
|
1,72
|
51
|
44
|
36
|
28
|
42
|
30
|
|
10
|
Вологда
|
Б
|
5798
|
1
|
3,43
|
139
|
132
|
124
|
117
|
131
|
120
|
|
5105
|
2
|
2,59
|
99
|
92
|
85
|
78
|
92
|
80
|
|
5105
|
3
|
2,02
|
72
|
65
|
58
|
50
|
64
|
53
|
|
11
|
Воронеж
|
А
|
4528
|
1
|
2,98
|
107
|
99
|
92
|
84
|
98
|
86
|
|
4136
|
2
|
2,28
|
76
|
68
|
61
|
53
|
67
|
55
|
|
4136
|
3
|
1,83
|
56
|
48
|
41
|
33
|
47
|
35
|
|
12
|
Владимир
|
Б
|
5006
|
1
|
3,15
|
126
|
118
|
111
|
104
|
118
|
107
|
|
4580
|
2
|
2,43
|
91
|
84
|
77
|
70
|
84
|
72
|
|
4154
|
3
|
1,83
|
63
|
56
|
49
|
41
|
55
|
44
|
|
13
|
Владивосток
|
Б
|
4684
|
1
|
3,04
|
120
|
113
|
106
|
99
|
113
|
101
|
|
4292
|
2
|
2,33
|
87
|
80
|
72
|
65
|
79
|
68
|
|
4292
|
3
|
1,86
|
64
|
57
|
50
|
43
|
57
|
45
|
|
14
|
Владикавказ
|
А
|
3410
|
1
|
2,59
|
90
|
82
|
74
|
67
|
81
|
69
|
|
3062
|
2
|
1,94
|
61
|
53
|
46
|
38
|
52
|
40
|
|
3062
|
3
|
1,61
|
47
|
39
|
31
|
23
|
38
|
25
|
|
15
|
Грозный
|
А
|
3056
|
1
|
2,47
|
85
|
77
|
69
|
61
|
76
|
63
|
|
2736
|
2
|
1,84
|
56
|
49
|
41
|
33
|
48
|
35
|
|
2736
|
3
|
1,55
|
44
|
36
|
28
|
20
|
35
|
22
|
|
16
|
Екатеринбург
|
А
|
6210
|
1
|
3,57
|
133
|
126
|
118
|
110
|
124
|
112
|
|
5520
|
2
|
2,73
|
96
|
88
|
80
|
72
|
87
|
75
|
|
5520
|
3
|
2,10
|
68
|
61
|
53
|
45
|
60
|
47
|
|
17
|
Иваново
|
Б
|
см. Владимир
|
|
18
|
Игарка
|
Б
|
10575
|
1
|
5,10
|
218
|
211
|
204
|
196
|
210
|
199
|
|
9666
|
2
|
4,05
|
168
|
161
|
154
|
147
|
161
|
149
|
|
9666
|
3
|
2,93
|
115
|
108
|
101
|
94
|
108
|
96
|
|
19
|
Иркутск
|
А
|
7080
|
1
|
3,88
|
147
|
139
|
131
|
123
|
138
|
126
|
|
6360
|
2
|
3,00
|
108
|
100
|
92
|
84
|
99
|
86
|
|
6360
|
3
|
2,27
|
76
|
68
|
60
|
52
|
67
|
55
|
|
20
|
Ижевск
|
Б
|
5905
|
1
|
3,47
|
141
|
133
|
126
|
119
|
133
|
122
|
|
5239
|
2
|
2,64
|
101
|
94
|
87
|
80
|
94
|
82
|
|
5239
|
3
|
2,05
|
73
|
66
|
59
|
52
|
66
|
54
|
|
21
|
Йошкар-Ола
|
Б
|
5742
|
1
|
3,41
|
138
|
131
|
123
|
116
|
130
|
119
|
|
5082
|
2
|
2,59
|
99
|
92
|
84
|
77
|
91
|
80
|
|
5082
|
3
|
2,02
|
72
|
65
|
57
|
50
|
64
|
53
|
|
22
|
Казань
|
Б
|
см. Вологда
|
|
23
|
Калининград
|
Б
|
3648
|
1
|
2,68
|
103
|
96
|
89
|
82
|
95
|
84
|
|
3262
|
2
|
2,00
|
71
|
64
|
57
|
50
|
64
|
52
|
|
3262
|
3
|
1,65
|
55
|
47
|
40
|
33
|
47
|
36
|
|
24
|
Калуга
|
Б
|
см. Владивосток
|
|
25
|
Кемерово
|
А
|
6537
|
1
|
3,69
|
138
|
131
|
123
|
115
|
130
|
117
|
|
6075
|
2
|
2,90
|
104
|
96
|
88
|
80
|
95
|
82
|
|
6075
|
3
|
2,22
|
73
|
65
|
58
|
50
|
64
|
52
|
|
26
|
Вятка
|
Б
|
5660
|
1
|
3,38
|
137
|
129
|
122
|
115
|
129
|
118
|
|
4967
|
2
|
2,55
|
97
|
90
|
83
|
75
|
89
|
78
|
|
4967
|
3
|
1,99
|
71
|
64
|
56
|
49
|
63
|
52
|
|
27
|
Кострома
|
Б
|
5528
|
1
|
3,33
|
134
|
127
|
120
|
113
|
127
|
115
|
|
4862
|
2
|
2,52
|
96
|
88
|
81
|
74
|
88
|
77
|
|
4862
|
3
|
1,97
|
70
|
63
|
55
|
48
|
62
|
51
|
|
28
|
Краснодар
|
А
|
2682
|
1
|
2,34
|
79
|
71
|
63
|
55
|
70
|
57
|
|
2384
|
2
|
1,72
|
52
|
44
|
36
|
28
|
43
|
30
|
|
2384
|
3
|
1,48
|
41
|
33
|
25
|
17
|
32
|
19
|
|
29
|
Красноярск
|
А
|
6575
|
1
|
3,70
|
139
|
131
|
123
|
116
|
130
|
118
|
|
5873
|
2
|
2,84
|
101
|
93
|
85
|
77
|
92
|
80
|
|
5873
|
3
|
2,17
|
71
|
64
|
56
|
48
|
63
|
50
|
|
30
|
Курган
|
А
|
см. Барнаул
|
|
31
|
Курск
|
Б
|
4435
|
1
|
2,95
|
116
|
109
|
102
|
95
|
108
|
97
|
|
4039
|
2
|
2,25
|
83
|
76
|
69
|
61
|
75
|
64
|
|
4039
|
3
|
1,81
|
62
|
55
|
48
|
40
|
54
|
43
|
|
32
|
Кызыл
|
А
|
7875
|
1
|
4,16
|
159
|
151
|
143
|
136
|
150
|
138
|
|
7425
|
2
|
3,34
|
123
|
115
|
107
|
99
|
114
|
102
|
|
7425
|
3
|
2,49
|
85
|
77
|
70
|
62
|
76
|
64
|
|
33
|
Липецк
|
А
|
4703
|
1
|
3,05
|
110
|
102
|
94
|
87
|
101
|
89
|
|
4301
|
2
|
2,34
|
79
|
71
|
63
|
55
|
70
|
57
|
|
4301
|
3
|
1,86
|
58
|
50
|
42
|
34
|
49
|
36
|
|
34
|
Магадан
|
Б
|
7805
|
1
|
4,13
|
172
|
165
|
158
|
150
|
164
|
153
|
|
7229
|
2
|
3,27
|
131
|
124
|
117
|
110
|
124
|
112
|
|
7229
|
3
|
2,45
|
92
|
85
|
78
|
71
|
85
|
73
|
|
35
|
Махачкала
|
А
|
2560
|
1
|
2,30
|
77
|
69
|
61
|
53
|
68
|
56
|
|
2264
|
2
|
1,68
|
50
|
42
|
34
|
26
|
41
|
29
|
|
2264
|
3
|
1,45
|
40
|
32
|
24
|
16
|
31
|
18
|
|
36
|
Москва
|
Б
|
5027
|
1
|
3,16
|
126
|
119
|
112
|
104
|
118
|
107
|
|
4601
|
2
|
2,43
|
92
|
84
|
77
|
70
|
84
|
73
|
|
4601
|
3
|
1,92
|
67
|
60
|
53
|
46
|
60
|
48
|
|
37
|
Мурманск
|
Б
|
6380
|
1
|
3,63
|
148
|
141
|
134
|
127
|
141
|
129
|
|
5830
|
2
|
2,83
|
110
|
103
|
96
|
89
|
102
|
91
|
|
5830
|
3
|
2,17
|
79
|
72
|
65
|
57
|
71
|
60
|
|
38
|
Нальчик
|
А
|
3259
|
1
|
2,54
|
88
|
80
|
72
|
64
|
79
|
66
|
|
2923
|
2
|
1,90
|
59
|
51
|
44
|
36
|
50
|
38
|
|
2923
|
3
|
1,58
|
45
|
38
|
30
|
22
|
37
|
24
|
|
39
|
Нижний Новгород
|
Б
|
см. Владимир
|
|
40
|
Новгород
|
Б
|
4928
|
1
|
3,12
|
124
|
117
|
110
|
103
|
117
|
105
|
|
4486
|
2
|
2,40
|
90
|
83
|
75
|
68
|
82
|
71
|
|
4486
|
3
|
1,90
|
66
|
59
|
52
|
45
|
59
|
47
|
|
41
|
Новосибирск
|
А
|
см. Кемерово
|
|
42
|
Омск
|
А
|
6497
|
1
|
3,67
|
138
|
130
|
122
|
114
|
129
|
117
|
|
5834
|
2
|
2,83
|
100
|
93
|
85
|
77
|
91
|
79
|
|
5834
|
3
|
2,17
|
71
|
63
|
56
|
48
|
62
|
50
|
|
43
|
Оренбург
|
А
|
5515
|
1
|
3,33
|
123
|
115
|
107
|
99
|
114
|
101
|
|
4909
|
2
|
2,53
|
87
|
79
|
72
|
64
|
78
|
66
|
|
4909
|
3
|
1,98
|
63
|
55
|
47
|
40
|
54
|
42
|
|
44
|
Орел
|
Б
|
4654
|
1
|
3,03
|
120
|
113
|
105
|
98
|
112
|
101
|
|
4244
|
2
|
2,32
|
86
|
79
|
72
|
65
|
78
|
67
|
|
4244
|
3
|
1,85
|
64
|
57
|
50
|
42
|
56
|
45
|
|
45
|
Пенза
|
А
|
5072
|
1
|
3,18
|
116
|
108
|
100
|
92
|
107
|
94
|
|
4658
|
2
|
2,45
|
84
|
76
|
68
|
60
|
75
|
62
|
|
4658
|
3
|
1,93
|
61
|
53
|
45
|
37
|
52
|
39
|
|
46
|
Пермь
|
Б
|
см. Вятка
|
|
47
|
Петропавловск-Камчатский
|
Б
|
см. Ижевск
|
|
48
|
Петрозаводск
|
Б
|
см. Вологда
|
|
49
|
Псков
|
Б
|
см. Курск
|
|
50
|
Ростов-на-Дону
|
А
|
3523
|
1
|
2,63
|
92
|
84
|
76
|
68
|
83
|
70
|
|
3181
|
2
|
1,98
|
63
|
55
|
47
|
39
|
54
|
42
|
|
3181
|
3
|
1,64
|
48
|
40
|
32
|
24
|
39
|
26
|
|
51
|
Рязань
|
Б
|
4888
|
1
|
3,11
|
124
|
117
|
109
|
102
|
116
|
105
|
|
4472
|
2
|
2,39
|
90
|
82
|
75
|
68
|
82
|
71
|
|
4472
|
3
|
1 89
|
66
|
59
|
52
|
44
|
58
|
47
|
|
52
|
Самара
|
Б
|
см. Кострома
|
|
53
|
Санкт-Петербург
|
Б
|
см. Орел
|
|
54
|
Саранск
|
А
|
см. Пенза
|
|
55
|
Саратов
|
А
|
4763
|
1
|
3,07
|
111
|
103
|
95
|
88
|
102
|
90
|
|
4371
|
2
|
2,36
|
80
|
72
|
64
|
56
|
71
|
58
|
|
4371
|
3
|
1,87
|
58
|
50
|
43
|
35
|
49
|
37
|
|
56
|
Салехард
|
Б
|
9461
|
1
|
4,71
|
200
|
192
|
185
|
178
|
192
|
181
|
|
8585
|
2
|
3,71
|
152
|
145
|
138
|
130
|
144
|
133
|
|
8585
|
3
|
2,72
|
105
|
98
|
91
|
83
|
97
|
86
|
|
57
|
Смоленск
|
Б
|
4816
|
1
|
3,09
|
123
|
115
|
108
|
101
|
115
|
104
|
|
4386
|
2
|
2,36
|
88
|
81
|
74
|
67
|
81
|
69
|
|
4386
|
3
|
1,88
|
65
|
58
|
51
|
44
|
58
|
46
|
|
58
|
Ставрополь
|
А
|
3209
|
1
|
2,52
|
87
|
79
|
71
|
63
|
78
|
66
|
|
2873
|
2
|
1,88
|
58
|
51
|
43
|
35
|
50
|
37
|
|
2873
|
3
|
1,57
|
45
|
37
|
29
|
22
|
36
|
24
|
|
59
|
Сыктывкар
|
Б
|
6566
|
1
|
3,70
|
152
|
144
|
137
|
130
|
144
|
133
|
|
5831
|
2
|
2,83
|
110
|
103
|
96
|
89
|
103
|
91
|
|
5831
|
3
|
2,17
|
79
|
72
|
65
|
57
|
71
|
60
|
|
60
|
Тамбов
|
А
|
4764
|
1
|
3,07
|
111
|
103
|
95
|
88
|
102
|
90
|
|
4362
|
2
|
2,36
|
79
|
72
|
64
|
56
|
71
|
58
|
|
4362
|
3
|
1,87
|
58
|
50
|
43
|
35
|
49
|
37
|
|
61
|
Тверь
|
Б
|
5014
|
1
|
3,15
|
126
|
119
|
111
|
104
|
118
|
107
|
|
4578
|
2
|
2,42
|
91
|
84
|
77
|
70
|
84
|
72
|
|
4578
|
3
|
1,92
|
67
|
60
|
53
|
45
|
59
|
48
|
|
62
|
Томск
|
Б
|
см. Благовещенск
|
|
63
|
Тула
|
Б
|
см. Новгород
|
|
64
|
Тюмень
|
А
|
см. Екатеринбург
|
|
65
|
Ульяновск
|
А
|
5597
|
1
|
3,36
|
124
|
116
|
108
|
100
|
115
|
103
|
|
4961
|
2
|
2,55
|
88
|
80
|
72
|
65
|
79
|
67
|
|
4961
|
3
|
1,99
|
63
|
56
|
48
|
40
|
55
|
42
|
|
66
|
Улан-Уде
|
А
|
7442
|
1
|
4,00
|
152
|
145
|
137
|
129
|
144
|
131
|
|
6731
|
2
|
3,11
|
113
|
105
|
97
|
90
|
104
|
92
|
|
6731
|
3
|
2,35
|
79
|
71
|
63
|
56
|
70
|
58
|
|
67
|
Уфа
|
А
|
5517
|
1
|
3,33
|
123
|
115
|
107
|
99
|
114
|
101
|
|
5091
|
2
|
2,59
|
90
|
82
|
74
|
66
|
81
|
69
|
|
5091
|
3
|
2,02
|
65
|
57
|
49
|
41
|
56
|
43
|
|
68
|
Хабаровск
|
Б
|
6393
|
1
|
3,64
|
149
|
141
|
134
|
127
|
141
|
130
|
|
5760
|
2
|
2,80
|
109
|
102
|
95
|
88
|
101
|
90
|
|
5760
|
3
|
2,15
|
78
|
71
|
64
|
57
|
71
|
59
|
|
69
|
Чебоксары
|
Б
|
5620
|
1
|
3,37
|
136
|
129
|
121
|
114
|
128
|
117
|
|
4969
|
2
|
2,55
|
97
|
90
|
83
|
76
|
89
|
78
|
|
4969
|
3
|
1,99
|
71
|
64
|
56
|
49
|
63
|
52
|
|
70
|
Челябинск
|
Б
|
5995
|
1
|
3,50
|
142
|
135
|
128
|
120
|
134
|
123
|
|
5341
|
2
|
2,67
|
103
|
96
|
88
|
81
|
95
|
84
|
|
5341
|
3
|
2,07
|
74
|
67
|
60
|
53
|
67
|
55
|
|
71
|
Чита
|
А
|
7841
|
1
|
4,14
|
159
|
151
|
143
|
135
|
150
|
137
|
|
7115
|
2
|
3,24
|
118
|
111
|
103
|
95
|
110
|
97
|
|
7115
|
3
|
2,42
|
82
|
75
|
67
|
59
|
74
|
61
|
|
72
|
Элиста
|
А
|
3668
|
1
|
2,68
|
94
|
86
|
78
|
71
|
85
|
73
|
|
3322
|
2
|
2,02
|
65
|
57
|
49
|
41
|
56
|
44
|
|
3322
|
3
|
1,66
|
49
|
41
|
33
|
26
|
40
|
28
|
|
73
|
Южно-Сахалинск
|
Б
|
см. Вологда
|
|
74
|
Якутск
|
А
|
10650
|
1
|
5,13
|
202
|
194
|
186
|
179
|
193
|
181
|
|
9882
|
2
|
4,12
|
158
|
150
|
142
|
134
|
149
|
136
|
|
9882
|
3
|
2,98
|
107
|
99
|
91
|
84
|
98
|
86
|
|
75
|
Ярославль
|
Б
|
см. Смоленск
|
Примечание.
Толщина теплоизоляционного слоя рассчитана для гладкой стены при коэффициенте
теплотехнической однородности 0,95.
Рис. 5.10.1. Кирпичная стена с утеплением из плит
марки «ТЕРМОФАСАД» со штукатурным
покрытием и жестким креплением теплоизоляционного слоя.

1. Несущая кирпичная стена.
2. Плиты марки «ТЕРМОФАСАД»
(толщина теплоизоляционного слоя по табл. 5.10.1.).
3. Дюбель.
4. Выравнивающий штукатурный слой.
5. Армирующая сетка.
6. Штукатурный слой.
7. Дополнительная армирующая сетка.
8. Грунтовочный и отделочный слой.
Рис. 5.10.2. Кирпичная стена с теплоизоляцией плитами
марки «ТЕРМОФАСАД». Примыкание к
парапету.

1. Несущая
кирпичная стена.
2. Плиты марки
«ТЕРМОФАСАД» (толщина теплоизоляционного слоя по табл. 5.10.1).
3. Армирующая
сетка.
4. Дюбель с
шайбой.
5. Штукатурное
покрытие.
6. Отделка
парапета оцинкованным железом.
7.
Гидроизоляция.
Рис. 5.10.3. Кирпичная стена с теплоизоляцией плитами
марки «ТЕРМОФАСАД». Узел примыкания к карнизу.

1. Несущая
кирпичная стена.
2. Плиты марки
«ТЕРМОФАСАД» (толщина теплоизоляционного слоя по табл. 5.10.1).
3. Армирующая
сетка.
4. Дюбель с
шайбой.
5. Штукатурное
покрытие.
Рис. 5.10.4. Утепление стены плитами марки
«ТЕРМОФАСАД» или «ТЕРМОМОНОЛИТ» в конструкции со штукатурным покрытием и
креплением теплоизоляционного слоя гибкими (подвижными) анкерами.

1. Несущая
стена.
2. Плиты марки «ТЕРМОФАСАД»
или «ТЕРМОМОНОЛИТ» (толщина теплоизоляционного слоя по табл. 5.10.1
или 5.10.2).
3. Гибкий
(подвижный) анкер (рис. 5.10.7).
4. Армирующая
металлическая сетка.
5. Шпилька.
6. Штукатурный
слой.
Рис. 5.10.5. Внешний угол здания с утеплением плитами
марки «ТЕРМОФАСАД» в конструкции со
штукатурным покрытием и креплением подвижными анкерами.

1. Внутренняя
штукатурка.
2. Несущая
стена.
3. Плиты марки
«ТЕРМОФАСАД».
4. Подвижный
элемент крепления.
5. Армирующая
сетка.
6. Штукатурный
слой.
7. Шпилька.
8. Уголок.
Рис. 5.10.6. Кирпичная стена с теплоизоляцией из плит
марки «ТЕРМОМОНОЛИТ» или «ТЕРМОФАСАД» со штукатурным покрытием. Верх утепления.

1. Несущая
кирпичная стена.
2. Плиты марки
«ТЕРМОМОНОЛИТ» или «ТЕРМОФАСАД».
3. Армирующая
металлическая сетка.
4. Элемент
крепления (гибкий анкер).
5. Штукатурное
покрытие.
6. Отделка
парапета оцинкованным железом.
7.
Гидроизоляция.
Рис. 5.10.7. Крепление теплоизоляционной конструкции подвижным элементом крепления.

1. Существующая
стена.
2. Плиты марки
«ТЕРМОФАСАД» или «ТЕРМОМОНОЛИТ».
3. Подвижный
элемент крепления.
4. Армирующая
сетка.
5. Штукатурка.
6. Шпилька.
7. Дюбель распорный.
Рис. 5.10.8. Вариант горизонтального деформационного
шва в штукатурном покрытии.

1. Несущая
стена.
2. Плиты марки
«ТЕРМОМОНОЛИТ» или «ТЕРМОФАСАД».
3. Армирующая
металлическая сетка.
4. Элемент
крепления (гибкий анкер).
5. Штукатурное
покрытие.
6. Силиконовая
мастика.
Рис. 5.10.9. Вариант отделки цоколя кирпичной стены при утеплении теплоизоляционными плитами марки «ТЕРМОФАСАД» со
штукатурным покрытием.

1. Несущая
кирпичная стена.
2. Плиты марки
«ТЕРМОФАСАД».
3. Дюбель для
крепления утеплителя.
4. Штукатурное
покрытие по армирующей сетке.
5. Металлический
перфорированный профиль.
6. Плиты марок
«ТЕРМОСТЕНА», «ТЕРМОСТЕНА+», «ТЕРМОВЕНТ».
7. Облицовка из
кирпича.
8. Слив.
9. Крепление
облицовки.
10.
Гидроизоляция.
Рис. 5.10.10. Пример расчета влажностного режима стены
из керамзитобетона, утепленной снаружи плитами «ТЕРМОФАСАД» со штукатурным
покрытием (штукатурка - 20 мм, керамзитобетон - 380 мм, утеплитель - 120 мм,
штукатурка - 25 мм) для жилого дома в г. Москве.
|
г. Москва
|
Помещ.
|
Окт.
|
Нояб.
|
Дек.
|
Янв.
|
Февр.
|
Март
|
Апр.
|
Май
|
Июнь
|
Июль
|
Авг.
|
Сент.
|
|
Температура ºС
|
20,0
|
4,2
|
-2,2
|
-7,6
|
-10,2
|
-9,6
|
-4,7
|
4,0
|
11,6
|
15,8
|
18,1
|
16,2
|
10,6
|
|
Отн. влажность %
|
55,0
|
78,0
|
82,0
|
85,0
|
84,0
|
81,0
|
75,0
|
66,0
|
58,0
|
59,0
|
63,0
|
68,0
|
73,0
|
|
Объем конденс. кг/м2
|
0,00
|
0,00
|
0,00
|
0,39
|
1,07
|
1,51
|
0,97
|
0,00
|
0,00
|
0,00
|
0,00
|
0.00
|
0,00
|
Рис. 5.10.10 (продолжение). Результаты расчета
влажностного режима наиболее холодного месяца - января

|
Материал слоя
|
Толщина
|
Температура слоя ºС
|
Отн. влажность воздуха %
|
Отн. влажность материала %
|
|
штукатурка
|
0,020
|
18,47
|
55,85
|
1,08
|
|
керамзитобетон
|
0,380
|
12,12
|
23,24
|
1,66
|
|
МинВата
|
0,120
|
-9,57
|
100,00
|
0,60
|
|
штукатурка
|
0,025
|
-9,82
|
90,32
|
2,38
|
|
|
|
|
|
|
|
|
|
|
|
|
|
|
|
|
|
|
|
|
Зона конденсации
|
Уд. кол-во конденсата (г/м2 ч)
|
0,936
|
Начало (м)
|
0,520
|
Конец (м)
|
0,520
|
Рис. 5.10.11. Пример расчета влажностного режима
кирпичной стены, утепленной снаружи плитами «ТЕРМОФАСАД» со штукатурным
покрытием (штукатурка - 20 мм, кирпич - 510 мм; утеплитель - 90 мм, штукатурка
- 10 мм) для жилого дома в г. Волгограде.

|
г. Волгоград
|
Помещ.
|
Окт.
|
Нояб.
|
Дек.
|
Янв.
|
Февр.
|
Март
|
Апр.
|
Май
|
Июнь
|
Июль
|
Авг.
|
Сент.
|
|
Температура ºС
|
20,0
|
7,5
|
1,4
|
42
|
-9,1
|
-7,6
|
-1,4
|
10,0
|
17,0
|
21,0
|
23,4
|
22,0
|
16,2
|
|
Отн. влажность %
|
55,0
|
71,0
|
82,0
|
86,0
|
85,0
|
85,0
|
84,0
|
65,0
|
56,0
|
49,0
|
47,0
|
51,0
|
57,0
|
|
Объем конденс. кг/м2
|
0,00
|
0,00
|
0,00
|
0,00
|
000
|
0,00
|
0,00
|
0,00
|
0,00
|
0,00
|
0,00
|
000
|
0,00
|
Рис. 5.10.11 (продолжение). Результаты расчета
влажностного режима наиболее холодного месяца - января

|
Материал слоя
|
Толщина
|
Температура слоя ºС
|
Отн. влажность воздуха %
|
Отн. влажность материала %
|
|
штукатурка
|
0,020
|
18,21
|
57,75
|
1,09
|
|
кирпич
|
0,510
|
11,07
|
23,70
|
0,03
|
|
МинВата
|
0,090
|
-8,53
|
94,11
|
0,35
|
|
штукатурка
|
0,010
|
-8,67
|
88,51
|
2,26
|
|
|
|
|
|
|
|
|
|
|
|
|
|
|
|
Зона конденсации
|
Уд. кол-во конденсата (г/м2 ч)
|
0,000
|
Начало (м)
|
0,000
|
Конец (м)
|
0,000
|
Рис. 5.10.10. Пример расчета влажностного режима стены
из керамзитобетона, утепленной плитами «ТЕРМОФАСАД» со штукатурным покрытием
(внутренняя штукатурка - 20 мм, керамзитобетон - 380 мм; утеплитель - 150 мм,
штукатурка - 25 мм) для административного здания в г. Архангельске.

|
г. Архангельск
|
Помещ.
|
Окт.
|
Нояб.
|
Дек.
|
Янв.
|
Февр.
|
Март
|
Апр.
|
Май
|
Июнь
|
Июль
|
Авг.
|
Сент.
|
|
Температура ºС
|
20,0
|
1,5
|
-4,1
|
-9,5
|
-12,9
|
-12,5
|
-8,0
|
-0,9
|
6,0
|
12,4
|
15,6
|
13,6
|
7,9
|
|
Отн. влажность %
|
55,0
|
88,0
|
90,0
|
89,0
|
88,0
|
86,0
|
82,0
|
76,0
|
70,0
|
70,0
|
73,0
|
79,0
|
86,0
|
|
Объем конденс. кг/м2
|
0,00
|
0,00
|
0,11
|
0,80
|
1,74
|
2,56
|
2,68
|
1,24
|
0,00
|
0,00
|
0,00
|
0,00
|
0,00
|
Рис. 5.10.12 (продолжение). Результаты расчета
влажностного режима наиболее холодного месяца - января

|
Материал слоя
|
Толщина
|
Температура слоя ºС
|
Отн. влажность воздуха %
|
Отн. влажность материала %
|
|
штукатурка
|
0,020
|
18,87
|
55,38
|
1,08
|
|
кирпич
|
0,380
|
12,96
|
18,41
|
1,42
|
|
МинВата
|
0,150
|
-12,33
|
100,00
|
0,60
|
|
штукатурка
|
0,025
|
-12,55
|
95,41
|
2,86
|
|
|
|
|
|
|
|
|
|
|
|
|
|
|
|
Зона конденсации
|
Уд. кол-во конденсата (г/м2 ч)
|
1,290
|
Начало (м)
|
0,550
|
Конец (м)
|
0,550
|
5.11.1. Конструкции стен, в которых
предусмотрено применение утеплителей в качестве среднего слоя между несущей или
самонесущей стеной из кирпича, керамзитобетонных, газобетонных и др. блоков или
монолитного бетона и защитно-декоративной облицовкой из кирпича и других
мелкоштучных материалов, применяются как при новом строительстве, так и при
реконструкции эксплуатируемых зданий (Рис. 5.11.1).
Эти конструкции выполняются либо в виде
колодцевой кладки, либо с использованием гибких связей из коррозионно-стойкой
стали или стеклопластиковой арматуры.
Применение жестких кирпичных связей
значительно снижает термическое сопротивление конструкции и требует увеличения
теплоизоляционного слоя.
Наиболее предпочтительным является
применение гибких стеклопластиковых связей.
5.11.2. В качестве наружной облицовки
может применяться кирпич, камни керамические лицевые по ГОСТ 7484-78
или по ГОСТ 530-95,
силикатный кирпич по ГОСТ 379-95,
бетонные лицевые кирпичи. При проектировании конструкций с наружной облицовкой
кирпичом учитываются требования СНиП II-22-81
«Каменные и армокаменные конструкции». При новом строительстве облицовка из
кирпича армируется сварной арматурной сеткой или связями из стеклопластика
(Рис. 5.11.2,
5.11.3),
а при реконструкции закрепляется к утепляемой стене при помощи кронштейнов и
анкеров (Рис. 5.11.4, 5.11.5).
5.11.3. Конструкции утепления с
облицовкой кирпичом допускается применять в зданиях всех степеней огнестойкости
по СНиП 2.01.02-85* и СНиП 21-01-97.
5.11.4. При проектировании трехслойных
стен с внутренним расположением утеплителя без вентилируемого зазора
обязательным является выполнение расчетов влажностного режима, так как
облицовка выполняется из материалов с низким коэффициентом паропроницаемости.
Конденсация водяного пара, попадающего в толщу конструкции в результате
диффузии, может привести к влагонасыщению конструкции и потере теплоизолирующей
способности. При невозможности высыхания утеплителя в теплое время года,
требуется установка пароизоляционного слоя с внутренней стороны ограждения или
создание воздушного зазора между облицовкой и утеплителем.
5.11.5. В трехслойных конструкциях стен в
качестве утеплителя рекомендуется применять гидрофобизированные плиты из
минеральной ваты на синтетическом связующем производства ОАО «Термостепс»
марок:
■ ТЕРМОСТЕНА (ПП-60);
■ ТЕРМОСТЕНА+ (ПП-70);
■ ТЕРМОВЕНТ (ПЖ-80);
■ ТЕРМОМОНОЛИТ (ПЖ-100).
5.11.6. В трехслойных конструкциях с
кирпичной наружной облицовкой теплоизоляционные плиты устанавливаются свободно
в вертикальном положении в пространстве между основной стеной и облицовочным
слоем кирпича.
В таких конструкциях в качестве
разгрузочных (опорных) элементов для утеплителя могут служить гибкие связи и
крепления, предусмотренные для облицовки в соответствии с проектом.
5.11.7. Для обеспечения требуемого
влажностного режима в конструкции стен может быть предусмотрен вентилируемый
или невентилируемый зазоры между наружной поверхностью утеплителя и кирпичной
облицовкой (Рис. 5.11.6).
5.11.8. При устройстве вентилируемого
зазора в конструкциях с облицовкой кирпичом следует предусматривать ветрозащиту
теплоизоляционного материала и дистанционные элементы, обеспечивающие создание
вентилирующего пространства. Дистанционные устройства устанавливают по опорным
элементам.
5.11.9. Расчетные значения толщины
теплоизоляционного слоя из плит марки ТЕРМОСТЕНА для различных регионов
Российской Федерации в условиях эксплуатации А и Б, приведены в таблице 5.11.1.
Расчетные значения толщины
теплоизоляционного слоя из плит марки ТЕРМОСТЕНА+, ТЕРМОВЕНТ и ТЕРМОМОНОЛИТ для
тех же условий приведены в таблице 5.11.2.
Расчеты выполнены для кирпичных стен
толщиной 250, 380 мм, 510 мм и 640 мм и стен из керамзитобетона с плотностью
1200 кг/м3 толщиной 250 и 380 мм с защитно-декоративной облицовкой в
полкирпича без зазора между утеплителем и облицовкой.
5.11.10. Проведенные расчеты влажностного
режима стен с наружной изоляцией и облицовкой кирпичом без зазора показывают,
что в рассматриваемых вариантах конструкций наблюдается выпадение конденсата в
холодное время года практически во всех климатических зонах России. Однако,
количество выпадающего конденсата различно, и для большинства регионов не
происходит его накопления в конструкции при круглогодичном цикле за счет
высыхания в теплое время года. Необходимость в дополнительной парозащите
определяется проверочным расчетом степени увлажнения материалов в конструкции и
соответствия этого показателя требованиям СНиП
23-02-2003.
На рис. 5.11.7 - 5.11.9
приведены результаты расчета влажностного режима конструкций для г .г.
Мурманска, Самары и Санкт-Петербурга.
5.11.11. Если расчетом установлена
необходимость устройства пароизоляции, в качестве парового барьера могут быть
использованы паронепроницаемые пленки различных производителей, в том числе
могут быть применены:
- паронепроницаемые пленки «JUTAFOL-H» и
«JUTAFOL-NAL», с эквивалентным сопротивлением паропроницанию,
указанному в табл. 6.1 раздела 6 или паронепроницаемая пленка «Monarflex» (Дания);
- полиэтиленовая пленка, рубероид,
пергамин и т.д.
Конструктивное решение дополнительного
парового барьера определяется технологией возведения или реконструкции стен.
Таблица 5.11.1. Расчетная толщина теплоизоляционного слоя из плит марки
ТЕРМОСТЕНА в конструкциях утепления стен из кирпича и керамзитобетонных блоков
с облицовкой кирпичом. Новое строительство и реконструкция.
|
№ п/п
|
Город
|
Условия эксплуатации
|
Dd, ºС·сут
|
Тип помещения
|
R0тр, м2·ºС/Вт
|
Тип стены
|
|
кирпичная
|
керамзитобетон
|
|
Толщина стены, мм
|
|
250
|
380
|
510
|
640
|
250
|
380
|
|
Толщина теплоизоляционного слоя из плит марки
ТЕРМОСТЕНА, мм
|
|
1
|
2
|
3
|
4
|
5
|
6
|
7
|
8
|
9
|
10
|
11
|
12
|
|
1
|
Архангельск
|
Б
|
6426
|
1
|
3,65
|
141
|
134
|
127
|
120
|
133
|
122
|
|
5667
|
2
|
2,77
|
100
|
93
|
86
|
79
|
93
|
82
|
|
5667
|
3
|
2,13
|
72
|
65
|
58
|
51
|
64
|
53
|
|
2
|
Астрахань
|
А
|
3540
|
1
|
2,64
|
85
|
77
|
69
|
62
|
76
|
64
|
|
3206
|
2
|
1,99
|
56
|
49
|
41
|
34
|
48
|
45
|
|
3206
|
3
|
1,64
|
43
|
35
|
27
|
20
|
34
|
22
|
|
3
|
Анадырь
|
Б
|
9797
|
1
|
4,83
|
196
|
189
|
181
|
174
|
188
|
177
|
|
8864
|
2
|
3,80
|
148
|
141
|
134
|
127
|
140
|
129
|
|
8864
|
3
|
2,77
|
101
|
94
|
87
|
80
|
94
|
83
|
|
4
|
Барнаул
|
А
|
6343
|
1
|
3,62
|
127
|
119
|
112
|
104
|
118
|
106
|
|
5680
|
2
|
2,78
|
91
|
83
|
75
|
68
|
82
|
82
|
|
5680
|
3
|
2,14
|
64
|
56
|
49
|
41
|
55
|
43
|
|
5
|
Белгород
|
А
|
4183
|
1
|
2,86
|
94
|
87
|
79
|
71
|
86
|
74
|
|
3801
|
2
|
2,18
|
65
|
57
|
49
|
42
|
56
|
54
|
|
3801
|
3
|
1,76
|
48
|
40
|
33
|
25
|
39
|
27
|
|
6
|
Благовещенск
|
Б
|
6889
|
1
|
3,81
|
148
|
141
|
134
|
127
|
141
|
130
|
|
6235
|
2
|
2,96
|
109
|
102
|
95
|
88
|
101
|
90
|
|
6235
|
3
|
2,25
|
77
|
70
|
63
|
56
|
69
|
58
|
|
7
|
Брянск
|
Б
|
4572
|
1
|
3,00
|
111
|
104
|
97
|
90
|
103
|
92
|
|
4162
|
2
|
2,29
|
78
|
71
|
64
|
57
|
70
|
59
|
|
4162
|
3
|
1,83
|
58
|
51
|
44
|
37
|
50
|
39
|
|
8
|
Братск
|
А
|
7370
|
1
|
3,98
|
142
|
135
|
127
|
120
|
134
|
122
|
|
6623
|
2
|
3,08
|
104
|
96
|
88
|
81
|
95
|
96
|
|
6623
|
3
|
2,32
|
72
|
65
|
57
|
49
|
64
|
51
|
|
9
|
Волгоград
|
А
|
3952
|
1
|
2,78
|
91
|
83
|
76
|
68
|
82
|
70
|
|
3596
|
2
|
2,11
|
62
|
54
|
47
|
39
|
53
|
51
|
|
3596
|
3
|
1,72
|
46
|
38
|
31
|
23
|
37
|
25
|
|
10
|
Вологда
|
Б
|
5798
|
1
|
3,43
|
131
|
124
|
117
|
110
|
123
|
112
|
|
5105
|
2
|
2,59
|
92
|
85
|
78
|
71
|
84
|
73
|
|
5105
|
3
|
2,02
|
67
|
59
|
52
|
45
|
59
|
48
|
|
11
|
Воронеж
|
А
|
4528
|
1
|
2,98
|
99
|
92
|
84
|
77
|
91
|
79
|
|
4136
|
2
|
2,28
|
69
|
62
|
54
|
46
|
61
|
59
|
|
4136
|
3
|
1,83
|
51
|
43
|
35
|
28
|
42
|
30
|
|
12
|
Владимир
|
Б
|
5006
|
1
|
3,15
|
118
|
111
|
104
|
97
|
110
|
99
|
|
4580
|
2
|
2,43
|
84
|
77
|
70
|
63
|
77
|
66
|
|
4154
|
3
|
1,83
|
58
|
51
|
44
|
37
|
50
|
39
|
|
13
|
Владивосток
|
Б
|
4684
|
1
|
3,04
|
113
|
106
|
99
|
92
|
105
|
94
|
|
4292
|
2
|
2,33
|
80
|
73
|
66
|
59
|
72
|
61
|
|
4292
|
3
|
1,86
|
59
|
52
|
45
|
38
|
51
|
40
|
|
14
|
Владикавказ
|
А
|
3410
|
1
|
2,59
|
83
|
75
|
67
|
60
|
74
|
62
|
|
3062
|
2
|
1,94
|
54
|
47
|
39
|
32
|
46
|
43
|
|
3062
|
3
|
1,61
|
41
|
34
|
26
|
19
|
33
|
21
|
|
15
|
Грозный
|
А
|
3056
|
1
|
2,47
|
77
|
70
|
62
|
54
|
69
|
56
|
|
2736
|
2
|
1,84
|
50
|
42
|
35
|
27
|
41
|
38
|
|
2736
|
3
|
1,55
|
39
|
31
|
23
|
16
|
30
|
18
|
|
16
|
Екатеринбург
|
А
|
6210
|
1
|
3,57
|
125
|
117
|
110
|
102
|
116
|
104
|
|
5520
|
2
|
2,73
|
88
|
81
|
73
|
65
|
80
|
80
|
|
5520
|
3
|
2,10
|
63
|
55
|
47
|
40
|
54
|
42
|
|
17
|
Иваново
|
Б
|
см. Владимир
|
|
18
|
Игарка
|
Б
|
10575
|
1
|
5,10
|
208
|
201
|
194
|
187
|
201
|
190
|
|
9666
|
2
|
4,05
|
160
|
153
|
146
|
138
|
152
|
141
|
|
9666
|
3
|
2,93
|
109
|
102
|
95
|
88
|
101
|
90
|
|
19
|
Иркутск
|
А
|
7080
|
1
|
3,88
|
138
|
130
|
123
|
115
|
129
|
117
|
|
6360
|
2
|
3,00
|
100
|
92
|
85
|
77
|
91
|
92
|
|
6360
|
3
|
2,27
|
70
|
62
|
55
|
47
|
61
|
49
|
|
20
|
Ижевск
|
Б
|
5905
|
1
|
3,47
|
132
|
125
|
118
|
111
|
125
|
114
|
|
5239
|
2
|
2,64
|
94
|
87
|
80
|
73
|
86
|
75
|
|
5239
|
3
|
2,05
|
68
|
61
|
54
|
47
|
60
|
49
|
|
21
|
Йошкар-Ола
|
Б
|
5742
|
1
|
3,41
|
130
|
123
|
116
|
109
|
122
|
111
|
|
5082
|
2
|
2,59
|
92
|
85
|
78
|
71
|
84
|
73
|
|
5082
|
3
|
2,02
|
66
|
59
|
52
|
45
|
59
|
48
|
|
22
|
Казань
|
Б
|
см. Вологда
|
|
23
|
Калининград
|
Б
|
3648
|
1
|
2,68
|
96
|
89
|
82
|
75
|
88
|
77
|
|
3262
|
2
|
2,00
|
65
|
58
|
51
|
44
|
57
|
46
|
|
3262
|
3
|
1,65
|
49
|
42
|
35
|
28
|
42
|
31
|
|
24
|
Калуга
|
Б
|
см. Владивосток
|
|
25
|
Кемерово
|
А
|
6537
|
1
|
3,69
|
130
|
122
|
115
|
107
|
121
|
109
|
|
6075
|
2
|
2,90
|
96
|
88
|
81
|
73
|
87
|
88
|
|
6075
|
3
|
2,22
|
67
|
60
|
52
|
45
|
59
|
47
|
|
26
|
Вятка
|
Б
|
5660
|
1
|
3,38
|
129
|
121
|
114
|
107
|
121
|
110
|
|
4967
|
2
|
2,55
|
90
|
83
|
76
|
69
|
82
|
71
|
|
4967
|
3
|
1,99
|
65
|
58
|
51
|
44
|
58
|
47
|
|
27
|
Кострома
|
Б
|
5528
|
1
|
3,33
|
126
|
119
|
112
|
105
|
119
|
108
|
|
4862
|
2
|
2,52
|
88
|
81
|
74
|
67
|
81
|
70
|
|
4862
|
3
|
1,97
|
64
|
57
|
50
|
43
|
57
|
46
|
|
28
|
Краснодар
|
А
|
2682
|
1
|
2,34
|
72
|
64
|
56
|
49
|
63
|
51
|
|
2384
|
2
|
1,72
|
45
|
37
|
30
|
22
|
36
|
33
|
|
2384
|
3
|
1,48
|
36
|
28
|
20
|
13
|
27
|
15
|
|
29
|
Красноярск
|
А
|
6575
|
1
|
3,70
|
130
|
123
|
115
|
108
|
122
|
110
|
|
5873
|
2
|
2,84
|
93
|
86
|
78
|
70
|
85
|
85
|
|
5873
|
3
|
2,17
|
66
|
58
|
50
|
43
|
57
|
45
|
|
30
|
Курган
|
А
|
см. Барнаул
|
|
31
|
Курск
|
Б
|
4435
|
1
|
2,95
|
109
|
102
|
95
|
87
|
101
|
90
|
|
4039
|
2
|
2,25
|
76
|
69
|
62
|
55
|
69
|
58
|
|
4039
|
3
|
1,81
|
57
|
50
|
43
|
35
|
49
|
38
|
|
32
|
Кызыл
|
А
|
7875
|
1
|
4,16
|
150
|
142
|
135
|
127
|
141
|
129
|
|
7425
|
2
|
3,34
|
115
|
107
|
99
|
92
|
106
|
108
|
|
7425
|
3
|
2,49
|
79
|
71
|
64
|
56
|
70
|
58
|
|
33
|
Липецк
|
А
|
4703
|
1
|
3,05
|
102
|
95
|
87
|
79
|
93
|
81
|
|
4301
|
2
|
2,34
|
71
|
64
|
56
|
49
|
63
|
62
|
|
4301
|
3
|
1,86
|
52
|
45
|
37
|
29
|
43
|
31
|
|
34
|
Магадан
|
Б
|
7805
|
1
|
4,13
|
163
|
156
|
149
|
142
|
156
|
145
|
|
7229
|
2
|
3,27
|
124
|
116
|
109
|
102
|
116
|
105
|
|
7229
|
3
|
2,45
|
86
|
79
|
72
|
65
|
79
|
68
|
|
35
|
Махачкала
|
А
|
2560
|
1
|
2,30
|
70
|
62
|
55
|
47
|
61
|
49
|
|
2264
|
2
|
1,68
|
43
|
36
|
28
|
21
|
35
|
31
|
|
2264
|
3
|
1,45
|
35
|
27
|
19
|
12
|
26
|
14
|
|
36
|
Москва
|
Б
|
5027
|
1
|
3,16
|
118
|
111
|
104
|
97
|
111
|
100
|
|
4601
|
2
|
2,43
|
85
|
78
|
70
|
63
|
77
|
66
|
|
4601
|
3
|
1,92
|
62
|
55
|
48
|
41
|
54
|
43
|
|
37
|
Мурманск
|
Б
|
6380
|
1
|
3,63
|
140
|
133
|
126
|
119
|
133
|
122
|
|
5830
|
2
|
2,83
|
103
|
96
|
89
|
82
|
95
|
84
|
|
5830
|
3
|
2,17
|
73
|
66
|
59
|
52
|
66
|
55
|
|
38
|
Нальчик
|
А
|
3259
|
1
|
2,54
|
80
|
73
|
65
|
57
|
72
|
60
|
|
2923
|
2
|
1,90
|
52
|
45
|
37
|
30
|
44
|
41
|
|
2923
|
3
|
1,58
|
40
|
33
|
25
|
17
|
32
|
19
|
|
39
|
Нижний Новгород
|
Б
|
см. Владимир
|
|
40
|
Новгород
|
Б
|
4928
|
1
|
3,12
|
117
|
110
|
103
|
95
|
109
|
98
|
|
4486
|
2
|
2,40
|
83
|
76
|
69
|
62
|
75
|
64
|
|
4486
|
3
|
1,90
|
61
|
54
|
47
|
40
|
53
|
42
|
|
41
|
Новосибирск
|
А
|
см. Кемерово
|
|
42
|
Омск
|
А
|
6497
|
1
|
3,67
|
129
|
122
|
114
|
106
|
121
|
108
|
|
5834
|
2
|
2,83
|
93
|
85
|
77
|
70
|
84
|
84
|
|
5834
|
3
|
2,17
|
65
|
58
|
50
|
43
|
57
|
45
|
|
43
|
Оренбург
|
А
|
5515
|
1
|
3,33
|
114
|
107
|
99
|
92
|
106
|
94
|
|
4909
|
2
|
2,53
|
80
|
72
|
65
|
57
|
71
|
71
|
|
4909
|
3
|
1,98
|
57
|
50
|
42
|
35
|
49
|
37
|
|
44
|
Орел
|
Б
|
4654
|
1
|
3,03
|
112
|
105
|
98
|
91
|
105
|
94
|
|
4244
|
2
|
2,32
|
79
|
72
|
65
|
58
|
72
|
61
|
|
4244
|
3
|
1,85
|
59
|
51
|
44
|
37
|
51
|
40
|
|
45
|
Пенза
|
А
|
5072
|
1
|
3,18
|
108
|
100
|
92
|
85
|
99
|
87
|
|
4658
|
2
|
2,45
|
76
|
69
|
61
|
54
|
68
|
67
|
|
4658
|
3
|
1,93
|
55
|
48
|
40
|
32
|
47
|
34
|
|
46
|
Пермь
|
Б
|
см. Вятка
|
|
47
|
Петропавловск-Камчатский
|
Б
|
см. Ижевск
|
|
48
|
Петрозаводск
|
Б
|
см. Вологда
|
|
49
|
Псков
|
Б
|
см. Курск
|
|
50
|
Ростов-на-Дону
|
А
|
3523
|
1
|
2,63
|
84
|
77
|
69
|
61
|
76
|
64
|
|
3181
|
2
|
1,98
|
56
|
48
|
41
|
33
|
47
|
45
|
|
3181
|
3
|
1,64
|
42
|
35
|
27
|
20
|
34
|
22
|
|
51
|
Рязань
|
Б
|
4888
|
1
|
3,11
|
116
|
109
|
102
|
95
|
108
|
97
|
|
4472
|
2
|
2,39
|
83
|
76
|
69
|
61
|
75
|
64
|
|
4472
|
3
|
1,89
|
61
|
54
|
47
|
39
|
53
|
42
|
|
52
|
Самара
|
Б
|
см. Кострома
|
|
53
|
Санкт-Петербург
|
Б
|
см. Орел
|
|
54
|
Саранск
|
А
|
см. Пенза
|
|
55
|
Саратов
|
А
|
4763
|
1
|
3,07
|
103
|
95
|
88
|
80
|
94
|
82
|
|
4371
|
2
|
2,36
|
72
|
65
|
57
|
50
|
64
|
63
|
|
4371
|
3
|
1,87
|
53
|
45
|
37
|
30
|
44
|
32
|
|
56
|
Салехард
|
Б
|
9461
|
1
|
4,71
|
190
|
183
|
176
|
169
|
183
|
172
|
|
8585
|
2
|
3,71
|
144
|
137
|
129
|
122
|
136
|
125
|
|
8585
|
3
|
2,72
|
99
|
92
|
85
|
78
|
91
|
80
|
|
57
|
Смоленск
|
Б
|
4816
|
1
|
3,09
|
115
|
108
|
101
|
94
|
107
|
96
|
|
4386
|
2
|
2,36
|
81
|
74
|
67
|
60
|
74
|
63
|
|
4386
|
3
|
1,88
|
60
|
53
|
46
|
39
|
52
|
41
|
|
58
|
Ставрополь
|
А
|
3209
|
1
|
2,52
|
80
|
72
|
64
|
57
|
71
|
09
|
|
2873
|
2
|
1,88
|
52
|
44
|
37
|
29
|
43
|
40
|
|
2873
|
3
|
1,57
|
40
|
32
|
25
|
17
|
31
|
19
|
|
59
|
Сыктывкар
|
Б
|
6566
|
1
|
3,70
|
143
|
136
|
129
|
122
|
136
|
125
|
|
5831
|
2
|
2,83
|
103
|
96
|
89
|
82
|
95
|
84
|
|
5831
|
3
|
2,17
|
73
|
66
|
59
|
52
|
66
|
55
|
|
60
|
Тамбов
|
А
|
4764
|
1
|
3,07
|
103
|
95
|
88
|
80
|
94
|
82
|
|
4362
|
2
|
2,36
|
72
|
65
|
57
|
49
|
64
|
62
|
|
4362
|
3
|
1,87
|
53
|
45
|
37
|
30
|
44
|
32
|
|
61
|
Тверь
|
Б
|
5014
|
1
|
3,15
|
118
|
111
|
104
|
97
|
110
|
99
|
|
4578
|
2
|
2,42
|
84
|
77
|
70
|
63
|
77
|
66
|
|
4578
|
3
|
1,92
|
62
|
55
|
48
|
40
|
54
|
43
|
|
62
|
Томск
|
Б
|
см. Благовещенск
|
|
63
|
Тула
|
Б
|
см. Новгород
|
|
64
|
Тюмень
|
А
|
см. Екатеринбург
|
|
65
|
Ульяновск
|
А
|
5597
|
1
|
3,36
|
116
|
108
|
100
|
93
|
107
|
95
|
|
4961
|
2
|
2,55
|
81
|
73
|
65
|
58
|
72
|
71
|
|
4961
|
3
|
1,99
|
58
|
50
|
43
|
35
|
49
|
37
|
|
66
|
Улан-Уде
|
А
|
7442
|
1
|
4,00
|
143
|
136
|
128
|
121
|
135
|
123
|
|
6731
|
2
|
3,11
|
105
|
97
|
90
|
82
|
96
|
98
|
|
6731
|
3
|
2,35
|
73
|
65
|
58
|
50
|
64
|
52
|
|
67
|
Уфа
|
А
|
5517
|
1
|
3,33
|
114
|
107
|
99
|
92
|
106
|
94
|
|
5091
|
2
|
2,59
|
82
|
75
|
67
|
60
|
74
|
73
|
|
5091
|
3
|
2,02
|
59
|
51
|
44
|
36
|
50
|
38
|
|
68
|
Хабаровск
|
Б
|
6393
|
1
|
3,64
|
140
|
133
|
126
|
119
|
133
|
122
|
|
5760
|
2
|
2,80
|
102
|
95
|
88
|
81
|
94
|
83
|
|
5760
|
3
|
2,15
|
73
|
66
|
58
|
51
|
65
|
54
|
|
69
|
Чебоксары
|
Б
|
5620
|
1
|
3,37
|
128
|
121
|
114
|
107
|
120
|
109
|
|
4969
|
2
|
2,55
|
90
|
83
|
76
|
69
|
82
|
71
|
|
4969
|
3
|
1,99
|
65
|
58
|
51
|
44
|
58
|
47
|
|
70
|
Челябинск
|
Б
|
5995
|
1
|
3,50
|
134
|
127
|
120
|
113
|
126
|
115
|
|
5341
|
2
|
2,67
|
96
|
88
|
81
|
74
|
88
|
77
|
|
5341
|
3
|
2,07
|
69
|
62
|
55
|
48
|
61
|
50
|
|
71
|
Чита
|
А
|
7841
|
1
|
4,14
|
150
|
142
|
134
|
127
|
141
|
129
|
|
7115
|
2
|
3,24
|
110
|
103
|
95
|
88
|
102
|
103
|
|
7115
|
3
|
2,42
|
76
|
69
|
61
|
54
|
68
|
56
|
|
72
|
Элиста
|
А
|
3668
|
1
|
2,68
|
86
|
79
|
71
|
64
|
78
|
66
|
|
3322
|
2
|
2,02
|
58
|
50
|
43
|
35
|
49
|
47
|
|
3322
|
3
|
1,66
|
44
|
36
|
28
|
21
|
35
|
23
|
|
73
|
Южно-Сахалинск
|
Б
|
см. Вологда
|
|
74
|
Якутск
|
А
|
10650
|
1
|
5,13
|
192
|
184
|
177
|
169
|
183
|
171
|
|
9882
|
2
|
4,12
|
149
|
141
|
133
|
126
|
140
|
144
|
|
9882
|
3
|
2,98
|
100
|
93
|
85
|
77
|
92
|
80
|
|
75
|
Ярославль
|
Б
|
см. Смоленск
|
Примечание.
Толщина теплоизоляционного слоя рассчитана для глади стены при коэффициенте
теплотехнической однородности 0,95.
Таблица 5.11.2. Расчетная толщина теплоизоляционного слоя из плит марки
ТЕРМОСТЕНА+, ТЕРМОВЕНТ, ТЕРМОМОНОЛИТ в конструкциях утепления стен из кирпича и
керамзитобетонных блоков с облицовкой кирпичом. Новое строительство и
реконструкция.
|
№ п/п
|
Город
|
Условия эксплуатации
|
Dd, ºС·сут
|
Тип помещения
|
R0тр, м2·ºС/Вт
|
Тип стены
|
|
кирпичная
|
керамзитобетонные блоки
|
|
Толщина стены, мм
|
|
250
|
380
|
510
|
640
|
250
|
380
|
|
Толщина теплоизоляционного слоя из плит «ТЕРМО», мм
|
|
1
|
2
|
3
|
4
|
5
|
6
|
7
|
8
|
9
|
10
|
11
|
12
|
|
1
|
Архангельск
|
Б
|
6426
|
1
|
3,65
|
144
|
137
|
130
|
122
|
136
|
125
|
|
5667
|
2
|
2,77
|
103
|
95
|
88
|
81
|
95
|
84
|
|
5667
|
3
|
2,13
|
73
|
66
|
59
|
52
|
66
|
54
|
|
2
|
Астрахань
|
А
|
3540
|
1
|
2,64
|
87
|
79
|
71
|
63
|
78
|
65
|
|
3206
|
2
|
1,99
|
58
|
50
|
42
|
34
|
49
|
46
|
|
3206
|
3
|
1,64
|
44
|
36
|
28
|
20
|
35
|
22
|
|
3
|
Анадырь
|
Б
|
9797
|
1
|
4,83
|
200
|
193
|
186
|
178
|
192
|
181
|
|
8864
|
2
|
3,80
|
151
|
144
|
137
|
129
|
143
|
132
|
|
8864
|
3
|
2,77
|
104
|
96
|
89
|
82
|
96
|
85
|
|
4
|
Барнаул
|
А
|
6343
|
1
|
3,62
|
130
|
122
|
114
|
107
|
121
|
109
|
|
5680
|
2
|
2,78
|
93
|
85
|
77
|
69
|
84
|
84
|
|
5680
|
3
|
2,14
|
66
|
58
|
50
|
42
|
57
|
44
|
|
5
|
Белгород
|
А
|
4183
|
1
|
2,86
|
97
|
89
|
81
|
73
|
88
|
75
|
|
3801
|
2
|
2,18
|
66
|
58
|
51
|
43
|
57
|
55
|
|
3801
|
3
|
1,76
|
49
|
41
|
33
|
26
|
40
|
28
|
|
6
|
Благовещенск
|
Б
|
6889
|
1
|
3,81
|
152
|
145
|
137
|
130
|
144
|
133
|
|
6235
|
2
|
2,96
|
111
|
104
|
97
|
90
|
104
|
92
|
|
6235
|
3
|
2,25
|
79
|
72
|
64
|
57
|
71
|
60
|
|
7
|
Брянск
|
Б
|
4572
|
1
|
3,00
|
113
|
106
|
99
|
92
|
106
|
94
|
|
4162
|
2
|
2,29
|
80
|
73
|
65
|
58
|
72
|
61
|
|
4162
|
3
|
1,83
|
59
|
52
|
45
|
37
|
51
|
40
|
|
8
|
Братск
|
А
|
7370
|
1
|
3,98
|
146
|
138
|
130
|
122
|
137
|
125
|
|
6623
|
2
|
3,08
|
106
|
98
|
90
|
83
|
97
|
98
|
|
6623
|
3
|
2,32
|
74
|
66
|
58
|
51
|
65
|
53
|
|
9
|
Волгоград
|
А
|
3952
|
1
|
2,78
|
93
|
85
|
77
|
70
|
84
|
72
|
|
3596
|
2
|
2,11
|
63
|
55
|
48
|
40
|
54
|
52
|
|
3596
|
3
|
1,72
|
47
|
39
|
32
|
24
|
38
|
26
|
|
10
|
Вологда
|
Б
|
5798
|
1
|
3,43
|
134
|
127
|
119
|
112
|
126
|
115
|
|
5105
|
2
|
2,59
|
94
|
87
|
80
|
72
|
86
|
75
|
|
5105
|
3
|
2,02
|
68
|
61
|
54
|
46
|
60
|
49
|
|
11
|
Воронеж
|
А
|
4528
|
1
|
2,98
|
102
|
94
|
86
|
78
|
93
|
81
|
|
4136
|
2
|
2,28
|
71
|
63
|
55
|
47
|
62
|
60
|
|
4136
|
3
|
1,83
|
52
|
44
|
36
|
29
|
43
|
31
|
|
12
|
Владимир
|
Б
|
5006
|
1
|
3,15
|
121
|
113
|
106
|
99
|
113
|
102
|
|
4580
|
2
|
2,43
|
86
|
79
|
72
|
65
|
78
|
67
|
|
4154
|
3
|
1,83
|
59
|
52
|
45
|
37
|
51
|
40
|
|
13
|
Владивосток
|
Б
|
4684
|
1
|
3,04
|
115
|
108
|
101
|
94
|
108
|
96
|
|
4292
|
2
|
2,33
|
82
|
75
|
67
|
60
|
74
|
63
|
|
4292
|
3
|
1,86
|
60
|
53
|
46
|
39
|
53
|
41
|
|
14
|
Владикавказ
|
А
|
3410
|
1
|
2,59
|
85
|
77
|
69
|
61
|
76
|
63
|
|
3062
|
2
|
1,94
|
56
|
48
|
40
|
32
|
47
|
44
|
|
3062
|
3
|
1,61
|
42
|
35
|
27
|
19
|
34
|
21
|
|
15
|
Грозный
|
А
|
3056
|
1
|
2,47
|
79
|
71
|
64
|
56
|
70
|
58
|
|
2736
|
2
|
1,84
|
51
|
43
|
35
|
28
|
42
|
39
|
|
2736
|
3
|
1,55
|
40
|
32
|
24
|
16
|
31
|
18
|
|
16
|
Екатеринбург
|
А
|
6210
|
1
|
3,57
|
128
|
120
|
112
|
105
|
119
|
107
|
|
5520
|
2
|
2,73
|
90
|
83
|
75
|
67
|
82
|
81
|
|
5520
|
3
|
2,10
|
64
|
56
|
49
|
41
|
55
|
43
|
|
17
|
Иваново
|
Б
|
см. Владимир
|
|
18
|
Игарка
|
Б
|
10575
|
1
|
5,10
|
213
|
206
|
198
|
191
|
205
|
194
|
|
9666
|
2
|
4,05
|
163
|
156
|
149
|
142
|
156
|
144
|
|
9666
|
3
|
2,93
|
111
|
104
|
97
|
90
|
104
|
92
|
|
19
|
Иркутск
|
А
|
7080
|
1
|
3,88
|
141
|
134
|
126
|
118
|
133
|
120
|
|
6360
|
2
|
3,00
|
102
|
95
|
87
|
79
|
94
|
94
|
|
6360
|
3
|
2,27
|
72
|
64
|
56
|
48
|
63
|
50
|
|
20
|
Ижевск
|
Б
|
5905
|
1
|
3,47
|
135
|
128
|
121
|
114
|
128
|
117
|
|
5239
|
2
|
2,64
|
96
|
89
|
82
|
75
|
88
|
77
|
|
5239
|
3
|
2,05
|
69
|
62
|
55
|
48
|
62
|
50
|
|
21
|
Йошкар-Ола
|
Б
|
5742
|
1
|
3,41
|
133
|
126
|
118
|
111
|
125
|
114
|
|
5082
|
2
|
2,59
|
94
|
87
|
79
|
72
|
86
|
75
|
|
5082
|
3
|
2,02
|
68
|
61
|
53
|
46
|
60
|
49
|
|
22
|
Казань
|
Б
|
см. Вологда
|
|
23
|
Калининград
|
Б
|
3648
|
1
|
2,68
|
98
|
91
|
84
|
76
|
90
|
79
|
|
3262
|
2
|
2,00
|
66
|
59
|
52
|
45
|
58
|
47
|
|
3262
|
3
|
1,65
|
51
|
43
|
36
|
29
|
43
|
32
|
|
24
|
Калуга
|
Б
|
см. Владивосток
|
|
25
|
Кемерово
|
А
|
6537
|
1
|
3,69
|
133
|
125
|
117
|
110
|
124
|
112
|
|
6075
|
2
|
2,90
|
98
|
91
|
83
|
75
|
89
|
90
|
|
6075
|
3
|
2,22
|
69
|
61
|
53
|
46
|
60
|
48
|
|
26
|
Вятка
|
Б
|
5660
|
1
|
3,38
|
131
|
124
|
117
|
110
|
124
|
112
|
|
4967
|
2
|
2,55
|
92
|
85
|
78
|
70
|
84
|
73
|
|
4967
|
3
|
1,99
|
67
|
60
|
52
|
45
|
59
|
48
|
|
27
|
Кострома
|
Б
|
5528
|
1
|
3,33
|
129
|
122
|
115
|
108
|
121
|
110
|
|
4862
|
2
|
2,52
|
90
|
83
|
76
|
69
|
83
|
71
|
|
4862
|
3
|
1,97
|
66
|
59
|
51
|
44
|
58
|
47
|
|
28
|
Краснодар
|
А
|
2682
|
1
|
2,34
|
73
|
66
|
58
|
50
|
64
|
52
|
|
2384
|
2
|
1,72
|
46
|
38
|
31
|
23
|
37
|
34
|
|
2384
|
3
|
1,48
|
36
|
29
|
21
|
13
|
28
|
15
|
|
29
|
Красноярск
|
А
|
6575
|
1
|
3,70
|
134
|
126
|
118
|
110
|
125
|
112
|
|
5873
|
2
|
2,84
|
95
|
88
|
80
|
72
|
87
|
87
|
|
5873
|
3
|
2,17
|
67
|
59
|
52
|
44
|
58
|
46
|
|
30
|
Курган
|
А
|
см. Барнаул
|
|
31
|
Курск
|
Б
|
4435
|
1
|
2,95
|
111
|
104
|
97
|
89
|
103
|
92
|
|
4039
|
2
|
2,25
|
78
|
71
|
64
|
56
|
70
|
59
|
|
4039
|
3
|
1,81
|
58
|
51
|
44
|
36
|
50
|
39
|
|
32
|
Кызыл
|
А
|
7875
|
1
|
4,16
|
154
|
146
|
138
|
130
|
145
|
132
|
|
7425
|
2
|
3,34
|
117
|
110
|
102
|
94
|
109
|
110
|
|
7425
|
3
|
2,49
|
81
|
73
|
65
|
58
|
72
|
60
|
|
33
|
Липецк
|
А
|
4703
|
1
|
3,05
|
105
|
97
|
89
|
81
|
96
|
83
|
|
4301
|
2
|
2,34
|
73
|
65
|
58
|
50
|
64
|
63
|
|
4301
|
3
|
1,86
|
53
|
46
|
38
|
30
|
45
|
32
|
|
34
|
Магадан
|
Б
|
7805
|
1
|
4,13
|
167
|
160
|
153
|
145
|
159
|
148
|
|
7229
|
2
|
3,27
|
126
|
119
|
112
|
105
|
119
|
107
|
|
7229
|
3
|
2,45
|
88
|
81
|
74
|
67
|
80
|
69
|
|
35
|
Махачкала
|
А
|
2560
|
1
|
2,30
|
71
|
64
|
56
|
48
|
63
|
50
|
|
2264
|
2
|
1,68
|
44
|
37
|
29
|
21
|
36
|
32
|
|
2264
|
3
|
1,45
|
35
|
28
|
20
|
12
|
27
|
14
|
|
36
|
Москва
|
Б
|
5027
|
1
|
3,16
|
121
|
114
|
106
|
99
|
113
|
102
|
|
4601
|
2
|
2,43
|
86
|
79
|
72
|
65
|
79
|
67
|
|
4601
|
3
|
1,92
|
63
|
56
|
49
|
42
|
56
|
44
|
|
37
|
Мурманск
|
Б
|
6380
|
1
|
3,63
|
143
|
136
|
129
|
122
|
136
|
124
|
|
5830
|
2
|
2,83
|
105
|
98
|
91
|
83
|
97
|
86
|
|
5830
|
3
|
2,17
|
75
|
68
|
60
|
53
|
67
|
56
|
|
38
|
Нальчик
|
А
|
3259
|
1
|
2,54
|
82
|
74
|
67
|
59
|
73
|
61
|
|
2923
|
2
|
1,90
|
54
|
46
|
38
|
30
|
45
|
42
|
|
2923
|
3
|
1,58
|
41
|
33
|
26
|
18
|
32
|
20
|
|
39
|
Нижний Новгород
|
Б
|
см. Владимир
|
|
40
|
Новгород
|
Б
|
4928
|
1
|
3,12
|
119
|
112
|
105
|
98
|
112
|
100
|
|
4486
|
2
|
2,40
|
85
|
78
|
70
|
63
|
77
|
66
|
|
4486
|
3
|
1,90
|
62
|
55
|
48
|
41
|
54
|
43
|
|
41
|
Новосибирск
|
А
|
см. Кемерово
|
|
42
|
Омск
|
А
|
6497
|
1
|
3,67
|
132
|
125
|
117
|
109
|
124
|
111
|
|
5834
|
2
|
2,83
|
95
|
87
|
79
|
72
|
86
|
86
|
|
5834
|
3
|
2,17
|
67
|
59
|
51
|
44
|
58
|
46
|
|
43
|
Оренбург
|
А
|
5515
|
1
|
3,33
|
117
|
109
|
102
|
94
|
108
|
96
|
|
4909
|
2
|
2,53
|
82
|
74
|
66
|
58
|
73
|
72
|
|
4909
|
3
|
1,98
|
59
|
51
|
43
|
35
|
50
|
37
|
|
44
|
Орел
|
Б
|
4654
|
1
|
3,03
|
115
|
108
|
100
|
93
|
107
|
96
|
|
4244
|
2
|
2,32
|
81
|
74
|
67
|
59
|
73
|
62
|
|
4244
|
3
|
1,85
|
60
|
53
|
45
|
38
|
52
|
41
|
|
45
|
Пенза
|
А
|
5072
|
1
|
3,18
|
110
|
103
|
95
|
87
|
101
|
89
|
|
4658
|
2
|
2,45
|
78
|
70
|
63
|
55
|
69
|
68
|
|
4658
|
3
|
1,93
|
57
|
49
|
41
|
33
|
48
|
35
|
|
46
|
Пермь
|
Б
|
см. Вятка
|
|
47
|
Петропавловск-Камчатский
|
Б
|
см. Ижевск
|
|
48
|
Петрозаводск
|
Б
|
см. Вологда
|
|
49
|
Псков
|
Б
|
см. Курск
|
|
50
|
Ростов-на-Дону
|
А
|
3523
|
1
|
2,63
|
86
|
79
|
71
|
63
|
77
|
65
|
|
3181
|
2
|
1,98
|
57
|
50
|
42
|
34
|
49
|
46
|
|
3181
|
3
|
1,64
|
43
|
36
|
28
|
20
|
35
|
22
|
|
51
|
Рязань
|
Б
|
4888
|
1
|
3,11
|
119
|
111
|
104
|
97
|
111
|
100
|
|
4472
|
2
|
2,39
|
85
|
77
|
70
|
63
|
77
|
66
|
|
4472
|
3
|
1,89
|
62
|
55
|
48
|
40
|
54
|
43
|
|
52
|
Самара
|
Б
|
см. Кострома
|
|
53
|
Санкт-Петербург
|
Б
|
см. Орел
|
|
54
|
Саранск
|
А
|
см. Пенза
|
|
55
|
Саратов
|
А
|
4763
|
1
|
3,07
|
106
|
98
|
90
|
82
|
97
|
84
|
|
4371
|
2
|
2,36
|
74
|
66
|
59
|
51
|
65
|
64
|
|
4371
|
3
|
1,87
|
54
|
46
|
38
|
31
|
45
|
33
|
|
56
|
Салехард
|
Б
|
9461
|
1
|
4,71
|
194
|
187
|
180
|
173
|
187
|
175
|
|
8585
|
2
|
3,71
|
147
|
140
|
132
|
125
|
139
|
128
|
|
8585
|
3
|
2,72
|
101
|
94
|
87
|
79
|
93
|
82
|
|
57
|
Смоленск
|
Б
|
4816
|
1
|
3,09
|
117
|
110
|
103
|
96
|
110
|
98
|
|
4386
|
2
|
2,36
|
83
|
76
|
69
|
62
|
75
|
64
|
|
4386
|
3
|
1,88
|
61
|
54
|
47
|
40
|
53
|
42
|
|
58
|
Ставрополь
|
А
|
3209
|
1
|
2,52
|
81
|
74
|
66
|
58
|
73
|
60
|
|
2873
|
2
|
1,88
|
53
|
45
|
37
|
30
|
44
|
41
|
|
2873
|
3
|
1,57
|
41
|
33
|
25
|
17
|
32
|
19
|
|
59
|
Сыктывкар
|
Б
|
6566
|
1
|
3,70
|
146
|
139
|
132
|
125
|
139
|
127
|
|
5831
|
2
|
2,83
|
105
|
98
|
91
|
83
|
97
|
86
|
|
5831
|
3
|
2,17
|
75
|
68
|
60
|
53
|
67
|
56
|
|
60
|
Тамбов
|
А
|
4764
|
1
|
3,07
|
106
|
98
|
90
|
82
|
97
|
84
|
|
4362
|
2
|
2,36
|
74
|
66
|
58
|
51
|
65
|
64
|
|
4362
|
3
|
1,87
|
54
|
46
|
38
|
31
|
45
|
33
|
|
61
|
Тверь
|
Б
|
5014
|
1
|
3,15
|
121
|
114
|
106
|
99
|
113
|
102
|
|
4578
|
2
|
2,42
|
86
|
79
|
72
|
64
|
78
|
67
|
|
4578
|
3
|
1,92
|
63
|
56
|
49
|
41
|
55
|
44
|
|
62
|
Томск
|
Б
|
см. Благовещенск
|
|
63
|
Тула
|
Б
|
см. Новгород
|
|
64
|
Тюмень
|
А
|
см. Екатеринбург
|
|
65
|
Ульяновск
|
А
|
5597
|
1
|
3,36
|
118
|
111
|
103
|
95
|
110
|
97
|
|
4961
|
2
|
2,55
|
83
|
75
|
67
|
59
|
74
|
73
|
|
4961
|
3
|
1,99
|
59
|
51
|
44
|
36
|
50
|
38
|
|
66
|
Улан-Уде
|
А
|
7442
|
1
|
4,00
|
147
|
139
|
131
|
124
|
138
|
126
|
|
6731
|
2
|
3,11
|
108
|
100
|
92
|
84
|
99
|
100
|
|
6731
|
3
|
2,35
|
75
|
67
|
59
|
51
|
66
|
54
|
|
67
|
Уфа
|
А
|
5517
|
1
|
3,33
|
117
|
109
|
102
|
94
|
108
|
96
|
|
5091
|
2
|
2,59
|
84
|
77
|
69
|
61
|
76
|
75
|
|
5091
|
3
|
2,02
|
60
|
53
|
45
|
37
|
52
|
39
|
|
68
|
Хабаровск
|
Б
|
6393
|
1
|
3,64
|
144
|
136
|
129
|
122
|
136
|
125
|
|
5760
|
2
|
2,80
|
104
|
97
|
90
|
82
|
96
|
85
|
|
5760
|
3
|
2,15
|
74
|
67
|
60
|
53
|
67
|
55
|
|
69
|
Чебоксары
|
Б
|
5620
|
1
|
3,37
|
131
|
124
|
116
|
109
|
123
|
112
|
|
4969
|
2
|
2,55
|
92
|
85
|
78
|
70
|
84
|
73
|
|
4969
|
3
|
1,99
|
67
|
60
|
52
|
45
|
59
|
48
|
|
70
|
Челябинск
|
Б
|
5995
|
1
|
3,50
|
137
|
130
|
123
|
115
|
129
|
118
|
|
5341
|
2
|
2,67
|
98
|
90
|
83
|
76
|
90
|
79
|
|
5341
|
3
|
2,07
|
70
|
63
|
56
|
49
|
63
|
51
|
|
71
|
Чита
|
А
|
7841
|
1
|
4,14
|
153
|
145
|
138
|
130
|
144
|
132
|
|
7115
|
2
|
3,24
|
113
|
105
|
97
|
90
|
104
|
106
|
|
7115
|
3
|
2,42
|
78
|
70
|
63
|
55
|
69
|
57
|
|
72
|
Элиста
|
А
|
3668
|
1
|
2,68
|
89
|
81
|
73
|
65
|
80
|
67
|
|
3322
|
2
|
2,02
|
59
|
52
|
44
|
36
|
51
|
48
|
|
3322
|
3
|
1,66
|
45
|
37
|
29
|
21
|
36
|
23
|
|
73
|
Южно-Сахалинск
|
Б
|
см. Вологда
|
|
74
|
Якутск
|
А
|
10650
|
1
|
5,13
|
197
|
189
|
181
|
173
|
188
|
175
|
|
9882
|
2
|
4,12
|
152
|
144
|
137
|
129
|
143
|
148
|
|
9882
|
3
|
2,98
|
103
|
95
|
87
|
79
|
94
|
81
|
|
75
|
Ярославль
|
Б
|
см. Смоленск
|
Примечание.
Толщина теплоизоляционного слоя рассчитана для глади стены при коэффициенте
теплотехнической однородности 0,95.
Рис. 5.11.1. Фрагмент стены здания с теплоизоляцией из
плит марки «ТЕРМО» в качестве
среднего слоя кладки.

1. Несущая стена
(кирпичная, из мелкоштучных блоков, панельная,
монолитного железобетона).
2. Плиты марки «ТЕРМОСТЕНА», «TEPMOCTEHA+»,
«ТЕРМОВЕНТ», «ТЕРМОМОНОЛИТ» (толщина теплоизоляционного слоя по табл. 5.11.1
- 5.11.2).
3. Облицовка из
кирпича (наружная часть кладки).
4. Гибкие связи.
Примечание. Разрез 2-2 на рис. 5.11.2.
Рис. 5.11.2. Кирпичная стена с теплоизоляцией из плит
марки «ТЕРМО» в качестве среднего слоя конструкции с облицовкой лицевым
кирпичом (новое строительство).
Разрез 2-2 к рис. 5.11.1.

1. Внутренняя
штукатурка.
2. Несущая
кирпичная стена.
3. Плиты марки «ТЕРМОСТЕНА», «ТЕРМОСТЕНА+»,
«ТЕРМОВЕНТ», «ТЕРМОМОНОЛИТ» (толщина теплоизоляционного слоя по
табл. 5.11.1
- 5.11.2).
4. Облицовка из
лицевого кирпича.
5. Гибкие связи.
Рис. 5.11.3. Стена
из блоков с теплоизоляцией из плит марки «ТЕРМО» в качестве среднего слоя
конструкции с облицовкой лицевым кирпичом (новое строительство).

1. Внутренняя
штукатурка.
2. Несущие стены
из легкобетонных блоков.
3. Плиты марки «ТЕРМОСТЕНА», «ТЕРМОСТЕНА+»,
«ТЕРМОВЕНТ», «ТЕРМОМОНОЛИТ» (толщина теплоизоляционного слоя по
табл. 5.11.1
- 5.11.2).
4. Облицовка из
лицевого кирпича.
5. Гибкие связи.
Рис. 5.11.4. Панельная стена с теплоизоляцией из плит марки «ТЕРМО» в качестве среднего слоя
конструкции с облицовкой лицевым кирпичом.

1. Внутренняя
штукатурка.
2. Несущая
панельная стена.
3. Плиты марки «ТЕРМОСТЕНА», «ТЕРМОСТЕНА+»,
«ТЕРМОВЕНТ», «ТЕРМОМОНОЛИТ» (толщина теплоизоляционного слоя по
табл. 5.11.1.
- 5.11.2.).
4. Облицовка из
лицевого кирпича.
5. Крепление
облицовки (анкер, кронштейн и связи).
Рис. 5.11.5. Кирпичная стена с теплоизоляцией из плит
марки «ТЕРМО» в конструкции с
облицовкой лицевым кирпичом по
деревянному каркасу без вентилируемого зазора. Вариант. (реконструкция).

1. Несущая
кирпичная стена.
2. Плиты марки «ТЕРМОСТЕНА», «ТЕРМОСТЕНА+»,
«ТЕРМОВЕНТ», «ТЕРМОМОНОЛИТ» (толщина теплоизоляционного слоя по
табл. 5.11.1.
- 5.11.2.).
3. Облицовка из
лицевого кирпича.
4. Деревянный
каркас.
5. Крепление
облицовки.
Рис. 5.11.6. Кирпичная стена с теплоизоляцией плитами
марки «ТЕРМОВЕНТ» в конструкции с
вентилируемым зазором и с облицовкой лицевым кирпичом (новое строительство).

1. Внутренняя
штукатурка.
2. Несущая
кирпичная стена.
3. Плиты марки
«ТЕРМОВЕНТ» (толщина теплоизоляционного слоя по табл. 5.12.1).
4. Ветрозащита.
5. Вентилируемый
зазор.
6. Облицовка из
лицевого кирпича.
7. Гибкие связи.
8. Дюбель.
Рис. 5.11.7. Пример расчета влажностного режима стены
из керамзитобетона, утепленной плитами «ТЕРМОСТЕНА» с облицовкой кирпичом
(внутренняя штукатурка 20 мм, керамзитобетон - 380 мм, утеплитель 120 мм,
кирпич - 125 мм) для жилого дома в г. Самаре.

|
г. Самара
|
Помещ.
|
Окт.
|
Нояб.
|
Дек.
|
Янв.
|
Февр.
|
Март
|
Апр.
|
Май
|
Июнь
|
Июль
|
Авг.
|
Сент.
|
|
Температура ºС
|
20,0
|
4,2
|
-3,4
|
-9,6
|
-13,5
|
-12,6
|
-5,8
|
5,8
|
14,3
|
18,6
|
20,4
|
19,0
|
12,8
|
|
Отн. влажность %
|
55,0
|
76,0
|
84,0
|
86,0
|
85,0
|
82,0
|
82,0
|
69,0
|
54,0
|
56,0
|
62,0
|
62,0
|
69,0
|
|
Объем конденс. кг/м2
|
0,00
|
0,00
|
0,36
|
1,18
|
2,19
|
3,12
|
3,63
|
2,51
|
0,00
|
0,00
|
0,00
|
0,00
|
0,00
|
Рис. 5.11.7 (продолжение). Результаты расчета
влажностного режима наиболее холодного месяца - февраля

|
Материал слоя
|
Толщина
|
Температура слоя ºС
|
Отн. влажность воздуха %
|
Отн. влажность материала %
|
|
штукатурка
|
0,020
|
18,45
|
56,51
|
1,08
|
|
керамзитобетон
|
0,380
|
12,07
|
19,35
|
1,47
|
|
МинВата
|
0,120
|
-11,77
|
100,00
|
0,60
|
|
кирпич
|
0,125
|
-13,12
|
91,51
|
0,39
|
|
|
|
|
|
|
|
|
|
|
|
|
|
|
|
Зона конденсации
|
Уд. кол-во конденсата (г/м2 ч)
|
1,371
|
Начало (м)
|
0,5201
|
Конец (м)
|
0,520
|
Рис. 5.11.8. Пример расчета влажностного режима стены
из керамзитобетона, утепленной плитами «ТЕРМОСТЕНА» с облицовкой кирпичом
(внутренняя штукатурка 20 мм, керамзитобетон - 380 мм, утеплитель 100 мм,
кирпич - 125 мм) для жилого дома в г. Санкт-Петербурге.

|
г. Санкт-Петербург
|
Помещ.
|
Окт.
|
Нояб.
|
Дек.
|
Янв.
|
Февр.
|
Март
|
Апр.
|
Май
|
Июнь
|
Июль
|
Авг.
|
Сент.
|
|
Температура ºС
|
20,0
|
4,8
|
-0,5
|
-5,1
|
-7,7
|
-7,9
|
42
|
3,0
|
9,6
|
14,8
|
17,8
|
16,0
|
10,8
|
|
Отн. влажность %
|
55,0
|
94,0
|
97,0
|
88,0
|
86,0
|
64,0
|
78,0
|
73,0
|
66,0
|
68,0
|
71,0
|
77,0
|
81,0
|
|
Объем конденс. кг/м2
|
0,00
|
0,00
|
0,43
|
0,97
|
1,65
|
2,32
|
2,58
|
1,97
|
0,00
|
0,00
|
0,00
|
0,00
|
0,00
|
Рис. 5.11.8 (продолжение).
Результаты расчета влажностного режима наиболее холодного месяца - февраля

|
Материал слоя
|
Толщина мм
|
Температура слоя ºС
|
Отн. влажность воздуха %
|
Отн. влажность материала %
|
|
штукатурка
|
0,020
|
18,50
|
56,79
|
1,08
|
|
керамзитобетон
|
0,380
|
12,29
|
27,95
|
1,90
|
|
МинВата
|
0,100
|
-6,17
|
100,00
|
0,60
|
|
кирпич
|
0,125
|
-7,48
|
86,12
|
0,31
|
|
|
|
|
|
|
|
|
|
|
|
|
|
|
|
Зона конденсации
|
Уд. кол-во конденсата (г/м2 ч)
|
0,885
|
Начало (м)
|
0,500
|
Конец (м)
|
0,500
|
Рис. 5.11.9. Пример расчета
влажностного режима ограждающей конструкции с плитами «ТЕРМОСТЕНА» в качестве
среднего слоя (штук. - 20 мм, кирпич - 510 мм, утеплитель - 130 мм, кирпич -
125 мм) для жилого дома в г. Мурманске.

|
г. Мурманск
|
Помещ.
|
Окт.
|
Нояб.
|
Дек.
|
Янв.
|
Февр.
|
Март
|
Апр.
|
Май
|
Июнь
|
Июль
|
Авг.
|
Сент.
|
|
Температура ºС
|
20,0
|
0,7
|
42
|
-7,8
|
-10,5
|
-10,8
|
-6,9
|
-1,6
|
3,4
|
9,3
|
12,6
|
11,3
|
6,6
|
|
Отн. влажность %
|
55,0
|
84,0
|
85,0
|
85,0
|
85,0
|
84,0
|
79,0
|
74,0
|
70,0
|
69,0
|
73,0
|
78,0
|
81,0
|
|
Объем конденс. кг/м2
|
0,00
|
0,00
|
0,20
|
0,62
|
1,18
|
1,74
|
2,02
|
1,75
|
0,88
|
0,00
|
0,00
|
0,00
|
0,00
|
Рис. 5.11.8 (продолжение).
Результаты расчета влажностного режима наиболее холодного месяца - января

|
Материал слоя
|
Толщина мм
|
Температура слоя ºС
|
Отн. влажность воздуха %
|
Отн. влажность материала %
|
|
штукатурка
|
0,020
|
18,65
|
56,86
|
1,08
|
|
керамзитобетон
|
0,510
|
13,82
|
20,61
|
0,03
|
|
МинВата
|
0,130
|
-8,80
|
100,00
|
0,60
|
|
кирпич
|
0,125
|
-10,17
|
88,05
|
0,34
|
|
|
|
|
|
|
|
|
|
|
|
|
|
|
|
Зона конденсации
|
Уд. кол-во конденсата (г/м2 ч)
|
0,768
|
Начало (м)
|
0,660
|
Конец (м)
|
0,660
|
5.12.1. Система наружного утепления с
вентилируемым фасадом (вентилируемым зазором) и защитно-декоративным покрытием
из листовых или штучных материалов (металлического и винилового сайдинга,
профилированного металлического покрытия «Ранила», плит «Этернит», керамического
покрытия «Интерстоун», стеклофибробетонных плит «СЕМ STONE» и др.)
применяется при реконструкции и новом строительстве зданий.
5.12.2. Защитный экран
(защитно-декоративное покрытие) из листовых или штучных материалов предохраняет
утеплитель от механических повреждений, атмосферных осадков, воздействия ветра
и солнечной радиации. Улучшает внешний вид и облегчает выполнение работ при
ремонте тепловой изоляции ограждающих конструкций.
Вентилируемый зазор предотвращает
накопление влаги в конструкции, что способствует, как повышению ее
теплозащитных свойств, так и долговечности, улучшается температурно-влажностный
режим помещений.
Конструкция изоляции с применением
защитного экрана позволяет вести строительные и ремонтные работы круглогодично.
При этом повышается степень индустриализации строительно-монтажных работ по
утеплению зданий, и снижаются трудозатраты при строительстве и ремонте.
5.12.3. Вентилируемый воздушный зазор
следует располагать между наружным облицовочным покрытием и теплоизоляционным
слоем. Ширина воздушной прослойки должна быть не менее 40 мм и не более 150 мм.
Нижние и верхние вентиляционные
отверстия, как правило, следует совмещать с цоколем (карнизами).
5.12.4. Утеплитель и защитно-декоративное
покрытие крепятся с использованием специальных систем крепления и крепежных
элементов. Системы крепления отличаются большим разнообразием и разрабатываются
применительно к конкретному виду облицовки (покрытия) (Рис. 5.12.1
- 5.12.6).
Система крепления облицовки должна
обладать несущей способностью, воспринимающей собственный вес и вес облицовки,
и необходимой подвижностью узлов для восприятия динамических нагрузок.
При разработке подоблицовочной
конструкции рекомендуется использовать системы отечественных производителей
(«ДИАТ», «Каптехнострой» (КТС-ВФ), «АлконТрейд» (U-kon)
и другие) (Рис. 5.12.1 - 5.12.2).
5.12.5. В конструкциях наружного
утепления с вентилируемым зазором и защитно-декоративным покрытием
рекомендуется использовать гидрофобизированные теплоизоляционные плиты из
минеральной ваты марки «ТЕРМОВЕНТ».
При двухслойной изоляции в качестве
первого слоя могут быть использованы плиты марки «ТЕРМОЛАЙТ+», «ТЕРМОСТЕНА» и
«ТЕРМОСТЕНА+» с последующей установкой плит марки «ТЕРМОВЕНТ» (рис. 5.12.4
и 5.12.6).
5.12.6. В конструкциях с вентилируемым
зазором по теплоизоляционному слою необходимо предусматривать ветрозащитный
слой, защищающий теплоизоляционный материал от выветривания в процессе
эксплуатации. В качестве ветрозащиты могут быть использованы паропроницаемые
пленки Ютафол-Д, Тайвек, стеклоткани и стеклосетки.
5.12.7. Все металлические элементы
крепления должны быть защищены антикоррозионными покрытиями или выполнены из
коррозионно-стойкой стали.
5.12.8. Фасадные защитно-декоративные
покрытия на высоту до 2,5 м от земли должны быть достаточно прочными или
защищенными от возможных механических повреждений.
5.12.9. Пример расчета
температурно-влажностного режима конструкции вентилируемого фасада с плитами
марки «ТЕРМОВЕНТ» применительно к условиям г. г. Мурманска, Омска и Челябинска
приведен на рис. 5.12.7 - 5.12.9.
Анализ результатов проведенных расчетов
влажностного режима различных вариантов утепленных стен (кирпичные,
керамзитобетонные, деревянные) показывает, что в конструкциях с вентилируемым
зазором и проницаемым защитно-декоративным покрытием конденсация влаги
отсутствует при строительстве во всех климатических зонах России.
5.12.10. Расчетная толщина
теплоизоляционного слоя из теплоизоляционных плит марки «ТЕРМОВЕНТ» для
различных регионов Российской Федерации в условиях эксплуатации А и Б приведены
в таблице 5.12.1.
Толщину плит марки «ТЕРМОЛАЙТ+»,
«ТЕРМОСТЕНА» и «ТЕРМОСТЕНА+», при применении их в качестве первого слоя,
следует определять исходя из толщины теплоизоляционного слоя, приведенного в
таблице 5.12.1.
и толщины плит «ТЕРМОВЕНТ», применяемой в качестве наружного слоя, с учетом
действительного коэффициента теплотехнической однородности конструкции стены с
утеплением.
При расчете теплопередачи для этих
конструкций термическое сопротивление вентилируемого зазора и
защитно-декоративного покрытия не учитывалось.
Расчеты выполнены для кирпичных стен
толщиной 250, 380 мм, 510 мм и 640 мм и стен из керамзитобетонных блоков с
плотностью 1200 кг/м3 толщиной 250 и 380 мм с коэффициентом
теплотехнической однородности 0,95 с утеплителем из плит марки «ТЕРМОВЕНТ» в
конструкциях с защитно-декоративной облицовкой и с вентилируемым зазором.
Допускается применение в этих конструкциях плит более высокой плотности, однако
при этом следует учитывать, что это приводит к необоснованному удорожанию
конструкции.
Таблица 5.12.1. Расчетная толщина теплоизоляционного слоя из плит марки
ТЕРМОВЕНТ в конструкции утепления с вентилируемым фасадом для стен из кирпича
или легкого бетона.
|
№ п/п
|
Город
|
Условия эксплуатации
|
Dd, ºС·сут
|
Тип помещения
|
R0тр, м2·ºС/Вт
|
Тип стены
|
|
кирпичная
|
керамзитобетон
|
|
Толщина стены, мм
|
|
250
|
380
|
510
|
640
|
250
|
380
|
|
Толщина теплоизоляционного слоя, мм, из плит
ТЕРМОВЕНТ
|
|
1
|
2
|
3
|
4
|
5
|
6
|
7
|
8
|
9
|
10
|
11
|
12
|
|
1
|
Архангельск
|
Б
|
6426
|
1
|
3,65
|
149
|
142
|
135
|
127
|
141
|
130
|
|
5667
|
2
|
2,77
|
108
|
100
|
93
|
86
|
100
|
89
|
|
5667
|
3
|
2,13
|
78
|
71
|
64
|
57
|
71
|
59
|
|
2
|
Астрахань
|
А
|
3540
|
1
|
2,64
|
92
|
84
|
77
|
69
|
83
|
71
|
|
3206
|
2
|
1,99
|
63
|
55
|
48
|
40
|
54
|
51
|
|
3206
|
3
|
1,64
|
49
|
41
|
34
|
26
|
40
|
28
|
|
3
|
Анадырь
|
Б
|
9797
|
1
|
4,83
|
205
|
198
|
190
|
183
|
197
|
186
|
|
8864
|
2
|
3,80
|
156
|
149
|
142
|
134
|
148
|
137
|
|
8864
|
3
|
2,77
|
109
|
101
|
94
|
87
|
101
|
90
|
|
4
|
Барнаул
|
А
|
6343
|
1
|
3,62
|
136
|
128
|
120
|
112
|
127
|
114
|
|
5680
|
2
|
2,78
|
98
|
90
|
83
|
75
|
89
|
89
|
|
5680
|
3
|
2,14
|
71
|
63
|
56
|
48
|
62
|
50
|
|
5
|
Белгород
|
А
|
4183
|
1
|
2,86
|
102
|
94
|
86
|
79
|
93
|
81
|
|
3801
|
2
|
2,18
|
72
|
64
|
56
|
48
|
63
|
60
|
|
3801
|
3
|
1,76
|
54
|
47
|
39
|
31
|
46
|
33
|
|
6
|
Благовещенск
|
Б
|
6889
|
1
|
3,81
|
157
|
149
|
142
|
135
|
149
|
138
|
|
6235
|
2
|
2,96
|
116
|
109
|
102
|
94
|
108
|
97
|
|
6235
|
3
|
2,25
|
84
|
76
|
69
|
62
|
76
|
65
|
|
7
|
Брянск
|
Б
|
4572
|
1
|
3,00
|
118
|
111
|
104
|
97
|
111
|
99
|
|
4162
|
2
|
2,29
|
85
|
77
|
70
|
63
|
77
|
66
|
|
4162
|
3
|
1,83
|
64
|
57
|
50
|
42
|
56
|
45
|
|
8
|
Братск
|
А
|
7370
|
1
|
3,98
|
151
|
144
|
136
|
128
|
143
|
130
|
|
6623
|
2
|
3,08
|
112
|
104
|
96
|
88
|
103
|
103
|
|
6623
|
3
|
2,32
|
79
|
72
|
64
|
56
|
71
|
58
|
|
9
|
Волгоград
|
А
|
3952
|
1
|
2,78
|
99
|
91
|
83
|
75
|
90
|
77
|
|
3596
|
2
|
2,11
|
69
|
61
|
53
|
45
|
60
|
57
|
|
3596
|
3
|
1,72
|
53
|
45
|
37
|
29
|
44
|
31
|
|
10
|
Вологда
|
Б
|
5798
|
1
|
3,43
|
139
|
131
|
124
|
117
|
131
|
120
|
|
5105
|
2
|
2,59
|
99
|
92
|
85
|
77
|
91
|
80
|
|
5105
|
3
|
2,02
|
73
|
66
|
58
|
51
|
65
|
54
|
|
11
|
Воронеж
|
А
|
4528
|
1
|
2,98
|
107
|
100
|
92
|
84
|
99
|
86
|
|
4136
|
2
|
2,28
|
76
|
69
|
61
|
53
|
68
|
65
|
|
4136
|
3
|
1,83
|
57
|
50
|
42
|
34
|
49
|
36
|
|
12
|
Владимир
|
Б
|
5006
|
1
|
3,15
|
125
|
118
|
111
|
104
|
118
|
106
|
|
4580
|
2
|
2,43
|
91
|
84
|
77
|
69
|
83
|
72
|
|
4154
|
3
|
1,83
|
64
|
57
|
49
|
42
|
56
|
45
|
|
13
|
Владивосток
|
Б
|
4684
|
1
|
3,04
|
120
|
113
|
106
|
98
|
112
|
101
|
|
4292
|
2
|
2,33
|
87
|
79
|
72
|
65
|
79
|
68
|
|
4292
|
3
|
1,86
|
65
|
58
|
51
|
44
|
57
|
46
|
|
14
|
Владикавказ
|
А
|
3410
|
1
|
2,59
|
90
|
82
|
75
|
67
|
81
|
69
|
|
3062
|
2
|
1,94
|
61
|
53
|
46
|
38
|
52
|
49
|
|
3062
|
3
|
1,61
|
48
|
40
|
32
|
25
|
39
|
27
|
|
15
|
Грозный
|
А
|
3056
|
1
|
2,47
|
85
|
77
|
69
|
61
|
76
|
63
|
|
2736
|
2
|
1,84
|
57
|
49
|
41
|
33
|
48
|
44
|
|
2736
|
3
|
1,55
|
45
|
37
|
29
|
22
|
36
|
24
|
|
16
|
Екатеринбург
|
А
|
6210
|
1
|
3,57
|
133
|
126
|
118
|
110
|
125
|
112
|
|
5520
|
2
|
2,73
|
96
|
88
|
80
|
73
|
87
|
86
|
|
5520
|
3
|
2,10
|
70
|
62
|
54
|
46
|
61
|
48
|
|
17
|
Иваново
|
Б
|
см. Владимир
|
|
18
|
Игарка
|
Б
|
10575
|
1
|
5,10
|
218
|
211
|
203
|
196
|
210
|
199
|
|
9666
|
2
|
4,05
|
168
|
161
|
154
|
146
|
160
|
149
|
|
9666
|
3
|
2,93
|
116
|
109
|
102
|
94
|
108
|
97
|
|
19
|
Иркутск
|
А
|
7080
|
1
|
3,88
|
147
|
139
|
131
|
124
|
138
|
126
|
|
6360
|
2
|
3,00
|
108
|
100
|
92
|
84
|
99
|
99
|
|
6360
|
3
|
2,27
|
77
|
69
|
62
|
54
|
68
|
56
|
|
20
|
Ижевск
|
Б
|
5905
|
1
|
3,47
|
140
|
133
|
126
|
119
|
133
|
121
|
|
5239
|
2
|
2,64
|
101
|
94
|
87
|
79
|
93
|
82
|
|
5239
|
3
|
2,05
|
74
|
67
|
60
|
53
|
66
|
55
|
|
21
|
Йошкар-Ола
|
Б
|
5742
|
1
|
3,41
|
138
|
130
|
123
|
116
|
130
|
119
|
|
5082
|
2
|
2,59
|
99
|
91
|
84
|
77
|
91
|
80
|
|
5082
|
3
|
2,02
|
73
|
65
|
58
|
51
|
65
|
54
|
|
22
|
Казань
|
Б
|
см. Вологда
|
|
23
|
Калининград
|
Б
|
3648
|
1
|
2,68
|
103
|
96
|
89
|
81
|
95
|
84
|
|
3262
|
2
|
2,00
|
71
|
64
|
57
|
49
|
63
|
52
|
|
3262
|
3
|
1,65
|
55
|
48
|
41
|
34
|
48
|
36
|
|
24
|
Калуга
|
Б
|
см. Владивосток
|
|
25
|
Кемерово
|
А
|
6537
|
1
|
3,69
|
139
|
131
|
123
|
115
|
130
|
117
|
|
6075
|
2
|
2,90
|
104
|
96
|
88
|
80
|
95
|
95
|
|
6075
|
3
|
2,22
|
75
|
67
|
59
|
51
|
66
|
53
|
|
26
|
Вятка
|
Б
|
5660
|
1
|
3,38
|
136
|
129
|
122
|
115
|
129
|
117
|
|
4967
|
2
|
2,55
|
97
|
90
|
82
|
75
|
89
|
78
|
|
4967
|
3
|
1,99
|
72
|
64
|
57
|
50
|
64
|
53
|
|
27
|
Кострома
|
Б
|
5528
|
1
|
3,33
|
134
|
127
|
120
|
112
|
126
|
115
|
|
4862
|
2
|
2,52
|
95
|
88
|
81
|
74
|
88
|
76
|
|
4862
|
3
|
1,97
|
71
|
63
|
56
|
49
|
63
|
52
|
|
28
|
Краснодар
|
А
|
2682
|
1
|
2,34
|
79
|
71
|
63
|
55
|
70
|
58
|
|
2384
|
2
|
1,72
|
52
|
44
|
36
|
28
|
43
|
39
|
|
2384
|
3
|
1,48
|
42
|
34
|
26
|
19
|
33
|
21
|
|
29
|
Красноярск
|
А
|
6575
|
1
|
3,70
|
139
|
131
|
124
|
116
|
130
|
118
|
|
5873
|
2
|
2,84
|
101
|
93
|
85
|
78
|
92
|
92
|
|
5873
|
3
|
2,17
|
73
|
65
|
57
|
49
|
64
|
52
|
|
30
|
Курган
|
А
|
см. Барнаул
|
|
31
|
Курск
|
Б
|
4435
|
1
|
2,95
|
116
|
109
|
102
|
94
|
108
|
97
|
|
4039
|
2
|
2,25
|
83
|
76
|
68
|
61
|
75
|
64
|
|
4039
|
3
|
1,81
|
63
|
56
|
48
|
41
|
55
|
44
|
|
32
|
Кызыл
|
А
|
7875
|
1
|
4,16
|
159
|
151
|
144
|
136
|
150
|
138
|
|
7425
|
2
|
3,34
|
123
|
115
|
107
|
100
|
114
|
115
|
|
7425
|
3
|
2,49
|
87
|
79
|
71
|
63
|
78
|
65
|
|
33
|
Липецк
|
А
|
4703
|
1
|
3,05
|
110
|
102
|
95
|
87
|
101
|
89
|
|
4301
|
2
|
2,34
|
79
|
71
|
63
|
55
|
70
|
68
|
|
4301
|
3
|
1,86
|
59
|
51
|
43
|
36
|
50
|
38
|
|
34
|
Магадан
|
Б
|
7805
|
1
|
4,13
|
172
|
165
|
157
|
150
|
164
|
153
|
|
7229
|
2
|
3,27
|
131
|
124
|
117
|
110
|
123
|
112
|
|
7229
|
3
|
2,45
|
93
|
86
|
79
|
71
|
85
|
74
|
|
35
|
Махачкала
|
А
|
2560
|
1
|
2,30
|
77
|
69
|
61
|
54
|
68
|
56
|
|
2264
|
2
|
1,68
|
50
|
42
|
34
|
27
|
41
|
37
|
|
2264
|
3
|
1,45
|
41
|
33
|
25
|
18
|
32
|
20
|
|
36
|
Москва
|
Б
|
5027
|
1
|
3,16
|
126
|
119
|
111
|
104
|
118
|
107
|
|
4601
|
2
|
2,43
|
91
|
84
|
77
|
70
|
84
|
72
|
|
4601
|
3
|
1,92
|
68
|
61
|
54
|
46
|
60
|
49
|
|
37
|
Мурманск
|
Б
|
6380
|
1
|
3,63
|
148
|
141
|
134
|
127
|
140
|
129
|
|
5830
|
2
|
2,83
|
110
|
103
|
96
|
88
|
102
|
91
|
|
5830
|
3
|
2,17
|
80
|
73
|
65
|
58
|
72
|
61
|
|
38
|
Нальчик
|
А
|
3259
|
1
|
2,54
|
88
|
80
|
72
|
64
|
79
|
67
|
|
2923
|
2
|
1,90
|
59
|
51
|
44
|
36
|
50
|
47
|
|
2923
|
3
|
1,58
|
47
|
39
|
31
|
23
|
38
|
25
|
|
39
|
Нижний Новгород
|
Б
|
см. Владимир
|
|
40
|
Новгород
|
Б
|
4928
|
1
|
3,12
|
124
|
117
|
110
|
103
|
116
|
105
|
|
4486
|
2
|
2,40
|
90
|
82
|
75
|
68
|
82
|
71
|
|
4486
|
3
|
1,90
|
67
|
60
|
53
|
45
|
59
|
48
|
|
41
|
Новосибирск
|
А
|
см. Кемерово
|
|
42
|
Омск
|
А
|
6497
|
1
|
3,67
|
138
|
130
|
122
|
115
|
129
|
117
|
|
5834
|
2
|
2,83
|
100
|
93
|
85
|
77
|
92
|
91
|
|
5834
|
3
|
2,17
|
72
|
65
|
57
|
49
|
64
|
51
|
|
43
|
Оренбург
|
А
|
5515
|
1
|
3,33
|
123
|
115
|
107
|
99
|
114
|
101
|
|
4909
|
2
|
2,53
|
87
|
80
|
72
|
64
|
78
|
77
|
|
4909
|
3
|
1,98
|
64
|
56
|
49
|
41
|
55
|
43
|
|
44
|
Орел
|
Б
|
4654
|
1
|
3,03
|
120
|
112
|
105
|
98
|
112
|
101
|
|
4244
|
2
|
2,32
|
86
|
79
|
72
|
64
|
78
|
67
|
|
4244
|
3
|
1,85
|
65
|
58
|
50
|
43
|
57
|
46
|
|
45
|
Пенза
|
А
|
5072
|
1
|
3,18
|
116
|
108
|
100
|
92
|
107
|
95
|
|
4658
|
2
|
2,45
|
84
|
76
|
68
|
60
|
75
|
73
|
|
4658
|
3
|
1,93
|
62
|
54
|
46
|
39
|
53
|
41
|
|
46
|
Пермь
|
Б
|
см. Вятка
|
|
47
|
Петропавловск-Камчатский
|
Б
|
см. Ижевск
|
|
48
|
Петрозаводск
|
Б
|
см. Вологда
|
|
49
|
Псков
|
Б
|
см. Курск
|
|
50
|
Ростов-на-Дону
|
А
|
3523
|
1
|
2,63
|
92
|
84
|
76
|
68
|
83
|
71
|
|
3181
|
2
|
1,98
|
63
|
55
|
47
|
40
|
54
|
51
|
|
3181
|
3
|
1,64
|
49
|
41
|
33
|
26
|
40
|
28
|
|
51
|
Рязань
|
Б
|
4888
|
1
|
3,11
|
124
|
116
|
109
|
102
|
116
|
105
|
|
4472
|
2
|
2,39
|
89
|
82
|
75
|
68
|
82
|
70
|
|
4472
|
3
|
1,89
|
67
|
60
|
52
|
45
|
59
|
48
|
|
52
|
Самара
|
Б
|
см. Кострома
|
|
53
|
Санкт-Петербург
|
Б
|
см. Орел
|
|
54
|
Саранск
|
А
|
см. Пенза
|
|
55
|
Саратов
|
А
|
4763
|
1
|
3,07
|
111
|
103
|
95
|
88
|
102
|
90
|
|
4371
|
2
|
2,36
|
80
|
72
|
64
|
56
|
71
|
69
|
|
4371
|
3
|
1,87
|
60
|
52
|
44
|
36
|
51
|
38
|
|
56
|
Салехард
|
Б
|
9461
|
1
|
4,71
|
199
|
192
|
185
|
178
|
192
|
180
|
|
8585
|
2
|
3,71
|
152
|
145
|
137
|
130
|
144
|
133
|
|
8585
|
3
|
2,72
|
106
|
99
|
91
|
84
|
98
|
87
|
|
57
|
Смоленск
|
Б
|
4816
|
1
|
3,09
|
122
|
115
|
108
|
101
|
115
|
103
|
|
4386
|
2
|
2,36
|
88
|
81
|
74
|
66
|
80
|
69
|
|
4386
|
3
|
1,88
|
66
|
59
|
52
|
44
|
58
|
47
|
|
58
|
Ставрополь
|
А
|
3209
|
1
|
2,52
|
87
|
79
|
71
|
64
|
78
|
66
|
|
2873
|
2
|
1,88
|
59
|
51
|
43
|
35
|
50
|
46
|
|
2873
|
3
|
1,57
|
46
|
38
|
31
|
23
|
37
|
25
|
|
59
|
Сыктывкар
|
Б
|
6566
|
1
|
3,70
|
151
|
144
|
137
|
130
|
144
|
132
|
|
5831
|
2
|
2,83
|
110
|
103
|
96
|
88
|
102
|
91
|
|
5831
|
3
|
2,17
|
80
|
73
|
65
|
58
|
72
|
61
|
|
60
|
Тамбов
|
А
|
4764
|
1
|
3,07
|
111
|
103
|
95
|
88
|
102
|
90
|
|
4362
|
2
|
2,36
|
80
|
72
|
64
|
56
|
71
|
69
|
|
4362
|
3
|
1,87
|
59
|
52
|
44
|
36
|
51
|
38
|
|
61
|
Тверь
|
Б
|
5014
|
1
|
3,15
|
126
|
118
|
111
|
104
|
118
|
107
|
|
4578
|
2
|
2,42
|
91
|
84
|
77
|
69
|
83
|
72
|
|
4578
|
3
|
1,92
|
68
|
61
|
53
|
46
|
60
|
49
|
|
62
|
Томск
|
Б
|
см. Благовещенск
|
|
63
|
Тула
|
Б
|
см. Новгород
|
|
64
|
Тюмень
|
А
|
см. Екатеринбург
|
|
65
|
Ульяновск
|
А
|
5597
|
1
|
3,36
|
124
|
116
|
108
|
101
|
115
|
103
|
|
4961
|
2
|
2,55
|
88
|
80
|
72
|
65
|
79
|
78
|
|
4961
|
3
|
1,99
|
65
|
57
|
49
|
41
|
56
|
43
|
|
66
|
Улан-Уде
|
А
|
7442
|
1
|
4,00
|
153
|
145
|
137
|
129
|
144
|
131
|
|
6731
|
2
|
3,11
|
113
|
105
|
98
|
90
|
104
|
105
|
|
6731
|
3
|
2,35
|
80
|
73
|
65
|
57
|
72
|
59
|
|
67
|
Уфа
|
А
|
5517
|
1
|
3,33
|
123
|
115
|
107
|
99
|
114
|
101
|
|
5091
|
2
|
2,59
|
90
|
82
|
74
|
67
|
81
|
80
|
|
5091
|
3
|
2,02
|
66
|
58
|
50
|
42
|
57
|
45
|
|
68
|
Хабаровск
|
Б
|
6393
|
1
|
3,64
|
148
|
141
|
134
|
127
|
141
|
129
|
|
5760
|
2
|
2,80
|
109
|
102
|
94
|
87
|
101
|
90
|
|
5760
|
3
|
2,15
|
79
|
72
|
65
|
57
|
71
|
60
|
|
69
|
Чебоксары
|
Б
|
5620
|
1
|
3,37
|
136
|
128
|
121
|
114
|
128
|
117
|
|
4969
|
2
|
2,55
|
97
|
90
|
83
|
75
|
89
|
78
|
|
4969
|
3
|
1,99
|
72
|
64
|
57
|
50
|
64
|
53
|
|
70
|
Челябинск
|
Б
|
5995
|
1
|
3,50
|
142
|
135
|
127
|
120
|
134
|
123
|
|
5341
|
2
|
2,67
|
103
|
95
|
88
|
81
|
95
|
84
|
|
5341
|
3
|
2,07
|
75
|
68
|
61
|
53
|
67
|
56
|
|
71
|
Чита
|
А
|
7841
|
1
|
4,14
|
159
|
151
|
143
|
135
|
150
|
137
|
|
7115
|
2
|
3,24
|
119
|
111
|
103
|
95
|
110
|
110
|
|
7115
|
3
|
2,42
|
84
|
76
|
68
|
60
|
75
|
63
|
|
72
|
Элиста
|
А
|
3668
|
1
|
2,68
|
94
|
86
|
79
|
71
|
85
|
73
|
|
3322
|
2
|
2,02
|
65
|
57
|
49
|
42
|
56
|
53
|
|
3322
|
3
|
1,66
|
50
|
42
|
35
|
27
|
41
|
29
|
|
73
|
Южно-Сахалинск
|
Б
|
см. Вологда
|
|
74
|
Якутск
|
А
|
10650
|
1
|
5,13
|
202
|
194
|
187
|
179
|
193
|
181
|
|
9882
|
2
|
4,12
|
158
|
150
|
142
|
134
|
149
|
152
|
|
9882
|
3
|
2,98
|
108
|
100
|
93
|
85
|
99
|
87
|
|
75
|
Ярославль
|
Б
|
см. Смоленск
|
Примечание. Толщина теплоизоляционного
слоя рассчитана для гладкой стены при коэффициенте теплотехнической
однородности 0,95.
Рис. 5.12.1. Утепление стен плитами марки «ТЕРМОВЕНТ»
в конструкции вентилируемого фасада с облицовкой плитным материалом с применением крепления по системе «ДИАТ»*.
______________
* Для крепления облицовки
применена система ДИАТ (поз. 4 - 6, 8 - 10).

1. Несущая
стена.
2. Плиты марки «ТЕРМОВЕНТ» (толщина теплоизоляционного
слоя по табл. 5.12.1).
3. Ветрозащита.
4. Кронштейн.
5. Направляющая (П-образная
прожилина).
6. Облицовка
(керамическая плитка, плиты из стеклофибробетона и т.д.).
7. Вентилируемый
зазор.
8. Дюбель.
9. Кляммер.
10.
Теплоизоляционная прокладка.
Рис. 5.12.2. Утепление стены здания плитами марки
«ТЕРМОВЕНТ» в конструкции вентилируемого
фасада с защитно-декоративной облицовкой
типа «siding» по металлической подоблицовочной конструкции.

1. Несущая
стена.
2. Плиты марки «ТЕРМОВЕНТ» (толщина теплоизоляционного
слоя по табл. 5.12.1).
3. Дюбель для
крепления утеплителя.
4. Кронштейн
каркаса.
5. Направляющая
каркаса.
6. Ветрозащита.
7. Облицовка
«siding».
Рис. 5.12.3. Вентилируемый фасад с применением плит
марки «ТЕРМОВЕНТ» с облицовкой
плитным материалом.
Горизонтальный шов.

1.
Подоблицовочная конструкция.
2. Плиты марки «ТЕРМОВЕНТ» (толщина теплоизоляционного
слоя по табл. 5.12.1).
3. Ветрозащита.
4. Анкер для
крепления подоблицовочной конструкции.
5. Облицовка
плитным материалом.
6. Винты
(шурупы) для крепления облицовки.
7. Планка
горизонтального шва.
8. Дюбель для
крепления утеплителя.
9.
Уплотнительная прокладка.
10.
Вентилируемый зазор.
11. Несущая
стена.
Рис. 5.12.4. Узел примыкания к парапету стены с
теплоизоляцией плитами марки «ТЕРМОВЕНТ»
в конструкции вентилируемого фасада.

1. Несущая
стена.
2. Плиты марки
«ТЕРМОВЕНТ».
3. Плиты марки
«ТЕРМОЛАЙТ», «ТЕРМОСТЕНА» или «ТЕРМОСТЕНА+».
4. Облицовка
плитным или листовым материалом.
5.
Подоблицовочная конструкция.
6. Ветрозащита.
7. Крепление
облицовки.
8. Анкер для крепления
подоблицовочной конструкции.
9. Вентилируемый
зазор.
10. Дюбель для
крепления утеплителя.
11. Опора
парапетного отлива.
12. Крепление
опоры парапетного отлива.
13. Отлив
парапета.
14. Прокладка
под облицовку.
Рис. 5.12.5. Вариант крепления деревянных стоек
подоблицовочной конструкции вентилируемого фасада к стене здания при утеплении
плитами марки «ТЕРМОВЕНТ» и
облицовкой плитным материалом.

1. Стойка из
деревянного бруса.
2. Плиты марки «ТЕРМОВЕНТ» (толщина теплоизоляционного
слоя по табл. 5.12.1).
3. Ветрозащита.
4. Анкер и скоба
для крепления стоек.
5. Облицовка
плитным материалом.
6. Винты
(шурупы) для крепления облицовки.
7. Планка
горизонтального шва.
8. Обрешетка
(бруски).
9. Шурупы или
болты для крепления стоек к скобе.
10. Несущая
стена.
Рис. 5.12.6. Вариант крепления облицовки плитным материалом к деревянному каркасу в
конструкции утепления стены
здания плитами марки «ТЕРМОВЕНТ» в конструкции
вентилируемого фасада.

1. Элементы
деревянного каркаса.
2. Плиты марки
«ТЕРМОВЕНТ».
3. Плиты марки
«ТЕРМОЛАЙТ+», «ТЕРМОСТЕНА», «ТЕРМОСТЕНА+».
4. Ветрозащита.
5. Облицовка
плитным материалом.
6. Винты для
крепления облицовки.
7. Вентилируемый
зазор.
8. Несущая
стена.
Рис. 5.12.7. Пример расчета влажностного режима
кирпичной стены, утепленной снаружи плитами «ТЕРМОВЕНТ» с вентилируемым зазором
и покрытием типа «сайдинг» (штукатурка - 20 мм, кирпич - 510 мм, утеплитель -
140 мм) для жилого дома в г. Мурманске.

|
г. Мурманск
|
Помещ.
|
Окт.
|
Нояб.
|
Дек.
|
Янв.
|
Февр.
|
Март
|
Апр.
|
Май
|
Июнь
|
Июль
|
Авг.
|
Сент.
|
|
Температура ºС
|
20,0
|
0,7
|
-4,2
|
-7,8
|
-10,5
|
10,8
|
-6,9
|
-1,6
|
3,4
|
9,3
|
12,6
|
11,3
|
6,6
|
|
Отн. влажность %
|
55,0
|
64,0
|
85,0
|
85,0
|
85,0
|
84,0
|
79,0
|
74,0
|
70,0
|
69,0
|
73,0
|
78,0
|
81,0
|
|
Объем конденс. кг/м2
|
0,00
|
0,00
|
0,00
|
0,00
|
0,00
|
0,00
|
0,00
|
0,00
|
0,00
|
0,00
|
0,00
|
0,00
|
0,00
|
Рис. 5.12.7 (продолжение). Результаты расчета
влажностного режима наиболее холодного месяца - февраля

|
Материал слоя
|
Толщина мм
|
Температура слоя ºС
|
Отн. влажность воздуха %
|
Отн. влажность материала %
|
|
штукатурка
|
0,020
|
18,45
|
56,51
|
1,08
|
|
керамзитобетон
|
0,380
|
12,07
|
19,35
|
1,47
|
|
МинВата
|
0,120
|
-11,77
|
100,00
|
0,60
|
|
кирпич
|
0,125
|
-13,12
|
91,51
|
0,39
|
|
|
|
|
|
|
|
|
|
|
|
|
|
|
|
Зона конденсации
|
Уд. кол-во конденсата (г/м2 ч)
|
1,371
|
Начало (м)
|
0,520
|
Конец (м)
|
0,520
|
Рис. 5.12.8. Пример расчета влажностного режима стены
из керамзитобетона, утепленной снаружи плитами «ТЕРМОВЕНТ» с вентилируемым
зазором и покрытием типа «сайдинг» (штукатурка - 20 мм, керамзитобетон - 380
мм, утеплитель - 120 мм) для жилого дома в г. Омске.

|
г. Омск
|
Помещ.
|
Окт.
|
Нояб.
|
Дек.
|
Янв.
|
Февр.
|
Март
|
Апр.
|
Май
|
Июнь
|
Июль
|
Авг.
|
Сент.
|
|
Температура ºС
|
20,0
|
1,9
|
-8,5
|
-16,0
|
-19,0
|
-17,6
|
-10,2
|
2,8
|
11,4
|
17,1
|
18,9
|
15,8
|
10,6
|
|
Отн. влажность %
|
55,0
|
76,0
|
83,0
|
82,0
|
82,0
|
81,0
|
82,0
|
71,0
|
56,0
|
59,0
|
67,0
|
70,0
|
70,0
|
|
Объем конденс. кг/м2
|
0,00
|
0,00
|
0,00
|
0,00
|
0,00
|
0,00
|
0,00
|
0,00
|
0,00
|
0,00
|
0,00
|
0,00
|
0,00
|
Рис. 5.12.8 (продолжение). Результаты расчета
влажностного режима наиболее холодного месяца - января

|
Материал слоя
|
Толщина мм
|
Температура слоя ºС
|
Отн. влажность воздуха %
|
Отн. влажность материала %
|
|
штукатурка
|
0,020
|
18,29
|
57,60
|
1,09
|
|
керамзитобетон
|
0,510
|
9,10
|
13,74
|
1,19
|
|
МинВата
|
0,130
|
-18,59
|
94,32
|
0,36
|
|
|
|
|
|
|
|
|
|
|
|
|
|
|
|
Зона конденсации
|
Уд. кол-во конденсата (г/м2 ч)
|
0,000
|
Начало (м)
|
0,000
|
Конец (м)
|
0,000
|
Рис. 5.12.9. Пример расчета влажностного режима стены
из керамзитобетона, утепленной снаружи плитами «ТЕРМОВЕНТ» с вентилируемым
зазором и покрытием типа «сайдинг» (штукатурка - 20 мм, керамзитобетон - 380
мм, утеплитель - 130 мм) для жилого дома в г. Челябинске.

|
г. Челябинск
|
Помещ.
|
Окт.
|
Нояб.
|
Дек.
|
Янв.
|
Февр.
|
Март
|
Апр.
|
Май
|
Июнь
|
Июль
|
Авг.
|
Сент.
|
|
Температура ºС
|
20,0
|
2,2
|
-6,7
|
-13,5
|
-16,4
|
-14,1
|
-8,4
|
2,7
|
11,4
|
16,7
|
18,1
|
16,0
|
10,2
|
|
Отн. влажность %
|
55,0
|
74,0
|
80,0
|
82,0
|
80,0
|
79,0
|
79,0
|
70,0
|
57,0
|
58,0
|
65,0
|
66,0
|
68,0
|
|
Объем конденс. кг/м2
|
0,00
|
0,00
|
0,00
|
0,00
|
0,00
|
0,00
|
0,00
|
0,00
|
0,00
|
0,00
|
0,00
|
0,00
|
0,00
|
Рис. 5.12.9 (продолжение). Результаты расчета
влажностного режима наиболее холодного месяца - января

|
Материал слоя
|
Толщина мм
|
Температура слоя ºС
|
Отн. влажность воздуха %
|
Отн. влажность материала %
|
|
штукатурка
|
0,020
|
18,33
|
56,34
|
1,08
|
|
керамзитобетон
|
0,380
|
11,41
|
14,69
|
1,23
|
|
Мин. Вата
|
0,130
|
-15,93
|
92,06
|
0,27
|
|
|
|
|
|
|
|
|
|
|
|
|
|
|
|
Зона конденсации
|
Уд. кол-во конденсата (г/м2 ч)
|
0,000
|
Начало (м)
|
0,000
|
Конец (м)
|
0,000
|
5.13.1. Тепловая изоляция покрытий и
чердачных перекрытий зданий позволяет обеспечить благоприятный микроклимат в
помещениях за счет повышения температуры внутренней поверхности покрытия
(потолка) и уменьшения перепада температур внутреннего воздуха и поверхности
потолка, в том числе и в чердачных помещениях.
Утепление скатных крыш позволяет
превратить чердачное помещение в жилое, что увеличивает полезную площадь жилья,
а утепление кровли из металлического профилированного настила предотвращает
выпадение конденсата на его поверхности в холодное время года и перегрев
помещения летом.
5.13.2. В качестве основания без
устройства цементной стяжки под рулонную, наплавляемую и мастичную кровлю в
конструкциях покрытий с рулонными и мастичными кровлями по СНиП-26-76*
«Кровли» рекомендуется применять только гидрофобизированные теплоизоляционные
плиты «ТЕРМО» марок:
- «ТЕРМОКРОВЛЯ» или «ТЕРМОКРОВЛЯ В» и
«ТЕРМОКРОВЛЯ В+» в однослойных конструкциях утепления покрытий (рис. 5.13.1
- 5.13.5);
- «ТЕРМОКРОВЛЯ Н» в качестве нижнего слоя
с последующей установкой плит марки «ТЕРМОКРОВЛЯ В» или «ТЕРМОКРОВЛЯ В+» в
качестве верхнего слоя;
- «ТЕРМОПОЛ» в качестве нижнего слоя с
последующей установкой плит марки «ТЕРМОКРОВЛЯ В» или «ТЕРМОКРОВЛЯ В+» в
качестве верхнего слоя (рис. 5.13.6 - 5.13.8).
При двухслойной изоляции при изоляции
плитами марки «ТЕРМОКРОВЛЯ» в качестве верхнего слоя рекомендуется использовать
плиты марки «ТЕРМОКРОВЛЯ В» или «ТЕРМОКРОВЛЯ В+».
При однослойной изоляции покрытий и
перекрытий с устройством цементной стяжки могут быть использованы плиты марок
«ТЕРМОКРОВЛЯ Н», «ТЕРМОКРОВЛЯ», «ТЕРМОПОЛ» (рис. 5.13.1.).
При устройстве тепловой изоляции в два
слоя, второй слой плит укладывается с перекрытием швов первого (нижнего) слоя.
Между собой плиты рекомендуется склеивать битумом или битумными мастиками.
5.13.3. В покрытиях с кровлей и
основанием из профилированного металлического настила при отсутствии нагрузки
на теплоизоляцию могут быть использованы плиты марок «ТЕРМОЛАЙТ+»,
«ТЕРМОСТЕНА», «ТЕРМОСТЕНА+» или «ТЕРМОВЕНТ». Применение плит с большей
плотностью увеличивает долговечность конструкции (рис. 5.13.9 и 5.13.10).
Швы нижнего профилированного настила
должны быть герметизированы. По нижнему настилу предусматривается
пароизоляционный слой из полиэтиленовой пленки или другого пароизоляционного
материала. Теплоизоляционные плиты наклеиваются на пароизоляционный слой или
закрепляются механически.
Если нагрузка от профилированного листа
может передаваться на теплоизоляционный материал рекомендуется использовать плиты
«ТЕРМОКРОВЛЯ Н», «ТЕРМОПОЛ», «ТЕРМОСЭНДВИЧ К» или «ТЕРМОКРОВЛЯ» с учетом
допустимой нагрузки не более 20 - 40 кПа в зависимости от применяемой марки
плит.
5.13.4. Для утепления скатных крыш с
кровлями из металлических листов, металлочерепицы, асбестоцементных волокнистых
листов, черепицы и др. листовых и штучных кровельных материалов рекомендуется
использовать плиты марок «ТЕРМОЛАЙТ», «ТЕРМОЛАЙТ+», «ТЕРМОСТЕНА» и
«ТЕРМОСТЕНА+». (Рис. 5.13.11).
При двухслойной изоляции скатных крыш в
качестве наружного слоя, обращенного к вентилируемому пространству могут быть
использованы плиты марки «ТЕРМОВЕНТ».
В подкровельное пространство следует
устанавливать подкровельные водонепроницаемые диффузионные пленки, пропускающие
пары воды. Установка паронепроницаемых материалов не допускается.
5.13.5. Для утепления чердачных
перекрытий и перекрытий над техподпольем и сквозными проездами рекомендуется
применять плиты марок «ТЕРМОЛАЙТ», «ТЕРМОЛАЙТ+», «ТЕРМОСТЕНА» и «ТЕРМОСТЕНА+»,
с устройством ходовых мостиков или пола по несущим лагам. Применение плиты
«ТЕРМОВЕНТ» увеличит стоимость конструкции, но повысит её долговечность и
надежность.
Для утепления перекрытий полупроходного
чердака и перекрытий над техподпольем, для теплозвукоизоляции междуэтажных
перекрытий с устройством цементной стяжки (или под наливной пол) могут
применяться плиты марок «ТЕРМОПОЛ», «ТЕРМОКРОВЛЯ» и «ТЕРМОКРОВЛЯ В». При
теплозвукоизоляции междуэтажных перекрытий пароизоляционный слой не
устанавливается.
5.13.6. В конструкциях чердачных
перекрытий холодного чердака утеплитель укладывается поверх перекрытия между
элементами несущего каркаса деревянного настила, предохраняющего утеплитель от
внешних механических воздействий (рис. 5.13.12).
При использовании плит «ТЕРМОПОЛ»,
«ТЕРМОКРОВЛЯ» и «ТЕРМОКРОВЛЯ В», в том числе с верхним слоем из плит марки
«ТЕРМОКРОВЛЯ В+», может быть выполнена песчано-цементная стяжка, предохраняющая
теплоизоляционный материал от внешних воздействий и выветривания (рис. 5.13.3).
5.13.7. В утепленных покрытиях и
перекрытиях холодного чердака установка пароизоляционного слоя между основанием
и внутренней поверхностью утеплителя является обязательной. Пароизоляционный
слой должен быть герметичным. Пароизоляционный слой предотвращает диффузию пара
из помещения к холодной наружной поверхности, теплоизоляцию от увлажнения.
В утепленных перекрытиях над холодным
подвалом или сквозным проездом пароизоляционный слой устанавливается под полом
поверх теплоизоляционного слоя (рис. 5.13.14 и 5.13.15).
Требуемое сопротивление паропроницанию
пароизоляционного слоя определяется в соответствии с рекомендациями СНиП
23-02-2003 «Тепловая защита зданий» и СП 23-101-2000 «Проектирование
тепловой защиты зданий» с учетом направления теплового потока «снизу-вверх»,
сопротивления паропроницанию отдельных слоев покрытия и параметров среды
(наружных и внутренних) на основании результатов расчета влажностного режима
конструкции.
5.13.8. В случае необходимости установки
дополнительной пароизоляции могут быть использованы пароизоляционные пленки
фирмы «JUTA» (паронепроницаемые пленки ЮТАФОЛ-Н-110,
ЮТАФОЛ-Н-140, ЮТАФОЛ-Н-220 или пленки «Monarflex»,
зависимости от требуемого сопротивления паропроницанию) или отечественные
пароизоляционные материалы.
5.4.9. Расчетная толщина нижнего слоя
тепловой изоляции из плит марок «ТЕРМОКРОВЛЯ Н», «ТЕРМОПОЛ» и «ТЕРМОКРОВЛЯ» в
качестве нижнего слоя в двухслойной конструкции утепления с верхним слоем из
плит «ТЕРМОКРОВЛЯ В+» толщиной 20 мм для совмещенного покрытия из
железобетонной плиты толщиной 100 мм или многопустотного настила толщиной 250
мм с кровлей из наплавляемых рулонных материалов приведена в таблицах 5.13.1
и 5.13.2.
Расчетная толщина тепловой изоляции из
плит марки «ТЕРМОКРОВЛЯ» в конструкции утепления совмещенного покрытия из
железобетонной плиты толщиной 100 мм или многопустотного настила толщиной 250
мм с кровлей из наплавляемых рулонных материалов без устройства цементной
стяжки для различных регионов России приведена в таблице 5.13.3.
В расчетах принят коэффициент
теплотехнической однородности теплоизоляционной конструкции 0,95, учитывающий
возможность механического крепления плит и кровельного покрытия.
5.9.10. Расчетная толщина
теплоизоляционного слоя из плит марок «ТЕРМОЛАЙТ», «ТЕРМОСТЕНА», «ТЕРМОСТЕНА+»
и «ТЕРМОВЕНТ» в конструкциях утепления скатных крыш для различных регионов
России приведена в таблице 5.13.4.
В расчетах принят коэффициент
теплотехнической однородности 0,9.
5.13.11. Расчетная толщина тепловой
изоляции из плит марок «ТЕРМОЛАЙТ», «ТЕРМОСТЕНА», «ТЕРМОСТЕНА+» и «ТЕРМОВЕНТ» в
конструкции утепления покрытия из стального профилированного настила с
металлической кровлей приведена в таблице 5.13.5.
В расчетах принят коэффициент
теплотехнической однородности 0,75.
5.13.12. Расчетная толщина тепловой
изоляции из плит марки «ТЕРМОКРОВЛЯ Н», «ТЕРМОПОЛ», «ТЕРМОСЭНДВИЧ К» и
«ТЕРМОКРОВЛЯ» и «ТЕРМОКРОВЛЯ В» с верхним слоем из плит марки «ТЕРМОКРОВЛЯ В+»
толщиной 20 мм в конструкции утепления покрытия из стального профилированного
настила с рулонной кровлей приведена в таблице 5.13.6.
В расчетах принят коэффициент
теплотехнической однородности теплоизоляционной конструкции 0,95, учитывающий
влияние крепежных элементов в случае механического крепления рулонной кровли.
5.13.13. Расчетная толщина
теплоизоляционного слоя из плит марки «ТЕРМО» в конструкциях утепления
чердачных перекрытий холодного чердака из многопустотного настила или сплошной
железобетонной плиты с устройством пола, ходовых мостиков или цементной стяжки
приведены в таблицах 5.13.7 - 5.13.9. Расчетный
коэффициент теплотехнической однородности указан в примечании к таблицам.
5.13.14. Расчетная толщина теплоизоляционного слоя из плит
марки «ТЕРМО» в конструкциях утепления перекрытий над неутепленным подвалом
(техподпольем) из многопустотного настила или сплошной железобетонной плиты в
таблицах 5.13.10
- 5.13.12.
Расчетный коэффициент теплотехнической однородности указан в примечании к
таблицам.
5.13.15. При других коэффициентах однородности конструкции
покрытий и перекрытий толщина тепловой изоляции из плит марки «ТЕРМО» должна
быть скорректирована.
Таблица 5.13.1. Расчетная толщина тепловой изоляции из плит марки
«ТЕРМОКРОВЛЯ Н», «ТЕРМОПОЛ», «ТЕРМОКРОВЛЯ» в качестве нижнего
теплоизоляционного слоя в конструкции утепления совмещенного покрытия из
железобетонной плиты толщиной 100 мм. Верхний слой из плит «ТЕРМОКРОВЛЯ В+»
толщиной 20 мм. Рулонная кровля без цементной стяжки.
|
№ п/п
|
Город РФ
|
Условия эксплуатации
|
Dd, ºС·сут
|
Тип помещения
|
R0тр,
(м2·ºС)/Вт
|
Плиты марки
|
|
ТЕРМОКРОВЛЯ Н
|
ТЕРМОПОЛ
|
ТЕРМОКРОВЛЯ
|
|
1
|
2
|
3
|
4
|
5
|
6
|
7
|
8
|
9
|
|
1
|
Архангельск
|
Б
|
6426
|
1
|
5,41
|
231
|
236
|
242
|
|
5667
|
2
|
3,87
|
157
|
160
|
163
|
|
5667
|
3
|
2,92
|
111
|
113
|
115
|
|
2
|
Астрахань
|
А
|
3540
|
1
|
3,97
|
149
|
153
|
156
|
|
3206
|
2
|
2,88
|
100
|
103
|
105
|
|
3206
|
3
|
2,30
|
74
|
76
|
77
|
|
3
|
Анадырь
|
Б
|
9797
|
1
|
7,10
|
313
|
320
|
327
|
|
8864
|
2
|
5,15
|
218
|
223
|
228
|
|
8864
|
3
|
3,72
|
149
|
153
|
156
|
|
4
|
Барнаул
|
А
|
6343
|
1
|
5,37
|
213
|
218
|
223
|
|
5680
|
2
|
3,87
|
145
|
148
|
152
|
|
5680
|
3
|
2,92
|
102
|
104
|
107
|
|
5
|
Белгород
|
А
|
4183
|
1
|
4,29
|
164
|
168
|
172
|
|
3801
|
2
|
3,12
|
111
|
114
|
116
|
|
3801
|
3
|
2,45
|
81
|
83
|
84
|
|
6
|
Благовещенск
|
Б
|
6889
|
1
|
5,64
|
243
|
248
|
253
|
|
6235
|
2
|
4,09
|
168
|
171
|
175
|
|
6235
|
3
|
3,06
|
117
|
120
|
123
|
|
7
|
Брянск
|
Б
|
4572
|
1
|
4,49
|
187
|
191
|
195
|
|
4162
|
2
|
3,26
|
127
|
130
|
133
|
|
4162
|
3
|
2,54
|
92
|
94
|
96
|
|
8
|
Братск
|
А
|
7370
|
1
|
5,89
|
236
|
242
|
247
|
|
6623
|
2
|
4,25
|
162
|
166
|
170
|
|
6623
|
3
|
3,16
|
113
|
115
|
118
|
|
9
|
Волгоград
|
А
|
3952
|
1
|
4,18
|
159
|
162
|
166
|
|
3596
|
2
|
3,04
|
107
|
110
|
112
|
|
3596
|
3
|
2,40
|
78
|
80
|
82
|
|
10
|
Вологда
|
Б
|
5798
|
1
|
5,10
|
216
|
221
|
226
|
|
5105
|
2
|
3,64
|
146
|
149
|
152
|
|
5105
|
3
|
2,78
|
104
|
106
|
108
|
|
11
|
Воронеж
|
А
|
4528
|
1
|
4,46
|
172
|
176
|
180
|
|
4136
|
2
|
3,25
|
117
|
120
|
122
|
|
4136
|
3
|
2,53
|
84
|
86
|
88
|
|
12
|
Владимир
|
Б
|
5006
|
1
|
4,70
|
197
|
201
|
206
|
|
4580
|
2
|
3,43
|
136
|
138
|
141
|
|
4154
|
3
|
2,54
|
92
|
94
|
96
|
|
13
|
Владивосток
|
Б
|
4684
|
1
|
4,54
|
189
|
193
|
198
|
|
4292
|
2
|
3,32
|
130
|
133
|
136
|
|
4292
|
3
|
2,57
|
94
|
96
|
98
|
|
14
|
Владикавказ
|
А
|
3410
|
1
|
3,91
|
146
|
150
|
153
|
|
3062
|
2
|
2,82
|
98
|
100
|
102
|
|
3062
|
3
|
2,27
|
72
|
74
|
76
|
|
15
|
Грозный
|
А
|
3056
|
1
|
3,73
|
138
|
142
|
145
|
|
2736
|
2
|
2,69
|
92
|
94
|
96
|
|
2736
|
3
|
2,18
|
69
|
70
|
72
|
|
16
|
Екатеринбург
|
А
|
6210
|
1
|
5,31
|
210
|
215
|
220
|
|
5520
|
2
|
3,81
|
142
|
145
|
149
|
|
5520
|
3
|
2,88
|
100
|
102
|
105
|
|
17
|
Иваново
|
Б
|
см. Владимир
|
|
18
|
Игарка
|
Б
|
10575
|
1
|
7,49
|
332
|
339
|
346
|
|
9666
|
2
|
5,47
|
234
|
239
|
244
|
|
9666
|
3
|
3,92
|
159
|
162
|
166
|
|
19
|
Иркутск
|
А
|
7080
|
1
|
5,74
|
230
|
235
|
240
|
|
6360
|
2
|
4,14
|
157
|
161
|
165
|
|
6360
|
3
|
3,09
|
110
|
112
|
115
|
|
20
|
Ижевск
|
Б
|
5905
|
1
|
5,15
|
219
|
224
|
228
|
|
5239
|
2
|
3,70
|
148
|
152
|
155
|
|
5239
|
3
|
2,81
|
105
|
108
|
110
|
|
21
|
Йошкар-Ола
|
Б
|
5742
|
1
|
5,07
|
215
|
220
|
224
|
|
5082
|
2
|
3,63
|
145
|
148
|
152
|
|
5082
|
3
|
2,77
|
104
|
106
|
108
|
|
22
|
Казань
|
Б
|
см. Вологда
|
|
23
|
Калининград
|
Б
|
3648
|
1
|
4,02
|
164
|
168
|
171
|
|
3262
|
2
|
2,90
|
110
|
112
|
115
|
|
3262
|
3
|
2,32
|
81
|
83
|
85
|
|
24
|
Калуга
|
Б
|
см. Bладивосток
|
|
25
|
Кемерово
|
А
|
6537
|
1
|
5,47
|
217
|
222
|
227
|
|
6075
|
2
|
4,03
|
152
|
156
|
159
|
|
6075
|
3
|
3,02
|
106
|
109
|
111
|
|
26
|
Вятка
|
Б
|
5660
|
1
|
5,03
|
213
|
218
|
222
|
|
4967
|
2
|
3,59
|
143
|
146
|
149
|
|
4967
|
3
|
2,74
|
102
|
104
|
107
|
|
27
|
Кострома
|
Б
|
5528
|
1
|
4,96
|
210
|
214
|
219
|
|
4862
|
2
|
3,54
|
141
|
144
|
147
|
|
4862
|
3
|
2,72
|
101
|
103
|
105
|
|
28
|
Краснодар
|
А
|
2682
|
1
|
3,54
|
130
|
133
|
136
|
|
2384
|
2
|
2,55
|
85
|
87
|
89
|
|
2384
|
3
|
2,10
|
65
|
66
|
68
|
|
29
|
Красноярск
|
А
|
6575
|
1
|
5,49
|
218
|
223
|
228
|
|
5873
|
2
|
3,95
|
148
|
152
|
155
|
|
5873
|
3
|
2,97
|
104
|
107
|
109
|
|
30
|
Курган
|
А
|
см. Барнаул
|
|
31
|
Курск
|
Б
|
4435
|
1
|
4,42
|
183
|
187
|
191
|
|
4039
|
2
|
3,22
|
125
|
128
|
130
|
|
4039
|
3
|
2,51
|
91
|
93
|
95
|
|
32
|
Кызыл
|
А
|
7875
|
1
|
6,14
|
248
|
253
|
259
|
|
7425
|
2
|
4,57
|
177
|
181
|
185
|
|
7425
|
3
|
3,36
|
122
|
124
|
127
|
|
33
|
Липецк
|
А
|
4703
|
1
|
4,55
|
176
|
180
|
184
|
|
4301
|
2
|
3,32
|
120
|
123
|
126
|
|
4301
|
3
|
2,58
|
86
|
88
|
90
|
|
34
|
Магадан
|
Б
|
7805
|
1
|
6,10
|
265
|
271
|
276
|
|
7229
|
2
|
4,49
|
187
|
191
|
195
|
|
7229
|
3
|
3,31
|
129
|
132
|
135
|
|
35
|
Махачкала
|
А
|
2560
|
1
|
3,48
|
127
|
130
|
133
|
|
2264
|
2
|
2,51
|
83
|
85
|
87
|
|
2264
|
3
|
2,07
|
63
|
65
|
66
|
|
36
|
Москва
|
Б
|
5027
|
1
|
4,71
|
198
|
202
|
206
|
|
4601
|
2
|
3,44
|
136
|
139
|
142
|
|
4601
|
3
|
2,65
|
98
|
100
|
102
|
|
37
|
Мурманск
|
Б
|
6380
|
1
|
5,39
|
230
|
235
|
240
|
|
5830
|
2
|
3,93
|
160
|
163
|
167
|
|
5830
|
3
|
2,96
|
113
|
115
|
117
|
|
38
|
Нальчик
|
А
|
3259
|
1
|
3,83
|
143
|
146
|
150
|
|
2923
|
2
|
2,77
|
95
|
97
|
99
|
|
2923
|
3
|
2,23
|
71
|
72
|
74
|
|
39
|
Нижний Новгород
|
Б
|
см. Владимир
|
|
40
|
Новгород
|
Б
|
4928
|
1
|
4,66
|
195
|
199
|
204
|
|
4486
|
2
|
3,39
|
134
|
137
|
140
|
|
4486
|
3
|
2,62
|
96
|
98
|
100
|
|
41
|
Новосибирск
|
А
|
см. Кемерово
|
|
42
|
Омск
|
А
|
6497
|
1
|
5,45
|
216
|
221
|
226
|
|
5834
|
2
|
3,93
|
148
|
151
|
155
|
|
5834
|
3
|
2,96
|
104
|
106
|
108
|
|
43
|
Оренбург
|
А
|
5515
|
1
|
4,96
|
194
|
199
|
203
|
|
4909
|
2
|
3,56
|
131
|
134
|
137
|
|
4909
|
3
|
2,73
|
93
|
95
|
97
|
|
44
|
Орел
|
Б
|
4654
|
1
|
4,53
|
189
|
193
|
197
|
|
4244
|
2
|
3,30
|
129
|
132
|
135
|
|
4244
|
3
|
2,56
|
93
|
95
|
97
|
|
45
|
Пенза
|
А
|
5072
|
1
|
4,74
|
184
|
188
|
193
|
|
4658
|
2
|
3,46
|
126
|
129
|
132
|
|
4658
|
3
|
2,66
|
90
|
92
|
95
|
|
46
|
Пермь
|
Б
|
см. Вятка
|
|
47
|
Петропавловск-Камчатский
|
Б
|
см. Ижевск
|
|
48
|
Петрозаводск
|
Б
|
см. Вологда
|
|
49
|
Псков
|
Б
|
см. Курск
|
|
50
|
Ростов-на-Дону
|
А
|
3523
|
1
|
3,96
|
149
|
152
|
156
|
|
3181
|
2
|
2,87
|
100
|
102
|
104
|
|
3181
|
3
|
2,30
|
74
|
75
|
77
|
|
51
|
Рязань
|
Б
|
4888
|
1
|
4,64
|
194
|
198
|
203
|
|
4472
|
2
|
3,39
|
133
|
136
|
139
|
|
4472
|
3
|
2,62
|
96
|
98
|
100
|
|
52
|
Самара
|
Б
|
см. Кострома
|
|
53
|
Санкт-Петербург
|
Б
|
см. Орел
|
|
54
|
Саранск
|
А
|
см. Пенза
|
|
55
|
Саратов
|
А
|
4763
|
1
|
4,58
|
177
|
181
|
185
|
|
4371
|
2
|
3,35
|
121
|
124
|
127
|
|
4371
|
3
|
2,59
|
87
|
89
|
91
|
|
56
|
Салехард
|
Б
|
9461
|
1
|
6,93
|
305
|
312
|
318
|
|
8585
|
2
|
5,03
|
213
|
218
|
222
|
|
8585
|
3
|
3,65
|
146
|
149
|
152
|
|
57
|
Смоленск
|
Б
|
4816
|
1
|
4,61
|
192
|
197
|
201
|
|
4386
|
2
|
3,35
|
132
|
135
|
138
|
|
4386
|
3
|
2,60
|
95
|
97
|
99
|
|
58
|
Ставрополь
|
А
|
3209
|
1
|
3,80
|
142
|
145
|
149
|
|
2873
|
2
|
2,75
|
94
|
96
|
99
|
|
2873
|
3
|
2,22
|
70
|
72
|
73
|
|
59
|
Сыктывкар
|
Б
|
6566
|
1
|
5,48
|
235
|
240
|
245
|
|
5831
|
2
|
3,93
|
160
|
163
|
167
|
|
5831
|
3
|
2,96
|
113
|
115
|
117
|
|
60
|
Тамбов
|
А
|
4764
|
1
|
4,58
|
177
|
181
|
185
|
|
4362
|
2
|
3,34
|
121
|
124
|
127
|
|
4362
|
3
|
2,59
|
87
|
89
|
91
|
|
61
|
Тверь
|
Б
|
5014
|
1
|
4,71
|
197
|
202
|
206
|
|
4578
|
2
|
3,43
|
135
|
138
|
141
|
|
4578
|
3
|
2,64
|
97
|
100
|
102
|
|
62
|
Томск
|
Б
|
см. Благовещенск
|
|
63
|
Тула
|
Б
|
см. Новгород
|
|
64
|
Тюмень
|
А
|
см. Екатеринбург
|
|
65
|
Ульяновск
|
А
|
5597
|
1
|
5,00
|
196
|
201
|
205
|
|
4961
|
2
|
3,58
|
132
|
135
|
138
|
|
4961
|
3
|
2,74
|
94
|
96
|
98
|
|
66
|
Улан-Уде
|
А
|
7442
|
1
|
5,92
|
238
|
243
|
249
|
|
6731
|
2
|
4,29
|
164
|
168
|
172
|
|
6731
|
3
|
3,18
|
114
|
116
|
119
|
|
67
|
Уфа
|
А
|
5517
|
1
|
4,96
|
194
|
199
|
203
|
|
5091
|
2
|
3,64
|
134
|
137
|
141
|
|
5091
|
3
|
2,77
|
95
|
97
|
100
|
|
68
|
Хабаровск
|
Б
|
6393
|
1
|
5,40
|
231
|
236
|
241
|
|
5760
|
2
|
3,90
|
158
|
162
|
165
|
|
5760
|
3
|
2,94
|
112
|
114
|
117
|
|
69
|
Чебоксары
|
Б
|
5620
|
1
|
5,01
|
212
|
217
|
221
|
|
4969
|
2
|
3,59
|
143
|
146
|
149
|
|
4969
|
3
|
2,74
|
102
|
104
|
107
|
|
70
|
Челябинск
|
Б
|
5995
|
1
|
5,20
|
221
|
226
|
231
|
|
5341
|
2
|
3,74
|
150
|
154
|
157
|
|
5341
|
3
|
2,84
|
107
|
109
|
111
|
|
71
|
Чита
|
А
|
7841
|
1
|
6,12
|
247
|
252
|
258
|
|
7115
|
2
|
4,45
|
171
|
175
|
179
|
|
7115
|
3
|
3,28
|
118
|
121
|
124
|
|
72
|
Элиста
|
А
|
3668
|
1
|
4,03
|
152
|
156
|
159
|
|
3322
|
2
|
2,93
|
102
|
105
|
107
|
|
3322
|
3
|
2,33
|
75
|
77
|
79
|
|
73
|
Южно-Сахалинск
|
Б
|
см. Вологда
|
|
74
|
Якутск
|
А
|
10650
|
1
|
7,52
|
310
|
318
|
325
|
|
9882
|
2
|
5,55
|
221
|
226
|
231
|
|
9882
|
3
|
3,97
|
149
|
153
|
156
|
|
75
|
Ярославль
|
Б
|
см. Смоленск
|
Примечание: В расчете принят
коэффициент теплотехнической однородности - 0,95.
Таблица 5.13.2. Расчетная толщина
тепловой изоляции из плит марки «ТЕРМОКРОВЛЯ Н», «ТЕРМОПОЛ», «ТЕРМОКРОВЛЯ» в
качестве нижнего теплоизоляционного слоя в конструкции утепления совмещенного
покрытия из многопустотного настила толщиной 250 мм. Верхний слой из плит
«ТЕРМОКРОВЛЯ В+ толщиной 20 мм. Рулонная кровля без цементной стяжки.
|
№ п/п
|
Город РФ
|
Условия эксплуатации
|
Dd, ºС·сут
|
Тип помещения
|
R0тр,
(м2·ºС)/Вт
|
Плиты марки
|
|
ТЕРМОКРОВЛЯ Н
|
ТЕРМОПОЛ
|
ТЕРМОКРОВЛЯ
|
|
1
|
2
|
3
|
4
|
5
|
6
|
7
|
8
|
9
|
|
1
|
Архангельск
|
Б
|
6426
|
1
|
5,41
|
226
|
231
|
236
|
|
5667
|
2
|
3,87
|
151
|
155
|
158
|
|
5667
|
3
|
2,92
|
105
|
108
|
110
|
|
2
|
Астрахань
|
А
|
3540
|
1
|
3,97
|
144
|
148
|
151
|
|
3206
|
2
|
2,88
|
95
|
97
|
100
|
|
3206
|
3
|
2,30
|
69
|
70
|
72
|
|
3
|
Анадырь
|
Б
|
9797
|
1
|
7,10
|
308
|
314
|
321
|
|
8864
|
2
|
5,15
|
213
|
218
|
222
|
|
8864
|
3
|
3,72
|
144
|
147
|
150
|
|
4
|
Барнаул
|
А
|
6343
|
1
|
5,37
|
208
|
213
|
217
|
|
5680
|
2
|
3,87
|
140
|
143
|
146
|
|
5680
|
3
|
2,92
|
97
|
99
|
101
|
|
5
|
Белгород
|
А
|
4183
|
1
|
4,29
|
159
|
163
|
166
|
|
3801
|
2
|
3,12
|
106
|
108
|
111
|
|
3801
|
3
|
2,45
|
76
|
77
|
79
|
|
6
|
Благовещенск
|
Б
|
6889
|
1
|
5,64
|
237
|
242
|
248
|
|
6235
|
2
|
4,09
|
162
|
166
|
169
|
|
6235
|
3
|
3,06
|
112
|
115
|
117
|
|
7
|
Брянск
|
Б
|
4572
|
1
|
4,49
|
181
|
185
|
189
|
|
4162
|
2
|
3,26
|
122
|
125
|
127
|
|
4162
|
3
|
2,54
|
87
|
89
|
91
|
|
8
|
Братск
|
А
|
7370
|
1
|
5,89
|
231
|
236
|
242
|
|
6623
|
2
|
4,25
|
157
|
161
|
164
|
|
6623
|
3
|
3,16
|
107
|
110
|
112
|
|
9
|
Волгоград
|
А
|
3952
|
1
|
4,18
|
154
|
157
|
161
|
|
3596
|
2
|
3,04
|
102
|
105
|
107
|
|
3596
|
3
|
2,40
|
73
|
75
|
77
|
|
10
|
Вологда
|
Б
|
5798
|
1
|
5,10
|
211
|
215
|
220
|
|
5105
|
2
|
3,64
|
140
|
143
|
146
|
|
5105
|
3
|
2,78
|
98
|
101
|
103
|
|
11
|
Воронеж
|
А
|
4528
|
1
|
4,46
|
167
|
171
|
174
|
|
1136
|
2
|
3,25
|
112
|
115
|
117
|
|
4136
|
3
|
2,53
|
79
|
81
|
83
|
|
12
|
Владимир
|
Б
|
5006
|
1
|
4,70
|
192
|
196
|
200
|
|
4580
|
2
|
3,43
|
130
|
133
|
136
|
|
4154
|
3
|
2,54
|
87
|
89
|
91
|
|
13
|
Владивосток
|
Б
|
4684
|
1
|
4,54
|
184
|
188
|
192
|
|
4292
|
2
|
3,32
|
125
|
127
|
130
|
|
4292
|
3
|
2,57
|
89
|
91
|
92
|
|
14
|
Владикавказ
|
А
|
3410
|
1
|
3,91
|
141
|
145
|
148
|
|
3062
|
2
|
2,82
|
93
|
95
|
97
|
|
3062
|
3
|
2,27
|
67
|
69
|
70
|
|
15
|
Грозный
|
А
|
3056
|
1
|
3,73
|
133
|
136
|
140
|
|
2736
|
2
|
2,69
|
87
|
89
|
91
|
|
2736
|
3
|
2,18
|
64
|
65
|
66
|
|
16
|
Екатеринбург
|
А
|
6210
|
1
|
5,31
|
205
|
210
|
214
|
|
5520
|
2
|
3,81
|
137
|
140
|
143
|
|
5520
|
3
|
2,88
|
95
|
97
|
99
|
|
17
|
Иваново
|
Б
|
см. Владимир
|
|
18
|
Игарка
|
Б
|
10575
|
1
|
7,49
|
327
|
334
|
341
|
|
9666
|
2
|
5,47
|
229
|
234
|
239
|
|
9666
|
3
|
3,92
|
154
|
157
|
160
|
|
19
|
Иркутск
|
А
|
7080
|
1
|
5,74
|
224
|
230
|
235
|
|
6360
|
2
|
4,14
|
152
|
156
|
159
|
|
6360
|
3
|
3,09
|
105
|
107
|
109
|
|
20
|
Ижевск
|
Б
|
5905
|
1
|
5,15
|
213
|
218
|
223
|
|
5239
|
2
|
3,70
|
143
|
146
|
149
|
|
5239
|
3
|
2,81
|
100
|
102
|
104
|
|
21
|
Йошкар-Ола
|
Б
|
5742
|
1
|
5,07
|
210
|
214
|
219
|
|
5082
|
2
|
3,63
|
140
|
143
|
146
|
|
5082
|
3
|
2,77
|
98
|
100
|
102
|
|
22
|
Казань
|
Б
|
см. Вологда
|
|
23
|
Калининград
|
Б
|
3648
|
1
|
4,02
|
159
|
162
|
166
|
|
3262
|
2
|
2,90
|
105
|
107
|
109
|
|
3262
|
3
|
2,32
|
76
|
78
|
79
|
|
24
|
Калуга
|
Б
|
см. Владивосток
|
|
25
|
Кемерово
|
А
|
6537
|
1
|
5,47
|
212
|
217
|
222
|
|
6075
|
2
|
4,03
|
147
|
150
|
154
|
|
6075
|
3
|
3,02
|
101
|
104
|
106
|
|
26
|
Вятка
|
Б
|
5660
|
1
|
5,03
|
208
|
212
|
217
|
|
4967
|
2
|
3,59
|
138
|
141
|
144
|
|
4967
|
3
|
2,74
|
97
|
99
|
101
|
|
27
|
Кострома
|
Б
|
5528
|
1
|
4,96
|
204
|
209
|
213
|
|
4862
|
2
|
3,54
|
136
|
139
|
142
|
|
4862
|
3
|
2,72
|
95
|
98
|
100
|
|
28
|
Краснодар
|
А
|
2682
|
1
|
3,54
|
125
|
128
|
131
|
|
2384
|
2
|
2,55
|
80
|
82
|
84
|
|
2384
|
3
|
2,10
|
60
|
61
|
62
|
|
29
|
Красноярск
|
А
|
6575
|
1
|
5,49
|
213
|
218
|
223
|
|
5873
|
2
|
3,95
|
143
|
147
|
150
|
|
5873
|
3
|
2,97
|
99
|
101
|
104
|
|
30
|
Курган
|
А
|
см. Барнаул
|
|
31
|
Курск
|
Б
|
4435
|
1
|
4,42
|
178
|
182
|
186
|
|
4039
|
2
|
3,22
|
120
|
122
|
125
|
|
4039
|
3
|
2,51
|
86
|
87
|
89
|
|
32
|
Кызыл
|
А
|
7875
|
1
|
6,14
|
242
|
248
|
254
|
|
7425
|
2
|
4,57
|
172
|
175
|
179
|
|
7425
|
3
|
3,36
|
117
|
119
|
122
|
|
33
|
Липецк
|
А
|
4703
|
1
|
4,55
|
171
|
175
|
179
|
|
4301
|
2
|
3,32
|
115
|
118
|
120
|
|
4301
|
3
|
2,58
|
81
|
83
|
85
|
|
34
|
Магадан
|
Б
|
7805
|
1
|
6,10
|
259
|
265
|
271
|
|
7229
|
2
|
4,49
|
181
|
185
|
189
|
|
7229
|
3
|
3,31
|
124
|
127
|
130
|
|
35
|
Махачкала
|
А
|
2560
|
1
|
3,48
|
122
|
125
|
128
|
|
2264
|
2
|
2,51
|
78
|
80
|
82
|
|
2264
|
3
|
2,07
|
58
|
60
|
61
|
|
36
|
Москва
|
Б
|
5027
|
1
|
4,71
|
192
|
196
|
201
|
|
4601
|
2
|
3,44
|
131
|
133
|
136
|
|
4601
|
3
|
2,65
|
92
|
94
|
96
|
|
37
|
Мурманск
|
Б
|
6380
|
1
|
5,39
|
225
|
230
|
235
|
|
5830
|
2
|
3,93
|
154
|
158
|
161
|
|
5830
|
3
|
2,96
|
107
|
110
|
112
|
|
38
|
Нальчик
|
А
|
3259
|
1
|
3,83
|
138
|
141
|
144
|
|
2923
|
2
|
2,77
|
90
|
92
|
94
|
|
2923
|
3
|
2,23
|
66
|
67
|
69
|
|
39
|
Нижний Новгород
|
Б
|
см. Владимир
|
|
40
|
Новгород
|
Б
|
4928
|
1
|
4,66
|
190
|
194
|
198
|
|
4486
|
2
|
3,39
|
128
|
131
|
134
|
|
4486
|
3
|
2,62
|
91
|
93
|
95
|
|
41
|
Новосибирск
|
А
|
см. Кемерово
|
|
42
|
Омск
|
А
|
6497
|
1
|
5,45
|
211
|
216
|
221
|
|
5834
|
2
|
3,93
|
143
|
146
|
149
|
|
5834
|
3
|
2,96
|
99
|
101
|
103
|
|
43
|
Оренбург
|
А
|
5515
|
1
|
4,96
|
189
|
193
|
198
|
|
4909
|
2
|
3,56
|
126
|
129
|
132
|
|
4909
|
3
|
2,73
|
88
|
90
|
92
|
|
44
|
Орел
|
Б
|
4654
|
1
|
4,53
|
183
|
187
|
191
|
|
4244
|
2
|
3,30
|
124
|
126
|
129
|
|
4244
|
3
|
2,56
|
88
|
90
|
92
|
|
45
|
Пенза
|
А
|
5072
|
1
|
4,74
|
179
|
183
|
187
|
|
4658
|
2
|
3,46
|
121
|
124
|
127
|
|
4658
|
3
|
2,66
|
85
|
87
|
89
|
|
46
|
Пермь
|
Б
|
см. Вятка
|
|
47
|
Петропавловск-Камчатский
|
Б
|
см. Ижевск
|
|
48
|
Петрозаводск
|
Б
|
см. Вологда
|
|
49
|
Псков
|
Б
|
см. Курск
|
|
50
|
Ростов-на-Дону
|
А
|
3523
|
1
|
3,96
|
144
|
147
|
151
|
|
3181
|
2
|
2,87
|
95
|
97
|
99
|
|
3181
|
3
|
2,30
|
69
|
70
|
72
|
|
51
|
Рязань
|
Б
|
4888
|
1
|
4,64
|
189
|
193
|
197
|
|
4472
|
2
|
3,39
|
128
|
131
|
134
|
|
4472
|
3
|
2,62
|
91
|
93
|
95
|
|
52
|
Самара
|
Б
|
см. Кострома
|
|
53
|
Санкт-Петербург
|
Б
|
см. Орел
|
|
54
|
Саранск
|
А
|
см. Пенза
|
|
55
|
Саратов
|
А
|
4763
|
1
|
4,58
|
172
|
176
|
180
|
|
4371
|
2
|
3,35
|
116
|
119
|
122
|
|
4371
|
3
|
2,59
|
82
|
84
|
86
|
|
56
|
Салехард
|
Б
|
9461
|
1
|
6,93
|
300
|
306
|
313
|
|
8585
|
2
|
5,03
|
208
|
212
|
217
|
|
8585
|
3
|
3,65
|
141
|
144
|
147
|
|
57
|
Смоленск
|
Б
|
4816
|
1
|
4,61
|
187
|
191
|
195
|
|
4386
|
2
|
3,35
|
126
|
129
|
132
|
|
4386
|
3
|
2,60
|
90
|
92
|
94
|
|
58
|
Ставрополь
|
А
|
3209
|
1
|
3,80
|
137
|
140
|
143
|
|
2873
|
2
|
2,75
|
89
|
91
|
93
|
|
2873
|
3
|
2,22
|
65
|
67
|
68
|
|
59
|
Сыктывкар
|
Б
|
6566
|
1
|
5,48
|
229
|
234
|
239
|
|
5831
|
2
|
3,93
|
154
|
158
|
161
|
|
5831
|
3
|
2,96
|
107
|
110
|
112
|
|
60
|
Тамбов
|
А
|
4764
|
1
|
4,58
|
172
|
176
|
180
|
|
4362
|
2
|
3,34
|
116
|
119
|
121
|
|
4362
|
3
|
2,59
|
82
|
84
|
86
|
|
61
|
Тверь
|
Б
|
5014
|
1
|
4,71
|
192
|
196
|
200
|
|
4578
|
2
|
3,43
|
130
|
133
|
136
|
|
4578
|
3
|
2,64
|
92
|
94
|
96
|
|
62
|
Томск
|
Б
|
см. Благовещенск
|
|
63
|
Тула
|
Б
|
см. Новгород
|
|
64
|
Тюмень
|
А
|
см. Екатеринбург
|
|
65
|
Ульяновск
|
А
|
5597
|
1
|
5,00
|
191
|
195
|
200
|
|
4961
|
2
|
3,58
|
127
|
130
|
133
|
|
4961
|
3
|
2,74
|
89
|
91
|
93
|
|
66
|
Улан-Уде
|
А
|
7442
|
1
|
5,92
|
233
|
238
|
243
|
|
6731
|
2
|
4,29
|
159
|
163
|
166
|
|
6731
|
3
|
3,18
|
109
|
111
|
114
|
|
67
|
Уфа
|
А
|
5517
|
1
|
4,96
|
189
|
193
|
198
|
|
5091
|
2
|
3,64
|
129
|
132
|
135
|
|
5091
|
3
|
2,77
|
90
|
92
|
94
|
|
68
|
Хабаровск
|
Б
|
6393
|
1
|
5,40
|
225
|
230
|
235
|
|
5760
|
2
|
3,90
|
153
|
156
|
160
|
|
5760
|
3
|
2,94
|
106
|
109
|
111
|
|
69
|
Чебоксары
|
Б
|
5620
|
1
|
5,01
|
207
|
211
|
216
|
|
4969
|
2
|
3,59
|
138
|
141
|
144
|
|
4969
|
3
|
2,74
|
97
|
99
|
101
|
|
70
|
Челябинск
|
Б
|
5995
|
1
|
5,20
|
216
|
220
|
225
|
|
5341
|
2
|
3,74
|
145
|
148
|
151
|
|
5341
|
3
|
2,84
|
101
|
103
|
106
|
|
71
|
Чита
|
А
|
7841
|
1
|
6,12
|
242
|
247
|
253
|
|
7115
|
2
|
4,45
|
166
|
170
|
174
|
|
7115
|
3
|
3,28
|
113
|
116
|
118
|
|
72
|
Элиста
|
А
|
3668
|
1
|
4,03
|
147
|
151
|
154
|
|
3322
|
2
|
2,93
|
97
|
99
|
102
|
|
3322
|
3
|
2,33
|
70
|
72
|
73
|
|
73
|
Южно-Сахалинск
|
Б
|
см. Вологда
|
|
74
|
Якутск
|
А
|
10650
|
1
|
7,52
|
305
|
312
|
319
|
|
9882
|
2
|
5,55
|
216
|
221
|
226
|
|
9882
|
3
|
3,97
|
144
|
148
|
151
|
|
75
|
Ярославль
|
Б
|
см. Смоленск
|
Примечание. В расчете принят
коэффициент теплотехнической однородности - 0,95.
Таблица 5.13.3. Расчетная толщина
тепловой изоляции из плит марки «ТЕРМОКРОВЛЯ» в конструкции утепления
совмещенного покрытия из железобетонной плиты или многопустотного настила.
Рулонная кровля без цементной стяжки.
|
№ п/п
|
Город РФ
|
Условия эксплуатации
|
Dd, ºС·сут
|
Тип помещения
|
R0тр,
(м2·ºС)/Вт
|
Железобетонная плита
|
Многопустотный настил
|
|
Толщина изоляции, мм
|
|
1
|
2
|
3
|
4
|
5
|
6
|
7
|
8
|
|
1
|
Архангельск
|
Б
|
6426
|
1
|
5,41
|
261
|
255
|
|
5667
|
2
|
3,87
|
183
|
177
|
|
5667
|
3
|
2,92
|
135
|
129
|
|
2
|
Астрахань
|
А
|
3540
|
1
|
3,97
|
176
|
171
|
|
3206
|
2
|
2,88
|
124
|
119
|
|
3206
|
3
|
2,30
|
97
|
92
|
|
3
|
Анадырь
|
Б
|
9797
|
1
|
7,10
|
346
|
340
|
|
8864
|
2
|
5,15
|
247
|
242
|
|
8864
|
3
|
3,72
|
175
|
169
|
|
4
|
Барнаул
|
А
|
6343
|
1
|
5,37
|
242
|
237
|
|
5680
|
2
|
3,87
|
171
|
166
|
|
5680
|
3
|
2,92
|
126
|
121
|
|
5
|
Белгород
|
А
|
4183
|
1
|
4,29
|
191
|
186
|
|
3801
|
2
|
3,12
|
136
|
130
|
|
3801
|
3
|
2,45
|
104
|
99
|
|
6
|
Благовещенск
|
Б
|
6889
|
1
|
5,64
|
272
|
267
|
|
6235
|
2
|
4,09
|
194
|
188
|
|
6235
|
3
|
3,06
|
142
|
136
|
|
7
|
Брянск
|
Б
|
4572
|
1
|
4,49
|
214
|
208
|
|
4162
|
2
|
3,26
|
152
|
147
|
|
4162
|
3
|
2,54
|
116
|
110
|
|
8
|
Братск
|
А
|
7370
|
1
|
5,89
|
267
|
261
|
|
6623
|
2
|
4,25
|
189
|
184
|
|
6623
|
3
|
3,16
|
137
|
132
|
|
9
|
Волгоград
|
А
|
3952
|
1
|
4,18
|
186
|
180
|
|
3596
|
2
|
3,04
|
132
|
126
|
|
3596
|
3
|
2,40
|
102
|
96
|
|
10
|
Вологда
|
Б
|
5798
|
1
|
5,10
|
245
|
239
|
|
5105
|
2
|
3,64
|
171
|
166
|
|
5105
|
3
|
2,78
|
127
|
122
|
|
11
|
Воронеж
|
А
|
4528
|
1
|
4,46
|
199
|
194
|
|
4136
|
2
|
3,25
|
142
|
137
|
|
4136
|
3
|
2,53
|
108
|
103
|
|
12
|
Владимир
|
Б
|
5006
|
1
|
4,70
|
225
|
219
|
|
4580
|
2
|
3,43
|
161
|
155
|
|
4154
|
3
|
2,54
|
115
|
110
|
|
13
|
Владивосток
|
Б
|
4684
|
1
|
4,54
|
217
|
211
|
|
4292
|
2
|
3,32
|
155
|
149
|
|
4292
|
3
|
2,57
|
117
|
112
|
|
14
|
Владикавказ
|
А
|
3410
|
1
|
3,91
|
173
|
168
|
|
3062
|
2
|
2,82
|
122
|
116
|
|
3062
|
3
|
2,27
|
95
|
90
|
|
15
|
Грозный
|
А
|
3056
|
1
|
3,73
|
164
|
159
|
|
2736
|
2
|
2,69
|
116
|
110
|
|
2736
|
3
|
2,18
|
91
|
86
|
|
16
|
Екатеринбург
|
А
|
6210
|
1
|
5,31
|
239
|
234
|
|
5520
|
2
|
3,81
|
168
|
163
|
|
5520
|
3
|
2,88
|
124
|
119
|
|
17
|
Иваново
|
Б
|
см. Владимир
|
|
18
|
Игарка
|
Б
|
10575
|
1
|
7,49
|
366
|
360
|
|
9666
|
2
|
5,47
|
263
|
258
|
|
9666
|
3
|
3,92
|
185
|
180
|
|
19
|
Иркутск
|
А
|
7080
|
1
|
5,74
|
260
|
254
|
|
6360
|
2
|
4,14
|
184
|
179
|
|
6360
|
3
|
3,09
|
134
|
129
|
|
20
|
Ижевск
|
Б
|
5905
|
1
|
5,15
|
248
|
242
|
|
5239
|
2
|
3,70
|
174
|
168
|
|
5239
|
3
|
2,81
|
129
|
124
|
|
21
|
Йошкар-Ола
|
Б
|
5742
|
1
|
5,07
|
243
|
238
|
|
5082
|
2
|
3,63
|
171
|
165
|
|
5082
|
3
|
2,77
|
127
|
122
|
|
22
|
Казань
|
Б
|
см. Вологда
|
|
23
|
Калининград
|
Б
|
3648
|
1
|
4,02
|
191
|
185
|
|
3262
|
2
|
2,90
|
134
|
128
|
|
3262
|
3
|
2,32
|
104
|
99
|
|
24
|
Калуга
|
Б
|
см. Владивосток
|
|
25
|
Кемерово
|
А
|
6537
|
1
|
5,47
|
247
|
242
|
|
6075
|
2
|
4,03
|
179
|
173
|
|
6075
|
3
|
3,02
|
131
|
126
|
|
26
|
Вятка
|
Б
|
5660
|
1
|
5,03
|
241
|
236
|
|
4967
|
2
|
3,59
|
168
|
163
|
|
4967
|
3
|
2,74
|
126
|
120
|
|
27
|
Кострома
|
Б
|
5528
|
1
|
4,96
|
238
|
232
|
|
4862
|
2
|
3,54
|
166
|
161
|
|
4862
|
3
|
2,72
|
124
|
119
|
|
28
|
Краснодар
|
А
|
2682
|
1
|
3,54
|
156
|
150
|
|
2384
|
2
|
2,55
|
109
|
104
|
|
2384
|
3
|
2,10
|
87
|
82
|
|
29
|
Красноярск
|
А
|
6575
|
1
|
5,49
|
248
|
243
|
|
5873
|
2
|
3,95
|
175
|
170
|
|
5873
|
3
|
2,97
|
128
|
123
|
|
30
|
Курган
|
А
|
см. Барнаул
|
|
31
|
Курск
|
Б
|
4435
|
1
|
4,42
|
210
|
205
|
|
4039
|
2
|
3,22
|
150
|
144
|
|
4039
|
3
|
2,51
|
114
|
108
|
|
32
|
Кызыл
|
А
|
7875
|
1
|
6,14
|
279
|
273
|
|
7425
|
2
|
4,57
|
204
|
199
|
|
7425
|
3
|
3,36
|
147
|
142
|
|
33
|
Липецк
|
А
|
4703
|
1
|
4,55
|
203
|
198
|
|
4301
|
2
|
3,32
|
145
|
140
|
|
4301
|
3
|
2,58
|
110
|
105
|
|
34
|
Магадан
|
Б
|
7805
|
1
|
6,10
|
296
|
290
|
|
7229
|
2
|
4,49
|
214
|
209
|
|
7229
|
3
|
3,31
|
154
|
149
|
|
35
|
Махачкала
|
А
|
2560
|
1
|
3,48
|
153
|
147
|
|
2264
|
2
|
2,51
|
107
|
101
|
|
2264
|
3
|
2,07
|
86
|
80
|
|
36
|
Москва
|
Б
|
5027
|
1
|
4,71
|
225
|
220
|
|
4601
|
2
|
3,44
|
161
|
155
|
|
4601
|
3
|
2,65
|
121
|
116
|
|
37
|
Мурманск
|
Б
|
6380
|
1
|
5,39
|
260
|
254
|
|
5830
|
2
|
3,93
|
186
|
180
|
|
5830
|
3
|
2,96
|
137
|
131
|
|
38
|
Нальчик
|
А
|
3259
|
1
|
3,83
|
169
|
164
|
|
2923
|
2
|
2,77
|
119
|
114
|
|
2923
|
3
|
2,23
|
94
|
88
|
|
39
|
Нижний Новгород
|
Б
|
см. Владимир
|
|
40
|
Новгород
|
Б
|
4928
|
1
|
4,66
|
223
|
217
|
|
4486
|
2
|
3,39
|
159
|
153
|
|
4486
|
3
|
2,62
|
120
|
114
|
|
41
|
Новосибирск
|
А
|
см. Кемерово
|
|
42
|
Омск
|
А
|
6497
|
1
|
5,45
|
246
|
241
|
|
5834
|
2
|
3,93
|
174
|
169
|
|
5834
|
3
|
2,96
|
128
|
123
|
|
43
|
Оренбург
|
А
|
5515
|
1
|
4,96
|
223
|
217
|
|
4909
|
2
|
3,56
|
157
|
151
|
|
4909
|
3
|
2,73
|
117
|
112
|
|
44
|
Орел
|
Б
|
4654
|
1
|
4,53
|
216
|
210
|
|
4244
|
2
|
3,30
|
154
|
148
|
|
4244
|
3
|
2,56
|
117
|
111
|
|
45
|
Пенза
|
А
|
5072
|
1
|
4,74
|
212
|
207
|
|
4658
|
2
|
3,46
|
152
|
147
|
|
4658
|
3
|
2,66
|
114
|
109
|
|
46
|
Пермь
|
Б
|
см. Вятка
|
|
47
|
Петропавловск-Камчатский
|
Б
|
см. Ижевск
|
|
48
|
Петрозаводск
|
Б
|
см. Вологда
|
|
49
|
Псков
|
Б
|
см. Курск
|
|
50
|
Ростов-на-Дону
|
А
|
3523
|
1
|
3,96
|
176
|
170
|
|
3181
|
2
|
2,87
|
124
|
119
|
|
3181
|
3
|
2,30
|
97
|
91
|
|
51
|
Рязань
|
Б
|
4888
|
1
|
4,64
|
222
|
216
|
|
4472
|
2
|
3,39
|
158
|
153
|
|
4472
|
3
|
2,62
|
119
|
114
|
|
52
|
Самара
|
Б
|
см. Кострома
|
|
53
|
Санкт-Петербург
|
Б
|
см. Орел
|
|
54
|
Саранск
|
А
|
см. Пенза
|
|
55
|
Саратов
|
А
|
4763
|
1
|
4,58
|
205
|
200
|
|
4371
|
2
|
3,35
|
146
|
141
|
|
4371
|
3
|
2,59
|
111
|
105
|
|
56
|
Салехард
|
Б
|
9461
|
1
|
6,93
|
337
|
332
|
|
8585
|
2
|
5,03
|
242
|
236
|
|
8585
|
3
|
3,65
|
171
|
166
|
|
57
|
Смоленск
|
Б
|
4816
|
1
|
4,61
|
219
|
213
|
|
4386
|
2
|
3,35
|
157
|
151
|
|
4386
|
3
|
2,60
|
118
|
113
|
|
58
|
Ставрополь
|
А
|
3209
|
1
|
3,80
|
168
|
163
|
|
2873
|
2
|
2,75
|
118
|
113
|
|
2873
|
3
|
2,22
|
93
|
88
|
|
59
|
Сыктывкар
|
Б
|
6566
|
1
|
5,48
|
264
|
259
|
|
5831
|
2
|
3,93
|
186
|
180
|
|
5831
|
3
|
2,96
|
137
|
131
|
|
60
|
Тамбов
|
А
|
4764
|
1
|
4,58
|
205
|
200
|
|
4362
|
2
|
3,34
|
146
|
141
|
|
4362
|
3
|
2,59
|
111
|
105
|
|
61
|
Тверь
|
Б
|
5014
|
1
|
4,71
|
225
|
219
|
|
4578
|
2
|
3,43
|
161
|
155
|
|
4578
|
3
|
2,64
|
121
|
115
|
|
62
|
Томск
|
Б
|
см. Благовещенск
|
|
63
|
Тула
|
Б
|
см. Новгород
|
|
64
|
Тюмень
|
А
|
см. Екатеринбург
|
|
65
|
Ульяновск
|
А
|
5597
|
1
|
5,00
|
225
|
219
|
|
4961
|
2
|
3,58
|
158
|
152
|
|
4961
|
3
|
2,74
|
118
|
112
|
|
66
|
Улан-Уде
|
А
|
7442
|
1
|
5,92
|
268
|
263
|
|
6731
|
2
|
4,29
|
191
|
186
|
|
6731
|
3
|
3,18
|
139
|
133
|
|
67
|
Уфа
|
А
|
5517
|
1
|
4,96
|
222
|
217
|
|
5091
|
2
|
3,64
|
159
|
154
|
|
5091
|
3
|
2,77
|
119
|
113
|
|
68
|
Хабаровск
|
Б
|
6393
|
1
|
5,40
|
260
|
254
|
|
5760
|
2
|
3,90
|
184
|
179
|
|
5760
|
3
|
2,94
|
136
|
130
|
|
69
|
Чебоксары
|
Б
|
5620
|
1
|
5,01
|
240
|
235
|
|
4969
|
2
|
3,59
|
168
|
163
|
|
4969
|
3
|
2,74
|
126
|
120
|
|
70
|
Челябинск
|
Б
|
5995
|
1
|
5,20
|
250
|
244
|
|
5341
|
2
|
3,74
|
176
|
170
|
|
5341
|
3
|
2,84
|
130
|
125
|
|
71
|
Чита
|
А
|
7841
|
1
|
6,12
|
278
|
272
|
|
7115
|
2
|
4,45
|
198
|
193
|
|
7115
|
3
|
3,28
|
143
|
138
|
|
72
|
Элиста
|
А
|
3668
|
1
|
4,03
|
179
|
174
|
|
3322
|
2
|
2,93
|
127
|
121
|
|
3322
|
3
|
2,33
|
98
|
93
|
|
73
|
Южно-Сахалинск
|
Б
|
см. Вологда
|
|
74
|
Якутск
|
А
|
10650
|
1
|
7,52
|
344
|
339
|
|
9882
|
2
|
5,55
|
251
|
246
|
|
9882
|
3
|
3,97
|
176
|
171
|
|
75
|
Ярославль
|
Б
|
см. Смоленск
|
Примечание. В расчете принят
коэффициент теплотехнической однородности - 0,95.
Таблица 5.13.4. Расчетная толщина
тепловой изоляции из теплоизоляционных плит марки «ТЕРМО» в конструкции
тепловой изоляции скатных крыш.
|
№ п/п
|
Город РФ
|
Условия эксплуатации
|
Dd, ºС·сут
|
Тип помещения
|
R0тр,
(м2·ºС)/Вт
|
Толщина теплоизоляционного слоя, мм, из плит марки
|
Толщина плит ТЕРМОЛАЙТ+ и ТЕРМОСТЕНА при толщине
наружного слоя плит ТЕРМОВЕНТ 40 мм
|
|
ТЕРМОЛАЙТ ТЕРМОСТЕНА+ ТЕРМОВЕНТ
|
ТЕРМОЛАЙТ+ ТЕРМОСТЕНА
|
|
1
|
2
|
3
|
4
|
5
|
6
|
7
|
8
|
9
|
|
1
|
Архангельск
|
Б
|
6426
|
1
|
5,41
|
260
|
254
|
215
|
|
5667
|
2
|
3,87
|
183
|
179
|
140
|
|
5667
|
3
|
2,92
|
137
|
134
|
95
|
|
2
|
Астрахань
|
А
|
3540
|
1
|
3,97
|
175
|
171
|
132
|
|
3206
|
2
|
2,88
|
125
|
122
|
83
|
|
3206
|
3
|
2,30
|
99
|
97
|
58
|
|
3
|
Анадырь
|
Б
|
9797
|
1
|
7,10
|
344
|
337
|
298
|
|
8864
|
2
|
5,15
|
247
|
241
|
202
|
|
8864
|
3
|
3,72
|
177
|
173
|
134
|
|
4
|
Барнаул
|
А
|
6343
|
1
|
5,37
|
241
|
235
|
196
|
|
5680
|
2
|
3,87
|
171
|
167
|
128
|
|
5680
|
3
|
2,92
|
128
|
125
|
86
|
|
5
|
Белгород
|
А
|
4183
|
1
|
4,29
|
190
|
186
|
147
|
|
3801
|
2
|
3,12
|
136
|
132
|
93
|
|
3801
|
3
|
2,45
|
106
|
103
|
64
|
|
6
|
Благовещенск
|
Б
|
6889
|
1
|
5,64
|
272
|
266
|
227
|
|
6235
|
2
|
4,09
|
194
|
190
|
151
|
|
6235
|
3
|
3,06
|
144
|
141
|
102
|
|
7
|
Брянск
|
Б
|
4572
|
1
|
4,49
|
214
|
209
|
170
|
|
4162
|
2
|
3,26
|
153
|
149
|
110
|
|
4162
|
3
|
2,54
|
118
|
115
|
76
|
|
8
|
Братск
|
А
|
7370
|
1
|
5,89
|
265
|
258
|
219
|
|
6623
|
2
|
4,25
|
188
|
184
|
145
|
|
6623
|
3
|
3,16
|
139
|
136
|
97
|
|
9
|
Волгоград
|
А
|
3952
|
1
|
4,18
|
185
|
181
|
141
|
|
3596
|
2
|
3,04
|
132
|
129
|
90
|
|
3596
|
3
|
2,40
|
104
|
101
|
62
|
|
10
|
Вологда
|
Б
|
5798
|
1
|
5,10
|
244
|
239
|
200
|
|
5105
|
2
|
3,64
|
172
|
168
|
129
|
|
5105
|
3
|
2,78
|
130
|
127
|
88
|
|
11
|
Воронеж
|
А
|
4528
|
1
|
4,46
|
198
|
194
|
155
|
|
4136
|
2
|
3,25
|
142
|
139
|
100
|
|
4136
|
3
|
2,53
|
110
|
107
|
68
|
|
12
|
Владимир
|
Б
|
5006
|
1
|
4,70
|
225
|
220
|
181
|
|
4580
|
2
|
3,43
|
161
|
158
|
118
|
|
4154
|
3
|
2,54
|
118
|
115
|
76
|
|
13
|
Владивосток
|
Б
|
4684
|
1
|
4,54
|
217
|
212
|
173
|
|
4292
|
2
|
3,32
|
155
|
152
|
113
|
|
4292
|
3
|
2,57
|
120
|
117
|
78
|
|
14
|
Владикавказ
|
А
|
3410
|
1
|
3,91
|
172
|
168
|
129
|
|
3062
|
2
|
2,82
|
122
|
119
|
80
|
|
3062
|
3
|
2,27
|
97
|
95
|
56
|
|
15
|
Грозный
|
А
|
3056
|
1
|
3,73
|
164
|
160
|
121
|
|
2736
|
2
|
2,69
|
116
|
113
|
74
|
|
2736
|
3
|
2,18
|
94
|
91
|
52
|
|
16
|
Екатеринбург
|
А
|
6210
|
1
|
5,31
|
238
|
232
|
193
|
|
5520
|
2
|
3,81
|
168
|
164
|
125
|
|
5520
|
3
|
2,88
|
126
|
123
|
84
|
|
17
|
Иваново
|
Б
|
см. Владимир
|
|
18
|
Игарка
|
Б
|
10575
|
1
|
7,49
|
364
|
356
|
317
|
|
9666
|
2
|
5,47
|
263
|
257
|
218
|
|
9666
|
3
|
3,92
|
187
|
183
|
144
|
|
19
|
Иркутск
|
А
|
7080
|
1
|
5,74
|
258
|
252
|
213
|
|
6360
|
2
|
4,14
|
183
|
179
|
140
|
|
6360
|
3
|
3,09
|
136
|
133
|
94
|
|
20
|
Ижевск
|
Б
|
5905
|
1
|
5,15
|
247
|
242
|
203
|
|
5239
|
2
|
3,70
|
174
|
170
|
131
|
|
5239
|
3
|
2,81
|
132
|
129
|
90
|
|
21
|
Йошкар-Ола
|
Б
|
5742
|
1
|
5,07
|
243
|
238
|
199
|
|
5082
|
2
|
3,63
|
171
|
167
|
128
|
|
5082
|
3
|
2,77
|
130
|
127
|
88
|
|
22
|
Казань
|
Б
|
см. Вологда
|
|
23
|
Калининград
|
Б
|
3648
|
1
|
4,02
|
191
|
186
|
147
|
|
3262
|
2
|
2,90
|
135
|
132
|
93
|
|
3262
|
3
|
2,32
|
107
|
104
|
65
|
|
24
|
Калуга
|
Б
|
см. Владивосток
|
|
25
|
Кемерово
|
А
|
6537
|
1
|
5,47
|
245
|
239
|
200
|
|
6075
|
2
|
4,03
|
178
|
174
|
135
|
|
6075
|
3
|
3,02
|
133
|
129
|
90
|
|
26
|
Вятка
|
Б
|
5660
|
1
|
5,03
|
241
|
236
|
197
|
|
4967
|
2
|
3,59
|
169
|
165
|
126
|
|
4967
|
3
|
2,74
|
128
|
125
|
86
|
|
27
|
Кострома
|
Б
|
5528
|
1
|
4,96
|
237
|
231
|
188
|
|
4862
|
2
|
3,54
|
166
|
162
|
118
|
|
4862
|
3
|
2,72
|
126
|
123
|
80
|
|
28
|
Краснодар
|
А
|
2682
|
1
|
3,54
|
155
|
152
|
113
|
|
2384
|
2
|
2,55
|
109
|
107
|
68
|
|
2384
|
3
|
2,10
|
89
|
87
|
48
|
|
29
|
Красноярск
|
А
|
6575
|
1
|
5,49
|
246
|
240
|
201
|
|
5873
|
2
|
3,95
|
174
|
170
|
131
|
|
5873
|
3
|
2,97
|
130
|
127
|
88
|
|
30
|
Курган
|
А
|
см. Барнаул
|
|
31
|
Курск
|
Б
|
4435
|
1
|
4,42
|
210
|
206
|
167
|
|
4039
|
2
|
3,22
|
150
|
147
|
108
|
|
4039
|
3
|
2,51
|
117
|
114
|
75
|
|
32
|
Кызыл
|
А
|
7875
|
1
|
6,14
|
276
|
270
|
231
|
|
7425
|
2
|
4,57
|
203
|
198
|
159
|
|
7425
|
3
|
3,36
|
148
|
145
|
106
|
|
33
|
Липецк
|
А
|
4703
|
1
|
4,55
|
202
|
198
|
159
|
|
4301
|
2
|
3,32
|
145
|
142
|
103
|
|
4301
|
3
|
2,58
|
112
|
109
|
70
|
|
34
|
Магадан
|
Б
|
7805
|
1
|
6,10
|
295
|
288
|
249
|
|
7229
|
2
|
4,49
|
214
|
209
|
170
|
|
7229
|
3
|
3,31
|
156
|
153
|
114
|
|
35
|
Махачкала
|
А
|
2560
|
1
|
3,48
|
152
|
149
|
110
|
|
2264
|
2
|
2,51
|
107
|
104
|
65
|
|
2264
|
3
|
2,07
|
88
|
86
|
47
|
|
36
|
Москва
|
Б
|
5027
|
1
|
4,71
|
225
|
220
|
181
|
|
4601
|
2
|
3,44
|
162
|
158
|
119
|
|
4601
|
3
|
2,65
|
124
|
121
|
82
|
|
37
|
Мурманск
|
Б
|
6380
|
1
|
5,39
|
259
|
253
|
214
|
|
5830
|
2
|
3,93
|
186
|
182
|
143
|
|
5830
|
3
|
2,96
|
139
|
136
|
97
|
|
38
|
Нальчик
|
А
|
3259
|
1
|
3,83
|
169
|
165
|
126
|
|
2923
|
2
|
2,77
|
119
|
116
|
77
|
|
2923
|
3
|
2,23
|
96
|
93
|
54
|
|
39
|
Нижний Новгород
|
Б
|
см. Владимир
|
|
40
|
Новгород
|
Б
|
4928
|
1
|
4,66
|
223
|
218
|
179
|
|
4486
|
2
|
3,39
|
159
|
156
|
117
|
|
4486
|
3
|
2,62
|
122
|
119
|
80
|
|
41
|
Новосибирск
|
А
|
см. Кемерово
|
|
42
|
Омск
|
А
|
6497
|
1
|
5,45
|
244
|
239
|
199
|
|
5834
|
2
|
3,93
|
174
|
170
|
130
|
|
5834
|
3
|
2,96
|
130
|
127
|
88
|
|
43
|
Оренбург
|
А
|
5515
|
1
|
4,96
|
221
|
216
|
177
|
|
4909
|
2
|
3,56
|
156
|
153
|
114
|
|
4909
|
3
|
2,73
|
119
|
116
|
77
|
|
44
|
Орел
|
Б
|
4654
|
1
|
4,53
|
216
|
211
|
172
|
|
4244
|
2
|
3,30
|
154
|
151
|
112
|
|
4244
|
3
|
2,56
|
119
|
116
|
77
|
|
45
|
Пенза
|
А
|
5072
|
1
|
4,74
|
211
|
206
|
167
|
|
4658
|
2
|
3,46
|
152
|
148
|
109
|
|
4658
|
3
|
2,66
|
116
|
113
|
74
|
|
46
|
Пермь
|
Б
|
см. Вятка
|
|
47
|
Петропавловск-Камчатский
|
Б
|
см. Ижевск
|
|
48
|
Петрозаводск
|
Б
|
см. Вологда
|
|
49
|
Псков
|
Б
|
см. Курск
|
|
50
|
Ростов-на-Дону
|
А
|
3523
|
1
|
3,96
|
175
|
171
|
132
|
|
3181
|
2
|
2,87
|
124
|
121
|
82
|
|
3181
|
3
|
2,30
|
99
|
96
|
57
|
|
51
|
Рязань
|
Б
|
4888
|
1
|
4,64
|
222
|
217
|
178
|
|
4472
|
2
|
3,39
|
159
|
155
|
116
|
|
4472
|
3
|
2,62
|
122
|
119
|
80
|
|
52
|
Самара
|
Б
|
см. Кострома
|
|
53
|
Санкт-Петербург
|
Б
|
см. Орел
|
|
54
|
Саранск
|
А
|
см. Пенза
|
|
55
|
Саратов
|
А
|
4763
|
1
|
4,58
|
204
|
199
|
160
|
|
4371
|
2
|
3,35
|
146
|
143
|
104
|
|
4371
|
3
|
2,59
|
113
|
110
|
71
|
|
56
|
Салехард
|
Б
|
9461
|
1
|
6,93
|
336
|
329
|
289
|
|
8585
|
2
|
5,03
|
241
|
236
|
197
|
|
8585
|
3
|
3,65
|
173
|
170
|
130
|
|
57
|
Смоленск
|
Б
|
4816
|
1
|
4,61
|
220
|
215
|
176
|
|
4386
|
2
|
3,35
|
157
|
154
|
115
|
|
4386
|
3
|
2,60
|
121
|
118
|
79
|
|
58
|
Ставрополь
|
А
|
3209
|
1
|
3,80
|
168
|
164
|
125
|
|
2873
|
2
|
2,75
|
118
|
116
|
76
|
|
2873
|
3
|
2,22
|
95
|
93
|
54
|
|
59
|
Сыктывкар
|
Б
|
6566
|
1
|
5,48
|
264
|
258
|
219
|
|
5831
|
2
|
3,93
|
186
|
182
|
143
|
|
5831
|
3
|
2,96
|
139
|
136
|
97
|
|
60
|
Тамбов
|
А
|
4764
|
1
|
4,58
|
204
|
199
|
160
|
|
4362
|
2
|
3,34
|
146
|
143
|
104
|
|
4362
|
3
|
2,59
|
113
|
110
|
71
|
|
61
|
Тверь
|
Б
|
5014
|
1
|
4,71
|
225
|
220
|
181
|
|
4578
|
2
|
3,43
|
161
|
157
|
118
|
|
4578
|
3
|
2,64
|
123
|
121
|
81
|
|
62
|
Томск
|
Б
|
см. Благовещенск
|
|
63
|
Тула
|
Б
|
см. Новгород
|
|
64
|
Тюмень
|
А
|
см. Екатеринбург
|
|
65
|
Ульяновск
|
А
|
5597
|
1
|
5,00
|
223
|
218
|
179
|
|
4961
|
2
|
3,58
|
157
|
154
|
115
|
|
4961
|
3
|
2,74
|
120
|
117
|
78
|
|
66
|
Улан-Уде
|
А
|
7442
|
1
|
5,92
|
266
|
260
|
221
|
|
6731
|
2
|
4,29
|
190
|
186
|
147
|
|
6731
|
3
|
3,18
|
140
|
137
|
98
|
|
67
|
Уфа
|
А
|
5517
|
1
|
4,96
|
221
|
216
|
177
|
|
5091
|
2
|
3,64
|
160
|
156
|
117
|
|
5091
|
3
|
2,77
|
121
|
118
|
79
|
|
68
|
Хабаровск
|
Б
|
6393
|
1
|
5,40
|
259
|
254
|
214
|
|
5760
|
2
|
3,90
|
185
|
181
|
142
|
|
5760
|
3
|
2,94
|
138
|
135
|
96
|
|
69
|
Чебоксары
|
Б
|
5620
|
1
|
5,01
|
240
|
235
|
196
|
|
4969
|
2
|
3,59
|
169
|
165
|
126
|
|
4969
|
3
|
2,74
|
128
|
125
|
86
|
|
70
|
Челябинск
|
Б
|
5995
|
1
|
5,20
|
249
|
244
|
205
|
|
5341
|
2
|
3,74
|
176
|
172
|
133
|
|
5341
|
3
|
2,84
|
133
|
130
|
91
|
|
71
|
Чита
|
А
|
7841
|
1
|
6,12
|
276
|
269
|
230
|
|
7115
|
2
|
4,45
|
198
|
193
|
154
|
|
7115
|
3
|
3,28
|
145
|
141
|
102
|
|
72
|
Элиста
|
А
|
3668
|
1
|
4,03
|
178
|
174
|
135
|
|
3322
|
2
|
2,93
|
127
|
124
|
85
|
|
3322
|
3
|
2,33
|
100
|
98
|
59
|
|
73
|
Южно-Сахалинск
|
Б
|
см. Вологда
|
|
74
|
Якутск
|
А
|
10650
|
1
|
7,52
|
341
|
333
|
294
|
|
9882
|
2
|
5,55
|
249
|
243
|
204
|
|
9882
|
3
|
3,97
|
177
|
173
|
134
|
|
75
|
Ярославль
|
Б
|
см. Смоленск
|
Примечание.
1. В расчете принят коэффициент теплотехнической однородности - 0,9.
2. В графе 9 указана толщина теплоизоляционного слоя в
конструкции утепления скатных крыш из плит марки «ТЕРМОЛАЙТ+» и «ТЕРМОСТЕНА» с
наружным слоем из плит марки «ТЕРМОВЕНТ» толщиной 40 мм. При применении плит
«ТЕРМОЛАЙТ» или «ТЕРМОСТЕНА+» в качестве внутреннего слоя и «ТЕРМОВЕНТ» в
качестве наружного, толщину плит «ТЕРМОЛАЙТ» или «ТЕРМОСТЕНА+», указанную в
графе 7, следует уменьшить на толщину применяемой плиты «ТЕРМОВЕНТ».
Таблица 5.13.5. Расчетная толщина
тепловой изоляции из плит марки «ТЕРМОЛАЙТ+», «ТЕРМОСТЕНА», «ТЕРМОСТЕНА+»,
«ТЕРМОВЕНТ», «ТЕРМОМОНОЛИТ» в конструкции утепления покрытия из
профилированного металлического листа с кровлей из профилированного
металлического листа.
|
№ п/п
|
Город РФ
|
Условия эксплуатации
|
Dd, ºС·сут
|
Тип помещения
|
R0тр,
(м2·ºС)/Вт
|
Плиты марки
|
|
ТЕРМОЛАЙТ+, ТЕРМОСТЕНА
|
ТЕРМОСТЕНА+, ТЕРМОМОНОЛИТ, ТЕРМОВЕНТ
|
|
Толщина изоляции, мм
|
|
1
|
2
|
3
|
4
|
5
|
6
|
7
|
8
|
|
1
|
Архангельск
|
Б
|
5667
|
2
|
3,87
|
220
|
225
|
|
5667
|
3
|
2,92
|
164
|
168
|
|
2
|
Астрахань
|
А
|
3206
|
2
|
2,88
|
151
|
155
|
|
3206
|
3
|
2,30
|
119
|
122
|
|
3
|
Анадырь
|
Б
|
8864
|
2
|
5,15
|
295
|
302
|
|
8864
|
3
|
3,72
|
211
|
216
|
|
4
|
Барнаул
|
А
|
5680
|
2
|
3,87
|
205
|
210
|
|
5680
|
3
|
2,92
|
153
|
157
|
|
5
|
Белгород
|
А
|
3801
|
2
|
3,12
|
164
|
168
|
|
3801
|
3
|
2,45
|
127
|
131
|
|
6
|
Благовещенск
|
Б
|
6235
|
2
|
4,09
|
233
|
239
|
|
6235
|
3
|
3,06
|
172
|
176
|
|
7
|
Брянск
|
Б
|
4162
|
2
|
3,26
|
185
|
189
|
|
4162
|
3
|
2,54
|
142
|
145
|
|
8
|
Братск
|
А
|
6623
|
2
|
4,25
|
226
|
231
|
|
6623
|
3
|
3,16
|
166
|
170
|
|
9
|
Волгоград
|
А
|
3596
|
2
|
3,04
|
160
|
163
|
|
3596
|
3
|
2,40
|
125
|
128
|
|
10
|
Вологда
|
Б
|
5105
|
2
|
3,64
|
207
|
211
|
|
5105
|
3
|
2,78
|
156
|
159
|
|
11
|
Воронеж
|
А
|
4136
|
2
|
3,25
|
171
|
176
|
|
4136
|
3
|
2,53
|
132
|
135
|
|
12
|
Владимир
|
Б
|
4580
|
2
|
3,43
|
194
|
199
|
|
4154
|
3
|
2,54
|
142
|
145
|
|
13
|
Владивосток
|
Б
|
4292
|
2
|
332
|
188
|
192
|
|
4292
|
3
|
2,57
|
144
|
147
|
|
14
|
Владикавказ
|
А
|
3062
|
2
|
2,82
|
148
|
152
|
|
3062
|
3
|
2,27
|
117
|
120
|
|
15
|
Грозный
|
А
|
2736
|
2
|
2,69
|
141
|
144
|
|
2736
|
3
|
2,18
|
113
|
116
|
|
16
|
Екатеринбург
|
А
|
5520
|
2
|
3,81
|
202
|
207
|
|
5520
|
3
|
2,88
|
151
|
155
|
|
17
|
Иваново
|
Б
|
см. Владимир
|
|
18
|
Игарка
|
Б
|
9666
|
2
|
5,47
|
314
|
321
|
|
9666
|
3
|
3,92
|
223
|
228
|
|
19
|
Иркутск
|
А
|
6360
|
2
|
4,14
|
220
|
225
|
|
6360
|
3
|
3,09
|
162
|
166
|
|
20
|
Ижевск
|
Б
|
5239
|
2
|
3,70
|
210
|
215
|
|
5239
|
3
|
2,81
|
158
|
161
|
|
21
|
Йошкар-Ола
|
Б
|
5082
|
2
|
3,63
|
206
|
211
|
|
5082
|
3
|
2,77
|
156
|
159
|
|
22
|
Казань
|
Б
|
см. Вологда
|
|
23
|
Калининград
|
Б
|
3262
|
2
|
2,90
|
163
|
167
|
|
3262
|
3
|
2,32
|
129
|
132
|
|
24
|
Калуга
|
Б
|
см. Владивосток
|
|
25
|
Кемерово
|
А
|
6075
|
2
|
4,03
|
214
|
219
|
|
6075
|
3
|
3,02
|
159
|
162
|
|
26
|
Вятка
|
Б
|
4967
|
2
|
3,59
|
203
|
208
|
|
4967
|
3
|
2,74
|
154
|
157
|
|
27
|
Кострома
|
Б
|
4862
|
2
|
3,54
|
199
|
203
|
|
4862
|
3
|
2,72
|
150
|
153
|
|
28
|
Краснодар
|
А
|
2384
|
2
|
2,55
|
133
|
136
|
|
2384
|
3
|
2,10
|
108
|
111
|
|
29
|
Красноярск
|
А
|
5873
|
2
|
3,95
|
209
|
215
|
|
5873
|
3
|
2,97
|
156
|
160
|
|
30
|
Курган
|
А
|
см. Барнаул
|
|
31
|
Курск
|
Б
|
4039
|
2
|
3,22
|
182
|
186
|
|
4039
|
3
|
2,51
|
140
|
143
|
|
32
|
Кызыл
|
А
|
7425
|
2
|
4,57
|
243
|
249
|
|
7425
|
3
|
3,36
|
177
|
181
|
|
33
|
Липецк
|
А
|
4301
|
2
|
3,32
|
175
|
179
|
|
4301
|
3
|
2,58
|
134
|
138
|
|
34
|
Магадан
|
Б
|
7229
|
2
|
4,49
|
257
|
262
|
|
7229
|
3
|
3,31
|
187
|
191
|
|
35
|
Махачкала
|
А
|
2264
|
2
|
2,51
|
130
|
134
|
|
2264
|
3
|
2,07
|
106
|
109
|
|
36
|
Москва
|
Б
|
4601
|
2
|
3,44
|
195
|
199
|
|
4601
|
3
|
2,65
|
149
|
152
|
|
37
|
Мурманск
|
Б
|
5830
|
2
|
3,93
|
224
|
229
|
|
5830
|
3
|
2,96
|
167
|
170
|
|
38
|
Нальчик
|
А
|
2923
|
2
|
2,77
|
145
|
148
|
|
2923
|
3
|
2,23
|
115
|
118
|
|
39
|
Нижний Новгород
|
Б
|
см. Владимир
|
|
40
|
Новгород
|
Б
|
4486
|
2
|
3,39
|
192
|
197
|
|
4486
|
3
|
2,62
|
147
|
150
|
|
41
|
Новосибирск
|
А
|
см. Кемерово
|
|
42
|
Омск
|
А
|
5834
|
2
|
3,93
|
209
|
214
|
|
5834
|
3
|
2,96
|
155
|
159
|
|
43
|
Оренбург
|
А
|
4909
|
2
|
3,56
|
188
|
193
|
|
4909
|
3
|
2,73
|
143
|
146
|
|
44
|
Орел
|
Б
|
4244
|
2
|
3,30
|
186
|
191
|
|
4244
|
3
|
2,56
|
143
|
147
|
|
45
|
Пенза
|
А
|
4658
|
2
|
3,46
|
183
|
187
|
|
4658
|
3
|
2,66
|
139
|
143
|
|
46
|
Пермь
|
Б
|
см. Вятка
|
|
47
|
Петропавловск-Камчатский
|
Б
|
см. Ижевск
|
|
48
|
Петрозаводск
|
Б
|
см. Вологда
|
|
49
|
Псков
|
Б
|
см. Курск
|
|
50
|
Ростов-на-Дону
|
А
|
3181
|
2
|
2,87
|
151
|
154
|
|
3181
|
3
|
2,30
|
119
|
122
|
|
51
|
Рязань
|
Б
|
4472
|
2
|
3,39
|
192
|
196
|
|
4472
|
3
|
2,62
|
147
|
150
|
|
52
|
Самара
|
Б
|
см. Кострома
|
|
53
|
Санкт-Петербург
|
Б
|
см. Орел
|
|
54
|
Саранск
|
А
|
см. Пенза
|
|
55
|
Саратов
|
А
|
4371
|
2
|
3,35
|
177
|
181
|
|
4371
|
3
|
2,59
|
135
|
139
|
|
56
|
Салехард
|
Б
|
8585
|
2
|
5,03
|
288
|
295
|
|
8585
|
3
|
3,65
|
207
|
212
|
|
57
|
Смоленск
|
Б
|
4386
|
2
|
3,35
|
190
|
194
|
|
4386
|
3
|
2,60
|
145
|
149
|
|
58
|
Ставрополь
|
А
|
2873
|
2
|
2,75
|
144
|
147
|
|
2873
|
3
|
2,22
|
115
|
118
|
|
59
|
Сыктывкар
|
Б
|
5831
|
2
|
3,93
|
224
|
229
|
|
5831
|
3
|
2,96
|
167
|
170
|
|
60
|
Тамбов
|
А
|
4362
|
2
|
3,34
|
176
|
181
|
|
4362
|
3
|
2,59
|
135
|
138
|
|
61
|
Тверь
|
Б
|
4578
|
2
|
3,43
|
194
|
199
|
|
4578
|
3
|
2,64
|
148
|
152
|
|
62
|
Томск
|
Б
|
см. Благовещенск
|
|
63
|
Тула
|
Б
|
см. Новгород
|
|
64
|
Тюмень
|
А
|
см. Екатеринбург
|
|
65
|
Ульяновск
|
А
|
4961
|
2
|
3,58
|
189
|
194
|
|
4961
|
3
|
2,74
|
143
|
147
|
|
66
|
Улан-Уде
|
А
|
6731
|
2
|
4,29
|
228
|
234
|
|
6731
|
3
|
3,18
|
167
|
172
|
|
67
|
Уфа
|
А
|
5091
|
2
|
3,64
|
192
|
197
|
|
5091
|
3
|
2,77
|
145
|
149
|
|
68
|
Хабаровск
|
Б
|
5760
|
2
|
3,90
|
222
|
227
|
|
5760
|
3
|
2,94
|
166
|
169
|
|
69
|
Чебоксары
|
Б
|
4969
|
2
|
3,59
|
204
|
208
|
|
4969
|
3
|
2,74
|
154
|
157
|
|
70
|
Челябинск
|
Б
|
5341
|
2
|
3,74
|
212
|
217
|
|
5341
|
3
|
2,84
|
159
|
163
|
|
71
|
Чита
|
А
|
7115
|
2
|
4,45
|
237
|
242
|
|
7115
|
3
|
3,28
|
173
|
177
|
|
72
|
Элиста
|
А
|
3322
|
2
|
2,93
|
154
|
157
|
|
3322
|
3
|
2,33
|
121
|
124
|
|
73
|
Южно-Сахалинск
|
Б
|
см. Вологда
|
|
74
|
Якутск
|
А
|
9882
|
2
|
5,55
|
297
|
304
|
|
9882
|
3
|
3,97
|
211
|
216
|
|
75
|
Ярославль
|
Б
|
см. Смоленск
|
Примечание. В расчете принят
коэффициент теплотехнической однородности 0,75.
Таблица 5.13.6. Расчетная толщина
тепловой изоляции из плит марки «ТЕРМОКРОВЛЯ Н», «ТЕРМОПОЛ», «ТЕРМОСЭНДВИЧ К»,
«ТЕРМОКРОВЛЯ», «ТЕРМОКРОВЛЯ В» с верхним слоем из плит марки «ТЕРМОКРОВЛЯ В+»
толщиной 20 мм в конструкции утепления покрытия из профилированного металлического
листа с рулонной кровлей.
|
№ п/п
|
Город РФ
|
Условия эксплуатации
|
ГСОП
|
Тип помещения
|
R0тр, (м2·ºС)/Вт
|
Плиты марки
|
|
ТЕРМОКРОВЛЯ Н
|
ТЕРМОПОЛ
|
ТЕРМОКРОВЛЯ,
ТЕРМОСЭНДВИЧ К
|
ТЕРМОКРОВЛЯ В
|
|
Толщина
теплоизоляционного слоя, мм
|
|
1
|
2
|
3
|
4
|
5
|
6
|
7
|
8
|
9
|
10
|
|
1
|
Архангельск
|
Б
|
5667
|
2
|
3,87
|
159
|
163
|
166
|
169
|
|
5667
|
3
|
2,92
|
116
|
118
|
121
|
123
|
|
2
|
Астрахань
|
А
|
3206
|
2
|
2,88
|
103
|
105
|
107
|
117
|
|
3206
|
3
|
2,30
|
79
|
80
|
82
|
90
|
|
3
|
Анадырь
|
Б
|
8864
|
2
|
5,15
|
221
|
226
|
231
|
235
|
|
8864
|
3
|
3,72
|
154
|
158
|
161
|
164
|
|
4
|
Барнаул
|
А
|
5680
|
2
|
3,87
|
147
|
151
|
154
|
168
|
|
5680
|
3
|
2,92
|
107
|
109
|
112
|
122
|
|
5
|
Белгород
|
А
|
3801
|
2
|
3,12
|
113
|
116
|
119
|
129
|
|
3801
|
3
|
2,45
|
85
|
87
|
89
|
97
|
|
6
|
Благовещенск
|
Б
|
6235
|
2
|
4,09
|
170
|
174
|
178
|
181
|
|
6235
|
3
|
3,06
|
122
|
125
|
128
|
130
|
|
7
|
Брянск
|
Б
|
4162
|
2
|
3,26
|
130
|
133
|
136
|
138
|
|
4162
|
3
|
2,54
|
97
|
99
|
102
|
104
|
|
8
|
Братск
|
А
|
6623
|
2
|
4,25
|
165
|
168
|
172
|
188
|
|
6623
|
3
|
3,16
|
117
|
120
|
123
|
134
|
|
9
|
Волгоград
|
А
|
3596
|
2
|
3,04
|
110
|
112
|
115
|
125
|
|
3596
|
3
|
2,40
|
83
|
85
|
87
|
95
|
|
10
|
Вологда
|
Б
|
5105
|
2
|
3,64
|
148
|
151
|
155
|
158
|
|
5105
|
3
|
2,78
|
109
|
111
|
113
|
116
|
|
11
|
Воронеж
|
А
|
4136
|
2
|
3,25
|
120
|
122
|
125
|
136
|
|
4136
|
3
|
2,53
|
89
|
91
|
93
|
102
|
|
12
|
Владимир
|
Б
|
4580
|
2
|
3,43
|
138
|
141
|
144
|
147
|
|
4154
|
3
|
2,54
|
97
|
99
|
101
|
104
|
|
13
|
Владивосток
|
Б
|
4292
|
2
|
3,32
|
132
|
135
|
138
|
141
|
|
4292
|
3
|
2,57
|
99
|
101
|
103
|
105
|
|
14
|
Владикавказ
|
А
|
3062
|
2
|
2,82
|
100
|
102
|
105
|
114
|
|
3062
|
3
|
2,27
|
77
|
79
|
81
|
88
|
|
15
|
Грозный
|
А
|
2736
|
2
|
2,69
|
94
|
96
|
99
|
107
|
|
2736
|
3
|
2,18
|
73
|
75
|
77
|
84
|
|
16
|
Екатеринбург
|
А
|
5520
|
2
|
3,81
|
145
|
148
|
151
|
165
|
|
5520
|
3
|
2,88
|
105
|
107
|
110
|
119
|
|
17
|
Иваново
|
Б
|
см. Владимир
|
|
18
|
Игарка
|
Б
|
9666
|
2
|
5,47
|
237
|
242
|
247
|
252
|
|
9666
|
3
|
3,92
|
164
|
168
|
171
|
175
|
|
19
|
Иркутск
|
А
|
6360
|
2
|
4,14
|
160
|
164
|
167
|
182
|
|
6360
|
3
|
3,09
|
114
|
117
|
120
|
130
|
|
20
|
Ижевск
|
Б
|
5239
|
2
|
3,70
|
151
|
154
|
157
|
161
|
|
5239
|
3
|
2,81
|
110
|
113
|
115
|
118
|
|
21
|
Йошкар-Ола
|
Б
|
5082
|
2
|
3,63
|
148
|
151
|
154
|
157
|
|
5082
|
3
|
2,77
|
108
|
111
|
113
|
116
|
|
22
|
Казань
|
Б
|
см. Вологда
|
|
23
|
Калининград
|
Б
|
3262
|
2
|
2,90
|
113
|
115
|
117
|
120
|
|
3262
|
3
|
2,32
|
86
|
88
|
90
|
92
|
|
24
|
Калуга
|
Б
|
см. Владивосток
|
|
25
|
Кемерово
|
А
|
6075
|
2
|
4,03
|
155
|
158
|
162
|
176
|
|
6075
|
3
|
3,02
|
111
|
114
|
116
|
127
|
|
26
|
Вятка
|
Б
|
4967
|
2
|
3,59
|
146
|
149
|
152
|
155
|
|
4967
|
3
|
2,74
|
107
|
109
|
112
|
114
|
|
27
|
Кострома
|
Б
|
4862
|
2
|
3,54
|
142
|
145
|
148
|
151
|
|
4862
|
3
|
2,72
|
104
|
107
|
109
|
111
|
|
28
|
Краснодар
|
А
|
2384
|
2
|
2,55
|
88
|
90
|
92
|
100
|
|
2384
|
3
|
2,10
|
69
|
71
|
73
|
79
|
|
29
|
Красноярск
|
А
|
5873
|
2
|
3,95
|
151
|
154
|
158
|
172
|
|
5873
|
3
|
2,97
|
109
|
111
|
114
|
124
|
|
30
|
Курган
|
А
|
см. Барнаул
|
|
31
|
Курск
|
Б
|
4039
|
2
|
3,22
|
128
|
130
|
133
|
136
|
|
4039
|
3
|
2,51
|
96
|
98
|
100
|
102
|
|
32
|
Кызыл
|
А
|
7425
|
2
|
4,57
|
179
|
183
|
187
|
204
|
|
7425
|
3
|
3,36
|
126
|
129
|
132
|
144
|
|
33
|
Липецк
|
А
|
4301
|
2
|
3,32
|
123
|
125
|
128
|
140
|
|
4301
|
3
|
2,58
|
91
|
93
|
95
|
104
|
|
34
|
Магадан
|
Б
|
7229
|
2
|
4,49
|
189
|
193
|
198
|
202
|
|
7229
|
3
|
3,31
|
134
|
137
|
140
|
143
|
|
35
|
Махачкала
|
А
|
2264
|
2
|
2,51
|
86
|
88
|
90
|
98
|
|
2264
|
3
|
2,07
|
68
|
70
|
71
|
77
|
|
36
|
Москва
|
Б
|
4601
|
2
|
3,44
|
138
|
141
|
144
|
147
|
|
4601
|
3
|
2,65
|
103
|
105
|
107
|
109
|
|
37
|
Мурманск
|
Б
|
5830
|
2
|
3,93
|
162
|
166
|
169
|
173
|
|
5830
|
3
|
2,96
|
118
|
120
|
123
|
125
|
|
38
|
Нальчик
|
А
|
2923
|
2
|
2,77
|
98
|
100
|
102
|
111
|
|
2923
|
3
|
2,23
|
75
|
77
|
79
|
86
|
|
39
|
Нижний Новгород
|
Б
|
см. Владимир
|
|
40
|
Новгород
|
Б
|
4486
|
2
|
3,39
|
136
|
139
|
142
|
145
|
|
4486
|
3
|
2,62
|
101
|
103
|
106
|
108
|
|
41
|
Новосибирск
|
А
|
см. Кемерово
|
|
42
|
Омск
|
А
|
5834
|
2
|
3,93
|
150
|
154
|
157
|
171
|
|
5834
|
3
|
2,96
|
108
|
111
|
113
|
124
|
|
43
|
Оренбург
|
А
|
4909
|
2
|
3,56
|
134
|
137
|
140
|
152
|
|
4909
|
3
|
2,73
|
98
|
100
|
102
|
112
|
|
44
|
Орел
|
Б
|
4244
|
2
|
3,30
|
132
|
134
|
137
|
140
|
|
4244
|
3
|
2,56
|
98
|
100
|
103
|
105
|
|
45
|
Пенза
|
А
|
4658
|
2
|
3,46
|
129
|
132
|
135
|
147
|
|
4658
|
3
|
2,66
|
95
|
97
|
100
|
108
|
|
46
|
Пермь
|
Б
|
см. Вятка
|
|
47
|
Петропавловск-Камчатский
|
Б
|
см. Ижевск
|
|
48
|
Петрозаводск
|
Б
|
см. Вологда
|
|
49
|
Псков
|
Б
|
см. Курск
|
|
50
|
Ростов-на-Дону
|
А
|
3181
|
2
|
2,87
|
102
|
105
|
107
|
116
|
|
3181
|
3
|
2,30
|
78
|
80
|
82
|
89
|
|
51
|
Рязань
|
Б
|
4472
|
2
|
3,39
|
136
|
139
|
142
|
145
|
|
4472
|
3
|
2,62
|
101
|
103
|
105
|
108
|
|
52
|
Самара
|
Б
|
см. Кострома
|
|
53
|
Санкт-Петербург
|
Б
|
см. Орел
|
|
54
|
Саранск
|
А
|
см. Пенза
|
|
55
|
Саратов
|
А
|
4371
|
2
|
3,35
|
124
|
127
|
130
|
141
|
|
4371
|
3
|
2,59
|
92
|
94
|
96
|
105
|
|
56
|
Салехард
|
Б
|
8585
|
2
|
5,03
|
216
|
220
|
225
|
230
|
|
8585
|
3
|
3,65
|
151
|
154
|
157
|
161
|
|
57
|
Смоленск
|
Б
|
4386
|
2
|
3,35
|
134
|
137
|
140
|
143
|
|
4386
|
3
|
2,60
|
100
|
102
|
104
|
107
|
|
58
|
Ставрополь
|
А
|
2873
|
2
|
2,75
|
97
|
99
|
101
|
110
|
|
2873
|
3
|
2,22
|
75
|
77
|
78
|
85
|
|
59
|
Сыктывкар
|
Б
|
5831
|
2
|
3,93
|
162
|
166
|
169
|
173
|
|
5831
|
3
|
2,96
|
118
|
120
|
123
|
125
|
|
60
|
Тамбов
|
А
|
4362
|
2
|
3,34
|
124
|
126
|
129
|
141
|
|
4362
|
3
|
2,59
|
92
|
94
|
96
|
105
|
|
61
|
Тверь
|
Б
|
4578
|
2
|
3,43
|
138
|
141
|
144
|
147
|
|
4578
|
3
|
2,64
|
102
|
105
|
107
|
109
|
|
62
|
Томск
|
Б
|
см. Благовещенск
|
|
63
|
Тула
|
Б
|
см. Новгород
|
|
64
|
Тюмень
|
А
|
см. Екатеринбург
|
|
65
|
Ульяновск
|
А
|
4961
|
2
|
3,58
|
134
|
138
|
141
|
153
|
|
4961
|
3
|
2,74
|
99
|
101
|
103
|
112
|
|
66
|
Улан-Уде
|
А
|
6731
|
2
|
4,29
|
166
|
170
|
174
|
190
|
|
6731
|
3
|
3,18
|
119
|
121
|
124
|
135
|
|
67
|
Уфа
|
А
|
5091
|
2
|
3,64
|
137
|
140
|
143
|
156
|
|
5091
|
3
|
2,77
|
100
|
102
|
105
|
114
|
|
68
|
Хабаровск
|
Б
|
5760
|
2
|
3,90
|
161
|
164
|
168
|
171
|
|
5760
|
3
|
2,94
|
117
|
119
|
122
|
124
|
|
69
|
Чебоксары
|
Б
|
4969
|
2
|
3,59
|
146
|
149
|
152
|
155
|
|
4969
|
3
|
2,74
|
107
|
109
|
112
|
114
|
|
70
|
Челябинск
|
Б
|
5341
|
2
|
3,74
|
153
|
156
|
159
|
163
|
|
5341
|
3
|
2,84
|
112
|
114
|
116
|
119
|
|
71
|
Чита
|
А
|
7115
|
2
|
4,45
|
173
|
177
|
182
|
198
|
|
7115
|
3
|
3,28
|
123
|
126
|
129
|
140
|
|
72
|
Элиста
|
А
|
3322
|
2
|
2,93
|
105
|
107
|
110
|
119
|
|
3322
|
3
|
2,33
|
80
|
82
|
84
|
91
|
|
73
|
Южно-Сахалинск
|
Б
|
см. Вологда
|
|
74
|
Якутск
|
А
|
9882
|
2
|
5,55
|
224
|
229
|
234
|
255
|
|
9882
|
3
|
3,97
|
154
|
158
|
161
|
176
|
|
75
|
Ярославль
|
Б
|
см. Смоленск
|
Примечания:
1. В расчете принят коэффициент теплотехнической однородности - 0,95.
2. Толщина плит марки ТЕРМОКРОВЛЯ В+ 20 мм.
Таблица 5.13.7. Расчетная толщина
тепловой изоляции из теплоизоляционных плит марки «ТЕРМО» в конструкции
утепления чердачного перекрытия из железобетонной сплошной плиты или
многопустотного настила.
|
№ п/п
|
Город РФ
|
Условия эксплуатации
|
Dd, ºС·сут
|
Тип помещения
|
R0тр, (м2·ºС)/Вт
|
Вид перекрытия
|
|
Железобетонная плита
|
Многопустотный настил
|
|
Толщина
теплоизоляционного слоя, мм, из плит марки
|
|
ТЕРМОЛАЙТ+ ТЕРМОСТЕНА
|
ТЕРМОЛАЙТ, ТЕРМОСТЕНА+,
ТЕРМОМОНОЛИТ, ТЕРМОВЕНТ
|
ТЕРМОЛАЙТ+ ТЕРМОСТЕНА
|
ТЕРМОЛАЙТ, ТЕРМОСТЕНА+,
ТЕРМОМОНОЛИТ, ТЕРМОВЕНТ
|
|
1
|
2
|
3
|
4
|
5
|
6
|
7
|
8
|
9
|
10
|
|
1
|
Архангельск
|
Б
|
6426
|
1
|
4,79
|
141
|
147
|
215
|
220
|
|
5667
|
2
|
3,28
|
91
|
95
|
139
|
142
|
|
5667
|
3
|
2,13
|
57
|
60
|
83
|
85
|
|
2
|
Астрахань
|
А
|
3540
|
1
|
3,49
|
133
|
140
|
138
|
144
|
|
3206
|
2
|
2,42
|
86
|
90
|
88
|
92
|
|
3206
|
3
|
1,64
|
54
|
56
|
53
|
55
|
|
3
|
Анадырь
|
Б
|
9797
|
1
|
6,31
|
199
|
209
|
291
|
297
|
|
8864
|
2
|
4,40
|
131
|
137
|
195
|
200
|
|
8864
|
3
|
2,77
|
80
|
84
|
115
|
117
|
|
4
|
Барнаул
|
А
|
6343
|
1
|
4,75
|
141
|
147
|
197
|
206
|
|
5680
|
2
|
3,29
|
91
|
95
|
128
|
134
|
|
5680
|
3
|
2,14
|
57
|
60
|
76
|
79
|
|
5
|
Белгород
|
А
|
4183
|
1
|
3,78
|
133
|
140
|
151
|
159
|
|
3801
|
2
|
2,63
|
86
|
90
|
98
|
102
|
|
3801
|
3
|
1,76
|
54
|
56
|
58
|
61
|
|
6
|
Благовещенск
|
Б
|
6889
|
1
|
5,00
|
199
|
209
|
225
|
230
|
|
6235
|
2
|
3,48
|
131
|
137
|
149
|
153
|
|
6235
|
3
|
2,25
|
80
|
84
|
89
|
91
|
|
7
|
Брянск
|
Б
|
4572
|
1
|
3,96
|
141
|
147
|
173
|
177
|
|
4162
|
2
|
2,76
|
91
|
95
|
113
|
116
|
|
4162
|
3
|
1,83
|
57
|
60
|
68
|
69
|
|
8
|
Братск
|
А
|
7370
|
1
|
5,22
|
133
|
140
|
218
|
229
|
|
6623
|
2
|
3,62
|
86
|
90
|
144
|
151
|
|
6623
|
3
|
2,32
|
54
|
56
|
85
|
89
|
|
9
|
Волгоград
|
А
|
3952
|
1
|
3,68
|
199
|
209
|
147
|
154
|
|
3596
|
2
|
2,56
|
131
|
137
|
94
|
99
|
|
3596
|
3
|
1,72
|
80
|
84
|
56
|
59
|
|
10
|
Вологда
|
Б
|
5798
|
1
|
4,51
|
141
|
147
|
201
|
205
|
|
5105
|
2
|
3,09
|
91
|
95
|
130
|
132
|
|
5105
|
3
|
2,02
|
57
|
60
|
77
|
79
|
|
11
|
Воронеж
|
А
|
4528
|
1
|
3,94
|
133
|
140
|
159
|
166
|
|
4136
|
2
|
2,75
|
86
|
90
|
103
|
108
|
|
4136
|
3
|
1,83
|
54
|
56
|
61
|
64
|
|
12
|
Владимир
|
Б
|
5006
|
1
|
4,15
|
141
|
147
|
183
|
187
|
|
4580
|
2
|
2,90
|
91
|
95
|
120
|
123
|
|
4154
|
3
|
1,83
|
57
|
60
|
68
|
69
|
|
13
|
Владивосток
|
Б
|
4684
|
1
|
4,01
|
133
|
140
|
176
|
179
|
|
4292
|
2
|
2,80
|
86
|
90
|
115
|
118
|
|
4292
|
3
|
1,86
|
54
|
56
|
69
|
71
|
|
14
|
Владикавказ
|
А
|
3410
|
1
|
3,43
|
141
|
147
|
135
|
142
|
|
3062
|
2
|
2,37
|
91
|
95
|
86
|
90
|
|
3062
|
3
|
1,61
|
57
|
60
|
51
|
54
|
|
15
|
Грозный
|
А
|
3056
|
1
|
3,28
|
133
|
140
|
128
|
134
|
|
2736
|
2
|
2,26
|
86
|
90
|
80
|
84
|
|
2736
|
3
|
1,55
|
54
|
56
|
48
|
51
|
|
16
|
Екатеринбург
|
А
|
6210
|
1
|
4,69
|
199
|
209
|
194
|
203
|
|
5520
|
2
|
3,23
|
131
|
137
|
126
|
132
|
|
5520
|
3
|
2,10
|
80
|
84
|
74
|
78
|
|
17
|
Иваново
|
Б
|
см. Владимир
|
|
18
|
Игарка
|
Б
|
10575
|
1
|
6,66
|
314
|
321
|
308
|
315
|
|
9666
|
2
|
4,68
|
215
|
220
|
209
|
214
|
|
9666
|
3
|
2,93
|
129
|
132
|
123
|
126
|
|
19
|
Иркутск
|
А
|
7080
|
1
|
5,09
|
218
|
228
|
212
|
222
|
|
6360
|
2
|
3,53
|
145
|
152
|
139
|
146
|
|
6360
|
3
|
2,27
|
88
|
92
|
82
|
86
|
|
20
|
Ижевск
|
Б
|
5905
|
1
|
4,56
|
209
|
214
|
203
|
208
|
|
5239
|
2
|
3,13
|
138
|
141
|
132
|
135
|
|
5239
|
3
|
2,05
|
84
|
86
|
79
|
80
|
|
21
|
Йошкар-Ола
|
Б
|
5742
|
1
|
4,48
|
205
|
210
|
199
|
204
|
|
5082
|
2
|
3,08
|
135
|
138
|
129
|
132
|
|
5082
|
3
|
2,02
|
83
|
85
|
77
|
79
|
|
22
|
Казань
|
Б
|
см. Вологда
|
|
23
|
Калининград
|
Б
|
3648
|
1
|
3,54
|
158
|
162
|
152
|
156
|
|
3262
|
2
|
2,44
|
103
|
105
|
97
|
99
|
|
3262
|
3
|
1,65
|
65
|
66
|
59
|
60
|
|
24
|
Калуга
|
Б
|
см. Владивосток
|
|
25
|
Кемерово
|
А
|
6537
|
1
|
4,84
|
206
|
216
|
201
|
210
|
|
6075
|
2
|
3,43
|
140
|
147
|
135
|
141
|
|
6075
|
3
|
2,22
|
85
|
89
|
80
|
83
|
|
26
|
Вятка
|
Б
|
5660
|
1
|
4,45
|
203
|
208
|
198
|
202
|
|
4967
|
2
|
3,04
|
133
|
136
|
127
|
130
|
|
4967
|
3
|
1,99
|
82
|
84
|
76
|
78
|
|
27
|
Кострома
|
Б
|
5528
|
1
|
4,39
|
200
|
205
|
195
|
199
|
|
4862
|
2
|
3,00
|
131
|
134
|
125
|
128
|
|
4862
|
3
|
1,97
|
81
|
82
|
75
|
77
|
|
28
|
Краснодар
|
А
|
2682
|
1
|
3,11
|
125
|
131
|
120
|
126
|
|
2384
|
2
|
2,13
|
80
|
84
|
75
|
78
|
|
2384
|
3
|
1,48
|
51
|
53
|
45
|
47
|
|
29
|
Красноярск
|
А
|
6575
|
1
|
4,86
|
207
|
217
|
202
|
211
|
|
5873
|
2
|
3,36
|
137
|
144
|
132
|
138
|
|
5873
|
3
|
2,17
|
83
|
87
|
78
|
81
|
|
30
|
Курган
|
А
|
см. Барнаул
|
|
31
|
Курск
|
Б
|
4435
|
1
|
3,90
|
176
|
180
|
170
|
174
|
|
4039
|
2
|
2,71
|
117
|
119
|
111
|
113
|
|
4039
|
3
|
1,81
|
72
|
74
|
67
|
68
|
|
32
|
Кызыл
|
А
|
7875
|
1
|
5,44
|
234
|
246
|
229
|
240
|
|
7425
|
2
|
3,90
|
162
|
170
|
157
|
164
|
|
7425
|
3
|
2,49
|
98
|
102
|
92
|
96
|
|
33
|
Липецк
|
А
|
4703
|
1
|
4,02
|
168
|
176
|
162
|
170
|
|
4301
|
2
|
2,81
|
111
|
117
|
106
|
111
|
|
4301
|
3
|
1,86
|
68
|
72
|
63
|
66
|
|
34
|
Магадан
|
Б
|
7805
|
1
|
5,41
|
252
|
257
|
246
|
251
|
|
7229
|
2
|
3,83
|
173
|
176
|
167
|
170
|
|
7229
|
3
|
2,45
|
104
|
107
|
99
|
101
|
|
35
|
Махачкала
|
А
|
2560
|
1
|
3,05
|
123
|
129
|
117
|
123
|
|
2264
|
2
|
2,09
|
78
|
82
|
73
|
76
|
|
2264
|
3
|
1,45
|
49
|
52
|
44
|
46
|
|
36
|
Москва
|
Б
|
5027
|
1
|
4,16
|
189
|
193
|
183
|
187
|
|
4601
|
2
|
2,91
|
127
|
129
|
121
|
123
|
|
4601
|
3
|
1,92
|
78
|
80
|
72
|
74
|
|
37
|
Мурманск
|
Б
|
6380
|
1
|
4,77
|
220
|
224
|
214
|
218
|
|
5830
|
2
|
3,34
|
148
|
151
|
142
|
145
|
|
5830
|
3
|
2,17
|
90
|
92
|
85
|
86
|
|
38
|
Нальчик
|
А
|
3259
|
1
|
3,37
|
138
|
144
|
132
|
138
|
|
2923
|
2
|
2,32
|
89
|
93
|
83
|
87
|
|
2923
|
3
|
1,58
|
56
|
58
|
50
|
52
|
|
39
|
Нижний Новгород
|
Б
|
см. Владимир
|
|
40
|
Новгород
|
Б
|
4928
|
1
|
4,12
|
187
|
191
|
181
|
185
|
|
4486
|
2
|
2,87
|
125
|
127
|
119
|
121
|
|
4486
|
3
|
1,90
|
77
|
79
|
71
|
73
|
|
41
|
Новосибирск
|
А
|
см. Кемерово
|
|
42
|
Омск
|
А
|
6497
|
1
|
4,82
|
206
|
215
|
200
|
210
|
|
5834
|
2
|
3,34
|
136
|
143
|
131
|
137
|
|
5834
|
3
|
2,17
|
83
|
87
|
77
|
81
|
|
43
|
Оренбург
|
А
|
5515
|
1
|
4,38
|
185
|
194
|
179
|
188
|
|
4909
|
2
|
3,02
|
121
|
127
|
116
|
121
|
|
4909
|
3
|
1,98
|
74
|
78
|
69
|
72
|
|
44
|
Орел
|
Б
|
4654
|
1
|
3,99
|
181
|
185
|
175
|
179
|
|
4244
|
2
|
2,79
|
120
|
123
|
114
|
117
|
|
4244
|
3
|
1,85
|
75
|
76
|
69
|
70
|
|
45
|
Пенза
|
А
|
5072
|
1
|
4,18
|
176
|
184
|
170
|
178
|
|
4658
|
2
|
2,93
|
117
|
123
|
112
|
117
|
|
4658
|
3
|
1,93
|
72
|
75
|
66
|
69
|
|
46
|
Пермь
|
Б
|
см. Вятка
|
|
47
|
Петропавловск-Камчатский
|
Б
|
см. Ижевск
|
|
48
|
Петрозаводск
|
Б
|
см. Вологда
|
|
49
|
Псков
|
Б
|
см. Курск
|
|
50
|
Ростов-на-Дону
|
А
|
3523
|
1
|
3,49
|
143
|
150
|
138
|
144
|
|
3181
|
2
|
2,41
|
93
|
97
|
88
|
92
|
|
3181
|
3
|
1,64
|
58
|
61
|
52
|
55
|
|
51
|
Рязань
|
Б
|
4888
|
1
|
4,10
|
186
|
190
|
180
|
184
|
|
4472
|
2
|
2,87
|
124
|
127
|
118
|
121
|
|
4472
|
3
|
1,89
|
77
|
79
|
71
|
73
|
|
52
|
Самара
|
Б
|
см. Кострома
|
|
53
|
Санкт-Петербург
|
Б
|
см. Орел
|
|
54
|
Саранск
|
А
|
см. Пенза
|
|
55
|
Саратов
|
А
|
4763
|
1
|
4,04
|
169
|
177
|
164
|
171
|
|
4371
|
2
|
2,83
|
112
|
118
|
107
|
112
|
|
4371
|
3
|
1,87
|
69
|
72
|
64
|
67
|
|
56
|
Салехард
|
Б
|
9461
|
1
|
6,16
|
289
|
295
|
283
|
289
|
|
8585
|
2
|
4,30
|
196
|
201
|
190
|
195
|
|
8585
|
3
|
2,72
|
118
|
121
|
112
|
115
|
|
57
|
Смоленск
|
Б
|
4816
|
1
|
4,07
|
184
|
188
|
179
|
183
|
|
4386
|
2
|
2,84
|
123
|
125
|
117
|
120
|
|
4386
|
3
|
1,88
|
76
|
78
|
70
|
72
|
|
58
|
Ставрополь
|
А
|
3209
|
1
|
3,34
|
136
|
143
|
131
|
137
|
|
2873
|
2
|
2,31
|
88
|
92
|
83
|
86
|
|
2873
|
3
|
1,57
|
55
|
58
|
50
|
52
|
|
59
|
Сыктывкар
|
Б
|
6566
|
1
|
4,85
|
224
|
229
|
218
|
223
|
|
5831
|
2
|
3,34
|
148
|
151
|
142
|
145
|
|
5831
|
3
|
2,17
|
90
|
92
|
85
|
86
|
|
60
|
Тамбов
|
А
|
4764
|
1
|
4,04
|
169
|
177
|
164
|
171
|
|
4362
|
2
|
2,83
|
112
|
118
|
107
|
112
|
|
4362
|
3
|
1,87
|
69
|
72
|
64
|
67
|
|
61
|
Тверь
|
Б
|
5014
|
1
|
4,16
|
189
|
193
|
183
|
187
|
|
4578
|
2
|
2,90
|
126
|
129
|
120
|
123
|
|
4578
|
3
|
1,92
|
78
|
80
|
72
|
74
|
|
62
|
Томск
|
Б
|
см. Благовещенск
|
|
63
|
Тула
|
Б
|
см. Новгород
|
|
64
|
Тюмень
|
А
|
см. Екатеринбург
|
|
65
|
Ульяновск
|
А
|
5597
|
1
|
4,42
|
187
|
196
|
181
|
190
|
|
4961
|
2
|
3,04
|
122
|
128
|
117
|
122
|
|
4961
|
3
|
1,99
|
75
|
78
|
69
|
72
|
|
66
|
Улан-Уде
|
А
|
7442
|
1
|
5,25
|
225
|
236
|
220
|
230
|
|
6731
|
2
|
3,66
|
151
|
158
|
146
|
152
|
|
6731
|
3
|
2,35
|
91
|
95
|
86
|
90
|
|
67
|
Уфа
|
А
|
5517
|
1
|
4,38
|
185
|
194
|
179
|
188
|
|
5091
|
2
|
3,08
|
124
|
130
|
119
|
124
|
|
5091
|
3
|
2,02
|
76
|
79
|
70
|
74
|
|
68
|
Хабаровск
|
Б
|
6393
|
1
|
4,78
|
220
|
225
|
214
|
219
|
|
5760
|
2
|
3,32
|
147
|
150
|
141
|
144
|
|
5760
|
3
|
2,15
|
90
|
92
|
84
|
86
|
|
69
|
Чебоксары
|
Б
|
5620
|
1
|
4,43
|
202
|
207
|
197
|
201
|
|
4969
|
2
|
3,04
|
133
|
136
|
127
|
130
|
|
4969
|
3
|
1,99
|
82
|
84
|
76
|
78
|
|
70
|
Челябинск
|
Б
|
5995
|
1
|
4,60
|
211
|
216
|
205
|
210
|
|
5341
|
2
|
3,17
|
139
|
143
|
134
|
137
|
|
5341
|
3
|
2,07
|
85
|
87
|
80
|
81
|
|
71
|
Чита
|
А
|
7841
|
1
|
5,43
|
234
|
245
|
228
|
239
|
|
7115
|
2
|
3,79
|
157
|
165
|
152
|
159
|
|
7115
|
3
|
2,42
|
95
|
99
|
89
|
93
|
|
72
|
Элиста
|
А
|
3668
|
1
|
3,55
|
146
|
153
|
141
|
147
|
|
3322
|
2
|
2,46
|
95
|
100
|
90
|
94
|
|
3322
|
3
|
1,66
|
59
|
62
|
54
|
56
|
|
73
|
Южно- Сахалинск
|
Б
|
см. Вологда
|
|
74
|
Якутск
|
А
|
10650
|
1
|
6,69
|
293
|
307
|
287
|
301
|
|
9882
|
2
|
4,76
|
202
|
212
|
197
|
206
|
|
9882
|
3
|
2,98
|
121
|
126
|
115
|
121
|
|
75
|
Ярославль
|
Б
|
см. Смоленск
|
Примечания.
1. Толщина теплоизоляционного слоя рассчитана для чердачного перекрытия
проходного чердака при коэффициенте теплотехнической однородности 0,9.
2. Толщина железобетонной плиты 100 мм, толщина многопустотного настила
250 мм.
Таблица 5.13.8. Расчетная толщина тепловой изоляции из
теплоизоляционных плит марок «ТЕРМОКРОВЛЯ Н», «ТЕРМОПОЛ», «ТЕРМОКРОВЛЯ» с
цементной стяжкой в конструкции утепления чердачного перекрытия (холодный
чердак) из железобетонной плиты толщиной 100 мм.
|
№ п/п
|
Город РФ
|
Условия эксплуатации
|
Dd, ºС·сут
|
Тип помещения
|
R0тр,
(м2·ºС)/Вт
|
Плиты марки
|
|
ТЕРМОКРОВЛЯ Н
|
ТЕРМОПОЛ
|
ТЕРМОКРОВЛЯ
|
|
Толщина теплоизоляционного слоя, мм
|
|
1
|
2
|
3
|
4
|
5
|
6
|
7
|
8
|
9
|
|
1
|
Архангельск
|
Б
|
6426
|
1
|
4,79
|
216
|
221
|
226
|
|
5667
|
2
|
3,28
|
143
|
146
|
150
|
|
5667
|
3
|
2,13
|
89
|
91
|
93
|
|
2
|
Астрахань
|
А
|
3540
|
1
|
3,49
|
143
|
146
|
149
|
|
3206
|
2
|
2,42
|
94
|
96
|
99
|
|
3206
|
3
|
1,64
|
60
|
61
|
63
|
|
3
|
Анадырь
|
Б
|
9797
|
1
|
6,31
|
290
|
296
|
302
|
|
8864
|
2
|
4,40
|
198
|
202
|
206
|
|
8864
|
3
|
2,77
|
120
|
122
|
125
|
|
4
|
Барнаул
|
А
|
6343
|
1
|
4,75
|
200
|
204
|
209
|
|
5680
|
2
|
3,29
|
133
|
136
|
140
|
|
5680
|
3
|
2,14
|
82
|
84
|
86
|
|
5
|
Белгород
|
А
|
4183
|
1
|
3,78
|
156
|
159
|
163
|
|
3801
|
2
|
2,63
|
104
|
106
|
108
|
|
3801
|
3
|
1,76
|
65
|
67
|
68
|
|
6
|
Благовещенск
|
Б
|
6889
|
1
|
5,00
|
226
|
231
|
236
|
|
6235
|
2
|
3,48
|
153
|
156
|
160
|
|
6235
|
3
|
2,25
|
94
|
96
|
98
|
|
7
|
Брянск
|
Б
|
4572
|
1
|
3,96
|
176
|
180
|
184
|
|
4162
|
2
|
2,76
|
118
|
120
|
123
|
|
4162
|
3
|
1,83
|
74
|
76
|
77
|
|
8
|
Братск
|
А
|
7370
|
1
|
5,22
|
221
|
226
|
231
|
|
6623
|
2
|
3,62
|
148
|
152
|
155
|
|
6623
|
3
|
2,32
|
91
|
93
|
95
|
|
9
|
Волгоград
|
А
|
3952
|
1
|
3,68
|
151
|
154
|
158
|
|
3596
|
2
|
2,56
|
100
|
103
|
105
|
|
3596
|
3
|
1,72
|
64
|
65
|
66
|
|
10
|
Вологда
|
Б
|
5798
|
1
|
4,51
|
203
|
207
|
212
|
|
5105
|
2
|
3,09
|
134
|
137
|
140
|
|
5105
|
3
|
2,02
|
83
|
85
|
87
|
|
11
|
Воронеж
|
А
|
4528
|
1
|
3,94
|
163
|
167
|
170
|
|
4136
|
2
|
2,75
|
109
|
111
|
114
|
|
4136
|
3
|
1,83
|
68
|
70
|
72
|
|
12
|
Владимир
|
Б
|
5006
|
1
|
4,15
|
185
|
189
|
194
|
|
4580
|
2
|
2,90
|
125
|
128
|
130
|
|
4154
|
3
|
1,83
|
74
|
76
|
77
|
|
13
|
Владивосток
|
Б
|
4684
|
1
|
4,01
|
178
|
182
|
186
|
|
4292
|
2
|
2,80
|
120
|
123
|
125
|
|
4292
|
3
|
1,86
|
75
|
77
|
79
|
|
14
|
Владикавказ
|
А
|
3410
|
1
|
3,43
|
140
|
143
|
146
|
|
3062
|
2
|
2,37
|
92
|
94
|
96
|
|
3062
|
3
|
1,61
|
59
|
60
|
61
|
|
15
|
Грозный
|
А
|
3056
|
1
|
3,28
|
133
|
136
|
139
|
|
2736
|
2
|
2,26
|
87
|
89
|
91
|
|
2736
|
3
|
1,55
|
56
|
57
|
58
|
|
16
|
Екатеринбург
|
А
|
6210
|
1
|
4,69
|
197
|
202
|
206
|
|
5520
|
2
|
3,23
|
131
|
134
|
137
|
|
5520
|
3
|
2,10
|
81
|
83
|
85
|
|
17
|
Иваново
|
Б
|
см. Владимир
|
|
18
|
Игарка
|
Б
|
10575
|
1
|
6,66
|
307
|
313
|
320
|
|
9666
|
2
|
4,68
|
211
|
216
|
220
|
|
9666
|
3
|
2,93
|
127
|
130
|
133
|
|
19
|
Иркутск
|
А
|
7080
|
1
|
5,09
|
215
|
220
|
225
|
|
6360
|
2
|
3,53
|
144
|
147
|
151
|
|
6360
|
3
|
2,27
|
89
|
91
|
93
|
|
20
|
Ижевск
|
Б
|
5905
|
1
|
4,56
|
205
|
210
|
214
|
|
5239
|
2
|
3,13
|
136
|
139
|
142
|
|
5239
|
3
|
2,05
|
85
|
86
|
88
|
|
21
|
Йошкар-Ола
|
Б
|
5742
|
1
|
4,48
|
201
|
206
|
210
|
|
5082
|
2
|
3,08
|
133
|
136
|
139
|
|
5082
|
3
|
2,02
|
83
|
85
|
87
|
|
22
|
Казань
|
Б
|
см. Вологда
|
|
23
|
Калининград
|
Б
|
3648
|
1
|
3,54
|
156
|
159
|
163
|
|
3262
|
2
|
2,44
|
103
|
105
|
107
|
|
3262
|
3
|
1,65
|
65
|
67
|
68
|
|
24
|
Калуга
|
Б
|
см. Владивосток
|
|
25
|
Кемерово
|
А
|
6537
|
1
|
4,84
|
204
|
208
|
213
|
|
6075
|
2
|
3,43
|
140
|
143
|
146
|
|
6075
|
3
|
2,22
|
86
|
88
|
90
|
|
26
|
Вятка
|
Б
|
5660
|
1
|
4,45
|
200
|
204
|
208
|
|
4967
|
2
|
3,04
|
131
|
134
|
137
|
|
4967
|
3
|
1,99
|
82
|
84
|
86
|
|
27
|
Кострома
|
Б
|
5528
|
1
|
4,39
|
197
|
201
|
205
|
|
4862
|
2
|
3,00
|
130
|
133
|
135
|
|
4862
|
3
|
1,97
|
81
|
83
|
84
|
|
28
|
Краснодар
|
А
|
2682
|
1
|
3,11
|
125
|
128
|
131
|
|
2384
|
2
|
2,13
|
81
|
83
|
85
|
|
2384
|
3
|
1,48
|
53
|
54
|
55
|
|
29
|
Красноярск
|
А
|
6575
|
1
|
4,86
|
204
|
209
|
214
|
|
5873
|
2
|
3,36
|
136
|
140
|
143
|
|
5873
|
3
|
2,17
|
84
|
86
|
88
|
|
30
|
Курган
|
А
|
см. Барнаул
|
|
31
|
Курск
|
Б
|
4435
|
1
|
3,90
|
173
|
177
|
181
|
|
4039
|
2
|
2,71
|
116
|
118
|
121
|
|
4039
|
3
|
1,81
|
73
|
75
|
76
|
|
32
|
Кызыл
|
А
|
7875
|
1
|
5,44
|
231
|
236
|
242
|
|
7425
|
2
|
3,90
|
161
|
165
|
168
|
|
7425
|
3
|
2,49
|
98
|
100
|
103
|
|
33
|
Липецк
|
А
|
4703
|
1
|
4,02
|
166
|
170
|
174
|
|
4301
|
2
|
2,81
|
111
|
114
|
117
|
|
4301
|
3
|
1,86
|
70
|
72
|
73
|
|
34
|
Магадан
|
Б
|
7805
|
1
|
5,41
|
246
|
252
|
257
|
|
7229
|
2
|
3,83
|
170
|
174
|
177
|
|
7229
|
3
|
2,45
|
104
|
106
|
108
|
|
35
|
Махачкала
|
А
|
2560
|
1
|
3,05
|
123
|
126
|
128
|
|
2264
|
2
|
2,09
|
79
|
81
|
83
|
|
2264
|
3
|
1,45
|
51
|
53
|
54
|
|
36
|
Москва
|
Б
|
5027
|
1
|
4,16
|
186
|
190
|
194
|
|
4601
|
2
|
2,91
|
125
|
128
|
131
|
|
4601
|
3
|
1,92
|
78
|
80
|
82
|
|
37
|
Мурманск
|
Б
|
6380
|
1
|
4,77
|
215
|
220
|
225
|
|
5830
|
2
|
3,34
|
146
|
149
|
152
|
|
5830
|
3
|
2,17
|
90
|
92
|
94
|
|
38
|
Нальчик
|
А
|
3259
|
1
|
3,37
|
137
|
140
|
143
|
|
2923
|
2
|
2,32
|
90
|
92
|
94
|
|
2923
|
3
|
1,58
|
57
|
59
|
60
|
|
39
|
Нижний Новгород
|
Б
|
см. Владимир
|
|
40
|
Новгород
|
Б
|
4928
|
1
|
4,12
|
184
|
188
|
192
|
|
4486
|
2
|
2,87
|
123
|
126
|
129
|
|
4486
|
3
|
1,90
|
77
|
79
|
81
|
|
41
|
Новосибирск
|
А
|
см. Кемерово
|
|
42
|
Омск
|
А
|
6497
|
1
|
4,82
|
203
|
208
|
212
|
|
5834
|
2
|
3,34
|
136
|
139
|
142
|
|
5834
|
3
|
2,17
|
84
|
86
|
88
|
|
43
|
Оренбург
|
А
|
5515
|
1
|
4,38
|
183
|
187
|
191
|
|
4909
|
2
|
3,02
|
121
|
124
|
127
|
|
4909
|
3
|
1,98
|
75
|
77
|
79
|
|
44
|
Орел
|
Б
|
4654
|
1
|
3,99
|
178
|
182
|
186
|
|
4244
|
2
|
2,79
|
119
|
122
|
124
|
|
4244
|
3
|
1,85
|
75
|
77
|
78
|
|
45
|
Пенза
|
А
|
5072
|
1
|
4,18
|
174
|
178
|
182
|
|
4658
|
2
|
2,93
|
117
|
120
|
123
|
|
4658
|
3
|
1,93
|
73
|
75
|
77
|
|
46
|
Пермь
|
Б
|
см. Вятка
|
|
47
|
Петропавловск-Камчатский
|
Б
|
см. Ижевск
|
|
48
|
Петрозаводск
|
Б
|
см. Вологда
|
|
49
|
Псков
|
Б
|
см. Курск
|
|
50
|
Ростов-на-Дону
|
А
|
3523
|
1
|
3,49
|
142
|
146
|
149
|
|
3181
|
2
|
2,41
|
94
|
96
|
98
|
|
3181
|
3
|
1,64
|
60
|
61
|
63
|
|
51
|
Рязань
|
Б
|
4888
|
1
|
4,10
|
183
|
187
|
191
|
|
4472
|
2
|
2,87
|
123
|
126
|
128
|
|
4472
|
3
|
1,89
|
77
|
79
|
81
|
|
52
|
Самара
|
Б
|
см. Кострома
|
|
53
|
Санкт-Петербург
|
Б
|
см. Орел
|
|
54
|
Саранск
|
А
|
см. Пенза
|
|
55
|
Саратов
|
А
|
4763
|
1
|
4,04
|
168
|
171
|
175
|
|
4371
|
2
|
2,83
|
113
|
115
|
118
|
|
4371
|
3
|
1,87
|
71
|
72
|
74
|
|
56
|
Салехард
|
Б
|
9461
|
1
|
6,16
|
283
|
289
|
295
|
|
8585
|
2
|
4,30
|
193
|
197
|
201
|
|
8585
|
3
|
2,72
|
117
|
120
|
122
|
|
57
|
Смоленск
|
Б
|
4816
|
1
|
4,07
|
181
|
185
|
189
|
|
4386
|
2
|
2,84
|
122
|
124
|
127
|
|
4386
|
3
|
1,88
|
76
|
78
|
80
|
|
58
|
Ставрополь
|
А
|
3209
|
1
|
3,34
|
136
|
139
|
142
|
|
2873
|
2
|
2,31
|
89
|
91
|
93
|
|
2873
|
3
|
1,57
|
57
|
58
|
60
|
|
59
|
Сыктывкар
|
Б
|
6566
|
1
|
4,85
|
219
|
224
|
229
|
|
5831
|
2
|
3,34
|
146
|
149
|
153
|
|
5831
|
3
|
2,17
|
90
|
92
|
94
|
|
60
|
Тамбов
|
А
|
4764
|
1
|
4,04
|
168
|
171
|
175
|
|
4362
|
2
|
2,83
|
112
|
115
|
118
|
|
4362
|
3
|
1,87
|
70
|
72
|
74
|
|
61
|
Тверь
|
Б
|
5014
|
1
|
4,16
|
186
|
190
|
194
|
|
4578
|
2
|
2,90
|
125
|
128
|
130
|
|
4578
|
3
|
1,92
|
78
|
80
|
82
|
|
62
|
Томск
|
Б
|
см. Благовещенск
|
|
63
|
Тула
|
Б
|
см. Новгород
|
|
64
|
Тюмень
|
А
|
см. Екатеринбург
|
|
65
|
Ульяновск
|
А
|
5597
|
1
|
4,42
|
184
|
189
|
193
|
|
4961
|
2
|
3,04
|
122
|
125
|
128
|
|
4961
|
3
|
1,99
|
76
|
78
|
79
|
|
66
|
Улан-Уде
|
А
|
7442
|
1
|
5,25
|
222
|
227
|
232
|
|
6731
|
2
|
3,66
|
150
|
153
|
157
|
|
6731
|
3
|
2,35
|
92
|
94
|
96
|
|
67
|
Уфа
|
А
|
5517
|
1
|
4,38
|
183
|
187
|
191
|
|
5091
|
2
|
3,08
|
124
|
127
|
130
|
|
5091
|
3
|
2,02
|
77
|
79
|
81
|
|
68
|
Хабаровск
|
Б
|
6393
|
1
|
4,78
|
216
|
220
|
225
|
|
5760
|
2
|
3,32
|
145
|
148
|
151
|
|
5760
|
3
|
2,15
|
90
|
92
|
94
|
|
69
|
Чебоксары
|
Б
|
5620
|
1
|
4,43
|
199
|
203
|
207
|
|
4969
|
2
|
3,04
|
132
|
134
|
137
|
|
4969
|
3
|
1,99
|
82
|
84
|
86
|
|
70
|
Челябинск
|
Б
|
5995
|
1
|
4,60
|
207
|
212
|
216
|
|
5341
|
2
|
3,17
|
138
|
141
|
144
|
|
5341
|
3
|
2,07
|
86
|
87
|
89
|
|
71
|
Чита
|
А
|
7841
|
1
|
5,43
|
230
|
236
|
241
|
|
7115
|
2
|
3,79
|
156
|
160
|
163
|
|
7115
|
3
|
2,42
|
95
|
98
|
100
|
|
72
|
Элиста
|
А
|
3668
|
1
|
3,55
|
145
|
149
|
152
|
|
3322
|
2
|
2,46
|
96
|
98
|
100
|
|
3322
|
3
|
1,66
|
61
|
62
|
64
|
|
73
|
Южно-Сахалинск
|
Б
|
см. Вологда
|
|
74
|
Якутск
|
А
|
10650
|
1
|
6,69
|
287
|
294
|
301
|
|
9882
|
2
|
4,76
|
200
|
205
|
209
|
|
9882
|
3
|
2,98
|
120
|
123
|
126
|
|
75
|
Ярославль
|
Б
|
см. Смоленск
|
Примечание: В расчете принят
коэффициент теплотехнической однородности - 0,95.
Таблица 5.13.9. Расчетная толщина
тепловой изоляции из теплоизоляционных плит марок «ТЕРМОКРОВЛЯ Н», «ТЕРМОПОЛ»,
«ТЕРМОКРОВЛЯ» с цементной стяжкой в конструкции утепления чердачного перекрытия
(холодный чердак) из многопустотного настила толщиной 250 мм.
|
№ п/п
|
Город РФ
|
Условия эксплуатации
|
Dd, ºС·сут
|
Тип помещения
|
R0тр,
(м2·ºС)/Вт
|
Плиты марки
|
|
ТЕРМОКРОВЛЯ Н
|
ТЕРМОПОЛ
|
ТЕРМОКРОВЛЯ
|
|
Толщина теплоизоляционного слоя, мм
|
|
1
|
2
|
3
|
4
|
5
|
6
|
7
|
8
|
9
|
|
1
|
Архангельск
|
Б
|
6426
|
1
|
4,79
|
211
|
215
|
220
|
|
5667
|
2
|
3,28
|
138
|
141
|
144
|
|
5667
|
3
|
2,13
|
83
|
85
|
87
|
|
2
|
Астрахань
|
А
|
3540
|
1
|
3,49
|
137
|
140
|
144
|
|
3206
|
2
|
2,42
|
89
|
91
|
93
|
|
3206
|
3
|
1,64
|
55
|
56
|
57
|
|
3
|
Анадырь
|
Б
|
9797
|
1
|
6,31
|
284
|
290
|
297
|
|
8864
|
2
|
4,40
|
192
|
196
|
200
|
|
8864
|
3
|
2,77
|
114
|
117
|
119
|
|
4
|
Барнаул
|
А
|
6343
|
1
|
4,75
|
194
|
199
|
203
|
|
5680
|
2
|
3,29
|
128
|
131
|
134
|
|
5680
|
3
|
2,14
|
77
|
79
|
81
|
|
5
|
Белгород
|
А
|
4183
|
1
|
3,78
|
150
|
154
|
157
|
|
3801
|
2
|
2,63
|
98
|
100
|
103
|
|
3801
|
3
|
1,76
|
60
|
61
|
63
|
|
6
|
Благовещенск
|
Б
|
6889
|
1
|
5,00
|
221
|
226
|
230
|
|
6235
|
2
|
3,48
|
147
|
151
|
154
|
|
6235
|
3
|
2,25
|
89
|
91
|
92
|
|
7
|
Брянск
|
Б
|
4572
|
1
|
3,96
|
170
|
174
|
178
|
|
4162
|
2
|
2,76
|
112
|
115
|
117
|
|
4162
|
3
|
1,83
|
69
|
70
|
71
|
|
8
|
Братск
|
А
|
7370
|
1
|
5,22
|
215
|
220
|
225
|
|
6623
|
2
|
3,62
|
143
|
146
|
150
|
|
6623
|
3
|
2,32
|
86
|
88
|
90
|
|
9
|
Волгоград
|
А
|
3952
|
1
|
3,68
|
146
|
149
|
152
|
|
3596
|
2
|
2,56
|
95
|
97
|
99
|
|
3596
|
3
|
1,72
|
58
|
60
|
61
|
|
10
|
Вологда
|
Б
|
5798
|
1
|
4,51
|
197
|
201
|
206
|
|
5105
|
2
|
3,09
|
128
|
131
|
134
|
|
5105
|
3
|
2,02
|
78
|
79
|
81
|
|
11
|
Воронеж
|
А
|
4528
|
1
|
3,94
|
157
|
161
|
165
|
|
4136
|
2
|
2,75
|
104
|
106
|
108
|
|
4136
|
3
|
1,83
|
63
|
65
|
66
|
|
12
|
Владимир
|
Б
|
5006
|
1
|
4,15
|
180
|
184
|
188
|
|
4580
|
2
|
2,90
|
119
|
122
|
124
|
|
4154
|
3
|
1,83
|
68
|
70
|
71
|
|
13
|
Владивосток
|
Б
|
4684
|
1
|
4,01
|
173
|
177
|
180
|
|
4292
|
2
|
2,80
|
114
|
117
|
119
|
|
4292
|
3
|
1,86
|
70
|
71
|
73
|
|
14
|
Владикавказ
|
А
|
3410
|
1
|
3,43
|
135
|
138
|
141
|
|
3062
|
2
|
2,37
|
87
|
89
|
91
|
|
3062
|
3
|
1,61
|
53
|
55
|
56
|
|
15
|
Грозный
|
А
|
3056
|
1
|
3,28
|
127
|
130
|
133
|
|
2736
|
2
|
2,26
|
81
|
83
|
85
|
|
2736
|
3
|
1,55
|
50
|
52
|
53
|
|
16
|
Екатеринбург
|
А
|
6210
|
1
|
4,69
|
192
|
196
|
201
|
|
5520
|
2
|
3,23
|
125
|
128
|
131
|
|
5520
|
3
|
2,10
|
76
|
77
|
79
|
|
17
|
Иваново
|
Б
|
см. Владимир
|
|
18
|
Игарка
|
Б
|
10575
|
1
|
6,66
|
301
|
308
|
314
|
|
9666
|
2
|
4,68
|
205
|
210
|
214
|
|
9666
|
3
|
2,93
|
122
|
124
|
127
|
|
19
|
Иркутск
|
А
|
7080
|
1
|
5,09
|
209
|
214
|
219
|
|
6360
|
2
|
3,53
|
139
|
142
|
145
|
|
6360
|
3
|
2,27
|
83
|
85
|
87
|
|
20
|
Ижевск
|
Б
|
5905
|
1
|
4,56
|
199
|
204
|
208
|
|
5239
|
2
|
3,13
|
130
|
133
|
136
|
|
5239
|
3
|
2,05
|
79
|
81
|
82
|
|
21
|
Йошкар-Ола
|
Б
|
5742
|
1
|
4,48
|
196
|
200
|
204
|
|
5082
|
2
|
3,08
|
128
|
131
|
133
|
|
5082
|
3
|
2,02
|
77
|
79
|
81
|
|
22
|
Казань
|
Б
|
см. Вологда
|
|
23
|
Калининград
|
Б
|
3648
|
1
|
3,54
|
150
|
153
|
157
|
|
3262
|
2
|
2,44
|
97
|
99
|
101
|
|
3262
|
3
|
1,65
|
60
|
61
|
62
|
|
24
|
Калуга
|
Б
|
см. Владивосток
|
|
25
|
Кемерово
|
А
|
6537
|
1
|
4,84
|
198
|
203
|
208
|
|
6075
|
2
|
3,43
|
134
|
137
|
140
|
|
6075
|
3
|
2,22
|
81
|
82
|
84
|
|
26
|
Вятка
|
Б
|
5660
|
1
|
4,45
|
194
|
198
|
202
|
|
4967
|
2
|
3,04
|
126
|
129
|
131
|
|
4967
|
3
|
1,99
|
76
|
78
|
80
|
|
27
|
Кострома
|
Б
|
5528
|
1
|
4,39
|
191
|
195
|
199
|
|
4862
|
2
|
3,00
|
124
|
127
|
129
|
|
4862
|
3
|
1,97
|
75
|
77
|
79
|
|
28
|
Краснодар
|
А
|
2682
|
1
|
3,11
|
120
|
123
|
125
|
|
2384
|
2
|
2,13
|
76
|
78
|
79
|
|
2384
|
3
|
1,48
|
47
|
48
|
49
|
|
29
|
Красноярск
|
А
|
6575
|
1
|
4,86
|
199
|
204
|
208
|
|
5873
|
2
|
3,36
|
131
|
134
|
137
|
|
5873
|
3
|
2,17
|
79
|
81
|
82
|
|
30
|
Курган
|
А
|
см. Барнаул
|
|
31
|
Курск
|
Б
|
4435
|
1
|
3,90
|
167
|
171
|
175
|
|
4039
|
2
|
2,71
|
110
|
113
|
115
|
|
4039
|
3
|
1,81
|
67
|
69
|
70
|
|
32
|
Кызыл
|
А
|
7875
|
1
|
5,44
|
226
|
231
|
236
|
|
7425
|
2
|
3,90
|
156
|
159
|
163
|
|
7425
|
3
|
2,49
|
93
|
95
|
97
|
|
33
|
Липецк
|
А
|
4703
|
1
|
4,02
|
161
|
165
|
168
|
|
4301
|
2
|
2,81
|
106
|
109
|
111
|
|
4301
|
3
|
1,86
|
65
|
66
|
68
|
|
34
|
Магадан
|
Б
|
7805
|
1
|
5,41
|
241
|
246
|
251
|
|
7229
|
2
|
3,83
|
164
|
168
|
171
|
|
7229
|
3
|
2,45
|
98
|
100
|
102
|
|
35
|
Махачкала
|
А
|
2560
|
1
|
3,05
|
117
|
120
|
123
|
|
2264
|
2
|
2,09
|
74
|
76
|
77
|
|
2264
|
3
|
1,45
|
46
|
47
|
48
|
|
36
|
Москва
|
Б
|
5027
|
1
|
4,16
|
180
|
184
|
188
|
|
4601
|
2
|
2,91
|
120
|
122
|
125
|
|
4601
|
3
|
1,92
|
73
|
74
|
76
|
|
37
|
Мурманск
|
Б
|
6380
|
1
|
4,77
|
210
|
214
|
219
|
|
5830
|
2
|
3.34
|
140
|
144
|
147
|
|
5830
|
3
|
2,17
|
85
|
86
|
88
|
|
38
|
Нальчик
|
А
|
3259
|
1
|
3,37
|
132
|
135
|
138
|
|
2923
|
2
|
2,32
|
84
|
86
|
88
|
|
2923
|
3
|
1,58
|
52
|
53
|
54
|
|
39
|
Нижний Новгород
|
Б
|
см. Владимир
|
|
40
|
Новгород
|
Б
|
4928
|
1
|
4,12
|
178
|
182
|
186
|
|
4486
|
2
|
2,87
|
118
|
120
|
123
|
|
4486
|
3
|
1,90
|
72
|
73
|
75
|
|
41
|
Новосибирск
|
А
|
см. Кемерово
|
|
42
|
Омск
|
А
|
6497
|
1
|
4,82
|
198
|
202
|
207
|
|
5834
|
2
|
3,34
|
130
|
133
|
136
|
|
5834
|
3
|
2,17
|
78
|
80
|
82
|
|
43
|
Оренбург
|
А
|
5515
|
1
|
4,38
|
177
|
182
|
186
|
|
4909
|
2
|
3,02
|
116
|
118
|
121
|
|
4909
|
3
|
1,98
|
70
|
72
|
73
|
|
44
|
Орел
|
Б
|
4654
|
1
|
3,99
|
172
|
176
|
180
|
|
4244
|
2
|
2,79
|
114
|
116
|
119
|
|
4244
|
3
|
1,85
|
69
|
71
|
72
|
|
45
|
Пенза
|
А
|
5072
|
1
|
4,18
|
168
|
172
|
176
|
|
4658
|
2
|
2,93
|
112
|
114
|
117
|
|
4658
|
3
|
1,93
|
68
|
69
|
71
|
|
46
|
Пермь
|
Б
|
см. Вятка
|
|
47
|
Петропавловск-Камчатский
|
Б
|
см. Ижевск
|
|
48
|
Петрозаводск
|
Б
|
см. Вологда
|
|
49
|
Псков
|
Б
|
см. Курск
|
|
50
|
Ростов-на-Дону
|
А
|
3523
|
1
|
3,49
|
137
|
140
|
143
|
|
3181
|
2
|
2,41
|
88
|
90
|
92
|
|
3181
|
3
|
1,64
|
54
|
56
|
57
|
|
51
|
Рязань
|
Б
|
4888
|
1
|
4,10
|
177
|
181
|
185
|
|
4472
|
2
|
2,87
|
117
|
120
|
123
|
|
4472
|
3
|
1,89
|
72
|
73
|
75
|
|
52
|
Самара
|
Б
|
см. Кострома
|
|
53
|
Санкт-Петербург
|
Б
|
см. Орел
|
|
54
|
Саранск
|
А
|
см. Пенза
|
|
55
|
Саратов
|
А
|
4763
|
1
|
4,04
|
162
|
166
|
170
|
|
4371
|
2
|
2,83
|
107
|
110
|
112
|
|
4371
|
3
|
1,87
|
65
|
67
|
68
|
|
56
|
Салехард
|
Б
|
9461
|
1
|
6,16
|
277
|
283
|
289
|
|
8585
|
2
|
4,30
|
187
|
191
|
195
|
|
8585
|
3
|
2,72
|
111
|
114
|
116
|
|
57
|
Смоленск
|
Б
|
4816
|
1
|
4,07
|
176
|
179
|
183
|
|
4386
|
2
|
2,84
|
116
|
119
|
121
|
|
4386
|
3
|
1,88
|
71
|
72
|
74
|
|
58
|
Ставрополь
|
А
|
3209
|
1
|
3,34
|
131
|
134
|
137
|
|
2873
|
2
|
2,31
|
84
|
85
|
87
|
|
2873
|
3
|
1,57
|
52
|
53
|
54
|
|
59
|
Сыктывкар
|
Б
|
6566
|
1
|
4,85
|
214
|
218
|
223
|
|
5831
|
2
|
3,34
|
141
|
144
|
147
|
|
5831
|
3
|
2,17
|
85
|
87
|
88
|
|
60
|
Тамбов
|
А
|
4764
|
1
|
4,04
|
162
|
166
|
170
|
|
4362
|
2
|
2,83
|
107
|
110
|
112
|
|
4362
|
3
|
1,87
|
65
|
67
|
68
|
|
61
|
Тверь
|
Б
|
5014
|
1
|
4,16
|
180
|
184
|
188
|
|
4578
|
2
|
2,90
|
119
|
122
|
124
|
|
4578
|
3
|
1,92
|
73
|
74
|
76
|
|
62
|
Томск
|
Б
|
см. Благовещенск
|
|
63
|
Тула
|
Б
|
см. Новгород
|
|
64
|
Тюмень
|
А
|
см. Екатеринбург
|
|
65
|
Ульяновск
|
А
|
5597
|
1
|
4,42
|
179
|
183
|
187
|
|
4961
|
2
|
3,04
|
117
|
119
|
122
|
|
4961
|
3
|
1,99
|
71
|
72
|
74
|
|
66
|
Улан-Уде
|
А
|
7442
|
1
|
5,25
|
217
|
222
|
227
|
|
6731
|
2
|
3,66
|
145
|
148
|
151
|
|
6731
|
3
|
2,35
|
87
|
89
|
91
|
|
67
|
Уфа
|
А
|
5517
|
1
|
4,38
|
178
|
182
|
186
|
|
5091
|
2
|
3,08
|
119
|
121
|
124
|
|
5091
|
3
|
2,02
|
72
|
73
|
75
|
|
68
|
Хабаровск
|
Б
|
6393
|
1
|
4,78
|
210
|
215
|
219
|
|
5760
|
2
|
3,32
|
139
|
142
|
145
|
|
5760
|
3
|
2,15
|
84
|
86
|
88
|
|
69
|
Чебоксары
|
Б
|
5620
|
1
|
4,43
|
193
|
197
|
202
|
|
4969
|
2
|
3,04
|
126
|
129
|
131
|
|
4969
|
3
|
1,99
|
76
|
78
|
80
|
|
70
|
Челябинск
|
Б
|
5995
|
1
|
4,60
|
201
|
206
|
210
|
|
5341
|
2
|
3,17
|
132
|
135
|
138
|
|
5341
|
3
|
2,07
|
80
|
82
|
83
|
|
71
|
Чита
|
А
|
7841
|
1
|
5,43
|
225
|
230
|
235
|
|
7115
|
2
|
3,79
|
151
|
154
|
158
|
|
7115
|
3
|
2,42
|
90
|
92
|
94
|
|
72
|
Элиста
|
А
|
3668
|
1
|
3,55
|
140
|
143
|
146
|
|
3322
|
2
|
2,46
|
91
|
93
|
95
|
|
3322
|
3
|
1,66
|
56
|
57
|
58
|
|
73
|
Южно-Сахалинск
|
Б
|
см. Вологда
|
|
74
|
Якутск
|
А
|
10650
|
1
|
6,69
|
282
|
289
|
295
|
|
9882
|
2
|
4,76
|
195
|
199
|
204
|
|
9882
|
3
|
2,98
|
115
|
118
|
120
|
|
75
|
Ярославль
|
Б
|
см. Смоленск
|
Примечание. В расчете принят
коэффициент теплотехнической однородности - 0,95.
Таблица 5.13.10. Расчетная толщина
тепловой изоляции из плит марки «ТЕРМО» в конструкции утепления перекрытия из
железобетонной сплошной плиты или многопустотного настила над холодным подвалом
или техподпольем.
|
№ п/п
|
Город РФ
|
Условия эксплуатации
|
Dd, ºС·сут
|
Тип помещения
|
R0тр, (м2·ºС)/Вт
|
Вид перекрытия
|
|
Железобетонная плита
|
Многопустотный настил
|
|
Толщина
теплоизоляционного слоя, мм, из плит марки
|
|
ТЕРМОЛАЙТ+ ТЕРМОСТЕНА
|
ТЕРМОЛАЙТ, ТЕРМОСТЕНА+,
ТЕРМОВЕНТ, ТЕРМОМОНОЛИТ
|
ТЕРМОЛАЙТ+ ТЕРМОСТЕНА
|
ТЕРМОЛАЙТ, ТЕРМОСТЕНА+,
ТЕРМОВЕНТ, ТЕРМОМОНОЛИТ
|
|
1
|
2
|
3
|
4
|
5
|
6
|
7
|
8
|
9
|
10
|
|
1
|
Архангельск
|
Б
|
6426
|
1
|
4,79
|
212
|
217
|
206
|
211
|
|
5667
|
2
|
3,28
|
137
|
140
|
131
|
134
|
|
5667
|
3
|
2,13
|
79
|
81
|
73
|
75
|
|
2
|
Астрахань
|
А
|
3540
|
1
|
3,49
|
134
|
140
|
129
|
135
|
|
3206
|
2
|
2,42
|
84
|
88
|
79
|
82
|
|
3206
|
3
|
1,64
|
48
|
50
|
42
|
44
|
|
3
|
Анадырь
|
Б
|
9797
|
1
|
6,31
|
288
|
294
|
282
|
288
|
|
8864
|
2
|
4,40
|
193
|
197
|
187
|
191
|
|
8864
|
3
|
2,77
|
111
|
114
|
105
|
108
|
|
4
|
Барнаул
|
А
|
6343
|
1
|
4,75
|
193
|
202
|
187
|
196
|
|
5680
|
2
|
3.29
|
124
|
130
|
119
|
125
|
|
5680
|
3
|
2,14
|
71
|
74
|
65
|
68
|
|
5
|
Белгород
|
А
|
4183
|
1
|
3,78
|
148
|
155
|
142
|
149
|
|
3801
|
2
|
2,63
|
94
|
98
|
88
|
92
|
|
3801
|
3
|
1,76
|
53
|
56
|
48
|
50
|
|
6
|
Благовещенск
|
Б
|
6889
|
1
|
5,00
|
223
|
227
|
217
|
222
|
|
6235
|
2
|
3,48
|
147
|
150
|
141
|
144
|
|
6235
|
3
|
2,25
|
85
|
87
|
79
|
81
|
|
7
|
Брянск
|
Б
|
4572
|
1
|
3,96
|
170
|
174
|
165
|
168
|
|
4162
|
2
|
2,76
|
110
|
113
|
105
|
107
|
|
4162
|
3
|
1,83
|
64
|
66
|
58
|
60
|
|
8
|
Братск
|
А
|
7370
|
1
|
5,22
|
214
|
225
|
209
|
219
|
|
6623
|
2
|
3,62
|
140
|
147
|
134
|
141
|
|
6623
|
3
|
2,32
|
80
|
83
|
74
|
78
|
|
9
|
Волгоград
|
А
|
3952
|
1
|
3,68
|
143
|
149
|
137
|
144
|
|
3596
|
2
|
2,56
|
90
|
95
|
85
|
89
|
|
3596
|
3
|
1,72
|
51
|
54
|
46
|
48
|
|
10
|
Вологда
|
Б
|
5798
|
1
|
4,51
|
198
|
202
|
192
|
196
|
|
5105
|
2
|
3,09
|
127
|
130
|
121
|
124
|
|
5105
|
3
|
2,02
|
74
|
75
|
68
|
69
|
|
11
|
Воронеж
|
А
|
4528
|
1
|
3,94
|
155
|
162
|
149
|
156
|
|
4136
|
2
|
2,75
|
99
|
104
|
94
|
98
|
|
4136
|
3
|
1,83
|
56
|
59
|
51
|
53
|
|
12
|
Владимир
|
Б
|
5006
|
1
|
4,15
|
180
|
184
|
174
|
178
|
|
4580
|
2
|
2,90
|
118
|
120
|
112
|
114
|
|
4154
|
3
|
1,83
|
64
|
66
|
58
|
60
|
|
13
|
Владивосток
|
Б
|
4684
|
1
|
4,01
|
173
|
177
|
167
|
171
|
|
4292
|
2
|
2,80
|
113
|
115
|
107
|
109
|
|
4292
|
3
|
1,86
|
65
|
67
|
60
|
61
|
|
14
|
Владикавказ
|
А
|
3410
|
1
|
3,43
|
131
|
138
|
126
|
132
|
|
3062
|
2
|
2,37
|
82
|
86
|
76
|
80
|
|
3062
|
3
|
1,61
|
46
|
49
|
41
|
43
|
|
15
|
Грозный
|
А
|
3056
|
1
|
3,28
|
124
|
130
|
118
|
124
|
|
2736
|
2
|
2,26
|
76
|
80
|
71
|
74
|
|
2736
|
3
|
1,55
|
43
|
45
|
38
|
40
|
|
16
|
Екатеринбург
|
А
|
6210
|
1
|
4,69
|
190
|
199
|
185
|
193
|
|
5520
|
2
|
3,23
|
122
|
128
|
116
|
122
|
|
5520
|
3
|
2,10
|
69
|
73
|
64
|
67
|
|
17
|
Иваново
|
Б
|
см. Владимир
|
|
18
|
Игарка
|
Б
|
10575
|
1
|
6,66
|
305
|
312
|
300
|
306
|
|
9666
|
2
|
4,68
|
207
|
211
|
201
|
205
|
|
9666
|
3
|
2,93
|
119
|
122
|
113
|
116
|
|
19
|
Иркутск
|
А
|
7080
|
1
|
5,09
|
208
|
218
|
203
|
213
|
|
6360
|
2
|
3,53
|
136
|
142
|
130
|
136
|
|
6360
|
3
|
2,27
|
77
|
81
|
72
|
75
|
|
20
|
Ижевск
|
Б
|
5905
|
1
|
4,56
|
200
|
205
|
195
|
199
|
|
5239
|
2
|
3,13
|
129
|
132
|
123
|
126
|
|
5239
|
3
|
2,05
|
75
|
77
|
69
|
71
|
|
21
|
Йошкар-Ола
|
Б
|
5742
|
1
|
4,48
|
197
|
201
|
191
|
195
|
|
5082
|
2
|
3,08
|
126
|
129
|
121
|
123
|
|
5082
|
3
|
2,02
|
73
|
75
|
68
|
69
|
|
22
|
Казань
|
Б
|
см. Вологда
|
|
23
|
Калининград
|
Б
|
3648
|
1
|
3,54
|
150
|
153
|
144
|
147
|
|
3262
|
2
|
2,44
|
95
|
97
|
89
|
91
|
|
3262
|
3
|
1,65
|
55
|
56
|
49
|
50
|
|
24
|
Калуга
|
Б
|
см. Владивосток
|
|
25
|
Кемерово
|
А
|
6537
|
1
|
4,84
|
197
|
206
|
191
|
201
|
|
6075
|
2
|
3,43
|
131
|
137
|
125
|
131
|
|
6075
|
3
|
2,22
|
74
|
78
|
69
|
72
|
|
26
|
Вятка
|
Б
|
5660
|
1
|
4,45
|
195
|
199
|
189
|
193
|
|
4967
|
2
|
3,04
|
124
|
127
|
119
|
121
|
|
4967
|
3
|
1,99
|
72
|
74
|
66
|
68
|
|
27
|
Кострома
|
Б
|
5528
|
1
|
4,39
|
192
|
196
|
186
|
190
|
|
4862
|
2
|
3,00
|
123
|
125
|
117
|
119
|
|
4862
|
3
|
1,97
|
71
|
73
|
65
|
67
|
|
28
|
Краснодар
|
А
|
2682
|
1
|
3,11
|
116
|
122
|
111
|
116
|
|
2384
|
2
|
2,13
|
71
|
74
|
65
|
68
|
|
2384
|
3
|
1,48
|
40
|
42
|
34
|
36
|
|
29
|
Красноярск
|
А
|
6575
|
1
|
4,86
|
198
|
207
|
192
|
201
|
|
5873
|
2
|
3,36
|
128
|
134
|
122
|
128
|
|
5873
|
3
|
2,17
|
73
|
76
|
67
|
70
|
|
30
|
Курган
|
А
|
см. Барнаул
|
|
31
|
Курск
|
Б
|
4435
|
1
|
3,90
|
167
|
171
|
162
|
165
|
|
4039
|
2
|
2,71
|
108
|
111
|
102
|
105
|
|
4039
|
3
|
1,81
|
63
|
64
|
57
|
58
|
|
32
|
Кызыл
|
А
|
7875
|
1
|
5,44
|
225
|
236
|
220
|
230
|
|
7425
|
2
|
3,90
|
153
|
160
|
147
|
155
|
|
7425
|
3
|
2,49
|
87
|
91
|
82
|
85
|
|
33
|
Липецк
|
А
|
4703
|
1
|
4,02
|
158
|
166
|
153
|
160
|
|
4301
|
2
|
2,81
|
102
|
107
|
96
|
101
|
|
4301
|
3
|
1,86
|
58
|
61
|
52
|
55
|
|
34
|
Магадан
|
Б
|
7805
|
1
|
5,41
|
243
|
249
|
237
|
243
|
|
7229
|
2
|
3,83
|
164
|
168
|
158
|
162
|
|
7229
|
3
|
2,45
|
95
|
97
|
89
|
91
|
|
35
|
Махачкала
|
А
|
2560
|
1
|
3,05
|
113
|
119
|
108
|
113
|
|
2264
|
2
|
2,09
|
69
|
72
|
63
|
66
|
|
2264
|
3
|
1,45
|
39
|
41
|
33
|
35
|
|
36
|
Москва
|
Б
|
5027
|
1
|
4,16
|
181
|
185
|
175
|
179
|
|
4601
|
2
|
2,91
|
118
|
121
|
112
|
115
|
|
4601
|
3
|
1,92
|
69
|
70
|
63
|
64
|
|
37
|
Мурманск
|
Б
|
6380
|
1
|
4,77
|
211
|
216
|
205
|
210
|
|
5830
|
2
|
3,34
|
140
|
143
|
134
|
137
|
|
5830
|
3
|
2,17
|
81
|
83
|
75
|
77
|
|
38
|
Нальчик
|
А
|
3259
|
1
|
3,37
|
128
|
134
|
123
|
128
|
|
2923
|
2
|
2,32
|
79
|
83
|
74
|
77
|
|
2923
|
3
|
1,58
|
45
|
47
|
39
|
41
|
|
39
|
Нижний Новгород
|
Б
|
см. Владимир
|
|
40
|
Новгород
|
Б
|
4928
|
1
|
4,12
|
178
|
182
|
173
|
176
|
|
4486
|
2
|
2,87
|
116
|
119
|
110
|
113
|
|
4486
|
3
|
1,90
|
67
|
69
|
62
|
63
|
|
41
|
Новосибирск
|
А
|
см. Кемерово
|
|
42
|
Омск
|
А
|
6497
|
1
|
4,82
|
196
|
206
|
191
|
200
|
|
5834
|
2
|
3,34
|
127
|
133
|
122
|
127
|
|
5834
|
3
|
2,17
|
72
|
76
|
67
|
70
|
|
43
|
Оренбург
|
А
|
5515
|
1
|
4,38
|
176
|
184
|
170
|
178
|
|
4909
|
2
|
3,02
|
112
|
117
|
106
|
111
|
|
4909
|
3
|
1,98
|
64
|
67
|
58
|
61
|
|
44
|
Орел
|
Б
|
4654
|
1
|
3,99
|
172
|
176
|
166
|
170
|
|
4244
|
2
|
2,79
|
112
|
114
|
106
|
108
|
|
4244
|
3
|
1,85
|
65
|
66
|
59
|
60
|
|
45
|
Пенза
|
А
|
5072
|
1
|
4,18
|
166
|
174
|
161
|
168
|
|
4658
|
2
|
2,93
|
108
|
113
|
102
|
107
|
|
4658
|
3
|
1,93
|
61
|
64
|
56
|
58
|
|
46
|
Пермь
|
Б
|
см. Вятка
|
|
47
|
Петропавловск-Камчатский
|
Б
|
см. Ижевск
|
|
48
|
Петрозаводск
|
Б
|
см. Вологда
|
|
49
|
Псков
|
Б
|
см. Курск
|
|
50
|
Ростов-на-Дону
|
А
|
3523
|
1
|
3,49
|
134
|
140
|
128
|
134
|
|
3181
|
2
|
2,41
|
84
|
88
|
78
|
82
|
|
3181
|
3
|
1,64
|
47
|
50
|
42
|
44
|
|
51
|
Рязань
|
Б
|
4888
|
1
|
4,10
|
178
|
181
|
172
|
176
|
|
4472
|
2
|
2,87
|
116
|
118
|
110
|
112
|
|
4472
|
3
|
1,89
|
67
|
69
|
61
|
63
|
|
52
|
Самара
|
Б
|
см. Кострома
|
|
53
|
Санкт-Петербург
|
Б
|
см. Орел
|
|
54
|
Саранск
|
А
|
см. Пенза
|
|
55
|
Саратов
|
А
|
4763
|
1
|
4,04
|
160
|
167
|
154
|
162
|
|
4371
|
2
|
2,83
|
103
|
108
|
98
|
102
|
|
4371
|
3
|
1,87
|
59
|
61
|
53
|
56
|
|
56
|
Салехард
|
Б
|
9461
|
1
|
6,16
|
280
|
287
|
275
|
281
|
|
8585
|
2
|
4,30
|
188
|
192
|
182
|
186
|
|
8585
|
3
|
2,72
|
108
|
111
|
103
|
105
|
|
57
|
Смоленск
|
Б
|
4816
|
1
|
4,07
|
176
|
180
|
170
|
174
|
|
4386
|
2
|
2,84
|
114
|
117
|
108
|
111
|
|
4386
|
3
|
1,88
|
66
|
68
|
61
|
62
|
|
58
|
Ставрополь
|
А
|
3209
|
1
|
3,34
|
127
|
133
|
122
|
127
|
|
2873
|
2
|
2,31
|
79
|
82
|
73
|
77
|
|
2873
|
3
|
1,57
|
45
|
47
|
39
|
41
|
|
59
|
Сыктывкар
|
Б
|
6566
|
1
|
4,85
|
215
|
220
|
209
|
214
|
|
5831
|
2
|
3,34
|
140
|
143
|
134
|
137
|
|
5831
|
3
|
2,17
|
81
|
83
|
75
|
77
|
|
60
|
Тамбов
|
А
|
4764
|
1
|
4,04
|
160
|
167
|
154
|
162
|
|
4362
|
2
|
2,83
|
103
|
108
|
97
|
102
|
|
4362
|
3
|
1,87
|
58
|
61
|
53
|
55
|
|
61
|
Тверь
|
Б
|
5014
|
1
|
4,16
|
180
|
184
|
175
|
178
|
|
4578
|
2
|
2,90
|
118
|
120
|
112
|
114
|
|
4578
|
3
|
1,92
|
68
|
70
|
63
|
64
|
|
62
|
Томск
|
Б
|
см. Благовещенск
|
|
63
|
Тула
|
Б
|
см. Новгород
|
|
64
|
Тюмень
|
А
|
см. Екатеринбург
|
|
65
|
Ульяновск
|
А
|
5597
|
1
|
4,42
|
177
|
186
|
172
|
180
|
|
4961
|
2
|
3,04
|
113
|
118
|
107
|
112
|
|
4961
|
3
|
1,99
|
64
|
67
|
59
|
61
|
|
66
|
Улан-Уде
|
А
|
7442
|
1
|
5,25
|
216
|
226
|
210
|
221
|
|
6731
|
2
|
3,66
|
142
|
148
|
136
|
143
|
|
6731
|
3
|
2,35
|
81
|
84
|
75
|
79
|
|
67
|
Уфа
|
А
|
5517
|
1
|
4,38
|
176
|
184
|
170
|
178
|
|
5091
|
2
|
3,08
|
115
|
120
|
109
|
115
|
|
5091
|
3
|
2,02
|
65
|
68
|
60
|
63
|
|
68
|
Хабаровск
|
Б
|
6393
|
1
|
4,78
|
211
|
216
|
206
|
210
|
|
5760
|
2
|
3,32
|
138
|
141
|
133
|
135
|
|
5760
|
3
|
2,15
|
80
|
82
|
74
|
76
|
|
69
|
Чебоксары
|
Б
|
5620
|
1
|
4,43
|
194
|
198
|
188
|
192
|
|
4969
|
2
|
3,04
|
125
|
127
|
119
|
121
|
|
4969
|
3
|
1,99
|
72
|
74
|
66
|
68
|
|
70
|
Челябинск
|
Б
|
5995
|
1
|
4,60
|
202
|
207
|
197
|
201
|
|
5341
|
2
|
3,17
|
131
|
134
|
125
|
128
|
|
5341
|
3
|
2,07
|
76
|
78
|
70
|
72
|
|
71
|
Чита
|
А
|
7841
|
1
|
5,43
|
224
|
235
|
219
|
229
|
|
7115
|
2
|
3,79
|
148
|
155
|
142
|
149
|
|
7115
|
3
|
2,42
|
84
|
88
|
79
|
82
|
|
72
|
Элиста
|
А
|
3668
|
1
|
3,55
|
137
|
143
|
131
|
137
|
|
3322
|
2
|
2,46
|
86
|
90
|
80
|
84
|
|
3322
|
3
|
1,66
|
49
|
51
|
43
|
45
|
|
73
|
Южно-Сахалинск
|
Б
|
см. Вологда
|
|
74
|
Якутск
|
А
|
10650
|
1
|
6,69
|
283
|
297
|
278
|
291
|
|
9882
|
2
|
4,76
|
193
|
202
|
188
|
197
|
|
9882
|
3
|
2,98
|
110
|
115
|
104
|
109
|
|
75
|
Ярославль
|
Б
|
см. Смоленск
|
Примечания.
1. Толщина теплоизоляционного слоя рассчитана для перекрытия над неотапливаемым
подвалом или техподпольем при коэффициенте теплотехнической однородности 0,9.
2. Толщина железобетонной плиты 100 мм, толщина
многопустотного настила 250 мм.
Таблица 5.13.11. Расчетная толщина
тепловой изоляции из теплоизоляционных плит марок «ТЕРМОКРОВЛЯ Н», «ТЕРМОПОЛ»,
«ТЕРМОКРОВЛЯ» с цементной стяжкой в конструкции утепления перекрытия над
холодным подвалом или техподпольем из многопустотного настила толщиной 250 мм.
|
№ п/п
|
Город РФ
|
Условия эксплуатации
|
Dd, ºС·сут
|
Тип помещения
|
R0тр,
(м2·ºС)/Вт
|
Плиты марки
|
|
ТЕРМОКРОВЛЯ Н
|
ТЕРМОПОЛ
|
ТЕРМОКРОВЛЯ
|
|
Толщина теплоизоляционного слоя, мм
|
|
1
|
2
|
3
|
4
|
5
|
6
|
7
|
8
|
9
|
|
1
|
Архангельск
|
Б
|
6426
|
1
|
4,79
|
203
|
207
|
212
|
|
5667
|
2
|
3,28
|
130
|
133
|
135
|
|
5667
|
3
|
2,13
|
74
|
76
|
77
|
|
2
|
Астрахань
|
А
|
3540
|
1
|
3,49
|
128
|
131
|
134
|
|
3206
|
2
|
2,42
|
80
|
82
|
84
|
|
3206
|
3
|
1,64
|
45
|
46
|
47
|
|
3
|
Анадырь
|
Б
|
9797
|
1
|
6,31
|
276
|
282
|
288
|
|
8864
|
2
|
4,40
|
184
|
188
|
192
|
|
8864
|
3
|
2,77
|
105
|
107
|
110
|
|
4
|
Барнаул
|
А
|
6343
|
1
|
4,75
|
185
|
190
|
194
|
|
5680
|
2
|
3,29
|
119
|
122
|
125
|
|
5680
|
3
|
2,14
|
67
|
68
|
70
|
|
5
|
Белгород
|
А
|
4183
|
1
|
3,78
|
141
|
145
|
148
|
|
3801
|
2
|
2,63
|
89
|
91
|
93
|
|
3801
|
3
|
1,76
|
50
|
51
|
52
|
|
6
|
Благовещенск
|
Б
|
6889
|
1
|
5,00
|
213
|
217
|
222
|
|
6235
|
2
|
3,48
|
139
|
142
|
145
|
|
6235
|
3
|
2,25
|
80
|
81
|
83
|
|
7
|
Брянск
|
Б
|
4572
|
1
|
3,96
|
162
|
166
|
169
|
|
4162
|
2
|
2,76
|
104
|
107
|
109
|
|
4162
|
3
|
1,83
|
59
|
61
|
62
|
|
8
|
Братск
|
А
|
7370
|
1
|
5,22
|
206
|
211
|
216
|
|
6623
|
2
|
3,62
|
134
|
137
|
140
|
|
6623
|
3
|
2,32
|
75
|
77
|
79
|
|
9
|
Волгоград
|
А
|
3952
|
1
|
3,68
|
137
|
140
|
143
|
|
3596
|
2
|
2,56
|
86
|
88
|
90
|
|
3596
|
3
|
1,72
|
48
|
49
|
50
|
|
10
|
Вологда
|
Б
|
5798
|
1
|
4,51
|
189
|
193
|
197
|
|
5105
|
2
|
3,09
|
120
|
123
|
125
|
|
5105
|
3
|
2,02
|
69
|
70
|
72
|
|
11
|
Воронеж
|
А
|
4528
|
1
|
3,94
|
148
|
152
|
155
|
|
4136
|
2
|
2,75
|
95
|
97
|
99
|
|
4136
|
3
|
1,83
|
53
|
54
|
55
|
|
12
|
Владимир
|
Б
|
5006
|
1
|
4,15
|
172
|
176
|
179
|
|
4580
|
2
|
2,90
|
111
|
114
|
116
|
|
4154
|
3
|
1,83
|
59
|
61
|
62
|
|
13
|
Владивосток
|
Б
|
4684
|
1
|
4,01
|
165
|
168
|
172
|
|
4292
|
2
|
2,80
|
106
|
109
|
111
|
|
4292
|
3
|
1,86
|
61
|
62
|
63
|
|
14
|
Владикавказ
|
А
|
3410
|
1
|
3,43
|
126
|
129
|
132
|
|
3062
|
2
|
2,37
|
78
|
79
|
81
|
|
3062
|
3
|
1,61
|
43
|
44
|
45
|
|
15
|
Грозный
|
А
|
3056
|
1
|
3,28
|
118
|
121
|
124
|
|
2736
|
2
|
2,26
|
72
|
74
|
76
|
|
2736
|
3
|
1,55
|
40
|
41
|
42
|
|
16
|
Екатеринбург
|
А
|
6210
|
1
|
4,69
|
183
|
187
|
191
|
|
5520
|
2
|
3,23
|
117
|
119
|
122
|
|
5520
|
3
|
2,10
|
65
|
67
|
69
|
|
17
|
Иваново
|
Б
|
см. Владимир
|
|
18
|
Игарка
|
Б
|
10575
|
1
|
6,66
|
293
|
300
|
306
|
|
9666
|
2
|
4,68
|
198
|
202
|
206
|
|
9666
|
3
|
2,93
|
113
|
115
|
118
|
|
19
|
Иркутск
|
А
|
7080
|
1
|
5,09
|
200
|
205
|
210
|
|
6360
|
2
|
3,53
|
130
|
133
|
136
|
|
6360
|
3
|
2,27
|
73
|
75
|
76
|
|
20
|
Ижевск
|
Б
|
5905
|
1
|
4,56
|
191
|
196
|
200
|
|
5239
|
2
|
3,13
|
123
|
125
|
128
|
|
5239
|
3
|
2,05
|
70
|
71
|
73
|
|
21
|
Йошкар-Ола
|
Б
|
5742
|
1
|
4,48
|
188
|
192
|
196
|
|
5082
|
2
|
3,08
|
120
|
122
|
125
|
|
5082
|
3
|
2,02
|
68
|
70
|
71
|
|
22
|
Казань
|
Б
|
см. Вологда
|
|
23
|
Калининград
|
Б
|
3648
|
1
|
3,54
|
142
|
145
|
148
|
|
3262
|
2
|
2,44
|
89
|
91
|
93
|
|
3262
|
3
|
1,65
|
51
|
52
|
53
|
|
24
|
Калуга
|
Б
|
см. Владивосток
|
|
25
|
Кемерово
|
А
|
6537
|
1
|
4,84
|
189
|
194
|
198
|
|
6075
|
2
|
3,43
|
125
|
128
|
131
|
|
6075
|
3
|
2,22
|
70
|
72
|
74
|
|
26
|
Вятка
|
Б
|
5660
|
1
|
4,45
|
186
|
190
|
194
|
|
4967
|
2
|
3,04
|
118
|
120
|
123
|
|
4967
|
3
|
1,99
|
67
|
69
|
70
|
|
27
|
Кострома
|
Б
|
5528
|
1
|
4,39
|
183
|
187
|
191
|
|
4862
|
2
|
3,00
|
116
|
119
|
121
|
|
4862
|
3
|
1,97
|
66
|
68
|
69
|
|
28
|
Краснодар
|
А
|
2682
|
1
|
3,11
|
111
|
113
|
116
|
|
2384
|
2
|
2,13
|
67
|
68
|
70
|
|
2384
|
3
|
1,48
|
37
|
38
|
39
|
|
29
|
Красноярск
|
А
|
6575
|
1
|
4,86
|
190
|
195
|
199
|
|
5873
|
2
|
3,36
|
122
|
125
|
128
|
|
5873
|
3
|
2,17
|
69
|
70
|
72
|
|
30
|
Курган
|
А
|
см. Барнаул
|
|
31
|
Курск
|
Б
|
4435
|
1
|
3,90
|
159
|
163
|
166
|
|
4039
|
2
|
2,71
|
102
|
104
|
107
|
|
4039
|
3
|
1,81
|
58
|
60
|
61
|
|
32
|
Кызыл
|
А
|
7875
|
1
|
5,44
|
217
|
222
|
227
|
|
7425
|
2
|
3,90
|
147
|
150
|
154
|
|
7425
|
3
|
2,49
|
83
|
85
|
87
|
|
33
|
Липецк
|
А
|
4703
|
1
|
4,02
|
152
|
156
|
159
|
|
4301
|
2
|
2,81
|
97
|
99
|
102
|
|
4301
|
3
|
1,86
|
54
|
56
|
57
|
|
34
|
Магадан
|
Б
|
7805
|
1
|
5,41
|
233
|
238
|
243
|
|
7229
|
2
|
3,83
|
156
|
160
|
163
|
|
7229
|
3
|
2,45
|
89
|
91
|
93
|
|
35
|
Махачкала
|
А
|
2560
|
1
|
3,05
|
108
|
111
|
113
|
|
2264
|
2
|
2,09
|
65
|
66
|
68
|
|
2264
|
3
|
1,45
|
36
|
37
|
38
|
|
36
|
Москва
|
Б
|
5027
|
1
|
4,16
|
172
|
176
|
180
|
|
4601
|
2
|
2,91
|
112
|
114
|
117
|
|
4601
|
3
|
1,92
|
64
|
65
|
67
|
|
37
|
Мурманск
|
Б
|
6380
|
1
|
4,77
|
202
|
206
|
211
|
|
5830
|
2
|
3,34
|
133
|
135
|
138
|
|
5830
|
3
|
2,17
|
76
|
77
|
79
|
|
38
|
Нальчик
|
А
|
3259
|
1
|
3,37
|
123
|
125
|
128
|
|
2923
|
2
|
2,32
|
75
|
77
|
79
|
|
2923
|
3
|
1,58
|
42
|
43
|
44
|
|
39
|
Нижний Новгород
|
Б
|
см. Владимир
|
|
40
|
Новгород
|
Б
|
4928
|
1
|
4,12
|
170
|
174
|
178
|
|
4486
|
2
|
2,87
|
110
|
112
|
115
|
|
4486
|
3
|
1,90
|
63
|
64
|
65
|
|
41
|
Новосибирск
|
А
|
см. Кемерово
|
|
42
|
Омск
|
А
|
6497
|
1
|
4,82
|
189
|
193
|
197
|
|
5834
|
2
|
3,34
|
122
|
124
|
127
|
|
5834
|
3
|
2,17
|
68
|
70
|
71
|
|
43
|
Оренбург
|
А
|
5515
|
1
|
4,38
|
169
|
172
|
176
|
|
4909
|
2
|
3,02
|
107
|
109
|
112
|
|
4909
|
3
|
1,98
|
60
|
61
|
63
|
|
44
|
Орел
|
Б
|
4654
|
1
|
3,99
|
164
|
168
|
171
|
|
4244
|
2
|
2,79
|
106
|
108
|
110
|
|
4244
|
3
|
1,85
|
60
|
62
|
63
|
|
45
|
Пенза
|
А
|
5072
|
1
|
4,18
|
160
|
163
|
167
|
|
4658
|
2
|
2,93
|
103
|
105
|
108
|
|
4658
|
3
|
1,93
|
58
|
59
|
60
|
|
46
|
Пермь
|
Б
|
см. Вятка
|
|
47
|
Петропавловск-Камчатский
|
Б
|
см. Ижевск
|
|
48
|
Петрозаводск
|
Б
|
см. Вологда
|
|
49
|
Псков
|
Б
|
см. Курск
|
|
50
|
Ростов-на-Дону
|
А
|
3523
|
1
|
3,49
|
128
|
131
|
134
|
|
3181
|
2
|
2,41
|
79
|
81
|
83
|
|
3181
|
3
|
1,64
|
44
|
45
|
46
|
|
51
|
Рязань
|
Б
|
4888
|
1
|
4,10
|
169
|
173
|
177
|
|
4472
|
2
|
2,87
|
110
|
112
|
114
|
|
4472
|
3
|
1,89
|
62
|
64
|
65
|
|
52
|
Самара
|
Б
|
см. Кострома
|
|
53
|
Санкт-Петербург
|
Б
|
см. Орел
|
|
54
|
Саранск
|
А
|
см. Пенза
|
|
55
|
Саратов
|
А
|
4763
|
1
|
4,04
|
153
|
157
|
160
|
|
4371
|
2
|
2,83
|
98
|
101
|
103
|
|
4371
|
3
|
1,87
|
55
|
56
|
58
|
|
56
|
Салехард
|
Б
|
9461
|
1
|
6,16
|
269
|
275
|
281
|
|
8585
|
2
|
4,30
|
179
|
183
|
187
|
|
8585
|
3
|
2,72
|
102
|
105
|
107
|
|
57
|
Смоленск
|
Б
|
4816
|
1
|
4,07
|
168
|
171
|
175
|
|
4386
|
2
|
2,84
|
108
|
110
|
113
|
|
4386
|
3
|
1,88
|
62
|
63
|
64
|
|
58
|
Ставрополь
|
А
|
3209
|
1
|
3,34
|
122
|
124
|
127
|
|
2873
|
2
|
2,31
|
75
|
76
|
78
|
|
2873
|
3
|
1,57
|
42
|
42
|
43
|
|
59
|
Сыктывкар
|
Б
|
6566
|
1
|
4,85
|
206
|
210
|
215
|
|
5831
|
2
|
3,34
|
133
|
135
|
138
|
|
5831
|
3
|
2,17
|
76
|
77
|
79
|
|
60
|
Тамбов
|
А
|
4764
|
1
|
4,04
|
153
|
157
|
160
|
|
4362
|
2
|
2,83
|
98
|
100
|
103
|
|
4362
|
3
|
1,87
|
55
|
56
|
58
|
|
61
|
Тверь
|
Б
|
5014
|
1
|
4,16
|
172
|
176
|
179
|
|
4578
|
2
|
2,90
|
111
|
114
|
116
|
|
4578
|
3
|
1,92
|
64
|
65
|
66
|
|
62
|
Томск
|
Б
|
см. Благовещенск
|
|
63
|
Тула
|
Б
|
см. Новгород
|
|
64
|
Тюмень
|
А
|
см. Екатеринбург
|
|
65
|
Ульяновск
|
А
|
5597
|
1
|
4,42
|
170
|
174
|
178
|
|
4961
|
2
|
3,04
|
108
|
110
|
113
|
|
4961
|
3
|
1,99
|
60
|
62
|
63
|
|
66
|
Улан-Уде
|
А
|
7442
|
1
|
5,25
|
208
|
213
|
217
|
|
6731
|
2
|
3,66
|
136
|
139
|
142
|
|
6731
|
3
|
2,35
|
76
|
78
|
80
|
|
67
|
Уфа
|
А
|
5517
|
1
|
4,38
|
169
|
173
|
176
|
|
5091
|
2
|
3,08
|
110
|
112
|
115
|
|
5091
|
3
|
2,02
|
62
|
63
|
64
|
|
68
|
Хабаровск
|
Б
|
6393
|
1
|
4,78
|
202
|
206
|
211
|
|
5760
|
2
|
3,32
|
131
|
134
|
137
|
|
5760
|
3
|
2,15
|
75
|
77
|
78
|
|
69
|
Чебоксары
|
Б
|
5620
|
1
|
4,43
|
185
|
189
|
193
|
|
4969
|
2
|
3,04
|
118
|
120
|
123
|
|
4969
|
3
|
1,99
|
67
|
69
|
70
|
|
70
|
Челябинск
|
Б
|
5995
|
1
|
4,60
|
193
|
198
|
202
|
|
5341
|
2
|
3,17
|
124
|
127
|
130
|
|
5341
|
3
|
2,07
|
71
|
72
|
74
|
|
71
|
Чита
|
А
|
7841
|
1
|
5,43
|
216
|
221
|
226
|
|
7115
|
2
|
3,79
|
142
|
145
|
148
|
|
7115
|
3
|
2,42
|
80
|
82
|
84
|
|
72
|
Элиста
|
А
|
3668
|
1
|
3,55
|
131
|
134
|
137
|
|
3322
|
2
|
2,46
|
82
|
84
|
86
|
|
3322
|
3
|
1,66
|
46
|
47
|
48
|
|
73
|
Южно-Сахалинск
|
Б
|
см. Вологда
|
|
74
|
Якутск
|
А
|
10650
|
1
|
6,69
|
273
|
280
|
286
|
|
9882
|
2
|
4,76
|
186
|
190
|
194
|
|
9882
|
3
|
2,98
|
105
|
107
|
110
|
|
75
|
Ярославль
|
Б
|
см. Смоленск
|
Примечание. В расчете принят
коэффициент теплотехнической однородности - 0,95.
Таблица 5.13.12. Расчетная толщина
тепловой изоляции из теплоизоляционных плит марок «ТЕРМОКРОВЛЯ Н», «ТЕРМОПОЛ»,
«ТЕРМОКРОВЛЯ» с цементной стяжкой в конструкции утепления перекрытия над
холодным подвалом или техподпольем из железобетонной плиты толщиной 100 мм.
|
№ п/п
|
Город РФ
|
Условия эксплуатации
|
Dd, ºС·сут
|
Тип помещения
|
R0тр,
(м2·ºС)/Вт
|
Плиты марки
|
|
ТЕРМОКРОВЛЯ Н
|
ТЕРМОПОЛ
|
ТЕРМОКРОВЛЯ
|
|
Толщина теплоизоляционного слоя, мм
|
|
1
|
2
|
3
|
4
|
5
|
6
|
7
|
8
|
9
|
|
1
|
Архангельск
|
Б
|
6426
|
1
|
4,79
|
208
|
213
|
217
|
|
5667
|
2
|
3,28
|
135
|
138
|
141
|
|
5667
|
3
|
2,13
|
80
|
81
|
83
|
|
2
|
Астрахань
|
А
|
3540
|
1
|
3,49
|
134
|
137
|
140
|
|
3206
|
2
|
2,42
|
85
|
87
|
89
|
|
3206
|
3
|
1,64
|
50
|
51
|
52
|
|
3
|
Анадырь
|
Б
|
9797
|
1
|
6,31
|
282
|
288
|
294
|
|
8864
|
2
|
4,40
|
190
|
194
|
198
|
|
8864
|
3
|
2,77
|
111
|
113
|
115
|
|
4
|
Барнаул
|
А
|
6343
|
1
|
4,75
|
191
|
195
|
200
|
|
5680
|
2
|
3,29
|
124
|
127
|
130
|
|
5680
|
3
|
2,14
|
72
|
74
|
76
|
|
5
|
Белгород
|
А
|
4183
|
1
|
3,78
|
147
|
150
|
154
|
|
3801
|
2
|
2,63
|
95
|
97
|
99
|
|
3801
|
3
|
1,76
|
55
|
57
|
58
|
|
6
|
Благовещенск
|
Б
|
6889
|
1
|
5,00
|
219
|
223
|
228
|
|
6235
|
2
|
3,48
|
145
|
148
|
151
|
|
6235
|
3
|
2,25
|
85
|
87
|
89
|
|
7
|
Брянск
|
Б
|
4572
|
1
|
3,96
|
168
|
172
|
175
|
|
4162
|
2
|
2,76
|
110
|
112
|
115
|
|
4162
|
3
|
1,83
|
65
|
67
|
68
|
|
8
|
Братск
|
А
|
7370
|
1
|
5,22
|
212
|
217
|
222
|
|
6623
|
2
|
3,62
|
139
|
143
|
146
|
|
6623
|
3
|
2,32
|
81
|
83
|
85
|
|
9
|
Волгоград
|
А
|
3952
|
1
|
3,68
|
142
|
145
|
149
|
|
3596
|
2
|
2,56
|
91
|
94
|
96
|
|
3596
|
3
|
1,72
|
53
|
55
|
56
|
|
10
|
Вологда
|
Б
|
5798
|
1
|
4,51
|
195
|
199
|
203
|
|
5105
|
2
|
3,09
|
126
|
129
|
131
|
|
5105
|
3
|
2,02
|
74
|
76
|
77
|
|
11
|
Воронеж
|
А
|
4528
|
1
|
3,94
|
154
|
157
|
161
|
|
4136
|
2
|
2,75
|
100
|
102
|
105
|
|
4136
|
3
|
1,83
|
58
|
60
|
61
|
|
12
|
Владимир
|
Б
|
5006
|
1
|
4,15
|
177
|
181
|
185
|
|
4580
|
2
|
2,90
|
117
|
120
|
122
|
|
4154
|
3
|
1,83
|
65
|
66
|
68
|
|
13
|
Владивосток
|
Б
|
4684
|
1
|
4,01
|
170
|
174
|
178
|
|
4292
|
2
|
2,80
|
112
|
115
|
117
|
|
4292
|
3
|
1,86
|
66
|
68
|
69
|
|
14
|
Владикавказ
|
А
|
3410
|
1
|
3,43
|
131
|
134
|
137
|
|
3062
|
2
|
2,37
|
83
|
85
|
87
|
|
3062
|
3
|
1,61
|
49
|
50
|
51
|
|
15
|
Грозный
|
А
|
3056
|
1
|
3,28
|
124
|
127
|
130
|
|
2736
|
2
|
2,26
|
78
|
80
|
81
|
|
2736
|
3
|
1,55
|
46
|
47
|
48
|
|
16
|
Екатеринбург
|
А
|
6210
|
1
|
4,69
|
188
|
192
|
197
|
|
5520
|
2
|
3,23
|
122
|
125
|
128
|
|
5520
|
3
|
2,10
|
71
|
72
|
74
|
|
17
|
Иваново
|
Б
|
см. Владимир
|
|
18
|
Игарка
|
Б
|
10575
|
1
|
6,66
|
299
|
305
|
312
|
|
9666
|
2
|
4,68
|
203
|
208
|
212
|
|
9666
|
3
|
2,93
|
118
|
121
|
124
|
|
19
|
Иркутск
|
А
|
7080
|
1
|
5,09
|
206
|
211
|
215
|
|
6360
|
2
|
3,53
|
135
|
138
|
141
|
|
6360
|
3
|
2,27
|
78
|
80
|
82
|
|
20
|
Ижевск
|
Б
|
5905
|
1
|
4,56
|
197
|
201
|
206
|
|
5239
|
2
|
3,13
|
128
|
131
|
134
|
|
5239
|
3
|
2,05
|
76
|
77
|
79
|
|
21
|
Йошкар-Ола
|
Б
|
5742
|
1
|
4,48
|
194
|
198
|
202
|
|
5082
|
2
|
3,08
|
125
|
128
|
131
|
|
5082
|
3
|
2,02
|
74
|
76
|
77
|
|
22
|
Казань
|
Б
|
см. Вологда
|
|
23
|
Калининград
|
Б
|
3648
|
1
|
3,54
|
148
|
151
|
154
|
|
3262
|
2
|
2,44
|
95
|
97
|
99
|
|
3262
|
3
|
1,65
|
56
|
58
|
59
|
|
24
|
Калуга
|
Б
|
см. Владивосток
|
|
25
|
Кемерово
|
А
|
6537
|
1
|
4,84
|
195
|
199
|
204
|
|
6075
|
2
|
3,43
|
131
|
134
|
137
|
|
6075
|
3
|
2,22
|
76
|
78
|
79
|
|
26
|
Вятка
|
Б
|
5660
|
1
|
4,45
|
192
|
196
|
200
|
|
4967
|
2
|
3,04
|
124
|
126
|
129
|
|
4967
|
3
|
1,99
|
73
|
75
|
76
|
|
27
|
Кострома
|
Б
|
5528
|
1
|
4,39
|
189
|
193
|
197
|
|
4862
|
2
|
3,00
|
122
|
124
|
127
|
|
4862
|
3
|
1,97
|
72
|
73
|
75
|
|
28
|
Краснодар
|
А
|
2682
|
1
|
3,11
|
116
|
119
|
122
|
|
2384
|
2
|
2,13
|
72
|
74
|
76
|
|
2384
|
3
|
1,48
|
42
|
43
|
44
|
|
29
|
Красноярск
|
А
|
6575
|
1
|
4,86
|
196
|
200
|
205
|
|
5873
|
2
|
3,36
|
127
|
130
|
133
|
|
5873
|
3
|
2,17
|
74
|
76
|
77
|
|
30
|
Курган
|
А
|
см. Барнаул
|
|
31
|
Курск
|
Б
|
4435
|
1
|
3,90
|
165
|
169
|
172
|
|
4039
|
2
|
2,71
|
108
|
110
|
112
|
|
4039
|
3
|
1,81
|
64
|
65
|
67
|
|
32
|
Кызыл
|
А
|
7875
|
1
|
5,44
|
222
|
227
|
232
|
|
7425
|
2
|
3,90
|
152
|
156
|
159
|
|
7425
|
3
|
2,49
|
88
|
90
|
92
|
|
33
|
Липецк
|
А
|
4703
|
1
|
4,02
|
157
|
161
|
165
|
|
4301
|
2
|
2,81
|
103
|
105
|
107
|
|
4301
|
3
|
1,86
|
60
|
61
|
63
|
|
34
|
Магадан
|
Б
|
7805
|
1
|
5,41
|
238
|
244
|
249
|
|
7229
|
2
|
3,83
|
162
|
165
|
169
|
|
7229
|
3
|
2,45
|
95
|
97
|
99
|
|
35
|
Махачкала
|
А
|
2560
|
1
|
3,05
|
114
|
116
|
119
|
|
2264
|
2
|
2,09
|
70
|
72
|
74
|
|
2264
|
3
|
1,45
|
41
|
42
|
43
|
|
36
|
Москва
|
Б
|
5027
|
1
|
4,16
|
178
|
182
|
186
|
|
4601
|
2
|
2,91
|
117
|
120
|
122
|
|
4601
|
3
|
1,92
|
69
|
71
|
72
|
|
37
|
Мурманск
|
Б
|
6380
|
1
|
4,77
|
207
|
212
|
216
|
|
5830
|
2
|
3,34
|
138
|
141
|
144
|
|
5830
|
3
|
2,17
|
81
|
83
|
85
|
|
38
|
Нальчик
|
А
|
3259
|
1
|
3,37
|
128
|
131
|
134
|
|
2923
|
2
|
2,32
|
81
|
83
|
84
|
|
2923
|
3
|
1,58
|
47
|
48
|
50
|
|
39
|
Нижний Новгород
|
Б
|
см. Владимир
|
|
40
|
Новгород
|
Б
|
4928
|
1
|
4,12
|
176
|
180
|
183
|
|
4486
|
2
|
2,87
|
115
|
118
|
120
|
|
4486
|
3
|
1,90
|
68
|
70
|
71
|
|
41
|
Новосибирск
|
А
|
см. Кемерово
|
|
42
|
Омск
|
А
|
6497
|
1
|
4,82
|
194
|
198
|
203
|
|
5834
|
2
|
3,34
|
127
|
130
|
133
|
|
5834
|
3
|
2,17
|
74
|
75
|
77
|
|
43
|
Оренбург
|
А
|
5515
|
1
|
4,38
|
174
|
178
|
182
|
|
4909
|
2
|
3,02
|
112
|
115
|
117
|
|
4909
|
3
|
1,98
|
65
|
67
|
68
|
|
44
|
Орел
|
Б
|
4654
|
1
|
3,99
|
170
|
173
|
177
|
|
4244
|
2
|
2,79
|
111
|
114
|
116
|
|
4244
|
3
|
1,85
|
66
|
67
|
69
|
|
45
|
Пенза
|
А
|
5072
|
1
|
4,18
|
165
|
169
|
173
|
|
4658
|
2
|
2,93
|
108
|
111
|
113
|
|
4658
|
3
|
1,93
|
63
|
64
|
66
|
|
46
|
Пермь
|
Б
|
см. Вятка
|
|
47
|
Петропавловск-Камчатский
|
Б
|
см. Ижевск
|
|
48
|
Петрозаводск
|
Б
|
см. Вологда
|
|
49
|
Псков
|
Б
|
см. Курск
|
|
50
|
Ростов-на-Дону
|
А
|
3523
|
1
|
3,49
|
133
|
136
|
140
|
|
3181
|
2
|
2,41
|
85
|
87
|
89
|
|
3181
|
3
|
1,64
|
50
|
51
|
52
|
|
51
|
Рязань
|
Б
|
4888
|
1
|
4,10
|
175
|
179
|
183
|
|
4472
|
2
|
2,87
|
115
|
118
|
120
|
|
4472
|
3
|
1,89
|
68
|
70
|
71
|
|
52
|
Самара
|
Б
|
см. Кострома
|
|
53
|
Санкт-Петербург
|
Б
|
см. Орел
|
|
54
|
Саранск
|
А
|
см. Пенза
|
|
55
|
Саратов
|
А
|
4763
|
1
|
4,04
|
159
|
162
|
166
|
|
4371
|
2
|
2,83
|
104
|
106
|
108
|
|
4371
|
3
|
1,87
|
60
|
62
|
63
|
|
56
|
Салехард
|
Б
|
9461
|
1
|
6,16
|
275
|
281
|
286
|
|
8585
|
2
|
4,30
|
185
|
189
|
193
|
|
8585
|
3
|
2,72
|
108
|
110
|
113
|
|
57
|
Смоленск
|
Б
|
4816
|
1
|
4,07
|
173
|
177
|
181
|
|
4386
|
2
|
2,84
|
114
|
116
|
119
|
|
4386
|
3
|
1,88
|
67
|
69
|
70
|
|
58
|
Ставрополь
|
А
|
3209
|
1
|
3,34
|
127
|
130
|
133
|
|
2873
|
2
|
2,31
|
80
|
82
|
84
|
|
2873
|
3
|
1,57
|
47
|
48
|
49
|
|
59
|
Сыктывкар
|
Б
|
6566
|
1
|
4,85
|
211
|
216
|
221
|
|
5831
|
2
|
3,34
|
138
|
141
|
144
|
|
5831
|
3
|
2,17
|
81
|
83
|
85
|
|
60
|
Тамбов
|
А
|
4764
|
1
|
4,04
|
159
|
162
|
166
|
|
4362
|
2
|
2,83
|
104
|
106
|
108
|
|
4362
|
3
|
1,87
|
60
|
62
|
63
|
|
61
|
Тверь
|
Б
|
5014
|
1
|
4,16
|
178
|
182
|
185
|
|
4578
|
2
|
2,90
|
117
|
119
|
122
|
|
4578
|
3
|
1,92
|
69
|
71
|
72
|
|
62
|
Томск
|
Б
|
см. Благовещенск
|
|
63
|
Тула
|
Б
|
см. Новгород
|
|
64
|
Тюмень
|
А
|
см. Екатеринбург
|
|
65
|
Ульяновск
|
А
|
5597
|
1
|
4,42
|
176
|
180
|
184
|
|
4961
|
2
|
3,04
|
113
|
116
|
118
|
|
4961
|
3
|
1,99
|
66
|
67
|
69
|
|
66
|
Улан-Уде
|
А
|
7442
|
1
|
5,25
|
213
|
218
|
223
|
|
6731
|
2
|
3,66
|
141
|
144
|
148
|
|
6731
|
3
|
2,35
|
82
|
84
|
86
|
|
67
|
Уфа
|
А
|
5517
|
1
|
4,38
|
174
|
178
|
182
|
|
5091
|
2
|
3,08
|
115
|
118
|
120
|
|
5091
|
3
|
2,02
|
67
|
68
|
70
|
|
68
|
Хабаровск
|
Б
|
6393
|
1
|
4,78
|
208
|
212
|
217
|
|
5760
|
2
|
3,32
|
137
|
140
|
143
|
|
5760
|
3
|
2,15
|
81
|
82
|
84
|
|
69
|
Чебоксары
|
Б
|
5620
|
1
|
4,43
|
191
|
195
|
199
|
|
4969
|
2
|
3,04
|
124
|
126
|
129
|
|
4969
|
3
|
1,99
|
73
|
75
|
76
|
|
70
|
Челябинск
|
Б
|
5995
|
1
|
4,60
|
199
|
203
|
208
|
|
5341
|
2
|
3,17
|
130
|
133
|
136
|
|
5341
|
3
|
2,07
|
77
|
78
|
80
|
|
71
|
Чита
|
А
|
7841
|
1
|
5,43
|
221
|
226
|
232
|
|
7115
|
2
|
3,79
|
147
|
151
|
154
|
|
7115
|
3
|
2,42
|
85
|
87
|
89
|
|
72
|
Элиста
|
А
|
3668
|
1
|
3,55
|
136
|
139
|
143
|
|
3322
|
2
|
2,46
|
87
|
89
|
91
|
|
3322
|
3
|
1,66
|
51
|
52
|
53
|
|
73
|
Южно-Сахалинск
|
Б
|
см. Вологда
|
|
74
|
Якутск
|
А
|
10650
|
1
|
6,69
|
278
|
285
|
291
|
|
9882
|
2
|
4,76
|
191
|
195
|
200
|
|
9882
|
3
|
2,98
|
110
|
113
|
115
|
|
75
|
Ярославль
|
Б
|
см. Смоленск
|
Примечание. В расчете принят
коэффициент теплотехнической однородности - 0,95.
Рис. 5.13.1. Покрытие по железобетонным плитам с
теплоизоляцией из плит марки «ТЕРМО» с приклейкой битумными мастиками.

1. Несущая
железобетонная плита покрытия.
2. Затирка
цементно-песчаным раствором.
3.
Пароизоляционный слой.
4. Плиты марки
«ТЕРМОКРОВЛЯ В+».
5. Плиты марки «ТЕРМОКРОВЛЯ», «ТЕРМОКРОВЛЯ В»,
«ТЕРМОПОЛ» (толщина по табл. 5.13.1.).
6. Приклейка
битумной мастикой.
7. Основной
водоизоляционный ковер.
8. Защитный слой
из гравия.
9. Промежуточный слой.
10. Защитный слой
из тротуарных плит.
Рис. 5.13.2. Вариант примыкания покрытия с теплоизоляцией из плит марки «ТЕРМО» и
рулонной кровлей к парапету.

1. Плита
покрытия.
2. Пароизоляция.
3. Точечная
приклейка теплоизоляции и полосовая приклейка пароизоляции.
4. Плиты марки
«ТЕРМОПОЛ», «ТЕРМОКРОВЛЯ Н», «ТЕРМОКРОВЛЯ» или «TEPMОKPОBЛЯ В».
5. Плиты марки «TEPMOKPОВЛЯ В+».
6. Кровельный
ковер.
7.
Дополнительные слои кровельного ковра.
8. Крепление
фартуков дюбельными гвоздями.
9. Фартук из
оцинкованной стали.
10. Герметик.
11. Бортик.
12. Несущая
стена.
Рис. 5.13.3. Конек покрытия с рулонной кровлей и
теплоизоляцией из плит марки «ТЕРМО».

1. Плиты
покрытия.
2. Пароизоляция.
3. Точечная
приклейка теплоизоляции.
4. Плиты марки
«ТЕРМОПОЛ», «ТЕРМОКРОВЛЯ Н», «ТЕРМОКРОВЛЯ», «TEPMОKPОBЛЯ В».
5. Плиты марки «TEPMOKPОВЛЯ В+».
6. Точечная
приклейка дополнительного слоя кровельного ковра.
7. Кровельный
ковер.
8.
Дополнительный слой кровельного ковра.
Рис. 5.13.4. Покрытие из стального профилированного
настила с теплоизоляционным слоем из плит марки «ТЕРМО» с приклейкой битумной мастикой.

1. Несущий
стальной профилированный лист.
2. Пароизоляция.
3. Плиты марки
«ТЕРМОКРОВЛЯ», «ТЕРМОКРОВЛЯ В»,
«ТЕРМОКРОВЛЯ В+» (толщина теплоизоляционного слоя по табл. 5.13.6).
4. Основной
водоизоляционный ковер.
5.
Крупнозернистая посыпка верхнего слоя водоизоляционного ковра.
6. Приклейка
пароизоляционного и теплоизоляционного слоев.
Рис. 5.13.5. Покрытие из
стального профилированного настила
с теплоизоляцией из плит марки «ТЕРМО» с механическим креплением.

1. Несущий
стальной профилированный лист.
2.
Пароизоляционный слой.
3. Плиты марки
«ТЕРМОКРОВЛЯ», «ТЕРМОКРОВЛЯ В»,
«ТЕРМОКРОВЛЯ В+».
4. Приклейка
пароизоляционного слоя и нахлеста
полотнищ кровельного покрытия.
5. Элементы
кровельного покрытия (нижний слой
водоизоляционного ковра с приклейкой насухо и верхний слой со сплошной
приклейкой).
6. Механическое
крепление.
Рис. 5.13.6. Усиление теплозащиты существующей кровли
плитами марки «ТЕРМО» с кровельным покрытием по цементной стяжке.

1. Перекрытие.
2. Существующая
пароизоляция.
3.
Керамзитобетонная панель 'd = 400 - 450.
4. Существующее
кровельное покрытие.
5. Приклейка
утеплителя.
6. Плиты марки
«ТЕРМОПОЛ», «ТЕРМОКРОВЛЯ Н»,
«ТЕРМОКРОВЛЯ».
7. Цементная
стяжка с армированием.
8. Нижний слой
кровельного листа.
9. Верхний слой
кровельного ковра с крупнозернистой посыпкой.
Рис. 5.13.7. Пропуск трубы через покрытие с теплоизоляционным слоем из плит марки «TEPMО».

1. Плиты
покрытия.
2. Пароизоляция.
3. Приклейка
пароизоляционного и теплоизоляционного слоев, и кровельного ковра.
4. Плиты марки
«ТЕРМОКРОВЛЯ», «ТЕРМОКРОВЛЯ В»,
«ТЕРМОКРОВЛЯ В+».
5. Кровельный
ковер.
6.
Дополнительные слои кровельного ковра.
7. Труба.
8. Стальной
стакан.
9. Набивка из
минеральной ваты.
10. Защитный
фартук.
11. Хомут.
12. Герметик.
Рис. 5.13.8. Деформационный шов покрытий с рулонной
кровлей и теплоизоляцией из плит марки «ТЕРМО».

1. Плиты
покрытия.
2. Пароизоляция.
3. Точечная
приклейка теплоизоляции.
4. Плиты марки
«ТЕРМОКРОВЛЯ», «ТЕРМОКРОВЛЯ В».
5. Плиты марки
«ТЕРМОЛАЙТ», «ТЕРМОЛАЙТ+».
6. Основной
кровельный ковер.
7.
Дополнительный слой водоизоляционного ковра.
8. Компенсатор.
9. Выкружка из
оцинкованной кровельной стали.
10. Механическое
крепление компенсатора.
_____________
'* Плиты могут быть установлены в 2 слоя:
верхний слой - плиты «ТЕРМОКРОВЛЯ В+».
Рис. 5.13.9. Кровля из стального профилированного листа с теплоизоляционным слоем
из плит марки «ТЕРМО» по несущему стальному профилированному настилу.

1. Несущий
стальной профилированный настил.
2. Пароизоляция.
3. Плиты марки
«ТЕРМОЛАЙТ+», «ТЕРМОСТЕНА», «ТЕРМОСТЕНА+», «ТЕРМОВЕНТ», «ТЕРМОМОНОЛИТ» (толщина
теплоизоляционного слоя по таблице 5.13.5.).
4. Ветрозащита из
паропроницаемого материала.
5. Стальной
профилированный лист (кровельный).
6. Приклейка
пароизоляционного и теплоизоляционного слоев.
Рис. 5.13.10. Кровля
из металлического
профилированного настила производственных и общественных зданий с
теплоизоляцией из плит марки «ТЕРМО» по несущему стальному профилированному
настилу.

1. Стальной
профилированный настил (несущий).
2. Плиты марки
«ТЕРМОЛАЙТ+», «ТЕРМОСТЕНА», «TEPMОCTEHA+», «ТЕРМОВЕНТ», «TEPMOMOHOЛИT» (толщина
теплоизоляционного слоя по таблице 5.13.5).
3. Стальной
профилированный настил (кровельный).
4. Пароизоляция.
5. Z-образный профиль (под стык профилированного кровельного
настила).
6. Крепление
настила (винт самонарезающий).
7.
Дистанцианирующий прогон.
8.
Теплоизолирующая прокладка.
9. Стеновая
«сэндвич-панель» с изоляцией из плит марки «TEPMО»
(рис. 5.15.3).
10. Прогон
покрытия (несущий).
11. Плиты
«ТЕРМОЛАЙТ» в полиэтиленовой пленке.
12. Фартук (из
металлического листа).
13. Заклепка.
14. Прокладка
уплотняющая.
Рис. 5.13.11. Скатная крыша с теплоизоляцией из плит
марки «TEPMО».

1. Внутренняя
облицовка.
2. Обрешетка,
контробрешетка.
3. Пароизоляция.
4. Плиты марки
«TEPMОЛАЙТ», «ТЕРМОЛАЙТ+», «ТЕРМОСТЕНА», «TEPMОCTEHA+» (толщина
теплоизоляционного слоя по табл. 5.13.4).
5. Плиты марки
«ТЕРМОВЕНТ».
6. Гидрозащита
(подкровельная диффузионная пленка).
7. Стропила.
8. Кровля.
Рис. 5.13.12. Чердачное перекрытие проходного чердака с теплоизоляцией из плит марки
«ТЕРМО».

1. Деревянный
настил.
2. Плиты марки
«ТЕРМОЛАЙТ», «ТЕРМОЛАЙТ+», «TEPMОCTEHA», «TEPMОCTEHA+», «TEPMОВEHT» (толщина
теплоизоляционного слоя по табл. 5.13.7).
3. Пароизоляция.
4. Плита
перекрытия.
5. Потолок
(штукатурка).
6. Лаги.
Рис. 5.13.13. Чердачное перекрытие проходного чердака
с теплоизоляцией из плит марки «ТЕРМО».

1. Перекрытие.
2. Пароизоляция.
3. Плиты марки
«ТЕРМОКРОВЛЯ В+».
4. Плиты марки
«ТЕРМОПОЛ», «ТЕРМОКРОВЛЯ Н», «ТЕРМОКРОВЛЯ»,
«ТЕРМОКРОВЛЯ В».
5. Армированная
песчано-цементная стяжка.
6. Приклейка
плит утеплителя.
Рис. 5.13.14. Перекрытие над
холодным подвалом (техподпольем) с теплоизоляцией из плит марки «ТЕРМО».

1. Пол
(деревянный настил).
2.
Гидроизоляция.
3. Плиты марки
«ТЕРМОЛАЙТ», «ТЕРМОЛАЙТ+», «TEPMОCTEHA», «TEPMОCTEHA+», «TEPMОВEHT» (толщина
теплоизоляционного слоя по табл. 5.13.10).
4. Пароизоляция.
5. Плита
перекрытия.
6. Лаги.
Рис. 5.13.15. Перекрытие над неотапливаемым подвалом с
теплоизоляцией из плит марки «TEPMО».

1. Перекрытие.
2. Плиты марки
«ТЕРМОПОЛ», «ТЕРМОКРОВЛЯ», «ТЕРМОКРОВЛЯ В» (толщина теплоизоляционного слоя см.
табл. 5.13.11,
5.13.12).
3. Пароизоляция,
гидроизоляция.
4. Стяжка из
песчано-цементного раствора.
5. Мастика
клеящая.
6. Пол (щиты
паркетные, линолеум и т.д.).
5.14.1. При малоэтажном и коттеджном
строительстве наружное утепление стен вновь строящихся и реконструируемых
зданий с применением теплоизоляционных плит из минеральной ваты на
синтетическом связующем производства марки «ТЕРМО» может выполняться:
- с оштукатуриванием фасадов;
- с облицовкой кирпичом или другими
мелкоштучными изделиями;
- с защитно-декоративным вентилируемым
фасадом.
5.14.2. В конструкциях утепления со
штукатурным покрытием наружных стен деревянных домов при применении жесткого
крепления плит рекомендуется использовать плиты марки «ТЕРМОФАСАД».
Штукатурное покрытие армируется одним или
двумя слоями сетки из алюмоборосиликатного стекла марки Е с покрытием
щелочестойкими полимерными составами.
В сельском и дачном строительстве может
быть использована конструкция с применением несущего каркаса (деревянного или
металлического). К каркасу крепится металлическая сетка, по которой наносится
штукатурный слой толщиной 15 - 20 мм. Поскольку нагрузка от штукатурного слоя
не передается на утеплитель, могут быть использованы плиты марки «ТЕРМОВЕНТ»
(рис. 5.14.1.).
5.14.3. В конструкциях утепления стен из
бруса или при дополнительном утеплении существующих каркасных стен домов с
облицовкой кирпичом, вагонкой, доской, цементно-стружечной плитой, сайдингом и
т.п. при устройстве вентилируемого зазора рекомендуется использовать плиты
марки «ТЕРМОВЕНТ».
В конструкциях с вентилируемым зазором по
теплоизоляционному слою необходимо устанавливать ветрозащиту. Рекомендуется
использовать паропроницаемые пленки Ютафол-Д или Тайвек. Возможно применение
стеклотканей, стеклосеток или пергамина (в дачном и малоэтажном строительстве)
(Рис. 5.14.2
- 5.14.5).
5.14.4. В каркасных конструкциях наружных
стен домов в качестве утеплителя рекомендуется применять плиты марок «ТЕРМОЛАЙТ+»,
«ТЕРМОСТЕНА», «ТЕРМОСТЕНА+», «ТЕРМОВЕНТ» или «ТЕРМОМОНОЛИТ». (Рис. 5.14.6,
5.14.7).
5.14.5. При изоляции дачных домиков, а
также в сельском строительстве при утеплении построек из бруса для крепления
изоляции и облицовки наряду с дюбелями и анкерами могут использоваться гвозди с
плоской шляпкой большого диаметра или обычные, но с шайбами из подручного
материала.
5.14.6. Плиты утеплителя при изоляции
вертикальных поверхностей при двухслойной (и более слоев) изоляции должны
устанавливаться с перекрытием швов.
5.14.7. Для утепления скатных крыш,
мансард, чердачных и подвальных перекрытий деревянных или каркасных домов и
коттеджей могут применяться плиты марок «ТЕРМОЛАЙТ», «ТЕРМОЛАЙТ+»,
«ТЕРМОСТЕНА», «ТЕРМОСТЕНА+», «ТЕРМОВЕНТ».
При утеплении перекрытия холодного
чердака (или неутеплённой мансарды) теплоизоляционные плиты укладываются между
лагами по пароизоляционному слою на подшивку потолка. Если чердачное помещение
используется для жилья или хозяйственных нужд, по лагам устанавливается пол или
деревянный настил с устройством воздушной прослойки или без неё. При
необходимости защиты от воды под половые доски устанавливается гидроизоляция
(рис. 5.14.8).
Если чердачное помещение необслуживаемое, гидроизоляция и пол не утраиваются.
При утеплении перекрытия над
вентилируемым (открытым) пространством или над холодным подвалом
пароизоляционный слой устанавливается под полом поверх утеплителя.
Гидроизоляция из рубероида устанавливается по цоколю или стенам подвала под
деревянные конструкции (Рис. 5.14.9).
5.14.8. В конструкциях междуэтажных
перекрытий и перегородок между помещениями деревянного дома могут быть
использованы плиты «ТЕРМОЛАЙТ», «ТЕРМОЛАЙТ+», «ТЕРМОСТЕНА», «ТЕРМОСТЕНА+»,
которые устанавливаются между деревянными стойками каркаса и зашиваются гипсокартонными
листами, вагонкой, фанерой или досками. В качестве каркаса могут использоваться
металлические конструкции. Пароизоляционный слой из рубероида или
полиэтиленовой пленки в перегородках между теплыми помещениями не
устанавливается.
5.14.9. Расчетная толщина
теплоизоляционного слоя из плит марки «ТЕРМО» в конструкциях утепления наружных
стен из бруса толщиной 150 мм в условиях эксплуатации А и Б различных регионов
России, в зависимости от применяемой марки с облицовкой:
- кирпичом без вентилируемого зазора;
- «вагонкой», «сайдингом» или другими
изделиями с вентилируемым зазором;
- со штукатурным покрытием,
приведена в таблице 5.14.1.
5.14.10. Расчетная толщина
теплоизоляционного слоя из теплоизоляционных плит марки «ТЕРМО» в конструкциях
каркасных деревянных стен (облицовка гипсокартоном толщиной 6 мм по деревянной
доске толщиной 25 изнутри и «вагонкой» с зазором 20 ± 25 мм снаружи) в условиях
эксплуатации А и Б, в зависимости от применяемой марки теплоизоляционных плит
приведена в таблице 5.14.2.
5.14.11. Расчетная толщина
теплоизоляционного слоя из теплоизоляционных плит марки «ТЕРМО» в конструкциях
чердачных и подвальных перекрытий деревянных домов (подшивка или «черный пол» -
из доски толщиной 20 мм и пол из доски 30 мм) в условиях эксплуатации А и Б, в
зависимости от применяемой марки приведена в таблице 5.14.3.
5.14.12. Толщина плит в конструкциях
междуэтажных перекрытий и внутренних перегородок деревянного дома определяется
необходимым уровнем звукоизоляции между смежными помещениями.
Таблица 5.14.1. Расчетная толщина теплоизоляционного слоя из плит марки
«ТЕРМО» в конструкции утепления стен из бруса с облицовкой сайдингом с
вентилируемым зазором, штукатуркой или керамическим кирпичом (без
вентилируемого зазора).
|
№ п/п
|
Город
|
Условия эксплуатации
|
Dd, ºС·сут
|
Тип помещения
|
R0тр, (м2·ºС)/Вт
|
Тип облицовки
|
|
штукатурка
|
сайдинг
|
кирпич
|
|
Толщина
теплоизоляционного слоя, мм
|
|
Термовент, термомонолит
|
термофасад
|
термовент, термомонолит
|
термостена
|
термостена+,
термомонолит
|
|
1
|
2
|
3
|
4
|
5
|
6
|
7
|
8
|
9
|
10
|
11
|
|
1
|
Архангельск
|
Б
|
6426
|
1
|
3,65
|
132
|
142
|
132
|
127
|
130
|
|
5667
|
2
|
2,77
|
89
|
95
|
88
|
84
|
86
|
|
5667
|
3
|
2,13
|
57
|
61
|
56
|
53
|
54
|
|
2
|
Астрахань
|
А
|
3540
|
1
|
2,64
|
65
|
70
|
64
|
62
|
63
|
|
3206
|
2
|
1,99
|
34
|
38
|
34
|
32
|
33
|
|
3206
|
3
|
1,64
|
18
|
20
|
18
|
16
|
17
|
|
3
|
Анадырь
|
Б
|
9797
|
1
|
4,83
|
191
|
205
|
191
|
185
|
189
|
|
8864
|
2
|
3,80
|
140
|
150
|
139
|
134
|
137
|
|
8864
|
3
|
2,77
|
88
|
95
|
88
|
84
|
86
|
|
4
|
Барнаул
|
А
|
6343
|
1
|
3,62
|
111
|
119
|
110
|
106
|
109
|
|
5680
|
2
|
2,78
|
71
|
77
|
71
|
68
|
70
|
|
5680
|
3
|
2,14
|
41
|
45
|
41
|
39
|
40
|
|
5
|
Белгород
|
А
|
4183
|
1
|
2,86
|
75
|
81
|
75
|
72
|
74
|
|
3801
|
2
|
2,18
|
43
|
47
|
43
|
41
|
42
|
|
3801
|
3
|
1,76
|
24
|
26
|
23
|
22
|
22
|
|
6
|
Благовещенск
|
Б
|
6889
|
1
|
3,81
|
140
|
150
|
140
|
135
|
138
|
|
6235
|
2
|
2,96
|
98
|
105
|
97
|
93
|
95
|
|
6235
|
3
|
2,25
|
62
|
67
|
61
|
59
|
60
|
|
7
|
Брянск
|
Б
|
4572
|
1
|
3,00
|
94
|
101
|
93
|
96
|
98
|
|
4162
|
2
|
2,29
|
59
|
63
|
58
|
61
|
62
|
|
4162
|
3
|
1,83
|
36
|
39
|
35
|
38
|
39
|
|
8
|
Братск
|
А
|
7370
|
1
|
3,98
|
127
|
137
|
127
|
123
|
126
|
|
6623
|
2
|
3,08
|
85
|
92
|
85
|
82
|
84
|
|
6623
|
3
|
2,32
|
50
|
54
|
50
|
47
|
48
|
|
9
|
Волгоград
|
А
|
3952
|
1
|
2,78
|
72
|
77
|
71
|
68
|
70
|
|
3596
|
2
|
2,11
|
40
|
44
|
40
|
38
|
38
|
|
3596
|
3
|
1,72
|
22
|
24
|
21
|
20
|
20
|
|
10
|
Вологда
|
Б
|
5798
|
1
|
3,43
|
121
|
130
|
121
|
116
|
119
|
|
5105
|
2
|
2,59
|
80
|
85
|
79
|
76
|
77
|
|
5105
|
3
|
2,02
|
51
|
55
|
50
|
48
|
49
|
|
11
|
Воронеж
|
А
|
4528
|
1
|
2,98
|
81
|
87
|
81
|
77
|
79
|
|
4136
|
2
|
2,28
|
48
|
52
|
48
|
45
|
47
|
|
4136
|
3
|
1,83
|
27
|
30
|
27
|
25
|
25
|
|
12
|
Владимир
|
Б
|
5006
|
1
|
3,15
|
107
|
115
|
107
|
103
|
105
|
|
4580
|
2
|
2,43
|
71
|
76
|
70
|
67
|
69
|
|
4154
|
3
|
1,83
|
41
|
45
|
41
|
38
|
39
|
|
13
|
Владивосток
|
Б
|
4684
|
1
|
3,04
|
102
|
109
|
101
|
97
|
100
|
|
4292
|
2
|
2,33
|
67
|
72
|
66
|
63
|
64
|
|
4292
|
3
|
1,86
|
43
|
46
|
42
|
40
|
41
|
|
14
|
Владикавказ
|
А
|
3410
|
1
|
2,59
|
63
|
68
|
62
|
60
|
61
|
|
3062
|
2
|
1,94
|
32
|
35
|
32
|
30
|
30
|
|
3062
|
3
|
1,61
|
17
|
19
|
17
|
15
|
15
|
|
15
|
Грозный
|
А
|
3056
|
1
|
2,47
|
57
|
62
|
57
|
54
|
55
|
|
2736
|
2
|
1,84
|
27
|
30
|
27
|
25
|
26
|
|
2736
|
3
|
1,55
|
14
|
16
|
13
|
12
|
12
|
|
16
|
Екатеринбург
|
А
|
6210
|
1
|
3,57
|
109
|
117
|
108
|
104
|
107
|
|
5520
|
2
|
2,73
|
69
|
75
|
69
|
66
|
67
|
|
5520
|
3
|
2,10
|
40
|
43
|
39
|
37
|
38
|
|
17
|
Иваново
|
Б
|
см. Владимир
|
|
18
|
Игарка
|
Б
|
10575
|
1
|
5,10
|
205
|
219
|
204
|
198
|
203
|
|
9666
|
2
|
4,05
|
152
|
163
|
152
|
147
|
150
|
|
9666
|
3
|
2,93
|
96
|
103
|
96
|
92
|
94
|
|
19
|
Иркутск
|
А
|
7080
|
1
|
3,88
|
123
|
132
|
122
|
118
|
121
|
|
6360
|
2
|
3,00
|
82
|
88
|
81
|
78
|
80
|
|
6360
|
3
|
2,27
|
48
|
52
|
47
|
45
|
46
|
|
20
|
Ижевск
|
Б
|
5905
|
1
|
3,47
|
123
|
132
|
122
|
118
|
121
|
|
5239
|
2
|
2,64
|
82
|
88
|
81
|
78
|
79
|
|
5239
|
3
|
2,05
|
52
|
56
|
51
|
49
|
50
|
|
21
|
Йошкар-Ола
|
Б
|
5742
|
1
|
3,41
|
120
|
129
|
120
|
116
|
118
|
|
5082
|
2
|
2,59
|
79
|
85
|
78
|
75
|
77
|
|
5082
|
3
|
2,02
|
51
|
55
|
50
|
47
|
48
|
|
22
|
Казань
|
Б
|
см. Вологда
|
|
23
|
Калининград
|
Б
|
3648
|
1
|
2,68
|
84
|
90
|
83
|
80
|
82
|
|
3262
|
2
|
2,00
|
50
|
54
|
49
|
47
|
48
|
|
3262
|
3
|
1,65
|
32
|
35
|
32
|
30
|
30
|
|
24
|
Калуга
|
Б
|
см. Владивосток
|
|
25
|
Кемерово
|
А
|
6537
|
1
|
3,69
|
114
|
123
|
113
|
109
|
112
|
|
6075
|
2
|
2,90
|
77
|
83
|
77
|
74
|
75
|
|
6075
|
3
|
2,22
|
45
|
49
|
45
|
42
|
43
|
|
26
|
Вятка
|
Б
|
5660
|
1
|
3,38
|
119
|
127
|
118
|
114
|
117
|
|
4967
|
2
|
2,55
|
77
|
83
|
77
|
73
|
75
|
|
4967
|
3
|
1,99
|
50
|
53
|
49
|
46
|
47
|
|
27
|
Кострома
|
Б
|
5528
|
1
|
3,33
|
117
|
125
|
116
|
112
|
114
|
|
4862
|
2
|
2,52
|
76
|
81
|
75
|
72
|
73
|
|
4862
|
3
|
1,97
|
48
|
52
|
48
|
45
|
46
|
|
28
|
Краснодар
|
А
|
2682
|
1
|
2,34
|
51
|
55
|
50
|
48
|
49
|
|
2384
|
2
|
1,72
|
22
|
24
|
22
|
20
|
20
|
|
2384
|
3
|
1,48
|
11
|
12
|
10
|
9
|
9
|
|
29
|
Красноярск
|
А
|
6575
|
1
|
3,70
|
114
|
123
|
114
|
110
|
113
|
|
5873
|
2
|
2,84
|
74
|
80
|
74
|
71
|
72
|
|
5873
|
3
|
2,17
|
43
|
47
|
43
|
40
|
41
|
|
30
|
Курган
|
А
|
см. Барнаул
|
|
31
|
Курск
|
Б
|
4435
|
1
|
2,95
|
97
|
105
|
97
|
93
|
95
|
|
4039
|
2
|
2,25
|
62
|
67
|
62
|
59
|
60
|
|
4039
|
3
|
1,81
|
40
|
43
|
39
|
37
|
38
|
|
32
|
Кызыл
|
А
|
7875
|
1
|
4,16
|
136
|
146
|
135
|
131
|
134
|
|
7425
|
2
|
3,34
|
97
|
105
|
97
|
93
|
96
|
|
7425
|
3
|
2,49
|
58
|
62
|
57
|
55
|
56
|
|
33
|
Липецк
|
А
|
4703
|
1
|
3,05
|
84
|
91
|
83
|
80
|
82
|
|
4301
|
2
|
2,34
|
51
|
55
|
50
|
48
|
49
|
|
4301
|
3
|
1,86
|
29
|
31
|
28
|
26
|
27
|
|
34
|
Магадан
|
Б
|
7805
|
1
|
4,13
|
151
|
162
|
150
|
151
|
154
|
|
7229
|
2
|
3,27
|
108
|
116
|
107
|
109
|
111
|
|
7229
|
3
|
2,45
|
67
|
72
|
66
|
68
|
70
|
|
35
|
Махачкала
|
А
|
2560
|
1
|
2,30
|
49
|
53
|
48
|
46
|
47
|
|
2264
|
2
|
1,68
|
20
|
22
|
20
|
18
|
19
|
|
2264
|
3
|
1,45
|
10
|
11
|
9
|
8
|
8
|
|
36
|
Москва
|
Б
|
5027
|
1
|
3,16
|
108
|
116
|
107
|
103
|
106
|
|
4601
|
2
|
2,43
|
71
|
77
|
71
|
68
|
69
|
|
4601
|
3
|
1,92
|
46
|
49
|
45
|
43
|
44
|
|
37
|
Мурманск
|
Б
|
6380
|
1
|
3,63
|
131
|
141
|
131
|
126
|
129
|
|
5830
|
2
|
2,83
|
91
|
98
|
90
|
87
|
89
|
|
5830
|
3
|
2,17
|
58
|
63
|
57
|
55
|
56
|
|
38
|
Нальчик
|
А
|
3259
|
1
|
2,54
|
60
|
65
|
60
|
57
|
59
|
|
2923
|
2
|
1,90
|
30
|
33
|
30
|
28
|
28
|
|
2923
|
3
|
1,58
|
16
|
17
|
15
|
14
|
14
|
|
39
|
Нижний Новгород
|
Б
|
см. Владимир
|
|
40
|
Новгород
|
Б
|
4928
|
1
|
3,12
|
106
|
114
|
105
|
102
|
104
|
|
4486
|
2
|
2,40
|
70
|
75
|
69
|
66
|
67
|
|
4486
|
3
|
1,90
|
45
|
48
|
44
|
42
|
43
|
|
41
|
Новосибирск
|
А
|
см. Кемерово
|
|
42
|
Омск
|
А
|
6497
|
1
|
3,67
|
113
|
122
|
113
|
109
|
111
|
|
5834
|
2
|
2,83
|
74
|
80
|
73
|
70
|
72
|
|
5834
|
3
|
2,17
|
43
|
47
|
42
|
40
|
41
|
|
43
|
Оренбург
|
А
|
5515
|
1
|
3,33
|
97
|
105
|
97
|
93
|
95
|
|
4909
|
2
|
2,53
|
60
|
65
|
59
|
57
|
58
|
|
4909
|
3
|
1,98
|
34
|
37
|
34
|
32
|
32
|
|
44
|
Орел
|
Б
|
4654
|
1
|
3,03
|
101
|
109
|
101
|
97
|
99
|
|
4244
|
2
|
2,32
|
66
|
71
|
65
|
62
|
64
|
|
4244
|
3
|
1,85
|
42
|
46
|
42
|
39
|
40
|
|
45
|
Пенза
|
А
|
5072
|
1
|
3,18
|
90
|
97
|
89
|
86
|
88
|
|
4658
|
2
|
2,45
|
56
|
61
|
56
|
53
|
54
|
|
4658
|
3
|
1,93
|
32
|
35
|
31
|
29
|
30
|
|
46
|
Пермь
|
Б
|
см. Вятка
|
|
47
|
Петропавловск-Камчатский
|
Б
|
см. Ижевск
|
|
48
|
Петрозаводск
|
Б
|
см. Вологда
|
|
49
|
Псков
|
Б
|
см. Курск
|
|
50
|
Ростов-на-Дону
|
А
|
3523
|
1
|
2,63
|
65
|
70
|
64
|
61
|
63
|
|
3181
|
2
|
1,98
|
34
|
37
|
34
|
31
|
32
|
|
3181
|
3
|
1,64
|
18
|
20
|
18
|
16
|
16
|
|
51
|
Рязань
|
Б
|
4888
|
1
|
3,11
|
105
|
113
|
105
|
101
|
103
|
|
4472
|
2
|
2,39
|
69
|
75
|
69
|
66
|
67
|
|
4472
|
3
|
1,89
|
45
|
48
|
44
|
41
|
42
|
|
52
|
Самара
|
Б
|
см. Кострома
|
|
53
|
Санкт-Петербург
|
Б
|
см. Орел
|
|
54
|
Саранск
|
А
|
см. Пенза
|
|
55
|
Саратов
|
А
|
4763
|
1
|
3,07
|
85
|
92
|
84
|
81
|
83
|
|
4371
|
2
|
2,36
|
52
|
56
|
51
|
49
|
50
|
|
4371
|
3
|
1,87
|
29
|
32
|
29
|
27
|
27
|
|
56
|
Салехард
|
Б
|
9461
|
1
|
4,71
|
185
|
198
|
185
|
179
|
183
|
|
8585
|
2
|
3,71
|
135
|
145
|
134
|
130
|
133
|
|
8585
|
3
|
2,72
|
86
|
92
|
85
|
82
|
84
|
|
57
|
Смоленск
|
Б
|
4816
|
1
|
3,09
|
99
|
106
|
98
|
100
|
102
|
|
4386
|
2
|
2,36
|
62
|
67
|
62
|
64
|
66
|
|
4386
|
3
|
1,88
|
38
|
41
|
37
|
41
|
42
|
|
58
|
Ставрополь
|
А
|
3209
|
1
|
2,52
|
59
|
64
|
59
|
56
|
58
|
|
2873
|
2
|
1,88
|
29
|
32
|
29
|
27
|
28
|
|
2873
|
3
|
1,57
|
15
|
17
|
15
|
13
|
13
|
|
59
|
Сыктывкар
|
Б
|
6566
|
1
|
3,70
|
135
|
144
|
134
|
130
|
133
|
|
5831
|
2
|
2,83
|
91
|
98
|
90
|
87
|
89
|
|
5831
|
3
|
2,17
|
58
|
63
|
57
|
55
|
56
|
|
60
|
Тамбов
|
А
|
4764
|
1
|
3,07
|
85
|
92
|
84
|
81
|
83
|
|
4362
|
2
|
2,36
|
52
|
56
|
51
|
49
|
50
|
|
4362
|
3
|
1,87
|
29
|
32
|
29
|
27
|
27
|
|
61
|
Тверь
|
Б
|
5014
|
1
|
3,15
|
108
|
115
|
107
|
103
|
105
|
|
4578
|
2
|
2,42
|
71
|
76
|
70
|
67
|
69
|
|
4578
|
3
|
1,92
|
46
|
49
|
45
|
42
|
43
|
|
62
|
Томск
|
Б
|
см. Благовещенск
|
|
63
|
Тула
|
Б
|
см. Новгород
|
|
64
|
Тюмень
|
А
|
см. Екатеринбург
|
|
65
|
Ульяновск
|
А
|
5597
|
1
|
3,36
|
98
|
106
|
98
|
94
|
97
|
|
4961
|
2
|
2,55
|
61
|
66
|
60
|
57
|
59
|
|
4961
|
3
|
1,99
|
35
|
38
|
34
|
32
|
33
|
|
66
|
Улан-Уде
|
А
|
7442
|
1
|
4,00
|
129
|
138
|
128
|
124
|
127
|
|
6731
|
2
|
3,11
|
87
|
94
|
87
|
83
|
85
|
|
6731
|
3
|
2,35
|
51
|
56
|
51
|
48
|
49
|
|
67
|
Уфа
|
А
|
5517
|
1
|
3,33
|
97
|
105
|
97
|
93
|
95
|
|
5091
|
2
|
2,59
|
63
|
68
|
62
|
59
|
61
|
|
5091
|
3
|
2,02
|
36
|
39
|
35
|
33
|
34
|
|
68
|
Хабаровск
|
Б
|
6393
|
1
|
3,64
|
132
|
141
|
131
|
127
|
130
|
|
5760
|
2
|
2,80
|
90
|
97
|
89
|
86
|
88
|
|
5760
|
3
|
2,15
|
57
|
62
|
57
|
54
|
55
|
|
69
|
Чебоксары
|
Б
|
5620
|
1
|
3,37
|
118
|
127
|
117
|
113
|
116
|
|
4969
|
2
|
2,55
|
77
|
83
|
77
|
74
|
75
|
|
4969
|
3
|
1,99
|
50
|
53
|
49
|
46
|
47
|
|
70
|
Челябинск
|
Б
|
5995
|
1
|
3,50
|
125
|
134
|
124
|
120
|
123
|
|
5341
|
2
|
2,67
|
83
|
89
|
83
|
79
|
81
|
|
5341
|
3
|
2,07
|
53
|
57
|
52
|
50
|
51
|
|
71
|
Чита
|
А
|
7841
|
1
|
4,14
|
135
|
145
|
135
|
130
|
133
|
|
7115
|
2
|
3,24
|
93
|
100
|
92
|
89
|
91
|
|
7115
|
3
|
2,42
|
55
|
59
|
54
|
52
|
53
|
|
72
|
Элиста
|
А
|
3668
|
1
|
2,68
|
67
|
72
|
67
|
64
|
65
|
|
3322
|
2
|
2,02
|
36
|
39
|
36
|
34
|
34
|
|
3322
|
3
|
1,66
|
19
|
21
|
19
|
17
|
18
|
|
73
|
Южно-Сахалинск
|
Б
|
см. Вологда
|
|
74
|
Якутск
|
А
|
10650
|
1
|
5,13
|
181
|
195
|
181
|
175
|
179
|
|
9882
|
2
|
4,12
|
134
|
144
|
134
|
129
|
132
|
|
9882
|
3
|
2,98
|
81
|
87
|
80
|
77
|
79
|
|
75
|
Ярославль
|
Б
|
см. Смоленск
|
Примечания.
1. Толщина теплоизоляционного слоя в конструкциях утепления со штукатурным
покрытием по сетке, несущей нагрузку (графа 7), с вентилируемым фасадом (графа
9), с облицовкой кирпичом без вентилируемого зазора (графы 10 и 11) рассчитана
по глади стены при коэффициенте теплотехнической однородности 0,9.
2. Толщина теплоизоляционного слоя из плит ТЕРМОФАСАД с жестким
креплением (графа 8) рассчитана по глади стены при коэффициенте
теплотехнической однородности теплоизоляционной конструкции 0,95.
Таблица 5.14.2. Расчетная толщина теплоизоляционного слоя из плит марки
«ТЕРМО» в конструкции каркасных стен деревянных зданий.
|
№ п/п
|
Город
|
Условия эксплуатации
|
Dd, ºС·сут
|
Тип помещения
|
R0тр,
(м2·ºС)/Вт
|
Толщина теплоизоляционного слоя, мм, для плит марки
|
|
ТЕРМОЛАЙТ+, ТЕРМОСТЕНА
|
ТЕРМОЛАЙТ+, ТЕРМОСТЕНА, ТЕРМОМОНОЛИТ, ТЕРМОВЕНТ
|
|
1
|
2
|
3
|
4
|
5
|
6
|
7
|
8
|
|
1
|
Архангельск
|
Б
|
6426
|
1
|
3,65
|
161
|
164
|
|
5667
|
2
|
2,77
|
118
|
121
|
|
5667
|
3
|
2,13
|
87
|
89
|
|
2
|
Астрахань
|
А
|
3540
|
1
|
2,64
|
102
|
104
|
|
3206
|
2
|
1,99
|
72
|
74
|
|
3206
|
3
|
1,64
|
56
|
58
|
|
3
|
Анадырь
|
Б
|
9797
|
1
|
4,83
|
218
|
223
|
|
8864
|
2
|
3,80
|
168
|
172
|
|
8864
|
3
|
2,77
|
118
|
120
|
|
4
|
Барнаул
|
А
|
6343
|
1
|
3,62
|
146
|
150
|
|
5680
|
2
|
2,78
|
108
|
111
|
|
5680
|
3
|
2,14
|
79
|
81
|
|
5
|
Белгород
|
А
|
4183
|
1
|
2,86
|
112
|
115
|
|
3801
|
2
|
2,18
|
81
|
83
|
|
3801
|
3
|
1,76
|
62
|
63
|
|
6
|
Благовещенск
|
Б
|
6889
|
1
|
3,81
|
169
|
172
|
|
6235
|
2
|
2,96
|
127
|
130
|
|
6235
|
3
|
2,25
|
92
|
94
|
|
7
|
Брянск
|
Б
|
4572
|
1
|
3,00
|
129
|
132
|
|
4162
|
2
|
2,29
|
94
|
96
|
|
4162
|
3
|
1,83
|
72
|
73
|
|
8
|
Братск
|
А
|
7370
|
1
|
3,98
|
163
|
167
|
|
6623
|
2
|
3,08
|
122
|
125
|
|
6623
|
3
|
2,32
|
87
|
90
|
|
9
|
Волгоград
|
А
|
3952
|
1
|
2,78
|
108
|
111
|
|
3596
|
2
|
2,11
|
78
|
80
|
|
3596
|
3
|
1,72
|
60
|
61
|
|
10
|
Вологда
|
Б
|
5798
|
1
|
3,43
|
150
|
153
|
|
5105
|
2
|
2,59
|
109
|
112
|
|
5105
|
3
|
2,02
|
81
|
83
|
|
11
|
Воронеж
|
Б
|
4528
|
1
|
2,98
|
117
|
120
|
|
4136
|
2
|
2,28
|
86
|
88
|
|
4136
|
3
|
1,83
|
65
|
66
|
|
12
|
Владимир
|
Б
|
5006
|
1
|
3,15
|
136
|
139
|
|
4580
|
2
|
2,43
|
101
|
103
|
|
4154
|
3
|
1,83
|
72
|
73
|
|
13
|
Владивосток
|
Б
|
4684
|
1
|
3,04
|
131
|
134
|
|
4292
|
2
|
2,33
|
96
|
99
|
|
4292
|
3
|
1,86
|
73
|
75
|
|
14
|
Владикавказ
|
А
|
3410
|
1
|
2,59
|
100
|
102
|
|
3062
|
2
|
1,94
|
70
|
72
|
|
3062
|
3
|
1,61
|
55
|
56
|
|
15
|
Грозный
|
А
|
3056
|
1
|
2,47
|
94
|
96
|
|
2736
|
2
|
1,84
|
65
|
67
|
|
2736
|
3
|
1,55
|
52
|
53
|
|
16
|
Екатеринбург
|
А
|
6210
|
1
|
3,57
|
144
|
148
|
|
5520
|
2
|
2,73
|
106
|
108
|
|
5520
|
3
|
2,10
|
77
|
79
|
|
17
|
Иваново
|
Б
|
см. Владимир
|
|
18
|
Игарка
|
Б
|
10575
|
1
|
5,10
|
232
|
237
|
|
9666
|
2
|
4,05
|
180
|
184
|
|
9666
|
3
|
2,93
|
126
|
128
|
|
19
|
Иркутск
|
А
|
7080
|
1
|
3,88
|
158
|
162
|
|
6360
|
2
|
3,00
|
118
|
121
|
|
6360
|
3
|
2,27
|
85
|
87
|
|
20
|
Ижевск
|
Б
|
5905
|
1
|
3,47
|
152
|
155
|
|
5239
|
2
|
2,64
|
111
|
114
|
|
5239
|
3
|
2,05
|
82
|
84
|
|
21
|
Йошкар-Ола
|
Б
|
5742
|
1
|
3,41
|
149
|
152
|
|
5082
|
2
|
2,59
|
109
|
111
|
|
5082
|
3
|
2,02
|
81
|
83
|
|
22
|
Казань
|
Б
|
см. Вологда
|
|
23
|
Калининград
|
Б
|
3648
|
1
|
2,68
|
113
|
116
|
|
3262
|
2
|
2,00
|
80
|
82
|
|
3262
|
3
|
1,65
|
63
|
64
|
|
24
|
Калуга
|
Б
|
см. Владивосток
|
|
25
|
Кемерово
|
А
|
6537
|
1
|
3,69
|
150
|
153
|
|
6075
|
2
|
2,90
|
114
|
117
|
|
6075
|
3
|
2,22
|
82
|
84
|
|
26
|
Вятка
|
Б
|
5660
|
1
|
3,38
|
148
|
151
|
|
4967
|
2
|
2,55
|
107
|
109
|
|
4967
|
3
|
1,99
|
80
|
82
|
|
27
|
Кострома
|
Б
|
5528
|
1
|
3,33
|
145
|
149
|
|
4862
|
2
|
2,52
|
105
|
108
|
|
4862
|
3
|
1,97
|
79
|
80
|
|
28
|
Краснодар
|
А
|
2682
|
1
|
2,34
|
88
|
90
|
|
2384
|
2
|
1,72
|
60
|
61
|
|
2384
|
3
|
1,48
|
49
|
50
|
|
29
|
Красноярск
|
А
|
6575
|
1
|
3,70
|
150
|
154
|
|
5873
|
2
|
2,84
|
111
|
114
|
|
5873
|
3
|
2,17
|
81
|
83
|
|
30
|
Курган
|
А
|
см. Барнаул
|
|
31
|
Курск
|
Б
|
4435
|
1
|
2,95
|
127
|
129
|
|
4039
|
2
|
2,25
|
92
|
94
|
|
4039
|
3
|
1,81
|
71
|
72
|
|
32
|
Кызыл
|
А
|
7875
|
1
|
4,16
|
171
|
175
|
|
7425
|
2
|
3,34
|
134
|
137
|
|
7425
|
3
|
2,49
|
95
|
97
|
|
33
|
Липецк
|
А
|
4703
|
1
|
3,05
|
120
|
123
|
|
4301
|
2
|
2,34
|
88
|
90
|
|
4301
|
3
|
1,86
|
66
|
68
|
|
34
|
Магадан
|
Б
|
7805
|
1
|
4,13
|
184
|
188
|
|
7229
|
2
|
3,27
|
142
|
145
|
|
7229
|
3
|
2,45
|
102
|
104
|
|
35
|
Махачкала
|
А
|
2560
|
1
|
2,30
|
86
|
88
|
|
2264
|
2
|
1,68
|
58
|
60
|
|
2264
|
3
|
1,45
|
48
|
49
|
|
36
|
Москва
|
Б
|
5027
|
1
|
3,16
|
137
|
140
|
|
4601
|
2
|
2,43
|
101
|
103
|
|
4601
|
3
|
1,92
|
76
|
78
|
|
37
|
Мурманск
|
Б
|
6380
|
1
|
3,63
|
160
|
163
|
|
5830
|
2
|
2,83
|
120
|
123
|
|
5830
|
3
|
2,17
|
88
|
90
|
|
38
|
Нальчик
|
А
|
3259
|
1
|
2,54
|
97
|
100
|
|
2923
|
2
|
1,90
|
68
|
70
|
|
2923
|
3
|
1,58
|
54
|
55
|
|
39
|
Нижний Новгород
|
Б
|
см. Владимир
|
|
40
|
Новгород
|
Б
|
4928
|
1
|
3,12
|
135
|
138
|
|
4486
|
2
|
2,40
|
99
|
102
|
|
4486
|
3
|
1,90
|
75
|
77
|
|
41
|
Новосибирск
|
А
|
см. Кемерово
|
|
42
|
Омск
|
А
|
6497
|
1
|
3,67
|
149
|
153
|
|
5834
|
2
|
2,83
|
110
|
113
|
|
5834
|
3
|
2,17
|
80
|
82
|
|
43
|
Оренбург
|
А
|
5515
|
1
|
3,33
|
133
|
136
|
|
4909
|
2
|
2,53
|
97
|
99
|
|
4909
|
3
|
1,98
|
72
|
74
|
|
44
|
Орел
|
Б
|
4654
|
1
|
3,03
|
130
|
133
|
|
4244
|
2
|
2,32
|
96
|
98
|
|
4244
|
3
|
1,85
|
73
|
74
|
|
45
|
Пенза
|
А
|
5072
|
1
|
3,18
|
126
|
129
|
|
4658
|
2
|
2,45
|
93
|
95
|
|
4658
|
3
|
1,93
|
70
|
71
|
|
46
|
Пермь
|
Б
|
см. Вятка
|
|
47
|
Петропавловск-Камчатский
|
Б
|
см. Ижевск
|
|
48
|
Петрозаводск
|
Б
|
см. Вологда
|
|
49
|
Псков
|
Б
|
см. Курск
|
|
50
|
Ростов-на-Дону
|
А
|
3523
|
1
|
2,63
|
101
|
104
|
|
3181
|
2
|
1,98
|
72
|
73
|
|
3181
|
3
|
1,64
|
56
|
57
|
|
51
|
Рязань
|
Б
|
4888
|
1
|
3,11
|
134
|
137
|
|
4472
|
2
|
2,39
|
99
|
101
|
|
4472
|
3
|
1,89
|
75
|
77
|
|
52
|
Самара
|
Б
|
см. Кострома
|
|
53
|
Санкт-Петербург
|
Б
|
см. Орел
|
|
54
|
Саранск
|
А
|
см. Пенза
|
|
55
|
Саратов
|
А
|
4763
|
1
|
3,07
|
121
|
124
|
|
4371
|
2
|
2,36
|
89
|
91
|
|
4371
|
3
|
1,87
|
67
|
69
|
|
56
|
Салехард
|
Б
|
9461
|
1
|
4,71
|
213
|
217
|
|
8585
|
2
|
3,71
|
163
|
167
|
|
8585
|
3
|
2,72
|
115
|
118
|
|
57
|
Смоленск
|
Б
|
4816
|
1
|
3,09
|
133
|
136
|
|
4386
|
2
|
2,36
|
98
|
100
|
|
4386
|
3
|
1,88
|
74
|
76
|
|
58
|
Ставрополь
|
А
|
3209
|
1
|
2,52
|
96
|
99
|
|
2873
|
2
|
1,88
|
67
|
69
|
|
2873
|
3
|
1,57
|
53
|
55
|
|
59
|
Сыктывкар
|
Б
|
6566
|
1
|
3,70
|
163
|
167
|
|
5831
|
2
|
2,83
|
120
|
123
|
|
5831
|
3
|
2,17
|
88
|
90
|
|
60
|
Тамбов
|
А
|
4764
|
1
|
3,07
|
121
|
124
|
|
4362
|
2
|
2,36
|
89
|
91
|
|
4362
|
3
|
1,87
|
67
|
68
|
|
61
|
Тверь
|
Б
|
5014
|
1
|
3,15
|
136
|
140
|
|
4578
|
2
|
2,42
|
101
|
103
|
|
4578
|
3
|
1,92
|
76
|
78
|
|
62
|
Томск
|
Б
|
см. Благовещенск
|
|
63
|
Тула
|
Б
|
см. Новгород
|
|
64
|
Тюмень
|
А
|
см. Екатеринбург
|
|
65
|
Ульяновск
|
А
|
5597
|
1
|
3,36
|
135
|
138
|
|
4961
|
2
|
2,55
|
98
|
100
|
|
4961
|
3
|
1,99
|
72
|
74
|
|
66
|
Улан-Уде
|
А
|
7442
|
1
|
4,00
|
164
|
168
|
|
6731
|
2
|
3,11
|
123
|
126
|
|
6731
|
3
|
2,35
|
88
|
91
|
|
67
|
Уфа
|
А
|
5517
|
1
|
3,33
|
133
|
137
|
|
5091
|
2
|
2,59
|
99
|
102
|
|
5091
|
3
|
2,02
|
73
|
75
|
|
68
|
Хабаровск
|
Б
|
6393
|
1
|
3,64
|
160
|
164
|
|
5760
|
2
|
2,80
|
119
|
122
|
|
5760
|
3
|
2,15
|
87
|
89
|
|
69
|
Чебоксары
|
Б
|
5620
|
1
|
3,37
|
147
|
150
|
|
4969
|
2
|
2,55
|
107
|
109
|
|
4969
|
3
|
1,99
|
80
|
82
|
|
70
|
Челябинск
|
Б
|
5995
|
1
|
3,50
|
153
|
157
|
|
5341
|
2
|
2,67
|
113
|
115
|
|
5341
|
3
|
2,07
|
83
|
85
|
|
71
|
Чита
|
А
|
7841
|
1
|
4,14
|
170
|
174
|
|
7115
|
2
|
3,24
|
129
|
132
|
|
7115
|
3
|
2,42
|
92
|
94
|
|
72
|
Элиста
|
А
|
3668
|
1
|
2,68
|
104
|
106
|
|
3322
|
2
|
2,02
|
74
|
75
|
|
3322
|
3
|
1,66
|
57
|
59
|
|
73
|
Южно-Сахалинск
|
Б
|
см. Вологда
|
|
74
|
Якутск
|
А
|
10650
|
1
|
5,13
|
215
|
220
|
|
9882
|
2
|
4,12
|
169
|
173
|
|
9882
|
3
|
2,98
|
117
|
120
|
|
75
|
Ярославль
|
Б
|
см. Смоленск
|
Примечание. Коэффициент
теплотехнической однородности 0,9.
Таблица 5.14.3. Расчетная толщина
теплоизоляционного слоя из плит марки «ТЕРМО» в конструкции утепления
чердачного перекрытия неотапливаемого чердака (холодной мансарды) или над
холодным подвалом в деревянных зданиях.
|
№ п/п
|
Город РФ
|
Условия эксплуатации
|
Dd, ºС·сут
|
Тип помещения
|
R0тр,
(м2·ºС)/Вт
|
Толщина теплоизоляционного слоя из плит марки, мм,
|
|
ТЕРМОЛАЙТ+, ТЕРМОСТЕНА
|
ТЕРМОЛАЙТ+, ТЕРМОСТЕНА, ТЕРМОМОНОЛИТ, ТЕРМОВЕНТ
|
|
1
|
2
|
3
|
4
|
5
|
6
|
7
|
8
|
|
1
|
Архангельск
|
Б
|
6426
|
1
|
4,79
|
210
|
214
|
|
5667
|
2
|
3,28
|
136
|
139
|
|
2
|
Астрахань
|
А
|
3540
|
1
|
3,49
|
133
|
136
|
|
3206
|
2
|
2,42
|
84
|
86
|
|
3
|
Анадырь
|
Б
|
9797
|
1
|
6,31
|
284
|
290
|
|
8864
|
2
|
4,40
|
191
|
195
|
|
4
|
Барнаул
|
А
|
6343
|
1
|
4,75
|
190
|
195
|
|
5680
|
2
|
3,29
|
123
|
126
|
|
5
|
Белгород
|
А
|
4183
|
1
|
3,78
|
146
|
149
|
|
3801
|
2
|
2,63
|
93
|
95
|
|
6
|
Благовещенск
|
Б
|
6889
|
1
|
5,00
|
220
|
225
|
|
6235
|
2
|
3,48
|
146
|
149
|
|
7
|
Брянск
|
Б
|
4572
|
1
|
3,96
|
169
|
173
|
|
4162
|
2
|
2,76
|
110
|
113
|
|
8
|
Братск
|
А
|
7370
|
1
|
5,22
|
211
|
216
|
|
6623
|
2
|
3,62
|
138
|
142
|
|
9
|
Волгоград
|
А
|
3952
|
1
|
3,68
|
141
|
144
|
|
3596
|
2
|
2,56
|
90
|
92
|
|
10
|
Вологда
|
Б
|
5798
|
1
|
4,51
|
196
|
200
|
|
5105
|
2
|
3,09
|
126
|
129
|
|
11
|
Воронеж
|
А
|
4528
|
1
|
3,94
|
153
|
156
|
|
4136
|
2
|
2,75
|
99
|
101
|
|
12
|
Владимир
|
Б
|
5006
|
1
|
4,15
|
178
|
183
|
|
4580
|
2
|
2,90
|
117
|
120
|
|
13
|
Владивосток
|
Б
|
4684
|
1
|
4,01
|
171
|
175
|
|
4292
|
2
|
2,80
|
112
|
115
|
|
14
|
Владикавказ
|
А
|
3410
|
1
|
3,43
|
130
|
133
|
|
3062
|
2
|
2,37
|
81
|
83
|
|
15
|
Грозный
|
А
|
3056
|
1
|
3,28
|
123
|
126
|
|
2736
|
2
|
2,26
|
76
|
78
|
|
16
|
Екатеринбург
|
А
|
6210
|
1
|
4,69
|
187
|
192
|
|
5520
|
2
|
3,23
|
121
|
124
|
|
17
|
Иваново
|
Б
|
см. Владимир
|
|
18
|
Игарка
|
Б
|
10575
|
1
|
6,66
|
301
|
308
|
|
9666
|
2
|
4,68
|
204
|
209
|
|
19
|
Иркутск
|
А
|
7080
|
1
|
5,09
|
205
|
210
|
|
6360
|
2
|
3,53
|
134
|
137
|
|
20
|
Ижевск
|
Б
|
5905
|
1
|
4,56
|
198
|
203
|
|
5239
|
2
|
3,13
|
129
|
132
|
|
21
|
Йошкар-Ола
|
Б
|
5742
|
1
|
4,48
|
195
|
199
|
|
5082
|
2
|
3,08
|
126
|
129
|
|
1
|
2
|
3
|
4
|
5
|
6
|
7
|
8
|
9
|
10
|
11
|
|
16
|
Екатеринбург
|
А
|
6210
|
1
|
3,57
|
109
|
117
|
108
|
104
|
107
|
|
5520
|
2
|
2,73
|
69
|
75
|
69
|
66
|
67
|
|
5520
|
3
|
2,10
|
40
|
43
|
39
|
37
|
38
|
|
17
|
Иваново
|
Б
|
см. Владимир
|
|
18
|
Игарка
|
Б
|
10575
|
1
|
5,10
|
205
|
219
|
204
|
198
|
203
|
|
9666
|
2
|
4,05
|
152
|
163
|
152
|
147
|
150
|
|
9666
|
3
|
2,93
|
96
|
103
|
96
|
92
|
94
|
|
19
|
Иркутск
|
А
|
7080
|
1
|
3,88
|
123
|
132
|
122
|
118
|
121
|
|
6360
|
2
|
3,00
|
82
|
88
|
81
|
78
|
80
|
|
6360
|
3
|
2,27
|
48
|
52
|
47
|
45
|
46
|
|
20
|
Ижевск
|
Б
|
5905
|
1
|
3,47
|
123
|
132
|
122
|
118
|
121
|
|
5239
|
2
|
2,64
|
82
|
88
|
81
|
78
|
79
|
|
5239
|
3
|
2,05
|
52
|
56
|
51
|
49
|
50
|
|
21
|
Йошкар-Ола
|
Б
|
5742
|
1
|
3,41
|
120
|
129
|
120
|
116
|
118
|
|
5082
|
2
|
2,59
|
79
|
85
|
78
|
75
|
77
|
|
5082
|
3
|
2,02
|
51
|
55
|
50
|
47
|
48
|
|
22
|
Казань
|
Б
|
см. Вологда
|
|
23
|
Калининград
|
Б
|
3648
|
1
|
2,68
|
84
|
90
|
83
|
80
|
82
|
|
3262
|
2
|
2,00
|
50
|
54
|
49
|
47
|
48
|
|
3262
|
3
|
1,65
|
32
|
35
|
32
|
30
|
30
|
|
24
|
Калуга
|
Б
|
см. Владивосток
|
|
25
|
Кемерово
|
А
|
6537
|
1
|
3,69
|
114
|
123
|
113
|
109
|
112
|
|
6075
|
2
|
2,90
|
77
|
83
|
77
|
74
|
75
|
|
6075
|
3
|
2,22
|
45
|
49
|
45
|
42
|
43
|
|
26
|
Вятка
|
Б
|
5660
|
1
|
3,38
|
119
|
127
|
118
|
114
|
117
|
|
4967
|
2
|
2,55
|
77
|
83
|
77
|
73
|
75
|
|
4967
|
3
|
1,99
|
50
|
53
|
49
|
46
|
47
|
|
27
|
Кострома
|
Б
|
5528
|
1
|
3,33
|
117
|
125
|
116
|
112
|
114
|
|
4862
|
2
|
2,52
|
76
|
81
|
75
|
72
|
73
|
|
4862
|
3
|
1,97
|
48
|
52
|
48
|
45
|
46
|
|
28
|
Краснодар
|
А
|
2682
|
1
|
2,34
|
51
|
55
|
50
|
48
|
49
|
|
2384
|
2
|
1,72
|
22
|
24
|
22
|
20
|
20
|
|
2384
|
3
|
1,48
|
11
|
12
|
10
|
9
|
9
|
|
29
|
Красноярск
|
А
|
6575
|
1
|
3,70
|
114
|
123
|
114
|
110
|
113
|
|
5873
|
2
|
2,84
|
74
|
80
|
74
|
71
|
72
|
|
5873
|
3
|
2,17
|
43
|
47
|
43
|
40
|
41
|
|
30
|
Курган
|
А
|
см. Барнаул
|
|
31
|
Курск
|
Б
|
4435
|
1
|
2,95
|
97
|
105
|
97
|
93
|
95
|
|
4039
|
2
|
2,25
|
62
|
67
|
62
|
59
|
60
|
|
4039
|
3
|
1,81
|
40
|
43
|
39
|
37
|
38
|
|
32
|
Кызыл
|
А
|
7875
|
1
|
4,16
|
136
|
146
|
135
|
131
|
134
|
|
7425
|
2
|
3,34
|
97
|
105
|
97
|
93
|
96
|
|
7425
|
3
|
2,49
|
58
|
62
|
57
|
55
|
56
|
|
33
|
Липецк
|
А
|
4703
|
1
|
3,05
|
84
|
91
|
83
|
80
|
82
|
|
4301
|
2
|
2,34
|
51
|
55
|
50
|
48
|
49
|
|
4301
|
3
|
1,86
|
29
|
31
|
28
|
26
|
27
|
|
34
|
Магадан
|
Б
|
7805
|
1
|
4,13
|
151
|
162
|
150
|
151
|
154
|
|
7229
|
2
|
3,27
|
108
|
116
|
107
|
109
|
111
|
|
7229
|
3
|
2,45
|
67
|
72
|
66
|
68
|
70
|
|
35
|
Махачкала
|
А
|
2560
|
1
|
2,30
|
49
|
53
|
48
|
46
|
47
|
|
2264
|
2
|
1,68
|
20
|
22
|
20
|
18
|
19
|
|
2264
|
3
|
1,45
|
10
|
11
|
9
|
8
|
8
|
|
36
|
Москва
|
Б
|
5027
|
1
|
3,16
|
108
|
116
|
107
|
103
|
106
|
|
4601
|
2
|
2,43
|
71
|
77
|
71
|
68
|
69
|
|
4601
|
3
|
1,92
|
46
|
49
|
45
|
43
|
44
|
|
37
|
Мурманск
|
Б
|
6380
|
1
|
3,63
|
131
|
141
|
131
|
126
|
129
|
|
5830
|
2
|
2,83
|
91
|
98
|
90
|
87
|
89
|
|
5830
|
3
|
2,17
|
58
|
63
|
57
|
55
|
56
|
|
38
|
Нальчик
|
А
|
3259
|
1
|
2,54
|
60
|
65
|
60
|
57
|
59
|
|
2923
|
2
|
1,90
|
30
|
33
|
30
|
28
|
28
|
|
2923
|
3
|
1,58
|
16
|
17
|
15
|
14
|
14
|
|
39
|
Нижний Новгород
|
Б
|
см. Владимир
|
|
40
|
Новгород
|
Б
|
4928
|
1
|
3,12
|
106
|
114
|
105
|
102
|
104
|
|
4486
|
2
|
2,40
|
70
|
75
|
69
|
66
|
67
|
|
4486
|
3
|
1,90
|
45
|
48
|
44
|
42
|
43
|
|
41
|
Новосибирск
|
А
|
см. Кемерово
|
|
42
|
Омск
|
А
|
6497
|
1
|
3,67
|
113
|
122
|
113
|
109
|
111
|
|
5834
|
2
|
2,83
|
74
|
80
|
73
|
70
|
72
|
|
5834
|
3
|
2,17
|
43
|
47
|
42
|
40
|
41
|
|
43
|
Оренбург
|
А
|
5515
|
1
|
3,33
|
97
|
105
|
97
|
93
|
95
|
|
4909
|
2
|
2,53
|
60
|
65
|
59
|
57
|
58
|
|
4909
|
3
|
1,98
|
34
|
37
|
34
|
32
|
32
|
|
44
|
Орел
|
Б
|
4654
|
1
|
3,03
|
101
|
109
|
101
|
97
|
99
|
|
4244
|
2
|
2,32
|
66
|
71
|
65
|
62
|
64
|
|
4244
|
3
|
1,85
|
42
|
46
|
42
|
39
|
40
|
|
45
|
Пенза
|
А
|
5072
|
1
|
3,18
|
90
|
97
|
89
|
86
|
88
|
|
4658
|
2
|
2,45
|
56
|
61
|
56
|
53
|
54
|
|
4658
|
3
|
1,93
|
32
|
35
|
31
|
29
|
30
|
|
46
|
Пермь
|
Б
|
см. Вятка
|
|
47
|
Петропавловск-Камчатский
|
Б
|
см. Ижевск
|
|
48
|
Петрозаводск
|
Б
|
см. Вологда
|
|
49
|
Псков
|
Б
|
см. Курск
|
|
50
|
Ростов-на-Дону
|
А
|
3523
|
1
|
2,63
|
65
|
70
|
64
|
61
|
63
|
|
3181
|
2
|
1,98
|
34
|
37
|
34
|
31
|
32
|
|
3181
|
3
|
1,64
|
18
|
20
|
18
|
16
|
16
|
|
51
|
Рязань
|
Б
|
4888
|
1
|
3,11
|
105
|
113
|
105
|
101
|
103
|
|
4472
|
2
|
2,39
|
69
|
75
|
69
|
66
|
67
|
|
4472
|
3
|
1,89
|
45
|
48
|
44
|
41
|
42
|
|
52
|
Самара
|
Б
|
см. Кострома
|
|
53
|
Санкт-Петербург
|
Б
|
см. Орел
|
|
54
|
Саранск
|
А
|
см. Пенза
|
|
55
|
Саратов
|
А
|
4763
|
1
|
3,07
|
85
|
92
|
84
|
81
|
83
|
|
4371
|
2
|
2,36
|
52
|
56
|
51
|
49
|
50
|
|
4371
|
3
|
1,87
|
29
|
32
|
29
|
27
|
27
|
|
56
|
Салехард
|
Б
|
9461
|
1
|
4,71
|
185
|
198
|
185
|
179
|
183
|
|
8585
|
2
|
3,71
|
135
|
145
|
134
|
130
|
133
|
|
8585
|
3
|
2,72
|
86
|
92
|
85
|
82
|
84
|
|
57
|
Смоленск
|
Б
|
4816
|
1
|
3,09
|
99
|
106
|
98
|
100
|
102
|
|
4386
|
2
|
2,36
|
62
|
67
|
62
|
64
|
66
|
|
4386
|
3
|
1,88
|
38
|
41
|
37
|
41
|
42
|
|
58
|
Ставрополь
|
А
|
3209
|
1
|
2,52
|
59
|
64
|
59
|
56
|
58
|
|
2873
|
2
|
1,88
|
29
|
32
|
29
|
27
|
28
|
|
2873
|
3
|
1,57
|
15
|
17
|
15
|
13
|
13
|
Примечание. В расчете принят
коэффициент теплотехнической однородности - 0,9.
Рис. 5.14.1. Утепление стены из бруса плитами марки
«ТЕРМОВЕНТ» в один слой в конструкции со
штукатурным покрытием по несущей металлической сетке.

1. Стена из
бруса.
2. Плиты марки
«TEPMОBEHT» (толщина теплоизоляционного слоя по табл. 5.14.1).
3. Вертикальная
стойка из бруса.
4. Металлическая
сетка.
5. Штукатурное
покрытие.
6. Внутренняя
облицовка (гипсокартон, вагонка и т.д.).
7. Крепление
вертикальной стойки.
8. Дюбель или
гвоздь с шайбой.
Рис. 5.14.2. Стена из бруса с теплоизоляцией из плит марки «ТЕРМОВЕНТ» с облицовкой
кирпичом в конструкции с
вентилируемым зазором.

1. Стена из
бруса.
2. Плиты марки «TEPMОBEHT»
(толщина теплоизоляционного слоя по табл. 5.14.1).
3. Кирпичная облицовка.
4. Ветрозащита.
5. Вентилируемый
зазор.
6. Крепление
облицовки.
7. Крепление
плит «ТЕРМОВЕНТ».
Рис. 5.14.4. Вид А к рис. 5.14.3. Стена из бруса с
вентилируемым фасадом и теплоизоляцией из плит марки «ТЕРМОВЕНТ» в один слой с
облицовкой листовым материалом.

1. Стена из
бруса.
2. Плиты марки «TEPMОBEHT»
(толщина теплоизоляционного слоя по табл. 5.14.1.).
3. Вертикальная стойка из бруса.
4. Ветрозащита.
5. Облицовка.
6. Вентилируемый
зазор.
7. Вертикальная
деревянная планка.
8. Крепежный
элемент (винт, шуруп и т.п.).
9. Гипсокартон.
10. Дюбель,
гвоздь.
Рис. 5.14.6. Разрез каркасной стены с
теплоизоляционным слоем из плит марки «TEPMО» в
качестве среднего слоя каркасной конструкции.

1. Внутренняя
облицовка (гипсокартон и т.п.).
2. Внутренняя
обшивка (обрешетка) из досок толщиной 20 - 30 мм.
3. Плиты марки «ТЕРМОЛАЙТ», «ТЕРМОЛАЙТ+»,
«ТЕРМОСТЕНА», «ТЕРМОСТЕНА+», «ТЕРМОВЕНТ», «ТЕРМОМОНОЛИТ» (толщина теплоизоляционного
слоя по табл. 5.14.3).
4. Пароизоляция.
5. Ветрозащита.
6. Наружная
стена из шпунтованной доски.
7. Вертикальная
стойка каркаса.
8. Воздушный
зазор.
Рис. 5.14.7. Узел сопряжения крыши и каркасной стены дома с утеплением из
плит марки «TEPMО».

1. Кровля.
2. Деревянные
конструкции чердака.
3. Вентилируемое
подстропильное пространство.
4. Диффузионная
пленка (гидро-ветроизоляция).
5. Плиты марки «TEPMО» по рис. 5.13.11.
6. Плиты марки
«ТЕРМО» по рис. 5.14.6.
7. Изоляция
чердачного перекрытия утепленной мансарды.
8. Гидроизоляция.
9. Пароизоляция.
10. Внутренняя
облицовка.
11. Каркасная
стена дома.
Рис. 5.14.8. Чердачное перекрытие неутепленной
мансарды или холодного чердака с теплоизоляцией из плит марки «ТЕРМОЛАЙТ», «ТЕРМОЛАЙТ+»,
«ТЕРМОСТЕНА», «ТЕРМОСТЕНА+», «ТЕРМОВЕНТ».

1. Половая доска
или настил.
2. Лаги, балки
(каркас).
3. Пароизоляция.
4. Плиты марки
«ТЕРМОЛАЙТ», «ТЕРМОЛАЙТ+», «ТЕРМОСТЕНА», «ТЕРМОСТЕНА+», «ТЕРМОВЕНТ» (толщина
теплоизоляционного слоя по табл. 5.14.3).
5.
Гидроизоляция.
6. Доски 20 - 30
мм.
7. Обшивка
(потолок).
Рис. 5.14.9. Конструкция пола над холодным подвалом с теплоизоляцией из плит марки
«ТЕРМОЛАЙТ», «ТЕРМОЛАЙТ+», «ТЕРМОСТЕНА», «TEPMOCTEHA+»,
«ТЕРМОВЕНТ».

1. Пол.
2. Лаги, балки
(каркас).
3. Пароизоляция.
4. Плиты марки
«ТЕРМОЛАЙТ», «ТЕРМОЛАЙТ+», «ТЕРМОСТЕНА», «ТЕРМОСТЕНА+», «ТЕРМОВЕНТ» (толщина
теплоизоляционного слоя по табл. 5.14.3).
5. Ветрозащита
(пергамин).
6. Обшивка из
досок.
7.
Гидроизоляция.
8. Опорные
бруски.
9. Опорные
столбики.
5.15.1. Теплоизоляционные плиты из
минеральной ваты на синтетическом связующем марки «ТЕРМО» могут применяться в
качестве теплоизоляционного слоя в «сэндвич-панелях» с облицовкой из
металлических листов с двух сторон.
Стеновые «сэндвич-панели» применяются в
стеновых ограждающих конструкциях административных, общественных и
производственных зданий. «Сэндвич-панели» могут быть использованы для
строительства спортивных залов, торговых центров, объектов автосервиса,
складских помещений и других объектов.
Кровельные «сэндвич-панели» применяются в
качестве покрытий административных, общественных и производственных зданий.
Применение «сэндвич-панелей» для
ограждающих конструкций сокращает сроки и снижает стоимость строительства, дает
возможность быстрого демонтажа конструкций и их повторного использования.
5.15.2. В стеновых «сэндвич-панелях» в
качестве теплоизоляционного слоя могут быть использованы плиты марки
«ТЕРМОМОНОЛИТ», «ТЕРМОСЭНДВИЧ С», «ТЕРМОКРОВЛЯ Н», «ТЕРМОСЭНДВИЧ К»,
«ТЕРМОКРОВЛЯ» (Рис. 5.15.1).
В кровельных «сэндвич-панелях» в качестве
теплоизоляционного слоя используются плиты марки «ТЕРМОСЭНДВИЧ К»,
«ТЕРМОКРОВЛЯ», «ТЕРМОКРОВЛЯ В». (Рис. 5.15.2).
Технические характеристики плит марок
«ТЕРМОМОНОЛИТ», «ТЕРМОСЭНДВИЧ С», «ТЕРМОКРОВЛЯ Н», «ТЕРМОСЭНДВИЧ К»,
«ТЕРМОКРОВЛЯ» и «ТЕРМОКРОВЛЯ В» приведены в табл. 2.3.
5.15.3. В качестве облицовки могут
применяться гладкие и профилированные листы из тонколистовой оцинкованной стали
(горячего оцинкования), электролитически оцинкованный (ЭОЦ) прокат,
профилированные алюминиевые листы или листы из нержавеющей стали.
На поверхность облицовки может быть
нанесено защитно-декоративное покрытие в соответствии с требованиями ГОСТ
30246-94 «Прокат тонколистовой с защитно-декоративным покрытием для
строительных конструкций».
5.15.3. Кровельные панели и стеновые
панели с теплоизоляционным слоем из плит марки «ТЕРМО» могут крепиться на
стальные, деревянные или бетонные прогоны. Для крепления панелей и заделки
стыков панелей следует применять коррозионно-стойкие крепежные изделия,
совместимые (не вызывающие контактную коррозию) с облицовкой панелей.
Количество крепежных элементов определяется в зависимости от ветровой и
снеговой нагрузок и собственного веса панелей.
5.15.4. Конструкция стыков панелей должны
обеспечивать прочное соединение, не допускать проникновения влаги в утеплитель,
воспринимать температурные деформации и не иметь «мостиков холода».
Как правило, стыковка стеновых панелей
пазо-гребневым соединением обеспечивает указанные требования. Стеновые панели
при горизонтальной раскладке следует располагать так, чтобы не допускать
затекания влаги при атмосферных осадках (Рис. 5.15.4).
Кровельные панели соединяются «в
нахлест». При монтаже панелей не допускаются зазоры в замковом соединении
панелей.
При необходимости швы и стыки панелей
могут быть герметизированы мастикой, неопрено-полиуретановой лентой,
алюминиевой лентой с липким слоем и др. Для повышения надежности конструкции
соединения соседних стеновых панелей необходимо защищать замок нащельником.
Пространство между нащельником и панелями заполнить вкладышами из плит марки
«ТЕРМОЛАЙТ+» (Рис. 5.15.5).
5.15.5. Расчетная толщина теплоизоляционного
слоя из плит «ТЕРМОМОНОЛИТ», «ТЕРМОСЭНДВИЧ С», «ТЕРМОКРОВЛЯ Н», «ТЕРМОСЭНДВИЧ
К» и «ТЕРМОКРОВЛЯ» в стеновых и из плит «ТЕРМОСЭНДВИЧ К», «ТЕРМОКРОВЛЯ» и
«ТЕРМОКРОВЛЯ В» в кровельных «сэндвич-панелях» приведена, соответственно, в
таблицах 5.15.1
и 5.15.2.
Таблица 5.15.1. Расчетная толщина тепловой изоляции из
теплоизоляционных плит марки «ТЕРМОМОНОЛИТ», «ТЕРМОСЭНДВИЧ С», «ТЕРМОКРОВЛЯ Н»,
«ТЕРМОСЭНДВИЧ К» и «ТЕРМОКРОВЛЯ» в стеновых «сэндвич-панелях».
|
№ п/п
|
Город РФ
|
Условия эксплуатации
|
Dd, ºС·сут
|
Тип помещения
|
R0тр,
(м2·ºС)/Вт
|
Плиты марки
|
|
ТЕРМОМОНОЛИТ, ТЕРМОСЭНДВИЧ С
|
ТЕРМОКРОВЛЯ Н
|
ТЕРМОСЭНДВИЧ К ТЕРМОКРОВЛЯ
|
|
Толщина теплоизоляционного слоя, мм
|
|
1
|
2
|
3
|
4
|
5
|
6
|
7
|
8
|
9
|
|
1
|
Архангельск
|
Б
|
5667
|
2
|
3,28
|
130
|
133
|
135
|
|
5667
|
3
|
2,13
|
74
|
76
|
77
|
|
2
|
Астрахань
|
А
|
3206
|
2
|
2,42
|
80
|
82
|
84
|
|
3206
|
3
|
1,64
|
45
|
46
|
47
|
|
3
|
Анадырь
|
Б
|
8864
|
2
|
4,40
|
184
|
188
|
192
|
|
8864
|
3
|
2,77
|
105
|
107
|
110
|
|
4
|
Барнаул
|
А
|
5680
|
2
|
3,29
|
119
|
122
|
125
|
|
5680
|
3
|
2,14
|
67
|
68
|
70
|
|
5
|
Белгород
|
А
|
3801
|
2
|
2,63
|
89
|
91
|
93
|
|
3801
|
3
|
1,76
|
50
|
51
|
52
|
|
6
|
Благовещенск
|
Б
|
6235
|
2
|
3,48
|
139
|
142
|
145
|
|
6235
|
3
|
2,25
|
80
|
81
|
83
|
|
7
|
Брянск
|
Б
|
4162
|
2
|
2,76
|
104
|
107
|
109
|
|
4162
|
3
|
1,83
|
59
|
61
|
62
|
|
8
|
Братск
|
А
|
6623
|
2
|
3,62
|
134
|
137
|
140
|
|
6623
|
3
|
2,32
|
75
|
77
|
79
|
|
9
|
Волгоград
|
А
|
3596
|
2
|
2,56
|
86
|
88
|
90
|
|
3596
|
3
|
1,72
|
48
|
49
|
50
|
|
10
|
Вологда
|
Б
|
5105
|
2
|
3,09
|
120
|
123
|
125
|
|
5105
|
3
|
2,02
|
69
|
70
|
72
|
|
11
|
Воронеж
|
А
|
4136
|
2
|
2,75
|
95
|
97
|
99
|
|
4136
|
3
|
1,83
|
53
|
54
|
55
|
|
12
|
Владимир
|
Б
|
4580
|
2
|
2,90
|
111
|
114
|
116
|
|
4154
|
3
|
1,83
|
59
|
61
|
62
|
|
13
|
Владивосток
|
Б
|
4292
|
2
|
2,80
|
106
|
109
|
111
|
|
4292
|
3
|
1,86
|
61
|
62
|
63
|
|
14
|
Владикавказ
|
А
|
3062
|
2
|
2,37
|
78
|
79
|
81
|
|
3062
|
3
|
1,61
|
43
|
44
|
45
|
|
15
|
Грозный
|
А
|
2736
|
2
|
2,26
|
72
|
74
|
76
|
|
2736
|
3
|
1,55
|
40
|
41
|
42
|
|
16
|
Екатеринбург
|
А
|
5520
|
2
|
3,23
|
117
|
119
|
122
|
|
5520
|
3
|
2,10
|
65
|
67
|
69
|
|
17
|
Иваново
|
Б
|
см. Владимир
|
|
18
|
Игарка
|
Б
|
9666
|
2
|
4,68
|
198
|
202
|
206
|
|
9666
|
3
|
2,93
|
113
|
115
|
118
|
|
19
|
Иркутск
|
А
|
6360
|
2
|
3,53
|
130
|
133
|
136
|
|
6360
|
3
|
2,27
|
73
|
75
|
76
|
|
20
|
Ижевск
|
Б
|
5239
|
2
|
3,13
|
123
|
125
|
128
|
|
5239
|
3
|
2,05
|
70
|
71
|
73
|
|
21
|
Йошкар-Ола
|
Б
|
5082
|
2
|
3,08
|
120
|
122
|
125
|
|
5082
|
3
|
2,02
|
68
|
70
|
71
|
|
22
|
Казань
|
Б
|
см. Вологда
|
|
23
|
Калининград
|
Б
|
3262
|
2
|
2,44
|
89
|
91
|
93
|
|
3262
|
3
|
1,65
|
51
|
52
|
53
|
|
24
|
Калуга
|
Б
|
см. Владивосток
|
|
25
|
Кемерово
|
А
|
6075
|
2
|
3,43
|
125
|
128
|
131
|
|
6075
|
3
|
2,22
|
70
|
72
|
74
|
|
26
|
Вятка
|
Б
|
4967
|
2
|
3,04
|
118
|
120
|
123
|
|
4967
|
3
|
1,99
|
67
|
69
|
70
|
|
27
|
Кострома
|
Б
|
4862
|
2
|
3,00
|
116
|
119
|
121
|
|
4862
|
3
|
1,97
|
66
|
68
|
69
|
|
28
|
Краснодар
|
А
|
2384
|
2
|
2,13
|
67
|
68
|
70
|
|
2384
|
3
|
1,48
|
37
|
38
|
39
|
|
29
|
Красноярск
|
А
|
5873
|
2
|
3,36
|
122
|
125
|
128
|
|
5873
|
3
|
2,17
|
69
|
70
|
72
|
|
30
|
Курган
|
А
|
см. Барнаул
|
|
31
|
Курск
|
Б
|
4039
|
2
|
2,71
|
102
|
104
|
107
|
|
4039
|
3
|
1,81
|
58
|
60
|
61
|
|
32
|
Кызыл
|
А
|
7425
|
2
|
3,90
|
147
|
150
|
154
|
|
7425
|
3
|
2,49
|
83
|
85
|
87
|
|
33
|
Липецк
|
А
|
4301
|
2
|
2,81
|
97
|
99
|
102
|
|
4301
|
3
|
1,86
|
54
|
56
|
57
|
|
34
|
Магадан
|
Б
|
7229
|
2
|
3,83
|
156
|
160
|
163
|
|
7229
|
3
|
2,45
|
89
|
91
|
93
|
|
35
|
Махачкала
|
А
|
2264
|
2
|
2,09
|
65
|
66
|
68
|
|
2264
|
3
|
1,45
|
36
|
37
|
38
|
|
36
|
Москва
|
Б
|
4601
|
2
|
2,91
|
112
|
114
|
117
|
|
4601
|
3
|
1,92
|
64
|
65
|
67
|
|
37
|
Мурманск
|
Б
|
5830
|
2
|
3,34
|
133
|
135
|
138
|
|
5830
|
3
|
2,17
|
76
|
77
|
79
|
|
38
|
Нальчик
|
А
|
2923
|
2
|
2,32
|
75
|
77
|
79
|
|
2923
|
3
|
1,58
|
42
|
43
|
44
|
|
39
|
Нижний Новгород
|
Б
|
см. Владимир
|
|
40
|
Новгород
|
Б
|
4486
|
2
|
2,87
|
110
|
112
|
115
|
|
4486
|
3
|
1,90
|
63
|
64
|
65
|
|
41
|
Новосибирск
|
А
|
см. Кемерово
|
|
42
|
Омск
|
А
|
5834
|
2
|
3,34
|
122
|
124
|
127
|
|
5834
|
3
|
2,17
|
68
|
70
|
71
|
|
43
|
Оренбург
|
А
|
4909
|
2
|
3,02
|
107
|
109
|
112
|
|
4909
|
3
|
1,98
|
60
|
61
|
63
|
|
44
|
Орел
|
Б
|
4244
|
2
|
2,79
|
106
|
108
|
110
|
|
4244
|
3
|
1,85
|
60
|
62
|
63
|
|
45
|
Пенза
|
А
|
4658
|
2
|
2,93
|
103
|
105
|
108
|
|
4658
|
3
|
1,93
|
58
|
59
|
60
|
|
46
|
Пермь
|
Б
|
см. Вятка
|
|
47
|
Петропавловск-Камчатский
|
Б
|
см. Ижевск
|
|
48
|
Петрозаводск
|
Б
|
см. Вологда
|
|
49
|
Псков
|
Б
|
см. Курск
|
|
50
|
Ростов-на-Дону
|
А
|
3181
|
2
|
2,41
|
79
|
81
|
83
|
|
3181
|
3
|
1,64
|
44
|
45
|
46
|
|
51
|
Рязань
|
Б
|
4472
|
2
|
2,87
|
110
|
112
|
114
|
|
4472
|
3
|
1,89
|
62
|
64
|
65
|
|
52
|
Самара
|
Б
|
см. Кострома
|
|
53
|
Санкт-Петербург
|
Б
|
см. Орел
|
|
54
|
Саранск
|
А
|
см. Пенза
|
|
55
|
Саратов
|
А
|
4371
|
2
|
2,83
|
98
|
101
|
103
|
|
4371
|
3
|
1,87
|
55
|
56
|
58
|
|
56
|
Салехард
|
Б
|
8585
|
2
|
4,30
|
179
|
183
|
187
|
|
8585
|
3
|
2,72
|
102
|
105
|
107
|
|
57
|
Смоленск
|
Б
|
4386
|
2
|
2,84
|
108
|
110
|
113
|
|
4386
|
3
|
1,88
|
62
|
63
|
64
|
|
58
|
Ставрополь
|
А
|
2873
|
2
|
2,31
|
75
|
76
|
78
|
|
2873
|
3
|
1,57
|
42
|
42
|
43
|
|
59
|
Сыктывкар
|
Б
|
5831
|
2
|
3,34
|
133
|
135
|
138
|
|
5831
|
3
|
2,17
|
76
|
77
|
79
|
|
60
|
Тамбов
|
А
|
4362
|
2
|
2,83
|
98
|
100
|
103
|
|
4362
|
3
|
1,87
|
55
|
56
|
58
|
|
61
|
Тверь
|
Б
|
4578
|
2
|
2,90
|
111
|
114
|
116
|
|
4578
|
3
|
1,92
|
64
|
65
|
66
|
|
62
|
Томск
|
Б
|
см. Благовещенск
|
|
63
|
Тула
|
Б
|
см. Новгород
|
|
64
|
Тюмень
|
А
|
см. Екатеринбург
|
|
65
|
Ульяновск
|
А
|
4961
|
2
|
3,04
|
108
|
110
|
113
|
|
4961
|
3
|
1,99
|
60
|
62
|
63
|
|
66
|
Улан-Уде
|
А
|
6731
|
2
|
3,66
|
136
|
139
|
142
|
|
6731
|
3
|
2,35
|
76
|
78
|
80
|
|
67
|
Уфа
|
А
|
5091
|
2
|
3,08
|
110
|
112
|
115
|
|
5091
|
3
|
2,02
|
62
|
63
|
64
|
|
68
|
Хабаровск
|
Б
|
5760
|
2
|
3,32
|
131
|
134
|
137
|
|
5760
|
3
|
2,15
|
75
|
77
|
78
|
|
69
|
Чебоксары
|
Б
|
4969
|
2
|
3,04
|
118
|
120
|
123
|
|
4969
|
3
|
1,99
|
67
|
69
|
70
|
|
70
|
Челябинск
|
Б
|
5341
|
2
|
3,17
|
124
|
127
|
130
|
|
5341
|
3
|
2,07
|
71
|
72
|
74
|
|
71
|
Чита
|
А
|
7115
|
2
|
3,79
|
142
|
145
|
148
|
|
7115
|
3
|
2,42
|
80
|
82
|
84
|
|
72
|
Элиста
|
А
|
3322
|
2
|
2,46
|
82
|
84
|
86
|
|
3322
|
3
|
1,66
|
46
|
47
|
48
|
|
73
|
Южно-Сахалинск
|
Б
|
см. Вологда
|
|
74
|
Якутск
|
А
|
9882
|
2
|
4,76
|
186
|
190
|
194
|
|
9882
|
3
|
2,98
|
105
|
107
|
110
|
|
75
|
Ярославль
|
Б
|
см. Смоленск
|
Примечание. В расчете принят
коэффициент теплотехнической однородности - 0,75.
Таблица 5.15.2. Расчетная толщина
тепловой изоляции из плит марки «ТЕРМОСЭНДВИЧ К», «ТЕРМОКРОВЛЯ» и «ТЕРМОКРОВЛЯ
В» в кровельных «сэндвич-панелях».
|
№ п/п
|
Город РФ
|
Условия эксплуатации
|
Dd, ºС·сут
|
Тип помещения
|
R0тр,
(м2·ºС)/Вт
|
Толщина изоляции, мм, из плит марки
|
|
ТЕРМОСЭНДВИЧ К, ТЕРМОКРОВЛЯ
|
ТЕРМОКРОВЛЯ В
|
|
1
|
2
|
3
|
4
|
5
|
6
|
7
|
8
|
|
1
|
Архангельск
|
Б
|
5667
|
2
|
3,87
|
240
|
245
|
|
5667
|
3
|
2,92
|
179
|
183
|
|
2
|
Астрахань
|
А
|
3206
|
2
|
2,88
|
166
|
170
|
|
3206
|
3
|
2,30
|
131
|
134
|
|
3
|
Анадырь
|
Б
|
8864
|
2
|
5,15
|
322
|
328
|
|
8864
|
3
|
3,72
|
230
|
235
|
|
4
|
Барнаул
|
А
|
5680
|
2
|
3,87
|
225
|
230
|
|
5680
|
3
|
2,92
|
168
|
172
|
|
5
|
Белгород
|
А
|
3801
|
2
|
3,12
|
180
|
184
|
|
3801
|
3
|
2,45
|
140
|
143
|
|
6
|
Благовещенск
|
Б
|
6235
|
2
|
4,09
|
254
|
260
|
|
6235
|
3
|
3,06
|
188
|
192
|
|
7
|
Брянск
|
Б
|
4162
|
2
|
3,26
|
201
|
206
|
|
4162
|
3
|
2,54
|
155
|
158
|
|
8
|
Братск
|
А
|
6623
|
2
|
4,25
|
248
|
253
|
|
6623
|
3
|
3,16
|
182
|
186
|
|
9
|
Волгоград
|
А
|
3596
|
2
|
3,04
|
175
|
179
|
|
3596
|
3
|
2,40
|
137
|
140
|
|
10
|
Вологда
|
Б
|
5105
|
2
|
3,64
|
225
|
230
|
|
5105
|
3
|
2,78
|
170
|
174
|
|
11
|
Воронеж
|
А
|
4136
|
2
|
3,25
|
188
|
192
|
|
4136
|
3
|
2,53
|
145
|
148
|
|
12
|
Владимир
|
Б
|
4580
|
2
|
3,43
|
212
|
216
|
|
4154
|
3
|
2,54
|
155
|
158
|
|
13
|
Владивосток
|
Б
|
4292
|
2
|
3,32
|
205
|
209
|
|
4292
|
3
|
2,57
|
157
|
160
|
|
14
|
Владикавказ
|
А
|
3062
|
2
|
2,82
|
162
|
166
|
|
3062
|
3
|
2,27
|
129
|
132
|
|
15
|
Грозный
|
А
|
2736
|
2
|
2,69
|
155
|
158
|
|
2736
|
3
|
2,18
|
124
|
127
|
|
16
|
Екатеринбург
|
А
|
5520
|
2
|
3,81
|
221
|
226
|
|
5520
|
3
|
2,88
|
166
|
169
|
|
17
|
Иваново
|
Б
|
см. Владимир
|
|
18
|
Игарка
|
Б
|
9666
|
2
|
5,47
|
342
|
349
|
|
9666
|
3
|
3,92
|
243
|
248
|
|
19
|
Иркутск
|
А
|
6360
|
2
|
4,14
|
242
|
247
|
|
6360
|
3
|
3,09
|
178
|
182
|
|
20
|
Ижевск
|
Б
|
5239
|
2
|
3,70
|
229
|
234
|
|
5239
|
3
|
2,81
|
172
|
176
|
|
21
|
Йошкар-Ола
|
Б
|
5082
|
2
|
3,63
|
225
|
230
|
|
5082
|
3
|
2,77
|
170
|
173
|
|
22
|
Казань
|
Б
|
см. Вологда
|
|
23
|
Калининград
|
Б
|
3262
|
2
|
2,90
|
178
|
182
|
|
3262
|
3
|
2,32
|
141
|
144
|
|
24
|
Калуга
|
Б
|
см. Владивосток
|
|
25
|
Кемерово
|
А
|
6075
|
2
|
4,03
|
235
|
240
|
|
6075
|
3
|
3,02
|
174
|
178
|
|
26
|
Вятка
|
Б
|
4967
|
2
|
3,59
|
222
|
227
|
|
4967
|
3
|
2,74
|
168
|
171
|
|
27
|
Кострома
|
Б
|
4862
|
2
|
3,54
|
217
|
221
|
|
4862
|
3
|
2,72
|
164
|
167
|
|
28
|
Краснодар
|
А
|
2384
|
2
|
2,55
|
146
|
149
|
|
2384
|
3
|
2,10
|
119
|
121
|
|
29
|
Красноярск
|
А
|
5873
|
2
|
3,95
|
230
|
235
|
|
5873
|
3
|
2,97
|
171
|
175
|
|
30
|
Курган
|
А
|
см. Барнаул
|
|
31
|
Курск
|
Б
|
4039
|
2
|
3,22
|
198
|
202
|
|
4039
|
3
|
2,51
|
153
|
156
|
|
32
|
Кызыл
|
А
|
7425
|
2
|
4,57
|
267
|
273
|
|
7425
|
3
|
3,36
|
194
|
199
|
|
33
|
Липецк
|
А
|
4301
|
2
|
3,32
|
192
|
196
|
|
4301
|
3
|
2,58
|
147
|
151
|
|
34
|
Магадан
|
Б
|
7229
|
2
|
4,49
|
280
|
286
|
|
7229
|
3
|
3,31
|
204
|
208
|
|
35
|
Махачкала
|
А
|
2264
|
2
|
2,51
|
143
|
146
|
|
2264
|
3
|
2,07
|
117
|
119
|
|
36
|
Москва
|
Б
|
4601
|
2
|
3,44
|
213
|
217
|
|
4601
|
3
|
2,65
|
162
|
165
|
|
37
|
Мурманск
|
Б
|
5830
|
2
|
3,93
|
244
|
249
|
|
5830
|
3
|
2,96
|
182
|
185
|
|
38
|
Нальчик
|
А
|
2923
|
2
|
2,77
|
159
|
163
|
|
2923
|
3
|
2,23
|
127
|
130
|
|
39
|
Нижний Новгород
|
Б
|
см. Владимир
|
|
40
|
Новгород
|
Б
|
4486
|
2
|
3,39
|
210
|
214
|
|
4486
|
3
|
2,62
|
160
|
164
|
|
41
|
Новосибирск
|
А
|
см. Кемерово
|
|
42
|
Омск
|
А
|
5834
|
2
|
3,93
|
229
|
234
|
|
5834
|
3
|
2,96
|
170
|
174
|
|
43
|
Оренбург
|
А
|
4909
|
2
|
3,56
|
207
|
211
|
|
4909
|
3
|
2,73
|
156
|
160
|
|
44
|
Орел
|
Б
|
4244
|
2
|
3,30
|
203
|
208
|
|
4244
|
3
|
2,56
|
156
|
160
|
|
45
|
Пенза
|
А
|
4658
|
2
|
3,46
|
201
|
205
|
|
4658
|
3
|
2,66
|
153
|
156
|
|
46
|
Пермь
|
Б
|
см. Вятка
|
|
47
|
Петропавловск-Камчатский
|
Б
|
см. Ижевск
|
|
48
|
Петрозаводск
|
Б
|
см. Вологда
|
|
49
|
Псков
|
Б
|
см. Курск
|
|
50
|
Ростов-на-Дону
|
А
|
3181
|
2
|
2,87
|
165
|
169
|
|
3181
|
3
|
2,30
|
131
|
133
|
|
51
|
Рязань
|
Б
|
4472
|
2
|
3,39
|
209
|
214
|
|
4472
|
3
|
2,62
|
160
|
163
|
|
52
|
Самара
|
Б
|
см. Кострома
|
|
53
|
Санкт-Петербург
|
Б
|
см. Орел
|
|
54
|
Саранск
|
А
|
см. Пенза
|
|
55
|
Саратов
|
А
|
4371
|
2
|
3,35
|
194
|
198
|
|
4371
|
3
|
2,59
|
148
|
152
|
|
56
|
Салехард
|
Б
|
8585
|
2
|
5,03
|
315
|
321
|
|
8585
|
3
|
3,65
|
226
|
230
|
|
57
|
Смоленск
|
Б
|
4386
|
2
|
3,35
|
207
|
211
|
|
4386
|
3
|
2,60
|
159
|
162
|
|
58
|
Ставрополь
|
А
|
2873
|
2
|
2,75
|
158
|
161
|
|
2873
|
3
|
2,22
|
126
|
129
|
|
59
|
Сыктывкар
|
Б
|
5831
|
2
|
3,93
|
244
|
249
|
|
5831
|
3
|
2,96
|
182
|
185
|
|
60
|
Тамбов
|
А
|
4362
|
2
|
3,34
|
194
|
198
|
|
4362
|
3
|
2,59
|
148
|
152
|
|
61
|
Тверь
|
Б
|
4578
|
2
|
3,43
|
212
|
216
|
|
4578
|
3
|
2,64
|
162
|
165
|
|
62
|
Томск
|
Б
|
см. Благовещенск
|
|
63
|
Тула
|
Б
|
см. Новгород
|
|
64
|
Тюмень
|
А
|
см. Екатеринбург
|
|
65
|
Ульяновск
|
А
|
4961
|
2
|
3,58
|
208
|
213
|
|
4961
|
3
|
2,74
|
157
|
161
|
|
66
|
Улан-Уде
|
А
|
6731
|
2
|
4,29
|
250
|
256
|
|
6731
|
3
|
3,18
|
184
|
188
|
|
67
|
Уфа
|
А
|
5091
|
2
|
3,64
|
211
|
216
|
|
5091
|
3
|
2,77
|
159
|
163
|
|
68
|
Хабаровск
|
Б
|
5760
|
2
|
3,90
|
242
|
247
|
|
5760
|
3
|
2,94
|
181
|
184
|
|
69
|
Чебоксары
|
Б
|
4969
|
2
|
3,59
|
222
|
227
|
|
4969
|
3
|
2,74
|
168
|
171
|
|
70
|
Челябинск
|
Б
|
5341
|
2
|
3,74
|
232
|
236
|
|
5341
|
3
|
2,84
|
174
|
177
|
|
71
|
Чита
|
А
|
7115
|
2
|
4,45
|
260
|
265
|
|
7115
|
3
|
3,28
|
190
|
194
|
|
72
|
Элиста
|
А
|
3322
|
2
|
2,93
|
169
|
172
|
|
3322
|
3
|
2,33
|
133
|
136
|
|
73
|
Южно-Сахалинск
|
Б
|
см. Вологда
|
|
74
|
Якутск
|
А
|
9882
|
2
|
5,55
|
326
|
333
|
|
9882
|
3
|
3,97
|
231
|
236
|
|
75
|
Ярославль
|
Б
|
см. Смоленск
|
Примечание. В расчете принят
коэффициент теплотехнической однородности - 0,75.
Рис. 5.15.1. Кровельная панель типа «сэндвич» с
теплоизоляционным слоем из плит марки «ТЕРМОСЭНДВИЧ К», «ТЕРМОКРОВЛЯ»,
«ТЕРМОКРОВЛЯ В» с металлической облицовкой

1. Плиты марки
«ТЕРМОСЭНДВИЧ К», «ТЕРМОКРОВЛЯ», «ТЕРМОКРОВЛЯ В» (толщина теплоизоляционного
слоя по табл. 5.15.2.).
2. Внутренняя
облицовка панели.
3. Наружная
облицовка панели.
Рис. 5.15.2. Узлы крепления кровельных
«сэндвич-панелей» с теплоизоляционным слоем из плит «ТЕРМО».

1. Прогон.
2. Кровельная
«сэндвич-панель» с теплоизоляционным слоем из плит марки «ТЕРМО» (рис. 5.15.1.).
3. Самосверлящий
шуруп.
4. Защитный
фартук.
5. Вкладыш из
плит «ТЕРМОЛАЙТ» в полиэтиленовой пленке.
6. Гребенка.
7. Заклепка.
L - определяется допустимой нагрузкой.
Рис. 5.15.3. Стеновая панель типа «сэндвич» с
теплоизоляционным слоем из плит марки «ТЕРМО» с металлической облицовкой.

1. Плиты марки
«ТЕРМОМОНОЛИТ», «ТЕРМОСЭНДВИЧ С», «ТЕРМОКРОВЛЯ», «ТЕРМОКРОВЛЯ Н» (толщина
теплоизоляционного слоя по табл. 5.15.1).
2. Внутренняя
облицовка панели.
3. Наружная
облицовка панели.
Рис. 5.15.4. Крепление стеновых «сэндвич-панелей» с
теплоизоляционным слоем из плит марки «ТЕРМО» к прогону при их горизонтальной
расположении.

1. Прогон.
2. Стеновая
панель с теплоизоляционным слоем из плит «ТЕРМО».
3. Крепежные
винты.
Рис. 5.15.5. Узел соединения
стеновых «сэндвич-панелей».

1. Прогон.
2. Стеновая
«сэндвич-панель» с теплоизоляционным слоем из плит марки «ТЕРМО» (рис. 5.15.3).
3. Крепежный
винт.
4. Нащельник.
5. Уплотнитель из
плит марки «ТЕРМО» или матов минераловатных в полиэтиленовой пленке.
6. Винт
самонарезающий.
6.1. Конструкции крепления и материалы
защитно-декоративного покрытия (облицовки) в системах наружного утепления
зданий с вентилируемым зазором отличаются большим разнообразием.
Для облицовки фасадов
многоэтажных зданий применяются фиброцементные плиты «Minerit», «Cynop»,
«Cem Stone» (Финляндия), «Eternit»
(Бельгия), плиты, выпускаемые красноярским заводом «Краспан», плиты (или
плитки) керамогранитные и керамические (Италия), плиты гранитные, мраморные,
плитка «Марморок», и другие.
Профилированные металлические
покрытия «Ранила», «сайдинг» могут применяться для облицовки фасадов
административных и производственных зданий.
В малоэтажном и коттеджном
строительстве наиболее эффективны покрытия типа «сайдинг» (металлический и
полимерный), а также традиционная для России деревянная «вагонка».
6.2. В качестве ветрозащиты в
конструкциях с вентилируемым зазором могут быть использованы материалы,
обладающие гидроизоляционными и ветрозащитными свойствами при достаточно
высокой паропроницаемости.
К таким материалам относятся:
диффузионные пленки фирмы «JUTA» (Чешская республика), «JUTAVEK», «JUTAFOL-D»;
ветро- и гидроизоляционные материалы «Tyvek», выпускаемые фирмой «Du Pont Engineering Products S.A» (Люксембург), технические характеристики которых
приведены в таблицах 6.1. и 6.2.
Современные подкровельные материалы
выпускает датская фирма «Monarflex». В конструкциях кровли из листовых металлических
материалов и конструкциях утепления стен с вентилируемым зазором может
использоваться дышащая полипропиленовая мембрана с высокой паропроницаемостью «Monarflex BM 310» толщиной 0,31 мм. Также может применяться влагонепроницаемая
полиэтиленовая мембрана «Монарфол 125 перфорированный» толщиной 0,125 мм с
паропроницаемостью 20 г/м2 за 24 часа.
В качестве ветрозащиты могут быть
использованы гидрофобизированные стеклохолсты и стеклоткани.
6.3. В качестве
пароизоляционных материалов в ограждающих конструкциях с применением
теплоизоляционных плит марки «ТЕРМО» могут быть использованы паронепроницаемые
пленки «JUTAFOL-H» и «JUTAFOL-NAL», «Monarflex», а также отечественные пароизоляционные материалы с
характеристиками по СНиП 23-02-2003 «Тепловая защита зданий».
Таблица 6.1. Технические характеристики диффузионных и пароизоляционных
пленок фирмы «JUTA».
|
Наименование пленок
|
Паропроницаемость за 24 часа, г/м2, по DIN 53122
|
Эквивалентное диффузионное сопротивление
|
Эквивалентная диффузионная толщина, Сд, м
|
Поверхностная плотность г/м2
|
|
Подкровельные:
|
|
диффузионные микроперфорированные
|
|
Ютафол Д 110 Стандарт
|
22,65
|
7215μ
|
2,09
|
110
|
|
Ютафол Д 110 Специал
|
22,65
|
7215μ
|
2,09
|
110
|
|
Ютафол Д 140 Стандарт
|
30,52
|
4143μ
|
1,20
|
140
|
|
Ютафол Д 140 Специал
|
30,52
|
4143μ
|
1,20
|
140
|
|
Ютафол Д 220 Стандарт
|
20,0
|
5800μ
|
1,40
|
220
|
|
Ютафол Д 220 Специал
|
20,0
|
5800μ
|
1,40
|
220
|
|
супердиффузионная мембрана
|
|
Ютавек
|
1200
|
21μ
|
0,013
|
114
|
|
абсорбционная (антиконденсационная)
|
|
Ютакоп Н 140 ВС УВ
|
0,352
|
321514μ
|
7702
|
140
|
|
Паронепроницаемые (паробарьеры)
|
|
Ютафол Н 110 Стандарт
|
0,90
|
210152μ
|
46
|
110
|
|
Ючафол Н 110 Специал
|
0,90
|
210152μ
|
46
|
110
|
|
Ютафол Н 140 Стандарт
|
1,10
|
148275μ
|
43
|
140
|
|
Ютафол Н 140Специал
|
1,10
|
148275μ
|
43
|
140
|
|
Ютафол Н 220 Стандарт
|
0,52
|
185714μ
|
78
|
220
|
|
Ютафол Н 220 Специал
|
0,52
|
185714μ
|
78
|
220
|
|
пленка с отражательным покрытием
|
|
Ютафол НАЛ 170 Специал
|
0,20
|
938600μ
|
188
|
170
|
6.4. Выбор системы крепления
конструкций наружного утепления стен зданий определяются массой и
конструктивными особенностями покрытий, деформативными и прочностными
свойствами утеплителя, конструктивными и прочностными характеристиками
крепежных элементов, при этом наружные стены зданий, должны обладать
достаточной прочностью для закрепления дюбелей и анкеров конструкции утепления.
Таблица 6.2. Технические характеристики рулонного пленочного материала
типа «Тайвек» фирмы «Du Pont
Engineering Products S.A.»
(Люксембург)
|
Техническая характеристика
|
Единица измерения
|
«Tyvеk»
(«Тайвек»), марки
|
|
«Soft»
|
«Pro»
|
|
Масса, не менее
|
г/м2
|
60
|
130
|
|
Толщина, не менее
|
мм
|
0,2
|
0,5
|
|
Паропроницаемость за 24 часа
|
г/м2
|
830
|
940
|
|
Водонепроницаемость в течение 10 мин, не менее
|
кг/см2
|
5
|
5
|
|
Разрывная нагрузка при растяжении, не менее
|
кг/см2
|
11
|
23
|
|
Относительное удлинение
|
%
|
30
|
21
|
|
Прочность на отрыв при закреплении гвоздем с диаметром
шляпки 9 мм
|
кг
|
9,4
|
16,9
|
|
Теплостойкость, не менее
|
°С
|
95
|
95
|
|