Информационная система
«Ёшкин Кот»

XXXecatmenu

ОТРАСЛЕВОЙ СТАНДАРТ

Блок подвески с СЕРЬГОЙ

Конструкция и размеры

ОСТ
34-10-730-93

Дата введения

1994.01.01.

1. Настоящий стандарт распространяется на блоки подвесок с серьгой для трубопроводов ТЭС, АЭС с Дн 57 ÷ 630 мм и горизонтальных коробов пылегазовоздухопроводов ТЭС с Ау 325 ÷ 3220 мм.

2. Варианты приварки подвесок к коробам пылегазовоздухопроводов и выполнение монтажных приварок тяг подвесок приведены в приложении 2, рис. 1 и 5.

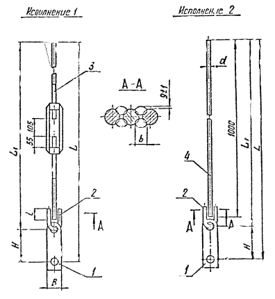
2. Конструкция, основные размеры, допускаемые нагрузки должны соответствовать указанным на черт. 1 и в табл. 1 и 2.

Черт. 1

Таблица 1

Размеры в мм

Обозначение блока подвески с серьгой

Допускаемая нагрузка на блок кН (кгс)

d

H

B

L1

L

l

b

g

Масса, кг

Исп. 1

Исп. 2

Исп. 1

Исп. 2

Исп. 1

Исп. 2

Исп. 1

Исп. 2

01

02

4,4 (450)

12

150

36

725

1025

875

1175

35

10

1

2

1

03

04

14,7 (1500)

16

56

735

1030

885

1180

45

12

4

3

05

06

23,5 (2400)

20

180

63

750

1040

930

1220

50

14

6

5

07

08

33,3 (3400)

24

70

755

1045

935

1225

60

16

9

7

Пример условного обозначения блока подвески с серьгой и тягами резьбовыми диаметром М 20 мм:

Блок подвески с серьгой 05 ОСТ 34-10-730

то же с гладкой тягой диаметром d 20 мм:

Блок подвески с серьгой 06 ОСТ 34-10-730

3.1. Сварка ручная электродуговая. Электрод типа 342А ГОСТ 9467.

3.2. Неуказанные предельные отклонения размеров .

3.3. Остальные технические требования по ТУ 34- 10-10380 и по ОСТ 34-10-723.

Таблица 2

Обозначение блока подвески с серьгой

Поз. 1

Серьга

1 шт.

Поз. 2

Ушко

1 шт.

Поз. 3

Тяги резьбовые с муфтой

1 шт.

Поз. 4

Тяга гладкая

1 шт.

Обозначение по

Исп. 1

Исп. 2

1 ОСТ 34-10-730

1 ОСТ 34-10-729

ОСТ 34-10-739

2 ОСТ 34-10-729

01

 

1-01

1-01

01

2-05

 

02

03

 

1-02

1-02

02

2-35

 

04

05

 

1-03

1-03

03

2-65

 

06

07

 

1-04

1-04

04

2-95

 

08

4. Конструкция и размеры серьги должны соответствовать указанным на черт. 2 и в табл. 3.

* Размеры для справок

Черт. 2

Таблица 3

Размеры в мм

Обозначение серьги

Допускаемая нагрузка, кН (кгс)

Для тяг диаметром

d

R

S

B

L

H

C

Масса, кг

01

4,4 (450)

12

14

18

8

36

185

150

2

0,39

02

14,7 (1500)

16

23

28

12

56

200

4

0,92

03

23,5 (2400)

20

27

32

16

63

250

180

1,74

04

33,3 (3400)

24

35

20

70

6

2,47

Пример условного обозначения серьги для тяги диаметром 16 мм;

Серьга 02 ОСТ 34-10-730

4.1. Материал:

Полоса

4.2. Предельные отклонения размеров: валов h14, отверстий Н14.

 

ИНФОРМАЦИОННЫЕ ДАННЫЕ

УТВЕРЖДЕН ПРИКАЗОМ Министерства топлива и энергетики Российской Федерации № 158 от 12 июля 1993 г.

ИСПОЛНИТЕЛИ

В.И. Есарев, В.В. Горбачев, О.В. Стрельников (руководитель темы), Н.В. Паутов, И.П. Горяинова

ВЗАМЕН ОСТ 34-42-730-85

 

ССЫЛОЧНЫЕ НОРМАТИВНО-ТЕХНИЧЕСКИЕ ДОКУМЕНТЫ

Обозначение НТД, на которые дана ссылка

Номер пункта, подпункта, перечисления, приложения

ГОСТ 103-76

4.1.

ГОСТ 1050-88

4.1.

ГОСТ 9467-75

3.1.

ГОСТ 19903-74

4.1.

ГОСТ 14637-89

4.1.

ТУ 34-42-10380-83

3.3.

ОСТ 34-10-723-93

3.3.

ОСТ 34-10-729-93

Таблица 2

ОСТ 34-10-739-93

Таблица 2

 

 



© 2013 Ёшкин Кот :-)