Информационная система
«Ёшкин Кот»

XXXecatmenu

ФЕДЕРАЛЬНОЕ АГЕНТСТВО
ПО ТЕХНИЧЕСКОМУ РЕГУЛИРОВАНИЮ И МЕТРОЛОГИИ

НАЦИОНАЛЬНЫЙ
СТАНДАРТ
РОССИЙСКОЙ
ФЕДЕРАЦИИ

ГОСТ Р
51318.16.1.3-
2007
(СИСПР 16-1-3:2004)

Совместимость технических средств
электромагнитная

ТРЕБОВАНИЯ К АППАРАТУРЕ ДЛЯ ИЗМЕРЕНИЯ
ПАРАМЕТРОВ ИНДУСТРИАЛЬНЫХ РАДИОПОМЕХ
И ПОМЕХОУСТОЙЧИВОСТИ И МЕТОДЫ ИЗМЕРЕНИЙ

Часть 1-3

АППАРАТУРА ДЛЯ ИЗМЕРЕНИЯ ПАРАМЕТРОВ
ИНДУСТРИАЛЬНЫХ РАДИОПОМЕХ И
ПОМЕХОУСТОЙЧИВОСТИ. УСТРОЙСТВА ДЛЯ
ИЗМЕРЕНИЯ МОЩНОСТИ РАДИОПОМЕХ

CISPR 16-1-3:2004
Specification for radio disturbance and immunity measuring apparatus and
methods - Part 1-3: Radio disturbance and immunity measuring
apparatus - Ancillary equipment - Disturbance power
(MOD)

Москва
Стандартинформ
2008

Предисловие

Цели и принципы стандартизации в Российской Федерации установлены Федеральным законом от 27 декабря 2002 г. № 184-ФЗ «О техническом регулировании», а правила применения национальных стандартов Российской Федерации - ГОСТ Р 1.0-2004 «Стандартизация в Российской Федерации. Основные положения»

Сведения о стандарте

1. РАЗРАБОТАН ФГУП «Ленинградский отраслевой научно-исследовательский институт радио» (ЛОНИИР) и Техническим комитетом по стандартизации ТК 30 «Электромагнитная совместимость технических средств» на основе собственного аутентичного перевода стандарта, указанного в пункте 4

2. ВНЕСЕН Техническим комитетом по стандартизации ТК 30 «Электромагнитная совместимость технических средств»

3. УТВЕРЖДЕН И ВВЕДЕН В ДЕЙСТВИЕ Приказом Федерального агентства по техническому регулированию и метрологии от 27 декабря 2007 г. № 544-ст

4. Настоящий стандарт является модифицированным по отношению к международному стандарту СИСПР 16-1-3:2004 «Требования к аппаратуре для измерения радиопомех и помехоустойчивости и методы измерений - Часть 1-3: Аппаратура для измерения радиопомех и помехоустойчивости - Вспомогательное оборудование - Мощность радиопомех» (CISPR 16-1-3:2004 «Specification for radio disturbance and immunity measuring apparatus and methods - Part 1-3: Radio disturbance and immunity measuring apparatus - Ancillary equipment - Disturbance power»). При этом дополнительные положения и требования, включенные в текст стандарта для учета потребностей национальной экономики Российской Федерации и особенностей российской национальной стандартизации, выделены в тексте стандарта курсивом.

Наименование настоящего стандарта изменено относительно наименования указанного международного стандарта для приведения в соответствие с ГОСТ Р 1.5-2004 (подраздел 3.5).

При применении настоящего стандарта рекомендуется использовать вместо ссылочных международных стандартов соответствующие им национальные стандарты Российской Федерации, сведения о которых приведены в дополнительном приложении Г

5. ВВЕДЕН ВПЕРВЫЕ

Информация об изменениях к настоящему стандарту публикуется в ежегодно издаваемом информационном указателе «Национальные стандарты», а текст изменений и поправок - в ежемесячно издаваемых информационных указателях «Национальные стандарты». В случае пересмотра (замены) или отмены настоящего стандарта соответствующее уведомление будет опубликовано в ежемесячно издаваемом информационном указателе «Национальные стандарты». Соответствующая информация, уведомления и тексты размещаются также в информационной системе общего пользования - на официальном сайте Федерального агентства по техническому регулированию и метрологии в сети Интернет

СОДЕРЖАНИЕ

1. Область применения. 3

2. Нормативные ссылки. 3

3. Термины, определения и сокращения. 3

3.1. Термины и определения. 3

3.2. Обозначения и сокращения. 3

4. Оборудование для применения поглощающих клещей. 3

4.1. Введение. 3

4.2. Комплект поглощающих клещей. 3

4.3. Методы калибровки поглощающих клещей и их взаимосвязь. 3

4.4. Вторичное поглощающее устройство. 3

4.5. Измерительная площадка для применения поглощающих клещей. 3

4.6. Процедуры обеспечения качества оборудования для применения поглощающих клещей. 3

Приложение А (справочное) Конструкция поглощающих клещей. 3

Приложение Б (обязательное) Методы калибровки и валидации поглощающих клещей и ВПУ.. 3

Приложение B (обязательное) Валидация измерительной площадки для применения поглощающих клещей. 3

Приложение Г (справочное) Сведения о соответствии национальных стандартов Российской Федерации ссылочным международным стандартам, использованным в настоящем стандарте в качестве нормативных ссылок. 3

Библиография. 3

Предисловие к СИСПР 16-1-3:2004

Международный стандарт СИСПР 16-1-3:2004 разработан Международным специальном комитетом по радиопомехам (СИСПР) Международной электротехнической комиссии (МЭК) подкомитетом А «Измерения радиопомех и статистические методы».

Настоящее второе издание отменяет и заменяет собой первое издание, опубликованное в 2003 г., и представляет собой его технический пересмотр. В настоящем издании более подробно определен метод калибровки поглощающих клещей. Введены новые альтернативные методы калибровки, которые более практичны, чем установленный ранее. Введены дополнительные параметры поглощающих клещей, такие как коэффициент развязки для широкополосного поглотителя (DF), коэффициент развязки для трансформатора тока (DR) и методы их валидации. В настоящем стандарте также приведена процедура валидации измерительной площадки для применения поглощающих клещей.

ГОСТ Р 51318.16.1.3-2007
(СИСПР 16-1-3:2004)

НАЦИОНАЛЬНЫЙ СТАНДАРТ РОССИЙСКОЙ ФЕДЕРАЦИИ

Совместимость технических средств электромагнитная

ТРЕБОВАНИЯ К АППАРАТУРЕ ДЛЯ ИЗМЕРЕНИЯ ПАРАМЕТРОВ ИНДУСТРИАЛЬНЫХ
РАДИОПОМЕХ И ПОМЕХОУСТОЙЧИВОСТИ И МЕТОДЫ ИЗМЕРЕНИЙ

Часть 1-3

АППАРАТУРА ДЛЯ ИЗМЕРЕНИЯ ПАРАМЕТРОВ ИНДУСТРИАЛЬНЫХ РАДИОПОМЕХ
И ПОМЕХОУСТОЙЧИВОСТИ. УСТРОЙСТВА ДЛЯ ИЗМЕРЕНИЯ МОЩНОСТИ РАДИОПОМЕХ

Electromagnetic compatibility of technical equipment.
Specification for radio disturbance and immunity measuring apparatus and methods.
Part 1-3. Radio disturbance and immunity measuring apparatus. Disturbance power measuring apparatus

Дата введения - 2008-07-01

1. Область применения

Настоящий стандарт устанавливает технические характеристики и методы калибровки поглощающих клещей, используемых для измерения мощности индустриальных радиопомех (ИРП) в полосе частот от 30 МГц до 1 ГГц.

2. Нормативные ссылки

В настоящем стандарте использованы нормативные ссылки на следующие стандарты:

ГОСТ Р 8.568-97 Государственная система обеспечения единства измерений. Аттестация испытательного оборудования. Основные положения

ГОСТ Р 51317.4.3-2006 (МЭК 61000-4-3:2006) Совместимость технических средств электромагнитная. Устойчивость к радиочастотному электромагнитному полю. Требования и методы испытаний

ГОСТ Р 51318.16.1.2-2007 (СИСПР 16-1-2:2006) Совместимость технических средств электромагнитная. Требования к аппаратуре для измерения параметров индустриальных радиопомех и помехоустойчивости и методы измерений. Часть 1-2. Аппаратура для измерения параметров индустриальных радиопомех и помехоустойчивости. Устройства для измерения кондуктивных радиопомех и испытаний на устойчивость к кондуктивным радиопомехам

ГОСТ Р 51318.16.4.2-2006 (СИСПР 16-4-2:2003) Совместимость технических средств электромагнитная. Неопределенность измерений в области электромагнитной совместимости

ГОСТ Р 51319-99 Совместимость технических средств электромагнитная. Приборы для измерения индустриальных радиопомех. Технические требования и методы испытаний

ГОСТ Р 51320-99 Совместимость технических средств электромагнитная. Радиопомехи индустриальные. Методы испытаний технических средств - источников индустриальных радиопомех

ГОСТ 14777-76 Радиопомехи индустриальные. Термины и определения

ГОСТ 30372-95 / ГОСТ Р 50397-92 Совместимость технических средств электромагнитная. Термины и определения

Примечание - При пользовании настоящим стандартом целесообразно проверить действие ссылочных стандартов в информационной системе общего пользования - на официальном сайте Федерального агентства по техническому регулированию и метрологии в сети Интернет или по ежегодно издаваемому информационному указателю «Национальные стандарты», который опубликован по состоянию на 1 января текущего года, и по соответствующим ежемесячно издаваемым информационным указателям, опубликованным в текущем году. Если ссылочный стандарт заменен (изменен), то при пользовании настоящим стандартом следует руководствоваться заменяющим (измененным) стандартом. Если ссылочный стандарт отменен без замены, то положение, в котором дана ссылка на него, применяется в части, не затрагивающей эту ссылку.

3. Термины, определения и сокращения

3.1. Термины и определения

В настоящем стандарте применены термины по ГОСТ Р 51317.4.3, ГОСТ Р 51318.16.4.2, ГОСТ Р 51320, ГОСТ 14777, ГОСТ 30372, [1], а также следующий термин с соответствующим определением:

валидация: Подтверждение на основе представления объективных свидетельств того, что требования, предназначенные для конкретного использования или применения, выполнены.

3.2. Обозначения и сокращения

В настоящем стандарте использованы следующие обозначения:

CF - коэффициент калибровки поглощающих клещей;

DF - коэффициент развязки для широкополосного поглотителя;

DR - коэффициент развязки для трансформатора тока;

JTF - коэффициент передачи фиксирующего устройства;

RTF - коэффициент передачи опорного устройства.

В настоящем стандарте использованы следующие сокращения:

ТС - техническое средство;

ВЧ - высокочастотный;

УСР - устройство связи / развязки;

ВПУ - вторичное поглощающее устройство;

ОТН - опорная точка направляющих;

ОТК - опорная точка поглощающих клещей.

4. Оборудование для применения поглощающих клещей

4.1. Введение

Метод измерения мощности ИРП с применением поглощающих клещей предназначен для определения параметров излучаемых ИРП на частотах свыше 30 МГц. Данный метод является альтернативным по отношению к методу измерения напряженности поля ИРП на открытой измерительной площадке. Описание метода измерения с применением поглощающих клещей приведено в [2], раздел 71).

1) Национальный стандарт на основе применения [2] находится на разработке. До введения указанного национального стандарта в действие допускается при установлении метода измерения применять ГОСТ Р 51320.

При измерениях с применением поглощающих клещей используют следующее оборудование:

- комплект поглощающих клещей;

- ВПУ;

- измерительную площадку для применения поглощающих клещей.

Сведения о методе измерения с применением поглощающих клещей, оборудовании для применения данного метода, а также о методах калибровки и валидации этого оборудования приведены на рисунке 1.

В настоящем разделе приведены требования к оборудованию, необходимому для применения поглощающих клещей.

Подробное описание методов калибровки поглощающих клещей и методов валидации свойств поглощающих клещей и ВПУ приведено в приложении Б. Метод валидации измерительной площадки для применения поглощающих клещей приведен в приложении В.

Поглощающие клещи удобны для измерения ИРП от ТС некоторых видов в зависимости от их конструкции и размеров. Для каждой категории ТС должны быть определены точная процедура измерения и границы ее применимости. Если размеры испытуемого ТС (без соединительных проводов) достигают 1/4 длины волны, непосредственное излучение от корпуса ТС может быть существенным.

Уровень излучаемых ИРП, которые способно создать ТС, имеющее единственный внешний подключенный провод - сетевой шнур, может быть определен как мощность, которую ТС могло бы передавать в сетевой шнур, действующий в качестве излучающей антенны. Эта мощность приблизительно равна мощности, передаваемой ТС в поглощающие клещи, размещенные на этом сетевом шнуре в точке, где поглощаемая клещами мощность имеет максимальное значение. Непосредственное излучение ИРП от корпуса ТС при этом не учитывается. ТС, имеющее другие подключенные провода, отличные от сетевого шнура, может создавать ИРП за счет излучения от этих проводов (экранированных или неэкранированных) также, как за счет излучения от сетевого шнура. Измерения с применением поглощающих клещей допускается проводить на подключенных проводах всех видов.

Подробные сведения по проведению измерений мощности излучаемых ИРП с применением поглощающих клещей приведены в [2], раздел 7.

4.2. Комплект поглощающих клещей

4.2.1. Описание комплекта поглощающих клещей

Комплект поглощающих клещей включает в себя следующие пять частей:

1) широкополосный высокочастотный (ВЧ) трансформатор тока;

2) широкополосный ВЧ поглотитель мощности и стабилизатор полного сопротивления для испытуемого провода;

3) поглощающий рукав и комплект ферритовых колец для уменьшения ВЧ тока на поверхности коаксиального кабеля, идущего от трансформатора тока к измерительному приемнику;

4) аттенюатор с затуханием 6 дБ между выходом поглощающих клещей и коаксиальным кабелем, подключаемым к измерительному приемнику;

5) коаксиальный кабель, соединяющий клещи с измерительным приемником.

Опорная точка поглощающих клещей (ОТК) обозначает положение (в продольном направлении) передней части трансформатора тока в корпусе клещей. ОТК используется для указания позиции клещей в процессе измерений. Положение ОТК должно быть нанесено на внешней стороне корпуса клещей.

Конструкция поглощающих клещей приведена в приложении А.

4.2.2. Коэффициент калибровки поглощающих клещей и затухание измерительной площадки

Структурная схема метода измерений мощности излучаемых ИРП с применением поглощающих клещей приведена на рисунке 2. Подробные сведения о данном методе измерений приведены в [2].

Измерение мощности ИРП основано на измерении создаваемого испытуемым ТС общего несимметричного тока ИРП с помощью трансформатора (пробника) тока, расположенного на входе поглощающих клещей. Поглощающие ферриты, расположенные вокруг испытуемого провода, ослабляют влияние ИРП, действующих в сети питания, на трансформатор тока. Максимальное значение тока ИРП от испытуемого ТС определяют перемещением клещей вдоль вытянутого провода, действующего как линия передачи и трансформирующего входное сопротивление поглощающих клещей к выходному сопротивлению испытуемого ТС. В точке оптимальной настройки измеряют максимальный ток ИРП по пробнику тока или максимальное напряжение ИРП на входе измерительного приемника.

Соотношение между действительным коэффициентом калибровки CFact, мощностью ИРП от испытуемого ТС Peut и напряжением на выходе поглощающих клещей Vrec определяется следующим образом:

Peut = CFact + Vrec,                                                       (1)

где Peut - мощность ИРП от испытуемого ТС, дБ (пВт);

CFact - действительный коэффициент калибровки, дБ (пВт/мкВ);

Vrec - измеренное напряжение, дБ (мкВ).

В идеальном случае значение мощности Рrec, дБ (пВт), на входе измерительного приемника определяют по формуле

Рrec = Vrec - 10 · log (Zi) = Vrec - 17,                                           (2)

где Vrec - измеренное напряжение, дБ (мкВ);

Zi = 50 Ом - входное сопротивление измерительного приемника.

Из уравнений (1) и (2) можно получить соотношение между мощностью ИРП Peut от испытуемого ТС и мощностью Рrec на входе приемника

Peut - Prec = CFact + 17.                                                     (3)

Это соотношение между мощностью ИРП от испытуемого ТС и мощностью на входе измерительного приемника называют действительным затуханием измерительной площадки для применения поглощающих клещей Aact, дБ:

Aact = Peut - Prec = CFact + 17.                                                  (4)

Действительное затухание измерительной площадки для применения поглощающих клещей зависит от свойств:

- поглощающих клещей;

- измерительной площадки;

- испытуемого ТС.

4.2.3. Функции развязки поглощающих клещей

Ферриты, окружающие испытуемый провод, создают высокое общее несимметричное полное сопротивление, обеспечивающее развязку между трансформатором тока и дальним концом испытуемого провода, который находится вне трансформатора тока. Эта развязка позволяет снизить влияние помех в электрической сети и изменений полного сопротивления испытуемого привода на трансформатор тока. Количественной характеристикой затухания, вносимого ферритами, служит коэффициент развязки DF.

Функцию развязки выполняет также секция из ферритовых колец на кабеле от трансформатора тока к выходному разъему клещей. Эта развязка обеспечивает согласование трансформатора тока с несимметричным коаксиальным трактом на выходе поглощающих клещей. Количественной характеристикой затухания, вносимого этой секцией ферритов, служит коэффициент развязки DR.

4.2.4. Требования к комплекту поглощающих клещей

Поглощающие клещи, используемые для измерения мощности ИРП, должны соответствовать следующим требованиям:

а) действительный коэффициент калибровки CFact комплекта поглощающих клещей должен быть определен в соответствии с процедурой, изложенной в приложении Б. Неопределенность измерения коэффициента калибровки должна быть определена с учетом требований, приведенных в приложении Б;

б) коэффициент развязки DF должен быть определен в соответствии с процедурой, изложенной в приложении Б; значение коэффициента развязки DF должно быть не менее 21 дБ во всей полосе рабочих частот поглощающих клещей;

в) коэффициент развязки DR должен быть определен в соответствии с процедурой, изложенной в приложении Б; значение коэффициента развязки DR должно быть не менее 30 дБ во всей полосе рабочих частот поглощающих клещей; значение 30 дБ состоит из значения затухания поглощающих клещей (20,5 дБ) и значения затухания, вносимого устройством связи / развязки (УСР) (9,5 дБ);

г) длина корпуса поглощающих клещей должна быть (600 ± 40) мм;

д) непосредственно на выходе поглощающих клещей должен использоваться ВЧ аттенюатор с сопротивлением 50 Ом и затуханием не менее 6 дБ.

4.3. Методы калибровки поглощающих клещей и их взаимосвязь

Целью калибровки является определение коэффициента калибровки поглощающих клещей CF в условиях, максимально соответствующих реальным условиям измерения мощности ИРП от испытуемых ТС. Коэффициент калибровки является функцией параметров собственно поглощающих клещей, измерительной площадки и испытуемого ТС. Для обеспечения повторяемости результатов измерений мощности ИРП необходимо использовать при калибровке измерительную площадку, генератор сигналов и измерительный приемник со стандартизованными параметрами.

Ниже установлены методы калибровки поглощающих клещей а) - в). Каждый из методов имеет преимущества и недостатки (см. также таблицу 1). Структурные схемы методов калибровки а) - в) представлены на рисунке 3.

В общем случае каждый из методов калибровки состоит из двух шагов.

Сначала в качестве опорного значения измеряют выходную мощность Рgen ВЧ генератора (выходное сопротивление 50 Ом) через аттенюатор с затуханием 10 дБ с помощью измерительного приемника (см. рисунок 3а). Затем, применяя один из трех возможных методов, измеряют с помощью поглощающих клещей мощность ВЧ генератора с подключенным аттенюатором.

а) Основной метод

При применении основного метода проводят непосредственное измерение коэффициента калибровки в соответствии с его определением по ГОСТ Р 51319. Для измерений используют опорную измерительную площадку, оборудованную большой вертикальной пластиной заземления, соединенной с горизонтальной пластиной заземления (см. рисунок 3б). Испытуемый провод подсоединяют к центральному проводнику разъема, установленного на вертикальной пластине. На обратной стороне вертикальной пластины разъем соединяют с ВЧ генератором.

При указанных условиях измеряют мощность ВЧ сигнала Рorig в соответствии с процедурой измерения, изложенной в приложении Б. При калибровке передвигают поглощающие клещи вдоль испытуемого провода с тем, чтобы получить на каждой частоте максимальное показание измерительного приемника. Минимальное затухание площадки Aorig и коэффициент калибровки поглощающих клещей CForig определяют из следующих уравнений:

Aorig = Pgen - Porig;                                                           (5)

CForig = Aorig - 17.                                                            (6)

Минимальное затухание площадки Aorig должно быть в пределах от 13 до 22 дБ.

б) Метод фиксирующего устройства

При применении данного метода используют фиксирующее устройство, которое должно соответствовать длине поглощающих клещей и ВПУ. В фиксирующем устройстве закрепляют калибруемые поглощающие клещи, ВПУ и согласованную нагрузку 50 Ом (см. рисунок 3в). При указанных условиях измеряют мощность Рjig в функции от частоты. Испытуемые поглощающие клещи и ВПУ при этом должны быть неподвижны. Затухание площадки Ajig и коэффициент калибровки клещей CFjig определяют из следующих уравнений:

Ajig = Pgen - Pjig;                                                             (7)

CFjig = Ajig - 17.                                                             (8)

в) Метод опорного устройства

При применении данного метода используют опорную измерительную площадку без вертикальной пластины заземления и опорное устройство (см. приложение Б, пункт Б.2.3.1), подключенное к испытуемому проводу, имеющему в данном случае коаксиальную структуру (см. рисунок 3г).

При указанных условиях измеряют Pref в соответствии с процедурой, изложенной в приложении Б. При калибровке клещи передвигают вдоль испытуемого провода с тем, чтобы получить на каждой частоте максимальное показание измерительного приемника. Затухание площадки Aref и коэффициент калибровки поглощающих клещей CFref определяют из следующих уравнений:

Aref = Pgen - Pref;                                                              (9)

CFref = Aref - 17.                                                           (10)

Сведения о методах калибровки поглощающих клещей а) - в), а также взаимосвязь методов измерения с применением поглощающих клещей и методов калибровки и роль измерительной площадки см. на рисунке 1.

Примечание - Поглощающие клещи, аттенюатор и кабель к измерительному приемнику должны калиброваться совместно.

Коэффициенты калибровки поглощающих клещей, полученные методами фиксирующего CFjig и опорного CFref устройств, имеют систематическое отклонение от коэффициента калибровки при основном методе CForig. Соотношение между этими коэффициентами определяют следующим образом.

Коэффициент передачи фиксирующего устройства JTF, дБ, определяют по формуле

JTF = CFjig - CForig.                                                  (11)

Значение JTF должно указываться производителем для поглощающих клещей каждого типа. Производитель или аккредитованная калибровочная лаборатория должны определить значение JTF путем усреднения результатов не менее чем пяти измерений пяти устройств из конкретной серии продукции.

Аналогично коэффициент передачи опорного устройства RTF определяют по формуле

RTF = CFref - CForig.                                                   (12)

Значение RTF должно указываться производителем для поглощающих клещей каждого типа. Производитель или аккредитованная калибровочная лаборатория должны определить значение RTF путем усреднения результатов не менее чем пяти измерений пяти устройств из конкретной серии продукции.

В целом, используя основной метод калибровки поглощающих клещей, непосредственно получают значение коэффициента калибровки CForig. При применении методов фиксирующего устройства и опорного устройства вначале могут быть получены значения CFjig и CFref, а затем с использованием выражений (11) и (12) - значение CForjg.

4.4. Вторичное поглощающее устройство

Для уменьшения неопределенности измерений дополнительно к широкополосному ВЧ поглотителю мощности следует использовать ВПУ, которое располагают непосредственно за поглощающими клещами. ВПУ обеспечивает затухание общих несимметричных токов, дополнительно к затуханию, которое обеспечивают поглощающие клещи. При калибровке и проведении измерений ВПУ должно перемещаться также, как и поглощающие клещи, т.е. должно быть оснащено колесами. Размеры ВПУ должны быть такими, чтобы испытуемый провод проходил через ВПУ на той же высоте подвеса, что и в поглощающих клещах.

Коэффициент развязки ВПУ должен проверяться в соответствии с методом, приведенным в приложении Б. Коэффициент развязки ВПУ измеряют вместе с поглощающими клещами.

Примечание - Применение новых технологий может сделать возможным конструктивное исполнение ВПУ как составной части поглощающих клещей. Следовательно, если поглощающие клещи соответствуют требованиям к значению коэффициента развязки, то в использовании ВПУ нет необходимости.

4.5. Измерительная площадка для применения поглощающих клещей

4.5.1. Описание измерительной площадки

Измерительная площадка для применения поглощающих клещей может находиться как в помещении, так и вне его.

Измерительная площадка включает в себя следующие элементы (см. рисунок В.1):

- стол для размещения испытуемого ТС;

- направляющие для передвижения поглощающих клещей и ВПУ и размещения вытянутого провода;

- скользящая опора (подвес) для кабеля измерительного приемника;

- вспомогательные средства (например шнур для передвижения поглощающих клещей).

При валидации измерительной площадки подлежат проверке все перечисленные выше элементы, за исключением стола.

Торец направляющих для передвижения поглощающих клещей и ВПУ, ближний к испытуемому ТС, называется опорной точкой направляющих (ОТН) (см. рисунок В.1). Эта точка используется для определения расстояния по горизонтали относительно опорной точки поглощающих клещей (ОТК).

4.5.2. Функции измерительной площадки

Измерительная площадка выполняет следующие функции:

а) физическую - обеспечение механической поддержки испытуемого ТС и испытуемого провода;

б) электрическую - обеспечение нормального функционирования ВЧ элементов испытуемого ТС и комплекта поглощающих клещей, а также обеспечение условий измерений с применением поглощающих клещей (отсутствие искажений ИРП, излучаемых ТС, за счет влияния стен, стола для размещения испытуемого ТС, направляющих для передвижения поглощающих клещей и других элементов измерительной площадки).

4.5.3. Требования к измерительной площадке

Измерительная площадка должна соответствовать следующим требованиям:

а) Длина направляющих и расстояние возможного перемещения поглощающих клещей должны быть не менее 6 и 5 м соответственно.

Примечание - Необходимую длину направляющих (6 м) определяют суммированием длины перемещения поглощающих клещей (5 м), расстояния между ОТН и ОТК (0,15 м), длины поглощающих клещей (0,64 м) и длин двух отрезков для установки зажимов для крепления концов вытянутого провода (по 0,1 м).

б) Высота направляющих над горизонтальной пластиной заземления должна быть (0,8 ± 0,05) м. При этом внутри клещей и ВПУ высота испытуемого провода относительно пластины заземления будет на несколько сантиметров больше.

в) Стол для размещения испытуемого ТС и направляющие для передвижения поглощающих клещей должны быть выполнены из непроводящего материала, имеющего диэлектрическую проницаемость, близкую к диэлектрической проницаемости воздуха.

г) Шнур, используемый для передвижения поглощающих клещей, также должен быть выполнен из непроводящего материала.

Примечание - Влияние материала, из которого изготовлены стол для размещения испытуемого ТС и направляющие для передвижения поглощающих клещей, может быть существенным на частотах свыше 300 МГц;

д) Адекватность измерительной площадки (см. электрическую функцию измерительной площадки по 4.5.2) должна быть подтверждена сравнением коэффициента калибровки поглощающих клещей, измеренного на площадке по месту установки клещей CFin-situ, с коэффициентом калибровки, измеренным на опорной площадке CForig, с использованием основного метода калибровки (см. 4.3, перечисление а), и приложение В).

Абсолютная величина разности значений коэффициентов калибровки поглощающих клещей D, определяемая из уравнения

D = |CForig - CFin-situ|,                                                   (13)

не должна превышать:

2,5 дБ - в полосе частот от 30 до 150 МГц;

2,5 - 2 дБ (уменьшение с ростом частоты) - в полосе частот от 150 до 300 МГц;

2 дБ - в полосе частот от 300 до 1000 МГц.

4.5.4. Методы валидации измерительной площадки

Выполнение требований к физическим характеристикам [см. 4.5.3, перечисления а), б)] подтверждают техническим осмотром.

Выполнение электрической функции измерительной площадки [см. 4.5.3, перечисление д)] подтверждают сравнением коэффициентов калибровки CF, измеренных на опорной измерительной площадке и измерительной площадке по месту установки поглощающих клещей при использовании основного метода калибровки.

Наилучшей опорной измерительной площадкой для применения поглощающих клещей являются открытая измерительная площадка или полубезэховая камера для измерения излучаемых ИРП при измерительном расстоянии 10 м, соответствующие требованиям [3]1). Если в качестве измерительной площадки по месту применения поглощающих клещей применяют открытую измерительную площадку или полубезэховую камеру для измерения излучаемых ИРП при измерительном расстоянии 10 м, соответствующие требованиям [3], то в проведении валидации данной измерительной площадки в отношении выполнения электрической функции [см. 4.5.3, перечисление д)] нет необходимости.

1) Национальный стандарт на основе применения [3] находится на разработке. До введения указанного национального стандарта в действие допускается при установлении требований к открытой измерительной площадке применять ГОСТ Р 51320.

4.6. Процедуры обеспечения качества оборудования для применения поглощающих клещей

4.6.1. Введение

Рабочие характеристики поглощающих клещей и ВПУ могут измениться с течением времени в результате воздействия механических нагрузок при эксплуатации, старения или возникших дефектов. Рабочие характеристики измерительной площадки для применения поглощающих клещей могут также измениться в результате старения или модификации конструкции.

Для проведения процедур обеспечения качества целесообразно использовать метод калибровки с помощью фиксирующего устройства или метод калибровки с помощью опорного устройства при условии, что изначально известны коэффициенты калибровки поглощающих клещей CFjig и CFref, полученные методами фиксирующего и опорного устройств.

4.6.2. Проверка измерительной площадки для применения поглощающих клещей при обеспечении качества

Значение затухания измерительной площадки Aref, определенное при первой валидации, может быть использовано в качестве опорного. В процессе применения измерительной площадки или после ее модификации валидацию проводят повторно с измерением затухания площадки. Полученные при повторных измерениях результаты сравнивают с опорным значением.

4.6.3. Проверка поглощающих клещей при обеспечении качества

Значения коэффициентов развязки DF, DR и коэффициента калибровки поглощающих клещей, определенные при первой валидации, могут быть использованы в качестве опорных. В процессе применения клещей или после модификации измерительной площадки проводят повторные измерения коэффициентов развязки DF, DR и коэффициента калибровки поглощающих клещей. При измерении коэффициента калибровки применяют метод фиксирующего устройства (см. приложение Б). Полученные при повторных измерениях результаты сравнивают с опорными значениями.

4.6.4. Критерии «проходит / не проходит» при обеспечении качества

В ходе проверок, проводимых при обеспечении качества, критерии «проходит / не проходит» определяют с учетом значений неопределенности соответствующих измерений. Изменения конкретного параметра измерительной площадки и поглощающих клещей считают допустимыми, если они менее значения неопределенности измерений.

Используемые поглощающие клещи должны иметь действующее свидетельство о поверке. Аттестацию измерительной площадки для применения поглощающих клещей проводят в соответствии с требованиями ГОСТ Р 8.568.

Рисунок 1 - Сведения о методе измерения с применением поглощающих клещей, оборудовании, необходимом
для применения данного метода, а также о методах калибровки и валидации этого оборудования

Таблица 1 - Характеристики методов калибровки поглощающих клещей

Наименование метода калибровки

Используемая измерительная площадка

Используемое оборудование

Преимущества, недостатки и замечания

Применение

Основной метод

Опорная измерительная площадка для калибровки поглощающих клещей

Большая вертикальная пластина заземления; подача сигнала на разъем, установленный на этой пластине

(*) Установка для калибровки максимально соответствует реальным условиям измерений с применением поглощающих клещей.

(-) Неудобство применения из-за наличия большой вертикальной пластины.

(-) Требуется опорная измерительная площадка.

(+) Непосредственное измерение коэффициента калибровки клещей в соответствии с его определением

Калибровка поглощающих клещей методом непосредственного прямого измерения

Метод фиксирующего устройства

Фиксирующее устройство для калибровки поглощающих клещей

Компактное фиксирующее устройство; подача сигнала на один из вертикальных фланцев фиксирующего устройства

(-) Установка для калибровки не соответствует реальным условиям измерений с применением поглощающих клещей.

(+) Удобное управление.

(+) Не требуется опорная измерительная площадка.

(+) Хорошая повторяемость результатов.

(-) Отсутствует возможность непосредственного определения коэффициента калибровки CF. Значение CF вычисляется через коэффициент передачи фиксирующего устройства (JTF)

Непрямая калибровка поглощающих клещей. Проверка поглощающих клещей при обеспечении качества

Метод опорного устройства

Опорная измерительная площадка для калибровки поглощающих клещей

Компактное опорное устройство с питанием от генератора на дальнем конце испытуемого провода

(*) Установка для калибровки максимально соответствует реальным условиям измерений с применением поглощающих клещей.

(+) Удобство пользования опорным устройством.

(-) Требуется опорная измерительная площадка.

(-) Отсутствует возможность непосредственного определения коэффициента калибровки CF. Значение CF вычисляется через коэффициент передачи фиксирующего устройства (RTF)

Непрямая калибровка поглощающих клещей. Валидация измерительной площадки. Проверка установки для измерений с применением поглощающих клещей при обеспечении качества

Примечание - В качестве опорной измерительной площадки для калибровки поглощающих клещей применяется полубезэховая камера или открытая площадка для измерения излучаемых ИРП при измерительном расстоянии 10 м.

Знаками обозначены: (+) - преимущество метода калибровки; (-) - недостаток метода калибровки; (*) - замечание.

Peut - мощность ИРП, создаваемых испытуемым ТС, дБ (пВт);

Vrec - измеренное напряжение, дБ (мкВ);

CFact - действительный коэффициент калибровки поглощающих клещей, дБ (пВт/мкВ);

Рrec - уровень мощности на выходе клещей, дБ (пВт)

Рисунок 2 - Структурная схема метода измерений мощности излучаемых ИРП с применением поглощающих клещей

CForig, CFref, CFjig - коэффициенты калибровки поглощающих клещей;

Porig, Pref, Pjig - уровни мощности на выходе поглощающих клещей;

Рgen - выходная мощность генератора (с аттенюатором 10 дБ)

Примечание - Рисунки 3б) - г) относятся к трем методам калибровки, представленным в таблице 1 [см. 4.3, перечисления а) - в)].

Рисунок 3 - Структурные схемы методов калибровки

Приложение А

(справочное)

Конструкция поглощающих клещей

А.1. Пример конструкции поглощающих клещей

Комплект поглощающих клещей и пример конструкции поглощающих клещей приведены на рисунках А.1 и А.2 соответственно.

Тремя основными частями комплекта поглощающих клещей являются: трансформатор тока С; поглотитель мощности и стабилизатор полного сопротивления D; поглощающий рукав E (см. рисунок А.2). Поглотитель мощности и стабилизатор полного сопротивления D состоит из ряда ферритовых колец, а поглощающий рукав E - из ферритовых колец или трубок. Сердечник трансформатора C выполнен из двух или трех колец, тип которых соответствует кольцам, используемым в D. Вторичная обмотка трансформатора C состоит из одного витка миниатюрного коаксиального кабеля, намотанного и соединенного, как показано на рисунке А.2. Кабель проходит через рукав E к выходному разъему поглощающих клещей. Устройства C и D устанавливают по одной оси в непосредственной близости друг к другу. Рукав E обычно монтируют вдоль поглотителя D. Устройства D и E обеспечивают затухание общего несимметричного тока на проводах, проходящих через них.

На рисунке А.2 также представлены элементы, предназначенные для улучшения рабочих характеристик поглощающих клещей. Металлический цилиндр 1, разделенный на две половины, устанавливается в сердечнике трансформатора C, обеспечивая функцию емкостного экрана. Изолирующая трубка 2 используется для центровки испытуемого провода в трансформаторе тока. Трубка 2 проходит от входного конца трансформатора до первого кольца поглотителя D и предназначена для использования во время калибровки поглощающих клещей и для проводов малого диаметра.

При использовании соответствующих ферритовых колец поглощающие клещи могут работать в полосе частот от 30 до 1000 МГц.

1 - опорная точка клещей (ОТК); 2, 8 - поглотитель (ферритовые кольца); 3 - аттенюатор с затуханием 6 дБ;
4 - к измерительному приемнику; 5 - коаксиальный кабель; 6 - испытуемый провод; 7 - трансформатор тока

Примечание - Аттенюатор с затуханием 6 дБ и кабель измерительного приемника являются неотъемлемой частью комплекта поглощающих клещей.

Рисунок А.1 - Комплект поглощающих клещей

В - испытуемый провод; С - трансформатор тока; D - поглощающая секция; Е - поглощающая секция на кабеле от трансформатора;
1 - металлический цилиндр из двух половин; 2 - трубка для центровки провода В; 3 - коаксиальный разъем (для аттенюатора с затуханием 6 дБ)

Рисунок А.2 - Пример конструкции поглощающих клещей

Приложение Б

(обязательное)

Методы калибровки и валидации поглощающих клещей и ВПУ

Б.1. Введение

В настоящем приложении приведены подробные сведения о методах калибровки и валидации комплекта поглощающих клещей и ВПУ.

Методы калибровки установлены в Б.2 (см. также 4.3).

Методы валидации функций развязки DF и DR изложены в Б.3.

Б.2. Методы калибровки комплекта поглощающих клещей

Коэффициент калибровки CF при применении всех трех методов калибровки определяют применительно к комплекту поглощающих клещей, включая аттенюатор с затуханием 6 дБ, и кабель, соединяющий клещи с измерительным приемником. Так как значение коэффициента развязки поглощающих клещей является ограниченным, поглощающие клещи взаимодействуют с кабелем. Тип и длина кабеля могут оказать влияние на неопределенность измерений. Поэтому калибровку проводят с подключенным кабелем измерительного приемника.

Б.2.1. Основной метод калибровки

Б.2.1.1. Установка для калибровки

Калибровку проводят на опорной измерительной площадке, в качестве которой применяют полубезэховую камеру или открытую измерительную площадку для измерения излучаемых ИРП при измерительном расстоянии 10 м, соответствующие требованиям [3]. Расположение оборудования на измерительной площадке показано на рисунке Б.1. Если площадка не имеет горизонтальной пластины заземления, устанавливают пластину заземления размерами 6´2 м.

Установка для калибровки содержит следующие элементы:

- направляющие из диэлектрического материала, длиной не менее 6 м (см. 4.5.3), расположенные на высоте (0,8 ± 0,05) м над полом помещения (горизонтальной пластиной заземления); при этом высота испытуемого провода относительно пластины заземления будет на несколько сантиметров больше;

- вертикальную пластину заземления, размерами не менее 2´2 м, соединенную с горизонтальной пластиной заземления. На вертикальной пластине устанавливают разъем типа N (по вертикальной оси симметрии на высоте 0,87 м). Вертикальную пластину заземления размещают вблизи опорной точки направляющих (ОТН);

- изолированный провод для целей калибровки длиной (7,0 ± 0,05) м и диаметром 4 мм (без изоляции); один конец провода присоединяют к центральному гнезду разъема вертикальной пластины; другой конец провода подключают к соединенным вместе гнездам «Сеть» устройства связи / развязки (УСР) типа М (см. ГОСТ Р 51318.16.1.2, рисунок В.2). УСР типа М устанавливают на горизонтальной пластине заземления вблизи дальнего конца направляющих, его разъем «Источник помех» нагружают сопротивлением 50 Ом (УСР не подключают к сети электропитания). Применение УСР обеспечивает стабильное общее несимметричное сопротивление на дальнем конце испытуемого провода в полосе частот от 40 до 50 МГц;

- зажимное устройство из непроводящего материала на дальнем конце направляющих для натяжения испытуемого провода;

- ВПУ, расположенное на направляющих на расстоянии 50 мм от калибруемых поглощающих клещей; в качестве ВПУ допускается использовать ферритовые клещи, значение коэффициента развязки DF которых больше или равно значению, указанному в разделе 4;

- прокладку из диэлектрического материала, обеспечивающую расстояние между вертикальной пластиной заземления и ОТК не менее 150 мм.

Для измерения выходного сигнала генератора и выходного сигнала поглощающих клещей используют измерительный приемник или анализатор цепей. Уровни измеряемого сигнала должны быть на 40 дБ выше уровней радиопомех, измеренных на выходе поглощающих клещей при отключенном генераторе. Нелинейность системы измерения не должна превышать 0,1 дБ.

Б.2.1.2. Процедура калибровки

Испытуемые поглощающие клещи и ВПУ устанавливают на направляющих; трансформатор тока испытуемых клещей должен быть направлен в сторону вертикальной пластины заземления. Расстояние между ОТК и вертикальной пластиной заземления должно быть 150 мм. Испытуемый провод должен проходить через обе пары клещей и быть слегка натянутым с помощью соответствующего зажимного устройства. Испытуемый провод не должен касаться элементов заземления до места соединения с УСР.

Для надежной центровки испытуемого провода в трансформаторе тока устанавливают на торцевой поверхности клещей диэлектрическую направляющую (см. рисунок Б.2).

Затухание площадки измеряют:

- с шагом 1 МГц - в полосе частот от 30 до 60 МГц;

- с шагом 2 МГц - в полосе частот от 60 до 120 МГц;

- с шагом 5 МГц - в полосе частот от 120 до 300 МГц;

- с шагом 10 МГц - в полосе частот от 300 до 1000 МГц.

Затухание площадки измеряют при одновременном перемещении поглощающих клещей и ВПУ. Поглощающие клещи следует перемещать с помощью диэлектрического шнура. Скорость перемещения поглощающих клещей должна обеспечить проведение измерений затухания на каждой частоте при сдвиге клещей менее чем на 10 мм.

Коэффициент калибровки CForig комплекта поглощающих клещей рассчитывают по затуханию измерительной площадки с помощью уравнений (5) и (6).

Б.2.2. Метод калибровки с применением фиксирующего устройства

Б.2.2.1. Технические требования к фиксирующему устройству

Фиксирующее устройство используют для измерения затухания, вносимого испытуемыми поглощающими клещами и ВПУ в измерительной системе 50 Ом. Фиксирующее устройство позволяет измерять вносимое затухание без передвижения клещей. Размещение клещей и ВПУ при измерениях с помощью фиксирующего устройства и пример конструкции вертикального фланца фиксирующего устройства представлены на рисунках Б.3 - Б.5.

Б.2.2.2. Процедура калибровки

Поглощающие клещи устанавливают в фиксирующем устройстве так, чтобы расстояние между ОТК и вертикальным фланцем было 30 мм, как показано на рисунках Б.3 и Б.4. Испытуемый провод подключают к разъемам вертикальных фланцев с внутренней стороны.

Для измерения выходного сигнала генератора и выходного сигнала клещей используется анализатор цепей. Уровни измеряемого сигнала должны быть на 40 дБ выше уровней радиопомех, измеренных на выходе поглощающих клещей при отключенном генераторе. Нелинейность системы измерения должна быть менее 0,1 дБ.

Измеряют выходную мощность генератора Рgen через аттенюатор с затуханием 10 дБ.

Выход генератора соединяют через аттенюатор с затуханием 10 дБ с разъемом вертикального фланца с той стороны, где расположена ОТК. Разъем второго вертикального фланца нагружают сопротивлением 50 Ом. Выход поглощающих клещей через аттенюатор с затуханием 6 дБ соединяют с входом анализатора цепей. Измеряют мощность на выходе испытуемых клещей Рjig.

Измерения проводят с шагом по частоте в соответствии с Б.2.1.2.

Коэффициент калибровки клещей CFjig рассчитывают с помощью уравнений (7) и (8).

Производитель должен указать коэффициент передачи фиксирующего устройства JTF, определяемый из уравнения (11), что позволяет рассчитать CForig для конкретных поглощающих клещей.

Б.2.3. Метод калибровки с применением опорного устройства

Б.2.3.1. Технические требования к опорному устройству и измерительной площадке

В данном методе используется опорная измерительная площадка для калибровки, где большую вертикальную пластину заземления заменяет опорное устройство. Установка для калибровки представлена на рисунке Б.6.

Опорное устройство представляет собой печатную плату, в середине которой установлен коаксиальный разъем. С фольгой соединен только центральный проводник разъема. Опорное устройство возбуждает общий несимметричный ток в испытуемом проводе за счет емкостной связи, независимо от влияния окружающей среды.

Коаксиальный разъем опорного устройства соединяют с генератором через аттенюатор с затуханием 10 дБ (см. рисунок Б.7). Для того чтобы общий несимметричный ток, наводимый в испытуемом проводе, был обусловлен опорным устройством, а не утечкой кабеля, сигнал на опорное устройство подается с помощью кабеля с двойным экранированием. Опорное устройство заменяет вертикальную пластину заземления при проведении калибровки на опорной измерительной площадке. В качестве опорной измерительной площадки используют полубезэховую камеру или открытую площадку для измерения излучаемых ИРП при измерительном расстоянии 10 м, соответствующие требованиям [3].

Б.2.3.2. Процедура калибровки

Опорное устройство устанавливают в опорной точке направляющих (ОТН), как показано на рисунке Б.7. Испытуемые клещи и ВПУ устанавливают на направляющих так, чтобы расстояние между ОТК и ОТН было 150 мм.

Испытуемый провод (коаксиальный кабель) должен проходить через обе пары клещей и быть слегка натянутым с помощью соответствующих диэлектрических зажимов на обоих концах направляющих.

Для надежной центровки испытуемого провода в трансформаторе тока на торцевой поверхности клещей устанавливают диэлектрическую направляющую (см. рисунок Б.2).

Коаксиальный кабель (испытуемый провод) с аттенюатором затуханием 10 дБ подключают к выходу анализатора цепей. Выходной разъем испытуемых поглощающих клещей соединяют с входом анализатора цепей через аттенюатор с затуханием 6 дБ.

Измерения выполняют с шагом по частоте в соответствии с Б.2.1.2.

Коэффициент калибровки CF поглощающих клещей рассчитывают по наименьшему измеренному затуханию площадки с помощью уравнений (9) и (10).

Производитель должен указать коэффициент передачи опорного устройства RTF из уравнения (12), что позволяет рассчитать значение CForig для конкретных поглощающих клещей.

Б.2.4. Неопределенность измерений при калибровке поглощающих клещей

Неопределенность калибровки должна быть указана в отчете о калибровке. При этом должны быть рассмотрены:

1. Основной метод калибровки:

- неопределенность, обусловленная измерительной аппаратурой;

- рассогласование между выходом поглощающих клещей (с аттенюатором затуханием 6 дБ и кабелем измерительного приемника) и измерительной аппаратурой;

- повторяемость результатов калибровки, зависящая от центровки испытуемого провода в трансформаторе тока и расположения кабеля, соединяющего клещи с измерительной аппаратурой.

Поглощающие клещи должны отвечать минимальным требованиям к коэффициентам развязки DF и DR.

2. Метод калибровки с применением фиксирующего устройства:

- неопределенность коэффициента калибровки клещей CF;

- неопределенность, обусловленная измерительной аппаратурой;

- рассогласование между выходом поглощающих клещей (с аттенюатором затуханием 6 дБ и кабелем измерительного приемника) и измерительной аппаратурой;

- повторяемость результатов калибровки, зависящая от центровки испытуемого провода в трансформаторе тока и расположения кабеля, соединяющего клещи с измерительной аппаратурой.

Поглощающие клещи должны соответствовать минимальным требованиям к коэффициентам развязки DF и DR.

3. Метод калибровки с применением опорного устройства:

- неопределенность коэффициента калибровки клещей CF;

- неопределенность, обусловленная измерительной аппаратурой;

- рассогласование между выходом поглощающих клещей (с аттенюатором затуханием 6 дБ и кабелем измерительного приемника) и измерительной аппаратурой;

- повторяемость результатов калибровки, зависящая от центровки испытуемого провода в трансформаторе тока и расположения кабеля, соединяющего клещи с измерительной аппаратурой.

Поглощающие клещи должны соответствовать минимальным требованиям к коэффициентам развязки DF и DR.

Сведения по составу и оценке составляющих неопределенности измерений применительно к калибровке поглощающих клещей приведены в ГОСТ Р 51318.16.4.2.

Б.3. Методы валидации функций развязки

Б.3.1. Коэффициент развязки DF поглощающих клещей с ВПУ

Коэффициент развязки DF поглощающих клещей с ВПУ должен быть для производителя одним из основных показателей в процессе производства и при управлении качеством.

Коэффициент развязки DF измеряют с помощью фиксирующего устройства для калибровки клещей (см. рисунки Б.3 - Б.5).

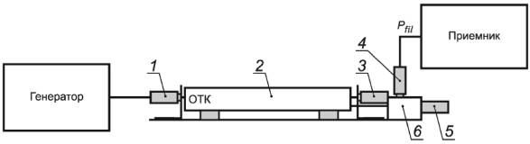
Измеряют выходной сигнал генератора через два аттенюатора с затуханием 10 дБ, как показано на рисунке Б.8а), и определяют мощность Pref.

Устанавливают поглощающие клещи и ВПУ, как указано в Б.2.2.2. На обоих фланцах фиксирующего устройства устанавливают аттенюаторы с затуханием 10 дБ [см. рисунок Б.1б)]. Расстояние между вертикальным фланцем фиксирующего устройства и опорной точкой испытуемого устройства (ОТК) должно быть 30 мм. Измеряют мощность Pfil на выходе фиксирующего устройства. Коэффициент развязки определяют по формуле

DF = Pref - Pfil.                                                         (Б.1)

Коэффициент развязки поглощающих клещей с ВПУ должен быть не менее 21 дБ во всей полосе рабочих частот поглощающих клещей.

Примечание - Коэффициент развязки DF, измеренный для отдельного ВПУ, должен быть не менее 15 дБ.

Измерения можно также проводить с применением анализатора цепей. В этом случае допускается не использовать аттенюаторы, если калибровка анализатора цепей выполняется при подключении к фиксирующему устройству.

Б.3.2. Коэффициент развязки DR поглощающих клещей

Коэффициент развязки DR поглощающих клещей с ВПУ должен быть для производителя одним из основных показателей в процессе производства и при управлении качеством.

Коэффициент развязки DR измеряют с помощью фиксирующего устройства для калибровки клещей (см. рисунки Б.3 - Б.5).

Измеряют выходной сигнал генератора через два аттенюатора с затуханием 10 дБ, как показано на рисунке Б.8а), и определяют мощность Pref.

Устанавливают поглощающие клещи, как указано в Б.2.2.2. На входной разъем фиксирующего устройства подают сигнал от генератора через аттенюатор с затуханием 10 дБ (см. рисунок Б.9). Выходной разъем фиксирующего устройства нагружают сопротивлением 50 Ом. Выходной разъем поглощающих клещей соединяют коротким коаксиальным кабелем с разъемом «Испытуемое ТС» УСР типа А (см. ГОСТ Р 51318.16.1.2). Разъем «Источник помехи» УСР нагружают сопротивлением 50 Ом. Разъем «Вспомогательное оборудование» УСР соединяют с измерительным приемником через аттенюатор с затуханием 10 дБ. Измеряют мощность Рfil и определяют коэффициент развязки DR по формуле

DR = Pref - Pfil.                                                        (Б.2)

Значение коэффициента развязки DR должно быть не менее 30 дБ во всей полосе частот поглощающих клещей. Затухание 30 дБ состоит из затухания поглощающих клещей (20,5 дБ) и затухания, вносимого УСР (9,5 дБ).

Измерения можно также проводить с применением анализатора цепей. В этом случае допускается не использовать аттенюаторы, если калибровка анализатора цепей выполняется при подключении к фиксирующему устройству и УСР.

УСР - устройство связи - развязки типа М; ОТК - опорная точка поглощающих клещей; ОТН - опорная точка направляющих

Рисунок Б.1 - Измерительная площадка для калибровки поглощающих клещей основным методом

1 - передняя часть поглощающих клещей; 2 - направляющая для центровки испытуемого провода

Примечание - При использовании коаксиального кабеля для опорного устройства отверстие должно подгоняться к диаметру коаксиальных кабелей.

Рисунок Б.2 - Позиция направляющей для центровки испытуемого провода

1 - поглощающие клещи; 2 - провод диаметром 4 мм; 3 - ВПУ;
4 - непроводящая прокладка для регулировки высоты клещей над пластиной заземления;
5 - электрическая связь с пластиной заземления

Рисунок Б.3 - Фиксирующее устройство для калибровки (вид сбоку)

1 - поглощающие клещи; 2 - провод диаметром 4 мм; 3 - ВПУ;
4 - электрическая связь с пластиной заземления;
5 - металлическая пластина заземления

Рисунок Б.4 - Фиксирующее устройство для калибровки (вид сверху)

Примечание - Нижняя часть должна быть электрически соединена с пластиной заземления.

Рисунок Б.5 - Пример конструкции вертикального фланца фиксирующего устройства

Рисунок Б.6 - Испытательная установка для калибровки поглощающих клещей с помощью опорного устройства

1 - пайка к металлическому слою; 2 - монтажное гнездо; 3 - аттенюатор с затуханием 10 дБ;
4 - коаксиальный кабель с двойным экранированием, с разъемами типа
N

Рисунок Б.7 - Подключение кабеля к опорному устройству

1, 2 - аттенюатор с затуханием 10 дБ

а) Опорное измерение

1, 4 - аттенюатор с затуханием 10 дБ; 2 - испытуемые поглощающие клещи; 3 - ВПУ;
5 - кабель с выхода клещей; 6 - нагрузка 50 Ом

б) Измерение с поглощающими клещами и ВПУ, установленными в фиксирующем устройстве

Рисунок Б.8 - Установка для измерения коэффициента развязки DF

Pfil - мощность, измеряемая приемником; 1, 4 - аттенюатор с затуханием 10 дБ;
2 - испытуемые клещи; 3, 5 - нагрузка 50 Ом; 6 - УСР

Рисунок Б.9 - Установка для измерения коэффициента развязки DR

Приложение B

(обязательное)

Валидация измерительной площадки для применения поглощающих клещей

B.1. Введение

Валидацию измерительной площадки для применения поглощающих клещей проводят с использованием основного метода калибровки (см. 4.3 и приложение Б) сравнением коэффициента калибровки CF, измеренного на опорной измерительной площадке, с коэффициентом калибровки CFin-situ, измеренным по месту установки (применения) поглощающих клещей.

B.2. Требования к оборудованию при валидации

Для создания заданного общего несимметричного тока в испытуемом проводе применяют основной метод калибровки. Вертикальная пластина заземления и испытуемый провод должны соответствовать требованиям Б.2.1 приложения Б. Следует учитывать, что на общий несимметричный ток в испытуемом проводе может влиять окружающая обстановка измерительной площадки, отличающаяся от обстановки опорной измерительной площадки (см. приложение Б).

B.3. Процедура измерений при валидации

Шаг 1 - измерение опорного значения мощности генератора

Вначале измеряют опорное значение выходной мощности генератора Рgen непосредственно через используемые кабели и аттенюатор с затуханием 10 дБ (см. рисунок В.1).

Шаг 2 - измерение коэффициента калибровки поглощающих клещей на измерительной площадке по месту установки

При той же выходной мощности генератора и применении аттенюатора с затуханием 10 дБ, используя установку, представленную на рисунке В.2, измеряют максимальную мощность на выходе поглощающих клещей Pref. При этом опорную точку поглощающих клещей (ОТК) позиционируют в направлении вертикальной пластины заземления. Вертикальную пластину заземления размещают в опорной точке направляющих (ОТН). Для того чтобы испытуемый провод проходил через центр трансформатора тока, применяют направляющую из непроводящего материала на корпусе поглощающих клещей (см. рисунок Б.2). Поглощающие клещи размещают так, чтобы расстояние между ОТК и вертикальной пластиной заземления было равно 150 мм. Испытуемый провод должен быть слегка натянут. Для этого применяют зажимные устройства из непроводящего материала на обоих концах направляющих. Выход анализатора цепей подключают к зажиму на вертикальной пластине заземления через аттенюатор с затуханием 10 дБ. Коаксиальный кабель, предназначенный для соединения поглощающих клещей с измерительным приемником, подключают ко входу анализатора цепей. Затухание площадки измеряют с шагом по частоте в соответствии с Б.2.1.2.

Поглощающие клещи и ВПУ перемещают из положения на расстоянии 150 мм до приблизительно 4,5 м от вертикальной пластины заземления. Скорость перемещения должна обеспечить проведение измерений затухания на каждой частоте при сдвиге поглощающих клещей менее чем на 10 мм.

Шаг 3 - вычисление коэффициента калибровки поглощающих клещей

Коэффициент калибровки клещей по месту установки CFin-situ определяют по формуле

CFin-situ = (Pgen - Pref) - 17.                                           (B.1)

Вычисление коэффициентов калибровки CForig и CFin-situ может быть проведено испытательной лабораторией, использующей поглощающие клещи или третьей стороной (калибровочной лабораторией).

B.4. Валидация измерительной площадки

Коэффициент калибровки поглощающих клещей CForig, полученный основным методом, следует сравнить с коэффициентом калибровки клещей по месту установки CFin-situ.

Критерий «проходит / не проходит» при валидации измерительной площадки задается уравнением (13) (см. 4.5.3), если измерения при валидации и процедуры калибровки (см. приложение B, пункт В.3, приложение Б, подпункт Б.2.1) проведены испытательной лабораторией, которой принадлежит измерительная площадка для применения поглощающих клещей, при условии, что выполняются требования к неопределенности измерений, приведенные в разделе В.5.

Если коэффициент калибровки поглощающих клещей определяется третьей стороной (калибровочной лабораторией), применяется измененный критерий «проходит / не проходит» при валидации измерительной площадки. Абсолютная величина разности значений коэффициентов калибровки поглощающих клещей, определяемая из уравнения (13), не должна превышать:

3 дБ - в полосе частот от 30 до 150 МГц;

(3 - 2,5) дБ - в полосе частот от 150 до 300 МГц;

2 дБ - в полосе частот от 300 до 1000 МГц.

В.5. Неопределенность измерений при валидации измерительной площадки

Неопределенность измерений при валидации измерительной площадки для применения поглощающих клещей зависит от следующих факторов:

- неопределенности, обусловленной измерительной аппаратурой;

- рассогласования между выходом поглощающих клещей (с аттенюатором затуханием 6 дБ и кабелем приемника) и измерительной аппаратурой;

- повторяемости результатов калибровки, зависящей от центровки испытуемого провода в трансформаторе тока и расположения кабеля, соединяющего клещи с измерительной аппаратурой.

При проведении валидации измерительной площадки разность значений коэффициентов калибровки поглощающих клещей считают допустимой, если она меньше значения неопределенности измерений.

а) Измерение мощности генератора

б) Установка для измерений мощности на выходе поглощающих клещей

Рисунок В.1 - Испытательная установка для измерения затухания площадки при валидации измерительной
площадки для применения поглощающих клещей

Приложение Г

(справочное)

Сведения о соответствии национальных стандартов Российской Федерации
ссылочным международным стандартам, использованным в настоящем стандарте
в качестве нормативных ссылок

Таблица Г.1

Обозначение ссылочного национального стандарта Российской Федерации

Обозначение и наименование ссылочного международного стандарта и условное обозначение его соответствия ссылочному национальному стандарту

ГОСТ Р 8.568-97

-

ГОСТ Р 51317.4.3-2006 (МЭК 61000-4-3:2005)

МЭК 61000-4-3:2006 «Электромагнитная совместимость (ЭМС) - Часть 4-3: Методы испытаний и измерений - Испытания на устойчивость к излученному радиочастотному электромагнитному полю» (MOD)

ГОСТ 51318.16.1.2:2007 (СИСПР 16-1-2:2006)

СИСПР 16-1-2 2003 «Требования к аппаратуре для измерения радиопомехи помехоустойчивости и методы измерений - Часть 1-2: Аппаратура для измерения радиопомех и помехоустойчивости - Вспомогательное оборудование - Кондуктивные помехи» (MOD)

ГОСТ Р 51318.16.4.2-2006 (СИСПР 16-4-2:2003)

СИСПР 16-4-2:2003 «Технические требования к аппаратуре для измерения радиопомех и помехоустойчивости и методы измерений - Часть 4-2: Неопределенности, статистика и моделирование норм - Неопределенность измерений в области ЭМС» (MOD)

ГОСТ Р 51319-99

СИСПР 16-1:1999 «Технические требования к аппаратуре для измерения радиопомех и помехоустойчивости и методы измерений - Часть 1: Аппаратура для измерения радиопомех и помехоустойчивости» (NEQ)

ГОСТ Р 51320-99

СИСПР 16-2:1996 «Технические требования к аппаратуре для измерения радиопомех и помехоустойчивости и методы измерений - Часть 2: Методы измерения радиопомех и помехоустойчивости» (NEQ)

ГОСТ 14777-76

МЭК 60050-161:1990 «Международный электротехнический словарь - Глава 161: Электромагнитная совместимость» (NEQ)

ГОСТ 30372-95

МЭК 60050-161:1990 «Международный электротехнический словарь - Глава 161: Электромагнитная совместимость» (NEQ)

Примечание - В настоящем стандарте использованы следующие условные обозначения степени соответствия стандартов:

MOD - модифицированные стандарты;

NEQ - неэквивалентные стандарты.

Библиография

[1]

МЭК 60050-161:1990

Международный электротехнический словарь - Глава 161: Электромагнитная совместимость

[2]

СИСПР 16-2-2:2003

Технические требования к аппаратуре для измерения радиопомех и помехоустойчивости и методы измерений - Часть 2-2: Методы измерений радиопомех и помехоустойчивости - Измерения мощности помех

[3]

СИСПР 16-1-4:2007

Технические требования к аппаратуре для измерения радиопомех и помехоустойчивости и методы измерений - Часть 1-4: Аппаратура для измерения радиопомехи помехоустойчивости - Вспомогательное оборудование - Излучаемые радиопомехи

 

Ключевые слова: электромагнитная совместимость, измерение мощности излучаемых индустриальных радиопомех, поглощающие клещи, измерительная площадка для применения поглощающих клещей, калибровка, валидация

 



© 2013 Ёшкин Кот :-)