Информационная система
«Ёшкин Кот»

XXXecatmenu

ГОСУДАРСТВЕННЫЙ
КОМИТЕТ
ПО ГРАЖДАНСКОМУ
СТРОИТЕЛЬСТВУ
И АРХИТЕКТУРЕ
ПРИ ГОССТРОЕ СССР

ЦЕНТРАЛЬНЫЙ
ОРДЕНА ТРУДОВОГО
КРАСНОГО ЗНАМЕНИ
НАУЧНО-ИССЛЕДОВАТЕЛЬСКИЙ
И ПРОЕКТНЫЙ ИНСТИТУТ
типового
И ЭКСПЕРИМЕНТАЛЬНОГО
ПРОЕКТИРОВАНИЯ
ЖИЛИЩА

ЦЕНТРАЛЬНЫЙ
НАУЧНО-ИССЛЕДОВАТЕЛЬСКИЙ
И ПРОЕКТНЫЙ ИНСТИТУТ
ТИПОВОГО
И ЭКСПЕРИМЕНТАЛЬНОГО
ПРОЕКТИРОВАНИЯ
ШКОЛ,
ДОШКОЛЬНЫХ УЧРЕЖДЕНИЙ,
СРЕДНИХ
И ВЫСШИХ
УЧЕБНЫХ ЗАВЕДЕНИЙ

НОРМАЛИ
ПЛАНИРОВОЧНЫХ
ЭЛЕМЕНТОВ
ЖИЛЫХ И ОБЩЕСТВЕННЫХ
ЗДАНИЙ

Выпуск НП 9.1-80

ЛЕСТНИЧНО-ЛИФТОВЫЕ УЗЛЫ
ЖИЛЫХ И ОБЩЕСТВЕННЫХ
ЗДАНИЙ
С НЕЗАДЫМЛЯЕМЫМИ
ЛЕСТНИЧНЫМИ КЛЕТКАМИ

МОСКВА СТРОЙИЗДАТ 1984

 

Содержатся требования к проектированию лестнично-лифтовых узлов жилых и общественных зданий с учетом комплекса требований противопожарной безопасности на путях эвакуации населения, защиты лестниц от задымления, планировочных решений вестибюлей, лифтовых холлов, вариантов блокировки лифтов, мусоропроводов, размещения абонентских почтовых шкафов в многоквартирных жилых домах.

Для архитекторов и инженерно-технических работников проектных организаций.

Рекомендованы к изданию секцией архитектуры научно-технического совета ЦНИИЭП жилища.

Серия нормалей планировочных элементов жилых и общественных зданий разрабатывается в развитие норм проектирования в соответствии со СНиП. Ведущие организации по разработке темы - ЦНИИЭП комплексов и зданий культуры, спорта и управления им. Б.С. Мезенцева, ЦНИИЭП торгово-бытовых зданий и туристских комплексов, ЦНИИЭП курортно-туристских зданий и комплексов, ЦНИИЭПграждансельстрой, КиевЗНИИЭП, ТбилЗНИИЭП, Гипронииздрав, МНИИТЭП ГлавАПУ Москвы.

Методическое руководство авторским коллективом по разработке серии нормалей и их редактирование осуществляет руководитель сектора методологии типового проектирования жилища ЦНИИЭП жилища канд. архит. Е.С. Раева.

Выпуск НП 9.1-80 «Лестнично-лифтовые узлы жилых и общественных зданий с незадымляемыми лестничными клетками» разработан отделом типологии и нормирования жилища, сектором методологии типового проектирования жилища совместно с лабораторией теплового и воздушного режима, техническим отделом ЦНИИЭП жилища, лабораторией огнестойкости общественных зданий ЦНИИЭП учебных зданий, отделом комплексов и зданий управления и информации ЦНИИЭП комплексов и зданий культуры, спорта и управления им. Б.С. Мезенцева.

Руководители работы - канд. архит. Е.С. Раева, канд. техн. наук Л.Е. Герке, канд. архит. А.И. Опочинская.

Авторы листов: канд. архит. Б.Ю. Бранденбург (листы 6 - 11, 19, 20), канд. техн. наук Л.Е. Герке и архит. Я.С. Жарнова (листы 24 - 34), архит. В.И. Купченков (листы 24 - 34), архит А.Б. Казаков и инж. А.Д. Мареев (листы 2 - 5, 12 - 17, 20 - 23), инж. Р.К. Манашев (листы 6 - 11), канд. архит. Д.С. Меерсон (листы 1 - 11), архит. Т.И. Моргунова (листы 6 - 11, 20, 21), канд. арх. А.И. Опочинская (листы 24 - 34), канд. архит. Е.С. Раева (листы 1, 3, 5, 6 - 13, 18 - 23) канд. архит. О.А. Чистяков, канд. техн. наук И.С. Шаповалов (листы 6 - 11). В разработке выпуска принимали участие архитекторы Е.А. Глазнева, З.В. Меринова, техники-архитекторы Г.И. Игнатов и В.И. Гаврилина.

Нормали одобрены секцией архитектуры научно-технического совета ЦНИИЭП жилища 30 июня 1980 г. (протокол № 24) и Госгражданстроем 6 августа 1980 г. (приказ № 207).

Считать утратившими силу листы: 48 - 50, 52, 57 - 59, 64 - 70 в выпуске нормалей НП 1.1-75 «Помещения квартирных жилых домов для городского строительства» (М., Стройиздат, 1975). Следует пользоваться выпуском нормалей НП 9.1-80 «Лестнично-лифтовые узлы жилых и общественных зданий с незадымляемыми лестничными клетками». Выпуск нормалей действителен до введения с 1 января 1986 г. ГОСТ 5746-83 «Лифты электрические пассажирские. Основные параметры и размеры», утвержденного Госстроем СССР 21 июня 1983 г., взамен ГОСТ 5746-63, ГОСТ 8822-67, ГОСТ 13023-67, ГОСТ 22276-76 (см. приложение на с. 44 - 46).

ВВЕДЕНИЕ

Цель разработки нормалей - внедрение в проектирование и строительство прогрессивных функциональных и технических решений, а также совершенствование процесса проектирования. Нормали являются частью общей системы нормирования, типизации, унификации и стандартизации в жилищно-гражданском строительстве. Они содержат исходные нормативы, справочные данные, а также конкретные рекомендации, подготовленные на основе действующих норм проектирования и государственных стандартов в развитие глав СНиП. Нормали служат пособием по проектированию жилых и общественных зданий и издаются отдельными выпусками по видам и типам зданий или по основным группам помещений отдельных типов зданий.

Публикуемая Стройиздатом серия нормалей основных планировочных элементов состоит из следующих разделов:

1. Жилые здания.

2. Здания учебно-воспитательного назначения.

3. Торговые здания и предприятия общественного питания.

4. Предприятия хозяйственно-бытового и коммунального обслуживания.

5. Здания зрелищного, культурно-просветительного назначения и спортивные сооружения.

6. Здания лечебно-оздоровительного назначения и массового отдыха.

7. Здания научно-исследовательских институтов, проектных организаций, административные здания.

8. Здания санаторно-курортного назначения.

9. Функциональные объемно-планировочные элементы жилых и общественных зданий.

При разработке нормалей за основу приняты действующие нормативные документы, требования и условия, которые определяют объемно-планировочные решения и параметры нормализуемых помещений, элементов и оборудования:

нормы проектирования отдельных видов жилых и общественных зданий в соответствии с главами СНиП;

санитарные и противопожарные нормы проектирования зданий (СНиП и СН);

государственные стандарты мебели и оборудования;

единая модульная система в строительстве (ЕМС);

правила техники безопасности, относящиеся к оборудованию зданий;

общесоюзный Каталог индустриальных изделий;

действующие каталоги и рекомендации по типам и габаритам технологического, санитарно-технического и электротехнического оборудования, встроенной и передвижной мебели.

Степень нормализации планировочных элементов жилых и общественных зданий устанавливается в соответствии с функциональным назначением данного помещения. Предусматриваются три степени нормализации.

Первая степень нормализации объемно-планировочных элементов применяется для помещений со строго определенным функциональным или Технологическим процессом и применением стационарного оборудования, для чего должен быть установлен оптимальный вариант планировки. В этом случае нормализуется все помещение в целом (оборудование, мебель, основные функциональные зоны и планировочное решение). Например, санитарные узлы в жилых домах, школьные классы, спортзалы, больничные палаты, операционные, кинопроекционные.

Вторая степень нормализации распространяется на помещения с функциональным или технологическим процессом, допускающим варианты планировки и соответственно различные габариты помещений. При этом нормализуются функциональные зоны и даются различные примеры планировки помещений. Например, комнаты и кухни в жилых домах, зрительные залы, лечебные кабинеты в больницах и т.п.

Третья степень нормализации объемно-планировочных элементов относится к помещениям, в которых функциональный процесс не имеет строгой определенности. Нормируется только площадь помещения. Здесь целесообразна нормализация номенклатуры и типов оборудования и мебели, а также варианты планировки помещений. Например, фойе в клубах и кинотеатрах, помещения для дневного пребывания больных в больнице, гостиные и поэтажные холлы в гостиницах.

Состав нормалей в зависимости от принятой степени нормализации помещений может быть полным или неполным. В полный состав нормалей объемно-планировочных элементов входят:

схема функциональной взаимосвязи помещений (в соответствии с общей объемно-планировочной структурой зданий);

нормативные исходные данные;

антропометрические и эргономические данные;

номенклатура мебели и оборудования (со ссылками на соответствующие ГОСТы, ТУ, каталоги);

типы и габариты мебели (передвижной и встроенной) и оборудования (технологического, санитарно-технического, электротехнического и др.) со схематическими чертежами и размерами;

основные функциональные зоны (планы, разрезы или развертки стен с размещением мебели и оборудования);

функциональная или технологическая габаритная схема помещения (или объемно-планировочного элемента) с расположением оборудования и мебели с указанием их размеров и минимальных нормативных расстояний между предметами мебели и оборудования.

При первой степени нормализации объемно-планировочного элемента или при необходимости проектирования и эксплуатации данного помещения с учетом его специфики разрабатываются также разделы:

планировочные схемы помещений (применительно к основным конструктивным системам и унифицированным модульным параметрам);

схема расположения элементов инженерного оборудования помещений (санитарно-технического, электротехнического, слаботочного, технологического и др.);

требования к отделке помещений;

примеры планировки групп помещений или фрагментов зданий.

Нормали НП 9.1-80 «Лестнично-лифтовые узлы жилых и общественных зданий с незадымляемыми лестничными клетками» входят в состав серии нормалей планировочных элементов жилых и общественных зданий.

Нормалями предусматривается применение планировочных элементов для полносборного строительства зданий крупнопанельной и каркасной конструкции, а также зданий с несущими стенами из кирпича или блоков. Планировочные решения в основном рассчитаны на обычные условия строительства во II и III климатических районах СССР.

На схемах функциональных зон и на общих габаритных функциональных схемах указываются две категории размеров: размеры элементов оборудования и отдельные твердо установленные параметры; минимальные размеры со знаком « ³» (т.е. более или равно). На некоторых листах минимальные размеры оговорены примечанием, в этом случае знак « ³» опускается.

На схемах планировки помещений, разработанных применительно к основным конструктивным системам, указаны унифицированные модульные параметры с учетом опыта проектирования и рекомендаций научно-исследовательских институтов. На этих чертежах приводятся точные размеры всех элементов планировки и привязки конструктивных элементов к модульным разбивочным осям.

При разработке планировочных схем учтено требование СНиП о применении размеров продольных и поперечных шагов, кратных наиболее крупным из установленных производных модулей 60М и 30М (600 и 300 см), а в некоторых случаях, преимущественно для жилых зданий, кратных 12М (120 см). Применение модуля 6М (60 см) предусматривается до 720 см, а модуля 3М (30 см) - до 360 см (при обосновании - до 720 см).

Высота этажа жилых домов принимается равной 2,8 м (для некоторых районов СССР 3 м в соответствии со СНиП II-Л. 1-71*), общественных зданий - 3,3 м, зальных помещений - кратной 6М (60 см).

Размеры на чертежах планировочных нормалей указаны в см, размеры на чертежах оборудования - в мм.

Для маркировки разделов и выпусков нормалей приняты следующие буквенные и цифровые обозначения: НП - нормали планировочные. Следующие цифры означают: первая - порядковый номер раздела, который включает группу видов зданий, объединяемых по однородным функциональным признакам, вторая - порядковый номер главы, которая включает определенный вид зданий. После дефиса указан год утверждения нормалей. Например, маркой НП 1.2-78 обозначено:

НП - нормали планировочные;

1 - нормали основных помещений жилых зданий;

1.2 - помещения жилой части гостиниц;

78 - год утверждения.

Внутри каждого выпуска листы нормалей имеют свои порядковые номера.

Публикацией настоящего выпуска НП 9.1-80 начинается разработка нового раздела серии нормалей:

9 - функциональные объемно-планировочные элементы, общие для жилых и общественных зданий;

9.1 - лестнично-лифтовые узлы жилых и общественных зданий с незадымляемыми лестничными клетками;

80 - год утверждения.

* * *

Решения, принятые XXVI съездом КПСС, ставят конкретные задачи в области дальнейшего развития градостроительства, совершенствования жилища.

В одиннадцатой пятилетке предусматривается ввод в действие жилых домов общей площадью 530 - 540 млн.м2. Программа государственного жилищного строительства в СССР включает значительный объем зданий повышенной этажности. Проектирование их отражает новый качественный уровень гражданского строительства. Комфорт для людей, проживающих в многоэтажных жилых домах, общежитиях и гостиницах, в большой мере зависит от удобных вестибюлей и лестниц, хороших лифтов, надежных путей аварийной эвакуации и других видов благоустройства, непосредственно связанных с узлом вертикальных транспортных коммуникаций в здании.

По функциональному значению и по планировочной структуре лестнично-лифтовой узел - сложный комплексный элемент многоэтажного жилого дома или общественного здания, значение которого вырастает по мере увеличения этажности. Лестнично-лифтовый узел в комплексе с другими внеквартирными помещениями образует строго закономерную систему вертикальных и горизонтальных транспортных коммуникаций. Он является центральным ядром планировочной организации здания и связующим стержнем объемной композиции. Решать его требуется с учетом совокупности архитектурно-строительных, функциональных, технико-экономических и противопожарных требований.

Тип лестнично-лифтового узла, организация функциональных зон этого объемно-планировочного элемента, состав, число и габариты оборудования зависят от типа жилого дома, планировочного решения здания, его этажности, заселенности этажа и его площади, числа квартир, противопожарных требований и других факторов. Особая сложность проектирования лестнично-лифтового узла состоит в том, что одновременно следует разрабатывать объемно-планировочное решение первого этажа, типового этажа и верхнего этажа на уровне входа в машинное помещение лифтов в их взаимосвязи.

Рациональное решение лестнично-лифтового узла в большинстве случаев должно включать общую планировочную организацию незадымляемой лестницы, лифтов, а в жилых домах также мусоропровода и вестибюля с размещением абонентских почтовых шкафов, а также и помещений колясочных. При этом наряду с учетом стандартных габаритов лифтовых шахт, соблюдением нормированных минимальных размеров ширины маршей, площадок и проходов следует также строго соблюдать санитарные и противопожарные требования, обращать внимание на удобство расположения машинного помещения лифтов, а в жилых домах - на целесообразность устройства мусоросборных камер в первом этаже, на достаточную изоляцию входной двери в дом от двери мусорокамеры.

Планировка лестнично-лифтовых узлов для жилых домов, общежитий и гостиниц, имеющих 10 этажей и более, значительно усложняется, так как в этом случае требуется применять незадымляемые лестницы, предусматривать поэтажные переходы на лестницу через балконы или лоджии, а в первом этаже обеспечить непосредственный эвакуационный выход из лестничной клетки во внешнюю среду и дополнительно переход через тамбур с подпором воздуха в вестибюль для повседневного пользования лестницей.

В 1981 - 1985 гг. предусматривается увеличение объема строительства жилых зданий высотой 10 этажей и более, в том числе и общежитий для студентов, рабочих и служащих. Так, например, в 1978 г. строительство жилых зданий высотой 10 этажей и выше составляло по СССР 8,4 % введенной в действие общей площади жилых домов в городах и сельской местности, а в 1985 г. ориентировочно по плану оно составит 10 %. Следовательно, актуальность разработки планировочных элементов лестнично-лифтовых узлов многоэтажных жилых зданий, общежитий, гостиниц с незадымляемыми лестничными клетками с каждым годом возрастает.

Требования противопожарной безопасности постоянно повышаются. Госстрой СССР 9 декабря 1977 г. принял постановление № 194, в котором ряд пунктов СНиП II-Л.1-71* регламентирующих противопожарные требования, были исключены или даны в другой редакции, ужесточающей противопожарные требования.

В ноябре 1978 г. в Киеве состоялась Всесоюзная научно-практическая конференция на тему «Обеспечение безопасности людей при пожарах». В числе мероприятий Госгражданстроя по выполнению решения всесоюзной конференции предусмотрена разработка нормалей лестнично-лифтовых узлов жилых и общественных зданий с незадымляемыми лестничными клетками.

Данный выпуск нормалей включает нормативно-справочные материалы, планировочные нормали и примеры проектирования лестнично-лифтовых узлов с незадымляемыми лестничными клетками в зданиях жилых домов, общежитий, гостиниц, а также в зданиях управлений, проектных и научных организаций высотою 10 этажей и более. Нормативные требования в отношении основных параметров и размеров лестниц, защиты их от задымления и типы лестниц в зависимости от назначения, вместимости и этажности жилых и общественных зданий даны в полном соответствии с главами СНиП II-Л.1-71*, СНиП II-79-78, СНиП II-84-78, СНиП II-2-80, СНиП II-Л.2-72*.

В выпуске нормалей отражена взаимосвязь лестниц с холлами и коридорами, указаны минимальная ширина и предельная длина последних, а также выходы на дополнительные эвакуационные пути. Номенклатура, типы и параметры пассажирских лифтов даны на основании ГОСТ 5746-67 «Лифты пассажирские обычные» и ГОСТ 13023-67 «Лифты пассажирские скоростные», при этом учтены изменения и дополнения, опубликованные в Информационном указателе государственных стандартов СССР (ИУС, 1970, № 6). Основные параметры кабин, лифтовых шахт представлены на чертежах габаритных схем по каждому типу лифта. В выпуске нормалей даны варианты блокировки лифтов, площадки перед лифтами, расположение кабин и дверей в шахтах лифтов.

При детальной разработке строительных чертежей необходимо руководствоваться указаниями, изложенными в «Альбоме заданий на проектирование строительной части лифтовых установок (типовых конструкций лифтов)» АТ-6-00-001, выпушенном в 1979 г. Центральным проектно-конструкторским бюро Союзлифтмаш Министерства строительного, дорожного и коммунального машиностроения СССР. В 1971 г. изданы обязательные для всех министерств и ведомств «Правила устройства и безопасной эксплуатации лифтов», в которых, в частности, имеются указания, касающиеся проектировки шахт, машинных помещений и их оборудования.

Союзлифтмаш выпускает и поставляет потребителям пассажирские лифты грузоподъемностью 320 и 500 кг, освоенные промышленностью до введения действующего ГОСТа. По ходатайству Минстройдормаша СССР Госстрой СССР срок поставки таких лифтов продлил до 1 января 1986 г. Однако, в целях соблюдения единства типоразмеров сборных элементов лифтовых шахт размеры последних, так же как и размеры машинных помещений, следует предусматривать в соответствии с действующим ГОСТ 5746-67. Суммарную ширину лестничных маршей, дверей и проходов на путях эвакуации в многоэтажных жилых и общественных зданиях необходимо определять по нормам главы СНиП II-2-80.

В планировке лестнично-лифтовых узлов должны быть учтены противопожарные требования к устройству и расположению лестниц с переходом в них через наружную воздушную зону, а также приняты меры по устранению ряда практических неудобств (бесконтрольность наружного входа и выхода из лестничной клетки, охлаждение лестниц и поэтажных лифтовых холлов, выпадение стекол в дверях переходных тамбуров под воздействием ветра и др.).

Жилые здания. В соответствии со СНиП II-Л.1-71* в жилых домах и зданиях общежитий высотой 10 этажей и более надлежит проектировать незадымляемые лестничные клетки. В домах секционного типа из каждой квартиры следует предусматривать выход на одну незадымляемую лестничную клетку. При этом для всех квартир, расположенных на шестом этаже и выше, следует предусматривать балкон или лоджию с простенком шириной не менее 120 см. Для обеспечения незадымляемости лестничных клеток следует предусматривать поэтажные входы в них с дверями через лоджии или балконы.

В общежитиях и квартирных домах коридорного и галерейного типов высотой 10 этажей и более с жилой площадью в этаже более 300 м2 общие коридоры или галереи должны иметь выходы не менее чем на две незадымляемые лестницы. В одной из незадымляемых лестничных клеток допускается устройство поэтажных входов в нее из коридоров. Эта лестничная клетка должна быть разделена в середине высоты здания на высоту этажа несгораемой стенкой с пределом огнестойкости не менее 0,75 ч и обеспечена подпором воздуха не менее 20 Па (2 кгс/м2) при одной открытой двери. Общие коридоры длиной 60 м и более независимо от этажности здания должны разделяться перегородками с самозакрывающимися дверями, располагаемыми на расстоянии не более 30 м одна от другой.

Примечание. Квартирные дома коридорного и галерейного типов и общежития коридорного, галерейного и секционного типов высотой 10 этажей и более с жилой площадью в каждом этаже дома или секции общежития не более 300 м2 допускается проектировать с одной незадымляемой лестничной клеткой. При этом в торцах коридорных зданий следует предусматривать общие балконы для всех квартир или жилых комнат общежития, соединенные наружными эвакуационными лестницами: в квартирных домах - до отметки пола пятого этажа, а в общежитиях - до отметки пола второго этажа. В общежитиях секционного типа должны предусматриваться переходные балконы в смежные секции или выходы на наружные лестницы, располагаемые рассредоточенно, не менее двух для каждой секции. Выходы на наружные лестницы следует предусматривать из помещений общего пользования (комнат для занятий, комнат отдыха, кухонь и коридоров).

В зданиях высотой 10 этажей и более для удаления дыма из поэтажных коридоров и холлов необходимо предусматривать устройство вентиляционных шахт с принудительной вытяжкой и клапанами на каждом этаже. Производительность вентиляторов, сечение шахт и клапанов определяются расчетом. Открывание клапанов и включение вентиляторов предусматриваются автоматически от специальных преобразователей (датчиков) и дистанционно - от кнопок, установленных на каждом этаже в шкафах пожарных кранов. Для предотвращения распространения дыма по этажам в шахтах лифтов, а также в лестничных клетках с поэтажными входами в них из коридоров в общежитиях и квартирных домах коридорного и галерейного типов следует обеспечивать подпор воздуха не менее 20 Па (2 кгс/м2) при одной открытой двери.

Незадымляемые лестничные клетки в пределах первого этажа должны иметь выходы непосредственно наружу и через вестибюли. Выход из лестничных клеток в вестибюль может быть предусмотрен через проход, открытый во внешнюю среду, или через тамбур-шлюз с самозакрывающимися дверями и уплотненными притворами, при этом в тамбуре-шлюзе должен быть обеспечен подпор воздуха давлением не менее 20 Па (2 кгс/м2). Двери поэтажных тамбуров лифтовых холлов или коридоров, ведущие на балконы или лоджии, должны быть самозакрывающимися, глухими или с остеклением и уплотняющими прокладками в притворах. Лифтовые холлы или площадки перед лифтами должны отделяться от поэтажных коридоров перегородками с самозакрывающимися дверями и уплотненными притворами. Балконы или лоджии при незадымляемых лестничных клетках должны иметь ограждения высотой 120 см.

В стенах незадымляемых лестничных клеток, смежных с поэтажными вестибюлями, общими коридорами или галереями, устройство открытых проемов не допускается. Допускается устройство световых проемов, заполненных стеклоблоками. Нижняя отметка светового проема должна быть не менее 120 см от уровня площадки или марша.

Лестничные клетки должны быть отапливаемыми. Допускается предусматривать неотапливаемые лестничные клетки в жилых домах для IV климатического района и IIIБ климатического подрайона и незадымляемые лестничные клетки в жилых домах для всех климатических районов.

В жилых домах, проектируемых для I, II и III климатических районов, в первом этаже при всех наружных входах в отапливаемые лестничные клетки следует предусматривать тамбуры глубиной не менее 120 см. Двойные входные тамбуры в здания следует предусматривать в зависимости от этажности и районов строительства согласно данным, приведенным ниже.

Средняя температура наиболее холодной пятидневки, °С

До -20

Ниже -20 до -25

Ниже -26 до -35

Ниже -36 до -40

Ниже -41

Двойной тамбур в здании с числом этажей

³ 16

³ 12

³ 9

³ 4

³ 1

Примечание. При реконструкции жилых зданий в I, II и III климатических районах и невозможности устройства тамбуров следует предусматривать двойные двери, оборудованные прокладками и устройствами, обеспечивающими бесшумное и плотное закрывание дверей. Такие же устройства допускается предусматривать в незадымляемых лестничных клетках при входах через наружную воздушную зону.

В жилых домах для IV климатического района и IIIБ климатического подрайона допускается устройство частично огражденных стенами лестничных клеток, а также наружных открытых лестниц с ограждением высотой не менее 120 см.

Наибольшие расстояния от входов в квартиры или комнаты общежитий до ближайшего выхода наружу или в ближайшую лестничную клетку следует принимать согласно табл. 1.

Таблица 1. Допускаемые наибольшие расстояния от входа в квартиру или комнату общежития до выхода наружу или в лестничную клетку

Степень огнестойкости

Наибольшее расстояние до выхода из квартир или комнат общежитий, м

расположенных между лестничными клетками или наружными выходами

имеющих выходы в тупиковый коридор или галерею

I

40

25

II

40

25

III

30

20

IV

25

15

V

20

10

Наружные пожарные эвакуационные лестницы с балкона на балкон или с лоджии на лоджию предусматриваются шириной не менее 60 см, угол наклона лестницы не должен превышать 60°. Люк, предусматриваемый в плите балкона или лоджии для эвакуации, должен иметь размер не менее 60´60 см.

Примечание. В квартирных домах допускается предусматривать вертикальные лестницы, закрепляемые в наружной стене здания.

Ширина общего коридора между лестницами или между торцом коридора и лестницей должна быть не менее: при длине до 40 м - 140 см, при длине более 40 м - 160 см. Ширина общей галереи должна быть не менее 120 см.

Двери выходов наружу из лестничных клеток, а также двери выходов из общих коридоров должны открываться по направлению выхода из здания. Входные двери в здания должны быть оборудованы приборами, обеспечивающими принудительное и бесшумное закрытие (самозакрывающиеся). Входные двери в квартиры и двери, ведущие на крышу, должны быть с уплотняющими прокладками в притворах.

Примечание. В зданиях, проектируемых для I климатического района, допускается предусматривать наружные двери, открывающиеся внутрь здания.

Устройство раздвижных и вращающихся дверей на путях эвакуации не допускается. Двери из общих коридоров, ведущие в лестничную клетку, надлежит проектировать самозакрывающимися с уплотняющими прокладками в притворах.

Общественные здания. В соответствии с главой СНиП II-Л.2-72* «Общественные здания и сооружения. Нормы проектирования. Общая часть» к проектированию общественных зданий высотой 10 - 16 этажей предъявляются дополнительные требования. В зданиях высотой 10 этажей и более одну из двух лестничных клеток или 50 % лестничных клеток при большем их числе следует предусматривать незадымляемыми. Остальные 50 % лестничных клеток здания допускается предусматривать обычного типа при условии устройства несгораемых стенок-рассечек с пределом огнестойкости не менее 0,75 ч, которые устанавливаются не реже чем через восемь этажей.

Незадымляемые лестничные клетки следует проектировать с поэтажными входами через наружную воздушную зону по балконам или лоджиям, имеющим протяженность по фасаду не менее 2,5 м. Допускается проектировать незадымляемые лестничные клетки со входами непосредственно из поэтажных коридоров и холлов, при этом лестничные клетки должны быть разделены в середине высоты здания на высоту этажа несгораемой стенкой с пределом огнестойкости не менее 0,75 ч. Незадымляемость таких лестничных клеток обеспечивается созданием подпора воздуха не менее 20 Па (2 кгс/м2) при одной открытой двери. Эти лестничные клетки следует проектировать без естественного освещения, предусматривая устройство аварийного искусственного освещения с автоматическим включением.

Примечание. Балконы или лоджии, ведущие к незадымляемым лестничным клеткам, должны иметь ограждения высотой 120 см.

Незадымляемые лестничные клетки в пределах первого этажа должны иметь выходы наружу непосредственно или через отдельный проход. Допускается проектирование такого выхода в вестибюль через шлюз с самозакрывающимися дверями и уплотненными притворами. При этом в шлюзе должен быть обеспечен воздушный подпор не менее 20 Па (2 кгс/м2).

Машинные помещения лифтов должны быть ограждены стенами (перегородками) и перекрытиями из несгораемых материалов с пределом огнестойкости не менее 0,75 ч. Отделка стен и потолков машинных помещений должна быть выполнена из несгораемых материалов. Двери машинных помещений лифтов должны быть несгораемыми или трудносгораемыми и иметь предел огнестойкости не менее 0,6 ч. Шахты, машинные помещения малых грузовых и магазинных лифтов грузоподъемностью до 100 кг, соединяющих не более двух этажей, допускается выполнять из несгораемых материалов с пределом огнестойкости не менее 0,25 ч. Конструкции лифтовых шахт зданий высотой 10 - 16 этажей должны обеспечивать незадымляемость этажей зданий путем подачи наружного воздуха в шахты лифтов для создания подпора не менее 20 Па (2 кгс/м2). При расчете следует принимать одну дверь в шахте лифта открытой.

Предусматривать открытые проемы в стенах незадымляемых лестничных клеток, смежных с поэтажными холлами, коридорами или фойе, не допускается. Допускается предусматривать устройство проемов, заполненных стеклоблоками. Нижняя отметка проема должна быть не менее 120 см от уровня площадки или марша.

Для удаления дыма из поэтажных коридоров и холлов зданий высотой 10 - 16 этажей следует проектировать вентиляционные шахты с принудительной вытяжкой и клапанами, предусматриваемыми на каждом этаже. Подача вентиляторов, сечение шахт и клапанов определяются расчетом. Открывание клапанов и включение вентиляторов предусматриваются автоматически от специальных преобразователей (датчиков) и дистанционно от кнопок на каждом этаже.

При разработке нормалей использованы результаты работ лаборатории противодымной защиты ВНИИПО МВД СССР.

Раздел I

ОБЩИЕ СВЕДЕНИЯ О ЛЕСТНИЦАХ И ЛИФТАХ

(листы 1 - 5)

Защита лестниц от задымления

Незадымляемая лестница с поэтажными переходами через наружную зону

Описание: iii

Закрытая лестница с разделением по высоте на противодымные отсеки с подпором воздуха

Описание: iii

Å - условное обозначение избыточного давления в объеме (см. листы 1 - 34)

1 - несгораемая перегородка (через каждые пять - восемь этажей); 2 - канал для подпора воздуха

Лестницы проектируются, как правило, с естественным освещением. В стенах незадымляемых лестничных клеток, смежных с поэтажными вестибюлями, общими коридорами или галереями, устройство открытых проемов не допускается. Допускается устройство световых проемов, заполненных стеклоблоками, при этом нижняя отметка светового проема должна быть не менее 120 см от уровня площадки или марша.

Незадымляемые лестничные клетки в первом этаже должны иметь выходы непосредственно наружу и через проход, открытый во внешнюю среду, или шлюз с обеспечением в нем при пожаре воздушного подпора давлением не менее 20 Па (2 кгс/м2).

Типы и число лифтов и лестниц, ширину маршей и площадок следует принимать по расчету.

Но - координационная высота этажа; координационная высота марша (высота вертикальной проекции); lом - координационная длина марша (длина горизонтальной проекции); lоп - координационная длина этажной и промежуточной площадок; bоп - координационная ширина этажной площадки; b'оп - координационная ширина промежуточной площадки; bом - координационная ширина марша.

Размеры элементов лестниц

Координационные размеры, мм

Длина горизонтальной проекции марша lом

2100, 2400, 2700, 3000, 3300, 3600, 3900

Высота вертикальной проекции марша hом

1200, 1400, 1500, 1650, 1800, 2100

Длина площадок lоп

2400, 3000, 3600, 4200, 4800, 5400, 6000

Примечание. Координационная ширина маршей bом и площадок в bоп, b'оп определяется в зависимости от принятых координационных размеров лестничных проемов, а также от размеров, приведенных в таблице.

Схема лестницы

Описание: iii

ОСНОВНЫЕ ПАРАМЕТРЫ ЛЕСТНИЦ

Лестницы проектируют в соответствии с ГОСТ 9818.0-81 «Марши и площадки лестниц железобетонные. Общие технические условия». Марши, площадки и накладные проступи следует изготовлять для лестниц, по которым движение при подъеме осуществляется против часовой стрелки. Допускается изготовлять эти элементы для лестниц, по которым движение при подъеме осуществляется по часовой стрелке.

Основные координационные размеры маршей и площадок (см. рисунок на листе 2) следует принимать по приводимой выше таблице. Координационные размеры, отличающиеся от приведенных в таблице, допускается принимать для маршей типа ЛМП (ребристые с полуплощадками) в зданиях, рассчитанных на сейсмичность 7 баллов и более.

Конструктивную длину и ширину площадок следует принимать равными соответствующему координационному размеру, уменьшенному (или увеличенному) на значение, зависящее от способа опирания площадок на стены или другие конструктивные элементы здания, согласно общим правилам определения конструктивных размеров по СТ СЭВ 1001-75. Толщину площадок следует принимать кратной 20 мм.

Расчетные временные нагрузки (при коэффициенте надежности по нагрузке n = 1,2 и без учета собственного веса) на марши и площадки, предназначенные для применения в лестницах жилых зданий, 3,5 кПа (360 кгс/м2); общественных зданий - 3,5 (360) или 4,7 кПа (480 кгс/м2); зданий промышленных предприятий - 4,7 кПа (480 кгс/ м2).

В случаях, предусмотренных проектом здания, марши и площадки должны иметь выступы, вырезы, углубления, закладные изделия и другие конструктивные элементы, предназначенные для их опирания и крепления; отверстия для пропуска мусоропроводов, трубопроводов и других инженерных коммуникаций; внутренние каналы или замоноличенные трубки и закладные изделия для крепления светильников. В элементах лестниц высшей категории качества, предназначенных для размещения скрытой сменяемой электропроводки, следует применять замоноличенные пластмассовые трубки.

Марши и площадки изготовляют с закладными изделиями, располагаемыми на их боковых поверхностях, для крепления металлических ограждений. Допускается изготовлять марши и площадки с гнездами (вместо закладных изделий) для крепления стоек ограждения.

ЛЕСТНИЦЫ ЖИЛЫХ ЗДАНИЙ

Описание: iii

Для общественных зданий уклон основных лестниц не должен превышать 1:2. Уклон лестниц в подвальные и цокольные этажи, а также на чердак не должен превышать 1:1,5.

В жилых зданиях число ступеней (подъемов) в одном марше лестниц должно быть не менее 3 и не более 18. Между маршами лестниц должен быть зазор шириной не менее 10 см.

Число ступеней в первом марше лестницы зависит от отметки пола первого этажа над планировочной отметкой земли. При необходимости устраивается выносной тамбур.

В зданиях высотой до пяти этажей включительно допускается устройство входов на чердаки с лестничных клеток через люки размером не менее 60´80 см по закрепленным металлическим стремянкам.

Типы и параметры обычных пассажирских лифтов по ГОСТ 5746-67

Основные параметры лифтов

Характеристика основных параметров лифтов

Номинальная грузоподъемность, кг

Примечание

320

500

1000

Скорость, м/с

0,71

1,4

1,4

1,4

В значение номинальной грузоподъемности лифта масса кабины не входит. В общую номенклатуру лифтов по ГОСТ 5746-67 включены грузопассажирские лифты с увеличенными размерами кабин для подъема и спуска пассажиров, мебели и др. Такие лифты имеют грузоподъемность 500 кг и скорость движения кабины 1 и 1,4 м/с

Наибольшая высота подъема, м

45

75

100

75

100

75

100

Число остановок кабины не более

9

16

24

16

24

16

24

Вместимость кабины, чел.

4

4

4

6

6

12

12

Тип кабины

Непроходная с раздвижными автоматическими дверями

Тип шахты

Глухая с раздвижными автоматическими дверями

Расположение противовеса

Сзади или сбоку кабины

Сзади кабины

Расположение машинного помещения

Вверху над шахтой

Система управления лифтами: при грузоподъемности лифта 320 кг и скорости 0,71 м/с - кнопочная внутренняя с вызовом порожней кабины на любой этаж; при грузоподъемности лифта 320 кг и скорости 1 и 1,4 м/с - кнопочная внутренняя с вызовом порожней кабины на любой этаж с попутными остановками по вызовам при движении кабины вниз; при грузоподъемности лифта 500 и 1000 кг - кнопочная внутренняя с вызовом порожней кабины на любой этаж с попутными остановками по вызовам при движении кабины вниз или кнопочная внутренняя собирательная по приказам и вызовам при движении кабины вверх и вниз.

Расположение кабин и дверей в шахтах лифтов см. на листах 4 и 5.

Основные размеры шахт, кабин и дверей лифтов

Пассажирские лифты

Грузоподъемность 320 кг, скорость 0,71, 1 и 1,4 м/с

Описание: iii

Грузоподъемность 500 кг, скорость 1 и 1,4 м/с

Описание: iii

Грузоподъемность 1000 кг, скорость 1 и 1,4 м/с

Описание: iii

Грузопассажирские лифты

Грузоподъемность 500 кг, скорость 1 и 1,4 м/с

Описание: iii

Примечания: 1. Основные размеры шахт, кабин и дверей лифтов даны по ГОСТ 5746-67. Размеры в скобках относятся к лифтам, выпускаемым промышленностью до 1.01.1986 г. на основании письма Госстроя СССР от 09.07.1979 г. № НК-350-1-1 (во изменение прим. 4 к табл. 2 ГОСТ 5746-67) и «Альбома заданий на проектирование строительной части лифтовых установок» АТ-6.00-001

2. Предельные отклонения от проектных размеров по ширине и глубине шахты не должны превышать +30 мм, отрицательные отклонения не допускаются.

3. Допускаемая разность диагоналей шахты в плане не более 25 мм.

4. Рекомендуется применять объемные железобетонные элементы лифтовых шахт по Общесоюзному каталогу индустриальных изделий.

Типы и параметры скоростных пассажирских лифтов по ГОСТ 13023-67

Основные параметры лифтов

Номинальная грузоподъемность, кг

Примечание

1000

1600

Скорость, м/с

2; 2,8; 4

2; 2,8; 4

В номинальную грузоподъемность лифта масса кабины не входит.

Лифт со скоростью 2,8 м/с введен дополнительно (см. Информационный указатель государственных стандартов - ИУС, 1970, № 6). Все его параметры одинаковы с лифтами, имеющими скорость 2 и 4 м/с, только высота от пола верхней остановки до потолка шахты должна быть не менее 520 см, а глубина приямка не менее 400 см

Наибольшая высота подъема, м,

150

150

Число остановок кабины, не более

40

40

Вместимость кабины, чел.

12

20

Тип кабины

Непроходная с раздвижными автоматическими дверями

Тип шахты

Глухая с раздвижными автоматическими дверями

Расположение противовеса

Сзади кабины

Расположение машинного и блочного помещений

Вверху над шахтой

Система управления лифтами

Кнопочная внутренняя собирательная по приказам и вызовам при движении кабины вверх и вниз или (для лифта грузоподъемностью 1000 кг) кнопочная собирательная с вызовом порожней кабины на любой этаж и с попутными остановками по вызовам при движении кабины вниз

Грузоподъемность 1000 кг, скорость 2, 2,8 и 4 м/с

Описание: iii

Грузоподъемность 1600 кг, скорость 1, 2,8 и 4 м/с

Описание: iii

Применение дорогостоящих скоростных лифтов, работающих только на постоянном токе, оправдывается лишь в зданиях, например гостиницах, повышенной этажности (25 этажей и более) с введением экспрессных зон.

Раздел II

ЖИЛЫЕ ДОМА И ОБЩЕЖИТИЯ

(листы 6 - 18)

1 - незадымляемая лестничная клетка с проходом через воздушную зону (лоджия или балкон); 2 - незадымляемая лестничная клетка с подпором воздуха 20 Па (2 кгс/м2) и рассечкой с пределом огнестойкости 0,75 ч через пять - восемь этажей; 3 - открытая лестничная клетка с решетчатым ограждением; 4 - лоджия; 5 - балкон; 6 - тамбур; 7 - лифтовый холл в зоне остановки лифта; 8 - вентиляционные шахты с принудительной вытяжкой на каждом этаже для удаления дыма из поэтажных коридоров и холлов. Месторасположение и размеры шахт дымоудаления показаны условно и определяются по расчету; 9 - наружная эвакуационная лестница

Противопожарные требования

Требуется осуществлять следующие дополнительные противопожарные мероприятия:

а) балконы или лоджии, устраиваемые во всех квартирах, начиная с 6-го этажа и выше (к схеме 1, 3) с простенком не менее 120 см;

б) переходы в смежную секцию, устраиваемые по балконам или лоджиям, начиная с 6-го этажа и выше (к схемам 1, 3);

в) вентиляционные шахты с принудительной вытяжкой на каждом этаже для удаления дыма из поэтажных коридоров и холлов;

г) в торцах предусматривать общие балконы, соединенные наружными эвакуационными лестницами в жилых домах до отметки пола 5-го этажа, а в общежитиях - до отметки пола 2-го этажа (к схеме 6).

Примечание. Ширина общего коридора при длине до 40 м - не менее 140 см, при длине более 40 м - не менее 160 см.

Примеры планировочных решений лестнично-лифтовых узлов см. на листах 7 - 11.

Схемы планировочных решений. Пути эвакуации

Закрытые лестницы с проходом через наружную зону

Описание: iii

Открытые лестницы

Описание: iii

Незадымляемые лестницы с проходом через наружную зону и с подпором воздуха

Описание: iii

Незадымляемые лестницы с проходом через наружную зону

Типовой этаж

Описание: iii

Первый этаж

Описание: iii

Примечания: 1. В жилых домах, проектируемых для I, II и III климатических районов, в первом этаже при всех наружных входах в отапливаемые лестничные клетки следует предусматривать тамбуры глубиной не менее 120 см. Двойные входные тамбуры в здания следует предусматривать в зависимости от этажности и районов строительства согласно данным, приведенным на стр. 8.

При реконструкции жилых зданий в I, II и III климатических районах и невозможности устройства тамбуров следует предусматривать двойные двери, оборудованные прокладками и устройствами, которые обеспечивают бесшумное и плотное закрывание дверей. Такие же устройства допускается предусматривать в незадымляемых лестничных клетках при входах через наружную воздушную зону.

2. Толщина несущих стен здания и стен железобетонных блоков шахт лифтов для зданий высотой 10 этажей и более определяется по расчету.

На листах 7 - 11 для 16-этажных зданий условно приняты: размер привязки наружных стен крупнопанельных зданий от продольной оси до внутренней грани стен 10 см; толщина несущих внутренних стен крупнопанельных зданий 18 см; толщина стен сборных железобетонных блоков шахт лифтов 12 см, а стен с дверным проемом 10 см.

Внутренние размеры шахт лифтов включают предельные отклонения от проектных размеров по ширине и глубине шахты +30 мм. Отрицательные отклонения не допускаются (по ГОСТ 5746-67).

В соответствии с ГОСТ 5746-67 и АТ-6.00-001 отклонения стен шахты от вертикальной плоскости не должны превышать 15 мм при высоте подъема кабины до 45 м; 20 мм - свыше 45 и до 75 м; 30 мм - свыше 75 и до 150 м.

3. См. примечания на листах 8 и 9.

В практике проектирования в лестнично-лифтовых узлах с продольным шагом поперечных несущих стен 6 м, включающих группу из двух лифтов грузоподъемностью 320 и 500 кг и незадымляемую лестницу с проходом через наружную воздушную зону (см. также лист 7), нормируемая ширина площадки перед грузопассажирским лифтом грузоподъемностью 500 кг принимается 160 см.

Натурные обследования и эксперимент, проведенные ЦНИИЭП жилища совместно с МНИИТЭП и службой скорой медицинской помощи Москвы в 16-этажных жилых домах массовых серий П-44/16, П-3/16, П-62 (0-1-16) и жилых домах серий И-700, МГ-601 показали, что для транспортирования больных необходимо использовать санитарные носилки типа 1-1860 (ГОСТ 16940-74*) с выдвижными рукоятками. Такими носилками оснащены автомашины скорой помощи. Установлено, что в указанных жилых домах функциональный размер площадки 160 см перед грузопассажирским лифтом грузоподъемностью 500 кг с дверью шириной 120 см, расположенной с широкой стороны кабины, допускается принимать от плоскости двери шахты лифта до противоположной стены.

Общие коридоры длиной 60 м и более должны разделяться перегородками с самозакрывающимися дверями, располагаемыми на расстоянии не более 30 м одна от другой (см. листы 8, 11).

Незадымляемые лестницы с проходом через наружную зону

Типовой этаж

Описание: iii

Описание: iii

Примечания: 1. Шахты лифтов не должны примыкать к стенам, ограждающим жилые комнаты.

2. В общежитиях коридорного типа ширина марша лестницы ³ 120 см.

3. См. примечание на листах 7 и 9.

Незадымляемые открытые лестницы

Описание: iii

Описание: iii

См. примечания на листах 7 и 8.

При проектировании жилых зданий панельной конструкции воздушный зазор между внешней поверхностью стен лифтовой шахты и примыкающими внутренними стенами должен составлять не менее 40 мм. Зазор между перекрытиями и стенами шахты, который должен быть не менее 20 мм, следует заполнять упругими прокладками. На рисунках, приведенных на листах 7 - 11, все зазоры условно приняты 20 мм.

Лестница является тем элементом, который в значительной степени определяет эксплуатационные и комфортные качества здания. С увеличением этажности здания роль лестницы возрастает, так как она представляет собой основной путь аварийной эвакуации. К ее устройству предъявляют повышенные противопожарные требования.

Выполняя свое основное назначение как средство сообщения, лестница в многоэтажном доме играет важную роль в общей объемно-планировочной композиции здания, в решении интерьеров вестибюля, лифтового холла и других помещений входной группы. Применение того или иного вида лестницы оказывает заметное влияние на технико-экономические показатели строительства.

Проектирование основной лестницы зависит от ряда факторов: высоты здания, его архитектурно-планировочной структуры и климатических особенностей района строительства.

Незадымляемые открытые лестницы

Описание: iii

Описание: iii

См. примечания на листах 7 - 9.

Здания с двумя незадымляемыми лестницами

Описание: iii

См. примечания на листах 7 - 9.

Варианты блокировки лифтов. Площадки перед лифтами

Описание: iii

На листах 12 и 13 представлены наиболее распространенные варианты блокировки лифтов в жилых домах и их функциональные зоны. В зданиях высотой более 10 этажей устанавливают два лифта и более сблокированных так, чтобы входы в кабины располагались по фронту и были удобно обозреваемы при подходе к ним.

Примечания к листам 12 и 13: 1. При наличии в группе двух лифтов и более рекомендуется один из них принимать грузопассажирским грузоподъемностью 500 кг.

2. В - толщина стены шахты лифта; ГП - грузопассажирский лифт.

3. На листе 12 и далее указаны внутренние размеры шахт лифтов.

Варианты блокировки лифтов. Площадки перед лифтами

Описание: iii

Примечания: 1. Ширина лифтового холла при двухрядном расположении лифтов должна быть не более 5 м.

2. В - толщина стены шахты лифта; ГП - грузопассажирский лифт.

Таблица определения минимально необходимого числа контейнеров для мусоропровода в жилых зданиях

Описание: iii

Примечания: 1. В жилых домах норма суточного накопления мусора 0,25 л на 1 м2 жилой площади.

2. Объем мусора в контейнере принят 650 л.

3. При суточном накоплении мусора до 1500 л должен устанавливаться один ствол мусоропровода.

Таблица определения минимально необходимого числа контейнеров для мусоропровода в общежитиях

Описание: iii

Двухсуточное накопление мусора

Описание: iii

Примечания: 1. В общежитиях норма суточного накопления мусора 0,2 л на 1 м2 жилой площади.

2. Объем мусора в контейнере принят 650 л.

3. При суточном накоплении мусора до 1500 л должен устанавливаться один ствол мусоропровода.

4. При расчете накопления мусора в общежитиях принято, что на первом этаже нет жилых помещений.

Номенклатура унифицированных камер мусороудаления для 5 - 12-этажных жилых домов

Описание: iii

Описание: iii

О - ввод отопления К - выпуск канализации В - ввод горячего и холодного водоснабжения

Примечания: 1. Унифицированные камеры мусороудаления УКМ-1 предназначены для применения в проектах 5 - 12-этажных жилых домов или блок-секциях, изготовляются восьми видов, практически охватывающих все случаи применения этого элемента.

2. Камера мусороудаления собирается в условиях завода-изготовителя в объемный блок из отдельных железобетонных элементов.

3. Камера мусороудаления, поставляемая на монтажную площадку, комплектуется также тележкой и контейнером объемом 750 л.

4. Камера мусороудаления обеспечена холодной и горячей водой для мытья помещения.

Камера мусороудаления УКМ-1 в сборе для 5 - 12-этажных жилых домов

Описание: iii

1 - насадок; 2 - контейнер; 3 - санитарно-технический элемент; 4 - дверь; 5 - канализация; 6 - возможная зона расположения оси ствола мусоропровода (координаты определяются при привязке УКМ в доме)

При проектировании жилых домов не допускается располагать стволы мусоропроводов около стен, ограждающих жилые комнаты, а также устраивать камеры мусороудаления под жилыми комнатами. Камеру мусороудаления проектируют в первом этаже. Вход в нее должен быть изолирован глухими стенами и козырьком от расположенных рядом окон и входа в дом.

Описание: iii

Примечания: 1. Камера мусороудаления может устанавливаться на фундамент, общий с основными конструкциями здания, и на элементы перекрытия; при этом уровень пола каждой камеры должен соответствовать уровню тротуара, что должно определяться при привязке проекта.

2. Нагрузка от ствола мусоропровода, воспринимаемая камерой, не должна превышать 15 кН (1,5 т).

А, В - привязка оси ствола мусоропровода.

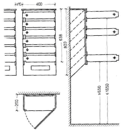
Типы и габариты почтовых абонентских шкафов и шкафов почтовых опорных пунктов

Абонентский шкаф вертикальный домовый с шестью секциями АШВД-6

Описание: iii

Шкаф почтовый напольный ШПН

Описание: iii

Почтовые абонентские шкафы с секциями для каждой квартиры и почтовые шкафы опорных пунктов, которые предназначены для временного хранения почты, доставляемой из отделения связи, узла связи, почтамта до раскладки ее почтальоном по абонентским шкафам, следует выбирать из числа выпускаемых отечественными предприятиями по номенклатуре, принятой Министерством связи СССР.

Абонентские шкафы в жилых домах с лифтами следует размещать вблизи лифтов в вестибюлях, лифтовых холлах или проходах к лифтам и навешивать, как правило, на стенах, примыкающих к подсобным помещениям квартир. Выступающие из плоскости стены навесные абонентские шкафы не должны сокращать требуемые по нормам минимальные размеры ширины лестничных площадок и маршей.

Шкафы опорных пунктов следует устанавливать на полу в вестибюле одного из подъездов жилого дома, исходя из расчета один шкаф типа ШПН и ШПД на 120 - 150 квартир при высоте дома шесть этажей и более.

Поэтому при проектировании лестнично-лифтового узла жилых зданий, особенно повышенной этажности, следует одновременно предусматривать расположение абонентских почтовых шкафов. В последнее время появились разработки способа доставки корреспонденции непосредственно на каждый этаж в целях повышения комфорта для жильцов и более экономичного использования лифтов.

Принципиальная схема действия, например, подъемника, предложенного группой ЦНИИЭП инженерного оборудования (авторское свидетельство № 369008), заключается в том, что корреспонденция, разложенная почтальоном в специальную клеть с ячейками для каждой квартиры поднимается со скоростью 0,05 - 0,06 м/с с первого этажа на верхние при помощи электропривода небольшой мощности. Содержимое клети автоматически выгружается в поэтажные накопители для каждой квартиры. Жильцы извлекают почту, открывая своим ключом дверцу накопителя.

Раздел III

ГОСТИНИЦЫ

(листы 19 - 23)

Схемы планировочных решений. Пути эвакуации

Описание: iii

1 - незадымляемая лестничная клетка с проходом через воздушную зону (лоджию или балкон); 2 - незадымляемая лестничная клетка с подпором воздуха и рассечкой с пределом огнестойкости 0,75 ч через 5 - 8 этажей; 3 - открытая лестничная клетка с решетчатым ограждением; 4 - балкон; 5 - лоджия; 6 - тамбур; 7 - лифт для перевозки пожарных подразделений (место расположения показано условно); 8 - лифтовый холл в зоне остановки лифтов; 9 - вентиляционные шахты с принудительной вытяжкой на каждом этаже для удаления дыма из поэтажных коридоров и холлов.

Месторасположение шахт дымоудаления показано условно, их размеры определяются по расчету.

В соответствии со СНиП II-79-78:

1) здание гостиниц и мотелей следует проектировать высотой не более 16 этажей (п. 3.1). Высоту этажей жилой части зданий следует принимать согласно главе СНиП по проектированию жилых зданий;

2) в зданиях высотой 10 этажей и более один из грузопассажирских лифтов должен быть грузоподъемностью 1000 кг. Из этого лифта на каждом этаже должны быть выходы в шлюзы, ограждающие конструкции которых должны иметь предел огнестойкости 2 ч. Лифт должен иметь автономное управление с первого этажа и непосредственный выход наружу на первом этаже. В шахте лифта и в шлюзах должен быть обеспечен подпор воздуха при пожаре (п. 3.43). Этот лифт предназначен для перевозки пожарных подразделений.

Пример планировочных решений лестнично-лифтовых узлов см. на листе 20.

См. примечания на листе 20.

Примеры планировки этажа с двумя незадымляемыми лестницами

Описание: iii

В соответствии с главой СНиП II-79-78 «Гостиницы» ширина общего коридора между лестницами или между торцом коридора и лестницей должна быть не менее 160 см при длине коридора до 40 м и не менее 180 см при длине коридора более 40 м. Ширина общей галереи должна быть не менее 120 см.

Группа жилых помещений должна быть функционально обособленной.

При проектировании жилой части зданий гостиниц, мотелей и кемпингов следует соблюдать нормы СНиП по проектированию жилых зданий.

Примечания: 1. Шахты лифтов не должны примыкать к стенам, ограждающим жилые комнаты.

2. Местоположение лифта грузоподъемностью 1000 кг для перевозки пожарных подразделений показано условно.

Варианты блокировки лифтов. Площадки перед лифтами

Описание: iii

Примечание. В - толщина стены шахты лифта; ГП - грузопассажирский лифт.

Варианты блокировки лифтов. Площадки перед лифтами

Описание: iii

Примечания: 1. Ширина лифтового холла при двухрядном расположении лифтов должна быть не более 5 м.

2. В - толщина стены шахты лифта; ГП - грузопассажирский лифт.

Варианты блокировки лифтов. Площадки перед лифтами

Описание: iii

Примечание. В - толщина стены лифта; ГП - грузопассажирский лифт.

Раздел IV

ЗДАНИЯ УПРАВЛЕНИЙ, ПРОЕКТНЫХ И НАУЧНЫХ ОРГАНИЗАЦИЙ

(листы 24 - 34)

Схемы планировочных решений. Пути эвакуации

Описание: iii

1 - незадымляемая лестничная клетка с проходом через воздушную зону (лоджия или балкон); 2 - незадымляемая лестничная клетка с подпором воздуха 20 Па (2 кгс/м2) и рассечкой с пределом огнестойкости 0,75 ч на 8-м этаже; 3 - открытая лестничная клетка; 4 - лоджия; 5 - балкон; 6 - тамбур; 7 - лифт для перевозки пожарных подразделений (место расположения показано условно); 8 - лифтовый холл в зоне остановки лифтов; 9 - канал дымоудаления в каждом отсеке коридора длиной не более 30 м.

Двухпролетную планировочную схему (поз. 1 и 2), обеспечивающую невысокую степень статической устойчивости конструкций в поперечном направлении, целесообразно применять в зданиях до 12 этажей, трехпролетную (поз. 3 и 4) - в зданиях до 20 этажей.

Примечания: К схемам 1 и 2. Наружная лестничная клетка расположена в торце здания. Незадымляемая лестничная клетка с подпором воздуха 20 Па (2 кгс/м2) и рассечкой с пределом огнестойкости 0,75 ч и на восьмом этаже в средней части здания.

К схеме 3. Незадымляемая лестничная клетка с проходом через лоджию или балкон расположена в средней части здания. Незадымляемая лестничная клетка с подпором воздуха 20 Па (2 кгс/м2) и рассечкой с пределом огнестойкости 0,75 ч на восьмом этаже в торце здания.

К схеме 4. Лифтовый узел вынесен за пределы здания, наружная лестница - в торце здания, незадымляемая лестничная клетка с подпором воздуха - как в схеме.

Схемы планировочных решений. Пути эвакуации

Описание: iii

Приведенные планировочные схемы, обеспечивающие значительную статическую устойчивость конструкций во всех направлениях, можно применять в зданиях высотой более 16 этажей. В таких зданиях целесообразно предусматривать зонное обслуживание лифтами нижних и верхних этажей здания.

Центрическая (или геометрически уравновешенная) компактная планировочная схема с кольцевым коридором

Описание: iii

Центрическая (или геометрически уравновешенная) разветвленная планировочная схема

Описание: iii

1 - незадымляемая лестничная клетка с проходом через воздушную зону (лоджия или балкон); 2 - незадымляемая лестничная клетка с подпором воздуха 20 Па (2 кгс/м2) и рассечкой с пределом огнестойкости 0,75 ч на 8-м и 17-м этажах; 3 - лоджия; 4 - тамбур; 5 - лифт для перевозки пожарных подразделений (место расположения показано условно); 6 - лифтовый холл в зоне остановки лифтов; 7 - помещение вспомогательного назначения на месте холла лифтов, обслуживающих верхнюю зону здания; 8 - канал дымоудаления в каждом отсеке коридора длиною не более 30 м.

Целесообразно предусматривать зонное обслуживание лифтами нижних и верхних этажей здания.

Пунктиром показан вариант расположения лестницы с подпором воздуха.

Незадымляемая лестничная клетка с подпором воздуха. Лестница у наружной стены

Описание: iii

В зданиях повышенной этажности с рабочей площадью типового этажа 1000 - 1500 м2 обычно бывает достаточно устройства двух эвакуационных лестниц. Поскольку одна из них должна иметь проход через воздушную зону, то вторая с рассечкой через восемь этажей является, по сути дела, единственной, которая может служить для постоянной рабочей связи между соседними этажами в любое время года и при любых метеорологических условиях. Учитывая это, ее целесообразнее размещать в непосредственной близости к лифтовому узлу, чтобы служащие могли воспользоваться ею, если лифты заняты. По соседству с этой лестницей желательно размещать и лифт для перевозки пожарных подразделений. Желательно, чтобы машинные помещения этого лифта и основного лифтового узла могли быть приближены или даже объединены. Однако сложные требования к планировке первого этажа нередко вынуждают проектировщиков относить этот лифт к другой лестничной клетке (ср. схемы 5 и 7 на листе 25).

Двери на этаже рассечки не должны иметь заплечиков, сужающих ширину эвакуационного пути.

Рассечка с пределом огнестойкости 0,75 ч через восемь этажей.

Выход из лестницы в вестибюль через тамбур с подпором воздуха 20 Па (2 кгс/м2).

Незадымляемая лестничная клетка с проходом через наружную зону

Лестница в торце здания с проходом через тамбур и лоджию

Описание: iii

Описание: iii

Открытая наружная лестница в средней части здания с проходом через тамбур

Описание: iii

Лестницу с проходом через воздушную зону не требуется отапливать, поэтому внутренние стены лестничной клетки должны иметь те же теплозащитные свойства, что и наружные стены здания. В зданиях с несущим каркасом особое внимание следует уделять теплоизоляции выходящих на лестницу элементов каркаса.

Лестница с проходом через наружную воздушную зону в торце здания может быть заменена открытой. В этом случае не требуется ее отделение от лоджии, а вместо окна в лестнице следует устроить решетку, как и в лоджии. Решетку целесообразно делать из вертикальных элементов. Применение горизонтального рисунка или устройства горизонтальных жалюзи способствует скоплению в лоджии снега.

Расположение лифта для перевозки пожарных подразделений показано условно.

Незадымляемая лестничная клетка с проходом через наружную зону

Многопролетные планировочные схемы

Лестница расположена параллельно наружной стене здания

Описание: iii

Лестница с проходом по балкону расположена перпендикулярно наружной стене здания

Описание: iii

Расположение лифта для перевозки пожарных подразделений показано условно.

Незадымляемая лестничная клетка с подпором воздуха. Лестница в центральной части здания

Описание: iii

Описание: iii

Описание: iii

Двери на этаже рассечки не должны иметь заплечиков, сужающих ширину эвакуационного пути.

Подпор воздуха в лестничную клетку 20 Па (2 кгс/м2).

Рассечка с пределом огнестойкости 0,75 ч через восемь этажей.

Выход с лестничной площадки в вестибюль через тамбур с подпором воздуха 20 Па (2 кгс/м)2.

Расположение лестничной клетки в центральной части здания делает более надежной систему подпора воздуха при пожаре, а также снижает ее стоимость, поскольку возможные утечки воздуха уменьшаются из-за отсутствия оконных проемов, что снижает стоимость лестницы в целом. В этом главное преимущество данного типа незадымляемой лестницы. Вместе с тем лестница должна иметь круглосуточное искусственное освещение. Это несколько, увеличивает энергозатраты при эксплуатации здания.

Пример планировки лестнично-лифтового узла

Описание: iii

Лифтовой узел расположен в центральной части здания.

Одна лестничная клетка с проходом через лоджию, вторая - с подпором воздуха 20 Па (2 кгс/м2) и рассечкой с пределом огнестойкости 0,75 ч на восьмом этаже.

В данном примере обе лестничные клетки расположены вдоль наружных стен. Вместе с лоджией, тамбуром и подходами к лестницам они занимают значительную длину светового фронта здания. Устройство на лестнице с подпором воздуха двух оконных проемов, предусмотренных композиционным соображениям в данном проекте, требует увеличения мощности вентиляционной системы, обеспечивающей подпор.

В проекте отсутствует деление коридора самозакрывающимися дверями на отсеки и не предусмотрена система дымоудаления.

Пример планировки лестнично-лифтового узла

Описание: iii

Лифтовой узел расположен в центральной части здания.

Одна лестничная клетка с проходом через воздушную зону, вторая - с подпором воздуха 20 Па (2 кгс/м2) и рассечкой с пределом огнестойкости 0,75 ч на восьмом этаже.

Пример планировки лестнично-лифтового узла

Описание: iii

Лифтовой узел расположен в центральной части здания.

Одна лестничная клетка открытая, вторая - с подпором воздуха 20 Па (2 кгс/м2) и рассечкой с пределом огнестойкости 0,75 ч на восьмом этаже.

В данном примере возможен вариант планировки с устройством лестницы в закрытом объеме и подходом к ней через тамбур и лоджию. Возможен также вариант расположения этой лестницы перпендикулярно наружной стене, что позволило бы высвободить около 6 м светового фронта для размещения рабочих помещений. Принятое расположение лифта для перевозки пожарных подразделений в центральной части здания затрудняет планировку первого этажа.

В проекте отсутствует деление коридора самозакрывающимися дверями на отсеки и не предусмотрена система дымоудаления.

Варианты блокировки лифтов. Площадки перед лифтами

Лифты грузоподъемностью 1000 кг

Описание: iii

Глубина шахты: над чертой - для лифтов со скоростью 1 и 1,4 м/с, под чертой - для лифтов со скоростью 2 и 4 м/с.

Ширина лифтового холла при двухрядном расположении лифтов не должна быть более 5 м.

В - толщина стены шахты лифта.

Примечание. Необходимо иметь в виду, что сбоку или сзади шахт лифтов должны быть предусмотрены вентиляционные каналы для обеспечения подпора воздуха в шахты. На листах не показаны перегородки с самозакрывающимися дверями, которые должны отделять лифтовые холлы от коридоров.

Описание: iii

Скорость лифтов 2, 2,8 и 4 м/с.

Ширина лифтового холла при двухрядном расположении лифтов не должна быть более 5 м.

В - толщина стены шахты лифта.

См. примечание к листу 33.

ПРИЛОЖЕНИЕ

Основные параметры и размеры пассажирских электрических лифтов по ГОСТ 5746-83

Таблица 1. Основные параметры и применяемость лифтов

Вид зданий

Грузоподъемность, кг

Вместимость кабины, чел.

Номинальная скорость, м/с

Высота подъема, м, не более

Число остановок, не более

Питающая электрическая сеть

Жилые

400

5

1,0

60

16

1,6

85

25

630

8

1,0

60

16

Род тока: переменный трехфазный.

1,6

85

25

Общественные здания и здания промышленных предприятий

400*

5

0,63

70

10

Номинальная частота 50; 60**** Гц.

630

8

1,0

45

10

Номинальное напряжение:

1,6

65

16

220, 240****, 380, 415**** В при частоте 50 Гц;

800

10

1,0

45

10

220, 230, 380, 400, 415, 440 В при частоте 60 Гц

1,6

65

16

2,5

100

25

1000

12

1,0

45

10

1,6

65

16

2,5

100

25

4,0

150

25

1000**

12

1,6

150

30

1250

15

1,0

45

10

1,6

65

16

2,5

100

25

4,0

150

25

1600

20

2,5

100

25

4,0

150

25

1600***

20

1,0

45

10

1,6

65

16

* Лифты для производственных зданий.

** Лифты с кабиной размером (в плане) 1100´2100 мм.

*** Лифты для зданий лечебно-профилактических учреждений.

**** Для лифтов, поставляемых на экспорт.

Примечания: 1. В таблице указана система управления для одиночного лифта. В случае установки группы из двух и более лифтов должна быть применена система группового управления. 2. Два и более лифтов могут устанавливаться в одной общей шахте. Размеры общей шахты, машинного и блочного помещений должны приниматься в соответствии с технической документацией базовой организации по стандартизации лифтов.


Таблица 3 Основные размеры (внутренние) кабин, шахт, машинных и блочных помещений (размеры, мм)

Грузоподъемность, кг

Скорость номинальная, м/с

Расположение противовеса относительно кабины

Кабина

Шахта

Двери шахты и кабины

Машинное помещение

Блочное помещение

Высота шахты от верхней остановки hl

Глубина приямка h5

Расстояние от боковой стены шахты до оси кабины, i (размер справочный)

Номер чертежа в ГОСТ 5746-83

 

ширина b

глубина l

высота h1 не менее

ширина b1

глубина l1

ширина b2

высота h2

ширина b3

глубина l3

высота h3

ширина b4

глубина l4

высота h4

 

не менее

 

400

0,63

Сзади

1100

950

2100

1750

1550

800

2000

2800

3000

2250

-

3500

1300

875

1

 

1,0

2450

1400

1000

1550

1700

700

775

1,6

4000

3000

4200

1700

950

1750

1550

800

875

 

630

1,0

1400

2000

3000

3500

1400

 

7100

1100

2550

1700

1200

2650

3700

1275

5

 

Сбоку справа

1100

2100

1850

2550

800

3000

3900

875

3

 

1,6

Сзади

1400

1750

2000

4100

3500

4200

1700

1

 

2100

1100

2550

1700

1200

4800

3300

1275

5

 

Сбоку справа

1100

2100

1850

2550

800

4200

4000

875

3

 

800

1,0

Сзади

1350

1400

2300

1800

2000

3500

3500

2800

4000

1500

900

1

 

1,6

4100

4200

1700

 

2,5

5800

5500

3500

1800

2000

1800

4500

2400

2

 

1000

1,0

1600

2350

1100

3500

3600

2800

-

4000

1500

1175

1

 

Сбоку справа

1100

2100

2100

1850

2550

800

4000

875

3

 

1,6

1600

4000

4700

4300

2000

3 или 6

 

Сзади

1400

2300

2350

2000

1100

3700

4400

1175

1

 

2,5

5800

5500

3500

2350

2000

1800

4500

2400

2

 

4,0

5700

4800

 

1250

1,0

1950

2600

2100

3800

3800

2800

-

4200

1700

1300

1

 

1,6

4400

4500

2000

2

2,5

6100

5500

3500

2600

2000

1800

3000

 

4,0

5700

4800

 

1600

1,0

Сбоку

1400

2400

2400

3000

1300

4600

5500

2800

-

4200

1 700

1050

3 или 4

 

1,6

4500

2000

 

2,5

Сзади

1950

1750

2600

2600

1100

6100

5500

3500

2600

2600

1800

5000

3000

1300

2

 

4,0

5700

4800

 

 

Примечания. 1. Лифты грузоподъемностью 400 кг с дверями шириной 700 мм и шахтой размером (в плане) 1550´1700 мм предназначены для применения в зданиях, сооружаемых по проектам, разработанным до 1 января 1984 г. 2. Лифты для жилых зданий грузоподъемностью 630 кг с кабиной размером (в плане) 1100´2100 мм или 2100´1100 мм должны иметь в кабине устройство для ограничения полезной площади ее пола, соответствующей вместимости восьми человек по нормам ГОСТ 12.2.075-82, или ограничитель грузоподъемности и сигнализатор перегрузки. 3. Лифты с кабинами размером (в плане) 1100´2100 мм, за исключением лифта грузоподъемностью 1000 кг со скоростью 1 м/с, 2100´1100 мм и 1400´2400 мм должны иметь систему управления, обеспечивающую длительную остановку кабины для ее загрузки и выгрузки, а также возможность входа и транспортирования пожарного подразделения. 4. Распашная вспомогательная дверь шахты, через которую осуществляется вход пожарного подразделения в кабину лифта, должна располагаться на площадке, предназначаемой для входа указанного подразделения в здание. 5. Отклонение ширины и глубины кабины от номинальных размеров не должно быть более ± 10 мм. 6. Отклонение ширины и глубины шахты от номинальных размеров не должно быть более + 30 мм. Разность диагоналей шахты (в плане) не должна быть более 25 мм. Отклонение стен шахты от вертикальной плоскости не должно быть более 30 мм. Размер (в плане) кабины лифта грузоподъемностью 630 кг для общественных зданий 1100´1400 мм.


СОДЕРЖАНИЕ

Введение. 2

Раздел I. Общие сведения о лестницах и лифтах (листы 1 - 5) 10

Защита лестниц от задымления. Основные параметры лестник (листы 1, 2) 10

Типы и параметры обычных пассажирских лифтов по ГОСТ 5746-67 (лист 3) 15

Основные размеры шахт, кабин и дверей лифтов (лист 4) 16

Типы и параметры скоростных пассажирских лифтов по ГОСТ 13023-67 (лист 5) 17

Раздел II. Жилые дома и общежития (листы 6 - 18) 18

Схемы планировочных решений. Пути эвакуации (лист 6) 19

Незадымляемые лестницы с проходом через наружную зону (листы 7, 8) 20

Незадымляемые открытые лестницы (листы 9, 10) 23

Здания с двумя незадымляемыми лестницами (лист 11) 26

Варианты блокировки лифтов. Площадки перед лифтами (листы 12, 13) 27

Таблица определения минимально необходимого числа контейнеров для мусоропровода в жилых зданиях (лист 14) 30

Таблица определения минимально необходимого числа контейнеров для мусоропровода в общежитиях (лист 15) 30

Номенклатура унифицированных камер мусороудаления для 5 - 12-этажных жилых домов (лист 16) 31

Камера мусороудаления УКМ-1 в сборе для 5 - 12-этажных жилых домов (лист 17) 33

Типы и габариты почтовых абонентских шкафов и шкафов почтовых опорных пунктов (лист 18) 34

Раздел III. Гостиницы (листы 19 - 23) 35

Схемы планировочных решений. Пути эвакуации (лист 19) 36

Примеры планировки этажа с двумя незадымляемыми лестницами (лист 20) 37

Варианты блокировки лифтов. Площадки перед лифтами (листы 21 - 23) 38

Раздел IV. Здания управлений, проектных и научных организаций (листы 24 - 34) 40

Схемы планировочных решений. Пути эвакуации (листы 24, 25) 41

Незадымляемая лестничная клетка с подпором воздуха. Лестница у наружной стены (лист 26) 43

Незадымляемая лестничная клетка с проходом через наружную зону (листы 27, 28) 44

Незадымляемая лестничная клетка с подпором воздуха. Лестница в центральной части здания (лист 29) 49

Пример планировки лестнично-лифтового узла (листы 30 - 32) 51

Варианты блокировки лифтов. Площадки перед лифтами (листы 33, 34) 54

Приложение. Основные параметры и размеры пассажирских электрических лифтов по ГОСТ 5746-83. 57

 



© 2013 Ёшкин Кот :-)