Информационная система
«Ёшкин Кот»

XXXecatmenu

ФЕДЕРАЛЬНОЕ АГЕНТСТВО
ПО ТЕХНИЧЕСКОМУ РЕГУЛИРОВАНИЮ И МЕТРОЛОГИИ

НАЦИОНАЛЬНЫЙ
СТАНДАРТ
РОССИЙСКОЙ
ФЕДЕРАЦИИ

ГОСТ Р
52762-2007
(МЭК 60068-2-75:1997)

Методы испытаний на стойкость к механическим
внешним воздействующим факторам машин,
приборов и других технических изделий

ИСПЫТАНИЯ НА ВОЗДЕЙСТВИЕ УДАРОВ
ПО ОБОЛОЧКЕ ИЗДЕЛИЙ

IEC 60068-2-75:1997
Environmental testing - Part 2: Tests - Test Eh: Hammer tests

(MOD)

 

Москва

Стандартинформ

2007

 

Предисловие

Цели и принципы стандартизации в Российской Федерации установлены Федеральным законом от 27 декабря 2002 г. № 184-ФЗ «О техническом регулировании», а правила применения национальных стандартов Российской Федерации - ГОСТ Р 1.0-2004 «Стандартизация в Российской Федерации. Основные положения»

Сведения о стандарте

1 РАЗРАБОТАН Техническим комитетом по стандартизации ТК 341 «Внешние воздействия»

2 ВНЕСЕН Техническим комитетом по стандартизации ТК 341 «Внешние воздействия»

3 УТВЕРЖДЕН И ВВЕДЕН В ДЕЙСТВИЕ Приказом Федерального агентства по техническому регулированию и метрологии от 18 октября 2007 г. № 266-ст

4 Настоящий стандарт является модифицированным по отношению к международному стандарту МЭК 60068-2-75:1997 «Методы испытаний на воздействие внешних факторов. Часть 2. Испытания. Испытание Eh. Испытание ударником» (IEC 60068-2-75:1997 «Environmental testing - Part 2: Tests-Test Eh: Hammertests») с дополнениями, уточняющими область применения стандарта, а также дополнениями и уточнениями в области выбора параметров безопасности и другими, отражающими потребности национальной экономики, выделенными курсивом.

Наименование настоящего стандарта изменено относительно наименования указанного международного стандарта для приведения в соответствие с ГОСТ Р 1.5-2004 (подраздел 3.5)

5 ВВЕДЕН ВПЕРВЫЕ

СОДЕРЖАНИЕ

Введение. 2

1 Область применения. 3

2 Нормативные ссылки. 3

3 Общие требования для всех методов испытаний. 3

4 Испытание 118-1: Маятниковый копёр. 7

5 Испытание 118-2: Пружинное ударное устройство. 8

6 Испытание 118-3: Вертикальное ударное устройство. 9

Приложение А. Форма ударника. 10

Приложение Б. Метод калибровки пружинного ударного устройства. 11

Приложение В. Руководство по применению испытательных устройств. 16

Приложение Г. Пример испытательного устройства для маятникового копра. 17

Приложение Д. Пример испытательного пружинного ударного устройства. 20

Приложение Е. Аутентичный текст пунктов (абзацев) МЭК 60068-2-75:1997, уточненных и измененных в тексте настоящего стандарта для потребности национальной экономики. 21

Введение

I Требования настоящего стандарта относятся к вопросам безопасности, обеспечиваемой стойкостью технических изделий к внешним воздействующим факторам при эксплуатации.

Настоящий стандарт является частью комплекса стандартов «Методы испытаний на стойкость к внешним воздействующим факторам машин, приборов и других технических изделий» (комплекс ГОСТ 30630), состав которого приведен в ГОСТ 30630.0.0-99, приложение Е.

Настоящий стандарт соответствует международному стандарту, указанному в предисловии, но при этом он охватывает всю совокупность технических изделий, что в настоящее время отсутствует в международных стандартах, относящихся к внешним воздействующим факторам, а также дополняет и уточняет вопросы выбора параметров безопасности при испытании изделий.

II Механические удары по оболочке, которым подвергаются в эксплуатации технические изделия, могут быть воспроизведены ударниками различных типов. Для целей стандартизации результаты таких испытаний не должны зависеть от типа испытательных устройств и, следовательно, характеристики различных типов испытательных ударников, описанных в настоящем стандарте, при одинаковых уровнях жесткости должны по возможности приводить к одинаковым результатам.

III Согласно ГОСТ 30630.0.0, приложение Е, при принятии настоящего стандарта в качестве межгосударственного за ним зарезервировано обозначение ГОСТ 30630.1.10.

ГОСТ Р 52762-2007
(МЭК 60068-2-75:1997)

НАЦИОНАЛЬНЫЙ СТАНДАРТ РОССИЙСКОЙ ФЕДЕРАЦИИ

Методы испытаний на стойкость к механическим внешним
воздействующим факторам машин, приборов и других технических изделий

ИСПЫТАНИЯ НА ВОЗДЕЙСТВИЕ УДАРОВ ПО ОБОЛОЧКЕ ИЗДЕЛИЙ

Mechanical environment stability test methods for machines, instruments and other industrial products.
Test methods for bumps to enclosure of products

Дата введения:

для вновь разрабатываемых и модернизируемых изделий - 2008-01-01;

для изделий, разработанных до 2008-01-01, - 2010-01-011)

1) Для стандартов и изделий, разработанных до 2008-01-01, введение настоящего стандарта осуществляют в период до 2010-01-01 при любом пересмотре стандартов и технических условий на изделия. При этом для изделий, разработанных до 2008-01-01, при проведении первых испытаний после 2008-01-01 на подтверждение требований к внешним воздействующим факторам, а также периодических испытаний изделий, находящихся в производстве, рекомендуется руководствоваться требованиями настоящего стандарта.

1 Область применения

Настоящий стандарт распространяется на машины, приборы и другие технические изделия всех видов (далее - изделия), которым предъявляют требование по воздействию ударов посторонних предметов с энергией до 50 Дж, и устанавливает методы их соответствующих испытаний.

Стандарт применяют совместно с ГОСТ 30630.0.0.

Требования разделов 3 - 6 и приложений А, Б, В настоящего стандарта относятся к требованиям безопасности и являются обязательными.

2 Нормативные ссылки

В настоящем стандарте использованы нормативные ссылки на следующие стандарты:

ГОСТ 380-2005 Сталь углеродистая обыкновенного качества. Марки

ГОСТ 9013-59 (ИСО 6508-86) Металлы. Метод измерения твердости по Роквеллу

ГОСТ 11472-69 Допуски и посадки. Классы точности 02 - 09

ГОСТ 15150-69 Машины, приборы и другие технические изделия. Исполнения для различных климатических районов. Категории, условия эксплуатации, хранения и транспортирования в части воздействия климатических факторов внешней среды

ГОСТ 24622-91 (ИСО 2039-2-87) Пластмассы. Определение твердости. Твердость по Роквеллу

ГОСТ 26883-86 Внешние воздействующие факторы. Термины и определения

ГОСТ 30630.0.0-99 Методы испытаний на стойкость к внешним воздействующим факторам машин, приборов и других технических изделий. Общие требования

Примечание - При пользовании настоящим стандартом целесообразно проверить действие ссылочных стандартов и классификаторов в информационной системе общего пользования - на официальном сайте Федерального агентства по техническому регулированию и метрологии в сети Интернет или по ежегодно издаваемому информационному указателю «Национальные стандарты», который опубликован по состоянию на 1 января текущего года, и по соответствующим ежемесячно издаваемым информационным указателям, опубликованным в текущем году. Если ссылочный стандарт заменен (изменен), то при пользовании настоящим стандартом следует руководствоваться заменяющим (измененным) стандартом. Если ссылочный стандарт отменен без замены, то положение, в котором дана ссылка на него, применяется в части, не затрагивающей эту ссылку.

3 Общие требования для всех методов испытаний

3.0 Цель

Настоящий стандарт устанавливает три стандартизованных и скоординированных метода испытаний для определения способности образца для испытаний (далее - образца) выдерживать удар по оболочке нормированных жесткостей. Методы применяют, в частности, для подтверждения способности сохранять необходимый уровень работоспособности и безопасности изделия при воздействии на его оболочку установленного числа ударов и их жесткости в соответствии с требованиями нормативных документов (далее - НД) на данное изделие.

Настоящий стандарт рассматривает энергетические уровни от 0,14 до 50 Дж.

При испытаниях применяют три вида испытательных устройств, руководство по применению которых приведено в приложении В.

3.1 Термины и определения

В настоящем стандарте применены термины с соответствующими определениями и сокращениями, относящиеся к областям:

- общих понятий внешних воздействующих факторов (далее - ВВФ): по ГОСТ 15150 и ГОСТ 26883;

- испытаний на стойкость к ВВФ: по ГОСТ 30630.0.0.

Термины и определения, указанные ниже, используются только в настоящем стандарте. Определения, используемые только в разделах 4 и 6, приведены в этих разделах.

3.1.1 точка крепления: Часть образца, соприкасающаяся с крепежным приспособлением в точке, в которой образец обычно крепится при эксплуатации.

3.1.2 ударник (ударный элемент): Деталь ударного устройства, непосредственно осуществляющая при испытаниях удар заданной энергии по оболочке образца.

Примечание - Эквивалентный термин на английском языке - «hummer»; в некоторой НД на русском языке применяют термин «молоток».

3.1.3 ударная поверхность: Поверхность ударника, непосредственно осуществляющая удар.

3.1.4 эквивалентная масса: Масса ударного элемента и любой соответствующей части испытательного устройства, с учетом скоростей которых обеспечивается энергия удара.

Примечание - Для случая маятникового копра см. 4.1.3.

3.2 Степени жесткости

3.2.1 Общее

Жесткости, определяемые значением уровня энергии удара, выбирают по 3.2.2, а число ударов - по 3.2.3.

3.2.2 Значение энергии удара

Значение энергии удара выбирается одно из следующего ряда в соответствии с НД на изделие:

0,14 - 0,2 - 0,35 - 0,5 - 0,7 - 1 - 2 - 5 - 10 - 20 - 50 Дж.

3.2.3 Число ударов

Если иное не установлено в НД на изделие, то число ударов в каждое место приложения удара должно равняться трем.

3.3 Испытательное устройство

3.3.1 Описание

Для данных испытаний применимы три типа испытательных устройств:

- маятниковый копёр;

- пружинное ударное устройство;

- вертикальное ударное устройство.

В зависимости от типа испытательного устройства испытания обозначены: 118-1, 118-2, 118-3. Для всех обозначений испытаний ударные устройства в основном имеют общие характеристики, приведенные в таблице 1, пример ударных устройств указан на рисунке 1, а их формы - в приложении А.

Таблица 1 - Общие характеристики ударника

Уровень энергии, Дж

1

2

5

10

20

50

± 10 %

± 5 %

± 5 %

± 5 %

± 5 %

± 5 %

Эквивалентная масса, кг, ± 2 %

0,25 (0,2)

0,5

1,7

5

5

10

Размеры ударника, мм

Полиамид1)

Сталь2)

R, мм

10

25

25

50

50

50

D, мм

18,5 (20)

35

60

80

100

125

f, мм

6,2 (10)

7

10

20

20

25

r, мм

-

-

6

-

10

17

l, мм

Должна соответствовать эквивалентной массе (см. приложение А)

1) Твердость по Роквеллу 85 ≤ HRR 100 - по ГОСТ 24622.

2) Марки стали Ст2кп, Ст2пс или Ст2сп по ГОСТ 380; твердость по Роквеллу HRE 80...85 - по ГОСТ 9013.

Примечание - Размеры указаны в миллиметрах. Допуски - в соответствии с классом «m» по ГОСТ 30893.1, если иное не указано в НД на изделие.

Рисунок 1 - Пример ударных устройств

Ударяемую поверхность образца подвергают визуальному осмотру перед каждым ударом, чтобы убедиться в отсутствии разрушений, которые могут повлиять на результат испытаний.

3.3.2 Размещение образца

Образец в соответствии с требованиями НД на изделие:

а) крепят на твердом плоском основании в нормальном эксплуатационном положении или

б) прижимают к твердой плоской поверхности.

Для достижения необходимой жесткости крепления в некоторых случаях образец прижимают к твердой массивной поверхности, например, к кирпичной или бетонной стене или полу, покрытой листом полиамида, плотно прилегающего к поверхности и закрепленного на ней. Следует убедиться в отсутствии воздушной прослойки между слоем полиамида и поверхностью. Полиамид должен иметь твердость по Роквеллу 85 ≤ HRR ≤ 100 по ГОСТ 24622, толщина листа полиамида приблизительно 8 мм; образец должен быть закреплен таким образом, чтобы те части поверхности, к которым образец не крепится, не были механически напряжены.

Устройство для крепления образца считается достаточно жестким, если смещение какой-либо его поверхности не превышает 0,1 мм, в том случае, когда непосредственно по этой поверхности проводят удар с таким же уровнем энергии, как по образцу.

Примечания

1 Для образцов, для которых предполагаемая энергия удара не превышает 1 Дж, на рисунках Г.3 - Г.5 приведены примеры крепления и размещения.

2 Если масса устройства крепления по меньшей мере в 20 раз превышает массу образца, то жесткость крепления может считаться достаточной.

3.4 Общие требования по измерению параметров изделий и начальная стабилизация

3.4.1 Перед началом и после испытания (а если установлено в НД на изделия, то и в процессе испытаний) изделие должно быть подвергнуто внешнему осмотру и должны быть измерены его параметры в соответствии с разделом 4 ГОСТ 30630.0.0, в частности - параметры изделия, определяющие безопасность. Если изделие предназначено для эксплуатации при подключении его к источникам электропитания от 40 до 400 В, то при испытании изделие должно быть подключено к таким источникам электропитания, даже если в НД на изделие предусмотрено его испытание в нерабочем состоянии. При этом в число измеряемых параметров изделия должна быть включена проверка электрической прочности его изоляции.

3.4.2 Если в НД на изделие приведено требование о начальной стабилизации, то в НД должны быть описаны ее условия.

3.5 Начальные измерения

Образец должен быть подвергнут внешнему осмотру, должны быть измерены его внешние размеры и функциональные параметры, описанные в НД.

3.6 Испытания

Должны быть исключены вторичные удары, т.е. отдача или отскок.

3.6.1 Расположение и место удара

В НД на изделие должны быть установлены расположение образца и место (места) на образце, где наиболее вероятно повреждение при эксплуатации и где может быть приложен удар. Если иное не указано в НД на изделие, удары должны быть приложены перпендикулярно к испытуемой поверхности.

3.6.2 Подготовка образца

В НД на изделие должны быть установлены необходимые требования по защите перед нанесением ударов неударяемых мест корпуса, покрытий и подобных частей образца.

Примечание - Может появиться необходимость принять во внимание требования по проведению измерений в процессе испытаний (см. 3.6.3, б).

3.6.3 Режим работы и измерения параметров в процессе испытаний

В НД на изделие должно быть установлено:

а) требуется ли, чтобы образец работал во время удара;

б) требуется ли какое-либо измерение в процессе испытаний.

В обоих случаях в НД на изделие должны быть указаны критерии, по которым образец будет считаться выдержавшим или не выдержавшим испытание.

Примечание - Следует обратить внимание на то, что при разрушении образца его внутренние части могут представлять опасность.

3.7 Конечная стабилизация

Если в НД на изделие приведено требование о конечной стабилизации, то в НД должны быть установлены ее условия.

3.8 Заключительные измерения

Образец должен быть подвергнут внешнему осмотру, должны быть измерены его внешние размеры и все параметры в соответствии с требованиями НД по данному испытанию.

В НД на изделие должны быть указаны критерии, по которым образец будет считаться выдержавшим или не выдержавшим испытание.

3.9 Информация, которая должна быть указана в НД на изделие

Если один из методов испытаний по настоящему стандарту включен в НД на изделие, то должны быть установлены следующие этапы испытаний (при необходимости для данного изделия), при этом информация об этапах, помеченных знаком «*», требуется постоянно:

Энергия удара*

- по 3.2.2

Число ударов, отличное от трех

- по 3.2.3

Вид (виды) испытательных устройств

- по 3.3.1

Размещение образца*

- по 3.3.2

Начальная стабилизация

- по 3.4

Начальные измерения*

- по 3.5

Расположение и место удара*

- по 3.6.1

Защита неударяемых мест корпуса, покрытий и подобных частей образца

- по 3.6.2

Режим работы и измерения параметров в процессе испытаний*

- по 3.6.3

Критерии пригодности и непригодности*

- по 3.6.3, 3.8

Конечная стабилизация

- по 3.7

Заключительные измерения*

- по 3.8.

4 Испытание 118-1: Маятниковый копёр

4.1 Определения

Для данного метода дополнительно используют следующие термины и определения:

4.1.1 измерительная точка: Точка на поверхности ударника в месте пересечения с этой поверхностью линии, проходящей через точку пересечения осей ударника и плеча маятника и являющейся перпендикуляром к плоскости, проходящей через обе указанные оси (см. рисунок 2).

Примечания

1 В некоторых стандартах МЭК, устанавливающих метод испытания при помощи маятникового копра, используют термин «контрольная точка».

2 Теоретически измерительной точкой должен быть центр масс ударника. На практике же центр масс является трудно определяемым и недоступным, и поэтому измерительная точка определяется, как указано выше.

1 - измерительная точка; 2 - ось ударника

Рисунок 2 - Местоположение измерительной точки

4.1.2 высота перемещения: Проекция на вертикаль расстояния между местом нахождения измерительной точки в момент освобождения маятника и ее местом в момент удара (см. рисунок Г.1).

4.1.3 эквивалентная масса: Масса условного ударника, вычисленная путем деления на ускорение свободного падения измеренного значения силы (в ньютонах), направленной вдоль вертикально расположенной оси ударника и необходимой для удержания плеча маятника в горизонтальном положении (см. также примечание 2 к таблице 2).

Примечание - В случае, когда масса рычага маятника распределена равномерно, эквивалентная масса равна сумме комбинированной массы ударника и половины массы плеча.

4.1.4 комбинированная масса ударника: Сумма масс ударника и элементов крепежной системы.

4.2 Испытательное устройство

Испытательное устройство состоит в основном из маятника, ось вращения которого расположена в его верхнем конце, и который во время движения удерживается в вертикальной плоскости. Расстояние между осью плеча и измерительной точкой составляет 1000 мм. Маятник состоит из плеча требуемой жесткости и ударника в соответствии с требованиями таблицы 1.

Если испытание трудно провести вследствие больших габаритов или массы образца, можно использовать переносной маятник. Он должен удовлетворять вышеуказанным требованиям, но его плечо может быть закреплено прямо на образце или на переносной конструкции. В этом случае перед испытанием необходимо убедиться в том, что ось маятника находится в горизонтальном положении, что его крепление достаточно жестко, и что точка приложения удара находится в вертикальной плоскости, проходящей через ось.

Во всех случаях, когда маятник освобождают, он должен падать только под действием силы тяжести.

4.2.1 Испытательное устройство для жесткостей, не превышающих 1 Дж

Ударник состоит из стального корпуса с полиамидным вкладышем полусферической формы. Его комбинированная масса равна (200 ± 1) г с тем, чтобы эквивалентная масса удовлетворяла требованиям таблицы 1. Пример испытательного устройства приведен в приложении Г.

4.2.2 Испытательное устройство для жесткостей, превышающих 2 Дж

Отношение массы плеча к комбинированной массе ударника не должно превышать 0,2 и центр масс ударника должен быть расположен как можно ближе к оси плеча.

Примечание - В некоторых случаях вместо плеча маятника применяют шнур с закрепленным на конце стальным шариком. Но это не рекомендуется, так как конфигурация шарика не соответствует конфигурации ударника, нормированного в настоящем стандарте.

4.3 Высота перемещения по вертикали

Для того, чтобы осуществить удар требуемой жесткости, ударник должен перемещаться с высоты, зависящей от эквивалентной массы в соответствии с таблицей 2.

Таблица 2 - Высота перемещения

Уровень энергии, Дж

0,14

0,2

0,5

0,7

1

2

5

10

20

Эквивалентная масса, кг

0,25

0,25

0,25

0,25

0,25

0,5

1,7

5

5

Высота перемещения по вертикали, мм ± 1 %

56

80

200

280

400

400

300

200

400

Примечание - В настоящем стандарте уровень энергии, Дж, определяют, используя стандартное ускорение в качестве ускорения свободного падения (gn), округленное до 10 м/с2.

4.4 Испытание

Для устранения вторичных ударов вследствие отскока в маятнике должен быть предусмотрен захват ударника после первого удара.

5 Испытание 118-2: Пружинное ударное устройство

5.1 Испытательное устройство

Пружинное ударное устройство состоит из трех основных частей: корпуса, ударника и спусковой системы.

Корпус состоит из ствола, направляющего устройства ударника и спускового механизма; все части должны быть жестко соединены.

Ствол, как правило, оканчивается направляющим усеченным конусом, плоскость усечения которого перпендикулярна его оси. При испытании ствол прикладывают к образцу в направлении, перпендикулярном ударяемой поверхности, в точке, подвергаемой испытанию. Таким образом, плоскость усечения конуса является плоскостью удара.

Ударник состоит из головки, стержня и рукоятки. Масса в сборе должна быть равна 250 г для энергетического уровня не более 1 Дж, и 500 г - для 2 Дж (см. таблицу 1).

Сила, необходимая для освобождения ударника при помощи спускового устройства, не должна превышать 10 Н.

Конфигурация стержня, головки и способ регулировки пружины должны быть такими, чтобы максимальная накопленная энергия была получена ударником на расстоянии 1 мм до места удара. Таким образом, на последнем миллиметре своего движения, непосредственно перед ударом, ударник (если пренебречь трением) обладает только кинетической энергией. Более того, при наладке устройства, после того как кончик головки проходит плоскость удара, ударник может продолжать двигаться свободно, без помех, на расстояние от 8 до 12 мм.

Пример испытательного устройства для энергии удара не более 1 Дж приведен в приложении Д.

Для соответствия требованиям таблицы 1 для энергии удара 2 Дж форма головки ударника должна быть цилиндрической длиной 23 мм и диаметром 35 мм (см. рисунок 3).

Рисунок 3 - Схема расположения ствола и ударника для энергии удара 2 Дж

5.2 Влияние силы тяжести

Если пружинное ударное устройство используется не в горизонтальном положении, то фактическая энергия, Дж, будет отличаться на величину ∆Е. Эта величина будет положительной, если удар направлен вниз, и отрицательной - при направлении вверх.

Е = 10md sinα,

где т - масса ударника, кг;

d - путь ударника внутри пружинного ударного устройства, м;

α - угол оси ударника к горизонтали.

Отклонение Е должно учитываться при установлении фактической энергии.

5.3 Калибровка

Пружинное ударное устройство должно быть откалибровано. В приложении Б приведена стандартная методика (см. Б.2 для энергии удара 2 Дж). Могут быть использованы другие методы регулировки, если они обеспечивают требуемую точность.

6 Испытание 118-3: Вертикальное ударное устройство

6.1 Определение

Высота перемещения - по 4.1.2.

6.2 Испытательное устройство

Устройство состоит, в основном, из ударника, который свободно перемещается по вертикали с места крепления на поверхность образца, находящегося в горизонтальной плоскости; высоту перемещения выбирают по таблице 2. Характеристики ударника должны удовлетворять требованиям таблицы 1. Перемещение ударника должно осуществляться по направляющей (например трубе), при этом торможение незначительно и не учитывается. Направляющая не должна касаться образца и ударник не должен соприкасаться с направляющей в момент удара об образец. Для уменьшения трения длина ударника не должна быть меньше его диаметра, и должен быть предусмотрен небольшой зазор (например 1 мм) между ударником и направляющей.

6.3 Высота перемещения

Высоту перемещения выбирают по таблице 2. Эквивалентная масса, установленная в таблице 2, должна быть равна фактической массе ударника.

Приложение А

(обязательное)

Форма ударника

На рисунках А.1 - А.6 приведены виды ударников, отвечающие характеристикам, определенным в таблице 1. Необходимо отметить, что длину ударника l вычисляют для маятникового ударного устройства, пренебрегая массой плеча, или как для вертикального ударного устройства. Если массой плеча нельзя пренебречь, она должна быть уменьшена настолько, чтобы эквивалентная масса удовлетворяла требованиям таблицы 1 (см. 4.1.3). Для энергии ударов 20 и 50 Дж, чтобы согласовать эквивалентную массу с другими параметрами по таблице 1, необходимо выдолбить конец, противоположный ударяющей поверхности, чтобы уменьшить влияние массы этого конца на общую эквивалентную массу пары «ударник - плечо».

Все кромки должны быть отшлифованы.

Примечание - Размеры даны в миллиметрах. Допуски - как для класса m по ГОСТ 30893.1, если иное не указано в НД на изделие. Обозначение l - см. рисунок 1.

Рисунок А.1 - Пример ударника для энергии удара ≤ 1 Дж

Рисунок А.2 - Пример ударника для энергии удара 2 Дж

Рисунок А.3 - Пример ударника для энергии удара 5 Дж

Рисунок А.4 - Пример ударника для энергии удара 10 Дж

Рисунок А.5 - Пример ударника для энергии удара 20 Дж

Рисунок А.6 - Пример ударника для энергии удара 50 Дж

Приложение Б

(обязательное)

Метод калибровки пружинного ударного устройства

Б.1 Принцип калибровки

Принцип данного метода калибровки - это сравнение энергии, вырабатываемой пружинным ударным устройством (которую сложно измерить непосредственно) с энергией маятника, рассчитанной исходя из его массы и высоты перемещения.

Б.2 Конструкция калибровочного устройства

Собранное калибровочное устройство, которое состоит из стойки, оси, маркера, маятника, ячейки для спускового устройства, спускового устройства, приведено на рисунке Б.1.

Основной частью калибровочного устройства является маятник, приведенный на рисунке Б.2. На нижнем конце этого маятника закреплена стальная пружина, детально представленная на рисунке Б.3. Пружину изготовляют из пружинной стали любой марки, не требующей специальной обработки, и жестко закрепляют на маятнике.

На рисунке Б.4 представлены некоторые детали в большем масштабе.

Следует отметить, что конструкция пружины по рисунку Б.3 предназначена для калибровки пружинного ударного устройства, характеристики которого по таблице 1 относятся к энергетическому уровню, равному или меньшему 1 Дж. Для калибровки пружинного ударного устройства, характеристики которого по таблице 1 относятся к энергетическому уровню, равному 2 Дж, конструкция пружины для маятника калибровочного устройства должна быть другой.

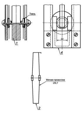
Для получения большей равномерности нажима маркера и смягчения толчков маятника во время калибровки между металлическими поверхностями оси и отверстиями в стойке прокладывают полоску тонкой ткани, которую слегка прикрепляют к оси путем бандажирования мягкой проволокой.

1 - ось; 2 - маркер; 3 - маятник; 4 - ячейка для спускового устройства; 5 - спусковое устройство; 6 - шкала; 7 - точка соприкосновения ударника с маятником, т.е. точка удара

Рисунок Б.1 - Калибровочное устройство

Рисунок Б.2 - Маятник

Рисунок Б.3 - Стальная пружина маятника

1 - ось; 2 - маркер; 4 - ячейка для спускового устройства

Примечание - Цифры соответствуют обозначениям позиций на рисунке Б.1.

Рисунок Б.4 - Детали калибровочного устройства

Поскольку спусковое устройство перемещается во время калибровки, его привинчивают к ячейке для спускового устройства.

Б.3 Метод калибровки калибровочного устройства

Калибровку калибровочного устройства (рисунок Б.5) осуществляют путем использования калибровочного ударника, извлеченного из пружинного ударного устройства. Калибровочный ударник подвешивают на четырех льняных нитях, закрепленных на горизонтальной плоскости, находящейся на высоте 2000 мм над местом соприкосновения маятника с калибровочным ударником, в момент, когда последний находится в состоянии покоя. Калибровочный ударник может быть отклонен от маятника, причем точка соприкосновения движущегося обратно ударника с маятником (точка удара 7) не должна более чем на 1 мм отстоять от точки соприкосновения маятника с ударником в состоянии покоя последнего. Таким образом, устройство следует расположить так, чтобы места подвеса нитей находились над местами соприкосновения калибровочного ударника с маятником.

После регулировки системы подвеса ось калибровочного ударника должна находиться под прямым углом к плоскости удара о пружину маятника, и калибровочный ударник в момент удара должен находиться в горизонтальном положении.

Когда калибровочный ударник находится в состоянии покоя, калибровочное устройство располагают таким образом, чтобы точка удара находилась точно около головки калибровочного ударника.

1 - маятник (рисунок Б.1); 2 - точка удара; 3 - калибровочный ударник; 4 - льняные нити; 5 - стеклянные трубки; 6 - шкала; 7 - тонкая нить

Для ясности на данном рисунке из калибровочного устройства показан только маятник 1

Рисунок Б.5 - Устройство для наладки калибровочного устройства

Для получения удовлетворительного результата калибровочное устройство жестко фиксируют на массивной опоре, например, на строительной конструкции здания.

Высоту перемещения измеряют от центра масс калибровочного ударника; измерение можно облегчить, используя жидкостное устройство для определения уровня, состоящее из двух стеклянных трубок, с миллиметровой шкалой, соединенных гибким шлангом. Одну из трубок закрепляют и совмещают со шкалой 6.

Калибровочный ударник может быть удержан в верхнем положении при помощи тонкой нити, при обрезке которой калибровочный ударник освобождается.

Для разметки калибровочного устройства на шкале указателя рисуют окружность, центр которой совпадает с центром оси маятника, а радиус таков, чтобы круг достигал маркера. На этом круге точку 0 Дж, показанную на рисунке Б.6, отмечают в точке, находящейся напротив маркера, когда последний соприкасается с маятником, находящимся в состоянии покоя.

Точку на шкале, соответствующую 1 Дж, получают путем отклонения подвешенного калибровочного ударника отточки удара на пружине маятника. После удара о маятник калибровочный ударник должен быть остановлен. При этом высота перемещения калибровочного ударника массой 250 г должна составлять (408 ± 1) мм.

Эту операцию проводят, как минимум 10 раз, и точку, соответствующую 1 Дж, устанавливают как средний из всех результатов.

Другие точки на шкале определяют следующим образом:

а) проводят прямую линию из центра окружности до точки 0 Дж;

б) ортогональную проекцию точки 1 Дж на этой линии обозначают Р;

в) расстояние между точками 0 Дж и Р делят на 10 равных частей;

Рисунок Б.6 - Разметка шкалы

г) через каждую отмеченную точку проводят перпендикуляр к линии 0 Дж - Р;

д) точки пересечения этих линий с окружностью представляют собой значения энергии удара 0,1; 0,2; ...; 1 Дж.

По аналогичному принципу размечают шкалу для точек более 1 Дж (рисунок Б.6).

Б.4 Применение калибровочного устройства

Пружинное ударное устройство, которое должно быть откалибровано, помещают в ячейку для спускового устройства. Затем ударник выпускают три раза при помощи спускового устройства; это не следует делать вручную.

Для каждого измерения ударник пружинного ударного устройства поворачивают вокруг оси. За фактическое значение ударной энергии принимают среднее из трех измерений.

Приложение В

(обязательное)

Руководство по применению испытательных устройств

В.1 Применимость испытаний по настоящему стандарту

Применимость испытаний - по разделу 3 настоящего стандарта.

Энергетический диапазон ударов по настоящему стандарту, как правило, перекрывает энергетический диапазон для тех случаев, когда в эксплуатации возможны удары по оболочке посторонними предметами. Требования для более ограниченных случаев, как правило, находятся в нижней части энергетического диапазона. Более высокие энергии удара могут возникать в некоторых частных случаях, таких, как вандализм или дорожно-транспортное происшествие. В этих случаях применяют специальные методы испытаний, неустановленные в настоящем стандарте, или используют дополнительную защиту, например, барьеры или стены.

Испытание частично применимо для хрупких изделий.

В.2 Выбор испытательного устройства

В настоящем стандарте приведены три метода испытаний, которые дают сопоставимые результаты. С точки зрения достижения повторяющихся и воспроизводимых результатов учитывают, что это испытание более зависимо от деталей испытательных устройств по сравнению с другими методами, предусмотренными комплексом ГОСТ 30630.

Выбор испытательного устройства зависит от расположения поверхности, которая подлежит испытанию, йот уровня энергии удара. Не все методы могут быть использованы в каждом частном случае. Очевидно, что метод маятника может быть применен только для вертикальных поверхностей без выступающих деталей. Подобно этому вертикальное ударное устройство обычно может быть использовано только для подходящих горизонтальных поверхностей. Если образец по какой-либо причине нельзя передвинуть или повернуть, то выбор метода ограничен. Преимущество пружинного ударного устройства состоит в том, что его можно использовать в любом положении образца, ограниченном только достаточными размерами окружающего пространства, чтобы его можно было приложить к образцу, и тем, что нормированная энергия удара не может превышать 2 Дж. Для более высоких уровней энергии пружинное ударное устройство может быть неудобно для перемещения и представлять опасность для оператора.

В.3 Выбор уровня энергии

Энергия ударов зависит от массы ударника и его скорости. В таблице В.1 приведены теоретические уровни энергии, которая может быть достигнута при вертикальном перемещении, соответствующие значениям, приведенным в настоящем стандарте. Значения, указанные в таблице В.1, соответствуют ударам, направленным перпендикулярно к поверхности образца. Такие же значения энергии могут быть достигнуты при той же массе ударника и при указанных в таблице В.1 скоростях, полученных другими способами.

Таблица В.1

Высота перемещения, м

Скорость, м/с

Уровни энергии, Дж, при массе ударяющего объекта, кг

0,1

0,2

0,5

1,0

2,0

5,0

0,1

1,4

0,1

0,2

0,5

1,0

2,0

5,0

0,2

2,0

0,2

0,4

0,5

1,0

2,0

5,0

0,5

3,1

0,5

1,0

2,5

5,0

10,0

25,0

1,0

4,4

1,0

2,0

5,0

10,0

20,0

50,0

В.4 Информация для испытаний

В НД на изделие должно быть учтено, что температура образца может повлиять на результаты испытаний.

Испытания по настоящему стандарту могут быть предусмотрены в составе циклических испытаний совместно с другими испытаниями, но следует принять во внимание, что некоторые нормированные испытания проводят на новых образцах, в этих случаях они должны быть включены в цикл перед испытаниями по настоящему стандарту.

Основным характеристическим критерием является то, каким образом воздействие ударов влияет на работоспособность и долговечность образца.

Другим важным аспектом является безопасность, которая должна быть приоритетной при прочих равных условиях.

Приложение Г

(справочное)

Пример испытательного устройства для маятникового копра

На рисунке Г.1 приведен пример испытательного устройства для испытания на маятниковом копре для энергии, не превышающий 1 Дж. Ударник соответствует 4.2.1 и рисунку Г.2. Плечо изготовлено из стальной трубки с наружным диаметром 9 мм (номинальным) и толщиной стенки 0,5 мм (номинальной).

Образцы размещают на квадратном листе из клееной фанеры любой марки толщиной 8 мм со стороной 175 мм. Лист закреплен сверху и со стороны боковых граней при помощи жесткой крепежной скобы, являющейся частью крепежного приспособления, пример которого приведен на рисунке Г.3. Крепежное приспособление имеет массу (10 ± 1)кг и крепится на жесткой раме при помощи болтов. Рама, в свою очередь, фиксируется на твердой стене.

1 - корпус; 2 - штырь маятника; 3 - высота перемещения; 4 - монтажное приспособление; 5 - образец

Рисунок Г.1 - Испытательная аппаратура

1 - корпус; 2 - штырь маятника; 3 - высота перемещения; 4 - монтажное приспособление; 5 - образец

Примечание - См. таблицу 1. Размеры указаны в миллиметрах

Рисунок Г.2 - Ударник для маятникового копра для энергии удара £ 1 Дж

Рисунок Г.3 - Монтажное приспособление

Устройство крепления должно быть таким, чтобы:

а) образец был размещен так, чтобы точка удара лежала в вертикальной плоскости, проходящей через ось стержня маятника;

б) образец можно было передвигать горизонтально, а затем поворачивать вокруг своей оси перпендикулярно к поверхности фанеры;

в) фанера могла поворачиваться вокруг вертикальной оси.

Образцы устанавливают на фанере в нормальном эксплуатационном положении. Если невозможно установить образцы прямо на фанеру, то в НД на изделие должно быть предусмотрено соответствующее крепление. Например, крепление для внутренних выключателей показано на рисунке Г.4, а крепление для патрона лампы - на рисунке Г.5.

Рисунок Г.4 - Крепление для внутренних выключателей

1 - образец для поверхности или полувстроенного крепления; 2 - образец полувстроенного крепления; 3 - монтажное приспособление

Рисунок Г.5 - Крепление для патрона лампы

Приложение Д

(справочное)

Пример испытательного пружинного ударного устройства

На рисунке Д.1 приведен пример испытательного пружинного ударного устройства, соответствующего требованиям раздела 5, для энергии удара не более 1 Дж. Масса корпуса - (1250 ± 10) г. Головка ударника прикреплена к его стержню таким образом, чтобы расстояние от ее кончика до плоскости удара в момент, когда ударник находится во взведенном состоянии, имело приблизительное значение, приведенное для сжатой пружины в таблице Д.1.

1 - спусковой конус; 2 - пружина направляющего конуса; 3 - спусковой кулачок; 4 - пружина спускового механизма; 5 - спусковой зажим; 6 - головка ударника; 7 - пружина ударника; 8 - стержень ударника; 9 - круглая ручка

Рисунок Д.1 - Испытательное пружинное ударное устройство

Таблица Д.1 - Кинетическая энергия ударника

Значение кинетической энергии Е непосредственно перед ударом, Дж

Приблизительное значение сжатия пружины (пружинная постоянная 2,75 · 103 Н/м), мм

0,14 ± 0,014

10

0,20 ± 0,02

13

0,35 ± 0,03

17

0,50 ± 0,04

20

0,70 ± 0,05

24

1,00 ± 0,05

28

Примечание - Приблизительное значение кинетической энергии, Дж, непосредственно перед ударом, может быть вычислено по формуле

E = 0,5FC · 10-3,

где F - сила, действующая на ударник при полном сжатии пружины, Н;

С - сжатие пружины, мм.

Кинетическая энергия достигается в горизонтальном положении.

Масса головки приблизительно составляет 60 г в тот момент, когда зажимы спускового механизма освобождают ударник, пружина конуса создает усилие 5 Н. Пружины спускового механизма регулируют таким образом, чтобы их нажатие было достаточно для удержания спускового механизма в состоянии зацепления.

Ударник приводят в рабочее состояние путем отвода ручки так, чтобы кулачки спускового механизма вошли в канавки в стержне ударника. Силу отвода постепенно увеличивают таким образом, чтобы головка перемещалась назад до тех пор, пока ударник не соединится с кулачками спускового механизма, которые, затем перемещаясь, приводят в действие спусковой механизм и позволяют ударнику нанести удар. Удары наносятся приложением спускового конуса к образцу в направлении, перпендикулярном ударяемой поверхности, в точке, подвергаемой испытанию.

Приложение Е

(справочное)

Аутентичный текст пунктов (абзацев) МЭК 60068-2-75:1997, уточненных и измененных в тексте настоящего стандарта для потребности национальной экономики

Таблица Е.1

Номер раздела, пункта, абзаца

МЭК 60068-2-75:1997

Примечание

настоящего стандарта

МЭК 60068-2-75:1997

Введение

Введение

Уровни жесткостей взяты, в основном, из МЭК 60721-1.

К моменту принятия настоящего стандарта текст МЭК потерял актуальность

Для целей координации необходимо выбрать некоторые конкретные основные параметры из предыдущих испытаний Ef: «Удар, маятниковый копёр» и Eg: «Удар, пружинное ударное устройство». Во всех случаях, как набор параметров, показываемый в подходящем месте текста, так и их величины не должны меняться в течение пяти лет после публикации настоящего стандарта. В то же время параметры, указанные в скобках, могут быть изменены

3.0

1

Идентичен

-

3.0, второй абзац

1, второй абзац

Методы применяют, в частности, для подтверждения способности изделий выдерживать предписанное число и уровень жесткости ударов, допустимого уровня износа (повреждения), при котором сохраняется безопасность продукции и, в первую очередь, предназначены для испытания электротехнических изделий. Они представляют собой воздействие на образец установленного числа ударов с определяемой энергией удара и приложенных в установленных направлениях - (0,3) - 0,35 - (0,4) - 0,5 - 0,7 - 1 - 5 - 10 - 20 - 50 Дж.

-

Примечание - Значения, указанные в скобках, ранее 5-летнего срока после введения стандарта в действие

3.1, первый абзац

3.1, первый абзац

Термины, используемые для целей настоящего стандарта, в основном определены в ИСО 2041 или в МЭК 60068-1

-

3.3.1, второй абзац

3.3.1, второй абзац

В зависимости от типа испытательного устройства в разделах 4, 5 и 6 испытания обозначены Eha; Ehb и Ehc соответственно

Приведение нумерации испытаний в соответствие с общей системой нумерации испытаний по ГОСТ 30630.0.0

Таблица 1

Таблица 1, примечание

Примечание - Значения для эквивалентных масс, указанные в скобках, и диаметр ударника для значения энергии равной или менее 1 Дж, такие же, как в действующем испытании Ef. Значения, действующие в испытании Eg, также указаны для этих двух параметров. С целью координации значения, указанные в скобках, не следует применять через пять лет после введения стандарта в действие

К моменту принятия настоящего стандарта текст МЭК потерял актуальность

Таблица 1, сноска1) 3.3.2, второй абзац

Таблица 1, сноска1) 3.3.2, второй абзац

ИСО 2039-2

-

Таблица 1, сноска2); 3.3.2, второй абзац

Таблица 1, сноска2); 3.3.2, второй абзац

ИСО 6508

-

3.4.2

3.4

Начальная стабилизация

-

Раздел В.1, первый абзац

Раздел В.1, первый абзац

Испытание на воздействие ударов по оболочке применяют для оборудования, которое, главным образом, используют в неограниченных случаях, и где, главным образом, возможны удары по оболочке. Для оборудования, предназначенного для применения в ограниченных случаях, испытание на воздействие ударов по оболочке может применяться, но, как правило, с пониженными жесткостями

-

В.2, конец первого абзаца

В.2, конец первого абзаца

Стандарты МЭК публикаций 60068

-

 

Ключевые слова: удар по оболочке изделия, методы испытаний, механические внешние воздействующие факторы, воздействие ударов, технические изделия

 



© 2013 Ёшкин Кот :-)