Информационная система
«Ёшкин Кот»

XXXecatmenu

ЩИТЫ И ПУЛЬТЫ СИСТЕМ АВТОМАТИЗАЦИИ
ТЕХНОЛОГИЧЕСКИХ ПРОЦЕССОВ
ОСОБЕННОСТИ ПРИМЕНЕНИЯ

ПОСОБИЕ К ОСТ 36.13-90

РМЗ-82-90

(Переизд. 1993 г. дополнено изв. 1 от 01.01.93)

РОСТОВСКОЕ СПЕЦИАЛЬНОЕ ПРОЕКТНО-КОНСТРУКТОРСКОЕ БЮРО
ГПКИ «ПРОЕКТМОНТАЖАВТОМАТИКА»

1990

ИНФОРМАЦИОННЫЕ ДАННЫЕ

РАЗРАБОТАН Ростовским специальным проектно-конструкторским бюро.

Государственным проектным и конструкторским институтом «Проектмонтажавтоматика»

ИСПОЛНИТЕЛИ Н.Н. Краснопольский, В.В. Любарцев, И.Н. Ковалева, В.Ф. Ткаченко, М.Б. Миндин, К.В. Скварковский, А.С. Слюсарев

М.А. Чудинов, А.М. Гуров, Н.В. Томилина

Срок введения установлен с

Настоящее пособие (РМ) предназначено для руководства при проектировании щитов и стативов по ОСТ 36.13-90 и столов и пультов по ТУ 36.22.21.00.024-92 (в дальнейшем щитов) систем автоматизации (СА).

РМ содержит информацию об основных особенностях применения щитов, которые необходимо учитывать при решении следующих вопросов:

при выборе типов и размеров шкафов, панелей с каркасом, корпусов пультов, столов, стоек и вспомогательных элементов щитов;

при определении монтажных зон щитов;

при компоновке приборов и аппаратов, а также изделий для их монтажа, на фасаде и внутри щитов;

при компоновке щитов в операторских и диспетчерских помещениях;

при определении мест прокладки электрических и трубных проводок, а также при определении марок проводов и труб.

(Измененная редакция, Изм. № 1).

1. ОСНОВНЫЕ ПОЛОЖЕНИЯ

1.1. Щиты изготавливают на основе:

ОСТ 36.13-90, определяющего область применения, конструкцию, типоразмеры и условия эксплуатации щитов, а также основные требования к конструкции шкафов, панелей с каркасом, стоек и вспомогательных элементов, к электрическим и трубным проводкам;

ТУ 36.22.21.00.024-92, определяющих конструкцию и типоразмеры корпусов пультов и столов;

проектной документации, передаваемой заказчиком изготовителю, определяющей выбор типоразмеров щитов, размещение в них приборов и средств автоматизации, комплектующих аппаратов, электрических и трубных проводок, изделий для их монтажа.

(Измененная редакция, Изм. № 1).

1.2. Порядок согласования и приемки проектной документации изготовителями щитов установлен руководящим материалом РТМ36.22.9-90.

Основные требования к проектированию щитов, к составу и правилам выполнения проектной документации на них приведены в РМ4-107-82.

Требования к проектированию комплексов технических средств операторских помещений (КТC ОП) с применением щитовой продукции по ОСТ 36.13-90 приведены в РТМ 36.22.12-90.

1.3. Щиты должны применяться только в системах автоматизации технологических процессов в соответствии с областью распространения по ОСТ 36.13-90. Применение их для случаев, не предусмотренных ОСТ 36.13-90, согласовывается проектной организацией непосредственно с изготовителями, с учетом рекомендаций настоящего РМ.

1.4. Щиты должны устанавливаться в производственных или специальных помещениях в соответствии с предусмотренными в ОСТ 36.13-90 условиями эксплуатации в части воздействия климатических (по ГОСТ 15150-69) и механических (по ГОСТ 17516-72) факторов. Применение щитов в условиях эксплуатации, не предусмотренных ОСТ 36.13-90 не допускается.

1.5. Учитывая конструктивные особенности, в том числе степень защиты оболочки по ГОСТ 14254-80, щиты рекомендуется применять:

1) щиты шкафные одиночные, двух- и трехсекционные с задними дверьми, а также малогабаритные (степень защиты IР30) - в производственных помещениях с климатическими факторами для исполнений УХЛ3.1, УXЛ4 и ТB304, а также в щитовых (операторских и диспетчерских) помещениях для установки аппаратов при наличии особых условий (например, при необходимости установки аппаратов с открытыми токоведущими частями - щиты питания, клеммные шкафы и т.п.);

2) щиты панельные с каркасом всех типоразмеров и вспомогательные элементы к ним (степень защиты IР00) - в операторских и диспетчерских помещениях;

3) щиты шкафные с передней и задней дверьми (степень защиты IР30) - в качестве релейных и других вспомогательных щитов двустороннего обслуживания;

4) стативы всех типоразмеров (степень защиты IР00) - в качестве конструкций для установки вспомогательных аппаратов (реле, аппаратов питания, преобразователи, регулирующие и функциональные блоки система «Старт» и т.п.), располагаемых в аппаратных залах или в пространстве за щитом в операторских и диспетчерских помещениях;

5) щиты малогабаритные типа ЩШМ со степенью защиты оболочки IР41 в пожароопасных зонах классов П-I, П-II, П-IIа при соблюдении требований главы 7-4 ПУЭ;

6) пульты (степень защиты IР30) - в качестве устройств для размещения  приборов К5 аппаратов управления и сигнализации в щитовых и производственных помещениях;

7) панели декоративные (степень защиты IР00) - в качестве конструкций для размещения мнемосхем, а также закрытия надщитового пространства в операторских и диспетчерских помещениях;

8) столы (степень защиты IР30) - в качестве устройств для размещения настольных приборов в операторских и диспетчерских помещениях.

(Измененная редакция, Изм. № 1).

1.6. При выборе высоты полногабаритных щитов необходимо учитывать, что щиты высотой 1800 мм рекомендуется, как правило, применять в следующих случаях:

при реконструкции и техническом перевооружении объекта, когда строительство новых помещений не предусматривается и транспортировка щитов должна (в основном) осуществляться через существующие дверные проемы;

при высоте помещения менее 3 м;

при необходимости установки в одной линии щитов по ОСТ 36.13-90 со щитами и конструктивами, имеющими высоту 1800 мм (например, по ОСТ 25.1231-85 и ГОСТ 26.204-83);

при малонасыщенных щитах (когда щиты малогабаритные недостаточны, а щиты высотой 2200 мм избыточны).

1.7. При установке в щитах датчиков, к которым подводят измеряемые среды, необходимо соблюдать следующие правила:

щиты должны устанавливаться вне взрыво- и пожароопасных зон, (кроме ЩШМ IР41), к щитам не должны подводиться взрыво- и пожароопасные, токсичные и агрессивные среды.

1.8. При размещении приборов и аппаратов на щитах не допускается:

1) установка любых приборов, аппаратов и т.п. средств автоматизации на боковых стенках и дверях щитов (кроме дверей малогабаритных щитов);

2) установка аппаратов внутрищитового монтажа на дверях малогабаритных щитов всех типоразмеров и на боковых стенках щитов глубиной 250 и 350 мм, а также на панелях пультов;

3) установка приборов и аппаратов, рассчитанных на присоединение трубных проводок на дверях малогабаритных щитов, на поворотных рамах, на столешницах пультов;

4) установка любых приборов, аппаратов и т.п. средств автоматизации на вспомогательных элементах щитов и пультов, панели вспомогательной с дверью, панели вспомогательной, панели торцевой декоративной, вставках угловых, а также на крышках щитов. Исключение составляют устройства ввода проводок (сальники, вводы, соединения и т.п.), устанавливаемых в крышках щитов.

1.9. Щиты шкафные и панельные с каркасом, а также стативы не предназначены для совместной установки на них аппаратов систем автоматизации технологических процессов и магнитных пускателей, контакторов, рубильников, автоматов, предохранителей, используемых для управления и защиты силового электрооборудования, электроприводов технологических агрегатов и запорных органов (кроме электроприводов исполнительных механизмов системы регулирования).

Допускается установка органов дистанционного управления контроля и сигнализации электроприводов (ключей управления, кнопок, сигнальной арматуры, электроизмерительных приборов), если, исходя из принятой организации управления данным технологическим процессом, агрегатом и т.п., эти органы управления и контроля электроприводов необходимо совместить на общем щите с аппаратами систем автоматизации.

1.10. Номинальный ток нагрузки приборов и аппаратов, установленных в щите, согласно ГОСТ 12.2.007.0-75 не должен превышать 100 А.

2. КОНСТРУКТИВНЫЕ ОСОБЕННОСТИ ЩИТОВ

2.1. Все щитовке изделия, предусмотренные ОСТ 36.13-90 и ТУ 36.22.21.00.024-92 по конструкции и назначению подразделяются условно на 5 групп:

щиты и стативы высотой 2200 и 1800 мм;

стативы плоские высотой 2200 и 1800 мм;

щиты малогабаритные;

пульты и столы;

вспомогательные элементы щитов.

(Измененная редакция, Изм. № 1).

2.2. Основой всех щитов и стативов первой группы является объемный каркас, показанный на черт. 1. Стойки поз. 1, образующие каркас, имеют ряд установочных отверстий диаметром 6,6 мм, расположенных с шагом 25 мм.

2.3. Стойка статива представляет собой объемный каркас показанный на черт. 1 (исполнение I).

Установка на каркасе панели поз. 3 образует второе исполнение стойки статива.

2.4. Установка на каркасе 2-х или 3-х фасадных панелей (черт. 2) образует панель с каркасом, соответственно, первого или второго исполнений. Панель с каркасом может также иметь боковую (правую или левую) стенку.

2.5. Установка на панели с каркасом боковых стенок, дверей и крышки образует шкафы (см. черт. 2).

2.6. Стойка плоского статива показана на черт. 3, образующие ее элементы аналогичны элементам объемного каркаса.

2.7. Конструкция шкафов малогабаритных щитов (черт. 4) сварная.

Конструкция корпусов пультов сборная, состоящая из отдельных сварных узлов (каркаса, приборной приставки, столешницы, дверей и т.д.) (черт. 5).

Монтажное поле в них образовано специально предусмотренными для этой цели деталями: в шкафах - швеллерами поз. 5 (см. черт. 4), в пультах - угольниками поз. 11, 12 и скобами поз. 13 (см. черт. 5), которые аналогично стойкам каркаса и стативов имеет ряды отверстий диаметром 6,6 мм, расположенных с шагом 25 мм.

(Новая редакция, Изм. № 1).

Каркас объемный. Стойка статива

1 - стойка; 2 - рама; 3 - панель; 4 - рама опорная; 5 - пластина с узлами заземления

Черт. 1

Панель с каркасом, шкаф

Исполнение I

1 - каркас; 2, 3, 4, 5 - панели; 6 - крышка; 7 - дверь; 8 - стенка

Черт. 2 лист 1

Исполнение II

остальное - см. исп. I

Черт. 2, лист 2

Стойка статива плоского

1 - стойка; 2 - рама; 3 - рама опорная; 4 - пластина с узлами заземления

Черт. 3

Шкаф малогабаритный

1 - каркас; 2 - дверь; 3, 4 - крышки; 5 - швеллер; 6 - петля

Черт. 4

Корпус пульта ПНП

1 - каркас; 2, 3 - двери; 4 - панель; 5 - панель (столешница); 6, 7, 8, 9 - стенки; 10 - дверь; 11, 12 - угольники; 13 - скоба; 14 - пластина с узлами заземления;

Черт. 5, лист 1

(Измененная редакция, Изм. № 1).

Черт. 5, лист 2

2.8. Вспомогательные элементы щитов можно условно разделить на четыре группы:

панели напольной установки (панель вспомогательная, панель вспомогательная с дверью);

панели, устанавливаемые на щитах (панели торцевые декоративные, панели декоративные прямые и наклонные);

специальные профили для образования многопанельных щитов - вставки угловые и декоративное обрамление;

подставки для малогабаритных щитов.

2.9. В составе щитовых конструкций предусмотрены дополнительные элементы: поворотные и стационарные рамы. По аналогии с конструктивной основой щитов они также представляй собой каркас с аналогичными рядами установочных отверстий. Поворотные рамы устанавливают в щитах и стативах (черт. 6), а стационарные - в щитах с передней и задней дверьми, а также стативах исполнения I (черт. 7).

2.10. Металлоконструкции всех щитовых изделий имеют соответствующие отверстия, позволяющие многосекционную сборку.

2.11. Основные размеры щитов, стативов и пультов, предусмотренные ОСТ 36.13-90 ТУ 36.22.21.00.024-92, это размеры их каркасов. При этом, толщина накладных панельных элементов (фасадные панели, боковые стенки, двери, крышки) устанавливаемых на каркасе, не превышают 20 мм.

2.12. Внутри опорных рам щитов и стативов высотой 2200 и 1800 мм предусмотрена пластина с узлами заземления, имеющими болты М6 и М8.

Аналогичные пластины приварены также в нижних частях пультов, малогабаритных щитов и столов.

2.11, 2.12. (Измененная редакция, Изм. № 1).

Панель с каркасом с поворотной рамой

1 - панель с каркасом; 2 - рама поворотная

Черт. 6

Стойка статива со стационарной рамой

Черт. 7

СТОЛ С ТУМБОЙ СТ-I

1 - столешница; 2 - каркас; 3 - блок зажимов БЗ 24; 4 - угольник; 5 - пластина с узлами заземления; 6 - отверстие для ввода электрических проводок; 7 - замок; 8 - дверь; 9 - тумба с ящиком и полкой.

Черт. 7а

стол ст-II

1 - столешница; 2 - каркас; 3 - блок зажимов БЗ 24; 4 - угольник; 5 - пластина с узлами заземления; 6 - отверстие для ввода электрических проводок.

Черт. 7б

Черт. , . (Введены дополнительно, Изм. № 1).

2.13. Стойки, панели с каркасом и шкафы изготавливают единичными, а также двух или трехсекционными, при этом последние конструкции собирают на общей раме.

2.14. Конструкция столов сварная и имеет две модификации: с тумбой и без нее (черт. и ).

В тумбе имеется выдвижной ящик и полка, тумба закрывается дверью и замком. Столы имеют пластину с узлами заземления.

(Введен дополнительно, Изм. № 1).

3. МОНТАЖНЫЕ ЗОНЫ

3.1. Размеры монтажных зон единичных щитов, стативов, пультов, стационарных и поворотных рам, а также декоративных панелей приведены на черт. 8 - 19.

Монтажные зоны на чертежах изображены в виде заштрихованных участков.

3.2. Соединение единичных щитов и стативов в двух и трехсекционные не изменяет их монтажных зон.

3.3. Монтажную зону декоративных панелей для одиночных щитов определяют по черт. 17, лист 1, а для многосекционных щитов - по черт. 17, лист 2.

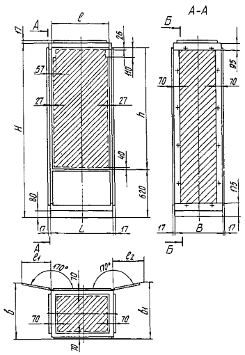
Монтажная зона стойки статива С

Исполнение I

Черт. 8, лист 1

Исполнение I                                                 Исполнение II

Остальное - см. исп. I

Условное наименование

Исполнение

Размеры, мм

Н

h

L

l

С

I

1800

1055

600

590

2200

1455

1800

1055

800

790

2200

1455

1800

1055

1000

990

2200

1455

II

-

600

590

800

790

1000

990

Черт. 8, лист 2

Монтажная зона стойки плоского статива и стационарной рамы

Условное наименование

Размеры, мм

Н

h

L

l

СП

1800

1530

600

536

2200

1930

1800

1530

800

736

2200

1930

1800

1530

1000

936

2200

1930

Черт. 9

Монтажная зона панели с каркасом щита ЩПК

Исполнение I

Черт. 10, лист 1

Исполнение I

Исполнение II

остальное - см. исп. I

Условное наименование

Исполнение

Размеры, мм

H

h

L

l

ЩПК

ЩПК-3П

щпк-3л

I

1800

1100

600

590

2200

1510

1800

1110

800

790

2200

1510

1800

1110

1000

990

2200

1510

II

-

600

590

800

790

1000

990

Черт. 10, лист 2

Монтажная зона шкафа щита ЩШ-3Д

Исполнение I

Черт. 11, лист 1

Исполнение I

Б-Б

Исполнение II

остальное - см. исп. I

Условное наименование щита

Исполнение

Размеры, мм

H

h

L

B

l

l1

l2

b

b1

щш-3Д

ЩШ-3Д-02

щш-3д-оп

щш-3д-ол

I

1800

1110

600

600

590

278

310

698

705

2200

1510

1800

1110

800

790

376

408

716

722

2200

1510

1800

1110

1000

990

475

507

734

740

800

934

940

2200

1510

600

734

740

800

934

940

II

-

600

600

590

278

310

698

705

800

790

576

408

716

722

1000

990

475

507

734

740

800

934

940

Черт. 11, лист 2

Монтажная зона шкафа щита щш-пзд

Черт. 12, лист 1

Б-Б

Условное наименование

Размеры, мм

H

L

B

l

b

ЩШ-ПЗД

1800

600

600

1188

770

2200

1800

800

1584

806

2200

1800

1000

1982

842

1042

2200

842

800

1042

Черт. 12, лист 2

Монтажная зона поворотной рамы

Условное наименование

Размеры, мм

Н

L

h

l

h1

l1

h2

l2

для аппаратов с задним присоединением проводок

для аппаратов с передним присоединением проводок

РП

1800

600

1288

465

1148

385

465

850

290

800

665

585

665

590

1000

740

665

490

2200

600

1688

465

1548

585

465

1250

290

800

665

585

665

590

1000

740

665

490

Черт. 13

Монтажная зона шкафа щита ЩШМ

Черт. 14, лист 1

Условное наименование

Размеры, мм

 

L

Н

b

l

h

l1

 

щшм

400

600

250

354

560

355

350

600

1000

554

960

555

500

Черт. 14, лист 2

Монтажная зона корпуса пульта П

Черт. 15, лист 1

Условное наименование

Размеры, мм

L

B

l

l1

l2

П, П-П, П-Л, П-С

600

450

590

305

270

650

800

450

790

405

370

650

1000

450

990

505

470

650

Черт. 15, лист 2

Монтажная зона корпуса пульта ПНР

Черт. 16, лист 1

Условное наименование

Размеры, мм

L

l

l1

l2

ПНП

ПНП-П

ПНП-Л

ПНП-С

600

590

305

270

800

790

405

370

1000

990

505

470

Черт. 16, лист 2

Черт. 15, 16, лист 1, 2. (Измененная редакция, Изм. № 1).

Монтажная зона корпуса пульта ПНП-У

Черт. 16а, лист 1

Условное наименование

Размеры, мм

L

l

l1

l2

ПНП-У

ПНП-УП

ПНП-УЛ

ПНП-УС

600

590

305

270

800

790

405

370

1000

990

505

470

Черт. 16а, лист 2

Черт. 16а, лист 1, 2. (Введен дополнительно, Изм. № 1).

Монтажная зона панели декоративной ПнД (прямой и наклонной)

Черт. 17, лист 1

Остальное - см. лист 1

Условное наименование

Лист

Размеры, мм

H

L

h

А

а

a1

a2

ПнД

1

600

600

296

560

484

-

-

800

760

684

-

-

1000

960

884

-

-

2

1200

-

1084

560

560

1400

-

1284

760

1600

-

1484

760

1800

-

1684

960

1

800

600

496

560

484

-

-

800

760

684

1000

960

884

2

1200

-

1084

560

560

1400

-

1284

760

1600

-

1484

760

1800

-

1684

960

Черт. 17, лист 2

Монтажная зона панели декоративной наклонной центральной ПнДН-Ц

Условное наименование

Размеры, мм

Н

L

h

l

А

а

ПнДН-ц

600

600

496

560

484

296

518

476

800

760

684

560

718

676

1000

960

884

760

918

876

800

600

560

550

484

296

448

434

800

750

684

560

688

634

1000

950

884

760

888

834

Черт. 18

Монтажная зона панели декоративной наклонной правой ПнДН-П и левой ПнДН-Л

Панель декоративная наклонная левая ПнДН-Л - зеркальное отражение

Черт. 19, лист 1

Остальное - см. лист 1

Панель декоративная наклонная левая ПнДН-Л - зеркальное отражение

Условное наименование

Лист

Размеры, мм

L

H

l

А

а

ПнДН-П,

ПнДН-Л

1

600

496

575

484

495

544

517

800

775

584

560

744

717

1000

975

884

760

944

917

2

600

296

575

484

296

544

517

800

775

684

496

744

717

1000

975

884

560

944

917

Черт. 19, лист 2

4. РАСПОЛОЖЕНИЕ ПРИБОРОВ И АППАРАТОВ НА ФАСАДНЫХ ПАНЕЛЯХ ЩИТОВ

4.1. Общие положения

4.1.1. Компоновка приборов и аппаратов на фасадных панелях щитов по ОСТ 36.13-90 должна быть выполнена с учетом размеров и конфигурации их монтажных зон, показанных на черт. 8 - 19.

4.1.2. Расстояния между приборами и аппаратами устанавливаемыми на фасадных панелях следует определять по РТМ 25-91-82 «Рекомендуемые расстояния между приборами на фасадах щитов и пультов». При этом необходимо учитывать, что для щитов и пультов по ОСТ 36.13-90 термин «край панели» следует понимать как линию, ограничивающую монтажную зону по п. 3.1.

4.1.3. Взаимное расположение приборов и аппаратов должно соответствовать требованиям РМ 4-51-90 «Щиты и пульты управления. Принципы компоновки» и п.п. 4.2.8, 4.2.9 данного материала.

4.1.4. Поясняющие надписи снаружи и внутри щитов следует выполнять в соответствии с требованиями ОСТ 36.13-90.

4.2. Щиты шкафные и панельные с каркасом

4.2.1. Фасадная панель щитов состоит из двух (исполнение I) или трех (исполнение II) функциональных полей (черт. 20).

4.2.2. При проектировании щитов СА технологических систем процессов рекомендуется в первую очередь применять щиты исполнения I, как более экономичные.

4.2.3. Функциональное назначение фасадных панелей (полей) щита определило рекомендации по размещению приборов и аппаратов на них.

В щитах исполнения 1 на поле 2, в верхней его части, располагают сигнальную арматуру, в средней - показывающие приборы, в нижней - самопишущие приборы и органы управления (черт. 21).

Функциональные поля фасадных панелей щитов

Черт. 20

4.2.4. В щитах исполнения II (черт. 22), на поле 3 рекомендуется размещать сигнальную арматуру, компактные мнемосхемы, малогабаритные показывающие приборы (тягомеры, логометры, показывающие приборы системы «Старт» и т.п.).

На поле 4 рекомендуется размещать самопишущие и показывающие приборы, а также органы управления.

4.2.5. Поле I щитов исполнений I и II является декоративным, и не предназначено для установки приборов или аппаратов.

4.2.6. При необходимости применения развернутых мнемосхем их рекомендуется располагать на декоративных панелях (см. подраздел 4.5).

4.2.7. При установке в щитах панельных с каркасом и шкафных приборов, имеющих глубину равную или более 300 мм, независимо от массы, либо массу более 10 кг, независимо от глубины, хвостовые части их должны быть закреплены (см. сборник СТМ3-19-90 типовых монтажных чертежей).

Хвостовые части приборов устанавливаемых в одном горизонтальном ряду, и отстоящих друг от друга, закрепляют хомутами (черт. 23), а расположенных вплотную друг к другу - швеллером со шпильками (черт. 24).

4.2.8. Приборы, стоящие на фасадной панели в одном горизонтальном ряду, необходимо располагать так, чтобы нижние кромки лицевых частей, независимо от их размеров, находились на одной линии. Это требование относится ко всем приборам, устанавливаемым на фасадных панелях, в случае, когда на щите уже применена поддержка по п. 4.2.7.

На черт. 25 показан фрагмент неправильной композиции, где в поле одного крупногабаритного прибора поз. 1 неверно установлен прибор поз. 2, требующий закрепления его хвостовой части.

Пример применения щита исполнения I

1 - прибор самопишущий; 2 - прибор показывающий; 3 - переключатель; 4 - кнопка; 5 - табло световое; 6 - арматура сигнальная; 7- рамка для надписи.

Черт. 21

Пример применения щита исполнения II

1 - прибор самопишущий; 2 - прибор показывающий; 3 - переключатель; 4 - кнопка; 5 - табло световое; 6 - рамка для надписи

Черт. 22

1 - прибор; 2 - швеллер ШБ; 3 - швеллер ШП; 4 - хомут; 5 - подкладка, 6 - подставка

Черт. 23

1 - прибор; 2 - швеллер ШБ; 3 - швеллер ШП; 4 - подкладка; 5 - швеллер ШП; 6 - шпилька

Черт. 24

Пример неправильной компоновки приборов

1, 2 - глубокие приборы

Черт. 25

4.2.9. При определении расстояния между горизонтальными осями приборов и аппаратов по РТМ 25-91-82 необходимо, чтобы между фланцами приборов, требующих крепления хвостовых частей, было не менее 70 мм снизу и не менее 30 мм сверху.

4.2.10. Общая масса приборов и аппаратов устанавливаемых на фасадных панелях щитов (см. черт. 20) не должна превышать:

для поля 2 - 100 кг;

для поля 3 - 30 кг;

для поля 4 - 80 кг.

4.3. Щиты шкафные малогабаритные

4.3.1. В малогабаритных щитах устанавливают приборы, органы управления, сигнальную арматуру, необходимые для местного управления локальными установками или агрегатами.

4.3.2. Общая масса аппаратов и приборов, устанавливаемых на двери, не должна превышать 10 кг.

4.3.3. В малогабаритных щитах, как правило, функцию фасадной панели выполняет дверь, на которой размещают соответствующие приборы и аппараты.

Приборы, требующие поддержки хвостовой части, либо имеющие габарит, препятствующий их установке на двери, следует размещать на задней стенке щита. В этом случае задняя стенка играет роль фасадной панели, на которой размещают и все остальные аппараты аналогично щитам полного габарита.

Поддержку хвостовой части приборов следует выполнять аналогично показанному на черт. 23 и 24. При этом для закрепления боковых швеллеров ШБ в щите устанавливают угольники У32, показанные на черт. 30, поз. 7.

4.4. Пульты

4.4.1. В пультах столешница предназначена для размещения электрических аппаратов управления и сигнализации (кнопки и ключи управления, сигнальная арматура и т.п.).

4.4.2. Панель приборной приставки предназначена для размещения приборов, сигнальной арматуры, мнемосхем.

В пультах ПНП и ПНП-У, в случае установки тяжелых или глубоких приборов (см. п. 4.2.7), хвостовые части их должны быть закреплены (черт. 25а). При этом, поддерживающий швеллер устанавливается на вертикальные угольники с рядами установочных отверстий.

При установке приборов на панели приборной приставки необходимо соблюдать условие п. 4.2.8.

(Измененная редакция, Изм. № 1).

4.4.3. Аппараты на столешнице должны быть размещены так, чтобы была обеспечена возможность прокладки и закрепления с монтажной стороны панели жгутов проводов (черт. 26).

4.4.4. Аппараты на столешнице должны быть размещены так, чтобы исключалась возможность касания корпуса пульта. Для проверки обеспечения правильного размещения аппаратов следует пользоваться номограммами, приведенными в приложениях 1 и 2, где толстыми линиями показаны корпус и столешница пульта с нанесенной размерной сеткой на них. Оси размерной сетки соответствуют осям устанавливаемых аппаратов. При проверке вариантов компоновки намечают место установки аппарата и совмещают ось аппарата с осью размерной сетки. В результате совмещения определяют возможность установки аппарата по глубине, с учетом его габарита и подключения электрических проводок, а также радиуса R вращения аппарата при подъеме столешницы.

4.4.5. Общая масса аппаратов, устанавливаемых на столешнице, не должна превышать 12 кг.

4.4.6. Общая масса приборов, устанавливаемых на панели приборной приставки, не должна превышать 20 кг.

4.5. Панели декоративные

4.5.1. Декоративные панели устанавливают над щитами панельными с каркасом.

Пример применения поддержки глубоких и тяжелых приборов в пультах пнп, пнп-у

1 - прибор; 2 - швеллер ШП; 3 - хомут ХП; 4 - подкладка ПР; 5 - подставка ПП.

Черт. 25а

Черт. (Введен дополнительно, Изм. № 1).

Пример размещения аппаратов и разводки электрических проводок на столешнице пульта

1 - полоса перфорированная ПП30; 2 - хомут; 3 - лента К226 с кнопкой К227

Черт. 26

4.5.2. Мнемосхемы, выполненные на декоративных панелях, должны иметь индивидуальные сборки контактных зажимов, которые рекомендуется располагать горизонтально, в нижней части декоративной панели (черт. 27). Для этого на кронштейны поз. 1 декоративной панели устанавливают сборки контактных зажимов поз. 2 при помощи угольника поз. 3 по п. 5.2.1.

Электрические проводки прокладывают по угольникам и перфорированным полосам, закрепленным на кронштейнах поз. 1.

4.6. Столы

4.6.1. Столы предназначены для установки и подключения дисплейной техники и настольных приборов.

Конструкция столов (см. черт. , ) обеспечивает ввод и закрепление электрических проводок к установленному в столе блоку контактных зажимов БЗ 24, прокладку в каркасе электрических проводок и установку в нем штепсельных розеток.

(Введен дополнительно, Изм. № 1).

Пример установки сборки контактных зажимов на декоративной панели

1 - кронштейн; 2 - блок зажимов; 3 - угольник У; 4 - лента К226 с кнопкой К227

Черт. 27

5. ДЕТАЛИ ДЛЯ МОНТАЖА АППАРАТОВ И ПРОВОДОК

5.1. Общие положения

5.1.1. По назначению все детали для монтажа аппаратов и проводок (в дальнейшем именуемые деталями) подразделяют на детали, предназначенные для закрепления аппаратов в щитах, стативах и пультах (скобы, угольники, швеллеры) и детали для выполнения дополнительных функций: подвод проводок, их закрепление, ввод питающего воздуха, установка отдельных установочных изделий и т.п. (кронштейны, рейки, подставки, платы и т.п.).

5.1.2. По устойчивости к воздействию климатических факторов внешней среды, аналогично щитам, детали имеют два исполнения - УХЛ3.1 и ТВЗ 04.

5.1.3. Габаритные и установочные размеры деталей соответствуют конструктивным особенностям каркасов и корпусов щитов, стативов и пультов. Для обеспечения требуемой жесткости все основные детали имеют уголковый или швеллерный профиль.

5.1.4. На все детали для монтажа аппаратов и проводок выполнены чертежи типовых конструкций (ТК), собранные в сборник СТК 3-19-90.

5.1.5. Установку деталей выполняют по типовым монтажным чертежам (ТМ), приведенным в сборнике СТМЗ-19-90.

5.2. Описание конструктивных особенностей деталей

5.2.1. Наиболее массовыми деталями, предназначенными для установки подавляющего большинства аппаратов, установочных изделий и арматуры, являются угольники У ТКЗ-286-90 (черт. 28. поз. 1) и скобы С ТКЗ-285-90 (черт. 28, поз. 2).

1 - угольник У; 2 - скоба С; 3 - угольник У3; 4 - скоба С3; 5 - угольник УФ; 6 - скоба СФ

Черт. 28

5.2.2. Для установки аппаратов с задним присоединением проводов, с установочными отверстиями сверху и снизу корпуса (в зоне которых расположены контактные выводы), применяют угольники зубчатые УЗ ТКЗ-128-90 (черт. 28, поз. 3) и скобы зубчатые СЗ ТКЗ-125-90 (черт. 28, поз. 4). При этом аппараты устанавливают на трапецевидные выступы с овальными отверстиями.

На продольные овальные отверстия основной полки деталей устанавливают аппараты с передним присоединением проводов (при отсутствии деталей по п. 5.2.1).

5.2.3. Для установки аппаратов открытого исполнения, установочные отверстия которых находятся в зоне конструктивных выступающих элементов (например, реле электромагнитное РКН), применяют угольники УФ ТКЗ 129-90 (черт. 28, поз. 5) и скобы СФ ТКЗ-126-90 (черт. 28, поз. 6).

На продольные овальные и прямоугольные отверстия основной полки устанавливают аппараты с передним присоединением проводов и открытого исполнения (при отсутствии деталей по п. 5.2.1).

5.2.4. Остальные детали, которые включены в сборник СТК3-19-90, служат для решения отдельных локальных задач при монтаже аппаратов и проводок в щитах.

Среди применяемых деталей наиболее характерны нижеследующие:

рейка ТК3-278-90 (черт. 29, поз. 1) и рейка боковая ТК3-277-90 (черт. 29, поз. 2) предназначенные для установки аппаратов, имеющих специальные присоединительные устройства (например, автоматические выключатели ВА 14-26, ВА16 и т.п.);

рейка ТК3-265-90, ТК3-266-90 (черт. 29, поз. 3) и рейка боковая ТК3-264-90 (черт. 29, поз. 4) предназначенные для установки наборных зажимов ЗН-23 и т.п.;

кронштейн ТК3-105-90 (черт. 29, поз. 5) служит для установки в одном ряду аппаратов с разным межцентровым расстоянием (черт. 33, поз. 4);

1 - рейка Р2; 2 - рейка боковая Р2Б; 3 - рейка Р3-1; 4 - рейка боковая Р3; 5 - кронштейн К; 6 - кронштейн К114; 7 - кронштейн К51

Черт. 29

кронштейн ТК3-106-90 (черт. 29, поз. 6) предназначен для закрепления отдельных установочных изделий (например, потолочный патрон, пластмассовый вентиль и т.п.), а также командных и питающих труб (черт. 33, 44 - 46);

кронштейн ТК3-108-90 (черт. 29, поз. 7) служит для крепления электрических и трубных проводок (черт. 35, 37).

6. РАЗМЕЩЕНИЕ АППАРАТОВ, АРМАТУРЫ И УСТАНОВОЧНЫХ ИЗДЕЛИЙ

6.1. Общие положения

6.1.1. Компоновка аппаратов, арматуры и установочных изделий (в дальнейшем именуемые аппараты) должна быть выполнена с учетом их конструктивных особенностей, функционального назначения, обеспечения удобства монтажа и эксплуатации, размеров монтажных зон щитов.

6.1.2. Позиционные обозначения аппаратов выполняют штемпелеванием на свободных местах деталей для монтажа аппаратов и проводок в непосредственной близости от аппарата.

6.1.3. Позиционные обозначения приборов и аппаратов, установленных на фасадных панелях щитов, дверях ЩШМ и столешниц пультов, выполняют штемпелеванием на задних поверхностях этих панелей, дверей, столешниц в непосредственной близости от прибора (аппарата).

6.1.4. В соответствии с ВСН 205-84/ММСС СССР для обеспечения комфортных условий эксплуатации и безопасного обслуживания, приборы и средства автоматизации в щитах и стативах рекомендуется располагать на следующих расстояниях от нижней кромки опорной рамы:

1) трансформаторы, стабилизаторы, выпрямители, сирены сигнальные (массой до 10 кг), пускатели, ревуны, звонки громкого боя, источники питания малой мощности, патроны для освещения щита -

- 1700 - 1975 мм - для щитов высотой 2200 мм;

- 1350 - 1575 мм - для щитов высотой 1800 мм;

трансформаторы, стабилизаторы, выпрямители (массой свыше 10 кг) - в нижней части;

2) выключатели, предохранители, автоматы, розетки -

- 700 - 1700 мм - для щитов высотой 2200 мм;

- 700 - 1500 мм - для щитов высотой 1800 мм;

3) реле, регуляторы, функциональные блоки, элементы аналоговой, дискретной техники, преобразователи -

- 600 - 1900 мм - для щитов высотой 2200 мм;

- 600 - 1575 мм - для щитов высотой 1800 мм;

4) аппараты пневматического питания - 300 - 700 мм;

5) сборки контактных зажимов расположенные: горизонтально - 350 - 600 мм;

вертикально - 350 - 1975 мм - для щитов высотой 2200 мм;

- 350 - 1575 мм - для щитов высотой 1800 мм;

6) переборочные соединители - 1700 - 1975 мм - для щитов высотой 2200 мм;

- 1400 - 1575 мм - для щитов высотой 1800 мм.

В технически обоснованных случаях на расстоянии - 500 - 750 мм.

6.1.5. Аппараты внутри малогабаритных щитов следует располагать аналогично требованиям п. 6.1.4 с учетом высоты установки щитов над уровнем пола.

Предпочтительным является размещение аппаратов на задней стенке.

При размещении аппаратов на боковых стенках малогабаритных щитов глубиной 500 мм, дополнительно устанавливают угольник У32 по ТК3-262-90, имеющий ряд перфорационных отверстий диаметром 6,6 мм с шагом 25 мм (черт. 30, поз. 7).

Сборки контактных зажимов в малогабаритных щитах следует располагать, как правило, горизонтально на задней стенке. Допускается при необходимости горизонтальная или вертикальная их установка на боковых стенках щитов глубиной 500 мм, либо вертикальная установка на боковых стенках щитов глубиной 250 и 350 мм (см. черт. 30).

Пример установки аппаратов и сборок контактных зажимов в малогабаритном щите

1 - реле; 2 - автоматический выключатель; 3 - переключатель; 4 - табло световое; 5 - блок зажимов; 6 - угольник; 7 - угольник У32; 8 - кронштейн К51; 9 - кронштейн К100; 10 - скоба СО; 11 - лента К226 с кнопкой К227

Черт. 30, лист 1

Черт. 30, лист 2

Одновременное размещение на боковых стенках аппаратов и вертикальных сборок контактных зажимов не допускается.

6.1.6. Внутри пультов устанавливать аппараты не рекомендуется. В технически обоснованных случаях аппараты внутри пультов располагает параллельно передней и задней стенкам.

6.1.7. Сборки контактных зажимов в щитах и стативах должны быть установлены горизонтально в один ряд на передней и боковых стенках. Допускается установка в два ряда с расстоянием между рядами не менее 200 мм. В случае ввода электрических проводок сверху, или в иных технически обоснованных случаях, сборки контактных зажимов могут быть установлены вертикально в один или два ряда (черт. 30а).

Конструкция для вертикальной установки сборок контактных зажимов дана в сборнике СТМ3-19-90.

Сборки контактных зажимов в пультах должны быть установлены горизонтально, в один ряд параллельно передней стенке (черт. 31), в технически обоснованных случаях, допускается установка в два, три или четыре ряда (черт. 32, 32а), допускается также в технически обоснованных случаях установка сборок контактных зажимов в прибор-приставке (черт. 32б).

(Новая редакция, Изм. № 1).

6.1.8. Сборки переборочных соединителей для присоединения внешних командных пневматических линий следует размещать в щитах горизонтально сверху на правой боковой стенке с монтажной стороны щита, либо в его крышке.

В технически обоснованных случаях сборки допускается размещать снизу в том числе, в днище малогабаритного щита (см. п. 6.1.4)

6.1.9. Положение аппаратов должно соответствовать требованиям инструкций по эксплуатации или технических условий на эти аппараты.

6.1.10. Размещение приборов и аппаратов на разных плоскостях (стенках) не должно ухудшать или делать затруднительным монтаж и эксплуатацию их (снятие крышек, доступ к установочным отверстиям, а также рукояткам аппаратов).

Пример вертикальной установки сборок контактных зажимов в щите.

а - однородная установка; б - двухрядная установка;

1 - блок зажимов БЗ 24; 2 - угольник У; 3 - скоба С; 4 - кронштейн К51; 5 - уголок УП35´35; 6 - скоба СО; 7 - перфополоса; 8 - лента К226 с кнопкой К227.

Черт. 30а

Черт. 30а. (Введен дополнительно, Изм. № 1).

Пример установки контактных зажимов в пульте П

1 - блок зажимов БЗ 24; 2 - угольник У; 3 - уголок перфорированный УП42´25; 4 - скоба СО; 5 - кронштейн К51; 6 - хомут; 7 - лента К226 с кнопкой К227.

Черт. 31

Пример установки сборок контактных зажимов в пульте ПНП

1 - блок зажимов БЗ 24; 2 - угольник У; 3 - кронштейн К80; 4 - уголок УП35´35; 5 - скоба СО; 6 - хомут; 7 - кронштейн К51; 8 - лента К226 с кнопкой К227.

Черт. 32

Черт. 31, 32. (Измененная редакция, Изм. № 1).

Пример установки сборок контактных зажимов в пульте ПНП

1 - блок зажимов БЗ 24; 2 - угольник У; 3 - кронштейн К80; 4 - швеллер ШП60´35, 5 - скоба СО; 6 - хомут; 7 - кронштейн К51; 8 - лента К226 с кнопкой К227.

Черт. 32а

Пример установки сборок контактных зажимов в приборной приставке пультов ПНП, ПНП-У

1 - блок зажимов БЗ 24; 2 - угольник У; 3 - хомут; 4 - кронштейн К51; 5 - лента К226 с кнопкой К227.

Черт. 32б

Черт. 32а, 32б. (Введен дополнительно, Изм. № 1).

6.2. Особенности установки аппаратов

6.2.1. Аппараты следует устанавливать на деталях, показанных в разделе 5 по типовым монтажным чертежам сборника СТМ3-19-90 «Установка аппаратов внутри щитов по ОСТ 36.13-90».

При необходимости установки аппарата, отсутствующего в сборнике СТМ3-19-90, его установку следует выполнить по ТМ аппарата аналогичной конструкции. Если это невозможно, в составе проекта должен быть разработан соответствующий чертеж установки.

6.2.2. Выбор типа детали зависит от конструкции, типа и массы устанавливаемого аппарата.

6.2.3. Аппараты защищенного исполнения с передним или задним присоединением проводов, установочные отверстия которых расположены вне зоны выводов, а также большинство аппаратов открытого исполнения закрепляют на угольниках ТК3-286-90 и скобах ТК3-285-90.

Для закрепления таких аппаратов требуется один или два игольника (скобы) в зависимости от взаимного расположения установочных отверстий (черт. 33 - 37).

6.2.4. Аппараты защищенного исполнения с задним присоединением проводов, установочные отверстия которых расположены в зоне выводов, устанавливают на угольниках зубчатых ТК3-128-90 и скобах зубчатых ТК3-125-90 и закрепляют на трапецевидных выступах. Для установки этого типа аппаратов требуется два угольника или скобы (черт. 38).

6.2.5. Аппараты открытого исполнения, установочные отверстия которых расположены в зоне конструктивных выступающих элементов (реле РКН), закрепляют на угольниках ТК3-129-90 и скобах ТК3-126-90. Для установки такого типа аппаратов требуется один угольник или одна скоба.

Пример установки аппаратов с передним присоединением проводов

1 - автоматический выключатель; 2 - реле; 3 - патрон; 4 - кронштейн К; 5 - кронштейн К114; 6 - скоба С; 7 - угольник УР; 8 - рамка для надписи; 9 - колодка восьмиклеммная; 10 - держатель вставки плавкой ДВП4-2В; 11 - кронштейн К14

Черт. 33

1 - аппарат, 2 - скоба С; 3 - угольник У

Черт. 34

Поворот скобы с аппаратом

Положения скобы: а - нормальное; б - повернутое

1 - аппарат; 2 - скоба; 3 - кронштейн К51; 4 - лента К226 с кнопкой К227

Черт. 35

Поворот угольника с аппаратом

Положение угольника: а - нормальное; б - повернутое

1 - аппарат; 2 - угольник; 3 - лента К226 с кнопкой К227

Черт. 36

Поворот скоб с аппаратом

Положение скоб: а - нормальное; б - повернутое

1 - аппарат; 2 - скоба С; 3 - кронштейн К51; 4 - лента К226 с кнопкой К227

Черт. 37

1 - аппарат; 2 - скоба С3; 3 - угольник У3

Черт. 38

6.2.6. Угольники и скобы с аппаратами открытого исполнения или защищенного исполнения с задним присоединением проводов необходимо устанавливать так, чтобы кромка основной полки была направлена вверх.

При установке аппаратов на двух угольниках (скобах), указанное правило касается нижнего из них.

Это требование обеспечивает возможность поворота угольника (скобы) вокруг его оси при монтаже и эксплуатации аппаратов. Поворот аппаратов, установленных на одном или двух угольниках (скобах), показан на черт. 35 - 37.

6.2.7. При необходимости установки в одном горизонтальном ряду аппаратов с разным межцентровым расстоянием установочных отверстий применяют кронштейны по ТК3-105-90 (см. черт. 33, поз. 4).

Допускается использование для этой цели поперечных отверстий в угольнике зубчатом ТК3-128-90 и скобе зубчатой ТК3-125-90.

Для обеспечения рациональной компоновки, допускается установка отдельного аппарата на свободном месте горизонтального ряда угольника (скобы) несмотря на то, что данный тип угольника (скобы) не указан в ТМ на установку упомянутого аппарата.

6.2.8. Аппараты, масса которых превышает 10 кг, а также аппараты рассчитанные на работу в горизонтальном положении, устанавливают на подставке ТК3-104-90. При необходимости установки на подставке аппаратов с разным межцентровым расстоянием установочных отверстий применяют дополнительный угольник (черт. 39, поз. 4).

6.2.9. Патрон для внутреннего освещения закрепляют на кронштейне ТК3-106-90 (см. черт. 33, поз. 5).

6.2.10. Внутри щитов, с приборами и средствами автоматизации, на фасадных панелях, электрические аппараты следует, как правило, располагать на левой стенке, а пневматические - на правой, для обеспечения необходимого удобства монтажа и эксплуатации.

Пример установки аппаратов на подставке

1 - источник питания; 2 - трансформатор; 3 - подставка; 4 - уголок УП35´35

Черт. 39

6.2.11. Компоновку аппаратов рекомендуется выполнять в следующем порядке:

1) определить монтажную зону соответствующей плоскости щита по черт. 8 - 19;

2) определить поле монтажа, свободное от «теней» (Вм) приборов и аппаратов, устанавливаемых на смежной плоскости щита (черт. 40). При определении размера «тени» необходимо учитывать также площадь, перекрываемую крышкой аппарата (прибора) при ее снятии;

3) наметить вариант взаимного расположения (композицию) устанавливаемых аппаратов и места прокладки жгутов проводов;

4) подобрать по соответствующему типовому монтажному чертежу (ТМ) сборника СТМ3-19-90 способы установки аппаратов. Если аппарат можно установить на одной и той же детали несколькими способами, предпочтение следует отдать наиболее простому (по металлоемкости установочных деталей, количеству крепежных деталей, компактности);

5) определить монтажные зоны аппаратов в соответствующих ТМ на основе принятых способов установки.

Монтажные зоны аппаратов, отсутствующих в сборнике СТМ3-19-90 и отличающихся от имеющихся в нем габаритами (см. п. 6.2.1), следует определять как сумму: габарит устанавливаемого аппарата плюс разность размеров монтажной зоны и габарита аппарата - аналога;

6) определить вертикальный размер монтажной зоны горизонтального ряда скомпонованных аппаратов: для чего к высоте монтажной зоны аппаратов ряда необходимо добавить размер места для прокладки жгута проводов (труб).

6.2.12. При компоновке внутри щитов, аппараты следует размещать на свободных местах передней стенке и боковых стенках щитов, начиная с левой, если же там места недостаточно, то применяют поворотную раму.

Пример определения «тени» от приборов или аппаратов

а - приборы на фасадной панели; б - аппараты на передней стенке

1 - прибор; 2 - аппарат; 3 - крышка аппарата; 4 - скоба С; 5 - угольник У

Черт. 40

6.2.13. При наличии в щите поворотной рамы, предпочтительно на ней устанавливать аппараты открытого исполнения и аппараты зачищенного исполнения с задним присоединением проводов.

Общая масса аппаратов, устанавливаемых на поворотной раме, не должна превышать 30 кг.

6.2.14. Аппараты следует размещать на внутренней стороне поворотных рам (черт. 41).

6.2.15. При наличии в щите или стативе стационарной рамы, аппараты располагают с двух сторон рамы (черт. 42).

Стационарную раму устанавливают, параллельно передней стенке щита, как правило, по оси симметрии. Конструкция щита позволяет вмещать ее в обе стороны от оси симметрии на 30 мм или 60 мм.

6.2.16. Рамки, пластины и т.п. изделия с надписями внутри щитов закрепляют к установочным угольникам и скобам с аппаратами при помощи угольника ТК3-246-90 по ТМ3-145-90 (черт. 43). Когда ширина аппаратов (например, автоматический выключатель ВА16) меньше длины рамок, последние устанавливают в шахматном порядке, используя для этого верхний и нижний угольники (скобы).

В случае установки аппаратов на рейках ТК3-277-90, ТК3-278-90, типовые рамки закрепляют на угольнике ТК3-292-90 по ТМ3-173-90.

6.2.17. Подготовку воздуха для питания приборов и средств автоматизации, установленных в щитах и стативах, выполняют централизовано, либо индивидуально.

6.2.18. При централизованной подготовке воздуха на штуцер коллектора в щите или стативе устанавливают блок вентилей типа БВПД. Питающие пластмассовые трубы к приборам и СА в этом случае подводят непосредственно от штуцеров БПВД (черт. 44).

Пример установки аппаратов на поворотной раме щита

1 - аппарат; 2 - скоба С; 3 - скоба СО; 4 - лента К226 с кнопкой К227

Черт. 41

Пример установки аппаратов на стационарной раме

1 - рама стационарная; 2 - аппарат; 3 - угольник.

Черт. 42

Пример установки угольника с рамкой

1 - рамка для надписи; 2 - угольник УР; 3 - втулка В; 4 - скоба С (угольник У)

Черт. 43

6.2.19. При индивидуальной подготовке воздуха на штуцере коллектора устанавливают вентиль, управляющий узлом подготовки воздуха (черт. 45).

При применении узла подготовки большой производительности, например, СДВ-6, СДВ-25, после него ставят блок БВПД (черт. 46).

6.2.20. Вводы электрических и трубных проводок в щиты следует выполнять по типовым монтажным чертежам сборника СТМ3-22-91 в соответствии с требованиями ОСТ 36.13-90.

(Измененная редакция, Изм. № 1).

Пример установки блока вентилей на коллекторе

1 - блок вентилей БВПД; 2 - коллектор; 3 - кронштейн К127; 4 - хомут; 5 - кронштейн К114; 6 - лента К226 с кнопкой К227.

Черт. 44

1 - редуктор давления с фильтром РДФ-3; 2 - коллектор; 3 - вентиль запорный; 4 - скоба С; 5 - кронштейн К127; 6 - соединитель СМВ; 7 - хомут; 8 - лента К226 с кнопкой К227

Черт. 45

1 - стабилизатор СДВ6-М1; 2 - блок вентилей БВПД; 3 - вентиль запорный; 4 - коллектор; 5 - соединитель СМВ; 6 - кронштейн К114; 7 - кронштейн К125; 8 - кронштейн К127; 9 - скоба С; 10 - кронштейн К100; 11 - хомут; 12 - лента перфорированная К226 с кнопкой К227.

Черт. 46

7. ЭЛЕКТРИЧЕСКИЕ ПРОВОДКИ

7.1. Общие требования

7.1.1. Электрические проводки следует выполнять проводами с медными жилами, прокладываемыми открыто жгутами или в коробах, учитывая рекомендации ВСН 205-84/ММСС СССР.

7.1.2. Для выполнения электрических проводок должны применяться провода марок приведенных в приложении 3. Там же приведены и рекомендуемые минимальные сечения проводов и степень гибкости их жил.

7.2. Размещение

7.2.1. Прокладка проводов жгутами должна быть выполнена с соблюдением следующих требований:

1) жгуты проводов необходимо прокладывать горизонтально или вертикально по кратчайшим расстояниям с минимальным количеством изгибов и перекрещиваний;

2) горизонтальные жгуты проводов должны быть закреплены к малой полке скоб и угольников (на которые устанавливаются аппараты) с помощью перфорированной ленты с кнопками или другими аналогичными способами. Причем, если аппараты защищенного исполнения с задним присоединением проводов установлены на двух скобах (угольниках), то горизонтальные жгуты проводов должны быть закреплены только к нижней скобе (угольнику) (см. черт. 37);

3) в случае крепления хвостовых частей глубоких или тяжелых приборов (см. п. 4.2.7), электрические проводки к ним следует прокладывать по поддерживающим прибор конструкциям (черт. 47);

4) при переходе жгутов проводов с неподвижной части на подвижную (поворотную раму, дверь малогабаритного щита, столешницу пульта) необходимо предусматривать место для крепления и размещения компенсатора (см. черт. 30 - 32, 35 - 37, 41);

Пример прокладки электрических проводок в щите

1 - угольник У; 2 - швеллер ШБ; 3 - швеллер ШП; 4 - кронштейн К51; 5 - лента перфорированная К226 с кнопкой К227

Черт. 47

5) длина прогиба петли компенсатора, в зависимости от диаметра жгута, а также марки проводов, составляющих жгут, должна быть не более 200 мм, считая от нижней точки крепления жгута;

6) как правило, не допускается непосредственное соединение аппаратов, стоящих на подвижной и неподвижной частях щитов и пультов.

Жгуты проводов, идущие от аппаратов, установленных на подвижной части щитов и пультов, должны присоединяться к сборкам контактных зажимов, установленным на неподвижной части.

7.2.2. Вертикальные жгуты проводов прокладывают на стойках, швеллерах или угольниках каркаса.

7.2.3. Концы проводов, подключенные к приборам, аппаратам и сборкам контактных зажимов, должны иметь маркировку, указанную в таблице соединений.

Маркировку выполняют пластмассовыми оконцевателями проводов или отрезками поливинилхлоридных труб белого цвета по ГОСТ 19034-82 длиной 20 - 25 мм.

8. ТРУБНЫЕ ПРОВОДКИ

8.1. Общие требования

8.1.1. Трубные проводки в щитах, стативах и пультах следует выполнять трубами приведенными в приложении 4.

8.1.2. Резиновые трубы для проводок применяют при давлении до 0,5 кгс/см2. Длина резиновой соединительной трубы не должна, как правило, превышать 500 мм.

8.1.3. В пределах щитов, стативов и пультов рекомендуется применять трубы того же типа, что и для внешних проводок.

Допускается переход на трубы из других материалов или размеров:

1) при различных условиях окружающей среды в щитовом и производственном помещениях;

2) для создания удобства в монтаже и эксплуатации.

8.2. Размещение

8.2.1. Трубные проводки внутри щитов, стативов и пультов прокладывают горизонтально или вертикально по кратчайшим расстояниям с минимальным количеством изгибов. Изменение направления трубной проводки должно производиться путем изгиба труб с учетом минимальных радиусов внутренней кривой изгиба:

полиэтиленовых труб - не менее 6-ти наружных диаметров;

стальных труб - не менее 4-х наружных диаметров;

медных труб - не менее 2-х наружных диаметров.

8.2.2. Вертикальные пучки пластмассовых труб прокладывают на стойках щитов ЩШ, ЩПК и стативов С, СП, швеллерам малогабаритных щитов или угольникам пультов и крепят с помощью кронштейнов. Горизонтальные пучки труб крепят к малой полке угольников и скоб, на которые установлены аппараты и арматура, с помощью перфорированной ленты с кнопками или другими аналогичными способами.

8.2.3. В случае крепления хвостовых частей глубоких или тяжелых приборов (см. п. 4.2.7) трубные проводки к ним следует прокладывать по поддерживающим прибор конструкциям.

8.2.4. Выбор и установку коллекторов питания воздухом необходимо выполнять по ТМ3-89-90 сборника СТМ3-19-90. Расположение коллектора в щите показано на черт. 48.

8.2.5. Концы труб, предназначенные для соединения с внешними трубными проводками, доданы быть присоединены к переборочным соединителям.

8.2.6. Концы труб, присоединяемые к приборам, арматуре и переборочным соединителям, должны иметь маркировку, указанную в таблице соединений.

Маркировку выполняют пластмассовыми бирками.

Пример установки коллектора в щите

1 - коллектор; 2 - хомут; 3 - кронштейн

Черт. 48

9. РАЗМЕЩЕНИЕ ЩИТОВ, СТАТИВОВ И ПУЛЬТОВ В СПЕЦИАЛЬНЫХ ПОМЕЩЕНИЯХ

9.1. Общие указания

9.1.1. Для размещения щитов, с установленными на них приборами и средствами автоматизации в проектно-сметной документации предусматривают специальные помещения систем автоматизации.

В зависимости от назначения помещений различают: пункты оперативного контроля и управления (операторские, диспетчерские), аппаратные залы, вспомогательные помещения и т.п.

9.1.2. В операторских и диспетчерских помещениях, как правило, сосредоточены все приборы и аппараты, необходимые для оперативного контроля и управления, мнемосхемы технологических процессов.

9.1.3. Аппаратный зал служит для размещения неоперативных технических средств автоматизации таких, как регуляторы неприборного исполнения, функциональные блоки, реле и другие вспомогательные электро- и пневмоаппараты, устанавливаемые на объемных и плоских стативах, релейных и клеммных щитах. Аппаратный зал не имеет постоянного обслуживающего персонала.

9.1.4. В производственных зданиях оперативные пункты управления целесообразно размещать над аппаратным залом. Для производств с расположением технологического оборудования на открытых площадках, где для щитовых помещений предусматривают отдельно стоящие здания, аппаратный зал размещают, как правило, над оперативным пунктом управления. Между этими помещениями располагают кабельный полуэтаж, через который осуществляют ввод внешних электрических и трубных проводок.

9.1.5. При небольших объемах неоперативных технических средств автоматизации щитовые конструкции для их установки рекомендуется размещать в пространстве за центральным щитом.

9.1.6. Диспетчерские (операторские) и др. помещения, в которых постоянно находится обслуживающей персонал, следует проектировать с учетом комфортных условий для его работы: высота потолков не менее 3,5 м, достаточная освещенность, отопление и вентиляция; а в необходимых случаях - кондиционирование воздуха и т.п. (см. РТМ25.298-83 ч. 3).

9.1.7. В диспетчерских (операторских) помещениях рекомендуется предусматривать подвесные потолки со встроенными светильниками, закладные конструкции под щиты, обрамление проемов, закладные конструкции (или двойной пол) для проводок.

9.1.8. Монтажные чертежи, типовые конструкции и строительные задания по установке щитов и пультов по ОСТ 36.13-90 в специальных и производственных помещениях приведены соответственно в сборниках СТМ3-21-91, СТК-21-91, СЗК3-21-91.

(Измененная редакция, Изм. № 1).

9.2. Компоновка центрального щита

9.2.1. Проектирование центрального щита на базе щитов панельных с каркасом и секций из них, а также пультов выполняют с учетом:

1) требований к организации рабочего места оператора (диспетчера), изложенных в ГОСТ 21958-76 «Система «человек-машина». Зал и кабины операторов. Взаимное расположение рабочих мест. Общие эргономические требования», и в руководящем материале РМ4-51-90 «Щиты и пульты управления. Принципы компоновки»;

2) требований к выполнению интерьеров операторских и диспетчерских помещений, требований по строительной и сантехнической части и освещение этих помещений, изложенных в руководящем материале РТМ 25.298-83. Часть 3. АСУ ТП. «Задания генпроектировщику на проектирование в смежных частях проекта объекта автоматизации. Часть 3. Помещения для АСУ ТП и систем автоматизации. Кабельные сооружения. Проемы и закладные устройства»;

3) требований полносборного монтажа, предусматривающих поставку щитов возможно более крупными монтажными единицами;

4) принципа идентичности компоновки щитов и пультов для однотипных технологических установок или агрегатов.

9.2.2. Номенклатура щитов панельных с каркасом и секций из них, а также их вспомогательных элементов позволяет выполнять практически любую форму центрального щита в плане (черт. 49, 50).

При этом рекомендуется:

1) повороты фронта щита выполнять под углом 15, 30, 45°;

2) примыкание торцевой части к линии фронта щита выполнять под углом 90°.

В отдельных случаях, обусловленных требованиями технической эстетики, допускается примыкание торцевой части щита к фронтальной с углом поворота, отличным от 90°.

9.2.3. (Исключен, Изм. № 1).

9.2.4. Повороты фронта центрального щита должны быть выполнены с применением угловых вставок.

(Измененная редакция, Изм. № 1).

9.2.5. Примыкание торцевой части к линии фронта центрального щита осуществляют с применением вспомогательных панелей.

9.2.6. На щитах рекомендуется устанавливать декоративное обрамление, поверхность которого можно использовать для размещения надписей о функциональном назначении различных панелей щита.

9.2.7. При необходимости над центральным щитом по всему фронту могут быть установлены панели декоративные, а над торцевой его частью - панели торцевые декоративные.

1 - щит панельный с каркасом двухсекционный закрытый с левой стороны ЩПК-2-3Л;

2 - щит панельный с каркасом двухсекционный с поворотными рамами ЩПК-2;

3 - щит панельный с каркасом трехсекционный ЩПК-3;

4 - щит панельный с каркасом трехсекционный закрытый справа - ЩПК-3-ЗП;

5 - статив двухсекционный С-2;

6 - статив плоский СП;

7 - панель вспомогательная с дверью ПнВ-Д;

8 - панель вспомогательная ПнВ;

9 - вставка угловая ВУ;

10 - пульт левый П-Л;

11 - пульт средний П-С;

12 - пульт правый П-П;

13 - щит шкафной малогабаритный ЩШМ;

14 - стол с тумбой СТ-I;

15 - стол СТ-II

Черт. 49

Черт. 49 (Измененная редакция, Изм. № 1).

1 - панель вспомогательная с дверью ПнВ-Д; 2 - щит панельный с каркасом ЩПН-I-600; 3 - вставка угловая ВУ-45; 4 - щит панельный с каркасом щпк-I-800; 5 - щит панельный с каркасом трехсекционный ЩПК-3-3П-I-600; 6 - панель вспомогательная ПнВ-600; 7 - панель декоративная ПнД-800´1000; 8 - панель декоративная ПнД-800´600; 9 - панель декоративная ПнД-800´800; 10 - панель торцевая декоративная ПнТД-800; 11 - вставка угловая для панелей декоративных ВУ-Д-45°´800

Черт. 50

9.2.8. Устанавливать щиты шкафные в линии фронта центрального щита, выполненного на базе щитов панельных с каркасом и секций из них, не допускается.

9.2.9. Устанавливать пульты вплотную к панелям центрального щита и стенам щитового помещения не допускается.

9.2.10. При установке щитов разных типов и разных поставщиков в линии фронта центрального щита необходимо обеспечить идентичность выполнения их фасадов в части цветового решения, отделки поверхности, надписей, выбора типов пусковых и сигнальных аппаратов и т.п.

9.3. Компоновка оборудования в аппаратных помещениях и в пространстве за центральным щитом.

9.3.1. Щиты со вспомогательными неоперативными техническими средствами автоматизации должны располагаться в аппаратном зале непосредственно над теми панелями оперативного щита, к которому они относятся, что позволяет уменьшить длину линий связи между ними.

9.3.2. При установке щитов панельных с каркасом и стативов в щитовых помещениях должны соблюдаться следующие требования (см. ВСН 205-84/ММСС СССР «Инструкция по проектированию электроустановок систем автоматизации технологических процессов»:

1) расстояние от наиболее выступающих открытых токоведущих частей аппаратов (в том числе и установочных изделий - сборок заливов, предохранителей, рубильников и т.п.) и приборов, расположенных на противоположно установленных рядах щитов, должно быть не менее 800 мм;

2) расстояние от наиболее выступающих открытых токоведущих частей аппаратов и приборов, устанавливаемых на внутренних конструкциях щита, до расположенной сзади стены помещения должно быть не менее 1000 мм при ширине прохода в свету не менее 800 мм. Допускается сужение прохода в отдельных местах, например, строительными конструкциями, до 600 мм;

3) ширина прохода обслуживания перед щитом (без учета требований хорошего обзора щита) должна быть не менее 800 мм;

4) проходы обслуживания между щитами при длине щита более 7 м должны иметь два выхода.

9.3.3. Ширина прохода в свету между щитами панельными с каркасом и щитами шкафными, установленными в щитовом помещении, должна быть не менее 800 мм.

9.3.4. Расположение оборудования (щитов питания, релейных щитов, стативов с вспомогательными приборами и аппаратами и т.д.) в пространстве за центральным щитом должно обеспечить удобство эксплуатации и монтажа при минимальном расходе кабелей, труб и монтажных материалов.

9.3.5. Шкафы электрических и пневматических соединений рекомендуется располагать рядом с вводами в щитовое помещение электрических и трубных проводок. Более подробные рекомендации по проектированию шкафов электрических соединений изложены в руководящем материале РМ4-162-79.

Приложение 1

Рекомендуемое

НОМОГРАММА ОПРЕДЕЛЕНИЯ РАССТОЯНИЯ АППАРАТА ОТ КРАЯ СТОЛЕШНИЦЫ ПУЛЬТА П

Приложение 2

Рекомендуемое

НОМОГРАММА ОПРЕДЕЛЕНИЯ РАССТОЯНИЯ АППАРАТА ОТ КРАЯ СТОЛЕШНИЦЫ ПУЛЬТА ПНП, ПНП-У

Приложение 1, 2. (Измененная редакция, Изм. № 1).

ПРИЛОЖЕНИЕ 3

Рекомендуемое

ПРОВОДА ДЛЯ ЭЛЕКТРИЧЕСКИХ ПРОВОДОК В ЩИТАХ ПО ОСТ 36.13-90

Таблица 1

Марка провода

ГОСТ

Сечение жилы провода, мм2

Класс жилы по ГОСТ 22483-77

ПВ1

ГОСТ 6323-79

0,50; 0,75; 1,00; 1,50

1

ПВ3

0,50; 0,75; 1,00, 1,50

2, 3 или 4

 

0,50; 0,75

5

ПВ4

1,00; 1,50

4 или 5

НВМ

ГОСТ 17515-72

0,75; 1,00; 1,50

3

0,20; 0,35; 0,50

4

НВ

0,75; 1,00

3

0,20; 0,35; 0,50

4

Провода с жилами классов 1, 2 предназначены для неподвижной прокладки, а с жилами классов 3, 4, 5 - для подвижной прокладки.

МИНИМАЛЬНЫЕ СЕЧЕНИЯ ПРОВОДОВ И СПОСОБЫ ИХ ПРИСОЕДИНЕНИЯ

Таблица 2

Вид жилы провода

Способ присоединения

Сечение, мм

Однопроволочная

Винтовой зажим

0,50

Пайка

0,50

Накрутка

0,20

Многопроволочная

Винтовой зажим

0,35

Пайка

0,20

Примечание: Для выполнения предлагаемых способов присоединения проводов могут применяться любые типы электрических соединителей (зажимов) допускающие присоединение рекомендуемых сечений проводов и соответствующие расчетным токовым нагрузкам.

ПРИЛОЖЕНИЕ 4

Рекомендуемое

ТРУБЫ ДЛЯ ТРУБНЫХ ПРОВОДОК (ВЫПИСКА ИЗ ОСТ 36.13-90)

Для трубных проводок в изделиях, как правило, должны применяться:

1) для командных проводок систем пневмоавтоматики - трубки напорные по ТУ 6-19-272 размером 6´1 и 8´1 мм из полиэтилена высокого давления по ГОСТ 16337 марок 102-14 или 153-14 высшего и первого сортов и трубки гибкие поливинилхлоридные по ТУ 6-19-254 размером 4´1 мм;

2) в изделиях, предназначенных для поставки на экспорт в страны с тропическим климатом - медные трубы размером 6´1 и 8´1 мм по ГОСТ 617;

3) для импульсных проводок давлением до 10 МПа (100 кгс/см2) - трубы бесшовные из углеродистой стали по ГОСТ 8734 размером 10´2 мм (к манометрам и мановакууметрам) и 14´2 мм (к дифманометрам);

4) для импульсных проводок к тягонапоромерам, тягомерам, напоромерам и т.п. - трубы стальные водогазопроводные обыкновенные по ГОСТ 3262 с условным проходом 15 мм;

5) для соединения тягомеров, напоромеров, тягонапоромеров и т.п. с импульсными трубами - резиновые трубки по ГОСТ 5496 с внутренним диаметром 6,3 мм и толщиной стенки 2 мм.

При наличии в проектной документации указаний об использовании медных труб должны применяться трубы мягкие (М) по ГОСТ 617 допускается применение твердых (Т) и полутвердых (ПТ) медных труб при условии предварительного отжига их при температуре 550 - 650 °С.

В технически обоснованных случаях в соответствии с требованиями проектной документации и по согласованию с предприятием-изготовителем допускается применение труб других типов, не указанных в настоящем пункте.

Для изготовления коллекторов пневмопитания и для сливных трубопроводов - трубы водогазопроводные обыкновенные по ГОСТ 3262 с условным проходом 20 и 25 мм.

Для изготовления коллекторов пневмопитания при централизованном узле питания в изделиях, предназначенных для поставки на экспорт, должны применяться трубы из коррозионостойкой стали (с содержанием хрома 18 % и более) диаметром 27´3 мм и 34´3,2 мм по ГОСТ 9941.

ССЫЛОЧНЫЕ НОРМАТИВНО-ТЕХНИЧЕСКИЕ ДОКУМЕНТЫ

Обозначение НТД, на который дана ссылка

Номер пункта, подпункта, перечисления, приложения

ГОСТ 12.2.007.0-75

1.10

ГОСТ 25.1231-85

1.6

ГОСТ 26.204-83

1.6

ГОСТ 617-72

Приложение 4

ГОСТ 3262-75

Приложение 4

ГОСТ 5496-78

Приложение 4

ГОСТ 6323-79

Приложение 3

ГОСТ 8734-75

Приложение 4

ГОСТ 9941-81

Приложение 4

ГОСТ 14254-80

1.5

ГОСТ 15150-69

1.4

ГОСТ 16337-77

Приложение 4

ГОСТ 17515-72

Приложение 3

ГОСТ 17516-72

1.4

ГОСТ 19034-82

7.2.3

ГОСТ 21958-76

9.2.1

ГОСТ 22483-77

Приложение 3

ОСТ 25.1231-85

1.6

ОСТ 36.13-90

Вводная часть, 1.1, 1.2, 1.3, 1.4, 1.6, 2.1, 2.11, 4.1.1, 4.1.2, 4.1.4, 6.1.7, 6.2.20, 6.2.1, 9.1.8

Приложение 3, приложение 4

ТУ 16-19-254-84

Приложение 4

ТУ 6-19-272-85

Приложение 4

ВСН 205-84/ММСС СССР

7.1.1, 6.1.4, 9.3.2

РТМ 25-91-82

4.1.2, 4.2.9

РТМ 25.298-83 ч. 3

9.1.6, 9.2.1

РТМ 36.22.9-90

1.2

РТМ 36.22.12-90

1.2

РМ4-51-90

4.1.3, 9.2.1

РМ4-107-82

1.2

РМ4-162-79

9.3.5

Сборник СТМ3-19-90

4.2.7, 5.1.5, 6.2.1, 6.2.11, 8.2.4

Сборник СТК3-19-90

5.1.4, 5.2.4

Сборники СТМ3-21-91, СТК3-21-91, СЗК3-21-91

9.1.8

Сборник СТМ3-22-91

6.2.20

(Измененная редакция, Изм. № 1).

СОДЕРЖАНИЕ

1. Основные положения. 1

2. Конструктивные особенности щитов. 3

3. Монтажные зоны.. 11

4. Расположение приборов и аппаратов на фасадных панелях щитов. 27

4.1. Общие положения. 27

4.2. Щиты шкафные и панельные с каркасом.. 28

4.3. Щиты шкафные малогабаритные. 31

4.4. Пульты.. 32

4.5. Панели декоративные. 32

4.6. Столы.. 34

5. Детали для монтажа аппаратов и проводок. 34

5.1. Общие положения. 34

5.2. Описание конструктивных особенностей деталей. 35

6. Размещение аппаратов, арматуры и установочных изделий. 37

6.1. Общие положения. 37

6.2. Особенности установки аппаратов. 41

7. Электрические проводки. 51

7.1. Общие требования. 51

7.2. Размещение. 51

8. Трубные проводки. 52

8.1. Общие требования. 52

8.2. Размещение. 52

9. Размещение щитов, стативов и пультов в специальных помещениях. 53

9.1. Общие указания. 53

9.2. Компоновка центрального щита. 54

9.3. Компоновка оборудования в аппаратных помещениях и в пространстве за центральным щитом. 56

Приложение 1. Номограмма определения расстояния аппарата от края столешницы пульта п.. 57

Приложение 2. Номограмма определения расстояния аппарата от края столешницы пульта пнп, пнп-у.. 58

Приложение 3. Провода для электрических проводок в щитах по ост 36.13-90. 58

Приложение 4. Трубы для трубных проводок (выписка из ост 36.13-90) 59

Ссылочные нормативно-технические документы.. 59

РАЗРАБОТАН:

Зам. начальника РСПКБ                                     Н.Н. Краснопольский

Зав. отделом 14                                                    В.В. Любарцев

Зав. отделом 39                                                    В.Ф. Ткаченко

Исполнители:

Зам. зав. отд.                                                        М.Б. Миндин

Зав. сектором                                                       К.В. Скварковский

Вед. конструктор                                                 А.С. Слюсарев

Зав. сектором                                                       И.Н. Ковалева

Зам. директора ГПКИ ПМА                               М.А. Чудинов

Нач. отдела 10                                                     А.М. Гуров

Инж. II кат.                                                           Н.В. Томилина



© 2013 Ёшкин Кот :-)