Информационная система
«Ёшкин Кот»

XXXecatmenu

Открытое акционерное общество

Проектно-конструкторский и технологический институт промышленного строительства
ОАО ПКТИпромстрой

УТВЕРЖДАЮ

Генеральный директор, к.т.н.

_____________ С.Ю. Едличка

«10» ___10____ 2005 г.

ТЕХНОЛОГИЧЕСКАЯ КАРТА
ПО ИНФРАКРАСНОМУ
ОБОГРЕВУ МОНОЛИТНЫХ КОНСТРУКЦИЙ

128-05 ТК

Главный инженер

_____________ А.В. Колобов

Начальник отдела

_____________ Б.И. Бычковский

2005

Карта содержит организационно-технологические и технические решения по инфракрасному обогреву монолитных конструкций, реализация которых при производстве бетонных и железобетонных работ в зимних условиях при отрицательных температурах воздуха имеет целью способствовать ускорению работ, снижению затрат труда и повышению качества возводимых конструкций.

В технологической карте приведены область применения, организация и технология выполнения работ, требования к качеству и приемке работ, калькуляция затрат труда, график производства работ, потребность в материально-технических ресурсах, решения по безопасности и охране труда и технико-экономические показатели.

Исходные данные и конструктивные решения, применительно к которым разработана карта, приняты с учетом требований строительных норм и правил.

Технологическая карта предназначена для инженерно-технических работников строительных организаций, а также производителей работ, мастеров и бригадиров, связанных с производством монолитных бетонных и железобетонных работ при отрицательных температурах воздуха.

В корректировке технологической карты участвовали сотрудники ОАО ПКТИпромстрой:

- Савина О.А. - корректировка, компьютерная обработка и графика;

- Черных В.В. - технологическое сопровождение;

- Бычковский Б.И. - корректировка, техническое руководство, корректура и нормоконтроль;

- Колобов А.В. - общее техническое руководство разработкой технологических карт;

- Едличка С.Ю. - общее руководство разработкой технологической документации.

СОДЕРЖАНИЕ

1 ОБЩИЕ ДАННЫЕ

1.1 Сущность инфракрасного способа термообработки бетона заключается в использовании тепловой энергии, выделяемой инфракрасными излучателями, и направленной на открытые или опалубленные поверхности обогреваемых конструкций.

1.2 Область применения инфракрасного обогрева монолитных конструкций при производстве бетонных и железобетонных работ при отрицательных температурах воздуха в соответствии с «Руководством по производству бетонных работ в зимних условиях, районах Дальнего Востока, Сибири и Крайнего Севера» (ЦНИИОМТП Госстроя СССР, 1982 г.) включает:

- отогрев промороженных бетонных и грунтовых оснований, арматуры, закладных металлических деталей и опалубки, удаление снега и наледи;

- интенсификацию твердения бетона конструкций и сооружений, возводимых в скользящей либо объемно-переставной опалубках, плит перекрытий и покрытий, вертикальных и наклонных конструкций, бетонируемых в металлической или конструктивной опалубках;

- предварительный отогрев зоны стыков сборных железобетонных конструкций и ускорение твердения бетона или раствора при заделке стыков;

- ускорение твердения бетона или раствора при укрупнительной сборке большеразмерных железобетонных конструкций;

- создание тепловой защиты поверхностей, недоступных для утепления.

1.3 В технологической карте приводятся:

- схемы обогревающих устройств;

- методы и последовательность производства работ, описание процесса установки и подключения электрообогревающих устройств;

- схемы организации рабочей зоны на время производства работ;

- методы и последовательность производства работ, описание процесса установки и подключения электрообогревающих устройств;

- электрические параметры обогрева и температурный режим, обеспечивающий необходимый набор прочности;

- профессиональный и численно-квалификационный состав рабочих;

- графики выполнения работы и калькуляция трудовых затрат.

1.4 Численно-квалификационный состав рабочих, графики работы, калькуляция трудовых затрат, а также потребность в необходимых ресурсах определены применительно к инфракрасному обогреву монолитных конструкций, с модулем поверхности Мп от 1 до 14*, возводимых в объемно-переставной опалубке, площадь секций которых 3,0´6,0 м, толщина стен 200 мм, перекрытия - 140 мм. Конструкция опалубки - стальной лит толщиной 4 мм, утепленный минераловатными плитами толщиной 50 мм и закрытый фанерой толщиной 3 мм.

* Модуль поверхности бетонируемой конструкции определяется отношением суммы площадей охлаждаемых поверхностей конструкции к ее объему и имеет размерность «М-1».

Технико-экономические показатели приведены на бетонируемую конструкцию и на 1 м3 бетона.

1.5 Расчет инфракрасного обогрева конструкции произведен исходя из температуры наружного воздуха минус 20 °С и достижения прочности монолитных конструкций к концу обогрева 70 % от проектной при температуре изотермического прогрева 80 °С.

1.6 При привязке настоящей технологической карты к другим конструкциям, на которые распространяется область применения инфракрасного обогрева или других климатических условиях, подлежат уточнению расчетная часть, а также калькуляция затрат труда, график производства работ и потребность в материально-технических ресурсах с учетом условий осуществления обогрева.

2 ОРГАНИЗАЦИЯ И ТЕХНОЛОГИЯ ВЫПОЛНЕНИЯ РАБОТ

2.1 До начала работ по инфракрасному обогреву монолитных конструкций выполняют следующие подготовительные операции:

- устанавливают опалубку, арматурные сетки и каркасы, предварительно очистив от мусора, снега и наледи. Допускается применение инвентарной опалубки различных конструкций и типов;

- устраивают ограждение опасной зоны и подводят сигнализацию согласно схемы организации рабочей зоны согласно рисунку 1;

- устраивают теплоизоляцию толщиной 50 мм боковых поверхностей стен согласно рисунку 2;

- на ровной площадке на расстоянии не более 25 м от участка электрообогрева конструкции устанавливают трансформаторную подстанцию типа КТП-ТО-80/86;

- устанавливают в рабочей зоне 3 инвентарных секции шинопроводов и 11 установок инфракрасного обогрева, схема которых показана на рисунках 1, 2, 3, в виде стальных трубчатых электрических нагревателей (ТЭНов) типа НВС 1,2/1,6 (нагреватель воздушный сушильный) с параболическими отражателями, представленными на рисунках 4, 5, 6 и 7;

- подключают установки по инфракрасному обогреву к секциям шинопроводов проводом марки ПВ;

- подключают шинопровод к комплектной трансформаторной подстанции КТП-ТО-80/86 кабелем марки КРПТ;

- устанавливают деревянные настилы, покрытые резиновыми ковриками, около трансформаторной подстанции и распределительных шкафов;

- монтируют противопожарный щит с углекислотными огнетушителями, помещают в рабочей зоне указания по безопасности труда;

- подключают КТП-ТО-80/86 к питающей сети и опробывают ее на холостом ходу, а также проверяют работу временного освещения;

- обеспечивают рабочее звено необходимым инструментом, индивидуальными средствами защиты, проводят инструктаж.

1 - инвентарная трехфазная секция шинопроводов; 2 - инфракрасная установка № 1; 3 - инфракрасная установка № 2; 4 - трансформаторная подстанция КТП-ТО-80/86; 5 - диэлектрический коврик; 6 - инвентарное ограждение; 7 - сигнальная лампочка

Рисунок 1 - Схема организации рабочей зоны инфракрасного обогрева

1 - металлическая конструкция объемно-переставной опалубки; 2 - палуба стальная = 4 мм; 3 - полиэтиленовая пленка; 4 - теплоизоляция (минераловатные маты) - 50 мм; 5 - фанера = 3 мм; 6 - инфракрасная установка № 1 (с тремя параболическими отражателями); 7 - инфракрасная установка № 2 (с одним параболическим отражателем).

Рисунок 2 - Схема установок инфракрасного обогрева внутри обогреваемого блока

1 - разъем; 2 - деревянная стойка; 3 - болты; 4 - токопроводы (полоса 3´40)

Рисунок 3 - Инвентарная секция шинопроводов (крайняя секция)

Рисунок 4 - Инфракрасная установка № 1 (с тремя параболическими отражателями)

Рисунок 5 - Инфракрасная установка № 2 (с одним параболическим отражателем)

1 - алюминиевый лист = 1 - 1,5 мм (развертка 1100´1200 мм); 2 - стенка отражателя = 1 - 1,5 мм; 3 - металлическая трубка Æ 19 мм; 4 - трубчатые электронагреватели - ТЭНы (4 шт.); Масса 10 - 15 кг

Рисунок 6 - Параболический отражатель, оборудованный трубчатыми электронагревателями

1 - генератор инфракрасной энергии (трубчатые электронагреватели - ТЭНы типа НВС 1,2/1,6 - 4 шт.); 2 - параболический алюминиевый отражатель; 3 - контактные выводы; 4 - узел крепления отражателя; 5 - стойка с основанием

Технические характеристики

Напряжение, В                                                                                               40 - 220

Рабочий ток максимальный, А                                                                   28

Потребляемая мощность максимальная, кВт                                          6

Рабочая температура, °С                                                                             300 - 400

Инерционность, мин                                                                                     2 - 3

Рисунок 7 - Инфракрасная прожекторная установка с параболическим отражателем, оборудованным 4 трубчатыми электронагревателями

2.2 Опалубку и арматуру отогревают включением установок инфракрасного обогрева на напряжении 220 В в соответствии со схемой по рисунку 8 и начинают бетонирование конструкций. Укладку бетонной смеси ведут непрерывно. В случае возникновения перерывов в бетонировании поверхность бетона укрывают или утепляют, а при необходимости - обогревают.

Температура бетонной смеси, уложенной в конструкцию, должна составлять 16 °С.

Рисунок 8 - Принципиальная схема подключения инфракрасных установок к ИРУ-2 на напряжении 220 В

2.3 Сразу же после укладки и уплотнения бетонной смеси стен и перекрытия устраивают по перекрытию гидроизоляцию и теплоизоляцию и подают напряжение на установки инфракрасного обогрева, представленные на рисунке 2.

Обогрев ведется в соответствии с расчетными электрическими параметрами таблицы 1 и принципиальной схемой подключения инфракрасных установок согласно рисунку 9. К началу обогрева конструкции открытую часть опалубки укрывают брезентом.

Электрические параметры обогрева установкой из 4-х ТЭНов типа НСВ 1,2/1,6 с параболическими отражателями определены применительно к периодам обогрева опалубки и арматуры, разогрева бетона до 80 °С и изотермической выдержки.

Таблица 1 - Электрические параметры обогрева инфракрасной установкой из 4-х ТЭНов

Температура наружного воздуха

Напряжение питания, В

Мощность, кВт, одного

Сила тока одного отражателя, А

ТЭНа

отражателя

В период отогрева опалубки и арматуры и разогрева бетона до 80 °С

-5 - -20

220

1,6

6,40

28

В период изотермической выдержки

-5

65

0,16

0,64

9

-10

75

0,20

0,80

10

-15

85

0,25

1,0

12

-20

95

0,32

1,28

13

Рисунок 9 - Принципиальная схема подключения инфракрасных установок к КТП ТО-80/86

2.4 Инфракрасный обогрев конструкций производится со скоростью разогрева 6 - 7 °С в час в соответствии с графиком температурного режима, приведенного ниже с учетом предварительного отогрева опалубки и арматуры в течение 2 часов.

Набор прочности бетона при различных температурах его выдерживания определяется по графикам, представленным на рисунке 10.


а, в - для бетона класса В25 на портландцементе активностью 400 - 500;

б, г - для бетона класса В25 на шлакопортландцементе активностью 300 - 400.

Рисунок 10 - Кривые набора прочности бетоном при различных температурах его выдерживания


2.5 Ниже приведен пример определения набора прочности бетоном.

Пример: Определить прочность бетона в конструкции с Мп = 4 на портландцементе марки 400 при скорости подъема температуры 10 °С в час, температуре изотермического прогрева 70 °С, его продолжительности 12 ч и остывании со скоростью 5 °С в час до конечной температуры 8 °С.

Решение:

1 Определить величину относительной прочности за период подъема температуры

продолжительность подъема температуры

при средней температуре

Для этого из точки «А» согласно рисунку 11 проводим перпендикуляр до пересечения с кривой прочности при 40 °С (точка «Б).

Величина прочности за время подъема температуры определяется проекцией точки «Б» на ось ординат (точка «В») и составляет 15 %.

Определяем прирост относительной прочности при изотермическом прогреве за 12 часов как проекцию участка (точки «Л» и «К») кривой прочности при 70 °С (отрезок «ВЗ», что соответствует 46 % R28.

Определяем прирост прочности бетона за 12 часов остывания по кривой прочности при 38 °С как проекцию участка «ЖГ» на ось ординат. Отрезок «ЗИ» соответствует 9 % R28.

За весь цикл термообработки бетон приобретает прочность 15 + 46 + 9 = 70 % R28.

Для каждого конкретного состава бетона строительной лабораторией должен быть уточнен на опытных образцах-кубах оптимальный режим выдерживания.

Рисунок 11 - Пример определения прочности бетона по графику

2.6 Подача напряжения разрешается после окончания бетонирования, укладки теплоизоляции и ухода людей за пределы ограждения. Перед подачей напряжения необходимо проверить правильность подключения, осмотреть контакты, кабели и провода.

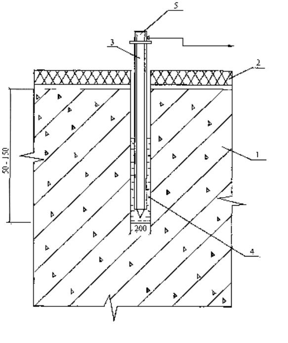
2.7 Температуру бетона измеряют в процессе обогрева не реже чем через 2 часа. Контроль температуры обогреваемого бетона производят техническими термометрами, устанавливаемыми в скважину. Учитывая, что комплектная трансформаторная подстанция КТП ТО-80/86 укомплектована блок-приставкой, позволяющей производить автоматическое регулирование температуры от 0 °С до 100 °С, замер температуры бетона возможен и с помощью датчика температуры, установленного в скважину согласно рисунку 12.

1 - монолитная конструкция; 2 - утеплитель; 3 - пенал из тонкостенной стальной трубки; 4 - индустриальное масло; 5 - термодатчик

Рисунок 12 - Установка термодатчика в обогреваемой конструкции

2.8 Скорость разогрева бетонной смеси регулируют повышением или понижением напряжения на низкой стороне трансформатора.

2.9 Во время обогрева бетона необходимо вести наблюдение за состоянием контактов, кабелей и проводов. В случае обнаружения неисправности необходимо немедленно отключить напряжение и устранить неисправность.

2.10 Не реже двух раз в смену, а в первые три часа с начала обогрева бетона каждый час измеряют силу тока и напряжение в питающей цепи. Визуально проверяют отсутствие искрений в местах электрических соединений. При изменении температуры наружного воздуха относительно расчетной, в процессе обогрева конструкций, понижают или повышают напряжение в электрической цепи.

2.11 Скорость остывания бетона в соответствии с графиком температурного режима составляет 8 °С/час. Для конструкций с модулем поверхности Мп = 10 - 14 скорость остывания допускается не более 10 °С/час. Два раза в смену замеряют температуру наружного воздуха, результаты замеров фиксируются в журнале работ.

2.12 Прочность бетона проверяют по фактическому температурному режиму. Соблюдение графика температурного режима, приведенного в п. 2.4, позволяет получить требуемую прочность. После распалубливания прочность бетона, имеющего положительную температуру, рекомендуется определять с помощью молотка конструкции НИИ Мосстроя, ультразвуковым способом или высверливанием и испытанием кернов.

2.13 Теплоизоляция может быть снята не ранее того момента, когда температура бетона в наружных слоях конструкции достигает плюс 5 °С и не позже, чем слои остынут до 0 °С. Примерзание опалубки и теплозащиты к бетону не допускается.

2.14 Для предотвращения появления трещин в конструкциях перепад температур между открытой поверхностью бетона и наружным воздухом не должен превышать:

- 20 °С для монолитных конструкций с модулем поверхности до 5;

- 30 °С для монолитных конструкций с модулем поверхности 5 и выше.

В случае невозможности соблюдения указанных условий поверхность бетона после распалубливания должна быть укрыта (брезентом, толью, щитами и т.д.).

2.15 Работы по теплоизоляции обогреваемой поверхности, расстановке установок инфракрасного обогрева и прогреву бетона выполняет звено из 4-х человек согласно таблице 2.

Таблица 2 - Распределение операций между исполнителями по инфракрасному обогреву стен и перекрытий

№ п/п

Состав звена по профессиям

Кол. чел.

Перечень работ

1

Электромонтажник V разряда

1

Устройство, эксплуатация и разборка системы инфракрасного обогрева

2

Электромонтажник III разряда

1

3

Бетонщики III разряда.

2

Устройство и снятие гидро-, теплоизоляции, брезентовых завес.

2.16 Операции по установке опалубки, теплоизоляции, размещению установок инфракрасного обогрева и обогреву монолитных стен и перекрытия производятся в следующей последовательности:

- электромонтажник III разряда устанавливает 3 инвентарные секции шинопроводов вдоль захватки, соединяет их между собой, устанавливает также установки инфракрасного обогрева;

- электромонтажник V разряда производит разделку концов жил кабеля и подсоединяет его к трансформаторной подстанции КТП ТО-80/86. Затем он же подсоединяет секции шинопроводов к трансформаторной подстанции, производит ее заземление и опробывает ее работу на холостом ходу;

- после этого два электромонтажника подсоединяют выводы установок инфракрасного обогрева к секциям шинопровода;

- после укладки бетона в опалубку стен и перекрытия бетонщики III разряда закрывают поверхность монолитного перекрытия гидроизоляцией и открытый проем блока брезентом;

- электромонтажник V разряда подает напряжение на установки инфракрасного обогрева, предварительно убедившись в выполнении всех требований по безопасности и охране труда, указанных в разделе «Требования безопасности и охраны труда, экономической и пожарной безопасности».

2.17 Рабочая зона инфракрасного обогрева должна быть организована в соответствии с приведенной схемой на рисунке 1.

2.18 Рекомендации по энергосбережению.

В целях энергосбережения при производстве работ рекомендуется:

- при определении средств и продолжительности транспортирования бетонной смеси исключить возможность ее охлаждения более величины, установленной техническим расчетом, нарушение однородности и снижение заданной подвижности бетонной смеси на месте укладки;

- применять бетон более высокой относительной прочности при малой продолжительности обогрева;

- применять максимально допустимую температуру обогрева бетона, сокращать длительность обогрева за счет учета нарастания прочности при остывании;

- производить теплоизоляцию поверхностей бетона и опалубки, подвергающихся охлаждению, не допуская намокания теплоизоляции;

- соблюдать режим электрических параметров обогрева;

- применять химические добавки для сокращения продолжительности прогрева, улучшения электропроводности смесей.

2.19 При производстве работ по инфракрасному обогреву монолитных конструкций следует руководствоваться правилами производства и приемки работ согласно:

- СНиП 3.03.01-87 «Несущие и ограждающие конструкции»;

- СНиП 12-03-2001 «Безопасность труда в строительстве. Часть 1. Общие требования»;

- СНиП 12-04-2002 «Безопасность труда в строительстве. Часть 2. Строительное производство».

3 ТРЕБОВАНИЯ К КАЧЕСТВУ И ПРИЕМКЕ РАБОТ

3.1 Контроль качества инфракрасного обогрева монолитных конструкций при отрицательной температуре воздуха производят в соответствии с требованиями СНиП 12-01-2004 «Организация строительства» и СНиП 3.03.01-87 «Несущие и ограждающие конструкции».

3.2 Производственный контроль качества инфракрасного обогрева осуществляют прорабы и мастера строительных организаций с участием специалистов электротехнических служб.

3.3 Производственный контроль включает входной контроль электротехнического оборудования, эксплуатационных материалов, бетона и подготовленных под бетонирование конструкций, операционный контроль отдельных производственных операций и оценку соответствия качества монолитной конструкции в результате инфракрасного обогрева требованиям проекта.

3.4 При входном контроле электротехнического оборудования, эксплуатационных материалов, бетона и подготовленного основания проверяют внешним осмотром их соответствие нормативным и проектным требованиям, а также наличие и содержание паспортов, сертификатов, актов на скрытые работы и других сопроводительных документов. По результатам входного контроля должен заполняться «Журнал входного учета и контроля качества получаемых деталей, материалов, конструкций и оборудования».

3.5 При операционном контроле проверяют соблюдение состава подготовительных операций, технологии наладки электрообогревающего оборудования и устройств, укладки бетона в конструкцию опалубки в соответствии с требованиями рабочих чертежей, норм, правил и стандартов, контролируют процесс инфракрасного обогрева, температуру, силу тока и напряжение в соответствии с расчетными данными.

3.6 При оценке соответствия проверяют прочностные и геометрические параметры стен и перекрытий в результате инфракрасного обогрева.

3.7 Скрытые работы подлежат освидетельствованию с составлением актов по установленной форме. Запрещается выполнение последующих работ при отсутствии актов освидетельствования предшествующих скрытых работ во всех случаях.

3.8 Результаты операционного и приемочного контроля фиксируются в журнале работ. Основными документами при операционном контроле и приемочном контроле являются технологическая карта и указанные в карте нормативные документы, перечень операций, контролируемых производителем работ (мастером), данные о составе, сроках и способах контроля, требуемые прочностные показатели монолитных стен и перекрытия в результате инфракрасного обогрева, изложенные в таблице 3.

Таблица 3 - Состав и содержание производственного контроля качества

Кто контролирует

Прораб или мастер

Операции, подлежащие контролю

Операции при входном контроле

Подготовительные операции

Операции по устройству стен, перекрытия, инфракрасному обогреву бетона

Операции при приемочном контроле

Состав контроля

Проверка изоляции проводов и работоспособность коммутационной аппаратуры, трансформаторов и др. электрооборудования, используемого в работе

Устройство защитного ограждения и световой сигнализации на участке работ

Очистка основания опалубки, арматуры от снега, наледи. Утепление конструкции

Укладка бетона в конструкцию монолитных стен и перекрытий

Контроль величины силы токаи напряжения питающей цепи

Контроль температуры бетона

Контроль прочности бетона

Соответствие готовых монолитных стен и перекрытия требованиям проекта

Методы контроля

Визуально-инструментальная проверка

Визуально и по приборам

Визуально инструментальная

Время контроля

До начала бетонирования

До и после бетонирования

В процессе бетонирования и инфракрасного обогрева

После инфракрасного обогрева

Кто привлекается к контролю

Энергетик строительной организации

Мастер, прораб

Электромонтажники, лаборатория

Лаборатория, технадзор

3.9 Контроль температуры обогреваемого бетона следует производить техническими термометрами или дистанционно с помощью термодатчиков, устанавливаемых в скважину. Число точек измерения температуры устанавливают в среднем из расчета не менее одной точки на 10 м бетонируемой поверхности. Температуру бетона измеряют в процессе разогрева не реже чем через два часа. Не реже двух раз в смену, а в первые три часа с начала обогрева через каждый час, измеряют ток и напряжение в питающей цепи. В местах соединения проводов не должно наблюдаться искрения.

3.10 Скорость подъема температуры при тепловой обработке и скорость остывания бетона по окончании тепловой обработки монолитных конструкций не должны превышать соответственно 15 °С и 10 °С в час.

3.11 Контроль прочности монолитной конструкции осуществляется по фактическому температурному режиму. Прочность бетона по окончании инфракрасного обогрева и остывания, которое должно быть 70 % R28, достигается при условии соблюдения параметров графиков, приведенных в п. 2.4.

Прочность прогретого бетона в результате обогрева определяют с помощью молотка НИИ Мосстроя, ультразвуковым способом либо высверливанием кернов и их испытанием.

4 ТРЕБОВАНИЯ БЕЗОПАСНОСТИ И ОХРАНЫ ТРУДА, ЭКОЛОГИЧЕСКОЙ И ПОЖАРНОЙ БЕЗОПАСНОСТИ

4.1 При эксплуатации установок инфракрасного обогрева и силового питающего электрооборудования помимо общих требований безопасного производства работ согласно СНиП 12-03-2001 «Безопасность труда в строительстве. Часть 1. Общие требования» следует руководствоваться «Правилами технической эксплуатации и безопасности электроустановок промышленных предприятий».

4.2 Электробезопасность на строительной площадке, участках производства работ и рабочих местах при инфракрасном обогреве стен и перекрытия необходимо обеспечивать в соответствии с требованиями СНиП 12-03-2001. Лица, занятые на строительно-монтажных работах, должны быть обучены безопасным способам ведения работ, а также уметь оказать первую доврачебную помощь при электротравме.

4.3 В строительно-монтажной организации должен быть инженерно-технический работник, ответственный за безопасную эксплуатацию электрохозяйства организации, имеющий квалификационную группу по технике безопасности не ниже IV.

4.4 При устройстве электрических сетей необходимо предусматривать возможность отключения всех электроустановок в пределах отдельных участков и объектов производства работ.

4.5 Работы, связанные с присоединением (отсоединением) проводов, должны выполняться электриками, имеющими соответствующую квалификационную группу по технике безопасности.

4.6 В течение всего периода эксплуатации электроустановок инфракрасного обогрева на строительных площадках должны быть установлены знаки безопасности по ГОСТ Р 12.4.026-2001.

4.7 Технический персонал, проводящий инфракрасный обогрев, должен пройти обучение согласно ГОСТ 12.0.004-90 и проверку знаний квалификационной комиссией по безопасности и охране труда с получением соответствующих удостоверений. Дежурные электромонтеры должны иметь квалификацию не ниже III группы.

4.8 Рабочие, занятые на инфракрасном обогреве бетона, должны быть снабжены резиновыми сапогами или диэлектрическими галошами, а электромонтажники, кроме того, резиновыми перчатками. Подключение нагревательных проводов, замеры температуры техническими термометрами производят при отключенном напряжении.

4.9 Зона, где производится инфракрасный обогрев бетона, должна иметь защитное ограждение. На видном месте помещаются предупредительные плакаты, инструкции по безопасности и охране труда, противопожарные средства. В ночное время ограждение рабочей зоны должно быть освещено, для чего на нем устанавливаются красные лампочки, автоматически загорающиеся при подаче напряжения в линию обогрева.

4.10 Все металлические токоведущие части электрооборудования и арматуру следует надежно заземлить, присоединив к ним нулевой провод питающего кабеля. При использовании защитного контура заземления перед включением напряжения необходимо проверить сопротивление контура, которое должно быть не более 4 Ом.

Около трансформаторов, рубильников и распределительных щитков устанавливают настилы, покрытые резиновыми ковриками.

4.11 Проверку сопротивления изоляции проводов (кабеля) с помощью мегомметра производит персонал, квалификационная группа которого по технике безопасности не ниже III.

Концы проводов, которые могут оказаться под напряжением, необходимо изолировать или оградить.

Участок инфракрасного обогрева должен постоянно находиться под надзором дежурного электрика.

4.12 Запрещается:

- доступ посторонних лиц в зону производства работ;

- использовать в качестве заземления водопроводную сеть;

- размещать легковоспламеняющиеся материалы вблизи прогреваемых конструкций;

- заливать водой очаг пожара до отключения напряжения на участках электротермообработки.

4.13 При производстве работ по инфракрасному обогреву монолитных бетонных и железобетонных конструкций необходимо строго руководствоваться требованиями безопасности и охраны труда согласно:

- СНиП 12-03-2001 «Безопасность труда в строительстве. Часть 1. Общие требования»;

- СНиП 12-04-2002 «Безопасность труда в строительстве. Часть 2. Строительное производство;

- ПОТ РМ-016-2001 Межотраслевые правила по охране труда (правила безопасности) при эксплуатации электроустановок;

- ППБ 01-03 Правила пожарной безопасности в Российской Федерации;

- СП 12-135-2003 Безопасность труда в строительстве. Отраслевые типовые инструкции по охране труда;

- СанПиН 2.2.3.1384-03 Гигиенические требования к организации строительного производства и строительных работ.

5 ПОТРЕБНОСТЬ В МАТЕРИАЛЬНО-ТЕХНИЧЕСКИХ РЕСУРСАХ

5.1 Потребность в машинах, механизмах, инвентаре, приспособлениях и материалах для работ по инфракрасному обогреву монолитных конструкций определяется с учетом специфики выполняемых работ, назначения и технических характеристик средств механизации в соответствии с таблицей 4.

Таблица 4 - Ведомость потребности в машинах, механизмах, инвентаре и материалах

№ п/п

Наименование

Тип, марка, ГОСТ, ТУ

Ед. изм.

Кол.

Техническая характеристика

1

2

3

4

5

6

1

Комплектная трансформаторная подстанция

КТП ТО-80/86

шт.

1

Мощность, кВт                           80

Макс, ток, А                                490

Напряжение на стороне низкого напряжения, В                             55, 65, 75, 85, 95

2

Установки инфракрасного обогрева, оборудованные параболическими отражателями с трубчатыми электронагревателями (ТЭН), в т.ч.

 

шт.

27

 

ТЭН

НВС 1,2/1,6

шт.

108

Мощность, кВт                     1,6

Параболический отражатель

 

шт.

27

Масса, кг                               10 - 15

3

Токоизмерительные клещи

Ц-91

шт.

1

 

4

Диэлектрические

ТУ 38-106359-79

 

 

 

перчатки

пар.

2

 

галоши

пар.

2

 

коврик

шт.

1

 

5

Инвентарные секции шинопроводов

-

шт.

3

Длина секции, м                    1,5

Масса, кг                                10

6

Кабель

ПРТО 2´70

м

50

 

КРПТ 3´25 + 1´16

м

25

 

КРПТ 3´50

м

25

 

ПВ 4 мм2

м

50

 

ПВ 2,5 мм2

м

15

 

7

Термометры технические (или термодатчики)

 

шт.

6

Предел измерения 140 °С

8

Инвентарное сетчатое ограждение

-

м2

10

h = 1,5 м

9

Противопожарный щит

-

шт.

1

С углекислотными огнетушителями

10

Сигнальные лампочки

-

шт.

5

На напряжение, В                      42

11

Прожектор

-

шт.

2

Мощность, Вт                           1000

12

Трубки из термоусаживающегося полиэтилена или изоляционная лента

-

кг

0,5

 

13

Полиэтиленовая пленка

ТС 0,1´1400

ГОСТ 10354-82

м2

20

Толщина, мм                              d = 0,1

Ширина, м                                  В = 1,4

14

Минеральная вата

Марка 50

ГОСТ 9573-96

м2

20

 

15

Брезент

 

м2

15

 

16

Отключающее защитное устройство

 

шт.

1

 

6 ТЕХНИКО-ЭКОНОМИЧЕСКИЕ ПОКАЗАТЕЛИ

6.1 Калькуляция затрат труда составлена на инфракрасный обогрев монолитных конструкций стен и перекрытий, возводимых в объемно-переставной опалубке. Стены - толщиной 200 мм, высотой 2,7 м. Перекрытие - толщиной 140 мм, с размерами в плане 3´6 м. Общий объем бетона - 10,6 м3.

6.2 Затраты труда на инфракрасный обогрев подсчитаны по «Единым нормам и расценкам на строительные, монтажные и ремонтно-строительные работы», введенные в действие в 1987 г. и представлены в таблице 5.

6.3 Продолжительность работы по инфракрасному обогреву определяется календарным планом производства работ согласно таблице 6.

6.4 Технико-экономические показатели представлены в таблице 7.

Таблица 5 - Калькуляция затрат труда

Обоснование (ЕНиР и др. нормы)

Наименование работ

Ед. изм.

Объем работ

Нормы времени,

Затраты труда

рабочих, чел.-ч.

машинистов, чел.-ч., (работа машин, маш.-ч.)

рабочих, чел.-ч.

машинистов, чел.-ч., (работа машин, маш.-ч.)

1

2

3

4

5

6

7

8

Е23-6-2

№ 35

Установка трансформаторной подстанции

шт.

1

2,5

-

2,5

-

Е5-1-2

№ 12а

Установка сетчатого ограждения вручную

10 м

1,5

1,2

-

1,8

-

Е1-19

№ 3а

Переноска инвентарных секций шинопровода (при массе секций 10 кг, 3 шт.)

т

0,03

1,5

-

0,05

-

Е23-6-17

№ 1в

Установка инвентарных секций шинопровода (при массе секций 10 кг, 3 шт.)

100 м

0,36

31,0

-

11,2

-

Е40-2-19

№ 1б применит.

Монтаж установок инфракрасного обогрева, 11 шт.

т

0,55

9,1

-

5

-

Е23-6-16

№ 3

Соединение отражателей, подсоединение их к шинопроводам, соединение шинопроводов к ТП, присоединение ТП к сети

100 концов

1,28

7,5

-

9,6

-

Е23-4-14

Табл. 3, № 2

Проверка состояния изоляции кабеля мегомметром

1 кабель

3

0,24

-

0,72

-

Е4-1-54 № 10

Укрытие проема брезентом

100 м2

0,10

0,21

-

0,02

-

Тарифно-квалификационный справочник

Предварительный отогрев арматуры и опалубки

час

2

1

-

2,0

-

Е4-1-54

№ 10, к = 2

Устройство гидро- и теплоизоляции

100 м2

0,18

0,21

-

0,07

-

Тарифно-квалификационный справочник

Инфракрасный обогрев бетонной смеси (в т.ч. изотермический прогрев)

час

30

1

-

30

-

Е4-1-54

№ 12, к = 2

Снятие теплоизоляции

100 м2

0,18

0,22

-

0,08

-

Е4-1-54

№ 12

Снятие брезента укрытия с проема

100 м2

0,1

0,22

-

0,02

-

Е5-1-2

№ 12а, к = 0,8

Снятие сетчатого ограждения вручную

10 м

1,5

1,8

-

1,44

-

Е23-6-16

№ 3 применит.

Отсоединение кабелей установок шинопроводов, ТП

100 концов

1,28

7,5

-

9,6

-

Е23-6-17

№ 1в применит.

Снятие шин

100 м

0,36

31,0

-

11,2

-

Е1-19

№ 3а

Переноска шинопроводов

т

0,03

1,5

-

0,05

-

Е40-2-19

№ 1б применит.

Демонтаж установок инфракрасного обогрева

т

0,55

9,1

-

5,0

-

Таблица 7 - Технико-экономические показатели

Наименование

Ед. изм.

Показатель

Затраты труда

ч×час

90,35/8,52*)

Расход электроэнергии

кВт×ч

2419,2/228,2*)

Продолжительность разогрева

час

10

Скорость разогрева

°С/час

6,4

Продолжительность изотермической выдержки

час

10

Продолжительность остывания

час

10

Скорость остывания

°С/час

8

Полный цикл изотермической обработки

час

30

Нормативная прочность бетона к концу изотермической обработки

%R28

70

*) В числителе даны показатели на весь объем бетона, в знаменателе - на 1 м3.


Таблица 6 - График производства работ


7 ПЕРЕЧЕНЬ ИСПОЛЬЗОВАННОЙ НОРМАТИВНО-ТЕХНИЧЕСКОЙ ЛИТЕРАТУРЫ

1 СНиП 12-01-2004 «Организация строительства».

2 СНиП 3.03.01-87 «Несущие и ограждающие конструкции».

3 СНиП 12-03-2001 «Безопасность труда в строительстве. Часть 1. Общие требования».

4 СНиП 12-04-2002 «Безопасность труда в строительстве. Часть 2. Строительное производство».

5 ГОСТ 12.0.004-90 «ССБТ. Организация обучения безопасности труда. Общие положения».

6 ГОСТ Р 12.4.026-2001 «ССБТ. Цвета сигнальные, знаки безопасности и разметка сигнальная. Назначение и правила применения. Общие технические требования и характеристики. Методы испытаний».

7 Руководство по производству бетонных работ в зимних условиях, районах Дальнего Востока, Сибири и Крайнего Севера. ЦНИИОМТП Госстроя СССР, Москва, Стройиздат, 1982 г.

8 Рекомендации по технологии возведения конструкций из монолитного бетона и железобетона. ОАО ПКТИпромстрой, М., 1998 г.

9 ПОТ РМ-016-2001 Межотраслевые правила по охране труда (правила безопасности) при эксплуатации электроустановок.

10 ППБ 01-03 Правила пожарной безопасности в Российской Федерации. МЧС России, М., 2003 г.

11 СП 12-135-2003 Безопасность труда в строительстве. Отраслевые типовые инструкции по охране труда.

12 ЕНиР Единые нормы и расценки на строительные, монтажные и ремонтно-строительные работы.

Сборник Е1. Внутрипостроечные транспортные работы.

Сборник Е4. Монтаж сборных и устройство монолитных железобетонных конструкций. Выпуск 1. Здания и промышленные сооружения.

Сборник Е5. Монтаж металлических конструкций. Выпуск 1. Здания и промышленные сооружения.

Сборник Е23. Электромонтажные работы. Выпуск 6. Закрытие распределительные устройства напряжением до 35 кВ.

Сборник Е40. Изготовление строительных конструкций и деталей. Выпуск 2. Металлические конструкции.

13 СанПиН 2.2.3.1384-03 Гигиенические требования к организации строительного производства и строительных работ.



© 2013 Ёшкин Кот :-)