Информационная система
«Ёшкин Кот»

XXXecatmenu

СТО 218.3.002-2005

СТАНДАРТ ОРГАНИЗАЦИИ

 

ПРОТИВООСЛЕПЛЯЮЩИЕ ЭКРАНЫ ПОЛИМЕРНЫЕ ДОРОЖНЫЕ
МАРКИ «Славрос-свет»

 

 

 

 

ООО «НПО Протэкт»

 

 

ПРЕДИСЛОВИЕ

1. РАЗРАБОТАН И ВНЕСЕН - ООО «НПО Протэкт»

2. УТВЕРЖДЕН И ВВЕДЕН В ДЕЙСТВИЕ - ООО «НПО Протэкт» распоряжением № _______ от ____________________

3. СОГЛАСОВАН - Письмом Заместителя Руководителя Федерального дорожного агентства от «__» __________ 2006 г. № _________________

4. ВВЕДЕН ВПЕРВЫЕ.

Примечание. При разработке СТО использованы данные ФГУП «РОСДОРНИИ» [1, 3].

 

СОДЕРЖАНИЕ

1. Область применения. 1

2. Нормативные ссылки. 2

3. Термины и определения. 2

4. Технические требования. 2

5. Типы, основные геометрические параметры и условные обозначения. 3

6. Требования безопасности. 5

7. Охрана окружающей среды.. 5

8. Правила приемки. 5

9. Методы контроля. 5

10. Упаковка и маркировка. 6

11. Транспортирование и хранение. 6

12. Указания по эксплуатации. 6

13. Гарантии изготовителя. 6

Приложение А.. 7

Приложение Б. 9

Приложение В Библиография. 10

 

СТАНДАРТ ОРГАНИЗАЦИИ

ПРОТИВООСЛЕПЛЯЮЩИЕ ЭКРАНЫ ПОЛИМЕРНЫЕ ДОРОЖНЫЕ
МАРКИ «Славрос-СВЕТ»

Дата введения - 2005 - ____ _________________

1. ОБЛАСТЬ ПРИМЕНЕНИЯ

Настоящий стандарт устанавливает типы, основные параметры, технические требования к производимым ООО «НПО Протэкт» противоослепляющим экранам полимерным дорожным марки «Славрос-свет», предназначенным для применения на автомобильных дорогах с разделительной полосой с целью обеспечения безопасных условий движения в темное время суток путем устранения слепящего действия светового потока, создаваемого фарами дальнего света по ГОСТ Р 41.20-99 на водителей встречных автомобилей.

2. НОРМАТИВНЫЕ ССЫЛКИ

В настоящем стандарте использованы нормативные ссылки на следующие стандарты:

ГОСТ 3811-72 Штучные изделия текстильные. Методы определения размеров и поверхностной плотности

ГОСТ 3282-74 Проволока стальная низкоуглеродистая общего назначения

ГОСТ 427-75 Линейки измерительные металлические

ГОСТ 13587-77 Полотна нетканые и изделия штучные текстильные. Правила приемки и методы отбора проб

ГОСТ 515-77 Бумага упаковочная, битуминированная и дегтевая. Технические требования

ГОСТ 15140-78 Материалы лакокрасочные. Методы определения адгезии.

ГОСТ 5959-80 Ящики из листовых древесных материалов для грузов массой до 200 кг. Общие технические условия.

ГОСТ 17308-88 Шпагаты. Технические условия.

ГОСТ 12.1.044-89 ССБТ. Пожаровзрывоопасность веществ и материалов. Номенклатура показателей и методы их определения.

ГОСТ 14067-91 Материалы текстильные. Метод определения величины перекоса.

ГОСТ 6943.0-93 Стекловолокно. Правила приемки.

ГОСТ 14192-96 Маркировка грузов.

ГОСТ Р 41.20-99 Единообразные предписания, касающиеся официального утверждения автомобильных фар с ассиметричными огнями ближнего света и (или) огнями дальнего света, предназначенных для использования с галогенными лампами накаливания (лампы Н4).

ГОСТ Р 41.48-99 (Правила ЕЭК ООН № 48) Единообразные предписания, касающиеся официального утверждения транспортных средств в отношении установки устройств освещения и световой сигнализации.

3. ТЕРМИНЫ И ОПРЕДЕЛЕНИЯ

В настоящем стандарте применяют следующие термины с соответствующими определениями:

3.1 Коэффициент пропускания - отношение прошедшего сквозь основной элемент экрана светового потока к световому потоку, создаваемому фарами дальнего света в направлении экрана.

3.2 Сетчатый экран - тип противоослепляющего экрана, основной элемент которого - полимерная сетка.

3.3 Пластинчатый экран - тип противоослепляющего экрана, основной элемент которого - полимерные пластины.

3.4 Размер ячейки «в свету» - максимальное расстояние между гранями жгутов сетки внутри ячейки.

3.5 Единообразный европейский луч - луч фары дальнего света, отвечающей требованиям ГОСТ Р 41.20-99.

4. ТЕХНИЧЕСКИЕ ТРЕБОВАНИЯ

4.1 Противоослепляющие экраны полимерные дорожные марки «Славрос-свет» должны соответствовать требованиям настоящего стандарта, их полимерная основа (сетки или пластины) должна изготавливаться по технологическому регламенту, утвержденному в установленном порядке.

4.2 Коэффициент пропускания сетчатых и пластинчатых экранов должен составлять для угла падения светового потока α = 18°, создаваемого единообразным европейским лучом фары дальнего света в направлении экрана, не более 0,10 [1, 3].

4.3 Конструкция опорной части и крепление экрана, сетка (пластина) должны иметь прочность, обеспечивающую устойчивость сетки или пластин при расчетной ветровой нагрузке 350 Па (35 кгс/м2), приходящейся на их поверхность, а также обеспечивать сохранность конструкции экранов при проведении работ по их содержанию (мойке, чистке) [1, 3].

4.4 Конструкция пластинчатых экранов должна обеспечивать замену изношенных или поврежденных элементов без нарушения смежных секций.

4.5 Сетку изготовляют из пожаробезопасных полимерных материалов черного цвета с матовой поверхностью и поставляют в рулонах весом не более 45 кг. Допускается наличие в рулоне двух кусков сетки с длиной куска не менее 6 м при ограничении количества таких кусков в партии - менее 10 %. Пластины изготовляют из пожаробезопасных полимерных материалов черного цвета с матовой поверхностью и поставляют в блоках весом не более 40 кг. Возможно изменение цвета сеток (пластин) и веса рулонов (блоков) по согласованию с Заказчиком.

4.6 Дефектами сеток (пластин) считается:

- отличие в толщинах жгутов, расположенных под одним углом в полотне сетки более, чем на 20 %;

- наличие перекосов сетки более, чем на 6 %;

- наличие разрывов, вырывов, других нарушений сплошности сеток (пластин).

4.7 На другие элементы экрана - стойки, рейки, опорную часть и металлические пластины (кроме изготовленных из нержавеющих материалов) наносят антикоррозионное лакокрасочное покрытие, адгезия которого должна соответствовать ГОСТ 15140. Размеры этих элементов экрана должны подбираться, исходя из требований п. 4.3 настоящего стандарта, в зависимости от характера основания, на которое устанавливается экран (п. 12 настоящего стандарта).

5. ТИПЫ, ОСНОВНЫЕ ГЕОМЕТРИЧЕСКИЕ ПАРАМЕТРЫ И УСЛОВНЫЕ ОБОЗНАЧЕНИЯ

5.1 Стандарт устанавливает следующие типы экранов:

- сетчатый на основе выпускаемой полимерной сетки из полиэтилена высокого или низкого давления;

- пластинчатый на основе полимерных пластин.

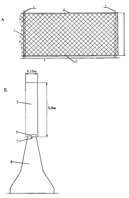
Общий вид экранов представлен на рисунке 1.

5.2 Сетчатый экран может поставляться в полной комплектации, включающей помимо полимерной сетки вертикальные металлические стойки опорной части и горизонтальные рейки опорной части требуемых размеров (см. п. 11 настоящего стандарта) или в неполной комплектации, включающей только полимерную сетку. Основные геометрические параметры полимерной сетки:

- средний размер ячейки - 0,8×0,8 см;

- длина в рулоне - 30 м;

- ширина в рулоне - 0,8 и 1,6 м.

1 - полимерная сетка; 2 - металлические стойки опорной части; 3 - горизонтальные металлические рейки опорной части; 4 - основание (фундамент стойки или барьерное ограждение); 5 - полимерная пластина; 6 - опорная часть (металлический уголок шириной полки 100) мм; 7 - металлический штырь диаметром 20 мм; 8 - барьерное ограждение.

Рисунок 1 - Общий вид противоослепляющих экранов полимерных дорожных сетчатого типа (А) и пластинчатых (Б). Указанные цифровые значения - наиболее характерные

По согласованию с Заказчиком возможен выпуск полимерных сеток с иными геометрическими параметрами.

5.3 Пластинчатый экран может поставляться в полной комплектации, включающей прямоугольные полимерные пластины шириной 0,18 м длиной 0,8 м и опорную часть требуемых размеров (см. п. 12 настоящего стандарта), предназначенную для крепления на ограждениях парапетного типа. По согласованию с Заказчиком возможен выпуск пластин с иными геометрическими параметрами.

5.4 Условные обозначения противоослепляющих экранов полимерных дорожных при заказе и (или) в других документах:

Славрос-свет С(0,8)П (СТО 218.3.002-2005) - экран сетчатого (С) типа шириной в рулоне 0,8 м (0,8), поставляемой в полной (П) комплектации (при неполной комплектации обозначение П опускается);

Славрос-свет ПЛ(0,18×0,8)П (СТО 218.3.002-2005) - экран пластинчатого (ПЛ) типа из прямоугольных пластин размерами (ширина×длина) 0,18×0,8 м (0,18×0,8), поставляемый в полной (П) комплектации (при неполной комплектации обозначение П опускается).

6. ТРЕБОВАНИЯ БЕЗОПАСНОСТИ

6.1 Применение экранов не требует особых предосторожностей.

6.2 Полимерные элементы экранов являются трудногорючим материалом (группа горючести по ГОСТ 12.1.044-89). При возгорании их нужно тушить песком, водой, пеной.

6.3 Изготовитель гарантирует отсутствие самовоспламенения при соблюдении правил транспортирования и хранения, указанных в настоящем стандарте.

6.4 При работе с элементами экранов, их монтаже для защиты рук от механических повреждений следует использовать перчатки, рукавицы.

7. ОХРАНА ОКРУЖАЮЩЕЙ СРЕДЫ

7.1 Элементы экранов изготавливают из нетоксичных в условиях эксплуатации компонентов, не выделяющих вредные вещества в концентрациях, опасных для здоровья человека.

8. ПРАВИЛА ПРИЕМКИ

8.1 Сетку (пластины) предъявляют к сдаче партиями. Партией считается сетка (пластина), выработанная на одном цикле ее изготовления (замесе сырья), но не более 20000 п.м. для сетки (100 п.м. для пластин).

8.2 Для лабораторных испытаний на соответствие требованиям п. 4 (п. 5 в части геометрических размеров) по ГОСТ 13587-77 отбирают необходимое количество образцов от каждых 1000 п.м. сетки (100 п.м. пластин).

8.3 Проверка качества сетки (пластин) по дефектам внешнего вида осуществляется визуально в процессе наработки.

8.4 Каждая партия сопровождается документом о качестве с указанием:

- наименования предприятия-изготовителя или его товарного знака;

- наименование (марка) сетки (пластины);

- номера партии;

- количества рулонов сетки или единиц упаковки для пластин в партии;

- количества метров в партии;

- подтверждения о соответствии требованиям настоящего стандарта;

- даты изготовления;

- обозначения настоящего стандарта;

- штампа и подписи работников ОТК.

9. МЕТОДЫ КОНТРОЛЯ

9.1 Линейные размеры определяют по ГОСТ 3811-72. Величину перекоса ячеек сетки определяют по ГОСТ 14067-91.

9.2 Плотность сетки (число жгутов/м) определяют по ГОСТ 6943.6-79 средний размер ячейки «в свету», ширину полотна сетки (пластины) определяют линейкой металлической по ГОСТ 427-75.

9.3 Коэффициент пропускания определяют в соответствии с приложением Б

.

9.4 Адгезию защитного лакокрасочного покрытия элементов экрана проверяют по ГОСТ 15140.

10. УПАКОВКА И МАРКИРОВКА

10.1 Готовую сетку в рулоне перевязывают шпагатом в трех местах по длине рулона. Готовые пластины прокладывают оберточной бумагой по ГОСТ 515 и укладывают в фанерные ящики по ГОСТ 14192.

Готовые металлические элементы экранов связывают вязальной проволокой по ГОСТ 5959.

По согласованию с потребителем допускается другой способ упаковки.

10.2 На каждый рулон сетки (пластину) прикрепляется ярлык с указанием:

- наименования предприятия-изготовителя или его товарного знака;

- наименование изделия;

- номера партии;

- количества метров сетки в рулоне, количества кусков в рулоне и ширину сетки (для пластин - ширину и высоту);

- обозначения настоящего стандарта.

11. ТРАНСПОРТИРОВАНИЕ И ХРАНЕНИЕ

11.1 Сетка (пластины) отдельно или в комплекте с другими образующими экран элементами могут транспортироваться всеми видами транспорта в соответствии с правилами перевозки грузов, действующими на каждом виде транспорта. Транспортная маркировка - по ГОСТ 14192.

11.2 Условия транспортирования должны исключать повреждение и деформацию сетки (пластин).

11.3 Хранение сетки производят в вертикальном положении в закрытых складских помещениях. Допускается хранение путем горизонтальной укладки рулонов не более чем в два ряда. Не допускается хранение сетки (пластин) вблизи отопительных приборов, взрывоопасных или легковоспламеняемых материалов.

12. УКАЗАНИЯ ПО ЭКСПЛУАТАЦИИ

12.1 При применении и эксплуатации противоослепляющих экранов дорожных пластиковых марки «Славрос-свет» следует соблюдать положения документов, относящихся к регламентации технических средств организации дорожного движения, в частности [1, 2, 3].

12.2 Экран устанавливают на разделительной полосе. Основные варианты установки: для сетчатого экрана - на стойках или на металлических ограждениях барьерного типа, для пластинчатого экрана - на ограждениях парапетного типа.

12.3 Возможные варианты установки и крепления экранов представлены в приложении А.

12.4 Работы по содержанию экранов (мойка, чистка) следует выполнять струей воды или с применением легких неметаллических щеток.

12.5 Периодически, не реже двух раз в год следует производить визуальный осмотр экранов для выявления и устранения возможных дефектов, появившихся в процессе эксплуатации (коррозия металлических элементов экранов и др.).

13. ГАРАНТИИ ИЗГОТОВИТЕЛЯ

13.1 Изготовитель гарантирует соответствие экранов настоящему стандарту при соблюдении условий хранения, предусмотренных настоящими техническими условиями и правил транспортировки.

13.2 Гарантийный срок хранения сетки (пластин) - 2 года со дня изготовления.

13.3 По истечении срока хранения сетка может быть использована по назначению после повторных испытаний на соответствие требованиям настоящего стандарта.

13.4 Гарантийный срок эксплуатации сетки (пластин) - 3 года со дня ввода в эксплуатацию при соблюдении правил эксплуатации по п. 12 настоящего стандарта. Изготовитель не несет ответственности за возможные повреждения, вызванные механическими воздействиями в период монтажа или эксплуатации.

Приложение А
(справочное)

А.1 Установку сетчатого экрана на стойках (рисунок А1) рекомендуется выполнять с учетом следующих положений:

- рекомендуемая высота сетки h2 = 1,6 м или по расчету в соответствии с приложением А.4;

- рекомендуемый просвет экрана h1 = 0,4 - 0,45 м;

- расстояние между стойками L = 3 - 4 м;

- возвышение верхних концов стоек над сеткой не более 0,1 м;

- рекомендуемая высота стоек 210 - 220 см (стойки из стальных труб прямоугольного сечения или равнобоких уголков);

- рейки (горизонтальные, продольные) - из равнобоких уголков с их закреплением на стойках болтами;

- стойки рекомендуется закреплять на бетонном фундаменте 50×50 см;

- рекомендуемый тип крепления сетки к стойкам и рейкам - вязальной проволокой по ГОСТ 3282.

А.2 Установку сетчатого экрана на металлических ограждениях барьерного типа (рисунок А2) рекомендуется выполнять с учетом следующих положений:

- рекомендуемая высота сетки h2 = 1,2 м или по расчету в соответствии с приложением А.4;

- расстояние между стойками экрана принимают равным расстоянию между стойками ограждения;

- возвышение верхних концов стоек над сеткой не более 0,1 м;

- просвет между нижней рейкой и ограждением не должен превышать 2 см;

- профиль стоек, реек, крепление к ним сетки - по приложению А.1;

- крепление стоек к стойкам ограждения болтовое.

A.3 Установку пластинчатого экрана на парапетных ограждениях (рисунок A3) рекомендуется выполнять с учетом следующих положений:

- рекомендуемая высота пластины 0,8 м или по расчету в соответствии с приложением А.4;

- расстояние между пластинами l принимают в зависимости от их ширины b равным l = b/tg βº (βº - угол освещения, рекомендуемая при расчете величина 18º);

- установка пластин - под прямым углом к оси ограждения путем прикрепления в нижней части к равнобоким уголкам (ширина полки обычно 10 см), закрепленным на поверхности ограждения (обычно с помощью штыря диаметром 20 мм, заглубленного не менее чем на 150 мм в ограждение).

Рисунок А - Общий вид экрана сетчатого на стойках (А1) и на металлическом ограждении барьерного типа (А2).

1 - сетка; 2 - стойки опорной части; 3 - продольные рейки; 4 - фундамент опорной части; 5 - барьерное ограждение; h1 - высота установки сетки; Нэ - высота экрана; h2 - высота сетки.

Рисунок А3 - Общий вид экрана пластинчатого на ограждениях парапетного типа.

1 - пластины; 2 - опорная часть; 3 - парапетное ограждение; 4 - металлический штырь; h1 - высота установки сетки; Нэ - высота экрана; h2 - высота пластины.

А.4 Минимальная высота сетки (пластины) h2 может быть определена, исходя из требуемой высоты экрана Нэ (рисунок А4) с учетом также высоты ее расположения над основанием h1 по формулам:

h2 = Hэ - h1

Обозначения - по рисункам А2 - А4. Величины hф (h2) допускается принимать равными 1,05 м (2,45 м). Значения lг, lф принимают в зависимости от числа полос движения при следующем расположении расчетных автомобилей:

- 4 полосы - на 1 и 4 полосах;

- 6 полос - на 2 и 6 полосах;

- 8 полос - на 3 и 8 полосах.

Рисунок А4 - Схемы для расчета требуемой высоты экрана (Нэ).

1 - проезжая часть; 2 - разделительная полоса; 3 - ось экрана; lг - расстояние от глаз водителя до оси экрана; lф - расстояние от фары до оси экрана; hг - высота расположения глаз водителя грузового автомобиля над поверхностью покрытия, hф - высота расположения фары автомобиля; d - ширина разделительной полосы;  - номера полос движения.

Приложение Б
(справочное)

9.3 Коэффициент пропускания определяют с помощью источника света по ГОСТ Р 41.20-99 с цветовой температурой (2856 ± 20) К, что соответствует стандартному источнику А Международной комиссии по освещению (МКО), и фотоэлектрического приемного устройства на опытных образцах, представляющих собой одну из секций экрана длиной не менее 2 м.

Образец должен быть чистым, сухим и сохраняться в течение 24 часов в помещении, где будут проводиться испытания. Образец размещают между источником света и приемным устройством на равном расстоянии. Образец устанавливают вертикально. Ось образца экрана располагают под углом i = 18° к оси падающего луча света.

Измерение силы света Ii (в канделах) проводят не менее, чем в трех точках по длине образца на уровнях, соответствующих от 85 до 100 %, аналогично 45 - 60 %, 0 - 15 % высоты экрана. Измерения повторяют при заданной величине угла i и измеряют силу света, прошедшего сквозь образец экрана.

Коэффициент пропускания определяют по формуле:

                                                                                 (8.1)

где: I0 - сила света падающего светового луча, направленного под прямым углом на приемное устройство;

Ii - сила света, прошедшего через экран по максимальному для трех точек значению.

Образец прошел испытания, если коэффициент пропускания не более 0,10 при заданной величине угла i.

Приложение В

Лист регистрации изменений

Изм.

Номера листов

Всего листов в документе

Номер документа

Входящий № сопроводительного документа

Подпись

Дата

измененных

замененных

новых

анулированных

 

 

 

 

 

 

 

 

 

 

БИБЛИОГРАФИЯ

[1] ОДМ. Рекомендации по устройству противоослепляющих экранов на автомобильных дорогах / ГП РосдорНИИ, М., 2003;

[2] ГОСТ Р 52289-2004. Технические средства организации дорожного движения. Правила применения дорожных знаков, разметки, светофоров, дорожных ограждений и направляющих устройств (проект).

[3] ГОСТ Р. Технические средства организации дорожного движения. Противоослепляющие экраны дорожные. Общие технические требования, правила применения (проект).

 

 

 

 

 



© 2013 Ёшкин Кот :-)