Информационная система
«Ёшкин Кот»

XXXecatmenu

МИНИСТЕРСТВО ЭНЕРГЕТИКИ И ЭЛЕКТРИФИКАЦИИ СССР

ВСЕСОЮЗНОЕ ПРОМЫШЛЕННОЕ ОБЪЕДИНЕНИЕ СОЮЗАТОМЭНЕРГО

НАУЧНО-ПРОИЗВОДСТВЕННОЕ ОБЪЕДИНЕНИЕ «ЭНЕРГИЯ»

ВСЕСОЮЗНЫЙ НАУЧНО-ИССЛЕДОВАТЕЛЬСКИЙ ИНСТИТУТ ПО ЭКСПЛУАТАЦИИ АТОМНЫХ ЭЛЕКТРОСТАНЦИЙ
(ВНИИАЭС)

СОГЛАСОВАНО

Начальник управления Госатомнадзора

______________ Г.Н. Гусаков

15 марта 1984 г.

 

УТВЕРЖДЕНО

Главный инженер ОКО Союзатомэнерго

_____________ Ю.А. Каменев

19 марта 1984 г.

 

ТИПОВАЯ ИНСТРУКЦИЯ ПО ПРОВЕДЕНИЮ ЛОКАЛЬНЫХ ИСПЫТАНИЙ ПЛОТНОСТИ ПРОХОДОК, ЗАПОРНОЙ АРМАТУРЫ ТЕХНОЛОГИЧЕСКИХ СИСТЕМ, ЛЮКОВ, ДВЕРЕЙ И ДРУГОГО ГЕРМЕТИЗИРУЮЩЕГО ОБОРУДОВАНИЯ СИСТЕМ ЛОКАЛИЗАЦИИ АВАРИЙ АЭС С ВВЭР-1000

ТИ-1Л-84

Первый заместитель

генерального директора НПО «Энергия»

А.А. Абагян

Заместитель директора ВНИИАЭС,

начальник отделения технических

проблем эксплуатации АЭС

Е.П. Ларин

Начальник лаборатории № 133

П.Н. Пак

Москва 1984

СОДЕРЖАНИЕ

1. Общие положения. 2

2. Способы испытания. 3

2.1. Внешний (визуальный) осмотр. 3

2.2. Опрессовка воздухом контрольной полости с обмыливанием соединений (по падению давления и по появлению мыльных пузырьков). 3

2.3. Проверка плотности прилегания по краске. 4

3. Проведение испытаний. 4

3.1. Проведение локальных испытаний проходок. 4

3.2. Шлюз транспортный. 10

3.3. Проведение локальных испытаний основного шлюза. 14

3.4. Проведение локальных испытаний аварийного шлюза. 16

3.5. Проведение локальных испытаний изолирующей (отсечной) арматуры. 16

4. Порядок допуска к осмотру, ремонту и испытаниям.. 19

5. Техника безопасности. 19

Приложение 1. Схема приспособления для контроля герметичности. 20

Приложение 2. Принципиальная схема воздуховодов на АЭС с ВВЭР-1000. 21

Приложение 3. Перечень необходимых приборов и материалов. 21

Приложение 4. Акт о проведении испытаний на плотность. 21

Список литературы.. 22

1. ОБЩИЕ ПОЛОЖЕНИЯ

1.1. Целью локальных испытаний герметизирующего оборудования является обнаружение мест неплотности при условиях, соответствующих максимальной проектной аварии (МПА), и в случае необходимости разработки мероприятий по дополнительной герметизации.

1.2. Герметизация зоны локализации аварий обеспечивается герметичной металлооблицовкой - герметичным контуром защитной оболочки (контроль герметичности которой проводится в соответствии с «Временными указаниями по методам и нормам контроля сварных соединений герметизирующих облицовок защитных оболочек и помещений СЛА АЭС, подконтрольных Госгортехнадзору СССР» ВУ-2С-83), а также применение герметичных люков, шлюзов, проходок различных видов и герметичной отсечной арматуры.

1.3. Для достижения необходимой степени герметизации необходимо:

1.3.1. Перед выдачей герметизирующего оборудования в монтаж проводить входной контроль на наличие технологической документации (ТУ, паспорт, инструкция по монтажу и эксплуатации) и на соответствие оборудования технической документации по внешнему осмотру согласно п. 2.1 настоящей ТИ.

Примечание: при наличии на оборудовании контрольной полости (КП) проводить испытания в соответствии с п. 2.2.

Входной контроль проводит дирекция АЭС. По результатам входного контроля составляется акт по форме приложения 4.

1.3.2. По мере завершения монтажа герметизирующего оборудования (группы проходок, отсечной арматуры одной вентиляционной или технологической системы, шлюза, люка) проводятся локальные испытания плотности в соответствии с настоящей ТИ.

На данном этапе проводятся 100 % испытания плотности всего герметизирующего оборудования. Испытания проводит комиссия в составе представителей дирекции АЭС, местного органа Госатомэнергонадзора, предприятия-разработчика, монтажных организаций и других заинтересованных организаций. По результатам испытаний составляется акт (по форме приложения 4) состояния и соответствия требованиям технической и проектной документации, касающимся герметичности.

1.3.3. В процессе эксплуатации локальные испытания плотности герметизирующего оборудования проводятся в соответствии с настоящей ТИ-1Л-84. Испытания герметичности закрытия люков и шлюзов должны проводиться после каждой разгерметизации, но не реже чем 1 раз в год. Остальное оборудование (проходки, отсечная арматура технологических систем, вентиляционные гермоклапаны) испытывается на герметичность в случае неудовлетворительных результатов при ежегодной проверке герметичных помещений (защитной оболочки) методом вакуумирования. Испытания проводятся под руководством лица, ответственного за исправное состояние и безопасное действие СЛА. Данные о проведенных испытаниях заносятся в паспорт СЛА.

1.4. К началу испытаний на плотность необходимо иметь приборы (манометр), соответствующие требованиям Госатомнадзора СССР, и материалы согласно приложения 3.

1.5. При невозможности выполнения испытания по настоящей ТИ (изменение конструкции оборудования и др.) допускается изменение способов (методов) контроля плотности; решение об изменении должно быть согласовано с заказчиком, проектной организацией, местным органом Госатомэнергонадзора и ВНИИАЭС.

2. СПОСОБЫ ИСПЫТАНИЯ

В зависимости от назначения и конструктивного исполнения герметизирующего оборудования для проверки его плотности применяются следующие способы:

• внешний (визуальный) осмотр;

• опрессовка воздухом контрольной полости с обмыливанием соединений (по падению давления и по появлению мыльных пузырьков);

• проверка плотности прилегания по краске.

2.1. Внешний (визуальный) осмотр.

Внешнему осмотру подлежат все контролируемые на плотность поверхности и соединения герметизирующего оборудования.

Внешний осмотр выполняется с целью проверки соответствия изделия требованиям технической и проектной документации, правильности монтажа, наличия уплотняющих прокладок и запоров, проверки отсутствия технологических дефектов в местах уплотнения: надрывов и порезов уплотняющих прокладок, прожогов, трещин, вмятин, наплывов, сужений и перерывов в сварных швах. Количественные нормы браковки швов по внешнему осмотру принимать в соответствии с ПК 1514-72 или ВУ-2С-83 в зависимости от требований проектной документации и настоящей ТИ. Устранение дефектов производить в соответствии с требованиями ОП 1513-72 или ВУ-2С-83.

2.2. Опрессовка воздухом контрольной полости с обмыливанием соединений (по падению давления и по появлению мыльных пузырьков).

Конструкция герметизирующего оборудования должна предусматривать контрольную полость (КП), которая предназначена для испытания герметичных соединений (сварных, паяных, с эластичным уплотнением) способом опрессовки воздухом через специальный штуцер избыточным давлением. Контрольная полость может быть образована специальным приспособлением (нащельником) или предусмотрена самой конструкцией герметизирующего оборудования.

Испытания проводятся с помощью приспособления по приложению 1.

2.2.1. Опрессовка воздухом КП с использованием показанного в приложении 1 приспособления выполняется следующим образом:

• приспособление подключается к контрольной полости (КП) на испытываемом оборудовании и к штатной системе сжатого воздуха с давлением не более 0,6 МПа (или к баллону со сжатым воздухом);

• вентили В1 и В2 закрыты;

• медленно открывается вентиль В1 до тех пор, пока манометр М не покажет, что достигнуто испытательное давление;

• при необходимости с помощью вентиля В2 корректируется величина давления;

• вентиль В1 закрывается и система выдерживается 10 - 20 минут;

• если не наблюдается видимое отклонение стрелки манометра, то это свидетельствует о полной герметичности КП на испытываемом оборудовании (температура окружающего воздуха в период испытания должна быть постоянной);

• если наблюдается отклонение стрелки манометра, то это свидетельствует о наличии в КП сквозных дефектов, которые необходимо обнаружить.

2.2.2. Обнаружение мест сквозных дефектов в доступных для осмотра соединениях выполняется следующим образом:

• в КП подается воздух до испытательного давления; на проверяемую поверхность наносится мыльный раствор (30 граммов мыла на 0,5 литра воды);

• по появлению мыльных пузырьков устанавливаются места неплотностей;

• обнаруженные места неплотностей отмечаются мелом или краской.

Обмыливание поверхности и соединений проводится небольшими участками. Обмыливание следует проводить дефектоскописту, проводящему осмотр шва, находящегося под давлением, непосредственно перед осмотром. Большие сквозные дефекты могут быть не обнаружены, так как воздух может пройти через мыльный раствор, не образуя пузырьков. Утечку воздуха через такие дефекты можно обнаружить на слух или на ощупь.

Устранение дефектов производить в соответствии с ОП 1513-72 или ВУ-2С-83 при отсутствии давления в КП. После устранения дефектов испытания повторяются.

Критерием плотности КП является отсутствие мыльных пузырьков и видимого отклонения стрелки манометра.

Допускается применение, наряду с обмыливанием, метода акустического течеискания.

2.2.3. Перед началом каждого испытания приспособление для опрессовки воздухом и место соединения приспособления с КП и со штатной системой сжатого воздуха должны быть проверены на герметичность. Для этого все возможные места неплотностей проверяются способом обмыливания при давлении воздуха в приспособлении 0,5 МПа. Появление мыльных пузырьков не допускается.

Приспособление устанавливается на уровне глаз наблюдателя. Необходимо обеспечить свободный доступ к приспособлению и хорошую освещенность.

2.3. Проверка плотности прилегания по краске.

Этот способ контроля применяется для определения мест неплотностей герметичных соединений, в которых используют эластичные (резиновые) прокладки.

Проверка герметичности рассматриваемым способом выполняется следующим образом: на всю уплотняющую поверхность прокладки или ответной детали наносится тонкий, ровный слой краски (мела или синьки). Уплотняющие поверхности прижимаются путем равномерной затяжки всех затворов и болтов. Затем уплотняющие поверхности разъединяются и осматривается поверхность, на которую мел или синька не наносились. В местах плохого прилегания отпечатка мела или синьки не будет.

Соединение считается плотным, если во всех местах имеется отпечаток краски не менее чем на 60 % ширины уплотняющей поверхности.

3. ПРОВЕДЕНИЕ ИСПЫТАНИЙ

3.1. Проведение локальных испытаний проходок.

3.1.1. Технологические (трубные) проходки.

3.1.1.1. Технологические проходки предназначены для пропуска через защитные ограждения технологических трубопроводов, импульсных линий, воздуховодов и др.

Схемы технологических проходок даны на рис. 1 и 2.

Проведение локальных испытаний сводится к следующему:

• произвести внешний осмотр в соответствии с п. 2.1, обратить особое внимание на сварной шов приварки корпуса проходки к закладной детали (проверить наличие акта на проведение цветной дефектоскопии), шов должен соответствовать требованиям ПК 1514-72;

• по результатам осмотра составляется акт (приложение 4) о соответствии данного изделия (группы проходок) техническим требованиям к пригодности к эксплуатации.

3.1.1.2. Для испытания резервных проходок (согласно проекта) необходимо заглушить их приваркой фланцев (заглушек), рассчитанных на избыточное давление 0,5 МПа, с двух сторон к корпусу закладной детали и выполнить биологическую защиту (засыпку чугунной дроби). Установить штуцер на одном из фланцев (со стороны «грязной» зоны) для опрессовки воздухом.

Схема резервной проходки дана рис. 3.

Испытание резервных проходок сводится к контролю плотности швов соединения фланцев (заглушек) с корпусом проходки в соответствии с п.п. 2.1. и 2.2. По результатам испытаний составляется акт (приложение 4) о соответствии данного изделия (группы проходок) техническим требованиям и пригодности к эксплуатации.

3.1.2. Электрические проходки (для силовых и контрольных кабелей).

Электрические проходки предназначены для ввода (вывода) через защитные герметичные ограждения специальных силовых, контрольных, термоэлектродных, радиочастотных и др. кабелей.

СХЕМА ТЕХНОЛОГИЧЕСКОЙ (ТРУБНОЙ) ПРОХОДКИ

1 - контролируемый сварной шов,

2 - корпус проходки,

3 - закладная деталь,

4 - сварные швы проверяемые по ВУ-2С-83,

5 - герметичная облицовка.

Рис. 1.

СХЕМА ПРОХОДКИ ИМПУЛЬСНЫХ ЛИНИЙ

1 - контролируемый сварной шов,

2 - закладная деталь,

3 - герметичная облицовка,

4 - сварные швы, проверяемые по ВУ-2С-83,

5 - трубная доска.

Рис. 2.

Схемы и контрольных проходок на рис. 4 и 5.

СХЕМА РЕЗЕРВНОЙ ПРОХОДКИ

1 - закладная труба,

2 - фланец (заглушка),

3 - штуцер,

4 - контрольная полость (КП),

5 - контролируемые швы,

6 - сварные швы проверяемые по ВУ-2С-83,

7 - герметичная облицовка,

8 - биологическая защита (чугунная дробь).

Рис. 3.

Испытание резервных проходок сводится к контролю плотности швов соединения фланцев (заглушек) с корпусом проходки в соответствии с п.п. 2.1 и 2.2. По результатам испытаний составляется акт (приложение 4) о соответствии данного изделия (группы проходок) техническим требованиям и пригодности к эксплуатации.

3.1.2. Электрические проходки (для силовых и контрольных кабелей).

Электрические проходки предназначены для ввода (вывода) через защитные герметичные ограждения специальных силовых, контрольных, термоэлектродных, радиочастотных и др. кабелей.

Схемы силовых и контрольных проходок даны на рис. 4 и 5.

Согласно схемам проходок проверке на герметичность подлежат заводские и монтажные соединения, такие как: уплотнение различными прокладками, уплотнение проводов заливкой герметика стопорного устройства, сальниковое уплотнение, сварные и паяные швы, болтовые соединения. Все эти соединения проверяются на герметичность опрессовкой воздухом давлением 0,5 МПа (избыточное) конструктивно образованных контрольных полостей (КП).

Проведение локальных испытаний плотности сводится к следующему:

произвести внешний осмотр в соответствии с п. 2.1;

произвести опрессовку КП воздухом с обмыливанием всех соединений, влияющих на герметичность в соответствии с п. 2.2;

по результатам испытаний составляется акт (приложение 4) о соответствии данного изделия (группы проходок) техническим требованиям и пригодности к эксплуатации.

СХЕМА СИЛОВОЙ КАБЕЛЬНОЙ ПРОХОДКИ

1 - ввод герметичный,

2 - закладная труба,

3 - герметичная облицовка,

4 - места нанесения мыльного раствора,

5 - отверстие для контроля герметичности,

6 - контрольная полость (КП),

7 - кожух (тепловой экран).

Рис. 4.

СХЕМА КОНТРОЛЬНОЙ КАБЕЛЬНОЙ ПРОХОДКИ

1 - корпус проходки,

2 - закладная труба,

3 - герметичная облицовка,

4 - места нанесения мыльного раствора,

5 - штуцер для контроля герметичности проходки,

6 - штуцер для контроля герметичности кольцевого зазора,

7 - контрольная полость (КП),

8 - кожух (тепловой экран).

Рис. 5.

Проверка герметичности электрических проходок проводится по специальным наряд-допускам на обесточенных проходках до установки тепловых экранов.

Резервные электрические проходки испытываются аналогично п. 3.1.1.2, для технологически проходок.

3.1.3. Сливное устройство.

Сливное устройство испытывается на герметичность способом опрессовки воздухом до избыточного давления 0,5 МПа КП, образованной закладной деталью и корпусом сливного устройства.

Схема сливного устройства представлена на рис. 6.

СХЕМА СЛИВНОГО УСТРОЙСТВА

1 - контролируемые сварные швы,

2 - контрольная полость,

3 - уплотнение,

4 - штуцер,

5 - нащельник,

6 - трап,

7 - закладная деталь.

Рис. 6.

Проверке на герметичность подлежат сварные швы соединения корпуса сливного устройства с закладной деталью.

Проведение локальных испытаний плотности сводится к следующему:

• произвести внешний осмотр в соответствии с п. 2.1;

• произвести опрессовку КП воздухом избыточным давлением 0,5 МПа с обмыливанием всех соединений, влияющих на герметичность в соответствии с п. 2.2;

• по результатам испытаний составляется акт (приложение 4) о соответствии данного изделия техническим требованиям и пригодности к эксплуатации.

3.2. Шлюз транспортный.

3.2.1. Шлюз транспортный предназначен для сохранения герметичности защитной оболочки реакторного отделения при транспортировке через него различных грузов.

Схема транспортного шлюза представлена на рис. 7.

Рис. 7.

3.2.2. При проведении локальных испытаний на плотность транспортного шлюза должны контролироваться:

• уплотнение между крышкой монтажного люка и закладной деталью;

• уплотнение между крышкой эксплуатационного люка и крышкой монтажного люка;

• уплотнение между герметичными воротами и закладной деталью;

• монтажные сварные швы соединения закладной детали монтажного люка и герметичных ворот, полотна монтажного люка и полотна герметичных ворот.

Схемы этих уплотнений приведены на рис. 8, 9 и 10.

Схема уплотнения между полотном герметичных ворот и закладной деталью

(узел I)

Схема уплотнения герметичных ворот

1 - контролируемые сварные швы,

2 - резиновое уплотнение,

3 - пробка,

4 - полотно герметичных дверей,

5 - закладная деталь,

6 - контрольная полость.

Рис. 8.

Схема уплотнения между полотном монтажного люка и закладной деталью

(узел II)

1 - полотно монтажного люка,

2 - резиновое уплотнение,

3 - пробка,

4 - контрольная полость,

5 - закладная деталь.

Рис. 9.

3.2.3. Последовательность проведения испытаний уплотнения между крышкой эксплуатационного люка и крышкой монтажного люка:

• произвести внешний осмотр уплотняющих поверхностей с целью определения качества и соответствия монтажа проектной документации (отсутствия перекосов люка, отсутствие технологических дефектов в местах уплотнения, отсутствие закраски уплотняющих поверхностей) в соответствии с п. 2.1;

• произвести контроль плотности прилегания уплотняющих поверхностей с применением мела (синьки) в соответствии с п. 2.3;

• обжать крышку эксплуатационного люка с помощью болтов, приводов, домкратов; отвинтить пробку на полотне люка;

• установить штуцер, соединяющий КП с приспособлением для опрессовки сжатым воздухом; подсоединить приспособление для опрессовки (приложение 1) к штуцеру на КП и к штатной системе сжатого воздуха (или к баллону со сжатым воздухом);

• осуществить опрессовку КП сжатым воздухом до избыточного давления 0,5 МПа в соответствии с п. 2.2;

• в случае обнаружения течей, приспособление для опрессовки отключается от источника сжатого воздуха с помощью вентиля В1, открывается вентиль В2 и давление в КП сбрасывается;

• после устранения дефектов испытание способом опрессовки сжатым воздухом до избыточного давления 0,5 МПа повторяется в соответствии с п. 2.2;

• после окончания испытания приспособление для опрессовки отключается от источника сжатого воздуха и от КП, штуцер на КП заглушается.

3.2.4. Проведение испытаний уплотнения между крышкой монтажного люка и закладной деталью и между герметичными воротами и закладной деталью осуществляется в таком же объеме и последовательности, как и между крышкой эксплуатационного люка и крышкой монтажного люка по п. 3.2.3.

Схема уплотнения между герметичными воротами и закладной деталью

(узел III)

Схема уплотнения между полотном эксплуатационного люка и монтажного

(узел IV)

1 - контролируемые сварные швы,

2 - резиновое уплотнение,

3 - пробка,

4 - полотно монтажного люка,

5 - полотно эксплуатационного люка,

6 - контрольная полость.

Рис. 10.

3.2.5. Последовательность проведения испытаний монтажных сварных швов соединения закладной детали под монтажный люк и герметичные ворота:

• произвести внешний осмотр сварных швов в соответствии с п. 2.1; швы сварных соединений должны соответствовать требованиям ПК 15-14-72;

• подсоединить приспособление для опрессовки сжатым воздухом (приложение 1) к штуцеру на КП и к штатной системе сжатого воздуха (или к баллону со сжатым воздухом);

• осуществить опрессовку КП сжатым воздухом до избыточного давления 0,5 МПа с нанесением мыльного раствора в соответствии с п. 2.2 для определения неплотностей;

• в случае обнаружения течей приспособление для опрессовки отключается от источника сжатого воздуха с помощью вентиля В1, открывается вентиль В2 и давление в КП сбрасывается;

• после устранения дефектов испытание способом опрессовки воздухом до избыточного давления 0,5 МПа с нанесением мыльного раствора повторяется в соответствии с п. 2.2;

• после окончания испытаний приспособление для опрессовки отключается от источника сжатого воздуха и от КП; штуцер на КП заглушается.

3.2.6. По результатам испытаний составляется акт по форме приложения 4 о соответствии данного изделия техническим требованиям и пригодности к эксплуатации.

3.3. Проведение локальных испытаний основного шлюза.

Шлюз основной предназначен для сохранения герметичности защитной оболочки реакторного отделения при проходе через него обслуживающего персонала.

Схема шлюза приведена на рис. 11.

При проведении локальных испытаний основного шлюза на плотность должны контролироваться:

• уплотнение дверей шлюза;

• монтажные сварные швы соединения закладной детали и корпуса шлюза;

• штоковые проходки.

3.3.1. Проведение испытаний уплотнения дверей шлюза осуществляется в таком же объеме и последовательности, как и уплотнение между крышкой монтажного люка по п. 3.2.

3.3.2. Проведение испытаний монтажных сварных швов соединения закладной детали к корпуса шлюза осуществляется в таком же объеме и последовательности, как и монтажных сварных швов соединения закладной детали под монтажный люк и герметичные ворота по п. 3.2.5.

Схема шлюза основного

Схема уплотнения двери

1 - контролируемые сварные швы,

2 - контрольная полость,

3 - штуцер,

4 - нащельник,

5 - закладная деталь,

6 - пробка,

7 - резиновое уплотнение,

8 - корпус шлюза,

9 - полотно двери,

10 - штоковая проходка,

11 - герметичная облицовка.

Рис. 11.

3.3.3. Проведение локальных испытаний плотности штоковых проходок сводится к следующему:

• произвести внешний осмотр в соответствии с п. 2.1;

• произвести опрессовку ПК воздухом до избыточного давления 0,5 МПа в соответствии с п. 2.2;

• критерием плотности штоковой проходки является отсутствие видимого отклонения стрелки манометра.

Схема штоковой проходки приведена на рис. 12.

Схема штоковой проходки

1 - уплотнение,

2 - контрольная полость,

3 - пробка,

4 - сильфон,

5 - полотно двери.

Рис. 12.

3.3.4. После проведения испытаний всех герметичных узлов основного шлюза осуществляется контроль герметичности всего шлюза в целом, т.е. при уплотненных дверях.

Последовательность проведения испытаний основного шлюза в целом аналогична проведению испытаний сварных швов транспортного шлюза по п. 3.2.5. Величина давления в соответствии с заводской инструкцией.

3.3.5. По результатам испытаний узлов и всего основного шлюза в целом составляется акт (приложение 4) о соответствии данного изделия техническим требованиям и пригодности к эксплуатации.

3.4. Проведение локальных испытаний аварийного шлюза.

Проведение локальных испытаний аварийного шлюза осуществляется аналогично проведению испытаний основного шлюза по п. 3.3.

3.5. Проведение локальных испытаний изолирующей (отсечной) арматуры.

Испытанию на герметичность подлежат следующие виды изолирующей (отсечной) арматуры:

• задвижки;

• вентили;

• вентиляционные гермоклапаны.

Перечень изолирующей арматуры каждого вида, подлежащей испытанию, оговаривается в проектной документации АЭС.

При проведении испытаний необходимо соблюдать правила эксплуатации арматуры, указанные в паспорте и ТУ на соответствующий вид арматуры.

3.5.1. Задвижки и вентили.

Задвижки и вентили устанавливаются на технологических трубопроводах, выходящих (входящих) из (в) зоны (у) локализации аварий АЭС.

Проведение локальных испытаний сводится к следующему:

• произвести внешний осмотр с целью определения правильности монтажа, отсутствия технологических дефектов, отсутствия закраски уплотняющих поверхностей в соответствии с п. 2.1;

• на основании актов о гидравлических испытаниях технологических систем, на которых установлена данная изолирующая (отсечная) арматура, внешнего осмотра и проверки работоспособности привода (ручного, электрического или пневматического) делается заключение (по форме приложения 4) о соответствии данного изделия (группы арматуры) техническим требованиям и пригодности к эксплуатации.

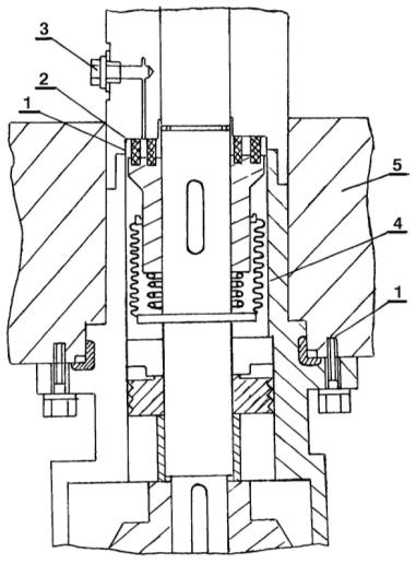
3.5.2. Вентиляционные гермоклапаны.

Проверке на герметичность подлежат вентиляционные гермоклапаны, устанавливаемые на воздуховодах выводящих (входящих) из (в) зоны (у) локализации аварии АЭС (приложение 2).

Схема вентиляционного гермоклапана представлена на рис. 13.

Проверке на герметичность подлежат:

• фланцевые (сварные) соединения гермоклапана с воздуховодом;

• соединение крышки уплотнительного кольца (2) с фланцем (3) шейки приводного вала (4);

• соединение крышки корпуса (5) со ступицей (6) опорного вала (7);

• уплотнение между затворным диском (8) с кольцевым седлом (9).

Испытаниям подвергаются срезу два последовательно стоящих гермоклапана. Схема испытания представлена на рис. 13.

а) СХЕМА ВЕНТИЛЯЦИОННОГО ГЕРМОКЛАПАНА (КЛАПАН ЗАКРЫТ)

1 - уплотнение,

2 - крышка уплотнительного кольца,

3 - фланец,

4 - приводной вал,

5 - крышка корпуса,

6 - ступица,

7 - опорный вал,

8 - затворный диск,

9 - кольцевое седло,

10 - контрольная полость (КП).

Рис. 13.

Последовательность проведения испытаний:

• произвести внешний осмотр гермоклапанов с целью определения правильности монтажа, отсутствия технологических дефектов, отсутствия закраски уплотняющих поверхностей в соответствии с п. 2.1;

• на участке воздуховода между двумя гермоклапанами врезать штуцер для присоединения приспособления (приложение 1);

• закрыть два последовательно расположенных гермоклапана;

• подсоединить приспособление для опрессовки воздухом (приложение 1) к штуцеру на воздуховоде и к штатной системе сжатого воздуха (или к баллону со сжатым воздухом);

• осуществить опрессовку КП (10), образованную двумя гермоклапанами и участком воздуховода между ними, воздухом до избыточного давления 0,5 МПа в соответствии с п. 2.2;

• во время опрессовки по всему периметру мест, указанных на рис. 13, нанести мыльный раствор в соответствии с п. 2.2.2 и по появлению пузырьков воздуха определить места течей; для устранения течей необходимо подтянуть болты фланцевых соединений;

• после окончания испытаний штуцер на воздуховоде заглушить;

• результаты испытаний анализируются и составляется акт (приложение 4) о соответствии данных гермоклапанов техническим требованиям и пригодности к эксплуатации.

4. ПОРЯДОК ДОПУСКА К ОСМОТРУ, РЕМОНТУ И ИСПЫТАНИЯМ

4.1. Все экспериментальные и испытательные работы на герметизирующем оборудовании проводятся по графикам, утвержденным главным инженером АЭС.

4.2. Допуск к осмотру или ремонту герметизирующего оборудования производится по указанию или разрешению начальника смены реакторного цеха.

4.3. Все ремонтные работы производятся по нарядам-допускам с соблюдением требований радиационной безопасности.

5. ТЕХНИКА БЕЗОПАСНОСТИ

5.1. При испытании на плотность руководствоваться «Правилами техники безопасности при испытании теплосилового оборудования электростанции».

5.2. При проведении испытаний необходимо соблюдать правила эксплуатации оборудования и приборов в соответствии с их техническими требованиями.

5.3. К проведению испытаний герметизирующего оборудования защитных оболочек реакторного отделения АЭС допускаются лица, изучившие конструкцию испытываемого оборудования, техническое описание и инструкцию по эксплуатации, инструкцию по проведению локальных испытаний, прошедшие инструктаж по технике безопасности и освоившие безопасные приемы ведения работ.

5.4. Приборы, применяемые при испытании герметизирующего оборудования должны соответствовать требованиям Госгортехнадзора СССР.

5.5. Повышение и сброс давления при опрессовке производить плавно.

5.6. При наличии давления в системе не допускается выполнять работы по устранению дефектов.

5.7. При испытании на плотность необходимо вывесить плакаты, предупреждающие о ходе испытаний.

5.8. При осмотре необходимо пользоваться переносными светильниками напряжением не выше 12 В. Светильники должны иметь защитную сетку и исправный провод.

5.9. Измерительная и предохранительная аппаратура должна быть исправной, опломбированной, с непросроченным сроком очередной Госпроверки и должна быть установлена в доступных и хорошо освещенных местах.

5.10. Персонал, проводящий работы на герметизирующем оборудовании, должен быть аттестован в соответствии с требованиями Госатомэнергонадзора.

5.11. При испытании на плотность руководствоваться также «Правилами ядерной безопасности атомных электростанций» и «Правилами радиационной безопасности».

ПРИЛОЖЕНИЕ 1

СХЕМА ПРИСПОСОБЛЕНИЯ ДЛЯ КОНТРОЛЯ ГЕРМЕТИЧНОСТИ

M - манометр образцовый, класс точности 0.4, рабочий диапазон 0 ¸ 0,6 (0,2) МПа для регистрации давления;

В1 - вентиль игольчатый для герметичного перекрытия магистрали подачи воздуха;

В2 - вентиль игольчатый для сброса воздуха в атмосферу.

ПРИЛОЖЕНИЕ 2

Принципиальная схема воздуховодов на АЭС с ВВЭР-1000

ПРИЛОЖЕНИЕ 3

ПЕРЕЧЕНЬ НЕОБХОДИМЫХ ПРИБОРОВ И МАТЕРИАЛОВ

(на один комплект приспособления)

1. Манометр образцовый до 6,0 кгс/см2 .......................................... 1 шт.

2. Вентиль ........................................................................................... 2 шт.

3. Шланг для подвода воздуха 10 ÷ 14 мм ....................................... 10 м

4. Кисть малярная .............................................................................. 3 шт.

5. Мыло хозяйственное ..................................................................... 2 кг

6. Мел (синька) .................................................................................. 1 кг

7. Фонари карманные ........................................................................ 2 шт.

8. Лампа переносная 12 В ................................................................. 1 шт.

9. Лестница (стремянка) 3 м ............................................................ 1 шт.

10. Набор слесарного инструмента (ключ разводной,

газовый, плоскогубцы и др.) ............................................................. 1 комплект.

ПРИЛОЖЕНИЕ 4

АКТ
о проведении испытаний на плотность

Настоящий составлен комиссией в составе:

1.

2.

3.

о том, что согласно инструкции были испытаны на плотность

_________________________________________________________________________

_________________________________________________________________________

Испытания проводились способом __________________________________________

_________________________________________________________________________

При этом получены следующие результаты: ____________________________________

_________________________________________________________________________

_________________________________________________________________________

_________________________________________________________________________

По результатам можно сделать вывод ________________________________________

_________________________________________________________________________

_________________________________________________________________________

_________________________________________________________________________

Подписи:

СПИСОК ЛИТЕРАТУРЫ

1. Временные указания по надзору за сооружением и эксплуатацией систем локализации аварии АЭС, АТЭЦ и АСТ - Госгортехнадзор СССР, 1982 г.

2. Основные положения по сварке и наплавке узлов и конструкций атомных электростанций, опытных и исследовательских ядерных реакторов и установок - ОП 1513-72.

3. Правила контроля сварных соединений и наплавки узлов и конструкций атомных электростанций, опытных и исследовательских ядерных реакторов и установок - ПК 1514-72.

4. Временные указания по методам и нормам контроля сварных соединений герметизирующих облицовок, защитных оболочек и помещений системы локализации аварии АЭС, подконтрольных Госгортехнадзору СССР - ВУ-2С-83, Оргэнергострой.

5. Правила устройства и безопасной эксплуатации системы локализации аварии АЭС, АТЭЦ и АСТ - первая реакция, 1983 г.

6. Программа контроля плотности дверей, люков, проходок - ВТИ им. Ф.Э. Дзержинского, 1980 г.



© 2013 Ёшкин Кот :-)