Информационная система
«Ёшкин Кот»

XXXecatmenu

МЕЖГОСУДАРСТВЕННЫЙ СОВЕТ ПО СТАНДАРТИЗАЦИИ, МЕТРОЛОГИИ И СЕРТИФИКАЦИИ (МГС)

INTERSTATE COUNCIL FOR STANDARDIZATION, METROLOGY AND CERTIFICATION (ISC)

МЕЖГОСУДАРСТВЕННЫЙ СТАНДАРТ

ГОСТ
31300-2005

(EH 12639:2000)

 

Шум машин

НАСОСЫ ГИДРАВЛИЧЕСКИЕ

Испытания на шум

EN 12639:2000

Liquid pumps and pump units - Noise test code -
Grade 2 and grade 3 of accuracy (MOD)

 

 

 

Москва

Стандартинформ

2006

 

Предисловие

Цели, основные принципы и основной порядок проведения работ по межгосударственной стандартизации установлены ГОСТ 1.0-92 «Межгосударственная система стандартизации. Основные положения» и ГОСТ 1.2-97 «Межгосударственная система стандартизации. Стандарты межгосударственные, правила и рекомендации по межгосударственной стандартизации. Порядок разработки, принятия, применения, обновления и отмены»

Сведения о стандарте

1 ПОДГОТОВЛЕН Открытым акционерным обществом «Научно-исследовательский центр контроля и диагностики технических систем» на основе собственного аутентичного перевода стандарта, указанного в пункте 4

2 ВНЕСЕН Федеральным агентством по техническому регулированию и метрологии

3 ПРИНЯТ Межгосударственным советом по стандартизации, метрологии и сертификации (протокол № 28 от 9 декабря 2005 г.)

За принятие проголосовали:

Краткое наименование страны по МК (ИСО 3166) 004-97

Код страны по МК (ИСО 3166) 004-97

Сокращенное наименование национального органа по стандартизации

Азербайджан

AZ

Азстандарт

Армения

AM

Министерство торговли и экономического развития Республики Армения

Беларусь

BY

Госстандарт Республики Беларусь

Казахстан

KZ

Госстандарт Республики Казахстан

Кыргызстан

KG

Национальный институт стандартов и метрологии Кыргызской Республики

Молдова

MD

Молдова-Стандарт

Российская Федерация

RU

Федеральное агентство по техническому регулированию и метрологии

Таджикистан

TJ

Таджикстандарт

Туркменистан

TM

Главгосслужба «Туркменстандартлары»

Узбекистан

UZ

Агентство «Узстандарт»

4 Настоящий стандарт является модифицированным по отношению к международному (региональному) стандарту ЕН 12639:2000 «Насосы и насосные агрегаты гидравлические. Испытания на шум. Степени точности 2 и 3» (EN 12639:2000 «Liquid pumps and pump units - Noise test code - Grade 2 and grade 3 of accuracy») путем внесения технических отклонений, объяснение которых приведено во введении к настоящему стандарту.

Наименование настоящего стандарта изменено относительно наименования указанного международного (регионального) стандарта для приведения в соответствие с ГОСТ 1.5-2001 (подраздел 3.6)

5 Приказом Федерального агентства по техническому регулированию и метрологии от 20 июля 2006 г. № 137-ст межгосударственный стандарт ГОСТ 31300-2005 (ЕН 12639:2000) введен в действие в качестве национального стандарта Российской Федерации с 1 января 2007 г.

6 ВВЕДЕН ВПЕРВЫЕ

Информация о введении в действие (прекращении действия) настоящего стандарта публикуется в указателе «Национальные стандарты».

Информация об изменениях к настоящему стандарту публикуется в указателе «Национальные стандарты», а текст изменений - в информационных указателях «Национальные стандарты». В случае пересмотра или отмены настоящего стандарта соответствующая информация будет опубликована в информационном указателе «Национальные стандарты»

 

СОДЕРЖАНИЕ

1 Область применения. 4

2 Нормативные ссылки. 4

3 Термины и определения. 5

4 Семейства и конфигурации насосов. 5

5 Определение уровня звуковой мощности. 5

6 Определение уровня звука излучения. 11

7 Условия установки и монтажа. 11

8 Рабочий режим при проведении измерений. 12

9 Регистрируемая информация. 13

10 Заявление и контроль значений шумовых характеристик. 13

Приложение А. Измерительная поверхность для насоса. 14

Приложение В. Положения микрофонов для измерения уровня звукового давления насосного агрегата. 14

Приложение С. Сведения о соответствии ссылочных международных (региональных) стандартов межгосударственным стандартам, использованным в настоящем стандарте в качестве нормативных ссылок. 20

Введение

Источниками шума насосного агрегата могут быть корпус насоса, привод (например, двигатель, корпус редуктора, муфта), трубопроводы, а также другие части агрегата.

На месте эксплуатации насосного агрегата шум может значительно возрастать за счет реверберации или шума посторонних источников.

В зависимости от типа насосного агрегата полезно знать:

a) шум насоса, включая трубопроводы;

b) шум насосного агрегата, включая привод, но исключая насос;

c) шум только насоса, исключая привод и трубопроводы;

d) шум каждой из этих частей насосного агрегата для сравнения с заданными требованиями или для оценки эффективности звукоизоляции.

Настоящий стандарт устанавливает методы определения шума насосного агрегата [случай b)] или только насоса [случай c)].

Шум характеризуют уровнем звуковой мощности и уровнем звука излучения на условном рабочем месте.

Настоящий стандарт позволяет изготовителю:

- показать эффективность снижения шума;

- заявлять значения шумовых характеристик.

Настоящий стандарт имеет следующие отличия от примененного в нем международного (регионального) стандарта ЕН 12639:2000.

Раздел «Нормативные ссылки» оформлен в соответствии с ГОСТ 1.5-2001 (пункт 9.2.6) и выделен сплошной вертикальной линией, расположенной слева от текста. Исключены нормативные ссылки на международные стандарты, для которых не имеется соответствующих межгосударственных стандартов. Исключенные ссылки не препятствуют однозначному пониманию и применению стандарта. Нормативные ссылки дополнены стандартами: ГОСТ 23941, ГОСТ 31252, ГОСТ 31171, ГОСТ 27243.

В таблицах 1 и 2 в тех случаях, когда не имеется межгосударственных стандартов на методы определения уровней звуковой мощности, указаны методы по ГОСТ 23941. Ссылки на документы раздела 2 в тексте стандарта подчеркнуты сплошной горизонтальной линией. Кроме того, таблицы 1 и 2 дополнены методом сравнения при измерениях шума на месте эксплуатации или на испытательном стенде в цехе по ГОСТ 27243.

Подраздел 6.1 дополнен методами измерения уровня звука излучения по ГОСТ 31171.

Текст примечания в подразделе 7.1 преобразован в содержание указанного подраздела, поскольку в оригинале иного текста, кроме примечания, нет.

Подраздел 8.3 дополнен указанием о режиме работы объемного насоса.

Исключена библиография, содержащая один ссылочный документ - ЕН 809:1998 «Насосы и насосные агрегаты. Общие требования безопасности», не влияющий на применение стандарта.

Другие отличия, выделенные курсивом, способствуют лучшему пониманию стандарта и не требуют пояснений.

 

ГОСТ 31300-2005
(ЕН 12639:2000)

МЕЖГОСУДАРСТВЕННЫЙ СТАНДАРТ

Шум машин

НАСОСЫ ГИДРАВЛИЧЕСКИЕ

Испытания на шум

Noise of machines. Liquid pumps. Noise tests

Дата введения - 2007-01-01

1 Область применения

Настоящий стандарт устанавливает методы измерения шума, метод заявления и контроля (верификации) значений шумовых характеристик гидравлических насосов и насосных агрегатов, режим работы и условия монтажа при испытаниях на шум.

Шумовые характеристики: корректированный по частотной характеристике А уровень звуковой мощности и уровень звука излучения на условном рабочем месте - определяют в целях:

- заявления их значений;

- управления шумом на стадии разработки.

Примечание - Определение шумовых характеристик необходимо также для сравнения шума различных насосов.

Применение настоящего стандарта обеспечивает воспроизводимость определения значений шумовых характеристик с точностью технического или ориентировочного метода измерений.

Стандарт не устанавливает методы измерения шума, порождаемого вибрацией опорных конструкций, и гидравлического шума перекачиваемой жидкости.

2 Нормативные ссылки

В настоящем стандарте использованы нормативные ссылки на следующие межгосударственные стандарты:

ГОСТ 17398-72 Насосы. Термины и определения

ГОСТ 23941-2002 Шум машин. Методы определения шумовых характеристик. Общие требования

ГОСТ 27243-2005 (ИСО 3747:2000) Шум машин. Определение уровней звуковой мощности по звуковому давлению. Метод сравнения на месте установки

ГОСТ 30457-97 (ИСО 9614-1-93) Акустика. Определение уровней звуковой мощности источников шума на основе интенсивности звука. Измерение в дискретных точках. Технический метод

ГОСТ 30691-2001 (ИСО 4871-96) Шум машин. Заявление и контроль значений шумовых характеристик

ГОСТ 30720-2001 (ИСО 11203-95) Шум машин. Определение уровней звукового давления излучения на рабочем месте и в других контрольных точках по уровню звуковой мощности

ГОСТ 31171-2003 (ИСО 11200:1995) Шум машин. Руководство по выбору метода определения уровней звукового давления излучения на рабочем месте и в других контрольных точках

ГОСТ 31252-2004 (ИСО 3740:2000) Шум машин. Руководство по выбору метода определения уровней звуковой мощности

ГОСТ 31275-2002 (ИСО 3744-94)1) Шум машин. Определение уровней звуковой мощности источников шума по звуковому давлению. Технический метод в существенно свободном звуковом поле над звукоотражающей плоскостью

ГОСТ 31276-2002 (ИСО 3743-1-94, ИСО 3743-2-94)1) Шум машин. Определение уровней звуковой мощности источников шума по звуковому давлению. Технические методы для малых переносных источников шума в реверберационных полях в помещениях с жесткими стенами и в специальных реверберационных камерах

ГОСТ 31277-2002 (ИСО 3746-95)1) Шум машин. Определение уровней звуковой мощности источников шума по звуковому давлению. Ориентировочный метод с использованием измерительной поверхности над звукоотражающей плоскостью

1) На территории Российской Федерации действуют ГОСТ Р 51401-99 (ИСО 3744-94), ГОСТ Р 51400-99 (ИСО 3743-1-94, ИСО 3743-2-94), ГОСТ Р 51402-99 (ИСО 3746-95) соответственно.

Примечание - При пользовании настоящим стандартом целесообразно проверить действие ссылочных стандартов по указателю «Национальные стандарты», составленному по состоянию на 1 января текущего года, и по соответствующим информационным указателям, опубликованным в текущем году. Если ссылочный стандарт заменен (изменен), то при пользовании настоящим стандартом следует руководствоваться замененным (измененным) стандартом. Если ссылочный стандарт отменен без замены, то положение, в котором дана ссылка на него, применяется в части, не затрагивающей эту ссылку.

3 Термины и определения

В настоящем стандарте применены термины по ГОСТ 31252 (приложение Е), ГОСТ 17398, а также следующие термины с соответствующими определениями:

3.1 насос (pump): Устройство для перекачки жидкости, ограниченное входным и выходным патрубками и оконечностью вала.

Примечание - В ГОСТ 17398 этот термин имеет определение: Машина для создания потока жидкой среды.

3.2 насосный агрегат (pump unit): Агрегат, включающий в себя насос, его приводное устройство (например, электрический двигатель, паровую турбину) с трансмиссией (например, муфта, редуктор), основание и вспомогательное оборудование, поставляемое с агрегатом.

Примечание - в ГОСТ 17398 этот термин имеет определение: Агрегат, состоящий из насоса или нескольких насосов и приводящего двигателя, соединенных между собой.

4 Семейства и конфигурации насосов

4.1 Настоящий стандарт распространяется на динамические и объемные, роторные и возвратно-поступательные насосы.

4.2 Измерения шума насоса проводят методами по таблице 1, насосного агрегата - по таблице 2. Испытуемые объекты должны быть установлены:

- на месте эксплуатации по 7.2.1;

- на испытательном стенде в цехе по 7.2.2;

- в испытательном помещении, предназначенном для акустических измерений, по 7.2.3.

4.3 Ограждающие устройства (ограждения муфт, звукоизолирующие кожухи и т.д.), если они предусмотрены конструкцией, должны быть установлены.

5 Определение уровня звуковой мощности

5.1 Общие положения

Для определения уровня звуковой мощности применяют один из технических методов (степень точности 2) по ГОСТ 23941: методы сравнения (с использованием образцового источника шума) для измерений: в реверберационном (гулком) помещении по ГОСТ 31276 (далее - метод 1) или в специальной реверберационной камере по ГОСТ 31276 (далее - метод 2); метод в существенно свободном звуковом поле над звукоотражающей плоскостью для измерений в производственных помещениях, на открытых площадках и в заглушённых камерах со звукоотражающим полом по ГОСТ 31275; методы по ГОСТ 27243 и ГОСТ 30457; метод для измерений сканированием в производственных помещениях и на открытых площадках по интенсивности звука (далее - метод 3).

В случае, если доказано, что применить указанные методы невозможно, например из-за слишком высокого уровня фонового шума, то используют один из ориентировочных методов (степень точности 3): для измерений в производственных помещениях и на открытых площадках по ГОСТ 31277; по ГОСТ 27243; по ГОСТ 30457 или метод для измерений сканированием в производственных помещениях и на открытых площадках по интенсивности звука (далее - метод 4).

Общая характеристика указанных методов дана в ГОСТ 31252. Ниже в примечаниях отражены их основные особенности.

Примечания

1 По методам 1 и 2 измерения проводят в помещении с акустически жесткими стенами при низком уровне фонового шума или в специальной реверберационной камере. Измеряют октавные уровни звукового давления и рассчитывают уровень звуковой мощности.

2 В соответствии с методом по ГОСТ 31275 измерения проводят при низком уровне фонового шума. Измеряют октавные или третьоктавные уровни звукового давления или уровень звука и рассчитывают уровень звуковой мощности.

3 В соответствии с методом по ГОСТ 31277 измеряют уровень звука и рассчитывают корректированный по частотной характеристике А (далее - корректированный по А) уровень звуковой мощности.

4 Согласно техническому и ориентировочному методам сравнения по ГОСТ 27243 измеряют (для технического метода - в условиях близости звукового поля к реверберационному) октавные уровни звукового давления, по известной звуковой мощности образцового источника шума рассчитывают уровни звуковой мощности в октавных полосах частот, а по ним - корректированный по А уровень звуковой мощности.

5 Методы 3 и 4 можно использовать в любом испытательном пространстве, в том числе при наличии реверберации и интенсивных посторонних источников шума. Измеряют интенсивность звука и уровень звукового давления. В зависимости от степени реверберации и уровня шума посторонних источников определяют корректированный по A уровень звуковой мощности или уровни звуковой мощности в октавных или третьоктавных полосах частот. В соответствии с ориентировочным методом определяют только корректированный по А уровень звуковой мощности.

6 Метод по ГОСТ 30457 требует измерения интенсивности звука и одновременно уровня звукового давления в дискретных точках. Точек измерений обычно больше по сравнению с их числом согласно методам, основанным на измерениях звукового давления.

7 Метод 4 требует измерения интенсивности звука и одновременно уровня звукового давления при сканировании микрофона. Измерения проводят на части или на всей измерительной поверхности в зависимости от конфигурации испытуемого объекта. Метод обычно позволяет сократить время измерений.

Метод определения уровня звуковой мощности насоса выбирают по таблице 1, насосного агрегата - по таблице 2.

Таблица 1 - Выбор метода определения уровня звуковой мощности насоса

Условия испытаний

Степень точности

Метод определения уровня звуковой мощности1)

Потребляемая мощность насоса p, кВт

 

0,5 < p £ 15

15 < p £ 75

75 < p £ 300

p > 300

Специальное испытательное помещение2)

2

ГОСТ 31275 метод 2

ГОСТ 30457 или метод 3

ГОСТ 30457 или метод 3

ГОСТ 30457 или метод 3

ГОСТ 30457 или метод 3

ГОСТ 31275 метод 2

ГОСТ 31275

ГОСТ 31275

Испытательный стенд в цехе

2

ГОСТ 30457 или методы 3 и 4

Метод отсутствует

ГОСТ 27243

3

ГОСТ 30457 или методы 3 и 4

ГОСТ 30457 или методы 3 и 4

ГОСТ 31277

ГОСТ 27243

ГОСТ 27243

На месте эксплуатации

2

ГОСТ 30457 или методы 3 и 4

Метод отсутствует

ГОСТ 27243 (в помещении)

3

ГОСТ 30457 или методы 3 и 4

ГОСТ 30457 или методы 3 и 4

ГОСТ 31277

ГОСТ 27243 (в помещении)

ГОСТ 27243 (в помещении)

1) Расшифровку методов, обозначенных номерами, см. в 5.1.

2) Предназначено для измерений шума с точностью технического метода (степень точности 2).

Таблица 2 - Выбор метода определения уровня звуковой мощности насосного агрегата

Условия испытаний

Степень точности

Метод определения уровня звуковой мощности1)

Мощность привода насосного агрегата P, кВт

0,5 < P £ 15

15 < P £ 75

75 < P £ 300

P > 300

Специальное испытательное помещение2)

2

ГОСТ 31275 метод 2

ГОСТ 31275

ГОСТ 30457 или метод 3

ГОСТ 30457 или метод 3

ГОСТ 30457 или метод 3

ГОСТ 31275

Испытательный стенд в цехе

2

ГОСТ 31275 метод 1

ГОСТ 31275

ГОСТ 30457 или методы 3 и 4

ГОСТ 30457 или методы 3 и 4

ГОСТ 30457 или методы 3 и 43)

ГОСТ 30457 или методы 3 и 4

ГОСТ 31275

ГОСТ 27243

ГОСТ 27243

ГОСТ 27243

ГОСТ 27243

3

ГОСТ 31277

ГОСТ 30457 или методы 3 и 4

ГОСТ 30457 или методы 3 и 4

ГОСТ 30457 или методы 3 и 4

ГОСТ 31277

ГОСТ 31277

ГОСТ 27243

ГОСТ 27243

ГОСТ 27243

На месте эксплуатации

2

ГОСТ 30457 или методы 3 и 4

ГОСТ 30457

ГОСТ 31275

ГОСТ 27243 (в помещении)

ГОСТ 27243 (в помещении)

3

ГОСТ 31277

ГОСТ 30457 или методы 3 и 4

ГОСТ 30457 или методы 3 и 4

ГОСТ 31277

ГОСТ 27243 (в помещении)

ГОСТ 27243 (в помещении)

1) Расшифровку методов, обозначенных номерами, см. в 5.1.

2) Предназначено для измерений шума с точностью технического метода (степень точности 2).

3) Может быть применен на испытательном стенде в цехе, если трубопроводы хорошо звукоизолированы.

Звукоотражающая плоскость должна быть твердой поверхностью или поверхностью воды. Стандарты (или методы), обозначения которых выделены в таблицах 1 и 2 полужирным шрифтом, предпочтительны. Если их применение невозможно, то используют один из других указанных стандартов (или методов).

5.2 Требования к огибающему параллелепипеду, измерительной поверхности, положениям микрофонов и акустических зондов

При применении методов по ГОСТ 31275, ГОСТ 31277, ГОСТ 30457 или методов 3 и 4 соблюдают следующие требования.

5.2.1 Огибающий параллелепипед

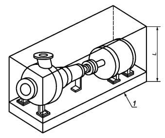
Огибающий параллелепипед должен иметь наименьший объем, охватывать испытуемый объект (насос с фланцами или насосный агрегат), исключая трубопроводы, а также, в случае испытания насоса, приводной двигатель и трансмиссию. Огибающий параллелепипед опирается на звукоотражающую плоскость. Примеры показаны на рисунках 1 и 2.

Примечание - Небольшие части испытуемого объекта, не влияющие на излучение звука, могут выступать за пределы огибающего параллелепипеда.

1 - звукоотражающая плоскость

Рисунок 1 - Пример огибающего параллелепипеда насосного агрегата

1 - звукоотражающая плоскость

Рисунок 2 - Пример огибающего параллелепипеда насоса

5.2.2 Измерительная поверхность и положения микрофона

Измерительная поверхность охватывает огибающий параллелепипед на заданном измерительном расстоянии d от него.

Измерительное расстояние зависит от метода измерений:

- в соответствии с методами по ГОСТ 31275 и ГОСТ 31277 предпочтительно оно должно быть равно 1 м.

Примечание - Если требования к уровню фонового шума по этим методам не выполняются, то можно уменьшить измерительное расстояние, но оно не должно быть менее 0,25 м;

- в соответствии с методами по ГОСТ 30457 или методами 3 и 4 измерительное расстояние должно быть:

d1 ³ 0,5 м по ГОСТ 30457;

0,2 м £ d2 £ 0,5 м по методам 3 и 4.

Измерительные поверхности (и точки измерений на них) показаны на рисунках 3 - 6. Требования к ним приведены в приложении А. В случае применения метода сравнения по ГОСТ 27243 точки измерений выбирают по 10.1 указанного стандарта.

1 - медианная плоскость измерительной поверхности (плоскость, пересекающая измерительную поверхность на половине ее высоты); 2 - огибающий параллелепипед; 3 - верхняя грань измерительной поверхности; 4 - звукоотражающая плоскость

Рисунок 3 - Типовая измерительная поверхность и плоскости, в которых измеряют уровни звукового давления насосного агрегата

Для насоса измерительная поверхность показана на рисунке 4. На грани поверхности, обращенной к приводу, измерения уровней звукового давления не проводят (см. также приложение А).

Положения микрофонов для насосов различных типов и размеров указаны в приложении В. В случае применения метода сравнения по ГОСТ 27243 точки измерений выбирают по 10.1 указанного стандарта.

1 - верхняя грань измерительной поверхности; 2 - огибающий параллелепипед; 3 - медианная плоскость измерительной поверхности; 4 - звукоотражающая плоскость

Рисунок 4 - Типовая измерительная поверхность и плоскости, в которых измеряют уровни звукового давления насоса

Примечание - На рисунках 3 и 4 применены следующие обозначения:

´ - положения микрофонов при измерениях ориентировочным методом;

Ä - дополнительные положения микрофонов при измерениях техническим методом;

L - высота огибающего параллелепипеда, равная высоте верхней точки насосного агрегата или насоса, м;

h - высота медианной плоскости измерительной поверхности (), м;

h1 - высота верхней грани измерительной поверхности (h1 = L + 1), м.

1 - измерительная поверхность при измерениях в дискретных точках по ГОСТ 30457; 2 - измерительная поверхность при измерениях сканированием; 3 - огибающий параллелепипед; 4 - звукоотражающая плоскость d1 ³ 0,5 м; h1 = L + d1; d2 = 0,2 - 0,5 м

Рисунок 5 - Типовые измерительные поверхности при измерениях интенсивности звука насосного агрегата

1 - измерительная поверхность при измерениях в дискретных точках по ГОСТ 30457; 2 - измерительная поверхность при измерениях сканированием; 3 - огибающий параллелепипед; 4 - звукоотражающая плоскость d1 ³ 0,5 м; h1 = L + d1; d2 = 0,2 - 0,5 м

Рисунок 6 - Типовые измерительные поверхности при измерении интенсивности звука насоса

5.2.3 Положение микрофонов и акустических зондов

Расположение микрофонов или акустических зондов для измерения интенсивности звука на измерительной поверхности должно соответствовать установленному стандартом на применяемый метод измерения. Типовые положения микрофонов показаны на рисунках 3 - 6 и в приложении В. Однако при необходимости одно или несколько положений могут быть изменены для выполнения следующих требований:

- расстояние от микрофона до поверхности трубопровода должно быть не менее 0,5 м;

- расстояние от акустического зонда до поверхности трубопровода должно быть не менее 0,2 м.

Если точка измерений окажется на оси трубопровода или вала, то измерения в ней не проводят. Эту точку заменяют двумя точками, расположенными на направлении под углом 45° к оси согласно рисунку 7.

1 - в этой точке измерения не проводят

Рисунок 7 - Положение микрофона в особом случае

6 Определение уровня звука излучения

6.1 Основной метод

Уровень звука излучения определяют по ГОСТ 30720 (метод с рассчитываемым Q2) по известному корректированному по A уровню звуковой мощности. Принимают, что определенный таким образом уровень звука излучения равен среднему уровню звука излучения на поверхности, указанной в 6.2. Если значение Q2 неизвестно, то допускается применять другие подходящие методы по ГОСТ 31171.

6.2 Условное рабочее место

Поскольку насосы (насосные агрегаты) не имеют рабочего места, уровень звука излучения определяют на условном рабочем месте, в качестве которого принимают поверхность в форме параллелепипеда, отстоящую от огибающего параллелепипеда на 1 м.

6.3 Неопределенность измерений

Неопределенность измерений при применении метода по ГОСТ 30720 указана в стандарте на используемый метод определения уровня звуковой мощности, при применении других методов - в соответствующем стандарте на метод измерения уровня звука излучения.

7 Условия установки и монтажа

7.1 Общие положения

Условия установки и монтажа зависят от требуемой степени точности измерений. Требования к уровню фонового шума метода на основе измерения интенсивности звука менее жесткие, чем методов на основе измерения уровней звукового давления, поскольку при измерениях интенсивности звука практически исключено влияние посторонних источников шума, таких как трубопроводы и их арматура.

7.2 Место проведения испытаний

Испытания могут быть проведены:

- на месте эксплуатации;

- на испытательном стенде в цехе;

- в специальном испытательном помещении.

7.2.1 Испытания на месте эксплуатации

Для улучшения акустических условий следует:

- звукоизолировать трубопроводы на время испытаний;

- проводить испытания при работе минимального числа других источников шума;

- экранировать привод и трансмиссию при измерениях шума насоса;

- покрывать звукопоглощающими материалами поверхности, отражающие звук.

7.2.2 Испытания на испытательном стенде в цехе

Шум запорно-регулирующей арматуры в линии нагнетания и в трубопроводах обвязки не должен влиять на результаты испытаний.

Примечание - Предпочтительна арматура с низким уровнем шума.

При испытаниях следует при необходимости:

- звукоизолировать трубопроводы обвязки;

- сократить до минимума число других источников шума;

- экранировать привод и трансмиссию при измерениях шума насоса;

- покрывать звукопоглощающими материалами поверхности, отражающие звук;

- применять средства снижения вибрации.

7.2.3 Испытания в специальном испытательном помещении

При испытаниях в специальном испытательном помещении как минимум:

- используют трубопроводную арматуру с низким уровнем шума;

- исключают эффект стоячей волны в подводящем и отводящем трубопроводах (например, используя заглушенные окончания на выходе перекачиваемой жидкости);

- звукоизолируют подводящие и отводящие трубопроводы;

- снижают вибрацию опорных поверхностей насоса или насосного агрегата;

- исключают механический резонанс;

- звукоизолируют привод и трансмиссию при измерениях шума насоса;

- исключают наличие воздуха в перекачиваемой жидкости, например закольцовывая насос.

8 Рабочий режим при проведении измерений

8.1 Общие положения

Измерения следует проводить при работе с гидравлической жидкостью по 8.2 в рабочей точке на характеристике насоса. Рабочая точка должна соответствовать:

- наибольшему коэффициенту полезного действия насоса при номинальных условиях;

- для насосов массового производства максимальному значению произведения Q×Н (где Q - подача насоса, л/с; Н - напор насоса, м).

Примечание - В контрактных требованиях могут быть указаны другие рабочие точки.

Если мощность испытательного стенда ограничена, то измерения проводят при пониженных нагрузках, рассчитанных на основе законов преобразования (подобия).

8.2 Рабочая жидкость

Рабочая жидкость должна соответствовать используемой при испытаниях по определению гидравлических характеристик насоса.

8.3 Режим работы

При измерении шума насос должен работать с кавитационным запасом, большим, чем допускаемый кавитационный запас, и давлением на входе, большим, чем требуется для обеспечения работы насоса без изменения основных технических показателей.

Примечания

1 Кавитационный шум может значительно увеличивать уровень излучения звука.

2 Указанные условия в англоязычных обозначениях, использованных в ЕН 12639, выражены следующим образом:

(NPSHA) > (NPSHR) и (NPIPA) > (NPIPR),

где NPSHA - кавитационный запас (от английского «Net Positive Suction Head Available»);

NPSHR - допускаемый кавитационный запас (от английского «Net Positive Suction Head Required»);

NPIPA - давление на входе насоса (от английского «Net Positive Inlet Pressure Available»);

NPIPR - требуемое давление на входе насоса (от английского «Net Positive Inlet Pressure Required»).

При измерениях шума объемные насосы должны работать на номинальном режиме, указанном в технических условиях.

9 Регистрируемая информация

9.1 Общие положения

Регистрируемая информация включает в себя всю информацию, требуемую стандартом.

Отклонения от требований настоящего стандарта или стандарта на примененный метод измерения шума указывают вместе с причинами отклонений.

9.2 Протокол испытаний

В протокол испытаний включают как минимум следующую информацию, необходимую изготовителю для заявления значений шумовых характеристик:

a) полное наименование насоса (насосного агрегата);

b) технические характеристики насоса (насосного агрегата);

c) отметку о том, что испытания проведены в соответствии с настоящим стандартом и стандартом на примененный метод измерения шума из числа указанных в настоящем стандарте;

d) утверждение о том, что требования настоящего стандарта и стандарта на примененный метод измерения шума соблюдены полностью. В противном случае указывают допущенные отклонения от требований стандартов и их причины;

e) описание условий испытаний по 7.2 и режима работы. Для измерений на месте эксплуатации к протоколу прилагают фотографию положения испытуемого объекта в испытательном пространстве;

f) полученные значения шумовых характеристик: корректированного по А уровня звуковой мощности, уровня звука излучения и, по возможности, уровни звуковой мощности в полосах частот.

Примечание - Протокол может также содержать информацию о контрактных требованиях к насосу (насосному агрегату).

10 Заявление и контроль значений шумовых характеристик

Заявление и контроль значений шумовых характеристик выполняют по ГОСТ 30691. Изготовитель должен заявить корректированный по А уровень звуковой мощности и уровень звука излучения на условном рабочем месте по 6.2. В заявлении отмечают, что значения шумовых характеристик получены согласно настоящему стандарту, а также указывают стандарт на примененный метод определения шумовых характеристик и все отклонения от требований стандартов.

Шумовую характеристику заявляют в форме двухчислового значения, указывая неопределенность измерений (параметр неопределенности К) по ГОСТ 30691 (приложение А).

В качестве базовых значений К принимают:

- для технического метода (степень точности 2): К = КWA = КpА = 2,5 дБА;

- для ориентировочного метода (степень точности 3): К = КWA = КрА = 4 дБА,

где КWA - параметр неопределенности при определении корректированного по А уровня звуковой мощности;

КpА - параметр неопределенности при определении уровня звука излучения.

Контроль шумовых характеристик (верификацию) проводят при тех же условиях монтажа и режиме работы насоса (насосного агрегата), что и при определении их заявленных значений. Контроль проводят по методу единичной машины по ГОСТ 30691 (6.2).

Примечание - В заявление могут быть включены дополнительно уровни звуковой мощности в октавных полосах частот. В этом случае следует указать, что дополнительная информация является справочной, т.е. не подлежит контролю по ГОСТ 30691.

Приложение А

(обязательное)

Измерительная поверхность для насоса

А.1 Измерение звукового давления на измерительной поверхности

Согласно 5.2.2 на измерительной поверхности, обращенной к приводу насоса, измерения не выполняют.

Примечание - Данное положение объясняется тем, что уровни звукового давления на указанной части измерительной поверхности зависят от шума привода насоса.

При расчете уровня звуковой мощности из площади измерительной поверхности исключают площадь грани, на которой не проводят измерений.

А.2 Измерение интенсивности звука

Измерительное расстояние - по 5.2.2. Однако, принимая во внимание измерения на грани измерительной поверхности между насосом и приводом, соблюдают следующие требования:

- измерительная поверхность должна проходить через середину муфты, как показано на рисунке А.1;

- если условия измерений не позволяют обеспечить измерительное расстояние, указанное в 5.2.2, то выбирают меньшее расстояние.

1 - привод; 2 - насос

Рисунок А.1 - Типовое расположение измерительной поверхности при измерении интенсивности звука

Приложение В

(обязательное)

Положения микрофонов для измерения уровня звукового давления насосного агрегата

Устанавливаемые настоящим приложением точки измерений не в полной мере соответствуют ГОСТ 31275 и ГОСТ 31277.

Примечание - Для насосного агрегата рекомендуется располагать точки измерений на измерительных расстояниях, отсчитываемых от насоса и привода.

В.1 Горизонтальные насосные агрегаты

В.1.1 Горизонтальные насосные агрегаты габаритными размерами менее 1 м

1 - медианная плоскость измерительной поверхности; 2 - огибающий параллелепипед; 3 - привод; 4 - насос; 5 - верхняя грань измерительной поверхности

´ - положения микрофонов для ориентировочного метода; ´ и Ä - положения микрофонов для технического метода

Рисунок В.1 - Положения микрофонов

В.1.2 Горизонтальные насосные агрегаты габаритными размерами от 1 до 4 м

1 - медианная плоскость измерительной поверхности; 2 - огибающий параллелепипед; 3 - привод; 4 - насос; 5 - верхняя грань измерительной поверхности

´ - положения микрофонов для ориентировочного метода; ´ и Ä - положения микрофонов для технического метода

Рисунок В.2 - Положения микрофонов

В.1.3 Горизонтальные насосные агрегаты габаритными размерами более 4 м

1 - медианная плоскость измерительной поверхности; 2 - огибающий параллелепипед; 3 - привод; 4 - насос; 5 - верхняя грань измерительной поверхности

´ - положения микрофонов для ориентировочного метода; ´ и Ä - положения микрофонов для технического метода

Рисунок В.3 - Положения микрофонов

В.1.4 Горизонтальные насосные агрегаты с редуктором

Если между приводом и насосом имеется редуктор, то вводят дополнительные точки измерений.

1 - медианная плоскость измерительной поверхности; 2 - огибающий параллелепипед; 3 - привод; 4 - редуктор; 5 - насос; 6 - верхняя грань измерительной поверхности

´ - положения микрофонов для ориентировочного метода; ´ и Ä - положения микрофонов для технического метода; * - дополнительные точки измерений

Рисунок В.4 - Положения микрофонов

В.2 Вертикальные насосные агрегаты высотой от 1 до 5 м

В.2.1 Соосные насос и привод

1 - микрофон на вертикальной оси; 2 - привод; 3 - микрофоны на плоскости сочленения привода и насоса; 4 - насос; 5 - звукоотражающая плоскость; 6 - огибающий параллелепипед

´ - положения микрофонов для ориентировочного метода; ´ и Ä - положения микрофонов для технического метода

Рисунок В.5 - Положения микрофонов

В.2.2 Несоосные насос и привод

1 - микрофон на оси привода; 2 - привод; 3 - микрофоны на плоскости сочленения привода и насоса; 4 - насос; 5 - звукоотражающая плоскость; 6 - огибающий параллелепипед

´ - положения микрофонов для ориентировочного метода; ´ и Ä - положения микрофонов для технического метода

Рисунок В.6 - Положения микрофонов

Приложение С

(справочное)

Сведения о соответствии ссылочных международных (региональных) стандартов межгосударственным стандартам, использованным в настоящем стандарте в качестве нормативных ссылок

Таблица С.1

Обозначение ссылочного межгосударственного стандарта

Обозначение и наименование ссылочного международного (регионального) стандарта и условное обозначение степени его соответствия ссылочному межгосударственному стандарту

ГОСТ 17398-72

ЕН 12273:1993 «Насосы гидравлические. Термины и определения, обозначения, величины и единицы» (NEQ)

ГОСТ 23941-2002

-

ГОСТ 27243-2005 (ИСО 3747:2000)

ИСО 3747:2000 «Акустика. Определение уровней звуковой мощности источников шума по звуковому давлению. Метод сравнения на месте установки» (MOD)

ГОСТ 30457-97 (ИСО 9614-1-93)

ЕН ИСО 9614-1:1995 «Акустика. Определение уровней звуковой мощности источников шума по интенсивности звука. Часть 1. Измерение в дискретных точках» (ИСО 9614-1:1993) (MOD)

ГОСТ 30691-2001 (ИСО 4871-96)

ЕН ИСО 4871:1996 «Акустика. Заявление и подтверждение значений шумовых характеристик машин и оборудования» (ИСО 4871:1996) (MOD)

ГОСТ 30720-2001 (ИСО 11203-95)

ЕН ИСО 11203:1995 «Акустика. Шум машин и оборудования. Определение уровней звукового давления излучения на рабочем месте и в других контрольных точках по уровню звуковой мощности» (ИСО 11203:1995) (MOD)

ГОСТ 31171-2003 (ИСО 11200:1995)

ИСО 11200:1995 «Акустика. Шум машин и оборудования. Руководство по применению основополагающих стандартов по определению уровней звукового давления излучения на рабочем месте и в других контрольных точках» (MOD)

ГОСТ 31252-2004 (ИСО 3740:2000)

ИСО 3740:2000 «Акустика. Определение уровней звуковой мощности источников шума. Руководство по применению основополагающих стандартов» (MOD)

ГОСТ 31275-2002 (ИСО 3744-94)

ИСО 3744:1994 «Акустика. Определение уровней звуковой мощности источников шума по звуковому давлению. Технический метод в существенно свободном звуковом поле над звукоотражающей плоскостью» (MOD)

ГОСТ 31276-2002 (ИСО 3743-1-94, ИСО 3743-2-94)

ИСО 3743-1:1994 «Акустика. Определение уровней звуковой мощности источников шума по звуковому давлению. Технические методы для малых переносных источников шума в реверберационных полях. Часть 1. Метод сравнения для испытательных помещений с жесткими стенами» (MOD)

ИСО 3743-2:1994 «Акустика. Определение уровней звуковой мощности источников шума по звуковому давлению. Технические методы для малых переносных источников шума в реверберационных полях. Часть 2. Методы для специальных реверберационных камер» (MOD)

ГОСТ 31277-2002 (ИСО 3746-95)

ИСО 3746:1995 «Акустика. Определение уровней звуковой мощности источников шума по звуковому давлению. Ориентировочный метод с применением охватывающей поверхности над звукоотражающей плоскостью» (MOD)

Примечание - В настоящей таблице использованы следующие условные обозначения степени соответствия стандартов:

- MOD - модифицированные стандарты;

- NEQ - неэквивалентные стандарты.

 

Ключевые слова: насосы и насосные агрегаты; методы измерения шума; испытания в цехе, в специальном помещении, на месте эксплуатации; условия испытаний; измерительная поверхность; точки измерений; заявление и контроль значений шумовых характеристик

 

 



© 2013 Ёшкин Кот :-)