Информационная система
«Ёшкин Кот»

XXXecatmenu

Согласованы
с Госгортехнадзором России письмом
от 08.09.2003 № 12-07/801

Утверждены
ЗАО «Уральский экспертный центр»
от 15.05.03 г.

МЕТОДИЧЕСКИЕ УКАЗАНИЯ
ПО ОБСЛЕДОВАНИЮ СПЕЦИАЛЬНЫХ
МЕТАЛЛУРГИЧЕСКИХ КРАНОВ

РД 10-112-6-03

1. ОБЛАСТЬ ПРИМЕНЕНИЯ

Настоящие Методические указания разработаны в соответствии с Федеральным законом «О промышленной безопасности опасных производственных объектов» от 21.07.97 № 116-Ф3, Правилами проведения экспертизы промышленной безопасности (ПБ 03-246-98), Положением по проведению экспертизы промышленной безопасности подъемных сооружений (РД 10-397-00), Правилами устройства и безопасной эксплуатации грузоподъемных кранов (ПБ 10-382-00), Методическими указаниями по обследованию грузоподъемных машин с истекшим сроком службы. Часть 1. Общие положения (РД 10-112-96), Часть 5. Краны мостовые и козловые (РД 10-112-5-97), Комплексным обследованием крановых путей грузоподъемных машин. Часть 1. Общие положения. Методические указания (РД 10-138-97) и др.

Методические указания устанавливают требования к периодичности, организации и методам обследования специальных грузоподъемных кранов металлургического производства (литейных, ковочных, мульдомагнитных, магнитно-грейферных, колодцевых, стрипперных, завалочных, с лопатой, с поворотной тележкой, с поворотным крюком, посадочных, с подхватом, с управляемыми клешами, с поворотной траверсой) с истекшим сроком службы для определения возможности их дальнейшей эксплуатации с учетом особенностей их конструкций и условий эксплуатации.

Методические указания (далее - МУ) ориентированы на обследование специальных механизмов, узлов и элементов конструкций металлургических кранов. Металлоконструкции, узлы, механизмы, соответствующие кранам мостового типа общего назначения, обследуются согласно РД 10-112-5-97.

Для удобства пользования МУ часть справочного и текстового материала из РД 10-112-96 и РД 10-112-5-97 и других документов перенесены в данные МУ с соответствующими ссылками на первоисточники.

В работе даются специальные рекомендации по грузовым испытаниям и расчетам остаточного ресурса данной группы кранов. В приложении 7 приведены браковочные показатели для специальных механизмов кранов.

МУ рассчитаны для специалистов - обследователей подъемных сооружений (ПС), инспекторов госгортехнадзора, владельцев, лиц, связанных с эксплуатацией, ремонтом и изготовлением специальных металлургических кранов.

В РД использованы научные предложения и разработки ведущих специалистов в области отечественного краностроения: проф., д.т.н. Гохберга; проф., д.т.н. А.А. Зарецкого; проф., д.т.н. А.А. Короткого; к.т.н. B.C. Котельникова; к.т.н. А.С. Липатова и др.

2. ТЕРМИНЫ И ОПРЕДЕЛЕНИЯ

В тексте МУ используются термины и определения, вошедшие в «Словарь общих терминов и определений по подъемным сооружениям» 2003 г. и некоторые дополнительные, такие, как:

Металлургические краны

Краны, оснащенные специальными грузозахватными органами, используемые в металлургическом производстве (по тексту «краны»).

Обследования кранов (экспертные обследования)

Комплекс работ по техническому диагностированию грузоподъемных машин, отработавших нормативный срок службы, с целью выдачи заключения о возможности и условиях их дальнейшей эксплуатации на определенный период.

Обследования генеральные (генеральные обследования)

Обследования, проводимые после исчерпания нормативного срока службы крана и ряда промежуточных обследований с углубленным анализом и расчетом остаточного ресурса базовых конструкций, с целью определения возможности и регламента дальнейшей его эксплуатации.

Обследования промежуточные (промежуточные экспертные обследования)

Обследования специальных кранов, проводимые как до исчерпания нормативного срока службы, так и между генеральными экспертными обследованиями, имеющие целью диагностику технического состояния крана и проверку соответствия его параметров заданным изготовителем ограничениям и установление сроков эксплуатации до очередного промежуточного обследования.

Нормативный срок службы крана

Время, в течение которого кран выполняет объем работы, соответствующий группе классификации по ИСО 4301/1. Календарная продолжительность начала эксплуатации до выполнения нормативной наработки, соответствующей группе классификации по ИСО 4301/1, приведенной в паспорте.

Характеристическое число

Интегральный показатель, характеризующий меру выработки нормативного срока службы и определяемый как произведение количества рабочих циклов крана на величину коэффициента нагружения.

Характеристическое число нормативное критическое

Произведение числа циклов для данного класса использования на коэффициент нагружения для данного класса нагружения в соответствии с группами классификации (режима) крана по ИСО 4301/1 для группы классификации (режима), приведенной в паспорте крана.

Характеристическое число текущее

Произведение фактических значений числа выполненных краном циклов на коэффициент нагружения, подсчитанных на основании справки о характере работы крана.

Ресурс остаточный металлоконструкции крана

Наработка крана от момента проведения экспертного обследования до момента достижения конструкцией предельного состояния.

Испытания специальных кранов

Экспериментальное определение количественных и качественных характеристик свойств крана как результата воздействия на него статических (динамических) нагрузок, превышающих номинальные (паспортные) значения.

3. ОБЩИЕ ТРЕБОВАНИЯ

3.1. Виды и периодичность обследования

3.1.1. Учитывая экстремальные условия эксплуатации кранов металлургического производства (тяжелый и весьма тяжелый режим работы, агрессивность окружающей среды и т.п.), экспертные обследования их необходимо проводить как в пределах нормативного срока службы крана, так и после истечения.

3.1.2. Для специальных металлургических кранов предусмотрены два вида экспертных обследований (далее - обследования): промежуточные (ПЭО) и генеральные (ГЭО).

Отличаются они друг от друга целевыми установками, сроками и объемами проведения экспертных работ, требованиями к отчетной документации.

3.1.3. Цель промежуточных обследований - установить состояние работоспособности крана на срок до очередного промежуточного обследования.

3.1.4. Цель генерального обследования - оценить техническое состояние крана с углубленным анализом состояния металла базовых конструкций, произвести расчет остаточного ресурса и дать оценку возможности дальнейшей эксплуатации крана, или необходимости его капитально-восстановительного ремонта, или его утилизации.

Срок возможной эксплуатации крана, установленный по результатам генерального обследования, означает, что кран эксплуатируется с соблюдением периодичности промежуточных обследований.

3.1.5. Промежуточные обследования традиционно принято подразделять [4.3] на первичные, повторные и внеочередные. Проводятся они в зависимости от технического состояния крана, либо по заявке владельца, либо по регламенту завода-изготовителя, либо в соответствии с нормативной документацией в период нормативного срока службы и после его истечения в интервалах между генеральными обследованиями.

3.1.6. Генеральные обследования проводятся:

после 3-5 промежуточных обследований в зависимости от состояния крана и независимо от того, когда были проведены промежуточные обследования - до или после истечения нормативного срока службы крана;

при выработке краном нормативного срока эксплуатации;

по решению комиссии, проводившей последнее промежуточное обследование;

по просьбе владельца, в том числе и до выработки нормативного срока службы;

по указанию органов Госгортехнадзора России;

после аварий.

Число обследований крана определяется его техническим состоянием.

3.1.7. При отработке специальным краном своего нормативного срока службы сроки проведения первичных обследований в зависимости от группы классификации (режима) крана по ИСО 4301/1 (ГОСТ 25546-82) назначаются в соответствии с рекомендациями табл. 1.

Сроки проведения повторных обследований назначаются в соответствии с фактическим режимом эксплуатации крана, но не более сроков, указанных в табл. 1. В случае эксплуатации крана в агрессивных средах срок до проведения повторного обследования сокращается на 1 год.

Таблица 1

Группа классификации (режима) крана по ИСО 4301/ ГОСТ 25546

Группа режима работы по Правилам Госгортехнадзора России 1969 г. (и более ранним)

Срок до проведения первичного обследования, лет

Срок до проведения повторного обследования, лет

А8 / 8К

ВТ

10 (8)

2 (1)

А6, А7 / 6К, 7К

т

10

2

А4, А5 / 4К, 5К

с

12

3

А2, А3 / 2К, 3К

л

15

3 (4)

А1 / 1К

Р (редко используемые)

20

5

Значения сроков, указанных в скобках, принимаются по решению экспертной комиссии в зависимости от технического состояния крана.

3.1.8. Внеочередное обследование крана проводится по востребованию в следующих случаях:

если в процессе эксплуатации наблюдается повторное появление трещин в несущих металлоконструкциях;

при появлении отрицательного прогиба пролетных балок мостов свыше 0,0022 величины пролета;

если при грузовых испытаниях установлено возникновение остаточной деформации;

при наличии деформаций металлоконструкции, возникших в результате столкновений, пожара и т.п.;

после перемонтажа или реконструкции.

3.1.9. При отсутствии в паспорте крана нормативного срока службы можно произвести его расчет.

Выработка нормативного срока службы может оцениваться по текущему значению характеристического числа Нф, определяемого как произведение величины расчетного коэффициента нагружения Кр и числа циклов работы крана за срок эксплуатации Ст:

Нф = Кр Ст.

Критические (предельные) значения характеристических чисел для групп классификации (режимов) работы кранов приведены в табл. 2.

Таблица 2

Группа классификации (режима) по ИСО 4301 / ГОСТ 25546

Критические значения характеристических чисел Нк

А1 / 1К

8000

А2 / 2К

16000

А3 / 3К

32000

А4 / 4К

63000

А5 / 5К

125000

А6 / 6К

250000

А7 / 7К

500000

А8 / 8К

1000000

В зависимости от относительной величины масс поднимаемого груза коэффициент нагружения Кр и число допустимых рабочих циклов Ст приведены в табл. 3.

Таблица 3

Группа режима

Число допустимых рабочих циклов Ст в зависимости от коэффициента нагружения К

Характеристическое число Нк

Кр = 0,125

Кр = 0,25

Кр = 0,5

Кр = 1,0

А1 /8000

64000

32000

16000

8000

А2 / 16000

128000

64000

32000

16000

А3 / 32000

256000

128000

64000

32000

А4 / 63000

504000

256000

128000

64000

А5 / 125000

1000000

504000

256000

128000

А6 / 250000

2000000

1000000

504000

256000

А7 / 500000

4000000

2000000

1000000

504000

А8 / 1000000

8000000

4000000

2000000

1000000

Значения Ст для промежуточных значений Кр определяются по линейной интерполяции.

Нормативный срок службы считается выработанным, если при фактическом значении расчетного коэффициента нагружения Кр фактическое значение рабочих циклов крана за срок эксплуатации становится свыше допустимого значения Ст.

3.1.10. Металлургические краны предназначены для работы в технологических процессах, где температура окружающей среды достигает 60 °С, а непосредственно вблизи печи, прокатного стана, слитков и т.п. достигает 100 °С и выше. Кроме того, эти краны работают в агрессивных средах, в условиях повышенной загазованности и запыленности, в пожаро- и взрывоопасных зонах. Поэтому агрессивность среды необходимо учитывать при проведении обследований и расчетов, выполненных в ходе экспертизы.

Характеристики агрессивных сред по классификатору СНиП 2.03.11-85 приведены в приложении 1 [4.4].

3.1.11. Оценку остаточного ресурса при проведении ГЭО рекомендуется проводить по специально разработанной и утвержденной Госгортехнадзором России методике согласно требованиям РД 09-102-95.

3.1.12. Обследование крановых путей при технической диагностике специальных металлургических кранов выполняется в соответствии с РД 10-138-97 на длине трех баз крана в зоне статических испытаний и замера геометрии металлоконструкции.

Данные планово-высотной съемки крановых путей, выполненные в ходе их комплексного обследования, могут быть использованы при обследовании самого крана, если срок действия этих данных не истек к моменту обследования крана.

3.2. Организация обследования

3.2.1. Обследование металлургических кранов должны выполнять организации, имеющие лицензию Госгортехнадзора России на проведение экспертизы промышленной безопасности подъемных сооружений.

3.2.2. При организации и проведении обследования следует руководствоваться Правилами проведения экспертизы промышленной безопасности (ПБ 03-246-98), Положением по проведению экспертизы промышленной безопасности подъемных сооружений (РД 10-397-01), РД 10-112-96, РД 10-112-5-97, настоящими МУ и другими нормативными документами и регламентами.

3.2.3. Для проведения промежуточных обследований в организации должны быть аттестованные специалисты I и II уровня квалификации (не менее 3 человек). Для проведения генеральных обследований и оценки остаточного ресурса в организации должны быть специалисты III уровня, эксперты, согласно Рекомендациям по подготовке и аттестации специалистов и экспертов, осуществляющих экспертизу промышленной безопасности подъемных сооружений.

3.2.4. Организация, осуществляющая обследование металлургических кранов, должна иметь инструкцию по технике безопасности проведения специальных работ на объектах повышенной опасности, в соответствии с которой проводится инструктаж обследователей и экспертов, выполняющих техническую диагностику кранов [4.15].

3.2.5. Организация, проводящая обследование, издает приказ о назначении экспертной комиссии для обследования конкретного объекта в составе 3 и более человек. Форма приказа приведена в приложении 13.

3.2.6. Организация - владелец крана и организация, проводящая обследование, издают приказы о начале работ по технической диагностике крана, его подготовке, составе специалистов-экспертов и лиц, ответственных за безопасное проведение работ. Формы приказов приведены в приложениях 12 (приложение 7Э) и 13.

3.2.7. Владелец крана должен подготовить кран к обследованию:

очистить кран от грязи и масла;

подготовить и промаркировать испытательные грузы и разместить их в зоне испытания;

проверить надежность стропов и тары, используемых при испытании;

выделить машиниста (оператора), обслуживающий персонал на период обследования;

предоставить оборудование и средства безопасности для работы на высоте;

принять меры безопасности в зоне проведения обследования.

3.2.8. Владелец крана представляет комиссии следующую документацию: паспорт крана и крановых путей; сертификаты на грузозахватные органы, канаты, металлы, приборы и устройства; ремонтную документацию; журналы технического обслуживания крана, учета и аттестации персонала, обслуживающего кран; акты проверки изоляции и заземления, приемки-сдачи и нивелировки крановых путей; предписания инспектора госгортехнадзора; предыдущие заключения экспертизы по обследованию крана и крановых путей.

Владелец крана составляет справку о характере работы крана по форме, представленной в приложении 14, и передает ее комиссии.

3.3. Основные виды работ при обследовании специальных кранов

Обследование металлургических кранов должно включать следующие виды работ:

3.3.1. Проверку работ, выполненных владельцем крана к началу обследования крана, согласно пп. 3.2.6, 3.2.7, 3.2.8.

3.3.2. Ознакомление с представленной документацией. Проверка справки о характере работы крана на соответствие фактическому положению.

3.3.3. Расчет фактической группы классификации (режима) крана и механизмов.

3.3.4. Обследование технического состояния металлоконструкции крана. В объем обследования включаются все мосты (1 или 2), рамы и металлоконструкции тележек (1, 2, 3).

3.3.5. Проверку химического состава и механических свойств металла несущих металлических конструкций (при необходимости).

3.3.6. Обследование технического состояния механизмов, включая специальные механизмы и оборудование, средства строповки и грузозахватные устройства, используемые при эксплуатации и испытании крана.

3.3.7. Проверку гидрооборудования, систем смазки узлов и механизмов.

3.3.8. Проверку состояния электрооборудования и приборов и устройств безопасности.

3.3.9. Проверку состояния крановых путей (в зоне обследования и испытания крана).

3.3.10. Проведение статических и динамических грузовых испытаний крана. Данные заносятся в протокол испытаний крана по форме приложения 12 (приложение 5Э).

3.3.11. Составление ведомости дефектов и согласования мероприятий по их устранению по форме приложения 12 (приложение 3Э).

3.3.12. Оценку или расчет (при ГЭО) остаточного ресурса. Форма таблицы по оценке в баллах остаточного ресурса приведена в приложении 12.

3.3.13. Оформление результатов обследования. Ведомости дефектов и акта обследования по форме приложения 12 (приложения 2Э и 3Э).

3.3.14. Составление заключения экспертизы промышленной безопасности в части технического диагностирования крана по форме приложения 12.

3.3.15. Разработку регламента технических освидетельствований, периодических обследований и сроков технических обследований кранов.

Примечание: а) если у владельца крана отсутствуют эксплуатационные документы, то работы по их составлению могут быть выполнены организацией, проводящей обследование (по дополнительному соглашению);

б) экспертная комиссия вправе перепроверить данные, представленные владельцем крана или выполненные другой сторонней организацией;

в) объем работ при внеочередном обследовании определяется комиссией по факту необходимости;

г) пункты 33.5, 3.3.12, 3.3.15 обязательны при генеральном обследовании и при необходимости (на усмотрение комиссии) - при промежуточных обследованиях.

3.4. Ознакомление с документацией

Знакомство с документацией заключается в том, чтобы в ходе обследования крана установить возможные отклонения его параметров от первоначальных значений, установленных заводом-изготовителем, чтобы указать владельцам о необходимости приведения документов в соответствие с современными требованиями госгортехнадзора и НТД, своевременно устранить замеченные недостатки, тем самым обеспечив дальнейшую безопасную эксплуатацию крана.

3.4.1. В процессе выполнения работ комиссия, проводящая обследование, должна ознакомиться с имеющейся документацией, чертежами и расчетами, выполненными при ремонтах или реконструкциях крана (если ремонты или реконструкции проводились), сертификатами на использованные марки сталей, а также со справкой о характере работ, выполняемых краном, документами последнего полного технического освидетельствования и технической диагностики крана, предписаниями органов госгортехнадзора.

Одновременно комиссия должна ознакомиться с эксплуатационной документацией (паспортом, техническими журналами, аттестационными документами обслуживающего персонала и др.), результатами комплексного обследования крановых путей в зоне установки крана и предыдущими заключениями экспертизы по данному крану.

3.4.2. В процессе изучения документации при необходимости составляется рабочая карта обследования крана, которая является внутренним документом экспертной организации, и делаются соответствующие выписки, используемые в ходе обследования.

3.4.3. При ознакомлении с документацией делается выписка из паспорта крана, которая должна содержать общие технические параметры и сведения о специальных узлах и механизмах данного крана (грузозахватного органа, траверсы, поворотной тележки, привода и др.), сведения о ремонтах и замене оборудования, металлах, крановых путях.

3.4.4. При просмотре технических отчетов предыдущих обследований проверяется исполнение владельцем замечаний, сделанных в них.

3.4.5. Результаты проверки документации вносятся в экспертное заключение.

3.4.6. На основании справки о характере работы крана проводится расчет фактического режима работы крана и сравнивается с паспортными данными.

3.5. Проверка состояния металлических конструкций

Мосты и рамы кранов металлургического производства, как правило, изготовляются из стального листового или профильного проката в виде коробчатых или ферменных сварных, клепаных или болтовых конструкций.

3.5.1. Перед обследованием металлические конструкции, особенно в местах их возможного повреждения, должны быть очищены от грязи, снега, избытка влаги и смазки.

3.5.2. Наличие условий для проведения безопасного осмотра металлоконструкций обеспечивает владелец крана.

3.5.3. Обследование металлических конструкций в общем случае должно включать следующие этапы:

внешний осмотр несущих элементов металлических конструкций (пролетные конструкции главных и вспомогательных мостов, концевые балки, рамы тележек);

проверку элементов металлических конструкций одним (или несколькими) из видов неразрушающего контроля (при необходимости);

проверку качества соединений элементов металлических конструкций (сварных, клепаных, болтовых, шарнирных и др.);

измерение остаточных деформаций балок, ферм и отдельных поврежденных элементов;

оценку степени коррозии элементов металлических конструкций;

принятие решения о необходимости выполнения проверочных расчетов на статическую прочность, жесткость и сопротивление усталости (по решению комиссии).

3.5.4. Визуально-измерительный контроль проводится аттестованными специалистами-обследователями. Внешний осмотр следует проводить с применением визуально-измерительных методов, простейших оптических средств и переносных источников света, при этом особое внимание должно быть уделено:

участкам резкого изменения сечений;

местам, подвергшимся повреждениям или ударам во время монтажа и перевозки (нижние пояса пролетных конструкций и рам тележек);

местам, где при работе возникают значительные напряжения, коррозия или износ;

местам, характерным для конструкций кранов данного типа, где наиболее вероятно могут возникнуть трещины;

местам возможного скопления влаги.

3.5.5. При проведении внешнего осмотра необходимо обращать особое внимание на наличие следующих дефектов:

трещин в основном металле, сварных швах и околошовной зоне, косвенными признаками наличия которых являются шелушение и растрескивание краски, местная коррозия, потеки ржавчины и т.п.;

механических повреждений;

расслоения основного металла (например, на торцевых поверхностях свесов поясов коробчатых металлоконструкций);

некачественного исполнения ремонтных сварных соединений;

люфтов в шарнирах, ослабления болтовых и заклепочных соединений;

очагов коррозии и др.

3.5.6. При обнаружении признака наличия трещин (а также для определения фактических границ распространения выявленной трещины) в металлической конструкции или сварном шве рекомендуется проводить проверку металлоконструкции одним из видов неразрушающего контроля.

Выбор метода и технических средств для проведения неразрушающего контроля определяет комиссия, проводящая обследование.

3.5.7. Рекомендуется подвергать неразрушающему контролю элементы металлоконструкции специальных кранов, представленные в табл. 4 [4.4]:

Таблица 4 [4.4]

Элементы металлоконструкций, подвергаемые неразрушающему контролю при проведении обследований кранов

Наименование элемента

Цель выполнения неразрушающего контроля

Рекомендуемый способ дефектоскопии

Минимальный объем контроля

1

2

3

4

Нижние пояса главных и вспомогательных балок коробчатого сечения кранов, установленных на открытом воздухе

Определение площади и степени коррозии; трещинообразования

Ультразвуковая толщинометрия

Согласно приложению 2

Участки сплошной коррозии главных балок коробчатого сечения площадью более 0,5 м2

Определение степени коррозии

Ультразвуковая толщинометрия

Не менее чем в 5 точках, находящихся в зоне обнаруженной коррозии (см. приложение 2)

Листовые балочные конструкции (пояса, стенки). При выявлении расслоения на гранях(например, на торцах срезов)

Определение зоны расслоенного металла

Ультразвуковая толщинометрия

Не менее чем в 3 точках, отстоящих » от зоны расслоения на 100 мм. При обнаружении продолжения зоны расслоения объем контроля увеличивают (см. приложение 2)

Надбуксовые части концевых балок мостовых кранов

Выявление трещин в основном металле и сварных швах

Вихретоковая, ультразвуковая или цветная дефектоскопия

Согласно приложению 3

Места соединения главных и концевых балок мостовых кранов

Выявление трещин в основном металле и сварных швах

Вихретоковая, ультразвуковая или цветная дефектоскопия

Согласно приложению 3

Места соединения опор с пролетным строением козловых кранов и кранов перегружателей, а также зоны соединения и опор с ходовыми тележками

Выявление трещин в основном металле и сварных швах

Вихретоковая, ультразвуковая или цветная дефектоскопия

Согласно приложению 3

3.5.8. При обнаружении механических повреждений металлических конструкций (вмятин, изгибов, разрывов и т.п.) замеряются их размеры (длина, ширина, высота или глубина). Затем размеры повреждения сравнивают с предельными размерами подобного дефекта, приведенного в приложениях данных МУ, фиксируют в ведомости дефектов. В случае превышения нормативных размеров повреждения даются рекомендации по их устранению.

3.5.9. Степень коррозионного износа определяется с помощью измерительных инструментов или средствами неразрушающего контроля. Величину допустимой степени коррозии, а также оценку степени ее влияния учитывают в соответствии с приложением 4 [4.4].

3.5.10. При визуально-измерительном контроле (ВИК) болтовых и заклепочных соединений определяют:

наличие взаимных смещений элементов;

ослабление плотности посадки отдельных заклепок;

образование трещин в заклепочных отверстиях и трещин, идущих от отверстий.

Обнаружение подвижности элементов производится по следам сдвигов, видимых у кромок элементов, или при работе механизмов крана. Контроль состояния болтовых и заклепочных соединений следует осуществлять визуально и отстукиванием молотком.

Дополнительный осмотр трещин в перемычках, связанный со снятием накладок, производится при обнаружении хотя бы одной трещины, выходящей из-под накладки.

При осмотре соединений на болтах повышенной точности определяют:

взаимное смешение элементов пакета;

образование трещин в перемычках болтовых отверстий;

отсутствие стопорных деталей;

ослабление посадки отдельных болтов;

ослабление затяжки отдельных болтов;

наличие значительной коррозии резьбы болтов и гаек;

обрывы отдельных болтов.

Во всех болтовых и заклепочных соединениях при визуальном контроле следует установить соответствие их фактического количества проектному количеству болтов в соединении. При обнаружении дефекта в одном из болтовых или заклепочных соединениях в ведомость дефектов должна быть включена рекомендация по ревизии 25 - 50 % болтов (заклепок) данного соединения при очередном ППР.

Дефекты заклепочных и болтовых соединений, требующие прекращения работы крана до восстановления, приведены в табл. 5.

Таблица 5

Дефекты заклепочных и болтовых соединений, требующие устранения до пуска крана в эксплуатацию

Наименование дефекта

Место расположения соединения на кране

1. Видимое смещение элементов пакета или наличие следов смещения

Монтажные стыки концевых балок мостов. Узлы сопряжения пролетных и концевых балок мостов

2. Трещины любых размеров в перемычках между отверстиями и (или) идущие от отверстий

Пояса и монтажные стыки клепаных балок. Узлы присоединения стержней к косынкам клепаных ферм

3. Срез (смятие) хотя бы одного болта или заклепки

Во всех срезных соединениях

По решению комиссии проверку целостности болта выполняют согласно РД 10-197-98. При коррозии болтовых (заклепочных) соединений (более 10 % площади сечения болта или заклепки) или обнаружив при обследовании лопнувший болт (заклепку), не менее 25 % количества оставшихся болтов (заклепок) в данном соединении подвергают ультразвуковой дефектоскопии.

При осмотре работающих на трение соединений на высокопрочных болтах определяются наличие взаимного смещения элементов пакета и герметичность стыка, а для соединений, работающих на растяжение, - наличие обрывов и вытяжки отдельных болтов, а также образование трещин в сварных швах присоединения фланцев к продольным элементам. Для соединений всех расчетных элементов конструкций, получивших указанные повреждения, обязательно немедленное выполнение ремонта.

Проверка качества соединения на высокопрочных болтах включает оценку комплектности шайб и гаек, а также отсутствие зазоров между элементами соединений.

Контроль шарнирных соединительных элементов металлической конструкции (осей, пальцев и т.д.) следует начинать с проверки комплектности (и исправности) фиксирующих и стопорных элементов (болтов, гаек с контргайками, ригельных планок и т.д.). В случае обнаружения повреждения последних соединение рекомендуется разобрать, замерить величину износа и указать ее в ведомости дефектов. В ведомости дефектов также должна быть указана и причина (по мнению комиссии), которая привела к повреждению (например, воздействие на палец осевого усилия или крутящего момента).

3.5.11. Измерение планово-высотного положения и скручивания пролетных балок и ферм кранов, имеющих главные и вспомогательные мосты, выполняется согласно приложениям 5, 8 [4.4].

3.5.12. При оценке возможности продолжения эксплуатации металлической конструкции специальных кранов следует учитывать:

1. Наличие местных механических повреждений элементов конструкции, остаточных деформаций, разрывов, трещин, механического износа и других дефектов, превосходящих по величине допустимые значения, приведенные в приложении 3.

2. Остаточные деформации несущих металлических конструкций (остаточный прогиб пролетных балок, скручивание балок и пространственных ферм, искажение формы моста в плане и т.п.), превосходящие по величине допуски, приведенные в приложениях 8, 10 [4.4].

3. Коррозионные повреждения металла, превосходящие по величине цифры, приведенные в приложении 4 [4.4].

4. Выявленные технологические дефекты металла (расслоение, плены, закаты).

5. Дефекты, явившиеся следствием нарушений технологического процесса при изготовлении и ремонте металлоконструкции (подрезы и чрезмерная пористость сварных швов, наличие кратеров на основном металле, отклонения в размерах швов).

6. Неисправность шарнирных соединений.

7. Наличие усталостных повреждений.

3.5.13. По степени тяжести последствий (риска), которые могут наступить вследствие наличия дефектов и повреждений, а также по степени вероятности возникновения таких последствий (и/или по степени возможности/невозможности их устранения) в общем случае различают дефекты и повреждения, при наличии которых:

а) продолжение эксплуатации возможно до очередного обследования без каких-либо дополнительных условий;

б) продолжение эксплуатации возможно на меньший срок, обычно назначаемый по решению комиссии;

в) продолжение эксплуатации возможно до очередного обследования с изменением характеристики (характеристик) крана (группы классификации (режима), грузоподъемности, скоростей рабочих движений и т.п.);

г) продолжение эксплуатации связано с необходимостью проведения ремонта и находится в зависимости от его результатов;

д) продолжение эксплуатации элемента металлоконструкции или всей металлоконструкции невозможно.

3.5.14. Возможность продолжения эксплуатации крана с измененными характеристиками во всех случаях должна быть обоснована соответствующими расчетами, после чего о принятом решении должны быть поставлены в известность владелец крана и органы госгортехнадзора.

3.5.15. Возможность и условия продолжения эксплуатации элементов металлоконструкции с дефектами и повреждениями, не учтенными в требованиях данных МУ и документами [4.4, 4.5], определяет комиссия, проводящая обследование крана. В отдельных случаях (или по указанию органов госгортехнадзора) принимаемое решение согласовывается с головной организацией по краностроению или изготовителем крана.

3.5.16. При выполнении обследования металлических конструкций и анализе его результатов следует с наиболее возможной степенью достоверности (в том числе с использованием при необходимости расчетов и выполнения оценки степени изменения свойств металла) выявить причину возникновения дефекта. При вынесении решения в соответствии с пп. 3.5.13 б - д причина принятого решения обязательно должна быть отражена в ведомости дефектов или других документах заключения экспертизы.

3.5.17. Возможность и условия продолжения эксплуатации дефектных элементов металлических конструкций на срок до выполнения ремонта (при условии необходимых ограничений и регламентированного контроля за состоянием элемента) определяет комиссия, проводящая обследование.

3.6. Обследование узлов и механизмов кранов специального назначения

Механическое оборудование металлургических кранов состоит из традиционных узлов и сборочных единиц, характерных для любых кранов мостового типа общего назначения (грузовые лебедки, механизмы передвижения, поворота и т.п.) и специфических узлов, механизмов и грузозахватных устройств.

3.6.1. Обследование специфических узлов и механизмов металлургических кранов выполняется в соответствии с рекомендациями настоящих МУ. В приложении 6 представлены схемы специальных металлургических кранов с указанием зон осмотра специального механического оборудования. В таблицы включены те детали и узлы, которые определяют работоспособность и безопасность эксплуатации механизма.

3.6.2. Механизмы, канаты, грузозахватные органы к началу обследования должны быть очищены от грязи, смазки, коррозии и т.п.

3.6.3. Работы по проверке состояния механизмов и узлов, аналогичных кранам общего назначения, выполняются в соответствии с требованиями [4.3, 4.4] и включают:

проведение необходимых измерений (проверок);

внешний осмотр в целях анализа общего состояния и работоспособности.

При внешнем осмотре:

определяют соответствие наличия и компоновки оборудования проектной (паспортной) документации;

проверяют наличие и комплектность крепежа, качество затяжки;

проверяют наличие и состояние защитных устройств;

определяют зоны вытекания смазки;

проверяют целостность корпусов, блоков, барабанов, крюков;

оценивают техническое состояние всех механизмов, узлов и деталей, канатов, траверс, подвесок и др. Степень охвата объектов осмотра при этом определяется комиссией.

3.6.4. Необходимость разборки механизмов при осмотре определяет комиссия, проводящая обследование. Безусловной разборке подлежат механизмы, при работе которых наблюдается посторонний шум, вибрация, излишнее выделение тепла и т.п.

3.6.5. Повреждения, близкие к предельным, выявленные в ходе внешнего осмотра, должны быть измерены, в необходимых случаях заэскизированы.

3.6.6. В качестве критериев браковки типовых деталей и узлов (зубчатых передач, барабанов, блоков, ходовых колес, тормозов и т.п.) используются рекомендации, данные в [4.3, 4.4, 4.6].

3.6.7. Рекомендации по дефектации специальных узлов и механизмов металлургических кранов приведены в приложении 6 настоящего РД.

3.7. Проверка состояния электрооборудования

3.7.1. Проверка состояния электрооборудования должна включать следующие виды работ:

внешний осмотр электрооборудования и проведение необходимых для анализа работоспособности испытаний и измерений (проверок);

оценку соответствия установленного электрооборудования эксплуатационной документации;

контрольную проверку работоспособности электрооборудования.

3.7.2. Перечень работ, выполняемых при обследовании электрооборудования, зависит от конкретного типа крана и установленной на нем системы электрооборудования (постоянного или переменного тока, с силовыми или магнитными контроллерами, с использованием короткозамкнутых электродвигателей или электродвигателей с фазным ротором и т.п.).

3.7.3. Параметры элементов электрооборудования крана, подвергаемые контролю при проведении работ по обследованию кранов мостового типа, приведены в приложении 11. Там же указаны рекомендуемые виды контроля, необходимые средства для выполнения контроля, а также браковочные дефекты, при которых дальнейшая эксплуатация не допускается.

3.7.4. Оценку состояния сопротивления изоляции и сопротивления заземления крана следует выполнять по данным соответствующих протоколов измерений, предоставляемых владельцем крана.

3.8. Проверка состояния приборов и устройств безопасности

3.8.1. Проверка состояния приборов и устройств безопасности должна выполняться в соответствии с указаниями п. 3.8 [4.3] и включать следующие работы:

внешний осмотр приборов и устройств безопасности; контрольную проверку их работоспособности.

3.8.2. Ограничители грузоподъемности, установленные на кранах мостового типа, должны соответствовать Основным требованиям безопасности к ограничителям грузоподъемности электрических мостовых и козловых кранов (РД 10-118-96).

3.8.3. Краны, не оборудованные ограничителями грузоподъемности, но по технологии выполняемых работ согласно РД 10-118-96 относящиеся к категории, подлежащей обязательному оснащению ограничителями грузоподъемности, отмечаются комиссией соответствующей записью в ведомости дефектов. Решение об оснащении крана ограничителем грузоподъемности при этом выносят органы госгортехнадзора.

3.8.4. Согласно п. 2.12.11 ПБ 10-382-00 краны группы режима не менее А6 оборудуются регистраторами параметров их работы. При отсутствии таковых в ведомости дефектов необходимо это указать.

3.8.5. Проверку работоспособности концевых выключателей и блокировок следует выполнять согласно приложению 11 к настоящим МУ.

3.8.6. У кранов, установленных на открытых эстакадах, выполняют осмотр и оценку работоспособности противоугонных захватов, предотвращающих угон крана ветром. При этом обращают особое внимание на комплектность, исправность и работоспособность приводных устройств захватов, на износ поверхностей губок захватов, а также оценивают надежность сцепления их с головкой рельса в рабочем состоянии. Оценка состояния металлоконструкции и шарнирных соединений производится по критериям соответствующих элементов кранов общего назначения [4.4].

3.9. Проверка состояния крановых и подтележечных рельсовых путей

3.9.1. Проверка состояния крановых путей проводится в соответствии с ПБ 10-382-00, РД 10-138-97 и РД 10-112-96.

3.9.2. При обследовании специальных металлургических кранов владелец крана представляет комиссии паспорт кранового пути, схему планово-высотной съемки, результаты комплексного обследования кранового пути. В случае отсутствия перечисленной документации комиссией проводятся обследования кранового пути в зоне трех баз крана на участке проведения грузовых испытаний крана и замеры его геометрических параметров.

3.9.3. Обследования кранового пути включают:

внешний осмотр пути;

геодезические замеры в зоне трех баз крана (планово-высотная съемка).

3.9.4. Внешний осмотр состояния элементов крановых путей с оценкой их фактического состояния включает выполнение следующих работ:

проверка паспортов на крановые пути и тупики;

выявление участков рельсов с наличием предельного износа;

выявление трещин, вмятин, сколов и других дефектов рельсов;

оценка целостности и комплектности элементов крепления рельсов;

оценка соответствия по высоте тупиковых упоров и буферов крана (и (или) тележки);

оценка состояния и работоспособности тупиковых упоров и отключающих линеек;

проверка наличия в них трещин, механических повреждений и других дефектов;

оценка соответствия проекту и целостность заземления крановых путей.

3.9.5. При проверке состояния подтележечных рельсовых путей выполняют работы, аналогичные приведенным в п. 3.9.4. В необходимых случаях, при неудовлетворительной работе механизма передвижения тележки, может быть выполнена планово-высотная съемка рельсов грузовой тележки, при этом в качестве нормативных отклонений следует использовать величины, превышающие не более чем на 15 % указанные для аналогичных параметров в ГОСТ 27584.

Планово-высотную съемку рельсов тележки целесообразно выполнять при обнаружении значительных (более 10 мм) смещений рельсов в горизонтальном направлении или несоосности в стыках (более 3 мм по горизонтали и вертикали), а также при обнаружении дефектов, мешающих нормальному перемещению грузовой тележки (шум, скрежет, повышенная вибрация, наличие значительного износа колес и т.п.).

3.9.6. Оценка фактического состояния и безопасного функционирования крановых путей дополнительно включает рассмотрение результатов предыдущей планово-высотной съемки, выполненной при проведении технического освидетельствования или комплексного обследования согласно РД 10-138-97. При невыполнении владельцем мероприятий по рихтовке путей комиссия, проводящая обследование, указывает это в ведомости дефектов.

3.10. Проверка химического состава и механических свойств металла несущих элементов металлических конструкций

3.10.1. Проверку химического состава и механических свойств металла несущих элементов металлических конструкций следует выполнять у всех специальных металлургических кранов, отработавших нормативный срок службы, сохранивших или не сохранивших паспортный режим работы.

3.10.2. Последовательность отбора проб для определения химического состава и механических свойств металла несущих элементов металлических конструкций представлена в приложении 10, изложена в работе [4.4], схема представлена в приложении К5 [4.4].

3.10.3. Снижение нижней предельной температуры рабочего состояния, например с - 40 до - 20 °С, при соблюдении требований п. 2.8 РД 24.090.52-90 не должно служить причиной отказа в регистрации крана.

3.10.4. Порядок отбора проб для определения химического состава и механических свойств металла несущих элементов металлических конструкций кранов, а также кранов импортного производства определяется экспертной комиссией.

3.11. Составление ведомости дефектов

3.11.1. Дефекты, выявленные при обследовании крана и рельсовых путей, заносят в ведомость дефектов, составленную согласно приложению 12 (приложение 3Э).

3.11.2. Дефекты, требующие ремонта, должны быть зафиксированы (заэскизированы) с четкой координацией на объекте.

3.11.3. Дефекты сравниваются с допускаемыми значениями, после чего делаются соответствующие выводы и рекомендации.

3.11.4. При значениях дефектов, близких к предельным значениям, экспертной комиссией принимается одно из решений о необходимости: оценки остаточного ресурса; капитально-восстановительного ремонта крана; проведения генерального обследования.

3.11.5. Дефекты, не устраненные в ходе экспертизы, вносятся в документ «Согласование мероприятий по устранению замечаний, сделанных в процессе экспертизы» (приложение 4Э из приложения 12). Документ подписывается владельцем крана и руководителем экспертной комиссии.

3.11.6. Оценка остаточного ресурса до очередного промежуточного обследования выполняется по балльной системе согласно п. 3.13 настоящих МУ. Результаты заносятся в таблицу заключения экспертизы (см. приложение 6Э из приложения 12).

3.11.7. Расчет остаточного ресурса специальных кранов металлургического производства выполняется по методике МУ УЭЦ 480100.01, согласованной с Госгортехнадзором России.

3.12. Проведение статических и динамических испытаний

3.12.1. Грузовые испытания специальных кранов металлургического производства проводятся согласно ПБ 10-382-00 с учетом специфики конструкции кранов, представленной в приложении 6 настоящих МУ.

3.12.2. Статические и динамические испытания проводятся только на кранах, находящихся в работоспособном состоянии.

3.12.3. При проведении статических испытаний рекомендуется проводить замеры и фиксацию упругих деформаций конструкции в целях последующей оценки изменения упругих характеристик конструкции при ее эксплуатации. Результаты испытаний крана заносятся в протокол испытаний крана (приложение 5Э из приложения 12).

3.12.4. Специальные грузозахватные органы подвергаются статическим и динамическим испытаниям в соответствии с указаниями, записанными в эксплуатационной документации, а при отсутствии таковых - в соответствии с настоящими МУ.

3.13. Оценка остаточного ресурса

3.13.1. Оценка остаточного ресурса специальных металлургических кранов выполняется при проведении как промежуточных обследований, так и при проведении генеральных экспертных обследований.

На стадиях промежуточных обследований продление срока службы крана до очередного обследования осуществляется при условии:

соответствия фактического режима работы паспортному режиму;

сохранения контролируемых геометрических параметров металлоконструкций в допустимых пределах;

отсутствия превышающих допуски коррозионных повреждений;

сохранения упругих свойств металлоконструкций, оцениваемых по сопоставлению результатов измерения упругих деформаций моста, определенных в процессе грузовых испытаний, с данными предыдущих обследований и с расчетными для данного крана значениями упругих деформаций;

при отсутствии остаточных деформаций при проведении грузовых испытаний;

если по балльной системе оценки выявленных дефектов несущих металлоконструкций, возникших при эксплуатации (табл. 6), сумма баллов не более 5.

Таблица 6 [4.4]

Оценка дефектов в баллах

Вид дефекта

Характеристика дефекта

Дефекты изготовления или монтажа

Дефекты, возникшие из-за грубого нарушения нормальной эксплуатации

Дефекты, возникшие при длительной нормальной эксплуатации

Количество баллов

1

2

3

4

1. Нарушения лакокрасочного покрытия

0,1

2. Коррозия несущих элементов:

Возникновение подобного дефекта маловероятно

 

£ 5 % толщины элемента

0,2

£ 10 % толщины элемента

1

> 10 % толщины элемента

4

3. Трещины, разрывы в швах или в околошовной зоне

Возникновение больших трещин маловероятно

1

4

4. Трещины, разрывы в зонах, удаленных от сварных швов

Возникновение больших трещин маловероятно

1

5

5. Разрывы не менее 10 % болтов в соединениях, где болты работают на растяжение

Возникновение подобного дефекта маловероятно

1

4

6. Срез не менее 10 % болтов в соединениях, где болты работают на срез

Возникновение подобного дефекта маловероятно

1

4

7. Деформации элементов ферменных конструкций, превышающие предельные величины (указаны в приложении 9 настоящего РД):

 

 

 

пояса

1

2,5

5

раскосы

0,5

1

2

8. Деформации элементов листовых конструкций (кроме местных деформаций раскосов и поясов), превышающие предельные величины (указаны в приложении 9 [4.4] настоящего РД)

1

1,5

5

9. Расслоение металла, перекрывающее не менее 50 % размера сечения пояса, стенки и т.п.

5

 

 

10. Любые дефекты, возникшие в месте предыдущего ремонта, не попадающие под определения предыдущих строк данной таблицы

1

1

2

3.13.2. При проведении генерального экспертного обследования проводится полная оценка остаточного ресурса:

при выработке краном нормативного срока службы и промежуточных (4 - 5) обследованиях;

по решению комиссии при отрицательных результатах экспертной оценки ресурса по данным промежуточного обследования;

при появлении усталостных трещин в несущих элементах металлоконструкции при сумме баллов от 6 до 10, в том числе по местам предыдущих ремонтов. Перед выполнением расчетов должен быть разработан проект выполнения ремонтных работ;

в соответствии с дополнительными рекомендациями головных организаций, касающимися определенных типов кранов;

при предполагаемой реконструкции или модернизации крана;

по просьбе владельца;

по указанию органов госгортехнадзора.

3.13.3. При проведении генеральных обследований помимо критериев, перечисленных в п. 3.13.2, проводится расчет статической прочности и выносливости основных несущих конструкций и при необходимости экспериментальное обследование напряженного ее состояния (например, акустико-эмиссионным способом, тензометрированием и др.).

3.13.4. Расчеты должны выполняться на основании данных о фактических свойствах материала и фактических размерах элементов (с учетом коррозии, общих и местных деформаций элементов и др.).

3.13.5. Элементы, имевшие повреждения, должны быть просчитаны с учетом качества выполненных ремонтов.

3.13.6. Для составления регламента работы крана владелец представляет информацию о планируемой загрузке крана на срок продления эксплуатации. Экспертной комиссией на основании выполненных расчетов назначается срок эксплуатации до следующего генерального обследования.

3.13.7. В состав заключения по оценке остаточного ресурса комиссия может включить рекомендации как по проведению ремонта, так и по обеспечению мероприятий, направленных на ограничение нагруженности крана (например, оснащение крана ограничителем грузоподъемности, изменение технологического процесса, выполняемого краном, снижение паспортных характеристик и т.п.).

3.13.8. При состоянии кранового пути, близком к предельному (согласно РД 10-138-97), это положение также должно быть учтено при оценке остаточного ресурса крана.

3.13.9. По результатам выполненного расчета оценки остаточного ресурса крана может быть принято одно из следующих решений:

продление эксплуатации крана до указанного срока следующего генерального обследования с паспортными характеристиками при сохранении фактического режима эксплуатации его без ограничений;

эксплуатация крана возможна после выполнения ремонтных работ до указанного срока следующего генерального обследования при изменении паспортных характеристик крана и уменьшении интенсивности его загрузки;

эксплуатация крана возможна на срок до следующего генерального обследования при условии замены несущих элементов, ранее подвергавшихся ремонту и имеющих новые повреждения, выявленные при обследовании с соответствующими ограничениями;

восстановление работоспособности крана технически невозможно (или экономически нецелесообразно), кран подлежит списанию.

3.14. Оформление результатов обследования

3.14.1. Оформление результатов обследования выполняется согласно рекомендациям Госгортехнадзора России (письмо № 12-01/26 от 10.01.03 г.), образцы документов заключения экспертизы промышленной безопасности по результатам технического диагностирования подъемных сооружений приведены в приложении 12.

3.14.2. Вынесение решения об эффективности действующей у владельца системы технического обслуживания и ремонта должно быть сделано с учетом оценки правильности выбранной технологии и качества выполненных ремонтов (реконструкцией).

При обнаружении нарушений при выполнении указанных работ организация, проводящая обследование, обязана направить оповещение в адрес территориального управления Госгортехнадзора России.

3.14.3. Заключения экспертизы согласно Федеральному закону [4.1] подлежат утверждению и регистрации в органах Госгортехнадзора России.

3.15. Требования к организации, проводящей обследование, и к ее персоналу

3.15.1. Требования к организации, проводящей обследование, и к ее персоналу приведены в п. 3.15 РД 10-112-96, в РД 10-528-03 и настоящих МУ.

3.15.2. Расчеты металлических конструкций специальных кранов на прочность, сопротивление усталости, а также по оценке остаточного ресурса должны выполняться организацией, имеющей опыт проектирования кранов мостового типа, специалистов III уровня квалификации по технической диагностике ПС, экспертов по ПС.

3.15.3. Подготовка и аттестация специалистов и экспертов по подъемным сооружениям проводится в соответствии с рекомендациями Госгортехнадзора России [4.14].

4. ПЕРЕЧЕНЬ НОРМАТИВНОЙ ТЕХНИЧЕСКОЙ И СПРАВОЧНОЙ ЛИТЕРАТУРЫ

4.1. Федеральный закон «О промышленной безопасности опасных производственных объектов» от 21.07.97 № 116-Ф3.

4.2. Правила проведения экспертизы промышленной безопасности (ПБ 03-246-98), с Изменением № 1 [ПБИ 03-480(246)-02], утвержденным постановлением Госгортехнадзора России от 01.08.02 № 48.

4.3. Методические указания по обследованию грузоподъемных машин с истекшим сроком службы. Часть 1. Общие положения (РД 10-112-96).

4.4. Методические указания по обследованию грузоподъемных машин с истекшим сроком службы. Часть 5. Краны мостовые и козловые (РД 10-112-5-97).

4.5. Комплексное обследование крановых путей грузоподъемных машин. Часть 1. Общие положения. Методические указания (РД 10-138-97), с изменением № 1 [РДИ 10-349(138)-00].

4.6. Правила устройства и безопасной эксплуатации грузоподъемных кранов (ПБ 10-382-00).

4.7. Основные требования безопасности к ограничителям грузоподъемности электрических мостовых и козловых кранов (РД 10-118-96).

4.8. РТМ Минтяжмаш - КОДАС «Расчеты и испытания на прочность. Методы расчета на трещиностойкость металлоконструкций мостовых кранов при статическом и циклическом нагружении».

4.9. СТО 24.09-5281-01-93. Краны грузоподъемные промышленного назначения. Нормы и методы расчета элементов стальных конструкций.

4.10. ГОСТ 15150-69*. Машины, приборы и другие технические изделия. Исполнения для различных климатических районов. Категории, условия эксплуатации, хранения и транспортирования в части воздействия климатических факторов внешней среды.

4.11. ГОСТ 27584-88*. Краны мостовые и козловые электрические. Общие технические условия.

4.12. Положение по проведению экспертизы промышленной безопасности опасных производственных объектов, на которых используются подъемные сооружения (РД 10-528-03).

4.13. О форме «Заключения экспертизы промышленной безопасности по результатам технического диагностирования подъемных сооружений» (письмо Госгортехнадзора России от 10.01.03 № 12-01/26).

4.14. Положение о порядке продления срока безопасной эксплуатации технических устройств, оборудования и сооружений на опасных производственных объектах (РД 03-484-02).

4.15. Рекомендации по подготовке и аттестации специалистов и экспертов, осуществляющих экспертизу промышленной безопасности подъемных сооружений.

4.16. Инструкция по технике безопасности для экспертов при проведении обследования подъемных сооружений (ИОТ-005-00, 2001 г.), согласована Госгортехнадзором России (письмо от 19.05.00 № 12-07/526).

4.17. Методические указания по оценке остаточного ресурса грузоподъемных кранов, отработавших нормативный срок службы (МУ УЭЦ 480 100.008), согласованы Госгортехнадзором России (письмо от 20.11.02 № 12-07955).

4.18. ГОСТ 28609-90. Краны грузоподъемные. Основные положения расчета.

4.19. Методические указания по определению остаточного ресурса потенциально опасных объектов, подконтрольных Госгортехнадзору России (РД 09-102-95).

4.20. Зарецкий А.А. Алгоритм оценки выработки нормативного срока службы грузоподъемного крана. Отчет о научной работе ЗАО «Автопартнер». М., 1998.

4.21. Котельников B.C., Анисимов B.C., Зарецкий А.А., Короткий А.А. Развитие методологии экспертных обследований грузоподъемных кранов // Безопасность труда в промышленности. 2000. № 4. С. 2 - 7.

4.22. Котельников B.C., Зарецкий А.Л. Статические испытания грузоподъемных кранов // Безопасность труда в промышленности. 2000. № 8. С. 13 - 18.

4.23. Котельников B.C., Еремин Ю.Л., Короткий А.А., Зарецкий А.А. Концепция оценки остаточного ресурса металлических конструкций грузоподъемных кранов, отработавших нормативный срок службы // Безопасность труда в промышленности. 2000. № 10.

4.24. Дусье В.Е., Стоцкая Л.В. К вопросу оценки остаточного ресурса работоспособности металлических конструкций грузоподъемных кранов // Конструирование и технология изготовления машин. Екатеринбург, УГТУ - УПИ, 1995. С. 59.

4.25. Котельников B.C., Анисимов B.C., Зарецкий Л.Л., Короткий Л.Л. Развитие методологии экспертных обследований грузоподъемных кранов // Безопасность труда в промышленности. 2001. № 4. С. 2 - 7.

4.26. Баварский Ю.В., Дусье В.Е., Стоцкая Л.В. Особенности статических грузовых испытаний мостовых металлургических кранов // Безопасность эксплуатации и проблемы продления срока службы подъемных сооружений. Екатеринбург, 2000. С. 232 - 234.

4.27. Полнарев С.Я., Рогожин С.В. Интегральная и дифференциальная оценка остаточного ресурса крана // Подъемные сооружения. Специальная техника. 2002. № 6.

4.28. Кулешов В.В., Сохрин П.П. Расчет остаточного ресурса мостового крана // Безопасность труда в промышленности. 2001. № 1.

4.29. Котельников B.C., Зарецкий А.А., Короткий А. А., Еремин И.И. Новые аспекты в методологии экспертных оценок грузоподъемных кранов // Безопасность труда в промышленности. 2002. № 11.С. 2.

4.30. Котельников B.C., Попов Б.Е., Безлюдко Г.Я. и др. Магнитная диагностика и контроль остаточного ресурса металлоконструкций подъемных сооружений // Подъемные сооружения. Специальная техника. 2002. № 7.

4.31. Наварский Ю.В., Дусье В.Е., Стоцкая Л.В. Специфика испытаний металлургических кранов // Подъемные сооружения. Специальная техника. 2003. № 4. С. 18.

Приложение 1 [4.4]

Степень агрессивности воздействия сред на металлические конструкции (по СНиП 2.03.11-85)

1. Степени агрессивного воздействия сред на металлические конструкции приведены:

атмосферы воздуха - в табл. 1 и 2;

жидких неорганических сред - в табл. 3;

жидких органических сред - в табл. 4.

2. При определении по табл. 1 и 2 степени агрессивного воздействия среды на части конструкций, находящихся внутри отапливаемых зданий, под навесами и на открытом воздухе, - зоны влажности. Для конструкций отапливаемых зданий с влажным или мокрым режимом помещений степень агрессивного воздействия среды следует устанавливать как для неотапливаемых зданий для влажной зоны. Загрязнение воздуха, в том числе внутри зданий, солями, пылью или аэрозолями следует учитывать при их средней годовой концентрации не ниже 0,3 мг / (м2 ´ сут).

Таблица 1-1

Влажностный режим помещений

Группы газов по табл. 1.5

Степень агрессивного воздействия среды на металлические конструкции

Зона влажности (по СНиП 11-3-79)

внутри отапливаемых зданий

внутри неотапливаемых зданий или под навесом

на открытом воздухе

1

2

3

4

5

Сухой

А

Неагрессивная

Неагрессивная

Слабоагрессивная

В

Неагрессивная

Слабоагрессивная

Слабоагрессивная

Сухая

С

Слабоагрессивная

Среднеагрессивная

Среднеагрессивная

D

Среднеагрессивная

Среднеагрессивная

Сильноагрессивная

Нормальный

А

Неагрессивная

Слабоагрессивная

Слабоагрессивная

В

Слабоагрессивная

Среднеагрессивная

Среднеагрессивная

Нормальная

С

Среднеагрессивная

Среднеагрессивная

Среднеагрессивная

D

Среднеагрессивная

Сильноагрессивная

Сильноагрессивная

Влажный или мокрый

А

Слабоагрессивная

Среднеагрессивная

Среднеагрессивная

В

Среднеагрессивная

Среднеагрессивная

Среднеагрессивная

Влажная

С

Среднеагрессивная

Сильноагрессивная

Сильноагрессивная

D

Среднеагрессивная

Сильноагрессивная

Сильноагрессивная

Примечание. При оценке степени агрессивного воздействия среды не следует учитывать влияние углекислого газа.

Таблица 1-2

Влажностный режим помещений

Характеристика солей, аэрозолей и пыли

Степень агрессивного воздействия среды на металлические конструкции

Зона влажности (по СНиП 11-3-79)

внутри отапливаемых зданий

внутри неотапливаемых зданий или под навесом

на открытом воздухе

1

2

3

4

5

 

Малорастворимые

Неагрессивная

Неагрессивная

Слабоагрессивная

Сухой

Хорошо растворимые, малогигроскопичные

Неагрессивная

Слабоагрессивная

Слабоагрессивная

Сухая

Хорошо растворимые, гигроскопичные

Слабоагрессивная

Слабоагрессивная

Среднеагрессивная

 

Малорастворимые

Неагрессивная

Слабоагрессивная

Слабоагрессивная

Нормальный

Хорошо растворимые, малогигроскопичные

Слабоагрессивная

Среднеагрессивная

Среднеагрессивная

Нормальная

Хорошо растворимые, гигроскопичные

Среднеагрессивная

Среднеагрессивная

Среднеагрессивная

 

Малорастворимые

Неагрессивная

Слабоагрессивная

Слабоагрессивная

Влажный или мокрый

Хорошо растворимые, малогигроскопичные

Слабоагрессивная

Среднеагрессивная

Среднеагрессивная

Влажная

Хорошо растворимые, гигроскопичные

Среднеагрессивная

Среднеагрессивная

Сильноагрессивная

Примечание. Для частей ограждающих конструкций, находящихся внутри зданий, степень агрессивного воздействия среды следует учитывать как для помещений с влажным или мокрым режимом.

Таблица 1-3

Неорганические жидкие среды

Водородный показатель рН

Суммарная концентрация сульфатов и хлоридов, г / л

Степень агрессивного воздействия сред на металлические конструкции при свободном доступе кислорода в интервале t° от 0 до 50 °С и скорости движения до 1 м / с

Пресные природные воды

Св. 3 до 11

До 5

Среднеагрессивная

То же

Св. 5

Сильноагрессивная

До 3

Любая

Сильноагрессивная

Морская вода

Св. 6 до 8,5

Св. 20 до 50

Среднеагрессивная

Производственные оборотные и сточные воды без очистки

Св. 3 до 11

До 5 Св. 5

Среднеагрессивная Сильноагрессивная

Сточные жидкости животноводческих зданий

Св. 3

До 5

Среднеагрессивная

Растворы неорганических кислот

Св. 5 до 9

Любая

Сильноагрессивная

Растворы щелочей

Св. 11

Любая

Сильноагрессивная

Растворы солей концентрацией св. 50 г/л

Св. 3 до 11

Любая

Сильноагрессивная

Примечания: 1. При насыщении воды хлором или сероводородом следует принимать степень агрессивного воздействия среды на одну ступень выше.

2. При удалении кислорода из воды и растворов солей (деаэрация) следует принимать степень агрессивного воздействия среды на одну ступень ниже.

Таблица 1-4

Органические жидкие среды

Степень агрессивного воздействия среды на металлические конструкции

Масла (минеральные, растительные, животные)

Неагрессивная

Нефть и нефтепродукты

Слабоагрессивная

Растворители (бензол, ацетон)

Сильноагрессивная

Растворы органических кислот

Сильноагрессивная

Таблица 1-5

Группы агрессивных газов в зависимости от их вида и концентрации

Наименование

Концентрация, мг/м3, для групп газов

А

В

С

D

Углекислый газ

До 2000

Св. 2000

-

-

Аммиак

До 0,2

Св. 0,2 до 20

Св. 20

-

Сернистый ангидрид

До 0,5

Св. 0,5 до 10

Св. 10 до 200

Св. 200 до 1000

Фтористый водород

До 0,05

Св. 0,05 до 5

Св. 5 до 10

Св. 10 до 100

Сероводород

До 0,01

Св. 0,01 до 5

Св. 5 до 100

Св. 100

Оксиды азота (растворяющиеся в воде с образованием растворов кислот)

До 0,1

Св. 0,1 до 5

Св. 5 до 25

Св. 25 до 100

Хлор

До 0,1

Св. 0,1 до 1

Св. 1 до 5

Св. 5 до 10

Хлористый водород

До 0,05

Св. 0,05 до 5

Св. 5 до 10

Св. 10 до 100

Примечание. При наличии в среде нескольких газов принимается более агрессивная (от А к D) группа, которой соответствует концентрация одного или более газов.

Таблица 1-6

Характеристика твердых сред (солей, аэрозолей и пыли)

Растворимость твердых сред в воде и их гигроскопичность

Наиболее распространенные соли, аэрозоли и пыли

Малорастворимые

Силикаты, фосфаты (вторичные и третичные) и карбонаты магния, кальция, бария, свинца; сульфаты бария, свинца; оксиды и гидроксиды железа, хрома, алюминия, кремния

Хорошо растворимые, малогигроскопичные

Хлориды и сульфаты натрия, калия, аммония; нитраты калия, бария, свинца, магния; карбонаты щелочных металлов

Хорошо растворимые, гигроскопичные

Хлориды кальция, магния, алюминия, цинка, железа; сульфаты магния, марганца, цинка, железа; нитраты и нитриты натрия, калия, аммония; все первичные фосфаты; вторичный фосфат натрия; оксиды и гидроксиды натрия, калия

Примечание. К малорастворимым относятся соли с растворимостью менее 2 г / л, к хорошо растворимым - свыше 2 г / л. К малогигроскопичным относятся соли, имеющие равновесную относительную влажность при температуре 20 °С 60 % и более, а к гигроскопичным - менее 60 %.


Приложение 2 [4.4]

Определение площади и степени коррозии нижних поясов главных балок кранов, установленных на открытом воздухе

1. Выполнение измерений начинают согласно схеме, приведенной ниже. Результаты измерений заносят в таблицы.

Таблица 1

Нижний пояс главной балки 1

Точка 1

Точка 2

Точка 3

Точка 4

Точка 5

Фактическая толщина пояса, мм

 

 

 

 

 

Таблица 2

Нижний пояс главной балки 2

Точка 1

Точка 2

Точка 3

Точка 4

Точка 5

Фактическая толщина пояса, мм

 

 

 

 

 

При толщине пояса согласно паспорту крана ___________ мм

2. При получении (хотя бы в одном из замеров) фактической толщины пояса менее 90 % первоначальной измерения продолжают не менее в 4 точках, отстоящих отточки первоначального замера - на 100 мм. Аналогичные замеры продолжают до тех пор, пока не будет обнаружена фактическая граница зоны нижнего пояса, пораженного коррозией.

3. По результатам проведенных замеров вычерчивают схему (по произвольной форме, но с указанием размеров распространения и степени поражения) зоны нижнего пояса, пораженного коррозией, которую прикладывают к ведомости дефектов.

4. Аналогично выполняют измерения для вспомогательных мостов, рам тележек и концевых балок кранов.


Приложение 3 [4.4, МУ]

Некоторые зоны возникновения дефектов в металлоконструкциях кранов мостового типа

Место вероятного расположения дефекта, вид дефекта

Места, подвергаемые внешнему осмотру при проведении обследования металлоконструкции (показаны стрелками)

1

2

1. Места крепления буксовых узлов концевых балок мостовых кранов, трещины в сварных швах и основном металле

2. Узел примыкания главной балки к концевой мостовых кранов, трещины в сварных швах и основном металле, трещины в верхнем поясе под рельсами тележки

3. Зона примыкания кронштейнов проходной галереи к стенке главной балки мостовых кранов, трещины в сварных швах и основном металле

4. Зона соединения элементов пояса фермы, трещины в сварных швах и основном металле

5. Трещины в сварных швах зоны «стенка - пояс». Трещины в металле стенок в зоне

6. Трещины в сварных швах:

а - места приварки косынок;

б - стыковые и угловые швы пролетных и концевых балок;

в - швы приварки компенсаторов

7. Трещины в основном металле главных балансиров тяжелых литейных кранов

8. Узлы крепления опор к ходовой тележке кранов козлового типа

Приложение 4 [4.4]

Оценка влияния коррозии несущих элементов металлических конструкций

1. Уменьшение площади сечения элемента вследствие коррозии допускается не более 10 % по отношению к номинальной величине площади сечения, указанной в сортаменте соответствующего профиля. При этом никаких дополнительных расчетов не требуется и срок, назначаемый до следующего очередного обследования, принимается в соответствии с рекомендациями табл. 1, п. 3.1.3 настоящего РД.

2. При уменьшении площади сечения в результате коррозии более 10 % прочность элементов металлоконструкции должна быть проверена расчетом.

3. В случае уменьшения площади сечения элемента на 15 % и более в расчете следует учитывать фактические изменения моментов инерции и сопротивления сечения.

4. Для элементов металлоконструкций, работающих в условиях агрессивной среды, имеющих исходную (или в результате коррозии) толщину 5 мм и менее, а также в случаях, когда относительное уменьшение площади сечения любого иного расчетного элемента превышает 25 %, следует дополнительно учитывать снижение расчетного сопротивления материала, умножая его на коэффициент степени агрессивного воздействия среды gd, принимаемый по табл. 4.1 настоящего приложения.

Таблица 4.1

Степень агрессивного воздействия среды по СНиП 2.03.11-85

gd

Слабоагрессивная

0,95

Среднеагрессивная

0,90

Сильноагрессивная

0,85

5. При расчете сопротивления усталости группу элементов по степени концентрации устанавливают в зависимости от вида и степени коррозионного повреждения элемента согласно табл. 2 настоящего приложения

Таблица 4.2

Вид и степень повреждения

Группа элемента

Равномерный слой коррозии не менее 0,5 мм

2

Язвенная коррозия с глубиной дефекта, мм:

 

до 0,5 включительно

2

св. 0,5 до 0,8 включительно

3

св. 0,8 до 1,2 включительно

4

св. 1,2

5

Примечание. Наличие коррозии не изменяет группу концентрации, к которой был отнесен элемент металлоконструкции первоначально по конструктивному признаку.

Приложение 5 [4.4]

Схема проведения замеров высотного положения пролетных балок, главных и вспомогательных мостов крана и планово-высотной съемки рельсового пути грузовой тележки

Наименование замеров

Номер контрольных точек

1

2

3

4

5

6

7

Высотное положение пояса балки № 1

 

 

 

 

 

 

 

Высотное положение пояса балки № 2

 

 

 

 

 

 

 

Высотное положение рельса № 1

 

 

 

 

 

 

 

Высотное положение рельса № 2

 

 

 

 

 

 

 

Положение в плане рельса № 1

 

 

 

 

 

 

 

Положение в плане рельса № 2

 

 

 

 

 

 

 

Вывод. Максимальные вертикальные остаточные прогибы балки № 1 _______ мм и балки № 2 _______ мм.

Максимальное уширение/сужение колеи рельсового пути тележки ______/______ мм.

Максимальное отклонение от прямолинейности 1-го рельса _______ мм и 2-го рельса _______ мм.

Замеры выполнил ___________ (Ф.И.О., подпись)

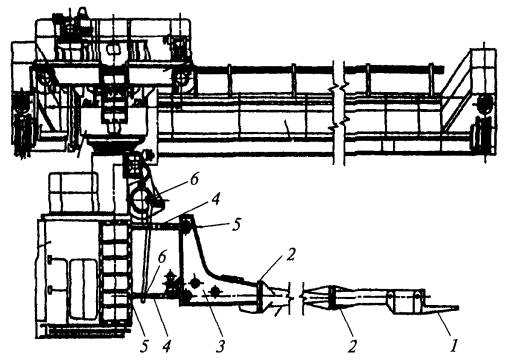
Приложение 6

Наиболее вероятные повреждения механизмов металлургических кранов и предельно допустимые их значения

В приложение 6 включены только узлы и детали специального механического оборудования металлургических кранов, подлежащие контролю при обследовании. Для каждого типа крана даны схемы, на которые в соответствующих таблицах приведены ссылки с указанием соответствующих объектов контроля. Те узлы и детали механизмов, которые есть в кранах мостового типа общего назначения, обследуются и оцениваются по РД 10-112-5-97 [4.4].

6.1. Кран магнитно-грейферный

Кран магнитно-грейферный может быть выполнен с одной или двумя тележками, оснащенными специальным навесным оборудованием (магнитом и грейфером), установленными на одном мосту.

Таблица 6.1.1

Сборочная единица (узел), деталь. Проверяемые параметры

Вид дефекта, при котором дальнейшая эксплуатация не допускается

1

2

1. Грейфер (рис. 6.1.1)

1.1. Челюсти (поз. 1):

 

тело (стенки, днище)

Наличие трещин, деформаций, сколов, нарушение целостности.

проушины

Износ более 10 % первоначальной толщины.

зубья (режущие кромки)

Износ, нарушающий плотность смыкания челюстей.

1.2. Тяги (поз. 2)

Трещины, деформации, нарушающие геометрию узла.

1.3. Шарниры тяг (поз. 3):

 

оси

Отсутствие элементов от продольных смещений. Уменьшение диаметра оси более 5 % первоначального. Деформация оси.

отверстия под оси

Увеличение диаметра отверстия более 5 % первоначального.

1.4. Шарниры крепления челюстей к нижней траверсе (поз. 4):

 

оси

Уменьшение диаметра оси более 5 % первоначального.

отверстия под оси

Увеличение диаметра отверстия более 5 % первоначального.

1.5. Блоки (поз. 5):

 

опорные детали

Наличие трещин или вмятин, коррозия.

поверхность желоба и реборд блоков

Трещины желоба и реборд; наружные сколы реборд на длине более 1/2 диаметра каната; износ ручья блока более 40 % первоначального радиуса ручья.

1.6. Зубчатые секторы синхронизаторов

Износ зубьев синхронизаторов более 20 % первоначальной толщины.

1.7. Траверса

Трещины в теле и сварных швах, деформация, коррозия (см. приложение 9 [4.4]).

2. Механизм подъема электромагнита (рис. 6.1.2)

2.1. Подвеска электромагнита (поз. 1):

 

стропы (цепь)

Наличие трещин, зазубрин, резов в кольце и звеньях цепных строп; износ в кольце подвеса не более 10 % первоначальной толщины; износ зубьев цепи не более 10 % диаметра прутка; увеличение цепи не более 3 % первоначального размера.

крюк стропа

Износ более 10 % в вертикальном сечении крюка от первоначальных размеров.

2.2. Питающий кабель электромагнита (поз. 2)

Повреждение изоляции; свободное провисание.

2.3. Кабельный барабан (поз. 3):

 

поверхность барабана

Наличие трещин любых размеров, отклонение от геометрии барабана.

реборды барабана

Отсутствие сколов, деформаций. Высота реборд на 5 см превышает последний слой навивки кабеля на барабан.

крепление кабеля на барабане

Отсутствие стопорных устройств крепления конца кабеля.

цепная передача

Износ зубьев звездочек (зубьев шестерен) свыше 20 % номинальных значений. Износ втулок цепи не свыше 10 % номинальных значений.

укладка кабеля

Заедание, затрудненное вращение при наматывании.

2.4. Кольцевой токоприемник (поз. 4) кабельного барабана:

 

контактные поверхности

Задиры на поверхностях и сколы тела скользящих контактных элементов; загрязнение контактных поверхностей.

плотность прилегания щеток

Искрение при работе

3. Электромагнит (рис. 6.1.2, поз. 5)

3.1. Корпус: проушины

Наличие трещин, сколов, загрязненности; износ более 5 % первоначального диаметра.

3.2. Наличие электропитания при снятии напряжения с крана приборами безопасности:

Отсутствие электропитания.

коробка токоподвода

Нарушение изоляции. Отсутствие герметизации.

3.3. Контактная поверхность электромагнита

Коробление, нарушение плоскостности, загрязненность, ржавление (коррозия).

3.4 Кабель

Отсутствие провеса кабеля, нарушение изоляции, перегибы.

Примечание. Рассмотрен грейфер канатный. При наличии грейфера с приводом диагностика привода проводится по РД 10-112-97, часть 5, диагностика остальных элементов грейфера - по данным МУ.

Рис. 6.1.1. Мостовой магнитно-грейферный кран

Рис. 6.1.2. Тележка с магнитом

6.2. Кран мульдомагнитный

Мульдомагнитные краны предназначены для перемещения мульд (корыт) с шихтой, ломом, рудой и т.п. в печи. Могут быть выполнены с одной или двумя тележками, оборудованными специальными грузозахватными органами (магнитом и мульдовыми захватами), перемещающимися по одному мосту (рис. 6.2.1, 6.2.2).

Таблица 6.2.1

Сборочная единица (узел), деталь. Проверяемые параметры

Вид дефекта, при котором дальнейшая эксплуатация не допускается

1

2

1. Механизм подъема электромагнита (рис. 6.2.1)

1.1. Подвеска электромагнита (поз. 1):

 

стропы (цепь)

Наличие трещин, зазубрин, резов в кольце и звеньях цепных строп; износ в кольце подвеса не более 10 % первоначальной толщины; износ зубьев цепи не более 10 % диаметра прутка; увеличение цепи не более 3 % первоначального размера.

крюк стропа

Износ более 10 % в вертикальном сечении крюка от первоначальных размеров.

1.2. Питающий кабель электромагнита

Повреждение изоляции; натяжение, изломы, перегибы.

1.3. Кабельный барабан (поз. 2):

 

поверхность барабана

Наличие трещин любых размеров, отклонение от геометрии барабана.

реборды барабана

Отсутствие сколов, деформаций. Высота реборд на 5 см. превышает последний слой навивки кабеля на барабан.

крепление кабеля на барабане

Отсутствие стопорных устройств крепления конца кабеля.

цепная передача

Износ зубьев звездочек (зубьев шестерен) свыше 20 % номинальных значений. Износ втулок цепи не свыше 10 % номинальных значений.

укладка кабеля

Заедание, затрудненное вращение при наматывании.

1.4. Кольцевой токоприемник кабельного барабана:

 

контактные поверхности

Задиры на поверхностях и сколы тела скользящих контактных элементов; загрязнение контактных поверхностей.

плотность прилегания щеток

Искрение при работе.

2. Электромагнит (поз. 3)

2.1. Корпус: проушины

Наличие трещин, сколов, загрязненности; износ более 5 % первоначального диаметра.

2.2. Наличие электропитания при снятии напряжения с крана приборами безопасности:

Отсутствие электропитания.

коробка токопровода

Нарушение изоляции. Отсутствие герметизации (крышки), загрязнение.

2.3. Контактная поверхность электромагнита

Коробление, нарушение плоскостности, загрязненность, ржавление (коррозия).

2.4. Кабель

Отсутствие провеса кабеля, нарушение изоляции, перегибы, изломы.

3. Мульдозахватное устройство (рис. 6.2.2)

3.1. Рама мульдовых захватов (поз. 3)

Общие и местные деформации, превышающие значения, приведенные в приложении 9 настоящего МУ. Трещины в сварных швах и основном металле.

3.2. Мульдовые захваты (поз. 4):

 

корпус

Общие и местные деформации, превышающие значения, приведенные в приложении 9 настоящего МУ. Трещины в сварных швах и основном металле.

шарниры соединения с рамой

Уменьшение диаметров осей свыше 3 % номинальных размеров.

3.3. Рычаг (поз. 7 и 8):

 

корпус

Наличие трещин, вмятин. Общие деформации, препятствующие свободному и полному открытию и закрытию захватов.

шарнир соединения с рамой

Уменьшение диаметров осей свыше 3 % номинальных размеров.

3.4. Шатуны (поз. 5):

 

корпус

Наличие трещин, вмятин. Общие деформации, препятствующие свободному и полному открытию и закрытию захватов.

шарниры соединения с двуплечими рычагами

Уменьшение диаметров осей свыше 3 % номинальных размеров. Износ отверстий под оси свыше 3 % первоначальных размеров.

3.5. Двуплечие рычаги (поз. 6)

Наличие трещин, вмятин. Общие деформации, препятствующие свободному и полному открытию и закрытию захватов.

3.4. Блок рычага (поз. 2):

 

опорные детали

Наличие трещин или вмятин.

поверхность желоба и реборд блоков

Трещины желоба и реборд; наружные сколы реборд на длине более 50 % диаметра каната; износ ручья блока более 40 % первоначального радиуса.

шарниры соединения с рычагом

Уменьшение диаметров осей свыше 3 % номинальных размеров.

3.5. Блоки мульдозахватного устройства (поз. 9 и 10):

 

опорные детали

Наличие трещин или вмятин.

поверхность желоба и реборд блоков

Трещины желоба и реборд; наружные сколы реборд на длине более 50 % диаметра каната; износ ручья блока более 40 % первоначального радиуса.

3.6. Механизм управления мульдовыми захватами (поз. 1):

 

канат

Слабина каната при закрывании захватов, излишнее натяжение канатов при открывании.

состояние каната

Согласно ПБ 10-382-00.

полнота открывания и закрывания захватов

Неполное открывание и закрывание вследствие нечеткого срабатывания командоаппарата и тормоза.

Рис. 6.2.1. Мульдомагнитный кран

Рис. 6.2.2. Схема мульдозахватного устройства

6.3. Кран мульдозавалочный

Мульдозавалочный кран предназначен для загрузки и «планирования» шихты в мартеновских печах. Выполняется с двумя тележками: главной и вспомогательной, перемещающимися по одному мосту (рис. 6.3.1, 6.3.2). Главная тележка оборудована специальным мульдозавалочным устройством, вспомогательная - крюковая.

Таблица 6.3.1

Сборочная единица (узел), деталь. Проверяемые параметры

Вид дефекта, при котором дальнейшая эксплуатация не допускается

1

2

1. Мульдозавалочное устройство (рис. 6.3.2)

1.1. Хобот (поз. 1)

Наличие трещин, деформаций

1.2. Стопор (поз. 2)

Наличие трещин, деформаций

2. Механизм качания хобота

2.1. Кривошип, шатун (поз. 3)

Наличие трещин, деформаций

2.2. Оси шатуна (поз. 4)

Износ более 3 % первоначального диаметра

3. Фрикционная муфта механизма замыкания мульды (поз. 7)

Суммарный износ фрикционных дисков более 25 % первоначальной толщины

4. Цапфы рамы хобота (поз. 5)

Износ трущихся поверхностей более 3 % первоначального диаметра

5. Вкладыши цапф (поз. 6)

Износ трущихся поверхностей более 3 % первоначального диаметра

6. Колонна (поз. 8)

Наличие деформаций

7. Направляющие ролики колонны (поз. 9):

 

корпус

Наличие трещин, ослабление креплений; износ более 15 % первоначального размера

поверхности катания

8. Траверса подвески колонны (поз. 11)

Наличие трещин в сварных соединениях и в основном металле

9. Зубчатая передача механизма вращения колонны (поз. 10)

Износ шестерни и колеса более 25 % первоначальной толщины зуба; ослабление креплений; сколы, обломы свыше 10 % поверхности контакта

10. Фрикционная муфта червячного редуктора механизма поворота колонны (поз. 12)

Суммарный износ фрикционных элементов более 25 % первоначальной толщины

Рис. 6.3.1. Мульдозавалочный кран

Рис. 6.3.2. Механизмы мульдозавалочного устройства (начало)

Вид А

Вид Б

Рис. 6.3.2. Окончание

6.4. Краны литейные

Краны литейные (миксерные, заливочные, разливочные) - краны мостового типа, оборудованные механизмами подъема и опрокидывания литейного ковша (рис. 6.4.1, 6.4.2, 6.4.3), предназначены для разливки и заливки жидкого металла. Выполняются с двумя мостами для передвижения главной и вспомогательной тележек. Механизм главного подъема имеет два привода, соединенные между собой кинематически и имеющие храповые передачи для возможности работы одного привода при аварийной остановке второго.

Таблица 6.4.1

Сборочная единица (узел), деталь. Проверяемые параметры

Вид дефекта, при котором дальнейшая эксплуатация не допускается

1

2

1. Металлоконструкция моста

1.1. Стыки пролетных и концевых балок главного и вспомогательного мостов

Трещины в сварных швах и основном металле. Дефекты клепаных и болтовых соединений (п. 3.5.10) настоящего РД

1.2. Зоны приварки кронштейнов проходных галерей моста к стенкам балок

Трещины в зонах, указанных в приложениях 3, 8

1.3. Нижние пояса балок

Зоны перехода сечений, центральные зоны

2. Пролетные балки вспомогательного моста

2.1. Общие деформации балок:

 

остаточная деформация

См. приложения 8, 9.

деформация балок вверх за счет «переподъема» траверсы главного подъема

Свыше 1 / 150 пролета балки

2.2. Местные деформации нижних поясов

См. приложения 8, 9

3. Траверса механизма главного подъема (рис. 6.4.2)

3.1. Крюки (поз. 1):

 

сертификат и паспорт

Отсутствие.

документы о проведении рентгеноскопии крюков

Отсутствие.

тело крюка

Трещины на торцах пластин; зазор между пластин больше проектного, общая деформация в продольном направлении свыше 0,001 длины крюка; трещины в сварных швах соединения пластин.

смазка зевов пластинчатых крюков

Отсутствие

зев крюка

Износ накладки в зеве крюка свыше 50 % номинальной толщины накладки.

заклепки

Неплотность прилегания, деформация (срез) головки.

остальные элементы

См. приложения 8, 9

3.2. Металлоконструкция траверсы (рис. 6.4.2, поз. 2):

 

защитный экран (поз. 3)

Отсутствие, повреждения его креплений.

деформации траверсы

Во всех плоскостях свыше 0,05 расстояния между крюками.

корпус траверсы

Трещины в сварных швах и в основном металле.

остальные элементы

См. приложения 8, 9

4. Храповая передача механизма главного подъема (рис. 6.4.3)

4.1. Храповое колесо (поз. 7)

Сколы, трещины зубьев храпового колеса. Износ зуба свыше 10 % толщины

4.2. Собачки (поз. 2)

Деформации, смятия. Износ свыше 5 % толщины

4.3. Оси крепления собачек (поз. 3)

Повреждения осей. Износ свыше 3 % диаметра оси

4.4. Прижимные пружины (поз. 4)

Повреждения (потеря упругости, коррозия, уменьшение длины и др.)

4.5. Осевое крепление храпового колеса (поз. 5)

Отсутствие отдельных крепежных деталей, повреждения болтов крепления, отсутствие кантровки болтов

4.6. Остальные элементы

См. приложение 8

Рис. 6.4.1. Литейный кран

Рис. 6.4.2. Траверса литейного крана

Рис. 6.4.3. Храповая передача

6.5. Кран для раздевания слитков (стрипперный)

Краны предназначены для раздевания (выталкивания) стальных слитков из изложниц. Выполняются с тележкой, имеющей специальные рабочие органы: большие и малые клещи, стрипперный (выталкивающий) механизм (рис. 6.5.1, 6.5.2).

Таблица 6.5.1

Сборочная единица (узел), деталь. Проверяемые параметры

Вид дефекта, при котором дальнейшая эксплуатация не допускается

1

2

1. Подвеска патрона (рис. 6.5.2)

1.1. Клещевины (поз. 1):

 

общие и местные деформации

Общие деформации (стрела изгиба) более 10 мм на 1 м длины элемента, местные деформации свыше 6 толщин стенки.

тело клещевин

Трещины по сварке и основному металлу

1.2. Узел соединения клещевины с патроном (поз. 2):

 

палец

Износ более 3 % первоначального диаметра.

отверстие

Износ более 3 % первоначального диаметра

1.3. Рычажная система подвески клещевин (поз. 3):

 

отверстия

Износ более 3 % первоначального диаметра.

пальцы

Износ более 3 % первоначального диаметра

1.4. Клещи (поз. 4):

 

тело клещевин

Наличие трещин

1.5. Ролики клещевин (поз. 5):

 

поверхности роликов

Наличие трещин, выход роликов из пазов.

поверхности катания и реборд

Износ поверхности катания более 10 % первоначального диаметра

1.6. Узлы соединения клещевин с траверсой (поз. 6):

 

отверстия

Износ более 3 % первоначального диаметра.

пальцы

Износ более 3 % первоначального диаметра

1.7. Канаты подвески клещей (поз. 7)

Наличие браковочных признаков каната, указанных в инструкции по эксплуатации крана. При отсутствии использовать приложение 9, ПБ 10-382-00

1.8. Пружины амортизаторов подвески клещей (поз. 8). Состояние пружин

Наличие поломок. Потеря упругости, трещины, коррозия

1.9. Направляющие патрона (поз. 9):

 

поверхность патрона

Износ более 20 % первоначальной толщины.

крепление

Ослабление крепления

1.10. Наружная и внутренняя нарезки полого вала (поз. 10):

 

нарезки

Износ более 15 %.

нитки резьбы

Деформация ниток, сколы, смятия

1.11. Направляющие штемпеля

Износ более 15 % первоначальной толщины

1.12. Наконечник (поз. 11)

Деформации, при которых продольная ось наконечника отклонена от вертикали более 25 % диаметра наконечника. Ослабление крепления наконечника к штемпелю

2. Механизм управления большими клешами

2.1. Опорные узлы штанги

Ослабление крепления, деформация опор

2.2. Узлы крепления канатов к рычагам штанги:

 

оси

Износ осей более 10 % первоначального диаметра.

коуши

Износ коушей более 10 % первоначальной толщины, ослабление крепления канатов

2.3. Кривошип и шатун

Деформации, трещины

2.4. Узел соединения кривошипа с шатуном:

 

оси

Износ свыше 5 % первоначального диаметра.

отверстия

Износ свыше 5 % первоначального диаметра

3. Механизм главного подъема

3.1. Храповое колесо

Сколы, трещины зубьев храпового колеса, износ зуба свыше 10 %

3.2. Собачки

Деформации, смятия

3.3. Оси крепления собачек

Повреждения осей, износ свыше 3 % диаметра оси

3.4. Прижимные пружины

Повреждения

3.5. Шестерня и колесо открытой пары:

Ослабление крепления; отсутствие крепежных элементов.

зубья

Износ зубьев колес по толщине более 10 %

4. Шахта

4.1. Крепление шахты к раме тележки

Ослабление, срез, смятие крепежных элементов свыше 10 %

4.2. Металлоконструкция шахты

Трещины в основном металле и сварных швах

4.3. Направляющие патрона

Износ направляющих свыше 20 % номинала. Ослабление или повреждение креплений направляющих к шахте

Рис. 6.5.1. Стрипперный кран

Рис. 6.5.2. Подвеска патрона

6.6. Кран колодцевый

Колодцевые краны предназначены для перемещения слитков в отделениях нагревательных колодцев блюмингов или слябингов. Выполняются с тележкой, имеющей специальные рабочие органы - клещи (рис. 6.6.1, 6.6.2, 6.6.3).

Таблица 6.6.1

Сборочная единица (узел), деталь. Проверяемые параметры

Вид дефекта, при котором дальнейшая эксплуатация не допускается

1

2

1. Клещевая подвеска (рис. 6.6.3)

1.1. Клещи (поз. 1): поверхность клещей

Трещины

1.2. Ролики клещей (поз. 2):

 

тело роликов

Трещины, вмятины и выбоины.

поверхность катания ролика

Уменьшение диаметра вследствие износа более чем на 10 % первоначального.

реборды

Наличие износа реборд более 50 % их первоначальной толщины

1.3. Узел соединения клещевины с патроном (поз. 3):

 

пальцы

Уменьшение диаметра пальца более 3 % первоначального.

отверстие

Увеличение диаметра отверстия более 3 % первоначального

1.4. Крышка патрона (поз. 4). Состояние крепления

Ослабление крепления крышки к патрону

1.5. Рама клещей (поз. 5). Состояние поверхности клещей

Наличие трещин, вмятин, износ направляющих пазов более 15 % первоначального

1.6. Штанга (поз. 6)

Деформации любого вида

1.7. Упорный подшипник штанги (поз. 7)

Наличие трещин и разрывов в кольцах, накат на дорожках качения, ослабление посадок колец

1.8. Блоки механизма управления клешами (поз. 8):

 

опорные детали

Наличие трещин или вмятин.

поверхность желоба и реборд блоков

Трещины желоба и реборд, сколы реборд на длине более 50 % диаметра каната, износ ручья блока более 40 % первоначального радиуса

2. Лебедка подъема клещей (рис. 6.6.2)

2.1. Тормоз на валу барабана (поз. 1). Износ тормозной обкладки

Износ более 50 % первоначальной толщины, наличие трещин, сколов

2.2. Храповая передача в редукторе:

 

оси собачек

Деформация осей, трещины.

тела собачек

Выкрашивание тела собачек, трещины

2.3. Фрикционная передача в редукторе (поз. 2)

Суммарный износ фрикционных дисков более 25 % первоначальной толщины, ослабление пружины, криминация дисков

3. Механизм вращения клещей (рис. 6.6.3)

3.1. Шестерня и колесо открытой пары (поз. 9): зубья

Износ зубьев колес по толщине более 10 %

3.2. Подшипники вала шестерни открытой пары (поз. 10)

Наличие трещин и разрывов в кольцах, накат на дорожках качения, ослабление посадок колец

3.3. Подшипники пустотелого вала (поз. 12)

Большой радиальный зазор, отсутствие смазки

3.4. Фрикционная передача в редукторе (рис. 6.6.2, поз. 3):

 

диски

Суммарный износ фрикционных дисков более 25 % первоначальной толщины, криминация дисков.

пружины

Ослабление пружин

4. Обратные ролики на шахте (рис. 6.6.2, поз. 4):

обкатные ролики

Износ поверхности катания более 20 % первоначального диаметра. Наличие вмятин, трещин, выбоин

5. Направляющие патрона в шахте (рис. 6.6.3, поз. 11):

износ поверхности

Износ направляющих более 20 % первоначальной толщины.

крепление

Ослабление крепления

6. Лебедка управления клещами

6.1. Тормоз на выходном валу редуктора (рис. 6.6.2, поз. 5). Износ тормозной обкладки.

Износ более 50 % первоначальной толщины, наличие трещин, сколов

6.2. Фрикционная муфта. Состояние дисков, пружин

Суммарный износ фрикционных дисков более 25 % первоначальной толщины, слипание дисков

Рис. 6.6.1. Колодцевый кран

Рис. 6.6.2. Лебедка подъема клещей

Рис. 6.6.3. Клещевая подвеска

6.7. Кран посадочный

Посадочные краны используются для посадки в печь заготовок. Конструктивно выполняются с двумя тележками главной и вспомогательной, перемещающимися по одному мосту. Главная тележка имеет специальные рабочие органы - горизонтальные клещи, находящиеся в нижней части тележки (рис. 6.7.1, 6.7.2).

Таблица 6.7.1

Сборочная единица (узел), деталь. Проверяемые параметры

Вид дефекта, при котором дальнейшая эксплуатация не допускается

1

2

1. Клещевой захват (рис. 6.7.2)

1.1. Клеши (поз. 1)

Наличие трещин, деформаций

1.2. Рычаги (поз. 2)

Наличие трещин, деформаций

1.3. Оси клещей (поз. 3)

Износ трущихся поверхностей более 3 % первоначального диаметра

1.4. Упоры клещей (поз. 15)

Наличие трещин, деформаций

1.5. Оси рамы клещей (поз. 4)

Износ трущихся поверхностей более 3 % первоначального диаметра

1.6. Рама клещей (поз. 5)

Наличие трещин, деформаций

1.7. Оси серег (поз 6)

Износ поверхностей более 3 % первоначального диаметра

1.8. Отверстия в траверсах (поз. 6)

Износ поверхностей более 3 % первоначального диаметра

1.9. Приводной винт (поз. 7)

Износ резьбы винта (гайки), превышающий 15 % первоначального шага резьбы

1.10. Пружины клещей (поз. 8). Состояние пружины

Наличие поломок, потеря упругости, коррозия

2. Колонна (поз. 10)

Наличие деформаций

3. Механизм зажатия (рис. 6.7.2)

3.1. Фрикционная муфта механизма зажатия (поз. 9)

Суммарный износ фрикционных накладок (дисков) более 25 % первоначальной толщины

4. Механизм качания (рис. 6.7.1)

4.1. Кривошип (поз. 1)

Трещины, деформации

4.2. Шатун (поз. 11)

Трещины, деформации

4.3. Оси шатуна (рис 6.7.2, поз. 12)

Износ более 3 % первоначального диаметра

4.4. Пружинный амортизатор (рис. 6.7.2, поз. 13). Состояние пружины

Поломка пружины, большая просадка

4.5. Ролики наружной шахты (рис. 6.7.2, поз. 14):

 

поверхности катания крепление роликов

Наличие трещин, износ поверхности катания более 15 % первоначального диаметра. Ослабление креплений

Рис. 6.7.1. Кран посадочный

Рис. 6.7.2. Клещевой захват

6.8. Кран с подхватами (лапами)

Краны с подхватами используются для перегрузки заготовок (проката). Конструктивно выполняется со специальной тележкой, имеющей верхнюю и нижнюю части. Верхняя часть имеет возможность вращения по круговым рельсам, закрепленным на нижней части тележки. В качестве грузозахватного приспособления используются траверса с лапами, а также электромагниты (рис. 6.8.1, 6.8.2).

Таблица 6.8.1

Сборочная единица (узел), деталь. Проверяемые параметры

Вид дефекта, при котором дальнейшая эксплуатация не допускается

1

2

1. Подвеска подхватов (рис. 6.8.2)

1.1. Подхваты (поз. 4)

Наличие трещин, деформаций более 30 мм на 1 м длины в горизонтальной плоскости

1.2. Соединения подхватов с траверсой (поз. 11):

 

пальцы (поз. 9)

Износ более 3 % первоначального диаметра.

отверстия

Износ более 3 % первоначального диаметра

1.3. Узлы крепления подхватов к поперечной балке (поз. 5)

Ослабление крепления

1.4. Блоки подхватов (поз. 6)

Износ ручья блока более 40 % первоначального радиуса, трещины желоба и реборд, сколы реборд

1.5 Узлы крепления цепей магнитов к траверсе (поз. 10). Состояние крепления

Ослабление крепления

1.6. Штанги (поз. 1)

Поперечные деформации более 5 мм на 1 метре длины

1.7. Направляющие ролики штанг (поз. 2)

Наличие трещин, уменьшение диаметра более 5 % первоначального, наличие износа реборд более 30 % их первоначальной толщины

1.8. Траверса (поз. 11):

 

деформации траверсы

Во всех плоскостях свыше 0,05 расстояния между крюками.

корпус траверсы

Трещины в сварных швах и основном металле.

1.9. Предохранительная муфта механизма подъема (поз. 7):

 

диски

Износ дисков более 30 % первоначальной толщины, прилипание дисков.

пружины

Ослабление пружины

1.10. Электромагнит (поз. 3)

См. табл. 6.1.1

1.11. Траверсы (поз. 1)

Износ более 3 % первоначального диаметра

Рис. 6.8.1. Кран с подхватами (лапами)

Рис. 6.8.2. Схема подвески подхватов

6.9. Кран мостовой с вращающейся тележкой и управляемыми клещами для транспортирования слябов

Кран мостовой с вращающейся тележкой и управляемыми клещами используется для транспортирования слябов. Выполняется с тележкой, имеющей верхнюю поворотную часть, траверсу с установленными на ней клещами (рис. 6.9.1-6.9.6).

Таблица 6.9.1

Сборочная единица (узел), деталь. Проверяемые параметры

Вид дефекта, при котором дальнейшая эксплуатация не допускается

1

2

1. Металлоконструкции моста (рис. 6.9.1)

1.1. Мост (поз. 1), тележка (поз. 3):

 

общие и местные деформации

См. приложение 8 [4.4].

состояние элементов металлоконструкций

Трещины в сварных швах и основном металле несущих конструкций.

шарниры соединения полумостов (поз. 2)

Износ шарниров соединения полумостов более 3 % номинального размера

2. Тележка (рис. 6.9.2 - 6.9.6)

2.1. Кольцевой рельс (рис. 6.9.3, поз. 1):

 

поверхность катания

Износ поверхности катания и внутренней поверхности кольцевого рельса свыше 15 % номинальных размеров рельса.

общее состояние рельса крепление рельса

Трещины, сколы и другие дефекты рельса Нарушение крепления кольцевого рельса к нижней раме

2.2. Направляющие ролики (рис. 6.9.3, поз. 2)

Износ поверхности катания горизонтальных направляющих роликов свыше 5 % номинального диаметра ролика

2.3. Механизм управления клещами (рис. 6.9.4.):

 

канат

Слабина каната управления при наложении клещевин на слябы вследствие нечеткого срабатывания вспомогательного тормоза (поз. 1).

раскрытие клещевин

Нечеткое срабатывание командоаппарата (поз. 2) в крайних положениях клещевин при максимальном и минимальном их раскрытии.

храповое устройство (встроенное в барабан) (поз. 3)

Повреждения храпового устройства

2.4. Траверса, металлоконструкция (рис. 6.9.5, поз. 1):

 

общие деформации

Общие деформации свыше 0,001 длины по осям крайних захватов.

элементов металлоконструкций

Трещины в сварных швах и основном металле.

местные деформации

Местные деформации, превышающие значения, приведенные в приложении 8

2.5. Блоки (рис. 6.9.5, поз. 2)

Дефектация по табл. 6.4.1

2.6. Подвеска центрального крюка (рис. 6.9.5, поз. 3)

Дефектация по табл. 6.7.1

2.7 Подвески боковых крюков

Дефектация по табл. 6.4.1

2.8. Проушины и оси подвески клещевого устройства (рис. 6.9.5, поз. 4)

Дефектация по табл. 6.7.1

2.9. Крюки (рис. 6.9.5, поз. 5)

Износ более 10 % первоначальных размеров

2.10. Клещевое устройство, рама (рис 6.9.6, поз. 7):

 

состояние металлоконструкции

Трещины в сварных швах и основном металле.

местные деформации

Местные деформации, превышающие значения, приведенные в приложении 8

2.11. Клещевины (рис. 6.9.6, поз. 2):

 

общие деформации

Видимые общие деформации.

состояние металлоконструкций

Трещины в сварных швах и основном металле.

крепление губок в клещевине

Ослабление крепления губок в клещевине.

состояние губок

Износ губок свыше 50 % высоты рифления

2.12. Рычажная система (рис. 6.9.6, поз. 3):

 

тело рычага

Трещины в сварных швах и основном металле рычагов.

общие деформации

Видимые общие деформации рычагов.

шарнирные соединения

Износ осей и отверстий шарнирных соединений свыше 3 % номинального диаметра.

торцевые крепления осей шарниров

Повреждения торцевых креплений

2.13. Серьга (рис. 6.9.6, поз. 4)

Износ более 5 % номинального размера

Рис. 6.9.1. Кран мостовой с вращающейся тележкой и управляемыми клещами для транспортирования слябов

Рис. 6.9.2. Тележка крана с управляемыми клещами

Рис. 6.9.3. Механизм вращения

Рис. 6.9.4. Механизм управления клещами

Рис. 6.9.5. Траверса

Рис. 6.9.6. Клещевое устройство

6.10. Кран мостовой магнитный с поворотной тележкой и траверсой на канатах

Кран (рис. 6.10.1) состоит из моста (поз. 1), поворотной тележки (поз. 2) и траверсы (поз. 3) с грузоподъемными магнитами (поз. 4) и конструктивно в целом аналогичен крану с поворотной тележкой и управляемыми клещами. Отличия заключаются в том, что на траверсе вместо клещевых устройств подвешены грузовые магниты и на тележке установлен кабельный барабан для токоподвода к магнитам. В связи с этим методика обследования магнитного крана с поворотной тележкой аналогична методике обследования крана с управляемыми клещами.

Специфические дефекты магнитного крана приведены в табл. 6.10.1.

Таблица 6.10.1

Сборочная единица (узел), деталь. Проверяемые параметры

Вид дефекта, при котором дальнейшая эксплуатация не допускается

1

2

1. Кабельный барабан

1.1. Состояние привода барабана:

 

привод через зубчатые передачи

Износ зубьев шестерен свыше 20 % номинального значения.

цепной привод

Износ зубьев звездочек и втулок цепи свыше 20 % номинальных значений; недостаточное натяжение цепи.

вращение барабана

Заедание вращения при наматывании

1.2. Состояние питающей части:

 

скользящие контактные элементы

Задиры на поверхности и сколы тела, загрязнение контактных элементов.

щетки

Заедание щеток.

крепление кабеля

Отсутствие стопорных устройств крепления конца кабеля.

изоляция

Повреждения изоляции, снижение сопротивления изоляции ниже 0,5 МОм

2. Электромагниты (рис. 6.10.1, поз. 4)

2.1. Состояние электромагнитов:

 

корпус

Наличие трещин, сколов.

проушины

Износ более 5 % первоначального диаметра.

наличие электропитания при снятии напряжения с крана приборами безопасности

Отсутствие электропитания. Неисправность электропроводки.

плотность намотки обмоток

Неплотности намотки обмоток

Рис. 6.10.1. Мостовой электрический кран грузоподъемностью 20 т с поворотной тележкой и траверсой на канатах

6.11. Кран мостовой с механизмом вращения главного крюка

Кран (рис. 6.11.1) состоит из моста (поз. 1), грузовой тележки (поз. 2) с двумя механизмами подъема. Крюк главного подъема подвешен на траверсе (поз. 3) и может принудительно вращаться вокруг вертикальной оси с помощью привода (поз. 4), установленного на траверсе. Токоподвод к механизму вращения крюка осуществляется кабелем, навиваемым на кабельный барабан.

Рис. 6.11.1. Мостовой кран грузоподъемностью 50 / 20 т с механизмом вращения главного крюка

Обследование металлоконструкции крана, его механизмов и электрооборудования в целом аналогично обследованию мостового крана общего назначения; специфические работы по кабельному токоподводу аналогичны обследованию магнитных кранов.

Статические и динамические испытания проводятся аналогично испытаниям кранов общего назначения.

6.12. Кран ковочный

Ковочные краны применяются в кузнечно-прессовых цехах для ковки поковок прессами. Конструктивно кран выполняется с двумя мостами для перемещения главной и вспомогательной тележек. На крюке главного подъема устанавливается ковочный кантователь с шарнирной цепью. На крюке вспомогательного подъема посредством цепи подвешивается противовес (п. 6.12.1).

Таблица 6.12.1

Сборочная единица (узел), деталь. Проверяемые параметры

Вид дефекта, при котором дальнейшая эксплуатация не допускается

1

2

1. Кран ковочный (рис. 6.12.1, поз. 1)

1.1. Стяжка мостов

Износ шарниров свыше 3 % номинального размера

2. Траверса подвески крюка (рис. 6.12.1, поз. 2)

2.1. Состояние траверсы подвески крюка:

 

общая деформация

Общие деформации свыше 0,001 длины по плоскостям крайних блоков.

состояние металлоконструкции

Трещины в сварных швах и основном металле.

местные деформации

Местные деформации, превышающие значения, приведенные в приложении 8 [4.4]

3. Механизм подъема главной тележки (рис. 6.12.3)

3.1. Храповые устройства редукторов (поз. 1)

См. разд. 6.4 «Краны литейные»

3.2. Кабельный барабан (поз. 2)

См. разд. 6.1 «Кран магнитно-грейферный»

3.3. Кольцевой токоподвод (поз. 3)

См. разд. 6.1 «Кран магнитно-грейферный»

3.4. Цепная передача (поз. 4)

См. разд. 6.1 «Кран магнитно-грейферный»

3.5. Пружины верхних блоков (поз. 5)

Поломка пружины, большая осадка

3.6. Рычаги растормаживающего устройства (поз. 6)

Общая деформация, смятие в зоне контакта, трещины

4. Кантователь (рис. 6.12.2)

4.1. Пластинчатая цепь и звездочка (поз. 1)

Износ втулок цепи и зубьев звездочки свыше 20 % номинальных значений

4.2. Зубчатая передача (поз. 2)

Износ зубьев шестерен свыше 20 % номинальных значений толщины зуба

4.3. Фрикционная муфта (поз. 3)

Суммарный износ фрикционных дисков более 25 % первоначальной толщины

4.4. Пружины (поз. 4)

См. п. 3.5

4.5. Болты крепления нижней (поз. 5) и верхней (поз. 6) балок

Ослабление затяжки, ослабление посадки чистых болтов за счет смятия поверхностей

4.6. Траверса (поз. 8) и направляющие траверсы (поз. 7)

Чрезмерный износ, задиры поверхностей, отсутствие смазки

4.7. Цапфы верхней траверсы (поз. 9)

Износ более 3 % первоначального диаметра

4.8. Пружины (поз. 10)

См. п. 3.5

4.9. Выдвижная ось (поз. 11)

Износ более 3 % первоначального диаметра

4.10. Вилка (поз. 12)

Износ более 3 % первоначального диаметра отверстия под ось

Рис. 6.12.1. Кран ковочный (вид сбоку)

Рис. 6.12.2. Кантователь

Рис. 6.12.3. Главная тележка ковочного крана

6.13. Кран загрузочный с лопатой

Кран мостового типа, оборудованный хоботом с лопатой для завалки слитков и пакетов в медеплавильные печи (рис. 6.13.1).

Таблица 6.13.1

Сборочная единица (узел), деталь. Проверяемые параметры

Вид дефекта, при котором дальнейшая эксплуатация не допускается

1

2

1. Лопата (поз. 1):

 

деформация

Деформация более 30 мм на 1 м длины в горизонтальной плоскости.

состояние металлоконструкции

Трещины

2. Ролики лопаты:

 

поверхность катания

Наличие трещин, уменьшение диаметра более 10 % первоначального.

реборды

Наличие износа реборд более 50 % их первоначальной толщины

3. Узел соединения основания хобота со средней частью и средней части с концевой (поз. 2)

Ослабление креплений

4. Основание хобота (поз. 3)

Наличие трещин по основному металлу и сварочным швам

5. Направляющие роликов в концевой части хобота

Износ более 30 % высоты реборд роликов

6. Верхние и нижние тяги подвески хобота (поз. 4):

 

тело

Наличие трещин.

деформации

Поперечные деформации более 10 мм на длине тяги.

отверстия крепления осей

Износ более 3 % первоначального диаметра

7. Оси верхних и нижних тяг (поз. 5)

Износ более 3 % первоначального диаметра

8. Шатуны механизма подъема:

 

тело

Наличие трещин.

деформации

Поперечные деформации более 10 мм на их длине.

отверстия крепления осей

Износ более 3 % первоначального диаметра

9. Пальцы шатунов (поз. 6)

Износ пальцев более 3 % первоначального диаметра

10. Шестерня и рейка механизма сбрасывания, износ зубьев

Суммарный износ зубьев шестерни и рейки более 20 % первоначальной толщины

11. Открытая передача поворота кабины:

 

зубья

Износ зубьев колес более 20 % первоначальной толщины.

смазка

Отсутствие смазки

12. Подпятник и подшипники механизма поворота

Наличие трещин в кольцах, большой радиальный зазор, ослабление посадок колец, сильный нагрев (более 70 °С) при работе

Рис. 6.13.1. Загрузочный кран с лопатой

6.14. Мостовые краны-перегружатели с ферменными металлоконструкциями

Общий объем работ по обследованию металлоконструкций, механизмов, электрооборудования и приборов безопасности регламентируется РД 10-112-96, РД 10-112-5-97 и настоящим РД.

В настоящем разделе рассматриваются только специфические вопросы обследования рудных и угольных мостовых кранов-перегружателей с решетчатыми металлоконструкциями и грейферными тележками нормального исполнения (рис. 6.14.1).

Таблица 6.14.1

Сборочная единица (узел), деталь. Проверяемые параметры

Вид дефекта, при котором дальнейшая эксплуатация не допускается

1. Узел с шарнирным соединением опор и пролетного строения (рис. 6.14.1, 6.14.2)

Износ цапф или отверстий в опорных балках (узлы I, III), узла опирания рычага опоры более 10 %

Износ опорного шара (узел II) более 10 %

Износ скользящих опор более 10 %

2. Ездовые балки (рис. 6.14.2)

Трещины в стенках балок вдоль верхнего пояса (у сварных балок двутаврового сечения)

Ослабление заклепок (болтов) в узлах крепления балок к консолям и в стыках секций ездовых балок

Трещины в стойках вспомогательных ферм в узлах их соединения с консолями крепления ездовых балок

3. Механизм передвижения тележки

Заклинивание направляющих подвески

Разрушение пружин подвески

Смыкание витков пружин

Повреждение крепления пружин

Перегружатель конструкции СКМЗ грузоподъемностью 40 т

Рис. 6.14.1. Мостовой кран-перегружатель

Рис. 6.14.2. Места наиболее вероятного возникновения дефектов

Приложение 7 [4.4]

ПРОВЕДЕНИЕ ГРУЗОВЫХ ИСПЫТАНИЙ МОСТОВЫХ МЕТАЛЛУРГИЧЕСКИХ КРАНОВ

1. Статические испытания

Целями статических испытаний являются:

Проверка несущей способности металлоконструкции по условиям прочности (отсутствие повреждений конструкции в виде трещин, потери общей и местной устойчивости, появление остаточных деформаций).

Проверка несущей способности металлоконструкции по условиям деформативности (величина упругих прогибов металлоконструкции).

Традиционная методика проведения статических испытаний в соответствии с ПБ 10-382-00 предусматривает испытания грузом 1,25 номинальной грузоподъемности с замером упругой деформации моста от действия этой нагрузки.

Для специальных металлургических мостовых кранов данная методика неэффективна, так как для многих типов кранов (колодцевых, стрипперных и др.) масса главной тележки на порядок больше, чем номинальная грузоподъемность крана, поэтому результаты испытаний определяются в первую очередь нагрузками и деформациями, вызванными самой массой тележки, а не массой груза.

В связи с этим критерием для оценки работоспособности конструкции являются величины упругих деформаций моста от суммарного веса тележки и испытательного груза.

Специальные металлургические краны в зависимости от их назначения могут иметь:

одну грузовую тележку (мульдомагнитные, стрипперные, колодцевые и др.);

две грузовые тележки, перемещающиеся по одним и тем же пролетным балкам моста (магнитные для транспортировки листа или длинномерного проката);

две грузовые тележки, перемещающиеся по различным ездовым балкам (литейные краны, посадочные краны, перегрузочные мосты и др.).

Поэтому порядок проведения грузовых испытаний для различных типов кранов должен определяться конструкцией последних.

1.1. Порядок проведения испытаний кранов с одной грузовой тележкой

Расчетные схемы приведены на рис. 7.1, 7.2.

Рис. 7.1. Схемы к проведению статических грузовых испытаний кранов с одной тележкой

Рис. 7.2. Схемы к расчету прогибов пролетных балок двухбалочных мостовых кранов и пролетных балок главных мостов литейных кранов:

а - при четырехколесной тележке;

б - при восьмиколесной тележке

1.1.1. Тележка без груза устанавливается у концевой балки моста (на тупиковом упоре) (рис. 7.1, а). С помощью нивелира или отвеса фиксируется отметка (контрольная точка) пролетной балки в середине пролета моста. (Нивелир устанавливается или на противоположной концевой балке, или на подкрановой балке в соседнем пролете, или на соседнем кране.)

1.1.2. Тележка без груза перемещается в середину пролета крана. Замеряется величина прогиба балок в контрольной точке (середина пролета) f1 (рис. 7.1, б), что соответствует величине упругого прогиба от веса тележки.

1.1.3. Производится подъем испытательного груза GQИ = 1,25 ´ GH и замеряется величина прогиба балок f2 (рис. 7.1, в) в той же точке. Разность значений f1 и f2 соответствует прогибу от веса испытательного груза

,                                                             (1)

где fQИ - прогиб от веса испытательного груза.

1.1.4. Производится опускание груза и возвращение тележки в исходное положение; фиксируется факт отсутствия (или наличия) остаточной деформации конструкции.

1.1.5. Замеренные величины упругих деформаций сравниваются с их расчетными значениями.

Упругий прогиб моста при переезде тележки от концевой балки в середину пролета

,                                             (2)

от веса тележки и испытательного груза

,                             (3)

где GT - вес тележки, кН;

GQИ - вес испытательного груза, кН;

L - пролет моста, м;

Е - модуль упругости материала моста, МПа;

J - момент инерции поперечного сечения одной пролетной балки при изгибе в вертикальной плоскости;

bT - база тележки (четырех- или восьмиколесной) (см. рис. 7.2).

;                                               (4)

.                                                (5)

Дополнительный упругий прогиб только от веса испытательного груза

при четырехколесной тележке:

,                       (6)

при восьмиколесной тележке:

.                 (7)

1.1.6. Результаты испытаний остаются положительными, если:

не зафиксированы остаточные деформации конструкции после возвращения тележки в первоначальное положение;

если имеется соответствие расчетных и фактических упругих деформаций

f2 £ 0,9 ´ f2p.                                                         (8)

Невыполнение условия (8) свидетельствует об изменении размеров несущих элементов (как правило, вследствие коррозии) или изменении свойств металла и требует дополнительных специальных исследований.

1.2. Особенности проведения статических испытаний кранов с двумя одинаковыми грузовыми тележками на одних пролетных балках

1.2.1. Обе тележки (T1, и T2) устанавливаются у противоположных концевых балок. Фиксируется отметка середины пролета моста (рис. 7.3, а).

1.2.2. Обе тележки перемещаются в середину пролета до срабатывания их ограничителей перемещения. Фиксируется прогиб балок моста в середине пролета (f1 - по рис. 7.3, б); в этом случае обе тележки рассматриваются как одна восьмиколесная тележка.

1.2.3. Производится подъем контрольных грузов одновременно двумя механизмами подъема; вес испытательного груза GQИ = 2 ´ 1,5 ´ GH, где GH - вес номинального груза для одного механизма подъема.

Замеряется упругий прогиб моста f2 (рис. 7.3, в).

1.2.4. Производится опускание груза и возвращение тележек в исходное положение.

1.2.5. Производится сравнение фактических и расчетных прогибов по пп. 1.1.5 и 1.1.6.

Рис. 7.3. Схема к проведению статических испытаний кранов с двумя грузовыми тележками на одних пролетных балках:

а - п. 1.2.1; б - п. 1.2.2, б; в - п. 1.2.3

1.3. Особенности проведения статических грузовых испытаний литейных кранов

1.3.1. Особенностью конструкций литейных кранов является использование двух грузовых тележек - главной, обеспечивающей подъем и транспортирование ковшей с металлом, и вспомогательной, обеспечивающей кантовку ковша и выполнение вспомогательных операций (рис. 7.4).

При работе главной тележки часть нагрузки передается на балки вспомогательного моста, что должно быть учтено при проведении грузовых испытаний крана.

Рис. 7.4. Схема моста литейного крана:

ГТ - главная тележка; ВТ - вспомогательная тележка; 1 - пролетная балка главного моста; 2 - концевая балка главного моста; 3 - пролетная балка вспомогательного моста; 4 - концевая балка вспомогательного моста

1.3.2. Статические испытания главного моста производятся аналогично п. 1.1, при этом вспомогательная тележка (ВТ) должна быть установлена у одной из концевых балок.

1.3.3. Кроме замера деформаций главных пролетных балок должны быть произведены замеры деформаций пролетных балок вспомогательного моста при положении главной тележки в середине пролета моста. Расчетная величина упругого прогиба середины пролетных балок вспомогательного моста при подъеме груза главной тележкой (ГТ) определяется по формуле

,   (9)

где GГТ - вес главной тележки, кН;

GQИГ - испытательный груз главной тележки, кН;

Е - модуль упругости материала;

JГ - момент инерции каждой пролетной балки главного моста при изгибе в вертикальной плоскости;

C1, C2 - погонная жесткость пролетных балок главного и вспомогательного моста;

bТВ - база вспомогательной тележки;

bГТ - база главной тележки;

СКВК - крутильная жесткость концевой балки вспомогательного моста;

LГ, LВ - размеры (см. рис. 7.4).

1.3.4. После проведения грузовых испытаний главной тележки проводятся грузовые испытания вспомогательной тележки путем подъема испытательного груза GQИВ = 1,25 ´ GQHB вспомогательной тележки. При проведении испытаний главная тележка без груза устанавливается в середине пролета крана, что позволит вести измерение деформаций балок вспомогательного моста с площадки главной тележки.

При проведении испытаний достаточно замерить только величину упругой деформации пролетных балок вспомогательного моста при подъеме испытательного груза GQИВ = l,25 ´ GQHB и сравнить ее с расчетным значением

.                                                                                                                                                (10)

2. Динамические испытания мостовых металлургических кранов

Динамические испытания мостовых металлургических кранов производятся в соответствии с ПБ 10-382-00.

В программу испытаний могут быть внесены дополнения, связанные с особенностью выполнения кранов технологических операций (например, движение крана с груженой тележкой, расположенной у одной из концевых балок, или испытания механизма поворота тележки и др.).

3. Особенности грузовых испытаний кранов-перегружателей

3.1. Особенностью конструкции грейферных кранов-перегружателей является наличие двух тележек: главной тележки, оборудованной грейфером и имеющей возможность перемещения по всему пролетному строению, и ремонтной тележки, расположенной в ремонтной консоли (за жесткой опорой), имеющей возможность перемещения только в пределах жесткой консоли.

3.2. Порядок проведения статических грузовых испытаний

3.2.1. Главная тележка устанавливается над жесткой опорой, ремонтная тележка у тупиковых упоров - у жесткой консоли. С помощью нивелира, установленного над гибкой опорой, фиксируются начальные точки отсчета в середине пролетного строения и на крайних точках консолей (рис. 7.5, а).

Дальнейшие измерения прогиба пролетного строения производятся аналогично п. 1.1.

3.2.2. Производится перемещение главной тележки в середину пролетного строения. Замеряется прогиб пролетного строения от веса тележки без груза f1 (рис. 7.5, б) в середине пролета.

3.2.3. Производится зачерпывание груза грейфером. Масса зачерпнутого груза определяется по проектной емкости грейфера и насыпному весу материала. Замеряется величина упругого прогиба пролетного строения при совместном действии веса тележки и груза f2 (рис. 7.5, б).

3.2.4. Производятся разгрузка грейфера и перемещение тележки в первоначальное положение (над жесткой опорой), фиксируется факт отсутствия остаточной деформации пролетного строения.

3.2.5. Тележка без груза перемещается на одну из консолей, замеряется прогиб конца консоли fЗЖ, fЗГ (рис. 7.5, в).

3.2.6. Производится зачерпывание груза грейфером. Тележка с груженым грейфером перемещается поочередно на жесткую и гибкую консоли (до тупиковых упоров), замеряется величина упругого прогиба консолей fЗГЖ, fЗГГ.

Рис. 7.5. Схемы к проведению статических испытаний:

а - исходное положение; б - положение порожней тележки в середине пролета; замер прогиба f1; замер упругого прогиба после зачерпывания груза грейфером f2; в - замер упругих деформаций консолей от веса тележки с груженым грейфером; ГТ - главная тележка, ВТ - вспомогательная тележка

3.2.7. Тележка возвращается в исходное положение (над жесткой опорой), фиксируется факт отсутствия остаточных деформаций консолей.

3.2.8. Одновременно с измерением деформаций металлоконструкций замеряется величина упругой просадки кранового пути.

3.2.9. Измеренные величины упругих деформаций металлоконструкции сравниваются с их расчетными значениями.

Расчетное значение упругого прогиба ригеля в середине пролета может быть определено по формуле

,                                                         (11)

где GИ - вес испытательной нагрузки;

для п. 3.2.2 - вес тележки без груза;

для п. 3.2.4 - вес тележки с груженым грейфером;

L - пролет крана между опорами;

Е - модуль упругости материала;

J - суммарный момент инерции пролетной части ригеля при изгибе в вертикальной плоскости. Расчетное значение прогиба концов консолей определяется по выражению

,                                 (12)

где GИ - испытательная нагрузка (вес главной тележки с груженым грейфером);

lkl - вылет консоли от оси опоры;

L - пролет между опорами крана;

bГТ - база тележки (см. рис. 7.5).

3.2.10. Тележка возвращается в исходное положение (над жесткой опорой), фиксируется отсутствие остаточных деформаций конструкции.

3.2.11. Результаты статических испытаний считаются положительными, если:

после испытаний не зафиксировано появления остаточных деформаций;

фактические величины деформаций соответствуют условию

flИ £ 0,8 ´ flp,                                                           (13)

где flИ - фактические величины упругих прогибов;

flp - расчетные величины упругих прогибов.

3.3. Динамические испытания

3.3.1. Динамические испытания кранов, крана-перегружателя, механизмов, кроме механизма движения крана, производятся в соответствии с требованиями ПБ 10-382-00.

3.3.2. Особенностью динамических испытаний механизмов передвижения кранов-перегружателей является проверка отсутствия перекосов моста. Движение перегружателя является чисто переустановочной операцией. В связи с этим динамические испытания механизма движения крана производятся при положении главной тележки в середине пролета крана. Фиксируется факт отсутствия перекоса моста свыше пределов, указанных в паспорте крана. Замер фактической величины производится следующим образом:

а) кран выравнивается на подкрановых путях;

б) на стороне гибкой опоры у рельсового пути устанавливаются две рейки: первая - как начальная отметка, вторая - на расстоянии, равном предельно допустимой величины забегания гибкой опоры;

в) включается привод механизма передвижения на гибкой опоре при остановленном приводе на жесткой опоре. Проверяется срабатывание ограничителя перекоса крана.

3.3.3. Статические испытания ремонтной тележки могут не производиться (масса тележки и грузов на порядок меньше, чем масса главной тележки). Динамические испытания ремонтной тележки проводятся в обычном порядке в соответствии с ПБ 10-382-00.

Приложение 8 [4.4]

Величины предельно допустимых остаточных деформаций металлоконструкций

Вид остаточной деформации

Графическое представление деформации

Предельно допустимая величина остаточной деформации

1

2

3

Отрицательный остаточный прогиб каждой из главных балок (тележка без груза у тупикового упора или над опорой козлового крана)

а) f1 £ 0,0022 ´ lк

эксплуатация крана допускается до следующего очередного обследования;

б) 0,0022 ´ lк < f1 £ 0,0035 ´ lк

эксплуатация крана разрешается на срок не более 1 года или до достижения металлоконструкцией прогиба предельной величины, при условии выполнения контрольных замеров f1 не реже 1 раза в 4 мес;

в) f1 > 0,0035 ´ lк

эксплуатация крана должна быть прекращена, а его металлоконструкция - подвергнута реконструкции;

г) f2 £ 0,0035 ´ lконсоли

эксплуатация крана допускается до следующего очередного обследования

Изогнутость главных балок в плане

д) f1 £ 0,002 ´ lк

эксплуатация крана допускается до следующего обследования, если кривизна балок не сопровождается нарушением допуска на сужение/уширение колеи рельсового пути грузовой тележки

Скручивание главных балок

е) fсд £ 0,001 ´ lконсоли

эксплуатация однобалочного крана (с ездой тележки по верхнему поясу главной балки) допускается до следующего обследования;

ж) fск £ 0,0022 ´ lк

эксплуатация однобалочного крана (с ездой тележки по нижнему поясу) или двухбалочного крана с коробчатым или ферменным сечением главных балок допускается до следующего обследования

Разность диагоналей поперечного сечения фермы

з) mod(d1 - d2) £ 0,001 ´ B

эксплуатация фермы, имеющей указанную деформацию в разъемном стыке, возможна до следующего очередного обследования;

и) mod(d1 - d2) £ 0,004 ´ B

эксплуатация фермы, имеющей указанную деформацию в сечениях (кроме разъемного стыка), возможна до следующего очередного обследования

Приложение 9 [4.4]

Предельные величины местных остаточных деформаций металлоконструкций

В таблице установлены две граничные величины остаточной деформации: нижняя (в числителе), при которой возможно продление срока службы несущих элементов металлоконструкции до следующего обследования без дальнейших расчетных обоснований, и верхняя (в знаменателе), которая не может быть превзойдена вне зависимости от результатов расчета и является запрещением дальнейшей эксплуатации (без проведения ремонта).

Возможность продления срока эксплуатации металлоконструкции, элементы которой имеют остаточные деформации, находящиеся в диапазоне между верхней и нижней граничными величинами, должна быть подтверждена расчетом на прочность, а в необходимых случаях - на устойчивость и усталостную прочность. При этом следует учитывать уменьшение размеров элементов вследствие коррозии (согласно приложению 9 [4.4]).

В необходимых случаях расчеты рекомендуется выполнять с использованием фактических характеристик материалов.

Таблица 9.1.1

Вид элемента и характер остаточной деформации

Тип сечения

Графическое представление деформации

Исходное напряженное состояние элемента

Сжатие

Растяжение

Теоретически не нагружен (поддерживающий элемент)

1

2

3

4

5

6

Изогнутость (погибь) стержня фермы - fр или fп

Все типы

, но не более 0,25 nп или 0,25 np

, но не более 0,5 nп или 0,5 np

, но не более 0,75 nп или 0,75 np

Местные вмятины D / f (D - диаметр трубы)

Труба

Местные вмятины f (t - толщина полки)

Полка уголка, швеллера, двутавра

Местные вмятины f (t - толщина свеса)

Свес пояса

Нет

Отклонение от плоскостности (вогнутость или выпуклость листа балки) - f. Измеряется на участке между главными (большими) диафрагмами, но на длине £ 2000 мм

Пояс коробчатой балки

 

Отклонение от плоскостности (вогнутость или выпуклость листа балки) f. Измеряется на участке между главными (большими) диафрагмами

Стенка коробчатой балки

1,5 ´ tc при , при ;

Нет

Приложение 10 [4.4]

Отбор проб для определения химического состава и механических свойств несущих элементов металлоконструкции крана

1. Пробу металла для химического анализа берут из основных несущих элементов металлоконструкции крана в количестве одной пробы из несущего элемента. Пробы берут:

из верхнего и нижнего поясов главных балок коробчатого сечения мостовых (козловых) кранов и из нейтральной зоны, расположенной на половине высоты стенок;

из верхнего и нижнего поясов главной фермы, опорных и двух средних раскосов ферменных конструкций мостовых кранов. (В случае если главная ферма имеет раскосы, установленные при ремонте металлоконструкции, из них (при отсутствии данных на примененный металл) также выполняется взятие проб.)

Для кранов, имеющих неоднократные обрывы нижнего пояса вспомогательной фермы, выполняют взятие пробы из него.

2. Пробу на химический состав берут в количестве не менее 30 г. Место отбора пробы должно быть отмечено на эскизе или чертеже общего вида крана. Поверхность в месте отбора пробы должна быть тщательно очищена от краски, ржавчины, окалины, масла и влаги (до металлического блеска), а затем обезжирена.

3. Стружка для анализа может быть получена пневмозубилом с кромки элемента либо сверлением отверстия.

4. В случае если стружку берут зубилом, место взятия пробы обрабатывают шлифмашинкой, обеспечивая плавную линию кромки.

5. Сверление отверстия производят на всю толщину детали. По окончании сверления и взятия стружки отверстие не заваривают. При необходимости образованное отверстие может быть использовано для обеспечения дренажа.

6. Для клепаных конструкций диаметр сверла следует выбирать в пределах 0,8 диаметра заклепки. Сверла не менее 0,5 и более 0,8 диаметра заклепки применять запрещено.

7. Для сварных ферм и балок коробчатого сечения диаметр сверла берут в пределах 8-10 мм.

8. Проба должна быть упакована и замаркирована. На отобранные пробы составляют ведомость с указанием крана, элемента и места взятия пробы.

9. Отобранная проба должна удовлетворять ГОСТ 7565-81 * «Чугун, сталь и сплавы. Метод отбора проб для определения химического состава». Химический анализ стали выполняют на содержание углерода, кремния, марганца, серы и фосфора по ГОСТ 22536.1-88, ГОСТ 22536.2-87*, ГОСТ 22536.3-88, ГОСТ 22536.4-88 и ГОСТ 22536.5-87*.

10. Отбор проб для определения механических свойств сталей несущих элементов ферменных металлоконструкций (учитывая значительные габариты образцов и возможные повреждения, которые могут быть нанесены при этом металлоконструкции) выполняется по согласованию с головной организацией по краностроению или изготовителем крана.

Приложение 11

Дефекты электрооборудования специальных кранов

Сборочная единица (узел) крана и проверяемые параметры

Вид дефекта, при котором дальнейшая эксплуатация элемента не допускается

Вид контроля, необходимые средства для выполнения контроля

1

2

3

1. Защитная панель

Нарушение регулировки контактора и групповых реле, ослабление контактных соединений аппаратов и заземления, наличие смазки в трущихся парах металл - пластмасса

Внешний осмотр, ключи необходимых размеров, отвертка

2. Кулачковые контроллеры и командоконтроллеры

Наличие заеданий, значительных усилий при вращении вала, оплавление контактов, ослабление контактных соединений и заземления, неисправность гибких соединений. Наличие износа контактов более 50 % первоначальной толщины

Внешний осмотр, ключи необходимых размеров, отвертка, штангенциркуль

3. Электродвигатели с фазным ротором

Наличие металлической и угольной пыли в камерах контактных колец, износ щеток, подгорание контактных колец, ослабление контактных соединений и заземления, повышенный нагрев подшипников, снижение сопротивления изоляции ниже 0,5 МОм

Внешний осмотр, мегомметр, ключи необходимых размеров, отвертка

4. Электродвигатели короткозамкнутые

Повышенный нагрев подшипников, снижение сопротивления изоляции статора ниже 0,5 МОм

Внешний осмотр, мегомметр, ключи необходимых размеров, отвертка

5. Магнитные пускатели

Наличие грязи, пыли, подгорания контактов, отсутствие воздушного зазора, заедание подвижных частей, наличие трещин на короткозамкнутых витках или отсутствие витков. Нарушение регулировки механической блокировки реверсивных пускателей, ослабление контактных соединений и заземления. Отсутствие требуемого зазора (не менее 2-2,5 мм) между подвижными контактами при регулировке механической блокировки

Внешний осмотр, линейка измерительная, щуп, надфиль, напильник, ключи необходимых размеров, отвертка

6. Магнитные контроллеры и реверсоры

Наличие грязи, пыли, задевание контактов за камеры и подвижных магнитных систем за каркас катушки. Заедание подвижных частей контроллеров и реверсоров, наличие трещин в короткозамкнутых витках неподвижной части магнитной системы. Чрезмерный нагрев катушки, подгорание контактов, ослабление контактных соединений

Внешний осмотр, ключи необходимых размеров, отвертка

7. Резисторы типов НФ и НК

Наличие грязи, пыли, неисправностей и расколов изоляторов, ослабление контактных соединений и заземления

Внешний осмотр, ключи необходимых размеров, отвертка

8. Кабельный токоподвод:

 

 

а) монорельс

Наличие вмятин, изгибов, а также выступов в стыках.

Внешний осмотр

б) скольжение кареток по монорельсу

Заедания и значительные усилия при скольжении кареток

Внешний осмотр, проверка перемещения вручную

9. Схема блокировок

Несрабатывание защиты при открывании двери, люка и т.д.

Внешний осмотр и проверка срабатывания

Приложение 12

Рекомендуемая форма заключения экспертизы промышленной безопасности (Управление по котлонадзору и надзору за подъемными сооружениями Госгортехнадзора России, письмо от 10.01.03 № 12-01/26)

_________________________________________________________________________

(название экспертной организации)

«УТВЕРЖДАЮ»

_____________________________

(руководитель территориального органа Госгортехнадзора России)

« ___ » _______________ 200__ г.

м.п.

ЗАКЛЮЧЕНИЕ ЭКСПЕРТИЗЫ

промышленной безопасности по результатам технического диагностирования

___________________________________________________________________________

(наименование подъемного сооружения)

зав. № ______, per. № _______

принадлежащего ___________________________________

___________________________________________________

Per. № ____________________

____________

(город)

____________

(год)

ЗАКЛЮЧЕНИЕ ЭКСПЕРТИЗЫ

промышленной безопасности

по результатам технического

диагностирования _________

___________________________

зав. № _______, per. № ______

принадлежащего ___________

___________________________

Заключение экспертизы промышленной безопасности в части технического диагностирования подъемных сооружений, отработавших нормативный срок службы, в целях определения возможности их дальнейшей эксплуатации является документом, определяющим:

техническое состояние подъемного сооружения (крана) на момент экспертизы;

работоспособность крана в соответствии с его техническими параметрами;

возможность и условия дальнейшей эксплуатации крана до очередного обследования.

Заключение экспертизы промышленной безопасности на крановый путь не распространяется. Настоящее заключение является неотъемлемой частью паспорта крана.

1. ВВОДНАЯ ЧАСТЬ

1.1. ОСНОВАНИЕ ДЛЯ ПРОВЕДЕНИЯ ЭКСПЕРТИЗЫ:

договор № __________ от _________ 200__ года между _________________________

___________________________________________________________________________

приказ (по экспертной организации) ___________________ № ___________________ от

« ___ » _______ 200__ года «О проведении экспертизы опасных производственных объектов на _______________________________________________________________ »

приказ (по предприятию - владельцу крана) _____________________________________

___________________________________________________________________________

___________________________________________________________________________

«О проведении комплексного обследования _________________________________ »

Экспертиза проведена в соответствии с требованиями нормативно-технической документации, приведенными в приложении 1Э к настоящему заключению.

1.2. СВЕДЕНИЯ ОБ ЭКСПЕРТНОЙ ОРГАНИЗАЦИИ

Экспертная организация ___________________________________________________

Адрес ___________________________________________________________________

Руководитель_____________________________________________________________

Телефон/факс ____________________________________________________________

___________________________________________________________  имеет лицензии

на проведение экспертизы промышленной безопасности опасных производственных объектов

___________________________________________________________________________

(перечислить: серия, №, дата выдачи, кем выдана, направление экспертизы)

1.3. СОСТАВ ЭКСПЕРТНОЙ КОМИССИИ

Экспертиза объекта ______________ выполнена экспертной группой в составе:

Руководитель экспертной группы

___________

(должность)

______________

(Ф.И.О.)

_________________

(уровень квалификации, № удостоверения)

Специалист

___________

(должность)

______________

(Ф.И.О.)

_________________

(уровень квалификации, № удостоверения)

Специалист

___________

(должность)

______________

(Ф.И.О.)

_________________

(уровень квалификации, № удостоверения)

2. ПЕРЕЧЕНЬ ОБЪЕКТОВ, НА КОТОРЫЕ РАСПРОСТРАНЯЕТСЯ ДЕЙСТВИЕ ЗАКЛЮЧЕНИЯ ЭКСПЕРТИЗЫ

Объектом экспертизы промышленной безопасности в части технического диагностирования является ___________________________________________________

___________________________________________________________________________

принадлежащий _____________________________________________________________

___________________________________________________________________________

3. ДАННЫЕ О ЗАКАЗЧИКЕ

3.1. Экспертная организация _______________________________________________

3.2. Адрес _______________________________________________________________

3.3. Руководитель_________________________________________________________

3.4. Телефон/факс _________________________________________________________

4. ЦЕЛЬ ЭКСПЕРТИЗЫ

Цель экспертизы - оценка технического состояния ___________________________

(объекта)

и соответствия его требованиям нормативной документации госгортехнадзора и требованиям Федерального закона «О промышленной безопасности опасных производственных объектов» в части обеспечения организацией ___________________

___________________________________________________________________________

безопасной эксплуатации __________________ на ________________________________

(объект)                          (название предприятия, где работает объект)

5. СВЕДЕНИЯ О ДОКУМЕНТАХ, РАССМОТРЕННЫХ В ПРОЦЕССЕ ЭКСПЕРТИЗЫ

При проведении экспертизы рассмотрены:

1. Паспорт подъемного сооружения (инструкции по эксплуатации и обслуживанию).

2. Графики технических обслуживании и ремонтов ПС.

3. Ремонтные документы (если ремонт производился).

4. Протоколы измерения сопротивлений изоляции и заземляющих устройств.

5. Акт сдачи-приемки кранового пути в эксплуатацию (паспорт кранового пути, отчет по технической диагностике кранового пути).

6. Данные геодезических съемок крановых путей.

7. Заключения экспертизы промышленной безопасности, выполненные специализированными организациями.

8. Документы об аттестации и проверке знаний обслуживающего персонала.

9. Наличие НТД по эксплуатации ПС.

6. КРАТКАЯ ХАРАКТЕРИСТИКА И НАЗНАЧЕНИЕ ОБЪЕКТА ЭКСПЕРТИЗЫ

Кран ____________________ per. № ______________, зав. № ____________________

(тип, грузоподъемность)

производства ______________________________, ____________________ года выпуска

(завод-изготовитель)

установлен _________________________________________________________________

(цех, эстакада, стройка)

и предназначен для __________________________________________________________

(выполняемые виды работ)

Фактический (расчетный) режим работы крана _______________________________, что

___________________________________________________________________________

(соответствует или нет)

паспортному режиму ________________________________________________________

Кран предназначен для работы с температурой окружающей среды _____ °С, что _________________ t °С среды его эксплуатации.

(соответствует или нет)

Кран _________________ нормативный срок службы и прошел экспертную проверку

(отработал или нет)

___________________________________________________________________________

(когда и кем)

В результате замечания, сделанные в заключении экспертизы, были ______________

___________________________________________________________________________

(устранены или нет)

Кран ____________________ ремонту базовой конструкции _____________________

(подвергался или нет)

___________________________________________________________________________

(где и что именно)

Ремонтная документация _________________, выполненная _____________________

(имеется или нет)

___________________________________________________________________________

(организация, когда, лицензия)

Качество выполненных работ _______________________________________________

(удовлетворительно или нет)

Дополнительные сведения: о наличии (отсутствии) приборов безопасности, о замене оборудования или реконструкции, о наличии предписаний инспектора госгортехнадзора.

7. РЕЗУЛЬТАТЫ ЭКСПЕРТИЗЫ

Экспертной комиссией проведено техническое диагностирование крана _____________ в полном объеме и в соответствии с требованиями НТД, рассмотрены

(марка, per. №)

эксплуатационные документы, проведены испытания крана, _______________________

___________________________________________________________________________

(другие виды работ (ремонт, специзмерения и т.д.)

в результате чего установлено:

7.1. Оценка ведения и наличия эксплуатационной документации ________________

___________________________________________________________________________

7.2. Оценка состояния технического обслуживания и надзора за кранами __________

___________________________________________________________________________

7.3. Наличие аттестованных кадров, связанных с эксплуатацией крана ____________

___________________________________________________________________________

7.4. Оценка наличия и исполнения требований проектов производства работ кранами

_________________________________________________________________________

7.5. Состояние объекта экспертизы (общее)

___________________________________________________________________________

(исправное, неисправное)

7.6. Состояние контролируемых параметров основных несущих элементов металлоконструкции крана в соответствии с ведомостью дефектов _________________

___________________________________________________________________________

(в пределах допускаемых значений, отклонений и др.)

Состояние механического оборудования _____________________________________

(удовлетворительно или нет)

Состояние электрооборудования (гидрооборудования) _________________________

___________________________________________________________________________

(удовлетворительно или нет)

Состояние приборов безопасности и др. ______________________________________

(удовлетворительно или нет)

7.7. Выявленные в ходе экспертизы дефекты крана, представленные в ведомости дефектов (приложение __) ___________________________________________________ ,

(устранены или нет)

владельцем крана в _______________________________________ , что представлено в

(полном, частичном виде)

«Согласовании мероприятий» (приложение __).

7.8. Работоспособность крана в целом и его оборудования в отдельности проверена в ходе испытаний крана на холостом ходу и при статических и динамических испытаниях. Кран испытания _______________________; акт испытаний представлен в

(выдержал или нет)

(приложение __).

8. ЗАКЛЮЧЕНИЕ ЭКСПЕРТИЗЫ

8.1. Кран _________________ находится в ____________________________________

(тип, per. №, зав. №)                                                        (исправное, неисправное)

состоянии и может быть _____________ к дальнейшей эксплуатации после регистрации

(допущен или нет)

после регистрации настоящего заключения в ______________ управлении Госгортехнадзора России.

8.2. Срок следующего обследования крана ____________ года.

Приложения к заключению экспертизы.

Приложение 1Э. Перечень нормативно-технической документации, использованной в ходе экспертизы.

Приложение 2Э. Акт обследования.

Приложение 3Э. Ведомость дефектов.

Приложение 4Э. Согласование мероприятий.

Приложение 5Э. Протокол испытаний крана.

Приложение 6Э. Оценка в баллах остаточного ресурса мостового крана.

Приложение 7Э. Приказ о проведении обследования технического состояния грузоподъемных машин.

Председатель комиссии: ___________________________________________________

Члены комиссии: _________________________________________________________

Приложение 1Э

к приложению 12

ПЕРЕЧЕНЬ
нормативно-технической документации, использованной в ходе экспертизы

1. Федеральный закон «О промышленной безопасности опасных производственных объектов» от 21.07.97 № 116-Ф3 (Собрание законодательства Российской Федерации. 1997. № 30. Ст. 3588).

2. Федеральный закон «О лицензировании отдельных видов деятельности» от 08.08.01 № 128-Ф3.

3. Положение о порядке подготовки и аттестации работников организаций, осуществляющих деятельность в области промышленной безопасности опасных производственных объектов, подконтрольных Госгортехнадзору России (РД 03-444-02).

4. Правила проведения экспертизы промышленной безопасности (ПБ 03-246-98), с Изменением № 1 [ПБИ 03-490(246)-02], утвержденным постановлением Госгортехнадзора России от 01.08.02 № 48.

5. Инструкция по надзору за изготовлением, ремонтом и монтажом подъемных сооружений (РД 10-08-92), с изменением № 1 [РДИ 10-175(08)-98], утвержденным постановлением Госгортехнадзора России 09.01.98 № 1.

6. Положение о порядке утверждения заключений экспертизы промышленной безопасности (РД 03-298-99).

7. Методические указания по обследованию грузоподъемных машин с истекшим сроком службы (РД 10-112-96).

8. Правила устройства и безопасной эксплуатации грузоподъемных кранов (ПБ 10-382-00).

9. Правила устройства электроустановок / Главгосэнергонадзор России. 7-е изд., перераб. и доп., с изм. М., 1998.

10. Правила устройства электроустановок. 7-е изд. М.: Изд-во НЦ «ЭНАС», 2001. Разд. 6 - 7. Гл. 7.1 - 7.2.

11. Правила технической эксплуатации электроустановок потребителей. М., 2003.

12. Межотраслевые правила по охране труда (правила безопасности) при эксплуатации электроустановок [ПОТ Р М-016-2001 (РД 153-34.0-03.150-00)].

13. ГОСТ 25546-82*. Краны грузоподъемные. Режимы работы.

14. ГОСТ 25835-83*. Краны грузоподъемные. Классификация механизмов по режимам работы.

15. ГОСТ 28609-90. Краны грузоподъемные. Основные положения расчета.

16. ГОСТ 29266-91 (ИСО 9373-89). Краны грузоподъемные. Требования к точности измерений параметров при испытаниях.

17. Стропы грузовые общего назначения. Требования к устройству и безопасной эксплуатации (РД 10-33-93), с изменением № 1 (РД 10-231-98), утвержденным постановлением Госгортехнадзора России от 08.09.98 № 57.

18. ГОСТ 22045-89*. Краны мостовые электрические однобалочные опорные. Технические условия.

19. ГОСТ 27584-88*. Краны мостовые и козловые электрические. Общие технические условия.

20. Положение о порядке выдачи разрешений на применение технических устройств на опасных производственных объектах (РД 03-485-02).

21. Положение о порядке продления срока безопасной эксплуатации технических устройств, оборудования и сооружений на опасных производственных объектах (РД 03-484-02).

22. Подъемно-транспортные машины. Материалы для сварных металлических конструкций (РД 24.090.52-90).

23. Положение по проведению экспертизы промышленной безопасности опасных производственных объектов, на которых используются подъемные сооружения (РД 10-528-03).

24. Федеральный закон «О техническом регулировании» от 27.12.02 № 184-Ф3.

Приложение 2Э

к приложению 12

«УТВЕРЖДАЮ»

Директор ___________________

___________ / _______________/

« ____ » ____________ 20__ года

АКТ ОБСЛЕДОВАНИЯ*

1. Общие сведения по крану

Тип крана

 

Завод-изготовитель

 

Заводской номер

 

Регистрационный номер

 

Город, где установлен кран

 

Объект, где установлен кран

 

Организация - владелец крана

 

2. Сведения об организации, проводившей обследование

Наименование организации

 

Номер лицензии Госгортехнадзора России

 

Дата выдачи лицензии, срок действия

 

Номер приказа на проведение данного обследования

 

Комиссия провела (указать первичное или повторное обследование)

 

Обследование проведено в соответствии с требованиями

 

Номера учетных экземпляров РД, указанных в предыдущей строке

 

*Форма и содержание акта требует отдельного рассмотрения.

3. Паспортные данные по крану

Грузоподъемность, т

 

Дата изготовления крана

 

Группа классификации (режима работы)

 

Климатическое исполнение по ГОСТ 15150

 

Может быть установлен в ветровом районе по ГОСТ 1451 или в помещении

 

Нижний и верхний пределы по температуре рабочего состояния

нижний - __________________ °С

верхний - _________________ °С

Допустимая сейсмичность района установки

 

Возможность установки в пожароопасной среде категории

 

Возможность установки во взрывоопасной среде категории

 

Проводился ли капитальный ремонт

 

4. Соответствие фактических условий использования крана паспортным данным

По виду выполняемых работ

 

По группе классификации (режиму работы)

 

По нижнему и верхнему пределам температур места установки

 

По ветровому району места установки

 

По сейсмичности зоны установки

 

По характеристике среды (пожароопасная, взрывоопасная, агрессивная и т.п.)

 

По состоянию эксплуатационной документации

 

По состоянию кранового пути

 

По функционированию системы ТОиР

 

5. Результаты обследования

 

 

 

 

Общее состояние крана (исправное, неисправное, работоспособное или неработоспособное)

 

Достижение предела по установленной группе классификации

 

Необходимость выполнения оценки остаточного ресурса («да» или «нет»)

 

Общее число дефектов (по ведомости дефектов)

 

В том числе

устранены при проведении данного обследования

 

требуют устранения до начала дальнейшей эксплуатации

 

должны быть устранены за сроки, указанные в ведомости дефектов

 

Масса груза при проведении статических испытаний, т

 

Масса груза при проведении динамических испытаний, т

 

Дефекты по результатам испытаний

 

6. Рекомендации по изменению паспортных данных и (или) уточнению условий использования

Параметр

Рекомендации по изменению и (или) уточнению

 

 

 

 

7. Заключение комиссии

По результатам проведенного _______________ обследования крана комиссия установила:

7.1. Состояние крана _____________________________________________________

7.2. Контролируемые геометрические параметры металлоконструкции находятся _________________________________________________________________

7.3. Состояние механического оборудования ________________________________

7.4. Состояние электрооборудования и приборов безопасности

___________________________________________________________________________

7.5. Испытания (статические и динамические) крана _______________________

Кран допущен к дальнейшей эксплуатации на срок до (указать срок до следующего обследования)

___________________ г.

Кран подлежит ремонту (поставить «+» или «-»)

-

Кран подлежит списанию (поставить «+» или «-»)

-

Вниманию владельца крана!

1. Данный акт является неотъемлемой частью паспорта крана.

2. За невыполнение рекомендаций разделов 6 и 7 акта и неустранение замечаний, отмеченных в ведомости дефектов, ответственность несет владелец крана, а не организация, проводившая обследование.

Председатель комиссии: ___________________________________________________

Члены комиссии: _________________________________________________________

_________________________________________________________________________

_________________________________________________________________________

Приложение 3Э

к приложению 12

ВЕДОМОСТЬ ДЕФЕКТОВ

Тип грузоподъемной машины _______________________________________________

Изготовлен ______________________________________________________________

Владелец крана ___________________________________________________________

№ п/п

Наименование узла, элемента

Описание дефекта

Заключение о необходимости и сроках устранения дефекта

 

1. Металлоконструкции

1.1

 

 

 

1.2

 

 

 

 

2. Механизмы

2.1

 

 

 

 

3. Электрооборудование и устройства безопасности

3.1

 

 

 

3.2

 

 

 

Председатель комиссии: ___________________________________________________

Члены комиссии: _________________________________________________________

_________________________________________________________________________

_________________________________________________________________________

Дата

Приложение 4Э

к приложению 12

Согласование мероприятий по устранению замечаний, сделанных в процессе экспертизы

Заказчик

 

Адрес, реквизиты

 

Экспертная организация

 

Адрес, реквизиты

 

 

 

№ п/п

Мероприятие

Согласованный срок

Подтверждение выполнения*

 

 

 

 

 

 

 

 

 

 

 

 

 

 

 

 

 

 

 

 

 

 

 

 

* Запись делается экспертом.

Ведомость дефектов передана заказчику _____________________________________

(дата)

Представитель заказчика подтверждает своей подписью, что согласованные мероприятия будут выполнены, а экспертной организации направлено письменное сообщение о проведенных изменениях.

Место, дата ______________________________________________________________

Руководитель экспертной группы __________ /Ф.И.О./ Заказчик __________ /Ф.И.О./

(должность)

м.п.

___________________________________________________________________________

Приложение 5Э

к приложению 12

ПРОТОКОЛ
испытаний крана

___________________________                                                   _______________________

(место проведения испытаний)                                                                                       (дата испытания)

В соответствии с требованиями проведены СТАТИЧЕСКИЕ и ДИНАМИЧЕСКИЕ испытания

___________________________________________________________________________

(наименование, марка крана, зав. №, per. №)

Испытания проведены на грузовых характеристиках __________________________ ,

(расчетные, паспортные)

соответствующих:

грузоподъемность -

пролет крана -

Результаты испытаний представлены в таблице.

Наименование сборочной единицы

Масса испытательного груза при статических испытаниях, т

Масса испытательного груза при динамических испытаниях, т

Главный подъем

 

 

Упругие прогибы моста (пролетного строения) от статической нагрузки

Местоположение параметра

Величины допускаемого упругого прогиба, мм

Величины фактического прогиба, мм

 

 

 

Статические и динамические испытания кран _____________________________

(выдержал или нет)

Испытания провели:

Экспертная комиссия: _______________

                                           ________________

ИТР по надзору за ПС

________________________________         _______                     __________________

(должность представителя владельца крана)              (подпись)                              (инициалы, фамилия)

Приложение 6Э

к приложению 12

РЕЗУЛЬТАТЫ
оценки в баллах остаточного ресурса мостового крана

г/п ______ т, зав. № _____, рег. № ______

Вид дефекта

Характеристика дефекта

Дефекты изготовления или монтажа

Дефекты, возникшие из-за грубого нарушения нормальной эксплуатации

Дефекты, возникшие при длительной нормальной эксплуатации

Количество баллов

1

2

3

4

1. Нарушение лакокрасочного покрытия

 

Фактическое состояние

Нарушение покрытия __________

2. Коррозия несущих элементов:

Возникновение подобного дефекта маловероятно

 

до 5 % толщины элемента

 

до 10 % толщины элемента

 

более 10 % толщины элемента

 

Фактическое состояние

Коррозия _________________

3. Трещины, разрывы в швах или в околошовной зоне

Возникновение больших трещин маловероятно

 

 

Фактическое состояние

Дефекты ______________

4. Трещины, разрывы в зонах, удаленных от сварных швов

Возникновение больших трещин маловероятно

 

 

Фактическое состояние

Дефекты ______________

5. Разрывы не менее 10 % болтов в соединениях, где болты работают на растяжение

Возникновение подобного дефекта маловероятно

 

 

Фактическое состояние

Дефекты ______________

6. Срез не менее 10 % болтов в соединениях, где болты работают на срез

Возникновение подобного дефекта маловероятно

 

 

Фактическое состояние

Дефекты ______________

7. Деформации элементов ферменных конструкций, превышающие предельные величины, указанные в приложениях 8 [4.4], 9 [4.4]:

 

 

 

пояса

раскосы

Фактическое состояние

Дефекты ______________

8. Деформации элементов листовых конструкций, превышающие предельные величины, указанные в приложении 9 [4.4]

 

 

 

Фактическое состояние

Дефекты ______________

9. Расслоение металла, перекрывающее не менее 50 % размера сечения пояса, стенки и т.п.

 

Фактическое состояние

Дефекты ______________

10. Любые дефекты, возникшие в месте предыдущего ремонта, не попадающие под определения предыдущих строк данной таблицы

 

 

 

Вывод: __________________________________________________________________

Оценку остаточного ресурса произвел: _______________________________________

(Ф.И.О.)

Приложение 7Э

к приложению 12

Российская Федерация

______________________________________________________________________

(наименование организации - владельца ПС и крановых путей)

ПРИКАЗ № __________

___________200__ года

_________

(город)

о проведении обследования технического состояния грузоподъемных машин

В целях определения возможности дальнейшего использования

__________________________________________________________________________ ,

(название подъемных сооружений)

отработавших срок службы в соответствии с договором № _________________________

от _____ 200__ года с ________________________________________________________

(наименование организации, проводящей обследование)

с ___________ по ________ 200__ года будет проводиться обследование кранов нашего предприятия.

Для обеспечения указанного обследования

ПРИКАЗЫВАЮ:

1. Вывести из эксплуатации на период обследования следующие краны:

Грузоподъемные краны

Тип крана

г / п

Пролет

Зав. №

Рег. №

 

 

 

 

 

 

 

 

 

 

 

 

 

 

 

 

 

 

 

 

 

 

 

 

 

 

 

 

 

 

 

 

 

 

 

2. Возложить на ____________________________________________  обязанности по

(Ф.И.О., должность)

подготовке технической документации и необходимых справок для работы комиссии, обеспечению условий проведения обследования, обеспечению обследуемых кранов обслуживающим персоналом, испытательными грузами, оказанию помощи комиссии в ее работе, выделению помещения для комиссии и обеспечению охраны имущества комиссии.

3. Возложить ответственность и надзор за соблюдением правил техники безопасности при проведении обследования на

___________________________________________________________________________

(Ф.И.О., должность сотрудника предприятия - владельца подкрановых путей)

и _______________________________________________________________________

(Ф.И.О., должность сотрудника организации, проводящей обследование)

4. Заключение экспертизы после его утверждения представить мне на рассмотрение.

______________________________________________________  _______________

(должность руководителя организации - владельца грузоподъемных кранов)                  (подпись, Ф.И.О.)

М. П.

Приложение 13

Форма приказа о назначении экспертной комиссии

___________________________________________________________________________

(наименование организации)

ПРИКАЗ

№ ____________

____________ 200__ г.

Для проведения ___________________________________________________________

___________________________________________________________________________

___________________________________________________________________________

ПРИКАЗЫВАЮ:

1. Назначить комиссию в составе:

Председатель: ____________________________________  специалист _____ уровня;

Члены комиссии:

_________________________________________________  специалист _____ уровня;

_________________________________________________  специалист _____ уровня;

_________________________________________________  специалист _____ уровня;

_________________________________________________  специалист _____ уровня;

_________________________________________________  специалист _____ уровня;

2. Комиссии в соответствии с действующей нормативно-технической и эксплуатационной документацией, на основании лицензий, выданных ЗАО «УЭЦ»,

___________________________________________________________________________

(номера лицензий)

провести комплекс работ, указанный выше, для перечисленных ниже подъемных сооружений:

№ п/п

Тип крана

Зав. №

Рег. №

Местонахождение

 

 

 

 

 

 

 

 

 

 

 

 

 

 

 

 

 

 

 

 

 

 

 

 

 

 

 

 

 

 

 

 

 

 

 

 

 

 

 

 

 

 

 

 

 

3. Комиссии _____________ по результатам обследования составить техническую документацию установленной формы и представить мне на утверждение.

4. Ответственным за проведение инструктажа по технике безопасности и выполнение норм ТБ при выполнении работ на объекте назначить ____________________________

___________________________________________________________________________

(Ф.И.О., должность)

Директор __________________

(Ф.И.О.)

Внеплановый и текущий инструктаж по безопасным условиям выполнения работ

Ф.И.О. инструктируемого

Допуск к работе произведен

Дата инструктажа

Подпись инструктируемого

Ф.И.О. инструктирующего

Ф.И.О. инструктирующего

 

 

 

 

 

 

 

 

 

 

 

 

 

 

 

 

 

 

 

 

 

 

 

 

 

 

 

 

 

 

Приложение 14

Форма справки о характере работы специального крана

«УТВЕРЖДАЮ»

______________________

______________________

« ____ » ________ 2003 г.

СПРАВКА О ХАРАКТЕРЕ РАБОТЫ

__________________________________________________________________________

(тип крана, заводской номер, грузоподъемность, длина стрелы)

1

Фактическое использование крана (где и какой технологический процесс обслуживает кран)

 

2

Характеристика грузозахватного устройства (тип, масса, т, и/или емкость, м3), для транспортировки какого груза предназначено

 

3

Максимальная масса перемещаемого груза

т

4

Средняя масса перемещаемого груза

т

5

Среднее количество груза, транспортируемого краном за год

т

6

Количество часов работы крана в сутки

ч

7

Количество дней в году, когда работает кран

дн.

8

Количество циклов работы крана в сутки

цикл

9

Какой % составляют в общем объеме грузы:

 

 

До 0,25 ´ Qном

%

 

от 0,25 до 0,5 ´ Qном

%

 

от 0,5 до 0,75 ´ Qном

%

 

от 0,75 до Qном

%

10

Температурные условия работы крана

 

нижний предел температуры рабочего состояния

°С

верхний предел температуры рабочего состояния

°С

нижний предел температуры нерабочего состояния

°С

верхний предел температуры нерабочего состояния

°С

11

Характеристика среды, в которой работает кран:

 

 

степень агрессивности по СНиП 2.03.11-85

 

 

пожароопасность по ГТУЭ

 

 

взрывоопасность по ГТУЭ

 

 

 

 

12

Прочие данные

 

 

 

Справку составил: ________________________________________________________

(подпись, Ф.И.О., должность, дата)

Копия верна:               ___________________

(Ф.И.О.)

СОДЕРЖАНИЕ

1. Область применения. 1

2. Термины и определения. 1

3. Общие требования. 2

4. Перечень нормативной технической и справочной литературы.. 18

Приложение 1 [4.4] Степень агрессивности воздействия сред на металлические конструкции (по СНиП 2.03.11-85) 19

Приложение 2 [4.4] Определение площади и степени коррозии нижних поясов главных балок кранов, установленных на открытом воздухе. 23

Приложение 3 [4.4, МУ] Некоторые зоны возникновения дефектов в металлоконструкциях кранов мостового типа. 24

Приложение 4 [4.4] Оценка влияния коррозии несущих элементов металлических конструкций. 25

Приложение 5 [4.4] Схема проведения замеров высотного положения пролетных балок, главных и вспомогательных мостов крана и планово-высотной съемки рельсового пути грузовой тележки. 26

Приложение 6 Наиболее вероятные повреждения механизмов металлургических кранов и предельно допустимые их значения. 26

Приложение 7 [4.4] Проведение грузовых испытаний мостовых металлургических кранов. 57

Приложение 8 [4.4] Величины предельно допустимых остаточных деформаций металлоконструкций. 66

Приложение 9 [4.4] Предельные величины местных остаточных деформаций металлоконструкций. 66

Приложение 10 [4.4] Отбор проб для определения химического состава и механических свойств несущих элементов металлоконструкции крана. 68

Приложение 11 Дефекты электрооборудования специальных кранов. 69

Приложение 12 Рекомендуемая форма заключения экспертизы промышленной безопасности (Управление по котлонадзору и надзору за подъемными сооружениями Госгортехнадзора России, письмо от 10.01.03 № 12-01/26) 71

Приложение 1Э Перечень нормативно-технической документации, использованной в ходе экспертизы.. 75

Приложение 2Э Акт обследования. 76

Приложение 3Э Ведомость дефектов. 78

Приложение 4Э Согласование мероприятий по устранению замечаний, сделанных в процессе экспертизы.. 78

Приложение 5Э Протокол испытаний крана. 79

Приложение 6Э Результаты оценки в баллах остаточного ресурса мостового крана. 79

Приложение 7Э Приказ. 81

Приложение 13 Форма приказа о назначении экспертной комиссии. 82

Приложение 14 Форма справки о характере работы специального крана. 83

 



© 2013 Ёшкин Кот :-)