Информационная система
«Ёшкин Кот»

XXXecatmenu

ОТРАСЛЕВОЙ СТАНДАРТ

 

ШВЫ СВАРНЫХ СТЫКОВЫХ СОЕДИНЕНИЙ
ТРУБОПРОВОДОВ ТЕПЛОВЫХ ЭЛЕКТРОСТАНЦИЙ

Типы и основные размеры

ОСТ 108.940.02-82

 

 

УТВЕРЖДЕН И ВВЕДЕН В ДЕЙСТВИЕ указанием Министерства энергетического машиностроения от 04.06.82 № ВВ-002/4628

Исполнители:                                НПО ЦКТИ                           П.М. Христюк

В.Н. Земзин

Д.Д. Дорофеев

Г.Н. Смирнов

Л.Н. Жылюк

Д.Ф. Фомина

Н.В. Москаленко

В.Н. Шанский

НПО ЦНИИТМАШ              Д.Н. Баранов

БЗЭМ                                     А.Е. Гринёв

Г.А. Мисирьянц

В.Ф. Логвиненко

Ф.А. Гловач

А.С. Шестернин

СОГЛАСОВАН с Главным управлением по монтажу теплосилового оборудования электростанций при Министерстве энергетики и электрификации СССР

В.А. Казаров

с Главным техническим управлением по эксплуатации энергосистем Министерства энергетики и электрификации СССР

Д.Я. Шамараков

с Главным производственно-техническим управлением Министерства энергетики и электрификации СССР

А.И. Ягушкин

Техническое управление Министерства энергетического машиностроения

Начальник управления                                                                В.П. Головизнин

Начальник отдела опытно-

конструкторских и научно-

исследовательских работ

и стандартизации                                                                         А.В. Штапаук

Управление атомного машиностроения Министерства энергетического машиностроения

Заместитель начальника-

главный сварщик                                                                          А.Г. Винников

Научно-производственное объединение по исследованию и проектированию энергетического оборудования им. И.И. Ползунова (НПО ЦКТИ)

Генеральный директор                                                                Н.М. Марков

Заведующий отраслевым

отделом стандартизации                                                             П.М. Христюк

Заведующий сектором                                                                 Д.Д. Дорофеев

Руководитель темы-

ведущий инженер                                                                         Г.Н. Смирнов

Исполнители:

Ведущий инженер                                                                        Л.Н. Жылюк

Старший инженер                                                                        Д.Ф. Фомина

Конструктор III категории                                                          Н.В. Москаленко

Ведущий инженер                                                                        В.Н. Шанский

Заведующий отделом

новых материалов                                                                        В.Н. Земзин

СОИСПОЛНИТЕЛИ: Научно-производственное объединение по технологии машиностроения (НПО ЦНИИТмаш)

Генеральный директор                                                                Е.Т. Долбенко

Заведующий отраслевой

лабораторией руководящих

материалов по технологии

энергомашиностроения                                                               Д.Н. Баранов

Белгородский завод энергетического машиностроения (БЗЭМ)

Главный инженер                                                                        И.В. Горбатенко

Главный сварщик                                                                         А.Е. Гринёв

Главный конструктор

КО трубопроводов                                                                       Г.А. Мисирьянц

Начальник КТОС                                                                         Г.А. Авдеев

Руководитель темы -

зам. главного конструктора

КО трубопроводов                                                                       В.Ф. Логвиненко

Исполнители:

Начальник бюро                                                                           Ф.А. Гловач

Инженер                                                                                        А.С. Шестернин

СОГЛАСОВАНО с Главным управлением по монтажу теплосилового оборудования электростанций при Министерстве энергетики и электрификации СССР

Начальник                                                                                     В.А. Казаров

с Главным техническим управлением по эксплуатации энергосистем Министерства энергетики и электрификации СССР

Заместитель начальника                                                             Д.Я. Шамараков

с Главным производственно-техническим управлением Министерства энергетики и электрификации СССР

Главный инженер                                                                        А.И. Ягушкин

с ПТИ «Энергомонтажпроект»

Главный инженер                                                                        А.Д. Шанин

Главный специалист                                                                   И.Н. Ворновицкий

 

ОТРАСЛЕВОЙ СТАНДАРТ

ШВЫ СВАРНЫХ СТЫКОВЫХ
СОЕДИНЕНИЙ ТРУБОПРОВОДОВ
ТЕПЛОВЫХ ЭЛЕКТРОСТАНЦИЙ

Типы и основные размеры

ОСТ 108.940.02-82

Взамен
ОСТ 24.030.05
ОСТ 24.030.05-72

Указанием Министерства энергетического машиностроения от 04.06.82 № ВВ-002/4628 срок введения установлен

с 01.01.85

Проверен в 1983 г.

(Измененная редакция, Изм. № 1).

1. Настоящий стандарт распространяется на стыковые сварные соединения труб между собой, труб с фасонными деталями и арматурой тепловых электростанций, работающих на органическом топливе, для паропроводов из хромомолибденованадиевых сталей с параметрами среды:

Р = 25,01 МПа (255 кгс/см2), t = 545 °С;

Р = 13,73 МПа (140 кгс/см2), t = 560 °С;

Р = 13,73 МПа (140 кгс/см2), t = 545 °С;

Р = 13,73 МПа (140 кгс/см2), t = 515 °С;

Р = 9,81 МПа (100 кгс/см2), t = 540 °С;

Р = 4,02 МПа (41 кгс/см2), t = 545 °С.

для трубопроводов пара и горячей воды из углеродистых и кремне-марганцовистых сталей с параметрами среды:

Р = 37,27 МПа (380 кгс/см2), t = 280 °С;

Р = 23,54 МПа (240 кгс/см2), t = 250 °С;

Р = 18,14 МПа (185 кгс/см2), t = 215 °С;

Р = 3,92 МПа (40 кгс/см2), t = 440 °С;

Р = 7,45 МПа (76 кгс/см2), t = 145 °С;

Р = 4,31 МПа (44 кгс/см2), t = 340 °С;

Р = 3,92 МПа (40 кгс/см2), t = 200 °С.

2. Настоящий стандарт устанавливает основные типы сварных швов, их форму и размеры, а также конструктивные элементы подготовки кромок под стыковую сварку труб, фасонных деталей и арматуры трубопроводов.

Требования к подготовке и сборке под сварку, рекомендации по выбору сварочных материалов, применению видов сварки и другие технические требования по ОП № 02ЦС-66,

- для монтажных швов - по РТМ 1С-81.

Сварка и термообработка сварных соединений производится в соответствии с требованиями ПК № 03ЦС-66.

(Измененная редакция, Изм. № 1, 2).

3. Типы швов сварных стыковых соединений должны соответствовать указанным в табл. 1.

Таблица 1

Условное обозначение шва сварн. соединен.

Характер выполненного шва и форма подготовленных кромок

Вид сварки

Форма поперечного сечения выполненного шва и подготовленных кромок

Размеры свариваемых труб

Примечание

Наружный диаметр Dн

Толщина стенки S

мм

С1

Односторонний со скосом двух кромок без расточки

Автоматическая или ручная дуговая и аргонодуговая корня шва

до 16 вкл.

до 3,5 вкл.

Для монтажных швов допускается выполнять подготовку кромок без скосов.

С2

Св. 16 до 89 вкл.

до 6 вкл.

 

от 57 до 76 вкл.

Св. 6 до 13 вкл.

Односторонний со скосом двух кромок и расточкой

Автоматическая или ручная дуговая и аргонодуговая корня шва

св. 89 до 133 вкл.

до 6 вкл.

 

С3

Односторонний с криволинейным скосом двух кромок и расточкой

Автоматическая или ручная дуговая и аргонодуговая корня шва

Св. 76

Св. 6

При толщине стенки св. 16 мм допускается уменьшение угла разделки кромок до 20°.

С4

Односторонний на остающемся подкладном кольце со скосом двух кромок и расточкой

Автоматическая или ручная дуговая

Св. 102

Св. 16

Допускается увеличение угла разделки кромок до 30° при монтаже или ремонте.

С5

Односторонний на остающемся подкладном кольце со скосом двух кромок и расточкой

Автоматическая или ручная дуговая

Св. 102

до 16 вкл.

 

Примечания: 1. Для швов С4 и С5 допускается автоматическая или ручная дуговая и аргонодуговая сварка без остающегося подкладного кольца.

2. Сварные швы С2, С3 и С5 допускается выполнять с применением расплавляемых вставок. Конструкция и размеры расплавляемых вставок устанавливаются чертежами изготовителя.

Нет пунктов 3, 4, 5

6. Остающиеся подкладные кольца для сварных соединений С4 и С5 изготавливаются по конструкторской документации разработчика трубопровода.

(Измененная редакция, Изм. № 1, 2).

Допускается применение не указанных в настоящем стандарте типов сварных соединений и подготовки кромок патрубков арматуры и оборудования под сварку с трубопроводами при соблюдении dp по табл. 3 и остальных требований ОП № 02ЦС-66.

(Измененная редакция, Изм. № 2).

4. Конструктивные элементы и размеры подготовленных под сварку кромок С1, С2 и С3 указываются в стандартах вида «Конструкция и размеры», применение других типов подготовки кромок производится по конструкторской документации, согласованной с предприятием-изготовителем деталей и сборочных единиц трубопроводов.

(Новая редакция, Изм. № 2).

5. Пример обозначения в конструкторской документации сварного шва С3.

Если в технических требованиях конструкторской документации имеется указание о выполнении сварных швов по настоящему стандарту, обозначение стандарта в обозначении швов допускается не проставлять.

6. В зависимости от марки стали основного металла или их сочетания в конструкторской документации независимо от вида сварки рекомендуются применять типы электродов в соответствии с табл. 2. Допускается указывать другие сварочные материалы в соответствии с ОП № 02ЦС-66.

(Новая редакция, Изм. № 2).

Таблица 2

Марка стали свариваемых труб

Типы электродов

Стандарт или технические условия на электроды

20, 20К, 25Л в любом сочетании

Э-42А или Э-50А

Э-46А

ГОСТ 9467-75

20, 20К со сталями 15ГС, 16ГС, 20ГСЛ

Э-42А или Э-50А

Э-46А

15ГС, 16ГС, 20ГСЛ в любом сочетании

Э-50А

12Х1МФ

15Х1М1Ф

20ХМФЛ

15Х1М1ФЛ

в любом сочетании

Э-09Х1МФ

7. Конструктивные элементы и размеры подготовленных под сварку кромок и выполненных сварных швов должны соответствовать указанным на черт. 1 ÷ 5 и в табл. 3.

Шов С1 односторонний со скосом двух кромок без расточки

Черт. 1

Шов С2 односторонний со скосом двух кромок

Черт. 2

(Новая редакция, Изм. № 2).

Шов С3 односторонний с криволинейным скосом двух кромок и расточкой

Допускаемый вариант разделки кромки

Черт. 3

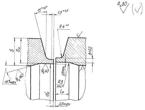
Шов С4 односторонний на остающемся подкладном кольце со скосом двух кромок и расточкой

Допускается применять угол разделки кромок 15° + 2° вместо 7° + 1°.

Черт. 4

(Измененная редакция, Изм. № 2).

Шов С5 односторонний на остающемся подкладном кольце со скосом двух кромок и расточкой

Черт. 5


Таблица 3

Размеры в мм

Размеры труб

Размеры швов и теоретическая масса наплавленного металла

Примечание

Проход условный DУ

DН ´ S

dp

SK, не менее

Lp*

h

С1

С2

С3

С4

С5

 

Номин.

Пред. откл.

У детали

После зачистки сварного шва

Номин.

Пред. откл.

Вид сварки

b

Масса, кг

b

Масса, кг

b

Масса, кг

b

ручная

Не менее

Не менее

Не менее

Не менее

Не менее

Номин.

Пред. откл.

Номин

Пред. откл.

Р = 25,01 МПа (255 кгс/см2); t = 545 °С

10

16´3,5

-

-

-

-

-

-

1,0

±0,5

1,0

±0,5

8,0

0,007

-

-

-

-

-

-

 

 

15

28´6

1,5

1,5

-

-

13

0,03

32

57´13

24

0,18

65

108´22

67

+0,46

18,7

18,2

50

+5

1,0

+3,0

2,5

+2,5

-1,5

-

-

25

0,76

17

100

159´32

97

+0,54

27,5

26,5

65

+4,0

32

2,06

20

125

194´38

120

33,0

32,1

75

35

3,27

21

150

245´48

151

+0,63

42,0

40,3

85

3,0

+3,0

-2,0

41

6,00

24

175

273´50

174

46,0

45,0

95

42

6,75

24

200

325´60

208

+0,72

54,0

53,3

100

48

11,20

26

225

377´70

240

63,0

62,0

115

54

16,80

29

250

426´80

270

+0,81

73,0

72,0

130

60

23,60

31

300

465´80

308

74,5

74,0

26,30

Р = 13,73 МПа (140 кгс/см2), t = 560 °C; Р = 13,73 МПа (140 кгс/см2), t = 545 °С;

Р = 13,73 МПа (140 кгс/см2), t = 515 °C; Р = 9,81 МПа (100 кгс/см2), t = 540 °С;

Р = 4,02 МПа (41 кгс/см2), t = 545 °C

10

16´2,5

-

-

-

-

-

-

1,0

±0,5

1,0

±0,5

7,0

0,005

-

-

-

-

-

-

-

 

Р = 13,73 МПа (140кгс/см2), t = 560 °С; Р = 13,73 МПа (140 кгс/см2), 545 °С

20

28´4,5

-

-

-

-

-

-

1,5

±0,5

1,5

±0,5

-

-

11

0,02

-

-

-

-

-

 

50

76´13

24

0,25

100

133´20

94

+0,54

17,3

16,8

50

+5

1,0

+3,0

2,5

+2,5

-1,5

-

-

24

0,92

17

 

 

Р = 13,73 МПа (140 кгс/см2), t = 560 °С

150

219´32

156

+0,63

28,0

27,5

60

+5

1,0

+4,0

2,5

+2,5

-1,5

-

-

-

-

30

3,02

20

-

 

 

200

273´36

203

+0,72

31,5

30,5

75

34

4,46

21

300

377´50

281

+0,81

44,3

43,8

85

3,0

+3,0

-2,0

41

9,33

24

Р = 13,73 МПа (140 кгс/см2), t = 545 °С

175

219´28

164

+0,63

24,0

23,5

60

+5

1,0

+3,0

2,5

+2,5

-1,5

-

-

-

-

28

2,45

19

-

 

 

200

273´32

211

+0,72

27,3

26,8

65

+4,0

31

3,75

20

250

325´38

251

+0,81

32,3

31,8

75

35

5,80

21

Р = 13,73 МПа (140 кгс/см2), t = 515 °С; Р = 9,81 МПа (100 кгс/см2), t = 540 °С

P = 4,02 МПа (41 кгс/см), t = 545 °С

20

28´3

-

-

-

-

-

-

1,5

± 0,5

1,5

±0,5

-

-

9

0,01

-

-

-

-

 

 

P = 13,73 МПа (140 кгс/с2), t = 515 °C

(65)

76´9

-

-

-

-

-

-

1,5

±0,5

1,5

±0,5

-

-

18

0,14

-

-

-

-

 

 

(100)

133´14

106

0,54

11,5

11,0

50

+5

1,0

±3,0

2,5

+2,5

-1,5

-

-

20

0,62

-

22

(125)

159´16

128

0,63

13,4

12,9

22

0,89

-

24

(150)

194´20

156

0,63

16,5

16,0

23

1,33

17

-

(175)

219´22

176

0,63

18,5

18,0

25

1,78

18

-

(225)

273´26

222

0,72

22,5

22,0

27

2,80

19

-

(250)

325´32

263

0,81

27,0

26,5

60

+4,0

31

4,15

20

-

(350)

426´38

354

0,89

31,6

31,1

75

35

7,46

21

-

Р = 9,81 МПа (100 кгс/см2), t = 540 °C

65

76´7

-

-

-

-

-

-

1,5

±0,5

1,5

±0,5

-

-

14

0,11

-

-

-

-

 

 

100

133´11

112

+0,54

9,1

8,6

50

+5

1,0

+3,0

2,5

+2,5

-1,5

-

-

19

0,41

18

125

159´13

134

+0,63

10,8

10,3

20

0,62

21

150

194´16

163

13,5

13,0

22

0,95

24

175

219´18

184

+0,72

15,0

14,5

23

1,33

16

-

225

273´22

230

18,2

17,7

25

2,20

18

250

325´26

275

+0,81

21,8

21,3

60

+4,0

27

3,32

19

Р = 4,02 МПа (41 кгс/см2), t = 545 °С

50

57´3,5

-

-

-

-

-

-

1,5

±0,5

1,5

±0,5

-

-

10

0,03

-

-

-

-

 

 

100

108´6

97

+0,54

4,6

4,1

50

+5

1,0

+2,0

2,5

+2,5

-1,5

15

0,11

13

150

159´8

144

+0,63

5,8

5,3

-

-

17

0,30

15

250

273´13

248

+0,72

9,9

9,4

+3,0

20

1,07

21

350

377´17

345

+0,89

13,0

12,5

22

2,01

16

-

400

426´19

390

14,7

14,2

23

2,77

17

450

465´22

424

+0,97

16,3

15,8

24

3,64

17

500

530´25

484

17,0

16,5

27

5,00

18

600

630´28

576

+1,00

21,5

21,0

60

+4,0

30

7,46

19

700

720´25

672

21,8

21,3

50

27

7,20

18

Р = 37,27 МПа (380 кгс/см2), t = 280 °C

10

16´2,5

-

-

-

-

-

-

1,0

±0,5

1,0

±0,5

8

0,01

-

-

-

-

-

-

 

 

20

28´4

1,5

1,5

-

-

10

0,02

40

57´9

18

0,10

100

133´18

98

+0,54

15,9

15,4

50

+5

1,0

+3,0

2,5

+2,5

-1,5

-

-

23

0,79

16

150

194´26

144

+0,63

22,5

22,0

60

+4,0

28

1,94

19

200

273´36

203

+0,72

32,8

32,3

65

34

4,46

21

250

325´42

245

36,4

35,9

80

3,0

+3,0

-2,0

37

6,50

22

300

377´50

281

+0,81

44,0

43,5

85

41

9,33

24

350

465´60

349

+0,89

51,3

50,8

100

48

16,50

26

400

530´65

406

+0,97

58,2

57,7

110

51

21,20

27

Р = 23,54 МПа (240 кгс/см2), t = 250 °С; Р = 18,14 МПа (185 кгс/см2), t = 215 °С;

Р = 3,92 МПа (40 кгс/см2), t = 440 °С; Р = 7,45 МПа (76 кгс/см2), t = 145 °С;

Р = 4,31 МПа (44 кгс/см2), t = 340 °С; Р = 3,92 МПа (40 кгс/см2), t = 200 °С

10

16´2

-

-

-

-

-

-

1,0

±0,5

1,0

±0,5

6

0,003

-

-

-

-

-

-

 

 

20

28´3

1,5

1,5

-

-

9

0,01

Р = 23,54 МПа (240 кгс/см2), t = 250 °С; Р = 18,14 МПа (185 кгс/см2), t = 215 °С

65

76´9

-

-

-

-

-

-

1,5

±0,5

1,5

±0,5

-

-

18

0,14

-

-

-

-

 

 

100

133´13

109

+0,54

10,7

10,3

50

+5

1,0

+3,0

2,5

+2,5

-1,5

-

-

19

0,48

20

Р = 23,54 МПа (240 кгс/см2), t = 250 °C

150

194´17

161

+0,63

14,8

14,3

50

+5

1,0

+3,0

2,5

+2,5

-1,5

-

-

-

-

22

1,08

16

-

 

 

175

219´19

182

+0,72

16,5

16,0

23

1,43

17

225

273´24

226

20,2

19,7

26

2,49

18

250

325´28

271

+0,81

23,8

23,3

60

1,0

+4,0

29

3,72

19

300

377´32

316

+0,89

27,3

26,8

65

31

5,19

20

350

426´36

358

30,5

30,0

75

34

6,84

21

Р = 18,14 МПа (185 кгс/см2), t = 215 °C

150

194´15

166

+0,63

11,9

11,4

50

+5

1,0

+3,0

2,5

+2,5

-1,5

-

-

-

-

21

0,89

-

22

 

 

175

219´16

188

+0,72

13,2

12,7

22

1,15

24

 

 

225

273´20

236

16,0

15,5

23

1,80

17

-

 

 

250

325´22

283

+0,81

18,7

18,2

25

2,59

18

 

 

300

377´26

327

+0,89

21,4

20,9

60

1,0

+4,0

28

3,92

19

 

 

Р = 3,92 МПа (40 кгс/см2), t = 440 °С; Р = 7,45 МПа (76 кгс/см2), t = 145 °С;

Р = 4,31 МПа (44 кгс/см2), t = 340 °С; Р = 3,92 МПа (40 кгс/см2),t = 200 °С

25

32´3

-

-

-

-

-

-

1,5

±0,5

1,5

±0,5

-

-

9

0,01

-

-

-

-

 

 

32

38´3

0,02

50

57´3,5

10

0,03

Р = 3,92 МПа (40 кгс/см2), t = 440 °С; Р = 7,45 МПа (76 кгс/см2), t = 145 °С

80

89´6

-

-

-

-

-

-

1,5

±0,5

1,5

±0,5

-

-

13

0,08

-

-

-

-

 

 

150

159´9

142

+0,63

7,2

6,7

50

+5

1,0

+2,0

2,5

+2,5

-1,5

-

-

17

0,35

16

200

219´13

195

+0,72

9,5

9,0

+3,0

20

0,83

20

250

273´16

244

11,5

11,0

22

1,33

23

300

325´19

290

+0,81

13,5

13,0

23

2,03

16

-

Р = 3,92 МПа (40 кгс/см2), t = 440 °C

100

108´8

93

+0,54

5,4

4,9

50

+5

1,0

+2,0

2,5

+2,5

-1,5

-

-

-

-

17

0,20

-

15

 

 

Р = 7,45 МПа (76 кгс/см2), t = 145 °С; Р = 4,31 МПа (44 кгс/см2), t = 340 °С

100

108´6

97

+0,54

4,6

4,1

50

+5

1,0

+2,0

2,5

+2,5

-1,5

-

-

13

0,12

-

-

-

13

 

 

Р = 4,31 МПа (44 кгс/см2), t = 340 °С; Р = 3,92 МПа (40 кгс/см2), t = 200 °С

65

76´3,5

-

-

-

-

-

-

1,5

±0,5

1,5

±0,5

-

-

10

0,04

-

-

-

-

 

 

80

89´4

0,05

150

159´7

147

+0,63

4,4

3,9

50

+5

1,0

+2,0

2,5

+2,5

-1,5

-

-

16

0,22

13

200

219´9

203

+0,72

5,6

5,1

17

0,45

15

250

273´10

254

+0,81

6,6

6,1

18

0,71

17

300

325´13

303

7,6

7,1

+3,0

20

1,11

19

350

377´13

354

+0,89

8,6

8,1

1,36

400

426´14

401

9,5

9,0

1,88

22

Р = 4,31 МПа (44 кгс/см2), t = 340 °C

450

465´16

437

+0,97

10,5

10,0

50

+5

1,0

+3,0

2,5

+2,5

-1,5

-

-

-

-

22

2,19

-

23

 

 

600

630´17

598

+1,00

12,2

11,7

3,50

16

-

630´25

700

720´22

678

+1,00

16,5

15,5

25

5,87

18

Р = 3,92 МПа (40 кгс/см2), t = 200 °C

100

108´4,5

100

+0,54

2,7

2,2

40

+5

1,0

+2,0

2,5

+2,5

-1,5

-

-

11

0,08

-

-

-

11

 

 

125

133´5

124

+0,63

3,2

2,7

12

0,12

12

* Допускается уменьшение длины расточки до 50 мм при зачистке сварного шва заподлицо с наружной поверхностью и шероховатостью Rz40 по согласованию с головной материаловедческой организацией.

Примечания: 1. Усиление шва допускается удалять механическим способом до h = 0.

2. Теоретическая масса наплавленного металла определена по средним значениям размеров швов при ручной дуговой сварке и уточняется технологическим процессом изготовителя.

3. При полуавтоматической сварке в среде защитных газов размеры сварных швов должны соответствовать ручному виду сварки.

5. Трубы, условные проходы которых указаны в скобках, применять по согласованию с предприятием-изготовителем.

(Измененная редакция, Изм. № 2, 3).


8. Для швов с остающимся подкладным кольцом допускается притупление кромок до 1 мм.

9. В односторонних стыковых сварных соединениях, выполняемых без подкладных колец и расплавляемых вставок должны быть соблюдены следующие требования.

9.1. Сплошное или прерывистое превышение проплава корня шва «С» (черт. 6) не должно быть более:

1,5 мм для труб с наружным диаметром до 32 мм вкл.

2,0 мм          - « -                   - « -               св. 32 до 159 мм вкл.

2,5 мм          - « -                   - « -                 св. 159 мм

9.2. Вогнутость корня шва «С1» (черт. 7) не должны быть более:

0,6 мм для труб с толщиной стенки до 3 мм вкл.

0,9 мм         - « -               - « -             св. 3 до 8 мм вкл.

0,155, но не более 1,6 мм для труб с толщиной стенки св. 8 мм

9.3. Разность фактических размеров внутренней расточки dр подготовленных под сварку кромок стыкуемых труб и фасонных деталей наружным диаметром 108 мм и более не должны превышать 1 мм.

Черт. 6

Черт. 7

10. Минимальное значение длины цилиндрической части Lр внутренней расточки dр подготовленных под сварку кромок должно удовлетворять требованиям ОП № 501 ЦД-75.

Длина цилиндрической части внутренней расточки подготовленных под сварку кромок арматуры должна быть не менее 20 мм.

(Измененная редакция, Изм. № 2).

11. Переход от поверхности внутренней расточки к необработанной поверхности труб должен быть плавным под углом не более 15°. Допускается выполнять переход под углом не более 27° включительно и длину расточки Lр = 12+3 мм для:

деталей литых, кованых, штампованных и штампосварных;

деталей, изготавливаемых из труб с увеличенной толщиной стенки (отводов гнутых, тройников, переходов и др.);

отводов гнутых с прямыми участками менее наружного диаметра изгибаемой трубы.

12. Плавный переход по внутренней поверхности в месте стыка труб между собой или с деталями допускается обеспечивать методом раздачи (черт. 8), конусной или цилиндрической расточек деталей с меньшим внутренним диаметром (черт. 9) под углом не более 15°.

Черт. 8

Черт. 9

13. Расточка на размер dp может не производиться, если внутренние размеры стыкуемых труб и деталей обеспечивают соблюдение требований по смещению обработанных кромок под сварку. Необработанная поверхность должна быть зачищена до металлического блеска на длине не менее 10 мм.

(Измененная редакция, Изм. № 2).

14. При сварке швов на подкладных кольцах, зазор между подкладным кольцом и внутренней расточкой труб и деталей должен удовлетворять требованиям РТМ 1С-73.

15. При сварке с трубами литых, кованых, штампованных и штампо-сварных деталей и арматуры, плавный переход от одного сечения к другому должен обеспечиваться комбинированно: за счет утонения стенки конца элемента с большей толщиной стенки до расчетного значения на кромке и за счет наклонного расположения поверхности сварного шва со стороны раскрытия кромок.

Обточка по наружной поверхности должна выполняться на выход. При длине обточки более 50 мм допускается выход обточки под углом 45° (черт. 10).

Примечание. SК1 - принимается по расчету на прочность от внутреннего давления.

Черт. 10

16. Сварные соединения труб с арматурой, фасонными и трубными деталями допускается выполнять с комбинированной разделкой кромок: со скосом кромок со стороны трубы по типу шва, установленного настоящим стандартом, а со стороны арматуры или фасонной детали по типу швов С4 и С5 (черт. 11).

Пример сварного соединения с комбинированной разделкой кромок

Примечание. SK1 принимается по расчету на прочность от внутреннего давления.

Черт. 11

ПЕРЕЧЕНЬ
документов, на которые даны ссылки в стандарте

1. ОП № 02ЦС-66

Основные положения по сварке и термообработке сварных соединений трубных систем котлоагрегатов и трубопроводов тепловых электростанций.

2. РТМ-1С-73

Руководящие технические материалы по сварке, термообработке и контролю трубных систем котлов и трубопроводов при монтаже и ремонте оборудования тепловых электростанций.

3.

«Правила устройства и безопасной эксплуатации трубопроводов пара и горячей воды» Госгортехнадзора СССР.

4. ОП № 501 ЦД-75

Основные положения по ультразвуковой дефектоскопии сварных соединений котлоагрегатов и трубопроводов тепловых электростанций.

5. ГОСТ 9467-75

Электроды покрытые металлические для ручной дуговой сварки конструкционных и теплоустойчивых сталей. Типы.

 

 



© 2013 Ёшкин Кот :-)