Информационная система
«Ёшкин Кот»

XXXecatmenu

РУКОВОДЯЩИЙ НОРМАТИВНЫЙ ДОКУМЕНТ

МЕТОДИЧЕСКИЕ УКАЗАНИЯ

Методы базирования штампов на прессах простого и двойного действия

РД
50-231-81

Введены впервые

Утверждены Постановлением Госстандарта от 20 января 1981 г. № 104, срок введения установлен с 1 января 1982 г.

1. Настоящие методические указания устанавливают методы базирования штампов листовой штамповки при их установке на закрытых прессах простого и двойного действия. Данные методические указания соответствуют методическому материалу СЭВ «Штампы для листовой штамповки. Методы базирования штампов на прессах простого и двойного действия».

2. Для фиксирования промежуточной (быстрозажимной) плиты на верхней части штампа и нижней части штампа на подштамповой плите пресса рекомендуется применять установочные фиксаторы двух исполнений:

исполнения 1 - для фиксирования:

промежуточной (быстрозажимной) плиты на верхней части штампа для пресса простого действия;

промежуточной (быстрозажимной) плиты наружного ползуна на прижиме штампа для пресса двойного действия;

исполнения 2 - для фиксирования нижней части штампа на подштамповой плите пресса.

3. Центрирование промежуточной плиты на верхней части штампа приведено на черт. 1 и в табл. 1 и 2.

4. Центрирование верхней промежуточной плиты (для прессов двойного действия) на прижиме приведено на черт. 2 и в табл. 3.

5. Центрирование нижней части штампа на штамповой плите пресса приведено на черт. 3 и в табл. 4.

6. Отверстия под установочные фиксаторы в подштамповой плите пресса приведены на черт. 4 и в табл. 4.

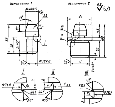
7. Конструкция и размеры установочных фиксаторов приведены: исполнения 1 на черт. 5, исполнения 2 на черт. 5 и в табл. 5.

8. Материал установочных фиксаторов - сталь марки 20 по ГОСТ 1050-74. Глубина цементированного слоя должна быть от 0,8 до 1,2 мм. Твердость HRC 58 ... 62.

Допускается применение конструкционной качественной стали с минимальным временным сопротивлением разрыву Rm = 610 МПа (Н/мм2). Нагрев - токами высокой частоты, глубина термообработанного слоя - не менее 1,5 мм. Твердость HRC 56 ... 62.

9. Остальные технические требования - по ГОСТ 18824-80.

1 - верхняя промежуточная плита; 2 - верхняя часть штампа

Черт. 1

Таблица 1

А

l

150

100

300

200

Таблица 2

L

А1

А2

A3

От 2300 до 2800 включ.

600

900

-

Св. 2800 » 3500 »

600

900

1200

» 3500

900

1200

1500

1 - прижим; 2 - верхняя промежуточная плита

Черт. 2

Таблица 3

t

А ± 1

t

А ± 1

До 630 включ.

415

Св. 1600 до 2000 включ.

1100

Св. 630 до 800 включ.

500

» 2000 » 2500 »

1350

» 800 » 1000 »

600

» 2500 » 3150 »

1675

» 1000 » 1250 »

725

» 3150 » 4000 »

2100

» 1250 » 1600 »

900

 

 

1 - нижняя часть штампа; 2 - нижняя (монтажная) плита; 3 - подштамповая плита

Черт. 3

Таблица 4

мм

L

А

А1

Св. 1250 до 1500 включ.

375

300

» 1500 » 2500 »

675

» 2500 » 4000 »

450

» 4000 » 6300 »

975

» 6300

1275

Черт. 4

Черт. 5

Таблица 5

мм

d

(пред. откл. по b12)

d3

r

b

40

48

1

3

60

67

1,6

5

63

71

 

 



© 2013 Ёшкин Кот :-)