Информационная система
«Ёшкин Кот»

XXXecatmenu

УТВЕРЖДАЮ

И.о. зам. генерального

директора НПО ВНИИМ

им. Д.И. Менделеева

__________ щеглов В.А.

«03»  10 1986 г.

МЕТОДИЧЕСКИЕ УКАЗАНИЯ

Государственная система обеспечения единства измерений

Термопреобразователь сопротивления ТСП-365-01

Методика поверки

 

МИ 1600-87

 

 

Львов
1986

 

РАЗРАБОТАНЫ                   ПО «Микроприбор»

ИСПОЛНИТЕЛИ                  В.И. Горбатый, Е.В. Крайнюк

УТВЕРЖДЕНЫ                    НПО ВНИИМ им. Д.И. Менделеева 03.10.86 г.

 

Настоящие методические указания распространяются на термопреобразователь сопротивления ТСП-365-01 (в дальнейшем - термопреобразователь) по ТУ 25-02.792248-80, предназначенный для измерения температуры морской воды и устанавливает методику его первичной и периодической поверок.

1. Операции и средства поверки

1.1. При проведении поверки должны быть выполнены операции и применены средства поверки с характеристиками, указанными в таблице.

Наименование операции

Номер пункта методики

Наименование образцового средства измерений или вспомогательного средства поверки; номер документа, регламентирующего технические требования к средству, основные технические характеристики

1. Внешний осмотр

4.1

-

2. Опробование

4.2

 

2.1. Проверка целостности цепи чувствительного элемента

4.2.1

Прибор комбинированный типа Ц4352 ТУ 25-04.3303-77, класс 1,5

2.2. Проверка сопротивления электрической изоляции

4.2.2

Мегаомметр типа МЧ 101/1, ТУ 25-04-2130-78, номинальное напряжение 100 В

3. Определение (контроль) метрологических характеристик

4.3

 

3.1. Определение сопротивления при 0 °С (R0) и отклонения R0 от его номинального значения

4.3.1

Прибор тройной точки воды, температура 0,01 °С погрешность поддержания температуры ±0,0002 °С (см. справочное приложение 3).

Потенциометр полуавтоматический 363-2, класс точности 0,002, ТУ 25-04.3037-75Е.

Измерительная катушка электрического сопротивления типа Р-331, класс 0,01 номинальное сопротивление 100 Ом ТУ 25-04.3368-78Е.

Стеклянный ртутный термометр типа ТД-18, ТУ 25-11-931-74.

3.2. Определение индивидуальной статистической характеристики преобразования

4.3.2

Образцовый ртутный стеклянный термометр I разряда с диапазоном измерения от 0 до 630 °С, погрешность 0,002 °С при 0 °С.

Водяной термостат типа ТВП-6 по 2-998-004 ТУ. Диапазон температур от 5 до 95 °С, среднее квадратическое отклонение случайной составляющей погрешности поддержания температуры в рабочей камере не более 3 ∙ 10-3 °С.

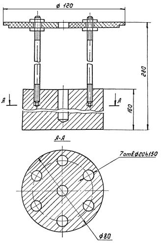
Блок сравнения из дюралюминия с отверстиями для образцового термометра и поверяемых термопреобразователей (см. справочное приложение 4).

См. также оборудование, указанное в п. 3.1 таблицы.

3.3. Определение сопротивления при 32 °С (R32) и отклонения от его номинального значения

4.3.3

Производится расчетным путем.

3.4. Определение погрешности индивидуальной статической характеристики термопреобразователя (D)

4.3.4

Производится расчетным путем.

Примечание: Допускается применять отдельные, вновь разработанные или находящиеся в применении средства поверки, прошедшие метрологическую аттестацию в органах государственной метрологической службы и удовлетворяющий по точности требованиям настоящих методических указаний.

1.2. При получении отрицательных результатов по какой-либо операции поверки дальнейшая поверка термопреобразователя прекращается.

2. Требования безопасности

2.1. При проведении поверок должны быть соблюдены требования безопасности, установленные ГОСТ 12.2.007.0-75.

2.2. При работе с прибором тройной точки воды следует соблюдать особую осторожность, работать только в защитных очках.

3. Условия поверки и подготовка к ней

3.1. При проведении поверки должны быть соблюдены следующие условия.

3.1.1. Параметры окружающего воздуха в помещении, предназначенном для поверки, должны характеризоваться следующими значениями: температура (20 ± 5) °С, относительная влажность от 45 до 80 %, атмосферное давление от 84 до 106 кПа.

3.1.2. Ток, проходящий через чувствительный элемент термопреобразователя, не должен превышать 1 мА.

3.1.3. Измерительная катушка электрического сопротивления должна термостатироваться в масляной ванне.

Температура ее должна быть определена с погрешностью не более ±0,1 °С. Дата поверки катушки не должна отличаться от даты ее применения для измерений более, чем на 2 месяца.

3.2.3. Подготовка поверяемого термопреобразователя.

Со стороны выводных проводников термопреобразователь должен быть защищен хлорвиниловой или резиновой трубкой, плотно надетой на защитную арматуру до фланца для предотвращения попадания воды на выводные проводники.

3.2.4. Подготовка потенциометра.

Измерительный потенциометр должен быть включен по схеме измерения сопротивления, указанной в его инструкции по эксплуатации.

4. Проведение поверки

4.1. Внешний осмотр.

При внешнем осмотре должно быть установлено отсутствие механических повреждений чувствительного элемента термопреобразователя и его защитной арматуры, а также отсутствие следов коррозии. На защитном экране термопреобразователя должен быть указан порядковый номер.

4.2. Опробование.

4.2.1. Проверку целостности цепи чувствительного элемента производят с помощью прибора Ц4352. Электрическая цепь не должна быть нарушена.

4.2.2. Проверка сопротивления электрической изоляции.

Проверку сопротивления электрической изоляции производят с помощью мегаомметра с напряжением 100 В. Напряжение прикладывают между закороченными выводами термопреобразователя и защитной арматурой. Сопротивление электрической изоляции должно быть не менее 20 МОм.

4.8. Определение (контроль) метрологических характеристик.

4.3.1. Определение сопротивления при 0 °С (R0) и отклонения R0 от его номинального значения.

4.3.1.1. Поверяемый термопреобразователь погружают в прибор тройной точки воды так, чтобы чувствительный элемент отстоял от дна колодца на 10 мм. Глубина погружения термопреобразователя должна быть не менее 300 мм. К измерениям приступают через 1 ч после погружения термопреобразователя в прибор.

4.3.1.2. Измерение сопротивления термопреобразователя с помощью потенциометра и образцовой катушки заключается в определении падения напряжения на чувствительном элементе термопреобразователя и падении напряжения на образцовой катушке, включенной последовательно с термопреобразователем.

4.3.1.3. При измерении сопротивления термопреобразователя производят не менее пяти пар отсчетов падения напряжения последовательно на образцовой катушке и на измеряемом термопреобразователе поочередно при прямом и обратном направлении тока.

4.3.1.4. Сопротивление термопреобразователя Rt вычисляют по формуле:

                                                                 (1)

где un и ut - падение напряжения на образцовой катушке и на термопреобразователе соответственно, мВ;

RN - сопротивление образцовой катушки, Ом;

Rt - измеренное сопротивление термопреобразователя, Ом

4.3.1.5. Из полученных пяти пар отсчетов Rt определяют среднее арифметическое значение , а затем вычисляют значение  по формуле:

                                                      (2)

Значение  не должно превышать (100 ± 0,1) Ом

4.3.1.6. При периодической поверке определяют разность сопротивлений , где  - значение сопротивления при 0 °С, взятое из паспорта,  - значение сопротивления, полученное в начале очередной поверки. Если значение разности сопротивлений термопреобразователя не превышает ±0,004 Ом, то в паспорт термопреобразователя заносят данные предыдущей поверки.

4.3.2. Определение индивидуальной статической характеристики преобразования.

4.3.2.1. Индивидуальную статическую характеристику преобразования определяют на основании измерения сопротивления термопреобразователя при температурах: тройной точки воды, (15 ± 2) °С, (30 ± 2) °С.

Последовательность измерения сопротивления следующая:

при температуре тройной точки воды;

при температуре (15 ± 2) °С в водяном термостате;

при температуре тройной точки воды;

при температуре (30 ± 2) °С в водяном термостате;

при температуре тройной точки воды.

4.3.2.2. Измерение сопротивления термопреобразователя при температуре тройной точки воды и вычисление значения  производят, как указано в п.п. 4.3.1.1 - 4.3.1.5 настоящих методических указаний.

4.3.2.3. Поверяемый термопреобразователь и образцовый термометр помещают в отверстия дюралюминиевого блока, погруженного в рабочую камеру термостата. Устанавливают температуру в рабочей камере термостата равной (15 ± 2) °С. Выдерживают поверяемый термопреобразователь и образцовый термометр при этой температуре в течение 1 ч. Скорость изменения температуры не должна превышать 0,01 °С/мин. С помощью образцового термометра определяют температуру поверки, затем измеряют сопротивление поверяемого термопреобразователя, как указано в п.п. 4.3.1.2 - 4.3.1.4 настоящих методических указаний, и снова определяют температуру поверки с помощью образцового термометра. Из полученных пяти пар отсчетов значений сопротивления вычисляют среднее арифметическое значение .

Полученные 2 значения температуры усредняют и по свидетельству образцового термометра определяют температуру поверки t1.

4.3.2.4. Повторно измеряют сопротивление поверяемого термопреобразователя при температуре тройной точки воды и вычисляют , как указано в пп. 4.3.1.1 - 4.3.1.5 настоящих методических указаний.

4.3.2.5. Измерение сопротивления поверяемого термопреобразователя в водяном термостате при температуре (30 ± 2) °С производят аналогично тому, как указано в п. 4.3.2.3 настоящих методических указаний, определив температуру поверки t2 и соответствующее ей среднее значение сопротивления .

4.3.2.6. Повторно измеряют сопротивление поверяемого термопреобразователя при температуре тройной точки воды, и вычисляют , как указано в п.п. 4.3.1.1 - 4.3.1.5 настоящих методических указаний.

4.3.2.7. Определяют среднее значение :

                           (3)

4.3.2.8. При определении индивидуальной статической характеристики преобразования ведут протокол, форма которого приведена в обязательном приложении 1. В протокол записывают значения , , , , t1, , t2, .

4.3.3. Определение сопротивления при 32 °С (R32) и отклонения R32 от его номинального значения.

Сопротивление поверяемого термопреобразователя при 32 °С (R32) рассчитывают по формуле:

                                    (4)

где: , Аср - значения, полученные при поверке термопреобразователя

Сопротивление R32 должно быть:

R32 = (112,647 ± 0,113) Ом

4.3.4. Определение погрешности индивидуальной статической характеристики термопреобразователя.

Погрешность индивидуальной статической характеристики термопреобразователя D определяется по формуле:

                                                    (5)

где D1 - погрешность потенциометра Р-363-2, определяемая по формуле, которая приводится в его техническом описании (здесь и далее в температурном эквиваленте).

D1 = ±0,005 °С

D2 - погрешность образцовой катушки Р-331, определяемая ее классом, без учета изменения ее сопротивления в течение межповерочного интервала:

D2 = ±0,005 °С

D3 - погрешность воспроизведения тройной точки воды

D3 = ±0,0002 °С

D3 - воспроизводимость измерений поверяемого термопреобразователя

D4 = 4,3σ,

где σ - среднее квадратическое отклонение результата измерений сопротивления термопреобразователя

Воспроизводимость измерений термопреобразователя определяют по трем значениям R0, полученным в процессе поверки.

Определяют:

Вычисляют D4:

причем n = 3

Значения D1, D2, D3, D4 подставляют в формулу 5 и определяют значение D, которое не должно быть более ±0,02 °С.

5. Обработка результатов измерений

5.1. Температурная зависимость сопротивления поверяемого преобразователя описывается уравнением

                           (6)

где: Rt - сопротивление термопреобразователя при температуре t °C, Ом;

t - любая температура в диапазоне измерений, °С

Коэффициент Аср определяют путем усреднения двух его значений, полученных в процессе поверки:

                                                            (7)

                                                         (8)

где: , ,  - значения сопротивления термопреобразователя, полученные в результате измерения при температурах тройной точки воды, а также при (15 ± 2) °С и (30 ± 2) °С в водяном термостате, Ом.

t1, t2 - значения температур поверки, соответствующие ,

В = -5,88 ∙ 10-7 °С-2

6. Оформление результатов поверки

6.1. Значения , Аср, R32, определенные при первичной поверке термопреобразователя, записывают в его паспорт. В паспорт также записывают значение В = -5,88 ∙ 10-7 °С-2

6.2. Если при периодической поверке значение  термопреобразователя отличается от значения  предыдущей поверки не более, чем на ±0,004 Ом, то в паспорт записывают значения , Аср, R32, определенные при предыдущей поверке. В противном случае термопреобразователь подвергается поверке в объеме первичной.

Значение В записывают в паспорт в любом случае равным -5,88 ∙ 10-7 °С-2

6.3. Результаты поверки представляют в виде таблицы, форма которой приведена в обязательном приложении 2.

6.4. Если при периодической поверке значение  выйдет за пределы 100 ± 0,1 Ом, то термопреобразователь считается непригодным к применению и в паспорт вносят запись о его непригодности.

Зам. гл. конструктора                                                                    В.И. Горбатый

Исполнитель                                                                                  Е.В. Крайнюк

СОГЛАСОВАНО                                                    С.В. Надыгач

ПРИЛОЖЕНИЕ 1

Обязательное

ПРОТОКОЛ

поверки термопреобразователя сопротивлений

ТСП-365-01 №

Изготовлен ________________________________________________________________

поверка производилась по приборам:

Потенциометр № ______________, дата поверки _________________________________

Катушка сопротивления № __________, дата поверки ____________________________

Образцовый термопреобразователь № __________, дата поверки __________________.

Дата поверки _______________________________________________________________

Измерительный ток в цепи термопреобразователя ________________________________

, Ом ________________________________

, Ом ________________________________

, Ом ________________________________

, Ом ________________________________

, Ом ________________________________

t1, °С ________________________________

, Ом ________________________________

t2, °С ________________________________

Поверку производил _________________________________________

«_______» ______________________198      г.

ПРИЛОЖЕНИЕ 2

Обязательное

РЕЗУЛЬТАТЫ ПОВЕРКИ

Номер термопреобразователя

, Ом

Аср, °С-1

В, °С-2

R32, Ом

 

 

 

-5,88 ∙ 10-7

 

Поверку производил                      ________________________

«___» __________ 19____ г.

ПРИЛОЖЕНИЕ 3

Справочное

Описание: 1004491-1

ПРИЛОЖЕНИЕ 4

Справочное

Описание: 1004491-2

 

СОДЕРЖАНИЕ

 

 



© 2013 Ёшкин Кот :-)