Информационная система
«Ёшкин Кот»

XXXecatmenu

Минмонтажспецстрой СССР

Главмонтажавтоматика

РУКОВОДЯЩИЙ МАТЕРИАЛ

Согласовано

Утверждаю

Главный инженер треста

«Промавтоматика»

М.А. Чудинов

20.01.1982 г.

Главный инженер

П.А. Минаев

25.01.1982 г.

СИСТЕМЫ АВТОМАТИЗАЦИИ ТЕХНОЛОГИЧЕСКИХ
ПРОЦЕССОВ
ЭЛЕКТРОАППАРАТУРА
, ПОСТАВЛЯЕМАЯ
КОМПЛЕКТНО СО ЩИТАМИ И ПУЛЬТАМИ ПО
ОСТ 36.13-76

МОНТАЖНЫЕ СИМВОЛЫ

РМ4-184-81

Срок введения

01 апреля 1982 г.

Утверждено ГМА

рег. № РМ4-387 1982 г.

Зам. директора института Е.К. Дубасов

Начальник отдела А.З. Хакимов

Руководитель разработки А.М. Гуров

1982

В руководящем материале приведены монтажные символы электроаппаратуры, поставляемой комплектно со щитами и пультами, изготовляемыми по ОСТ 36.13-76 и ОСТ 36.ЭД1.13-79.

При разработке данного материала использована методика выполнения символов, изложенная в «Инструкции. Электрические аппараты и приборы. Монтажные символы» ОЛХ.684.009-82. Министерства электротехнической промышленности СССР. (ВНИИР г. Чебоксары, 1982 г.)

С выходом настоящего руководящего материала аннулируется РМ4-184-80.

1. ОБЛАСТЬ РАСПРОСТРАНЕНИЯ И ОСНОВНЫЕ ПОЛОЖЕНИЯ

1.1. Руководящий материал устанавливает правила выполнения монтажных символов и содержит чертежи монтажных символов электроаппаратуры, которая поставляется комплектно со щитами и пультами по ОСТ 36.13-76 и ОСТ 36.ЭД1.13-79, изготовляемыми заводами изготовителями Минмонтажспецстроя СССР, изм. 1 (приложение 3).

Перечни комплектно поставляемой аппаратуры приведены в следующих документах:

1) РМ4-183-81 «Системы автоматизации технологических процессов. Порядок согласования технической документации на изготовление щитов и пультов заводами-изготовителями Минмонтажспецстроя СССР», приложение 3;

2) «Ограничительном перечне электроаппаратуры, используемой при проектировании систем автоматизации технологических процессов для зарубежных объектов», изм. 1. Приложение 3 к РМ4-183-81, изм. 1.

Выбор электроаппаратуры следует выполнять в соответствии с указаниями, изложенными во вводной части приложения 3 к РМ4-183-81.

1.2. Требования настоящего руководящего материала распространяются на проекты систем автоматизация технологических процессов, выполняемых в соответствии с «Инструкцией о составе, порядке разработки, согласования и утверждения проектов и смет на строительство предприятий, зданий и сооружений» СН 202-81* и с «Временными указаниями по проектированию систем автоматизации технологических процессов»

1.3. Настоящий руководящий материал предназначен для применения:

1) при разработке в проектах схем электрических принципиальных, выполняемых по РМ4-106-82, и чертежей общих видов щитов и пультов, выполняемых по РМ4-107-82;

2) при обработке технической документации на щиты и пульты заводами-изготовителями Минмонтажспецстроя СССР.

1.4. Монтажный символ - это электрическая схема внутренних соединений аппарата с таким относительным расположением выводов, которое соответствует действительному расположению их на аппарате с монтажной стороны.

1.5. На монтажных символах элементы аппарата (катушки, контакты и т.п.) изображают в виде условных графических обозначений в соответствии с действующими стандартами ЕСКД.

1.6. На монтажном символе каждый вывод аппарата должен иметь обозначение по указаниям п.п. 1.7; 1.8.

1.7. Для аппаратов, имеющих заводское обозначение выводов, на монтажных символах приводят существующие обозначения, в соответствии с технической документацией завода-изготовителя (ТУ, инструкции по монтажу и эксплуатации и т.п.). В руководящем материале указанные аппараты отмечены знаком *.

1.8. Для аппаратов, не имеющих заводских обозначений выводов на монтажных символах приводят условные обозначения, выполненные по правилам данного пункта.

1) выводы главных контактов автоматических выключателей, магнитных пускателей обозначают однозначными числами, начиная с единицы;

2) выводы вспомогательных контактов обозначают двухзначными числами, в которых первая цифра обозначает порядковый номер вывода в пределах данного аппарата (подряд, независимо от вида контакта), а вторая цифра отражает вид контакта. Принята следующая условность в обозначении вида контактов:

1-2 - контакт размыкающий;

3-4 - контакт замыкающий;

1-2-3 - контакт переключающий;

5-6 - контакт размыкающий особый;

7-8 - контакт замыкающий особый;

5-6-7 - контакт переключающий особый;

3) аппаратам, с количеством контактов (вспомогательных) более 10, порядковые номера выводам присваиваются по каждой группе контактов, начиная с единицы.

Примеры условных обозначений вспомогательных контактов разного вида даны на рисунках 1 и 2.

4) катушки аппаратов обозначаются прописными буквами латинского алфавита:

А-В - включающая,

С-Д - отключающая,

О-Н - защелки

Рис. 1

Аппарат с количеством контактов менее 10

Рис. 2

Аппарат с количеством контактов более 10

1.9. Монтажные символы автоматических выключателей серий АП 50 Б, АК 50 выполнены для исполнений без вспомогательных контактов. При применении автоматических выключателей со вспомогательными контактами в проекте следует разработать монтажный символ в соответствия с п.п. 1.4; 1.8.

1.10. На монтажных символах реле времени ВЛ 34, ВЛ 35, ВЛ 44, ВЛ 46, переключателей УП 5300, ПМО, ПТИ-М, ПЩ, тумблеров П2Т, трансформаторов ОСО-0,25, стабилизаторов серии С, выпрямителей СВ-4м, прерывателей РИП-2, СИП-01УМ, ИМС-5, реле времени РТД11, РТД12, прерывателей ППВ-1, блоков БАС, БПС, показаны только схемы расположения выводов.

1.11. На аппаратуру, имеющую не более двух выводов, кроме автоматических выключателей А63, монтажные символы в руководящем материале не приведены, например: лампы сигнальные, звонки, предохранители, конденсаторы, диоды, штепсельные розетки. В проектной документации номера выводов для таких аппаратов, кроме диодов, обозначают условно цифрами 1, 2 (слева направо, сверху вниз), как показано на рис. 3.

Рис. 3

Номера выводов у диодов обозначают условно знаками «+», «-», как показано на рис. 4.

Рис. 4

В проектной документации по п. 1.3. (1) монтажные символы на вышеперечисленную аппаратуру не выполняют.

1.12. В руководящем материале в таблицах даны следующие условные обозначения контактов:

S - замыкающий;

Р - размыкающий;

П - переключающий.

1.13. При применении в проектах электроаппаратов, на которые монтажные символы в руководящем материале не приведены, их следует разработать в проектной документации, руководствуясь при этом правилами, изложенными в данном материале.

1.14. Монтажные символы электроаппаратов в настоящем материале выполнены на основании документов на их поставку (государственным стандартам, техническим условиям) действующих на 1 апреля 1985 г.

2. РЕЛЕ

2.1. Реле указательные типа РУ-1 ТУ 16-523.538-77

Таблица 1

Тип реле

Присоединение проводов

Рис.

РУ-1-20-1

заднее

1

РУ-1-20-2

переднее

2

РУ-1-02-1

заднее

3

РУ-1-02-2

переднее

4

РУ-1-11-1

заднее

5

РУ-1-11-2

переднее

6

Рис. 1

Рис. 2

Рис. 3

Рис. 4

Рис. 5

Рис. 6

2.2. Реле электромагнитное типа МКУ-48с РАО.450.002 ТУ (открытое исполнение)

Таблица 2

Паспорт реле

Количество и тип контактов

Рис.

РАЧ.500.135П

.

1

РАЧ.500.202П1)

РАЧ.501.008П

РАЧ.509.013П

РАЧ.509.014П

РАЧ.509.016П

РАЧ.501.033П

РАЧ.501.075П

РАЧ.509.079П

РАЧ.501.092П

РАЧ.501.102П

РАЧ.501.104П

РАЧ.501.113П

РАЧ.509.118П

РАЧ.501.147П

РАЧ.501.162П

РАЧ.501.327П

РАЧ.506.177П

.

2

РАЧ.500.222П

РАЧ.501.114П

РАЧ.506.178П

2п.

3

РАЧ.500.232П

РАЧ.500.233П

РАЧ.500.236П

РАЧ.506.239П

РАЧ.509.009П

РАЧ.509.045П

РАЧ.501.066П

РАЧ.501.072П

РАЧ.509.081П

РАЧ.501.088П

РАЧ.501.094П

РАЧ.501.148П

РАЧ.501.176П

РАЧ.509.179П

РАЧ.509.325П1)

РАЧ.509.326П1)

РАЧ.500.136П1)

.

4

РАЧ.506.167П1)

РАЧ.500.244П

РАЧ.506.247П1)

РАЧ.506.248П1)

РАЧ.500.407П1)

РАЧ.500.408П

РАЧ.509.006П

РАЧ.501.030П

РАЧ.501.035П

РАЧ.501.057П

РАЧ.501.060П

РАЧ.509.083П

РАЧ.501.096П

РАЧ.509.116П1)

РАЧ.509.126П

РАЧ.509.144П

РАЧ.501.149П

РАЧ.501.012П

РАЧ.509.415П

РАЧ.500.414П

.

5

РАЧ.506.154П

., .

6

РАЧ.506.171П

РАЧ.500.181П

РАЧ.500.260П

РАЧ.500.261П1)

РАЧ.500.440П

РАЧ.509.007П

РАЧ.501.010П

РАЧ.501.059П

РАЧ.509.063П

РАЧ.501.070П1)

РАЧ.501.090П

РАЧ.509.100П

РАЧ.509.120П

РАЧ.501.129П

РАЧ.509.146П

РАЧ.501.150П

РАЧ.501.199П

РАЧ.509.454П

РАЧ.500.413П

., 2п.

7

РАЧ.506.451П1)

РАЧ.509.005П

., 2п.

8

РАЧ.501.011П

РАЧ.509.020П

РАЧ.509.056П

РАЧ.501.069П1)

РАЧ.501.073П

РАЧ.509.085П1)

РАЧ.501.097П

РАЧ.509.124П1)

РАЧ.501.127П

РАЧ.501.151П

РАЧ.501.163П1)

РАЧ.501.174П

РАЧ.509.188П1)

РАЧ.509.021П1)

., 2п.

9

РАЧ.501.062П

РАЧ.501.064П1)

РАЧ.509.086П1)

РАЧ.501.098П

РАЧ.501.107П

РАЧ.501.130П1)

РАЧ.509.139П1)

РАЧ.501.152П

РАЧ.509.416П1)

РАЧ.501.441П

4п.

10

РАЧ.501.442П

РАЧ.501.443П

РАЧ.501.444П

РАЧ.501.445П

РАЧ.501.446П1)

РАЧ.509.447П

РАЧ.509.448П

РАЧ.509.449П

РАЧ.509.450П1)

РАЧ.501.016П

.

11

РАЧ.501.155П

РАЧ.501.156П1)

РАЧ.509.157П1)

РАЧ.509.158П1)

РАЧ.501.190П

РАЧ.509.023П

., .

12

РАЧ.509.027П1)

РАЧ.501.076П

РАЧ.501.164П1)

РАЧ.509.189П1)

РАЧ.501.191П

РАЧ.509.018П1)

., .

13

РАЧ.509.031П

РАЧ.501.032П

РАЧ.501.193П

РАЧ.506.412П

., ., 2п.

14

РАЧ.501.194П1)

., ., 2п.

15

РАЧ.501.036П

., 2п.

16

РАЧ.501.159П

РАЧ.501.160П1)

РАЧ.509.017П

.

17

РАЧ.501.038П

РАЧ.501.040П

РАЧ.501.195П1)

РАЧ.509.019П1)

., 2р.

18

РАЧ.501.039П

РАЧ.501.192П

1) Применение реле должно быть согласовано с предприятием-изготовителем

Рис. 1

Рис. 2

Рис. 3

Рис. 4

Рис. 5

Рис. 6

Рис. 7

Рис. 8

Рис. 9

Рис. 10

Рис. 11

Рис. 12

Рис. 13

Рис. 14

Рис. 15

Рис. 16

Рис. 17

Рис. 18

2.3. Реле электромагнитное типа МКУ-48С РАО.450.002 ТУ (закрытое исполнение)

Таблица 3

Паспорт реле

Количество и тип контактов

Рис.

РАЧ.500.184П

.

1

РАЧ.501.044П

РАЧ.501.074П

РАЧ.501.091П

РАЧ.501.103П

РАЧ.501.109П

РАЧ.501.172П

РАЧ.509.048П

РАЧ.509.061П

РАЧ.509.078П

РАЧ.509.138П

РАЧ.500.133П

.

2

РАЧ.506.169П1)

РАЧ.500.183П

РАЧ.506.304П1)

РАЧ.500.306П1)

РАЧ.506.311П1)

РАЧ.501.022П

РАЧ.501.028П

РАЧ.501.042П

РАЧ.501.095П

РАЧ.501.105П

РАЧ.501.111П

РАЧ.509.047П

РАЧ.509.050П

РАЧ.509.053П

РАЧ.509.082П

РАЧ.509.141П1)

РАЧ.509.143П

РАЧ.509.115П

РАЧ.506.131П

2п.

3

РАЧ.500.132П

РАЧ.500.134П

РАЧ.500.137П

РАЧ.501.034П

РАЧ.501.071П

РАЧ.501.087П

РАЧ.501.093П

РАЧ.501.110П

РАЧ.501.175П

РАЧ.509.043П

РАЧ.509.051П

РАЧ.509.052П

РАЧ.509.080П

РАЧ.509.101П

РАЧ.509.121П

РАЧ.509.122П

РАЧ.509.123П1)

РАЧ.509.180П

РАЧ.506.153П

., .

4

РАЧ.506.166П

РАЧ.500.168П

РАЧ.500.182П

РАЧ.500.197П

РАЧ.500.320П1)

РАЧ.500.322П1)

РАЧ.500.409П

РАЧ.500.410П

РАЧ.500.450П1)

РАЧ.509.025П

РАЧ.509.026П

РАЧ.509.046П

РАЧ.509.084П

РАЧ.509.099П

РАЧ.509.119П

РАЧ.509.140П

РАЧ.509.142П

РАЧ.509.145П

РАЧ.509.196П

РАЧ.501.041П

РАЧ.500.089П

РАЧ.501.106П

РАЧ.501.112П

РАЧ.501.128П

РАЧ.501.173П

РАЧ.501.029П

.

5

РАЧ.501.108П

РАЧ.509.049П

РАЧ.509.054П

РАЧ.500.055П

1) Применение реле должно быть согласовано с предприятием-изготовителем.

Рис. 1

Рис. 2

Рис. 3

Рис. 4

Рис. 5

2.4. Реле промежуточное типа ПЭ-21 ТУ 16-523.457-80 (открытое исполнение)

Таблица 4

Тип реле

Количество и тип контактов

Рис.

ПЭ-21-15

., .

1

ПЭ-21-16

.

2

ПЭ-21-17

., .

3

ПЭ-21-18

., .

4

ПЭ-21-21

., .

5

ПЭ-21-22

., .

6

Рис. 1

Рис. 2

Рис. 3

Рис. 4

Рис. 5

Рис. 6

2.5. Реле промежуточное типа ПЭ-21 ТУ 16-523.457-80 (закрытое исполнение)

Таблица 5

Тип реле

Количество и тип контактов

Рис.

ПЭ-21-5

., .

1

ПЭ-21-6

.

2

ПЭ-21-7

., .

3

ПЭ-21-8

., .

4

ПЭ-21-11

., .

5

ПЭ-21-12

., .

6

Рис. 1

Рис. 2

Рис. 3

Рис. 4

Рис. 5

Рис. 6

2.6. Реле электромагнитное универсальное типа РПУ-0 ТУ 16-523.295-79

Таблица 6

Тип реле

Количество переключающих контактов

Вид присоединения внешних проводников

Рис.

РПУ-0-311У4

3

Заднее

1

РПУ-0-411У4

РПУ-0-511У4

РПУ-0-611У4

РПУ-0-361У4

РПУ-0-461У4

РПУ-0-561У4

РПУ-0-661У4

РПУ-0-312У4

2

Заднее

2

РПУ-0-412У4

РПУ-0-512У4

РПУ-0-612У4

РПУ-0-362У4

РПУ-0-462У4

РПУ-0-562У4

РПУ-0-662У4

РПУ-0-516У4

6

Заднее

3

РПУ-0-616У4

РПУ-0-911У4

3

Переднее

4

РПУ-0-961У4

РПУ-0-912У4

2

Переднее

5

РПУ-0-962У4

Рис. 1

Рис. 2

Рис. 3

Рис. 4

Рис. 5

2.7. Реле промежуточные серии РПУ-1 ТУ 16-523.020-76 (открытое исполнение)

Таблица 7

Тип реле

Рис.

РПУ-1-011

1

РПУ-1-061

РПУ-1-012

2

РПУ-1-062

РПУ-1-013

3

РПУ-1-063

РПУ-1-014

4

РПУ-1-064

РПУ-1-015

5

РПУ-1-065

РПУ-1-016

6

РПУ-1-066

Рис. 1

Рис. 2

Рис. 3

Рис. 4

Рис. 5

Рис. 6

2.8. Реле промежуточное серии РПУ-1 ТУ 16-523.020-76 (закрытое исполнение)

Таблица 8

Тип реле

Рис.

РПУ-1-311

1

РПУ-1-361

РПУ-1-312

2

РПУ-1-362

РПУ-1-313

3

РПУ-1-363

РПУ-1-314

4

РПУ-1-364

РПУ-1-315

5

РПУ-1-365

РПУ-1-316

6

РПУ-1-366

Рис. 1

Рис. 2

Рис. 3

Рис. 4

Рис. 5

Рис. 6

2.9. Реле электромагнитное универсальное типа РПУ-2 ТУ 16-523.331-78 (открытое исполнение)

Таблица 9

Тип реле

Количество и тип контактов

Рис.

РПУ-2-010203; РПУ-2-060203

.

1

РПУ-2-012003; РПУ-2-062003

.

2

РПУ-2-010023; РПУ-2-060023

2п.

3

РПУ-2-010223; РПУ-2-060223

., 2п.

4

РПУ-2-010403; РПУ-2-060403

.

5

РПУ-2-012203; РПУ-2-062203

, .

6

РПУ-2-014003; РПУ-2-064003

.

7

РПУ-2-012403; РПУ-2-062403

., .

8

РПУ-2-014203; РПУ-2-064203

, .

9

РПУ-2-016003; РПУ-2-066003

.

10

РПУ-2-010043; РПУ-2-060043

4п.

11

РПУ-2-012023; РПУ-2-062023

., 2п.

12

РПУ-2-012223; РПУ-2-062223

., ., 2п.

13

РПУ-2-014023; РПУ-2-064023

., 2п.

14

РПУ-2-016203; РПУ-2-066203

., .

15

РПУ-2-018003; РПУ-2-068003

.

16

РПУ-2-014403; РПУ-2-064403

., .

17

Рис. 1

Рис. 2

Рис. 3

Рис. 4

Рис. 5

Рис. 6

Рис. 7

Рис. 8

Рис. 9

Рис. 10

Рис. 11

Рис. 12

Рис. 13

Рис. 14

Рис. 15

Рис. 16

Рис. 17

2.10. Реле электромагнитное универсальное типа РПУ-2 ТУ 16-523.331-78 (закрытое исполнение)

Таблица 10

Тип реле

Количество и тип контактов

Рис.

Завод-изготовитель:

РПУ-2-510023; РПУ-2-560023

2п.

1

г. Киев «Контакт»

УПП ВОС г. Ленинград

РПУ-2-510043; РПУ-2-560043

4п.

2

РПУ-2-510203; РПУ-2-560203

.

3

РПУ-2-510223; РПУ-2-560223

., 2п.

4

РПУ-2-510403; РПУ-2-560403

.

5

РПУ-2-512003; РПУ-2-562003

.

6

РПУ-2-514403; РПУ-2-564403

., .

7

РПУ-2-512023; РПУ-2-562023

., 2п.

8

РПУ-2-512203; РПУ-2-562203

., .

9

РПУ-2-512223; РПУ-2-562223

., ., 2п.

10

РПУ-2-512403; РПУ-2-562403

., .

11

РПУ-2-514003; РПУ-2-564003

.

12

г. Киев «Контакт»

УПП ВОС г. Ленинград

РПУ-2-514023; РПУ-2-564023

., 2п.

13

РПУ-2-514203; РПУ-2-564203

., .

14

РПУ-2-516003; РПУ-2-566003

.

15

РПУ-2-516203; РПУ-2-566203

., .

16

РПУ-2-518003; РПУ-2-568003

.

17

Рис. 1

Рис. 2

Рис. 3

Рис. 4

Рис. 5

Рис. 6

Рис. 7

Рис. 8

Рис. 9

Рис. 10

Рис. 11

Рис. 12

Рис. 13

Рис. 14

Рис. 15

Рис. 16

Рис. 17

2.11. Реле промежуточное двухпозиционное типа РП8 ТУ 16-523.072-75

2.12. Реле промежуточное двухпозиционное типа РП9 ТУ 16-523.072-75

2.13. Реле промежуточное двухпозиционное типа РП11 ТУ 16-523.072-75

Таблица 11

Рис. 1

Рис. 2

2.14. Реле промежуточное двухпозиционное типа РП12 ТУ 16-523.072-75

Таблица 12

Присоединение проводов

Рис.

Переднее

1

Заднее

2

Рис. 1

Рис. 2

2.15. Реле промежуточное типа РП23, РП25 ТУ 16-523.483-74

Таблица 13

Тип реле

Количество и тип контактов

Рис.

РП23, РП25

., .

1

РП23, РП25

., .

2

РП23, РП25

., .

3

РП23, РП25

., .

4

Рис. 1

Рис. 2

Рис. 3

Рис. 4

2.16. Реле промежуточное серии РП-250 ТУ 16-523.483-78

Таблица 14

Тип реле

Рис.

РП-251

1

РП-252

2

РП-253

3

РП-254

4

РП-255

5

РП-256

6

Рис. 1

Рис. 2

Рис. 3

Рис. 4

Рис. 5

Рис. 6

2.17. Реле времени серий РВ100, РВ200 ТУ 16-523.158-79

Таблица 15

Тип реле

Напряжение, В

Присоединение проводов

Рис.

РВ112, РВ128, РВ132, РВ142

24, 48

переднее

1

заднее

2

110, 220

переднее

3

заднее

4

РВ114, РВ124, РВ134, РВ144

24, 48

переднее

5

заднее

6

110, 220

переднее

7

заднее

8

РВ113, РВ127, РВ133, РВ143

24, 48, 110, 220

переднее

9

заднее

10

РВ218, РВ228, РВ238, РВ248

110, 127, 220, 380

переднее

1

заднее

2

РВ217, РВ227, РВ237, РВ247

110, 127, 220, 380

переднее

5

заднее

6

РВ215, РВ225, РВ235, РВ245

110, 127, 220, 380

переднее

11

заднее

12

Рис. 1

Рис. 2

Рис. 3

Рис. 4

Рис. 5

Рис. 6

Рис. 7

Рис. 8

Рис. 9

Рис. 10

Рис. 11

Рис. 12

2.18. Реле времени программные серии ВС-10 ТУ 16-523.476-78

Таблица 16

Тип реле

Количество и тип контактов

Рис.

ВС-10-31-38

.; .

1

ВС-10-62-68

.; .

2

Рис. 1

Рис. 2

2.19. Реле импульсной сигнализации типа РИС-Э2М ТУ 16-523.309-78

2.20. Реле импульсной сигнализации типа РИС-Э3М ТУ 16-523.311-78

2.21. Реле времени пневматические РВП-72 ТУ 16-523.472-79Е

Таблица 17

Тип реле

Количество и тип контактов

Рис.

с выдержкой времени

без выдержки времени

РВП72-3121-00У4

., .

-

1

РВП72-3122-00У4

., .

-

2

РВП72-3221-00У4

., .

., .

3

РВП72-3222-00У4

., .

., .

4

РВП72-3323-00У4

., .

-

5

Рис. 1

Рис. 2

Рис. 3

Рис. 4

Рис. 5

2.22. Реле времени ВЛ34 ТУ 16-523.535-77

2.23. Реле времени ВЛ-35 ТУ 16-523.535-77

2.24. Реле времени ВЛ43 - ВЛ48 ТУ 16-523.585-80

Таблица 18

Тип реле

Присоединение проводов

Напряжение, В

Рис.

ВЛ-43

ВЛ-45

ВЛ-47

ВЛ-48

Монтаж утопленный с присоединением проводов пайкой или штекерными зажимами

24

1

110

2

Монтаж утопленный и выступающий с присоединением проводов под винт

24

4

110

220

5

ВЛ-44

ВЛ-46

Монтаж утопленный с присоединением проводов пайкой

24

3

Монтаж утопленный и выступающий с присоединением проводов под винт

24

6

Рис. 1

Рис. 2

Рис. 3

Рис. 4

Рис. 5

Рис. 6

2.25 Реле времени типа РВ4 ТУ 16-523.255-75

3. Кнопки и ключи управления

3.1. Выключатель КЕ-011 ТУ 16-526.407-79

Таблица 19

Тип

Исполнение

Рис.

КЕ-011

Исп. 1

1

Исп. 2

2

Исп. 3

3

Исп. 4

4

Исп. 5

5

Рис. 1

Рис. 2

Рис. 3

Рис. 4

Рис. 5

3.2. Выключатель КЕ-012 ТУ 16-526.407-79

Таблица 20

Тип

Исполнение

Рис.

КЕ-012

Исп. 1

1

Исп. 2

2

Исп. 3

3

Исп. 4

4

Исп. 5

5

Исп. 6

6

Исп. 7

7

Исп. 8

8

Исп. 9

9

Рис. 1

Рис. 2

Рис. 3

Рис. 4

Рис. 5

Рис. 6

Рис. 7

Рис. 8

Рис. 9

3.3. Кнопочной пост ПКЕ-112 ТУ 16-526.216-78

Таблица 21

Тип

Рис.

ПКЕ112-1

ПКЕ212-1

1

ПКЕ112-2

ПКЕ212-2

2

ПКЕ112-3

ПКЕ212-3

3

Рис. 1

Рис. 2

Рис. 3

3.4. Переключатели шестипакетные малогабаритные серии ПМО ТУ 16-526.128-78

Таблица 22

Положение переключателя в изделии

Рис.

Для дверей щитов

1

Для крышек пультов

2

Рис. 1

Рис. 2

3.5. Переключатели универсальные серии УП-5300 ТУ 16-524.074-75

3.5.1. Для дверей щитов

3.5.2. Для крышек пультов

3.6. Переключатели серии ПКУ-3 ТУ 16-526.047-74

3.6.1. Для дверей щитов

3.6.2. Для крышек пультов

4. Выключатели и переключатели

4.1. Переключатели мгновенного действия (тумблеры) типа ТВ, ТП УСО.360.049 ТУ

Таблица 23

Тип тумблера

Рис.

ТВ1-1

1

ТВ1-2

2

ТВ1-4

3

ТВ2-1

1

ТП1-2

4

ТВ2-1-2

5

Рис. 1

Рис. 2

Рис. 3

Рис. 4

Рис. 5

4.2. Переключатель П2Т ВТО.360.002 ТУ

4.3. Выключатели (переключатели) пакетные серии ПВ, ПП ОСТ 16.0526.001-77

Таблица 24

Наименование переключателя

Рис.

ПВ1-10

1

ПВ2-10

3

ПВ2-25

ПВ3-10

2

ПВ3-25

ПП2-10/Н2

4

ПП2-25/Н2

ПП3-10/Н2

5

ПП3-25/Н2

ПП2-10/Н3

6

ПП2-25/Н3

7

ПП3-10/Н3

8

ПП3-25/Н3

9

Рис. 1

Рис. 2

Рис. 3

Рис. 4

Рис. 5

Рис. 6

Рис. 7

Рис. 8

Рис. 9

5. Пускатели и автоматы

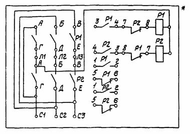
5.1. Пускатели магнитные ПМЕ ОСТ 160536.001-72

Таблица 25

Тип магнитного пускателя

Рис.

ПМЕ-012

1

ПМЕ-022

ПМЕ-032

ПМЕ-042

2

ПМЕ-052

ПМЕ-062

ПМЕ-072

3

ПМЕ-082

ПМЕ-092

ПМЕ-0731)

4

ПМЕ-0831)

ПМЕ-0931)

ПМЕ-0741)

5

ПМЕ-0841)

ПМЕ-0941)

ПМЕ-0732)

6

ПМЕ-0832)

ПМЕ-0932)

ПМЕ-0742)

7

ПМЕ-0842)

ПМЕ-0942)

ПМЕ-112

8

ПМЕ-122

ПМЕ-132

ПМЕ-113

9

ПМЕ-123

ПМЕ-133

ПМЕ-114

10

ПМЕ-124

ПМЕ-134

ПМЕ-212

11

ПМЕ-222

ПМЕ-232

ПМЕ-213

12

ПМЕ-223

ПМЕ-233

ПМЕ-214

13

ПМЕ-224

ПМЕ-234

ПМЕ-026

14

ПМЕ-036

ПМЕ-056

15

ПМЕ-066

ПМЕ-086

16

ПМЕ-096

ПМЕ-025

17

ПМЕ-035

ПМЕ-055

18

ПМЕ-065

ПМЕ-085

19

ПМЕ-095

ПМЕ-226

20

ПМЕ-236

ПМЕ-225

21

ПМЕ-235

1) Магнитные пускатели с электрической блокировкой по главной цепи.

2) Магнитные пускатели с механической блокировкой по главной цепи.

Рис. 1

Рис. 2

Рис. 3

Рис. 4

Рис. 5

Рис. 6

Рис. 7

Рис. 8

Рис. 9

Рис. 10

Рис. 11

Рис. 12

Рис. 13

Рис. 14

Рис. 15

Рис. 16

Рис. 17

Рис. 18

Рис. 19

Рис. 20

Рис. 21

Примечание. Номера С4, С5 выводам тепловых реле РТ присвоены условно.

5.2. Выключатель автоматический серии АП50Б ТУ 16-522.066-75

Таблица 26

Тип автоматов

Рис.

АП50-

1

АП50-

АП50-2МТ

АП50-3М

2

АП50-

АП50-3МТ

Рис. 1

Рис. 2

5.3. Выключатель автоматический серии АК50 ТУ 16-522.111-74

Таблица 27

Число полюсов

Рис.

2 полюсный

1

3 полюсный

2

Рис. 1

Рис. 2

5.4. Выключатель автоматический АВ3 ТУ 16-522.110-74

6. Трансформаторы и стабилизаторы

6.1. Трансформаторы однофазные серии ОСМ ГОСТ 16710-76

Таблица 28

Тип

Мощность

Рис

ОСМ

0,063; 0,1; 0,25

1

0,63; 1

2

Рис. 1

Рис. 2

6.2. Трансформатор однофазный ОСО-0,25-У3 ТУ 16-517.729-78

Таблица 29

Номинальное напряжение U1 (выводы 1, 2)

Номинальное напряжение U2 (выводы 3, 5)

127

12

220

24

380

36

660

42

 

110

6.3. Стабилизаторы напряжения электромагнитные серии С ТУ 25-05-1798-75

Таблица 30

Тип стабилизатора

Напряжение сети

Номера выводов

Напряжение стабилизированное

Номера выводов

С-0,09; С-0,16; С-0,28

1; 5

6; 7

7. Выпрямители

7.1. Сетевой выпрямитель СВ- ТУ 25-02-530454-77

8. Резисторы

8.1. Резисторы проволочные эмалированные типа ПЭВР ГОСТ 6513-77

9. Изделия разные

9.1. Переключатель выбора точек измерения ПТИ-М ТУ 25.08.116-77

9.2. Переключатель щеточный щитовой типа ПЩ ТУ 205.УССР-380-79Е

9.3. Ступенчатый импульсный прерыватель СИП-01УМ ТУ 50-58-76

10. Изделия Главмонтажавтоматики

10.1. Прерыватель регулирующий импульсный РИП-2 ТУ 36.1748-74

10.2. Устройство прерывающее ИМС-5 ТУ 36.1220-74

10.3. Щиток электропитания ЭЩП- ТУ 36.1270-83

11. Сигнальная арматура

11.1. Табло световое ТСБ ТУ 16.535.424-79

Лист регистрации изменений

Номера листов (страниц)

Всего листов/страниц в докум.

документа

Входящийсопроводительного документа и дата

Подпись

Дата

Изм.

Измененных

Замененных

Новых

Аннулированных

 

 

 

 

 

 

 

 

 

 

СОДЕРЖАНИЕ

1. Область распространения и основные положения. 1

2. Реле. 4

2.1. Реле указательные типа РУ-1 ТУ 16-523.538-77. 4

2.2. Реле электромагнитное типа МКУ-48с РАО.450.002 ТУ (открытое исполнение) 5

2.3. Реле электромагнитное типа МКУ-48С РАО.450.002 ТУ (закрытое исполнение) 12

2.4. Реле промежуточное типа ПЭ-21 ТУ 16-523.457-80 (открытое исполнение) 14

2.5. Реле промежуточное типа ПЭ-21 ТУ 16-523.457-80 (закрытое исполнение) 16

2.6. Реле электромагнитное универсальное типа РПУ-0 ТУ 16-523.295-79. 17

2.7. Реле промежуточные серии РПУ-1 ТУ 16-523.020-76 (открытое исполнение) 19

2.8. Реле промежуточное серии РПУ-1 ТУ 16-523.020-76 (закрытое исполнение) 21

2.9. Реле электромагнитное универсальное типа РПУ-2 ТУ 16-523.331-78 (открытое исполнение) 23

2.10. Реле электромагнитное универсальное типа РПУ-2 ТУ 16-523.331-78 (закрытое исполнение) 28

2.11. Реле промежуточное двухпозиционное типа РП8 ТУ 16-523.072-75. 33

2.12. Реле промежуточное двухпозиционное типа РП9 ТУ 16-523.072-75. 33

2.13. Реле промежуточное двухпозиционное типа РП11 ТУ 16-523.072-75. 33

2.14. Реле промежуточное двухпозиционное типа РП12 ТУ 16-523.072-75. 34

2.15. Реле промежуточное типа РП23, РП25 ТУ 16-523.483-74. 35

2.16. Реле промежуточное серии РП-250 ТУ 16-523.483-78. 36

2.17. Реле времени серий РВ100, РВ200 ТУ 16-523.158-79. 38

2.18. Реле времени программные серии ВС-10 ТУ 16-523.476-78. 41

2.19. Реле импульсной сигнализации типа РИС-Э2М ТУ 16-523.309-78. 42

2.20. Реле импульсной сигнализации типа РИС-Э3М ТУ 16-523.311-78. 42

2.21. Реле времени пневматические РВП-72 ТУ 16-523.472-79Е. 42

2.22. Реле времени ВЛ34 ТУ 16-523.535-77. 44

2.23. Реле времени ВЛ-35 ТУ 16-523.535-77. 44

2.24. Реле времени ВЛ43 - ВЛ48 ТУ 16-523.585-80. 44

2.25 Реле времени типа РВ4 ТУ 16-523.255-75. 46

3. Кнопки и ключи управления. 46

3.1. Выключатель КЕ-011 ТУ 16-526.407-79. 46

3.2. Выключатель КЕ-012 ТУ 16-526.407-79. 47

3.3. Кнопочной пост ПКЕ-112 ТУ 16-526.216-78. 49

3.4. Переключатели шестипакетные малогабаритные серии ПМО ТУ 16-526.128-78. 49

3.5. Переключатели универсальные серии УП-5300 ТУ 16-524.074-75. 50

3.5.1. Для дверей щитов. 50

3.5.2. Для крышек пультов. 50

3.6. Переключатели серии ПКУ-3 ТУ 16-526.047-74. 51

3.6.1. Для дверей щитов. 51

3.6.2. Для крышек пультов. 51

4. Выключатели и переключатели. 51

4.1. Переключатели мгновенного действия (тумблеры) типа ТВ, ТП УСО.360.049 ТУ.. 51

4.2. Переключатель П2Т ВТО.360.002 ТУ.. 52

4.3. Выключатели (переключатели) пакетные серии ПВ, ПП ОСТ 16.0526.001-77. 52

5. Пускатели и автоматы.. 56

5.1. Пускатели магнитные ПМЕ ОСТ 160536.001-72. 56

5.2. Выключатель автоматический серии АП50Б ТУ 16-522.066-75. 63

5.3. Выключатель автоматический серии АК50 ТУ 16-522.111-74. 64

6. Трансформаторы и стабилизаторы.. 64

6.1. Трансформаторы однофазные серии ОСМ ГОСТ 16710-76. 64

6.2. Трансформатор однофазный ОСО-0,25-У3 ТУ 16-517.729-78. 65

6.3. Стабилизаторы напряжения электромагнитные серии С ТУ 25-05-1798-75. 65

7. Выпрямители. 65

7.1. Сетевой выпрямитель СВ-4М ТУ 25-02-530454-77. 65

8. Резисторы.. 66

8.1. Резисторы проволочные эмалированные типа ПЭВР ГОСТ 6513-77. 66

9. Изделия разные. 66

9.1. Переключатель выбора точек измерения ПТИ-М ТУ 25.08.116-77. 66

9.2. Переключатель щеточный щитовой типа ПЩ ТУ 205.УССР-380-79Е. 66

9.3. Ступенчатый импульсный прерыватель СИП-01УМ ТУ 50-58-76. 66

10. Изделия Главмонтажавтоматики. 66

10.1. Прерыватель регулирующий импульсный РИП-2 ТУ 36.1748-74. 66

10.2. Устройство прерывающее ИМС-5 ТУ 36.1220-74. 66

10.3. Щиток электропитания ЭЩП-2М ТУ 36.1270-83. 67

11. Сигнальная арматура. 67

11.1. Табло световое ТСБ ТУ 16.535.424-79. 67

 

 



© 2013 Ёшкин Кот :-)