| |||||||||||||||||||||||||||||||||||||||||||||||||||||||||||||||||||||||||||||||||||||||||||||||||||||||||||||||||||||||||||||||||||||||||||||||||||||||||||||||||||||||||||||||||||||||||||||||||||||||||||||||||||||||||||||||||||||||||||||||||||||||||||||||||||||||||||||||||||||||||||||||||||||||||||||||||||||||||||||||||||||||||||||||||||||||||||||||||||||||||||||||||||||||||||||||||||||||||||||||||||||||||||||||||||||||||||||||||||||||||||||||||||||||||||||||||||||||||||||||||||||||||||||||||||||||||||||||||||||||||||||||||||||||||||||||||||||||||||||||||||||||||||||||||||||||||||||||||||||||||||||||||||||||||||||||||||||||||||||||||||||||||||||||||||||||||||||||||||||||||||||||||||||||||||||||||||||||||||||||||||||||||||||||||||||||||||||||||||||||||||||||||||||||||||||||||||||||||||||||||||||||||||||||||||||||||||||||||||||||||||||||||||||||||||||||||||||||||||||||||||||||||||||||||||||||||||||||||||||||||||||||||||||||||||||||||||||||||||||||||||||||||||||||||||||||||||||||||||||||
|
РОССИЙСКОЕ
ОБЩЕСТВО ИНЖЕНЕРОВ СТРОИТЕЛЬСТВА
ТЕПЛОЗАЩИТНЫЕ
СВОЙСТВА
Москва
Предисловие Цели и принципы стандартизации в РФ установлены Федеральным законом от 27 декабря 2002 г. № 184-ФЗ «О техническом регулировании», а правила применения стандартов организаций - ГОСТ Р 1.4-2004 «Стандартизация в Российской Федерации. Стандарты организаций. Общие положения» Сведения о стандарте 1 РАЗРАБОТАН Российским обществом инженеров строительства (РОИС) совместно со специалистами других организаций 2 УТВЕРЖДЕН РОИС, ЦНИИСК им. В.А. Кучеренко - филиал ФГУП НИЦ «Строительство», НИИЖБ - филиал ФГУП НИЦ «Строительство», Национальным институтом технического регулирования, Самарским государственным архитектурно-строительным университетом, ЗАО «Победа ЛСР» (С.-Петербург) 3 ОДОБРЕН И РЕКОМЕНДОВАН ДЛЯ ПРИМЕНЕНИЯ в качестве нормативного документа в строительстве Экспертным Советом экономической рабочей группы при Администрации Президента РФ протоколом № 1 от 6 февраля 2006 г. 4 ВВЕДЕН В ДЕЙСТВИЕ приказом РОИС от 21 февраля 2006 г. № 8-12 с 1 марта 2006 г. 5 ВВЕДЕН ВПЕРВЫЕ
СОДЕРЖАНИЕ ВведениеВ соответствии с изменениями № 3 СНиП II-3-79* «Строительная теплотехника», введенными 1995 г., требуемый уровень теплозащитных качеств наружных стен необоснованно завышен в 3 - 3,5 раза. В большинстве регионов страны его можно обеспечить применением только мягких утеплителей с недостаточно изученной долговечностью в климатических условиях России. Расходы на ремонт таких стен значительно превышают экономию от снижения энергозатрат на отопление зданий. Введенный в действие СНиП 23-02-2003 «Тепловая защита зданий» взамен СНиП II-3-79* не решил возникших проблем, поскольку в нем сохранены те же завышенные требования к теплозащитным качествам наружных стен зданий. Сложилось положение, при котором новая система нормирования теплозащитных качеств наружных ограждающих конструкций не удовлетворяет современную строительную практику и ограничивает применение новых отечественных теплоэффективных, долговечных, огнестойких керамических, ячеистобетонных, полистиролбетонных, пенополиуретановых (с наполнителями), легких керамзитобетонных материалов, альтернативных мягким минераловатным, пенополистирольным. Это обусловило необходимость разработки данного стандарта. Стандарт СТО 00044807-001-2006 разработан на основе требований Федерального закона «О техническом регулировании» в целях обеспечения безопасного проживания, отдыха и работы граждан в помещениях и повышения долговечности стен при рациональном уровне теплозащитных качеств. В стандарте использован двухуровневый принцип нормирования теплозащитных качеств наружных стен: 1 - по санитарно-гигиеническим условиям, не допускающим образования конденсата и плесени на внутренней поверхности наружных стен, покрытий, перекрытий, а также их морозного разрушения в результате переувлажнения. Ниже этого уровня теплозащитные качества стен принимать запрещается; 2 - из условий энергосбережения и долговечности. Второй уровень установлен с целью экономии энергозатрат на отопление зданий и снижения расходов на капитальные ремонты стен. В разделе «Долговечность наружных стен зданий» представленные данные позволяют подходить дифференцированно к выбору строительных материалов для обеспечения требуемого уровня теплоизоляции наружных стен с учетом числа капитальных ремонтов в пределах прогнозируемой долговечности. В приложение 3 «Расчетные теплотехнические показатели строительных материалов и конструкций» внесены: данные по новым долговечным крупноформатным пустотелым камням из пористой керамики и другим теплоизоляционным материалам на клинкерном вяжущем; кладки стен из новых типов эффективного пустотелого керамического кирпича и камня; откорректированные значения коэффициентов теплопроводности силикатного кирпича, ячеистых бетонов, изготавливаемых по современным технологиям; данные по теплопроводности кладок стен из блоков и камней, изготовленных из ячеистого бетона, полистиролбетона и легкого керамзитобетона; предложения по приведению в единую систему расчетных коэффициентов теплопроводности материалов, определенных по разным методикам. Использование внесенных теплотехнических показателей строительных материалов при проектировании зданий обеспечит равнозначные теплопотери наружных стен в процессе эксплуатации зданий при одинаковых значениях сопротивлений теплопередаче. Настоящий стандарт разработан Российским обществом инженеров строительства (ген. директор канд. экон. наук О.А. Хоров, директор научного центра д-р техн. наук А.И. Ананьев - руководитель работы, зав. кафедрой ТГВ МГСУ д-р техн. наук, проф. Ю.Я. Кувшинов), д-р техн. наук, проф. Т.Г. Маклакова, канд. техн. наук, доцент кафедры Архитектуры МГСУ А.А. Плотников, Центральным научно-исследовательским институтом строительных конструкций им. В.А. Кучеренко (ЦНИИСК им. В.А. Кучеренко) - филиал ФГУП НИЦ «Строительство» (директор д-р техн. наук, проф. В.М. Горпинченко, зам. директора канд. техн. наук О.И. Пономарев, зав. лаб. канд. техн. наук М.К. Ищук, зав. сектором. Л.М. Ломова), Научно-исследовательским институтом бетона и железобетона (НИИЖБ) - филиал ФГУП НИЦ «Строительство» (директор д-р техн. наук, проф. А.С. Семченков, зав. лаб. канд. техн. наук Т.А. Ухова, нач. отдела Д.В. Литвиненко), Национальным институтом технического регулирования (Председатель правления - проф. А.В. Рубцов), Самарским государственным архитектурно-строительным университетом (ректор д-р техн. наук, проф. М.И. Бальзанников, проректор по научной работе д-р техн. наук, проф. Н.Г. Чумаченко, д-р техн. наук Л.Д. Евсеев, зав кафедрой канд. техн. наук, доцент Ю.С. Вытчиков), ЗАО «Победа ЛСР», г. С.-Петербург (Управляющий С.А. Бегоулев, начальник управления перспективного развития канд. техн. наук А.А. Акберов). В разработке разделов 4, 5 и приложений 3, 4 стандарта принимали также участие ОАО «Голицынский керамический завод», Московская обл. (ген. директор В.А. Крюков), ЗАО «Норский керамический завод», г. Ярославль (ген. директор Ю.И. Марченко), «Строительные технологии XXI век» (ген. директор В.К. Тихов), фирма Винербергер, Австрия (в лице доверенного представителя А. Хофера), ООО «Винербергер кирпич», г. Киржач (директор Карл Талер), ОАО «Альтаир», г. Ижевск (ген. директор О.Б. Наговицын), ОАО «Новокубанский завод керамических стеновых материалов», Краснодарский край (ген. директор В.Д. Курбатов), ОАО ВНИИСТРОМ им. П.П. Будникова (ген. директор Ю.В. Гудков), Бежецкий опытно-экспериментальный завод (ген. директор Н.С. Савостов), ООО «БОЭЗ-Развитие+», г. Бежецк (ген. директор Л.П. Дмитриев), Производственно-строительная компания «РИТМ-Л» (гл. инженер Г.Д. Локшин), ЦНИИОМТ-М (ген. директор д-р техн. наук, проф. П.П. Олейник). Главное управление архитектуры и строительства Самарской области (руководитель управления В.И. Жуков), ФГУП ЦНИИЭПсельстрой (зам. директора канд. техн. наук В.А. Заренин), НУКУС КОНСТРАКШНЗ ЛТД (технический директор Родивое Батинич, инж. ОВК Милош Батинич, инж. А.А. Ананьев), Верхневолжский институт, Тверское отделение РОИС (директор канд. техн. наук П.А. Вязовченко), РООИ «ЭКОС» (директор канд. техн. наук А.Н. Савицкий), ГУППИ «Тверьгражданпроект» (директор С.Г. Демидов), Ярославгражданпроект (зам. ген. директора по проектным работам Т.В. Великанова), ОАО «ТЕРМОСТЕПС - МТЛ», г. Самара (технический директор - гл. конструктор Е.Р. Бабурин, инж. В.Э. Пташкин), ЗАО Фирма «Горжилпроект», г. Самара (ген. директор Ю.Г. Скворцов). Замечания и предложения просим направлять по адресу: 119019, Москва, ул. Новый Арбат, д. 11, Генеральному директору Хорову О.А., тел. (495) 291-09-41, факс 202-82-90.
СТАНДАРТ ОРГАНИЗАЦИИ ТЕПЛОЗАЩИТНЫЕ
СВОЙСТВА Дата введения 2006-03-01 1 Область примененияНастоящий стандарт распространяется на проектирование ограждающих конструкций новых и реконструируемых жилых, общественных, производственных и сельскохозяйственных зданий с естественной вентиляцией для холодного периода года с нормируемыми температурой и относительной влажностью воздуха. В стандарте установлены требования к сопротивлению теплопередаче, паропроницанию, воздухопроницанию, долговечности ограждающих конструкций, теплоусвоению поверхности полов и дан порядок теплотехнических расчетов. К ограждающим конструкциям относятся наружные стены, полы на грунте, внутренние стены и перегородки между помещениями с различной температурой внутреннего воздуха, покрытия над верхними этажами, перекрытия над подвалами, техническими подпольями и проездами, заполнения проемов (окна, витражи, витрины, фонари, двери, ворота). 2 Нормативные ссылкиВ настоящем стандарте приведены ссылки на нормативные документы, перечень которых дан в приложении 1. 3 Общие положения3.1 Ограждающие конструкции совместно с системами отопления, вентиляции, кондиционирования воздуха должны обеспечивать нормируемые значения температуры, относительной влажности воздуха в помещениях при оптимальном энергопотреблении. 3.2 В целях сокращения энергопотребления в зимний период на создание нормируемых параметров микроклимата помещений при проектировании зданий следует предусматривать: а) объемно-планировочные решения с учетом обеспечения наименьшей площади наружных ограждающих конструкций и минимально возможным соотношением периметра стен к площади здания; б) расположение зданий на генеральном плане застройки с учетом розы ветров и требований по инсоляции помещений и озеленению территории; в) применение конструкций окон с повышенными теплозащитными качествами, пониженной воздухопроницаемостью притворов и фальцев, а также с теплоотражающими пленками и покрытиями; г) рекуперацию теплоты вентиляционных выбросов с использованием ее на подогрев приточного воздуха при наличии механической вентиляции; д) применение поквартирного учета расхода тепловой энергии и более эффективных отопительных приборов и систем отопления с местным и пофасадным регулированием температурного режима; е) рациональное применение эффектных теплоизоляционных материалов для повышения теплозащитных качеств, без снижения долговечности наружных стен. 3.3 При оценке долговечности сплошных кирпичных, блочных несущих и самонесущих наружных стен необходимо учитывать деструкционные процессы в материалах, происходящие от совокупного воздействия внутренних усилий (изгибающих моментов, поперечных и продольных сил) и наружных, вызываемых односторонним периодическим температурным воздействием, а также периодическим замораживанием и оттаиванием влаги в порах. 3.4 В слоистых самонесущих и ненесущих наружных стенах деструкция теплоизоляционных материалов значительно опережает разрушение несущей части стены из прочных долговечных материалов. Поэтому теплотехническую долговечность слоистых наружных стен в первую очередь следует определять по снижению теплозащитных качеств утеплителя до установленного предела. 4 Расчетные условия4.1 Расчетные параметры воздуха в помещениях для расчета теплозащитных качеств наружных ограждающих конструкций жилых, общественных, административных и бытовых зданий следует принимать по таблице 1, составленной согласно ГОСТ 30494. Для помещений зданий, не указанных в таблице 1, параметры воздуха следует принимать по СанПиН 2.1.2.1002, ГОСТ 30494, ГОСТ 12.1.005 и нормам проектирования соответствующих зданий. 4.2 Параметры воздуха в помещениях производственного назначения, а также с влажным и мокрым режимами общественных зданий следует принимать согласно ГОСТ 12.1.005, ГОСТ 2.04.005 и нормам технологического проектирования соответствующих зданий. 4.3 Температура внутренних поверхностей углов стен, оконных откосов, теплопроводных включений в стенках и панелях в виде диафрагм из бетона или металла, межпанельных стыков, гибких связей, оконных обрамлений не должна быть ниже температуры точки росы воздуха, замеренной на расстоянии 10 см от внутренней поверхности стены при расчетной температуре, относительной влажности воздуха, приведенных в таблице 1. Таблица 1 - Расчетные параметры воздуха в помещениях зданий
4.4 Расчетную температуру наружного воздуха следует принимать соответствующей средней температуре наиболее холодной пятидневки с обеспеченностью 0,92 согласно СНиП 23-01 для определенного района строительства. 4.5 Продолжительность отопительного периода zот.пер, сут и среднюю температуру наружного воздуха tот.пер, °C, следует принимать согласно СНиП 23-01 (таблица 1, графы 13, 14 для больниц, школ и дошкольных учреждений, графы 11, 12 - для других зданий). При отсутствии данных для конкретного пункта расчетные параметры отопительного периода следует принимать для ближайшего пункта, который указан в СНиП 23-01. 4.6 Влажностный режим помещений зданий в холодный период года в зависимости от относительной влажности и температуры внутреннего воздуха следует устанавливать по таблице 2. Таблица 2 - Влажностный режим помещения зданий
Условия эксплуатации ограждающих конструкций А и Б в зависимости от влажностного режима помещений и зон влажности района строительства для выбора теплотехнических показателей строительных материалов наружных ограждений следует устанавливать по таблице 3. Зоны влажности территории России следует принимать по приложению 2. Таблица 3 - Условия эксплуатации ограждающих конструкций
4.7 Расчетные теплотехнические показатели строительных материалов при проектировании теплозащитных качеств наружных ограждающих конструкций принимают из приложений 3, 4 для условий эксплуатации А и Б. Эти показатели установлены по данным сертификационных испытаний в аккредитованных лабораториях, СНиП II-3, СП 23-101, а также из таблиц, приведенных в соответствующих разделах и приложениях настоящего стандарта. 5 Сопротивление теплопередаче ограждающих конструкций5.1 Требуемое
приведенное сопротивление теплопередаче 5.2. Требуемое приведенное сопротивление теплопередаче наружных ограждающих конструкций из условий обеспечения санитарно-гигиенической безопасности проживания людей следует определять по формуле
где п - коэффициент, принимаемый в зависимости от положения наружной поверхности ограждающих конструкций по отношению к наружному воздуху по таблице 4; tв - расчетная температура внутреннего воздуха, °С, принимаемая по таблице 1 или ГОСТ 30494, ГОСТ 12.1.005, СанПиН 2.1.2.1002; tн - расчетная зимняя температура наружного воздуха, °С, принимаемая равной температуре наиболее холодной пятидневки обеспеченностью 0,92 по СНиП 23-01; Dtн - нормативный температурный перепад между температурой внутреннего воздуха и температурой внутренней поверхности ограждающей конструкции, °С, принимаемый по таблице 5; aв - коэффициент теплоотдачи внутренней поверхности ограждающей конструкции, принимаемый по таблице 6. 5.3 Нормативное
приведенное сопротивление теплопередаче 5.4 Сопротивление
теплопередаче наружных ограждающих конструкций (за исключением заполнений
проемов) помещений с избытками явной теплоты должно быть не менее 5.5 Приведенное сопротивление теплопередаче перекрытий над проездами, подвалами и подпольями, а также покрытиями должно быть не менее требуемого приведенного сопротивления теплопередаче, определяемого по формуле (1) с соответствующими значениями n, Dtн, aв. Таблица 4 - Значения коэффициента n
Таблица 5 - Нормируемые величины температурного перепада Dtн
Таблица 6 - Коэффициент теплоотдачи внутренней поверхности ограждений aв
Таблица 7 - Нормативное
приведенное сопротивление теплопередаче
5.6 Приведенное сопротивление теплопередаче внутренних ограждающих конструкций (стен, перегородок, перекрытий) между помещениями с нормируемой температурой воздуха при разности температур воздуха в этих помещениях более 6 °С должно быть не менее требуемого, определяемого по формуле (1). 5.7 Полы на грунте, устраиваемые в отапливаемых зданиях с нормируемой температурой внутреннего воздуха, расположенные выше отмостки здания или ниже ее не более чем на 0,5 м, должны быть утеплены в зоне примыкания пола к наружным стенам шириной 0,8 м путем укладки по грунту слоя утеплителя с термическим сопротивлением, соответствующим термическому сопротивлению наружной стены. 5.8 Сопротивление теплопередаче наружных дверей (кроме балконных) и ворот должно быть не менее 0,6 значения требуемого сопротивления теплопередаче наружных стен, определяемого по формуле (1). 5.9 Для установления требуемой толщины теплоизоляционного слоя при проектировании наружных стен, панелей покрытий и перекрытий определяют условное сопротивление теплопередаче по формуле где r - коэффициент теплотехнической однородности наружных ограждений, определяется расчетом по температурным полям или экспериментальным способом по ГОСТ 26254. Для определения
ориентировочного значения Таблица 8 - Значения коэффициента теплотехнической однородности r для различных конструкций наружных ограждений
5.10 После
установления по формуле (2) требуемой
толщины теплоизоляционных слоев рассчитывается по температурным полям
приведенное сопротивление теплопередаче Rо.пр наружного
ограждения для конкретного проектного решения здания и сравнивается с
нормативным приведенным сопротивлением теплопередаче 5.11 Термическое сопротивление R, м2 × °С/Вт, слоя многослойной ограждающей конструкции, а также однородной (однослойной) ограждающей конструкции следует определять по формуле где d - толщина слоя, м; l - расчетный коэффициент теплопроводности материала слоя, Вт/(м × °С), принимаемый по приложению 3. 5.12 Сопротивление теплопередаче Rо, м2 × °С/Вт, ограждающей конструкции следует определять по формуле где aв - то же, что и в формуле (1); Rк - термическое сопротивление ограждающей конструкции, м2 × °С/Вт, определяемое: однородной (однослойной) - по формуле (3), многослойной - в соответствии с пп. 5.11 и 5.13; aн - коэффициент теплоотдачи (для зимних условий) наружной поверхности ограждающей конструкции, Вт/(м2 × °С), принимаемый по таблице 9. Таблица 9 - Коэффициент теплоотдачи наружной поверхности ограждающей конструкции aн
При определении Rк слои конструкции, расположенные за воздушной прослойкой, вентилируемой наружным воздухом, не учитываются. 5.13 Термическое сопротивление Rк, м2 × °С/Вт, ограждающей конструкции с последовательно расположенными однородными слоями следует определять как сумму термических сопротивлений отдельных слоев: Rк = R1 + R2 + ... + Rn + Rв.п, (5) где R1, R2, ..., Rn - термические сопротивления отдельных слоев ограждающей конструкции, м2 × °С/Вт, определяемые по формуле (3); Rв.п - термическое сопротивление замкнутой воздушной прослойки, принимаемое по таблицам 10.1 и 10.2. Таблица 10.1 - Термическое сопротивление замкнутых воздушных прослоек Rв.п
Таблица 10.2 - Термическое сопротивление замкнутых воздушных прослоек (ограниченных размеров) в керамических камнях и кирпичах, расположенных перпендикулярно направлению теплового потока Rв.п
5.14 Приведенное термическое сопротивление Rк.пр; м2°С/Вт, неоднородной ограждающей конструкции (многослойной каменной стены облегченной кладки с теплоизоляционным слоем и т.п.) определяется следующим образом: а) плоскостями, параллельными направлению теплового потока, ограждающая конструкция (или часть ее) условно разрезается на участки, из которых одни участки могут быть однородными (однослойными) - из одного материала, а другие неоднородными - из слоев различных материалов, и термическое сопротивление ограждающей конструкции Ra, м2 × °С/Вт, определяется по формуле где F1, F2, ..., Fn - площади отдельных участков конструкции (или части ее), м2; R1, R2, ..., Rn - термические сопротивления указанных отдельных участков конструкции, определяемые по формуле (3) для однородных участков и по формуле (5) для последовательно расположенных слоев; б) плоскостями, перпендикулярными направлению теплового потока, ограждающая конструкция (или часть ее, принятая для определения Ra) условно разрезается на слои, из которых одни слои могут быть однородными - из одного материала, а другие неоднородными - из однослойных участков разных материалов. Термическое сопротивление однородных слоев определяется по формуле (3), неоднородных слоев - по формуле (6) и термическое сопротивление ограждающей конструкции Rб - как сумма термических сопротивлений отдельных однородных и неоднородных слоев - по формуле (5). Приведенное термическое сопротивление ограждающей конструкции следует определять по формуле Если величина Ra превышает
величину Rб более чем на 25
% или ограждающая конструкция не является плоской (имеет выступы на
поверхности), то приведенное термическое сопротивление По результатам расчета температурного поля при tв и tн определяют средние температуры, °С, внутренней tв.ср и наружной tн.ср поверхностей ограждающей конструкции и вычисляют величину теплового потока qрасч, Вт/м2, по формуле где aв, tв, tн - то же, что и в формуле (1); aн - то же, что и в формуле (4). Приведенное термическое сопротивление конструкций определяется по формуле 5.15 Приведенное сопротивление теплопередаче Rо.пр, м2 × °С/Вт, неоднородной ограждающей конструкции следует определять по формуле где tв, tн - то же, что и в формуле (1); qрасч - то же, что и в формуле (8). Допускается ориентировочное значение приведенного сопротивления теплопередаче Rо.пр наружных ограждающих конструкций зданий принимать равным: где r - коэффициент теплотехнической однородности, принимаемый по таблице 8. Значение коэффициента теплотехнической однородности r трехслойных панельных стен можно определять по таблицам приложения 5. Окончательное значение Ro.пр наружного ограждения принимается после выполнения требований п. 5.10. 5.16 Температуру внутренней поверхности tв, °С, ограждающей конструкции (без теплопроводного включения) следует определять по формуле Температуру
внутренней поверхности Схемы теплопроводных включений в ограждающих конструкциях приведены на рис. 1. Для
теплопроводных включений, приведенных на рис. 1, температуру для неметаллических теплопроводных включений по формуле
для металлических теплопроводных включений по формуле п, tв, tн, aв - то же, что и в формуле (1); Ro - то же, что и в формуле (4);
h, x - коэффициенты, принимаемые по таблицам 11 и 12. Рисунок 1 Схемы теплопроводных включений в ограждающих конструкциях Таблица 11
Таблица 12
5.17 Сопротивление
теплопередаче заполнений световых проемов должно быть не менее нормативного
сопротивления теплопередаче Рекомендуемые типы окон, балконных дверей и фонарей, их приведенное сопротивление теплопередаче приведены в таблице 14. Площадь окон в зданиях следует принимать в соответствии с требованиями СНиП 23-05. Таблица 13 - Нормативное приведенное сопротивление теплопередаче заполнений световых проемов
Таблица 14 - Приведенное сопротивление теплопередаче рекомендуемых окон, балконных дверей и фонарей
6 Долговечность наружных стен зданий6.1 Под долговечностью наружных стен понимают их способность сохранять требуемые эксплуатационные качества при установленной системе технического обслуживания и ремонтов. Долговечность наружных стен характеризуется сроком службы в годах, в течение которого целесообразно их техническое обслуживание и ремонт для поддержания безопасных условий проживания или работы людей. 6.2 Безопасность проживания или работы граждан в помещениях характеризуется обеспечением требуемых санитарно-гигиенических условий, при которых не происходит образования конденсата, плесени и переувлажнения стен, а также увеличения относительной влажности внутреннего воздуха выше нормативных значений. 6.3 Санитарно-гигиеническую безопасность в помещениях необходимо обеспечивать при проектировании выполнением нормативных требований к теплозащитным качествам, воздухо- и паропроницанию и другим физическим свойствам ограждений с учетом климатических особенностей района строительства. 6.4 Долговечность наружных стен следует обеспечивать применением материалов, имеющих надлежащие прочность, морозостойкость, влагостойкость, теплозащитные свойства, а также соответствующими конструктивными решениями, предусматривающими специальную защиту элементов конструкций, выполненных из недостаточно стойких материалов. 6.5 Наружные стены из железобетонных панелей, блоков, кирпича с установленным сроком службы должны удовлетворять требованиям СНиП 52-01, СНиП II-22, настоящего стандарта и нормативным требованиям по проектированию панельных и блочных зданий. 6.6 При разработке конструкций наружных стен для конкретного проектного решения здания необходимо руководствоваться прогнозируемой долговечностью и доремонтными сроками службы, приведенными в таблицах 15, 16. Таблица 15 - Прогнозируемая долговечность наружных стен зданий
Таблица 16 - Продолжительность эффективной эксплуатации различных конструкций наружных стен зданий до первого капитального ремонта
6.7 Допускается для одного и того же здания по высоте принимать конструкции наружных стен с отличающимися доремонтными сроками. 6.8 При выборе конструкций наружных стен для здания необходимо дифференцированно совмещать закладываемые в проект прогнозируемую долговечность, доремонтные сроки с требуемым уровнем теплоизоляции, снижением материалоемкости и нагрузки на фундамент. 6.9 Для обеспечения прогнозируемой долговечности наружных стен и безопасной эксплуатации до первого капитального ремонта необходимо проводить текущие ремонты с периодичностью 5 - 7 лет. 6.10 Первый
капитальный ремонт наружных стен из условий недопустимости нарушения
санитарно-гигиенической безопасности проживания граждан и энергосбережения
необходимо проводить при снижении 6.11 Перед наступлением срока проведения первого капитального ремонта снижение уровня теплозащитных качеств наружных стен необходимо устанавливать по методике ГОСТ 26254 и испытаниями на теплопроводность отобранных проб утеплителя по ГОСТ 7076, однородность температурных полей стен по фасаду фиксируется тепловизором по ГОСТ 26629. 7 Теплоусвоение поверхности полов7.1. Поверхность пола жилых и общественных зданий, вспомогательных зданий и помещений промышленных предприятий и отапливаемых помещений производственных зданий (на участках с постоянными рабочими местами) должна иметь показатель теплоусвоения Yn, Вт/(м2 × °С), не более нормативной величины, установленной таблицей 17. Фактическое значение показателя теплоусвоения полов в эксплуатируемых зданиях и в лабораторных условиях определяется по ГОСТ 25609. Таблица 17 - Нормируемые величины коэффициентов теплоусвоения поверхности полов Yn
8. Сопротивление воздухопроницанию ограждающих конструкций8.1 Сопротивление
воздухопроницанию ограждающих конструкций, за исключением заполнений световых
проемов (окон, балконных дверей и фонарей), зданий и сооружений Rи должно быть не
менее требуемого сопротивления воздухопроницанию где Dр - разность давлений воздуха на наружной и внутренней поверхностях ограждающих конструкций, Па, определяемая в соответствии с п. 8.2; Gн - нормативная воздухопроницаемость ограждающих конструкций, кг/(м2 × ч), принимаемая в соответствии с п. 8.3. 8.2 Разность давлений воздуха на наружной и внутренней поверхностях ограждающих конструкций Dр, Па, следует определять по формуле Dр = 0,55Н(gн - gв) + 0,03gнn2, (16) где Н - высота здания (от поверхности земли до верха карниза), м; gн, gв - удельный вес соответственно наружного и внутреннего воздуха, Н/м3, определяемый по формуле здесь t - температура воздуха: внутреннего (для определения gв), наружного (для определения gн) согласно таблице 1 и СНиП 23-01; n - максимальная из средних скоростей ветра по румбам за январь, повторяемость которых составляет 16 % и более, принимаемая согласно СНиП 23-01; для типовых проектов скорость ветра n следует принимать равной 5 м/с, а в климатических подрайонах 1Б и 1Г - 8 м/с. 8.3 Нормативную воздухопроницаемость Gн, кг/(м2 × ч), ограждающих конструкций зданий и сооружений следует принимать по таблице 18. Таблица 18 - Нормативная воздухопроницаемость конструкций
8.4 Сопротивление воздухопроницанию многослойной ограждающей конструкции Rи, м2 × ч × Па/кг, следует определять по формуле Rи = Rи1 + Rи2 + ... + Rиn, (18) где Rи1, Rи2, ..., Rиn - сопротивление воздухопроницанию отдельных слоев ограждающей конструкции, м2 × ч × Па/кг, принимаемое по таблице 19. Примечание - Сопротивление воздухопроницанию слоев ограждающих конструкций (стен, покрытий), расположенных за воздушной прослойкой, вентилируемой наружным воздухом, не учитывается. 8.5 Сопротивление
воздухопроницанию окон и балконных дверей жилых и общественных зданий, а также
окон и фонарей производственных зданий Rи должно быть не
менее требуемого сопротивления воздухопроницанию где Gн - то же, что в формуле (15); Dр - то же, что в формуле (16); Dро = 10 Па - разность давления воздуха, при которой определяется сопротивление воздухопроницанию Rи. 8.6 Сопротивление воздухопроницанию заполнений световых проемов (окон, балконных дверей и фонарей с различными уплотняющими прокладками) следует принимать по ГОСТ 26602.2. Фактическое значение сопротивления воздухопроницанию наружных ограждающих конструкций в эксплуатируемых зданиях определяют по ГОСТ 31167. Таблица 19 - Сопротивление воздухопроницанию материалов и конструкций Rи
9 Сопротивление паропроницанию ограждающих конструкций9.1 Сопротивление паропроницанию Rп, м2 × ч × Па/мг, ограждающей конструкции (в пределах от внутренней поверхности до плоскости возможной конденсации) должно быть не менее наибольшего из следующих требуемых сопротивлений паропроницанию: а) требуемого
сопротивления паропроницанию
б) требуемого
сопротивления паропроницанию ев - упругость водяного пара внутреннего воздуха, Па, при расчетной температуре и влажности этого воздуха; Rп.н - сопротивление паропроницанию, м2 × ч × Па/мг, части ограждающей конструкции, расположенной между наружной поверхностью ограждающей конструкции и плоскостью возможной конденсации, определяемое в соответствии с п. 9.3; ен - средняя упругость водяного пара наружного воздуха, Па, за годовой период, определяемая согласно СНиП 23-01; z0 - продолжительность, сут, периода влагонакопления, принимаемая равной периоду с отрицательными среднемесячными температурами наружного воздуха согласна СНиП 23-01; Е0 - максимальная упругость водяного пара, Па, в плоскости возможной конденсации, определяемая при средней температуре наружного воздуха периода месяцев с отрицательными среднемесячными температурами; gw - плотность материала увлажняемого слоя, кг/м3, принимаемая по приложению 3; dw - толщина увлажняемого слоя ограждающей конструкции, м, принимаемая равной 2/3 толщины однородной (однослойной) стены от внутренней поверхности или толщины теплоизоляционного слоя (утеплителя) многослойной ограждающей конструкции; Dwср - предельно допустимое приращение расчетного массового отношения влаги в материале (приведенного в приложении 3) увлажняемого слоя, %, за период влагонакопления z0, принимаемое по таблице 21; Е - максимальная упругость водяного пара, Па, в плоскости возможной конденсации за годовой период эксплуатации, определяемая по формуле
где E1, Е2, Е3 - упругости водяного пара, Па, принимаемые по температуре в плоскости возможной конденсации, определяемой при средней температуре наружного воздуха соответственно зимнего, весенне-осеннего и летнего периодов; z1, z2, z3 - продолжительность, мес, зимнего, весенне-осеннего и летнего периодов, определяемая согласно СНиП 23-01 с учетом следующих условий: а) к зимнему периоду относятся месяцы со средними температурами наружного воздуха ниже минус 5 °С; б) к весенне-осеннему периоду относятся месяцы со средними температурами наружного воздуха от минус 5 до плюс 5 °С; в) к летнему периоду относятся месяцы со средними температурами наружного воздуха выше плюс 5 °С; h - определяется по формуле где ен.о - средняя упругость водяного пара наружного воздуха, Па, периода месяцев с отрицательными среднемесячными температурами, определяемая согласно СНиП 23-01. Таблица 21 - Предельно допустимое приращение расчетного массового отношения влаги в материале ограждающей конструкции Dwср
Плоскость
максимального увлажнения определяется по методике, базирующейся на
использовании метода безразмерных характеристик, разработанной в 1989 г.
Самарским государственным строительным университетом. По формуле (24) для каждого
слоя многослойной ограждающей конструкции вычисляют значение комплекса F( где mi - коэффициент паропроницаемости слоя ограждения, мг/(м × ч × Па); li - коэффициент теплопроводности слоя ограждения, Вт/(м × °С); Rп.о - общее сопротивление паропроницанию ограждающей конструкции, (м2 × ч × Па)/мг; tв - расчетная температура внутреннего воздуха в помещении, °С; ев - упругость водяного пара внутреннего воздуха в помещении, Па; tн - температура наружного воздуха, принимаемая равной средней температуре наиболее холодного месяца, °С; ен - упругость водяного пара наружного воздуха, Па; Rо - сопротивление теплопередаче ограждения, м2 × °С/Вт. По полученным
значениям комплекса F( При
незначительном отклонении координаты Xi от границы слоя
за плоскость возможной конденсации принимают наружную поверхность
рассматриваемого слоя, так как в этом случае температура на ней будет мало
отличаться от значения 9.2 Сопротивление
паропроницанию Rп, м2 × ч × Па/мг,
чердачного перекрытия или части конструкции вентилируемого покрытия,
расположенной между внутренней поверхностью покрытия и воздушной прослойкой, в
зданиях со скатами кровли шириной до 24 м должно быть не менее требуемого
сопротивления паропроницанию где ев, ен.о - тоже, что и в формулах (20), (21) и (23). Таблица 22 - Значение
комплекса F(
9.3 Сопротивление паропроницанию Rп, м2 × ч × Па/мг, однослойной или отдельного слоя многослойной ограждающей конструкции следует определять по формуле где d - толщина слоя ограждающей конструкции, м; m - расчетный коэффициент паропроницаемости материала слоя ограждающей конструкции, мг/(м × ч × Па), принимаемый по приложению 3. Определяется по ГОСТ 25898. Сопротивление паропроницанию многослойной ограждающей конструкции (или ее части) равно сумме сопротивлений паропроницанию составляющих ее слоев. Сопротивление паропроницанию Rп листовых материалов и тонких слоев пароизоляции следует принимать по таблице 23. Примечания: 1. Сопротивление паропроницанию воздушных прослоек в ограждающих конструкциях следует принимать равным нулю независимо от расположения и толщины этих прослоек. 2. Для обеспечения требуемого
сопротивления паропроницанию 3. В помещениях следует предусматривать пароизоляцию теплоизолирующих уплотнителей сопряжения элементов ограждающих конструкций (мест примыкания заполнений проемов к стенам и т.п.) со стороны помещений: сопротивление паропроницанию в местах таких сопряжений проверяется из условия ограничения накопления влаги в сопряжениях за период с отрицательными среднемесячными температурами наружного воздуха на основании расчета температурного и влажностного полей. 9.4 Не требуется определять сопротивление паропроницанию следующих ограждающих конструкций: а) однородных (однослойных) наружных стен помещений с сухим или нормальным режимом; б) двухслойных наружных стен помещений с сухим или нормальным режимом, если внутренний слой стены имеет сопротивление паропроницанию более 1,6 м2 × ч × Па/мг. 9.5 Для защиты от увлажнения теплоизоляционного слоя (утеплителя) в покрытиях зданий с влажным или мокрым режимом следует предусматривать пароизоляцию (ниже теплоизоляционного слоя), которую следует учитывать при определении сопротивления паропроницанию покрытия в соответствии с п. 9.3. Таблица 23 - Сопротивление паропроницанию листовых материалов и тонких слоев пароизоляции Rп
ПРИЛОЖЕНИЕ 1
| |||||||||||||||||||||||||||||||||||||||||||||||||||||||||||||||||||||||||||||||||||||||||||||||||||||||||||||||||||||||||||||||||||||||||||||||||||||||||||||||||||||||||||||||||||||||||||||||||||||||||||||||||||||||||||||||||||||||||||||||||||||||||||||||||||||||||||||||||||||||||||||||||||||||||||||||||||||||||||||||||||||||||||||||||||||||||||||||||||||||||||||||||||||||||||||||||||||||||||||||||||||||||||||||||||||||||||||||||||||||||||||||||||||||||||||||||||||||||||||||||||||||||||||||||||||||||||||||||||||||||||||||||||||||||||||||||||||||||||||||||||||||||||||||||||||||||||||||||||||||||||||||||||||||||||||||||||||||||||||||||||||||||||||||||||||||||||||||||||||||||||||||||||||||||||||||||||||||||||||||||||||||||||||||||||||||||||||||||||||||||||||||||||||||||||||||||||||||||||||||||||||||||||||||||||||||||||||||||||||||||||||||||||||||||||||||||||||||||||||||||||||||||||||||||||||||||||||||||||||||||||||||||||||||||||||||||||||||||||||||||||||||||||||||||||||||||||||||||||||||
|
Стандарты организаций. Общие положения |
|
|
Строительная теплотехника |
|
|
Строительная климатология |
|
|
Естественное и искусственное освещение |
|
|
Отопление, вентиляция и кондиционирование |
|
|
Тепловая защита зданий |
|
|
Санитарно-эпидемиологические требования к жилым зданиям и помещениям |
|
|
Холодильники |
|
|
Каменные и армокаменные конструкции |
|
|
Бетонные и железобетонные конструкции |
|
|
Животноводческие, птицеводческие и звероводческие здания и помещения |
|
|
ССБТ. Общие санитарно-гигиенические требования к воздуху рабочей зоны |
|
|
Здания жилые и общественные. Параметры микроклимата в помещениях |
|
|
Здания и сооружения. Методы определения сопротивления теплопередаче ограждающих конструкций |
|
|
Материалы и изделия строительные. Методы определения теплопроводности и термического сопротивления при стационарном тепловом потоке |
|
|
Материалы и изделия строительные. Методы определения сопротивления паропроницанию |
|
|
Материалы полимерные рулонные и плиточные для полов. Метод определения показателя теплоусвоения |
|
|
Здания и сооружения. Методы определения воздухопроницаемости ограждающих конструкций в натурных условиях |
|
|
Блоки оконные и дверные. Методы определения теплопередачи |
|
|
Блоки оконные и дверные. Методы определения воздухо-водопроницаемости |
|
|
Здания и сооружения. Метод тепловизионного контроля качества теплоизоляции ограждающих конструкций |
|
|
Кирпич и камни керамические. Технические условия |
|
|
Кирпич и камни силикатные. Технические условия |
|
|
Бетоны ячеистые. Технические условия |
|
|
Бетоны легкие. Технические условия |
|
|
ГОСТ 51263-99 |
Полистиролбетон. Технические условия |
|
Камни бетонные стеновые. Технические условия |
|
|
Блоки из ячеистых бетонов стеновые мелкие. Технические условия |
|
|
Проектирование тепловой защиты зданий |
|
Характеристики материала в сухом состоянии |
Расчетное массовое отношение влаги в материале (при условиях эксплуатации по прил. 2) w, % |
Расчетные коэффициенты (при условиях эксплуатации по прил. 2) |
||||||
|
плотность gп, кг/м3 |
удельная теплоемкость со, кДж/(кг × °С) |
коэффициент теплопроводности, lo Вт/(м °С) |
теплопроводности l, Вт/(м × °С) |
Паропроницаемости m, мг/(м × ч × Па) |
||||
|
А |
Б |
А |
Б |
А, Б |
||||
|
1 |
2 |
3 |
4 |
5 |
6 |
7 |
8 |
9 |
|
I. Бетоны и растворы |
||||||||
|
А. Бетоны на природных плотных заполнителях |
||||||||
|
1. Железобетон |
2500 |
0,84 |
1,69 |
2 |
3 |
1,92 |
2,04 |
0,03 |
|
2. Бетон на гравии или щебне из природного камня |
2400 |
0,84 |
1,51 |
2 |
3 |
1,74 |
1,86 |
0,03 |
|
3. Плотный силикатный бетон |
1800 |
0,88 |
0,81 |
2 |
4 |
0,99 |
1,16 |
0,11 |
|
Б. Бетоны на природных пористых заполнителях |
||||||||
|
4. Туфобетон |
1800 |
0,84 |
0,64 |
7 |
10 |
0,87 |
0,99 |
0,090 |
|
5. То же |
1600 |
0,84 |
0,52 |
7 |
10 |
0,70 |
0,81 |
0,11 |
|
6. » |
1400 |
0,84 |
0,41 |
7 |
10 |
0,52 |
0,58 |
0,11 |
|
7. » |
1200 |
0,84 |
0,29 |
7 |
10 |
0,41 |
0,47 |
0,12 |
|
8. Пемзобетон |
1600 |
0,84 |
0,52 |
4 |
6 |
0,62 |
0,68 |
0,075 |
|
9. То же |
1400 |
0,84 |
0,42 |
4 |
6 |
0,49 |
0,54 |
0,083 |
|
10. » |
1200 |
0,84 |
0,34 |
4 |
6 |
0,40 |
0,43 |
0,098 |
|
11. » |
1000 |
0,84 |
0,26 |
4 |
6 |
0,30 |
0,34 |
0,11 |
|
12. » |
800 |
0,84 |
0,19 |
4 |
6 |
0,22 |
0,26 |
0,12 |
|
13. Бетон на вулканическом шлаке |
1600 |
0,84 |
0,52 |
7 |
10 |
0,64 |
0,70 |
0,075 |
|
14. То же |
1400 |
0,84 |
0,41 |
7 |
10 |
0,52 |
0,58 |
0,083 |
|
15. » |
1200 |
0,84 |
0,33 |
7 |
10 |
0,41 |
0,47 |
0,090 |
|
16. » |
1000 |
0,84 |
0,24 |
7 |
10 |
0,29 |
0,35 |
0,098 |
|
17. » |
800 |
0,84 |
0,20 |
7 |
10 |
0,23 |
0,29 |
0,11 |
|
В. Бетоны на искусственных пористых заполнителях |
||||||||
|
18. Керамзитобетон на керамзитовом песке и керамзитопенобетон |
1800 |
0,84 |
0,66 |
5 |
10 |
0,80 |
0,92 |
0,090 |
|
19. То же |
1600 |
0,84 |
0,58 |
5 |
10 |
0,67 |
0,79 |
0,090 |
|
20. » |
1400 |
0,84 |
0,47 |
5 |
10 |
0,56 |
0,65 |
0,098 |
|
21. » |
1200 |
0,84 |
0,36 |
5 |
10 |
0,44 |
0,52 |
0,11 |
|
22. » |
1000 |
0,84 |
0,27 |
5 |
10 |
0,33 |
0,41 |
0,14 |
|
23. » |
800 |
0,84 |
0,21 |
5 |
10 |
0,24 |
0,31 |
0,19 |
|
24. » |
600 |
0,84 |
0,16 |
5 |
10 |
0,20 |
0,26 |
0,26 |
|
25. » |
500 |
0,84 |
0,14 |
5 |
10 |
0,17 |
0,23 |
0,30 |
|
26. Керамзитобетон на кварцевом песке с поризацией |
1200 |
0,84 |
0,41 |
4 |
8 |
0,52 |
0,58 |
0,075 |
|
27. То же |
1000 |
0,84 |
0,33 |
4 |
8 |
0,41 |
0,47 |
0,075 |
|
28. Керамзитобетон на кварцевом песке с поризацией |
800 |
0,84 |
0,23 |
4 |
8 |
0,29 |
0,35 |
0,075 |
|
29. Керамзитобетон на перлитовом песке |
1000 |
0,84 |
0,28 |
9 |
13 |
0,35 |
0,41 |
0,15 |
|
30. То же |
800 |
0,84 |
0,22 |
9 |
13 |
0,29 |
0,35 |
0,17 |
|
31. Шунгизитобетон |
1400 |
0,84 |
0,49 |
4 |
7 |
0,56 |
0,64 |
0,098 |
|
32. То же |
1200 |
0,84 |
0,36 |
4 |
7 |
0,44 |
0,50 |
0,11 |
|
33. » |
1000 |
0,84 |
0,27 |
4 |
7 |
0,33 |
0,38 |
0,14 |
|
34. Перлитобетон |
1200 |
0,84 |
0,29 |
10 |
15 |
0,44 |
0,50 |
0,15 |
|
35. То же |
1000 |
0,84 |
0,22 |
10 |
15 |
0,33 |
0,38 |
0,19 |
|
36. » |
800 |
0,84 |
0,16 |
10 |
15 |
0,27 |
0,33 |
0,26 |
|
37. » |
600 |
0,84 |
0,12 |
10 |
15 |
0,19 |
0,23 |
0,30 |
|
38. Шлакопемзобетон (термозитобетон) |
1800 |
0,84 |
0,52 |
5 |
8 |
0,63 |
0,76 |
0,075 |
|
39. То же |
1600 |
0,84 |
0,41 |
5 |
8 |
0,52 |
0,63 |
0,090 |
|
40. » |
1400 |
0,84 |
0,35 |
5 |
8 |
0,44 |
0,52 |
0,098 |
|
41. » |
1200 |
0,84 |
0,29 |
5 |
8 |
0,37 |
0,44 |
0,11 |
|
42. » |
1000 |
0,84 |
0,23 |
5 |
8 |
0,31 |
0,37 |
0,11 |
|
43. Шлакопемзопено- и шлакопемзогазобетон |
1600 |
0,84 |
0,47 |
8 |
11 |
0,63 |
0,70 |
0,09 |
|
44. То же |
1400 |
0,84 |
0,35 |
8 |
11 |
0,52 |
0,58 |
0,098 |
|
45. » |
1200 |
0,84 |
0,29 |
8 |
11 |
0,41 |
0,47 |
0,11 |
|
46. » |
1000 |
0,84 |
0,23 |
8 |
11 |
0,35 |
0,41 |
0,11 |
|
47. » |
800 |
0,84 |
0,17 |
8 |
11 |
0,29 |
0,35 |
0,13 |
|
48. Бетон на доменных гранулированных шлаках |
1800 |
0,84 |
0,58 |
5 |
8 |
0,70 |
0,81 |
0,083 |
|
49. То же |
1600 |
0,84 |
0,47 |
5 |
8 |
0,58 |
0,64 |
0,09 |
|
50. » |
1400 |
0,84 |
0,41 |
5 |
8 |
0,52 |
0,58 |
0,098 |
|
51. » |
1200 |
0,84 |
0,35 |
5 |
8 |
0,47 |
0,52 |
0,11 |
|
52. Аглопоритобетон и бетоны на топливных (котельных) шлаках |
1800 |
0,84 |
0,70 |
5 |
8 |
0,85 |
0,93 |
0,075 |
|
53. То же |
1600 |
0,84 |
0,58 |
5 |
8 |
0,72 |
0,78 |
0,083 |
|
54. » |
1400 |
0,84 |
0,47 |
5 |
8 |
0,59 |
0,65 |
0,09 |
|
55. » |
1200 |
0,84 |
0,35 |
5 |
8 |
0,48 |
0,54 |
0,11 |
|
56. » |
1000 |
0,84 |
0,29 |
5 |
8 |
0,38 |
0,44 |
0,14 |
|
57. Бетон на зольном гравии |
1400 |
0,84 |
0,47 |
5 |
8 |
0,52 |
0,58 |
0,09 |
|
58. То же |
1200 |
0,84 |
0,35 |
5 |
8 |
0,41 |
0,47 |
0,11 |
|
59. » |
1000 |
0,84 |
0,24 |
5 |
8 |
0,30 |
0,35 |
0,12 |
|
60. Вермикулитобетон |
800 |
0,84 |
0,21 |
8 |
13 |
0,23 |
0,26 |
- |
|
61. То же |
600 |
0,84 |
0,14 |
8 |
13 |
0,16 |
0,17 |
0,15 |
|
62. » |
400 |
0,84 |
0,09 |
8 |
13 |
0,11 |
0,13 |
0,19 |
|
63. » |
300 |
0,84 |
0,08 |
8 |
13 |
0,09 |
0,11 |
0,23 |
|
Кладка стен из керамзитобетонных камней с трехрядными несквозными пустотами (ГОСТ 6133) на цементно-песчаном растворе плотностью 1800 кг/м3 |
||||||||
|
63а. Камни g = 1200 кг/м3 |
1270 |
0,84 |
0,35 |
5 |
10 |
0,42 |
0,47 |
0,10 |
|
63б. То же g = 1000 кг/м3 |
1060 |
0,84 |
0,28 |
5 |
10 |
0,36 |
0,41 |
0,11 |
|
63в. » g = 800 кг/м3 |
880 |
0,84 |
0,23 |
5 |
10 |
0,29 |
0,33 |
0,14 |
|
Г. Бетоны ячеистые (ГОСТ 25485, ГОСТ 5742, ГОСТ 21520) ФГУП. Научно-исследовательский центр «Строительство». Филиал - НИИЖБ |
||||||||
|
64. Газо- и пенобетон, газо- и пеносиликат (l определен по ГОСТ 7076) |
1000 |
0,84 |
0,21 |
6 |
8 |
0,23 |
0,25 |
0,11 |
|
65. То же |
800 |
0,84 |
0,17 |
6 |
8 |
0,19 |
0,21 |
0,14 |
|
66. » |
600 |
0,84 |
0,14 |
5 |
6 |
0,16 |
0,18 |
0,17 |
|
67. » |
400 |
0,84 |
0,10 |
5 |
6 |
0,12 |
0,14 |
0,23 |
|
68. » |
300 |
0,84 |
0,08 |
5 |
6 |
0,10 |
0,12 |
0,26 |
|
69. Газо- и пенозолобетон (l определен по ГОСТ 7076) |
1000 |
0,84 |
0,24 |
8 |
12 |
0,30 |
0,36 |
0,098 |
|
70. То же |
800 |
0,84 |
0,20 |
8 |
12 |
0,27 |
0,33 |
0,12 |
|
71. » |
600 |
0,84 |
0,16 |
8 |
12 |
0,23 |
0,29 |
0,15 |
|
72. » |
400 |
0,84 |
0,13 |
8 |
12 |
0,20 |
0,26 |
0,20 |
|
Кладка стен из мелких ячеистобетонных блоков на клеевом растворе с толщиной швов 2 - 3 мм (l и W определены по ГОСТ 26254) |
||||||||
|
73. Блоки из газо- и пенобетона, газо- и пеносиликата |
|
|
|
|
|
|
|
|
|
74. То же |
800 |
0,84 |
0,22 |
6 |
8 |
0,25 |
0,27 |
0,14 |
|
75. » |
600 |
0,84 |
0,15 |
5 |
6 |
0,17 |
0,19 |
0,17 |
|
76. » |
400 |
0,84 |
0,11 |
5 |
6 |
0,13 |
0,15 |
0,23 |
|
77. » |
300 |
0,84 |
0,08 |
5 |
6 |
0,12 |
0,14 |
0,26 |
|
Кладка стен из мелких ячеистобетонных блоков на теплоизоляционном растворе (gо = 1000 кг/м3 с толщиной растворных швов 12 мм (l и W определены по ГОСТ 26254) |
||||||||
|
78. Блоки из газо- и пенобетона, газо- и пеносиликата |
|
|
|
|
|
|
|
|
|
79. То же, gо = 800 кг/м3 |
815 |
0,84 |
0,22 |
6 |
8 |
0,25 |
0,27 |
0,14 |
|
80. » gо = 600 кг/м3 |
630 |
0,84 |
0,16 |
5 |
6 |
0,20 |
0,23 |
0,17 |
|
81. » gо = 400 кг/м3 |
450 |
0,84 |
0,12 |
5 |
6 |
0,17 |
0,19 |
0,20 |
|
Кладка стен из мелких ячеистобетонных блоков на цементно-песчаном растворе (gо = 1800 кг/м3 с толщиной растворных швов 12 мм (l и W определены по ГОСТ 26254) |
||||||||
|
82. Блоки из газо- и пенобетона, газо- и пеносиликата, go = 1000 кг/м3 |
1060 |
0,84 |
0,25 |
6 |
8 |
0,35 |
0,37 |
0,11 |
|
83. То же, gо = 800 кг/м3 |
880 |
0,84 |
0,22 |
6 |
8 |
0,26 |
0,24 |
0,14 |
|
84. » gо = 600 кг/м3 |
700 |
0,84 |
0,17 |
5 |
6 |
0,23 |
0,25 |
0,17 |
|
Д. Полистиролбетон (ГОСТ 51263) Всероссийский федеральный технологический институт ВНИИЖЕЛЕЗОБЕТОН (l определен по ГОСТ 7076) |
||||||||
|
85. Полистиролбетон |
600 |
1,06 |
0,145 |
4 |
8 |
0,175 |
0,200 |
0,068 |
|
86. То же |
500 |
1,06 |
0,125 |
4 |
8 |
0,140 |
0,155 |
0,075 |
|
87. » |
400 |
1,06 |
0,105 |
4 |
8 |
0,120 |
0,130 |
0,085 |
|
88. » |
300 |
1,06 |
0,085 |
4 |
8 |
0,095 |
0,105 |
0,100 |
|
89. » |
250 |
1,06 |
0,075 |
4 |
8 |
0,085 |
0,090 |
0,110 |
|
90. » |
200 |
1,06 |
0,065 |
4 |
8 |
0,070 |
0,075 |
0,120 |
|
Е. Модифицированный полистиролбетон ФГУП. Научно-исследовательский центр «Строительство». Филиал - НИИЖБ |
||||||||
|
91. Модифицированный монолитный полистиролбетон на портландцементе (ТУ 5745-175-46854090-04 и ТУ 5745-204-46854090-05) (l определен по ГОСТ 7076) |
300 |
1,06 |
0,085 |
3,8 |
7,5 |
0,085 |
0,105 |
0,100 |
|
92. То же |
250 |
1,06 |
0,075 |
3,7 |
7,3 |
0,075 |
0,090 |
0,109 |
|
93. Модифицированный полистиролбетон на шлакопортландцементе в стеновых блоках и плитах (ТУ 5746-001-57096126-2001), в блоках (ТУ 5741-200-46854090-05), в перемычках (ТУ 5828-023-02495282-02) (l определен по ГОСТ 7076) |
500 |
1,06 |
0,121 |
3,8 |
7,6 |
0,130 |
0,150 |
0,075 |
|
94. То же |
400 |
1,06 |
0,102 |
3,6 |
7,2 |
0,111 |
0,127 |
0,085 |
|
95. » |
300 |
1,06 |
0,081 |
3,4 |
6,8 |
0,090 |
0,096 |
0,100 |
|
96. » |
250 |
1,06 |
0,070 |
3,3 |
6,6 |
0,075 |
0,082 |
0,116 |
|
97. » |
200 |
1,06 |
0,062 |
3,2 |
6,4 |
0,065 |
0,071 |
0,135 |
|
98. Модифицированный полистиролбетон на композиционном малоклинкерном вяжущем в стеновых блоках и плитах (ТУ 5746-001-57096126-2001, ТУ 5741-162-46854090-03) (l определен по ГОСТ 7076) |
500 |
1,06 |
0,105 |
3,4 |
6,0 |
0,114 |
0,120 |
0,075 |
|
99. То же |
400 |
1,06 |
0,083 |
3,2 |
5,6 |
0,090 |
0,093 |
0,085 |
|
100. » |
300 |
1,06 |
0,062 |
3,0 |
5,2 |
0,065 |
0,068 |
0,100 |
|
101. » |
250 |
1,06 |
0,057 |
2,9 |
5,0 |
0,058 |
0,060 |
0,116 |
|
102. » |
200 |
1,06 |
0,052 |
2,8 |
4,8 |
0,053 |
0,054 |
0,135 |
|
103. Модифицированный полистиролбетон на активированном пластифицированном шлакопортландцементе (ТУ 5746-001-57096126-2001, ТУ 5828-023-02495282-02, ТУ 5741-200-4684090-05) (l определен по ГОСТ 7076) |
500 |
1,06 |
0,113 |
3,6 |
6,8 |
0,122 |
0,137 |
0,075 |
|
104. То же |
400 |
1,06 |
0,092 |
3 |
6 |
0,100 |
0,110 |
0,083 |
|
105. » |
300 |
1,06 |
0,071 |
3 |
6 |
0,077 |
0,080 |
0,100 |
|
106. » |
250 |
1,06 |
0,063 |
3 |
6 |
0,066 |
0,071 |
0,111 |
|
107. » |
200 |
1,06 |
0,057 |
3 |
6 |
0,059 |
0,062 |
0,122 |
|
Кладка стен из полистиролбетонных блоков (295´375´600 мм) на клеевом растворе с толщиной швов 2 - 3 мм (l и W определены по ГОСТ 26254) |
||||||||
|
108. Блоки на портландцементе |
500 |
1,06 |
0,13 |
4 |
8 |
0,15 |
0,17 |
0,075 |
|
109. То же |
400 |
1,06 |
0,11 |
4 |
8 |
0,13 |
0,14 |
0,085 |
|
110. » |
300 |
1,06 |
0,09 |
4 |
8 |
0,11 |
0,12 |
0,100 |
|
111. » |
250 |
1,06 |
0,08 |
4 |
8 |
0,09 |
0,10 |
0,110 |
|
112. Блоки на шлакопортландцементе |
500 |
1,06 |
0,13 |
3,8 |
7,6 |
0,14 |
0,16 |
0,075 |
|
113. То же |
400 |
1,06 |
0,11 |
3,6 |
7,2 |
0,12 |
0,13 |
0,085 |
|
114. Блоки на шлакопортландцементе |
300 |
1,06 |
0,09 |
3,4 |
6,8 |
0,10 |
0,11 |
0,100 |
|
115. То же |
250 |
1,06 |
0,08 |
3,3 |
6,6 |
0,08 |
0,09 |
0,110 |
|
116. Блоки на активированном пластифицированном шлакопортландцементе |
500 |
1,06 |
0,12 |
3,6 |
6,8 |
0,13 |
0,15 |
0,075 |
|
117. То же |
400 |
1,06 |
0,10 |
3,4 |
6,4 |
0,11 |
0,12 |
0,085 |
|
118. » |
300 |
1,06 |
0,08 |
3,2 |
6,0 |
0,08 |
0,09 |
0,100 |
|
119. » |
250 |
1,06 |
0,07 |
3,1 |
5,8 |
0,07 |
0,08 |
0,110 |
|
Кладка стен из полистиролбетонных блоков (295´375´600 мм) на цементно-песчаном растворе (gо = 1800 кг/м3 с толщиной швов 10 мм (l и W определены по ГОСТ 26254) |
||||||||
|
120. Блоки на портландцементе, gо = 500 кг/м3 |
550 |
1,06 |
0,14 |
4 |
8 |
0,17 |
0,19 |
0,075 |
|
121. То же, gо = 400 кг/м3 |
460 |
1,06 |
0,12 |
4 |
8 |
0,15 |
0,17 |
0,085 |
|
122. » gо = 300 кг/м3 |
370 |
1,06 |
0,10 |
4 |
8 |
0,13 |
0,15 |
0,100 |
|
123. » gо = 250 кг/м3 |
320 |
1,06 |
0,09 |
4 |
8 |
0,11 |
0,13 |
0,110 |
|
124. Блоки на шлакопортландцементе, gо = 500 кг/м3 |
550 |
1,06 |
0,14 |
3,8 |
7,6 |
0,17 |
0,19 |
0,075 |
|
125. То же, gо = 400 кг/м3 |
460 |
1,06 |
0,12 |
3,6 |
7,2 |
0,14 |
0,16 |
0,085 |
|
126 » gо = 300 кг/м3 |
370 |
1,06 |
0,10 |
3,4 |
6,8 |
0,12 |
0,14 |
0,100 |
|
127. » gо = 250 кг/м3 |
320 |
1,06 |
0,09 |
3,3 |
6,6 |
0,10 |
0,12 |
0,110 |
|
128. Блоки на активированном пластифицированном портландцементе, g о = 500 кг/м3 |
550 |
1,06 |
0,13 |
3,6 |
6,8 |
0,15 |
0,17 |
0,075 |
|
129. То же, gо = 400 кг/м3 |
460 |
1,06 |
0,11 |
3,4 |
6,4 |
0,13 |
0,15 |
0,085 |
|
130. » gо = 300 кг/м3 |
370 |
1,06 |
0,09 |
3,2 |
6,0 |
0,10 |
0,12 |
0,100 |
|
131. » gо = 250 кг/м3 |
320 |
1,06 |
0,08 |
3,1 |
5,8 |
0,09 |
0,11 |
0,110 |
|
Ж. Растворы цементные, известковые и гипсовые |
||||||||
|
132. Цементно-песчаный |
1800 |
0,84 |
0,58 |
2 |
4 |
0,76 |
0,93 |
0,09 |
|
133. Сложный (песок, известь, цемент) |
1700 |
0,84 |
0,52 |
2 |
4 |
0,70 |
0,87 |
0,098 |
|
134. Известково-песчаный |
1600 |
0,84 |
0,47 |
2 |
4 |
0,70 |
0,81 |
0,12 |
|
135. Цементно-шлаковый |
1400 |
0,84 |
0,41 |
2 |
4 |
0,52 |
0,64 |
0,11 |
|
136. То же |
1200 |
0,84 |
0,35 |
2 |
4 |
0,47 |
0,58 |
0,14 |
|
137. Цементно-перлитовый |
1000 |
0,84 |
0,21 |
7 |
12 |
0,26 |
0,30 |
0,15 |
|
138. То же |
800 |
0,84 |
0,16 |
7 |
12 |
0,21 |
0,26 |
0,16 |
|
139. Гипсоперлитовый |
600 |
0,84 |
0,14 |
10 |
15 |
0,19 |
0,23 |
0,17 |
|
140. Поризованный гипсоперлитовый |
500 |
0,84 |
0,12 |
6 |
10 |
0,15 |
0,19 |
0,43 |
|
141. То же |
400 |
0,84 |
0,09 |
6 |
10 |
0,13 |
0,15 |
0,53 |
|
142. Плиты из гипса (ГОСТ 6428) |
1200 |
0,84 |
0,35 |
4 |
6 |
0,41 |
0,47 |
0,098 |
|
143. То же |
1000 |
0,84 |
0,23 |
4 |
6 |
0,29 |
0,35 |
0,11 |
|
144. Листы гипсовые обшивочные (сухая штукатурка) (ГОСТ 6266) |
800 |
0,84 |
0,15 |
4 |
6 |
0,19 |
0,21 |
0,075 |
|
II. Кирпичная кладка и облицовка природным камнем (l и W определены по ГОСТ 26254 и ГОСТ 530) |
||||||||
|
А. Кирпичная кладка из керамического камня и кирпича на цементно-песчаном растворе (gо = 1800 кг/м3) |
||||||||
|
1. Камня керамического крупноформатного пустотелого из пористой керамики, go = 600 кг/м3 |
670 |
0,88 |
0,13 |
1 |
1,4 |
0,15 |
0,16 |
0,12 |
|
2. То же, go = 800 кг/м3 |
890 |
0,88 |
0,18 |
1 |
1,4 |
0,21 |
0,23 |
0,12 |
|
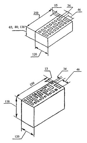
3. Камня керамического пустотелого (250´120´138 мм), gо = 800 кг/м3 |
960 |
0,88 |
0,20 |
1 |
2 |
0,27 |
0,35 |
0,14 |
|
4. То же, gо = 1000 кг/м3 |
1130 |
0,88 |
0,26 |
1 |
2 |
0,32 |
0,41 |
0,14 |
|
5. » gо = 1200 кг/м3 |
1300 |
0,88 |
0,32 |
1 |
2 |
0,40 |
0,48 |
0,14 |
|
6. » go = 1400 кг/м3 |
1460 |
0,88 |
0,39 |
1 |
2 |
0,47 |
0,54 |
0,13 |
|
7. Кирпича трепельного полнотелого одинарного и утолщенного, go = 900 кг/м3 |
1090 |
0,88 |
0,30 |
2 |
4 |
0,40 |
0,47 |
0,23 |
|
8. Кирпича трепельного полнотелого одинарного и утолщенного, gо = 1000 кг/м3 |
1170 |
0,88 |
0,34 |
2 |
4 |
0,45 |
0,50 |
0,19 |
|
9. Кирпича керамического пустотелого одинарного и утолщенного, gо = 1000 кг/м3 |
1170 |
0,88 |
0,28 |
1 |
2 |
0,35 |
0,44 |
0,14 |
|
10. То же, gо = 1200 кг/м3 |
1330 |
0,88 |
0,34 |
1 |
2 |
0,42 |
0,50 |
0,14 |
|
11. » gо = 1400 кг/м3 |
1480 |
0,88 |
0,40 |
1 |
2 |
0,49 |
0,55 |
0,13 |
|
12. Кирпича керамического полнотелого одинарного и утолщенного, gо = 1600 кг/м3 |
1640 |
0,88 |
0,45 |
1 |
2 |
0,61 |
0,70 |
0,11 |
|
13. То же, gо = 1800 кг/м3 |
1800 |
0,88 |
0,56 |
1 |
2 |
0,70 |
0,81 |
0,10 |
|
14. » gо = 2000 кг/м3 |
1960 |
0,88 |
0,66 |
1 |
2 |
0,80 |
0,90 |
0,09 |
|
Б. Кирпичная кладка из керамического камня и кирпича на теплоизоляционном цементном растворе с пористыми наполнителями (gо = 1200 кг/м3) |
||||||||
|
15. Камня керамического крупноформатного пустотелого из пористой керамики, gо = 600 кг/м3 |
640 |
0,88 |
0,13 |
1 |
1,4 |
0,15 |
0,16 |
0,13 |
|
16. То же, gо = 800 кг/м3 |
870 |
0,88 |
0,18 |
1 |
1,4 |
0,21 |
0,23 |
0,13 |
|
17. Камня керамического пустотелого (250´120´138 мм), gо = 800 кг/м3 |
890 |
0,88 |
0,20 |
1,5 |
3 |
0,26 |
0,32 |
0,15 |
|
18. То же, gо = 1000 кг/м3 |
1030 |
0,88 |
0,25 |
1,5 |
3 |
0,31 |
0,37 |
0,15 |
|
19. » gо = 1200 кг/м3 |
1200 |
0,88 |
0,27 |
1,5 |
3 |
0,32 |
0,41 |
0,15 |
|
20. » gо = 1400 кг/м3 |
1370 |
0,88 |
0,35 |
1,5 |
3 |
0,42 |
0,52 |
0,14 |
|
21. Кирпича трепельного полнотелого одинарного и утолщенного, gо = 900 кг/м3 |
960 |
0,88 |
0,26 |
2 |
4 |
0,31 |
0,37 |
0,24 |
|
22. То же, gо = 1000 кг/м3 |
1040 |
0,88 |
0,31 |
2 |
4 |
0,39 |
0,45 |
0,20 |
|
23. Кирпича керамического пустотелого одинарного и утолщенного, gо = 1000 кг/м3 |
1040 |
0,88 |
0,25 |
1,5 |
3 |
0,29 |
0,36 |
0,15 |
|
24. То же, gо = 1200 кг/м3 |
1200 |
0,88 |
0,29 |
1,5 |
3 |
0,33 |
0,42 |
0,15 |
|
25. » go = 1400 кг/м3 |
1360 |
0,88 |
0,33 |
1,5 |
3 |
0,37 |
0,46 |
0,14 |
|
26. Кирпича керамического полнотелого одинарного и утолщенного, gо = 1600 кг/м3 |
1510 |
0,88 |
0,42 |
1,5 |
3 |
0,56 |
0,66 |
0,12 |
|
27. То же, gо = 1800 кг/м3 |
1670 |
0,88 |
0,50 |
1,5 |
3 |
0,70 |
0,82 |
0,11 |
|
28. » gо = 2000 кг/м3 |
1830 |
0,88 |
0,60 |
1,5 |
3 |
0,74 |
0,86 |
0,10 |
|
В. Кирпичная кладка из керамического камня и кирпича на теплоизоляционном цементно-перлитовом растворе (go = 800 кг/м3) |
||||||||
|
29. Камня керамического крупноформатного пустотелого из пористой керамики, gо = 600 кг/м3 |
630 |
0,88 |
0,12 |
1 |
1,4 |
0,14 |
0,15 |
0,14 |
|
30. То же, gо = 800 кг/м3 |
800 |
0,88 |
0,17 |
1 |
1,4 |
0,20 |
0,22 |
0,14 |
|
31. Камня керамического пустотелого (250´120´138 мм), gо = 800 кг/м3 |
800 |
0,88 |
0,19 |
2 |
3 |
0,24 |
0,30 |
0,16 |
|
32. То же, gо = 1000 кг/м3 |
970 |
0,88 |
0,23 |
2 |
3 |
0,30 |
0,36 |
0,16 |
|
33. » gо = 1200 кг/м3 |
1140 |
0,88 |
0,25 |
2 |
3 |
0,35 |
0,42 |
0,16 |
|
34. » gо = 1400 кг/м3 |
1300 |
0,88 |
0,28 |
2 |
3 |
0,40 |
0,47 |
0,15 |
|
35. Кирпича трепельного полнотелого одинарного и утолщенного, gо = 1000 кг/м3 |
960 |
0,88 |
0,28 |
2 |
4 |
0,38 |
0,45 |
0,24 |
|
36. То же, gо = 1200 кг/м3 |
1110 |
0,88 |
0,30 |
2 |
4 |
0,39 |
0,46 |
0,20 |
|
37. Кирпича керамического пустотелого одинарного и утолщенного, gо = 1000 кг/м3 |
960 |
0,88 |
0,23 |
2 |
4 |
0,31 |
0,37 |
0,16 |
|
38. То же, gо = 1200 кг/м3 |
1110 |
0,88 |
0,27 |
2 |
4 |
0,36 |
0,43 |
0,16 |
|
39. » gо = 1400 кг/м3 |
1270 |
0,88 |
0,30 |
2 |
4 |
0,41 |
0,49 |
0,15 |
|
40. » gо = 1600 кг/м3 |
1430 |
0,88 |
0,39 |
2 |
4 |
0,50 |
0,60 |
0,13 |
|
41. Кирпича керамического полнотелого одинарного и утолщенного, gо = 1800 кг/м3 |
1590 |
0,88 |
0,45 |
2 |
4 |
0,57 |
0,69 |
0,12 |
|
42. То же, gо = 2000 кг/м3 |
1750 |
0,88 |
0,53 |
2 |
4 |
0,65 |
0,77 |
0,12 |
|
Г. Кирпичная кладка из силикатного кирпича и камня на цементно-песчаном растворе (go = 1800 кг/м3) (ГОСТ 379) |
||||||||
|
43. Полнотелого одинарного кирпича, gо = 2000 кг/м3 |
1960 |
0,88 |
1,06 |
2 |
4 |
1,25 |
1,48 |
0,09 |
|
44. То же, gо = 1800 кг/м3 |
1800 |
0,88 |
0,78 |
2 |
4 |
0,90 |
1,05 |
0,11 |
|
45. Пустотелого одинарного и утолщенного кирпича, gо = 1600 кг/м3 |
1640 |
0,88 |
0,68 |
2 |
4 |
0,80 |
0,90 |
0,12 |
|
46. Пустотелого одиннадцатипустотного утолщенного кирпича и камня, gо = 1400 кг/м3 |
1500 |
0,88 |
0,64 |
2 |
4 |
0,7 |
0,81 |
0,13 |
|
47. Пустотелого четырнадцатипустотного утолщенного кирпича и камня, gо = 1300 кг/м3 |
1400 |
0,88 |
0,52 |
2 |
4 |
0,64 |
0,76 |
0,14 |
|
48. То же, gо = 1200 кг/м3 |
1300 |
0,88 |
0,43 |
2 |
4 |
0,50 |
0,61 |
0,15 |
|
49. Кладка из шлакового кирпича и камня (gо = 1400 кг/м3) на цементно-песчаном растворе (gо = 1800 кг/м3) |
1500 |
0,88 |
0,52 |
1,5 |
3 |
0,64 |
0,70 |
0,11 |
|
Д. Облицовка природным камнем |
||||||||
|
50. Гранит, гнейс и базальт |
2800 |
0,88 |
3,49 |
0 |
0 |
3,49 |
3,49 |
0,008 |
|
51. Мрамор |
2800 |
0,88 |
2,91 |
0 |
0 |
2,91 |
2,91 |
0,008 |
|
52. Известняк |
2000 |
0,88 |
0,93 |
2 |
3 |
1,16 |
1,28 |
0,06 |
|
53. То же |
1800 |
0,88 |
0,70 |
2 |
3 |
0,93 |
1,05 |
0,075 |
|
54. » |
1600 |
0,88 |
0,58 |
2 |
3 |
0,73 |
0,81 |
0,09 |
|
55. » |
1400 |
0,88 |
0,49 |
2 |
3 |
0,56 |
0,58 |
0,11 |
|
56. Туф |
2000 |
0,88 |
0,76 |
3 |
5 |
0,93 |
1,05 |
0,075 |
|
57. То же |
1800 |
0,88 |
0,56 |
3 |
5 |
0,70 |
0,81 |
0,083 |
|
58. » |
1600 |
0,88 |
0,41 |
3 |
5 |
0,52 |
0,64 |
0,09 |
|
59. » |
1400 |
0,88 |
0,33 |
3 |
5 |
0,43 |
0,52 |
0,098 |
|
60. » |
1200 |
0,88 |
0,27 |
3 |
5 |
0,35 |
0,41 |
0,11 |
|
61. » |
1000 |
0,88 |
0,21 |
3 |
5 |
0,24 |
0,29 |
0,11 |
|
III. Дерево, изделия из него и других природных органических материалов (l и W определены по ГОСТ 26254 и ГОСТ 530) |
||||||||
|
500 |
2,30 |
0,09 |
15 |
20 |
0,14 |
0,18 |
0,06 |
|
|
2. Сосна и ель вдоль волокон |
500 |
2,30 |
0,18 |
15 |
20 |
0,29 |
0,35 |
0,32 |
|
700 |
2,30 |
0,10 |
10 |
15 |
0,18 |
0,23 |
0,05 |
|
|
4. Дуб вдоль волокон |
700 |
2,30 |
0,23 |
10 |
15 |
0,35 |
0,41 |
0,30 |
|
5. Фанера клееная (ГОСТ 3916) |
600 |
2,30 |
0,12 |
10 |
13 |
0,15 |
0,18 |
0,02 |
|
6. Картон облицовочный |
1000 |
2,30 |
0,18 |
5 |
10 |
0,21 |
0,23 |
0,06 |
|
7. Картон строительный многослойный (ГОСТ 4408) |
650 |
2,30 |
0,13 |
6 |
12 |
0,15 |
0,18 |
0,083 |
|
8. Плиты древесно-волокнистые и древесно-стружечные (ГОСТ 4598, ГОСТ 10632) |
1000 |
2,30 |
0,15 |
10 |
12 |
0,23 |
0,29 |
0,12 |
|
9. То же |
800 |
2,30 |
0,13 |
10 |
12 |
0,19 |
0,23 |
0,12 |
|
10. » |
600 |
2,30 |
0,11 |
10 |
12 |
0,13 |
0,16 |
0,13 |
|
11. » |
400 |
2,30 |
0,08 |
10 |
12 |
0,11 |
0,13 |
0,19 |
|
12. » |
200 |
2,30 |
0,06 |
10 |
12 |
0,07 |
0,08 |
0,24 |
|
13. Плиты фибролитовые (ГОСТ 8928) и арболит (ГОСТ 19222) на портландцементе |
800 |
2,30 |
0,16 |
10 |
15 |
0,24 |
0,30 |
0,11 |
|
14. То же |
600 |
2,30 |
0,12 |
10 |
15 |
0,18 |
0,23 |
0,11 |
|
15. » |
400 |
2,30 |
0,08 |
10 |
15 |
0,13 |
0,16 |
0,26 |
|
16. » |
300 |
2,30 |
0,07 |
10 |
15 |
0,11 |
0,14 |
0,30 |
|
17. Плиты камышитовые |
300 |
2,30 |
0,07 |
10 |
15 |
0,09 |
0,14 |
0,45 |
|
18. То же |
200 |
2,30 |
0,06 |
10 |
15 |
0,07 |
0,09 |
0,49 |
|
19. Плиты торфяные (ГОСТ 4861) |
300 |
2,30 |
0,064 |
10 |
15 |
0,07 |
0,08 |
0,19 |
|
20. То же |
200 |
2,30 |
0,052 |
15 |
20 |
0,06 |
0,064 |
0,49 |
|
21. То же, блоки «Геокар» (ТУ 5768-001-03983434-99) |
380 |
2,30 |
0,055 |
10 |
20 |
0,063 |
0,072 |
0,19 |
|
22. Пакля |
150 |
2,30 |
0,05 |
7 |
12 |
0,06 |
0,07 |
0,49 |
|
23. Плиты льнокостричные изоляционные |
250 |
2,30 |
0,054 |
7 |
12 |
0,091 |
0,11 |
0,49 |
|
24. Эковата |
35 - 40 |
2,30 |
0,032 |
15 |
20 |
0,040 |
0,043 |
0,3 |
|
25. То же |
50 |
2,30 |
0,035 |
15 |
20 |
0,045 |
0,048 |
0,3 |
|
26. » |
60 |
2,30 |
0,041 |
15 |
20 |
0,049 |
0,052 |
0,3 |
|
IV. Теплоизоляционные материалы |
||||||||
|
А. Минераловатные и стекловолокнистые (l и W определены по ГОСТ 26254) |
||||||||
|
1. Маты минераловатные прошивные (ГОСТ 1880) и на синтетическом связующем (ГОСТ 9573) |
125 |
0,84 |
0,056 |
2 |
5 |
0,064 |
0,07 |
0,30 |
|
2. То же |
75 |
0,84 |
0,052 |
2 |
5 |
0,06 |
0,064 |
0,49 |
|
3. » |
50 |
0,84 |
0,048 |
2 |
5 |
0,052 |
0,06 |
0,53 |
|
4. Плиты мягкие, полужесткие и жесткие минераловатные на синтетическом и битумном связующих (ГОСТ 9573, ГОСТ 10140, ГОСТ 12394) |
350 |
0,84 |
0,091 |
2 |
5 |
0,09 |
0,11 |
0,38 |
|
5. То же |
300 |
0,84 |
0,084 |
2 |
5 |
0,087 |
0,09 |
0,41 |
|
6. » |
200 |
0,84 |
0,070 |
2 |
5 |
0,076 |
0,08 |
0,49 |
|
7. » |
100 |
0,84 |
0,056 |
2 |
5 |
0,06 |
0,07 |
0,56 |
|
8. » |
50 |
0,84 |
0,048 |
2 |
5 |
0,052 |
0,06 |
0,60 |
|
9. Плиты полужесткие минераловатные на крахмальном связующем (ТУ 400-1-61-74 Мосгорисполкома) |
200 |
0,84 |
0,07 |
2 |
5 |
0,076 |
0,08 |
0,38 |
|
10. То же |
125 |
0,84 |
0,056 |
2 |
5 |
0,06 |
0,064 |
0,38 |
|
11. Плиты из стеклянного штапельного волокна на синтетическом связующем (ГОСТ 10499) |
50 |
0,84 |
0,056 |
2 |
5 |
0,06 |
0,064 |
0,60 |
|
12. Маты и полосы из стеклянного волокна прошивные (ТУ 21-23-72-75) |
150 |
0,84 |
0,061 |
2 |
5 |
0,064 |
0,07 |
0,53 |
|
Б. Минераловатные и стекловолокнистые (l определен по ГОСТ 7076) |
||||||||
|
Минераловатные изделия «Роквул» и ЗАО «Минеральная вата» (г. Железнодорожный) |
||||||||
|
13. Плита 200 |
200 |
0,84 |
0,045 |
|
5 |
|
0,050 |
0,53 |
|
14. Плита 150 |
150 |
0,84 |
0,042 |
|
5 |
|
0,047 |
0,56 |
|
15. Плита 100 |
100 |
0,84 |
0,040 |
|
5 |
|
0,045 |
0,59 |
|
16. Маты 50 |
50 |
0,84 |
0,042 |
|
5 |
|
0,047 |
0,62 |
|
17. Маты 35 |
35 |
0,84 |
0,043 |
|
5 |
|
0,048 |
0,65 |
|
Изделия из стеклянного штапельного волокна «Флайдер-Чудово» (г. Чудово) |
||||||||
|
18. Маты М-11 |
11 |
0,84 |
0,048 |
|
5 |
|
0,055 |
0,70 |
|
19. Маты М-15 |
15 |
0,84 |
0,046 |
|
5 |
|
0,053 |
0,68 |
|
20. Маты М-17 |
17 |
0,84 |
0,044 |
|
5 |
|
0,053 |
0,66 |
|
21. Маты М-25 |
25 |
0,84 |
0,04 |
|
5 |
|
0,050 |
0,61 |
|
22. Плита П-15 |
15 |
0,84 |
0,046 |
|
5 |
|
0,055 |
0,55 |
|
23. Плита П-17 |
17 |
0,84 |
0,044 |
|
5 |
|
0,053 |
0,54 |
|
24. Плита П-20 |
20 |
0,84 |
0,04 |
|
5 |
|
0,048 |
0,53 |
|
25. Плита П-30 |
30 |
0,84 |
0,04 |
|
5 |
|
0,046 |
0,52 |
|
26. Плита П-35 |
35 |
0,84 |
0,039 |
|
5 |
|
0,046 |
0,52 |
|
27. Плита П-45 |
45 |
0,84 |
0,039 |
|
5 |
|
0,045 |
0,51 |
|
28. Плита П-60 |
60 |
0,84 |
0,038 |
|
5 |
|
0,045 |
0,51 |
|
29. Плита П-75 |
75 |
0,84 |
0,04 |
|
5 |
|
0,047 |
0,50 |
|
30. Плита П-85 |
85 |
0,84 |
0,044 |
|
5 |
|
0,050 |
0,50 |
|
Минераловатные теплоизоляционные плиты ОАО «АКСИ» (г. Челябинск) |
||||||||
|
31. Плита ППЖ-200 повышенной жесткости ТУ 67-16-207-93 |
220 |
0,84 |
0,048 |
2 |
5 |
0,05 |
0,054 |
0,42 |
|
32. Фасадная плита ПФ ТУ 5762-003-08621635-98 |
180 |
0,84 |
0,047 |
2 |
5 |
0,049 |
0,053 |
0,46 |
|
33. Полужесткая плита П-125 ГОСТ 9573-96 |
90 |
0,84 |
0,040 |
2 |
5 |
0,042 |
0,045 |
0,49 |
|
34. Полужесткая плита П-125 гидрофобизированная ГОСТ 9573-96 |
100 |
0,84 |
0,040 |
2 |
5 |
0,042 |
0,045 |
0,46 |
|
Базальтовая изоляция ТЕРМО ОАО «Термостепс-МТЛ» (г. Самара) |
||||||||
|
Плиты мягкие |
||||||||
|
35. Термо Лайт (ПМ-35) |
40 |
0,84 |
0,038 |
2 |
5 |
0,038 |
0,044 |
0,62 |
|
36. Термо Лайт+ (ПМ-50) |
55 |
0,84 |
0,038 |
2 |
5 |
0,038 |
0,043 |
0,60 |
|
Плиты полужесткие |
||||||||
|
37. Термостена (ПП-60) |
70 |
0,84 |
0,038 |
2 |
5 |
0,038 |
0,043 |
0,58 |
|
Плиты жесткие |
||||||||
|
38. Термовент (ПЖ-80) |
90 |
0,84 |
0,037 |
2 |
5 |
0,038 |
0,040 |
0,59 |
|
39. Термокровля Н (ПЖ-100) |
110 |
0,84 |
0,037 |
2 |
5 |
0,038 |
0,040 |
0,58 |
|
40. Термомонолит (ПЖ-120) |
130 |
0,84 |
0,037 |
2 |
5 |
0,038 |
0,041 |
0,58 |
|
41. Термопол (ПЖ-140) |
150 |
0,84 |
0,038 |
2 |
5 |
0,039 |
0,041 |
0,55 |
|
Плиты сверхжесткие |
||||||||
|
42. Термофасад (ПСЖ-150 Фасад) |
Не менее 150 |
0,84 |
0,038 |
2 |
5 |
0,039 |
0,043 |
0,55 |
|
43. Термокровля (ПСЖ-150) |
160 |
0,84 |
0,038 |
2 |
5 |
0,039 |
0,043 |
0,52 |
|
44. Термокровля В (ПСЖ-175) |
185 |
0,84 |
0,041 |
2 |
5 |
0,042 |
0,045 |
0,50 |
|
45. Термокровля В+ (ПСЖ-200) |
210 |
0,84 |
0,042 |
2 |
5 |
0,042 |
0,045 |
0,50 |
|
В. Полимерные (l и W определены по ГОСТ 26254) |
||||||||
|
46. Пенополистирол (ТУ 6-05-11-78) |
150 |
1,34 |
0,05 |
1 |
5 |
0,052 |
0,06 |
0,05 |
|
47. То же |
100 |
1,34 |
0,041 |
2 |
10 |
0,041 |
0,052 |
0,05 |
|
48. Пенополистирол (ГОСТ 15588-70*) |
40 |
1,34 |
0,038 |
2 |
10 |
0,041 |
0,05 |
0,05 |
|
49. Пенопласт ПХВ-1 (ТУ 6-05-11-79) и ПВ-1 (ТУ 6-05-1158-78) |
125 |
1,26 |
0,052 |
2 |
10 |
0,06 |
0,064 |
0,23 |
|
50. То же |
10 |
1,26 |
0,041 |
2 |
10 |
0,05 |
0,052 |
0,23 |
|
51. Плиты из резольнофенолформальдегидного пенопласта (ГОСТ 20916) |
10 |
1,68 |
0,047 |
5 |
20 |
0,052 |
0,076 |
0,15 |
|
52. То же |
75 |
1,68 |
0,043 |
5 |
20 |
0,05 |
0,07 |
0,23 |
|
53. » |
50 |
1,68 |
0,041 |
5 |
20 |
0,05 |
0,064 |
0,23 |
|
54. » |
40 |
1,68 |
0,038 |
5 |
20 |
0,041 |
0,06 |
0,23 |
|
55. Перлитопластбетон (ТУ 480-1-145-74) |
200 |
1,05 |
0,041 |
2 |
3 |
0,052 |
0,06 |
0,008 |
|
56. То же |
100 |
1,05 |
0,035 |
2 |
3 |
0,041 |
0,05 |
0,008 |
|
57. Перлитофосфогелевые изделия (ГОСТ 21500) |
300 |
1,05 |
0,076 |
3 |
12 |
0,08 |
0,12 |
0,20 |
|
58. То же |
200 |
1,05 |
0,064 |
3 |
12 |
0,07 |
0,09 |
0,23 |
|
Г. Полимерные (l определен по ГОСТ 7076) |
||||||||
|
59. Экспедированный пенополистирол фирмы БАСФ (ТУ 2244-001-47547616-00) Стиродур 2500С |
25 |
1,34 |
0,029 |
2 |
10 |
0,031 |
0,031 |
0,013 |
|
60. То же, 2800С |
28 |
1,34 |
0,029 |
2 |
10 |
0,031 |
0,031 |
0,013 |
|
61. » 3035С |
33 |
1,34 |
0,029 |
2 |
10 |
0,031 |
0,031 |
0,013 |
|
62. » 4000С |
35 |
1,34 |
0,030 |
2 |
10 |
0,031 |
0,031 |
0,005 |
|
63. » 5000С |
45 |
1,34 |
0,030 |
2 |
10 |
0,031 |
0,031 |
0,005 |
|
64. Пенополистирол фирмы БАСФ Стиропор PS15 |
15 |
1,34 |
0,039 |
2 |
10 |
0,040 |
0,044 |
0,035 |
|
65. То же, PS20 |
20 |
1,34 |
0,037 |
2 |
10 |
0,038 |
0,042 |
0,030 |
|
66. » PS30 |
30 |
1,34 |
0,035 |
2 |
10 |
0,036 |
0,040 |
0,030 |
|
67. Теплоизоляционные изделия из вспененного синтетического каучука «Аэрофлекс» |
80 |
1,806 |
0,034 |
5 |
15 |
0,04 |
0,054 |
0,003 |
|
Теплоизоляционные изделия из вспененного синтетического каучука «Кайманфлекс»: |
|
|
|
|
|
|
|
|
|
68. ЕС |
60 - 80 |
1,806 |
0,039 |
0 |
0 |
0,039 |
0,039 |
0,010 |
|
69. ST |
60 - 80 |
1,806 |
0,039 |
0 |
0 |
0,039 |
0,039 |
0,009 |
|
70. ЕСО |
60 - 95 |
1,806 |
0,041 |
0 |
0 |
0,041 |
0,041 |
0,010 |
|
Экструзионный пенополистирол «Пеноплекс» (ТУ 5767-001-56925804-2003): |
|
|
|
|
|
|
|
|
|
71. ПО «Пеноплекс» (г. Кириши Ленинградской обл.), тип 35 |
35 |
1,65 |
0,028 |
2 |
3 |
0,029 |
0,030 |
0,018 |
|
72. То же, тип 45 |
43 |
1,53 |
0,030 |
2 |
3 |
0,031 |
0,032 |
0,016 |
|
Пенополистирол «Радослав» (г. Переславль-Залесский): |
|
|
|
|
|
|
|
|
|
73. Плита 18 |
18 |
1,34 |
0,042 |
5 |
10 |
0,042 |
0,043 |
0,02 |
|
74. Плита 24 |
24 |
1,34 |
0,040 |
5 |
10 |
0,040 |
0,041 |
0,02 |
|
Теплотехнические показатели напыляемых пенополиуретанов и меттэмпластов, компания «РИТМ» (г. Самара) (l и W определены по ГОСТ 26254) |
||||||||
|
А. При использовании в качестве среднего теплоизоляционного слоя и с внутренней стороны |
||||||||
|
75. Пенополиуретан Изолан 101(2)* ТУ 2254-211-10480596-03 |
45 - 70 |
1,61 |
0,027 |
2 |
5 |
0,027 |
0,027 |
0,017 |
|
76. Пенополиуретан Изолан 101(3) ТУ 2254-211-10480596-03 |
45 - 70 |
1,61 |
0,028 |
2 |
5 |
0,028 |
0,028 |
0,015 |
|
77. Пенополиуретан Изолан 105(2) ТУ 2254-228-10480596-97 |
40 - 70 |
1,061 |
0,025 |
2 |
5 |
0,025 |
0,025 |
0,018 |
|
78. Пенополиуретан Изолан 105(3) ТУ 2254-228-10480596-97 |
40 - 70 |
1,61 |
0,027 |
2 |
5 |
0,027 |
0,027 |
0,014 |
|
79. Пенополиуретан Изолан 123(2) ТУ 2254-214-10480596-97 |
50 - 75 |
1,61 |
0,028 |
2 |
5 |
0,028 |
0,028 |
0,018 |
|
80. Пенополиуретан Изолан 123(3) ТУ 2254-214-10480596-97 |
50 - 75 |
1,61 |
0,028 |
2 |
5 |
0,028 |
0,028 |
0,016 |
|
81. Пенополиуретан Изолан 210-1 ТУ 2254-234-10480596-03 |
50 - 65 |
1,61 |
0,025 |
2 |
5 |
0,025 |
0,025 |
0,043 |
|
82. Пенопласт жесткий ЦУСПОР-5162 (2) ТУ 2254-030-10493601-95 |
50 - 70 |
1,61 |
0,028 |
2 |
5 |
0,028 |
0,028 |
0,019 |
|
83. Пенопласт жесткий ЦУСПОР-5162 (зал) ТУ 2254-030-10493601-95 |
40 - 50 |
1,61 |
0,025 |
2 |
5 |
0,025 |
0,025 |
0,048 |
|
84. Система полиуретановая Корунд 117(3) ТУ 2254-006-02748978-2004 |
40 - 70 |
1,61 |
0,027 |
2 |
5 |
0,027 |
0,027 |
0,014 |
|
85. Пенопласт ППУ Н-10 (2) ТУ 2254-294-05763441-2000 |
40 - 80 |
1,61 |
0,025 |
2 |
5 |
0,025 |
0,025 |
0,02 |
|
86. Пенополиуретанизоцианурат Изолан 14 М (2) ТУ 2254-021-21070677-2004 |
35 - 65 |
1,61 |
0,026 |
2 |
5 |
0,026 |
0,026 |
0,017 |
|
87. Пенополиуретан Изолан 18 М (3) ТУ 2254-024-21070677-2004 |
40 - 65 |
1,61 |
0,027 |
2 |
5 |
0,027 |
0,027 |
0,014 |
|
88. Карбамидный пенопласт Мэттэмпласт (бывший пеноизол) ТУ 2254-001-33000727-2000 |
15 - 20 |
1,42 |
0,030 |
2 |
5 |
0,030 |
0,030 |
0,24 |
|
Б. При использовании для наружной теплоизоляции стен и покрытий |
||||||||
|
89. Пенополиуретан Изолан 101(2)* ТУ 2254-211-10480596-03 |
45 - 70 |
1,61 |
0,027 |
2 |
5 |
0,028 |
0,028 |
0,0175 |
|
* В скобках для всех материалов указано число пароизоляционных слоев. |
||||||||
|
90. Пенополиуретан Изолан 101(3) ТУ 2254-211-10480596-03 |
45 - 70 |
1,61 |
0,028 |
2 |
5 |
0,029 |
0,029 |
0,0147 |
|
91. Пенополиуретан Изолан 105(2) ТУ 2254-228-10480596-03 |
40 - 70 |
1,061 |
0,025 |
2 |
5 |
0,027 |
0,027 |
0,0177 |
|
92. Пенополиуретан Изолан 105(3) ТУ 2254-228-10480596-97 |
40 - 70 |
1,61 |
0,027 |
2 |
5 |
0,028 |
0,028 |
0,0138 |
|
93. Пенополиуретан Изолан 123(2) ТУ 2254-214-10480596-97 |
50 - 75 |
1,61 |
0,028 |
2 |
5 |
0,029 |
0,029 |
0,0177 |
|
94. Пенополиуретан Изолан 123(3) ТУ 2254-214-10480596-97 |
50 - 75 |
1,61 |
0,028 |
2 |
5 |
0,030 |
0,030 |
0,0155 |
|
95. Пенополиуретан Изолан 210-1 ТУ 2254-234-10480596-03 |
50 - 65 |
1,61 |
0,025 |
2 |
5 |
0,027 |
0,027 |
0,0427 |
|
96. Пенопласт жесткий ЦУСПОР-5162(2) ТУ 2254-030-10493601-95 |
50 - 70 |
1,61 |
0,028 |
2 |
5 |
0,029 |
0,029 |
0,0190 |
|
97. Пенопласт жесткий ЦУСПОР-5162(зал) ТУ 2254-030-10493601-95 |
40 - 50 |
1,61 |
0,025 |
2 |
5 |
0,026 |
0,026 |
0,0480 |
|
98. Система полиуретановая Корунд 117(3) ТУ 2254-006-02748978-2004 |
40 - 70 |
1,61 |
0,027 |
2 |
5 |
0,028 |
0,028 |
0,0142 |
|
99. Пенопласт ППУ Н-10(2) ТУ 2254-294-05763441-2000 |
40 - 80 |
1,61 |
0,025 |
2 |
5 |
0,027 |
0,027 |
0,020 |
|
100. Пенополиуретанизоцианурат Изолан 14 М (2) ТУ 2254-021-21070677-2004 |
35 - 65 |
1,61 |
0,026 |
2 |
5 |
0,028 |
0,028 |
0,0171 |
|
101. Пенополиуретан Изолан 18 М (3) ТУ 2254-024-21070677-2004 |
40 - 65 |
1,61 |
0,027 |
2 |
5 |
0,028 |
0,028 |
0,0143 |
|
102. Карбамидный пенопласт «Меттэмпласт» (бывший пеноизол) ТУ 2254-001-33000727-2000 |
15 - 20 |
1,42 |
0,030 |
2 |
5 |
0,031 |
0,031 |
0,237 |
|
103. Пенополиуретановое покрытие ИЗОКОР 105 МГ (6) ТУ 2254-235-10480596-04 |
Не менее 150 |
1,61 |
0,035 |
2 |
5 |
0,036 |
0,036 |
0,011 |
|
V. Теплоизоляционные засыпки, пеностекло |
||||||||
|
1. Гравий керамзитовый (ГОСТ 9759) |
800 |
0,84 |
0,18 |
2 |
3 |
0,21 |
0,23 |
0,21 |
|
2. То же |
600 |
0,84 |
0,14 |
2 |
3 |
0,17 |
0,20 |
0,23 |
|
3. » |
400 |
0,84 |
0,12 |
2 |
3 |
0,13 |
0,14 |
0,24 |
|
4. » |
300 |
0,84 |
0,108 |
2 |
3 |
0,12 |
0,13 |
0,25 |
|
5. » |
200 |
0,84 |
0,099 |
2 |
3 |
0,11 |
0,12 |
0,26 |
|
6. Гравий шунгизитовый (ГОСТ 19345) |
800 |
0,84 |
0,16 |
2 |
4 |
0,20 |
0,23 |
0,21 |
|
7. То же |
600 |
0,84 |
0,13 |
2 |
4 |
0,16 |
0,20 |
0,22 |
|
8. » |
400 |
0,84 |
0,11 |
2 |
4 |
0,13 |
0,14 |
0,23 |
|
9. Щебень из доменного шлака (ГОСТ 5578), шлаковой пемзы (ГОСТ 9760) и аглопорита (ГОСТ 11991) |
800 |
0,84 |
0,18 |
2 |
3 |
0,21 |
0,26 |
0,21 |
|
10. То же |
600 |
0,84 |
0,15 |
2 |
3 |
0,18 |
0,21 |
0,23 |
|
11. » |
400 |
0,84 |
1,122 |
2 |
3 |
0,14 |
0,16 |
0,24 |
|
12. Щебень и песок из перлита вспученного (ГОСТ 10832) |
600 |
0,84 |
0,11 |
1 |
2 |
0,111 |
0,12 |
0,26 |
|
13. То же |
400 |
0,84 |
0,076 |
1 |
2 |
0,087 |
0,09 |
0,30 |
|
14. » |
200 |
0,84 |
0,064 |
1 |
2 |
0,076 |
0,08 |
0,34 |
|
15. Вермикулит вспученный (ГОСТ 12865) |
200 |
0,84 |
0,076 |
1 |
3 |
0,09 |
0,11 |
0,23 |
|
16. То же |
100 |
0,84 |
0,064 |
1 |
3 |
0,076 |
0,08 |
0,30 |
|
17. Пеностекло или газостекло (ТУ 21-БССР-86-73) |
400 |
0,84 |
0,11 |
1 |
2 |
0,12 |
0,14 |
0,02 |
|
18. То же |
300 |
0,84 |
0,09 |
1 |
2 |
0,11 |
0,12 |
0,02 |
|
19. » |
200 |
0,84 |
0,07 |
1 |
2 |
0,08 |
0,09 |
0,03 |
|
VI. Материалы кровельные, гидроизоляционные, облицовочные и рулонные покрытия для полов |
||||||||
|
А. Асбестоцементные |
||||||||
|
1. Листы асбестоцементные плоские (ГОСТ 18124) |
1800 |
0,84 |
0,35 |
2 |
3 |
0,47 |
0,52 |
0,03 |
|
2. То же |
1600 |
0,84 |
0,23 |
2 |
3 |
0,35 |
0,41 |
0,03 |
|
Б. Битумные |
||||||||
|
3. Битумы нефтяные строительные и кровельные (ГОСТ 6617, ГОСТ 9548) |
1400 |
1,68 |
0,27 |
0 |
0 |
0,27 |
0,27 |
0,008 |
|
4. То же |
1200 |
1,68 |
0,22 |
0 |
0 |
0,22 |
0,22 |
0,008 |
|
5. » |
1000 |
1,68 |
0,17 |
0 |
0 |
0,17 |
0,17 |
0,008 |
|
6. Асфальтобетон (ГОСТ 9128) |
2100 |
1,08 |
1,05 |
0 |
0 |
1,05 |
1,05 |
0,008 |
|
7. Изделия из вспученного перлита на битумном связующем (ГОСТ 16136) |
400 |
1,26 |
0,111 |
1 |
2 |
0,12 |
0,13 |
0,04 |
|
8. То же |
300 |
1,12 |
0,087 |
1 |
2 |
0,09 |
0,099 |
0,04 |
|
9. Рубероид (ГОСТ 10923), пергамин (ГОСТ 2697), толь (ГОСТ 10999) |
600 |
1,68 |
0,17 |
0 |
0 |
0,17 |
0,17 |
См. табл. 23 |
|
В. Линолеумы |
||||||||
|
10. Линолеум поливинилхлоридный многослойный (ГОСТ 14632) S а,б = 8,56 |
1800 |
1,47 |
0,38 |
0 |
0 |
0,38 |
0,38 |
0,002 |
|
11. То же, S а,б = 7,52 |
1600 |
1,47 |
0,33 |
0 |
0 |
0,33 |
0,33 |
0,002 |
|
12. Линолеум поливинилхлоридный на тканевой подоснове (ГОСТ 7251) S а,б = 8,22 |
1800 |
1,47 |
0,35 |
0 |
0 |
0,35 |
0,35 |
0,002 |
|
13. То же, S а,б = 7,05 |
1600 |
1,47 |
0,29 |
0 |
0 |
0,29 |
0,29 |
0,002 |
|
14. » S а,б = 5,87 |
1400 |
1,47 |
0,23 |
0 |
0 |
0,23 |
0,23 |
0,002 |
|
VII. Металлы, стекло, песок |
||||||||
|
1. Сталь стержневая арматурная (ГОСТ 10884) |
7850 |
0,482 |
58 |
0 |
0 |
58 |
58 |
0 |
|
2. Чугун |
7200 |
0,482 |
50 |
0 |
0 |
50 |
50 |
0 |
|
3. Алюминий (ГОСТ 22233) |
2600 |
0,84 |
221 |
0 |
0 |
221 |
221 |
0 |
|
4. Медь (ГОСТ 859) |
8500 |
0,42 |
407 |
0 |
0 |
407 |
407 |
0 |
|
5. Стекло оконное (ГОСТ 111) |
2500 |
0,84 |
0,76 |
0 |
0 |
0,76 |
0,76 |
0 |
|
6. Песок для строительных работ (ГОСТ 8736) |
1600 |
0,84 |
0,35 |
1 |
2 |
0,47 |
0,58 |
0,17 |
|
Примечания: 1. Промежуточные значения расчетных теплотехнических показателей следует определять интерполяцией. 2. Значения коэффициентов теплопроводности теплоизоляционных материалов, определенных по ГОСТ 7076 (например, минераловатные, пенополистирольные плиты), при расчете сопротивления теплопередаче наружных ограждающих конструкций следует увеличивать в невентилируемых конструкциях на 30 %; в вентилируемых конструкциях на 20 %. 3. Расчетные значения коэффициентов теплопроводности кладок из керамического кирпича и камня со сквозными пустотами соответствуют конструкциям стен, выполненным по технологии, исключающей заполнение пустот раствором. Коэффициенты теплопроводности кладок из пустотелого кирпича плотностью до 1200 кг/м3, изготовленных без выполнения мероприятий, исключающих заполнение пустот раствором плотностью 1800 кг/м3, следует принимать соответствующими увеличенной плотности кладки на 100 кг/м3. 4. Фактическое значение коэффициента теплопроводности кирпичных кладок стен определяется по ГОСТ 26254. |
||||||||
Керамические стеновые материалы ЗАО «Победа ЛСР» (г. С.-Петербург)
а) Завод «Победа»
|
Кирпич керамический пустотелый одинарный, ГОСТ 530, ГОСТ 7484 Размер, мм 250´120´65 Средняя плотность, кг/м3 1200 Масса, кг 2,3 Марка по прочности M125 Марка по морозостойкости F50 Водопоглощение, % 9 Пустотность, % 42 Коэфф. теплопроводности в кладке, Вт/(м × °С) lб = 0,42 Коэфф. паропроницаемости, мг/(м × ч × Па) m = 0,14 |
|
|
Камень керамический пустотелый поризованный 2NF, ГОСТ 530 Размер, мм 250´120´138 Средняя плотность, кг/м3 1000 Масса, кг 4,3 Марка по прочности M175 Марка по морозостойкости F50 Водопоглощение, % 9 Пустотность, % 51 Коэфф. теплопроводности в кладке, Вт/(м × °С) lб = 0,22 Коэфф. паропроницаемости, мг/(м × ч × Па) m = 0,14 |
|
|
Камень керамический пустотелый поризованный 2NF, ГОСТ 530 Размер, мм 250´120´138 Средняя плотность, кг/м3 900 Масса, кг 3,8 Марка по прочности M150 Марка по морозостойкости F50 Водопоглощение, % 11 Пустотность, % 51 Коэфф. теплопроводности в кладке, Вт/(м × °С) lб = 0,17 Коэфф. паропроницаемости, мг/(м × ч × Па) m = 0,14 |
|
|
Камень керамический пустотелый поризованный 4,5NF, ГОСТ 530 Размер, мм 250´120´138 Средняя плотность, кг/м3 780 Масса, кг 6,9 Марка по прочности М100, M150 Марка по морозостойкости F50 Водопоглощение, % 10 Пустотность, % 54 Коэфф. теплопроводности в кладке, Вт/(м × °С) lб = 0,21 Коэфф. паропроницаемости, мг/(м × ч × Па) m = 0,14 |
|
|
Камень керамический пустотелый крупноформатный поризованный 15NF; ТУ 5741-026-03984362-2003 Размер, мм 510´253´219 Средняя плотность, кг/м3 800 Масса, кг 23 Марка по прочности М75, M100 Марка по морозостойкости F50 Водопоглощение, % 11 Пустотность, % 54 Коэфф. теплопроводности в кладке, Вт/(м × °С) lб = 0,18 Коэфф. паропроницаемости, мг/(м × ч × Па) m = 0,12 |
|
|
Камень керамический пустотелый крупноформатный поризованный 11,3NF; ТУ 5741-026-03984362-2003 Размер, мм 390´253´219 Средняя плотность, кг/м3 800 Масса, кг 17,7 Марка по прочности М75, M100 Марка по морозостойкости F50 Водопоглощение, % 11 Пустотность, % 52 Коэфф. теплопроводности в кладке, Вт/(м × °С) lб = 0,18 Коэфф. паропроницаемости, мг/(м × ч × Па) m = 0,12 |
|
|
Камень керамический пустотелый крупноформатный поризованный 10,8NF; ТУ 5741-026-03984362-2003 Размер, мм 380´253´219 Средняя плотность, кг/м3 800 Масса, кг 17 Марка по прочности М75, M100 Марка по морозостойкости F50 Водопоглощение, % 11 Пустотность, % 52 Коэфф. теплопроводности в кладке, Вт/(м × °С) lб = 0,18 Коэфф. паропроницаемости, мг/(м × ч × Па) m = 0,12 |
|
|
Камень керамический пустотелый крупноформатный поризованный 10,8NF; ТУ 5741-026-03984362-2003 Размер, мм 380´253´219 Средняя плотность, кг/м3 650 - 670 Масса, кг 14 Марка по прочности М75, M100 Марка по морозостойкости F35, F50 Водопоглощение, % 17 Пустотность, % 55 Коэфф. теплопроводности в кладке, Вт/(м × °С) lб = 0,154 Коэфф. паропроницаемости, мг/(м × ч × Па) m = 0,12 |
б) Завод «Керамика»
|
Кирпич керамический пустотелый одинарный лицевой красный и двухслойный (белый, цветной), ГОСТ 7484 Размер, мм 250´120´65 Средняя плотность, кг/м3 1100 - 1150 Марка по прочности М125 - M175 Марка по морозостойкости F35 - F75 Водопоглощение, % 9 - 11 Пустотность, % 43 - 45 Коэфф. теплопроводности в кладке, Вт/(м × °С) lo = 0,25 - 0,26; lб = 0,31 - 0,34 Коэфф. паропроницаемости, мг/(м × ч × Па) m = 0,14 |
|
|
Камень керамический пустотелый поризованный 2NF, ГОСТ 530 Размер, мм 250´120´138 Средняя плотность, кг/м3 960 Марка по прочности М125 - M175 Марка по морозостойкости F35 - F50 Водопоглощение, % 11 Пустотность, % 45 - 46 Коэфф. теплопроводности в кладке, Вт/(м × °С) lo = 0,18 - 0,19; lб = 0,21 - 0,26 Коэфф. паропроницаемости, мг/(м × ч × Па) m = 0,14 |
в) Завод «Ленстройкерамика»
|
Кирпич керамический полнотелый одинарный, ГОСТ 530 Размер, мм 250´120´65 Средняя плотность, кг/м3 2100 Марка по прочности М150 - M300 Марка по морозостойкости F75 - F100 Водопоглощение, % 8,5 Пустотность, % 0 Коэфф. теплопроводности в кладке, Вт/(м × °С) lo = 0,72; lб = 0,98 (w = 1,4 %) Коэфф. паропроницаемости, мг/(м × ч × Па) m = 0,09 |
||||||||||||||||||||||||||||||||||||||||||||||||
|
Кирпич керамический пустотелый одинарный, ГОСТ 530 Размер, мм 250´120´65 Средняя плотность, кг/м3 1700 Марка по прочности М175 - M250 Марка по морозостойкости F35 - F50 Водопоглощение, % 8,5 Пустотность, % 2,2 Коэфф. теплопроводности в кладке, Вт/(м × °С) lo = 0,53; lб = 0,78 (w = 1,4 %) Коэфф. паропроницаемости, мг/(м × ч × Па) m = 0,10 |
||||||||||||||||||||||||||||||||||||||||||||||||
|
Кирпич керамический пустотелый одинарный лицевой, ГОСТ 530, ГОСТ 7484 Размер, мм 250´120´65 Средняя плотность, кг/м3 1400 Марка по прочности М125 - M200 Марка по морозостойкости F35 - F50 Водопоглощение, % 6 - 7 Пустотность, % 35 Коэфф. теплопроводности в кладке на легком растворе, Вт/(м × °С) lo = 0,26 - 0,28; lб = 0,36 - 0,41 (w = 1,4 %) Коэфф. паропроницаемости, мг/(м × ч × Па) m = 0,14 |
||||||||||||||||||||||||||||||||||||||||||||||||
|
|
Кирпич керамический пустотелый одинарный лицевой, ГОСТ 530 Размер, мм 250´120´65 Средняя плотность, кг/м3 1120 - 1190 Марка по прочности М125 - M200 Марка по морозостойкости F35 - F50 Водопоглощение, % 9 Пустотность, % 40 Коэфф. теплопроводности в кладке на легком растворе, Вт/(м × °С) lo = 0,24; lб = 0,3 (w = 1,4 %) Коэфф. паропроницаемости, мг/(м × ч × Па) m = 0,14 |
|||||||||||||||||||||||||||||||||||||||||||||||
Керамические стеновые материалы ОАО «Голицынский керамический завод» (Московская обл., г. Одинцово)
|
Кирпич керамический полнотелый одинарный, ГОСТ 530 Размер, мм 250´120´65 Средняя плотность, кг/м3 1650 Марка по прочности М125, M150 Марка по морозостойкости F50 Водопоглощение, % 10 Пустотность, % 8 - 10 Коэфф. теплопроводности в кладке, Вт/(м × °С) lo = 0,47; lа = 0,64; lб = 0,73 Коэфф. паропроницаемости, мг/(м × ч × Па) m = 0,11 |
|
|
Камень керамический пустотелый, ГОСТ 530 Размер, мм 250´120´138 Средняя плотность, кг/м3 1200 Марка по прочности М150 Марка по морозостойкости F50 Водопоглощение, % - Пустотность, % 38 - 40 Коэфф. теплопроводности в кладке, Вт/(м × °С) lo = 0,37; lа = 0,46; lб = 0,55 Коэфф. паропроницаемости, мг/(м × ч × Па) m = 0,14 |
|
|
Камень керамический пустотелый поризованный, ГОСТ 530 Размер, мм 250´120´138 Средняя плотность, кг/м3 900 - 950 Марка по прочности М100, M125 Марка по морозостойкости F50 Водопоглощение, % 15 Пустотность, % 42 - 45 Коэфф. теплопроводности в кладке, Вт/(м × °С) lo = 0,20; lа = 0,31; lб = 0,40 Коэфф. паропроницаемости, мг/(м × ч × Па) m = 0,10 |
|
|
Кирпич керамический пустотелый одинарный лицевой, ГОСТ 7484, ГОСТ 530 Размер, мм 250´120´65 Средняя плотность, кг/м3 1150 Марка по прочности М125, M150 Марка по морозостойкости F50 Водопоглощение, % - Пустотность, % 38 - 40 Коэфф. теплопроводности в кладке, Вт/(м × °С) lo = 0,38; lа = 0,45; lб = 0,53 Коэфф. паропроницаемости, мг/(м × ч × Па) m = 0,14 |
|
|
Камень керамический пустотелый утолщенный лицевой, ГОСТ 7484, ГОСТ 530 Размер, мм 250´120´88 Средняя плотность, кг/м3 1150 Марка по прочности М150 Марка по морозостойкости F50 Водопоглощение, % - Пустотность, % 38 - 40 Коэфф. теплопроводности в кладке, Вт/(м × °С) lo = 0,38; lа = 0,44; lб = 0,52 Коэфф. паропроницаемости, мг/(м × ч × Па) m = 0,14 |
|
|
Кирпич керамический пустотелый «Ретро» Размер, мм 250´120´65 Средняя плотность, кг/м3 1450 Марка по прочности М150 Марка по морозостойкости F50 Водопоглощение, % 11,5 Пустотность, % 20 - 22 Коэфф. теплопроводности в кладке, Вт/(м × °С) lo = 0,40; lа = 0,53; lб = 0,61 Коэфф. паропроницаемости, мг/(м × ч × Па) m = 0,13 |
|
|
Изделие керамическое пустотелое Размер, мм 250´60´65 Средняя плотность, кг/м3 1350 Марка по прочности М125; M150 Марка по морозостойкости F50 Водопоглощение, % 11 Пустотность, % 30 - 32 Коэфф. теплопроводности в кладке, Вт/(м × °С) lo = 0,43; lа = 0,55; lб = 0,63 Коэфф. паропроницаемости, мг/(м × ч × Па) m = 0,13 |
Керамические стеновые материалы ЗАО «Норский керамический завод»
(г. Ярославль)
|
Кирпич керамический полнотелый одинарный, ГОСТ 530 Размер, мм 250´120´65 Марка по прочности М100 - M125 Марка по морозостойкости F50 Водопоглощение, % 18 ± 1 Пустотность, % 0 Коэфф. теплопроводности фрагмента кладки, l = 0,48 Вт/(м × °С) Коэфф. паропроницаемости, мг/(м × ч × Па) m = 0,12 |
|
|
Кирпич керамический одинарный с технологическими пустотами, ГОСТ 530 Размер, мм 250´120´65 Марка по прочности М200, M250, М300 Марка по морозостойкости F50 Водопоглощение, % 13 ± 1 Пустотность, % 7 ± 1 Коэфф. теплопроводности фрагмента кладки, l = 0,52 Вт/(м × °С) Коэфф. паропроницаемости, мг/(м × ч × Па) m = 0,11 |
|
|
Кирпич керамический одинарный с технологическими пустотами с рифлеными гранями, ГОСТ 7484 Размер, мм 250´120´65 Марка по прочности М200, M250 Марка по морозостойкости F50 Водопоглощение, % 13 ± 1 Пустотность, % 7 ± 1 Коэфф. теплопроводности фрагмента кладки, l = 0,52 Вт/(м × °С) Коэфф. паропроницаемости, мг/(м × ч × Па) m = 0,11 |
|
|
Кирпич керамический пустотелый одинарный лицевой, ГОСТ 7484, ГОСТ 530 Цвет: «абрикос», «слоновая кость» Размер, мм 250´120´65 Марка по прочности М100, М200, M250 Марка по морозостойкости F50 Водопоглощение, % 13 ± 1; 18 ± 1 Пустотность, % 38 ± 2 Коэфф. теплопроводности фрагмента кладки, l = 0,38 Вт/(м × °С) Коэфф. паропроницаемости, мг/(м × ч × Па) m = 0,14 |
|
|
Кирпич керамический пустотелый одинарный лицевой, ГОСТ 7484, ГОСТ 530 Цвет: «абрикос», «слоновая кость» Размер, мм 250´120´65 Марка по прочности М100, М150 Марка по морозостойкости F75 Водопоглощение, % 11 ± 1; 18 ± 1 Пустотность, % 27 - 40 Коэфф. теплопроводности фрагмента кладки, l = 0,34 Вт/(м × °С) Коэфф. паропроницаемости, мг/(м × ч × Па) m = 0,14 |
|
|
Кирпич керамический пустотелый утолщенный лицевой, ГОСТ 7484, ГОСТ 530 Цвет: «абрикос», «слоновая кость» Размер, мм 250´120´88 Марка по прочности М125, М150 Марка по морозостойкости F50, F75 Водопоглощение, % 18 ± 1 Пустотность, % 38 ± 2 Коэфф. теплопроводности фрагмента кладки, l = 0,38 Вт/(м × °С); l = 0,39 Вт/(м × °С) Коэфф. паропроницаемости, мг/(м × ч × Па) m = 0,14 |
|
|
Кирпич керамический пустотелый утолщенный поризованный, ГОСТ 530 Размер, мм 250´120´88 Марка по прочности М100, М125 Марка по морозостойкости F50 Водопоглощение, % 17 ± 1 Пустотность, % 8 ± 2 Коэфф. теплопроводности фрагмента кладки, l = 0,26 Вт/(м × °С) Коэфф. паропроницаемости, мг/(м × ч × Па) m = 0,14 |
|
|
Камень керамический пустотелый поризованный Размер, мм 250´120´138 Марка по прочности М125, М150 Марка по морозостойкости F50 Водопоглощение, % 17 ± 1 Пустотность, % 38 ± 2 Коэфф. теплопроводности фрагмента кладки, l = 0,20 Вт/(м × °С) Коэфф. паропроницаемости, мг/(м × ч × Па) m = 0,14 |
Керамические стеновые материалы ОАО «Альтаир» (г. Ижевск)
|
Кирпич керамический полнотелый, ГОСТ 530 Размер, мм 250´120´65 Средняя плотность, кг/м3 1890 Марка по прочности М150 Марка по морозостойкости F35 Водопоглощение, % > 8 Пустотность, % 0 Коэфф. теплопроводности в кладке, Вт/(м × °С) lo = 0,62; lа = 0,66; lб = 0,70 Коэфф. паропроницаемости, мг/(м × ч × Па) m = 0,10 |
Кирпич керамический полнотелый лицевой, ГОСТ 7484 Размер, мм 250´120´65 Средняя плотность, кг/м3 1950 Марка по прочности М175 - М200 Марка по морозостойкости F35 - F50 Водопоглощение, % > 8 Пустотность, % 0 Коэфф. теплопроводности в кладке, Вт/(м × °С) lo = 0,64; lа = 0,70; lб = 0,78 Коэфф. паропроницаемости, мг/(м × ч × Па) m = 0,09 |
|
Кирпич керамический пустотелый одинарный, ГОСТ 530, ГОСТ 7484 Размер, мм 250´120´65 Средняя плотность, кг/м3 1490 Марка по прочности М150 Марка по морозостойкости F50 Водопоглощение, % > 6 Пустотность, % 29 Коэфф. теплопроводности в кладке, Вт/(м × °С) lo = 0,44; lа = 0,54; lб = 0,60 Коэфф. паропроницаемости, мг/(м × ч × Па) m = 0,12 |
Кирпич керамический пустотелый одинарный, ГОСТ 530, ГОСТ 7484 Размер, мм 250´120´65 Средняя плотность, кг/м3 1350 Марка по прочности М125 Марка по морозостойкости F50 Водопоглощение, % > 6 Пустотность, % 36 Коэфф. теплопроводности в кладке, Вт/(м × °С) lo = 0,40; lа = 0,50; lб = 0,55 Коэфф. паропроницаемости, мг/(м × ч × Па) m = 0,14 |
|
Кирпич керамический пустотелый утолщенный, ГОСТ 7484, ГОСТ 530 Размер, мм 250´120´88 Средняя плотность, кг/м3 1350 Марка по прочности М150 Марка по морозостойкости F50 Водопоглощение, % > 6 Пустотность, % 36 Коэфф. теплопроводности в кладке, Вт/(м × °С) lo = 0,40; lа = 0,50; lб = 0,55 Коэфф. паропроницаемости, мг/(м × ч × Па) m = 0,14 |
|
|
Камень керамический пустотелый, ГОСТ 7484, ГОСТ 530 Размер, мм 250´120´138 Средняя плотность, кг/м3 1350 Марка по прочности М175 Марка по морозостойкости F50 Водопоглощение, % > 6 Пустотность, % 36 Коэфф. теплопроводности в кладке, Вт/(м × °С) lo = 0,40; lа = 0,50; lб = 0,55 Коэфф. паропроницаемости, мг/(м × ч × Па) m = 0,14 |
|
|
Камень керамический пустотелый поризованный, ГОСТ 530 Размер, мм 250´120´138 Средняя плотность, кг/м3 1050 Марка по прочности М100 Марка по морозостойкости F35 Водопоглощение, % > 6 Пустотность, % 38 Коэфф. теплопроводности в кладке, Вт/(м × °С) lo = 0,31; lа = 0,38; lб = 0,42 Коэфф. паропроницаемости, мг/(м × ч × Па) m = 0,14 |
Керамические стеновые материалы ОАО «Новокубанский завод керамических стеновых материалов» (Краснодарский край, г. Новокубанск)
|
Кирпич керамический пустотелый одинарный, ГОСТ 530 Размер, мм 250´120´65 Средняя плотность, кг/м3 1350 Марка по прочности М125; M150 Марка по морозостойкости F50 Водопоглощение, % > 6 Пустотность, % 32 - 35 Коэфф. теплопроводности в кладке, Вт/(м × °С) lo = 0,42; lа = 0,50; lб = 0,56 Коэфф. паропроницаемости, мг/(м × ч × Па) m = 0,14 |
|
|
Кирпич керамический пустотелый утолщенный, ГОСТ 530 Размер, мм 250´120´88 Средняя плотность, кг/м3 1350 Марка по прочности М125; M150; M175 Марка по морозостойкости F50 Водопоглощение, % > 6 Пустотность, % 32 - 35 Коэфф. теплопроводности в кладке, Вт/(м × °С) lo = 0,41; lа = 0,49; lб = 0,55 Коэфф. паропроницаемости, мг/(м × ч × Па) m = 0,14 |
|
|
Камень керамический пустотелый, ГОСТ 530 Размер, мм 250´120´138 Средняя плотность, кг/м3 1350 Марка по прочности М100; M125 Марка по морозостойкости F50 Водопоглощение, % > 6 Пустотность, % 32 - 35 Коэфф. теплопроводности в кладке, Вт/(м × °С) lo = 0,40; lа = 0,48; lб = 0,54 Коэфф. паропроницаемости, мг/(м × ч × Па) m = 0,14 |
|
|
Кирпич керамический пустотелый одинарный светлый, с добавкой СаСО3 Размер, мм 250´120´65 Средняя плотность, кг/м3 1200 Марка по прочности М100 Марка по морозостойкости F35 Водопоглощение, % > 6 Пустотность, % 32 - 35 Коэфф. теплопроводности в кладке, Вт/(м × °С) lo = 0,31; lа = 0,41; lб = 0,49 Коэфф. паропроницаемости, мг/(м × ч × Па) m = 0,14 |
|
|
Кирпич керамический пустотелый утолщенный светлый, с добавкой СаСО3 Размер, мм 250´120´88 Средняя плотность, кг/м3 1200 Марка по прочности М100 Марка по морозостойкости F35 Водопоглощение, % > 6 Пустотность, % 32 - 35 Коэфф. теплопроводности в кладке, Вт/(м × °С) lo = 0,30; lа = 0,40; lб = 0,48 Коэфф. паропроницаемости, мг/(м × ч × Па) m = 0,14 |
|
|
Кирпич керамический пустотелый одинарный с 21 пустотами размером 14´14 мм, ГОСТ 530 Размер, мм 250´120´65 Средняя плотность, кг/м3 1500 Марка по прочности М125 Марка по морозостойкости F50 Водопоглощение, % > 6 Пустотность, % 25 Коэфф. теплопроводности в кладке, Вт/(м × °С) lo = 0,44; lа = 0,55; lб = 0,62 Коэфф. паропроницаемости, мг/(м × ч × Па) m = 0,12 |
Керамические стеновые материалы, выпускаемые заводами Винербергер
|
POROTHERM 12 с канавками и выступами Размер 12/50/21,9 см Вид отверстия - прямоугольник Ряды отверстий - 3 Канавка + выступ. Форма 1 Внешняя стенка ок. 11 мм Внутренняя перегородка ок. 6 мм |
Камень керамический пустотелый «ПОРОТЕРМ 12» Размер, мм 120´500´219 Средняя плотность, кг/м3 900 Марка по прочности ³ М75 Марка по морозостойкости ³ F15 Расчетное массовое отношение влаги при условиях эксплуатации А, Б, % < 1,5 Пустотность, % 45 Коэфф. теплопроводности кладки lo = 0,29; lб = 0,30; на растворе с l = 1,0 Вт/(м × °С) Коэфф. паропроницаемости, мг/(м × ч × Па) m = 0,05 - 0,14 |
|
|
POROTHERM 25 с канавками и выступами Размер 25/38/21,9 см Вид отверстия - прямоугольник Ряды отверстий - 3 Канавка + выступ. Форма 3 Внешняя стенка ок. 11 мм Внутренняя перегородка ок. 6 мм |
Камень керамический пустотелый «ПОРОТЕРМ 25» Размер, мм 250´380´219 Средняя плотность, кг/м3 900 Марка по прочности ³ М75 Марка по морозостойкости ³ F15 Расчетное массовое отношение влаги при условиях эксплуатации А, Б, % < 1,5 Пустотность, % 45 Коэфф. теплопроводности кладки lo = 0,24; lб = 0,25; на растворе с l = 1,0 Вт/(м × °С) Коэфф. паропроницаемости, мг/(м × ч × Па) m = 0,05 - 0,14 |
|
|
POROTHERM 30 с канавками и выступами Размер 30/25/21,9 см Вид отверстия - прямоугольник Ряды отверстий - 15 Канавка + выступ. Форма 4 Внешняя стенка ок. 11 мм Внутренняя перегородка ок. 6 мм |
Камень керамический пустотелый «ПОРОТЕРМ 30» Размер, мм 300´250´219 Средняя плотность, кг/м3 900 Марка по прочности ³ М75 Марка по морозостойкости ³ F15 Расчетное массовое отношение влаги при условиях эксплуатации А, Б, % < 1,5 Пустотность, % 45 Коэфф. теплопроводности кладки lo = 0,21; lб = 0,22; на растворе с l = 1,0 Вт/(м × °С) Коэфф. паропроницаемости, мг/(м × ч × Па) m = 0,05 - 0,14 |
|
|
POROTHERM 38 с канавками и выступами Размер 38/25/21,9 см Вид отверстия - прямоугольник Ряды отверстий - 19 Канавка + выступ. Форма 5 Внешняя стенка ок. 11 мм Внутренняя перегородка ок. 6 мм |
Камень керамический пустотелый «ПОРОТЕРМ 38» Размер, мм 380´250´219 Средняя плотность, кг/м3 750 Марка по прочности ³ М75 Марка по морозостойкости ³ F15 Расчетное массовое отношение влаги при условиях эксплуатации А, Б, % < 1,5 Пустотность, % 55 Коэфф. теплопроводности кладки lo = 0,15; lб = 0,16; на растворе с l = 0,2 Вт/(м × °С) Коэфф. паропроницаемости, мг/(м × ч × Па) m = 0,05 - 0,14 |
|
|
POROTHERM 38 S с канавками и выступами Размер 38/25/21,9 см Вид отверстия - ромб Ряды отверстий - 23 Канавка + выступ. Форма 5 Внешняя стенка ок. 11 мм Внутренняя перегородка ок. 6 мм |
Камень керамический пустотелый «ПОРОТЕРМ 38S» Размер, мм 380´250´219 Средняя плотность, кг/м3 750 Марка по прочности ³ М75 Марка по морозостойкости ³ F15 Расчетное массовое отношение влаги при условиях эксплуатации А, Б, % < 1,5 Пустотность, % 55 Коэфф. теплопроводности кладки lo = 0,13; lб = 0,14; на растворе с l = 0,2 Вт/(м × °С) Коэфф. паропроницаемости, мг/(м × ч × Па) m = 0,05 - 0,14 |
Керамические стеновые материалы, выпускаемые заводами Винербергер
|
POROTHERM 44 с канавками и выступами Размер 44/25/21,9 см Вид отверстия - прямоугольник Ряды отверстий - 23 Канавка + выступ. Форма 5 Внешняя стенка ок. 11 мм Внутренняя перегородка ок. 6 мм |
Камень керамический пустотелый «ПОРОТЕРМ 44» Размер, мм 440´250´219 Средняя плотность, кг/м3 750 Марка по прочности ³ М75 Марка по морозостойкости ³ F15 Расчетное массовое отношение влаги при условиях эксплуатации А, Б, % < 1,5 Пустотность, % 55 Коэфф. теплопроводности кладки lo = 0,15; lб = 0,16; на растворе с l = 0,2 Вт/(м × °С) Коэфф. паропроницаемости, мг/(м × ч × Па) m = 0,05 - 0,14 |
|
|
POROTHERM 44 S с канавками и выступами Размер 44/25/21,9 см Вид отверстия - ромб Ряды отверстий - 27 Канавка + выступ. Форма 5 Внешняя стенка ок. 11 мм Внутренняя перегородка ок. 6 мм |
Камень керамический пустотелый «ПОРОТЕРМ 44S» Размер, мм 440´250´219 Средняя плотность, кг/м3 750 Марка по прочности ³ М75 Марка по морозостойкости ³ F15 Расчетное массовое отношение влаги при условиях эксплуатации А, Б, % < 1,5 Пустотность, % 55 Коэфф. теплопроводности кладки lo = 0,13; lб = 0,14; на растворе с l = 0,2 Вт/(м × °С) Коэфф. паропроницаемости, мг/(м × ч × Па) m = 0,05 - 0,14 |
|
|
POROTHERM 51 с канавками и выступами Размер 51/25/21,9 см Вид отверстия - прямоугольник Ряды отверстий - 27 Канавка + выступ. Форма 7 Внешняя стенка ок. 11 мм Внутренняя перегородка ок. 6 мм |
Камень керамический пустотелый «ПОРОТЕРМ 51» Размер, мм 510´250´219 Средняя плотность, кг/м3 750 Марка по прочности ³ М75 Марка по морозостойкости ³ F15 Расчетное массовое отношение влаги при условиях эксплуатации А, Б, % < 1,5 Пустотность, % 55 Коэфф. теплопроводности кладки lo = 0,15; lб = 0,16; на растворе с l = 0,2 Вт/(м × °С) Коэфф. паропроницаемости, мг/(м × ч × Па) m = 0,05 - 0,14 |
|
|
POROTHERM 51 S с канавками и выступами Размер 51/25/21,9 см Вид отверстия - ромб Ряды отверстий - 33 Канавка + выступ. Форма 7 Внешняя стенка ок. 11 мм Внутренняя перегородка ок. 6 мм |
Камень керамический пустотелый «ПОРОТЕРМ 51S» Размер, мм 510´250´219 Средняя плотность, кг/м3 750 Марка по прочности ³ М75 Марка по морозостойкости ³ F15 Расчетное массовое отношение влаги при условиях эксплуатации А, Б, % < 1,5 Пустотность, % 55 Коэфф. теплопроводности кладки lo = 0,13; lб = 0,14; на растворе с l = 0,2 Вт/(м × °С) Коэфф. паропроницаемости, мг/(м × ч × Па) m = 0,05 - 0,14 |
Теплофизические и прочностные свойства теплоизоляционных блоков «Геокар», выпускаемых на основе торфа Бежецким опытно-экспериментальным заводом (ТУ 5768-001-03983434-99)
1. Средняя плотность, 380 кг/м3
2. Марка по прочности М8 - М12
3. Марка по морозостойкости ³ F50
4. Коэфф. теплопроводности в кладке, Вт/(м × °С) lo = 0,055; lа = 0,063; lб = 0,072
5. Коэфф. паропроницаемости, мг/(м × ч × Па), m = 0,19
Рисунок 1. Блоки «Геокар» с отверстиями
Рисунок 2. Блоки «Геокар» сплошные
Теплофизические и прочностные свойства жестких пенополиуретановых теплоизоляционных материалов и карбамидных пенопластов ООО «Ритм-Л» (г. Самара)
Для теплоизоляции наружных ограждающих конструкций зданий ООО «Ритм-Л» производит и применяет жесткие пенополиуретаны в виде плит, заливочных и напыляемых материалов со следующими свойствами:
1) плотность 40 - 80 кг/м3; 2) коэффициент теплопроводности l = 0,030 - 0,035 Вт/(м × °С); 3) коэффициент паропроницаемости m = 0,011 - 0,05 мг/м × ч × Па; 4) водопоглощение 1 - 3 об. %; 5) высокая адгезия к бетону, кирпичу, металлу (0,1 - 0,3 МПа); 6) влагопоглощение 0,05 - 0,3 %; 7) предел прочности, МПа (при сжатии 0,1 - 0,7; при изгибе 0,15 - 1,0; при растяжении 0,1 - 0,6); 8) долговечность 30 - 60 лет с допустимым изменением теплопроводности и прочности; 9) прогнозируемое снижение теплопроводности за 100 лет эксплуатации составляет 30 %; 10) устойчивость к воздействию грибков, микроорганизмов, растворителей строительных красок, минеральных масел и химических веществ, встречающихся в строительстве; 11) по огнестойкости относится к трудногорючим материалам; 12) после завершения процесса твердения (10 - 20 с) нетоксичен; 13) экологически безопасен в процессе эксплуатации.
Особые физические свойства жесткого пенополиуретана позволяют проводить работы по утеплению наружных ограждающих конструкций зданий круглогодично. Напыление пенополиуретанового слоя толщиной 30 - 35 мм на кирпичную стену в 1,5 - 2,5 кирпича увеличивает сопротивление теплопередаче в 2 - 2,5 раза, практически без уменьшения полезной площади здания.
Разработанная ООО «Ритм-Л» технология послойного нанесения пенополиуретана позволяет обеспечивать дифференцированный влажностный режим, сопротивление паропроницанию и воздухопроницанию наружных стен с учетом изменения теплового напора на высоте многоэтажного здания.
Сопротивление теплопередаче и паропроницанию кирпичных стен, утепленных жестким пенополиуретаном
Кирпичная стена, утепленная напылением пенополиуретана изнутри помещения
1 - гипсокартон толщиной 13 мм; 2 - пенополиуретан; 3 - кирпичная кладка толщиной 380 - 640 мм
|
Сопротивление |
|||
|
380 мм |
510 мм |
640 мм |
|
|
25 |
1,72/4,59 |
1,96/5,52 |
2,21/6,45 |
|
35 |
2,04/5,27 |
2,27/6,20 |
2,52/7,13 |
Кирпичная стена, утепленная напылением пенополиуретана снаружи
1 - известково-песчаный раствор толщиной 15 мм; 2 - кирпичная кладка толщиной 380 - 640 мм; 3 - пенополиуретан; 4 - цементно-песчаный раствор толщиной 20 мм
|
Сопротивление |
|||
|
380 мм |
510 мм |
640 мм |
|
|
25 |
1,64/4,80 |
1,87/5,73 |
2,09/6,66 |
|
35 |
1,95/5,48 |
2,18/6,41 |
2,40/7,34 |
|
45 |
2,27/6,16 |
2,49/7,09 |
2,72/8,02 |
|
55 |
2,58/6,84 |
2,80/7,77 |
3,03/8,70 |
|
65 |
2,89/7,52 |
3,12/8,45 |
3,34/9,38 |
|
75 |
3,20/8,21 |
3,43/9,13 |
3,65/10,06 |
|
85 |
3,52/8,89 |
3,74/9,81 |
3,97/10,74 |
|
95 |
3,83/9,57 |
4,05/10,49 |
4,28/11,42 |
Сопротивление теплопередаче колодцевой кладки кирпичной стены, утепленной заливочным жестким пенополиуретаном
Колодцевая кладка (исполнение 1) Колодцевая кладка (исполнение 2)
= 2,24 м2
× °С/Вт
Карбамидный пенопласт «МЕТТЭМПЛАСТ» (бывший пеноизол) производится и применяется ООО «Ритм-Л» в строительстве для тепловой изоляции наружных ограждающих конструкций зданий и сооружений гражданского и промышленного назначения. Используется в качестве среднего слоя строительных конструкций для утепления стен, полов, потолков. Производится в форме плит размером 50´60 см, толщиной от 50 до 200 мм, плотность 12 - 18 кг/м3; коэффициент теплопроводности 0,03 Вт/(м × °С); коэффициент паропроницаемости 0,24 мг/(м × ч × Па); пожаробезопасность - не способен к самостоятельному горению; устойчив к воздействию грибков, микроорганизмов, бензола, бензина, ацетона, эфира и т.п.; эксплуатационная долговечность согласуется с установленными межкапитальными ремонтными сроками для наружных ограждающих конструкций.
ООО «Ритм-Л» производит и применяет в строительстве пенополиуретан повышенной теплоэффективности с коэффициентом теплопроводности 0,020 - 0,023 Вт/(м × °С) при плотности 38 - 40 кг/м3. Использование его для теплоизоляции наружных ограждающих конструкций на 25 - 30 % экономичнее по сравнению с вышеприведенными материалами.
Пенополиуретановое гидромеханозащитное покрытие производится и применяется ООО «Ритм-Л» для антикоррозионной защиты и гидроизоляции подземных и надземных сооружений, работающих в самых жестких климатических условиях. Пенополиуретановое покрытие сохраняет свои свойства на протяжении 30 лет. Оно устойчиво к действию соленой морской воды, разбавленных кислот и щелочей, минеральных масел и алифатических растворителей. Покрытие обладает следующими свойствами: плотность не менее 150 кг/м3; коэффициент теплопроводности 0,036 Вт/(м × °С); коэффициент паропроницаемости 0,11 мг/(м × ч × Па); прочность покрытия на разрыв (при d = 2 - 3 мм) - 16 МПа; относительное удлинение покрытия при разрыве (d = 2 - 3 мм) - 360 %; прочность на раздир - 38 Н/мм.
Стеновые и кровельные сэндвич-панели ОАО «ТЕРМОСТЕПС-МТЛ» на основе базальтовой изоляции ТЕРМО (г. Самара)
В качестве теплоизоляционного слоя в панелях используется базальтовый утеплитель на синтетическом связующем с гидрофобизирующими добавками, с горизонтальной ориентацией волокон относительно направления теплового потока. Облицовка панелей выполняется из стального оцинкованного листа или алюминиевого со специальным полимерным покрытием или из нержавеющей стали.
Применение сэндвич-панелей с базальтовой изоляцией ТЕРМО толщиной от 50 до 200 мм при ее высокой эффективности обеспечивает рациональный уровень теплозащитных качеств наружных стен зданий в большинстве климатических регионов России.
Срок службы сэндвич-панелей при условии выполнения квалифицированного монтажа и своевременного текущего ремонта составляет 30 - 40 лет.
Стеновая панель
Кровельная панель
|
Ширина, мм |
Длина, мм |
Толщина, мм |
Приведенное сопротивление
теплопередаче, |
Вес, кг/м2 |
Предел огнестойкости |
Горючесть утеплителя, ГОСТ 30244 |
|
|
Термопанель-монолит |
1000 |
До 14000 |
50 |
1,20 |
16,3 |
EI-30 |
НГ |
|
80 |
1,95 |
19,9 |
EI-90 |
||||
|
ПСБ |
100 |
2,40 |
22,3 |
ЕI-90 |
|||
|
120 |
2,90 |
24,7 |
EI-150 |
||||
|
Стеновая панель с базальтовым утеплителем |
150 |
3,65 |
28,3 |
EI-180 |
|||
|
200 |
4,80 |
34,3 |
EI-180 |
||||
|
Термопанель-монолит |
1000 |
До 14000 |
50 |
1,20 |
19,7 |
|
НГ |
|
80 |
1,95 |
22,3 |
RE-30 |
||||
|
ПКБ |
100 |
2,40 |
25,7 |
RE-30 |
|||
|
120 |
2,90 |
28,1 |
RE-30 |
||||
|
Кровельная панель с базальтовым утеплителем |
150 |
3,65 |
31,7 |
RE-30 |
|||
|
200 |
4,80 |
37,7 |
RE-30 |
Базальтовая изоляция ТЕРМО производства ОАО «Термостепс-МТЛ» (г. Самара)
Система утепления фасадов
1 - термощит; 2 - специальный дюбель; 3, 4, 5 - штукатурная система; 6 - финишная штукатурка; 7 - утепляемый фасад; 8 - цокольная рейка
Вентилируемые фасады
1 - кронштейн, Z - профиль; 2 - термощит; 3 - существующий фасад; 4 - декоративный фасад
Трехслойные стены
1 - кирпичная кладка; 2 - термобарьер; 3 - кирпичная кладка; 4 - внутренняя штукатурка
Чердачные перекрытия
1 - термослой; 2 - пароизоляция; 3 - подшивка потолка; 4 - вентиляция; 5 - кровельное покрытие; 6 - термослой
Физические свойства и геометрические параметры базальтовых теплоизоляционных плит
|
Длина, мм |
Ширина, мм |
Толщина, мм, с интервалом 10 мм |
Плотность, кг/м3 |
Горючесть, ГОСТ 30244 |
Коэффициент теплопроводности, Вт/м × °С |
Сжимаемость, %, ГОСТ 17177 |
Водопоглощение, % |
||
|
Плиты мягкие |
|||||||||
|
Термо Лайт (ПМ-35) |
1200 |
600 |
50 - 200 |
40 |
НГ |
0,038 |
0,044 |
25 |
1,5 |
|
Термо Лайт+ (ПМ-50) |
55 |
0,038 |
0,043 |
20 |
|||||
|
Плиты полужесткие |
|||||||||
|
Термо Стена (ПП-80) |
1200 |
600 |
40 - 200 |
70 |
НГ |
0,038 |
0,043 |
15 |
1,5 |
|
Плиты жесткие |
|||||||||
|
Термо Вент (ПЖ-80) |
1200 |
600 |
40 - 150 |
90 |
НГ |
0,038 |
0,040 |
8 |
1,0 |
|
Термо Кровля Н (ПЖ-100) |
40 - 150 |
110 |
0,038 |
0,040 |
6 |
||||
|
Термо Монолит (ПЖ-120) |
40 - 120 |
130 |
0,038 |
0,041 |
4 |
||||
|
Термо Пол (ПЖ-140) |
40 - 100 |
150 |
0,039 |
0,041 |
2 |
||||
|
Плиты сверхжесткие |
|||||||||
|
Термо Фасад (ПСЖ-150 Фасад) |
1200 |
600 |
40 - 100 |
Не менее 150 |
НГ |
0,039 |
0,043 |
|
1,0 |
|
Термо Кровля (ПСЖ-150) |
40 - 100 |
160 |
0,039 |
0,043 |
|||||
|
Термо Кровля В (ПСЖ-175) |
40 - 80 |
185 |
0,042 |
0,045 |
|||||
|
Термо Кровля В+ (ПСЖ-200) |
40 - 70 |
210 |
0,042 |
0,045 |
|||||
1. Коэффициент r для участков трехслойных бетонных конструкций с ребрами и теплоизоляционными вкладышами следует вычислять по формуле
где r1 - коэффициент, учитывающий относительную площадь ребер в конструкции, следует принимать по таблице 1 приложения 5;
r2 - коэффициент, учитывающий плотность материала ребер конструкции, принимается по таблице 2 приложения 5.
2. Коэффициент r для участков ограждающих конструкций из панелей с гибкими металлическими связями в сочетании с утеплителем из минеральных волокон или вспененных пластмасс допускается принимать по таблице 3 приложения 5 с уточнением по фактическим значениям.
Таблица 1
|
r1 при Fl/F2 |
|||
|
0,25 |
0,15 |
0,05 |
|
|
3,0 |
0,5 |
0,56 |
0,79 |
|
2,1 |
0,67 |
0,73 |
0,83 |
|
1,7 |
0,76 |
0,80 |
0,86 |
|
1,4 |
0,83 |
0,85 |
0,87 |
|
Обозначения, принятые в табл. 1: Fl - площадь ребер в конструкции, м2; F2 - площадь конструкции (без учета площади оконных и дверных проемов), м2. |
|||
Таблица 2
|
Плотность материала g, кг/м3 |
1000 |
1200 |
1400 |
1600 |
2400 |
|
r2 |
1,0 |
1,0 |
0,9 |
0,8 |
0,6 |
|
Примечание. Для трехслойных конструкций толщиной менее 0,3 м коэффициент r следует умножать на 0,9. |
|||||
Таблица 3
|
Плотность материала g, кг/м3 |
Коэффициент r при расстоянии между гибкими связями а, м |
||||||||
|
0,6 |
0,8 |
1,0 |
1 |
2 |
|||||
|
Диаметр стержня гибкой связи d, мм |
|||||||||
|
8 |
12 |
8 |
12 |
8 |
12 |
8 |
12 |
||
|
Керамзитобетон |
1000 |
0,95 |
0,91 |
0,96 |
0,94 |
0,97 |
0,96 |
0,98 |
0,96 |
|
1200 |
0,93 |
0,89 |
0,95 |
0,92 |
0,96 |
0,94 |
0,97 |
0,95 |
|
|
1400 |
0,91 |
0,87 |
0,94 |
0,90 |
0,95 |
0,92 |
0,96 |
0,94 |
|
|
1600 |
0,89 |
0,84 |
0,93 |
0,88 |
0,94 |
0,91 |
0,95 |
0,93 |
|
|
Тяжелый бетон |
2400 |
0,74 |
0,69 |
0,80 |
0,75 |
0,84 |
0,81 |
0,87 |
0,85 |
Примечание. Промежуточные значения r1, r2 и r по таблицам 1 - 3 следует определять интерполяцией.
Пример 1. Расчет сопротивления паропроницанию наружной стены, утепленной с внутренней стороны напыляемым пенополиуретаном.
1 слой - известково-песчаный раствор
d1 = 0,02 м; g1 = 1600 кг/м3;
l1 = 0,7 Вт/(м × °С); m1 = 0,12 мг/(м × ч × Па);
2 слой - пенополиуретан марки «Изолан 105-3»
d2 = 0,035 м; g2 = 80 кг/м3;
l2 = 0,026 Вт/(м × °С); m2 = 0,014 мг/(м × ч × Па);
3 слой - силикатный кирпич
d3 = 0,51 м; g3 = 1800 кг/м3;
l3 = 0,76 Вт/(м × °С); m3 = 0,11 мг/(м × ч × Па)
![]()
= 0,1149 + 0,0286 + 1,346 + 0,671 + 0,0435 = 2,2 (м2 × °С)/Вт;
![]()
![]()
tk1 = 4,5 °C;
![]()
tk2 = -11,0 °C;
![]()
tk3 = 7,5 °C;
Определяем координаты плоскостей возможной конденсации
![]()

В первом слое плоскость возможной конденсации отсутствует.

Во втором слое за плоскость возможной конденсации принимаем наружную поверхность утеплителя.

Плоскость возможной конденсации находится за пределами 3-го слоя.
Следовательно, расчет по определению накопления влаги следует производить по наружной поверхности пенополиуретана.
Определяем температуру в зоне конденсации для трех периодов года:
а) зимний период

Е1 = 613 Па;
б) переходный период

Е2 = 995 Па;
в) летний период

Е3 = 1913 Па;
![]()
Rпн = 4,64 (м2 × ч × Па)/мг;
= (eв - Е) × Rпн/(Е - ен)
= (1285,6 - 1327) × 4,64/(1327 -
720) = -0,316 м2 ×
ч × Па/мг.
Rn = 0,167 + 2,5 = 2,667 м2 × ч × Па/мг.
Rn >
; 2,667 >
-0,316 м2 × ч × Па/мг.
Следовательно, накопления влаги за годовой период эксплуатации не происходит.
Определяем также требуемое сопротивление паропроницанию из условия ограничения накопления влаги за период с отрицательными температурами
![]()

Е0 = 650 Па.
h = 0,0024 × (650 - 334) × 151/4,64 = 24,7;
= (0,0024 × 151 × (1285,6 -
560))/(80 × 0,035 × 25 + 24,7) =
2,43 м2 × ч × Па/мг.
Rn >
; 2,667 >
2,43 м2 ×
ч × Па/мг.
Результаты расчетов влажностного режима наружной стены показали, что фактическое сопротивление паропроницанию превышает требуемое значение. Следовательно, накопление влаги в наружной стене отсутствует.
Пример 2. Выполнить расчет сопротивления паропроницанию облегченной кирпичной стены, утепленной монолитным ячеистым бетоном.
1 слой - известково-песчаный раствор
d1 = 0,02 м; g1 = 1600 кг/м3;
l1 = 0,7 Вт/(м × °С); m1 = 0,12 мг/(м × ч × Па);
2 слой - керамический эффективный кирпич
d2 = 0,25 м; g2 = 1600 кг/м3;
l2 = 0,58 Вт/(м × °С); m2 = 0,14 мг/(м × ч × Па);
3 слой - монолитный пенобетон
d3 = 0,15 м; g3 = 300 кг/м3;
l3 = 0,095 Вт/(м × °С); m3 = 0,25 мг/(м × ч × Па);
4 слой - керамический эффективный кирпич
d4 = 0,12 м; g4 = 1600 кг/м3;
l4 = 0,58 Вт/(м × °С); m4 = 0,14 мг/(м × ч × Па).
![]()
= 0,1149 + 0,0286 + 0,431 + 1,579 + 0,207 + 0,0435 = 2,4 (м2 × °С)/Вт;
![]()
![]()
![]()
tk1 = 19,5 °C;
![]()
tk2 = 13,5 °C;
![]()
tk3 = -19,5 °C;
![]()
tk4 = 13,5 °C;
Определяем координаты плоскостей возможной конденсации
![]()

Плоскость возможной конденсации находится за пределами 1-го слоя.

Во втором слое плоскость возможной конденсации находится внутри слоя.

В третьем слое за плоскость конденсации следует принять наружную поверхность монолитного пенобетона и выполнить расчет на накопление влаги.

= -0,97 м.
Плоскость возможной конденсации находится за пределами 4-го слоя.
Определяем значение упругости водяного пара в плоскости возможной конденсации для 2-го и 3-го слоев.

При температуре tk2 = 13,5 °С значение Е2 = 1547 Па. Следовательно, конденсация водяного пара невозможна и расчет на накопление влаги производить не следует.
Определяем значение упругости е3 и температуры t3 на наружной поверхности монолитного пенобетона.

= -8,9 °С.
При температуре tk3 = -8,9 °С значение Е3 = 287 Па. Следовательно, возможна конденсация водяного пара, так как е3 > Е3. Следует выполнить расчет на накопление влаги. Определяем температуру в зоне конденсации для трех периодов года:
а) зимний период

Е1 = 353,5 Па;
б) переходный период

Е2 = 737 Па;
в) летний период

Е3 = 1795 Па;
![]()
Rпн = 0,857 (м2 × ч × Па)/мг;
= (eв - Е) × Rпн/(Е - ен) =
(1285,6 - 1138) ×
0,857/(1138 - 720) = 0,303 м2 × ч × Па/мг.
Rп = 3,27 - 0,857 = 2,41 м2 × ч × Па/мг.
Rn >
;
2,41 > 0,303 м2 × ч × Па/мг.
Следовательно, накопления влаги за годовой период эксплуатации не происходит.
Определяем также требуемое сопротивление паропроницанию из условия ограничения накопления влаги за период с отрицательными температурами
![]()

Е0 = 388 Па;
h = 0,0024 × (338 - 334) × 151/0,857 = 22,8;
= (0,0024 × 151 × (1285,6 -
388))/(300 × 0,15
× 6 +
22,8) = 1,1 м2 × ч × Па/мг.
Rn >
;
2,41 > 1,1 м2 × ч × Па/мг.
Результаты расчетов влажностного режима наружной стены показали, что фактическое сопротивление паропроницанию превышает требуемое значение, поэтому накопления влаги в наружной стене не происходит.
Ключевые слова: ограждающие конструкции, снижение ресурсопотребления, теплозащита, коэффициент теплопроводности, сопротивление теплопередаче, воздухопроницанию, паропроницанию, долговечность