СССР
УТВЕРЖДЕН ПРИКАЗОМ
Министерства энергетики и электрификации СССР от 14 ноября 1990 г. № 168а
ИСПОЛНИТЕЛИ: Ленинградский филиал научно-исследовательского и проектно- технологического
института «Энергомонтажпроект»
Есарев В.И.
Горбачев В.В.
Головин И.А.
Иванова Л.М.
Иевлева Л.Е.
Морозюк М.В.
Тихонова Е.И.
Институт «Энергомонтажпроект»
Леонтьев Н.В.
Ротштейн А.В.
Нечаева Н.Г.
Белкин С.А.
Саблина Т.А.
ОТРАСЛЕВОЙ СТАНДАРТ
|
Детали и сборочные ЕДИНИЦЫ ТРУБОПРОВОДОВ АС
Рраб
< 2,2 МПа (22 кгс/см2) Т £ 300 °С
ТРОЙНИКИ
СВАРНЫЕ ПЕРЕХОДНЫЕ
Конструкция
и размеры
|
ОСТ
34-10-511-90
|
Дата введения 01.01.91
Несоблюдение стандарта преследуется по закону
1. Настоящий стандарт
распространяется на сварные переходные
тройники из коррозионностойкой стали для трубопроводов группы В и С атомных станций по «Правилам АЭУ».
Стандарт соответствует требованиям «Правил АЭУ».
Допускается применение сварных переходных тройников по данному
стандарту для трубопроводов, на которые распространяются
«Правила пара и горячей воды» и СНиП
3.05.05.
Пределы применения
тройников приведены в табл. 1
Таблица 1
|
Условное давление Ру, МПа (кгс/см2)
|
Рабочее давление Рраб МПа
(кгс/см2) для температуры среды, °С
|
|
200
|
300
|
|
2,50 (25)
|
2,2 (22)
|
2,20 (22,0)
|
|
1,60 (16)
|
1,6 (16)
|
1,40 (14,0)
|
|
1,00 (10)
|
1,0 (10)
|
0,90 (9,0)
|
|
0,63 (6)
|
0,6 (6)
|
0,54 (5,4)
|
|
0,40 (4)
|
0,4 (4)
|
0,35 (3,5)
|
Примечание. Применение сварных переходных тройников
допускается для трубопроводов группы В с рабочим давлением Рраб £
1,57 МПа (16 кгс/см2) и расчетной температурой Т £ 100 °С.
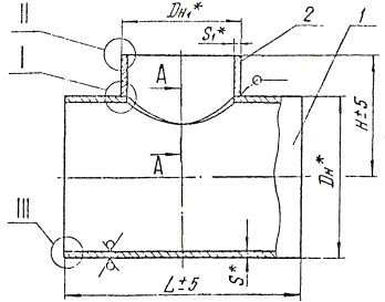
2. Конструкция и размеры сварных переходных тройников
должны соответствовать указанным на черт. 1 и в
табл. 2 и 3

А-А
Для
Dн1 £ 76 мм

Для
Dн1
³
89 мм
при Dн1/Dн > 0,7 при Dн1/Dн £
0,7

I
Для Dн1
£
76 мм

Для Dн1 ³ 89 мм
при Dн1/Dн > 0,7 при Dн1/Dн £
0,7

II
Для Dн1 £
57 мм

Для Dн1 от 76 до
108 мм

Для Dн1 от 133 до 325 мм

Для Dн1
от 377 до 630 мм

Для Dн1 ³ 720 мм

III
Для Dн £ 57 мм

Для Dн от 76 до 108 мм

Для Dн
от 133 до 325 мм Для Dн от 377 до 630 мм

Для Dн ³
720 мм

*
Размеры для справок.
Черт. 1
Таблица 2
Размеры в мм
|
Обозначение тройника
|
Условное давление Ру, МПа (кгс/см2)
|
Условные проходы Dу ´ Dу1
|
Размеры присоединяемых труб
|
Dн
|
Dн1
|
Dp
|
Dp1
|
S
|
S1
|
S2
|
S3
|
L
|
H
|
e
|
e1
|
g
|
g1
|
l
|
l1
|
Масса,
кг
|
|
|
Номин.
|
Пред.
откл.
|
Номин.
|
Пред.
откл.
|
не
менее
|
|
|
к
корпусу
|
к
штуцеру
|
|
|
01
|
2,5 (25)
|
50´25
|
57´3
|
32´2,5
|
57
|
32
|
52
|
+0,30
|
28
|
+0,21
|
3
|
2,5
|
2,5
|
2,0
|
|
130
|
|
5
|
|
|
|
|
1,2
|
|
|
02
|
50´32
|
38´3
|
38
|
33
|
+0,25
|
|
2,5
|
240
|
|
6
|
|
|
|
|
1,3
|
|
|
03
|
65´32
|
76´4,5
|
76
|
68
|
4,5
|
3
|
3,5
|
|
140
|
5
|
4
|
2
|
|
|
|
2,2
|
|
|
04
|
65´50
|
57´3
|
57
|
52
|
+0,30
|
260
|
|
8
|
|
|
|
|
2,5
|
|
|
05
|
80´50
|
89´5
|
89
|
80
|
5
|
|
|
150
|
|
6
|
|
2
|
10
|
|
3,1
|
|
|
06
|
80´65
|
76´4,5
|
76
|
68
|
4,5
|
|
3,5
|
|
8
|
15
|
4
|
|
|
3,8
|
|
|
07
|
100´50
|
108´5
|
57´5
|
108
|
57
|
99
|
+0,35
|
52
|
3
|
|
2,5
|
|
|
5
|
5
|
2
|
|
|
10
|
4,1
|
|
|
08
|
100´65
|
76´4,5
|
76
|
68
|
4,5
|
|
3,5
|
290
|
160
|
8
|
12
|
4
|
|
|
|
4,5
|
|
|
09
|
100´80
|
89´5
|
89
|
80
|
5
|
4,0
|
4,0
|
|
9
|
14
|
|
|
|
4,7
|
|
|
10
|
125´50
|
133´6
|
57´3
|
133
|
57
|
124
|
+0,40
|
52
|
6
|
3
|
|
2,5
|
|
|
5
|
4
|
2
|
|
15
|
|
5,9
|
|
|
11
|
125´65
|
76´4,5
|
76
|
68
|
4,5
|
|
3,5
|
|
170
|
8
|
12
|
4
|
4
|
|
6,2
|
|
|
12
|
125´80
|
89´5
|
89
|
80
|
5
|
|
4,0
|
320
|
11
|
15
|
6
|
3
|
|
7,3
|
|
|
13
|
125´100
|
108´5
|
108
|
99
|
+0,35
|
|
|
9
|
14
|
4
|
2
|
|
7,2
|
|
|
14
|
|
150´50
|
|
57´3
|
|
57
|
|
|
52
|
|
|
3
|
|
2,5
|
|
|
5
|
4
|
2
|
2
|
|
|
8,6
|
|
|
15
|
|
150´65
|
|
76´4,5
|
|
76
|
150
|
+0,40
|
68
|
+0,30
|
|
4,5
|
|
3,5
|
|
|
8
|
11
|
4
|
|
10
|
8,9
|
|
|
16
|
|
150´80
|
159´6
|
89´5
|
159
|
89
|
80
|
|
6
|
5
|
4,0
|
|
360
|
190
|
11
|
15
|
6
|
6
|
15
|
9,4
|
|
|
17
|
|
150´100
|
|
108´5
|
|
108
|
99
|
+0,35
|
|
|
4,0
|
|
|
14
|
|
|
9,7
|
|
|
18
|
|
150´125
|
|
133´6
|
|
133
|
|
|
124
|
+0,40
|
|
6
|
|
|
|
|
12
|
18
|
3
|
|
15
|
9,9
|
|
|
19
|
|
200´50
|
|
57´3
|
|
57
|
|
|
52
|
|
|
3
|
|
2,5
|
|
|
5
|
2
|
2
|
|
|
24,1
|
|
|
20
|
2,5 (25)
|
200´65
|
|
76´4,5
|
|
76
|
|
|
68
|
+0,30
|
|
4,5
|
|
3,5
|
|
|
8
|
11
|
4
|
4
|
|
10
|
24,5
|
|
|
21
|
|
200´80
|
219´11
|
89´5
|
219
|
89
|
200
|
+0,46
|
80
|
|
11
|
5
|
7,5
|
|
|
|
11
|
13
|
6
|
6
|
25
|
24,8
|
|
|
22
|
|
200´100
|
108´5
|
108
|
99
|
+0,35
|
4,0
|
420
|
220
|
14
|
|
24,9
|
|
|
23
|
|
200´125
|
|
133´6
|
|
133
|
|
124
|
+0,40
|
|
6
|
|
14
|
19
|
7
|
7
|
|
15
|
25,5
|
|
|
24
|
|
200´150
|
|
159´6
|
|
159
|
|
150
|
|
|
|
|
|
12
|
14
|
6
|
3
|
|
25,1
|
|
|
25
|
|
200´50
|
220´7
|
57´3
|
220
|
57
|
209
|
|
52
|
+0,30
|
7
|
3
|
5,0
|
2,5
|
|
|
5
|
16
|
2
|
2
|
15
|
10
|
15,9
|
|
|
26
|
|
200´65
|
76´4,5
|
76
|
|
68
|
4,5
|
3,5
|
|
|
8
|
11
|
4
|
4
|
16,3
|
|
|
27
|
|
200´80
|
|
89´5
|
|
89
|
|
|
80
|
+0,30
|
|
5
|
|
4,0
|
|
|
11
|
13
|
6
|
6
|
|
10
|
16,6
|
|
|
28
|
|
200´100
|
220´7
|
108´5
|
220
|
108
|
209
|
|
99
|
+0,35
|
7
|
5,0
|
420
|
220
|
14
|
15
|
16,9
|
|
|
29
|
|
200´125
|
133´6
|
133
|
|
124
|
+0,40
|
6
|
14
|
19
|
7
|
7
|
15
|
17,6
|
|
|
30
|
|
200´150
|
|
159´6
|
|
159
|
|
|
150
|
|
|
|
|
12
|
14
|
6
|
3
|
|
17,3
|
|
|
31
|
|
250´50
|
|
57´3
|
|
57
|
|
|
52
|
|
|
3
|
|
2,5
|
|
|
5
|
6
|
2
|
2
|
|
10
|
34,6
|
|
|
32
|
2,5 (25)
|
250´65
|
|
76´4,5
|
|
76
|
|
+0,46
|
68
|
+0,30
|
|
4,5
|
|
3,5
|
|
|
8
|
10
|
4
|
4
|
|
34,9
|
|
|
33
|
250´80
|
|
89´5
|
|
89
|
|
80
|
|
|
5
|
|
4,0
|
|
|
11
|
11
|
6
|
6
|
|
35,4
|
|
|
34
|
|
250´100
|
273´11
|
108´5
|
273
|
108
|
255
|
|
99
|
+0,35
|
11
|
6,5
|
480
|
250
|
25
|
35,5
|
|
|
35
|
|
250´125
|
133´6
|
133
|
|
124
|
+0,40
|
6
|
14
|
13
|
7
|
7
|
15
|
36,0
|
|
|
36
|
|
250´150
|
|
159´6
|
|
159
|
|
|
150
|
|
|
|
|
15
|
|
36,2
|
|
|
37
|
|
250´200
|
|
219´11
|
|
219
|
|
|
200
|
+0,46
|
|
11
|
|
7,5
|
|
|
18
|
18
|
9
|
5
|
|
25
|
39,2
|
|
|
38
|
|
|
220´7
|
|
220
|
|
|
209
|
|
7
|
|
5,0
|
|
|
13
|
24
|
6
|
3
|
|
15
|
36,1
|
|
|
39
|
|
300´65
|
|
76´4,5
|
|
76
|
|
|
68
|
+0,30
|
|
4,5
|
|
3,5
|
|
280
|
8
|
10
|
4
|
4
|
|
10
|
49,2
|
|
|
40
|
|
300´80
|
|
89´5
|
|
89
|
|
|
80
|
|
5
|
|
4,0
|
|
11
|
12
|
5
|
5
|
|
49,6
|
|
|
41
|
|
300´100
|
|
108´5
|
|
108
|
|
|
99
|
+0,35
|
|
|
|
13
|
|
49,7
|
|
|
42
|
|
300´125
|
325´12
|
133´6
|
325
|
133
|
305
|
+0,52
|
124
|
+0,40
|
12
|
6
|
7,0
|
520
|
14
|
18
|
7
|
7
|
20
|
15
|
50,2
|
|
|
43
|
2,5 (25)
|
300´150
|
159´6
|
159
|
150
|
16
|
50,4
|
|
|
44
|
300´200
|
|
219´11
|
|
219
|
|
|
200
|
+0,46
|
|
11
|
|
7,5
|
|
|
20
|
26
|
10
|
10
|
|
25
|
55,5
|
|
|
45
|
|
|
220´7
|
|
220
|
|
|
209
|
|
7
|
|
5,0
|
|
300
|
15
|
18
|
7
|
7
|
|
15
|
52,0
|
|
|
46
|
|
300´250
|
|
273´11
|
|
273
|
|
|
255
|
+0,52
|
|
11
|
|
6,5
|
|
|
18
|
27
|
9
|
5
|
|
25
|
55,7
|
|
|
47
|
|
350´200
|
|
219´11
|
|
219
|
|
|
200
|
+0,46
|
8
|
|
7,5
|
|
|
15
|
19
|
7
|
7
|
|
38,0
|
|
|
48
|
|
350´250
|
377´6
|
273´11
|
377
|
273
|
367
|
+0,57
|
255
|
+0,52
|
4,5
|
6,5
|
550
|
330
|
18
|
9
|
5
|
15
|
48,8
|
|
|
49
|
1,6 (16)
|
350´300
|
|
325´12
|
|
325
|
|
|
305
|
12
|
|
7,0
|
|
|
19
|
31
|
|
52,1
|
|
|
50
|
2,5 (25)
|
400´200
|
426´8
|
219´11
|
426
|
219
|
412
|
+0,63
|
200
|
+0,46
|
11
|
5,5
|
7,5
|
600
|
350
|
15
|
17
|
7
|
7
|
20
|
56,9
|
|
|
51*
|
400´250
|
273´11
|
273
|
255
|
+0,52
|
6,5
|
20
|
28
|
10
|
10
|
59,6
|
|
|
52
|
16 (16)
|
400´300
|
426´8
|
325´12
|
426
|
325
|
412
|
+0,63
|
305
|
+0,52
|
|
12
|
5,5
|
7,0
|
600
|
350
|
19
|
23
|
9
|
5
|
|
25
|
61,4
|
|
|
53
|
1,0 (10)
|
400´350
|
377´6
|
377
|
367
|
+0,57
|
|
6
|
4,5
|
12
|
21
|
6
|
3
|
|
15
|
52,6
|
|
|
54
|
1,6 (16)
|
500´250
|
|
273´11
|
|
273
|
|
|
255
|
+0,52
|
|
11
|
|
6,5
|
|
|
20
|
10
|
10
|
|
25
|
81,2
|
|
|
55
|
500´300
|
530´8
|
325´12
|
530
|
325
|
516
|
|
305
|
|
12
|
|
7,0
|
700
|
400
|
21
|
35
|
|
85,2
|
|
|
56
|
1,0 (10)
|
500´350
|
377´6
|
377
|
|
367
|
+0,57
|
8
|
6
|
|
4,5
|
14
|
18
|
7
|
7
|
|
15
|
77,5
|
|
|
57
|
500´400
|
|
426´8
|
|
426
|
|
|
412
|
+0,63
|
8
|
6,5
|
5,5
|
|
|
20
|
4
|
20
|
20
|
78,9
|
|
|
58
|
1,6
(16)
|
600´300
|
|
325´12
|
|
325
|
|
|
305
|
+0,52
|
|
12
|
7,0
|
|
|
21
|
23
|
10
|
10
|
|
25
|
104,8
|
|
|
59
|
1,0
(10)
|
600´350
|
630´8
|
377´6
|
|
377
|
616
|
+0,70
|
367
|
+0,57
|
|
6
|
|
4,5
|
750
|
|
14
|
19
|
7
|
7
|
|
15
|
97,2
|
|
|
60
|
600´400
|
426´8
|
|
426
|
|
412
|
+0,63
|
|
8
|
|
5,5
|
|
|
16
|
20
|
8
|
8
|
|
20
|
101,4
|
|
|
61
|
0,6 (6)
|
600´500
|
|
530´8
|
630
|
530
|
|
|
516
|
+0,70
|
|
|
6,5
|
850
|
450
|
14
|
22
|
7
|
4
|
|
111,4
|
|
|
62
|
2,5 (25)
|
600´250
|
|
273´11
|
|
273
|
|
|
255
|
+0,52
|
|
11
|
|
|
|
20
|
28
|
10
|
10
|
|
25
|
145,6
|
|
|
63*
|
600´300
|
630´12
|
325´12
|
|
325
|
608
|
|
305
|
12
|
12
|
9,5
|
7,0
|
750
|
|
21
|
25
|
25
|
147,9
|
|
|
64
|
1,6
(16)
|
600´350
|
|
377´6
|
|
377
|
|
|
367
|
+0,57
|
|
6
|
|
4,5
|
|
|
14
|
19
|
7
|
7
|
|
15
|
139,2
|
|
|
65
|
1,6
(16)
|
600´400
|
630´12
|
426´8
|
630
|
426
|
603
|
+0,70
|
412
|
+0,63
|
12
|
8
|
9,5
|
5,5
|
750
|
450
|
16
|
20
|
8
|
8
|
25
|
20
|
142,2
|
|
|
66
|
1,0
(10)
|
600´500
|
530´8
|
530
|
516
|
+0,70
|
6,5
|
850
|
14
|
22
|
7
|
4
|
155,3
|
|
|
67
|
1,6
(16)
|
700´300
|
720´10
|
325´12
|
720
|
325
|
|
|
305
|
+0,52
|
10
|
12
|
8,0
|
7,0
|
500
|
21
|
29
|
10
|
10
|
20
|
25
|
161,1
|
|
|
68
|
1,0
(10)
|
700´350
|
377´6
|
377
|
|
|
367
|
+0,57
|
6
|
4,5
|
14
|
17
|
7
|
7
|
15
|
152,6
|
|
|
69
|
700´400
|
426´8
|
426
|
703
|
+0,80
|
412
|
+0,63
|
8
|
5,5
|
16
|
21
|
8
|
8
|
20
|
156,2
|
|
|
70
|
700´500
|
530´8
|
530
|
516
|
+0,70
|
8,5
|
14
|
17
|
7
|
4
|
152,5
|
|
|
71
|
0,6 (6)
|
700´600
|
630´8
|
630
|
|
|
616
|
950
|
25
|
168,5
|
|
|
72
|
1,0 (10)
|
630´12
|
|
|
608
|
12
|
5,5
|
19
|
33
|
9
|
5
|
25
|
183,4
|
|
|
73
|
800´400
|
820´10
|
426´8
|
820
|
426
|
803
|
+0,90
|
412
|
+0,63
|
8
|
5,5
|
900
|
550
|
16
|
20
|
8
|
8
|
20
|
186,8
|
|
|
74
|
800´500
|
530´8
|
530
|
516
|
+0,70
|
6,5
|
24
|
187,2
|
|
|
75
|
0,6
(6)
|
800´600
|
630´8
|
630
|
616
|
1000
|
570
|
14
|
19
|
7
|
4
|
223,7
|
|
|
76
|
1,0
(10)
|
630´12
|
608
|
12
|
9,5
|
19
|
24
|
9
|
5
|
25
|
239,1
|
|
|
77
|
0,6 (6)
|
800´700
|
720´10
|
720
|
703
|
+0,80
|
10
|
8,0
|
15
|
30
|
8
|
4
|
20
|
231,2
|
|
|
78
|
1,0
(10)
|
900´400
|
|
426´8
|
|
426
|
|
|
412
|
+0,63
|
|
8
|
|
5,5
|
1100
|
600
|
16
|
22
|
8
|
8
|
|
20
|
231,4
|
|
|
79
|
0,6
(6)
|
900´500
|
|
530´8
|
|
530
|
|
|
516
|
+0,70
|
|
|
6,5
|
21
|
|
231,5
|
|
|
80
|
900´600
|
920´10
|
630´8
|
920
|
630
|
903
|
+0,90
|
616
|
|
7,0
|
|
24
|
|
276,3
|
|
|
81
|
1,0
(10)
|
630´12
|
608
|
|
12
|
9,5
|
1200
|
21
|
33
|
10
|
10
|
|
25
|
289,5
|
|
|
82
|
0,6
(6)
|
900´700
|
|
720´10
|
|
720
|
|
|
703
|
+0,80
|
|
10
|
|
8,0
|
620
|
16
|
23
|
8
|
4
|
|
20
|
280,5
|
|
|
83
|
900´800
|
|
820´10
|
|
820
|
|
|
803
|
+0,90
|
10
|
|
|
31
|
20
|
280,6
|
|
|
84
|
1000´500
|
|
530´8
|
|
530
|
|
|
516
|
+0,70
|
8
|
|
6,5
|
|
|
20
|
8
|
280,8
|
|
|
85
|
1000´600
|
|
630´8
|
|
630
|
|
|
616
|
|
|
1100
|
650
|
23
|
|
280,5
|
|
|
86
|
1020´10
|
630´12
|
1020
|
1003
|
+1,00
|
608
|
|
12
|
7,5
|
9,5
|
|
|
21
|
29
|
10
|
10
|
|
25
|
293,2
|
|
|
87
|
1000´700
|
720´10
|
720
|
703
|
+0,80
|
|
10
|
8,0
|
|
|
18
|
30
|
9
|
9
|
|
20
|
343,0
|
|
|
88
|
1000´800
|
|
820´10
|
|
820
|
|
|
803
|
+0,90
|
|
|
1300
|
680
|
16
|
23
|
8
|
4
|
|
336,0
|
|
|
89
|
1000´900
|
|
920´10
|
|
920
|
|
|
903
|
|
|
7,0
|
|
|
33
|
|
335,4
|
|
|
90
|
|
1200´600
|
|
630´8
|
|
630
|
|
|
616
|
+0,70
|
|
8
|
|
6,5
|
|
|
16
|
20
|
8
|
8
|
|
20
|
366,1
|
|
|
91
|
0,6
(6)
|
|
630´12
|
|
|
|
608
|
|
12
|
|
9,5
|
1200
|
770
|
21
|
25
|
10
|
10
|
|
25
|
379,4
|
|
|
92
|
1200´700
|
1220´10
|
720´10
|
1220
|
720
|
1203
|
+1,00
|
703
|
+0,80
|
10
|
10
|
8,0
|
8,0
|
|
18
|
26
|
9
|
9
|
20
|
20
|
373,8
|
|
|
93
|
|
1200´800
|
820´10
|
820
|
803
|
+0,90
|
|
|
29
|
380,4
|
|
|
94
|
0,4
(4)
|
1200´900
|
|
920´10
|
|
920
|
|
|
903
|
|
|
7,0
|
1400
|
800
|
16
|
21
|
8
|
4
|
|
431,1
|
|
|
95
|
1200´1000
|
|
1020´10
|
|
1020
|
|
|
1003
|
+1,00
|
|
|
7,5
|
|
26
|
|
430,6
|
|
* При изготовлении
штуцера тройника
из трубы по ГОСТ
9940 (ГОСТ
9941) параметры применения принимать не более:
Рраб = 2,0 МПа (20 кгс/см2) при Т = 300 °С.
Пример условного обозначения тройника
переходного диаметром 920 мм, толщиной стенки 10
мм и диаметром 630 мм, толщиной стенки 12 мм на условное давление Ру 1,0 МПа для трубопроводов группы в, на которые
распространяются «Правила АЭУ», с контролем сварных швов по ПНАЭГ-7-010 для IIIс
категории сварного соединения:
Тройник переходный В 920´10-630´12-1,0-IIIс 81 ОСт 34-10-511-90,
то же, для
трубопроводов, на которые распространяются
«Правила пара
и горячей воды»:
Тройник переходный П 920´10-630´12-1,0-IIIс 81 ОСТ 34-10-511-90,
то те, для трубопроводов, на которые распространяются СНиП
3.05.05:
Тройник переходный 920´10-630´12-1,0-IIIc 81 ОСТ 34-10-511-90.
Таблица 3
|
Обозначение тройника
|
Поз. 1
Корпус
|
Поз. 2
штуцер
|
Поз. 3
Кольцо подкладное
|
|
количество
|
|
1
|
|
Размеры, мм
|
Материал по ОСТ 34-10-416
|
Масса, кг
|
Обозначение
|
Обозначение по настоящему стандарту
|
|
Наружный диаметр и толщина стенки
|
L
|
Марка
стали
|
Раздел
|
|
01
|
57´3
|
240
|
08X18Н10Т или 12X18Н10Т
|
1
|
0,95
|
2-01 ОСТ
34-10-510
|
-
|
|
02
|
0,94
|
2-02
|
|
03
|
76´4,5
|
1,90
|
2-04
|
|
04
|
260
|
2,00
|
2-05
|
|
05
|
89´5
|
2,62
|
2-07
|
|
06
|
290
|
2,86
|
2-08
|
|
07
|
108´5
|
3,62
|
2-10
|
|
08
|
3,56
|
2-11
|
|
09
|
3,48
|
2-12
|
|
10
|
133´6
|
5,38
|
2-14
|
|
11
|
5,30
|
2-15
|
|
12
|
520
|
5,80
|
2-16
|
3-01
|
|
13
|
5,64
|
2-17
|
-
|
|
14
|
159´6
|
360
|
8,10
|
2-19
|
|
15
|
8,02
|
2-20
|
|
16
|
7,96
|
2-21
|
3-01
|
|
17
|
159´6
|
360
|
08Х18Н10Т
или 12Х18Н10Т
|
1
|
7,82
|
2-22 ОСТ
34-10-510
|
3-04
|
|
18
|
7,57
|
2-23
|
-
|
|
19
|
219´11
|
420
|
23,67
|
2-25
|
|
20
|
23,54
|
2-26
|
|
21
|
23,42
|
2-27
|
3-02
|
|
22
|
23,17
|
2-28
|
3-05
|
|
23
|
22,80
|
2-29
|
3-07
|
|
24
|
22,24
|
2-30
|
-
|
|
25
|
220´7
|
15,43
|
2-25
|
|
26
|
15,34
|
2-26
|
|
27
|
15,26
|
2-27
|
3-02
|
|
28
|
15,11
|
2-28
|
3-05
|
|
29
|
14,87
|
2-29
|
3-07
|
|
30
|
14,51
|
2-30
|
-
|
|
31
|
273´11
|
480
|
34,14
|
2-33
|
|
32
|
34,00
|
2-34
|
|
33
|
273´11
|
480
|
08Х18Н10Т или 12X18Н10Т
|
1
|
33,90
|
2-35 ОСТ
34-10-510
|
3-02
|
|
34
|
33,65
|
2-36
|
3-05
|
|
35
|
33,29
|
2-37
|
3-08
|
|
36
|
32,76
|
2-38
|
3-11
|
|
37
|
31,34
|
2-39
|
-
|
|
38
|
31,00
|
2-40
|
|
39
|
325´12
|
520
|
48,13
|
2-42
|
|
40
|
48,00
|
2-43
|
3-02
|
|
41
|
47,74
|
2-44
|
3-05
|
|
42
|
47,34
|
2-45
|
3-09
|
|
43
|
46,80
|
2-46
|
3-12
|
|
44
|
45,39
|
2-47
|
3-15
|
|
45
|
45,07
|
2-48
|
3-16
|
|
46
|
43,10
|
2-49
|
-
|
|
47
|
377´8
|
550
|
08X18Н10Т или 12Х18Н10Т
|
|
36,62
|
2-118
ОСТ
34-10-510
|
3-17
|
|
48
|
2-55
|
-
|
|
49
|
30,76
|
2-56
|
|
50
|
426´8
|
600
|
47,62
|
2-60
|
3-19
|
|
51
|
46,50
|
2-61
|
3-25
|
|
52
|
44,75
|
2-62
|
-
|
|
53
|
41,85
|
2-63
|
|
54
|
530´8
|
100
|
69,32
|
2-69
|
3-26
|
|
55
|
67,80
|
2-70
|
3-29
|
|
55
|
65,25
|
2-71
|
3-33
|
|
57
|
63,00
|
2-72
|
-
|
|
58
|
630´8
|
750
|
87,98
|
2-77
|
3-30
|
|
59
|
85,60
|
2-78
|
3-34
|
|
60
|
83,60
|
2-79
|
3-39
|
|
61
|
850
|
89,60
|
2-80
|
-
|
|
62
|
630´12
|
750
|
133,25
|
2-76
|
3-27
|
|
63
|
630´12
|
750
|
08X18Н10Т или 12Х18Н10Т
|
2
|
131,07
|
2-77 ОСТ
34-10-510
|
3-30
|
|
64
|
127,60
|
2-78
|
3-34
|
|
65
|
124,36
|
2-79
|
3-39
|
|
66
|
850
|
133,50
|
2-80
|
-
|
|
67
|
720´10
|
144,02
|
2-83
|
3-30
|
|
68
|
141,14
|
2-84
|
3-35
|
|
69
|
138,80
|
2-85
|
3-40
|
|
70
|
131,53
|
2-86
|
-
|
|
71
|
950
|
139,50
|
2-87
|
|
72
|
140,22
|
2-88
|
|
73
|
820´10
|
900
|
170,00
|
2-91
|
3-41
|
|
74
|
163,30
|
2-92
|
3-44
|
|
75
|
1100
|
194,60
|
2-93
|
-
|
|
76
|
195,30
|
2-94
|
|
77
|
184,85
|
2-95
|
|
78
|
920´10
|
100
|
08Х18Н10Т или
12Х18Н10Т
|
2
|
215,10
|
2-97 ОСТ
34-10-510
|
3-42
|
|
79
|
208,64
|
2-98
|
3-45
|
|
80
|
1200
|
245,50
|
2-99
|
3-48
|
|
81
|
246,20
|
2-100
|
3-49
|
|
82
|
236,34
|
2-101
|
-
|
|
83
|
223,00
|
2-102
|
|
84
|
1020´10
|
1100
|
258,66
|
2-104
|
3-46
|
|
85
|
250,90
|
2-105
|
3-50
|
|
86
|
251,55
|
2-106
|
3-51
|
|
87
|
1300
|
292,68
|
2-107
|
3-54
|
|
88
|
280,14
|
2-108
|
-
|
|
89
|
264,00
|
2-109
|
|
90
|
1220´10
|
1200
|
336,00
|
2-111
|
3-52
|
|
91
|
336,60
|
2-112
|
3-53
|
|
92
|
1220´10
|
1200
|
08Х18Н10Т
или
12X18Н10Т
|
2
|
328,34
|
2-113 ОСТ
34-10-510
|
3-55
|
|
93
|
317,00
|
2-114
|
3-56
|
|
94
|
1400
|
363,50
|
2-115
|
-
|
|
95
|
347,70
|
2-116
|
3. Конструкция и размеры
колец подкладных должны соответствовать указанным на черт.
2 и в табл. 4

Развертка

Черт. 2
Таблица 4
Размеры в мм
|
Обозначение
кольца
|
Проход условный
|
Dк
|
Шаблон для разметки
|
Масса, кг
|
|
штуцера
|
корпуса
|
с
|
У2 = У8
|
У3 = У7
|
У4
= У6
|
У5
|
|
3-01
|
80
|
125
- 150
|
79
|
236
|
32
|
35
|
40
|
42
|
0,27
|
|
3-02
|
200 - 400
|
31
|
32
|
34
|
35
|
0,24
|
|
3-03
|
500
- 1200
|
30
|
31
|
32
|
32
|
0,23
|
|
3-04
|
100
|
150
|
98
|
295
|
32
|
31
|
44
|
48
|
0,36
|
|
3-05
|
200 - 350
|
34
|
37
|
39
|
0,31
|
|
3-06
|
400
- 1200
|
31
|
32
|
33
|
34
|
0,29
|
|
3-07
|
125
|
200
|
121
|
368
|
33
|
38
|
45
|
48
|
0,45
|
|
3-08
|
250
|
32
|
37
|
42
|
44
|
0,43
|
|
3-09
|
300
- 500
|
31
|
34
|
38
|
40
|
0,40
|
|
3-10
|
600 - 1200
|
32
|
33
|
34
|
0,37
|
|
3-11
|
150
|
250
|
147
|
449
|
33
|
40
|
48
|
51
|
0,56
|
|
3-12
|
300
- 350
|
32
|
38
|
44
|
46
|
0,54
|
|
3-13
|
400 - 600
|
31
|
35
|
39
|
41
|
0,49
|
|
3-14
|
700
- 1200
|
33
|
35
|
36
|
0,46
|
|
3-15
|
200
|
300
|
197
|
606
|
34
|
46
|
58
|
63
|
0,88
|
|
3-16
|
206
|
635
|
47
|
61
|
67
|
0,96
|
|
3-17
|
350
|
191
|
606
|
43
|
54
|
58
|
0,84
|
|
3-18
|
206
|
635
|
45
|
56
|
61
|
0,90
|
|
3-19
|
400 - 500
|
191
|
606
|
33
|
40
|
48
|
52
|
0,76
|
|
3-20
|
206
|
635
|
41
|
50
|
54
|
0,84
|
|
3-21
|
200
|
600 - 800
|
197
|
606
|
32
|
36
|
42
|
44
|
0,70
|
|
3-22
|
206
|
635
|
37
|
43
|
45
|
0,73
|
|
3-23
|
900
- 1000
|
197
|
606
|
31
|
34
|
38
|
40
|
0,66
|
|
3-24
|
206
|
635
|
35
|
39
|
0,70
|
|
3-25
|
250
|
400
|
251
|
776
|
35
|
49
|
64
|
71
|
1,22
|
|
3-26
|
500
|
34
|
45
|
57
|
62
|
1,12
|
|
3-27
|
600 - 800
|
33
|
40
|
49
|
53
|
1,00
|
|
3-28
|
900 - 1200
|
32
|
37
|
43
|
45
|
0,90
|
|
3-29
|
300
|
500
|
301
|
933
|
36
|
52
|
69
|
77
|
1,55
|
|
3-30
|
600
-
700
|
35
|
47
|
60
|
65
|
1,38
|
|
3-31
|
300
|
800
-
900
|
301
|
933
|
34
|
43
|
53
|
58
|
1,29
|
|
3-32
|
1000 - 1200
|
33
|
40
|
48
|
51
|
1,17
|
|
3-33
|
350
|
500
|
365
|
1134
|
39
|
63
|
91
|
103
|
2,35
|
|
3-34
|
600
|
38
|
58
|
79
|
88
|
2,10
|
|
3-35
|
700
|
37
|
54
|
72
|
80
|
2,00
|
|
3-36
|
800
|
36
|
51
|
66
|
73
|
1,81
|
|
3-37
|
900
- 1000
|
35
|
47
|
60
|
66
|
1,71
|
|
3-38
|
1200
|
34
|
44
|
54
|
58
|
1,56
|
|
3-39
|
400
|
600
|
410
|
1275
|
40
|
65
|
93
|
106
|
2,12
|
|
3-40
|
700
|
39
|
61
|
84
|
94
|
2,50
|
|
3-41
|
400
|
800
|
410
|
1275
|
38
|
57
|
76
|
85
|
2,30
|
|
3-42
|
900
-
1000
|
36
|
52
|
68
|
75
|
2,10
|
|
3-43
|
1200
|
35
|
47
|
60
|
66
|
1,92
|
|
3-44
|
500
|
800
|
514
|
1602
|
42
|
72
|
105
|
121
|
3,80
|
|
3-45
|
900
|
41
|
67
|
95
|
109
|
3,50
|
|
3-46
|
1000
|
40
|
63
|
88
|
100
|
3,25
|
|
3-47
|
1200
|
38
|
58
|
78
|
87
|
2,90
|
|
3-48
|
600
|
900
|
614
|
1916
|
46
|
85
|
128
|
147
|
5,30
|
|
3-49
|
606
|
1891
|
45
|
83
|
125
|
144
|
5,13
|
|
3-50
|
600
|
1000
|
614
|
1916
|
44
|
79
|
116
|
133
|
4,92
|
|
3-51
|
606
|
1891
|
43
|
77
|
114
|
130
|
4,72
|
|
3-52
|
1200
|
614
|
1916
|
42
|
70
|
100
|
113
|
4,26
|
|
3-53
|
606
|
1891
|
69
|
98
|
111
|
4,13
|
|
3-54
|
700
|
1000
|
700
|
2186
|
48
|
94
|
145
|
169
|
6,90
|
|
3-55
|
1200
|
45
|
82
|
122
|
140
|
5,86
|
|
3-56
|
800
|
800
|
2501
|
50
|
100
|
155
|
180
|
8,29
|
Пример
условного обозначения подкладного кольца:
Кольцо 3-55 ОСТ 34-10-511-90,
5. Материал:
корпуса (дет. 1) - см. табл. 3,
штуцера (дет.
2) - см. табл. 4 ОСТ
34-10-510,
подкладного кольца (дет. 3) лист S = 4 мм по ГОСТ
7350 (с обязательным выполнением УЗК по п. 3.10б) из
стали марок 08X18Н10Т или 12Х18Н10Т по ГОСТ
5632.
6. Отверстие в корпусе (дет. 1) разметить по штуцеру (дет. 2).
7. Обработку кромок
и внутренние расточки Dр и Dр1 допускается
производить
по усмотрению завода-изготовителя, до сварки штуцера с корпусом.
8. После приварки штуцера к корпусу на подкладном кольце, последнее удалить,
корень шва зачистить.
9. Допускается приварку
штуцеров к корпусу производить без подкладного кольца при условии обеспечения:
- для Dн1 £ 220 мм - сквозного
проплавления,
- для Dн1 ³ 325 мм - подварки корня шва.
10. С целью обеспечения допускаемого смещения кромок при S и S1 £ 5 мм выполнить калибровку
или раздачу концов деталей.
11. Методы и объем контроля
сварного соединения штуцера с корпусом тройников - в соответствии с ОСТ
34-10-440.
12. Сварные
стыковые соединения по ОСТ
34-10-417.
13. При сварке штуцера с корпусом без подкладного
кольца до выполнения подварки корень шва удалить.
14. Расположение продольных сварных швов на штуцере и
корпусе тройника устанавливается заводом-изготовителем, при этом
расстояние между продольным сварным швом
корпуса и сварным швом «корпус-штуцер» должно быть
не менее 100
мм.
15. При контроле углового шва измерительная база штуцера должна быть видимой на расстоянии не
более 5 мм от
края сварного шва.
16. Места сопряжений кольцевых и продольных сварных швов
и их участки
длиной не менее 100 мм от точки сопряжения контролировать радиографической, дефектоскопией в объеме 100 %.
17. Неуказанные предельные отклонения размеров ± .
18. Остальные технические требования по ОСТ
34-10-440.
|