Информационная система
«Ёшкин Кот»

XXXecatmenu

Министерство станкостроительной и инструментальной
промышленности

Государственный проектный и научно-исследовательский
институт промышленности по производству продукции
общемашиностроительного применения
ипроНИИмаш)

Согласованы
с Госстроем СССР и Г
КНТ
11 сентября 1985 г.

 

Утверждены
Минстанкопромом
12 ноября 1985 г.

 

ОБЩЕСОЮЗНЫЕ НОРМЫ
технологического проектирования
производств по получению
изделий из металлических
порошков на основе железа и
меди

ОНТП 10-85

 

 

Всесоюзный научно-исследовательский институт
информации и технико-экономических исследований
по машиностроению и робототехнике (ВНИИТЭМР)

Москва 1986

 

ОБЩЕСОЮЗНЫЕ НОРМЫ ТЕХНОЛОГИЧЕСКОГО ПРОЕКТИРОВАНИЯ ПРОИЗВОДСТВ ПО ПОЛУЧЕНИЮ ИЗДЕЛИЙ ИЗ МЕТАЛЛИЧЕСКИХ ПОРОШКОВ НА ОСНОВЕ ЖЕЛЕЗА И МЕДИ

РАЗРАБОТАНЫ    ГипроНИИмашем Минстанкопрома (Э.И. Савранский - руководитель; С.И. Чеснова; Н.М. Рабинович), ИПМ АН УССР (В.Н. Клименко, к.т.н. - руководитель; В.С. Пугин, к.т.н.; В.А. Кутняк; Э.Я. Попиченко, к.т.н.; О.Д. Нейков, к.т.н.; Г.И. Васильева, к.т.н.), Гипроавтопромом Минавтопрома (В.Ф. Марунчак - руководитель; В.Я. Гольдин; Е.Н. Григорьева), Казахский сантехпроект Госстроя СССР (Я.И. Зильберберг, к.т.н. - руководитель; Ф.Б. Усманов; Г.Д. Кузьмина; Е.Д. Нестеров; В.Д. Попова) с участием других организаций.

ВНЕСЕНЫ              ГипроНИИмашем

ПОДГОТОВЛЕНЫ к утверждению Управлением по координации производства продукции общемашиностроительного применения (В.Г. Шумов).

С введением в действие настоящих ОНТП-10-85 утрачивают силу разработанные ранее внутриведомственные (отраслевые) нормы технологического проектирования.

Министерство станкостроительной и инструментальной промышленности (Минстанкопром)

Общесоюзные нормы технологического проектирования производств по получению изделий из металлических порошков на основе железа и меди

ОНТП-10-85

Минстанкопром

Общие положения

Настоящие нормы предназначены для использования при проектировании технологической части проектов строительства, расширения, реконструкции и технического перевооружения цехов (участков) по изготовлению изделий на основе порошков железа и меди для отраслей машиностроения, металлообработки и приборостроения.

Нормативные данные для технологического проектирования цехов (участков) изготовления порошков и гранул, являющихся исходными материалами для производства деталей, в состав настоящих норм не входят.

В основу разработки общесоюзных норм положены:

1. Инструкция о порядке разработки новых и пересмотра действующих норм технологического проектирования СН 470-75* [1], утвержденная ГК Совета Министров СССР по делам строительства от 14.03.75 г. № 33.

2. Система нормативных документов в строительстве СНиП 1.01.01-82*, 1.01.02-83, 1.01.03-83 [2].

3. Данные обследования передовых действующих предприятий по производству порошковых изделий, а также данные проектов, выполненных в последние годы.

Внесены

Утверждены

Срок введения в действие

Протокол № ____ от ________

Технологическое проектирование подразделений по механообработке, ремонту технологического оборудования, электро- и сантехнического оборудования, изготовления инструмента и технологической оснастки, средств автоматизации и механизации, специального и нестандартизированного оборудования осуществляется по соответствующим действующим нормам технологического проектирования.

В основу разработки норм положены технические направления, учитывающие перспективу развития порошковой металлургии, оптимальные мощности по производству изделий методом порошковой металлургии с применением передовой технологии, прогрессивных технологических процессов, новейшего высокопроизводительного оборудования, эффективных средств механизации и автоматизации производственных процессов, прогрессивных форм организации производства, научной организации труда.

Нормы увязаны с требованиями общесоюзных нормативных документов и инструкций по проектированию и строительству, санитарных и противопожарных норм, правилами техники безопасности и нормами по охране окружающей среды, государственными стандартами и системой стандартов безопасности труда (ССБТ).

1. Характеристика производств порошковых изделий. Классификация производств. Оптимальная мощность

1.1. Производство изделий из металлических порошков должно проектироваться с учетом их основных характеристик и серийности.

1.1.1. Основными характеристиками порошковых изделий являются их назначение, материал основного компонента, масса и форма.

Изделия подразделяются:

по назначению - на конструкционные, антифрикционные, магнитные, фильтровые и электротехнические;

по массе - особо мелкие (до 0,010 кг);

мелкие (от 0,01 до 0,1 кг);

средние (от 0,1 до 0,5 кг);

крупные (свыше 0,5 кг);

по форме - в соответствии с классификацией «Прейскуранта № 25-02. Оптовые цены» [3].

1.1.2. Классификация производств по изготовлению порошковых изделий произведена в соответствии с требованиями ГОСТ 14.004-83 [4] с учетом опыта работы промышленных предприятий в зависимости от широты номенклатуры и объемов выпуска изделий и представлена в таблице 1.

Таблица 1

Характер производства

Количество деталей одного типоразмера, тыс. шт.

Число типоразмеров деталей, закрепленных за единицей формообразующего оборудования

1

2

3

Массовое и крупносерийное

Св. 100

До 13

Среднесерийное

20 - 100

13 - 38

Мелкосерийное

До 20

Св. 38

Примечание. Минимальные значения количества деталей, закрепленных за единицей формообразующего оборудования, относятся к прессам с производительностью до 5 шт./мин, максимальное значение - для прессов с производительностью свыше 16 шт./мин.

1.2. Оптимальная мощность производств порошковых изделий, при которых создаются самостоятельные (универсальные) производственные подразделения, приведены в таблице 2.

Таблица 2

№ п/п

Наименование производства

Средняя масса изделий, кг

Максимальная масса изделий, кг

Серийность производства

Оптимальная мощность производства, тыс. т

максимально допустимая

максимально эффективная

1

2

3

4

5

6

7

1

Участки

До 0,04

До 0,25

Серийное и мелкосерийное

0,6

1,2

 

 

До 0,1

До 1,0

-"-

0,7

1,8

 

 

Св. 0,1

До 2,5

-"-

0,9

1,5

 

 

До 0,04

До 0,25

Крупносерийное и массовое

0,5

1,0

 

 

До 0,1

До 1,0

-"-

0,6

1,2

 

 

Св. 0,1

До 2,5

-"-

0,8

1,4

2

Цехи

До 0,1

До 1,0

Серийное и мелкосерийное

2,0

3,0

 

 

Св. 0,1

До 2,5

-"-

3,0

5,0

 

 

До 0,1

До 1,0

Крупносерийное и массовое

1,0

2,0

 

 

Св. 0,1

До 2,5

-"-

2,5

4,0

3

Централизованные заводы

До 0,25

До 2,5

Все виды производств

5,0

10,0

4

Первая очередь завода

До 0,25

До 2,5

-"-

3,0

5,0

В таблице 2 приводятся наиболее характерные и часто встречающиеся виды производств порошковых изделий.

Мощности, меньше значений, указанных в таблице 2, могут быть приняты при соответствующем обосновании, исходя из расчета по коэффициенту оптимальной мощности (Ком), который должен быть равным или больше 1,6.

Ком = Кисп×Кмсо ≥ 1,6,                                                (1)

где Ком - коэффициент оптимальной мощности , характеризующий многостаночное обслуживание по всему циклу технологического процесса с учетом использования оборудования;

Кисп - средний коэффициент использования оборудования по всему технологическому циклу;

Кмсо - средний коэффициент многостаночного обслуживания оборудования по всему технологическому циклу .

                                             (2)

где К1, К2, ..., Кm - коэффициент использования каждой группы технологического оборудования (без подъемно-транспортного и промышленных роботов) по всему циклу технологического процесса;

n1, n2, ..., nm - количество единиц оборудования, входящее в одну группу.

                                                            (3)

где Р - расчетная годовая загрузка оборудования на программу по группам всего технологического оборудования (без подъемно-транспортного и промышленных роботов) по всему циклу технологического процесса, ч;

Т - трудоемкость годовой программы определится через Р и плотность бригад - обратную величину многостаночного обслуживания, чел.-ч;

Некоторые технико-экономические показатели оптимальных производств приведены в приложении 7 табл. 48.

2. Расчет количества оборудования. Уровень использования основного технологического оборудования. Годовой фонд времени основного технологического оборудования

2.1. Расчетное количество оборудования определяется по формуле

                                                  (4)

где Нр - расчетное количество оборудования, ед.;

М - годовая программа, кг или шт.;

n - расчетная производительность оборудования с учетом применяемого технологического процесса и конкретной номенклатуры изделий, кг/ч или шт./ч;

Фэ - эффективный годовой фонд времени работы оборудования, ч;

К - коэффициент, учитывающий время на наладку оборудования, переналадку и замену пресс-инструмента в зависимости от вида производства, организационно-техническое обслуживание.

Значение коэффициента К приведено в таблицах 5, 6.

Выбор технологического оборудования определяется в соответствии с «Типовыми технологическими процессами изготовления деталей методом порошковой металлургии», разработанными Институтом проблем материаловедения АН УССР в 1981 г.; расчетная производительность технологического оборудования определяется по паспорту выбранного оборудования с учетом принятого технологического процесса и номенклатуры изделий.

Годовой фонд времени работы основного технологического оборудования

2.2. Годовой фонд времени работы размольно-смесительного, классифицирующего, сушильного, печного и др. оборудования представлен в таблице 3.

Таблица 3

Тип оборудования

Номинальный годовой фонд времени работы оборудования, ч

Потери на ППР, %

Эффективный годовой фонд времени работы оборудования, ч

смены

смены

смены

1

2

3

1

2

3

1

2

3

Размольно-смесительное и классифицирующее оборудование

1830

3660

5490

2

3

4

1793

3550

5270

Виброгалтовочное оборудование

2070

4140

6210

3

4

6

2010

3975

5835

Сушильное оборудование

2070

4140

6210

3

4

6

2010

3975

5835

Установки вакуумной маслопропитки

1830

3660

5490

3

4

5

1775

3514

5216

Газоприготовительные установки

-

-

6490

-

-

8

-

-

5970

Печное, термическое оборудование

-

4140

6490

-

4

8

-

3975

5970

Линия штамповки деталей (печи для нагрева под штамповку, пресса)

-

4140

6210

-

5,5

6

-

3910

5835

Фонды времени оборудования, не представленного в таблице 3, принимать по ОНТП 06-80 [5].

2.3. Годовой фонд времени работы прессового оборудования представлен в таблице 4.

Таблица 4

Тип прессового оборудования

Номинальное усилие, кН

Номинальный годовой фонд времени работы оборудования, ч

Потери на ППР, %

Эффективный годовой фонд времени работы оборудования, ч

смены

смены

смены

1

2

3

1

2

3

1

2

3

Автоматы механические

До 1600

-

4140

6210

-

8

9

-

3809

5651

Св. 1600

-

4140

6210

-

11

12

-

3685

5465

Автоматы гидравлические

До 1600

-

4140

6210

-

11

12

-

3685

5465

Св. 1600

-

4140

6210

-

15

17

-

3519

5154

2.4. Коэффициенты, учитывающие время на переналадку оборудования размольно-смесительного, печного и др., представлены в таблице 5.

Таблица 5

Тип оборудования

Коэффициент, учитывающий время на переналадку оборудования

Размольно-смесительное и классифицирующее оборудование

0,1 - 0,2

Виброгалтовочное оборудование

0,15 - 0,22

Сушильное оборудование

0,1 - 0,2

Установки вакуумной маслопропитки

0,1 - 0,2

Газоприготовителъные установки

0,1 - 0,2

Установки серопропитки

0,15 - 0,25

Печное оборудование

 

Немеханизированные (камерные, шахтные, индукционные) печи

0,1 - 0,2

Немеханизированные вакуумные печи

0,1 - 0,2

Элеваторные печи

0,1 - 0,2

Конвейерные печи

0,1 - 0,2

Толкательные печи, печи с шагающим подом

0,05 - 0,1

Механизированные вакуумные печи

0,05 - 0,1

Линия штамповки деталей (печи для нагрева под штамповку, пресса)

0,15 - 0,2

Коэффициент использования основного технологического оборудования

2.5. Коэффициент, учитывающий время на наладку оборудования и переналадку пресс-инструмента для прессового оборудования, представлен в таблице 6.

Таблица 6

Тип прессового оборудования

Номинальное усилие, кН

Коэффициент, учитывающий время на наладку оборудования и переналадку пресс-инструмента, К

вид производства

мелкосерийное

среднесерийное

крупносерийное и массовое

Автоматы механические*

 

0,06 - 0,15

0,06 - 0,1

0,05

Автоматы гидравлические

До 1600

0,09 - 0,19

0,06 - 0,08

0,05

Св. 1600

0,11 - 0,2

0,07 - 0,1

0,06

* С использованием средств механизации при наладке штампов.

2.6. Коэффициент использования размольно-смесеприготовительного, классифицирующего, сушильного, печного и др. оборудования представлены в таблице 7.

Таблица 7

Тип оборудования

Коэффициент использования оборудования, не менее

Размольно-классифицирующее и смесеприготовительное оборудование

0,80

Виброгалтовочное оборудование

0,80

Сушильное оборудование

0,85

Установки вакуумной маслопропитки

0,85

Газоприготовительные установки

0,85

Термическое печное оборудование

0,85

Прессы-автоматы механические

0,85

Прессы-автоматы гидравлические

0,81

Коэффициент сменности основного технологического оборудования

2.7. Коэффициент сменности оборудования Ксм следует определять по формуле (5)

                                                  (5)

где П1, П2, П3 - число единиц оборудования, работающего соответственно в первой, второй и третьей сменах;

П - количество единиц установленного оборудования.

2.8. Коэффициент сменности работы оборудования для производственных подразделений должен составлять:

при 2-сменной работе 1,8 - 1,9

при 3-сменной работе 2,5 - 2,8.

3. Общая площадь. Нормы размещения и нормы площадей на единицу оборудования. Перечень подразделений, размещаемых в отдельных помещениях

3.1. Укрупненные показатели общей производственной площади на единицу оборудования.

В общую площадь входят: площади, определяемые габаритами оборудования в плане и зоной его обслуживания, занимаемые проходами и транспортными проездами, складскими площадями, энергосантехническим и электротехническим оборудованием (венткамеры, КТП), а также площади антресолей, кладовых и др. помещений.

Укрупненные показатели общей производственной площади в таблице 8 на единицу оборудования даны без учета доли площадей вспомогательных служб (общецеховой склад, ремонтная база механика, мастерская энергетика, отделение по ремонту оснастки), расчет которых осуществляется по соответствующим нормативам [10, 11, 12].

Укрупненные нормы площадей на единицу оборудования

Таблица 8

№ п/п

Наименование оборудования

Техническая характеристика или модель1

Площадь, м2

1

2

3

4

 

1. Смесеприготовительное оборудование

 

 

1.1.

Смесители с рабочей емкостью

До 100 кг

20

От 100 до 250 кг

30

 

Св. 250 кг

40

1.2.

Дробилки, мельницу

-

30

1.3.

Механизированные комплексы растаривания мешков, просева и приготовления смесей при годовом выпуске изделий1

До 600 т

400 - 500

 

От 600 до 5000 т

600 - 800

 

От 5000 до 10000 т

1400 - 1600

 

Св. 10000 т

1600 - 2000

 

2. Формообразующее оборудование

 

 

2.1.

Автоматы механические для прессования порошковых изделий номинальным усилием2

До 1000 кН

30 - 50

 

От 1000 до 4000 кН

60 - 80

 

Свыше 4000 кН

80 - 110

2.2.

Прессы-автоматы гидравлические для прессования порошковых изделий номинальным усилием2

До 4000 кН

70 - 90

 

 

Свыше 4000 кН

100 - 120

2.3.

Автоматы механические для калибрования порошковых изделий номинальным усилием

До 630 кН

30

 

От 630 до 1600 кН

40

 

От 1600 до 4000 кН

65

 

3. Электротермическое оборудование

 

 

3.1.

Электропечи толкательные для спекания

СТН-2.45.1,6/11,5

260

 

СТН-2.45.1,6/13

260

3.2.

Электропечи с шагающим подом для спекания

СЮН-3,5.66.1/12,5

400

 

ОКБ-1582

440

3.3.

Электропечи конвейерные для спекания

СКЗ-6.95.1,2/11,5

440

 

 

СКЗ-4.40.1/11,5

200

3.4.

Электропечь шахтная для паротермического оксидирования

СШО-6.12/7

80

3.5.

Электропечи для нормализации, типа

СТЗЗ-5.40.5/10Б2

220

3.6.

Электропечи карусельные для нагрева заготовок под горячую штамповку типа

САЗ21.11.3/12-М01

100

3.7.

Газоприготовительные установки с часовой производительностью

16 м3

15

 

30 - 60 м3

45

 

125 м3

60

 

4. Прочее оборудование

 

 

4.1.

Установка для вакуумной пропитки маслом

-

50

4.2.

Машины упаковочные

-

30

Примечания. 1. Большие значения площадей принимать при включении в комплекс операций дробления и помола.

2. Большее значение площадей соответствует прессам с большим номинальным усилием.

3. Общая площадь уточняется планом расположения оборудования.

Для укрупненных расчетов площади вспомогательных служб могут быть приняты по экспертной оценке в размере 10 - 20 % от общей площади. Значение удельного веса вспомогательных служб в указанном интервале должны быть обоснованы в каждом конкретном случае.

Для обслуживания производства изделий из металлических порошков с учетом конкретных условий необходимо предусматривать следующие лаборатории:

спектральная;

механических испытаний;

термическая;

механическая мастерская;

химическая:

а) аналитическая;

б) химико-технологическая;

санитарная;

металловедческая:

а) металлографическая;

б) отделение испытаний физическими методами.

Указанные лаборатории должны располагаться, как правило, в отдельном корпусе.

Размер занимаемых лабораториями площадей и численность персонала лабораторий принимать в соответствии с «Типовыми решениями» Минстанкопрома [6].

3.2. Основные строительные параметры одноэтажного здания и грузоподъемность подъемно-транспортного оборудования представлены в таблице 9.

Таблица 9

№ п/п

Наименование оборудования

Номинальное усилие, кН

Ширина пролета, м

Расстояние между колоннами в среднем ряду, м

Высот до затяжки ферм, м

Подъемно-транспортное оборудование

1

2

3

4

5

6

7

1

Автоматы (механические, гидравлические) для прессования порошковых изделий, смесители, вибросита, мельницы

До 1600

18 - 24

12

8,4

Кран подвесной грузоподъемностью 3,2 т

2

Комплексная смесеприготовительная система

-

24

12

12,6

Кран подвесной грузоподъемностью 2 т

3

Пресс-автоматы гидравлические, автоматы для калибрования, штамповки, молот-автомат высокоскоростного прессования порошковых изделий

До 10000

18 - 24

12

12,6

Кран подвесной грузоподъемностью 5 т

4

Автоматы ротационные для прессования изделий из металлических и неметаллических порошков

100; 250

18 - 24

12

8,4

Кран подвесной грузоподъемностью 2 т

5

Электротермическое и газоприготовительное оборудование

 

18 - 24

12

8,4

Кран подвесной грузоподъемностью 5 т

Примечание. Таблица составлена на основе ГОСТ 23837-79 [7].

Для проектирования многоэтажных промышленных зданий рекомендуется использовать ГОСТ 24337-80 [8].

Методика расчета высоты производственного здания базируется согласно [9] на суммировании максимальной высоты оборудования, габаритных размеров изделий и транспортных средств.

Нормы ширины проходов и проездов

3.3. Нормы ширины проходов и проездов принимать по ОНТП-07-83 [10].

Нормы расстояний между оборудованием, оборудованием и строительными конструкциями

3.4. Расстояния между оборудованием, оборудованием и строительными конструкциями учитывают требования научной организации труда на рабочем месте и обеспечивают правила техники безопасности и принимаются в соответствии с таблицами 10 - 14 и схемами 1 - 10. Расстояния между оборудованием и строительными конструкциями следует принимать не менее 0,8 м.

Рекомендуется установка прессового оборудования (формующего и калибрующего) на траншейные фундаменты в связи с возможностью использования последних для монтажа оборудования, имеющего своеобразное крепление к фундаментам. Применение траншейных фундаментов позволяет осуществлять строительно-монтажные работы опережающими темпами.

3.5. Нормы расстояний для просевочного, размольного, смесительного оборудования.

Таблица 10

Наименование оборудования

Размер расстояний, мм

А

Б

В

Г

Д

Е

Ж, К

Размольное

От 2000

До 2500

800

900

От 1300

До 1500

800

От 1300

До 1500

800

Сита

От 2000

До 2500

800

900

От 1300

До 1500

800

От 1300

До 1500

800

Смесители

От 2000

До 2500

800

900

От 1300

До 1500

800

От 1300

До 1500

800

3.6. Нормы расстояний между формообразующим оборудованием и строительными конструкциями.

Таблица 11

№ п/п

Прессы-автоматы механические и гидравлические, номинальное усилие, кН

Размеры расстояний, мм, не менее

А

Б

В

Г

Д

Е

1

250

3600

2500

9500

7000

2500

6000

2

400

3600

2500

9500

7000

2500

6000

3

630

3700

2900

9500

7000

3000

6000

4

1000

3900

2900

9500

8000

3000

6000

5

1600

4100

4200

9500

8000

3500

6000

6

2500

4300

4500

10000

8000

3500

6000

7

4000

4500

6000

10000

8000

4000

6000

8

6300

4500

8500

10000

9500

4500

6000

9

10000

5000

8500

10000

13000

6000

6000

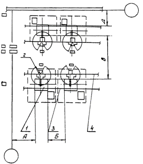
Примечания: 1. При установке оборудования на индивидуальные фундаменты, указанные в таблице размеры уточняются по чертежам принятого в проекте формообразующего оборудования с учетом габаритов фундаментов и строительных конструкций.

2. Размеры расстояний даны с учетом обслуживания оборудования роботами типа «Универсал 5-03».

3. Размеры «В», «Г» и «Е» даны с учетом проезда или прохода.

1 - пресс; 2 - робот; 3 - монорельс подачи порошка; 4 - монорельс сбора прессовок.

3.7. Нормы расстояний между калибровочным оборудованием и строительными конструкциями.

Таблица 12

№ п/п

Автоматы механические для калибрования изделий из металлических порошков, номинальное усилие, кН

Размеры расстояний, мм, не менее

А

Б

В

Г

Д

Е

1

250

3000

1200

8000

3000

2000

5500

2

400

3000

1300

8000

3000

2000

5500

3

630

3500

1400

8000

3500

3000

5000

4

1000

3500

1500

7500

3500

3000

5000

5

1600

4000

1500

7500

4500

3500

5000

6

2500

4000

1500

7500

5000

4000

4500

7

4000

4000

1500

7500

5500

4000

4500

Примечания: 1. При установке оборудования на индивидуальные фундаменты, указанные в таблицах размеры уточняются по чертежам принятого в проекте калибровочного оборудования с учетом габаритов фундаментов и строительных конструкций.

2. Размеры расстояний даны с учетом обслуживания оборудования роботами типа «Универсал 5-03»

3. Размеры «В», «Г» и «Е» даны с учетом проездов.

1 - пресс; 2 - робот; 3 - приемный стол; 4 - монорельс с поворотным столом; 5 - монорельс подачи и сбора изделий

3.8. Нормы расстояний для установки пропитки деталей.

Таблица 13

Оборудование

Нормы расстояний, мм

А

Б

В

Пропиточные баки

3000

4000

2500

Механизированные установки для пропитки деталей

4000

4500

3000

3.9. Нормы расстояний для термического оборудования.

Таблица 14

Наименование электротермического оборудования

Нормы расстояний, мм

№ схемы

А

Б

Толкательные электропечи типа СТН для спекания с обратной линией транспортирования поддонов

2500

От 3000 до 4000

1

Электропечь с шагающим поддоном типа СЮН для спекания с обратной линией транспортирования поддонов

2500

От 3000 до 4000

2

Электропечи с шагающим подом типа ОКБ-1582 и СЮН для спекания

2500

От 3000 до 3500

3

Электропечи конвейерные типа СКЗ для спекания

2500

От 3000 до 4000

4

Электропечь шахтная типа СШО для оксидирования

2000

3500

5

Примечание. При выносе шкафов и трансформаторов из зоны печей спекания расстояние «Б» может быть уменьшено на 1,5 м.

Нормы расстояний для остального термического оборудования следует принимать по ОНТП термических цехов [11].

3.9.1. Нормы расстояний электропечей типа СТН для спекания с обратной линией транспортирования поддонов.

Схема 1:

1 - шкаф управления; 2 - камера удаления пластификатора; 3 - камера спекания; 4 - шлюзовые устройства; 5 - линия транспортирования поддонов.

3.9.2. Нормы расстояний для печей с шагающим подом типа СКЗ для спекания с обратной линией транспортирования поддонов.

Схема 2:

1 - трансформаторы печные; 2 - камера спекания; 3 - камера удаления пластификатора; 4 - шлюзовые устройства; 5 - шкаф управления; 6 - линия транспортирования поддонов.

3.9.3. Нормы расстояний для электропечей спекания с шагающим подом типа ОКБ-1582, СЮН.

Схема 3:

1 - электропечь; 2 - шкафы; 3 - трансформаторы.

3.9.4. Нормы расстояний для электропечей конвейерных типа СКЗ для спекания.

Схема 4:

1 - электропечь; 2 - шкафы; 3 - трансформаторы.

3.9.5. Нормы расстояний для печей оксидирования.

Схема 5

Минимальное расстояние между остальным производственным оборудованием, не указанным на схемах 1 - 3, определяется шириной прохода для рабочего и составляет 1,5 м.

Увеличение расстояния между оборудованием обосновывается в каждом конкретном случае. Основанием для увеличения минимального расстояния могут, как правило, служить:

зона обслуживания, монтажа и демонтажа оборудования (например, у электропечей выемка термопар, нагревателей и др.);

размеры фундаментов оборудования и строительных колонн;

необходимость размещения между производственным вспомогательного (например, электрошкафы, трансформаторы и пр.) оборудования.

Перечисленные случаи основываются на технологической документации (паспорт) оборудования, требованиях технологического процесса и передовом отечественном и зарубежном опыте.

При укрупненных расчетах следует принимать следующее соотношение площадей:

производственные помещения - 45 - 50 %;

энергосантехнические и электротехнические - 30 - 40 %;

склады (в т.ч. межоперационные) - 10 - 15 %;

прочие службы - 5 - 8 %.

Общая площадь в технологической части проекта уточняется чертежом плана расположения оборудования.

Перечень производственных процессов, выделяемых в отдельные помещения

3.10. В отдельные помещения должны быть выделены следующие производственные процессы:

растаривание сырьевых материалов;

размол и приготовление смесей;

приготовление невзрывоопасных лигатур из взрывоопасных исходных материалов;

прессование;

спекание;

сварка (высокотемпературная обработка изделий);

отделение подготовки и приготовления защитных газовых сред; допускается размещать установки получения экзо- и эндогаза в общем с печами спекания и высокотемпературной обработки изделий помещении.

При создании автоматических линий допускается размещать в одном помещении все оборудование при условии определения категории производства по взрывной, взрывопожарной и пожарной опасности, а также классов зон помещения по наиболее опасному процессу (см. раздел 8).

4. Нормы расхода и требования к параметрам и качеству сырья, основных и вспомогательных материалов, полуфабрикатов, воды, электроэнергии, газа, пара и др.

4.1. Исходными материалами для приготовления шихты при производстве порошковых изделий служат готовые порошки, получаемые с заводов металлургической и химической промышленности. Химический состав поставляемых порошков и требования к качеству их изготовления должны соответствовать действующим ГОСТам или отраслевым техническим условиям (ТУ).

Перечень основных порошковых материалов, применяемых для изготовления порошковых изделий, приведен в приложении 1.

Коэффициент использования основных материалов для изделий на основе железа составляет 0,8 - 0,95, на основе цветных металлов - 0,85 - 0,95 и зависит от конкретной технологии изготовления изделий.

Методика расчета основных материалов приведена в приложении 2.

Перечень основных видов вспомогательных материалов и укрупненные нормы расхода

4.2. При изготовлении заготовок из металлических порошков используются различные вспомогательные материалы, требования к качеству которых указываются в соответствующих ГОСТах и ТУ (табл. 15).

Таблица 15

№ п/п

Материал

Единица измерения

Укрупненная норма расхода на 1 т выпуска изделий

на основе железа

на основе меди

1

Бензин

кг

0,9

-

2

Масло индустриальное чистое по ГОСТ 20799-75

кг

40 - 50

7

3

Пластификаторы, цинк стеариновокислый

кг

10

3 - 5

4

Сетка по ГОСТ 6613-73

 

 

 

 

№ 1

м2

0,06

0,3

 

№ 0,8

"

0,2

-

 

№ 045

"

0,8

-

5

Смазочные материалы

кг

10

10

6

Текстильные и бумажные (ветошь, салфетки, войлок и т.д.)

кг

1

 

4.3. Укрупненные показатели расхода энергоносителей при производстве порошковых изделий конструкционного и антифрикционного назначения (табл. 16).

Таблица 16

Виды энергоносителей, параметры и потребители*

Средняя масса деталей, кг

до 0,1

от 0,1 до 0,5

от 0,5 до 1,0

свыше 1,0

1

2

3

4

5

Электроэнергия (380/220 в)

 

 

 

 

Расход электроэнергии, потребляемой на 1 т изделий:

производственным оборудованием, кВт ∙ ч

1900,0

1500,0

1300,0

1100,0

нагревательным оборудованием (печи, нагревательные аппараты, сушила), кВт ∙ ч

3000,0

2800,0

2600,0

2400,0

подъемно-транспортным оборудованием, кВт ∙ ч

150,0

100,0

80,0

50,0

Сжатый воздух (6,3 атм)

550,0

500,0

450,0

400,0

Расход сжатого воздуха на 1 т изделий

Газы

 

 

 

 

Расход природного газа (для приготовления защитной атмосферы, пламенной завесы) на 1 т изделий, нм3

180,0

170,0

150,0

100,0

Расход диссоциированного аммиака на 1 т изделий, м3

280,0

260,0

250,0

240,0

Расход азота (для продувки термических печей) на 1 т изделий, нм3

6,0

5,0

4,0

3,0

Пар

 

 

 

 

Расход пара для технологических нужд (давлением 3 - 6 ата) на 1 т изделий, кг

320,0

280,0

250,0

200,0

Вода производственная и оборотная

 

 

 

 

Расход воды на охлаждение оборудования и инструмента (18 - 20 °С, давление 0,15 - 0,20 МПа) на 1 т изделий, м3

250,0

210,0

170,0

130,0

* Приведены данные по основному производству. Показатели расхода энергоносителей принимать по ОНТП 07-83, ОНТП термических цехов [10, 11].

4.4. Укрупненные нормы стойкости пресс-инструмента приведены в таблице 17.

Таблица 17

Наименование

Состав пресс-инструмента

Рекомендуемые марки стали для деталей пресс-формы

К-во прессуемых деталей до полного износа пресс-инструмента, тыс. шт.

прессование

допрессовка

калибрование

горячая штамповка

Изделия на основе железа

Сменные части пресс-инструмента

ШХ12; ШХ15; 40Х; Х12М; Х12Ф1; ХВГ; 3Х2В8

20

-

-

-

30 - 50*

10

25

10

 

ВК

300 - 600*

100

120

100

Блок

 

1000

1000

1000

1000

Изделия на основе меди

Сменные части пресс-инструмента

ХВГ; Х12М; У8А

70 - 100

60

60

20

Блок

 

1000

1000

1000

1000

* В зависимости от класса точности порошковых изделий, марки исходных порошков и типа оборудования.

4.5. Средние массы пресс-блоков формообразующего оборудования для производства порошковых изделий приведены в табл. 18.

Таблица 18

Вид прессового оборудования

Модель

Номинальное усилие, кН

Масса пресс-блока, кг

Автоматы механические

КА8120

100

57

 

КА8122

160

60

 

КА8124

250

116

 

КА8126

400

130

 

КА8128

630

230

 

КА8130

1000

330

 

КА8132

1600

590

 

КА8134

2500

1200

 

КА8136

4000

1600

Автоматы гидравлические

ДА1532Б

1600

1532

 

ДА1534Б

2500

2070

 

ДА1536Б

4000

4532

 

ДА1238Б

6300

4940

 

ДА1240

10000

 

5. Нормы запасов и складирования сырья, основных и вспомогательных материалов, полуфабрикатов, готовой продукции, оснастки, нормативы складских и подсобных помещений

Нормы запасов хранения материалов, полуфабрикатов, продукции и пр. зависят от серийности производства, типа поставщика и величина их определяется требованием надежного бесперебойного обеспечения всего цикла технологического процесса.

Нормы запасов хранения и складирования, нормативы складских помещений, приведенные в таблице 19, являются исходными данными для расчета площадей складов согласно ОНТП 01-80 [12], ГОСТ 16553-82 [13].


Таблица 19

№ п/п

Наименование склада

Наименование материалов

Способ хранения

Нормы запаса хранения, календарные дни

Средняя нагрузка на 1 м2 полезной площади, т/м2*

Рекомендуемая высота укладки при применении различных видов подъемно-транспортного оборудования, м

Коэффициент использования полезной площади с применением средств механизации**

массовое производство

серийное и крупносерийное

мелкосерийное

при высоте укладки, м

электропогрузчики, эл. штабелеры с напольным управл.

краны-штабелеры мостовые

краны-штабелеры стеллажные

напольного электрофицированного

кранов-штабелеров

2

4

6

8

10

1

Склад металлических порошков

Металлические порошки (в бумажных мешках и жестяных банках)

Стеллаж на поддонах

15 - 20

25

15 - 20

30 - 40

20 - 25

40 - 50

0,9

1,85

2,8

3,7

4,6

4,5

До 9,5

До 16,2

0,25 + 0,3

0,3 + 035

2

Склад серы молотой, графита карандашного, цинка стеариновокислого

Сера молотая, графит карандашный, цинк стеариновокислый

В контейнерах, в стоечных поддонах

15 - 20

25

15 - 20

30 - 40

20 - 25

40 - 50

0,4

0,7

-

-

-

4,5

-

-

0,2 + 0,27

-

3

Промежуточный склад пресс-форм и штампов

Пресс-формы и штампы

Стеллаж на поддонах

-

-

-

2,5

5,0

7,5

-

-

4,5

До 5,2

До 10,2

0,25 + 0,3

0,3 + 0,4

4

Склад готовой продукции

Спеченные изделия (в многооборотной унифицированной таре)

Стеллаж на поддонах

5 - 10

10 - 15

10 - 15

0,9

1,85

2,8

3,7

4,6

4,5

3 %

До 16,2

0,25 + 0,3

0,3 + 0,35

5

Межоперационные склады

Прессовка, спеченные изделия и т.д. (в спецтаре)

На рольгангах, конвейерах, подвесных дорогах с адресованием

1 - 2

1 - 2

1 - 2

0,16

-

-

-

-

-

-

-

0,2 + 0,3

-

Примечания: 1. В числителе - нормы запаса материалов в календарных днях при поступлении с отраслевых и централизованных баз и складов МТЗ; в знаменателе - при поступлении от поставщика.

2. При наличии общезаводского склада материалов нормы хранения материалов в цехе должны обеспечивать двухсменный объем производства, но не менее объема поставки (банки, пакеты и т.д.).

* Средняя нагрузка на 1 м2 полезной площади - количество данного вида материла, приходящегося на единицу полезной площади, т.е. площади, занятой непосредственно под хранимым материалом (штабелями, стеллажами).

** Коэффициент использования площади склада - отношение полезной площади склада к его общей площади, в которую входит полезная площадь, площадь, занятая приемочными и отпускными площадками, служебная площадь, вспомогательная площадь, т.е. площадь, занятая проездами и проходами.


6. Организация складского хозяйства, механизация и автоматизация транспортно-складских работ; тара для беспыльной загрузки шихтовыми материалами технологического оборудования и межоперационная тара

6.1. При проектировании складов необходимо размещать их с учетом максимального приближения к цехам-потребителям (кроме складов ЛВЖ, ГЖ и баллонов с газами), возможности обеспечения подъездными транспортными путями и погрузочно-разгрузочными площадками, блокирования с производственными корпусами или объединения их в самостоятельный складской блок и других требований, обеспечивающих наименьшие приведенные затраты по складированию и переработке грузов.

6.2. Выбор средств механизации и автоматизации складских операций должен соответствовать требованиям действующих государственных стандартов СЭВ, учитывать рекомендации отраслевых стандартов и перспективные направления отечественной и зарубежной практики по созданию новых средств механизации и автоматизации.

Выбранные средства механизации и автоматизации должны обеспечивать:

сокращение прямых затрат и материальных средств на выполнение складских работ;

минимальное количество перегрузок (перевалок);

ликвидацию тяжелого физического труда;

безопасность труда;

взрыво- и пожаробезопасность технологических процессов.

При выборе средств механизации и автоматизации складских процессов перемещения грузов следует учитывать:

габаритные размеры, форму и массу грузов;

подверженность повреждению;

взрывоопасность, взрывопожароопасность, пожароопасность обращающихся веществ и материалов;

количество перемещаемого груза;

строительные характеристики складских зданий и сооружений;

номенклатуру хранимых грузов;

периодичность поступления и выдачи грузов со склада;

запас хранения;

применение операции выборочного контроля;

применение операции упаковки;

вид транспорта прибытия грузов на склад и отправления грузов со склада.

6.3. В зависимости от исходных данных, перечисленных выше, определяют типы складского оборудования, его производительность и количество. В таблице 20 приведен перечень подъемно-транспортного оборудования, рекомендуемого для применения в различных складах.

Таблица 20

№ п/п

Наименование складов

Оборудование для выполнения операций

приема

складирования

отправления

1

Склад порошков

Краны электрические подвесные (до 5 т), краны-штабелеры, электропогрузчики, электроштабелеры напольные

2

Склад стеариновокислого цинка, серы

Краны электрические подвесные (до 2 т), электропогрузчики во взрывозащищенном исполнении

3

Склад пресс-форм и штампов

Электропогрузчики, электрокары

Краны-штабелеры, стеллажи (до 2 т)

Электропогрузчики, электрокары

4

Склад сжатых газов

Тали электрические и ручные (в обычном и взрывозащищенном исполнении), электропогрузчики, погрузчики с поворотной платформой, тележки напольные специальные и пр.

5

Склад готовой продукции

Краны-штабелеры мостового типа (1 - 5 т). Электропогрузчики, электроштабелеры напольные, краны электрические подвесные до 5 т, тали электрические, подвесные дороги с адресованием

6.4. Тара, стеллажи, грузоподъемное и транспортное оборудование и весоизмерительные приборы являются технологическим оборудованием склада.

Применяемое стеллажное оборудование должно удовлетворять следующим требованиям:

устойчивость и возможность его перестановки;

простота изготовления и разборность конструкции;

конструкции стеллажей должны быть выполнены из несгораемых материалов;

возможность изменения емкости отдельных мест хранения (ячеек, полок);

удобство в обслуживании подъемно-транспортными машинами.

6.5. Расчет потребности в производственно-складской таре следует производить по таблице 21.

Таблица 21

Назначение тары

Способ расчета

Формула для расчета

Общая потребность в таре, Побщ

По сумме количества тары для хранения (Пхр) и тары, находящейся в ремонте (Пр)

Побщ. = Пхр + Пр, шт.                                                  (6)

Потребность в таре для хранения, Пхр

По грузообороту, нормативному сроку хранения, грузоподъемности и коэффициентам неравномерности поступления груза и грузовместимости тары

, шт.                                                  (7)

Тара, находящаяся в ремонте, Пр

По количеству Пхр и коэффициенту Кр

Пр = Пхр ∙ Кр, шт.                                                  (8)

Примечание. В таблице приняты обозначения:

i - номенклатура грузов (или типы тары);

Q - годовой грузооборот данной номенклатуры, т.е. поступление + отправление;

Т - нормативный срок хранения грузов данной номенклатуры, дн.;

Кн - коэффициент неравномерности поступления грузов, принятый равным 1,4;

qn - номинальная грузоподъемность тары, т;

q - коэффициент использования тары по грузоподъемности для данной номенклатуры грузов;

Кр - коэффициент, учитывающий количество тары, находящейся в ремонте, принятый равным 0,1.

6.6. Тара для транспортировки сыпучих и пылящих материалов и смесей по конструкции должна обеспечивать беспыльную загрузку технологического оборудования.

7. Нормативная численность основных и вспомогательных рабочих, инженерно-технических работников и служащих; распределение работающих по сменам, соотношение категорий работающих, укрупненные показатели соотношения мужчин и женщин в количестве работающих; перечень профессий работающих и распределение их по группам санитарной характеристики производственных процессов. Фонды времени и режим работы рабочих

7.1. Расчет численности основных (производственных) рабочих.

К категории основных относятся все рабочие, непосредственно участвующие в технологическом процессе производства товарной продукции.

Численность основных рабочих определяется по формулам:

N = Σp,                                                                   (9)

                                                        (10)

где N - расчетная численность основных рабочих, чел.;

Р - расчетная численность основных рабочих соответствующих специальностей, чел.;

Тп - расчетная трудоемкость на годовую программу по видам работ (смесеприготовление, прессование, спекание, калибрование и т.д.), чел.-ч;

Ф - эффективный годовой фонд времени работы рабочего данной специальности, ч [5];

К - норма обслуживания (плотность бригады) основным рабочим единицы оборудования;

Т - трудоемкость годовой программы, чел.-ч.

                                                             (11)

где Q - пооперационная годовая программа в тоннах или штуках;

А - производительность принятого оборудования, кг/ч или шт./ч.

7.2. Для определения плотности бригад следует руководствоваться данными таблицы 22.

Таблица 22

№ п/п

Оборудование, комплекс

Количество основных рабочих, обслуживающих единицы оборудования (плотность бригады)***

1

2

3

 

1. Смесеприготовительное оборудование

 

1.1.

Распаковочные машины, вибросита, смесители и т.п.

0,33

1.2.

Механизированные комплексы растаривания мешков, просева и приготовления смесей при выпуске изделий:

 

 

                           до   600 т

2,0

 

от           600      до   5000 т

5,0

 

от           5000   до   10000 т

10,0

 

свыше   10000 т

15,0

 

2. Формообразующее оборудование*

 

2.1.

Автоматы механические для прессования изделий из металлических порошков

0,5

2.2.

Установка газостатического прессования

2,0

2.3.

Автоматы механические для калибрования изделий из металлических порошков

0,3

2.4.

Автоматы гидравлические для прессования изделий

1,0

 

3. Электротермическое оборудование

 

3.1.

Электропечи и агрегаты спекания и термообработка

0,5

3.2.

Газоприготовительные установки**

0,3

 

4. Прочее оборудование

 

4.1.

Установки для вакуумной пропитки маслом

0,3

4.2.

Машины упаковочные

0,5

* Данные по плотности бригад приведены при условии использования промышленных роботов.

** При расположении газоприготовительных установок в отдельном помещении количество обслуживающих рабочих должно быть не менее 2 чел. в смену.

*** В плотности бригад учтены наладчики оборудования.

7.3. Расчет вспомогательных рабочих.

В таблице 23 приведена рекомендуемая номенклатура и норма численности вспомогательных рабочих в цехах порошковой металлургии.

7.4. Нормы численности вспомогательных рабочих.

Таблица 23

Категории и профессии рабочих

Метод расчета численности

Расчетная норма численности работающих в смену

Рабочий на установках по приготовлению защитной среды

По количеству обслуживаемых установок на единицу

0,3

Распределители работ

По количеству обслуживаемых основных рабочих в наибольшую смену:

 

 

до 40 чел.

1,0

 

от 40 до 100 чел.

2,0

 

свыше 100 чел.

3,0

Кладовщики-комплектовщики полуфабрикатов и готовых изделий

По количеству обслуживаемых основных рабочих в наибольшую смену:

 

до 40 чел.

1,0

 

свыше 40 чел.

2,0

Кладовщики-раздатчики инструмента, технологической оснастки и вспомогательных материалов

По количеству обслуживаемых основных рабочих в наибольшую смену:

 

до 40 чел.

1,0

 

от 40 до 100 чел.

2,0

 

свыше 100 чел.

3,0

Рабочие по межремонтному обслуживанию и малому ремонту оборудования:

По количеству обслуживаемого оборудования

 

станочники

На единицу

0,2

слесари-ремонтники

-"-

0,3

электромонтеры

-"-

0,1

смазчики

-"-

0,05

Крановщики*:

 

 

мостовых (опорных) и подвесных кранов кранов-штабелеров

На единицу

1,0

мостовых (опорных), подвесных, консольно-поворотных, полукозловых кранов-штабелеров с нижним управлением

на единицу оборудования

0,5

Печники термических печей (ремонт печей всех видов)

На 100 м2 пода обслуживаемых печей

0,8

Пирометристы термических печей

На 100 единиц средств измерения

1,0

Уборщики производственных помещений:

По размерам убираемой площади

 

склад шихтовых материалов, смесеприготовительное отделение и отделение прессования

180 м2

1,0

прочие отделения

2700 м2

1,0

Складские и транспортные рабочие

По количеству обслуживаемых рабочих:

 

 

до 60 чел.

1,0

 

от 60 до 100 чел.

2,0

 

свыше 100 чел.

3,0

* Количество вспомогательных рабочих по обслуживанию транспортеров и конвейеров всех типов определяется индивидуально для каждого конкретного случая в зависимости от типа загрузки (автоматизированная, механизированная или ручная) и количества мест загрузки.

Примечание. При небольших грузооборотах и загрузке крановщика менее 50 % следует предусматривать совмещение профессий.

7.5. Определение количества инженерно-технических работников (ИТР), служащих (СКП) и младшего обслуживающего персонала (МОП).

Количество ИТР и служащих определяется в процентном отношении от численности рабочих.

Количество МОП определяется в зависимости от размера убираемых помещений. Нормы определения численности указанных категорий работающих представлены в таблице 24.

Таблица 24

Категории работающих

Метод расчета численности

Расчетные параметры

Инженерно-технические работники (ИТР)

Годовой объем выпускаемых изделий, т/г:

Норма численности, % от количества рабочих

от 500 до 1000

10,0

от 1000 до 3000

10,0

свыше 3000

10,0

Служащие (СКП)

Годовой объем выпускаемых изделий, т/г:

 

от 500 до 1000

8,0

от 1000 до 3000

6,0

свыше 3000

4,0

Младший обслуживающий персонал (МОП)

Обслуживаемые помещения

Площадь, м2, убираемая одним работником в смену:

Комнаты отдыха, личной гигиены, общественных организаций, гардеробные, служебные комнаты

500,0

Душевые и санузлы

300,0

7.6. Определение количества работников отдела технического контроля (ОТК).

Количество работников ОТК рассчитывается в зависимости от численности обслуживаемых основных рабочих и годового объема производства изделий. Нормы численности работников ОТК приведены в таблице 25.

Таблица 25

Категории работающих

Метод расчета численности

Расчетные параметры

Рабочие-контролеры

Годовой объем выпускаемых изделий, т/г:

Количество основных рабочих, обслуживаемых одним контролером

 

от 500 до 1000

12

 

от 1000 до 3000

12

 

свыше 3000

12

Инженерно-технические работники

Годовой объем выпускаемых изделий, т/г:

Количество рабочих-контролеров, приходящихся на 1 ИТР ОТК

 

от 500 до 1000

3

 

от 1000 до 3000

4

 

свыше 3000

5

7.7. Укрупненные нормы определения численности вспомогательных рабочих, ИТР, служащих и МОП.

При проектных проработках и укрупненных расчетах численность вспомогательных рабочих, ИТР, служащих и МОП определяется по таблице 26.

Таблица 26

Категории рабочих

Метод расчета численности

Годовой объем выпускаемых изделий, т/г

от 600 до 1000

от 1000 до 3000

свыше 3000

Вспомогательные рабочие

% от количества основных рабочих

40*

45**

75

ИТР

% от количества рабочих

 

10

10

10

СКП

% от количества рабочих

 

8

6

4

МОП

% от количества рабочих

 

2

2

2

Работники ОТК:

 

 

 

рабочие-контролеры

% от количества основных рабочих

 

8

8

8

ИТР ОТК

% от количества рабочих-контролеров

 

30

25

20

* Учтены складские и транспортные рабочие; рабочие остальных профессий отнесены к общецеховым и общезаводским службам.

** Учтены складские и транспортные рабочие, наладчики по межремонтному обслуживанию; рабочие остальных профессий отнесены к общезаводским службам.

7.8. Коэффициент сменности рабочих для производственных подразделений производства должен составлять:

при 2-сменной работе 1,7 - 1,8;

при 3-сменной работе 2,2 - 2,8.

7.9. Распределение работающих по сменам приведено в таблице 27.

Таблица 27

Категории работающих

Число работающих по сменам к общему числу, %

I

II

III

Основные рабочие

48

45

7

Вспомогательные рабочие

50

40

10

ИТР

60

39

1

ИТР ОТК

75

25

-

Служащие

80

20

-

МОП

50

45

5

7.10. Укрупненные показатели соотношения работающих мужчин и женщин приведены в таблице 28, которыми следует пользоваться при выдаче заданий для расчета конторских и бытовых помещений.

Следует учитывать список производств, профессий и работ с тяжелыми и вредными условиями труда, на которых запрещается применение труда женщин.

Таблица 28

Категория работающих

Количество работающих женщин, % от общего количества работающих

Основные рабочие

 

Рабочие по подготовке и переработке материалов

10 - 15

Прессовщик на автоматах и гидропрессах, операторы, работники механизированных установок и комплексов изготовления деталей

45 - 55

Оператор-наладчик

-

Рабочие на установках газостатического прессования

-

Пропитчики

15 - 20

Вспомогательные рабочие

 

Рабочие по приготовлению защитной среды

80 - 100

Кладовщики-комплектовщики полуфабрикатов и готовых изделий

70 - 80

Кладовщики-раздатчики инструмента

15 - 30

Наладчики оборудования

-

Рабочие по межремонтному обслуживанию и малому ремонту оборудования и оснастки

-

Крановщики

40 - 60

Печники термических печей

-

Пирометристы

40 - 50

Уборщики производственных помещений

70 - 90

Младший обслуживающий персонал

70 - 90

При определении категории работающих в соответствии со СНиП II-92-76 п. 32 следует руководствоваться «Списком производств, цехов, профессий и должностей с вредными условиями труда, работа в которых дает право на дополнительный отпуск и сокращенный рабочий день» [14].

Перечень наиболее часто встречающихся профессий работающих в производстве порошковых изделий и распределение их по группам санитарной характеристики приведен в таблице 29.

Таблица 29

Группа санитарной характеристики производственных процессов

Наименование профессий

Категория работающих

Продолжительность рабочей недели, ч

с нормальным рабочим днем

с сокращенным рабочим днем

1

2

3

4

5

Iб

Кладовщик

В

41

-

 

Приемщик сырья и полуфабрикатов, занятый на приемке сырья, полуфабрикатов и готовой продукции

В

41

-

 

Лаборант химического анализа

В

41

-

 

Наладчик холодноштамповочного оборудования

В

41

-

 

Токарь по обработке металлокерамических изделий

В

41

-

IIб

Прессовщик, занятый на горячей штамповке

О

41

-

 

Наладчик кузнечно-прессового оборудования, занятый наладкой штампов на горячих участках работы

В

41

 

 

Спекальщик

О

-

36

 

Пропитчик, занятый на пропитке контактов

О

-

36

IIг

Грохотовщик

О

-

36

 

Дробильщик

О

-

36

 

Размольщик металлического порошка

О

-

36

 

Рассевщик металлических порошков, занятый на рассеве порошков, пудры, пыли

О

-

36

 

Разгрузчик порошков и загрузчик порошков

В

-

36

IIг

Смесильщик, занятый на смешивании порошков и порошковых смесей

О

-

36

 

Шихтовщик, занятый на дозировании металлических порошков

О

-

36

 

Машинист просеивающих установок

О

-

36

 

Пробоотборщик

В

41

-

 

Прессовщик

О

41

-

 

Наладчик кузнечно-прессового оборудования

О

41

-

 

Чистильщик, занятый на очистке оборудования и уборке пыли

В

-

36

 

Слесарь-ремонтник и рабочие, занятые ремонтом оборудования в основных цехах и отделениях производства порошков, пудры и пыли

В

41

-

 

Слесарь-ремонтник, занятый обслуживанием оборудования в основных цехах

В

41

-

 

Электромонтер по обслуживанию электрооборудования, занятый в основных цехах

В

-

36

 

Электромонтер по ремонту электрооборудования, занятый в основных цехах и отделениях производства порошков, пудры и пыли

В

-

36

 

Слесарь по контрольно-измерительным приборам и автоматике

В

41

-

 

Уборщик производственных помещений, занятый уборкой цехов

В

-

36

 

Контролер, занятый на контроле качества продукции

В

41

-

 

Машинист крана

В

41

-

 

Водитель погрузчика

В

-

-

IIа

Промывальщик-сушильщик порошков

О

-

36

 

Слесарь-сантехник

В

41

-

 

ИТР

 

 

 

 

Мастер, механик, электрик участков (цехов)

 

41

 

Примечание. О - основные рабочие; В - вспомогательные рабочие.

Действительный годовой фонд времени работы основных рабочих следует принимать по ОНТП 06-80 [5].

7.11. Номенклатура профессий основных и вспомогательных рабочих приведена в таблице 26.

Ниже приводится номенклатура профессий работников ИТР, СКП, МОП, ОТК.

7.12. Инженерно-технические работники (ИТР).

Номенклатура профессий:

начальник цеха;

заместитель начальника цеха;

начальники отделений, участков;

мастера (сменные и старшие);

начальники цехового технического бюро;

технологи;

нормировщики*;

начальник ПРБ (ПДБ)*;

диспетчеры*;

плановики*;

экономисты*;

энергетик цеха;

механик цеха.

Примечание. * Нормировщики, плановики, диспетчеры и прочие могут быть централизованы по корпусу или заводу и потому в состав работающих основных цехов не включаются.

7.13. Счетно-конторский персонал (СКП)**.

Номенклатура профессий:

бухгалтеры и счетоводы;

табельщики;

нарядчики и учетчики;

секретарь-делопроизводитель.

7.14. Младший обслуживающий персонал (МОП)**.

Номенклатура профессий:

уборщики бытовых помещений;

уборщики конторских помещений;

гардеробщики.

Примечание. ** Счетно-конторский персонал и младший обслуживающий персонал может быть централизован по заводу и в состав основных цехов не включается.

7.15. Работники технического контроля***.

Номенклатура профессий:

контролеры;

старшие контролеры;

контролеры и мастера.

Примечание. *** Работники технического контроля находятся в подчинении ОТК завода и в состав работающих основных цехов не включаются.

8. Категории производства и классы помещений по взрывной, взрывопожарной и пожарной опасности

8.1. Категории производства по взрывной, взрывопожарной и пожарной опасности и классификация помещений, зон по взрывоопасности и пожароопасности должны устанавливаться в соответствии с характеристиками взрывопожароопасности обращающихся в технологических процессах веществ и материалов. При этом определение категории производства по взрывной, взрывопожарной и пожарной опасности производится на основании действующих нормативных материалов: «Строительные нормы и правила СНиП II-90-81» [15].

Классификация зон помещений по взрывоопасности и пожароопасности производится на основании «Правил устройства электроустановок», ПУЭ-76 [16]. Характеристики взрывопожароопасности веществ и материалов при определении категории производства и класса помещения должны приниматься по справочным данным (опубликованным не ранее 1966 г.), для новых материалов - на основании результатов исследований специализированных научно-исследовательских организаций.

Величины НКПВ основных горючих веществ и материалов, обращающихся в производстве изделий из металлических порошков на основе порошков железа и меди, приведены в приложении 3.

8.1.1. При определении категории производств, связанных с применением горючих газов и жидкостей, необходимо производить расчет объема образующейся газо-паро-воздушной взрывоопасной смеси, руководствуясь «Указаниями по определению категории производств по взрывной, взрывопожарной и пожарной опасности» СН 463-74 [17]. Расчет следует вести для условий наиболее неблагоприятной аварийной ситуации или для других условий, установленных технологами, при которых возможно образование взрывоопасных смесей.

8.1.2. Категория производства по взрывной, взрывопожарной и пожарной опасности может быть принята по утвержденным ведомственным «Перечням производств с установленной категорией взрывной, взрывопожарной и пожарной опасности».

При этом для производств категории А, Е, Б необходимо произвести расчетную проверку объема образующейся взрывоопасной смеси по СН 463-74 [17] с учетом конкретных технических и проектных решений и аварийной ситуации.

8.1.3. Классификация основных производственных процессов по взрывной, взрывопожарной и пожарной опасности и классы зон помещений по взрывоопасности и пожароопасности (см. табл. 30).

Таблица 30

Производственные отделения, участки, процессы

Вещества и материалы, обращающиеся в производстве

Категории производств по взрывной, взрывопожарной и пожарной опасности (по СНиП II-90-81)

Класс зон помещений по взрывоопасности и пожароопасности (по ПУЭ-76)

1

2

3

4

Склад шихтовых материалов:

 

 

 

Хранение порошков в металлических банках, бумажных и пластмассовых мешках

Порошки: железа, меди, никеля, хрома, графита и т.п.

В

П-II

Хранение горючих порошков и связующих материалов

Сера молотая, цинк стеариновокислый и т.п.

Б

В-IIа

Хранение легковоспламеняющихся и горючих веществ

Бензин авиационный, спирт этиловый

А

В-Iа

Смесеприготовительное отделение:

 

 

 

восстановление, отжиг порошков

Водород, конвертированный газ, металлические порошки

А*

Невзрыво- и непожароопасная**

дробление и просев материалов

Бракованные детали, металлические порошки

В

П-II

приготовление лигатур

Сера молотая, цинк стеариновокислый, металлические порошки

Б

В-IIа

приготовление шихты без использования легковоспламеняющихся жидкостей

Металлические порошки, графит; лигатура на основе порошков железа с содержанием цинка стеариновокислого, серы или их смеси не более 3 %; лигатура на основе порошков меди с содержанием цинка стеариновокислого не более 10 %

В

П-II

 

Металлические порошки, графит, лигатура на основе порошков железа с содержанием цинка, стеариновокислого, серы или их смеси более 3 %; лигатура на основе порошков меди с содержанием цинка стеариновокислого более 10 %

Б

В-IIа

приготовление шихты с использованием легковоспламеняющихся жидкостей

Бензин, спирт этиловый, металлические порошки, лигатуры

А*

В-Iа*

прессование

Шихта

В

П-II

подготовка и приготовление защитных газовых сред

Природный газ диссоциированный аммиак, эндогаз

А*

Невзрыво- и непожароопасная**

 

Экзогаз

Б*

-"-

подготовка восстановительной (защитной) среды

Водород

Е*

В-Iа

спекание в электрических печах в защитной газовой среде

Водород, эндогаз, диссоциированный аммиак, порошковые изделия экзогаз, порошковые изделия

Г***

Невзрыво- и непожароопасная**

 

Азот, аргон, порошковые изделия

Г

 

оксидирование

Порошковые изделия

Г

Невзрыво- и непожароопасная**

калибрование

Порошковые изделия

Д

-"-

маслопропитка

Порошковые изделия, масло индустриальное

В

П-I

помещение вакуумных насосов

Масло индустриальное

В

П-I

склад готовой продукции

Порошковые изделия, тара сгораемая

В

П-IIа

* Категория производства и класс зон помещений даны, исходя из условия, что объем взрывоопасной смеси, образуемой в аварийной ситуации наиболее активным из обращающихся в производстве веществом или материалом, превышает 5 % свободного объема помещения. Если же объем образуемой взрывоопасной смеси равен или меньше 5 % свободного объема помещения, категория производства и класс зон помещения определяются опасностью других веществ и материалов.

** Невзрыво- и непожароопасной принимается зона в пределах до 5 м по горизонтали и вертикали (ПУЭ-76, п. VII-3-47) [16] от технологического аппарата. За пределами 5-метровой невзрыво- и непожароопасной зоны класс среды принимается:

В-Iа - во всем остальном помещении, если объем образующейся в аварийной ситуации взрывоопасной смеси (водорода с воздухом) превышает 5 % свободного объема помещения;

В-Iб - только в верхней части помещения, если объем взрывоопасной смеси (водород с воздухом) равен или менее 5 % свободного объема помещения (ПУЭ-76, п. VII-3-42) [16].

Невзрыво и непожароопасный - включая верхнюю зону помещения, если объем образующейся в аварийной ситуации взрывоопасной смеси (водорода с воздухом) равен или менее 5 % свободного объема помещения и при этом исключается возможность скопления водорода в помещении, а также обеспечивается автоматический контроль концентрация водорода.

*** Категория производства дана, исходя из условий, что объем образующейся взрывоопасной смеси в аварийной ситуации или других условиях, устанавливаемых технологами в соответствии с СН 463-74 [17], не превышает 5 % свободного объема помещения, а также исходя из условий выполнения конструктивных решений здания, исключающих скопление водорода в помещении, и оборудования системами автоматического контроля концентрации водорода; если объем образующейся взрывоопасной смеси превышает 5 % свободного объема помещения, то производство следует относить к категории «А».

8.2. При создании автоматических линий допускается размещать в одном помещении все оборудование при условии определения категории производства по взрывной, взрывопожарной и пожарной опасности, а также классов зон помещения по наиболее опасному процессу.

9. Специальные требования технологического процесса к зданиям, сооружениям и оборудованию

Требования к объемно-планировочным и конструктивным решениям

9.1. При проектировании производств по изготовлению порошковых изделий должны быть выявлены и классифицированы:

обращающиеся в производственных процессах или образующиеся взрывопожароопасные вещества, материалы, смеси в соответствии с ГОСТ 12.1.011-78 [18];

опасные и вредные производственные факторы в соответствии с ГОСТ 12.0.003-74 [19];

вредные вещества в соответствии с ГОСТ 12.1.007-76 [20].

9.2. В проекте в соответствии с СНиП II-90-81 [15] и учетом выявленных опасных и вредных факторов, веществ, материалов должны быть разработаны: объемно-планировочные решения производственных зданий, эвакуационные выходы из зданий и сооружений, конструктивные решения, а также предусмотрено устройство потолков, исключающее скопление водорода в верхней части помещений.

Выбор электрооборудования и электроустановок, в том числе взрывозащищенного, производится в соответствии с «Правилами устройства электроустановок» ПУЭ-76 [16] и ГОСТ 12.1.010-76 [21].

9.3. Проектирование помещений для электрических установок с горючими газами должно производиться с соблюдением требований «Правил техники безопасности и производственной санитарии при термической обработке металлов» [22].

9.4. Задания на проектирование смежных частей проекта следует выдавать с учетом обеспечения выполнения следующих основных мероприятий по технике безопасности и охране труда:

удаления вредных веществ с обеспечением в рабочих зонах концентраций веществ, не превышающих предельно допустимых;

установки автоматической сигнализации, предупреждающей об образовании в рабочих помещениях взрывоопасных концентраций газов и паров;

изоляции производственных участков с различными категориями по взрывной, взрывопожарной и пожарной опасности;

ограждения технологического и подъемно-транспортного оборудования в опасных зонах;

снижения шума и вибрации в рабочих зонах помещений до уровня, допускаемого санитарными нормами.

Требования к отделке помещений

9.5. Поверхность стен, потолков и полов производственных и складских помещений цехов должны быть гладкими, с минимальным количеством выступов, влагостойкими, допускающими влажную механизированную уборку и очистку от пыли. Требования к отделке помещений приведены в таблице 31.


Таблица 31

Технологические требования к отделке помещений

Наименование помещений

Требования к полам

Специальные требования к отделке помещений (стены, колонны, потолок)

Рекомендуемые нагрузки на пол первого этажа, т/м2

Устойчивость к механическим воздействиям

Устойчивость к тепловым воздействиям

Устойчивость к воздействию жидкостей

Беспыльность

Диэлектричность и безискровость

от безрельсового транспорта максимальной грузоподъемностью 5 т.с.

от падений твердых тел (оснастка и детали).

Высота - 1,5 м,

Масса -500 кг.

нагретый воздух на уровне пола +30 °С

От нагретых до 800 °С деталей и оснастки

минеральных масел

органических растворителей (бензин, бензол)

воды и растворов нейтральной реакции

Участки приготовления лигатур

+

+

-

-

-

-

-

+

+

Гладкое покрытие, допускающее влажную уборку

1. Производственные участки

3 - 5

Смесеприготовительное

+

+

-

-

-

-

-

+

+

Возможность механизированной уборки

2. Кладовые и складские помещения

5 - 10

Формовочное (прессовое)

+

+

-

-

-

-

-

+

+

-"-

 

Печное

+

+

+

+

-

-

-

-

-

Возможность механизированной уборки

3. Вспомогательные помещения

3

Защитных атмосфер

+

+

+

+

-

-

-

-

-

 

4. Магистральные проезды и ремонтные службы

5

Отделение маслопропитки, мойки-сушки

+

+

+

-

+

+

+

-

-

Маслостойкость на высоту до 2 м

Отделение контроля

+

+

-

-

-

-

-

+

-

 

 

Склады

+

+

-

-

+

+

+

-

-

 

 

Примечания:

1. Знаком «+» обозначены требования, выполнение которых является необходимым.

2. Нагрузки на полы указаны на площади, не занятые оборудованием.

3. Статические и динамические нагрузки от оборудования указываются дополнительно при выдаче строительного задания.

4. В нормах не учтены нагрузки, возникающие при транспортировке оборудования, а также грузов, не участвующих в выполнении технологического процесса.


9.6. Цветовую отделку производственных помещений необходимо выполнять в соответствии с СН 181-70 [23].

9.7. Полы в помещениях должны соответствовать СНиП II.8-71 [24].

Нагрузки и воздействие на покрытия и конструкции полов, а также на межэтажные перекрытия следует определять в соответствии со СНиП II-6-74 [25].

Требования к параметрам и чистоте воздушной среды, уровню шума и вибрации

9.8. Необходимость в специальных требованиях к зданиям, сооружениям и оборудованию по параметрам воздушной среды (температуре, влажности, скорости движения), его чистоте, а также уровню шума и вибрации для выполнения технологического процесса отсутствует.

Параметры воздушной среды, ее чистота, концентрация вредных веществ в воздухе рабочей зоны, уровень шума и вибрации должны находиться в пределах, обусловленных требованиями ГОСТ 12.1.005-76 [5], Перечнями «Предельно допустимых концентраций вредных веществ в воздухе рабочей зоны», утвержденными Минздравом СССР, ГОСТ 12.1.003-83 [16], ГОСТ 177112-72 [25], ГОСТ 12.1.012-78 [64] и требованиями по защите окружающей природной среды СН 245-71 [46].

Требования к производственному оборудованию

9.9. При проектировании технологической части проекта следует предусматривать:

применение, как правило, оборудования со встроенными аспирационными отсосами;

автоблокировку работы технологического оборудования, выделяющего вредные вещества, с работой аспирационных устройств и вентиляционных систем;

автоматическую сигнализацию при неисправности оборудования и вентсистем, при которой могут выделяться вредности в помещение цеха или атмосферу;

замену при возможности сухих способов переработки пылящих материалов мокрыми;

применение герметичной тары при транспортировке пылящих материалов;

применение средств коллективной защиты в соответствии с ГОСТ 12.4.010-75.

9.9.1. Разработку и выбор технологического оборудования и устройств межоперационного транспорта необходимо производить с учетом взрывопожароопасных свойств обращающихся в производстве веществ и материалов в соответствии с ГОСТ 12.1.010-76 [18].

Требования к параметрам воздушной среды, уровню шума и вибрации в рабочей зоне

9.10. Необходимость в специальных требованиях к зданиям, сооружениям, цеховым помещениям и оборудованию по параметрам воздушной среды (температуре, влажности, подвижности воздуха), содержанию вредных веществ, уровню шума и вибрации для выполнения технологического процесса отсутствует.

Параметры воздушной среды, содержание вредных веществ, уровень шума и вибрации в рабочей зоне должны соответствовать требованиям ГОСТ 12.1.005-76 [26], перечням «Предельно допустимых концентраций вредных веществ в воздухе рабочей зоны», утвержденным Минздравом СССР [27], ГОСТ 12.1.003-83 [28], ГОСТ 12.1.012-78 [29]. Помещения, где в технологических процессах обращаются токсичные газы (экзо-, эндогаз), должны быть оборудованы системами автоматического контроля их содержания в рабочей зоне и сигнализации при превышении допустимого уровня их концентрации.

Требования к производственному оборудованию

9.11. При проектировании технологической части проекта следует предусматривать:

применение, как правило, оборудования со встроенными аспирационными отсосами;

автоблокировку работы технологического оборудования, выделяющего вредные вещества, с работой аспирационных устройств и вентиляционных систем;

автоматическую сигнализацию при неисправности оборудования и вентсистем, при которой могут выделяться вредности в помещение цеха или атмосферу;

замену (при возможности) сухих способов переработки пылящих материалов мокрыми;

применение герметичной тары при транспортировке пылящих материалов;

применение средств индивидуальной защиты при повышенном содержании вредных веществ.

9.12. Разработку и выбор технологического оборудования и устройств межоперационного транспорта необходимо производить в соответствии с ГОСТ 12.1.010-76 [21] и ГОСТ 12.1.004-76 [30] с учетом взрывопожароопасных свойств обращающихся в производстве веществ и материалов, а также категорий производств и класса зон помещений по взрывной, взрывопожарной и пожарной опасности.

9.13. Для технологических процессов с обращающимися взрывоопасными веществами (горючие газы, пары ЛВЖ) и материалами (порошки серы, цинка стеариновокислого, лигатуры) выбираемое стандартизированное оборудование, в полостях которого возможно образование взрывоопасных смесей (печи, смесителя), должно быть оснащено устройствами по разгрузке давления взрыва.

Для защиты от давления взрыва разрабатываемого нестандартизированного оборудования, в полостях которого возможно образование взрывоопасных смесей (бункеры и другие емкости), оборудования и воздуховодов аспирационных систем необходимо предусматривать разрывные предохранительные мембраны. Расчет мембран следует производить в соответствии с РТМ «Устройства предохранительные с разрушающейся мембраной» [31].

Размещение предохранительных мембран и выполнение конструкций отводов продуктов взрыва следует производить в соответствии c «Правилами взрывобезопасности топливоподачи электрических станций» [32].

Исходными данными для расчета предохранительных мембран являются параметры взрыва обращающегося вещества. Параметры взрыва веществ, материалов и смесей, характерных для производств порошковых изделий, приведены в приложении 3.

9.14. Устройство трубопроводов для транспортирования водорода и других взрывоопасных или токсичных газов должно соответствовать «Правилам устройства и безопасной эксплуатации трубопроводов для горючих, токсичных и сжиженных газов» [33] и «Правилам безопасности в газовом хозяйстве» [34].

9.15. Для всех аппаратов и трубопроводов, предназначенных для жидких и газообразных токсичных и взрывоопасных продуктов, должны быть предусмотрены устройства для продувки их инертным газом, вакуумирования или пропаривания водяным паром.

9.16. Во избежание попадания взрывоопасных или токсичных паров и газов из технологических трактов в коммуникации воды, пара, воздуха на соответствующих участках должны быть предусмотрены обратные клапаны или гидрозатворы.

9.17. Аппараты для токсичных, горючих, агрессивных жидкостей и связанные с ними коммуникации должны иметь аварийные емкости, позволяющие при необходимости самотеком полностью удалять содержащиеся в них жидкости.

9.18. Необходимо предусматривать технические решения, устраняющие возникновение избыточных давлений в полостях технологического оборудования либо максимальное снижение их величины, если поддержание давления не обусловлено требованиями протекания технологического процесса.

9.18.1. При компоновке технологического оборудования необходимо исходить из условий максимально возможного сокращения как числа перепадов гравитационных потоков порошков, так и уменьшения высоты их, исключения возможности работы бункеров «на проход», обеспечения равномерной выгрузки порошков через герметизированные дозирующие устройства.

9.18.2. Исполнение технологического оборудования и устройств межоперационного транспорта должно быть герметичным, исключающим неорганизованное истечение пыли и газа из внутренних полостей наружу.

9.18.3. Для узлов загрузки емкостей материалом должны быть предусмотрены технические решения, предотвращающие пылевыделения и, как правило, исключающие необходимость в аспирационных отсосах, путем герметичного выполнения загрузочных узлов и выполнения устройств, обеспечивающих перетекание запыленного газа из заполняемой емкости в расходную.

9.18.4. При дробильно-измельчительном оборудовании (дробилки ударного действия, дезинтеграторы), развивающем избыточные давления и создающем направленные газовоздушные потоки, следует предусматривать герметическое исполнение загрузочных и разгрузочных узлов, исключающее аэродинамические связи такого оборудования с окружающей воздушной средой и последовательно расположенным оборудованием технологической линии. Герметичными должны быть также кожухи дробилок. При этом расчет производительности аспирационных отсосов следует производить с учетом схемы загрузочного и разгрузочного узлов по «Указаниям по расчету и устройству аспирации в порошковой металлургии. Узлы перепадов пылящих материалов» [56].

Требования к устройству аспирации

9.19. В технологической части проекта должны быть выявлены все источники возникновения избыточных давлений и разрежений в полостях технологического оборудования и кожухах, которыми могут быть: процессы массообмена, включая реакции химических превращений; процессы теплообмена и возникающие в связи с ними тепловые давления (Рт); эжекционное давление (Рэ); давление, создаваемое вращающимися рабочими частями оборудования (Роб); давление, возникающее в закрытых полостях, емкостях при заполнении их материалом (Рv); при прессовании и прокатке металлических порошков в результате выжимания воздуха, заполняющего пространство между частицами порошков.

9.20. Следует предусматривать меры, исключающие проявление эжекционного давления, к которым относится применение герметического технологического оборудования и применение герметичных загрузочных устройств межоперационного транспорта. В отсутствие такой возможности - предусматривать меры, максимально снижающие проявление эжекционного давления и, следовательно, уменьшение пылеобразования, количества аспирируемого газа и уноса с ним порошка, в частности, путем создания условий стесненного движения порошков по гравитационным желобам и выполнения решений, обусловленных п. 9.18.1.

9.21. В технологической части проекта должны быть определены места присоединения аспирационных отсосов, величины разрежения (давления) в полостях технологического оборудования и кожухах, расходы газа (воздуха), подлежащего аспирированию от узлов технологического оборудования и межоперационного транспорта, вещественный состав аспирируемых газов и взвеси, концентрация и дисперсный состав пыли.

9.22. Величины Рт, Рэ, Рv (см. п. 9.19) следует определять расчетным путем по «Указаниям по расчету и устройству аспирации в порошковой металлургии. Узлы перепадов пылящих материалов» [56]; основываясь на технологической части проекта, которая должна содержать исходные для расчетов данные по каждому узлу технологического оборудования и межоперационного транспорта.

9.23. В общем случае при одновременном действии различных источников возникновения давления, различного сочетания их, либо действия какого-либо из них производительность аспирационного отсоса следует определять по следующей формуле

                               (12)

где Рэ, Рт, Рv, Роб - условные обозначения согласно п. 9.19;

ΔР - разность давлений, обусловленных действием аспирационных отсосов, Па;

ρ2 - массовая плотность аспирируемого газа кг/м3;

Σφ - сумма коэффициентов местных сопротивлений движению газа в перегрузочном узле;

F - площадь поперечного сечения загружаемого желоба м2;

Lх.пр - интенсивность газовыделений в результате химических превращений, либо интенсивность парообразования, м3/сек;

Lн - расход воздуха, поступающего в аспирационный кожух через неплотности под действием разрежения в кожухе, м3/сек,

                                                (13)

где

Σφнi - коэффициент гидравлического сопротивления i-го отверстия;

Fнi - площадь i-го отверстия;

n - число отверстий;

Ру - разрежение в кожухе.

Рекомендуемые технические решения по устройству аспирации даны в Приложении 4.

10. Техника безопасности. Производственная санитария

Технологическое оборудование должно иметь максимально механизированное, а там, где это экономически оправдано, автоматизированное управление, должно обеспечивать безаварийную работу, автоматический контроль и автоматическое регулирование параметров технологического процесса и соответствовать требованиям ГОСТ 12.2.003-79*, ГОСТ 12.3.002-75*, ГОСТ 12.2.007-75 [35, 77, 37].

Взрывобезопасность

10.1. Производственные процессы и производственное оборудование должны отвечать требованиям ГОСТ 12.1.010-76 [21], ГОСТ 12.1.004-76 [30] и требованиям пунктов 9.10 - 9.15.

10.2. Электрическая часть установок для получения контролируемых атмосфер должна соответствовать «Правилам устройства электроустановок», газовая часть - требованиям к печам согласно «Правилам безопасности в газовом хозяйстве» [34].

10.3. Газоприготовительные установки допускается устанавливать непосредственно у печей спекания, на расстоянии от них или в отдельном помещении. Если печь и обслуживающая ее газоприготовительная установка находятся вне прямой видимости, между ними должна быть оборудована двусторонняя связь [38].

10.4. Постоянно открытые и периодически открываемые проемы печей должны быть оборудованы устройствами для создания пламенной завесы, препятствующей попаданию внутрь печи воздуха и обеспечивающей сжигание выходящей из печи атмосферы.

10.5. Контроль параметров (давление защитного газа в печи, температура в печи и т.п.), отклонение которых от нормы может привести к аварийной ситуации, должен производиться автоматическими сигнализирующими приборами.

10.6. В помещениях, где возможно выделение в рабочую зону взрывопожароопасных газов или паров (участки спекания, приготовления защитных сред и т.п.), необходимо предусмотреть приборы автоматического контроля за содержанием взрывоопасных веществ. Сигнал опасности должен подаваться при повышении концентрации паров или газов до содержания, равного 20 % величины НКПВ.

10.7. Печи отжига или спекания в среде защитного газа (водород, эндогаз, экзогаз, диссоциированный аммиак и т.п.) должны быть оборудованы системой контроля за наличием факела дожигания газа, которая должна исключать самопроизвольный отрыв и погасание факела. Контроль за горением газа на свече должен быть автоматическим, сблокированным с системой подачи газа и аварийной вентиляцией.

При падении давления защитного газа должна быть предусмотрена автоматическая подача в установку инертного газа. Необходимо предусмотреть также возможность подачи инертного газа через задвижку ручного пуска.

10.8. Экзотермические установки должны быть укомплектованы в соответствии c РТМ ОНН.689.02-75 [38], следующими предохранительными и блокирующими устройствами:

устройствами контроля давления исходного газа, сигнализации и падения давления и отключения подачи газа в аварийных ситуациях;

устройствами контроля и регулирования температуры в рабочем пространстве камеры сжигания, газогенераторах с газовым нагревом и других аппаратах, где используются горелочные устройства;

устройством для контроля подачи воды в камеры сжигания с водяным охлаждением;

системами блокировки, обеспечивающими прекращение подачи исходного газа в установку при: недопустимом отклонении давления исходного горючего газа от заданного; падении давления воздуха ниже установленного предела; прекращении подачи охлаждающей воды; понижении температуры в рабочем пространстве камеры сжигания в газогенераторах ниже допустимого предела.

10.9. Эндотермические установки должны быть укомплектованы в соответствии c РТМ ОНН.689.02-75 [38] следующими предохранительными и блокирующими устройствами:

устройствами контроля давления газа и сигнализации о падении давления исходного газа;

устройствами, обеспечивающими в аварийных ситуациях прекращение подачи исходного газа;

огнепреградителем на трубопроводе подачи газовоздушной смеси к эндогенератору для предотвращения попадания пламени к газодувке при проскоке его в трубопроводе;

сигнализацией о понижении температуры в эндогенераторе ниже допустимой;

системой блокировки, обеспечивающей прекращение подачи исходного газа и отключение газодувки при: недопустимом отклонении давления исходного газа от заданного; закрытии пламенной заслонки; остановке электродвигателя газодувки;

системой блокировки, отключающей нагревательные элементы эндогенератора при повышении их температуры выше заданной.

Блокировки установки должны сопровождаться световой и звуковой сигнализацией.

10.10. При использовании для приготовления защитных атмосфер жидкого аммиака и пропан-бутановых смесей выполнять требования к их хранению и транспортированию, обусловленные «Правилами безопасности в газовом хозяйстве» [34] и «Правилами устройства и безопасной эксплуатации сосудов, работающих под давлением» [39]. Требования к качеству аммиака жидкого технического регламентируются ГОСТом 6221-82 [40].

10.11. Емкости для ЛВЖ и ГЖ, устанавливаемые на производственных участках, должны быть закрытого исполнения.

10.12. Для просева цинка стеариновокислого и серы технической следует использовать латунные сита.

10.13. Защита от статического электричества и искрозащита производственного оборудования, резервуаров, трубопроводов, сливно-наливных устройств и другого оборудования как стационарного, так и переносного, связанного с переработкой или перемещением бензина, спирта, серы, шихтовых смесей и возникновением при этом статического электричества, должна быть выполнена в соответствии с «Правилами защиты от статического электричества в производствах химической промышленности», требованиями ГОСТ 12.1.018-79 [41] и «Правил устройства электроустановок ПУЭ-76» [16].

10.14. Инструмент, применяемый на операциях, связанных с использованием серы технической, цинка стеариновокислого, должен быть изготовлен из искробезопасных материалов или иметь специальное покрытие, обеспечивающее искробезопасность.

Пожарная безопасность

10.15. Огнестойкость зданий, сооружений и конструкций, противопожарные преграды, пути эвакуации людей при взрыве и пожаре должны отвечать противопожарным нормам и требованиям СНиП II-2-80 [42], а также требованиям «Типовых правил пожарной безопасности для промышленных предприятий».

10.16. Технологические процессы должны быть организованы таким образом, чтобы обеспечить пожарную безопасность на всех стадиях производства и безопасные условия работы в соответствии с требованиями ГОСТ 12.1.004-76 [30].

10.17. Производственные и вспомогательные здания, а также склады должны быть обеспечены противопожарным водопроводом, первичными средствами тушения пожаров и пожарным инвентарем. Производственные и складские помещения подлежат защите автоматическими средствами тушения и извещения о пожаре в соответствии с утвержденными «Перечнями». Количество этих средств и их размещение должно соответствовать действующим утвержденным нормам. Средства и способы тушения пожаров должны определяться технологами в зависимости от технологического процесса и пожарной опасности обращающихся веществ и материалов.

Проектирование систем пожаротушения должно выполняться, как правило, специализированными организациями.

10.17.1. В качестве средств пожаротушения на складах и участках смесеприготовления при загорании порошков или их смесей могут применяться тонкораспыленная вода со смачивателями (сульфонаты, сульфополы), воздушно-механическая пена (пенообразователь ПО и др.). Для объемного тушения (в бункерах или других полостях) следует применять газовые огнегасительные составы.

10.17.2. Для тушения горящих разлитых жидкостей и масел на участках маслопропитки должны применяться высокократная воздушно-механическая или азото-механическая пена.

10.18. Для тушения пожара на трактах подачи газа для отрыва пламени необходимо предусмотреть подачу сильных струй воды, пара, инертного газа или сжатого воздуха с последующим заполнением газопровода инертным газом или паром. Средства пожаротушения должны храниться вблизи рабочих мест.

10.19. Должны быть предусмотрены устройства, обеспечивающие по окончании тушения горящего газа прекращение выхода газа в атмосферу во избежание загазованности помещения и создания взрывоопасной газо-воздушной смеси.

10.20. Взрывопожароопасные помещения должны быть оборудованы датчиками автоматической пожарной сигнализации.

Автоматические пожарные извещатели должны быть сблокированы с пусковыми устройствами вентиляционных и аспирационных установок, в том числе с аварийной вентиляцией, в соответствии с планом ликвидации аварийной ситуации. При этом следует обеспечить возможность дистанционного ручного выключения и включения вентиляционных установок и перекрытия вентиляционных каналов горящих помещений из безопасных мест независимо от их автоматического отключения.

10.21. При устройстве воздушно-пенного и газового тушения схема дистанционного и ручного выключения систем вентиляции должна обеспечивать возможность выключения систем приточной вентиляции независимо от работы вытяжной вентиляции.

10.22. При установке высотных механизированных складов (ВМС) необходимо соблюдать требования, разработанные ВНИИПО МВД СССР:

расстояние между стеллажами в ВМС должно быть не менее 0,8 м;

через каждые 40 м в стеллажах должны предусматриваться поперечные проходы шириной не менее 1,5 м и высотой не менее 2 м с выходами непосредственно наружу или соседнее помещение;

над проходами между стеллажами должны предусматриваться люки дымоудаления;

стеллажи через каждые 3 - 4 м по высоте должны иметь экраны из несгораемых материалов с пределом огнестойкости не менее 0,25 ч, которые должны перекрывать всю горизонтальную проекцию стеллажа;

ВМС должны оборудоваться автоматическими установками пожаротушения (по площади стеллажей).

10.23. Пожарную технику следует устанавливать в безопасных местах с учетом возможных направлений действия ударной волны взрыва, распространения паров и газов, растекания горючих жидкостей.

10.24. Все здания и сооружения должны иметь молниезащиту в соответствии с «Инструкцией по проектированию устройств молниезащиты зданий и сооружений», СН 305-77 [43].

Требования к отоплению

10.25. Выбор параметров воздуха рабочей зоны производственных помещений следует производить в соответствии с ГОСТ 12.1.005-76 [5] в зависимости от принятой категории тяжести выполняемых работ и сезонов года.

10.26. Проектирование систем отопления, дежурного отопления, выбор нагревательных приборов, теплоносителя и его параметров следует производить в соответствии со СНиП II-33-75* [44] в зависимости от категории производств по взрывной, взрывопожарной и пожарной опасности.

10.27. Контроль, автоматическое регулирование и блокировку систем отопления следует предусматривать в соответствии со СНиП II-33-75* [44].

Требования к вентиляции и пылеочистке организованных выбросов

10.28. Предельно допустимые концентрации вредных веществ (паров, газов и пыли) в воздухе рабочей зоны производственных помещений следует принимать в соответствии с ГОСТ 12.1.005-76 [26].

10.29. Предельно допустимые концентрации вредных веществ в атмосферном воздухе населенных пунктов следует принимать в соответствии с разд. 9 СН 245-71 [45] и соответствующими дополнительными перечнями, утвержденными Минздравом СССР.

10.30. При проектировании систем вентиляции производственных помещений следует руководствоваться СНиП II-33-75* [44].

10.31. Рекомендации по устройству общеобменной и местной вентиляции приведены в Приложении 4.

10.32. Производительность местных отсосов следует определять с учетом рекомендаций, приведенных в Приложении 5.

10.33. Ориентировочные величины концентрации вредных веществ, выделяющихся от технологического оборудования, и дисперсный состав пыли приведены в Приложении 6.

10.34. Физико-химические характеристики аспирируемых взвесей твердых частиц, необходимые для определения величины скорости транспортирования взвеси материала и выбора схем пылеочистки должны включать: вещественный состав, коэффициент геометрической формы частиц, массовую плотность, слипаемость, слеживаемость, гигроскопичность, дисперсный состав, коэффициент трения пыли в движении о стальное днище, угол естественного откоса, абразивность, удельное электрическое сопротивление, агрессивность пылей и газов, влагосодержание аспирируемого газа, характеристики горючести и взрываемости (НКПВ, величины температуры воспламенения и самовоспламенения взвеси и отложений пыли, максимальное давление взрыва, максимальную скорость нарастания давления взрыва).

Перечисленные характеристики следует определять по справочным данным, причем характеристики взрывопожароопасности - по данным, опубликованным не ранее 1966 г. В отсутствие опубликованных данных их должна представить организация-заказчик проекта.

10.35. При аспирации невзрывоопасных пылей, имеющих одинаковые физико-химические свойства, рекомендуется применять коллекторные системы.

10.36. Воздуховоды аспирационных систем следует прокладывать, как правило, вертикально или наклонно под углом к горизонтали не менее 50°.

10.37. Скорость движения воздуха в воздуховодах следует принимать в соответствии с «Указаниями» [56].

10.38. Вентиляционное оборудование, изделия и материалы, применяемые для систем аспирации, должны соответствовать требованиям СНиП II-33-75* [44] и разд. 8 «Указаний» [56].

10.39. Каналы следует выполнять из алюминия, если по ним перемещаются газы и газовзвеси, способные образовывать взрывоопасные смеси.

10.40. В аспирационных системах, удаляющих воздух со взвесью горючих материалов, установка задвижек, шиберов и других устройств для регулирования систем не допускается.

Для регулирования расхода аспирируемого воздуха и разбавления концентрации горючих примесей до требуемого безопасного уровня следует применять, как правило, регулируемые воздухоприемники в виде эжекционных аспирационных отсосов в соответствии с «Указаниями» [56].

10.41. Систему пылеочистки следует проектировать в зависимости от физико-химических свойств аспирируемых взвесей, их объемов (см. п. 10.33) и исходя из условия обеспечения ПДК вредных веществ в зоне жилой застройки в соответствии с требованиями СН 245-71 [45] и «Предельно допустимых концентраций загрязняющих веществ в атмосферном воздухе населенных мест» [36].

10.42. При выборе очистных аппаратов предпочтение следует отдавать сухому способу очистки аспирационного воздуха.

В случае аспирации пылей веществ (например, ферромарганца, алюминия и т.п.), которые при контакте с водой образуют горючие взрывоопасные или токсичные газы, применение мокрого способа очистки не допускается.

10.43. В помещениях с обращающимися взрывопожароопасными веществами должна быть предусмотрена аварийная вентиляция, запроектированная в соответствии с требованиями СНиП II-33-75* [44].

10.44. Включение аварийной вентиляции должно производиться автоматически при достижении в помещении концентрации взрывоопасных газов или паров, составляющей 20 % величины нижнего концентрационного предела взрываемости. Контроль концентрации взрывоопасных паров или газов должен производиться автоматическими газоанализаторами.

10.45. При выборе мокрого способа очистки в задании на разработку раздела водоснабжения и канализации необходимо указывать физико-химические свойства пылей, обращающихся материалов в соответствии с п. 10.33.

При склонности пылей к образованию плотных осадков должны быть предусмотрены меры, предотвращающие образование цементирующихся шламовых отложений.

10.46. Аспирационные системы, предусматриваемые для удаления взрывоопасных газов, паров и пыли, должны быть оборудованы устройствами по разгрузке давления взрыва в соответствии с пунктом 9.13.

10.47. Контроль, автоматическое регулирование, блокировку, управление и диспетчеризацию следует предусматривать в соответствии со СНиП II-33-75* [44].

10.48. В помещениях с обращающимися порошкообразными материалами и в соответствующих складских помещениях должна быть предусмотрена уборка пыли. Выбор способа пылеуборки необходимо производить с учетом физико-химических свойств выделяющихся в помещение пылей.

10.49. При проектировании систем отопления и вентиляции следует предусматривать использование вторичных энергетических ресурсов (ВЭР), целесообразность использования которых должна быть обоснована технико-экономическим расчетом.

Проект утилизации тепла удаляемого воздуха следует выполнять в соответствии со СНиП II-33-75* [44] и руководствоваться типовыми проектными решениями ГПИ Сантехпроект «Системы утилизации тепла в теплоутилизаторах типа «вода-воздух» и «Рекомендации по проектированию систем утилизации тепла удаляемого воздуха в теплоутилизаторах типа «воздух-вода».

Требованию к водоснабжению и канализации

10.50. Проектирование внутреннего водопровода, канализации и водостока следует производить в соответствии со СНиП II-30-76 [74] и другими нормативными документами, утвержденными или согласованными Госстроем СССР.

Вода, потребляемая цехами порошковой металлургии на технологические процессы, используется на охлаждение оборудования.

Водоснабжение осуществляется раздельными сетями:

категория I - для обеспечения питьевых нужд «вода питьевая» ГОСТ 2874-82 [46];

категория II - вода с ограничением по коррозийно-накипным параметрам (для охлаждения оборудования);

категория III - умягченная вода с жесткостью не выше 2,5 мг-экв/л (для охлаждения машинных преобразователей).

При использовании воды II и III категорий должно быть предусмотрено оборотное водоснабжение.

10.51. Качество воды для охлаждения газоприготовительных установок должно соответствовать следующим требованиям: жесткость не более 3 мг-экв/л, количество взвешенных веществ не более 5 мг/л, фактор РН от 5 до 7,5; температура от +5° до +20 °С, давление от 1,5 до 4 МПа, остальные показатели - по ГОСТ 2874-73 [46].

10.52. Для водообеспечения установок мокрого пылеулавливания следует проектировать самостоятельную систему оборотного водоснабжения грязного цикла.

10.52.1. При применении мокрой очистки аспирируемого воздуха и использовании мокрой пылеуборки со смывом в канализацию при склонности удаляемых пылей к образованию плотных осадков должны быть предусмотрены меры по предотвращению образования цементирующих шламовых отложений.

10.53. Проектирование шламопроводов, насосных установок и очистных сооружений следует производить в соответствии с «Рекомендациями по проектированию оборотного водоснабжения систем аспирации и мокрой очистки газов литейных цехов», АЗ-729, Союзсантехпроект, Гипросантехпром [47]. Для ускоренного осаждения взвешенных частиц целесообразно вводить коагулянты, содержащие:

FeSO4 - 110 мг/л;

CaO - 60 мг/л

ПАА - 1 мг/л (полиакриламид).

Содержание взвешенных частиц в шламовых стоках - 5 ÷ 15 г/л.

Требования к освещению

10.54. Требования к освещению рабочей поверхности в производственных помещениях приведены в таблице 32.

Таблица 32

Цех, участок, помещение

Характеристика фона

Разряд и подразряд зрительных работ

Система комбинированного освещения (общее + местное)

Система общего освещения

Цех порошковой металлургии

Независимо от характеристики фона и контраста объекта с фоном

Уп

Уп

Кладовые

Средний

Уб

Уб

Комната мастера

Средний

Уб

Уб

Примечания. 1. Нормы освещенности следует повышать на одну ступень при работах, на которых зрительная работа выполняется непрерывно более половины рабочего дня.

2. Фон - поверхность, прилегающая непосредственно к объекту различия, на котором он рассматривается. Фон считается средним при коэффициенте отражения поверхности от 0,2 до 0,4 [73].

Защита от электрических полей

10.55. Для защиты от вредного воздействия электрических полей электротермических установок должны быть выполнены требования ГОСТ 12.2.007.10-75 [48].

Защита от тепловых излучений и избыточного тепла

10.56. Для защиты производственных рабочих от вредных воздействий тепловых излучений и избыточного тепла должны использоваться заземленные водоохлаждаемые кожухи и экраны различных конструкций, вентиляторы, а также индивидуальные средства защиты.

Защита от шума и вибрации

10.57. Защиту от шума следует выполнять в соответствии с требованиями ГОСТ 12.1.003-83 [28]. Допустимый уровень звукового давления и уровней звука в помещениях на рабочих местах цехов не должен превышать значений, указанных в ГОСТ 12.1.003-33 [28].

10.58. Защиту от шума строительно-акустическими методами следует предусматривать в соответствии с требованиями СНиП II-12-77 [49].

10.59. Проектирование фундаментов машин с динамическими нагрузками необходимо вести в соответствии со СНиП II-19-79 [50], и требованиями ГОСТ 17712-72 [51], ГОСТ 12.1.012-78 [29].

Требования к спецодежде

10.60. Для работающих в отделениях подготовки материалов, смесеприготовительном и прессования должны быть оборудованы помещения для обеспыливания спецодежды с учетом взрывопожароопасности обращающихся там материалов (сера, цинк стеариновокислый, ферросплавы) согласно СНиП II-92-76 [52].

Индивидуальные средства защиты и личная гигиена

10.61. Для всех работающих в производственных отделениях должно быть предусмотрено обеспечение средствами защиты, соответствующими выделяющимся на рабочих местах вредностям, спецодеждой и спецобувью.

10.62. Для выполнения газоопасных работ должны быть предусмотрены противогазы (фильтрующие и изолирующие). При этом должны быть соблюдены нормы, утверждаемые ГК СМ СССР по вопросам труда и заработной платы и Президиумом ВЦСПС.

10.63. В помещениях с пожаро- и взрывоопасными производствами должен быть предусмотрен аварийный запас средств защиты, противогазов фильтрующих и изолирующих.

Аварийный запас должен храниться в легко доступном месте.

10.64. На рабочих местах в помещениях химической и электролитической обработки изделий, где работают с кислотами и растворами солей и другими едкими жидкостями, должны быть предусмотрены средства для нейтрализации, ванны, умывальники и аварийные души для промывки пораженных участков тела.

10.65. Эргономические требования к организации рабочих мест и к производственному оборудованию должны быть увязаны с требованиями ГОСТ 12.2.032-78 [53] и ГОСТ 12.2.033-78 [54].

Перечень нормативных документов по безопасности труда

10.66. Нормативные документы межотраслевого значения.

10.66.1. Стандарты ССБТ и нормы по видам опасных и вредных производственных факторов приводятся в таблице 33.

Таблица 33

Наименование нормативного документа

Кем и когда утвержден

Место и год издания

ССБТ. Шум. Общие требования безопасности. ГОСТ 12.1.004-75

Госстандарт СССР, 1976 год

М., 1976

ССБТ. Пожарная безопасность. Общие требования. ГОСТ 12.1.004-76

Госстандарт СССР, 1976 год

М., 1976

ССБТ. Воздух рабочей зоны. Общие санитарно-гигиенические требования. ГОСТ 12.1.005-76

Госстандарт СССР, 1976 год

М., 1976

ССБТ. Вредные вещества. Классификация и общие требования безопасности. ГОСТ 12.1.007-76

Госстандарт СССР, 1976 год

М., 1976

ССБТ. Взрывоопасность. Общие требования. ГОСТ 12.1.010-76

Госстандарт СССР, 1976 год

М., 1976

ССБТ. Смеси взрывоопасные. Классификация и методы испытаний. ГОСТ 12.1.011-78

Госстандарт СССР, 1978 год

М., 1978

ССБТ. Вибрация. Общие требования безопасности. ГОСТ 12.1.012-78

Госстандарт СССР, 1978 год

М., 1978

ССБТ. Цвета сигнальные и знаки безопасности. ГОСТ 12.4.026-76

Госстандарт СССР, 1976 год

М., 1976

ССБТ. Опасные и вредные производственные факторы, классификация. ГОСТ 12.0.003-74 (ст. СЭВ 790-77)

Госстандарт СССР, 1974 год

М., 1974

10.66.2. Стандарты и другие нормативные документы, устанавливающие требования безопасности к производственному оборудованию (изделиям), приводятся в таблице 34.

Таблица 34

Наименование нормативного документа

Кем и когда утвержден

Место и год издания

ССБТ. Оборудование производственное. Общие требования безопасности. ГОСТ 12.2.003-74

Госстандарт СССР, 1974 год

М., 1975

Правила устройства электроустановок ПУЭ-76

Министерство энергетики и электрификации СССР, 1976 - 1977 годы

М., 1980

ССБТ. Рабочее место при выполнении работ сидя. Общие эргономические требования. ГОСТ 12.2.032-78

Госстандарт СССР, 1978 год

М., 1978

ССБТ. Рабочее место при выполнении работ стоя. Общие эргономические требования. ГОСТ 12.2.033-78

Госстандарт СССР, 1978 год

М., 1978

10.66.3. Стандарты ССБТ и другие нормативные документы, устанавливающие требования безопасности к производственным процессам, даны в таблице 35.

Таблица 35

Наименование нормативного документа

Кем и когда утвержден

Место и год издания

ССБТ. Процессы производственные. Общие требования безопасности. ГОСТ 12.3.002-75

Госстандарт СССР, 1975 год

М., 1975

ССБТ. Термическая обработка деталей. Общие требования безопасности. ГОСТ 12.3.004-75

Госстандарт СССР, 1975 год

М., 1975

ССБТ. Процессы перемещения грузов. Общие требования безопасности. ГОСТ 12.3.020-80

Госстандарт СССР, 1980 год

М., 1980

Правила устройства и безопасной эксплуатации грузоподъемных кранов

Госгортехнадзор СССР, 30.12.69 г.

М., 1981

Типовые правила пожарной безопасности для промышленных предприятий

ГУПО МВД СССР, 21.08.75 г.

М., 1976

Процессы перемещения грузов на предприятиях. Общие требования безопасности

ГОСТ 12.3.002-80

М., 1980

10.66.4. Строительные нормы и правила, применяемые при проектировании и эксплуатации объектов производственного назначения, приведены в таблице 36.

Таблица 36

Наименование нормативного документа

Кем и когда утвержден

Место и год издания

Производственные здания промышленных предприятий. Нормы проектирования. СНиП II-90-81

Госстрой СССР, 03.12.81 г.

 

Вспомогательные здания и помещения промышленных предприятий. Нормы проектирования. СНиП II-92-76

Госстрой СССР, 23.07.76 г.

М., 1977

Полы. Нормы проектирования. СНиП II.8-71

Госстрой СССР, 20.07.71 г.

М., 1972

Противопожарные нормы проектирования зданий и сооружений. СНиП 11-А5-70

Госстрой СССР, 1970 год

М., 1976

Санитарные нормы проектирования промышленных предприятий. СН 245-71

Госстрой СССР, 05.11.71 г.

М., 1972

Защита от шума. Нормы проектирования. СНиП 11-12-77

Госстрой СССР, 14.06.77 г.

М., 1978

Отопление, вентиляция и кондиционирование воздуха. Нормы проектирования. СНиП II-33-75

Госстрой СССР, 20.10.75 г.

М., 1976

Естественное и искусственное освещение. Нормы проектирования. СНиП II-4-79

Госстрой СССР, 1979 год

М., 1979

Указания по определению категории производства по взрывной, взрывопожарной и пожарной безопасности. СН 463-74

Госстрой СССР, 1970 год

М., 1972

Указания по проектированию цветовой отделки интерьеров производственных зданий промышленных предприятий. СН 181-70

Госстрой СССР, 1970 год

М., 1972

11. Нормы, регламентирующие защиту природной среды

Охрана водного бассейна

11.1. В цехах порошковой металлургии образуются следующие виды стоков:

категория «а» - отработанная нагретая вода I и II категорий, без специфических загрязнений;

категория «б» - отработанная нагретая вода I и II категорий, загрязненная маслами, взвесями;

категория «в» - нагретая вода III категории, умягченная.

Состав и концентрация загрязнений в сточных водах

Таблица 37

Показатели загрязненных сточных вод

Количественные показатели

Качественные показатели

Категория «а»

 

 

Температура, °С

25 - 30

Питьевая

Категория «б»

 

 

Температура, °С.

30 - 40

Техническая

Окалина и взвеси, г/л

1 - 6

 

Масла, мг/л

До 10

 

Категория «в»

 

 

Температура, °С

45 - 50

Специального приготовления

11.2. Охрана водных ресурсов, рациональное использование воды, ликвидация загрязнений водоемов сточными водами цехов порошковой металлургии осуществляется в соответствии с ГОСТ 17.1.1.01-77 [55], ГОСТ 1.1.02-77 [56]. При этом следует предусматривать следующие мероприятия:

Для стоков категории «а»: отработанная, нагретая до 25 - 30 °С в результате охлаждения оборудования вода охлаждения заключена в замкнутый оборотный цикл.

В случае использования воды категории «а» в оборотной системе при охлаждении на градирнях происходит испарение и накапливание солей. Поэтому по мере работы необходимо проводить продувку системы и обработку воды для предотвращения зарастания и коррозии трубопроводов и оборудования.

Для стоков категории «б»: отработанная, нагретая до 30 - 40 °С в результате охлаждения оборудования вода, загрязненная механическими примесями (окалиной, взвесями), маслами, очищается на очистных сооружениях, охлаждается на градирнях и вновь поступает для охлаждения оборудования, т.е. заключена в свой замкнутый оборотный цикл.

По мере накопления солей при испарении воды следует производить продувку системы и стабилизационную обработку воды.

Для восполнения потерь от испарения и продувки в системе оборотного водоснабжения этого цикла используется вода I категории и могут использоваться очищенные стоки категории «б».

Для стоков категории «в»: нагретая до 45 - 55 °С вода охлаждается в теплообменниках практически без потерь и вновь подается на охлаждение (при необходимости пополняется свежей умягченной водой).

Охрана воздушного бассейна

11.3. Технологические, вентиляционные выбросы цехов порошковой металлургии, классифицированные в соответствии с ГОСТ 17.2.1.01-76, перед их удалением в воздушный бассейн должны подвергаться эффективной очистке, обеспечивающей содержание вредных веществ в атмосферном воздухе не выше установленных санитарными нормами предельно допустимых концентраций в соответствии с ГОСТ 17.2.3.02-78 [57] и с СН 245-71 [45].

Следует предусматривать комплекс технических решений (включающих технологические, строительные и санитарно-технические), обеспечивающих соблюдение ПДК в зоне промплощадки и жилой застройки.

11.4. Транспортировка вне цеха исходных материалов, содержащих вредные вещества, должна производиться в герметичной таре.

Необходимо предусмотреть срочные меры по их сбору и упаковке материалов в случае аварийной ситуации, разгерметизации тары и загрязнения промышленной площадки предприятия.

11.5. Отходы производства цехов должны транспортироваться на соответствующие полигоны, земельный участок для которых отводится Исполкомами местных Советов депутатов трудящихся по согласованию с органами Министерства геологии СССР, учреждениями санитарно-эпидемиологической службы и бассейновыми инспекциями.

11.6. Суммарные потери компонентов шихты с выбросами в атмосферу не должны превышать 0,17 % от исходной массы обращающихся в технологическом процессе сыпучих материалов.

11.7. Доля неутилизируемых отходов, представляющих собой в основном задерживаемые аппаратами мокрой пылеочистки пылевидные фракции материалов, не должна превышать 0,34 % от всей массы обращающихся в технологическом процессе сыпучих материалов.

Размер санитарной защитной зоны

11.8. Цехи по производству изделий с использованием процессов порошковой металлургии относятся к металлургическому и машиностроительному производствам и в соответствии с СН 245-71 (раздел 8) [45] должны быть отнесены к классу V аналогично предприятиям соответственно по производству твердых сплавов и тугоплавких металлов при отсутствии цехов химической обработки руд и предприятиям металлообрабатывающей промышленности с термической обработкой без литейных.

12. Уровень механизации и автоматизации технологических процессов, выбор средств механизации и автоматизации. Удельный вес автоматизированного оборудования в общем количестве производственного оборудования

12.1. Уровень механизации и автоматизации производства определяется следующими основными показателями:

степенью механизации и автоматизации производственных процессов;

степенью охвата рабочих механизированным трудом.

Степень механизации и автоматизации технологических процессов характеризуется прежде всего удельным весом автоматизированного оборудования.

Автоматизированным оборудованием является:

полностью автоматизированное оборудование с автоматизированной загрузкой, выгрузкой и рабочим циклом;

полуавтоматизированное оборудование, где загрузка и выгрузка может осуществляться вручную, а рабочий цикл автоматический;

роботизированные комплексы, модули и т.д.;

гибкие автоматизированные комплексы (ГАК), гибкие автоматизированные участки (ГАУ), гибкие автоматизированные производства (ГАП) и т.д.

12.2. Удельный вес автоматизированного и роботизированного оборудования в общем количестве производственного оборудования в основном производстве должен быть не ниже 0,75 при мелкосерийном производстве, 0,85 - при серийном производстве и 0,9 - 0,95 - при крупносерийном и массовом производствах.

12.3. Для механизированного производства степень охвата рабочих механизированным трудом определяется отношением числа рабочих, выполняющих работу механизированным способом, к общему числу рабочих в данном цехе (участке и т.д.).

Степень охвата основных рабочих механизированным трудом при мелкосерийном производстве должна составлять не менее 80 %, при серийном производстве - не менее 90 %, при крупносерийном и массовом - не менее 95 %. Для вспомогательных рабочих степень охвата механизированным трудом должна быть не менее 70 %.

12.4. Средства механизации и автоматизации, рекомендуемые к применению в производстве изделий из металлических порошков, приведены в таблице 38.

Таблица 38

№ п/п

Технологические операции

Средства механизации и автоматизации

1

2

3

1

Приготовление шихты:

 

 

подача исходных материалов на распаковку

Роботы, подъемно-транспортные механизмы с захватами, рольганги

 

распаковка исходных материалов (металлических банок и бумажных мешков)

Установка для вскрытия банок, установка для распаковки мешков

 

удаление пустой тары

Установка для вскрытия банок, установка для распаковки мешков

 

хранение исходных материалов и шихты

Бункера, кюбеля, стеллажи

 

транспортировка исходных материалов и шихты

Механизированные и немеханизированные рельсовые тележки, безрельсовые машины, подвесные конвейеры, краны, электротельферы, ленточные конвейеры, транспорт, штабелеукладчик; элеваторы, шнековые транспортеры; монорельсовый транспорт, в том числе с автоматическим адресованием

 

дозировка исходных материалов в смесители

Весовые автоматические дозаторы

2

Формование:

 

 

подача шихты

Подача бункера с шихтой к кассете-питателю пресса по монорельсу с автоматическим адресованием.

Бункер с автоматической подачей шихты с пола в кассету-питатель пресса

 

засыпка порошка в пресс-форму

Объемные дозаторы (кассеты)

 

удаление заготовок из пресса

Механизмы, встроенные в пресс-блок (при конструктивной возможности), лотковые сбрасыватели, манипуляторы, роботы

 

межоперационная транспортировка изделий в другие отделения

Подвесные и напольные конвейеры, рельсовые и безрельсовые машины, подъемно-транспортные механизмы; моно рельсовый транспорт, в том числе с автоматическим адресованием

 

сборка и отладка пресс-блоков

Иммитаторы настройки пресс-блоков вне пресса

3

Спекание, термообработка, нагрев под штамповку, пирометрическое оксидирование:

 

 

загрузка печи

Вибробункеры, кассеты, толкатели, бункерные питатели, вертикальные конвейеры, щелевые и кареточные магазины, гравитационные укладчики, роботы, манипуляторы

4

разгрузка печи

Толкатели, подвесные разгрузочные приспособления, кантователи, безрельсовые разгрузочные машины, боковые выталкиватели, роботы, манипуляторы, конвейеры

 

Калибрование:

 

 

загрузка заготовок в пресс-форму, ориентация заготовки

Вибробункеры, манипуляторы, ориентирующие устройства, роботы

 

удаление заготовок из пресса

Механизмы, встроенные в пресс-блок; сбрасыватели, манипуляторы, роботы

5

Штамповка:

 

 

подача заготовки в штамп пресса, ориентация ее в штампе

Механические руки, манипуляторы, ориентаторы, роботы

 

удаление отштампованных заготовок

Выталкивателя, механизмы, встроенные в пресс-блок, совковые и лотковые сбрасыватели, роботы

12.5. При проектировании цехов (участков) изготовления деталей методом порошковой металлургии следует предусматривать максимальную механизацию и автоматизацию производственных процессов, применительно к заданному объему производства.

Рекомендуется использовать три основные структурные схемы автоматизированной транспортно-складской системы (АТСС) с ориентацией на создание ГСП (ГОСТ 26228-84 «Системы производственные гибкие» [58]):

на базе автоматизированных складов, приемно-передающих и перегрузочных устройств, обслуживающих технологическое оборудование;

на базе подвесных и других конвейеров с автоматическим адресованием с использованием встроенных перегрузочных устройств и промышленных роботов;

на базе робокары, обеспечивающей связь накопительных устройств с загрузочными системами технологического оборудования.

Подачу в цех (на склад) исходных материалов (порошков) следует предусматривать в специальной таре (закрытого типа) автомобильным или железнодорожным транспортом.

Хранение порошков следует осуществлять на складах, оборудованных штабелерами и стеллажами.

Передачу исходных материалов в смесеприготовительный участок в зависимости от объема и характера производства следует производить при помощи непрерывного или периодического транспорта (ленточных конвейеров, монорельсовых дорог, в т.ч. с автоматическим адресованием, подвесными, однобалочными кранами, напольными конвейерами и т.п.).

Технологическое оборудование для переработки материалов, изготовления заготовок и их обработки, а также оборудование для обработки деталей на финишных операциях должно быть механизированным и автоматизированным и соответствовать объему и характеру производства деталей, изготавливаемых методом порошковой металлургии. Увеличение удельного веса автоматизированного оборудования в общем количестве производственного оборудования является одним из основных условий создания комплексной системы автоматизированного производства и достижения тем самым высоких технико-экономических показателей.

Межоперационную транспортировку деталей в специальной таре следует выполнять при помощи подвесных этажерочных конвейеров, монорельсовых дорог, в том числе с автоматическим адресованием, или напольного транспорта.

Хранение оснастки, полуфабрикатов и готовых деталей следует производить на механизированных складах, оборудованных штабелерами.

Следует учитывать, что механизация и автоматизация технологических процессов должна быть направлена на частичную или полную замену ручного труда человека машиной, на передачу машинам и приборам функций управления, ранее выполнявшихся человеком.

12.6. Комплексная система автоматизации производства должна строиться на базе широкого использования автоматизированного оборудования и станков с ЧПУ, средств вычислительной техники, робототехники, средств контроля и диагностики технологических процессов и оборудования.

Комплексная система управления производством должна включать в себя как отдельные гибкие автоматизированные производственные модули, комплексы, линии, участки, цехи, так и автоматизированную систему управления предприятиям (АСУП) и технологическими процессами (АСУТП), автоматизированную систему технологической подготовки производства, систему автоматизированного проектирования (САПР), автоматизированные транспортно-складские системы (АТСС), автоматизированные системы инструментального обслуживания, системы автоматизированного контроля оборудования.

При создании гибких автоматизированных производств следует руководствоваться «Положением о создании, изготовлении, комплектной поставке, внедрении и техническом обслуживании гибких автоматизированных производственных систем и модулей», утвержденным постановлением Госплана СССР, Госснаба СССР и ГКНТ от 31.01.85 г. № 25/13/46, а также ГОСТом 26228-84 [59].

12.7. Система управления гибким автоматизированным производством должна быть двухуровневой интегрированной системой c решением на верхнем уровне управления задач технической подготовки производства, технико-экономического планирования, оперативного управления, учета и диспетчирования хода производства, а на нижнем уровне управления - решение задач непосредственного управления технологическим оборудованием, обеспечение контроля и надежности его функционирования.

12.8. Целесообразность применения средств вычислительной техники для автоматизации решения задач по изготовлению деталей методом порошковой металлургии должна быть экономически обоснована и определена c учетом правил проведения работ по выбору объекта, содержащихся в ГОСТ 14.403-73 [23].

Автоматизированная система управления предприятием должна разрабатываться в соответствии с «Общеотраслевыми руководящими методическими материалами по созданию АСУП» [60], а также ГОСТами, регламентирующими состав, содержание и порядок разработки АСУП, ГОСТ 20912-75 [61] и системой технической документации [62].

Основные положения автоматизированной системы управления технологическими процессами (АСУ ТП) изготовления деталей методом порошковой металлургии следует разрабатывать в соответствии с ГОСТ 16084-75 [63] и «Общеотраслевыми руководящими методическими материалами по созданию АСУТП» [63].

Разработку автоматизированной системы управления технологическими процессами следует выполнять в соответствии с этапами, содержанием и последовательностью работ, изложенных в ГОСТ 14.313-74 [64].

При создании АСУ ТП должна быть определена конкретная цель ее функционирования и назначение в общей структуре управления промышленным предприятием.

АСУ ТП должна включать:

техническое, программное, информационное и организационное обеспечение.

Общие технические требования следует составлять с учетом ГОСТ 17195-76 [65].

Технические требования должны включать требования:

АСУ ТП в целом;

к техническому обеспечению АСУ ТП;

к программному обеспечению;

к информационному обеспечению;

к организационному обеспечению.

13. Нормы использования и хранения отходов и попутных материалов

В цехах порошковой металлургии имеют место следующие виды возвратных отходов:

просыпи;

сметки;

бой прессовых заготовок;

наладочные.

В зависимости от массы и сложности деталей возвратные отходы по цеху составляют 4 - 6 %.

Возвратные отходы используются для производства неответственных малонагруженных деталей антифрикционного и конструкционного назначений, например, товаров народного потребления.

Технологический процесс изготовления таких деталей аналогичен технологическому процессу основного производства и поэтому для осуществления его, как правило, не требуется дополнительного оборудования.

Хранение отходов и попутных материалов должно осуществляться на специально отведенных для них участках цеховых складов.

14. Нормы утилизации и выброса вредных отходов

Утилизация и снижение выбросов вредных веществ при производстве изделий из металлических порошков должны осуществляться по двум направлениям:

сбор отходов для использования их в изготовлении малоответственных изделий, например, некоторых видов товаров народного потребления;

сбор отходов для предотвращения загрязнения воздушного и водного бассейнов.

Сбор отходов для повторного использования производится, как правило, механическим способом.

Сбор отходов для предотвращения загрязнения окружающей среды осуществляется с помощью специального оборудования - утилизаторов, снижающих вредные выбросы до допустимых по нормам, характеризуемым различными показателями, величина которых подробно оговорена в разделах 9 и 13 настоящих норм.

15. Основные технико-экономические показатели

Основные технико-экономические показатели (для предварительных укрупненных расчетов) приведены в таблице 39.

Таблица 39

№ п/п

Наименование показателя

Единица измерения

Значение показателя

1

Станкоемкость на 1 т

станко-ч

Рассчитывается по ниже приведенной методике и сравнивается с проектом

 

Трудоемкость на 1 т

чел.-ч

-"-

2

Выпуск в год на 1 м2 общей площади цеха

т

Таблица 40

3

Выпуск в год:

 

 

 

на 1 рабочего

т

Таблица 40

 

на 1 работающего

т

Таблица 40

Станкоемкость и технологическая трудоемкость на 1 т изделия

Станкоемкость на 1 т изделий представляет собой затраты нормируемого времени на изготовление тонны изделий по всем станочным операциям, предусмотренным технологическим процессом.

                                                           (14)

где Ст - станкоемкость на 1 т, станко-ч;

С - станкоемкость на 1 т на операции i-го вида, станко-ч;

n - количество видов операций.

Трудоемкость на 1 т изделий представляет собой сумму трудоемкости на 1 т всех операций, входящих в технологические процессы, т.е.

                                                           (15)

где Тт - технологическая трудоемкость на 1 т изделий, чел.-ч;

Ттi - трудоемкость на 1 т на i-й операции, чел-ч;

n - количество операций, входящих в технологический процесс; определяется как соотношение станкоемкости на 1 т на этой операции (Стi) к коэффициенту многостаночного обслуживания оборудования, задействованного на той же операции.

Зависимость станкоемкости и технологической трудоемкости на 1 т изделий от производительности оборудования или массы изделий для основных технологических операций представлено на графиках 1 - 4.

Ориентировочные технико-экономические показатели приведены в таблице 40.

Таблица 40

Средняя масса изделий, кг

Выпуск в год на 1 рабочего, т

Выпуск в год на 1 работающего, т

Выпуск в год на 1 м2 общей площади, т

До 0,05

9 - 11

7 - 8

0,2 - 0,22

0,05 - 0,10

12 - 20

9 - 15

0,23 - 0,3

0,11 - 0,30

21 - 28

16 - 22

0,31 - 0,45

0,31 - 0,65

28

> 22

0,46 - 0,6

Свыше 0,65

-

-

0,6

Примечания к таблице 40: 1. Выпуск в год приведен для среднесерийного производства при годовом выпуске 1000 - 5000 т при наиболее типичном соотношении технологических схем:

однократное прессование (конструкционные материалы) - 40 %;

двойное прессование (конструкционные материалы) - 10 %;

штамповка (конструкционные материалы) - 20 %.

2. Для определения данных для мелкосерийного производства следует применить коэффициент 0,8, для крупносерийного и массового производства соответственно - 1,15.

Определение станкоемкости и технологической трудоемкости на 1 т для операций подготовки и приготовления шихты, спекания, маслопропитки, термообработки и др.

График 1

Определение станкоемкости и технологической трудоемкости на 1 т для операции прессования

График 2

Определение станкоемкости и технологической трудоемкости на 1 т для операции калибровки

График 3

Определение станкоемкости и технологической трудоемкости на 1 т для операции штамповки

График 4

ПРИЛОЖЕНИЯ

Приложение 1

Перечень порошковых материалов, применяемых для изготовления изделий из металлических порошков

Таблица 41

Материал

Государственный стандарт, технические условия

Марка

Порошок железный

ГОСТ 9849-74

ПЖ1М2

ПЖ2М2

Порошок медный

ГОСТ 4960-75

ПМС-1

ПМС-2

Порошок графитовый

ГОСТ 4404-78

КТА КТБ

Сера молотая

ГОСТ 127-76

-

Стеарат цинка

СТУ 30-9142-63

 

Порошок оловянный

ГОСТ 9723-73

ПО ПО-1

Порошок никелевый

ГОСТ 9722-79

ПНК-1

ПНЗ-1

Порошок вольфрамовый

ТУ-002-62

Г

ВГ

Хром металлический

ГОСТ 5905-79

Х0

Кремний

ГОСТ 2169-69

Кр0

Порошки высоколегированные сталей и сплавов

ГОСТ 13084-67

ПХ16Н2

ПХ18Н15

ПХ23Н18

П18Н9Т

ПХ30

ПХ18Н12М2Т

ПХ20Н80

Приложение 2

Нормы расхода основных материалов. Коэффициенты расхода порошка при изготовлении изделий методом порошковой металлургии

Расчет расхода порошка определяется по формуле

Q = Р ∙ К ∙ m,                                                       (16)

где Q - расход порошка данного вида, т;

P - годовая программа заготовок изделий из металлических порошков, т;

К - коэффициент, учитывающий потери всех видов в зависимости от типа изделий;

m - доля порошка данного вида в общем объеме.

Коэффициент К в формуле (16) учитывает потери (Кп) и отходы (Ко) порошков по всем операциям технологического потока и рассчитывается по формуле (17)

                                      (17)

где Кп - коэффициент, учитывающий потери порошка при выполнении отдельных технологических операций, используемые для изготовления неответственных изделий (например, ширпотреба);

Ко - коэффициент, учитывающий отходы порошка, возвращаемые на базы вторсырья, и безвозвратные потери массы при спекании.

Числовые значения коэффициентов Кп и Ко приведены в таблицах 42 и 43.

Таблица 42

Коэффициенты расхода порошка, учитывающие потери при изготовлении порошковых изделий на основе железа

Наименование операции технологического процесса

Одно, двухкомпонентный состав материала

Многокомпонентный состав материала

Кп

Ко

Кп

Ко

1

2

3

4

5

Довосстановление порошка (по необходимости)

1,003

1,004

1,004

1,004

Размол порошка

1,002

1,003

1,002

1,003

Просев порошка

1,005

1,003

1,006

1,0035

Приготовление шихты

1,006

1,003

1,0065

1,0035

Однократное прессование

1,03 (1,04)

1,004 (1,005)

1,03 (1,04)

1,004 (1,005)

Двухкратное прессование

I прессование

1,03 (1,035)

1,004 (1,005)

1,03 (1,025)

1,004 (1,005)

 

II прессование

1,005

1,005 (1,001)

 

1,005 (1,01)

Спекание

 

1,02 (1,03)

 

1,02 (1,025)

Спекание

I прессование

 

1,015 (1,02)

 

1,005 (1,007)

 

II прессование

 

1,005 (1,007)

 

1,02 (1,025)

Калибрование

 

1,015 (1,02)

 

1,01 (1,015)

Термообработка

 

1,005

 

1,005

Нагрев и горячая штамповка

 

1,01 (1,015)

 

1,015 (1,02)

Виброгалтовка

 

1,005

 

1,005

Контроль качества

1,003

1,006

1,003

1,008

Примечание. Данные, приведенные в скобках, относятся к изделиям сложной формы

Таблица 43

Коэффициент потерь при изготовлении порошковых изделий на основе цветных металлов

Наименование операции технологического процесса

Кп

Ко

Приготовление шихты

1,0030

1,0080

Прессование

1,0400

1,0130

Спекание

1,0010

1,0050

Калибрование

1,0030

1,0010

Виброгалтовка

1,0040

1,0030

Итого:

1,0510

1,0300

Приложение 3

Характеристики взрывопожароопасности

Таблица 44

Вещество (материал)

Концентрационные пределы взрываемости

Давление взрыва, Рв, кПа

Скорость нарастания давления взрыва, кПа/с

средняя Vр (ср.)

максимальная Vр (макс.)

1

2

3

4

5

Водород

4 - 75 % об.

650*

64000*

70000*

Спирт этиловый

3,6 - 19 % об.

620*

10900*

16000*

Спирт метиловый

6,34 - 7 % об.

630*

10550*

21300*

Спирт изопропиловый

2 - 12 % об.

590*

8300*

12300*

Бензин

1,2 - 6,9 % об.

 

 

 

Аммиак

15 - 28 % об.

600*

-

-

Диссоциированный аммиак с содержанием водорода:

 

 

 

 

75 %

5,4 - 73,1

-

-

-

40 %

10,6 - 75,1

-

-

-

20 %

21,5 - 76,1

-

-

-

Эндогаз (40 % водорода)

8,8 - 71,8 %

-

-

-

Эндогаз (20 % водорода)

16,2 - 69,2 %

-

-

-

Порошок серы ГОСТ 127-76

НКПВ 10,7 г/м3

350**

10280**

21300**

Порошок цинка стеариновокислый ГОСТ ТУ 6-09-4262-76

НКПВ 13 г/м3

360**

4300**

6500**

Порошок железа восстановленного ГОСТ 9849-74 товарный, весьма мелкий

НКПВ 92 г/м3

200**

1100**

2200**

Порошок железа восстановленного ГОСТ 9849-74 средний (ПЖС)

Не взрывается

 

 

 

Порошок железный, отсев, фракции мельче 50 мкм

НКПВ 84 г/м3

300**

1300**

2600**

Смесь: порошок железа (фракции мельче 50 мкм) - 90 %, сера - 10 %

НКПВ 30 г/м3

300**

6200**

10800**

Смесь: порошок железа (фракции мельче 50 мкм) - 90 %, цинк стеариновокислый - 10 %

НКПВ 42 г/м3

300**

3100**

5000**

Смесь: порошок железа весьма мелкий - 90 %, сера - 10 %

НКПВ 37 г/м3

250**

1900**

3000**

Смесь: порошок железа весьма мелкий - 90 %, цинк стеариновокислый - 10 %

НКПВ 48 г/м3

230**

1500**

2500**

Смесь: порошок железа товарный, средний по крупности - 90 %, цинк стеариновокислый - 10 %

НКПВ 56 г/м3

150**

1500**

3000**

Смесь: порошок железа товарный, средний по крупности - 90 %, сера - 10 %

НКПВ 40 г/м3

200**

1700**

3000**

Смесь: порошок железа товарный средний крупности - 95 %, сера - 5 %

НКПВ 53 г/м3

130*

1500*

2400*

Смесь: порошок железа товарный средний по крупности - 95 %, цинк стеариновокислый - 5 %

НКПВ 72 г/м3

105**

900**

1100**

Смесь: порошок железа (фракции мельче 50 мкм) - 95 %, цинк стеариновокислый - 5 %

НКПВ 54 г/м3

150

1400

2900

Смесь: порошок железа весьма мелкий - 95 %, сера - 5 %

НКПВ 56 г/м3

130

1300

2200

Смесь: порошок железа весьма мелкий - 99 %, цинк стеариновокислый - 1 %

НКПВ 92 г/м3

80

900

1100

Смесь: порошок железа весьма мелкий - 99 %, сера - 1 %

НКПВ 90 г/м3

89

1000

1100

Смесь: порошок меди марки ПМС-1 - 90 %, цинк стеариновокислый - 10 %

НКПВ 500 г/м3

150

300

400

Смесь: порошок меди марки ПМС-2 - 90 %, цинк стеариновокислый - 10 %

НКПВ 390 г/м3

150

380

430

Порошок графита

Не взрывается

 

 

 

Порошок меди марки ПМС-1

Не взрывается

 

 

 

Порошок меди марки ПМС-2

Не взрывается

 

 

 

Порошок оловянный (мельче 50 мкм)

НКПВ 190 г/м3

260

90

-

Порошок вольфрамовый

Не взрывается

 

 

 

Порошок хрома металлического

НКПВ 190 г/м3

400

280

-

Порошок кремния

НКПВ 66 г/м3

300

430

-

Порошки высоколегированных сталей и сплавов

Не взрываются

 

 

 

Примечание. Данные получены в реакционном сосуде объемом:

* V0(10) = 0,010 м3;

** V0(5) = 0,005 м3.

При расчете разрывных предохранителей мембран приведение величины скорости нарастания давления взрыва Vр(ср)з в соответствие с фактическим объемом защищаемого аппарата V3 производится по формуле

                                             (18)

где Vр(ср)0 - средняя скорость нарастания давления взрыва в реакционном сосуде объемом V0 соответственно 0,010 или 0,005 м3.

Приложение 4

Рекомендации по устройству общеобменной вентиляции и аспирационных систем

Таблица 45

Наименование помещения

Вредные вещества (основные)

Аспирация

Приточная вентиляция

холодный период года

теплый период года

1

2

3

4

5

Шихтовых материалов

Пыль шихтовых материалов

Естественная, однократная в час

Естественная

Естественная

Приготовления лигатур, смесеприготовления, прессования

Пыль шихтовых материалов. При введении в шихту горючих жидкостей, масел - пары этих жидкостей и масел

Механическая, местные отсосы от оборудования, выделяющего вредности. Механическую общеобменную вентиляцию предусматривать исходя из расчета разбавления выделявшихся горючих, взрывоопасных, либо токсичных примесей

Механическая, рассеянно выше рабочей зоны. Воздухообмен рассчитан на ассимиляцию вредностей до ПДК в рабочей зоне с проверкой полной компенсации объемов воздуха, удаляемого местными отсосами

Как в холодный период

Спекание и восстановление

Газы защитной или восстановительной сред (азот, водород, диссоциированный аммиак и др.) и их окислы. Пары выгорающих органических веществ, которые добавляются в шихту в качестве присадок (р-р каучука в бензине, парафин, воск, спиртовые р-ры бакелита)

Механическая. Местные отсосы от оборудования. Постоянно действующая естественная из верхних точек возможного скопления водорода. По заданию технологов аварийная механическая (эжекторы) вытяжка с автоматическим включением побудителя тяги от газоанализатора при аварийных ситуациях. Объем общеобменной вытяжки рассчитывается на ассимиляцию теплоизбытков и вредных примесей по заданию технологов. В отсутствии этих данных - однократный воздухообмен

Механическая, рассеянно в рабочую зону. Воздухообмен рассчитан на компенсацию воздуха, удаляемого системами механической вытяжки с проверкой на ассимиляцию теплоизбытков

Механическая, как в холодный период года и дополнительно естественная, рассчитанная на ассимиляцию теплоизбытков

Пропитка деталей маслом и серой, маслораздаточная

Пары масла и серы

Механическая, местные отсосы от технологического оборудования. Постоянно действующая общеобменная в объеме 5,5-кратного обмена в час. 2/3 общего объема удаляется из верхней зоны, 1/3 объема - из нижней

Механическая, постоянно действующая в верхнюю зону рассеянно на компенсацию воздуха, удаляемого вытяжной вентиляцией

Как в холодный период года

Приготовление защитных сред

Газы, из которых состоит защитная среда, и их окислы

Механическая. Местная и постоянно действующая естественная из верхних точек зон возможного скопления водорода. По заданию технологов аварийная механическая (эжекторы) вытяжка с автоматическим включением побудителя тяги от газоанализатора при аварийной ситуации

Механическая, рассеянно в нижнюю зону. На компенсацию воздуха, удаляемого местными отсосами и постоянно действующей естественной вытяжки

Как в холодный период года

ОТК и упаковки, склад готовой продукции

Пыль

Механическая - местные отсосы от технологического оборудования, естественная общеобменная вентиляция

При наличии местной вентиляции - механический приток на компенсацию местных отсосов. Общеобменный естественный приток

 

Оксидирование, калибровка, термическая и механическая обработка

 

В соответствии с СН 118-68 [68]

 

Примечание: Ориентировочные величины концентрации вредных веществ и дисперсный состав пыли приведены в приложении 6.

Приложение 5

Рекомендации по выбору конструкции и расчету производительности местных отсосов

Таблица 46

№ п/п

Наименование технологического оборудования

Выделяющиеся производственные вредности

Рекомендации

по устройству аспирационного укрытия, местного отсоса

по расчету производительности местного отсоса

1

2

3

4

5

 

 

Смесеприготовление с участком лигатур

 

1

Распаковочная машина для железного порошка

Пыль порошка, содержащегося в таре

Встроенный местный отсос

Расчет следует выполнять по скорости подсоса воздуха через открытый рабочий проем. Величину скорости принимать 0,5 - 0,7 м/с.

Размер рабочего проема принимать по чертежу (паспорту машины)

2

Распаковочная машина для медного порошка

Пыль порошка, содержащегося в таре

Встроенный местный отсос

См. п. 1 настоящего приложения

3

Вибросито протирочное

Пыль перерабатываемых порошков

Накатное укрытие с аспирационным отсосом и закрывающимся рабочим проемом

См. п. 1 настоящего приложения

4

Сито вращательно-вибрационное типа ВС-2

Пыль перерабатываемых порошков

Укрытие места загрузки - кожух с эжекционным отсосом; укрытие места разгрузки в приемную тару - кабины с аспирационным отсосом, расположенным с противоположной стороны от рабочего проема (а.с. 742282)

Для места загрузки производительность местного отсоса определять по объему вытесняемого из кожуха сита воздуха, поступающего на рассев порошков в соответствии с Указаниями [53]:

для места разгрузки производительность местного отсоса следует определять в соответствии с рекомендациями по п. 1 настоящего приложения. При наличии неплотностей в укрытии при определении производительности местного отсоса учитывать количество воздуха, подсасываемого через эти неплотности со скоростью 1 м/с. Площадь неплотностей принимать по чертежу укрытия или данным технологов

5

Установка с поворотным вокруг горизонтальной оси столом для растаривания мешков стеарата цинка

Пыль стеарата цинка

Шкафное укрытие с аспирационным отсосом и жалюзи в верхней части для подсоса воздуха при закрытом рабочем проеме, т.е. при повороте стола с мешком стеарата цинка в верхнее положение. Размер рабочего проема 1000×800 мм. Площадь жалюзийных щелей - (250×100 мм)×8 шт.

Расчет производительности местного отсоса следует выполнять по скорости подсоса воздуха через открытый рабочий проем шкафного укрытия. Величину скорости принимать 0,3 - 0,5 м/с

6

Комбинированная щековая дробилка с вальцами типа СМ-165А для переработки наладочного брака

Пыль шихты

Аспирационный отсос от кожуха дробилки (а.с. 423499)

Расчет производительности местного отсоса следует определять по объему воздуха, подсасываемого в кожух дробилки через неплотности. Скорость воздуха в неплотностях принимать 0,7 м/с, площадь неплотностей - по чертежу (паспорту) дробилки или данным технологов

7

Весовой автоматический дозатор типа РП-150 ЦВТ

Пыль компонентов смеси

Кольцевой отсос от места загрузки емкости дозатора (а.с. 965925)

Расчет следует производить по площади щели кольцевого отсоса и скорости воздуха в щели. Значение скорости принимать в зависимости от дисперсного состава, плотности частиц пыли и геометрии отсоса, но не менее 1 м/с

8

Смесеприготовительный блок с программным управлением для автоматического приготовления многокомпонентных смесей производительностью 3 т/ч (черт. НИИавтопром 7075)

Пыль компонентов смеси

Аспирационные отсосы от укрытий оборудования, входящего в состав блока (элеваторы, конвейеры, смесители и т.д.) и мест пересыпки пылящих материалов (а.с. 886957, 842015, 965925)

Расчет следует выполнять по исходным данным для каждого местного отсоса, принимаемым по чертежу блока и технологической части задания на проектирование

9

Смеситель двухконусный

Пыль компонентов смеси

Кольцевой отсос в местах загрузки и разгрузки, в местах разгрузки (а.с. 965925)

См. п. 7 настоящего приложения

10

Смеситель магнитно-механический

Пыль компонентов смеси

Эжекционный отсос от места загрузки; кабинное укрытие места разгрузки (вместе с кюбелем, установленным на тележке) с аспирационным отсосом (а.с. 965925, 842015)

Расчет следует выполнять:

для эжекционного отсоса в соответствии с Указаниями [56];

для кабинного укрытия - по площади неплотностей в укрытии и скорости воздуха в неплотностях 1 м/с

11

Смеситель двухроторный типа СМ-800 п/п

Пыль компонентов смеси

Эжекционный отсос от места загрузки (патрубок воздушный на крышке смесителя с расположенной над ним аспирационной воронкой, под которую подходит патрубок в вертикальном положении смесителя); накатное укрытие с аспирационным отсосом от приямка для установки приемного кюбеля при наклоне смесителя для разгрузки

В месте выгрузки порошковой смеси в кюбель - см. п. 10 кабинное укрытие);

при установке - см. п. 10 настоящего приложения

12

Смеситель периодического действия, планетарно-лопастные типа ПЛ для приготовления пастообразных смесей

Пыль компонентов смеси, пары растворителей

Кольцевой отсос от загрузочной горловины;

кабинное укрытие с аспирационным отсосом в месте разгрузки

Расчет следует выполнять:

для кольцевого отсоса - по площади щели кольцевого отсоса и скорости воздуха в щели, величину которой принимать в зависимости от свойств пыли и паров растворителей (дисперсный состав, плотность и т.д.) и геометрий отсоса;

для кабинного укрытия - по скорости воздуха в открытом рабочем проеме, величина которой должна быть не менее 1 м/с, площади рабочего проема и неплотностей

13

Смеситель лопастной

Пыль компонентов смеси

От места загрузки - эжекционный отсос от барабана смесителя;

от места разгрузки 2 варианта:

вариант 1 - кабинное укрытие с аспирационным отсосом, расположенным с противоположной стороны от рабочего проема. Размеры рабочего проема для прохода кюбеля (ориентировочно) 1000×1000 мм (h);

вариант 2 - пружинное прижимное устройство, уплотняющее разгрузочный патрубок смесителя и загрузочный патрубок кюбеля с обводным каналом (байпасом), подключенным тангенциально к полости барабана смесителя - (а.с. 886957)

Расчет следует выполнять:

для эжекционного отсоса - в соответствии с Указаниями [56];

для кабинного укрытия - в соответствии с рекомендациями (п. 5 настоящего приложения);

для прижимного устройства и обводного канала (байпаса) - в соответствии с Указаниями [56]

14.

Смеситель типа ЗЛ-25

Пыль компонентов смеси

Кабинное укрытие с аспирационным отсосом

См. п. 5 настоящего приложения

15.

Смеситель шнековый

Пыль компонентов смеси

От места загрузки - эжекционный отсос от барабана смесителя.

От места разгрузки - кабинное укрытие или кольцевой отсос

См. п. 5 настоящего приложения

См. п. 13 настоящего приложения

16.

Проборазделочная машина типа МПЛ-150 для дробления спека железного порошка после отжига

Пыль железного порошка

Место загрузки - герметичный кожух с аспирационным отсосом;

место разгрузки - кольцевой отсос

См. п. 6 настоящего приложения

См. п. 7 настоящего приложения

17

Печь электрическая камерная типа ОКТБ-8115 для сушки стеарата цинка

Пыль стеарата цинка и тепло

Зонт над загрузочно-разгрузочным проемом

Расчет следует выполнять по площади входного сечения зонта и скорости входа воздуха в зонт, принимаемой 1,5 - 2 м/с

18

Печь электрическая камерная типа ОКТБ-8115 для отжига порошков железа

Пыль порошка железа и тепло

Зонт над загрузочно-разгрузочным проемом

См. п. 17 настоящего приложения

19

Непрерывный транспорт: элеваторы, конвейеры, шнеки и т.д.

Пыль транспортируемых материалов

Аспирационные отсосы от укрытий мест перегрузок пылящих материалов для конвейеров (а.с. 842015)

Расчет следует производить по исходным данным, принимаемым по технологической части проекта в соответствии с Указаниями [56] или Временными указаниями [69]

ПРЕССОВАНИЕ

20.

Прессы-автоматы:

механические типа КА (8120, 8122, 8124, 8126, 8128, 8130, 8132, 8134, 8136); гидравлические типа ДА (1532Б, 1534Б, 1536Б, 1238Б); для деталей из смеси на медной основе типа КА0624, К0628А, К8130; автоматы для динамического горячего прессования (ДГП); прессы импортные типа «Стокс», «Дорст», «Соенен» и др.

Пыль смесей порошков

Раструб с гибким шлангом от места подачи смеси в матрицу пресс-формы дозатором. Размеры раструба принимаются в зависимости от размера прессуемой детали: 90×140 и 80×120 мм и соответственно к ним гибкие шланги диаметром 100 и 80 мм

Расчет следует выполнять по скорости воздуха на входе в раструб и площади входного сечения принятой конструкции раструба. Скорость воздуха на входе в раструб следует принимать 20 м/с, тогда скорость воздуха в факеле всасывания над пресс-формой будет в пределах 0,3 - 0,7 м/с при расстоянии между раструбом и пресс-формой 140 - 160 мм

СПЕКАНИЕ

21

Электропечи проходные типа СТВ, СТН, «Эфко-Ройс», «Хейс», «Элино», карусельные, шахтные печи и печи сопротивления

Продукты сгорания, тепло

Зонты над местами загрузки и разгрузки печи (по 2 отсоса)

Расчет следует выполнять по площади входного сечения зонта и скорости входа воздуха в зонт, принимаемой 1 - 2 м/с

22

Электропечи с шагающим подом типа СЮН и ОКБ-1582

Продукты сгорания, тепло

Зонты над загрузочным и разгрузочным проемами и над дожигающими факелами (9 отсосов)

См. п. 21 настоящего приложения

ТЕРМООБРАБОТКА И НАНЕСЕНИЕ АНТИКОРРОЗИОННЫХ ПОКРЫТИЙ

23

Течь для отжига типа ТПО-2 конструкции МЭПМ и СНТ

Продукты сгорания, тепло

Зонты над загрузочным и разгрузочным проемами (2 шт.)

См. п. 21 настоящего приложения

24

Печь камерная цементационная типа СНЦА

Продукты сгорания, тепло

Зонт над загрузочно-разгрузочным проемом

См. п. 17 настоящего приложения

25

Печь для химико-термической обработки деталей - типа СНЦ

Газ, тепло

Зонт над загрузочно-разгрузочным проемом

См. п. 17 настоящего приложения

26

Электропечь для паротермического оксидирования типа ОКБ-4100

Пары воды, масла, дым от сгорания масла и тепло

Зонт над печью

См. п. 17 настоящего приложения

27

Вакуумная установка для пропитки деталей маслом

Пары масла

Зонт над загрузочно-разгрузочным отверстием

См. п. 17 настоящего приложения

28

Агрегат сульфидирования металлокерамических деталей (пропитка серой)

Пары серы

Зонт над загрузочно-разгрузочным отверстием

См. п. 17 настоящего приложения

29

Ванны для гальванического покрытия деталей

Пары воды, кислот, щелочей, хромового ангидрида

Бортовой отсос

Расчет следует выполнять в соответствии с нормативными материалами

ПРИГОТОВЛЕНИЕ ЗАЩИТНЫХ СРЕД

30

Установка для получения диссоциированного аммиака типа ДАЖ-40-41, эндогазогенераторы типа ЭН-30, ЭН-60, ЭН-125

Аммиак, эндогаз

Зонт над свечой

См. п. 17 настоящего приложения

Примечания: 1. Размеры аспирационных воронок принимать:

площадь рабочего сечения (на входе в аспирационную воронку) из расчета обеспечения скорости движения воздуха в этом сечении в пределах 0,3 - 0,5 м/с;

высота аспирационной воронки определяется по размерам нижнего (рабочего) и верхнего (диаметра воздуховода) сечений конфузора при центральном угле не более 60°.

2. Ориентировочные величины концентрации вредных веществ и дисперсный состав пыли приведены в приложении 6.

Приложение 6

Концентрация вредных веществ, выделяющихся от технологического оборудования, и дисперсный состав пыли (ориентировочные данные)

Таблица 47

№ п/п

Наименование технологического оборудования

Вредные вещества

Концентрация, г/м3

Характеристика пыли

Распределение массы по фракциям частиц размером, мкм, %

< 4

4 - 6,3

6,3 - 10

10 - 16

16 - 25

25 - 40

> 40

1

2

3

4

5

6

7

8

9

10

11

1

Распаковочные машины для порошков железа

Пыль

0,5

14,8

3,8

3,8

9,6

31,2

16,8

20,0

2

Установка для растаривания мешков с графитом или стеаратом цинка

"

0,5

6,7

7,2

10,1

13,0

13,6

29,6

19,8

3

Сито вращательно-вибрационное протирочное типа ВС-2

"

1,2

36,5

8,0

12,5

15,0

18,3

4,8

4,9

4

Дробилки для переработки наладочного брака (ударного действия, щековые, комбинированные) - место разгрузки

"

15,5

4,0

 

6,6

11,5

32,1

39,3

6,5

5

Мельницы непрерывного действия - место разгрузки

Пыль

4,5

4,1

1,8

3,2

2,2

6,4

15,6

66,7

6

Весовые дозаторы

"

0,05

38,0

22,0

26,0

10,0

4,0

-

-

7

Смесители (при выгрузке смеси):

 

 

 

 

 

 

 

 

 

 

двухконусные

"

0,35

24,1

22,6

20,9

1,6

0,8

24,0

16,0

 

магнитно-механические

"

7,0

1,4

1,2

1,8

7,4

19,0

36,5

32,7

 

лопастные

"

12,0

16,0

24,0

0,8

1,6

20,9

22,6

14,1

 

двухроторные типа СМ-900

"

14,0

20,4

29,1

22,2

18,1

5,8

2,2

2,2

8

Непрерывный транспорт:

"

 

 

 

 

 

 

 

 

 

элеваторы: место загрузки

"

2,96

6,5

39,3

32,1

11,5

6,6

4,0

место разгрузки

"

2,1

 

перегрузка с конвейера в бункер или оборудование

"

1,0

14,8

7,6

9,0

31,8

16,8

20,0

 

загрузка конвейера из бункера

"

2,0

4,0

6,6

11,5

32,1

39,3

6,5

 

перегрузка с конвейера на конвейер

"

2,7

13,9

5,3

3,2

8,9

31,9

16,1

20,5

9

Прессы для формования изделий

Пыль

0,05

12,6

33,6

22,5

10,5

20,8

-

-

Примечание. 1. Тепловыделения от печей всех типов и назначений принимать по расчету на основании исходных данных технологов в зависимости от величины потребляемой электрической энергии, конструкции печи и технологического процесса.

2. Количество вредных веществ, выделяющихся от технологического оборудования, не предусмотренного вышестоящим приложением, принимать по данным технологов.

3. При шихтах на основе железа пыль содержит 92 - 95 % железа и его оксидов, при шихтах на основе меди - 92 - 95 % меди.

Приложение 7

ПОКАЗАТЕЛИ
комплексно-автоматизированных производств

Таблица 48

Показатели

Единица измерения

Комплексно-автоматизированные производства на базе гибких связей

участок по производству магнитных деталей мощностью 600 т (типовое проектное решение)

участок по производству конструкц. и антифрикц. деталей мощностью 1000 т (типовое проектное решение)

Цех по производству конструкц. и антифрикц. деталей, мощностью 3000 т (типовое проектное решение)

Завод по производству изделий из металлических порошков в г. Кировске Ворошиловградской обл. мощностью 10 тыс. т (основное производство)

Мощность

т

600

1000

3000

10000

Средняя масса изделий

грамм

65

120

140

100

Выработка на 1 работающего

т

14,3

22,2

23,1

25,0

Трудоемкость 1 т

чел.-ч

68,3

46,7

38,0

33,3

Коэффициент загрузки оборудования по всему циклу технологического процесса

%

79,5

77,0

83,7

84,4

Степень охвата рабочих механизированным трудом

%

91,0

92,0

93,0

94,1

ПЕРЕЧЕНЬ
нормативных и справочных материалов, рекомендуемых для использования при разработке технологической части проекта

1.

Инструкция о порядке разработки новых и пересмотра действующих норм технологического проектирования

СН 470-75*

2.

Строительные нормы и правила. Система нормативных документов

СНиП 1.01.01-82

СНиП 1.01.02-83

СНиП 1.01.03-83

3.

Оптовые цены на изделия из металлических порошков

Прейскурант № 25-02. М., 1980 г.

4.

ЕСТПП. Термины и определения основных понятий - взамен ГОСТ 14.004-74

ГОСТ 14.004-83

Т53

5.

Общесоюзные нормы технологического проектирования предприятий машиностроения, приборостроения и металлообработки, фонды времени работы оборудования и рабочих

ОНТП-06-80 Минстанкопром, НИИмаш, Москва, 1980 г.

6.

Типовой проект «Центральные заводские лаборатории машиностроительных заводов - ЦЗЛ»

Минстанкопром, Гипростанок, арх. № 0409-4 Москва, 1978 г.

7.

«Здания промышленных предприятий одноэтажные. Габаритные схемы»

ГОСТ 23837-79

8.

«Здания производственные вспомогательные и складские многоэтажные»

ГОСТ 24337-80

9.

Справочник «Проектирование машиностроительных заводов и цехов», том 6, гл. 4

Москва, Машиностроение, 1976 г.

10.

Общесоюзные нормы технологического проектирования механообрабатывающих и сборочных цехов предприятий машиностроения, приборостроения и металлообработки

ОНТП-07-83 Минстанкопром, НИИмаш, Москва, 1984 г.

11.

Общесоюзные нормы технологического проектирования термических цехов предприятий машиностроения, приборостроения и металлообработки

Минстанкопром, НИИмаш, Москва, 1979 г.

12.

Нормы технологического проектирования заводских складов предприятий машиностроения, приборостроения и металлообработки

ОНТП-01-80 Минпромсвязь

13.

Краны-штабелеры. Типы и основные параметры

ГОСТ 16553-82

14.

Список производств, цехов, профессий и должностей с вредными условиями труда, работа в которых дает право на дополнительный отпуск и сокращенный рабочий день

Постановление № 369/П-16 от 1.10.77 г.

15.

Производственные здания промышленных предприятий. Нормы проектирования

СНиП II-90-81

16.

Правила устройства электроустановок. Раздел VII

ПУЭ 76. Издание пятое. Атомиздат, Москва, 1980 г.

17.

Указания по определению категории производств по взрывной, взрывопожарной и пожарной опасности

СН 463-74

18.

Вредные вещества. Классификация и общие требования безопасности

ГОСТ 12.1.007-76

19.

Опасные и вредные производственные факторы, классификация

ГОСТ 12.0.003-74 (ст. СЭВ 790-77)

20.

ССБТ. Смеси взрывоопасные. Классификация и методы испытаний

ГОСТ 12.1.011-78

21.

ССБТ. Взрывобезопасность. Общие требования

ГОСТ 12.1.010-76

22.

Правила техники безопасности и производственной санитарии при термической обработке металлов

М., Машгиз, 1961 г.

23.

Указания по проектированию цветовой отделки интерьеров производственных зданий промышленных предприятий

СН 181-70

24.

Полы. Нормы проектирования

СНиП II-В.8-71

25.

Нагрузки и воздействия, нормы проектирования

СНиП II-6-74

26.

Воздух рабочей зоны. Общие санитарно-гигиенические требования

ГОСТ 12.1.005-76

27.

Предельно-допустимые концентрации вредных веществ в воздухе рабочей зоны:

М., Минздрав СССР

 

1977 г, дополнение № 10 к СН 245-71;

 

 

1978, дополнение № 11 к СН 245-71; перечень № 12;

 

 

1979, перечни № 13, 14;

 

 

1980, перечни № 15, 16;

 

 

1981, перечни № 17, 18;

 

 

1982, перечни № 19, 20;

 

 

1983, перечни № 21, 22;

 

 

1984, перечни № 23, 24

 

28.

Шум. Общие требования безопасности

ГОСТ 12.1.003-83

29.

ССБТ. Вибрация. Общие требования безопасности

ГОСТ 12.1.012-78*

 

 

(ст. СЭВ 1232-79, ст. СЭВ 2602-80)

30.

ССБТ. Пожарная безопасность. Общие требования

ГОСТ 12.1.004-76

31.

Руководящий технический материал. Устройства предохранительные с разрушающей мембраной. РТМ-6-28-009-82, ВНИИТБХП

Северодонецк, 1972 г.

32.

Правила взрывобезопасности топливоподачи электрических станций

М., Энергия, 1975 г.

33.

Правила устройства и безопасности эксплуатации трубопроводов для горючих, токсичных и сжиженных газов

 

34.

Правила безопасности в газовом хозяйстве. Утверждены Госгортехнадзором СССР

М., Недра, 1982 г.

35.

Оборудование производственное. Общие требования безопасности

ГОСТ 12.2.003-74 (ст. СЭВ 1085-78)

36.

Предельно-допустимые концентрации загрязняющих веществ в атмосферном воздухе населенных мест (список № 1892-78)

М., Минздрав СССР, 1978 г.

 

1979, дополнение № 1 к списку № 1892-78

 

 

1981, дополнение № 2 к списку № 1892-78

 

 

1982, дополнение № 3 к списку № 1892-78

 

37.

ССБТ. Электропечи. Требования безопасности

ГОСТ 12.2.007-9-75

38.

РТМ ООН 689.02-75 «Требования техники безопасности и производственной санитарии к электротермическому оборудованию с контролируемыми атмосферами»

М., ВНИИЭТО, 1975 г.

39.

Правила устройства и безопасной эксплуатации сосудов, работающих под давлением. Утверждены Госгортехнадзором СССР в 1970 г.

М., Металлургия, 1974 г.

40.

Аммиак жидкий технический. Технические условия

ГОСТ 6221-32 М., Госстандарт, 1982 г.

41.

ССБТ. Статическое электричество, искробезопасность. Общие требования

ГОСТ 12.1.018-79

42.

Противопожарные нормы проектирования зданий и сооружений

СНиП II-2-50

43.

Инструкция по проектированию устройств молниезащиты зданий и сооружений

СН 305-77

44.

Отопление, вентиляция и кондиционирование воздуха. Нормы проектирования

СНиП II-33-75*

45.

Санитарные нормы проектирования промышленных предприятий

СН 245-71

46.

Вода питьевая. Гигиенические требования и контроль за качеством. Взамен ГОСТ 2874-73

ГОСТ 2874-32

Н08

47.

Рекомендации по проектированию оборотного водоснабжения систем аспирации и мокрой очистки газов литейных цехов. АЗ-729

Союзсантехпроект Гидросантехпром

48.

Система стандартов безопасности труда. Установки, генераторы и нагреватели индукционные для электротермии. Установки и генераторы ультразвуковые. Требования безопасности

ГОСТ 12.2.007.10-75

49.

Защита от шума. Нормы проектирования

СНиП II-12-77

50.

Фундаменты машин с динамическими нагрузками. Нормы проектирования

СНиП II-19-79

51.

Вибрация. Опоры виброизолирующие резино-металлические равночастотные для установки стационарных машин. Параметрический ряд. Технические требования

ГОСТ 17712-72

52.

Вспомогательные здания и помещения промышленных предприятий

СНиП II-92-76

53.

ССБТ. Рабочее место при выполнении работ сидя. Общие эргономические требования

ГОСТ 12.2.032-78

54.

ССБТ. Рабочее место при выполнении работ стоя. Общие эргономические требования

ГОСТ 12.2.033-73

55.

Охрана природы. Гидросфера. Использование и охрана вод. Основные термины и определения

ГОСТ 17.1.1.01-77

56.

Указания по расчету и устройству аспирации в порошковой металлургии. Узлы перепадов пылящих материалов. Утверждены Минчерметом СССР 19.10.1978 г.

Челябинск, 1979 г.

57.

Охрана природы. Атмосфера. Правила установления допустимых выбросов вредных веществ промышленными предприятиями

ГОСТ 17.2.3.02-78

58.

Системы производственные гибкие

ГОСТ 26228-84

59.

Системы производственные гибкие. Термины и определения

ГОСТ 26228-84

60.

Общеотраслевые руководящие методические материалы по созданию АСУП

М., Статистика, 1977 г.

61.

Автоматизированные системы управления предприятиями. Общие технические требования

ГОСТ 20912-75

62.

Система технической документации на АСУ

ГОСТ 24.101-80

 

 

ГОСТ 24.102-80

 

 

ГОСТ 24.201-79

 

 

ГОСТ 24.202-80

 

 

ГОСТ 24.209-80

 

 

ГОСТ 24.301-80

 

 

ГОСТ 24.303-80

 

 

ГОСТ 24.401-80

 

 

ГОСТ 24.402-80

63.

а) Автоматизированные системы управления технологическими процессами в промышленности. Основные положения

ГОСТ 16084-75

 

б) Общеотраслевые руководящие методические материалы по созданию АСУТП

М., Финансы, 1982 г.

64.

ЕСТПП. Этапы, содержание и последовательность работ при автоматизированном проектировании технологических процессов

ГОСТ 14.313-74

65.

Автоматизированные системы правления технологическими процессами. Общие технические требования

ГОСТ 17195-76

66.

Методические указания по расчету численности подразделений ведомственных метрологических служб

МИ 185-79

67.

Указания по строительному проектированию предприятий, зданий и сооружений машиностроительной промышленности

СН 118-68

68.

Указания по проектированию отопления, вентиляции и кондиционирования воздуха взрывоопасных и пожароопасных объектов металлургических заводов

М., Гипромез, 1978 г.

69.

Временные указания по расчету объемов аспирируемого воздуха от укрытий мест перегрузок при транспортировании пылящих материалов. Серия АЗ-611. Утверждены Госстроем СССР

Сантехпроект

Москва, 1973 г.

70.

Порошковая металлургия. Термины и определения

ГОСТ 17359-32

71.

ССБТ. Техника пожарная. Требования безопасности

ГОСТ 12.2.037-78

72.

Инструкция о составе, порядке разработки, согласования и утверждения проектно-сметной документации на строительство предприятий, зданий и сооружений

СН 202-81*

73.

Естественное и искусственное освещение, нормы проектирования

СНиП II-4-79

74.

Внутренний водопровод и канализация, нормы проектирования

СНиП II-30-76

75.

Список производств, профессий и работ с тяжелыми и вредными условиями труда, на которых запрещается применение труда женщин

ИП-284 от 12.09.78 г.

76.

Генеральные планы промышленных предприятий. Нормы проектирования

СНиП II-89-80

77.

Процессы производственные. Общие требования безопасности

ГОСТ 12.3.002-75*

(ст. СЭВ 1728-79)

78.

Стеллажи сборно-разборные. Типы, основные параметры и размеры

ГОСТ 14757-81

79.

Стеллажи сборно-разборные. Конструкция и размеры

ГОСТ 16141-81

80.

Стеллажи сборно-разборные. Технические условия

ГОСТ 16140-77

81.

Поддоны плоские. Типы, основные параметры и размеры

ГОСТ 9078-74

82.

Поддоны плоские деревянные с размерами 800 и 1200 мм

ГОСТ 9557-73

83.

Поддоны ящичные и стоечные. Типы, основные параметры и размеры

ГОСТ 9570-73

84.

Тара производственная. Типы, основные параметры и размеры

ГОСТ 14861-74

85.

ССБТ. Процессы перемещения грузов на предприятиях. Общие требования безопасности

ГОСТ 12.3.020-80

86.

ССБТ. Тара производственная. Требования безопасности при эксплуатации

ГОСТ 12.3.010-82

Авторские свидетельства

Авт. свидетельство. СССР. № 842015 оп. 1981. Б.И. № 24.

Авт. свидетельство. СССР. № 886957 оп. 1981, Б.И. № 45.

Авт. свидетельство. СССР. № 423499 оп. 1974, Б.И. № 14.

Авт. свидетельство. СССР. № 742282 оп. 1981, Б.И. № 23.

Авт. свидетельство. СССР. № 965925 оп. 1982, Б.И. № 38.

СОДЕРЖАНИЕ

Общие положения. 1

1. Характеристика производств порошковых изделий. Классификация производств. Оптимальная мощность. 2

2. Расчет количества оборудования. Уровень использования основного технологического оборудования. Годовой фонд времени основного технологического оборудования. 4

3. Общая площадь. Нормы размещения и нормы площадей на единицу оборудования. Перечень подразделений, размещаемых в отдельных помещениях. 6

4. Нормы расхода и требования к параметрам и качеству сырья, основных и вспомогательных материалов, полуфабрикатов, воды, электроэнергии, газа, пара и др. 15

5. Нормы запасов и складирования сырья, основных и вспомогательных материалов, полуфабрикатов, готовой продукции, оснастки, нормативы складских и подсобных помещений. 17

6. Организация складского хозяйства, механизация и автоматизация транспортно-складских работ; тара для беспыльной загрузки шихтовыми материалами технологического оборудования и межоперационная тара. 19

7. Нормативная численность основных и вспомогательных рабочих, инженерно-технических работников и служащих; распределение работающих по сменам, соотношение категорий работающих, укрупненные показатели соотношения мужчин и женщин в количестве работающих; перечень профессий работающих и распределение их по группам санитарной характеристики производственных процессов. Фонды времени и режим работы рабочих. 20

8. Категории производства и классы помещений по взрывной, взрывопожарной и пожарной опасности. 26

9. Специальные требования технологического процесса к зданиям, сооружениям и оборудованию.. 29

10. Техника безопасности. Производственная санитария. 34

11. Нормы, регламентирующие защиту природной среды.. 42

12. Уровень механизации и автоматизации технологических процессов, выбор средств механизации и автоматизации. Удельный вес автоматизированного оборудования в общем количестве производственного оборудования. 44

13. Нормы использования и хранения отходов и попутных материалов. 47

14. Нормы утилизации и выброса вредных отходов. 47

15. Основные технико-экономические показатели. 48

Приложение 1. Перечень порошковых материалов, применяемых для изготовления изделий из металлических порошков. 51

Приложение 2. Нормы расхода основных материалов. Коэффициенты расхода порошка при изготовлении изделий методом порошковой металлургии. 52

Приложение 3. Характеристики взрывопожароопасности. 53

Приложение 4. Рекомендации по устройству общеобменной вентиляции и аспирационных систем.. 54

Приложение 5. Рекомендации по выбору конструкции и расчету производительности местных отсосов. 56

Приложение 6. Концентрация вредных веществ, выделяющихся от технологического оборудования, и дисперсный состав пыли (ориентировочные данные) 60

Приложение 7. Показатели комплексно-автоматизированных производств. 61

 

 



© 2013 Ёшкин Кот :-)