Информационная система
«Ёшкин Кот»

XXXecatmenu

Система нормативных документов в строительстве

СВОД ПРАВИЛ ПО ПРОЕКТИРОВАНИЮ
И
СТРОИТЕЛЬСТВУ

ФИЗКУЛЬТУРНО-СПОРТИВНЫЕ ЗАЛЫ

СП 31-112-2004

Часть 2

Москва 2005

Предисловие

1 РАЗРАБОТАН Санкт-Петербургской государственной академией физической культуры им. П.Ф. Лесгафта (СПбГАФК) Росспорта и ФГУП «Научно-проектный институт учебно-воспитательных, торгово-бытовых и досуговых зданий» (Институт общественных зданий) в рамках выполнения п. 17 мероприятий подпрограммы «Физическое воспитание и оздоровление детей, подростков и молодежи в Российской Федерации (2002 - 2005 годы)» федеральной целевой программы «Молодежь России (2001 - 2005 годы)»

2 ВНЕСЕН Санкт-Петербургской государственной академией физической культуры им. П.Ф. Лесгафта

3 ПРЕДСТАВЛЕН Управлением архитектуры и Управлением стандартизации, технического нормирования и сертификации Госстроя России

4 УТВЕРЖДЕН приказами ректора Санкт-Петербургской государственной академии физической культуры им. П.Ф. Лесгафта от 9 февраля 2005 г. № 25 и директора ФГУП «Институт общественных зданий» от 23 апреля 2004 г. № 11

5 ОДОБРЕН И РЕКОМЕНДОВАН к применению в качестве нормативного документа в строительстве письмом Госстроя России 30 апреля 2004 г. № ЛБ-322/9 и Федеральным агентством по физической культуре, спорту и туризму приказом № 24 от 26 февраля 2005 г.

6 ВВЕДЕН ВПЕРВЫЕ

СОДЕРЖАНИЕ

Введение. 2

1 Область применения. 3

2 Нормативные ссылки. 4

3 Основные положения по проектированию.. 5

4 Игровые залы.. 8

5 Залы для легкой атлетики. 12

6 Вспомогательные помещения. 15

6.1 Общие положения. 15

6.2 Вестибюли. 18

6.3 Раздевальные. 19

6.4 Санитарно-гигиенические помещения. 22

6.5 Прочие помещения. 25

7 Помещения и устройства для судей и прессы.. 29

7.1 Ложа для судей. 29

7.2 Ложа для прессы.. 31

8 Конструктивные решения. 31

8.1 Общие положения. 31

8.2 Полы.. 32

9 Противопожарная безопасность. 35

10 Внутренняя среда. 36

10.1 Естественное освещение. 36

10.2 Акустика. 37

11 Инженерное оборудование зданий. 38

11.1 Отопление и вентиляция. 38

11.2 Водопровод и канализация. 39

11.3 Электроснабжение, электротехнические и слаботочные устройства. 40

Приложение А. Табель-экспликация оборудования и инвентаря в залах для спортивных игр. 43

Приложение Б. Расчет радиуса поворота беговых дорожек и их уклона на виражах. 45

Приложение В. Табель основного спортивного оборудования и инвентаря залов для легкой атлетики. 47

Приложение Г. Иллюстрации. 48

Введение

Свод правил подготовлен в двух частях:

часть первая включает физкультурно-спортивные залы размером до 36×18 м, а также 42×24 м - для спортивной гимнастики;

часть вторая включает физкультурно-спортивные залы и манежи размером 42×24 м, а также 36×18 м и более для универсального использования.

В последние годы в нашей стране развиваются новые виды и формы спортивных, физкультурно-оздоровительных и досуговых занятий, поэтому физкультурно-спортивные сооружения стали использоваться всеми возрастными и социальными группами населения - от абсолютно здоровых людей до инвалидов, от профессиональных спортсменов до лиц, использующих эти сооружения для досуга. Появилось множество новых форм и видов физкультурно-спортивных занятий, пользующихся спросом у определенных групп населения. В соответствии с современными требованиями следует учитывать новые особенности физкультурно-спортивных сооружений:

- изменение спортивно-технологических параметров мест проведения занятий;

- увеличение доли универсальных, многофункциональных помещений и сооружений, обеспечивающих возможность трансформации помещений;

- обеспечение доступности физкультурно-спортивных сооружений для инвалидов, включение в состав сооружений специализированных залов помещений для их занятий;

- расширение состава сооружений за счет помещений для физкультурно-оздоровительных и развлекательных видов деятельности.

Настоящий Свод правил СП 31-112-2004 (2) является дополнением СП 31-112-2004 (1) и составляет вместе с ним единый нормативный документ. В нем рассматриваются только вопросы, относящиеся к основным функциональным характеристикам и свойствам мест для физкультурно-оздоровительных и спортивных занятий и первостепенно необходимых вспомогательных помещений при них:

- габариты и разметка мест для занятий, включая размеры зон безопасности;

- удельные площади, показатели единовременной вместимости игровых площадок и мест занятий, минимально необходимые расстояния между ними и внутренними поверхностями ограждающих конструкций;

- физико-механические свойства и фактура внутренних отделочных материалов, а также устройств, защищающих от ударных воздействий поверхности стен, потолков, световые проемы и осветительные приборы;

- основные требования к физическим параметрам внутренней среды.

Настоящий документ восстанавливает бывшие выпуски нормалей спортсооружений и в основном включает технологические параметры и требования к размерам спортивно-физкультурных площадок и арен, их оснащению, пропускной способности, доступности для инвалидов.

Графическая часть документа разработана на основе опыта проектирования, практики эксплуатации физкультурно-спортивных сооружений, а также международного опыта.

В тексте и графической части Свода правил частично использованы следующие материалы:

ВСН 46-86/Госгражданстрой. Спортивные и физкультурно-оздоровительные сооружения. Нормы проектирования. - М.: Стройиздат, 1987.

Нормали планировочных элементов жилых и общественных зданий:

Выпуск НП 5.3.6-80 Залы для легкой атлетики. - М.: Стройиздат, 1975.

Выпуск НП 5.3.2-76 Вспомогательные помещения спортивных сооружений. - М.: Стройиздат, 1976.

Рекомендации по проектированию окружающей среды, зданий и сооружений с учетом потребностей инвалидов и других маломобильных групп населения:

Выпуск 12. Общественные здания и сооружения. Спортивные сооружения. - М.: ГУП ЦПП, 1999.

Выпуск 13. Общественные здания и сооружения. Физкультурно-оздоровительные сооружения. - М.: ГУП ЦПП, 1997.

Пособия к МГСН 4.08-97 Массовые типы физкультурно-оздоровительных сооружений. Выпуски 2 и 3. - М.: ГУП «НИАЦ», 2003.

Физкультурно-спортивные сооружения / Под ред. Л.В. Аристовой. - М.: Спорт Академ Пресс, 1999.

Правила спортивных игр и состязаний / Пер. с англ. - М.: ООО «Попурри», 2000.

Часть 2 Свода правил разработана научно-творческим коллективом под руководством Л.В. Аристовой, профессора СПбГАФК им. П.Ф. Лесгафта.

Авторы СП 31-12-2004 (2): ответственные исполнители - Л.В. Аристова (СПбГАФК им. П.Ф. Лесгафта), A.M. Гарнец (Институт общественных зданий), Ю.Г. Жура, Б.А. Арутюнов (Российская ассоциация спортивных сооружений).

Научный редактор - канд. архитектуры A.M. Гарнец.

Компьютерная графика - К.В. Карпач (ЦНИИЭП жилища), В.Ф. Кротюк (Институт общественных зданий).

СП 31-112-2004 (2)

СВОД ПРАВИЛ ПО ПРОЕКТИРОВАНИЮ И СТРОИТЕЛЬСТВУ

ФИЗКУЛЬТУРНО-СПОРТИВНЫЕ ЗАЛЫ

Physical training and sport halls

1 Область применения

1.1 Настоящий Свод правил предназначен для проектирования массовых типов физкультурно-спортивных залов, которые без конструктивно-планировочных изменений могут быть доступны также для инвалидов, в том числе для детей-инвалидов, при зафиксированных в задании на проектирование условиях.

1.2 Положения Свода правил распространяются на проектирование новых и реконструируемых крупных физкультурно-спортивных залов, предназначенных для:

- легкой атлетики в закрытых помещениях;

- спортивных игр (футбол, мини-футбол, гандбол, а также теннис, баскетбол, волейбол, бадминтон и т.д.);

- общефизической подготовки;

- тренажерной подготовки;

- физкультурно-спортивных развлечений.

1.3 Габариты и разметка игровых площадок и мест проведения соревнований (занятий), параметры зон безопасности (в том числе над игровым полем), установленные правилами проведения соответствующих видов соревнований, следует принимать как обязательные технологические требования.

Параметры физкультурно-спортивных залов с сопутствующими группами необходимых помещений, приведенные в настоящем Своде правил, являются функционально-технологической основой составления программы проектирования спортивных зданий и комплексов, которые следует проектировать по соответствующим строительным нормативным документам.

1.4 Положения документа следует использовать для определения единовременной наполняемости залов по пропускной способности мест занятий, а также для расчета оборудования вспомогательных помещений: гардеробных, умывальных, душевых, уборных для занимающихся, инвентарных при физкультурно-спортивных залах и т.п., дающих возможность полноценного функционирования физкультурно-спортивных залов.

1.5 Положения Свода правил распространяются на проектирование физкультурно-спортивных залов, которые могут размещаться как в отдельно стоящих зданиях и в спортивных комплексах, так и при их встраивании в другие сооружения.

1.6 Свод правил содержит рекомендательные положения, нормы и правила. Положения данного документа становятся обязательными для всех участников проектно-строительного процесса при включении их в утверждаемое задание на проектирование.

2 Нормативные ссылки

В настоящем Своде правил даны ссылки на следующие нормативные документы:

СНиП 2.04.01-85* Внутренний водопровод и канализация зданий

СНиП 2.08.02-89* Общественные здания и сооружения (с изменениями № 1 - 5)

СНиП 2.09.04-87* Административные и бытовые здания

СНиП 3.05.06-85 Электротехнические устройства

СНиП 21-01-97* Пожарная безопасность зданий и сооружений

СНиП 23-01-99* Строительная климатология

СНиП 23-05-95* Естественное и искусственное освещение

СНиП 35-01-2001 Доступность зданий и сооружения для маломобильных групп населения

СНиП 41-01-2003 Отопление, вентиляция и кондиционирование

СП 35-101-2001 Проектирование зданий и сооружений с учетом доступности для маломобильных групп населения. Общие положения

СП 4723-88 Санитарные правила устройства и эксплуатации систем централизованного горячего водоснабжения

МГСН 4.04-94 Многофункциональные здания и комплексы

МГСН 4.08-97 Массовые типы физкультурно-оздоровительных учреждений

ГОСТ 12.1.004-91 ССБТ. Пожарная безопасность. Общие требования

ГОСТ 21786-76 Система «человек - машина». Сигнализаторы звуковые неречевых сообщений. Общие эргономические требования

ГОСТ 24214-80 Связь громкоговорящая. Термины и определения

СанПиН 2.1.4.1074-01 Питьевая вода. Гигиенические требования к качеству воды централизованных систем питьевого водоснабжения. Контроль качества

НПБ 88-2001* Установки пожаротушения и сигнализации. Нормы и правила проектирования

НПБ 104-03 Системы оповещения и управления эвакуацией людей при пожарах в зданиях и сооружениях

НПБ 110-03 Перечень зданий, сооружений, помещений и оборудования, подлежащих защите автоматическими установками пожаротушения и автоматической пожарной сигнализацией

ПУЭ Правила устройства электроустановок.

3 Основные положения по проектированию

3.1 Строительные размеры, площади и пропускная способность спортивных залов, помещений физкультурно-оздоровительного назначения должны приниматься в соответствии с правилами проведения соревнований и положений по организации учебно-тренировочных занятий.

Составы и площади вспомогательных помещений принимаются в соответствии с положениями справочных пособий к СНиП 2.08.02, а также требованиями настоящего Свода правил, часть 1. Общая структурная схема корпуса с залом для легкой атлетики, футбола или многофункциональным залом представлена на рисунках 3.1 и 3.2*.

Проектирование залов и вспомогательных помещений, используемых инвалидами, проводится с учетом требований СНиП 35-01 и СП 35-101, а также требований и рекомендаций настоящего Свода правил.

* Рисунки 3.1 - 8.5 даны в приложении Г.

3.2 Размеры мест легкоатлетических занятий и игровых полей и их разметку следует принимать в соответствии с правилами соревнований. Разметка игровых полей дана на рисунке 3.3. Разметку более подробно см. часть 1 настоящего Свода правил, а также в разделах 4 и 5 настоящего документа.

3.3 Строительные размеры в плане и высоту помещений устанавливают в зависимости от игровых видов спорта и от вида легкоатлетических занятий и уровня соревнований (таблица 3.1).

Размеры универсальных спортивных залов (предназначенных для попеременных занятий по различным видам спорта) принимаются по наибольшему из показателей для этих видов, приведенных в таблице 3.1, а пропускная способность - по наименьшей удельной площади, приходящейся на одного занимающегося.

Таблица 3.1

Вид спорта

Строительные размеры зала, м

Пропускная способность площадки, чел/смену

Размеры арены для соревнований в зале, м

Длина

Ширина

Минимальная высота до низа выступающих конструкций

При учебно-тренировочных занятиях в зале

При соревнованиях на арене или в зале, чел.

Длина

Ширина

Минимальная высота (в пределах площади арены)

1. Акробатика

36

18

6

32

75

44

21

7

2. Бадминтон. На одну площадку

15

15*

7

8

8

18

10

9

3. Баскетбол. На одну площадку

30

18

7

24

48 (4 команды по 12)

34

19

7

4. Бокс. На один ринг

18

12

4

17

20

14

14

5

5. Волейбол. На одну площадку

24

15

8

24

48 (4 команды по 12)

36

21

12,5

6. Гандбол. На одну площадку

42

24

6

24

48 (4 команды по 12)

47

26

6

7. Гимнастика спортивная

30

18

6

50

75

48

24

7

8. Гимнастика художественная. На одну площадку

21

15

8

10

50

31

18

9

9. Мини - футбол

30 - 48

18 - 30

8 - 12

24

48

36 - 48

24 - 30

8 - 12,5

10. Теннис. На одну площадку

36

18*

8

12**

8 (4 пары)

42

22

9

11. Теннис настольный. На три стола

15

9

4

4 (на каждый стол)

8 (на каждый стол)

12 - 14

6 - 7

4

(на каждый стол)

12. Тяжелая атлетика. На четыре помоста

18

9

4

16

40 (на один помост)

13

13

5

(на один помост)

13. Футбол. На одно поле

96

48

15

60

64 (4 команды по 16)

96

48

15

* При размещении в зале двух и более площадок ширина двух смежных (по длине) площадок может быть принята 15,1 м для бадминтона и 34 м для тенниса.

** При трех и более площадках в одном зале пропускная способность каждой принимается 6 чел. в смену.

Примечания

1. При проектировании спортивных залов на несколько площадок для игр и (или) на большее количество оборудования размеры залов и их пропускная способность в смену соответственно увеличиваются.

2. По видам спорта, по которым в спортивно - демонстрационных или спортивно - зрелищных залах предусматривается также и проведение учебно-тренировочных занятий, пропускная способность принимается по наибольшему из показателей, приведенных в гр. 5 и 6.

3. При предназначении зала для соревнований не выше регионального масштаба размер площади арены и высота, как правило, принимаются равными размеру площади и высоте спортивного зала (см. гр. 2, 3 и 4), а пропускная способность - согласно гр. 5.

4. В залах для настольного тенниса при большем числе столов размер зала принимается исходя из размеров площадки 7,75×4,5 м на каждый стол.

5. Допускается увеличение размера площади зала (арены) для футбола, но не более чем до 113×72 м, без изменения приведенной в таблице пропускной способности.

6. Строительные размеры и пропускная способность приняты исходя из одного комплекта табельного оборудования.

3.4 При расчете единовременной наполняемости физкультурно-спортивных сооружений учитывается пропускная способность соответствующих площадок (арен) по таблице 3.1, а также количество зрителей - при наличии трибун.

3.5 Высота игровых залов принята от пола до потолка (до низа выступающих конструкций). В залах для спортивных игр высота должна быть выдержана в пределах поля для игры. За полем для игры допускается плавное уменьшение высоты, но не менее чем до 3 м в пределах общих размеров площадки, указанной в таблице 3.1.

Высота легкоатлетических помещений устанавливается по виду занятий - прыжки (в том числе с шестом), метания и т.д.

3.6 В универсальных залах для попеременных занятий различными видами спорта пропускную способность, размеры и высоту следует принимать по наибольшему показателю.

3.7 Высота вспомогательных помещений (от пола до потолка) принимается, как правило, равной 3 м. В зависимости от архитектурно-планировочного и конструктивного решения и технологических требований, а также при размещении вспомогательных помещений в подтрибунном пространстве высоту следует принимать (в чистоте, до низа выступающих конструкций):

в помещениях гардеробных верхней и домашней одежды (за барьером) - 2,1 м;

в помещениях для судей и прессы - 2,4 м;

в остальных помещениях (кроме вестибюля) - 2,7 м.

Высота технических помещений принимается в зависимости от применяемого оборудования, а складских помещений и кладовых - от размеров и способов хранения складируемых предметов.

3.8 Раздевальные для занимающихся должны, как правило, сообщаться со спортивным залом непосредственно, через коридор или по лестнице, предназначаемым и только для сообщения между ними.

3.9 Инвентарные при спортивных залах должны располагаться смежно с этими залами и сообщаться с ними через проемы. Пол инвентарной следует предусматривать на одной отметке с полом зала (без порога).

3.10 Помещения, используемые инвалидами, рекомендуется размещать на одной отметке на уровне первого этажа. Другие варианты размещения допускаются при наличии специально оборудованных лифтов, лестничных подъемников, пандусов. Тип и габариты лифтов следует определять в соответствии со СНиП 35-01.

3.11 В зданиях спортивных корпусов с залом для легкой атлетики, футбола или с тремя и более залами для других видов спорта может предусматриваться одно общее помещение для индивидуальной силовой подготовки, в том числе на тренажерах, размещаемое в удобной связи с зальными помещениями и раздевальными при них.

Примечания

1. В случае расположения универсального спортивно-зрелищного зала и зала для спортивных игр в одном здании зал для разминки и спортивных игр предусматривать не следует.

2. При зале для разминки и спортивных игр необходимо предусматривать раздевальные (с душевыми).

3.12 В спортивном корпусе с залом, используемым также для тенниса, при числе площадок в нем две и более следует предусматривать помещение размером 18×12 м, высотой 6 м с тренировочной стенкой высотой не менее 3 м. Пропускная способность помещения - 4 чел. в смену.

3.13 В спортивных залах для учебно-тренировочных занятий, собираемых из легких металлических конструкций, допускается наличие колонн, если в соответствии с расстановкой технологического оборудования и разметкой они оказываются в нерабочих зонах и при соблюдении зон безопасности.

В залах для легкой атлетики и футбола предусматриваются ворота шириной не менее 3,5 м для въезда грузовых автомашин. При расчетной температуре наружного воздуха минус 15 °С и ниже в местах въездов в зал предусматривается устройство тамбуров или воздушно-тепловых завес.

3.14 Стены и потолки спортивных залов окрашивают в светлые тона. Стены и двери должны быть гладкими и предусматривать возможность влажной уборки.

В залах для спортивных игр поверхность и окраска стен и потолков должны быть устойчивыми к ударам мяча.

Допускается отделка стен облицовочным кирпичом с расшивкой швов вовнутрь.

3.15 Ширину лестничных маршей и пандусов, параметры лестничных площадок, требования к ограждениям и поручням следует принимать с учетом требований СНиП 2.08.02 и СНиП 35-01.

3.16 Здания физкультурно-спортивного назначения, включающие залы, рассчитанные на занятия инвалидов, следует проектировать с учетом использования инвалидами следующих групп помещений: входная группа, помещения санитарно-гигиенического назначения, в том числе раздевальные, душевые, сауна, массажная, места отдыха, помещения медицинского назначения, административные помещения, помещения методического назначения.

3.17 Состав служебных помещений административного и инженерно-технического персонала и бытовых помещений рабочих рекомендуется определять заданием на проектирование или проектом в соответствии с численностью и составом служащих и рабочих.

3.18 Состав технических помещений определяется заданием на проектирование или проектом с учетом инженерного оснащения сооружений и действующих норм расчета их площади.

3.19 В универсальных залах, используемых одновременно или попеременно для занятий или соревнований по спортивным играм или иным видам спорта, размеры и разметку мест для занятий и соревнований (арен) следует принимать по части 1 Свода правил.

3.20 В залах рекомендуется принимать следующие цвета разметки площадок:

при одной или нескольких не перекрывающих друг друга разметках площадок - белый цвет;

при двух перекрывающих друг друга разметках площадок - белый и оранжевый цвета;

при трех перекрывающих друг друга разметках площадок - белый, оранжевый и черный цвета.

При большом количестве перекрывающих друг друга разметок они должны контрастировать между собой, четко выделяться на фоне пола, в зависимости от цвета которого возможны отклонения от указанных выше рекомендаций.

На площадках для баскетбола площадь трехсекундной зоны, а также площадь центрального круга окрашиваются в цвет, контрастирующий с цветом пола и разметочных линий.

4 Игровые залы

4.1 Наиболее распространены залы 42×24 м (рисунок 4.1), где возможен еще и гандбол на укороченном с 40 до 39 м «поле для игры». Чтобы не сокращать длину «поля для игры», рекомендуется размер 45×24 м, а если принять размер зала 45×27 м, то увеличенная ширина позволит иметь и небольшие трибуны. Аналогично размещаются и площадки для мини-футбола и футзала (рисунок 4.2).

Табель-экспликация оборудования и инвентаря для игр в зале 42×24 м дан в приложении А.

В таблице 4.1 показаны варианты использования залов для тренировок и любительских занятий по различным видам спортивных игр, имеющих наиболее распространенные строительные размеры, а также расчетная пропускная способность этих залов.

Таблица 4.1

Размеры зала, м

Варианты использования зала

Расчетная пропускная способность, чел/смену

Длина

Ширина

Наименьшая высота до низа выступающих конструкций

(в осях ограждающих конструкций)

42

24

6

Для гандбола

24

7

Для бадминтона

64

Для баскетбола

48

8

Для волейбола

64

Для тенниса

20

Примечание - При проектировании зала для попеременных занятий по различным видам игр следует принимать наибольшие для данного зала высоту и расчетную пропускную способность.

4.2 При одновременном размещении в зале нескольких площадок для одного вида спортивной игры количество инвентаря не увеличивается пропорционально числу площадок, а принимается применительно к табелю на одну площадку исходя из общей площади зала и его пропускной способности (по указанному принципу принят табель для залов 42×24 м). Так же в каждом отдельном случае определяется количество оборудования и инвентаря для залов, площадь которых превышает размеры площадки (рисунок 4.3).

В залах 42×24 и 36×18 м, специализированных только для тенниса, тренировочную стенку рекомендуется размещать по обеим торцевым стенам зала; кроме того, в зале 36×18 м для тенниса все 10 пролетов гимнастической стенки следует располагать вместе - на середине продольной стены зала.

4.3 Требования к размерам и разметке полей для футбола даны на рисунке 4.4, планировочная схема футбольного манежа - на рисунке 4.5. Трибуны для зрителей рекомендуется располагать с одной продольной стороны арены (рисунки 4.5 и 4.6, схема В). В случаях когда заданное число зрительских мест при расположении их с одной стороны требует дополнительного увеличения высоты зала, желательно трибуны располагать с разных сторон.

4.4 В залах для спортивных игр при размере 45×27 м, позволяющем проводить в нем все игры, рекомендуется устройство мест для зрителей. Трибуны могут быть стационарными или выдвижными (бличеры) (см. на рисунке 4.5 схему складных трибун).

4.5 Стационарные или временные места для зрителей нужно располагать так, чтобы расстояния до зрителей первого ряда от боковых и лицевых линий разметки поля для игры были бы не менее 3 м для волейбола и не менее 2 м для бадминтона, баскетбола и ручного мяча. На площадках для тенниса расстояние до зрителей от задних линий разметки поля для игры должно быть не менее 6 м, а от боковых - не менее 3,5 м, а при соревнованиях высокого масштаба - соответственно не менее 8 и 4,5 м.

В целях более рационального размещения таких мест по периметру площадки рекомендуется в зале 36×18 м дополнительно предусматривать разметку одной площадки для соревнований по волейболу и одной - по бадминтону (в центре зала по его продольной оси), а в зале 42×24 м - разметку одной площадки для волейбола (в центре вдоль зала) (рисунок 4.7).

4.6 При одностороннем размещении балкона в зале 42×24 м площадки для баскетбола и тенниса следует сдвигать к противоположной балкону стене; при этом боковые линии разметки соответственно на 2 и 3,5 - 4,5 м от стены. При проектировании залов с балконами для зрителей низ конструкции балконов должен быть на отметке не менее 3,7 м от поверхности пола зала; в этом случае крепить баскетбольные щиты нужно к конструкции балкона.

4.7 В составе помещений физкультурно-спортивного зала для проведения соревнований высокого уровня должен предусматриваться зал для индивидуальной силовой подготовки размером не менее 12×6×4 м. Это помещение может непосредственно сообщаться с залом (ареной) или размещаться на пути из раздевальных в зал. В составе здания с ареной для легкой атлетики или футбола допускается также предусматривать зал размером 30×18×8 м для разминки и сбора участников соревнований. Размещение зала в здании должно позволять попадание в него соревнующихся на арене в дни соревнований и автономное использование для учебно-тренировочных занятий по спортивным играм в остальные дни. При зале предусматриваются командные раздевальные (с душевыми и уборными).

4.8 Для многофункциональных залов целесообразна трансформируемая секционная структура, которая в соответствии с функциональными и эксплуатационными требованиями позволяет проводить попеременно учебно-тренировочные занятия нескольких групп на отдельных площадках или на площади всего зала (рисунок 4.6). Ширина зала и габариты площадок, располагаемых поперек зала, определяются технологическими требованиями для различных видов спорта (24×15 м - для волейбола, 27 - 30×15 - 18 м - для баскетбола, 36×18 м - для тенниса и др.).

Длина зала зависит от количества повторяемых площадок, смыкающихся длинными сторонами и разделяющихся трансформируемыми перегородками. Каждая площадка должна быть связана непосредственно или через специальный коридор с блоком раздевальной и инвентарной (рисунок 4.8), что обеспечивает ее самостоятельное использование.

Создание зала размером 45×24 м позволит разместить в нем площадки или использовать его целиком для тренировок и соревнований по ряду игр с мячом, включая гандбол. Зал состоит из двух - трех (можно и более) секций. Каждая секция - это, в сущности, малый зал. Каждая следующая секция обогащает зал новыми возможностями.

Представляется целесообразным в залах размером 45´24 м и более, пригодных для соревнований, устраивать места для зрителей. При этом используются трансформируемые трибуны. Пригоден такой зал и для занятий элементами легкой атлетики. Зал 75×24 м с пятью секциями позволяет проводить бег на 60 м.

4.9 Трансформация секционных залов должна учитывать не только объемно-планировочную структуру (деление на секции подъемными или раздвижными перегородками, трансформация бличеров, раздвижные или подъемные двери-перегородки инвентарных), но и специфику применяемого оборудования (подъемные баскетбольные щиты, монорельсы для канатов, шестов, колец, уникальные крепления для стоек и т.п.).

При любых трансформациях зал следует проектировать с максимальной в каждом случае единовременной пропускной способностью при функциональном соответствии технологическим и методическим требованиям к проведению занятий.

4.10 Возможности некоторой универсализации использования могут быть обеспечены трансформацией основных элементов спортивного сооружения. В частности, арена легкоатлетического манежа при планировке, обеспечивающей отсутствие в средней ее зоне каких-либо стационарных вертикальных конструкций, может быть использована для эпизодического проведения соревнований по спортивным играм (и иным видам) на планшете сборно-разборного настила. Пример подобного использования легкоатлетической арены приведен на рисунке 4.9. При этом стойки для волейбольной сетки должны крепиться на растяжках во избежание устройства «стаканов» для стоек на арене в «неудобных» для легкой атлетики местах.

Данное использование легкоатлетической арены наиболее целесообразно при наличии в составе здания зала для разминки и спортивных игр с командными раздевальными при нем.

Подобным образом могут быть использованы также арены футбольных манежей при достаточных технико-экономических и организационных предпосылках.

4.11 Универсальные залы, рассчитанные на многофункциональное использование, наиболее целесообразны для учебных, секционных и внешкольных занятий учащихся общеобразовательных, начальных и средних профессиональных учебных заведений, а также для секционных и физкультурно-оздоровительных занятий жителей с периодическим проведением соревнований по основным видам спорта (рисунок 4.10).

4.12 Для выполнения учебных программ в каждой школе должны быть созданы условия для занятий многими видами спорта:

- элементами легкой атлетики, включающей бег на 60 м, прыжки в длину, метание мяча и гранаты, что требует зала размером 75×24 м;

- гимнастикой (ритмической, спортивной, художественной, акробатикой, танцами), включающей упражнения на перекладине, бревне, кольцах, канате, опорные прыжки, что требует зала размером не меньше 30×18 м (с акробатической дорожкой, настилом для художественной гимнастики и др.);

- ручными играми с мячом, включающими гандбол, что требует зала размером 45 (42)×24 м;

- боксом, борьбой, тяжелой атлетикой, для которых нужны специализированные залы размером не менее 18×12 (15) м, а для борьбы 24×15 м;

- ОФП (общей физической подготовкой) младших классов (I - IV), для которых нужен отдельный зал 24×15 м;

- стрельбой из малокалиберного оружия, для чего необходим тир с огневой полосой не менее 50 м.

Соотношение времени занятий спортивными играми, гимнастикой, легкой атлетикой по программе составляет 1:1:1,25. В одном из залов желательно устройство нескольких рядов бличеров для наблюдения за соревнованиями.

4.13 Для академических занятий I - IV классов и для занятий старших на тренажерах могут быть использованы небольшие помещения, легко размещаемые в школах, с сеткой колонн 6×6 м при высоте 3 - 4 м. Для I - IV классов зал 24×12 (15) м нужен для каждой параллели; для тренажеров - 56 м2 на одну параллель. Каждая площадка в зале для занятий одного класса должна иметь 2 блока раздевальных с душевыми и санузлами и инвентарную.

В учебных заведениях при одновременных занятиях в зале нескольких групп оборудование должно быть рассчитано на синхронность занятий одинаковыми упражнениями и чередование занятий различными видами спорта в течение каждого урока при одновременных занятиях нескольких групп. Оборудование залов для занятий спортивных секций должно соответствовать видам спорта, их чередованию, а также чередованию учебно-тренировочных занятий с соревнованиями (в том числе и при зрителях).

4.14 Оборудование многофункциональных залов должно соответствовать программам занятий всех групп по играм с мячом, гимнастике, включая элементы акробатики и художественной гимнастики, и по элементам легкой атлетики. Набор и расстановка оборудования должны соответствовать новейшим принципам проведения учебных занятий групповым, круговым, поточным и другими методами с повышенной интенсификацией и моторной плотностью занятий. Для занятий каждой группы (класса) с одним преподавателем нужна отдельная площадка (зал, часть зала), обеспеченная душевой и раздевальной.

4.15 Зал 30×15 м и более должен делиться на две части для одновременных занятий двух групп (класса), а потому размеры многофункциональных залов целесообразно определять кратными площадке 24×15 (12) м, пригодной для занятий группы в 24 чел. (по 15 м2 на человека при занятиях волейболом) или класса в 30 чел. (по 12 м2 на человека).

4.16 В многофункциональном зале ввиду возможности его использования школьниками и населением района необходимо оборудование для гимнастики и легкой атлетики в пределах программ школьных занятий и соревнований, а для спортивных игр - в пределах требований к занятиям специализированных секций.

В соответствии с программами занятий необходима трансформация оборудования многофункциональных залов для игр с мячом, гимнастики, элементов легкой атлетики не только поочередно, но и в течение каждого занятия.

Возможна различная расстановка оборудования на площадке для занятий одной группы (класса). Площадка может размещаться в отдельном зале или на части зала (секции): 18×9 (12, 15); 24 (27)×12 (15) м. Варианты площадок обусловлены распространенными размерами малых залов. Схемы расстановки оборудования на этих площадках (секциях) позволяют определить структуру многофункциональных залов больших размеров: секция 18×12 (15) м образует залы 30×18; 36×18; 42×18 м и т.д.; секция 24 (27)×12 (15) м - основа для залов 30×24; 42 (45)×24 (27); 60×24 (27); 75×24 (27) м (h = 8 м).

Предлагаемые схемы позволяют многообразно использовать зал как по видам спорта (игры с мячом, гимнастика, элементы акробатики и художественной гимнастики, легкая атлетика), так и по иным видам занятий (академические, секционные, группы ОФП, соревнования).

4.17 Размеры и пропускную способность спортивных площадок, специализированных по отдельным видам спорта для инвалидов, следует принимать согласно таблице 4.2.

4.18 Размеры залов в зависимости от вида проводимых занятий, размеров площадок для игр и занятий, необходимых зон безопасности и площади для размещения вспомогательного оборудования для передвижения и ориентации следует принимать по таблице 4.3.

Таблица 4.2

Виды спорта

Размер площадки для игры, м

Размер зоны безопасности, м

Пропускная способность, чел/смену

Категория инвалидов

Гандбол

40×20

1 - 2

24

ДС

Гимнастика спортивная

30×18

36×24

-

50

20

То же, НЗ

Элементы легкой атлетики в зале

45×27

-

15

ПОДА, НЗ

Примечание - Принятые сокращения в данной таблице и последующих: ПОДА - инвалиды с поражением опорно-двигательного аппарата, НЗ - инвалиды с недостатками зрения; ДС - инвалиды с дефектами слуха.

Пример планировочной разметки площадок для занятий инвалидов дан на рисунке 4.11.

Таблица 4.3 - Залы, не требующие специальных планировочных мероприятий

Назначение залов по видам спорта

Размеры зала, м

Категории инвалидов

Длина

Ширина

Высота

Зал для спортивных игр:

 

 

 

 

А (бадминтон, баскетбол, волейбол)

36

18

7

ПОДА, ДС

Б (гандбол, теннис, элементы легкой атлетики, фигурная езда на колясках)

45 (42)

24 (24)

8

ПОДА, ДС

4.19 Среди игр в залах, пользующихся популярностью за рубежом, можно отметить хоккей в зале (на паркете в спортивной обуви) и хоккей на роликах. Габариты площадок приведены на рисунках 4.12 и 4.13.

5 Залы для легкой атлетики

5.1 Залы для легкой атлетики следует проектировать в отдельно стоящих зданиях или в многозальных спортивных корпусах.

В зале (на арене) должны размещаться:

- дорожка для бега и ходьбы по кругу;

- дорожка для бега по прямой;

- не менее чем по одному месту для толкания ядра, прыжков в высоту, с шестом, в длину (тройного прыжка) и, как правило, места для тренировочных занятий по метанию диска и копья в сетку.

Для габаритов зала (арены) определяющими являются:

- расчетная длина и конфигурация круговой беговой дорожки;

- расчетная длина дистанций в беге по прямой;

- взаимоположение круговой и прямой беговых дорожек;

- расположение места для толкания ядра.

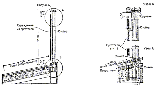
5.2 Расчетная длина круговой беговой дорожки считается по условной «линии измерения», отстоящей на 0,2 м от внутренней бровки, которая отмечается разметочной линией, лежащей в одной плоскости (не выступающей) с полом зала, и принимается не менее 160 и не более 200 м (оптимально). Повороты круговой дорожки должны быть идентичными и могут описываться одним радиусом (одноцентровой поворот), двумя и более радиусами (многоцентровой поворот) или выполняться сопряжением поворотов с прямыми отрезками при помощи переходной кривой (оптимально). Во всех случаях расчетная длина каждого поворота и каждого прямого отрезка круговой дорожки должна быть не менее 35 м, при этом участки поворота, выполненные по радиусу 41 м и более (при многоцентровых поворотах или при сопряжении поворотов с прямыми отрезками при помощи переходной кривой), входят в расчет длины прямого отрезка. Ширина круговой беговой дорожки должна быть не менее 4 м и не более 6 м для размещения на ней не менее четырех отдельных дорожек шириной по 1 - 1,25 м. На поворотах круговой беговой дорожки следует устраивать приподнятые виражи, имеющие в месте наибольшей крутизны уклон 10 - 18°; на прямых отрезках поперечный уклон принимается 1/100 (около 0,5°), однако допускается, чтобы они были горизонтальными. Схема построения круговой беговой дорожки дана на рисунке 5.1; расчетные параметры виражей и разметки стартовых линий - в приложении Б.

5.3 Дорожка для бега по прямой (рисунок 5.2) должна иметь ширину, обеспечивающую размещение на ней не менее шести отдельных дорожек шириной по 1,22 м. Основная дистанция для бега по прямой (в том числе с барьерами) 60 м. Допускается проектирование дорожек для бега по прямой на дистанции до 110 м включительно. Во всех случаях длина дорожки для бега по прямой должна превышать дистанцию бега не менее чем на 13 м (не менее 3 м до линии старта и не менее 10 м после финишной линии). Для бега на дистанцию 60 м в условиях соревнований дорожка может размещаться внутри контура круговой беговой дорожки. Для учебно-тренировочных занятий в беге по прямой дорожка должна размещаться за внешними пределами круговой дорожки, при этом она может служить и для соревнований, если ее местоположение позволяет удобно наблюдать за ними с мест для зрителей. Допускается совмещение дорожки для бега по прямой с прямым отрезком круговой беговой дорожки. В этом случае часть конструкции виража выполняют съемной исходя из того, что во время соревнований совмещение дорожки для бега по прямой и круговой дорожки можно предусматривать по всей ширине последней, а при учебно-тренировочных занятиях две внутренние отдельные круговые дорожки не должны совмещаться с дорожкой для бега по прямой (рисунки 5.3 - 5.5).

5.4 Места для прыжков (в высоту, с шестом, в длину и тройного) размещают, как правило, внутри контура круговой дорожки. Место для толкания ядра также допускается размещать внутри контура круговой дорожки, но желательно его выносить за ее пределы (рисунок 5.6). Это связано с затесненными условиями расположения отдельных мест внутри круга. Для обеспечения безопасности при метании копья и диска на учебно-тренировочных занятиях устанавливается заградительная сетка высотой не менее 4 м (рисунок 5.7).

По наружному и внутреннему периметру круговой беговой дорожки, по обе стороны вдоль дорожки для бега по прямой, а также у мест для прыжков и толкания ядра (в последнем случае при отсутствии ограждения этого места) следует предусматривать свободную от каких-либо препятствий полосу (зону безопасности), поверхность которой должна иметь одинаковую отметку с поверхностью беговых дорожек, дорожек для разбега и т.п. При смежном расположении мест ширину зон безопасности не суммируют, а принимают одну - общую (по наибольшему значению).

5.5 Высота зала (арены) до низа выступающих конструкций должна быть не менее 7 м. У места для приземления прыгунов с шестом она должна быть не менее 8,5 м в зоне шириной не менее 5 м и длиной не менее 6 м (2 м до опорной стенки ящика для упора и 4 м за нею по направлению разбега). Над местами для остальных прыжков может быть 5 м, а над беговыми дорожками и дорожками для разбега 4 м.

При наличии многоместных трибун потолок или выступающие конструкции не должны быть помехой зрителям для наблюдения за каждым из мест для отдельных видов легкой атлетики; в связи с этим при необходимости допускается общее или местное увеличение высоты помещения.

5.6 Вновь строящиеся залы со стационарными трибунами для зрителей следует проектировать при строгом соблюдении требований, приведенных выше. Правила соревнований по легкой атлетике допускают проведение соревнований в уже существующих залах с отступлениями, при которых протяженность бега по повороту может быть не менее 35 м; ширина круговой дорожки 3,2 м (на четыре отдельные дорожки по 0,8 м); ширина дорожки для бега по прямой 5 м (на четыре отдельные дорожки по 1,25 м). В проектной практике эти отступления могут допускаться только при реконструкции существующих зданий под залы для легкой атлетики.

Во вновь проектируемых залах, предназначаемых только для учебно-тренировочных занятий (без мест для зрителей), отступления от общих требований могут заключаться в том, что число отдельных беговых дорожек для бега по прямой (при неизменной ширине каждой 1,25 м) не регламентируется, общая ширина круговой дорожки может быть уменьшена до 2 - 2,5 м, место для толкания ядра и дорожку для бега по прямой допускается располагать вне основного объема зала. В отдельных случаях как во вновь проектируемых залах, так и при реконструкции существующих зданий при предназначении их только для учебно-тренировочных занятий допустимы промежуточные опоры, размещаемые в нерабочих зонах зала.

5.7 На рисунках 5.8 - 5.12 приведены примеры планировки залов (арен) с круговыми беговыми дорожками, имеющими оптимальную расчетную длину - 200 м и расчетную длину 1662/3 м, которые наиболее удобно сочетаются с длиной общепринятых дистанций бега по кругу. Для оптимальной длины 200 м проводятся варианты с одноцентровым поворотом наименьшей протяженности и варианты, при которых отрезки сопряжены с поворотами с помощью переходной кривой (клотоиды). Для дорожек длиной 1662/3 м приняты только одноцентровые повороты (рисунок 5.8).

5.8 Пропускную способность легкоатлетической арены определяют в зависимости от принимаемого в проекте числа мест для отдельных видов легкой атлетики и их размещения, допускающего одновременное использование этих мест, по таблице 5.1.

Таблица 5.1 - Единовременная пропускная способность отдельных мест для занятий в залах (манежах) для легкой атлетики

Вид занятий

Количество единовременно занимающихся по основным классификационным группам, чел/смену

Начинающие и низшие разряды

Высшие разряды, в том числе ММК

Бег по прямой дорожке длиной 60 - 100 м

4

2

Бег по круговой дорожке при ее длине, м:

 

 

160

6

3

200

8

5

250

10

6

Прыжки в высоту, длину, тройной, с шестом (на 1 сектор)

6

3

Толкание ядра, метание копья*, диска*, молота*

6

3

* Только тренировочные занятия при устройстве специального ограждения, перехватывающего метаемый снаряд.

5.9 При расположении трибун у поворотов в легкоатлетических залах для обеспечения видимости необходимо учитывать подъем круговой дорожки на виражах.

5.10 У круга для метания диска в залах для легкой атлетики применяют съемное ограждение при метании молота и диска, а размеры и конфигурацию съемного устройства для приема снарядов определяют по месту в каждом отдельном случае в зависимости от ограждающих конструкций зала, к которым это устройство прикрепляют. При метании диска и копья (с надеванием шайбы на его наконечник) применяют сетку с ячейкой 50×50 мм, плетеную из капронового шнура диаметром 4 мм. По периметру полотен сетки вплетают капроновый канат диаметром 9,6 мм. Для метания копья без надевания шайбы вместо сетки применяют конвейерную ленту.

Если место для толкания ядра используют также и для метания диска, ограждение сектора убирают, а закладные детали закрывают заподлицо с полом пробками, имеющими идентичное с ним покрытие. Аналогичные пробки предусматривают к закладным деталям для финишных стоек и к ящику для упора шеста, когда их не используют.

5.11 Арена зала для легкой атлетики без трансформации может быть использована инвалидами:

- с ДС - без ограничения (при организации визуальной информации);

- с ДЗ - для бега по прямой дорожке (при акустической ориентировке);

- с ПОДА (на колясках) - для гонок по круговой дорожке, для тренировочных метаний копья в сетку.

Арена футбольного манежа также без трансформации может быть предоставляема для занятий инвалидов:

- с ДС - без ограничений (при визуальной информации);

- с ПОДА (на колясках) - для стрельбы из лука.

5.12 Табель основного спортивного оборудования и инвентаря залов для легкой атлетики приведен в приложении В.

6 Вспомогательные помещения

6.1 Общие положения

6.1.1 Развернутый состав помещений вспомогательного назначения в учебно-тренировочных сооружениях включает следующие группы: вестибюль с гардеробом, блоки раздевальных, душевых и санузлов для занимающихся, инвентарные, тренерские и административные помещения. Очень важны для функционирования такие помещения, как медицинские пункты, методические кабинеты, бытовки для персонала. Получили распространение реабилитационные помещения, комнаты отдыха, мастерские, вспомогательные помещения для обслуживания плоскостных сооружений.

6.1.2 Состав и удельные параметры для расчета площади вспомогательных помещений при залах принимаются по таблице 6.1.

Таблица 6.1

Помещения

Удельные расчетные параметры, м2

Примечания

Вестибюль:

 

 

для занимающихся

0,5 на одного занимающегося (но не менее 20)

В крытых сооружениях с количеством мест для зрителей менее 800 предусматривается общим для занимающихся и зрителей

для зрителей

0,25 на одно зрительское место

При общем вестибюле расчетные площади для каждой категории посетителей не суммируются, а принимается наибольшая расчетная площадь

Гардеробная верхней одежды (площадь за барьером):

0,1 на одно место

 

для занимающихся

на 200 % единовременной вместимости для занятий

Устраивается отдельно от гардеробной для зрителей

для сотрудников

на 100 % сотрудников

 

для зрителей

на 100 % мест для зрителей

 

Фойе для зрителей

0,35 на одно зрительское место

При устройстве входов на зрительские места с отметки вестибюля фойе совмещается с ним, при этом площадь вестибюля-фойе принимается по наибольшему из расчетных показателей

Кассы:

 

 

кассовые кабины

2,5 на 1 кабину Количество кабин - из расчета: 1 кабина до 1500 мест для зрителей; 2 - при числе мест до 5000; 3 - при числе мест более 5000

 

помещение администратора

6 - 8

 

кассовый вестибюль

15 на каждую кабину

 

Места для переодевания в раздевальных для занимающихся (площадь для размещения скамей и проходов):

 

 

в общих мужских и общих женских раздевальных

1,0 - на одно место при числе мест в одном помещении свыше 50;

1,2 - при числе мест от 30 до 50;

1,3 - при числе мест не менее 30

Соотношение площадей мужских и женских раздевальных следует принимать 1:1, если иное соотношение не вызывается местными демографическими особенностями

в командных раздевальных

1,5 на одно место

Расчетное число мест в каждой раздевальной - 16

В командной раздевальной допускается предусматривать дополнительную площадь до 4 м2 для тренера, его помощника и представителя команды

Шкафы для хранения домашней одежды занимающихся (двухъярусные или одноярусные размером в плане 0,6×0,3 м):

0,18 на один шкаф

 

в общих раздевальных (в закрытых двухъярусных шкафах)

При 0,18 на один шкаф (на 2 места для хранения одежды); число мест - на 150 % вместимости раздевальной

При одноярусных шкафах норму площади следует увеличивать вдвое. В раздевальных, предназначаемых для детей, шкафы следует предусматривать только одноярусными; при расстановке шкафов для хранения домашней одежды не в блоке со скамьями для переодевания норму площади следует увеличить в 2,2 раза для двухъярусных и в 1,7 раза - для одноярусных шкафов (из примерного расчета 0,5 м2 на один шкаф)

в командных раздевальных (в закрытых двухъярусных или одноярусных шкафах)

0,18 на один шкаф; число шкафов - на 100 % мест для переодевания

Допускается предусматривать хранение одежды открытым способом (на крючках, вешалках) - при использовании закрытой раздевальной одной командой в течение всей смены; в этом случае площадь для шкафов не выделяется

в отдельном помещении гардеробной домашней одежды (в двухъярусных открытых шкафах размером в плане 0,6×0,3 м)

0,50 на один шкаф

Может предусматриваться взамен хранения одежды в помещениях раздевальных Допускается хранение части домашней одежды в помещении раздевальной, а части - в помещении общей гардеробной

Помещение для отдыха занимающихся

1,5, но не менее 18 из расчета 20 % пропускной способности в смену

Допускается предусматривать в виде кулуаров в световых разрывах коридоров, а также объединить с вестибюлем для занимающихся. На сооружениях жилых районов, а также при пропускной способности сооружения менее 100 чел. в смену не предусматривается

Помещение для медицинского обслуживания и контроля:

 

При двух или более залах в одном здании предусматривается общим для всего сооружения. Планировка, размеры и оборудование помещения должны обеспечивать возможность движения и обслуживания инвалидов, пользующихся креслами-колясками

пункт оказания первой медицинской помощи в составе:

 

При отсутствии в составе сооружения блока помещений медико-восстановительного назначения рекомендуется предусматривать использование пункта первой помощи для проведения консультации спортивно-медицинского характера

кабинет врача (дежурной медсестры)

16

ожидальная

16

санитарно-гигиенические помещения

8

медико-восстановительный центр

Состав и площади помещений определяются заданием на проектирование исходя из местных условий и требований заказчика

 

блок массажной и бани сухого жара в составе:

 

 

помещение массажной

12 при одном столе

При двух и более столах в одном помещении на каждый стол добавлять по 8 м2

Необходимость устройства, а также количество столов в массажной и мест в бане определяются заданием на проектирование

помещение камеры сухого жара

2 на одно место, не считая шлюза при входе в камеру, но не менее 10

 

раздевальная при: массажной

1,5 на один стол, но не менее 5

Допускается размещение массажной или бани при раздевальных для занимающихся; в этом случае отдельные раздевальные при них не предусматриваются

бане

1,5 на два места в камере, но не менее 12

 

комнате отдыха

2 на одно место в камере, но не менее 12

Соотношение мужчин и женщин следует принимать 1:1, если иное соотношение не определено в задании на проектирование

помещения для допинг-контроля в составе:

 

Необходимость наличия на сооружении пункта (зоны) допинг-контроля определяется заданием на проектирование

ожидальная;

20

помещение для взятия и анализа проб с открытыми туалетными отсеками (3 отсека);

20

душевая и уборная при ожидальной

12 - 14

Комнаты инструкторского и тренерского состава (мужская и женская)

2,5 (1,8 при числе мест в комнате более 10) на одно место, но не менее 9 каждая

Количество мест:

1 на каждые 15 чел. пропускной способности в смену

При числе работающих 5 и менее для мужчин и женщин, предусматривая при этом кабины для переодевания площадью 1 м2 каждая. Количество кабин 1 - 2 на 5 мест. При кабинах могут предусматриваться душевые

Учебный класс (методический кабинет):

 

Необходимость наличия методических кабинетов определяется заданием на проектирование

помещение для занятий;

30

кладовая наглядных пособий

10

Служебные помещения административного и технического персонала

Состав и площади - по заданию на проектирование или штатному расписанию

 

Бытовые помещения для рабочих

1,5 на одно место, но не менее 96 в каждом помещении. Расчетное число мест - на 50 % численности по штатному расписанию или по заданию на проектирование

Допускается устройство кабин для переодевания, в том числе с душевыми (по аналогии с помещениями для тренеров)

Кладовые уборочного инвентаря

4 на 1000 м2 площади пола убираемых помещений

Располагаются поэтажно, рассредоточенно при убираемых помещениях

Помещения для работников охраны общественного порядка

Две смежные комнаты по 10 - 12 м2 каждая

Предусматриваются при вместимости трибун в крытых сооружениях от 1500 зрителей или по заданию на проектирование

Примечание - Для хранения оборудования, необходимого при трансформации мест соревнований в крытых сооружениях (помосты под ринги, борцовские ковры, гимнастические снаряды, настилы для спортивных игр), а также переносных трибун или иных съемных мест для зрителей предусматриваются помещения, площадь которых определяется в зависимости от количества и габаритов оборудования и принятых способов хранения.

6.2 Вестибюли

6.2.1 При общем вестибюле в спортивном корпусе с одним залом для определения площади вестибюля расчетные площади вестибюля для занимающихся и зрителей не суммируются, а принимается одна, наибольшая из полученных по расчету.

В спортивном корпусе с двумя и более залами, из которых места для зрителей предусматриваются только в одном, площадь общего вестибюля определяется сложением площади, рассчитанной исходя из общего числа занимающихся в смену во всех залах с площадью вестибюля для зрителей; в спортивных корпусах с местами для зрителей в нескольких залах в расчет площади вестибюля для зрителей принимается зал с наибольшим числом зрительских мест.

В тех случаях, когда в зале имеются стационарные (трибуны) и временные (партер или бличеры) места, расчетное число зрителей определяется в соответствии со схемами трансформации зала и зрительских мест.

6.2.2 Гардеробная обычно объединяется с вестибюлем. В тех случаях, когда она размещается в отдельном помещении, перед барьером гардеробной (вдоль него) предусматривается свободная полоса из расчета 0,03 м2 на одно место в гардеробной, но ширина полосы не должна быть меньше 1 м. Глубина гардеробной за барьером предусматривается не более 6 м.

Верхняя одежда сотрудников хранится, как правило, у рабочего места и в расчете гардеробной для занимающихся (или зрителей) может не учитываться.

6.2.3 В круглогодично действующем сооружении, предназначенном для учебно-тренировочных занятий с детьми до 10-летнего возраста, предусматриваются площадь ожидания для родителей, сопровождающих детей, из расчета 0,5 м2 на одно место, размещаемая, как правило, объединенной с площадью вестибюля для занимающихся, а также места в гардеробной верхней одежды. Число мест следует принимать на 50 % пропускной способности.

В сооружениях с местами для зрителей площадь для ожидания родителей и места в гардеробной для их верхней одежды не предусматриваются, так как для ожидания и хранения одежды родителей используются вестибюль и гардеробная для зрителей.

6.2.4 Во всех сооружениях, где имеются места для зрителей, предусматривается фойе, площадь которого определяется из расчета 0,35 м2 на зрительское место; при этом принимаемое в расчет число зрительских мест должно учитывать схемы трансформации арены и зрительских мест.

В тех случаях, когда все входы на зрительские места находятся на той же отметке, что и вестибюль для зрителей, фойе совмещается с вестибюлем; при этом расчетные площади вестибюля и фойе не суммируются, а принимается одна, наибольшая из полученных по расчету.

6.2.5 В зданиях спортивных залов, а также в других сооружениях, где предусмотрено проведение платных мероприятий, для продажи билетов предусматриваются кассы.

Количество кассовых кабин определяется из расчета: 1 кабина при числе зрительских мест или посетителей платного мероприятия до 1500 чел.; 2 кабины - от 1500 до 5000 чел.; 3 кабины - от 5000 до 10 000 чел.

При двух и более кабинах целесообразно устраивать кассовый вестибюль, площадь которого определяется из расчета 15 м2 на каждую кабину. Кассовый вестибюль должен иметь самостоятельный наружный вход и по возможности сообщаться с вестибюлем для зрителей.

Кассовый вестибюль должен сообщаться через окно с помещением заведующего билетными кассами (администратора), площадь которого 6 - 8 м2.

6.3 Раздевальные

6.3.1 Раздевальные для занимающихся следует предусматривать отдельно для мужчин и женщин с хранением домашней одежды в шкафах, размещаемых непосредственно в помещении раздевальной или в отдельном помещении общей гардеробной, располагаемой смежно с мужской и женской раздевальными, и сообщаются с ними через проемы для приема и выдачи домашней одежды.

В сооружениях, предназначенных для соревнований по командным видам спортивных игр (в том числе в универсальных сооружениях), следует предусматривать не менее четырех командных раздевальных без деления на мужские и женские. При предназначении сооружения также для учебно-тренировочных занятий и (или) соревнований по другим видам спорта площади командных раздевальных должны входить в расчет общей площади раздевальных сооружений.

Примечания

1. При количестве раздевальных более двух и хранении домашней одежды в общей гардеробной допускается размещение последней не смежно с раздевальными, а на пути из раздевальной в зал (на площадку, поле).

2. На сооружениях с пропускной способностью до 80 чел. в смену и расположением раздевальных на одном этаже с гардеробной верхней одежды последнюю допускается располагать смежно с гардеробной домашней одежды и сообщающейся с нею через дверной проем.

6.3.2 Раздевальные для занимающихся могут предназначаться только для переодевания или для переодевания и хранения домашней одежды. Параметры функциональных зон приведены на рисунке 6.1.

Места для переодевания оборудуются, как правило, скамьями из расчета не менее 0,6 м длины скамьи на одно место, а для хранения домашней одежды предусматриваются закрытые двухъярусные шкафы размером в плане 0,6×0,3 м, устанавливаемые, как правило, в блоке с местами (скамьями) для переодевания (т.е. с общим проходом к ним). В этом случае площадь на каждый шкаф принимается 0,18 м2. В тех случаях, когда число шкафов превышает число мест для переодевания, «избыточные» шкафы устанавливаются отдельно и площадь на каждый шкаф (с учетом проходов к нему) принимается 0,5 м2.

Соотношение числа мест для переодевания в мужских и женских раздевальных принимается, как правило, 1:1. При этом число шкафов для хранения домашней одежды в каждой из раздевальных принимается (в соответствии с опытом эксплуатации) на 150 % мест для переодевания.

6.3.3 При хранении домашней одежды в отдельном помещении гардеробной домашней одежды оно оборудуется открытыми двухъярусными шкафами такого же размера, что и крытые. Число шкафов принимается на 100 % занимающихся в смену, а площадь на каждый шкаф - 0,5 м2 (с учетом подходов к нему).

Хранение домашней одежды в отдельном помещении гардеробной дает экономию площади, но требует наличия гардеробщика. Помещение гардеробной рекомендуется размещать смежно с мужской и женской раздевальными, сообщающимися с ним через окно приема и выдачи одежды. При числе раздевальных более двух гардеробная может располагаться не смежно с раздевальными, а на пути движения занимающихся к залу.

6.3.4 В раздевальных, предназначаемых для детей до 10 лет, рекомендуется хранение их домашней одежды только в помещении раздевальной, в одноярусных закрытых шкафах размером 0,6×0,3 м в плане, число которых принимается на 300 % мест для переодевания.

6.3.5 В тех случаях, когда зал предназначается для вида (видов) спорта, которым занимаются как мужчины, так и женщины, раздевальных для занимающихся при этом зале должно быть не менее двух (мужская и женская). Если же зал предназначается для вида спорта, которым занимаются только женщины (например, художественная гимнастика), или только мужчины (например, бокс), то раздевальная предусматривается одна (мужская или женская), при этом число мест для переодевания и число двухъярусных закрытых шкафов в ней принимаются на 100 % занимающихся в смену.

6.3.6 Для удобства подсчета площади раздевальных во всех случаях рекомендуется пользоваться таблицей 6.2, в которой приведены удельные показатели площади, при этом учтено необходимое число шкафов (или их отсутствие), скамей для переодевания с необходимым числом мест, проходов надлежащей ширины, а также размещение в раздевальной мойки для ног и умывальника.

Таблица 6.2

Контингент занимающихся в зале

Удельная площадь раздевальной, м2, на 1 чел. при числе одновременно пользующихся данной раздевальной:

Менее 20

От 21 до 30

От 31 до 50

Более 50

Занимающиеся одного пола:

 

 

 

 

дети до 10 лет

2,3

2,0

-

-

дети старше 10

1,9

1,6

1,5

1,3

лет и взрослые

(1,7)

(1,4)

(1,3)

(1,1)

Занимающиеся обоих полов:

 

 

 

 

дети до 10 лет

2,8

2,6

-

-

дети старше 10

2,1

1,8

1,7

1,5

лет и взрослые

(1,7)

(1,4)

(1,3)

(1,1)

Примечание - В скобках приведен показатель удельной площади раздевальной при хранении домашней одежды в отдельном помещении гардеробной.

При одной и той же пропускной способности физкультурно-спортивного зала число занимающихся, одновременно пользующихся раздевальной, зависит от принятого в проекте числа помещений раздевальных. Следует иметь в виду, что уменьшение мест в раздевальной повышает комфорт, но ведет к увеличению суммарной площади всех раздевальных.

6.3.7 Места для переодевания инвалидов с поражением опорно-двигательного аппарата могут быть запроектированы:

в общих раздевальных, обслуживающих как инвалидов, так и всех других занимающихся;

в общих раздевальных с устройством индивидуальных кабин для переодевания;

в «семейных» раздевальных для инвалидов с сопровождающим.

Таблица 6.3

Помещения

Площадь, м2, для занимающихся

Примечания

не использующих кресла-коляски

использующих кресла-коляски

Раздевальные для занимающихся в спортсооружениях:

 

 

В скобках указан показатель площади для раздевальных с хранением одежды на открытых крючках или в отдельном помещении гардеробной

традиционный принцип хранения:

 

 

с числом мест до 40

2,1 (1,7)

3,8 (2,1)

то же, 40 мест и более

1,7 (1,1)

3,3 (1,6)

для детей до 10 лет

2,9

3,8

«семейные» раздевальные в блоке с душевой и санузлом (для инвалидов с сопровождающими)

-

14 (площадь каждого блока)

Количество блоков (при пропускной способности сооружения): 2 блока (от 15 до 35 чел.); 4 блока (св. 35 чел.)

индивидуальные кабины для переодевания

2 (каждая кабинка)

4 (каждая кабинка)

Количество кабинок до 30 % численности занимающихся

Гардеробные для домашней одежды занимающихся

0,5

0,5

На одного занимающегося

Соотношение числа мест для переодевания инвалидов с ПОДА в различных типах раздевальных определяется заданием на проектирование. Суммарная численность мест должна соответствовать единовременной пропускной способности сооружения (группы сооружений), используемого инвалидами.

Площади раздевальных для переодевания инвалидов рекомендуется принимать по расчету в соответствии с таблицей 6.3.

6.3.8 При расстановке скамей для переодевания и шкафов для хранения домашней одежды в раздевальных, гардеробных и душевых принимаются минимальные размеры ширины проходов по таблице 6.4 и рисункам 6.2 и 6.3.

6.3.9 При использовании общих раздевальных инвалидами необходимо учитывать, что проходы между скамьями для переодевания и шкафами для хранения одежды должны быть рассчитаны на свободный проезд инвалидной коляски (см. рисунок 6.1).

Скамьи в общих раздевальных должны располагаться на расстоянии не менее 1,8 м друг от друга. В раздевальных необходимо устройство подиума или островной скамьи длиной 3 м, шириной 0,5 - 0,9 м и высотой 0,5 м для обеспечения возможности раздеваться лежа. В отдельных случаях допускается устройство расширенной скамьи шириной не менее 0,6 м вдоль одной из стен раздевальной.

Таблица 6.4 - Нормируемые расстояния

Расстояния

Размер, м

В раздевальных:

 

между рядами скамей при сидении лицом друг к другу

Не менее 1,5

между рядом скамей и параллельной ему стеной или стоящим напротив рядом шкафов

Не менее 1,1

между рядами шкафов или рядом шкафов и стеной

Не менее 0,6

перед фронтом отдельно стоящих шкафов

Не менее 0,5

перед фронтом оконных проемов в наружной стене гардеробной домашней одежды

Не менее 0,7

боковые проходы

Не менее 0,5

главные проходы

Не менее 1

Свободная зона перед фронтом проемов в гардеробную домашней одежды

Из расчета 0,07 м2 на 1 место для переодевания при ширине не менее 0,7 м (не считая ширины прохода)

В гардеробной домашней одежды - между рядами шкафов и перед фронтом проемов в раздевальные

Не менее 0,7

6.3.10 Шкафчики для хранения одежды должны быть в пределах досягаемости инвалидами разного возраста - от 0,3 до 1,1 м от пола.

Хранение домашней одежды в помещении раздевальной следует предусматривать в закрытых одноярусных шкафах высотой до 1,3 м. В помещениях раздевальных, используемых одной командой, и для детей допускается хранение домашней одежды открытым способом, на крючках.

6.3.11 Индивидуальные кабины для переодевания следует предусматривать как стандартных размеров - 1,2×1,2 м, оборудуя их горизонтальными поручнями и скамьей для переодевания, так и увеличенных размеров - 2×2 м для инвалидов, использующих кресла-коляски.

В помещениях общих раздевальных могут выделяться зоны для переодевания инвалидов, визуально отделяемые от всего помещения мебелью и оборудованием.

6.3.12 Исходя из гигиенических соображений пути движения занимающихся из раздевальных в зал не должны пересекаться с путями движения зрителей.

Раздевальные должны сообщаться с залом непосредственно или по коридору (по лестнице), предназначенным только для сообщения с залом. Примеры планировок даны на рисунках 6.4 - 6.6.

6.4 Санитарно-гигиенические помещения

6.4.1 Размещение и количество санитарных приборов во вспомогательных помещениях следует принимать по таблице 6.5.

Таблица 6.5

Помещения, санитарные приборы

Количество санитарных приборов

Примечания, дополнительные данные

Душевые (женские и мужские) при:

 

См. примечания к данной таблице

раздевальных для занимающихся

Одна сетка на 5 мест для переодевания

 

комнатах для инструкторского и тренерского состава и бытовых помещениях для рабочих

Одна сетка на 15 единовременно работающих мужчин и на 12 единовременно работающих женщин, но не менее одной сетки при каждом помещении

 

раздевальных массажных и бань сухого жара

Одна сетка на 2 места в бане и 2 стола в массажной, но не менее двух сеток при бане и одной сетки при массажной

При бане допускается устройство контрастной ванны площадью не менее 4 м2

Санитарные узлы (с умывальником в шлюзах):

 

См. примечания к данной таблице

при раздевальных для занимающихся

Один унитаз на 30 мест для переодевания в женской раздевальной

Один унитаз на 135 и один писсуар на 45 мест для переодевания в мужской раздевальной

Независимо от вместимости раздевальной при ней предусматривается не менее одного унитаза

для сотрудников и тренерского состава

Один унитаз на 15 единовременно работающих женщин

Один унитаз на 60 и один писсуар на 20 единовременно работающих мужчин

При численности единовременно работающих мужчин и женщин менее 20 чел. предусматривается общий санитарный узел на один унитаз

для зрителей

Один унитаз на 40 женщин

Один унитаз на 330 и один писсуар на 66 мужчин

В каждом помещении санитарного узла должно быть, как правило, не более 40 приборов (унитазов, писсуаров); вход и выход должны быть рассредоточены и не допускать противопотока посетителей

Умывальные при санитарных узлах для зрителей

Один умывальник на 4 унитаза - для женщин

Один умывальник на 8 приборов (унитазы, писсуары) - для мужчин

 

Умывальники:

 

 

в раздевальных для занимающихся

Один умывальник на 30 мест для переодевания, но не менее одного в каждой раздевальной

 

в комнатах инструкторского и тренерского состава, помещениях для рабочих, для медицинского обслуживания (кроме ожидальной), массажной

По одному умывальнику на каждое помещение

 

Сушилки для волос в раздевальных для занимающихся

Один прибор на 10 мест для переодевания в женской раздевальной

Один прибор на 20 мест для переодевания в мужской раздевальной

В командных раздевальных не менее 2 приборов в каждой

Ножные ванны (мойки для ног) в раздевальных для занимающихся

Одна ванна на 20 мест для переодевания, но не менее одной ванны в каждой раздевальной

Площадь на одну ванну 1,0´0,85 м

Мойки в помещениях для уборочного инвентаря

Одна на помещение

 

Примечания

1. Для инвалидов на креслах-колясках следует предусматривать отдельные санитарно-гигиенические кабины площадью 4 - 5,5 м2, оборудованные унитазами, душевыми сетками и умывальниками (рисунок 6.7).

2. Численное соотношение работающих мужчин и женщин принимается, как правило, 1:1. Соотношение мужчин и женщин на зрительских местах принимается в пределах 7:3 - 6:4.

3. При душевых с числом сеток более четырех предусматриваются преддушевые (шлюзы для переодевания), которые оборудуются скамьями, вешалками с крючками для полотенец и полочками для туалетных принадлежностей.

4. При числе единовременно работающих менее 5 душевые при комнатах для инструкторского и тренерского состава и бытовых помещениях могут не предусматриваться.

5. Число умывальников в шлюзах определяется исходя из расчета один умывальник на каждые 5 приборов (унитазов и писсуаров), но не менее одного умывальника при каждом санитарном узле.

6. Умывальники в раздевальных для занимающихся допускается размещать в шлюзах при уборных.

7. Сушилки для волос допускается размещать в отдельном помещении, смежном с раздевальной.

6.4.2 Размеры кабин уборных и душевых, размеры проходов в них и в умывальных, а также расстояние между приборами приведены в таблице 6.6 и рисунке 6.7.

6.4.3 Количество специально оборудованных душевых кабин и санузлов для инвалидов на креслах-колясках следует принимать с учетом численности инвалидов, переодевающихся в общих раздевальных, из расчета 1 сетка на трех инвалидов; число санитарных приборов - в соответствии с расчетными показателями, приводимыми в справочных пособиях к СНиП 2.08.02.

6.4.4 Количество душевых кабин, оборудованных для инвалидов, пользующихся креслами-колясками, следует принимать из расчета не менее одной сетки на трех инвалидов.

Таблица 6.6

Показатель

Уборные

Умывальные

Душевые

Размеры кабин в плане (не менее), м, при дверях:

 

 

 

открывающихся наружу

0,85×1,2

-

0,85×1,8**

открывающихся внутрь

0,85×1,5*

-

-

открытых (без дверей)

-

-

0,85×1

Высота разделительных экранов (от пола), м

1,8

-

1,8

Расстояние от пола до низа экрана, м

0,2

-

0,2

Расстояние между приборами (в осях), м:

 

 

 

умывальниками

-

0,65

-

писсуарами

0,7

-

-

Ширина проходов (не менее), м:

 

 

 

между рядами кабин:

 

 

 

не более 6 в ряду

1,5

-

1,5

св. 6 в ряду

2

-

1,5

между стеной (перегородкой) и рядом кабин

1,3

1,1

1 - при числе в ряду до 6;

1,5 - при 7 и более приборах

между фронтом душевых кабин и противоположной стеной или перегородкой

1,3

 

 

между фронтами противоположных рядов душевых кабин

1,5

 

 

между рядами умывальников

-

1,6

-

между рядами писсуаров:

 

 

 

не более 6 в ряду

1,5

-

-

св. 6 в ряду

2

-

-

между кабинами и рядом писсуаров

2

-

-

* Принимается только для уборных, состоящих из одной кабины и шлюза.

** Включая преддушевую при закрытых кабинах.

Кабина оборудуется горизонтальными (на высоте 0,6 и 0,9 м) и вертикальными опорными поручнями (низ на высоте 0,75 м), а также скамьей глубиной 0,5 м и шириной не менее 0,5 м, размещенной на высоте 0,5 м. Желательно устройство откидной скамьи. Краны в душевых должны располагаться на высоте не более 1,3 м.

Специально оборудованные для инвалидов душевые кабины размещаются в блоке с душевыми стандартных размеров для обычных спортсменов и должны выделяться специальной маркировкой.

6.4.5 В блоке с общими раздевальными должны предусматриваться для инвалидов душевые и санузлы, оборудованные соответствующим образом. При помещениях «семейных» раздевальных предусматриваются самостоятельные душевая и санузел.

Душевые в общих раздевальных должны быть рассчитаны на возможность использования инвалидами на колясках. Расстояние от стены до ряда кабин должно быть не менее 1,5 м. Для инвалидов следует устраивать отдельные душевые кабины в пределах общего помещения. Размер кабины 0,9×1,2 м.

6.4.6 В спортивных сооружениях в многоместной уборной должна быть предусмотрена кабина достаточного размера для пользователя инвалидным креслом или по крайней мере оснащенная опорным поручнем по всему периметру. Опорные поручни устанавливаются с учетом разновозрастных пользователей на высоте 500 - 650 - 900 мм от пола.

В туалетах, рассчитанных на детей-инвалидов, необходимо устанавливать унитазы разной высоты и размеров: от детских (высотой 250 - 340 мм) до взрослых (высотой 450 - 500 мм).

Раковины в умывальниках необходимо устанавливать на разной высоте для удобства пользования людей разного возраста и степени инвалидности - от 650 до 900 мм.

6.5 Прочие помещения

6.5.1 Площадь инструкторских определяется заданием на проектирование или проектом с учетом расчетных показателей, приводимых в справочных пособиях к СНиП 2.08.02.

6.5.2 Комнаты инструкторов (тренеров) рекомендуется предусматривать общими (для мужчин и женщин) с размещением в них кабины для переодевания площадью 1 м2. Площадь комнат определяется из расчета 2,5 м2 на одно место, но не менее 9 м2 каждая. Число одновременно работающих тренеров определяется из расчета 1 чел. на каждое помещение.

При числе единовременно работающих инструкторов (тренеров) и сотрудников не более 20 чел. рекомендуется предусматривать общий (для мужчин и женщин) санитарный узел на один унитаз и один умывальник.

6.5.3 В зданиях спортивных корпусов могут предусматриваться помещения медицинского обслуживания и контроля:

для оказания первой медицинской помощи;

блок помещений (центр) медико-восстановительного назначения;

блок массажной и бани сухого пара;

зоны (блок) допинг-контроля.

6.5.4 Блок помещений для оказания первой медицинской помощи травмированным или неожиданно заболевшим спортсменам, зрителям, иным присутствующим на сооружении лицам должен размещаться в удобной связи с местом проведения соревнований и эвакуационным выходом из здания (для беспрепятственной доставки носилок с больным к машине «скорой помощи»).

Размеры и взаимосвязь (планировка) помещений блока должны давать возможность транспортировки носилок и движения инвалидных кресел-колясок, а оборудование блока должно обеспечивать не только оказание первой медицинской помощи, но и проведение консультаций по функционированию организма в условиях повышенных физических нагрузок.

В состав блока входят:

кабинет врача площадью 16 м2;

ожидальная - 16 м2;

санитарно-гигиенические помещения - 8 м2.

Примерная схема планировки приведена на рисунке 6.8.

Ожидальная может размещаться в расширенной части коридора. На спортивных комплексах, состоящих из нескольких спортивных корпусов, кабинет врача с ожидальной предусматриваются только в одном здании, а в остальных предусматриваются комнаты для оказания первой медицинской помощи площадью 9 м2 каждая.

6.5.5 В составе помещений для медицинского обслуживания при соответствующем обосновании заданием на проектирование могут предусматриваться медико-восстановительные центры.

На спортивных комплексах, состоящих из нескольких спортивных корпусов, помещения медико-восстановительного центра предусматриваются в одном из спортивных корпусов (взамен кабинета врача и ожидальной). Возможно размещение медико-восстановительного центра в отдельном здании; в этом случае в остальных зданиях комплекса предусматриваются только комнаты для оказания первой медицинской помощи площадью 9 м2 каждая.

Рекомендуемые состав и площади помещений медико-восстановительного центра приведены в таблице 6.7.

Таблица 6.7

Помещение

Минимальная площадь, м2

Кабинет врача (заведующего центром)

12

Кабинет электро- и светолечения:

 

7 кабин по одной кушетке в каждой

42

помещение для обработки прокладок

8

Душевой зал:

 

кафедра на 5 душевых установок

25

раздевальная при зале

10

Подводный душ-массаж:

 

комната с ванной

18

кабина для раздевания

2

Кабинет для проведения тестов с физической нагрузкой (велоэргометрия, спироэргометрия и др.)

20

Процедурная для инъекций

12

Комната для отдыха (в креслах)

12

Комната персонала

12 - 15

Кладовая предметов уборки и грязного белья

4

Санитарный узел мужской (1 унитаз, 1 писсуар с умывальником в шлюзе)

6

Санитарный узел женский (2 унитаза с умывальником в шлюзе)

6

Примечания

1. При проектировании помещений центра следует руководствоваться требованиями, предъявляемыми к аналогичным помещениям лечебно-профилактических учреждений, а также предусматривать возможность обслуживания инвалидов на креслах-колясках.

2. Ширина коридоров в медико-восстановительных центрах не менее 2 м.

3. В зависимости от местных условий заданием на проектирование могут предусматриваться отдельные изменения состава.

4. Кроме перечисленных в составе помещений медико-восстановительного центра могут предусматриваться помещения массажной и бани сухого жара.

6.5.6 Массажная и баня сухого жара могут предусматриваться при спортивных залах в случаях, когда на сооружении не предусматривается медико-восстановительный центр. Необходимость их устройства, а также число массажных столов и мест в камере сухого жара, зависящее в основном от спортивной квалификации занимающихся, определяются заданием на проектирование.

В состав помещений массажной входят:

массажная площадью 12 м2 при одном столе; при двух и более столах площадь принимается из расчета 8 м2 на каждый стол;

раздевальная из расчета 1,5 м2 на каждый стол, но не менее 5 м2;

душевая (см. таблицы 6.5 и 6.6).

В состав помещений бани сухого жара входят:

камера сухого жара, площадь которой определяется из расчета 2 м2 на одно место (не считая шлюза при входе в камеру, препятствующего проникновению в нее влаги). Рекомендуется предусматривать вместимость камер в пределах 7 - 8 чел. (но не более 10); при необходимости иметь большее число мест предусматриваются соответственно 2 камеры или более;

раздевальная из расчета 1,5 м2 на одно место в камере, но не менее 12 м2;

душевая (см. таблицы 6.5 и 6.6).

Примечание - При проектировании блока массажной и бани сухого жара необходимо также предусматривать возможность обслуживания инвалидов на креслах-колясках.

6.5.7 При размещении бани сухого жара не в составе медико-восстановительного центра в ее составе рекомендуется дополнительно предусматривать:

комнату отдыха из расчета 2 м2 на одно место в камере, но не менее 12 м2. Комнату рекомендуется оборудовать мягкими креслами или шезлонгами;

контрастную ванну, как правило, размером 2×2 м, размещаемую в отдельном помещении. Обходные дорожки вокруг ванны рекомендуется принимать шириной до 2 м.

Необходимость устройства ванны определяется заданием на проектирование.

При размещении массажной и бани сухого жара в блоке друг с другом раздевальные при них (с душевыми) устраиваются раздельными с самостоятельными входами в них, что создает возможность их автономного использования. При расположении массажной при раздевальных для занимающихся отдельные раздевальные и душевые при массажной не предусматриваются.

6.5.8 Помещения медико-восстановительного центра располагаются обособленной группой, удаленной от помещений вентиляционных камер, насосных и других возможных источников вибрации и шума. При расположении медико-восстановительного центра в отдельном здании в составе помещений центра, кроме приведенных в таблице 6.7, предусматриваются вестибюль площадью 15 - 20 м2 и гардеробная верхней одежды площадью 10 м2.

6.5.9 В составе сооружений, предназначенных для проведения соревнований относительно крупного масштаба (межобластные, межрегиональные и выше), а также в любом случае по требованию заказчика при проектировании, строительстве и реконструкции предусматривается группа (зона) помещений для проведения контроля за возможным применением участниками соревнований запрещенных препаратов - допингов, кратковременно обеспечивающих резкое превышение естественных физических возможностей спортсменов.

Зона допинг-контроля размещается в удобной связи с местом проведения соревнований и включает:

- помещение для ожидания, оборудованное удобными стульями (не менее 8 штук), холодильником, телевизором;

- помещение собственно допинг-контроля, оборудованное столом врача, рабочим столом для анализа проб, шкафом для одежды, холодильником;

- примыкающие к помещению допинг-контроля открытые (для визуального контроля процедуры) туалетные отсеки (не менее 3 отсеков) с одним унитазом и одним умывальником в каждом отсеке.

Кроме того, к помещению ожидания должны примыкать:

- душевая на два рожка (возможно - кабины для переодевания с душевыми) и преддушевой с сушилками для волос;

- уборная (закрывающаяся) с одним унитазом и одним умывальником, которым могут пользоваться сотрудники зоны и ожидающие спортсмены.

Раздевальная (преддушевая) оборудуется скамьей для отдыха, сушилками для волос, зеркалом в полный рост. Подобными зеркалами оборудуются также уборные. Пример планировки зоны допинг-контроля дан на рисунке 6.8.

В целях исключения фальсификации результатов допинг-контроля вход в зону предусматривается охраняемым с допуском в нее сотрудников зоны и вызванных для проверки спортсменов.

Если предусматривается использование сооружения для соревнований спортсменов-инвалидов с ПОДА, размеры и оборудование душевых и уборных (по крайней мере их части) должны соответствовать потребностям данной категории инвалидов.

6.5.10 При пропускной способности занимающихся менее 48 чел. в смену или при числе зрительских мест менее 500 буфеты не предусматриваются. При пропускной способности менее 48 занимающихся в смену в помещениях для отдыха или вестибюлях для зрителей могут устанавливаться автоматы для продажи напитков.

6.5.11 Число мест в буфетах рекомендуется принимать:

для занимающихся - из расчета одно посадочное место на 6 чел. суммарной пропускной способности в смену;

для зрителей - из расчета 3 % числа зрительских мест.

В спортивных корпусах с двумя и более залами, в которых предусмотрены места для зрителей, расчет числа мест в буфетах для зрителей ведется по залу с максимальным числом зрительских мест; при этом расположение буфета должно позволять пользование им зрителями всех залов.

6.5.12 Площади залов буфетов (с раздаточной) для занимающихся принимаются из расчета 3,4 м2 на каждое посадочное место при их числе до 8 и по 1,25 м2 на каждое посадочное место сверх 8 и до 30. При общем числе мест в зале свыше 30 - не менее чем по 1,8 м2 на каждое место.

Площади залов буфетов для зрителей (без учета раздаточной) принимаются не менее 1,4 м2 на каждое место.

Площади подсобных помещений буфетов определяются применительно к требованиям по проектированию учреждений общественного питания.

6.5.13. При спортивных залах следует предусматривать инвентарные для хранения переносного спортивного оборудования и инвентаря, располагая их смежно с залами. Пол инвентарной предусматривается на одном уровне с полом зала и без порога.

6.5.14 Размеры инвентарных наиболее распространенных залов при размещении их в одном помещении следует принимать по таблице 6.8.

Таблица 6.8

Назначение спортивного зала по виду (видам) спорта

Размер зала (в строительных осях), м

Площадь инвентарной, м2

Рекомендуемые размеры инвентарной, м

Длина

Ширина (глубина)

Для бадминтона, баскетбола, гандбола, волейбола и тенниса

42×24

36

6

6

Площадь инвентарной универсального зала принимается исходя из необходимости полного освобождения площади зала от гимнастического оборудования во время занятий по спортивным играм. В остальных спортивных залах размеры инвентарных следует определять исходя из состава и размеров переносного оборудования и инвентаря, а также способа их хранения.

При крупногабаритных залах (манежах), предназначаемых в том числе для проведения соревнований по различным видам спорта при трансформации оборудования, следует предусматривать инвентарные площадью до 40 м2 для складирования не употребляемого в данный момент переносного оборудования. Площадь инвентарных при манеже для футбола, не предназначаемом для иных спортивных игр с трансформацией арены, может быть 18 - 20 м2.

В случае предназначения легкоатлетического манежа для эпизодического проведения соревнований по спортивным играм (рисунок 5.4), иным видам спорта или общественно-зрелищных мероприятий на сборно-разборном настиле для складирования элементов настила предусматривается складское помещение площадью 150 - 200 м2, которое может располагаться вне основного здания.

Ширина двери из зала в помещение инвентарной не менее 2 м (в залах для спортивных игр - не менее 1,5 м); рекомендуется устраивать открытые проемы в инвентарные. В залах для спортивных игр открытые проемы в инвентарные и двери из раздевальных, располагаемые в торцовых стенах, должны размещаться на расстоянии не менее 3 м от продольной оси зала.

В залах для учебно-тренировочных занятий по спортивным играм с мячом открытые проемы и инвентарные должны закрываться свободно висящими сетками, препятствующими попаданию мячей в инвентарную.

6.5.15 В зданиях спортивных корпусов предусматриваются бытовые помещения для рабочих и служебные помещения административного и инженерно-технического персонала.

Число и состав сотрудников и рабочих разных специальностей определяются штатным расписанием. Поэтому рекомендуется пользоваться типовыми штатами спортивных сооружений или воспользоваться в качестве аналога штатным расписанием существующих таких же, как проектируемое, сооружений.

6.5.16 Состав хозяйственных помещений - кладовых и складов для хранения спортивного оборудования и инвентаря и других складских помещений, мастерских (художников, столярной, слесарной, ремонта электро- и радиоаппаратуры, спортивного оборудования и инвентаря) и иных производственных и складских помещений - принимается в зависимости от количества, габаритов и способов складирования.

6.5.17 Состав технических, складских и производственных помещений определяется в зависимости от инженерного оснащения сооружений, а их площади принимаются по расчету в соответствии с действующими нормами.

Для персонала, работающего в этих помещениях, должны предусматриваться санитарно-бытовые помещения в соответствии со СНиП 2.09.04.

7 Помещения и устройства для судей и прессы

7.1 Ложа для судей

В демонстрационных сооружениях для легкой атлетики должна предусматриваться судейская ложа, размещаемая у финишного створа на отделенном от мест для зрителей участке трибуны.

7.1.1 Зона мест для бригад судей на финише и судей-хронометристов. В этой зоне судьи каждой бригады размещаются по одному, в затылок друг другу, занимая два места в каждом ряду трибуны. Ширина зоны 1,2 - 1,35 м. Створ финиша должен проходить строго посередине зоны (рисунок 7.1, а). По обе стороны зоны предусматриваются служебные лестницы минимальной ширины (для прохода старшего судьи бригады). Лестница, расположенная за створом финиша (по направлению бега), должна обеспечивать прямое сообщение судейской ложи с планшетом арены.

Допускается размещать судей каждой бригады попарно, располагая судей на финише - в нижних рядах, а судей-хронометристов - в верхних. В этом случае служебная лестница предусматривается одна (рисунок 7.1, б).

Число рядов трибуны, отводимых под зону, должно быть на 3 - 4 больше числа отдельных беговых дорожек1. Если на трибуне недостаточно числа рядов, то размещение судей предусматривается в соответствии с вариантом, приведенным на рисунке 7.1, в.

1 Состав бригад судей на финише и судей-хронометристов должен превышать число отдельных беговых дорожек.

Во всех случаях нижний ряд, занимаемый судьями на финише и судьями-хронометристами, должен размещаться, как правило, в 5 м и более от ближайшей к трибуне финишной стойки.

7.1.2 Зона мест для свободных судей. Свободные судьи (готовящиеся к выходу или окончившие работу на арене) размещаются в ложе на всех рядах сбоку от зоны мест для судей на финише и судей-хронометристов, в основном со стороны прихода бегунов на финиш.

Число мест для свободных судей зависит от программы проводимого соревнования, но при проектировании определяется из условия, что ограждение ложи для судей, отделяющее ее от остальной части трибуны, должно отстоять от финишного створа, как правило, не менее чем на 4,5 м со стороны прихода бегунов на финиш и 2,5 м с противоположной стороны.

7.1.3 Зона помещений для судей. В составе ложи для судей должны предусматриваться помещения для: а) камеры фотофиниша, устанавливаемой строго в створе финиша; б) пульта управления информационным табло; в) бригады судей по информации (как правило, два судьи информатора-диктора и два - четыре помощника); г) аппаратуры для музыкального сопровождения торжественных процедур (парадов, награждения победителей и т.п.); д) главной судейской коллегии. Из этих помещений должен обеспечиваться обзор всего планшета арены, а из помещений пульта управления-табло, бригады судей по информации и главной судейской коллегии и обзор информационного табло.

Помещения должны располагаться за последним рядом открытой части ложи, иметь остекление по фронту, обращенному к арене, и сообщаться с ложей через проемы (форточки, фрамуги, раздвижные стекла). Наиболее доступный в планировочном и конструктивном отношении вариант приведен на рисунке 7.1.

7.1.4 В удобной связи с ложей для судей следует располагать помещения секретариата судейской коллегии (помещение собственно секретариата, комната главного секретаря, смежная с помещением секретариата и связанная с ним через дверной проем, а также машинописное бюро и помещение для множительной техники).

Оптимальным является расположение помещений секретариата совместно с помещениями судей при ложе. Поскольку визуальная связь помещений секретариата с ареной необязательна, их можно располагать в подтрибунном пространстве под трибунами, сзади помещений для судей при ложе на одном с ними уровне (рисунок 7.1, г).

Возможно расположение помещений для судей при ложе и секретариата в двух уровнях, один над другим (рисунок 7, д). В этом случае обеспечивается визуальная связь всех помещений с ареной и улучшаются условия размещения камеры фотофиниша, располагаемой на верхнем уровне, так как угол, который образует луч из объектива камеры, направленный на фокус, с горизонталью, как правило, не должен быть менее 30 °С; за фокус принимается точка на высоте 1,1 м от поверхности беговой дорожки посередине между финишными стойками (рисунок 7.1, е).

Если позади помещений для судей не может быть предусмотрен коридор, то они должны сообщаться с открытой частью ложи через дверные проемы. Если же при ложе вообще нельзя иметь помещения для судей, то переносную камеру фотофиниша устанавливают в открытой части ложи (над зоной мест для судей на финише и судей-хронометристов, строго в финишном створе), а бригаду судей по информации и главную судейскую коллегию помещают в ложе на части мест для свободных судей. Управление информационным табло, аппаратуру для музыкального сопровождения располагают в помещениях, удобно связанных с ложей. Из помещения управления табло всегда должен быть обеспечен обзор табло.

7.1.5 В демонстрационных сооружениях, не предназначаемых для соревнований высокого масштаба, или с трибунами вместимостью менее 1500 зрителей предусматривается только открытая часть ложи для судей, а для судейской коллегии вместо отдельных помещений во время соревнований используются учебные классы, комнаты для инструкторского и тренерского состава, часть служебных помещений административного персонала и др. Такое использование должно учитываться во время проектирования при определении местоположения этих помещений.

В составе помещений для судей в сооружениях, предназначаемых для соревнований высокого масштаба, рекомендуется предусматривать помещения для бригады судей по награждению и зал для заседаний судейской коллегии, пресс-конференций и т.п.

В составе помещений для бригады судей по награждению должны предусматриваться холл для сбора победителей, кладовая хранения призов, цветов и т.п. и рабочая комната судей бригады (в том числе для гравера). Холл должен удобно сообщаться с местом установки пьедестала победителей на арене.

При зале для заседаний следует предусматривать комнату для президиума. Расположение зала в здании должно позволять автономное использование его в период, когда на арене не проводятся соревнования.

7.2 Ложа для прессы

7.2.1 Отдельные места для корреспондентов на трибуне предусматривают, как правило, в сооружениях, предназначаемых для соревнований регионального и более высокого масштаба. Их рекомендуется выделять на участке трибуны, смежном с ложей для судей, ниже нее (если трибуна имеет большое число рядов) или сбоку (на расстоянии не менее 2,5 м за финишным створом, считая по направлению бега). Последний вариант следует считать предпочтительным, так как при этом увеличивается фронт возможного расположения помещений для судей при открытой части ложи.

Ложу для прессы следует отделять от ложи для судей и мест для зрителей. Она должна удобно сообщаться с пресс-центром. Каждое место рядов трибун, выделенных под ложу для прессы, необходимо оборудовать съемными пюпитрами и телефонами.

7.2.2 В крытых сооружениях, предназначаемых для проведения соревнований республиканского и более высокого масштаба, предусматривают, как правило, помещения для прессы (пресс-центр), состав и площади которых определяются в задании на проектирование по согласованию с комитетами по физической культуре и спорту.

При необходимости организации пресс-центра в сооружениях, предназначаемых для соревнований меньшего масштаба, в качестве помещений для прессы могут быть использованы учебные классы (методические кабинеты), часть буфета для занимающихся и комнат административного персонала, а также комнаты инструкторского и тренерского состава и другие помещения, не используемые по прямому назначению во время проведения соревнований. Для этого указанные помещения следует располагать, по возможности удовлетворяя требованиям взаимосвязей, приведенных на рисунке 7.2, Б.

8 Конструктивные решения

8.1 Общие положения

8.1.1 Несущие и ограждающие конструкции залов следует рассчитывать с учетом нагрузок от прикрепляемого к ним стационарного или съемного спортивного оборудования, исходя из его массы. При расчете нагрузки от прикрепляемого к потолку или стенам оборудования следует, кроме массы самого оборудования, учитывать также нагрузку от массы занимающегося, принимаемой равной 100 кг, и исходить из динамического характера этой нагрузки. Для расчета крепления полочек для гантелей учитывают массу гантелей.

8.1.2 Стены спортивных залов должны отвечать следующим требованиям:

- крепежные детали для оборудования, регуляторов и т.д. должны закладываться заподлицо с поверхностью стен или заглубляться;

- электрические выключатели, регуляторы осветительной арматуры должны располагаться на высоте 1,2 м, доступной для инвалидов;

- стены из лицевого кирпича должны выполняться с затиркой швов заподлицо.

8.1.3 Оборудование крепят:

к полу - с помощью закладных деталей, устанавливаемых в полу, заподлицо с его поверхностью; при применении синтетических покрытий, не позволяющих крепить к ним закладные детали, необходимо их установку и надежное крепление предусматривать в конструкции пола, заподлицо с поверхностью синтетического покрытия;

к потолку и стенам - с помощью закладных деталей или дополнительных конструктивных элементов.

8.1.4 Встраиваемое или прикрепляемое к ограждающим конструкциям спортивное оборудование крепится с помощью закладных деталей, входящих, как правило, в комплект оборудования. Если ограждающие конструкции не позволяют устанавливать в них закладные детали, необходимо в каждом отдельном случае разрабатывать в проекте дополнительные (переходные) конструктивные элементы.

Закладные детали для крепления оборудования, врезаемые в полы залов, устанавливают заподлицо с поверхностью пола.

8.1.5 По периметру спортивного зала на высоте 0,9 м от пола в залах для занятий слепых и слабовидящих спортсменов устраивается поручень для ориентации при ходьбе и беге.

8.1.6 Поверхность пола в залах должна быть горизонтальной, гладкой и нескользкой; конструкция пола - упругой, удовлетворяющей тепло- и звукоизоляционным требованиям.

Полезная нагрузка на полы залов - 400 кг/м2.

При расположении зала на перекрытии расчет последнего производится на временную равномерно распределенную нагрузку не менее 5 кПа (по наибольшей нагрузке).

8.1.7 Конструкция заполнения световых проемов должна обеспечивать возможность проветривания зала и протирки стекол. В залах для спортивных игр, кроме того, конструкция оконных переплетов и материал остекления должны быть устойчивы к ударам мяча; в иных случаях на окнах должны быть защитные устройства, не препятствующие доступу к окнам для проветривания и протирки стекол.

8.1.8 В залах, предназначаемых для спортивных игр с мячом, следует предусматривать защиту светильников от повреждения мячом.

8.2 Полы

8.2.1 Полы в спортивных залах в зависимости от назначения последних по виду спорта могут быть деревянными или иметь синтетическое покрытие.

8.2.2 Покрытие пола зала (арены) должно позволять использование легкоатлетической обуви (туфель с шипами). Покрытия земляные или из неводостойких (пылящих) смесей не допускаются.

В полу в местах для прыжков в длину (тройного) следует устанавливать толчковые брусы, а также устраивать ямы с песком для приземления. У места приземления при прыжках с шестом в полу (заподлицо с его поверхностью) следует устанавливать ящик для упора шеста.

8.2.3 Для покрытия пола легкоатлетических арен применяют резиновые плиты (рулоны) заводского изготовления или приготовляемые на месте (во время укладки) самоотверждающиеся синтетические наливные материалы, допущенные к использованию органами санитарного надзора.

В соответствии с принятым размещением в зале (на арене) мест для отдельных видов легкой атлетики толщину покрытия следует принимать по таблице 8.1.

Таблица 8.1

Назначение места

Варианты покрытия

Из резиновых плит (рулонов)

Самоотверждающееся наливное

Толщина покрытия, мм

Дорожки для бега по прямой и по кругу, для разбега в прыжках с шестом, в длину, тройного, метания копья

14 - 20

12 - 16

Сектор для разбега в прыжках в высоту

18 - 22

15 - 20

Сектор для приземления снарядов в толкании ядра

30 - 40

Не применяют

Дорожка для разминки

14 - 20*

20 - 25**

Участок дорожки для разбега от бруска для отталкивания до ямы приземления в тройном прыжке (если эту дорожку не используют и для прыжков в длину)

25 - 30

18 - 20

Нерабочие зоны (арены)

14 - 20

Так же, что и на смежном участке**

* Непосредственно под покрытием следует укладывать слой мягких материалов (например, поролон) толщиной не менее 10 мм.

** Применяют пористое покрытие, которое содержит большое количество эластичного заполнителя (резиновая крошка), связанного малым количеством полимерного связующего.

Примечания

1. Если весь зал или отдельные места предназначаются только для учебно-тренировочных занятий, то толщину покрытия следует принимать максимальной.

2. При совмещении сектора для разбега в прыжках в высоту (или его части) с дорожками для разбега в прыжках с шестом, в длину или тройном на всем протяжении дорожек толщину покрытия следует принимать такую, как у сектора для прыжков в высоту.

3. Толщину покрытия зоны безопасности на участках, которые могут быть использованы для разминки, принимают как для разминочной дорожки, а не неиспользуемых участках - как для нерабочей зоны.

8.2.4 Покрытия следует укладывать непосредственно на двухслойный асфальтобетон общей толщиной 90 мм (верхний слой 40, нижний 50 мм) или на армированный сеткой бетон толщиной 150 мм. При укладке асфальтобетона или бетона на подстилающий уплотненный грунт число, состав и толщину промежуточных слоев принимают в зависимости от характеристики подстилающих грунтов. При размещении зала на междуэтажном перекрытии из сборных железобетонных плит под покрытие укладывают или один слой асфальтобетона толщиной 50 мм, или армированный сеткой бетон толщиной не менее 50 мм. При укладке покрытия на бетон под слоем последнего необходимо предусматривать гидропароизоляцию.

Площадку с обручем, из которого производят толкание ядра, выполняют из армированного сеткой бетона с шероховатой поверхностью, не образующей пыли. Слой бетона укладывают непосредственно на промежуточный слой (принимаемый в зависимости от подстилающих грунтов) или на междуэтажное перекрытие. Аналогично выполняют и площадку под обруч, из которого производят метание диска в сетку.

Поверхность покрытия зала (арены) внутри контура круговой беговой дорожки и прилегающей к ней на прямых участках дорожки для бега по прямой не должна иметь ступенчатых перепадов, что достигается соответствующим выполнением основания из бетона или асфальтобетона, на которое это покрытие укладывается. В секторе для приземления снаряда в толкании ядра (см. таблицу 8.1) и на участке дорожки для разбега между бруском для отталкивания и ямой для приземления в тройном прыжке (см. таблицу 8.1) толщину покрытия увеличивают за счет соответствующего уменьшения толщины лежащего ниже слоя бетона или асфальтобетона.

Пример плана покрытий на арене манежа для легкой атлетики приведен на рисунке 8.1.

8.2.5 Оптимальным для футбола покрытием арены (игровые поля) является синтетический газон, имитирующий естественную траву. В связи с этим предусматривать использование арены футбольного манежа для иных видов спорта (кроме стрельбы из лука) нерационально.

8.2.6 Полы в помещениях и залах для физкультурно-оздоровительных занятий рекомендуются дощатые с толщиной доски от 37 до 39 мм (доску толщиной 29 мм рекомендуется применять в помещениях для занятий на тренажерах).

Деревянные полы рекомендуется предусматривать, как правило, во всех спортивных залах (кроме залов для легкой атлетики и футбола) и проектировать их из доски толщиной 32 - 37 мм (в острожке) или из бруска сечением 60×60 мм (рисунки 8.2 и 8.3), а также паркетно-щитовыми.

При занятиях на гимнастических снарядах пол зала (через закладные детали) испытывает большие усилия в местах крепления снарядов, поэтому между лагами предусматриваются связи, устанавливаемые в шахматном порядке с шагом 2,5 м.

При устройстве деревянных полов следует учитывать следующие условия:

а) доски и бруски выбирают с возможно меньшим количеством сучков, удаление которых необходимо осуществлять высверливанием их и закладкой деревянных пробок;

б) доски и бруски укладывают вдоль зала, а их стыки устраивают вразбежку и опирают на лаги;

в) доски и бруски крепят к лагам гвоздями и обязательно косым забоем.

В тех случаях, когда зал располагается на втором этаже и под ним находятся вспомогательные помещения с постоянным пребыванием людей в них, рекомендуется предусматривать звукоизоляцию. В частности, устраивать под лагами пола звукоизоляционные ленточные прокладки:

- минераловатные маты толщиной 40 - 50 мм, прошитые в бумаге;

- минераловатные маты толщиной 30 - 40 мм на синтетической связке;

- простеганные стекловолокнистые маты толщиной 30 - 40 мм;

- минеральные и стекловолокнистые плиты толщиной 40 - 50 мм на синтетической связке;

- древесно-волокнистые изоляционные плиты толщиной 16 - 20 мм.

8.2.7 К синтетическим покрытиям, применяемым для полов спортивных залов, относятся рекомендованные Госкомспортом России и допущенные органами Минздрава России:

- резиноподобные материалы заводского изготовления типа «Рездор», «Арман», «Олимпия» и др., выпускаемые в виде плит или листов толщиной не менее 13 мм;

- типа «Регупол», выпускаемые в виде рулонов шириной 1,25 м и длиной до 50 - 45 м;

- наливные самоотверждающиеся типа «Тартан» на основе полиуретана и жидких каучуков холодного отверждения.

Конструкция пола с синтетическим покрытием приведена на рисунке 8.4.

Синтетические покрытия выполняются в один или два слоя по бетонному или асфальтобетонному основанию.

8.2.8 Покрытие пола следует выбирать, учитывая специальные требования занятий с инвалидами:

- пол в залах, где используются коляски, следует окрашивать в более темные тона, чтобы не оставалось следов от шин;

- для инвалидов с коляской и для инвалидов с ограниченной подвижностью необходим слегка шероховатый пол; более безопасна поверхность пола из полупружинящих или пружинящих синтетических материалов (типа «Регупол» с верхним слоем толщиной 6 мм);

- для занятий слепых поверхность пола должна быть идеально гладкой, чтобы исключить возможность заноз и травм.

Для ориентации слепых и слабовидящих спортсменов в зале следует предусматривать полосы ориентации, представляющие собой резиновую дорожку с рельефной поверхностью. В углах площадки направление рельефного рисунка следует изменять (рисунок 8.5).

8.2.9 В полу залов для учебно-тренировочных занятий по спортивной гимнастике у гимнастических снарядов следует устраивать ямы для приземления с мягким заполнителем. Размеры ям, их размещение следует принимать по заданию на разработку технологической части проекта. Конструкция ям должна позволять закрывать их щитами заподлицо с поверхностью зала.

Размеры ям у гимнастических снарядов следующие: под перекладиной и под женскими брусьями - 11 - 12 м в длину и 2,5 - 3 м в ширину; для опорных прыжков - длиной 5 м и шириной 2,5 - 3 м. Глубина ям от 1,1 до 1,5 м.

В универсальных залах для спортивной гимнастики и спортивных игр, а также при вынужденном размещении зала для спортивной гимнастики не на первом этаже ямы у гимнастических снарядов могут не предусматриваться.

Возможно устройство ямы под батутом. В этом случае сетка батута располагается на отметке пола зала. Длина ямы под батутом 5,53 м, ширина 3,23 м, глубина принимается равной высоте конструкции батута. Ямы закрывают щитами заподлицо с полом зала, а в открытом виде их края обкладывают съемными мягкими бортами. В качестве мягкого заполнителя в ямах у гимнастических снарядов применяют, как правило, обрезки поролона.

8.2.10 Помосты для занятий с тяжестями не должны быть связаны с полом зала, а при размещении их на первом этаже - и с фундаментами здания. При размещении помостов не на первом этаже или над подвалом в местах их расположения следует предусматривать специальные конструктивные мероприятия, обеспечивающие необходимую прочность перекрытия и звукоизоляцию.

При расчете фундаментов и междуэтажных перекрытий под помостами в залах для тяжелой атлетики следует учитывать ударную нагрузку от штанги массой 250 кг, падающей на помост с высоты 2,4 м, а в других залах, в местах, где предусмотрены помосты, - штанги массой 180 кг. Помосты рекомендуется устанавливать заподлицо с полом зала.

Для учебно-тренировочных занятий вместо установки помостов рекомендуется предусматривать специальную конструкцию пола. Эта конструкция включает устройство двух бетонных колодцев, имеющих размеры (в чистоте) 2,0×0,6 м в плане и глубину 0,45 м. На дно этих колодцев укладываются два слоя деревянных брусков, а сверх них кладутся пять слоев листовой резины или резиноподобных материалов (толщиной каждого слоя 50 мм). Между внутренними стенками колодцев (расстояние составляет 0,9 м) устраивается дощатый или брусчатый пол (по лагам, устанавливаемым по бетонному подстилающему слою, укладываемому на подстилающий грунт). По обе стороны от деревянного пола заподлицо с ним укладывается листовая резина, которой покрываются колодцы и зона шириной по 0,75 - 1 м по обе стороны за их пределами.

9 Противопожарная безопасность

9.1 При проектировании зданий и сооружений, включающих помещения физкультурно-спортивных залов, следует обеспечивать безопасность занимающихся с учетом применяемых строительных конструкций и материалов, объемно-планировочных решений зданий, состава и назначения дополнительных групп помещений и т.д. Для этого следует учитывать требования СНиП 21-01, СНиП 2.08.02, ГОСТ 12.1.004.

Не допускается проектировать здания IV и V степеней огнестойкости для занятий инвалидов.

Параметры путей эвакуации из физкультурно-оздоровительных помещений должны соответствовать требованиям, изложенным в СНиП 21-01, СНиП 35-01 и СНиП 2.08.02.

9.2 Площадь физкультурно-спортивных залов должна соответствовать параметрам, указанным в таблице 1 п. 1.14* СНиП 2.08.02. Если площадь зала превышает установленную в таблице 1, то между зальным и другими помещениями следует предусматривать противопожарные стены или перегородки 1-го типа и не менее двух эвакуационных выходов.

При применении трансформируемых перегородок в зальных помещениях следует предусматривать эвакуационные выходы из каждой разделяемой части.

Допускается при соответствующих обоснованиях вместо противопожарных стен устройство дренчерных завес в две линии на расстоянии 0,5 м с интенсивностью орошения не менее 1 л/с на 1 м завесы с учетом требований п. 2.19 МГСН 4.04.

9.3 Степень огнестойкости зданий с физкультурно-спортивными помещениями не должна быть ниже степени огнестойкости здания, к которому оно пристраивается.

При размещении сооружений физкультурно-оздоровительных учреждений в блоках, пристраиваемых к общеобразовательным школам, необходимо отделить их функционально, а также противопожарными перегородками 1-го типа и перекрытиями 3-го типа. Заполнение проемов в противопожарных преградах выполняется в соответствии с требованиями СНиП 21-01 и СНиП 2.08.02.

9.4 Конструкции и материалы покрытия пола спортзала должны соответствовать по пожарно-техническим характеристикам п. 6.25* СНиП 21-01:

для зала без зрителей - аналогично покрытию пола в общих коридорах и холлах - В2, РП2, ДЗ, Т2;

для зала, где занимаются инвалиды или есть зрители, - аналогично покрытию пола в вестибюле - Г2, РП2, Д2, Т2.

9.5 Материалы для обшивки (в том числе акустической) стен и потолков в зальных помещениях физкультурно-спортивного назначения следует принимать со следующими пожарно-техническими характеристиками:

- каркас для подвесных потолков - НГ;

- обрешетка или каркас стен - Г2*;

- облицовка стен и потолков - Г3.

9.6 В отделке стен и потолков помещений для физкультурно-оздоровительных занятий инвалидов, а также помещений, где могут находиться дети, следует применять материалы со следующими пожарно-техническими характеристиками: Г1, В1, Д2 и Т2.

9.7 Система средств оповещения об опасности должна быть комплексной и соответствовать СНиП 35-01, НПБ 104.

10 Внутренняя среда

10.1 Естественное освещение

10.1.1 Спортивные залы должны иметь с учетом требований СНиП 2.08.02 прямое естественное освещение. Расчетная площадь световых проемов определяется в процентах площади пола помещения по таблице 10.1.

Таблица 10.1

Назначение зального помещения

Площадь световых проемов в процентах площади пола при освещении:

боковом

верхнем

одностороннем

двух- и многостороннем

зенитными фонарями

другими видами фонарей

Для спортивных игр

20

17

12

14

Для других видов спорта

17

14

10

12

Примечание - Рассчитанные по таблице площади световых проемов могут быть увеличены в пределах до 5 %.

10.1.2 Число, размеры и размещение проемов должны обеспечивать равномерность естественного освещения.

Освещение предусматривается, как правило, боковое в одной из продольных стен зала с размещением низа световых проемов на высоте не менее 2 м от пола.

Для обеспечения требуемого уровня освещенности (в зависимости от ширины и высоты зала) допускается устраивать окна в других стенах зала (с размещением низа световых проемов на высоте не менее 4,5 м от пола), а также верхнее освещение или боковое в комбинации с верхним. Световые проемы верхнего освещения размещаются только над той частью пола зального помещения, освещение которой не обеспечивается боковыми световыми проемами.

В залах для спортивных игр размещать световые проемы напротив лицевых линий площадок не рекомендуется.

10.1.3 При размещении низа световых проемов бокового освещения по высоте, составляющей не менее 1/4 ширины зального помещения, их площадь может быть уменьшена по сравнению с рассчитанной по таблице 10.1 на 10 %, так как размещение световых проемов на возможно большей высоте улучшает качество освещенности (кроме того, оно облегчает размещение прикрепляемого к стенам спортивного оборудования).

10.1.4 Ориентацию световых проемов по сторонам горизонта при одностороннем освещении следует принимать в центральных и северных районах страны (> 45°), как правило, на юго-восток, а в южных районах (< 45°) - на северо-восток. В залах со световыми проемами с двух и более сторон основные (расположенные на высоте 2 м от пола) световые проемы должны быть ориентированы в южных районах на север, а в центральных и северных - на юго-восток.

При вынужденной ориентации световых проемов на юго-запад или запад необходимо предусматривать применение светорассеивающих материалов для заполнения проемов или, как правило, наружных солнцезащитных устройств (экранов, козырьков, жалюзи, систем вертикального озеленения), обеспечивающих необходимую защиту от слепящего и теплового воздействия солнечных лучей. Предохранение от слепящего действия солнечных лучей следует предусматривать и в случаях расположения площадок поперек зала для спортивных игр, при котором оконные проемы оказываются в торцах поля для игры.

10.1.5 Необходимость естественного освещения в других помещениях вспомогательного характера принимается по СНиП 2.08.02.

10.2 Акустика

10.2.1 В зальных помещениях с циркульными (купольными, сводчатыми, арочными) покрытиями радиус кривизны должен быть не менее чем в два раза больше высоты помещения для избежания концентрации звуковой энергии и фокусировки звука.

В зальных помещениях без мест для зрителей независимо от формы покрытия при отношении длины помещения к его высоте, составляющем величину 5 и менее, акустические устройства могут не предусматриваться.

10.2.2 Для защиты мягкой фактуры звукопоглощающих материалов от механического повреждения применяются акустически прозрачные экраны (перфорированные плиты, отверстия в которых составляют не менее 20 % поверхности, металлические сетки с ячейками 5×5 см и др.).

Таблица 10.2

Материал

Плотность, кг/м3

Рекомендации по применению

Супертонкое щелочное стекловолокно

15 - 20

Везде

Ультратонкое и супертонкое щелочное стекловолокно

8 - 10

»

Супертонкое штапельное базальтовое волокно

20 - 25

»

Холст СТВ

8 - 10

»

Плиты минераловатные на синтетическом связующем марки ППМ

Не более 150

Кроме залов-катков с искусственным льдом

Плиты минераловатные акустические ПА/С и ПА/О

130

 

10.2.3 Звукопоглощающие материалы, рекомендуемые для применения в качестве акустических облицовок, приведены в таблице 10.2. В спортивных залах, предназначенных для инвалидов, следует предусматривать звукопоглощающие акустические потолки, а на стенах залов - обшивку мягкими и упругими материалами на высоту не менее 2 м от пола.

10.2.4 Для занятий слепых не рекомендуются трехсекционные залы (например, 45×27 м), так как в них не обеспечивается акустическая изоляция мест занятий. Для тренировочных занятий лучше использовать залы без трибун, которые могут привести к потере ориентации при отраженном звуке.

Для занятий людей с полной или частичной потерей зрения не рекомендуется использование отдельных площадок и зон, выгороженных в многосекционных залах перегородками, не обеспечивающими акустическую изоляцию.

10.2.5 Для слепых звук - источник ориентации. Необходима повышенная звукоизоляция зон активности (залов и других помещений). Рекомендуется использование акустических ориентиров - «звуковых маяков» для выполнения прыжков и метаний.

10.2.6 Уровень шума от всех возможных источников, достигающий раздевалок, не должен превышать 50 дБА.

11 Инженерное оборудование зданий

11.1 Отопление и вентиляция

11.1.1 Устройство систем отопления и вентиляции необходимо предусматривать с учетом требований СНиП 41-01.

За расчетные параметры воздуха в рабочей зоне спортивных залов без зрителей принимается температура 15 °С при относительной влажности 35 - 60 %.

В помещениях для физкультурно-оздоровительных занятий расчетная температура воздуха в холодный период года принимается 18 °С при относительной влажности 30 - 60 % и расчетной температуре наружного воздуха по параметрам Б, приведенным в СНиП 23-01 (нижний предел относительной влажности приведен для холодного периода года и приведенной выше температуры). Температура внутри раздевалок должна быть в пределах 20 - 25 °С (оптимальная величина 23 °С).

Примечания

1. В помещениях, не указанных в данном пункте, температуру воздуха и кратность воздухообмена принимают по требованиям соответствующих норм.

2. Расчетная температура воздуха приведена для рабочего времени в холодный период года; в теплый период года температура в помещениях принимается в соответствии с требованиями СНиП 41-01.

11.1.2 Выбор системы отопления в этих помещениях (воздушное, водяное и др.) определяется технико-экономическим обоснованием.

Рекомендуемую подвижность воздуха в зонах нахождения занимающихся в зальных помещениях следует обеспечивать, применяя, как правило, сосредоточенную подачу приточного воздуха. Необходимое количество приточного воздуха определяют расчетом из условия ассимиляции избытков тепла, однако приток наружного воздуха не должен быть менее 80 м2/ч на одного занимающегося в смену.

11.1.3 Рекомендуемые параметры воздуха можно обеспечить системой воздушного отопления, совмещенного с приточной вентиляцией. В этом случае в системе приточной вентиляции необходимо предусматривать рециркуляцию воздуха. Возможен вариант использования системы водяного отопления (теплоноситель с температурой 150 - 70 °С) и приточно-вытяжной вентиляции.

11.1.4 В спортивных залах, где предусматриваются естественная приточно-вытяжная вентиляция и снижение температуры в нерабочее время, систему отопления рекомендуется устраивать из двух раздельных групп нагревательных приборов: основной, рассчитанной на постоянное поддержание температуры внутреннего воздуха +5 °С, и дополнительной, обеспечивающей доведение внутренней температуры до расчетной.

11.1.5 Самостоятельные системы приточной и вытяжной вентиляции предусматриваются для: спортивных залов; душевых, раздевальных для занимающихся и массажных; служебных помещений для административного и инженерно-технического персонала, инструкторско-тренерского состава, бытовых помещений для рабочих; технических помещений.

Спортивные залы без мест для зрителей, имеющие объем не менее 80 м3 на каждого единовременно занимающегося, допускается проектировать с естественной приточно-вытяжной вентиляцией с обеспечением однократного воздухообмена в 1 ч.

11.1.6 Систему вытяжной вентиляции из санитарных узлов и курительных допускается объединять с системой вытяжной вентиляции из душевых.

11.1.7 Неорганизованную подачу наружного воздуха в спортивные залы при проектировании естественной приточно-вытяжной вентиляции рекомендуется осуществлять, используя в качестве приточных устройств открывающиеся фрамуги в нижней и верхней частях витражей.

11.1.8 Подавать воздух в зал и удалять его следует из верхней зоны. Приточные устройства необходимо размещать преимущественно со стороны, противоположной основным световым проемам; вытяжные устройства рекомендуется размещать там же. Приточно-вытяжные устройства можно располагать и с двух противоположных торцовых стен.

11.1.9 Систему приточно-вытяжной противодымной вентиляции физкультурно-спортивных залов и помещений следует предусматривать в соответствии с требованиями раздела 8 СНиП 41-01.

11.1.10 В зальных помещениях, выполненных в клеедеревянных конструкциях, при необходимости обеспечения требуемой относительной влажности в зоне этой конструкции (не менее 45 %) рекомендуется устройство увлажнения воздуха в системах приточной общеобменной вентиляции. В отдельных случаях при отсутствии приточной вентиляции допускается использование местных увлажнителей.

11.1.11 Помещения, предназначаемые для оборудования в них приточных систем и установок кондиционирования воздуха, рекомендуется размещать в подвальных или цокольных этажах (на грунте) так, чтобы протяженность трасс воздуховодов была минимальной. В помещениях, предназначаемых для оборудования приточных систем, допускается устройство вводов теплоносителя, бойлерных и водяных насосных.

11.1.12 Нагревательные приборы следует устанавливать преимущественно у наружных ограждений залов в увязке с размещением спортивного оборудования. В помещениях с влажным и мокрым режимами ниши в наружных стенах для размещения нагревательных приборов не устраиваются.

Нагревательные приборы и трубопроводы в спортивных залах не должны, как правило, выступать из плоскости стен в пределах высоты до 2 м от пола.

В случаях, когда элементы вентиляционных систем (воздуховоды, решетки, а также нагревательные приборы и трубопроводы) выступают из плоскости стен или вынужденно устанавливаются на высоте до 2 м от пола, они закрываются щитами или иными средствами, исключающими ожоги и другие возможные травмы занимающихся.

11.2 Водопровод и канализация

11.2.1 Здания физкультурно-спортивного назначения оборудуются системами хозяйственно-питьевого и противопожарного водопровода и канализации, присоединяемыми, как правило, к наружным сетям.

Устройство внутреннего хозяйственно-питьевого и противопожарного водопровода и нормы расхода воды в сутки, а также устройство канализации должны отвечать требованиям СНиП 2.04.01.

Внутренний противопожарный водопровод следует предусматривать с учетом требований приложения 7* (обязательного) СНиП 2.08.02.

11.2.2 Вода для хозяйственно-питьевых и технологических нужд в зданиях спортивных залов должна удовлетворять требованиям СанПиН 2.1.4.1074.

11.2.3 Горячее водоснабжение предусматривается для обеспечения хозяйственно-бытовых и технологических нужд. Горячая вода должна соответствовать требованиям СП 4723.

Подводка горячей воды предусматривается к душевым, кабинету врача, комнатам медицинской сестры и для оказания первой медицинской помощи, бытовым помещениям для рабочих, раздевальным для занимающихся, комнатам инструкторского и тренерского состава, умывальным при санитарных узлах, помещениям для уборочного инвентаря, а также к другим помещениям в соответствии с технологическим заданием.

Желательно, чтобы все души регулировались термостатическими смесителями.

11.2.4 Максимальное секундное водопотребление принимается исходя из одновременной работы всех сеток в душевых при раздевальных.

Максимальный секундный сброс воды в канализацию принимается равным секундному водопотреблению при его величине более 8 л/с, а при меньшем водопотреблении к нему прибавляется максимальный расход одним прибором.

11.2.5 При устройстве автоматического водяного пожаротушения следует руководствоваться требованиями НПБ 88 и НПБ 110, относя помещения зданий спортивных корпусов к 1 группе по степени опасности развития пожара.

11.2.6 В санитарных узлах и душевых с количеством приборов свыше трех (унитазов, писсуаров или душевых сеток соответственно) предусматривается установка поливочных кранов диаметром 20 мм с подводкой холодной и горячей воды.

11.2.7 В душевых при раздевальных для занимающихся трапы для отвода стоков диаметром 100 мм устраиваются из расчета один трап не более чем на 3 сетки. В душевых при комнатах инструкторского и тренерского состава при бытовых помещениях для рабочих рекомендуется устанавливать душевые поддоны.

В санитарных узлах при числе приборов более трех устраиваются трапы для отвода стоков диаметром 100 мм.

11.2.8 В санитарных узлах для занимающихся и зрителей устанавливаются напольные керамические унитазы или напольные чаши со смывным краном.

11.3 Электроснабжение, электротехнические и слаботочные устройства

11.3.1 При проектировании электрооборудования спортивных сооружений необходимо руководствоваться требованиями СНиП 23-05, СНиП 3.05.06, другими нормативными документами.

Искусственное освещение предусматривается во всех помещениях. В зданиях спортивных сооружений в соответствии с требованиями СНиП 23-05 предусматривается также эвакуационное освещение.

11.3.2 Уровень освещенности спортивных залов в зависимости от назначения по виду (видам) спорта должен приниматься по нормам электрического освещения спортивных сооружений. Спектр дополнительного искусственного освещения рекомендуется приближать к дневному освещению. В таблице 11.1 приведены нормативные показатели освещенности для спортивных залов. Освещенность универсальных спортивных залов принимается по наибольшим из показателей, приведенных в таблице для видов спорта, для которых предназначается сооружение.

Для работы многофункциональных залов желательно обеспечить переключение освети тельной системы отдельных зон в пределах 200 - 600 лк (для физкультурно-оздоровительных занятий обычно достаточно 300 - 400 лк).

Уровень средней горизонтальной освещенности трибун для зрителей принимать 50 лк. Аварийное освещение не должно быть меньше 30 лк.

Таблица 11.1

Виды спорта, для которых предназначается зал

Наименьшая освещенность, лк

Плоскость или зона, в которой нормируется освещенность

Бадминтон, баскетбол, волейбол, гандбол, теннис

300

Горизонтальная, на поверхности пола

100

Вертикальная*, на высоту 2 м от пола

Акробатика, гимнастика спортивная и художественная

200

Горизонтальная, на поверхности пола (помоста)

Физкультурно-оздоровительные занятия

150

Горизонтальная, на поверхности пола

Раздевальные спортсменов

150

Горизонтальная, на поверхности пола

Инвентарные

30

Горизонтальная, на поверхности пола

* Вертикальная освещенность обеспечивается в плоскости, проходящей через продольную ось поля для игры, а для баскетбола обеспечивается освещенность поверхности щитов со стороны колец.

Примечания

1. При освещении лампами накаливания уровень освещенности может быть снижен на одну ступень.

2. Для соревнований по теннису высокого уровня освещенности корта - до 800 лк.

11.3.3 В случаях когда из спортивного зала предусматриваются передачи цветного телевидения, осветительными установками обеспечивается уровень освещенности согласно таблице 11.2.

Таблица 11.2

Освещаемый объект

Наименьшая освещенность, лк

Плоскость или зона, в которой нормируется освещенность

Спортивная арена

1000

Вертикальная, по продольной и поперечной оси арены на высоте 1 м

Трибуна

500

Горизонтальная, на уровне поверхности арены

Вертикальная, в направлении телевизионной камеры на высоте 1 м

Примечания

1. Коэффициент запаса осветительных приборов принимается 1:2. Источники света принимаются со сплошным или близким к сплошному спектром излучения с цветовой температурой, как правило, 6400 К.

2. Отношение горизонтальной освещенности спортивной арены к вертикальной принимается не более 3:1.

3. Неравномерность освещенности трибуны (с плавным переходом от одного уровня к другому) допускается не св. 1:3 (в сторону снижения от приведенного в таблице).

Проектирование осветительных установок осуществляется по заданию на проектирование. Осветительные установки, необходимые для обеспечения освещенности, требуемой при передачах цветного телевидения, проектируются, как правило, стационарными. Допускаются полустационарные осветительные установки; в этих случаях предусматриваются их электрическое подключение, а также специальные элементы для крепления установок на время ведения телевизионных передач.

11.3.4 Электроприемники спортивных сооружений по надежности электроснабжения относятся к следующим категориям:

в спортивных залах без мест для зрителей или при их числе менее 300:

а) при числе занимающихся 120 чел. и менее в смену все электроприемники III категории;

б) при числе занимающихся более 120 чел. в смену светильники аварийного и эвакуационного освещения, электродвигатели пожарных насосов, автоматическая пожарная сигнализация и система дымоудаления II категории;

в) остальные электроприемники III категории;

в спортивных залах, предназначаемых только для занятий с детьми, светильники аварийного и эвакуационного освещения, электродвигатели пожарных насосов, автоматическая пожарная сигнализация и система дымоудаления I категории.

Надежность электроснабжения электроприемников крытых спортивных сооружений с числом мест для зрителей 300 и более определяется согласно главе VII-2 ПУЭ.

11.3.5 В качестве источника света для искусственного освещения залов рекомендуется применять люминесцентные лампы. Предпочтительно применение светильников с диффузными рассеивателями. Светильники следует устанавливать на потолке в линии, как правило, параллельной продольным стенам зала. Управлять освещением следует непосредственно из зала, размещая аппараты управления у входных дверей. Управление освещением должно обеспечивать возможность отключения 2/3 светильников основного освещения при сохранении равномерности освещения. Для освещения инвентарных при залах рекомендуется использовать светильники с лампами накаливания. Включение освещения инвентарной должно осуществляться из зала у входа (проема) в инвентарную.

11.3.6 Для освещения залов, как правило, применяются газоразрядные лампы с коэффициентом пульсации, принимаемым согласно таблице 11.3.

Таблица 11.3

Вид спорта, для которого предназначается зал

Максимально допустимый коэффициент пульсации освещенности, %

Бадминтон, баскетбол, волейбол, гандбол, теннис, теннис настольный

10

Акробатика, бокс, борьба, гимнастика (спортивная и художественная), тяжелая атлетика

20

При необходимости плавного регулирования светового потока, а также в случаях невозможности или технико-экономической нецелесообразности применения газоразрядных источников света допускаются, а при уровнях освещенности менее 30 лк используются, как правило, лампы накаливания.

11.3.7 При применении газоразрядных источников света допускается управление освещением осуществлять тремя - четырьмя ступенями.

Управление освещением универсальных спортивных залов должно предусматривать включение осветительных установок в соответствии с трансформацией зала.

11.3.8 Для освещения спортивных залов при высоте зала 8 м и менее рекомендуется применять систему верхнебокового освещения с установкой светильников на боковых стенах и потолке за пределами поля для игры. Наиболее качественной системой освещения для всех видов спорта (за исключением тенниса) является система комбинированного освещения при соотношении отраженного и направленного света 3:2, но ее применение является неэкономичным. Поэтому в большинстве случаев рекомендуется установка светильников на потолке зала с обеспечением защитного угла не менее 40° в продольной и поперечной плоскостях.

При применении осветительных приборов широкого светораспределения возможно устройство верхнего освещения с установкой их непосредственно над полем для игры.

Размещение светильников (за исключением светильников отраженного света) на стенах в торцах залов, предназначаемых для спортивных игр, не предусматривается.

11.3.9 Безопасную эксплуатацию светильников и звукотехнического оборудования при расположении их на высоте от 5 до 8,5 м от пола рекомендуется обеспечивать применением телескопических вышек, а при их отсутствии устройством переходных мостиков; при высоте размещения оборудования более 8,5 м от пола, как правило, - только устройством переходных мостиков.

Переходные мостики должны иметь сплошной настил, ограждение высотой 1,2 м и отбойный брус высотой не менее 0,15 м. В залах для спортивных игр мостики, располагаемые под потолком, размещаются параллельно продольной оси поля для игры.

11.3.10 В залах, предназначаемых для спортивных игр с мячом, следует предусматривать защиту светильников от повреждения мячом.

11.3.11 Все крепежные детали оборудования, регуляторов, электрических выключателей должны закладываться заподлицо с поверхностью стен или заглубляться.

Электрические выключатели, регуляторы осветительной арматуры в залах, достижимых для инвалидов, должны располагаться на высоте от 0,8 до 1,3 м.

11.3.12 В зданиях спортивных залов предусматривают:

- радиофикацию от радиотрансляционной сети населенного пункта;

- телефонизацию от АТС населенного пункта;

- электрочасофикацию (при установке не менее 10 электровторичных часов).

Дополнительно по заданию на проектирование могут быть предусмотрены:

- оперативно-служебная телефонная связь между помещениями судейской коллегии и местами нахождения отдельных судейских бригад при соревнованиях по легкой атлетике, а также с помещением дежурного медицинского персонала;

- установка информационной и регистрирующей аппаратуры;

- местная АТС для связи между отдельными помещениями;

- радио- и телевизионные передачи со спортивного сооружения.

В залах для спортивной и художественной гимнастики, баскетбола, групповых занятий аэробикой и в хореографических классах следует предусматривать устройства для музыкального сопровождения для занимающихся или музыкальных пауз в перерывах.

В раздевальных для занимающихся устанавливаются звуковые колонки небольшой мощности (2 Вт) для оповещения о пожаре, о ходе соревнований и своевременного вызова с учетом ГОСТ 21786 и ГОСТ 24214.

Приложение А

(рекомендуемое)

Табель-экспликация оборудования и инвентаря в залах для спортивных игр

Экспликационный номер

Наименование спортивного оборудования и инвентаря

Единица измерения

Количество оборудования и инвентаря в залах 42×24 м

Для бадминтона

Для баскетбола

Для волейбола

Для гандбола

Для тенниса

Оборудование с закладными деталями в ограждающих конструкциях

1

Канат для лазания

шт.

4

4

4

2

-

2

Рама наклонная с подвесными мячами (из набора снарядов для развития прыгучести) - см. № 16 А

шт.

2

2

2

1

1

3

Стенка гимнастическая

пролет

30

25

30

15

10

4

Стойка волейбольная с механизмом передвижения сетки

шт.

-

-

6

-

-

5

Стойки теннисные с сеткой

компл.

-

-

-

-

1

6

Щит баскетбольный с кольцом, сеткой и конструкцией крепления:

 

 

 

 

 

 

щит основной из оргстекла

шт.

-

2

-

1

-

щит тренировочный из оргстекла или дерева

шт.

2

8

1

1

1

кольцо

шт.

2

10

1

1

1

сетка

шт.

2

10

1

1

1

Конструкция крепления щита:

 

 

 

 

 

 

пристенная основного

шт.

-

3

1

1

1

потолочная основного

шт.

-

1

1

1

 

пристенная тренировочного

шт.

2

6

1

1

1

7

Щит баскетбольный тренировочный (ромбический 2,4×2,4 м)

шт.

-

2

2

-

-

8

Щит тренировочный (3,5×2,5 м)

шт.

-

-

-

2

-

9

Стенка тренировочная

пог. м

-

-

-

-

16 - 20

10

Фоны из материи размером, м:

 

 

 

 

 

 

16×3

шт.

-

-

-

-

2

8×3

шт.

-

-

-

2

-

5×3

шт.

8 - 11

-

-

-

-

11

Ворота для гандбола с сеткой и сеткой-гасителем

компл.

-

-

-

2

-

Переносные оборудование и инвентарь

12

Батут

шт.

-

1

1

1

1

13

Ворота для ручного мяча переносные с сеткой

шт.

-

-

-

2

-

14

Вышка судейская

шт.

7

-

3

-

1

15

Конь гимнастический

шт.

-

1

1

-

-

16

Набор снарядов для развития прыгучести в составе:

 

 

рамы наклонной с подвесными мячами

шт.

См. № 2

тумбы наклонной (с ограничителем тумбы)

шт.

1

1

1

1

1

пирамиды прыжковой

шт.

1

1

1

1

1

перекладины с крюками

шт.

1

1

1

1

1

реек разновысоких сбивающихся

компл.

1

1

1

1

1

17

Сетка со стойками для игры в бадминтон

компл.

7

-

-

-

-

18

Стойка с обручем и корзиной

компл.

-

1

1

-

-

19

Стойка для прыжков в высоту с планками

компл.

-

1

1

1

1

20

Стойка для обводки

шт.

-

12

-

12

-

21

Станок для развития кистей рук

шт.

1

1

1

1

1

22

Скамейка гимнастическая

шт.

-

6

8

4

3

Оборудование и инвентарь для соревнований

23

Гонг

шт.

-

1

-

1

-

24

Демонстрационные электроустройства:

 

 

 

 

 

 

электросчетчик с кнопочным управлением

шт.

1

1

1

1

1

световые программные часы с убывающим временем

шт.

-

1

-

1

-

световой тридцатисекундник

шт.

-

1

-

-

-

25

Доска показателей счета

компл.

1

1

1

1

1

26

Приспособление для подъема флага

шт.

1

1

1

1

1

27

Пьедестал

шт.

1

1

1

1

1

28

Счетчик для игры в настольный теннис

компл.

1

-

-

-

-

29

Свисток судейский

шт.

-

2

4

2

-

30

Секундомер

шт.

-

2

1

4

-

31

Указка персональных замечаний

компл.

-

1

-

-

-

32

Флажок судейский

шт.

-

-

4

-

-

33

Флажок судейский настольный

шт.

-

1

-

-

-

34

Электронные часы

шт.

-

2

-

2

-

Примечания

1. В универсальном зале (попеременно используемом для различных видов спортивных игр) при неодинаковом количестве оборудования и инвентаря одного и того же наименования для разных игр следует принимать его наибольшее значение, а при одинаковом количестве - принимать как для одной из игр. Остальные оборудование и инвентарь суммируются.

2. В зале для попеременных занятий по гандболу и теннису тренировочные щиты для гандбола (№ 8) не предусматриваются, а вместо них используется тренировочная стенка для тенниса (№ 9), на которую наносится необходимая разметка щитов. При гладких и обладающих повышенной устойчивостью к ударам мячом стенах зала рекомендуется использовать их поверхность вместо щитов (№ 8) и стенки (№ 9).

3. При попеременных занятиях в одном зале по бадминтону, теннису и гандболу фоны из материи (№ 10) предусматриваются только для одного вида игр; при этом принимается наибольший из требуемых размер фона.

4. Демонстрационные устройства (№ 24) следует, как правило, предусматривать в залах, имеющих стационарные трибуны не менее чем для 600 зрителей; в остальных залах они заменяются шахматными часами и доской показателей счета (№ 25), которые при наличии демонстрационных устройств не предусматриваются.

5. Приспособление для подъема флага (№ 26) и пьедестал (№ 27) предусматриваются, как правило, в залах со стационарными трибунами на 600 и более мест.

6. См. также примечание к приложению Б.

Приложение Б

(рекомендуемое)

Расчет радиуса поворота беговых дорожек и их уклона на виражах

Таблица Б.1 - Расчет уклона одноцентрового поворота расчетной длиной 35 м (к рисунку 12, А)

№ сечения

X (заложение)

Y (высота)

На четыре отдельные дорожки шириной по 1 м

На четыре отдельные дорожки шириной по 1,25 м

На шесть отдельных дорожек шириной по 1 м

На четыре отдельные дорожки шириной по 1 м

На четыре отдельные дорожки шириной по 1,25 м

На шесть отдельных дорожек шириной по 1 м

0

4999/5000

5999/6000

6999/7000

58/0

70/0

81/0

1

4999/5000

5999/6000

6999/7000

58/3

70/4

81/4

2

4999/5000

5999/6000

6999/7000

64/13

77/16

90/18

3

4999/5000

5999/6000

6999/7000

83/35

100/42

116/49

4

4998/4999

5998/5999

6998/6999

116/72

140/87

163/101

5

4997/4998

5996/5998

6996/6998

168/131

202/157

236/183

6

4994/4995

5993/5995

6992/6994

242/210

291/253

339/295

7

4988/4990

5986/5988

6984/6986

340/314

409/377

477/440

8

4978/4980

5974/5976

6970/6972

463/446

556/535

648/624

9

4961/4972

5954/5967

6946/6961

616/608

740/730

863/851

10

4938/4938

5926/5926

6914/6914

782/782

938/938

1095/1095

11

4910/4907

5892/5889

6874/6870

952/955

1143/1147

1333/1138

12

4875/4874

5851/5849

6826/6824

1109/1115

1331/1138

1553/1561

13

4845/4843

5814/5812

6783/6780

1235/1243

1482/1492

1729/1741

14

4818/4816

5782/5779

6746/6742

1334/1343

1601/1612

1868/1880

15

4796/4794

5756/5753

6715/6712

1411/1420

1694/1704

1976/1988

16

4780/4777

5736/5733

6692/6688

1467/1476

1761/1771

2054/2066

17

4768/4766

5722/5719

6675/6672

1505/1512

1806/1814

2107/2117

18

4761/4759

5713/5711

6665/6663

1528/1532

1834/1839

2140/2145

19

4757/4756

5709/5708

6660/6659

1539/1542

1847/1850

2155/2159

20

4755/4755

5707/5707

6658/6658

1545/1545

1854/1854

2163/2163

Примечания (к таблицам Б. 1 и Б.2)

1. Значения X и Y включают зону безопасности.

2. Над чертой - при уклоне 1:100 к внутренней бровке на прямом отрезке, под чертой - при горизонтальном прямом отрезке.

3. При промежуточных значениях ширины дорожки (от 4 до 6 м) производится соответствующий перерасчет координат Х и Y (при неизменной ширине зоны безопасности 1 м).

Таблица Б.2 - Расчет уклона поворота круговой беговой дорожки расчетной длиной 200 м (к рисунку 12, Б)

№ сечения

X (заложение)

Y (высота)

На четыре отдельные дорожки шириной по 1 м

На четыре отдельные дорожки шириной по 1,25 м

На шесть отдельных дорожек шириной по 1 м

На четыре отдельные дорожки шириной по 1 м

На четыре отдельные дорожки шириной по 1,25 м

На шесть отдельных дорожек шириной по 1 м

0

4999/5000

5999/6000

6999/7000

58/0

70/0

81/0

1

4999/5000

5999/6000

6999/7000

58/3

70/4

81/4

2

4999/5000

5999/6000

6999/7000

62/10

75/12

87/14

3

4999/5000

5999/6000

6999/7000

75/27

91/33

106/38

4

4999/4999

5999/5999

6999/6999

102/58

122/70

143/81

5

4998/4999

5998/5999

6997/6999

144/105

173/126

202/147

6

4996/4997

5995/5996

6994/6996

202/170

242/204

283/238

7

4992/4993

5991/5992

6989/6991

279/253

335/304

391/354

8

4985/4987

5983/5985

6980/6982

378/359

454/431

529/503

9

4975/4976

5970/5971

6965/6966

499/490

599/589

699/687

10

4960/4960

5952/5952

6944/6944

631/631

757/757

883/883

11

4940/4940

5929/5928

6817/6916

768/771

926/925

1075/1079

12

4919/4918

5903/5902

6887/6885

894/901

1073/1081

1252/1261

13

4899/4897

5879/5877

6859/6856

997/1005

1196/1207

1396/1408

14

4882/4880

5859/5857

6835/6833

1078/1086

1294/1304

1509/1521

15

4868/4865

5842/5839

6815/6812

1140/1150

1369/1380

1597/1610

16

4857/4855

5828/5826

6800/6797

1187/1195

1424/1435

1662/1674

17

4849/4847

5819/5817

6789/6786

1218/1225

1462/1470

1705/1715

18

4845/4843

5814/5812

6783/6781

1236/1242

1484/1490

1731/1739

19

4842/4841

5810/5810

6779/6778

1246/1249

1496/1499

1745/1749

20

4840/4840

5809/5809

6777/6777

1252/1252

1502/1502

1753/1753

См. примечания к таблице Б.1.

Таблица Б.3 - Протяженность бега по отдельным дорожкам на повороте (вираже)*

Дорожка

Ширина отдельной дорожки, мм

Протяженность бега по одному повороту, мм

Смещение места старта, мм, при числе поворотов на дистанции

1

2

3

Вторая

1000

38085

67332**

3057

3030

6114

6060

9171

9090

1150

38545

67789**

3517

3487

7033

6974

10550

10461

1250

38852

68098**

3824

3795

7647

7586

11471

11380

Третья

1000

41155

70376**

6127

6074

12255

12148

18382

18222

1150

42078

71290**

7050

6988

14101

13976

21151

20964

1250

42694

71899**

7666

7597

15332

15194

22998

11792

Четвертая

1000

44235

73424**

9207

9122

18414

18244

27621

27366

1150

45624

74799**

10596

10497

21192

20994

31789

31491

1250

46551

75717**

11523

11415

23046

22831

43568

34246

Пятая

1000

47323

76481**

12295

12179

24591

24358

36886

36538

1150

49179

78318**

14151

14016

28303

28032

42454

42049

Шестая

1000

50418

79545**

15390

15243

30780

30486

46170

45729

* Применительно к параметрам виражей, приведенным на рисунке 5.1, и указанной в настоящей таблице ширине отдельной круговой дорожки. При иных ширине отдельной дорожки (от 1 до 1,25 м), радиусе кривизны поворотов и (или) уклоне виражей необходим соответствующий пересчет.

** Включая всю протяженность обеих переходных кривых.

Примечания

1. Над чертой - для одноцентрового поворота, под чертой - для поворота, сопряженного с прямыми отрезками при помощи переходной кривой.

2. Приведенные значения, рассчитанные с большой точностью, округлены до миллиметра.

3. Значение смещения места старта следует откладывать по «линии измерения» соответствующей отдельной дорожки (отступая от ее внутренней бровки на 0,2 м) по направлению бега, считая от продолжения линии старта по первой дорожке.

Приложение В

(рекомендуемое)

Табель основного спортивного оборудования и инвентаря залов для легкой атлетики

№ п.п.

Наименование

Число единиц

1

Барьер легкоатлетический (универсальный)

По 10 на каждую отдельную прямую беговую дорожку

2

Брус деревянный (у обруча для толкания ядра)

1 на место

3

Брус толчковый (с кассетами для пластилина)2

По 1 компл. на одинарную и по 2 на двойную яму

4

Вышка для стартера или наручный экран4 и 5

1

5

Вышка финишная (для судей на финише и хронометристов)5, если нет ложи для судей

1

6

Демонстрационная «линейка» для показа хода соревнований по прыжкам в длину и тройным5

По 1 компл. на каждую яму

7

Диск для метания массой, кг:

 

1 и 2

По 5 каждой массы

1,5

2 - 3

8

«Желоб» для возврата ядер (переносной)

1 на место

9

Канат для лазания2

3 - 4

10

Копье для метания2 (металлическое) массой, г:

 

600

По 5 - 6 каждой массы

800

11

Обруч круга для метания диаметром, м:

 

2,135 (для толкания ядра)

По 1 на место

2,5 (для метания диска в сетку)

12

Ограждение сектора для приземления ядра (съемное)2

1 компл. на место

13

Планка для метания копья (в сетку)2

1 на место

 

Планка для прыжков длиной, м:

 

14

4 - для прыжков в высоту

По 5 на место

 

4,5 - для прыжков с шестом

По 7 на место

15

Подставка под планки для прыжков5

По 1 паре на каждое место

16

Подставка под «шпильки» для разметки разбега4 и 5

5 - 6

17

Полочка для гантелей2, 4, 6

10 - 12

18

Помост тяжелоатлетический2 и 6

1

19

Покрывало для мест приземления прыгунов с шестом

1 на место

20

Поролон листовой (или губчатая резина) для мест приземления в прыжках с шестом и в высоту

По 13,5 м3 (6×3×0,75 м) на место для прыжков в высоту, по 37,5 м3 (5×5×1,5 м) на место для прыжков с шестом

21

Препятствие для бега (стипль-чеза)

2

22

Прибор для измерения длины прыжка 2 и 5

1 компл. на яму

23

Разметка «метража» на дорожках для разбега при прыжках в длину, тройном и с шестом с № 1 по № 45 (может быть выполнена краской по синтетическому покрытию)5

По 1 компл. на место

24

«Рогулька» для установки планки в прыжках с шестом

По 1 паре на место

25

Секундомер4:

 

однострелочный

8 - 10

двухстрелочный

3 - 4

26

Сетка для метания диска и копья в помещении с ограждением места для метания диска (съемная)2

По 1 компл. на место

27

Скамейка гимнастическая7

15 - 25

28

Скамейка тяжелоатлетическая6

1

29

Станок для развития кистей рук2 и 6

3 - 4

30

Станок стартовый

10 - 15

31

Стеллаж для дисков штанг6

2 - 3

32

Стенка гимнастическая2

15 - 20 пролетов

33

Стойки для приседания со штангой6

1

34

Стойки для прыжков в высоту

По 1 паре на место

35

Стойки для прыжков с шестом

То же

36

Стойки финишные2 и 5

1 - 2 пары

37

Тесьма (лента) для финиша (белая шириной 1 см)4 и 5

20 - 30 м

38

Трамплин гимнастический

2

39

Тренажер «эспандер грузовой»2 и 6

2 - 3

40

Тумба-стеллаж для ядер (переносная)

2 - 3 на место

41

Указатель легкоатлетический универсальный5

40 - 45

42

Указатель «метража» на финише (с № 1 по № 5)5

2 компл.

43

Указатель «метража» разметки сектора для приземления ядра5

1 компл. на место

44

Указатель номера дорожки (с № 1 по № 6)5

1 компл.

45

Указатель рекордов в толкании ядра, прыжках в длину и тройных5

1 компл. на место

46

Указатель у толчкового бруса5

По 1 паре на яму

47

Фишки (с номерами) для розыгрыша дорожек (с № 1 по № 6)4 и 5

2 компл.

48

Флаг секторный (для толкания ядра)2 и 5

1 пара на место

49

Флаг судейский4 и 5

10 - 12

50

Хронометр (часы-секундомер)4

1 - 2

51

Шаблоны для проверки размеров ядер разной массы4

1 компл.

52

Шест для прыжков4

6 - 10

53

«Шпильки» для разметки разбега4 и 5

100 - 150

54

Штанга тяжелоатлетическаяб

2 - 3 компл.

55

Эспандер кистевой4

20

56

Эспандер плечевой4

20

57

Ядро для толкания массой, кг:

 

4 и 7,257

По 10 каждой массы на место

3,6 и 6

По 3 - 4 каждой массы на место

58

Ящик для упора шеста2

По 1 на место

1 Изготовляется на месте в соответствии с требованиями действующих Правил соревнований по легкой атлетике.

2 Встраивается или прикрепляется к закладным деталям в ограждающих конструкциях.

3 Изготовляется на месте, конструкция согласовывается с заказчиком.

4 Хранится, как правило, в кладовой спортивного инвентаря.

5 Только для соревнований (в учебно-тренировочных сооружениях не предусматривается).

6 Находится в помещении для индивидуальной силовой подготовки.

7 Рекомендуется гимнастические скамьи заменить любыми обыкновенными с высотой расположения сиденья 0,43 - 0,45 м от пола.

Примечание - Применяемые только для соревнований информационная и судейская регистрационная аппаратура, счетные, множительные и пишущие машины в настоящий табель не включены. Также не включены видеомагнитофоны, применяемые как при соревнованиях, так и при учебно-тренировочных занятиях.

Приложение Г

Иллюстрации

СТРУКТУРНАЯ СХЕМА КОРПУСА С ЗАЛОМ ДЛЯ ЛЕГКОЙ АТЛЕТИКИ, ФУТБОЛА ИЛИ МНОГОФУНКЦИОНАЛЬНЫМ ЗАЛОМ

3.1

Условные обозначения

 - Основные помещения (сооружения)

 - Вспомогательные помещения (сооружения)

 - Помещения (сооружения) для зрителей

 - Помещения (сооружения), предусматриваемые по местным условиям (по заданию на проектирование)

 - Обязательное смежное и связанное размещение помещений (сооружений)

 - Функциональная связь

 - Желательная непосредственная связь

 - Возможная непосредственная связь

 - Возможное объединение помещений

ФУНКЦИОНАЛЬНЫЕ СХЕМЫ СПОРТИВНО-ДЕМОНСТРАЦИОННОГО И СПОРТИВНО-ЗРЕЛИЩНОГО ЗАЛОВ

3.2

СПОРТИВНО-ДЕМОНСТРАЦИОННЫЙ ЗАЛ

СПОРТИВНО-ЗРЕЛИЩНЫЙ ЗАЛ

I - основные потоки; II - функциональные связи; III - движение спортсменов; IV - движение зрителей

1 - вестибюль и гардеробная верхней одежды для спортсменов и сотрудников; 2 - блок раздевальных; 3 - арена; 4 - зал для спортивных игр; 5 - зал индивидуальной силовой подготовки; 6 - зал общей и специальной силовой подготовки; 7 - блок медицинского обслуживания и реабилитации; 8 - блок реабилитации; 9 - блок медицинского обслуживания; 10 - кабинет медсестры; 11 - методический кабинет; 12 - конференц-зал и методический кабинет; 13 - буфет для спортсменов и сотрудников; 14 - подсобные помещения; 15 - помещения для отдыха спортсменов; 16 - помещения для тренеров; 17 - помещения для судей; 18 - помещение для тренеров и судей; 19 - медицинский пункт; 20 - инвентарные; 21 - вестибюль и гардеробная для зрителей; 22 - фойе и буфет для зрителей; 23 - кассы (с кассовым вестибюлем); 24 - трибуны; 25 - администрация; 26 - помещения телевидения, радио и прессы; 27 - помещения телевидения и радио; 28 - пресс-центр; 29 - дирекция; 30 - артистические; 31 - костюмерная; 32 - оперативный склад; 33 - блок технических помещений; 34 - служба эксплуатации, помещения для персонала; 35 - блок складских и ремонтных помещений; 36 - пожарный пост

ИГРОВЫЕ ПЛОЩАДКИ ДЛЯ ВОЛЕЙБОЛА, БАСКЕТБОЛА, ТЕННИСА И БАДМИНТОНА

3.3

РАЗМЕТКА ПЛОЩАДКИ ДЛЯ БАСКЕТБОЛА

РАЗМЕТКА ПЛОЩАДКИ ДЛЯ ВОЛЕЙБОЛА

РАЗМЕТКА ПЛОЩАДКИ ДЛЯ ТЕННИСА

РАЗМЕТКА ПЛОЩАДКИ ДЛЯ БАДМИНТОНА

* Размеры для учебно-тренировочных занятий и соревнований.

** Размеры для соревнований международного уровня.

ПЛОЩАДКА ДЛЯ ГАНДБОЛА

4.1

ИГРОВОЕ ПОЛЕ

Ширина всех линий разметки - 50 мм. Линии входят в габариты поля.

Линия разметки

1. Лицевая линия; 2. Боковая линия; 3. Средняя линия; 4. Линия свободных бросков; 5. Линия вратарской площади; 6. Линия ворот; 7. Линия штрафных бросков; 8. Ограничительная линия для вратаря

Зона площадки

9. Площадь вратаря; 10. Зона замены; 11. Зона безопасности

Оборудование

12. Ворота; 13. Ограждение (сетка) для перехвата мячей; 14. Фоны тканевые 8×3 м; 15. Стол секретариата; 16. Места для запасных игроков; 17. Граница арены

* Размер для затесненных условий.

ПЛОЩАДКА (АРЕНА) ДЛЯ СОРЕВНОВАНИЙ И УЧЕБНО-ТРЕНИРОВОЧНЫХ ЗАНЯТИЙ

ПЛОЩАДКИ ДЛЯ МИНИ-ФУТБОЛА И ФУТЗАЛА

4.2

СХЕМА АРЕНЫ ДЛЯ СОРЕВНОВАНИЙ И РАЗМЕТКА ИГРОВОГО ПОЛЯ ДЛЯ МИНИ-ФУТБОЛА

РАЗМЕТКА ИГРОВОГО ПОЛЯ ПРИ ЕГО ШИРИНЕ НЕ БОЛЕЕ 16 м

СХЕМА ВОРОТ

СХЕМА АРЕНЫ ДЛЯ СОРЕВНОВАНИЙ И РАЗМЕТКА ИГРОВОГО ПОЛЯ ДЛЯ ФУТЗАЛА

1 - линия ворот; 2 - боковая линия; 3 - средняя линия; 4 - штрафная площадка; 5 - центральный круг; 6 - центральная отметка; 7 - шестиметровая отметка; 8 - зона замены; 9 - ворота для мини-футбола, для футзала; 10 - граница арены; 11 - зона размещения запасных игроков, судей и обслуживающего персонала; 12 - стол хронометриста; 13 - места запасных игроков; 14 - места запасных игроков (вариант возможного размещения)

Примечание - Ширина всех линий разметки 80 мм. Линии входят в габариты поля.

ПРИМЕРЫ РАЗМЕЩЕНИЯ ИГРОВЫХ ПЛОЩАДОК В ЗАЛЕ 42×24 м

4.3

ДЛЯ БАСКЕТБОЛА

ДЛЯ ГАНДБОЛА

Примечания

1. Звездочкой (*) обозначены минимальные размеры.

2. Спецификация оборудования приведена на листах 4.29, 4.30 и в приложениях В и Г СП 31-112-2004 (1).

ПЛОЩАДКИ ДЛЯ ФУТБОЛА

4.4

РАЗМЕТКА ПЛОЩАДКИ ДЛЯ ВЗРОСЛЫХ И ЮНИОРОВ И СХЕМА АРЕНЫ ДЛЯ СОРЕВНОВАНИЙ И УЧЕБНО-ТРЕНИРОВОЧНЫХ ЗАНЯТИЙ

Ширина всех линий разметки не более 120 мм. Линии входят в площадь поля.

РАЗМЕТКА ПЛОЩАДКИ ДЛЯ ДЕТЕЙ

1. Игровое поле; 2. Боковые линии; 3. Линия ворот; 4. Средняя линия; 5. Площадь ворот; 6. Штрафная площадь; 7. Отметка 11-метрового штрафного удара; 8. Сектор углового удара; 9. Граница размещения игроков защищающейся команды в поле при угловом ударе; 10. Ворота; 11. Зоны безопасности; 12. Зона запасных игроков; 12 А. Скамьи запасных игроков; 13. Зона замены. 14. Зоны размещения фоторепортеров; 15. Линия размещения рекламы (Н = 900); 16. Граница арены с покрытием для игры; 17. Зоны возможного размещения зрителей; 18. Зона резервного арбитра; 19. Граница арены с искусственным покрытием

* Минимально возможные размеры поля.

** Международные размеры футбольного поля.

а - не менее 2000 мм.

МАНЕЖИ ДЛЯ ФУТБОЛА

4.5

ПЛАНИРОВОЧНАЯ СХЕМА МАНЕЖА ДЛЯ УЧЕБНО-ТРЕНИРОВОЧНЫХ ЗАНЯТИЙ И СОРЕВНОВАНИЙ ОГРАНИЧЕННОГО МАСШТАБА

Покрытие игрового поля - синтетический газон.

ФУТБОЛЬНЫЕ ВОРОТА

СХЕМА СКЛАДНЫХ ТРИБУН (БЛИЧЕРОВ) ДЛЯ ЗРИТЕЛЕЙ

* Минимальные размеры.

** Максимальные размеры. Загрузка трибун предпочтительна сверху (с галереи или балкона для зрителей).

1. Границы игрового поля; 2. Ворота; 3. Зоны безопасности; 4. Тренировочные дорожки для отработки бега на короткие дистанции; 5. Гимнастические стенки; 6. Зоны размещения запасных игроков; 7. Скамьи для запасных игроков; 8. Зона замены; 9. Складные трибуны (бличеры) для зрителей в сложенном положении; . То же, в развернутом положении; 10. Вход-выход для спортсменов; 11. Зона резервного арбитра

ТРАНСФОРМИРУЕМЫЕ ФИЗКУЛЬТУРНО-СПОРТИВНЫЕ ЗАЛЫ (АРЕНЫ)

4.6

СХЕМЫ ТРАНСФОРМИРУЕМЫХ ЗАЛОВ

1 - площадка для волейбола; 2 - площадка для баскетбола; 3 - площадка для бадминтона; 4 - беговая дорожка (места для зрителей)

СОВМЕЩЕННАЯ РАЗМЕТКА ИГРОВЫХ ПЛОЩАДОК ДЛЯ МИНИ-ФУТБОЛА, БАСКЕТБОЛА И ВОЛЕЙБОЛА

4.7

Разметка площадок: 1 - для мини-футбола; 2 - для баскетбола; 3 - для волейбола

Условные обозначения:

- синий цвет

- красный цвет

* Размеры для учебно-тренировочных занятий и соревнований.

** Размеры для соревнований международного уровня.

ТРАНСФОРМИРУЕМЫЕ СПОРТИВНЫЕ ЗАЛЫ

4.8

ПРИМЕР ПЛАНИРОВКИ СЕКЦИОННОГО ЗАЛА 45×24 м

1 - секция зала (24×15 м, ЕПС = 40 чел. в смену); 2 - блок раздевальной с душевой, умывальной и санузлом; 3 - инвентарная; 4 - коридор; 5 - разметка площадки для гандбола; 6 - разметка площадки для волейбола

РАЗДЕЛИТЕЛЬНАЯ СЕТКА ДЛЯ СПОРТИВНЫХ ЗАЛОВ

1 - полотно (цветное); 2 - гибкая сетка (цветная); 3 - моторный блок

УНИВЕРСАЛЬНЫЕ (МНОГОФУНКЦИОНАЛЬНЫЕ) ЗАЛЫ

4.9

ПРИМЕР ИСПОЛЬЗОВАНИЯ АРЕНЫ ЛЕГКОАТЛЕТИЧЕСКОГО МАНЕЖА ДЛЯ СОРЕВНОВАНИЙ ПО СПОРТИВНЫМ ИГРАМ

А. Мини-футбол

Б. Баскетбол

В. Волейбол

Г. Гандбол

1. Круговая дорожка; 2. Зоны виражей круговой дорожки; 3. Ограждение места для толкания ядра*; 4. Место приземления для прыжков с шестом*; 5. Ограждение виражей; 6. Граница сборно-разборного настила для спортивных игр; 7. Ограждение (свободно висящая сетка - типа рыболовного трала) для перехвата мячей; 8. Разметка игровых площадок; 9. Ворота; 10. Стойки волейбольные (на растяжках); 11. Стойки баскетбольные (перемещаемые); 12. Зоны размещения запасных игроков, судей и вспомогательного персонала; 13. Зона размещения зрителей

* В данном примере ограждение для задержания снарядов при толкании ядра и место для приземления в прыжках с шестом не демонтируются.

ТРАНСФОРМИРУЕМЫЕ СПОРТИВНЫЕ ЗАЛЫ

4.10

ПРИМЕРЫ РАЗМЕЩЕНИЯ ОБОРУДОВАНИЯ В МНОГОФУНКЦИОНАЛЬНЫХ ЗАЛАХ ДЛЯ АКАДЕМИЧЕСКИХ ЗАНЯТИЙ УЧАЩИХСЯ (А), А ТАКЖЕ ИГР С МЯЧОМ, ГИМНАСТИКИ, ОФП (Б)

1 - места установки комплектного школьного оборудования, крепящегося в стаканах к полу; 2 - гимнастический конь для опорных прыжков; 3 - гимнастическая перекладина высокая; - брусья гимнастические; 4 - ковер 10×10 м для вольных упражнений; 5 - место установки батута; 6 - баскетбольные щиты; 7 - гимнастическая стенка; 8 - рама наклонная с подвесными мячами; 9 - щит баскетбольный тренировочный (ромбический); 10 - зеркало; 11 - станок хореографический; 12 - монорельс подъемный для канатов и шестов (проект); 12а - типовой монорельс (вариант); 13 - кольца гимнастические потолочные подъемные (проект); 14 - сетка для волейбола, бадминтона, тенниса; 15 - акробатическая дорожка; 16 - лонжа потолочная; 17 - дорожка гимнастическая

СХЕМЫ РАЗМЕТКИ ПЛОЩАДОК ДЛЯ ЗАНЯТИЙ ИНВАЛИДОВ С ПОРАЖЕНИЕМ ОПОРНО-ДВИГАТЕЛЬНОГО АППАРАТА

4.11

ЗАЛ ДЛЯ СПОРТИВНЫХ ЗАНЯТИЙ РАЗМЕРОМ 36×18 м

ЗАЛ ДЛЯ СПОРТИВНЫХ ЗАНЯТИЙ РАЗМЕРОМ 45×24 м

1 - стенка гимнастическая; 2 - передвижной баскетбольный щит; 3 - тренировочный баскетбольный щит; 4 - стенка ребристая; 5 - снаряды подвесные; 6 - разметка для баскетбола (18×26); 7 - разметка для волейбола; 8 - разметка для волейбола сидя (10×6 м); 9 - разметка для футбола-тенниса (19×7,5 м); 10 - разметка для гандбола через сетку (28,5×9,5 м); 11 - разметка для гандбола; 12 - разметка для ринг-тенниса; 13 - съемные стойки волейбольные; 14 - сетки заградительные

·        - зона безопасности

ПЛОЩАДКА ДЛЯ ХОККЕЯ В ЗАЛЕ РАЗМЕТКА ИГРОВОГО ПОЛЯ

4.12

РАЗМЕТКА ИГРОВОГО ПОЛЯ

ВОРОТА

Ширина всех линий разметки - 50 мм.

1 - линия ворот; 2 - ворота; 3 - боковая линия; 4 - боковой бортик; 5 - линия штрафного удара; 6 - граница броска; 7 - отбойная доска; 8 - зона безопасности

* Минимальный размер.

** Максимальный размер.

ПЛОЩАДКА ДЛЯ ХОККЕЯ НА РОЛИКАХ РАЗМЕТКА ИГРОВОГО ПОЛЯ

4.13

РАЗМЕТКА ИГРОВОГО ПОЛЯ

ВОРОТА

1 - центральный круг; 2 - точка свободного удара; 3 - борт; 4 - ворота; 5 - защитная сетка; 6 - скамейка запасных; 7 - штрафная скамейка; 8 - место секундантов; 9 - зона безопасности

Высота борта - 1 м.

Высота защитной сетки - 3 м от верха борта.

Ширина линий разметки:

центрального круга - 20 мм;

остальных линий - 80 мм.

* Минимальные размеры.

** Максимальные размеры.

КРУГОВАЯ БЕГОВАЯ ДОРОЖКА РАСЧЕТНОЙ ДЛИНОЙ 200 м

5.1

А. С ОДНОЦЕНТРОВЫМ ПОВОРОТОМ РАСЧЕТНОЙ ДЛИНОЙ 35 м

Б. С СОПРЯЖЕНИЕМ ПРЯМЫХ ОТРЕЗКОВ И ПОВОРОТОВ ПРИ ПОМОЩИ ПЕРЕХОДНОЙ КРИВОЙ (КЛОТОИДЫ)

1 - внутренняя бровка дорожки; 2 - условная линия измерения расчетной длины дорожки; 3 - линия общего финиша (при максимальном удалении от поперечной оси круговой беговой дорожки); 4 - зона с постоянным уклоном 18°; 5 - зона с постоянным уклоном 14°30; 6 - зона с переменным уклоном; 7 - зона безопасности

* По линии измерения.

** До линии измерения на поверхности виража.

МЕСТА ДЛЯ ОТДЕЛЬНЫХ ВИДОВ ЛЕГКОЙ АТЛЕТИКИ

5.2

ДОРОЖКА ДЛЯ БЕГА ПО ПРЯМОЙ (В ТОМ ЧИСЛЕ С БАРЬЕРАМИ)

СХЕМА БАРЬЕРА

1. Линия старта; 2. Линия финиша всех дистанций; 3. Финишные стойки; 4. Стартовая зона; 5. Финишная зона; 6. Линии разметки; 7. Зоны безопасности

Примечание - Для возможности проведения соревнований дорожка для бега по прямой, включая бег с барьерами, должна состоять из 6 или 8 отдельных дорожек шириной 1,22 - 1,25 м.

МЕСТО ДЛЯ ПРЫЖКОВ В ВЫСОТУ

5.3

ПЛАН

ГАБАРИТНАЯ СХЕМА

1. Зона ориентации; 2. Зоны разбега и размещения сопровождающих выполняющего прыжок; 3. Стойки для планки; 4. Место приземления («подушка» из поролоновых матов)**; 5. Зоны безопасности

* Максимальные размеры предусматриваются для соревнований международного уровня.

** Возможно устройство передвижного места приземления (в коробе на роликах).

МЕСТО ДЛЯ ПРЫЖКОВ С ШЕСТОМ

5.4

ПЛАН И АКСОНОМЕТРИЯ ФРАГМЕНТА МЕСТА

ЭКСПЛИКАЦИЯ

1. Дорожка разбега; 2. Место приземления («подушка» из поролоновых матов); 3. Стойки традиционной формы; 4. Границы допустимого (по требованию спортсмена) перемещения стоек; 5. Альтернативные (раздвинутые) стойки; 6. Планка стандартной длины; 7. Ящик для упора шеста; 8. Стартовая зона; 9. Зона безопасности высотой 5500 - 6000 мм**; 10. Зона безопасности высотой 7600 - 9000 мм**; 11. Лист металлический толщ. 2,5 мм

СХЕМА ЯЩИКА ДЛЯ УПОРА ШЕСТА

* Минимально возможный размер.

** Максимальные размеры, предусматриваемые для соревнований международного уровня.

МЕСТА ДЛЯ ПРЫЖКОВ В ДЛИНУ И ТРОЙНЫХ ПРЫЖКОВ

5.5

А. ОДИНАРНОЕ                            Б. СДВОЕННОЕ

(ДЛЯ ПРЫЖКОВ В ДЛИНУ)    (ДЛЯ ТРОЙНЫХ ПРЫЖКОВ)

ЭКСПЛИКАЦИЯ

1. Дорожка разбега; 2. Яма приземления глубиной 0,5 м; 3. Борт ямы с мягкой облицовкой (заподлицо с поверхностью зоны безопасности; ближайший к дорожке разбега борт размещается ниже поверхности песка на 30 мм); 4. Зоны безопасности; 5. Линии разметки (белый цвет); 6. Стартовая зона; 7. Брус отталкивания (деревянный); 8. Индикатор заступов (слой пластилина); 9. Литая резина; 10. Сменный вкладыш (деревянная рейка или металлический профиль)

Примечания

1. В целях исключения необходимости замены брусков отталкивания «пробками» (при чередовании видов прыжков) одинарное место предусматривается для прыжков в длину, а сдвоенное (при возможности на большее количество дорожек) место целесообразно предусматривать для тройных прыжков с размещением брусков отталкивания на различных от ямы приземления расстояниях (с учетом различных уровней физических возможностей спортсменов) от 7 до 13 м.

2. Для зон безопасности указана минимальная ширина.

* Максимальные размеры предусматриваются для соревнований международного уровня.

БРУС ДЛЯ ОТТАЛКИВАНИЯ (ПО 1-1)

МЕСТО ДЛЯ ТОЛКАНИЯ ЯДРА

5.6

ПЛАН

ПЛОЩАДКА ДЛЯ ВЫПОЛНЕНИЯ ТОЛЧКА

1. Круг для толкания ядра (покрытие - бетон); 2. Сегмент (клееная древесина); 3. Обруч (металл толщ. 6 мм); 4. Сектор приземления снаряда; 5. Линии разметки (белый цвет); 6. Зоны безопасности; 7. Ограждение для перехвата снарядов; 8. Уровень поверхности круга; 9. Уровень поверхности сектора и зон безопасности

* При затесненных условиях возможно ограничение ширины сектора приземления снаряда.

ОГРАЖДЕНИЕ СЕКТОРА ДЛЯ ПРИЗЕМЛЕНИЯ ЯДРА (ПРИМЕРНЫЙ ВАРИАНТ)

1 - пол; 2 - стакан; 3 - труба d = 42,3 мм; 4 - щит из шпунтованных досок толщ. 32 мм, длиной 1000 мм; 5 - шланг резиновый 0 50 мм; 6 - листовая резина 5×700 мм; 7 - стальная плетеная сетка

Ограждение устанавливается вдоль боковых границ (начиная с 12 м от обруча) и вдоль дальней границы сектора для приземления. Стойки (с шагом до 1 м) размещаются на расстоянии не менее 19 см за границами сектора. Вдоль боковых сторон ограждения дощатый щит со шлангами и листовой резиной может не предусматриваться.

МЕСТА ДЛЯ ТРЕНИРОВОЧНЫХ МЕТАНИЙ В СЕТКУ

5.7

А. МЕТАНИЕ КОПЬЯ

Б. МЕТАНИЕ ДИСКА

ЭКСПЛИКАЦИЯ

1. Дорожка разбега; 2. Фрагмент сектора приземления снарядов; 3. Планка (дуга) у места броска - из листового материала (металл, пластик, фанера); укладывается заподлицо с поверхностью дорожки и сектора (окрашивается в белый цвет); 4. Линии разметки (белый цвет); 5. Круг для метания (покрытие - бетон); 6. Обруч (металл); 7. Заградительная сетка высотой не менее 4 м (устанавливается с техническими условиями поставщика, изготовителя); 8. Ограждение для перехвата снарядов (свободно висящие сетки; конструкции крепления произвольные, выполняются по месту)


ЗАЛ С КРУГОВОЙ ДОРОЖКОЙ ДЛИНОЙ 166,66 м ПРИ ОДНОЦЕНТРОВЫХ ПОВОРОТАХ

5.8

Экспликацию - см. на листе 5.9.


ОГРАЖДЕНИЕ ВИРАЖА (ПРИМЕРНЫЙ ВАРИАНТ)

Шаг стоек принимают в зависимости от протяженности виража и с учетом размеров оргстекла, выпускаемого промышленностью. В зависимости от расположения мест для зрителей допускается замена оргстекла деревом (доски, фанера).


ЗАЛ С КРУГОВОЙ ДОРОЖКОЙ ДЛИНОЙ 200 м ПРИ ОДНОЦЕНТРОВЫХ ПОВОРОТАХ

5.9

1 - круговая дорожка; 2 - дорожка для бега по прямой (снаружи контура круговой дорожки); - дорожка для бега по прямой (внутри контура круговой дорожки); 2б - тренировочная дорожка для бега по прямой (снаружи контура круговой дорожки возможно размещение за опорами); 3 - линии старта в беге на 60 м; - линия старта в беге на 80 м; 4 - линии финиша; 5 - яма (одинарная) для приземления в прыжках в длину; 6 - яма (одинарная) для приземления в тройных прыжках; 7 - яма (сдвоенная) для приземления в прыжках в длину и тройного; 8 - место приземления (стационарное) для прыжков в высоту; - место приземления (передвижное) для прыжков в высоту; 9 - место приземления для прыжков с шестом; 10 - место для толкания ядра; И - ограждение виража; 12 - стенка гимнастическая; 13 - канаты для лазания; 14 - зоны безопасности; 15 - зона размещения зрителей

АРЕНА С КРУГОВОЙ ДОРОЖКОЙ ДЛИНОЙ 200 м ПРИ ПОВОРОТАХ ПО ВИРАЖАМ С ПЕРЕХОДНОЙ КРИВОЙ

5.10

Экспликацию - см. на листе 5.11.

Примечание - Расположение мест приземления для прыжков в высоту показано без привязки, так как они могут быть перемещаемы в зависимости от конкретных условий тренировок и соревнований.

АРЕНА С КРУГОВОЙ ДОРОЖКОЙ ДЛИНОЙ 200 м С РАЗВИТОЙ ЗОНОЙ МЕТАНИЙ

5.11

1 - круговая дорожка; 2 - дорожка для бега по прямой; 3 - линии старта в беге; - на 60 (80) м; 3б - на 100 (80) м; - на 110 м; 4 - линии финиша; 5 - яма (одинарная) для приземления в прыжках в длину; 6 - яма (одинарная) для приземления в тройных прыжках; 7 - яма (сдвоенная) для приземления в тройных прыжках; 8 - место приземления для прыжков в высоту; 9 - место приземления для прыжков с шестом; 10 - место для толкания ядра; 11 - место для тренировочных метаний копья в сетку; 12 - место для тренировочных метаний диска в сетку (возможно совмещение с метанием молота при соответствующем устройстве ограждения для задержания снарядов); 13 - ограждение виражей; 14 - стенка гимнастическая; 15 - канаты для лазания; 16 - зона размещения зрителей

Примечание - Расположение мест приземления для прыжков в высоту показано без привязки, так как они могут быть перемещаемы в зависимости от конкретных условий тренировок и соревнований.


ВИРАЖИ КРУГОВОЙ БЕГОВОЙ ДОРОЖКИ

5.12

А. ОДНОПРОЦЕНТНЫЙ ПОВОРОТ РАСЧЕТНОЙ ДЛИНОЙ 35 м

Б. ПОВОРОТ КРУГОВОЙ БЕГОВОЙ ДОРОЖКИ РАСЧЕТНОЙ ДЛИНОЙ 200 м, СОПРЯЖЕННЫЙ ПРИ ПОМОЩИ ПЕРЕХОДНОЙ КРИВОЙ С ПРЯМЫМИ ОТРЕЗКАМИ

ПОСТРОЕНИЕ ПЕРЕХОДНОЙ КРИВОЙ ПО КООРДИНАТАМ (ПО ВНУТРЕННЕЙ БРОВКЕ)

ПАРАМЕТРЫ ФУНКЦИОНАЛЬНЫХ ЗОН В РАЗДЕВАЛЬНЫХ

6.1

А) ДЛЯ СПОРТСМЕНОВ (КРОМЕ ИНВАЛИДОВ)

Б) ДЛЯ СПОРТСМЕНОВ-ИНВАЛИДОВ

МЕБЕЛЬ И ОБОРУДОВАНИЕ. ГАБАРИТНЫЕ СХЕМЫ

6.2

1. Скамьи для переодевания со спинкой и крючками (а - двухсторонняя, б - односторонняя); 2. Двухъярусные закрытые шкафы для домашней одежды (а - с дверцей по узкой стороне, б - с дверцей по широкой стороне); 3. Скамья для переодевания без спинки, приставная; 4. Двухъярусные открытые шкафы для хранения одежды в гардеробной с обслуживанием (а - открытый по узкой стороне, б - открытый по широкой стороне); 5. Одноярусные закрытые шкафы для домашней одежды (а - с дверцей по узкой стороне, б - с дверцей по широкой стороне); 6. Двухсекционный шкаф для домашней одежды; 7. Вешалка для хранения одежды в гардеробной с обслуживанием (а - перекладина, б - переносный каркас)

РАССТАНОВКА МЕБЕЛИ И ОБОРУДОВАНИЯ РАЗДЕВАЛЬНЫХ

6.3

ОБЩИЕ И КОМАНДНЫЕ РАЗДЕВАЛЬНЫЕ*

Схема 1. При хранении домашней одежды в гардеробной или в помещении раздевальной открытым способом

Схема 2. При хранении домашней одежды в помещении раздевальной в закрытых шкафах

А - одноярусные (для командных раздевальных) или двухъярусные (для общих раздевальных); при сидении спиной к шкафу.

Б** - двухъярусные (для командных раздевальных); при сидении лицом к шкафам.

В - одноярусные (для командных раздевальных) или двухъярусные (для общих раздевальных); при сидении лицом к шкафам.

ГАРДЕРОБНЫЕ ДОМАШНЕЙ ОДЕЖДЫ С ОБСЛУЖИВАНИЕМ***

Схема 1. При хранении домашней одежды в открытых двухъярусных шкафах

Схема 2. При хранении домашней одежды на переносных каркасах, подвешенных к перекладине

м - мужская раздевальная; ж - женская раздевальная; о - окно приемки и выдачи одежды; э - экран

* Кроме мест для переодевания и хранения одежды в помещениях раздевальных следует предусматривать ножные ванны (мойки для ног) и умывальники. В раздевальных у входов и выходов следует предусматривать непрозрачные экраны.

** Двухъярусные шкафы допускается располагать отдельным блоком с размещением мест для переодевания, как показано на схеме 1.

*** Сквозное просматривание через окна гардеробной в раздевальные следует исключать расстановкой шкафов (схема 1) или установкой экрана (схема 2).

Примечание - Поз. 1а, 1б, 2б, 3, 4б, 5б, 7а и 7б см. в экспликации на рисунке 6.2.

ВСПОМОГАТЕЛЬНЫЕ ПОМЕЩЕНИЯ

6.4

СХЕМА БЛОКА ИЗ ДВУХ (М. И Ж.) ОБЩИХ РАЗДЕВАЛЬНЫХ НА 34 МЕСТА ДЛЯ ПЕРЕОДЕВАНИЯ И 100 МЕСТ ДЛЯ ХРАНЕНИЯ ОДЕЖДЫ В КАЖДОЙ**

1. Мужская раздевальная; 2. Женская раздевальная; 3. Душевые; 4. Шлюзы; 5. Вешалки для полотенец; 6. Уборные; 7. Сантехнические кабины для инвалидов с ПОДА; 8. Скамьи для переодевания; . Скамьи (уширенные) для переодевания инвалидов; 9. Двухъярусные закрытые шкафы для хранения одежды; . Двухъярусные закрытые шкафы (резервные) для хранения одежды; 10. Мойка для ног; 11. Сушилка для волос; 12. Место дежурного

* Минимальный возможный размер.

** Схема дана применительно к планировочной схеме на рис. 4.9 А - арены легкоатлетического манежа.

ВСПОМОГАТЕЛЬНЫЕ ПОМЕЩЕНИЯ

6.5

СХЕМА БЛОКА ИЗ ДВУХ (М. И Ж.) ОБЩИХ РАЗДЕВАЛЬНЫХ НА 59 МЕСТ ДЛЯ ПЕРЕОДЕВАНИЯ И 134 МЕСТА ДЛЯ ХРАНЕНИЯ ОДЕЖДЫ В КАЖДОЙ**

1. Мужская раздевальная; 2. Женская раздевальная; 3. Душевые; 4. Шлюзы; 5. Вешалки для полотенец; 6. Уборные; 7. Сантехнические кабины для инвалидов с ПОДА: 8. Скамьи для переодевания; . Скамьи (уширенные) для переодевания инвалидов; 9. Двухъярусные закрытые шкафы для хранения одежды; 10. Мойка для ног; 11. Сушилка для волос; 12. Место дежурного

* Минимальный возможный размер.

** Схема дана применительно к планировочной схеме на рис. 4.9 Б - арены легкоатлетического манежа.

ВСПОМОГАТЕЛЬНЫЕ ПОМЕЩЕНИЯ. РАЗДЕВАЛЬНЫЕ

6.6

КОМАНДНАЯ РАЗДЕВАЛЬНАЯ НА 16 МЕСТ* ДЛЯ УЧАСТНИКОВ СОРЕВНОВАНИЙ

(с хранением домашней одежды в закрытых одноярусных шкафах с местами для инвалидов-колясочников)

экспликация

I. Раздевальная; II. Душевая; III. Преддушевая; IV. Уборная; V. Шлюз; VI. Душевая и уборная для инвалидов-колясочников

(1) Скамья; (2) Уширенная скамья инвалидов-колясочников; (3) Шкаф для одежды; (4) Стол тренера; (5) Стул; (6) Мойка для ног; (7) Умывальник

* Суммарное количество мест - на 100 % ЕПС поля для соревнований.

ПЛАНИРОВКА ДУШЕВЫХ, САНУЗЛОВ И КАБИН ДЛЯ ПЕРЕОДЕВАНИЯ ДЛЯ ИНВАЛИДОВ С ПОРАЖЕНИЕМ ОПОРНО-ДВИГАТЕЛЬНОГО АППАРАТА

6.7

А. ДУШЕВЫЕ И САНУЗЛЫ

Б. ИНДИВИДУАЛЬНЫЕ ДУШЕВЫЕ КАБИНЫ

Г. ИНДИВИДУАЛЬНЫЕ КАБИНЫ ДЛЯ ПЕРЕОДЕВАНИЯ

а - место для хранения пересадочных колясок; б - санитарный узел; в - душевая; г - тамбур (преддушевая); д - раздевальная

1 - поручень; 2 - душевая сетка; 3 - откидное или стационарное сиденье; 4 - занавес или раздвижная дверь; 5 - крючки для одежды

ПОМЕЩЕНИЯ МЕДИЦИНСКОГО ОБСЛУЖИВАНИЯ И КОНТРОЛЯ

6.8

ЗОНА ДОПИНГ-КОНТРОЛЯ (ПРИМЕРНАЯ СХЕМА ПЛАНА)

ЗОНА ПЕРВОЙ ПОМОЩИ И ОБЩИХ МЕДИЦИНСКИХ КОНСУЛЬТАЦИЙ (ПРИМЕРНАЯ СХЕМА ПЛАНА)

* Минимальные размеры.

1. Ожидальная; 2. Кабинет врача (медсестры); 3. Уборная, приспособленная для пользования инвалидами с ПОДА; 4. Сантехническая кабина для инвалидов с ПОДА (при отсутствии инвалидов может использоваться остальными посетителями и сотрудниками); 5. Помещение для допинг-контроля; 6. Душевая, приспособленная для пользования инвалидами с ПОДА; 7. Кабина для переодевания с душевой; 8. Открытые туалетные отсеки; 9. Преддушевая

Оборудование:

10. Стол врача (медсестры); 11. Смотровая кушетка; 12. Шкаф; 13. Стулья для ожидающих приема; 14. Стол для анализа проб; 15. Холодильник; 16. Скамья; 17. Сушилки для волос; 18. Телевизор; 19. Мягкий стул; 20. Стол для напитков; 21. Охраняемый вход

ЛОЖИ ДЛЯ СУДЕЙ

7.1

ОТКРЫТАЯ ЧАСТЬ ЛОЖИ ДЛЯ СУДЕЙ**

а - с двумя служебными лестницами при размещении судей каждой бригады по одному; б - с одной служебной лестницей при размещении судей каждой бригады попарно; в - с минимальным числом рядов, отводимых под судейскую ложу; 1 - место судьи на финише; 2 - место судьи-хронометриста; 3 - служебная лестница; 4 - места свободных судей; С1 - место старшего судьи на финише; С2 - место старшего судьи-хронометриста; С - место секретаря по бегу (со съемным пюпитром для ведения протокола); Ф - финишный створ; ФС - финишная стойка; ОГ - ограждение

ПОМЕЩЕНИЯ СЕКРЕТАРИАТА И СУДЕЙ

г - при ложе в одном уровне; д - при ложе в двух уровнях; 1 - фотофиниш; 2 - пульт управления табло; 3 - судьи по информации; 4 - аппаратура для музыкального сопровождения; 5 - главная судейская коллегия; 6 - видеомонтажная; 7 - главный секретарь; 8 - секретариат; 9 - машинописное бюро; 10 - множительная техника; ОГ - ограждение; Ф - финишный створ

МЕСТОПОЛОЖЕНИЕ КАМЕРЫ ФОТОФИНИША

ФФ - камера фотофиниша; ФС - финишная стойка; X - расстояние между финишными стойками; F - фокус; бд - поверхность беговой дорожки.

* Минимально возможные размеры.

** Число рядов принято для четырех отдельных дорожек.

ЛОЖИ ДЛЯ СУДЕЙ И ПРЕССЫ

7.2

А. ЛОЖИ ДЛЯ СУДЕЙ И ПРЕССЫ

1 - фотофиниш; 2 - пульт управления табло; 3 - судьи по информации; 4 - аппаратура для музыкального сопровождения; 5 - главная судейская коллегия; 6 - фотолаборатория

I - открытая часть судейской ложи; II - ложа для прессы; III - проход в подтрибунное пространство

Л - лестница на трибуне ЛС - служебная лестница ОГ - ограждение Ф - финишный створ

Б. СОСТАВ ПОМЕЩЕНИЙ ПРЕСС-ЦЕНТРА И СХЕМА ИХ ВЗАИМОСВЯЗИ

1 - кабинет руководителя пресс-бюро; 2 - рабочие помещения сотрудников пресс-бюро (в том числе редакторов); 3 - помещение раскладки материалов для корреспондентов; 4 - помещение получения материалов корреспондентами; 5 - рабочее помещение корреспондентов; 6 - междугородный телефонный переговорный пункт; 7 - телетайпная; 8 - пресс-бар; 9 - машинописное бюро*; 10- помещение для множительной техники*

* В зависимости от объема работы и планировочного решения помещение можно предусматривать общим для пресс-бюро и секретариата судейской коллегии или самостоятельным для каждого из этих подразделений.

ПОКРЫТИЕ ПОЛА ЗАЛА ДЛЯ ЛЕГКОЙ АТЛЕТИКИ

8.1

План зала приведен на рисунке 4.10.

Условные обозначения (см. таблицу 8.1)

 - покрытие дорожки (п. 1)

 - покрытие сектора (п. 2)

 - покрытие сектора (п. 3)

 - покрытие дорожки (п. 4)

 - покрытие участка дорожки (п. 5)

 - покрытие нерабочей зоны (п. 6)

 - яма с песком

 - внутренняя поверхность наружной стены

 - бетонная площадка

КОНСТРУКЦИИ ДЕРЕВЯННЫХ ПОЛОВ ПО ЛАГАМ

8.2

Схема 1. Дощатый пол по лагам на грунте

Схема 2. Дощатый пол по лагам на перекрытии

Схема 3. Брусчатый пол по лагам на грунте

Схема 4. Брусчатый пол по лагам на перекрытии

(1) доски шпунтованные, h = 37 мм; (2) бруски, h = 60 мм; (3) лаги, h = 40 мм; (4) прокладка из доски, h = 25 мм, L = 200 - 250 мм; (5) прокладка гидроизоляционная; (6) кирпичные столбики на цементно-песчаном растворе, шаг - 0,8 - 0,9 м; (7) подстилающий слой; (8) грунт основания; (9) выравнивающая цементно-песчаная стяжка; (10) плита перекрытия с неровной поверхностью; (11) деревянные связи между лагами; (12) плита перекрытия с ровной поверхностью

Примечания

1. Брус укладывается вдоль зала со стыками на лагах (вразбежку).

2. Связи между лагами выполняются из бруска сечением 70×50 мм и устанавливаются в шахматном порядке с интервалом 2 м.

3. Подстилающий слой выполняется из бетона М150 (В12,5).

4. Гидроизоляционная прокладка выполняется из двойного слоя рулонного материала типа рубероида.

КОНСТРУКЦИИ ПАРКЕТНО-ЩИТОВЫХ ПОЛОВ ПО ЛАГАМ

8.3

Схема 1. Пол на одинарных лагах

Схема 2. Пол на двойных лагах с регулировочными прокладками

Схема 3. Пол на амортизирующей подложке

(1) паркетные доски (щиты), h = 22 мм; (2) лаги 22×95 мм; (3) регулировочные прокладки; (4) нижние лаги 22×95 мм; (5) специальная амортизирующая подложка из фанеры с прорезями, укладываемая под 45° к стенам зала

Примечания

1. Стыки паркетных досок (щитов) должны приходиться непосредственно на лаги.

2. Температурный зазор min 30 мм предусматривается по всему периметру пола.

Паркетный модуль

(1) слой лака; (2) буковый/кленовый слой, h = 4 мм; (3) сосновый поперечный слой, h = 12 мм; (4) фанерный слой, h = 6 мм

КОНСТРУКЦИИ ПОЛОВ С СИНТЕТИЧЕСКИМ ПОКРЫТИЕМ ПО СПЛОШНОЙ ПОДГОТОВКЕ

8.4

Схема 1. Пол по грунту

(1) синтетическое покрытие, h = 12 - 18 мм; (2) мелкозернистый асфальтобетон; (3) крупнозернистый асфальтобетон; (4) щебеночное основание; (5) грунт уплотненный

Схема 2. Пол по перекрытию

(1) синтетическое покрытие, h = 12 - 18 мм; (6) стяжка из цементно-песчаного раствора; (7) плита перекрытия с ровной поверхностью

Схема 3. Пол с синтетическим покрытием заливного типа

(1) отделочный (колеровочный) слой, h = 0,5 мм; (2) основной рабочий слой, h = 2 мм; (3) шпаклевочный слой, h = 1 мм; (4) армирующая сетка из стекловолокна; (5) базовый мат, h = 6 - 10 мм

Схема 4. Пол с синтетическим покрытием рулонного типа

(1) верхний слой ПВХ, h = 2,1 мм, обработан PROTESCOL; (2) шпаклевочный слой, h = 1 мм; (3) армирующая сетка из стекловолокна; (4) вспененный ПВХ, h = 4,4 - 6 мм

СПЕЦИАЛЬНОЕ ОБОРУДОВАНИЕ СПОРТИВНЫХ ЗАЛОВ ДЛЯ ЗАНЯТИЙ ИНВАЛИДОВ

8.5

СХЕМА ВХОДНОЙ ДВЕРИ В ЗАЛ

1 - наличник двери (устанавливается в одной плоскости со стеной зала); 2 - смотровая панель; 3 - противоударная панель

ОСОБЕННОСТИ РЕШЕНИЯ СТЕН СПОРТИВНЫХ ЗАЛОВ

А - мягкая обивка стен (на высоту 3 м при батуте и 2 м для гимнастики и борьбы); Б - поручень (встроенный или пристроенный); В - откидная скамья для занятий и отдыха; Г - ниша для убирающегося гимнастического ковра

ИНФОРМАЦИОННАЯ ПОЛОСА ДЛЯ ОРИЕНТАЦИИ В ЗАЛАХ

ИНФОРМАЦИОННЫЕ МАЯКИ В СПОРТИВНЫХ ЗАЛАХ

1) 1 - стойка; 2 - выносной динамик; 3 - прыжковая яма; 4 - место отталкивания; 5 - дорожка для разбега

2) 1 - рама звукового щита для метания; 2 - дюралевый экран; 3 - отверстия динамика; 4 - стол

Ключевые слова: массовые типы физкультурно-спортивных залов, залы и вспомогательные помещения, используемые инвалидами, игровые залы, помещения и устройства для судей и прессы, конструктивные решения



© 2013 Ёшкин Кот :-)