Информационная система
«Ёшкин Кот»

XXXecatmenu

СИСТЕМА НОРМАТИВНЫХ ДОКУМЕНТОВ В СТРОИТЕЛЬСТВЕ

СВОД ПРАВИЛ
ПО ПРОЕКТИРОВАНИЮ И СТРОИТЕЛЬСТВУ

 

ПРАВИЛА ПРОЕКТИРОВАНИЯ
ЖИЛЫХ И ОБЩЕСТВЕННЫХ ЗДАНИЙ
ДЛЯ СТРОИТЕЛЬСТВА
В СЕЙСМИЧЕСКИХ РАЙОНАХ

 

СП 31-114-2004

 

 

 

Москва

2005

 

ПРЕДИСЛОВИЕ

1 РАЗРАБОТАН Федеральным государственным унитарным предприятием «Центр методологии нормирования и стандартизации в строительстве» (ФГУП ЦНС), Центральным научно-исследовательским институтом строительных конструкций имени В.А. Кучеренко (ЦНИИСК им. В.А. Кучеренко), Московским государственным строительным университетом (МГСУ) и группой специалистов.

2 ОДОБРЕН И РЕКОМЕНДОВАН К ПРИМЕНЕНИЮ в качестве нормативного документа добровольного применения Системы нормативных документов в строительстве письмом Госстроя России от 20 апреля 2004 г. № ЛБ-2599/9.

3 УТВЕРЖДЕН И ВВЕДЕН В ДЕЙСТВИЕ с 01 мая 2005 г. приказом ФГУП ЦНС от 25 апреля 2004 г. № 4.

4 ВВЕДЕН ВПЕРВЫЕ

СОДЕРЖАНИЕ

Введение. 2

1 Область применения. 2

2 Нормативные ссылки. 2

3 Термины и определения. 3

4 Общие положения. 3

5 Оценка сейсмической опасности территории строительства. 3

6 Расчет на сейсмические воздействия. 4

6.1 Расчетная модель сооружения и воздействия. 4

6.2 Методы расчетов на сейсмические воздействия. 6

6.3 Расчет элементов конструкции. 7

7 Жилые и общественные здания. 7

7.1 Основные положения. 7

7.2 Особенность проектирования железобетонных конструкций. 9

7.3 Каркасные здания. 10

7.4 Крупнопанельные здания. 12

7.5 Здания с несущими стенами из монолитного железобетона. 12

7.6 Здания с несущими стенами из штучной кладки. 14

7.7 Здания с несущими стенами из крупных блоков. 17

7.8 Деревянные здания и сооружения. 18

7.9 Конструкции инженерных коммуникаций. Водопроводные системы.. 18

7.10 Канализационные системы.. 19

7.11 Подпорные стены.. 19

8 Восстановление и усиление зданий. 20

9 Повышение сейсмостойкости зданий и сооружений и усиление поврежденных землетрясением конструкций. 21

9.1 Рекомендации по обследованию объекта. 21

9.2 Усиление каменных зданий. 22

9.3 Усиление железобетонных каркасных зданий и сооружений. 30

9.4 Усиление металлических конструкций каркасных зданий и сооружений. 37

9.5 Восстановление и усиление крупнопанельных зданий и сооружений. 45

9.6 Восстановление и усиление деревянных зданий и конструкций. 46

9.7 Восстановление и усиление инженерных коммуникаций. 48

Приложение А Термины и определения. 49

Приложение Б Определение параметров сейсмического воздействия. 50

ВВЕДЕНИЕ

Настоящий Свод правил содержит положения по проектированию новых и усилению существующих жилых и общественных зданий в сейсмических районах.

Свод правил содержит рекомендации по оценке опасности территории строительства при выборе строительной площадки, выбору расчетной сейсмической модели сооружения, методы расчета на сейсмические воздействия, основные положения по проектированию зданий разных конструктивных решений с применением различных строительных материалов, инженерных систем.

Разработка настоящего Свода правил обусловлена тем, что в последние годы увеличилась интенсивность сейсмического воздействия в различных районах и их площадь на территории Российской Федерации, особенно в густонаселенных районах (Северный Кавказ, Прибайкалье, о. Сахалин, Дальневосточная зона и др.). В связи с этим возникла необходимость приведения прочностных характеристик построенных и проектируемых зданий в соответствие с уровнем ожидаемого сейсмического воздействия.

Решение вопроса о применении Свода правил относится к компетенции заказчика или проектной организации.

Принятие решения о применении настоящего Свода правил обязывает заказчика и проектную организацию соблюдать все установленные в нем правила в полном объеме.

СП 31-114-2004

СВОД ПРАВИЛ ПО ПРОЕКТИРОВАНИЮ И СТРОИТЕЛЬСТВУ

ПРАВИЛА ПРОЕКТИРОВАНИЯ ЖИЛЫХ
И ОБЩЕСТВЕННЫХ ЗДАНИЙ
ДЛЯ СТРОИТЕЛЬСТВА В СЕЙСМИЧЕСКИХ РАЙОНАХ

RULES FOR DESIGN OF HOUSES
AND PUBLIC BUILDINGS
TO BE CONSTRUCTED IN SEISMIC REGIONS

Дата введения 2005-05-01

1 ОБЛАСТЬ ПРИМЕНЕНИЯ

Настоящий Свод правил содержит правила проектирования жилых и общественных зданий, возводимых в сейсмических районах России, и рекомендации по усилению поврежденных при землетрясении конструкций.

2 НОРМАТИВНЫЕ ССЫЛКИ

В настоящем Своде правил использованы следующие нормативные документы:

СНиП 2.02.01-83* Основания зданий и сооружений

СНиП 2.04.02-84* Водоснабжение. Наружные сети и сооружения

СНиП 2.04.03-85 Канализация. Наружные сети и сооружения

СНиП II-7-81* Строительство в сейсмических районах

СНиП II-22-81* Каменные и армокаменные конструкции

СНиП II-25-80 Деревянные конструкции

СНиП 21-01-97* Пожарная безопасность зданий и сооружений

СНиП 52-01-2003 Бетонные и железобетонные конструкции. Основные положения

3 ТЕРМИНЫ И ОПРЕДЕЛЕНИЯ

В настоящем Своде правил использованы термины, приведенные в приложении А, а также в нормативных документах, на которые в тексте имеются ссылки.

4 ОБЩИЕ ПОЛОЖЕНИЯ

4.1 Настоящий Свод правил содержит рекомендации по проектированию жилых и общественных зданий, обеспечивающие их сейсмостойкость.

4.2 При разработке проектной документации следует:

- применять конструктивные схемы, материалы и конструкции, обеспечивающие наименьшие значения сейсмических нагрузок;

- принимать объемно-планировочные и конструктивные решения, обеспечивающие, как правило, симметричность и регулярность распределения в плане и по высоте сооружения его массы, элементов жесткости и нагрузок на перекрытия;

- назначать сечения элементов конструкций и их соединения с учетом результатов расчетов по разделу 6;

- конструировать стыковые соединения, опорные элементы и узлы таким образом, чтобы они обеспечивали надежную передачу усилий и совместную работу несущих конструкций во время землетрясения;

- создавать возможность развития в определенных элементах допустимых неупругих деформаций;

- предусматривать конструктивные мероприятия, обеспечивающие устойчивость и геометрическую неизменяемость конструкций при развитии в элементах или соединениях между ними неупругих деформаций, а также исключающие возможность их хрупкого разрушения;

- располагать, по возможности, стыки элементов вне зоны максимальных усилий.

4.3 Проекты сооружений с принципиально новыми конструктивными решениями, не прошедшими экспериментальную проверку, должны разрабатываться по специальным техническим условиям.

4.4 Сооружения, оснащенные системами сейсмоизоляции или другими системами регулирования динамической реакции, проектируют по специальным техническим условиям.

4.5 На площадках, сейсмичность которых превышает 9 баллов, возводить сооружения, как правило, не допускается.

При соответствующем научно-техническом и экономическом обосновании строительство на таких площадках в каждом конкретном случае может быть допущено по специальным техническим условиям.

4.6 Следует избегать строительных площадок с крутизной склонов более 15°, участков с плоскостями геологических сбросов и с сильной нарушенностью структуры пород физико-геологическими процессами, площадок с просадочными грунтами, осыпями, обвалами, плывунами, оползнями, селями, карстом, горными выработками и т.п. неустойчивыми грунтовыми средами.

5 ОЦЕНКА СЕЙСМИЧЕСКОЙ ОПАСНОСТИ ТЕРРИТОРИИ СТРОИТЕЛЬСТВА

5.1 Интенсивность сейсмических воздействий в баллах (сейсмичность) для района строительства принимается по картам общего сейсмического районирования территории Российской Федерации ОСР-97 или по Списку населенных пунктов РФ, расположенных в сейсмических районах.

5.2 Сейсмичность района строительства, указанная на картах общего сейсмического районирования, относится к участкам со средними грунтовыми условиями (II категория по таблице 1 СНиП П-7).

5.3 Сейсмичность площадки строительства следует определять на основании сейсмического микрорайонирования (СМР), выполняемого для районов с сейсмичностью 6 баллов и более.

5.4 Влияние типа фундамента (в том числе свайного), его конструктивных особенностей и глубины заложения при оценке сейсмичности площадки, указанной на карте СМР, не учитывается.

5.5 При отсутствии карт СМР допускается упрощенное определение сейсмичности площадки строительства по материалам инженерно-геологических изысканий и сейсмичности района строительства по таблице 1 СНиП II-7.

Корректировка сейсмичности площадки строительства, указанной на карте СМР, по материалам общих инженерно-геологических изысканий с применением таблицы 1 СНиП II-7 не допускается.

5.6 Не следует, как правило, размещать сооружения на участках, неблагоприятных в сейсмическом отношении, к которым относятся следующие площадки строительства:

- сложенные водонасыщенными грунтами, способными к виброразжижению при землетрясениях;

- с возможным проявлением осыпей, обвалов, оползней, карста, провалов и деформаций от горных выработок;

- расположенные в зонах возможного прохождения селевых потоков или снежных лавин;

- расположенные на цунамиопасных участках.

5.7 При необходимости строительства на участках, указанных в п. 5.6, следует:

- проводить инженерные мероприятия по улучшению сейсмических свойств грунтов или их замене;

- принимать меры по укреплению оснований;

- в проектах зданий предусматривать дополнительное усиление несущих конструкций.

5.8 Повышение сейсмичности площадки строительства с целью косвенного учета перечисленных в п. 5.6 неблагоприятных факторов не допускается.

6 РАСЧЕТ НА СЕЙСМИЧЕСКИЕ ВОЗДЕЙСТВИЯ

6.1 Расчетная модель сооружения и воздействия

6.1.1 Расчет конструкций и оснований сейсмостойких сооружений должен выполняться на основные и особые сочетания нагрузок с учетом сейсмических воздействий.

При расчете на особое сочетание значения расчетных нагрузок следует умножать на коэффициенты сочетаний, принимаемые по таблице 6.1.

Таблица 6.1 - Коэффициент сочетаний при определении сейсмических нагрузок

Вид нагрузки

Значение коэффициента сочетаний

Постоянная

0,9

Временная длительная

0,8

Кратковременная (на перекрытие и покрытие)

0,5

6.1.2 Горизонтальные сейсмические нагрузки от массы на гибкой подвеске, ветровые и температурно-климатические воздействия, динамические воздействия от оборудования и транспорта, тормозные и боковые усилия от движения кранов в расчетах на особое сочетание, как правило, не учитывают.

6.1.3 В расчете на особые сочетания нагрузок с учетом сейсмических воздействий должны использоваться расчетные модели сооружения и воздействия, учитывающие особенность поведения сооружения при землетрясении и пространственный характер сейсмического воздействия.

При формировании модели сооружения и воздействия следует учитывать рекомендации приложения Б.

6.1.4 Для сооружения простой геометрической формы с симметричным расположением массы и элементов жесткости с наименьшим размером в плане не более 80 м для грунта I категории, 60 м для грунта II категории и 30 м для грунта III категории при расчете на горизонтальное сейсмическое воздействие допускается использовать упрощенную модель сооружения, представляющую собой невесомую вертикальную консоль с сосредоточенными массами, расположенными в уровне перекрытий (рисунок 6.1).

По консольной модели определяется поэтажная сейсмическая нагрузка.

Рисунок 6.1 - Консольная расчетная динамическая модель сооружения

6.1.5 При расчете сооружений, отличающихся от приведенных в п. 6.1.4, требуется применять пространственные расчетные динамические модели в виде пространственных структур с узловыми массами по приложению Б.

6.1.6 Сейсмические воздействия могут иметь любое направление в пространстве.

При расчете сооружений следует, как правило, учитывать наиболее опасное для данной конструкции или ее элементов направление действия сейсмической нагрузки.

Для сооружений, не вошедших в п. 6.1.4, параметры опасной ориентации сейсмического воздействия, реализующие максимум сейсмической нагрузки по отдельным формам колебаний сооружения, следует определять по рекомендациям приложения Б.

Для сооружений, указанных в п. 6.1.4, расчетные сейсмические нагрузки допускается принимать действующими горизонтально в направлениях продольной и поперечной осей сооружения.

Действие сейсмических нагрузок в указанных направлениях необходимо учитывать раздельно.

6.1.7 Вертикальную составляющую сейсмического воздействия необходимо учитывать при расчетах:

- горизонтальных и наклонных консольных конструкций вылетом 12 м и более;

- конструкций пролетом 24 м и более;

- сооружений на устойчивость против опрокидывания и против скольжения;

- зданий с несущими стенами из каменной кладки.

6.2 Методы расчетов на сейсмические воздействия

6.2.1 Расчеты сооружений на сейсмические воздействия следует выполнять на нагрузки, определяемые в соответствии с указаниями п. 6.2.3 в предположении линейно-упругой работы конструкций.

6.2.2 Допускается выполнять прямой динамический расчет с использованием набора инструментальных записей ускорений основания при землетрясениях, наиболее опасных для сооружения, или синтезированных акселерограмм. При этом следует учитывать нелинейность системы и возможность развития неупругих деформаций или локальных повреждений в элементах конструкций.

6.2.3 Расчетное значение узловой сейсмической нагрузки для k-го узла (k = 1, 2, 3, ..., п) расчетной динамической модели (РДМ) по i-й форме собственных колебаний в направлении j (j = 1, 2, 3) следует определять по формулам:

Sjik = K1QkAχ1βiKψηjik;                                                   (6.1)

Mjik = K1jkAχ1βiKψ                                             (6.2)

где K1 - коэффициент, учитывающий неупругую работу конструкции и допускаемые повреждения в ней при расчетном землетрясении, следует принимать по таблице 3 СНиП II-7;

Qk = g · mk - вес сооружения, отнесенный к узлу k РДМ, определяемый с учетом нагрузок на конструкции по п. 6.1.1;

g - ускорение свободного падения, равное 9,8 м/с2;

mk - соответствующая масса узла k;

А - коэффициент сейсмичности, значение которого следует принимать 0,1; 0,2; 0,4 при сейсмичности площадки строительства 7, 8, 9 баллов соответственно;

χ1 - коэффициент, учитывающий спектр длин сейсмических волн, на которые выполняется расчет, и определяемый по приложению Б;

βi - коэффициент динамичности, соответствующий i-у тону собственных колебаний сооружения, принимаемый по п. 6.2.4;

Θjk - момент инерции массы k-го узла РДМ относительно j-й оси (j = 1, 2, 3);

Kψ - коэффициент, учитывающий способность сооружения к рассеиванию энергии колебаний, принимаемый по таблице 6 СНиП II-7;

ηjik и  - коэффициенты пространственных форм колебаний, значения которых определяют по приложению Б.

Примечания

1. Значения коэффициента K1 принимают по согласованию с утверждающей проект организацией в соответствии с таблицей 3 СНиП II-7.

2. При сейсмичности площадки 8 баллов и более при грунтах III категории к значению Sik вводится множитель 0,7, учитывающий нелинейное деформирование грунта при сейсмических воздействиях.

6.2.4 Значение коэффициента динамичности βi зависит от расстояния до эпицентра землетрясения R, категории грунта по сейсмическим свойствам и периода i-го тона свободных колебаний Ti. При отсутствии данных о расстоянии до эпицентра прогнозируемого землетрясения значение βi следует определять по СНиП II-7.

Во всех случаях значение βi должно приниматься не менее 0,8.

6.2.5 При расчете сооружений, указанных в п. 6.1.4, по консольной РДМ (см. рисунок 6.1) поэтажная сейсмическая нагрузка определяется по формуле (1) СНиП II-7.

В данном случае необходимо учитывать крутящий момент относительно вертикальной оси сооружения, проходящей через его центр тяжести, по п. 2.15 СНиП II-7.

6.3 Расчет элементов конструкции

6.3.1 Напряженно-деформированное состояние конструкций сооружения оценивается с учетом совместного действия всех узловых сейсмических сил и моментов по формулам (6.1) и (6.2) соответственно для каждой формы колебания.

6.3.2 При расчете элементов конструкции на прочность и устойчивость, помимо коэффициентов условий работы, принимаемых в соответствии с другими нормами, следует вводить дополнительный коэффициент условий работы mкр, на который умножают значение несущей способности элемента. Значение mкр определяют по таблице 7 СНиП II-7.

6.3.3 Расчетные значения силового фактора Np (усилий, напряжений) в элементах конструкций от расчетных сейсмических нагрузок по п. 6.2.3 следует определять при условии статического действия их на сооружение по формуле

                                                              (6.3)

где Ni - значения силового фактора в рассматриваемом сечении, вызываемого сейсмическими нагрузками, соответствующими i-й форме колебаний;

п - число учитываемых в расчете форм колебаний.

6.3.4 Если периоды i-го и i + 1 тона собственных колебаний сооружения отличаются менее чем на 10 % друг от друга, то вместо формулы (6.3) допускается применять формулу (6.4), позволяющую учитывать взаимную корреляцию обобщенных координат

                                          (6.4)

6.3.5 Для зданий с равномерным распределением элементов жесткости и массы по высоте число учитываемых форм колебаний следует принимать равным трем, если значение периода первой формы колебаний Т1 0,4 с. При Т1 < 0,4 с необходимо учитывать только первую форму колебания.

6.3.6 Вертикальную сейсмическую нагрузку в случаях, предусмотренных п. 6.1.7 (кроме каменных конструкций), следует определять по формуле (6.1). При этом значение коэффициента Kψ принимается равным единице.

6.3.7 Перемещение (прогиб) в точке k сооружения определяют от суммарного действия сейсмических нагрузок, определенных по п. 6.2.3. При этом значение коэффициента K1 принимают равным 1,0.

6.3.8 Самонесущие стены, перегородки, конструкции, возвышающиеся над сооружением и имеющие по сравнению с ним незначительную массу (парапеты и др.), а также крепления технологического оборудования к конструкциям здания следует рассчитывать на местную сейсмическую нагрузку, равную произведению массы стены (перегородки, оборудования) на ускорение колебания сооружения при землетрясении, соответствующее рассматриваемому уровню сооружения.

7 ЖИЛЫЕ И ОБЩЕСТВЕННЫЕ ЗДАНИЯ

7.1 Основные положения

7.1.1 Здания следует разделять антисейсмическими швами в случаях, если:

- здание или сооружение имеет сложную форму в плане;

- смежные участки здания или сооружения имеют перепады высоты 5 м и более.

В одноэтажных зданиях высотой до 10 м при сейсмичности 7 баллов и менее антисейсмические швы допускается не устраивать.

7.1.2 Антисейсмические швы должны разделять здания и сооружения по всей высоте. Допускается не устраивать шов в фундаменте, за исключением случаев, когда антисейсмический шов совпадает с осадочным.

Расстояние между антисейсмическими швами и высота зданий не должны превышать значений, указанных в таблице 8 СНиП II-7.

Помещения детских садов, яслей, начальных классов школ следует размещать на нижних двух этажах.

7.1.3 Антисейсмические швы следует выполнять путем возведения парных стен или рам, а также возведения рамы и стены.

Ширина антисейсмических швов на каждом уровне должна быть не меньше суммы взаимных горизонтальных смещений отсеков от расчетной нагрузки, определенных в соответствии с п. 6.2.3, и не меньше минимальной ширины, которую для зданий высотой до 5 м следует принимать равной 30 мм и увеличивать на 20 мм на каждые 5 м высоты.

Конструкция примыкания отсеков в зоне антисейсмических швов, в том числе по фасадам и в местах переходов между отсеками, не должна препятствовать их взаимным горизонтальным перемещениям.

7.1.4 Лестничные клетки следует предусматривать, как правило, закрытыми с естественным освещением через окна в наружных стенах на каждом этаже. Расположение и число лестничных клеток следует определять по результатам расчета, выполняемого в соответствии со СНиП 21-01, но принимать не менее одной между антисейсмическими швами в зданиях высотой более трех этажей. Устройство лестничных клеток в виде отдельно стоящих сооружений не допускается.

Лестничные клетки и лифтовые шахты каркасных зданий следует устраивать в виде ядер жесткости, воспринимающих сейсмическую нагрузку, или с поэтажной разрезкой, не влияющими на жесткость каркаса, а для зданий высотой до пяти этажей при сейсмичности 7 и 8 баллов их допускается устраивать как встроенные конструкции, отделенные от каркаса.

Лестницы, как правило, следует применять из крупных сборных железобетонных элементов, соединяемых между собой с помощью сварки либо из монолитного железобетона. Допускается применение металлических косоуров с наборными ступенями при условии соединения с помощью сварки косоуров с площадками и ступеней с косоурами.

Конструкции лестничных маршей и узлов их креплений к несущим элементам зданий, как правило, не должны препятствовать взаимным горизонтальным смещениям смежных перекрытий. При этом лестничные марши должны быть надежно закреплены с одного конца, а конструкция опирания другого конца должна обеспечивать свободное смещение марша относительно опоры, не допуская его обрушения.

Лестничные площадки, располагаемые в уровне междуэтажных перекрытий, должны надежно связываться с антисейсмическими поясами или непосредственно с перекрытиями.

7.1.5 В городах и поселках городского типа строительство домов со стенами из сырцового кирпича, самана и грунтоблоков не допускается. В сельских населенных пунктах на площадках сейсмичностью до 8 баллов допускается строительство жилых одноэтажных зданий из этих материалов при условии усиления стен деревянным каркасом с диагональными связями.

7.1.6 Жесткость стен каркасных деревянных домов должна обеспечиваться раскосами. Брусчатые и бревенчатые стены должны собираться на нагелях.

7.1.7 Перекрытия зданий следует выполнять в виде жестких горизонтальных дисков, соединенных с вертикальными конструкциями здания и обладающих способностью перераспределять между ними горизонтальную сейсмическую нагрузку.

7.1.8 Жесткость сборных железобетонных перекрытий и покрытий следует обеспечивать следующими способами:

- устройством сварных соединений плит с другими плитами, элементами каркаса или стенами;

- устройством монолитных железобетонных обвязок (антисейсмических поясов) с анкеровкой в них выпусков арматуры из плит;

- заделкой швов между элементами перекрытия мелкозернистым бетоном.

Боковые грани плит перекрытий и покрытий должны иметь шпоночную или рифленую поверхность.

Жесткость перекрытий с несущими конструкциями из металлических балок рекомендуется увеличивать путем устройства между ними монолитного или сборного железобетонного заполнения с замоноличенными швами и сварным соединением с закладными деталями железобетонных элементов или устройством горизонтальных связей.

7.1.9 Длина участков опирания плит перекрытий и покрытий на несущие конструкции принимается не менее:

- для кирпичных и каменных стен - 120 мм;

- для железобетонных панелей и ригелей - 60 мм.

7.1.10 Перегородки рекомендуется выполнять легкими, как правило, крупнопанельной или каркасной конструкции. Перегородки из штучных материалов должны быть усилены связанными между собой армированными штукатурными слоями или установкой жестких вертикальных элементов с горизонтальным армированием, связанным со стойками. Кладка перегородок должна удовлетворять требованиям СНиП II-7 и СНиП II-22.

Конструкция крепления перегородок к несущим элементам здания и узлов их примыкания должна исключать возможность передачи на них горизонтальных нагрузок, действующих в их плоскости.

Прочность перегородок и их креплений должна быть подтверждена расчетом на действие расчетных сейсмических нагрузок из плоскости.

7.1.11 Конструкции балконов и их соединения с перекрытиями должны быть рассчитаны как консольные балки или плиты.

В зданиях высотой не более пяти этажей, проектируемых для площадок сейсмичностью 7 и 8 баллов, допускается устройство эркеров с усилением контуров, образованных в стенах проемов железобетонными рамами с установкой металлических связей стен эркеров с основными стенами.

7.1.12 Проектирование фундаментов зданий следует выполнять в соответствии с требованиями СНиП 2.02.01 и рекомендациями настоящего Свода правил.

7.1.13 Фундаменты зданий высотой более 16 этажей на нескальных грунтах следует, как правило, принимать свайными или в виде сплошной фундаментной плиты с заглублением подошвы фундамента относительно отметки отмостки не менее 2,5 м.

7.1.14 Вертикальная арматура стен и элементов каркаса, в которой расчетом на особое сочетание нагрузок допускается растяжение, должна быть надежно заанкерена в фундаментной плите.

7.1.15 Гидроизоляционные слои в зданиях следует выполнять из цементного раствора.

Применять рулонные гидроизоляционные материалы не допускается.

7.2 Особенность проектирования железобетонных конструкций

7.2.1 При расчете прочности нормальных сечений изгибаемых и внецентренно сжатых элементов при определении граничного значения относительной высоты сжатой зоны бетона ξR характеристику сжатой зоны бетона следует принимать по СНиП 52-01 с коэффициентом 0,85.

7.2.2 Арматура для сейсмостойких железобетонных конструкций должна применяться в соответствии с указаниями СНиП 52-01.

7.2.3 В изгибаемых и внецентренно сжатых стержневых элементах, кроме колонн, стыкование рабочей арматуры внахлестку допускается только для стержней диаметром менее 20 мм. При этом длина перепуска арматуры принимается на 30 % больше значений, определенных по требованиям СНиП 52-01.

7.2.4 Для железобетонных колонн многоэтажных каркасных зданий общий процент армирования рабочей продольной арматурой с расчетным сопротивлением Rsc до 500 МПа не должен превышать 6 %, а арматурой с расчетным сопротивлением 500 МПа и более - 4 %.

При специальном обосновании может быть допущено более высокое насыщение колонн продольной арматурой при условии усиления приопорных участков колонн с помощью косвенного армирования сварными сетками с шагом 80 - 100 мм.

7.2.5 В вязаных каркасах концы хомутов необходимо загибать вокруг стержня продольной арматуры на 135° и заводить их внутрь бетонного ядра не менее чем на шесть диаметров хомута, считая от оси продольного стержня.

7.2.6 В предварительно напряженных конструкциях, подлежащих расчету на особое сочетание нагрузок с учетом сейсмического воздействия, усилия, определяемые из условий прочности сечений, должны превышать усилия, воспринимаемые сечениями при образовании трещин не менее чем на 25 %.

7.2.7 В предварительно напряженных конструкциях не рекомендуется применять арматуру, у которой относительное удлинение после разрыва менее 2 %.

7.2.8 При сейсмичности 9 баллов не следует применять без специальных анкеров арматурные канаты и стержневую арматуру периодического профиля диаметром более 28 мм.

7.2.9 В предварительно напряженных конструкциях с натяжением арматуры на бетон напрягаемую арматуру следует располагать в закрытых каналах, замоноличиваемых в дальнейшем мелкозернистым бетоном класса не ниже класса бетона конструкции.

7.2.10 Для увеличения несущей способности на срез коротких колонн с отношением высоты к размеру наибольшего поперечного сечения l/h ≤ 5 их рекомендуется усиливать косвенным армированием в виде сварных сеток, спиралей или с помощью замкнутых многосрезных хомутов и шпилек с шагом 80 - 100 мм таким образом, чтобы каждый продольный стержень был закреплен для большей устойчивости в любом направлении.

7.3 Каркасные здания

7.3.1 В каркасных зданиях конструкцией, воспринимающей горизонтальную сейсмическую нагрузку, может служить: каркас, каркас с заполнением, каркас с вертикальными связями, диафрагмами или ядрами жесткости. В качестве несущих конструкций зданий высотой более девяти этажей следует, как правило, принимать каркасы с диафрагмами, связями или ядрами жесткости. Каркасы зданий следует проектировать, как правило, с расположением рам с жесткими узлами в обоих направлениях.

Для каркасных зданий высотой менее 7 м при сейсмичности 7 - 8 баллов допускается применение наружных стен из штучной кладки и внутренних железобетонных или металлических рам, при этом должны выполняться требования, установленные для каменных зданий.

7.3.2 Сборные элементы колонн многоэтажных каркасных зданий по возможности следует изготавливать высотой в несколько этажей. Стыки сборных колонн следует располагать в зоне с наименьшими изгибающими моментами и выполнять с соединением продольной арматуры ванной сваркой, дуговой механизированной сваркой на подкладках или ручной дуговой сваркой с парными накладками и двухсторонними швами, с увеличенной на 25 % длиной швов. Стыки колонн со стальными оголовниками допускается выполнять с помощью круглых накладок на дуговой сварке.

7.3.3 В колоннах рамных каркасов многоэтажных зданий при сейсмичности площадки 8 и 9 баллов шаг хомутов не должен превышать 1/2h, где h - наименьший размер стороны колонны прямоугольного или двутаврового сечения. Диаметр хомутов в этом случае следует принимать не менее 8 мм.

7.3.4 Центральная зона жестких узлов железобетонных каркасов зданий должна быть усилена с помощью косвенного армирования в виде сварных сеток, спиралей или замкнутых хомутов, устанавливаемых по расчету. Если по данным расчета косвенное армирование не требуется, то указанную зону узла следует армировать конструктивно замкнутой поперечной арматурой (хомутами) из стержней диаметром не менее 8 мм с шагом 80 - 100 мм.

Участки ригелей и колонн, примыкающие к центральной зоне жестких узлов рам, должны армироваться замкнутой поперечной арматурой (хомутами), устанавливаемой по расчету, но не более чем через 100 мм. Длину участков усиленного армирования следует принимать для ригелей не менее 1,5h, для колонн - наибольшую из двух величин: 1,5h и 1/6l, где h - наибольший размер поперечного сечения элемента, l - высота колонны в свету.

7.3.5 Диафрагмы, связи и ядра жесткости, воспринимающие горизонтальную нагрузку, должны быть непрерывными по всей высоте здания и располагаться в обоих направлениях равномерно и симметрично относительно центра тяжести здания. В каждом направлении должно устанавливаться не менее двух диафрагм.

Допускается возведение зданий с жесткостью нижних этажей в два раза меньшей (здания с гибким нижним этажом) жесткости выше расположенных этажей. При расчете таких зданий горизонтальная сейсмическая нагрузка, определяемая по п. 6.2.3, умножается на коэффициент 1,5.

7.3.6 Безригельный каркас, в котором функцию ригеля выполняет плоская железобетонная плита перекрытия, рекомендуется применять в связевом варианте. Для увеличения горизонтальной жесткости безригельного каркаса рекомендуется использовать колонны прямоугольного сечения, один из горизонтальных размеров которого в два раза и более больше второго.

7.3.7 Шаг колонн безригельного каркаса рекомендуется принимать не более 6 м в каждом направлении. Максимальное расстояние между диафрагмами не должно превышать 12 м. Толщину плит перекрытий безригельного каркаса рекомендуется принимать не менее 200 мм, класс бетона - не менее В22,5.

7.3.8 При расчете прочности нормального сечения плиты перекрытия на действие изгибающего момента по грани с колонной армирование сечения полосы шириной в четыре ширины колонны должно быть рассчитано на восприятие не менее 75 % общего момента, действующего в заменяющей раме шириной, равной шагу колонн каркаса. Половину этой арматуры необходимо пропустить сквозь тело колонны или соединить с металлической обоймой, установленной в месте пересечения плиты и колонны.

7.3.9 В качестве ограждающих стеновых конструкций каркасных зданий следует, как правило, применять легкие навесные панели. Допускается устройство наружных стен из штучной кладки, удовлетворяющей требованиям СНиП II-7 и СНиП II-22.

7.3.10 Кладка самонесущих стен в каркасных зданиях должна иметь гибкие связи с каркасом, не препятствующие горизонтальным смещениям каркаса вдоль стен.

Между поверхностями стен и колонн каркаса должен предусматриваться зазор не менее 20 мм. По всей длине стены в уровне плит покрытия и верха оконных проемов должны устраиваться антисейсмические пояса, соединенные с каркасом здания.

В местах пересечения торцевых и поперечных стен с продольными стенами должны устраиваться антисейсмические швы на всю высоту стен.

7.3.11 Конструкции ненесущих стен из штучной кладки (поэтажной разрезки) и узлы их крепления могут конструироваться либо как заполнение, участвующее в работе каркаса, либо как конструкции, отделенные от каркаса. Заполнение, участвующее в работе каркаса, рассчитывают и конструируют как диафрагму.

7.3.12 Конструкция узлов примыкания элементов стен, отделенных от каркаса, к несущим конструкциям здания должна исключать возможность передачи на них нагрузок, действующих в их плоскости.

7.4 Крупнопанельные здания

7.4.1 Здания из железобетонных панелей следует проектировать с продольными и поперечными стенами, перекрытиями и покрытиями, объединенными между собой в единую пространственную систему, воспринимающую сейсмическую нагрузку.

7.4.2 Соединения панелей стен и перекрытий следует обеспечивать сваркой выпусков арматуры или закладных деталей, на болтах и замоноличиванием вертикальных колодцев между примыкающими панелями и участков стыков по горизонтальным швам мелкозернистым бетоном с пониженной усадкой.

Замоноличивание вертикальных полостей между примыкающими панелями стен должно осуществляться бетоном класса не ниже В15 и не ниже класса бетона панелей.

7.4.3 При опирании перекрытий на наружные стены здания и на стены у температурных швов необходимо предусматривать сварные соединения выпусков арматуры из панелей перекрытий с вертикальной арматурой стеновых панелей.

7.4.4 Армирование стеновых панелей следует выполнять в виде пространственных каркасов или связанных между собой сварных сеток. Площадь вертикальной и горизонтальной арматуры, устанавливаемой у каждой плоскости панели, должна составлять не менее 0,025 % площади соответствующего сечения стены. В случае применения трехслойных наружных стеновых панелей толщину внутреннего бетонного слоя следует принимать не менее 100 мм.

Закладные детали, служащие для соединения панелей между собой, должны быть приварены к рабочей арматуре.

7.4.5 В местах пересечения стен должна размещаться вертикальная арматура, непрерывная на всю высоту здания, с соединением отдельных ее элементов между собой на сварке. Площадь поперечного сечения указанной арматуры должна определяться по расчету, но быть не менее:

для зданий высотой до пяти этажей включительно, возводимых на площадках сейсмичностью 7 баллов, - 1 см2;

в остальных случаях - не менее 2 см2.

В местах пересечения внутренних стен с наружными рекомендуется размещать не более 65 % расчетного количества вертикальной арматуры, размещая остальную часть арматуры во внутренних стеновых панелях на участке не более 1 м от места пересечения стен.

7.4.6 По контуру оконных и дверных проемов следует устанавливать вертикальную арматуру. При регулярном расположении проемов по высоте стены эта арматура должна поэтажно стыковаться.

7.4.7 При расположении непрерывной вертикальной арматуры в замоноличиваемых вертикальных полостях между панелями следует предусматривать конструктивные мероприятия, обеспечивающие совместность деформирования бетона замоноличивания с бетоном панелей (шпонки, распределенные по высоте панели; горизонтальная арматура, пересекающая стык).

7.5 Здания с несущими стенами из монолитного железобетона

7.5.1 Здания из монолитного железобетона следует проектировать преимущественно перекрестно-стеновой конструктивной системы с несущими или ненесущими наружными стенами.

7.5.2 В зданиях с ненесущими наружными стенами высотой более 12, девяти или пяти этажей при расчетной сейсмичности 7, 8 и 9 баллов соответственно следует предусматривать не менее двух внутренних несущих продольных стен.

7.5.3 Оконные и дверные проемы в стенах следует располагать таким образом, чтобы расстояние от внутренней стены здания до проема составляло не менее 0,6 м.

7.5.4 При расчете конструкций следует проверять прочность следующих сечений:

- горизонтальных и наклонных сечений глухих стен и простенков;

- вертикальных сопряжений стен;

- нормальных сечений в опорных зонах перемычек, сечений на полосе между возможными наклонными трещинами и по наклонной трещине.

Независимо от результатов расчета должно предусматриваться конструктивное армирование стен:

- по полю стен вертикальной и горизонтальной арматурой с площадью сечения не менее 0,05 % площади соответствующего сечения стены;

- в пересечениях стен, местах резкого изменения толщины стены, у граней проемов - с площадью сечения арматуры не менее 2 см2.

7.5.5 Монолитные стены следует, как правило, армировать пространственными каркасами из плоских вертикальных каркасов, объединенных в пространственный каркас с помощью горизонтальных стержней или плоских горизонтальных каркасов.

В пространственных каркасах, используемых для армирования поля стен, плоские каркасы должны устанавливаться с шагом не более 900 мм при конструктивном армировании и не более 400 мм при армировании поля стены арматурой, требуемой по расчету стен из плоскости на основное сочетание нагрузок. Диаметр вертикальной арматуры принимают не менее 10 мм, а горизонтальной - не менее 8 мм, шаг горизонтальных стержней, объединяющих каркасы, не должен превышать 600 мм.

7.5.6 Каркасы, используемые для конструктивного армирования мест пересечения стен и граней проемов, должны состоять из продольных арматурных стержней диаметром не менее 10 мм и замкнутых хомутов диаметром 3 - 4 мм, устанавливаемых с шагом не более 500 мм.

Изменение площади сечения расчетной арматуры по высоте здания рекомендуется осуществлять за счет изменения диаметра продольных стержней, сохраняя неизменным их число и расстояние между ними.

7.5.7 При армировании узких простенков шириной до 1000 мм следует предусматривать не менее четырех продольных арматурных стержней диаметром не менее 12 мм, объединяемых замкнутыми хомутами в пространственный каркас. Хомуты должны устанавливаться с шагом не более удвоенной толщины стены, или 400 мм, или 20d.

7.5.8 Стыкование по высоте здания стержней диаметром до 20 мм в арматурных каркасах выполняют без сварки, вразбежку.

7.5.9 Для предотвращения хрупкого разрушения в вертикальных стыковых соединениях следует предусматривать установку горизонтальных арматурных стержней, пересекающих вертикальный стык. Площадь сечения горизонтальных арматурных стержней должна определяться из условия восприятия ими усилий растяжения, равных 0,2Т (где Т - расчетное усилие сдвига, действующего в стыковом соединении), и приниматься не менее 0,5 см2 на 1 м длины стыка в зданиях высотой до пяти этажей на площадках с сейсмичностью 7 баллов и 1 см2 на 1 м длины - в остальных случаях.

7.5.10 Перемычки следует, как правило, армировать пространственными каркасами. Крайние продольные стержни следует заводить за грань проема на длину анкеровки по СНиП 52-01, но не менее чем на 500 мм. С целью обеспечения устойчивости продольных стержней в сжатой зоне прямоугольного сечения перемычки их следует закреплять от выпучивания с помощью поперечных стержней.

7.5.11 Шаг поперечных стержней должен быть не более 10d (d - диаметр продольных стержней). Поперечные стержни должны располагаться на расстоянии не более 300 мм от опорной зоны перемычки.

7.5.12 Допускается возведение зданий с внутренними монолитными стенами и наружными стенами из штучной кладки. Расчет и конструирование таких стен осуществляют аналогично ненесущим стенам каркасных зданий.

7.6 Здания с несущими стенами из штучной кладки

7.6.1 Для штучной кладки несущих и самонесущих стен зданий и заполнения каркаса рекомендуется применять следующие изделия и материалы:

а) кирпич полнотелый или пустотелый марки не ниже 75, пустотностью не выше 25 % с отверстиями, максимальный размер сечения которых не превышает минимальное расстояние между ними и 16 мм; допускается использовать кирпич с несквозными пустотами диаметром до 60 мм; при сейсмичности 7 баллов допускается применять керамические камни марки не ниже 75;

б) сплошные и пустотелые камни и блоки из легкого бетона средней плотностью не менее 1200 кг/м3 класса В3,5 и выше и мелкие блоки из ячеистого бетона средней плотностью не менее 700 кг/м3 из бетона класса В2,5 и выше;

в) камни и блоки правильной формы из ракушечников, известняков, туфов (кроме фельзитового) и других природных материалов марки 50 и выше; для зданий высотой до двух этажей сейсмичностью не более 8 баллов допускается использовать известняк и ракушечник марки не ниже 35;

г) растворы марки не ниже 50 на основе цемента с пластификаторами и/или специальными добавками, повышающими сцепление раствора с кирпичом или камнем.

7.6.2 Кладку в зависимости от сопротивления сейсмическим воздействиям подразделяют на категории, определяемые временным сопротивлением осевому растяжению по неперевязанным швам (нормальное сцепление), значение которого должно быть в пределах:

кладка 1-й категории - Rвр180 кПа (1,8 кгс/см2);

кладка 2-й категории - 180 кПа > Rвр120 кПа (1,2 кгс/см2).

Для обеспечения нормативной величины временного сопротивления осевому растяжению при ведении кладки следует применять растворы со специальными добавками, повышающими прочность нормального сцепления кирпича (камня, блока) с раствором.

7.6.3 В проекте необходимо указывать требуемое значение Rвр и предусматривать специальные мероприятия (составы растворов, технологию производства работ, уход за твердеющей кладкой), которые позволят с учетом климатических условий района строительства и особенностей применяемых строительных материалов получить необходимые прочностные показатели кладки. При проектировании значение Rвр следует назначать в зависимости от результатов испытаний, проводимых в районе строительства.

При невозможности получения на площадке строительства, в том числе на растворах с добавками, повышающими прочность сцепления растворов с кирпичом (камнем, блоком), значения Rвр, равного или превышающего 120 кПа (1,2 кгс/см2), применение кирпичной (каменной) кладки не допускается.

7.6.4 Конструкции из штучной кладки необходимо рассчитывать на одновременное действие горизонтальных и вертикальных сейсмических сил.

Значение вертикальной сейсмической нагрузки при сейсмичности 7 - 8 баллов следует принимать равным 15 %, а при сейсмичности 9 баллов - 30 % соответствующей вертикальной статической нагрузки. Направление действия вертикальной сейсмической нагрузки (вверх или вниз) принимается более невыгодным для напряженного состояния рассматриваемого элемента.

7.6.5 Выполнение зимней кладки вручную при возведении зданий на площадке сейсмичностью 8 баллов и менее допускается с обязательным включением в раствор добавок, обеспечивающих твердение раствора при отрицательных температурах.

7.6.6 Допускается ведение кладки при отрицательной температуре воздуха из подогретого до положительной температуры кирпича (камня, блока) на растворах без противоморозных добавок с дальнейшим укрытием и выдержкой при положительной температуре до набора прочности раствором не менее 20 % проектной.

7.6.7 Высота этажа зданий с несущими стенами из штучной кладки, не усиленной армированием или железобетонными включениями, не должна превышать при сейсмичности 7, 8 и 9 баллов соответственно 5,0; 4,0 и 3,5 м.

7.6.8 При усилении кладки армированием или железобетонными включениями высоту этажа следует принимать соответственно равной 6,0; 5,0 и 4,5 м. При этом отношение высоты этажа к толщине стены должно быть не более 12. Не рекомендуется возведение несущих стен зданий из мелких ячеистобетонных блоков без железобетонных включений.

7.6.9 В зданиях с несущими стенами высотой два этажа и более кроме наружных продольных стен должно быть не менее одной внутренней несущей продольной стены.

Расстояние между осями поперечных стен или заменяющих их рам должно проверяться расчетом и быть не более приведенного в таблице 7.1. Допускается вместо части поперечных стен или отдельных участков продольных стен предусматривать железобетонные рамы.

Таблица 7.1

Категория кладки

Расстояние, м, при сейсмичности, балл

7

8

9

1-я

18

15

12

2-я

15

12

9

Примечания

1. Допускается увеличивать расстояние между стенами из комплексных конструкций на 30 % по сравнению с указанными в таблице.

2. В зданиях из мелких ячеистобетонных блоков расстояние между стенами независимо от расчетной сейсмичности не должно превышать 9 м.

7.6.10 Размеры элементов стен каменных зданий следует определять по расчету. Они должны удовлетворять требованиям, приведенным в таблице 7.2.

Таблица 7.2

Элемент стены

Размер элемента стены, м, при сейсмичности, балл

7

8

9

1. Ширина простенка, не менее, при кладке:

 

 

 

1-й категории

0,64

0,9

1,16

2-й категории

0,77

1,16

1,55

2. Ширина проема, не более

3,5

3,0

2,5

3. Отношение ширины простенка к ширине проема, не менее

0,33

0,5

0,75

4. Выступ стены в плане, не более

2

1

-

5. Вынос карниза, не более:

 

 

 

из материала стен

0,2

0,2

0,2

из железобетонных элементов, связанных с антисейсмическими поясами

0,4

0,4

0,4

деревянного

1,0

1,0

1,0

Примечания

1. Ширину угловых простенков следует принимать на 25 см больше, чем указано в таблице.

2. Простенки меньшей ширины необходимо усиливать железобетонным обрамлением или армированием.

3. Проемы большей ширины следует окаймлять железобетонной рамкой.

7.6.11 В уровне перекрытий и покрытий, выполненных из сборных железобетонных элементов, по всем стенам без пропусков и разрывов должны устраиваться антисейсмические пояса из монолитного железобетона с непрерывным армированием. В зданиях с монолитными железобетонными перекрытиями, заделанными по контуру в стены, антисейсмические пояса в уровне этих перекрытий допускается не устраивать.

Плиты перекрытий (покрытий) должны соединяться с антисейсмическими поясами посредством анкеровки выпусков арматуры или сваркой закладных деталей. Антисейсмические пояса верхнего этажа должны быть связаны с кладкой вертикальными выпусками арматуры.

7.6.12 Антисейсмический пояс (с опорным участком перекрытия) должен устраиваться, как правило, на всю ширину стены; в наружных стенах толщиной 500 мм и более ширина пояса может быть меньше на 100 - 150 мм. Высота пояса должна быть не менее толщины плиты перекрытия, класс бетона - не ниже В15.

Продольную арматуру антисейсмического пояса устанавливают по расчету, но не менее четырех стержней диаметром 10 мм при сейсмичности 7 - 8 баллов и не менее четырех стержней диаметром 12 мм - при 9 баллах.

7.6.13 В сопряжениях стен в кладку должны укладываться арматурные сетки общей площадью сечения продольной арматуры не менее 1 см2, длиной не менее 1,5 м через 700 мм по высоте при сейсмичности 7 - 8 баллов и через 500 мм - при 9 баллах.

7.6.14 Сейсмостойкость стен здания из штучной кладки следует увеличивать армированием кладки, введением железобетонных включений с созданием комплексных конструкций, сочетанием этих способов или другими экспериментально обоснованными методами.

Армирование кладки следует осуществлять сетками в горизонтальных швах и вертикальными отдельными стержнями или каркасами, размещаемыми в теле кладки или в штукатурных слоях. Вертикальная арматура должна быть непрерывной и соединяться с антисейсмическими поясами. Соединение вертикальной арматуры внахлест без сварки не допускается. При размещении вертикальной арматуры в штукатурных слоях она должна быть связана с кладкой хомутами, расположенными в горизонтальных швах кладки.

Вертикальные железобетонные включения (сердечники) должны устраиваться открытыми не менее чем с одной стороны и соединяться с антисейсмическими поясами. Продольная арматура вертикальных обрамлений простенков должна быть надежно соединена с горизонтальным армированием хомутами, уложенными в горизонтальных швах кладки. Класс бетона включений должен быть не ниже В15, а площадь сечения продольной арматуры не должна превышать 0,8 % площади сечения бетона простенков.

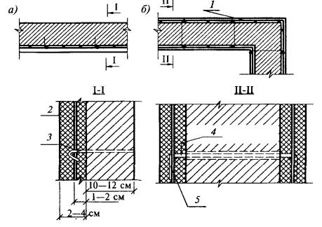
7.6.15 Внутренний железобетонный слой трехслойных стен должен выполняться из бетона класса не ниже В15 и иметь толщину не менее 100 мм.

Армирование внутреннего железобетонного слоя принимают по расчету.

Внешние слои трехслойных стен (кирпичные) должны быть связаны между собой горизонтальным армированием, пропускаемым сквозь внутренний слой бетона и устанавливаемым по высоте с шагом не более 600 мм.

Перекрытия и покрытия должны опираться на внутренний железобетонный слой стен.

7.6.16 Первые этажи зданий, используемые под магазины и другие помещения, требующие большой свободной площади, следует выполнять в железобетонных или стальных конструкциях.

7.6.17 Перемычки должны устраиваться, как правило, на всю толщину стены и заделываться в кладку на глубину не менее 350 мм. При ширине проема до 1,5 м заделка перемычек допускается на 250 мм.

7.6.18 Дверные и оконные проемы в стенах лестничных клеток зданий из штучной кладки при расчетной сейсмичности 8 - 9 баллов должны иметь железобетонное или металлическое обрамление.

7.6.19 В зданиях высотой три этажа и более с несущими стенами из штучной кладки на площадках сейсмичностью 9 баллов выходы из лестничных клеток следует устраивать по обе стороны здания.

7.7 Здания с несущими стенами из крупных блоков

7.7.1 Крупноблочные здания следует проектировать со стенами преимущественно двух- или трехрядной разрезки. Допускается сочетание различных разрезок на блоки в наружных и внутренних стенах.

7.7.2 Расстояние между поперечными стенами и размеры элементов стен следует принимать по таблицам 7.2 и 7.3 как для кладки 1-й категории.

7.7.3 Вертикальные швы между простеночными блоками должны быть на каждом этаже перевязаны поясными блоками. Допускается не устраивать перевязку швов в местах примыкания стен различных направлений при обязательном устройстве надежной горизонтальной арматурной связи между ними и наличии монолитных железобетонных элементов, воспринимающих расчетные усилия среза по неперевязанным швам.

7.7.4 Блоки могут быть выполнены из бетона, в том числе легкого, класса не ниже В2,5, а также изготовлены из кирпича, других штучных материалов и раствора (см. п. 7.6.1) с использованием вибрирования в формах на вибростоле. Нормальное сцепление кирпича (камня) с раствором в блоках должно быть не менее 120 кПа.

7.7.5 Стеновые блоки должны иметь по торцевым вертикальным граням пазы или четверти.

7.7.6 Конструкцией блоков могут быть предусмотрены вертикальные технологические пустоты для включения утеплителя. Блоки должны быть армированы пространственными каркасами с размещением плоских каркасов по контуру. При одно- и двухрядной разрезках необходима установка дополнительного горизонтального каркаса в средней части блока. Вертикальная арматура в блоках устанавливается по расчету, но не менее двух стержней диаметром 8 мм класса А240 (A-I) по каждой боковой грани.

7.7.7 Блоки должны соединяться между собой сваркой закладных деталей или выпусков арматуры. Вертикальная арматура по торцам простеночных блоков, в том числе на глухих участках стен, должна быть соединена с выпусками арматуры из фундамента, вертикальной арматурой выше- и нижележащих простеночных блоков, в том числе блоков смежных этажей, и заанкерена в антисейсмическом поясе перекрытия верхнего этажа.

7.7.8 Продольная арматура соседних поясных блоков, в том числе и блоков примыкающих стен, должна быть соединена на сварке с последующим замоноличиванием стыков.

7.7.9 В поясных блоках должны быть предусмотрены отверстия для пропуска вертикальной арматуры, соединяющей простеночные блоки разных этажей, место для укладки бетона антисейсмического пояса и выпусков арматуры для связи бетона поясного блока с бетоном антисейсмического пояса.

7.7.10 В уровне перекрытий и покрытий, выполненных из сборных железобетонных плит, по всем стенам должны устраиваться антисейсмические пояса из монолитного бетона, объединяющие выпуски арматуры из торцов плит перекрытий и выпуски из поясных блоков.

7.7.11 Ширина антисейсмического пояса должна быть не менее 90 мм, высота - соответствовать толщине плит перекрытий, класс бетона - не ниже В15. При подборе арматуры антисейсмических поясов допускается учитывать продольную арматуру поясных блоков.

7.7.12 Связь между продольными и поперечными стенами следует обеспечивать с помощью сварки закладных деталей или выпусков арматуры, замоноличиванием вертикальных стыков, укладкой арматурных сеток в каждом горизонтальном растворном шве и антисейсмическом поясе.

7.7.13 Для повышения сейсмостойкости зданий из крупных блоков следует устраивать вертикальные железобетонные включения в местах пересечения и в свободных торцах стен. Для увеличения горизонтальной жесткости глухих участков стен в вертикальных швах между простеночными блоками могут также устраиваться бетонные шпонки и сварные связи выпусков горизонтальной арматуры соседних блоков.

7.8 Деревянные здания и сооружения

7.8.1 Деревянные здания в сейсмических районах рекомендуется строить в один-три этажа с преимущественным использованием систем водяного отопления.

7.8.2 Кирпичные печи и их дымовые трубы рекомендуется применять в деревянных зданиях для районов с интенсивностью землетрясения до 8 баллов. В 8- и 9-балльных районах каменные конструкции отопительных систем следует возводить только в металлической обойме, исключающей повреждение печей и их дымоходов при землетрясении.

7.8.3 Следует предусматривать анкерные соединения, крепящие конструкцию надфундаментной части к фундаменту.

7.8.4 Конструкции деревянных зданий рекомендуется применять в виде:

- бревенчатых и брусчатых несущих и ограждающих конструкций;

- каркасных с обшивкой досками и внутренним утеплителем;

- щитовых полносборных конструкций;

- отдельных конструкций балок, ферм, арок, сводов и рам.

7.8.5 Конструктивное решение узловых соединений и стыков должно обеспечивать совместную работу всех частей здания, обеспечивать прочность и устойчивость всего здания в целом.

7.8.6 Долговечность деревянных конструкций должна обеспечиваться в соответствии с указаниями СНиП II-25.

7.9 Конструкции инженерных коммуникаций. Водопроводные системы

7.9.1 Трассы трубопроводов должны прокладываться по территории стройплощадки с устойчивыми при землетрясениях грунтовыми средами, избегая просадочные и виброразжижаемые грунты, учитывая рекомендации раздела 15 СНиП 2.04.02.

7.9.2 Система водоснабжения в составе микрорайона должна быть закольцована, обеспечивая подачу воды для тушения возможных пожаров после воздействия землетрясения. В организации схемы водоснабжения следует учитывать также рекомендации п. 8.5 СНиП 2.04.02.

Конструктивные решения при прокладке трубопроводов в просадочных и деформируемых грунтах должны учитывать возможные протечки воды (вымыв и переувлажнение грунтов и, как следствие, изменение их прочностных и деформационных характеристик).

7.9.3 Узловые соединения и места поворотов трубопроводов следует размещать в смотровых колодцах для возможности контроля и выполнения необходимых ремонтно-профилактических работ.

7.9.4 Материал труб выбирается с учетом расчетной долговечности водопроводной системы и прочности их конструкций на основные и особые сочетания нагрузок при расчетном сейсмическом воздействии.

Рекомендуется прокладка водопроводов из раструбных труб с упругими манжетами, позволяющими секциям труб деформироваться без нарушения герметичности.

7.9.5 У смотровых водопроводных колодцев должно быть недеформируемое грунтовое основание либо бетонное днище, исключающее просадки и повреждения конструкций стен колодца.

При расчетной сейсмичности 9 баллов стены и днище смотровых колодцев должны быть армированы следующим образом:

- при глубине заложения колодца до 3 м в круглых железобетонных звеньях устанавливают арматуру по типовому проекту. При глубине более 3 м конструкция стенки колодца проверяется расчетом в соответствии с конкретными нагрузками и условиями строительства;

- днище смотрового колодца армируют металлическими прутками диаметром 8 - 10 мм через 150 мм либо арматурными сетками, площадь сечения арматуры которых должна быть не менее площади сечения металлических прутков.

7.9.6 Швы сборных конструкций стен колодца на просадочных и разжижаемых грунтах должны быть зачеканены для исключения просачивания воды в грунтовую среду.

7.9.7 При вводе трубы в смотровой колодец или здание следует предусматривать упругую заделку трубы в стенках колодца и подвала (технического подполья) материалами, упругие свойства которых имеют долговечность, сопоставимую с расчетным временем эксплуатации объекта.

При расчетной сейсмичности 9 баллов в местах ввода в здание труб водопроводных систем устраивают деформационный компенсатор, позволяющий нейтрализовать колебания и возможные осадки здания и трубопроводов.

7.9.8 Внутренняя разводка водопроводных коммуникаций должна быть надежно закреплена к несущим конструкциям.

7.9.9 Стояки трубопроводных систем должны прокладываться в местах наименее уязвимых при землетрясении (внутренние стены, стены лестничных клеток, сантехнические блоки и т.п.).

7.10 Канализационные системы

7.10.1 На территории строительства с просадочными грунтами в дополнение к требованиям СНиП 2.04.03 необходимо предусматривать комплекс работ по благоустройству территории с водоотводом поверхностных вод (дождевых, талых и др.) и аварийных разливов, исключающих затопление подвалов, полуподвалов и площадок возле фундаментов зданий и сооружений.

7.10.2 При строительстве объектов канализационных систем следует выполнять требования СНиП 2.04.03 и проверять принятые конструктивные решения расчетом их прочностных и деформационных характеристик с учетом состояния грунтовой среды и сейсмических воздействий.

7.10.3 Материалы трубных конструкций, размещаемых в грунте, должны иметь расчетную долговечность, сопоставимую со сроком эксплуатации зданий и сооружений.

7.10.4 В конструкциях трубопроводов, в которых возникающие усилия не могут быть восприняты стыками труб, должны предусматриваться крепления и упоры, воспринимающие перемещения труб.

7.10.5 Трассы канализационных систем должны прокладываться в устойчивых грунтовых средах.

7.10.6 На участках с тектоническими разломами на трубопроводах следует предусматривать компенсаторы и упругие стыковые соединения.

7.10.7 Канализационные стояки труб должны крепиться к несущим конструкциям на каждом этаже надежными крепежными устройствами с компенсаторами перемещений; в канализационных системах рекомендуется применение пластмассовых и других легких труб с гибкими стыковыми соединениями.

В районах с сейсмичностью более 7 баллов запрещается применение керамических и чугунных труб во внутренних канализационных системах.

7.11 Подпорные стены

7.11.1 Подпорные стены устраивают при подготовке строительной площадки и благоустройстве территории жилой застройки.

7.11.2 В сейсмических районах на территории жилой застройки рекомендуется использовать подпорные стены облегченного типа, в том числе подпорные стенки из георешеток с пластиковым каркасом и другие типы армогрунтовых стен.

7.11.3 Применение каменной кладки насухо допускается для подпорных стен протяжением не более 50 м. В стенах высотой 5 м и более, выполняемых из камней неправильной формы, следует через каждые 2 м по высоте устраивать прокладные ряды из камней правильной формы.

7.11.4 Подпорные стены следует разделять по длине сквозными вертикальными швами на секции с учетом размещения подошвы каждой секции на однородных грунтах. Длина секции должна быть не более 15 м. В стенах следует предусматривать дренажные устройства и сквозные отверстия для фильтрации воды в соответствии с гидрогеологическими условиями строительной площадки.

7.11.5 При расположении оснований смежных секций подпорной стены в разных уровнях переход от одной отметки основания к другой должен осуществляться уступами с отношением высоты уступа к его длине не более 1:2.

7.11.6 Применение подпорных стен в виде обратных сводов не допускается.

8 ВОССТАНОВЛЕНИЕ И УСИЛЕНИЕ ЗДАНИЙ

8.1 Требования настоящего раздела должны соблюдаться при разработке мероприятий по обеспечению сейсмостойкости эксплуатируемых зданий, в том числе восстанавливаемых после землетрясения, усиливаемых в связи с изменением сейсмичности площадки строительства или назначения объекта.

Элементы здания с недостаточной несущей способностью выявляют расчетом. При разработке проекта усиления вне зависимости от результата расчета следует учитывать конструктивные требования, изложенные в разделе 7 настоящего Свода правил.

В случае когда полное выполнение конструктивных требований норм невозможно или их выполнение приводит к экономической нецелесообразности усиления, допускается реализация обоснованных расчетом технических решений усиления здания при неполном соответствии требованиям норм с их согласованием в установленном порядке.

8.2 Проектная документация по повышению сейсмостойкости здания до соответствующей расчетной сейсмичности строительной площадки разрабатывается на основе анализа проектной документации на эксплуатируемое здание и материалов детального натурного обследования основания и конструктивных элементов здания.

В проекте рекомендуется использовать следующие технические мероприятия:

- изменение объемно-планировочного решения путем разделения здания сложной конструктивной схемы на отсеки простой формы антисейсмическими швами, разборка верхних этажей здания, устройство дополнительных элементов жесткости для обеспечения симметричного их расположения в пределах отсека и уменьшение расстояния между ними;

- усиление фундаментных конструкций и основания;

- усиление стен, рам, вертикальных связей для обеспечения восприятия усилий от расчетных сейсмических воздействий;

- увеличение жесткости дисков перекрытия, надежности соединения их элементов; устройство или усиление антисейсмических поясов;

- обеспечение связей между стенами различных направлений, между стенами и перекрытиями;

- усиление элементов соединения сборных конструкций стен;

- изменение конструктивной схемы здания, в том числе путем введения системы дополнительных конструктивных элементов;

- уменьшение массы здания, использование сейсмоизоляции, пассивного демпфирования и других методов регулирования сейсмической реакции;

- изменение функционального назначения здания (снижение уровня ответственности).

8.3 Решение о восстановлении или усилении здания должно приниматься с учетом его физического и морального износа, назначения и социально-экономической целесообразности мероприятий по восстановлению или усилению.

9 ПОВЫШЕНИЕ СЕЙСМОСТОЙКОСТИ ЗДАНИЙ И СООРУЖЕНИЙ И УСИЛЕНИЕ ПОВРЕЖДЕННЫХ ЗЕМЛЕТРЯСЕНИЕМ КОНСТРУКЦИЙ

9.1 Рекомендации по обследованию объекта

9.1.1 Основной задачей по обследованию является определение физического состояния объекта с учетом износа для оценки его прочностных характеристик и надежности при землетрясениях расчетной интенсивности.

9.1.2 Под физическим износом объекта (конструкция, элемент, коммуникация и др.) следует понимать утрату первоначальных технико-эксплуатационных качеств (прочность, устойчивость, долговечность и т.п.) в результате воздействия природно-климатических факторов и жизнедеятельности человека. При этом следует учесть, что если конструкция или элемент здания и сооружения имеют несколько признаков износа, соответствующие определенным его значениям, то в качестве расчетного физического износа следует принимать наиболее опасную его характеристику, а если выявлен только один признак, то следует принимать его фактическое состояние с учетом соответствующего коэффициента надежности.

9.1.3 В зависимости от физико-механического состояния грунтовой среды и несущих конструкций здания и сооружения объект обследования в целом может оцениваться как:

- пригодный к эксплуатации, когда грунт основания и несущие конструкции полностью отвечают нормативным требованиям по обеспечению прочности и надежности в течение расчетного времени;

- ограниченно пригодный 1-й категории, в случае когда для обеспечения нормативных требований прочности и надежности необходимо выполнить ремонтно-восстановительные работы или усиление, затраты на которые составляют до 25 % первоначальной стоимости объекта;

- ограниченно пригодный 2-й категории, когда общие затраты составят от 30 % до 50 % стоимости объекта обследования;

- ограниченно пригодный 3-й категории, когда общие затраты на реабилитацию объекта составят от 50 % до 85 % стоимости объекта обследования;

- непригодный к эксплуатации, когда грунт основания и несущие конструкции требуют выполнения большого объема ремонтно-восстановительных работ или усиления (реконструкции) с общими затратами более 85 % стоимости объекта обследования.

9.1.4 Работы по определению состояния объекта должны выполняться в следующем порядке:

- изучение проектной документации, включая архивные материалы;

- оценка поведения несущих конструкций при ранее произошедших землетрясениях;

- определение расчетной сейсмичности площадки строительства по материалам новейших инженерно-геологических и сейсмологических исследований;

- составление плана обследования объекта с учетом его объемно-планировочного и конструктивного решения;

- визуальное и инструментальное обследование несущих конструкций, а при необходимости проведение инженерно-геологических изысканий на строительной площадке;

- определение ослабленных и недостаточно прочных элементов в составе несущих конструкций объекта с учетом расчетного сейсмического воздействия;

- разработка предложений по усилению несущих конструкций.

9.1.5 На основании результата обследования составляется проект усиления или реконструкции рассматриваемого здания или сооружения и утверждается в установленном порядке.

9.2 Усиление каменных зданий

9.2.1 В настоящем подразделе рассматриваются здания со стенами из кирпичной кладки и кладки из мелких, средних и крупных блоков.

Здания и сооружения с несущими каменными стенами отличаются большой массой, большой материало- и трудоемкостью. Поэтому, если их усиление не будет чрезмерным, экономически всегда целесообразно сохранение такого объекта, так как для нового строительства помимо больших материальных затрат потребуется в несколько раз больше времени.

Анализ статистических данных результатов обследования поведения каменных зданий и сооружений при землетрясениях выявил, что в оценке их сейсмостойкости необходимо различать, по крайней мере, три основных фактора - силу сейсмического воздействия, качество проектного решения и его исполнение при строительстве.

При квалифицированном проектировании сейсмостойкого объекта и высоком качестве строительных работ землетрясение расчетной силы, как правило, вызывает умеренные повреждения каменных стен, и лишь в отдельных местах они могут быть существенными. В этом случае работы по усилению объекта сводятся к приданию несущим конструкциям дополнительной прочности.

Иначе обстоит дело при низком качестве строительства - плохой кладке, недостаточной прочности стенового материала и т.д. В этом случае даже от землетрясения интенсивностью ниже расчетной повреждения могут быть очень сильными, и наблюдаются они, как правило, по всему зданию. Решение о повышении сейсмостойкости такого объекта должно означать, что все его конструкции будут усилены в такой мере, чтобы они были способны воспринимать расчетные сейсмические воздействия.

9.2.2 Возникающая при землетрясении горизонтальная составляющая сейсмической нагрузки вызывает в элементах стен деформации сдвига, вследствие чего в кладке возникают большие скалывающие напряжения, которые могут быть восприняты только при условии высококачественной кладки - из прочных соответствующих проекту материалов и с хорошим заполнением швов.

Кроме того, прочность кладки снижает вертикальная составляющая сейсмического воздействия. Поэтому, чтобы сейсмостойкость обеспечивалась реально, в кладку вводят специальное армирование, которое следует использовать при усилении несущих конструкций стен.

9.2.3 В зданиях следует различать несущие стены, обычно это продольные стены, на которые опираются конструкции перекрытий и покрытий, и стены перпендикулярного направления - самонесущие. Первые, несущие полезную нагрузку, являются наиболее ответственным конструктивным элементом здания, однако на восприятие сейсмической нагрузки работают и те и другие.

Вследствие различной нагруженности продольных и поперечных стен в зоне их сопряжения существуют повышенные скалывающие напряжения, для восприятия которых между стенами необходима надежная перевязка (связь). Поэтому в сейсмостойких зданиях и сооружениях для усиления узла пересечения стен вводится горизонтальное армирование кладки; этому же служат и антисейсмические пояса.

При монолитных железобетонных покрытиях и перекрытиях возможно такое конструктивное решение объекта, при котором продольные и поперечные стены могут быть несущими.

9.2.4 Наружные стены имеют, как правило, большое число проемов, поэтому простенки являются элементами, воспринимающими повышенную горизонтальную нагрузку, а места опирания перемычек - это естественные зоны концентрации напряжений. Именно здесь возникают первые трещины.

Особую опасность представляет сильное повреждение простенка несущей стены, так как полная потеря несущей способности такого элемента ведет к обрушению не только части стены, но, по существу, и части здания (рисунок 9.1). Поэтому к усилению простенков необходимо относиться с повышенным вниманием. Эту работу надлежит выполнять в первую очередь и обязательно по полному технологическому циклу.

Рисунок 9.1 - Обрушение части стены в результате потери несущей способности перегруженного простенка

9.2.5 Перемычки, помимо того, что воспринимают вертикальную нагрузку над проемом, вместе с кладкой над ними укрепляют простеночные части стены, повышают их устойчивость. По сравнению с простенками повреждения перемычек обычно менее опасны, и они имеют более локальный характер. Тем не менее, необходимо обеспечить надежную целостность перемычек и монолитность расположенной над ними кладки.

9.2.6 Глухие участки стены вследствие однородности напряженного состояния являются наиболее надежной частью конструкции здания. В частности, даже будучи пересеченными трещинами, они воспринимают большую часть сейсмической нагрузки на здание во время землетрясения. Опыт свидетельствует, что причиной преждевременного образования трещин в глухой стене служат ее местные ослабления - каналы, отверстия, штрабы и др., являющиеся зонами концентрации напряжений. Чтобы обеспечить сейсмостойкость на будущее, в глухих стенах при работах по усилению следует ликвидировать даже самые незначительные дефекты и ослабления.

9.2.7 Перекрытия в здании играют роль диафрагм, обеспечивающих его пространственную жесткость. Объединяя и связывая стены, они распределяют горизонтальную сейсмическую нагрузку между стенами одного направления и служат опорой для стен другого направления. Поэтому перекрытия сейсмостойких зданий должны быть замоноличены и надежно связаны со стенами.

9.2.8 В каменных зданиях и сооружениях при землетрясении обычно происходят следующие повреждения:

- отрыв наружной продольной стены здания от поперечных стен (рисунок 9.2). Об этом свидетельствует вертикальная трещина в их примыканиях;

- в наружных и внутренних стенах образуются косые и крестообразные трещины (рисунок 9.3);

1 - отклонение верха стены от вертикали; 2 - выпучивание средней части стены после разрушения связей

Рисунок 9.2 - Схема отрыва продольных несущих стен от поперечных конструкций здания

Рисунок 9.3 - Схема расположения трещин в несущих конструкциях стен, вызванных землетрясением и просадками фундамента из-за деформации грунта основания

- в простенках помимо трещин часто расслаивается кладка, а в углах возле перемычек образуются выколы и даже обрушения (рисунки 9.4, 9.5);

- в местах сопряжения металлических и железобетонных конструкций (балки перекрытий, обвязки, элементы лестничных клеток и лифтовых коробок) с каменной кладкой образуются различные выколы, расслоения, раздавливания и другие повреждения (рисунки 9.6, 9.7);

- в угловых соединениях и крестообразных пересечениях стен образуются вертикальные и ступенчатые (по шву кладки) трещины и нарушения монолитности кладки (рисунок 9.8).

а - д - повреждения в относительно узких простенках; е, ж - повреждения в более широких простенках

Рисунок 9.4 - Схематическое изображение характерных повреждений каменных простенков при землетрясении

а, б - повреждение перемычки; в - е - повреждение кладки под перемычкой

Рисунок 9.5 - Характерное повреждение перемычки и каменной кладки над перемычкой

а - сдвиг по бетонной подкладке; б - разрушение кладки в местах опирания плит; в - вырыв конца плиты из кладки стены

Рисунок 9.6 - Смещение плит перекрытий и повреждение кладки стен

а - основные места повреждений кладки и конструкций лестниц; б - повреждение над дверным проемом

Рисунок 9.7 - Повреждение конструкций в лестничной клетке

а - в - трещины; г - расслоение кладки в средней части стены; 1 - дверной проем; 2 - вентиляционный канал

Рисунок 9.8 - Возможное повреждение глухих участков стен

9.2.9 Землетрясение может вызвать неравномерную просадку грунта основания, и тогда здание получит дополнительные разрушения. При этом самые сильные повреждения конструкций здания происходят в зонах просадки (см. рисунок 9.3). Восстанавливать и усиливать такой объект следует после заключения специалистов о том, что развитие просадки может быть остановлено. Работы на объекте должны начинаться с укрепления грунта основания и фундаментов.

9.2.10 При землетрясении может произойти частичное разрушение стены, например, как результат потери несущей способности перегруженного простенка. Наиболее характерное повреждение стен - это появление косых и X-образных трещин, которые проходят главным образом по швам кладки, начинаясь в углах проемов и других местах ослабления стен. Если трещина пересекает и камни, то это признак недостаточной их прочности, а расслоение кладки - свидетельство слабого сцепления раствора с камнем. Величины раскрытия трещин могут быть различными, вплоть до сквозных и зияющих, и являются главным признаком при оценке степени повреждения элемента стены.

9.2.11 Перекрытия и конструкции лестниц, выполняемые, как правило, из сборного железобетона, получают повреждения в большинстве случаев в виде взаимного смещения смежных элементов, что происходит вследствие недостаточной прочности связей между ними: разрушение сварных соединений, отрыв закладных деталей из-за отсутствия достаточной анкеровки, плохая сварка, непрочный бетон или отсутствие замоноличивания стыков и т.д.

Смещение конструкций, вызванное небольшими допусками в сборных конструкциях и малыми площадками опирания железобетонных элементов, каждый из которых легко приходит в движение при землетрясении, требует надежности соединений и тщательного замоноличивания.

9.2.12 Поврежденный участок каменной кладки, нуждающийся в усилении в случае недостаточной его несущей способности (или усиливаемый, например, в связи с изменением сейсмичности территории), может быть временно разгружен подмостями, а затем разобран и восстановлен более прочной кладкой за счет замены материала или введения дополнительного армирования кладки.

9.2.13 Усиление с помощью армированной «рубашки» заключается в закреплении на поверхности кладки арматурной сетки из металла или армопластика и последующего нанесения на эту поверхность слоя торкрет-бетона или простого набрызга цементного раствора маркой более M100. Такой армированный слой толщиной 2 - 4 см может быть выполнен с одной или обеих сторон, а на столбах и узких простенках - со всех сторон (рисунок 9.9).

а - усиление участка стены; б - усиление угловой части стены; 1 - дополнительные угловые стержни d = 6 мм через 25 - 30 см по высоте; 2 - арматурная сетка; 3 - анкер d = 6 - 8 мм через 50 - 80 см; 4 - сквозной анкер d = 10 - 12 мм через 100 - 120 см; 5 - приварить или закрепить вязальной проволокой

Рисунок 9.9 - Укрепление стены арматурной сеткой с последующим торкретированием

Таким методом можно надежно усилить как угодно сильно разрушенный, но не потерявший устойчивости участок стены. Способность такой комплексной конструкции воспринимать сдвигающие усилия Qсд от сейсмической нагрузки определяется площадями сечения кладки Fкл, нанесенного бетонного или песчано-цементного слоя Fсл, общего сечения арматуры одного направления Fар и определяется зависимостью

Qсд = кRклсрFккл + RбсрFсл + RарFар,                              (9.1)

где к - коэффициент, учитывающий уменьшение прочности существующей кладки стены (поврежденной или потерявшей часть первоначальных прочностных свойств);

Rклср, Rбср - расчетное сопротивление кладки и бетона (раствора) на срез;

Rар - расчетное сопротивление арматуры растяжению.

9.2.14 Металлический «корсет», иногда его называют обойма или бандаж, используется (рисунок 9.10) для восстановления или усиления простенков и столбов. Поврежденная или недостаточно прочная конструкция каменной кладки плотно охватывается по всей высоте объемным металлическим каркасом в виде корсета и затем торкретируется или оштукатуривается цементным раствором. Для каркаса применяется уголок, полосовая или арматурная сталь. Перед устройством «корсета» удаляется старая штукатурка, проводится насечка поверхности кладки и ее промывка струей воды. Желательно также инъецирование раствора внутрь растрескавшейся кладки, что должно выполняться после установки и закрепления металлического «корсета».

1 - удалить штукатурку; 2 - насечь поверхность кладки и промыть; 3 - сварить металлический бандаж; 4 - штукатурить по металлической сетке; 5 - трещина; 6 - трещина сквозная со сдвигом кладки простенка

Рисунок 9.10 - Усиление каменного простенка или колонны металлическим «корсетом» (бандажом)

9.2.15 В случае необходимости восстановления или усиления перемычки или разгрузки поврежденного участка стены или фундамента устраивается разгрузочная балка, как правило, из двух швеллеров номерами от 12 до 20 включительно (рисунок 9.11).

1 - разгрузочная балка; 2 - поврежденная перемычка; 3 - 2 швеллера; 4 - поврежденная несущая перемычка длиной l

Рисунок 9.11 - Схема разгрузочной балки над поврежденным участком стены

Технология производства работ по устройству разгрузочной балки для восстановления или усиления стены или перемычек следующая:

- над подлежащим усилению участком стены выбирают с внешней или внутренней стороны горизонтальную штрабу, обычно глубиной в полкирпича;

- в штрабе на растворе М50 закрепляют металлический швеллер, имеющий два - три отверстия для стяжных болтов диаметром 16 - 18 мм;

- через эти отверстия стену просверливают насквозь;

- с противоположной стороны стены, ориентируясь на просверленные отверстия, выбирают вторую штрабу и устанавливают на растворе второй швеллер;

- оба швеллера скрепляют проходящими через стену болтами, после чего они могут выполнять функции разгрузочной балки;

- после установки разгрузочной балки под ее защитой разбирают, заменяют или усиливают недостаточно прочную конструкцию стены.

9.2.16 Укрепление стен металлическими тяжами используют при нарушении монолитности в пересечении наружных и внутренних стен, а также при отрыве наружной стены (см. рисунок 9.1).

В случае, когда вертикальная трещина в углу по внутренней стене имеет небольшое раскрытие, но прослеживается на одном или нескольких этажах, устраивается укороченная страховочная стяжка (рисунок 9.12, а). Если трещина в пересечении стен зияющая и тем более разорван антисейсмический пояс, а наружная стена имеет существенные отклонения в плане или по вертикали, то тяжи устраивают проходящими через все здание и снабжают стяжными муфтами (рисунок 9.12, б).

а - укороченная стяжка при укреплении участка стены; б - схема усиления здания тяжами в уровне перекрытия; 1 - стяжная муфта; 2 - металлическая шайба-упор

Рисунок 9.12 - Схема укрепления стен каменного здания металлическими тяжами

В первом случае в наружной стене по граням внутренней стены просверливают два отверстия, через которые пропускают тяжи из арматурной стали диаметром 16 - 20 мм, притягивающие снаружи здания горизонтальный отрезок швеллера. Для анкеровки тяжей на внутренней стене на расстоянии 1,5 - 2,0 м от внешней стены пробивают отверстие, в которое вмуровывают неравнобокий уголок или отрезок швеллера с отверстиями для тяжей. Тяжи должны прилегать плотно к внутренней стене, для чего в стене делают пазы, в которых они размещаются.

Во втором случае тяжи прокладывают через все здание и снабжают стяжными муфтами. Тяжи прокладывают по перекрытиям с шагом 3 - 6 м. На концах они снабжены жесткими шайбами-упорами размером в поперечнике около 0,3 м. В частности, это могут быть крестовины из уголка с полкой 100 - 120 мм.

9.2.17 Общий каркас, охватывающий здание (рисунок 9.13), используют как средство для предотвращения обрушения поврежденных наружных стен. Он рекомендуется, когда наружные стены оказываются пересеченными многочисленными, прослеживающими на всю высоту здания трещинами, а также для профилактического усиления зданий, признанных недостаточно сейсмостойкими.

Основными элементами этой конструкции являются сплошные пояса, охватывающие здание в уровнях перекрытий и стянутые проходящими через здание тяжами, а также поддерживающие пояса стойки, располагаемые через 6 - 12 м на самостоятельных фундаментах (рисунок 9.13, а). Чтобы такой каркас выполнил свое назначение при землетрясении, стойки и пояса должны плотно прилегать к стене. Конструкция каркаса может быть металлической, сборной железобетонной или комбинированной. Для уменьшения сейсмической нагрузки на стены в каркас может быть введена раскосная решетка (рисунок 9.13, б).

9.2.18 Железобетонные конструкции в каменных зданиях и сооружениях (перекрытия, антисейсмические пояса, лестницы, монолитные включения и т.д.) могут быть повреждены или недостаточно прочны для восприятия ожидаемого сейсмического воздействия.

Основной способ восстановления или усиления таких конструкций заключается в следующем:

- расчищают поврежденные участки;

- по данным обследования и результатам расчетов выполняют восстановление или усиление арматурного каркаса;

а - расположение элементов каркаса на плане здания; б - вариант схемы размещения каркаса по наружным стенам; 1 - пояс; 2 - стойки; 3 - тяжи; 4 - каркас

Рисунок 9.13 - Укрепление несущих стен общим, охватывающим здание металлическим каркасом

- укрепляют соединительные элементы, а при необходимости устанавливают дополнительные связи;

- устанавливают опалубку и осуществляют замоноличивание конструкции бетоном класса на одну ступень выше класса бетона конструкции.

При достаточном обосновании в технологические процессы по восстановлению или усилению конструкций включают новые высокопрочные материалы (полимерные бетоны, синтетические растворы и клеи) с гарантированной их долговечностью в течение расчетного времени эксплуатации объекта.

9.2.19 Разрушенные сборные железобетонные элементы (настилы, марши, косоуры и т.д.) удаляют и заменяют усиленными железобетонными изделиями или собираемыми по месту металлоконструкциями.

9.2.20 Для высококачественного восстановления или усиления железобетонных конструкций необходимо, чтобы твердые фракции в составе бетона не превышали 30 % минимальной толщины укладываемого слоя и 0,2 ширины заполняемой трещины.

9.3 Усиление железобетонных каркасных зданий и сооружений

9.3.1 При усилении железобетонных каркасных зданий и сооружений следует соблюдать следующие положения:

а) сущность всякой железобетонной конструкции заключается в передаче растягивающих усилий на металл - арматуру. Реализуется этот принцип выполнением ряда конструктивных мероприятий. Например, изменением схемы размещения арматуры и площади ее сечения достигается перераспределение напряжений в сечениях по длине элемента, в частности, изменение (уменьшение) напряжений в бетоне. Эту особенность необходимо иметь в виду при выборе способа восстановления и усиления элементов и узлов железобетонных конструкций;

б) перед восстановлением или усилением железобетонных конструкций необходимо ознакомиться с проектом здания (сооружения) и рабочими чертежами конструкции, выяснить типы использованных сборных железобетонных изделий в натуре, определить особенность их армирования, оценить фактическую прочность бетона. Принимая решение, в каждом конкретном случае необходимо определить расчетную модель работы усиливаемой конструкции и проверить эффективность предлагаемого мероприятия расчетами на прочность, устойчивость и долговечность;

в) восстановление и усиление железобетонных конструкций, как правило, оказывается работой трудоемкой, требующей большой тщательности в исполнении. Однако по сравнению с новым строительством, даже при сильных повреждениях, восстановление позволяет существенно сократить время для возобновления эксплуатации объекта и сэкономить материальные ресурсы;

г) в первую очередь должны восстанавливаться и усиливаться узлы и элементы, несущая способность которых существенно уменьшена и угрожает обрушением конструкции. Необходимо иметь в виду, что во избежание развития коррозии в железобетонном элементе даже незначительные его повреждения, в частности небольшие трещины, должны быть устранены путем их расчистки и затирки цементным раствором, а остающиеся на открытой поверхности металлические элементы стыков и усиления конструкций должны быть покрыты антикоррозионными составами;

д) к оценке состояния железобетонных конструкций следует относиться с осторожностью, так как внешне небольшие трещины могут быть признаком серьезных повреждений в армировании, что создает угрозу внезапного разрушения элемента и конструкции в целом. Поэтому необходимо учитывать следующее:

1) к обследованию повреждений и оценке состояния объекта необходимо привлекать опытных специалистов;

2) при обследовании в процессе восстановительных работ должны быть предприняты мероприятия, предупреждающие возможность обрушения;

3) следует различать повреждения (разрушения), вызванные высоким уровнем нагрузки, и повреждения вследствие имеющихся дефектов конструкций, возникших при их изготовлении или вследствие плохих условий эксплуатации, которые в последнем случае устраняются, как правило, простым восстановлением проектной прочности элемента конструкции (стыка);

4) при выполнении работ по восстановлению прочности или усилению конструкции она должна быть, по возможности, максимально разгружена.

9.3.2 Возникновение при землетрясении горизонтальной нагрузки создает существенное изменение напряженного состояния в конструкции по сравнению с существующим при обычной вертикальной нагрузке. Итоговый результат такого изменения - увеличение опорных моментов и поперечных сил в элементах каркаса, а также скалывающих усилий в конструкциях диафрагм.

9.3.3 В рамах с жесткими узлами особенно большие усилия от сейсмической нагрузки возникают в стойках нижних ярусов. При связевой конструкции значительного увеличения усилий в стойках каркаса нет, так как поперечная сила от действия сейсмической нагрузки воспринимается главным образом конструкциями связей.

9.3.4 В отличие от обычной конструкции стойки каркаса, предназначенные воспринимать сейсмическую нагрузку, должны иметь более высокий процент косвенного армирования, то есть иметь меньший шаг хомутов, особенно в зонах примыкания к ригелям. Такая мера необходима для обеспечения прочности на действие скалывающих напряжений - по наклонным сечениям.

9.3.5 Стыки сборных конструкций являются местом концентрации напряжений, в особенности при действии кратковременной и знакопеременной сейсмической нагрузки. Поэтому стыки, как наиболее ответственные места сборных конструкций, должны располагаться вне зоны максимальных усилий. При этом конструкция стыка должна отвечать следующим требованиям:

- иметь повышенную прочность и обладать пластичностью;

- быть удобной в производстве работ.

9.3.6 Сборные железобетонные элементы должны быть надежно замоноличены.

Особенно важно выполнять мероприятия по анкеровке большепролетных конструкций и креплению (замоноличиванию) крупных сборных элементов, на которые при землетрясении, вследствие их большой массы, действуют значительные сейсмические силы.

9.3.7 Каркасные здания, как правило, имеют ограждающие конструкции в виде самонесущих стен или навесных панелей, система крепления которых в сейсмических районах должна допускать независимое перемещение каркаса. Такое решение во многих случаях позволяет уменьшить сейсмические усилия в элементах ограждения и даже нагрузку на каркас.

9.3.8 Правильно спроектированные и качественно выполненные конструкции из железобетона являются в достаточной мере сейсмостойкими. Это относится, в частности, как к каркасным зданиям, так и к зданиям с несущими стенами, выполненными из сборных элементов либо монолитными. В повреждениях элементов железобетонных конструкций следует различать четыре степени их состояния.

Легкие повреждения - волосные трещины и трещины раскрытием до 0,3 мм во всех конструкциях кроме большепролетных, в фермах и на опорах сборных большепролетных балок - до 0,1 мм, смещение сборных элементов на опорах на величину до 10 % глубины опирания, отслоение или повреждение защитного слоя.

Умеренные повреждения - трещины в элементах конструкций раскрытием от 0,3 до 0,5 мм, в фермах и на опорах большепролетных балок раскрытием от 0,1 до 0,3 мм; смещение сборных элементов на опорах до 20 % глубины опирания, повреждение стыков сборных конструкций без существенного смещения стыкуемых элементов.

Тяжелые повреждения - трещины раскрытием более 0,8 мм в обычных конструкциях, трещины от 0,5 до 0,8 мм в преднапряженных балках, от 0,3 до 0,5 мм в фермах; разрушение защитного слоя вследствие сжатия с оголением арматуры, наклонная трещина по всему сечению элемента раскрытием более 1 мм, разрушение отдельных стыков со смещением соединяемых элементов.

Разрушения - повреждения бетона по всему сечению элемента с выпучиванием или разрывом арматуры, в том числе с возможным сдвигом смежных сечений; трещины на опорах пролетных конструкций (балки, фермы и т.п.) с выходом на нижнюю грань, с выколом бетона и оголением арматуры; трещины в элементах фермы раскрытием более 0,5 мм.

9.3.9 Железобетонные конструкции, как правило, являются статически неопределимыми системами, поэтому разрушение отдельных элементов или участков еще не означает разрушения конструкции в целом, и ее несущая способность может быть восстановлена. Однако когда разрушений и повреждений много и тем более когда конструкции угрожает обрушение, то в этом случае вопрос восстановления или замены на новую конструкцию решается с учетом экономических соображений.

9.3.10 Элементы железобетонных конструкций при сейсмическом воздействии в зависимости от соотношения нагрузок и прочностных характеристик могут иметь различные виды повреждений. Наиболее характерные повреждения элементов железобетонных конструкций схематически показаны на рисунках 9.14 - 9.19.

На рисунке 9.14 показаны обычные повреждения защитного слоя. Эти повреждения не опасны, но со временем вследствие коррозии арматуры конструкция будет ослаблена и окажется в опасном состоянии. Поэтому защитный слой должен быть обязательно восстановлен.

а - начальные трещины в основании колонны; б и в - обнажение арматурного каркаса на колонне и балке перекрытия

Рисунок 9.14 - Повреждение защитного слоя железобетонной конструкции

а - в - повреждение при увеличении изгибающего момента; г - е - повреждение стоек каркаса при недостаточном косвенном их армировании

Рисунок 9.15 - Стадии повреждения колонн

При перегрузке колонн горизонтальной сейсмической нагрузкой в зоне значительных изгибающих моментов могут возникнуть в арматуре пластические деформации (рисунок 9.15, а). Если эти моменты превышают несущую способность, то может произойти местное разрушение колонны с выпучиванием арматуры (рисунок 9.15, б) или ее разрыв и раздробление бетона (рисунок 9.15, в). Последние виды разрушений требуют проведения незамедлительного выполнения восстановительных работ и, если надо, выполнения необходимого комплекса усиления. Характер повреждения стойки каркаса, приведенный на рисунках 9.15, г - е, свидетельствует о недостаточном косвенном армировании, т.е. в этой зоне оказалось мало хомутов для восприятия поперечной силы. Если трещины проходят через все сечение бетона, то возможно даже взаимное смещение верхней и нижней частей колонны (рисунок 9.15, е).

На рисунке 9.16 изображены обычные виды повреждений балок перекрытий и стыка верха колонн с ригелем, которые возникли от действия больших скалывающих напряжений в ригеле и от чрезмерного изгибающего момента в стойке. Если раскрытие этих трещин превышает 2 - 3 мм, то конструкция должна быть усилена.

Если при конструировании балок не учитывают усилия жесткого защемления в местах их опирания (сварка, анкерное крепление), то в верхней части балки в узлах опирания возникают трещины, показанные на рисунке 9.17, а, б).

а - трещины в растянутой зоне балки; б - повреждения в верхнем узле рамного каркаса

Рисунок 9.16 - Повреждение конструкции перекрытия и элементов каркаса

а, б - трещины, вызванные недостаточным армированием торца балки, жестко закрепленной на опоре; в, г - трещины в балке с недостаточной площадью сечения отогнутой или поперечной арматуры; д - смещение плит покрытия

Рисунок 9.17 - Повреждение железобетонной балки на опорном и приопорном участках

При недостаточном армировании концевых участков балки для восприятия поперечных сил в этих местах (рисунок 9.17, в, г) возникают косые трещины, которые в случае их полного пересечения балки свидетельствуют о том, что хомуты разорваны либо находятся за пределом упругости, и несущая способность балки поддерживается в значительной мере за счет сил сухого трения.

Примеры повреждения конструкции фермы покрытия показаны на рисунке 9.18. В основном эти повреждения вызваны следующими обстоятельствами:

а) образованием трещины вследствие скалывающих усилий в зоне сопряжения верхнего и нижнего поясов;

б) недоучетом величины усилия в растянутом элементе нижнего пояса и, как следствие, появлением здесь трещин растяжения, а также образованием косых трещин в районе узла из-за недостаточного числа поперечных стержней арматуры (хомутов);

в) раздроблением бетона в сжатом элементе верхнего пояса и возникновением трещин отрыва в нисходящем раскосе фермы.

а - трещины от скалывающих усилий в опорном узле; б - трещины, вызванные растяжением нижнего пояса и поперечными силами в одном из узлов этого пояса; в - раздробление бетона в сжатом элементе верхнего пояса и трещина отрыва в нисходящем раскосе

Рисунок 9.18 - Разрушение элемента железобетонной фермы

9.3.11 Работу по восстановлению или усилению железобетонных конструкций выполняют с использованием металла разного сортамента, начиная от легкой арматуры и кончая крупными прокатными профилями, а также бетона высокого класса (выше В30) и полимерных составов. При проведении работ по восстановлению или усилению конструкций необходимо соблюдать рекомендации п. 9.2.20 настоящего Свода правил.

9.3.12 Разрушенный плоский участок стены, оболочки или перекрытия восстанавливают следующим образом (рисунок 9.19). Разрушенный участок разбирают до неповрежденного бетона, при этом не менее чем на 12 см обнажают концы имеющейся в конструкции арматуры и восстанавливают ее проектные характеристики с небольшим усилением (обычно от 5 % до 10 %), и далее осуществляют обетонирование бетоном класса на ступень выше, чем применялся ранее.

1 - поврежденный участок; 2 - новый бетон; 3 - восстановленная арматура

Рисунок 9.19 - Схема восстановления поврежденного плоского участка железобетонной конструкции

9.3.13 Восстановление или усиление элементов перекрытия (рисунок 9.20) и несущего каркаса здания выполняют с увеличением проектного сечения конструкции. Общая последовательность проведения работы заключается в следующем: удаляют бетон и восстанавливают арматуру на поврежденных участках конструкции; выполняется насечка поверхности бетона (или даже полное удаление защитного слоя) на всем усиливаемом элементе; затем элемент дополнительное армируется с установкой хомутов и распределительных стержней и бетонируется в опалубке или торкретируется. Такой способ является наиболее надежным, если устраиваемая железобетонная оболочка полностью охватывает проектное сечение элемента (рисунок 9.20, б, в).

а - усиление элементов плиты перекрытия; б - усиление балки с элементами перекрытия либо колонны, прислоненной к стене; в - укрепление ствола колонны; 1 - монолитная железобетонная плита усиления; 2 - балка с элементами перекрытия; 3 - железобетонная обойма; 4 - колонна

Рисунок 9.20 - Способ усиления железобетонной конструкции

9.3.14 Увеличение несущей способности железобетонной конструкции в большинстве случаев достигается усилением ее прокатным металлом. Это наиболее простой способ усиления. При этом поврежденный элемент укрепляют достаточно жесткой конструкцией из уголка, швеллера или другого профильного металла, соединенного с ним, что позволяет существенно уменьшить усилия в железобетоне (рисунок 9.21). Очень часто усиливаемый элемент просто охватывается металлическим бандажом, конструкция которого жестко присоединяется к железобетону и в последующем обетонируется либо покрывается защитным составом.

9.3.15 Дополнительный несущий элемент (рисунок 9.22) применяют для усиления главным образом балок перекрытия. При этом создается самостоятельная металлоконструкция, частично или полностью разгружающая железобетонный элемент. В качестве такой конструкции применяют балку, шпренгель, ферму, дополнительную стойку, раму и т.д.

Такую конструкцию включают в рабочее состояние путем подклинивания или натяжения винтовыми устройствами.

а - усиление участка гагаты перекрытия; б - усиление ригеля рамной конструкции; в - усиление железобетонной конструкции присоединенным к ней металлом; 1 - уголок; 2 - швеллер; 3 - хомуты; 4 - металлический корсет

Рисунок 9.21 - Вариант увеличения несущей способности железобетонной конструкции прокатным металлом

а - усиление с помощью балки; б - усиление шпренгельной конструкцией; в - усиление разгружающими рамами; 1 - клин; 2 - балка; 3 - шпренгель; 4 - разгружающая рама

Рисунок 9.22 - Усиление железобетонной конструкции самостоятельной металлоконструкцией

9.3.16 Все большее применение находят специальные клеящие средства вследствие того, что клеящие средства быстро твердеют, обладают высокой прочностью и адгезией (рисунок 9.23). При ремонте трещин клеевыми составами для их заполнения используют несложное оборудование и простые приспособления в виде герметизирующих лент и армирующих накладок (шпонок). Следует отметить, что в последнее время разработано большое число новых клеящих средств, однако в восстановительных работах следует использовать только апробированные средства, у которых должны сочетаться их характеристики по прочности и гарантированной долговечности.

а - усиление конструкции заполнением трещины и пустот эпоксидным клеем; б - усиление с использованием полимерных армированных шпонок; 1 - трещина; 2 - отверстие для штуцера; 3 - герметик; 4 - полимерные армированные шпонки

Рисунок 9.23 - Ремонт и усиление железобетонной конструкции с помощью клеящих средств

9.4 Усиление металлических конструкций каркасных зданий и сооружений

9.4.1 Усиление металлических конструкций осуществляют с соблюдением следующих правил:

а) стальные и алюминиевые конструкции вследствие высокой прочности материала и способности к развитию пластических деформаций отличаются повышенной надежностью и сейсмостойкостью. Естественно, эта характеристика относится к конструкциям и сооружениям, грамотно спроектированным и качественно выполненным в натуре. В противном случае разрушение при экстремальных нагрузках неизбежно.

Следует отметить, что при нарушении правил эксплуатации стальных конструкций повреждение и даже их разрушение подготавливается, причем довольно быстро, коррозией металла. В этом плане многие алюминиевые конструкции меньше подвержены коррозионному воздействию;

б) необходимо иметь в виду, что серьезные повреждения в металлоконструкции часто не бросаются в глаза и обнаружить их можно лишь путем осмотра с близкого расстояния. Особенно это относится к узлам и стыковым соединениям. Поэтому обследование металлоконструкций должно выполняться специалистами и с большой тщательностью, так как металл, как правило, используется в наиболее ответственных конструкциях, разрушение которых ведет к особо тяжелым последствиям. В зданиях и сооружениях - это несущий каркас и конструкции покрытия;

в) усиление и восстановление металлических конструкций в сейсмических районах должны выполняться по проекту, разработанному квалифицированными специалистами. Восстановительные работы в простейших случаях могут быть проведены путем воссоздания ранее существовавшей конструкции с использованием типовых решений восстановления и рекомендуемых способов усиления. Металлоконструкция перед восстановительными работами должна быть максимально разгружена.

Перед принятием решения о способе восстановления конструкции используемый металл должен быть проверен на свариваемость по химическому составу, и определены его прочностные характеристики. При несвариваемости металла следует предусматривать соединение элементов конструкции на болтах;

г) работы по восстановлению и усилению металлических конструкций, как правило, менее трудоемки, чем аналогичные работы для каменных и железобетонных объектов, но к их выполнению должны привлекаться опытные рабочие монтажники;

д) обгоревшие металлоконструкции к дальнейшей эксплуатации не допускаются, а металл после их демонтажа в строительстве не должен использоваться.

9.4.2 Металлические конструкции благодаря высокой прочности материала отличаются небольшими сечениями элементов и обычно сильно напряжены. Поэтому даже небольшие отклонения от проектных геометрических размеров и погнутость элементов недопустимы, так как создают дополнительные поля напряжений. Некачественный монтаж, в том числе мелкие ошибки в конструировании, ведут к образованию концентрации напряжений в определенных точках или зонах, а при сейсмическом воздействии влияние этих факторов усугубляется. Кроме того, следует иметь в виду, что при современной методике расчета в отдельных зонах или узлах материал металлоконструкций может работать на пределе расчетных характеристик по прочности.

9.4.3 Вследствие небольшого сечения элементов и высокого в них напряжения, наиболее опасным предельным состоянием в металлических конструкциях обычно является потеря устойчивости. Такой характер деформирования может иметь место как в масштабах конструкции в целом, так и в отдельном элементе, и в локальной зоне элемента или узла. Поэтому наиболее общим мероприятием при усилении металлоконструкции должны быть различные меры по повышению ее устойчивости.

9.4.4 В отличие от прочих конструкционных материалов, применяемых в строительстве, металл (сталь и алюминий) в одинаковой мере хорошо сопротивляется растяжению, сжатию и сдвигу. Металл способен к развитию значительных пластических деформаций, которые существенно повышают несущую способность грамотно спроектированной конструкции, в частности, при сейсмическом воздействии. Эти деформации способствуют релаксации высоких напряжений и перераспределению усилий в статически неопределимых системах и зонах, в том числе в узлах ферм и рам. Следует также отметить, что пластические деформации уменьшают устойчивость сильно сжатых элементов.

9.4.5 В узлах и стыках конструкции существует обычно сложное напряженное состояние. При нарушении технологии сварки здесь, помимо нежелательной концентрации термических напряжений, могут возникнуть зоны с хрупким состоянием металла и, как следствие, хрупкое разрушение, например, стыка.

Хрупкому разрушению обычной стали способствует также низкая температура, поэтому в северных районах необходимо применять металл специальных марок.

9.4.6 Как правило, наибольшие напряжения концентрируются в поверхностном слое элементов металлоконструкции. Поэтому даже поверхностные их повреждения недопустимы, а в эксплуатационном состоянии конструкции должны быть надежно защищены от коррозии.

9.4.7 Сталь является хорошим конструкционным материалом и, кроме того, в инженерной практике накоплен большой опыт проектирования и эксплуатации металлических конструкций. Тем не менее, аварии случаются и с ними, так как конструкции из металла, в отличие от железобетонных и каменных, проектируются, как правило, статически определимыми. Поэтому у них сравнительно скромный резерв в перераспределении усилий, например, локальные повреждения (выход из строя одного из элементов или одной связи) влекут за собою потерю несущей способности всей конструкции, а если она является основным несущим элементом здания и сооружения, то может разрушиться и весь объект. Необходимо также напомнить и о низком нормативном «коэффициенте запаса» в современных металлоконструкциях, который принят таким ввиду сравнительно высокой однородности этого строительного материала.

9.4.8 Основные причины, приводящие к разрушению металлоконструкций, - это дефекты монтажа или изготовления, использование металла с характеристиками ниже проектных значений, ошибки проекта и, главным образом, неполный учет возможных нагрузок и недостаточная система конструктивных связей. Например, 60 % аварий происходит во время строительства, когда не все элементы конструкции собраны и замкнуты в стыках и узлах.

Статистика следующим образом оценивает факторы (непосредственные причины), вызвавшие разрушение металлоконструкций:

потеря устойчивости - 41 %;

разрушение сварного соединения - 23,8 %;

разрушение по основному металлу - 22,2 %;

другие причины - 13 %.

При землетрясении металлоконструкции ведут себя, как правило, надежно. В случае обрушения конструкции, рассчитанной на реальное сейсмическое воздействие, следует причиной этого события рассматривать не землетрясение, а дефекты конструирования или монтажа.

9.4.9 Понятие потери устойчивости очень разнообразно, но основной причиной является недостаточная жесткость сжатого элемента конструкции в плоскости, перпендикулярной действующему усилию. В результате этого происходит не предусмотренная расчетом деформация элемента, увеличиваются краевые напряжения, процесс деформации развивается, в результате чего элемент выключается из работы или разрушается. На рисунке 9.24 показана местная потеря устойчивости в виде смятия стенки цилиндрической колонны каркаса здания с образованием гофра на стенке оболочки от изгибающего момента, превышающего предельное значение момента сопротивления сечения колонны, а также показана потеря формы поперечного сечения двутавровой балки при действии на нее сосредоточенной силы без местного усиления полки двутавра, предусмотренного нормами.

а - смятие цилиндрической оболочки (трубы); б - деформация двутавровой балки от сосредоточенной нагрузки; в - изгиб колонны под нагрузкой

Рисунок 9.24 - Местная потеря устойчивости металлической конструкции от чрезмерного изгибающего момента

9.4.10 При недостаточной жесткости сжимаемой конструкции или первоначальной ее деформации (например, стойки), возникшей при перевозке или во время выполнения монтажных работ, происходит потеря ее устойчивости из плоскости (рисунок 9.24). Чтобы избежать при сейсмическом воздействии подобного развития событий, конструкция должна быть рассчитана на продольный изгиб с учетом ее гибкости при определении соответствующей критической силы.

Аналогичный процесс при сейсмическом воздействии может происходить в металлических конструкциях покрытия. На рисунке 9.25 показана потеря общей устойчивости элементов фермы в большепролетном покрытии, где деформация фермы из своей плоскости вызвана недостаточной прочностью поперечных связей или нарушениями, допущенными при монтаже покрытия.

а - фронтальный вид раскосной фермы; б - расположение ферм в плане со схемой потери устойчивости формы одной фермы из ее плоскости; 1 - вертикальные связи; 2 - фермы; 3 - форма потери

Рисунок 9.25 - Потеря общей устойчивости фермы в составе покрытия

9.4.11 Разрушение сварных швов происходит или непосредственно по шву в результате его среза, или по основному металлу конструкции в зоне шва вследствие возникновения концентрации напряжений, вызванных сваркой или хрупкостью металла. Такие дефекты, как правило, являются результатом неправильной технологии сварочных работ, применения неподходящей к конкретным условиям марки электродов или низкой квалификации сварщиков.

Разрушение по металлу как первопричина обрушения конструкции возникает в результате ее изготовления (даже отдельной ее части) из металла непрокатной марки или вследствие ошибки в расчете.

9.4.12 В отношении стальных конструкций понятие «восстановление» применимо лишь в небольшой мере, так как в основном это касается вспомогательных связей. Металлоконструкцию можно усилить, заменить новой, но восстанавливать разрушившийся элемент, как это делается обычно в каменной стене или в железобетонной конструкции, приходится редко, так как после разрушения даже одного стыка или элемента основной несущей конструкции, как правило, следует общее обрушение. Поэтому в настоящем пункте и в пп. 9.4.13 - 9.4.18 рассматриваются только способы усиления. Что же касается восстановления отдельных разрушившихся элементов, если в целом конструкция сохранилась, то она просто приводится в первоначальное проектное состояние, возможно с некоторым усилением.

9.4.13 Для уменьшения усилий в наиболее нагруженных или поврежденных элементах в существующую конструкцию вводят дополнительные несущие элементы. На рисунке 9.26, а показано подведение дополнительных балок, предназначенных для разгрузки существующих балок, а на рисунке 9.26, б показана схема устройства напрягаемой затяжки для уменьшения изгибающего момента в пролете балки.

Для разгрузки колонны каркаса при отсутствии домкратов используют способ подведения дополнительных преднапряженных стоек, которые состоят из вложенных одна в другую двух труб, сваренных по концам. Трубы должны быть сварены тогда, когда температура специально нагреваемой наружной трубы достигнет (400 - 500) °С, а потому после остывания внутренняя труба оказывается сжатой. Установив и раскрепив такую преднапряженную стойку, наружную трубу разрезают по окружности возле нижнего шва, после чего внутренняя труба, упертая в ригель, расширяясь, разгружает колонну. Затем наружная труба по разрезанному поясу сваривается накладками и также включается в работу. Такая процедура может быть выполнена также с помощью обычной стойки и домкрата. Во всех случаях должны быть предусмотрены страховочные мероприятия.

а - усиление с помощью дополнительных балок; б - усиление балки с помощью напрягаемой затяжки; в - схема подведения дополнительных преднапряженных стоек для разгрузки каркаса; г - усиление фермы введением дополнительных элементов в решетку; 1 - дополнительные разгружающие балки; 2 - талреп; 3 - дополнительные элементы решетки; 4 - сварка; 5 - преднапряженные стойки; 6 - крепления при монтаже; 7 - разрезка после установки стойки; 8 - внутренняя сжатая труба

Рисунок 9.26 - Схема введения дополнительных несущих элементов в усиливаемую конструкцию

На рисунке 9.26, г показано усиление фермы, повышающее несущую способность верхнего пояса в одном случае и опорного участка - в другом.

9.4.14 Усиление металлических конструкций часто выполняют установкой дополнительных связей, ребер, диафрагм, распорок и т.п. и применяют для восстановления или усиления пространственной системы большепролетных несущих металлоконструкций. Главное его предназначение - это дополнительное увеличение жесткости и устойчивости отдельных плоских конструкций и элементов, не связанных между собой, и объединение их в единую трехмерную систему. Установка дополнительных связей также способствует лучшему распределению усилий между плоскими несущими конструкциями, составляющими пространственную систему. Например, на рисунке 9.27, а показаны дополнительные ребра, повышающие устойчивость стенки сварной двутавровой балки. На рисунке 9.27, б приведена схема установки дополнительных вертикальных связей между фермами покрытия. Для увеличения общей жесткости покрытия в плоскости нижнего пояса ферм на рисунке 9.27, в показана схема устройства дополнительных связей.

9.4.15 При повреждении стыков, изменении конструктивной схемы, увеличении нагрузки на конструкцию и т.п. применяют усиление соединений элементов. Усиление соединений может осуществляться путем сварки или использования высокопрочных болтов, что во многих случаях предпочтительнее. На рисунке 9.28, а показано усиление двумя металлическими полосами сварного таврового профиля, изготовленного из листовых элементов. На схеме рисунка 9.28, б приведен вариант усиления стыка прокатных двутавровых балок с помощью накладок, приваренных к полкам и стенкам двутавра, а на рисунке 9.28, в показан способ усиления узла сварной фермы путем наращивания узловой фасонки для возможности увеличения длины сварных швов и соответственно увеличения жесткости узла.

9.4.16 Если необходимо повысить общую несущую способность конструкции широко применяют при восстановительных работах усиление сечения элементов. При этом должны соблюдаться следующие основные правила:

а) усиление сечения конструкции не должно нарушать ее центровку;

б) в растянутых элементах усиление должно быть доведено до узлов крепления;

в) усиление изгибаемых элементов достаточно выполнить на участках, перекрывающих участок максимальных моментов, при этом сварку по присоединению усиливающих элементов следует начинать с растянутой зоны;

г) внецентренно сжатые элементы должны быть усилены так, чтобы уменьшался эксцентриситет рабочего сечения;

д) варианты усиления сечения должны выбираться из соображений удобства ведения работ и технологичности сварки.

а - увеличение пространственной жесткости балки усиливающими ребрами; б - усиление ферм покрытия диагональными стяжками; в - схема усиления перекрытия полосами диагональных связей между фермами для увеличения горизонтальной жесткости; 1 - дополнительные ребра жесткости; 2 - дополнительные связи; 3 - фермы

Рисунок 9.27 - Усиление конструкции добавлением элемента жесткости и связи

а - усиление таврового стыка листовыми элементами; б - усиление стыка двутавровых балок накладками из листового металла; в - усиление узла сварной фермы путем наращивания фасонки; 1 - усиливаемое соединение; 2 - элементы усиления; 3 - усиливающие накладки

Рисунок 9.28 - Усиление стыка и соединительных элементов

Примеры усиления сжатых и изгибаемых элементов приведены на рисунке 9.29. Для ускоренного усиления металлического элемента, а также при отсутствии металла или сварочного оборудования используют деревянные брусья, которые жестко крепят хомутами или болтами, обеспечивающими их совместную работу. Усиление швеллерной балки возможно осуществить ее обетонированием с дополняющим арматурным каркасом, прикрепленным к балке; усиление элементов верхнего пояса металлической фермы несложно выполнить размещением между уголками сплошной полосы, которую соединяют прерывистой сваркой с двух сторон; при необходимости можно усилить выборочно элементы фермы при недостаточном восприятии ими сейсмических и других нагрузок.

9.4.17 Изменение конструктивной схемы является наиболее радикальным способом увеличения несущей способности существующей конструкции. Это усиление связано с введением дополнительных несущих элементов и, как следствие, с изменением напряженного состояния основных частей конструкции.

На схемах рисунка 9.30 приведены простейшие примеры изменения первоначального проектного решения: введение подкосов изменяет характер напряжений в ригелях и стойках рамной конструкции; устройство шпренгеля позволяет эффективно уменьшить пролетный момент в балке, а создаваемое при этом осевое обжатие балки практически не существенно; установка опорной стойки в пролете фермы позволяет значительно уменьшать напряжения в ее поясах и качественно изменять работу решетки (однако в последнем случае возникает необходимость усиления некоторых узлов и элементов).

Усиление конструкции с изменением схемы ее работы требует серьезного расчетного анализа. Тем не менее, этот способ отличается рядом достоинств, основные из которых следующие:

- имеется возможность усилить всю конструкцию в целом;

- возникает возможность регулировать усилия в элементах конструкции и достичь наиболее благоприятного их распределения;

- можно использовать такое эффективное средство, как преднапряжение части или всей конструкции;

- способ применим при наличии в конструкции значительных остаточных деформаций, когда другие способы не могут привести к искомой цели;

- во многих случаях не требуется разгрузка усиливаемой конструкции;

- экономичность рассматриваемого метода усиления - сравнительно небольшая трудоемкость и малый расход материалов.

a - усиление металлического элемента деревянными брусьями; б - увеличение несущей способности швеллерной балки обетонированием (приведена схема армирования); в - усиление верхнего пояса и решетки фермы добавлением сплошной полосы между уголками; г - схема раскосной фермы с обозначением усиливаемых элементов стальными полосами или уголками; 1 - усиление стержней фермы полосовым металлом; 2 - усиливаемые стержни

Рисунок 9.29 - Усиление конструкции посредством увеличения сечения основного несущего элемента

a - введение дополнительных подкосов в рамный каркас; б - добавление шпренгеля в балочную конструкцию; в - введение дополнительной стойки в пролете фермы с усилением опорного узла и подкосов (раскосов); 1 - введены подкосы; 2 - введен шпренгель; 3 - подведена колонна

Рисунок 9.30 - Усиление конструкции путем изменения первоначальной конструктивной схемы

9.4.18 При восстановлении или усилении металлических конструкций необходимо соблюдать следующие правила:

а) проект усиления должен выполняться специализированной (по металлоконструкциям) проектной организацией и должен включать раздел по технологии производства работ;

б) основанием для проектирования усиления металлоконструкции служат материалы натурных обследований, включающие дефектную ведомость со схемами повреждений и предварительные оценки состояния несущих элементов объекта;

в) обследование (освидетельствование) конструкции начинается с изучения имеющейся проектной документации и материалов по ее эксплуатации.

При натурных обследованиях тщательно измеряется каждый элемент конструкции. Сварные швы и прилегающая к ним зона металла осматривается с помощью лупы, причем эта зона на ширину до 20 мм должна быть расчищена от краски и ржавчины до металлического блеска. Высота сварного шва устанавливается с помощью специального шаблона (калибра);

г) работу по усилению следует выполнять при отсутствии временных нагрузок и при наружной температуре не ниже минус 15 °С для обычной стали и не ниже минус 5 °С для стали кипящей плавки.

Во всех случаях при усилении сварных конструкций под нагрузкой температура металла не должна быть ниже порога хладноломкости;

д) при усилении швов наплавкой напряжение в усиливаемом элементе не должно превышать 0,8 расчетного сопротивления стали, а с поверхности шва обязательно механическим способом должны быть удалены все дефекты;

е) запрещается применять комбинированные соединения, в которых часть усилий воспринимается заклепками и болтами, а часть - сварными швами.

9.5 Восстановление и усиление крупнопанельных зданий и сооружений

9.5.1 Основные повреждения крупнопанельных зданий при землетрясении:

- крестообразные трещины в панелях наружных и внутренних стен;

- местные трещины и обнажение арматуры в местах стыковых соединений панелей между собой и с элементами перекрытий;

- трещины и местные повреждения в простенках и в углах дверных и оконных проемов с обнажением арматурного каркаса;

- отрыв наружных панелей от прилегающих к ним поперечных стен;

- повреждения анкерных устройств в системах комплексного предварительно напряженного армирования вертикальных и горизонтальных стыков здания.

Здания и сооружения из крупнопанельных конструкций, спроектированные по требованиям СНиП II-7, хорошо выдерживают расчетное сейсмическое воздействие. При этом возможно образование небольших трещин и мелких повреждений, не нарушающих несущую способность объекта.

При превышении землетрясением расчетного значения сейсмического воздействия наиболее повреждаемыми местами в крупнопанельных зданиях являются стыковые соединения в местах примыкания наружных стеновых панелей к панелям внутренних стен, соединения внутренних стеновых панелей между собой, наружных и внутренних панелей с плитами перекрытия и плит перекрытия друг с другом. При этом в конструкциях панелей образуются многочисленные трещины, исходящие от поврежденных участков стыковых соединений и из углов, образованных оконными и дверными проемами.

9.5.2 Мелкие трещины в панелях, вызванные расчетным землетрясением, ликвидируют зачеканкой или затиркой цементным или полимерным раствором с прочностными характеристиками на 20 % больше прочности бетона несущих элементов панели.

9.5.3 Панели с трещинами в несущих конструкциях панелей, образовавшиеся в результате воздействия землетрясения интенсивностью менее расчетного значения, свидетельствуют о недостаточной прочности конструкции. Поэтому такие конструкции должны быть демонтированы или усилены одним из следующих способов:

- устройством внешнего металлического каркаса, работающего совместно с конструкциями здания;

- усилением поврежденных панелей арматурными сетками с покрытием слоем торкретбетона.

9.5.4 Выколы и местные повреждения восстанавливают и усиливают в каждом конкретном случае индивидуально, приваривая к арматурному каркасу выпуски из профильного металла и арматуры с последующим обетонированием поврежденного участка бетоном класса не менее установленного проектом значения в восстанавливаемой конструкции.

9.5.5 Оторвавшиеся от поперечных стен наружные панели стягиваются тяжами, пропущенными насквозь через все здание, или укороченными стяжками с упорами на торцы внутренних проемов поперечных стен (см. рисунок 9.12).

9.5.6 При недостаточной прочности соединений панелей между собой усиление объекта можно осуществить с помощью шпоночных соединений (см. рисунок 9.23, б) следующим образом:

- установкой металлических скоб из арматурной стали диаметром 8 - 12 мм в специально прорезанные в двух смежных панелях пазы, шириной 2 - 3 см и глубиной, достигающей поверхности рабочей арматуры панели; скоба устанавливается с петлеобразным охватом рабочей арматуры панели (при необходимости, соединение скобы с арматурой осуществляют с помощью электросварки); установленная скоба зачеканивается бетоном или раствором с прочностью, равной прочности бетона панели;

- устройством полимерных шпонок в пазах, прорезанных в бетоне панели до рабочей арматуры; полимерные составы в шпонках должны хорошо соединяться с бетоном панели и иметь прочностные характеристики, необходимые для восприятия изгибающих и скалывающих усилий, возникающих в панелях при землетрясении.

9.5.7 Повреждение элементов в системе предварительного напряженного армирования панельного здания восстанавливают ремонтом или усилением, если есть необходимость, всех ослабленных участков, используя конструктивные решения и способы производства работ в зависимости от типа повреждения.

9.6 Восстановление и усиление деревянных зданий и конструкций

9.6.1 Деревянные здания обладают следующими качествами:

а) хорошо воспринимают сейсмические нагрузки ввиду их относительной легкости, а также упругой податливости материала и узловых соединений несущих конструкций при кратковременных динамических нагрузках;

б) здания и сооружения из дерева в сейсмических районах обычно строят (с учетом механических свойств древесины) высотой до трех этажей. Отдельные культовые здания, например кафедральный собор в г. Алма-Ате, в котором ряд несущих конструкций усилен металлическими стяжками для восприятия растягивающих и скалывающих напряжений, достигают высоты 24 м;

в) при выполнении требований СНиП II-25 по подбору необходимого качества древесины для конкретных условий эксплуатации объекта и обеспечения требований по проектированию сейсмостойких конструкций деревянные здания и сооружения могут быть долговечными и надежными, выдерживающими землетрясения до 9 баллов включительно, что подтверждается материалами обследования последствий землетрясений интенсивностью 8 - 10 баллов в Прибайкалье и 9 баллов в г. Алма-Ате.

9.6.2 Деревянные здания высотой в один-два этажа, построенные в виде деревянного сруба (четырех-, пяти- или шестистенного) из бревен и бруса, выдерживают землетрясения интенсивностью 7 - 8 баллов без существенных повреждений несущих конструкций, а при землетрясениях в 9 баллов отмечается смещение с каменного фундамента незаанкеренных нижних венцов, а также взаимное перемещение отдельных рядов незакрепленных бревен (брусов) по отношению друг к другу.

9.6.3 Деревянные каркасные здания (с подкосами и двухсторонней обшивкой с легким несгораемым утеплителем) при землетрясении интенсивностью 7 баллов не получают повреждение, при восьмибалльных землетрясениях отмечаются повреждения в узлах деревянного каркаса и в местах свободного опирания балок перекрытия на рамы каркаса, а при 9-балльном землетрясении разрушаются ослабленные врубками узлы рамно-связевого каркаса.

9.6.4 Конструкции из дерева (фермы, каркасы) в комплексных зданиях и сооружениях повреждаются в узлах, стыках и в перегруженных элементах, однако их обрушение при расчетном сейсмическом воздействии в основном не наблюдается.

9.6.5 Каменные печи, особенно их дымовые трубы, в деревянных зданиях, как правило, получают повреждения уже при землетрясении интенсивностью в 7 баллов, так как кладка кирпичной печи, обычно выполняемая на глиняном растворе, не выдерживает горизонтального сейсмического воздействия, а печная труба, представляющая собой свободно стоящий кирпичный столб, ослабленный дымоходом, и на слабом связующем растворе, не может выдержать сейсмические колебания без повреждения.

9.6.6 Обрушенные элементы кирпичной трубы часто разрушают кровлю и деревянную обшивку крыши.

9.6.7 Восстановление конструкций деревянных зданий заключается в разборке поврежденного элемента и его замене на равнозначный или более прочный.

9.6.8 Смещенные с фундамента венцы бревенчатого или брусчатого здания возвращают на прежнее место домкратами либо тросами, натяжение в которых создается лебедками или усилием достаточно мощного строительного механизма. Установленные в проектное положение венцы стен закрепляют по углам здания к фундаменту анкерными креплениями в виде металлических стержней диаметром 16 - 18 мм.

9.6.9 Усиление бревенчатых (брусчатых) и каркасных зданий выполняют дополнительной обшивкой наружной поверхности стен шпунтованными досками (вагонкой) под углом к оси венцов бревенчатых зданий или к направлению досок первоначальной обшивки каркасных зданий.

9.6.10 Если осуществляется переборка венцов бревенчатых (брусчатых) зданий, то в качестве усиления стен рекомендуется осуществить дополнительное взаимное крепление венцов через 1 - 1,5 м с помощью шпонок диаметром 15 - 20 мм из твердых сортов дерева или металлических штырей диаметром 6 - 8 мм, входящих в нижележащее бревно (брус) не менее чем на 50 мм, или сделать в нижней части бревна продольные углубления, именуемые «чашками» (рисунок 9.31).

а - соединение углов «в обло» с чашками в нижних бревнах; б - то же, в верхних бревнах; в - соединение «в лапу» с чашками в нижних бревнах; г - схема размещения шпонок, крепящих деревянные бревенчатые или брусчатые венцы, и анкерное крепление нижнего венца с фундаментом; 1 - шпонки для соединения венцов между собой; 2 - анкерные крепления нижнего венца с фундаментом; 3 - нижний венец; 4 - фундамент

Рисунок 9.31 - Схема узловых соединений в бревенчатом (брусчатом) здании и размещение шпоночных соединений и анкерных креплений

9.6.11 Усиление отдельных поврежденных конструкций осуществляют их заменой на более прочные элементы или их укреплением, например, металлом наподобие варианта, представленного на рисунке 9.32. Усиление поврежденных стыков рекомендуется выполнять в виде металлических башмаков и обойм, исключающих скалывающие деформации.

а, б - возможные варианты усиления

Рисунок 9.32 - Усиление стальными тяжами разорванной землетрясением деревянной стойки

9.6.12 Каменные печи и дымовые трубы усиливают металлическим каркасом из уголков. В уровне этажей усиливаемый каркас крепят к конструкциям перекрытия и покрытия через огнеупорный изоляционный материал (стеклоткань, минераловатную плиту, асбестовый лист и др.).

9.7 Восстановление и усиление инженерных коммуникаций

9.7.1 Инженерные сооружения при землетрясении получают следующие повреждения:

а) при сохранности несущих конструкций здания или сооружения во время расчетного землетрясения водопроводные и теплофикационные системы, выполненные из металлических труб диаметром 25 - 75 мм, получают незначительные повреждения. Инженерные коммуникации повреждаются, начиная с землетрясения интенсивностью в 8 баллов и более;

б) существенные повреждения металлических трубопроводных систем в зданиях и сооружениях отмечаются при разрушениях несущих конструкций, а также в случае ненадежного крепления труб коммуникаций к этим конструкциям или при отсутствии упругих прокладок в крепежных устройствах;

в) требование сохранения при землетрясении наружных коммуникаций возле здания и сооружения в основном объясняется деформативными свойствами грунта основания и обеспечивается конструктивным решением ввода труб в цокольную часть объекта.

9.7.2 Восстановление и усиление водопроводных, теплофикационных и канализационных сетей выполняют в соответствии с состоянием несущих конструкций здания и сооружения. Целесообразно все внутренние магистрали и стояки в здании и сооружении сосредотачивать в местах, соответствующих требованиям настоящего Свода правил.

9.7.3 Все поврежденные участки трубопроводов заменяют на новые или исправные. Узловые соединения и углы поворотов должны быть надежно закреплены к несущим конструкциям здания или сооружения. Крепежные устройства трубопроводов должны иметь упругие прокладки.

9.7.4 Во всех вводах трубопроводов в здание или сооружение необходимо устраивать упругие внешние оболочки с толщиной стенки 2 - 4 см, исключающие жесткое соприкосновение труб с несущими и ограждающими конструкциями.

9.7.5 При замене труб следует отдавать предпочтение легким и прочным конструкциям из металла, устраивая, по мере возможности, гибкие стыковые соединения.

9.7.6 Поврежденные стенки и днища смотровых колодцев должны быть восстановлены и усилены в соответствии с конкретной обстановкой арматурными сетками и бетоном более высокой прочности.

9.7.7 На участках с деформациями грунта по трассе трубопроводных коммуникаций грунт основания должен быть закреплен одним из известных способов в соответствии с его фактическим состоянием (просадочность, разжижение, неуплотненнось и т.п.) на глубину, гарантирующую устойчивость системы «трубопровод - грунтовая среда».

ПРИЛОЖЕНИЕ А

(справочное)

ТЕРМИНЫ И ОПРЕДЕЛЕНИЯ

Приводимые термины и определения используются при проектировании конструкций сейсмостойких зданий и сооружений на территории Российской Федерации

Термин

Определение

Антисейсмический пояс

- железобетонная обвязка по каменным стенам, объединяющая их в пространственную конструкцию, способствующую совместной работе стен и перекрытий при сейсмическом воздействии

Виброразжижение грунта

- потеря несущей способности мелкодисперсных песчаных грунтов вследствие резкого увеличения порового давления при динамических воздействиях

Гипоцентр землетрясения

- положение очага землетрясения в земной коре на глубине h

Землетрясение (тектоническое)

- колебания земной поверхности в результате прохождения сейсмических волн

Интенсивность землетрясения (сейсмическая интенсивность)

- мера величины движений грунта при прохождении сейсмических волн, определяемая степенью разрушения строительных объектов, характером изменений земной поверхности и реакцией людей, испытавших землетрясение. Измеряется в баллах макросейсмической шкалы интенсивности, а также в ускорениях, скоростях, смещениях и других единицах, характеризующих сейсмические воздействия, и зависит не только от величины магнитуды, но и от расстояния до очага землетрясения, от грунтовых условий и от других факторов

Коэффициент надежности по материалу γm

- учитывает возможное неблагоприятное отклонение характеристик материала от их нормативных значений

Коэффициент надежности по нагрузке γf

- учитывает возможный разброс нагрузок и воздействий

Коэффициент надежности по ответственности γn

- учитывает ответственность зданий и сооружений, характеризуемых экономическими, социальными и/или экологическими последствиями их отказов

Коэффициент сочетаний γψ

- учитывает вероятность одновременного достижения несколькими видами нагрузок их расчетных значений в определенный момент времени

Коэффициент условий работы γd

- учитывает возможные отклонения принятой расчетной модели от реальных условий работы элементов конструкций, а также изменения свойств материалов под влиянием среды (коррозия, биологические воздействия и др.), не учитываемые непосредственно в расчетах

Кратковременные нагрузки и воздействия

- нагрузки, длительность действия которых в расчетных значениях существенно меньше срока эксплуатации объекта

Особые нагрузки

- временные нагрузки и воздействия, возникающие в исключительных ситуациях, вероятность возникновения которых чрезвычайно мала, но последствия могут быть катастрофическими (сейсмические воздействия, нагрузки от взрыва и пожаров, воздействия от просадок грунта и т.п.)

Период колебаний

- интервал времени, за который колеблющаяся система совершает один цикл перемещения, заканчивающийся ее возвращением в исходное состояние

Расчетная схема

- идеализированная конструктивная схема объекта, используемая в расчетах

Расчетные значения нагрузок

- значения, получаемые путем умножения нормативного значения на соответствующий коэффициент надежности по нагрузке у

Расчетные значения прочности материалов

- значения, получаемые путем деления нормативного значения на коэффициент надежности по материалу γm

Сейсмическое воздействие

- тип динамического воздействия, возникающего в конструкциях зданий и сооружений в связи с движением основания объекта во время землетрясений

Сейсмическая реакция

- параметры колебательного движения объекта при землетрясении (ускорения, скорости, перемещения и др.)

Сейсмостойкость здания/сооружения

- способность объекта выполнять предназначенные функции после действия землетрясения расчетной интенсивности и повторяемости (отсутствие остановки производства и травматизма людей, предотвращение нежелательных экологических последствий и т.д.)

Срок службы объекта

- предполагаемый период использования (эксплуатации) при должном обслуживании

Фоновая сейсмичность (сейсмичность района строительства)

- интенсивность землетрясения, устанавливаемая для сейсмоопасной территории по картам общего сейсмического районирования, для грунтов II категории - по сейсмическим свойствам

Эпицентр землетрясения

- проекция очага землетрясения на земной поверхности

ПРИЛОЖЕНИЕ Б

(рекомендуемое)

ОПРЕДЕЛЕНИЕ ПАРАМЕТРОВ СЕЙСМИЧЕСКОГО ВОЗДЕЙСТВИЯ

Б.1 Коэффициенты пространственных форм колебаний ηjik и  следует определять по формулам

ηjik = Xjikηi;                                                                    (Б.1)

                                                                 (Б.2)

где Xjik и αjik - перемещения и углы поворота k (k = 1, 2, ..., n) узла РДМ по j-му направлению (j = 1, 2, 3) при i-й форме колебаний (рисунок Б.1, б);

     (Б.3)

где Еjmn - символы, определяющие расстановку компонент следующим образом:

при j = 1 m = 2, n = 3;

j = 2 m = 3, n = 1;

j = 3 т = 1, n = 2.

xjp - координаты р узла в осях основания сооружения (j = 1, 2, 3; р = 1, 2, ..., n), рисунок Б.1;

χ1 - коэффициент, учитывающий спектр длин сейсмических волн, на которые выполняется расчет, определяют по п. Б.2;

χ2 - коэффициент, учитывающий спектр ротационных ускорений грунта в основании сооружения, определяют по п. Б.3;

w - относительная интенсивность угловых ускорений ротации сейсмического движения грунта в основании сооружения, определяемая по п. Б.4;

 и  - направляющие косинусы векторов ускорения поступательного движения и вращения (j = 1, 2, 3) грунтового основания (рисунок Б.1, б), удовлетворяющие следующим условиям:

 и                                                (Б.4)

a - состояние покоя; б - i-я форма колебаний

Рисунок Б.1 - Пространственная расчетная динамическая модель сооружения

Б.2 Значение коэффициента χ1, учитывающего спектр длин сейсмических волн, на которые выполняют расчет, зависит от расстояния до эпицентра землетрясения R, категории грунта по сейсмическим свойствам, а также от размеров сооружения в плане. При отсутствии данных о расстоянии до эпицентра землетрясения и спектре прогнозируемых сейсмических волн значение коэффициента χ1 определяют по графикам рисунка Б.2 или формулам таблицы Б.1.

В - наименьший размер сооружения в плане

Рисунок Б.2 - Графики нормированных функций χ1(B)

Таблица Б.1

Категория грунта по сейсмическим свойствам

Участок графика (параллельный размер сооружения в плане В, м)

Значение χ1 или формула для участка

I

От  0   до    25

1,0

  »  25   »    100

II

  »   0    »     25

1,0

  »  25   »    100

III

  »   0    »     25

1,0

  »  25   »    100

Б.3 Значение коэффициента χ2, учитывающего спектр ротационных ускорений грунта в основании сооружения, зависит от тех же параметров, что и χ1, и дополнительно от размеров сооружения в плане. Коэффициент χ2 имеет тот же физический смысл, что и χ1, но для ротационных характеристик сейсмического движения грунта. При отсутствии данных о прогнозируемом землетрясении значение коэффициента χ2 определяют по графикам рисунка Б.3 или формулам таблицы Б.2.

В - наименьший размер сооружения в плане

Рисунок Б.3 - Графики нормированных функций χ2(B)

Таблица Б.2

Категория грунта по сейсмическим свойствам

Участок графика (параллельный размер сооружения в плане В, м)

Значение χ2 или формула для участка

I

От  0   до    25

0,04B

  »  25   »    100

II

  »   0    »     25

0,04B

  »  25   »    100

III

  »   0    »     25

0,04B

  »  25   »    100

Б.4 Значение относительной интенсивности угловых ускорений ротации движения грунта в основании сооружения w зависит от спектра длин ротационных сейсмических волн, расстояния до эпицентра землетрясения R и категории грунта по сейсмическим свойствам. В зависимости от этих параметров значение w вычисляют по специальным алгоритмам. При отсутствии этих данных о прогнозируемом землетрясении значение w следует принимать 2 · 10-2, 6 · 10-2, 9 · 10-2 м-1 для грунта I, II и III категорий соответственно по таблице 1 СНиП II-7.

Б.5 Направляющие косинусы  и определяют ориентацию векторов сейсмического воздействия  и  в пространстве.

Расчетными принимают значения  и , реализующие максимум динамической реакции по рассматриваемой форме колебаний - наиболее опасные направления воздействия для рассматриваемой формы колебаний или конкретной конструкции сооружения.

Проверочными принимают значения  и , наиболее вероятные для заданной площадки строительства по материалам анализа сейсмологической обстановки.

 

Ключевые слова: проектирование жилых зданий, проектирование общественных зданий и сооружений, сейсмичность района, сейсмичность площадки, сейсмическая нагрузка

 

 



© 2013 Ёшкин Кот :-)