ГОССТРОЙ УССР
КАРТЫ ОРГАНИЗАЦИИ ТРУДА
И ТРУДОВЫХ ПРОЦЕССОВ
СТРОИТЕЛЬНОГО
ПРОИЗВОДСТВА
УСТРОЙСТВО АСФАЛЬТОБЕТОННОЙ ДОРОЖНОЙ ОДЕЖДЫ
УСТРОЙСТВО ЩЕБЕНОЧНОГО ОСНОВАНИЯ СПОСОБОМ ПОЛУПРОПИТКИ
КТ-17.0-2.7-75

Комплект карт предназначен для организации труда бригад,
занятых на устройстве асфальтобетонных покрытий на автомобильных дорогах III технической категории.
Карты организации труда определяют рациональный состав
бригады, характер и последовательность выполнения работ отдельными членами бригады и звеньями.
Карты трудовых процессов разработаны на основные виды работ
при устройстве асфальтобетонных покрытий дорог и учитывают разные уровни
индустриализации строительного производства. Они могут быть использованы при
разработке карт организации труда и ППР для различных объектов, при обучении
рабочих передовым методам и приемам труда.
Карты организации труда и трудовых процессов являются составной частью
инженерно-технологической и организационной подготовки нового производственного
года и основой для массового перехода бригад на новую форму хозяйственного
расчета (бригадный подряд).
Карты трудовых процессов разработаны в соответствии с
«Методическими указаниями по составлению карт трудовых процессов строительного
производства», изданными ВНИПИ труда в строительстве Госстроя СССР (1973 г.), а
карты организации труда - в соответствии с «Методическими рекомендациями по
разработке карт организации труда на специальные виды строительно-монтажных
работ» (НИИСП Госстроя УССР, 1974 г.).
Авторы: С.С. Кищинский, И.М. Кравченко,
Е.П. Середов (трест «Оргдорстрой» Миндорстроя УССР), С.Н. Бытачевский, Т.И. Лозовая, И.М. Тищенко (НИИСП Госстроя УССР).
КТ-17.0-2.7-75
|
УСТРОЙСТВО АСФАЛЬТОБЕТОННОЙ
ДОРОЖНОЙ ОДЕЖДЫ
|
РАЗРАБОТАНА ТРЕСТОМ «ОРГДОРСТРОЙ» МИНДОРСТРОЯ УССР
|
КАРТА ТРУДОВОГО ПРОЦЕССА СТРОИТЕЛЬНОГО ПРОИЗВОДСТВА
|
УСТРОЙСТВО ЩЕБЕНОЧНОГО ОСНОВАНИЯ СПОСОБОМ ПОЛУПРОПИТКИ
|
РЕКОМЕНДОВАНА НИИСП ГОССТРОЯ УССР ДЛЯ ВНЕДРЕНИЯ В
ДОРОЖНО-СТРОИТЕЛЬНОЕ ПРОИЗВОДСТВО
|
ВХОДИТ В КОМПЛЕКТ КТП-17.0-2
|
ВЗАМЕН КТ-0.0
|
I. НАЗНАЧЕНИЕ И ЭФФЕКТИВНОСТЬ ПРИМЕНЕНИЯ
КАРТЫ
1.1. Карта предназначена для организации труда рабочих при
устройстве щебеночного основания способом полупропитки (толщина слоя щебня 8 см, пропитанного органическим вяжущим
на глубину 4 см).
1.2. Показатели
производительности труда
№ п.п.
|
Наименование показателей
|
Величина показателя
|
по карте
|
по ЕНиР
|
1
|
Выработка на 1 чел.-день, м2 основания
|
216
|
164
|
2
|
Затраты труда на устройство 100 м2 основания, чел.-час.
|
3,71
|
4,87
|
Снижение затрат труда и повышение выработки рабочих достигается за
счет устройства щебеночного основания способом полупропитки по укрупненной
технологии (применяются две фракции щебня), применения распределителей щебня, увеличивающих производительность
труда по сравнению с ручной россыпью в 8
- 10 раз, рационального размещения исполнителей.
Производительность труда возросла на 31 %.
2.1. Работы по пропитке производят в сухую погоду при
температуре воздуха не ниже +10
°С.
2.2. К началу укладки щебня должны быть созданы надежные
боковые упоры: установлены брусья или отсыпаны и уплотнены обочины, а основание очищено
механической щеткой за 1 - 2 прохода по одному
следу.
2.3. Щебень
следует уплотнять без поливки водой. При температуре
воздуха выше +20 °С допускается поливка щебня водой. В этом случае розлив
вяжущего материала разрешается производить после просыхания щебня,
2.4. Для пропитки применяют битумы БНД-130/200, БНД-90/130, сланцевые битумы БС-0, БС-1, БС-2, каменноугольные дегти Д-6, Д-7, быстрораспадающиеся и
среднераспадающиеся эмульсии.
2.5. На участках дороги, имеющих уклон, чтобы уменьшить растекание
вяжущего по покрытию, розлив вяжущего производят при движении автогудронатора
на подъем.
2.6. При розливе вяжущих полосами необходимо соблюдать
перекрытие смежной полосы на 10 - 15 см.
2.7. Минимальная температура вяжущих перед розливом должна быть,
град С:
Жидкие битумы и дегти....................................................................................... 110 - 120
Вязкие битумы...................................................................................................... 130 - 160
Эмульсии
не подогревают.
2.8. Работы следует выполнять, соблюдая правила производства
работ (СНиП III-Д.5-73; ВСН 93-73),
а также правила техники безопасности (СНиП III-A.11-70).
3.1. Состав исполнителей:
Машинист
самоходного распределителя щебня Д-337А
|
5 разр. (М-1) - 1
|
Машинист
легкого катка
|
5 » (М-2) - 1
|
Машинист
тяжелого катка
|
5 » (М-3,
М-4, М-5) - 3
|
Машинист
автогудронатора Д-251А
|
5 » (М-6)
- 1
|
Помощник
машиниста автогудронатора Д-251А
|
4 » (М-7)
- 1
|
Асфальтобетонщик
|
4 » (А-1) - 1
|
»
|
3 » (А-2)
- 1
|
»
|
2 » (А-3, А-4, А-5) - 3
|
Водитель автобитумовоза Д-351 (Д-546) работает по отдельному
наряду - путевому листу.
3.2. Машины,
инструменты, приспособления, инвентарь
№ п.п.
|
Наименование
|
ГОСТ, № чертежа
|
Количество, шт.
|
1
|
Автогудронатор Д-251А
|

|
1
|
2
|
Автобитумовоз Д-351 (Д-546)
|
-
|
1
|
3
|
Каток дорожный самоходный массой 10 - 12 т
|
ГОСТ 5576-74
|
3
|
4
|
То же, массой 7 - 8 т
|
ГОСТ 5576-74
|
1
|
5
|
Распределитель щебня Д-337А
|
СТУ 76-1474-63
|
1
|
6
|
Распределитель каменной мелочи навесной Д-336
|
СТУ 76-1472-63
|
2
|
7
|
Трамбовка прямоугольная формовочная
|
ГОСТ
11777-74
|
2
|
8
|
Кирка
|
ГОСТ 1757-42*
|
2
|
9
|
Скребок
|
-
|
1
|
10
|
Лопата стальная строительная
|
ГОСТ 3620-63
|
5
|
11
|
Линейка измерительная стальная
|
ГОСТ
427-75
|
2
|
12
|
Шаблон с уровнем
|
-
|
2
|
13
|
Лейка
|
-
|
2
|
14
|
Ведро
|
-
|
1
|
15
|
Черпак
|
-
|
1
|
16
|
Брусья упорные металлические или деревянные с комплектом
костылей
|
-
|
100 м
|
17
|
Рейка металлическая
|
-
|
1
|
18
|
Проволочная щетка (метла)
|
-
|
1
|
3.3. Расход
материалов на устройство 1000 м2 щебеночного основания способом полупропитки:
Щебень 20 (25) - 40 мм по СНиП IV-45.............................................
|
100,8 м3
|
Щебень 3 (5) - 10 (5 -
15) мм..............................................................
|
9,2 м3
|
Битум.....................................................................................................
|
4,12 т
|
Эмульсия
битумная..............................................................................
|
6,4
|
3.4. Укрупненная технология
и нормы расхода материалов при устройстве покрытий и оснований толщиной 4 - 6 см из щебня, обработанного способом полупропитки
Последовательность
работ
|
Расход материалов и количество проходов катков
|
Первая россыпь щебня 20 (25)
- 40 мм на 100 м2, м3
|
5,0 - 7,5
|
Уплотнение катками, проходов по одному следу
|
5 - 7
|
Розлив вяжущего, л/м2
|
4,0 - 6,0
|
Вторая россыпь щебня 3 (5)
- 10 (5 - 15) мм на
100 м2, м3
|
0,9 - 1,1
|
Уплотнение катками, проходов по одному следу
|
6 - 6
|
Примечание. Меньшие нормы
даны для слоя 4 см, большие
- для слоя 6 см.
4.1. При устройстве щебеночного основания, обработанного
битумом способом полупропитки, выполняются следующие операции: очистка поверхности
основания от мусора и грязи; первая россыпь щебня 20 (25) - 40 мм; розлив битума по щебеночному основанию; вторая россыпь щебня 3
(5) - 10 (5 - 15) мм; уплотнение катками щебеночного
основания.
4.2. Работы рекомендуется выполнять механизированным отрядом.
4.3. Организация рабочего места

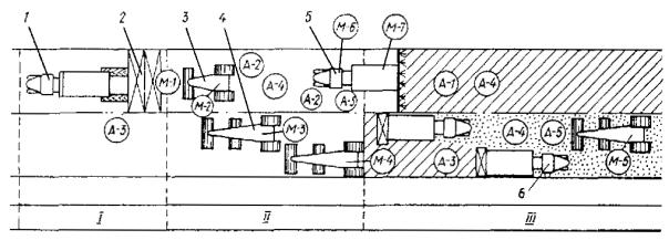
А-1 - А-5, М-1
- М-7 - места нахождения рабочих; I - завоз и распределение щебня первой фракции самоходным
распределителем; II - уплотнение щебня
первой фракции; III - розлив битума, распределение
щебня второй фракции и его уплотнение; 1 - автосамосвал; 2 -
самоходный распределитель щебня Д-337А; 3 - легкий каток; 4
- тяжелый каток; 5 - автогудронатор Д-251; 6 - автосамосвал с навесным распределителем.
4.4. График трудового процесса

№ п.п.
|
Наименование операций, их
продолжительность, исполнители и орудия труда
|
Характеристика приемов труда
|
1
|
Прием щебня 20 (25) - 40 мм и
его распределение;
18 мин;
М-1, А-3;
лопата стальная строительная
|
А-3 подает сигнал на подход автосамосвала, доставляющего щебень;
находясь у приемного бункера распределителя, помогает выгрузке щебня,
наблюдает за тем, чтобы в
бункер не попадали посторонние предметы, могущие вызвать поломку рабочих
органов распределителя щебня, подает сигнал на отход автосамосвала, ведет учет поступающего щебня. М-1 по подготовленному
основанию распределителем рассыпает щебень, следит за тем, чтобы в бункере
всегда был щебень

|
2
|
Подготовка слоя к
укатке;
18 мин;
А-2, А-4;
лопата стальная строительная, грабли металлические
|
А-2 и А-4 лопатами выравнивают кромки уложенного слоя и граблями
разравнивают щебень на продольном стыке полос, подсыпают грунт на кромках

|
3
|
Выявление дефектных мест и их исправление;
11 мин;
А-2, А-5;
шаблон с уровнем, рейка металлическая, лопата стальная строительная, грабли металлические
|
После подкатки щебня легким катком (2 - 3 прохода по одному следу) А-2 проверяет шаблоном поперечный уклон и ровность покрытия рейкой, с
помощью А-5 исправляет дефектные места

|
4
|
Уплотнение щебеночного основания;
18 мин;
М-2, М-3, М-4
|
После исправления дефектных мест М-2, М-3 и М-4 уложенный слой
щебня уплотняют в два приема: легким катком за 2 - 5 проходов катка по одному следу при скорости движения 1,5 - 2 км/ч и тяжелым катком за 4 - 5 проходов катка по одному следу при скорости движения: на
первых двух проходах - 1,5 - 2 км/ч,
на последующих проходах максимальная скорость - 3,5 - 5 км/ч. Укатку ведут от краев к середине с
перекрытием следа на 1/3 ширины вальца

|
5
|
Розлив органических вяжущих;
7 мин;
М-6, М-7
|
М-6 ведет автогудронатор по полосе розлива с рабочей скоростью, а М-7 следит за тем, чтобы органические
вяжущие были разлиты равномерно и заданная ширина основания была полностью покрыта
вяжущим. Струи вяжущего, выходящие из сопел,
должны быть лентообразными и не должны накладываться одна на другую

|
6
|
Исправление дефектных мест
после розлива вяжущих;
18 мин;
А-1, А-4;
лопата стальная строительная,
лейка
|
После каждого розлива битума А-1 и
А-4 проходят участок и исправляют дефектные места:
обрабатывают вяжущим сухие места из леек; срезают лопатой сгустки битума,
равномерно распределяют скребками по слою щебня скопления битума в пониженных
местах

|
7
|
Распределение щебня 3 (5) -
10 (5 -
15) мм
навесными распределителями;
12 мин;
А-3, А-4, А-5;
метла
|
Водитель автосамосвала ведет машину с навесным распределителем
щебня, а А-3 регулирует величину щели распределителя и следит за равномерным
распределением щебня. А-4 и А-5 жесткими метлами поправляют отдельные места

|
8
|
Окончательное уплотнение верхнего
слоя россыпи;
18 мин;
М-5
|
М-5 сразу после россыпи щебня уплотняет щебеночное основание
тяжелым катком при скорости движения 2
- 2,5 км/ч. Уплотнение россыпи начинают от
краев к середине с перекрытием следа на 20 - 30 см вальца. Во время
уплотнения необходимо
следить за тем, чтобы щебень не дробился, а заклинивал пустоты нижнего слоя. После
окончательного уплотнения верхнего слоя россыпи поверхность основания должна
быть ровной

|
СОДЕРЖАНИЕ