Информационная система
«Ёшкин Кот»

XXXecatmenu

ОТКрытое акционерное общество

Проектно-конструкторский и технологический институт промышленного строительства

ОАО ПКТИпромстрой

УТВЕРЖДАЮ

Генеральный директор, к.т.н.

____________ С.Ю. Едличка

«18» июня 2004 г.

ТЕХНОЛОГИЧЕСКАЯ КАРТА
НА УСТРОЙСТВО СТРОИТЕЛЬНЫХ
ХОМУТОВЫХ ЛЕСОВ С ЗЕМЛИ
ДЛЯ ОТДЕЛОЧНЫХ РАБОТ
ПО ФАСАДУ ЗДАНИЯ

74-04 ТК

Главный инженер

__________ А.В. Колобов

Начальник отдела

__________ Б.И. Бычковский

2004

Технологическая карта на устройство приставных хомутовых строительных лесов содержит решения по организации и технологии производства монтажных работ с целью обеспечения их качества, снижения материальных и трудовых затрат.

В технологической карте приведены область применения, организация и технология строительного процесса, требования к качеству и приемке работ, безопасности и охране труда, экологической и пожарной безопасности, потребность в материально-технических ресурсах, технико-экономические показатели.

Технологическая карта предназначена для инженерно-технических работников строительных организаций, а также производителей работ, мастеров и бригадиров, связанных с производством и контролем качества монтажных работ по устройству приставных хомутовых строительных лесов.

В разработке технологической карты участвовали сотрудники ОАО ПКТИпромстрой:

- Савина О.А. - разработка технологической карты, компьютерная обработка и графика;

- Черных В.В. - общее технологическое сопровождение;

- Холопов В.Н. - проверка технологической карты;

- Бычковский Б.И. - разработка технологической карты, техническое руководство, корректура и нормоконтроль;

- Колобов А.В. - общее техническое руководство разработкой технологических карт;

- к.т.н. Едличка С.Ю. - общее руководство разработкой технологической документации.

Авторы будут признательны за предложения и возможные замечания по составу и содержанию настоящей карты.

Контактный телефон (095) 214-14-72.

Факс (095) 214-95-53.

E-mail: pkti@co.ru

http://www.pkti.co.ru

СОДЕРЖАНИЕ

1 ОБЛАСТЬ ПРИМЕНЕНИЯ

1.1 Настоящая технологическая карта предназначена для применения при устройстве строительных лесов стоечных приставных хомутовых, предназначенных для производства отделочных и ремонтных работ на фасадах зданий высотой до 40 м, а также для оштукатуривания зданий, в т.ч. и для зданий сложной конфигурации как в плане, так и по высоте, а также при наклонных основаниях.

1.2 Леса представляют собой каркасную многоярусную пространственную систему, состоящую из трубчатых элементов (стоек, поперечин, продольных и диагональных связей), соединенных между собой с помощью хомутов. Конструкция лесов стоечных приставных хомутовых позволяет в широких пределах изменять схему каркаса, т.е. шаг стоек, расстояние между рядами стоек, высоту ярусов в зависимости от очертания зданий.

Шифр проекта 3.316.00.000, автор разработки АОЗТ ЦНИИОМТП. Технические данные вышеназванных лесов высотой до 40 м приведены в таблице 1.

Таблица 1 - Технические данные лесов ЛСПХ высотой 40 м

№ п/п

Наименование

Ед. изм.

Параметры

Примечания

1

Максимальная высота

м

40,0

 

2

Высота рабочего яруса

м

2,0

 

3

Шаг стоек вдоль стены

м

2,5

 

4

Расстояние между стойками перпендикулярно стене

м

1,25

 

5

Нормативная нагрузка

кгс/м2

200,0

 

6

Количество ярусов настила, укладываемых на леса

шт.

19

 

1.3 Карта разработана с учетом требований СНиП 12-03-2001 «Безопасность труда в строительстве. Часть 1. Общие требования», СНиП 12-04-2002 «Безопасность труда в строительстве. Часть 2. Строительное производство» и ГОСТ 27321-87 «Леса стоечные приставные для строительно-монтажных работ. Технические условия».

1.4 Привязка технологической карты, являющейся согласно СНиП 3.01.01-85* составной частью ППР, к конкретным объектам и условиям производства работ состоит в уточнении объемов работ и данных потребности в трудовых и материально-технических ресурсах.

1.5 Форма использования технологической карты предусматривает обращение ее в сфере информационных технологий с включением в базу данных по технологии и организации строительного производства автоматизированного рабочего места технолога строительного производства (АРМ ТСП), подрядчика и заказчика.

2 ОРГАНИЗАЦИЯ И ТЕХНОЛОГИЯ СТРОИТЕЛЬНОГО ПРОЦЕССА

2.1. Монтаж лесов производится под руководством производителя работ, ответственного за работы, для выполнения которых устанавливаются леса. Производитель работ, руководящий монтажом, должен:

- тщательно ознакомиться с проектом лесов;

- составить схему установки лесов для обслуживаемого объекта;

- произвести приемку лесов согласно спецификации с тщательной отбраковкой поврежденных элементов;

- провести инструктаж с рабочими по безопасным методам работы, о порядке и приемах монтажа лесов и их креплении к несущим элементам здания;

- проверить наличие допусков у рабочих, разрешающих им производство работ на высоте.

2.2 До начала работ по устройству лесов необходимо:

- установить временные ограждения вдоль границы опасной зоны на период монтажа, эксплуатации и демонтажа лесов. Пределы опасной зоны устанавливаются согласно СНиП 12-03-2001 «Безопасность труда в строительстве. Часть 1. Общие требования», а ее границы принимаются от внешнего ряда стоек лесов;

- доставить к месту установки отремонтированные и укомплектованные согласно спецификации элементы лесов;

- расчистить и спланировать с учетом отвода поверхностных вод полосы шириной 2,5 м по всей длине фасада. В случае наличия в основании насыпного грунта полоса вдоль здания должна быть уплотнена, а при необходимости по спланированной поверхности уложено основание из дорожных плит в соответствии с проектом;

- установить подъемную консольную балку с блоком на крыше;

- установить электролебедку для подъема элементов лесов;

- проверить исправность инструмента, приспособлений, подъемных механизмов, предохранительных поясов - неисправные заменить;

- проверить каждый трубчатый элемент лесов на отсутствие трещин, вмятин, изгибов - неисправные отложить;

- проверить щиты настила на отсутствие изломов;

- ознакомить монтажников с проектом производства работ на установку лесов под роспись.

2.3 Монтаж лесов осуществляется в соответствии с паспортом и инструкцией на леса ЛСПХ 3.316 по монтажным схемам, в которых указывается начало и направление монтажа. Схема установки лесов приведена на рисунке 1. Монтаж лесов следует начинать, как правило, от угла здания.

2.4 Монтаж лесов выполняется по ярусам, указанным в проекте производства работ. Для выполнения облицовочных, штукатурных, малярных и других видов отделочных работ на фасаде здания высота яруса устанавливается 2 м.

1 - башмак опорный; 2 - стойка короткая; 3 - стойка длинная; 4 - связь короткая; 5 - связь длинная; 6 - поперечина; 7 - связь диагональная; ´ - крепление лесов к стене

Рисунок 1 - Схема установки лесов по наружному ряду стоек

2.6 Монтаж лесов при разной конфигурации зданий осуществляется в технологической последовательности, включающей:

- разметку мест установки деревянных подкладок и мест сверления гнезд под пробки;

- раскладку деревянных подкладок перпендикулярно фасаду здания по разметкам. Размер сечения и длина подкладок принимаются в соответствии с проектом (при толщине подкладок не менее 50 мм) (рисунок 2, схема 1).

- установку башмаков на подкладки. Расстояние от стены до оси внутреннего ряда башмаков и между рядами башмаков должно соответствовать проекту. Башмаки закрепляются к подкладке гвоздями или костылями. Эту работу следует выполнять особенно тщательно, т.к. от правильной первоначальной разбивки и укладки башмаков согласно схеме 2 рисунка 2 зависит точность последующего монтажа лесов;

1) Схема установки подкладок (1 ярус)

1 - подкладка; 2 - башмак

Рисунок 2 - Схемы очередности установки элементов лесов

- устройство отверстий для установки пробок;

- установку попарно чередующихся стоек внутреннего и наружного рядов в соответствии со схемой 3 рисунка 2;

- установку на хомутах поперечин первого монтажного яруса на отм. 0,50 м согласно схемы 4 рисунка 2 одновременно с выверкой вертикальности каждой пары стоек в поперечном направлении с помощью отвеса;

- установку на хомутах продольных связей первого монтажного яруса на отм. 0,50 м согласно схемы 5 рисунка 2 с одновременной выверкой вертикальности стоек в продольном направлении;

- установку продольных связей по наружному ряду стоек для первого рабочего яруса на отм. 2,00 м в соответствии со схемой 6 рисунка 2;

- установку щитов настила 1-го монтажного яруса на отм. 0,50 м согласно схеме 7 рисунка 2;

- наращивание коротких стоек длинными стойками с настила первого монтажного яруса на отм. 0,50 м в соответствии со схемой 8 рисунка 2. Для удобства монтажа наращивание торцевых стоек по всей высоте разрешается выполнять короткими стойками;

- установку на хомутах на высоте 3 м на стойках внешнего ряда первой нитки ограждения рабочего яруса согласно схеме 9 рисунка 2;

- установку продольных связей первого рабочего яруса на отм. 2,00 м по внутреннему ряду стоек согласно схеме 9 рисунка 2;

- установку на хомутах поперечин первого рабочего яруса на отм. 2,000 м, которые крепятся пробками к стене. В месте крепления лесов к стене поперечина предварительно надевается проушиной на крюк и потом зажимается хомутом (рисунок 2, схема 10);

- перекладку на первый рабочий ярус на отм. 2,000 м щитов с первого монтажного яруса в соответствии со схемами 11 и 12 рисунка 2;

- установку лестницы согласно схеме 13 рисунка 2;

6) Схема установки продольных связей по наружному ряду стоек на отм. 2,000 (1 ряд)

7) Схема раскладки щитов настила первого монтажного яруса на отм. 0,500

1 - подкладки; 2 - башмаки; 3 - стойки; 4 - поперечины; 5 - продольные связи; 6 - щиты настила

3) Схема установки стоек внутреннего и наружного рядов (1 ярус)

4) Схема установки поперечин на отм. 0,500 (1 ярус)

5) Схема установки продольных связей на отм. 0,500 (1 ярус)

1 - подкладка; 2 - башмак; 3 - стойка; 4 - поперечина; 5 - продольная связь

8) Наращивание коротких стоек длинными стойками

9) Установка первой нити ограждения рабочего яруса на отм. 3,000

Установка продольных связей 1-го рабочего яруса по внутреннему ряду стоек на отм. 2,000

1 - подкладки; 2 - башмаки; 3 - стойки; 4 - поперечины; 5 - продольные связи; 6 - щиты настила

Продолжение рисунка 2 - Схемы очередности установки элементов лесов

- установку на хомутах с первого рабочего яруса по внешнему ряду стоек на высоте 2,5 м второй нитки ограждения первого рабочего яруса и бортовой доски с креплением ее скобами согласно схеме 13 рисунка 2. Последующие ярусы устанавливаются в той же последовательности, как и первый ярус;

- закрепление сваркой стальных полос от труб заземления после установки лесов первого яруса к стойкам в местах, указанных на монтажной схеме;

- установку дополнительных связей и дополнительных ригелей на уровне настила 1-го рабочего яруса на отм. 2,000 м;

- перекладку щитов настила с 1-го монтажного яруса на 1-ый рабочий ярус с одновременной установкой перильных ограждений. Сразу по окончании укладки щитов настила на длине одной секции (2 м) устанавливается перильное ограждение с его фиксированием, обеспечивающим устойчивость щитов настила от опрокидывания;

- установку последующих ярусов в той же последовательности, как 1-ый ярус;

- монтаж одновременно с лесами лестничных секций лесов. Причем, на рабочих ярусах решетки ограждения этих секций устанавливаются с четырех сторон;

- подъем элементов лесов лебедкой согласно приведенной на рисунке 3 схеме.

Каждые четыре яруса (8 м) по краям лесов ставятся диагональные связи, которые набираются из 2-х длинных связей и крепятся к стойкам поворотными хомутами.

Крепление лесов к стене производится при помощи металлических саморасклинивающихся пробок, закладываемых в пробиваемые в стене отверстия. Крепление лесов к стене производится согласно рисунку 4.

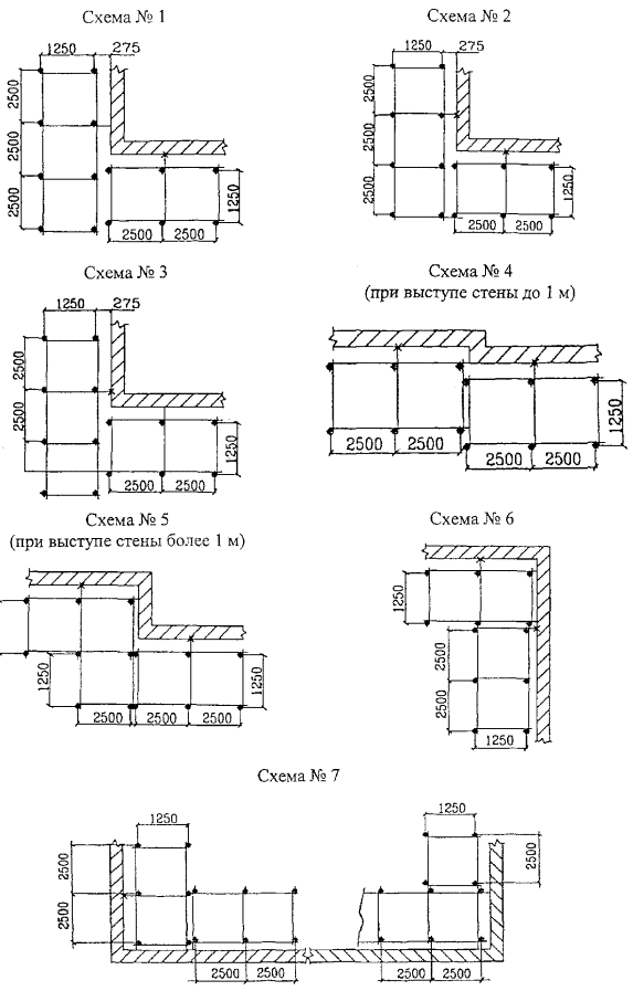
Приведенная последовательность сохраняется при установке и креплении лесов на зданиях различной конфигурации в соответствии с рисунками 5 ÷ 10.

По установленным лесам устраивается защитное ограждение (сетка, пленка, брезент).

10) Схема установки поперечин с креплением пробками к стене на отм. 2,000

11) Схема установки щитов настила первого рабочего яруса на отм. 2,000

1 - подкладки; 2 - башмаки; 3 - стойки; 4 - поперечины; 5 - продольные связи; 6 - щиты настила


12) Схема раскладки щитов рабочего настила


Крепление бортовой доски

1 - скоба

2 - бортовая доска

3 - щит настила

4 - связь

5 - стойка

6 - поперечина

13) Установка лестницы, второй нитки ограждения на отм. 2,500 и бортовой доски

1 - подкладки; 2 - башмаки; 3 - стойки; 4 - поперечины; 5 - продольные связи; 6 - щиты настила; 7 - бортовая доска; 8 - лестница

Продолжение рисунка 2 - Схемы очередности установки элементов лесов

Рисунок 3 - Схема подъема груза лебедкой

Примечание: - Удлиненные пробки применять при ослабленной кирпичной кладке, а также кладке из семищелевого и других видов эффективного кирпича.

1 - поперечина лесов; 2 - инвентарная саморасклинивающаяся пробка; 3 - кирпичная кладка; L - глубина гнезда для пробки.

Длина пробки, А, мм

Наименование

Масса, кг

Проект ЦНИИОМТП

136

Стандартная пробка

-

-

315

Удлиненная пробка

0,34

3316

365

- « -

0,38

- « -

415

- « -

0,43

- « -

520

- « -

0,51

- « -

Рисунок 4 - Типовое крепление лесов инвентарными пробками

Рисунок 5 - Схемы установки лесов при различной конфигурации зданий

1 - стойка; 2 - башмак; 3 - поперечина; 5 - связь; 6 - инвентарная пробка

Рисунок 6 - Схема крепления лесов при наличии балконов

1 - раскос; 2 - стойка; 3 - связь; 4 - поперечина

Рисунок 7 - Схема крепления лесов при наличии арки

1 - раскос; 2 - дополнительные стойки длиной 4 м; 3 - основные стойки длиной 2 и 4 м; 4 - башмак; 5 - поперечина; 6 - инвентарная пробка

Рисунок 8 - Схема крепления лесов при наличии карниза

1 - стойка; 2 - башмак; 3 - поперечина; 4 - связь; 5 - инвентарная пробка

Рисунок 9 - Схемы установки лесов при наличии эркера

а) у оконного проема

б) в оконный проем (1 вариант)

в) в оконный проем (2 вариант)

1 - раскос; 2 - стойка; 3 - поперечина; 4 - инвентарная пробка; 5 - связь

Рисунок 10 - Схема крепления лесов при наличии оконных проемов

2.7 Молниеприемники устанавливаются после установки стоек на высоту 8 м (4 яруса) и затем по мере наращивания стоек лесов их переставляют на вышележащие ярусы каждый раз, плотно прикрепляя к стойкам. Расстояние между молниеприемниками должно соответствовать проекту согласно рисунку 11.

1 - молниеприемник l = 3600;

2 - стойка лесов;

3 - полоса 4´25´820 мм;

4 - труба заземления L = 2500 мм.

Рисунок 11 - Грозозащитное устройство

2.8 Надежность затяжки гаек болтов в хомутах должны проверяться руководителем монтажа сразу по окончании монтажа яруса. Достаточность затяжки болтов проверяется пробной заверткой гаек ключом на выдержку. При завертывании гаек на затяжных болтах хомутов вставлять в ключ прокладки запрещается, нельзя также наращивать ручку ключа

2.9 Демонтаж лесов осуществляется под наблюдением инженерно-технического работника, ответственного за соблюдение правил монтажа и демонтажа лесов и соответствие лесов проекту, а также за соблюдение правил безопасности работ и сохранность элементов лесов.

2.10 К демонтажу приступают только после того, как работы с лесов закончены и с настилов сняты все материалы, инвентарь, инструменты.

2.11 До начала разборки ответственный руководитель по монтажу должен осмотреть леса и ознакомить рабочих с последовательностью и способом разборки, мерами, обеспечивающими безопасность работ.

2.12 Все дверные проемы первого этажа на участке разборки лесов должны быть защищены, а проходы полностью ограждены.

2.13 Демонтаж лесов начинают после снятия защитного ограждения с верхнего яруса и ведут поярусно сверху вниз в следующей последовательности:

- снимаются бортовые доски и перила ограждения;

- демонтируются стойки, стыковые соединения, которые находятся выше настила разбираемого яруса лесов и раскосы в пределах разбираемого яруса;

- снимаются щиты настила, начиная с края лесов, часть щитов переносится на ярус ниже для подмащивания при разборке лесов;

- снимаются крепления к стене;

- снимаются ригели.

2.14 Лестничная клетка разбирается одновременно с лесами в следующей последовательности: перила площадок, стойки, стыки которых расположены выше площадок в данном ярусе, щиты верхних площадок и лестницы.

2.15 После окончания демонтажа верхнего яруса рабочие переходят на нижележащий ярус, временно подмащиваясь на нем, и заканчивают разборку каркаса вышележащего яруса, снимаются поперечные и продольные связи. При этом хомуты освобождаются только от стоек, оставаясь закрепленными на поперечинах, связях и других элементах лесов.

2.16 Элементы лесов при помощи блоков, лебедки и пеньковых канатов спускаются вниз. Сбрасывание отдельных элементов лесов с высоты категорически запрещается. Мелкие элементы перед спуском вниз укладываются в специальные ящики.

2.17 Внизу с поперечин и других элементов снимаются хомуты, элементы лесов раскладываются по маркам и укладываются в контейнер для перевозки на новый объект или на склад. При сортировке элементы, требующие ремонта или замены, складируются отдельно и направляются в мастерские для ремонта.

2.18 При демонтаже лесов не допускается соприкосновение трубчатых элементов с электропроводами.

2.19 Каждая партия лесов, состоящая из набора элементов, отправляется потребителю комплектно и сопровождается паспортом завода-изготовителя, актом приемки ОТК и комплектовочной спецификацией, в которой указывается количество и масса отправляемых элементов по маркам.

2.20 Крупные детали лесов отправляются с завода-изготовителя без упаковки, связанными проволокой в пачках массой не более 80 кг. К каждой пачке прикрепляется бирка с указанием марки и количества элементов в пачке. Мелкие детали отправляются в таре.

Элементы лесов окрашиваются:

- стойки и поперечины - желтой эмалью;

- продольные связи - красной эмалью;

- чашки и крышки хомутов - черным битумным лаком БТ-577, ГОСТ 5631-79*.

2.21 Элементы лесов, рассортированные по маркам, хранятся в закрытых помещениях или на открытом воздухе на подкладках под навесом, не соприкасаясь с грунтом. Хомуты, пробки и крепежные детали хранятся законсервированными в закрытых ящиках массой не более 60 кг. Консервация производится в соответствии с ГОСТ 13163-67*.

2.22 Перед отправкой на объект леса комплектуются всеми типовыми и нетиповыми элементами согласно спецификации проекта лесов конкретного объекта. Комплектование лесов производится с отбраковкой элементов лесов, не соответствующих нормативным допускам.

2.23 При комплектовании соблюдаются следующие нормативные допуски и требования:

- все деревянные элементы лесов, включая щиты настила, поручни, бортовые доски, обрабатываются глубокой пропиткой огнезащитным составом;

- геометрические размеры щитов настила, сечения и расположение сшивных планок должны соответствовать проекту;

- отклонения от проектной длины элементов лесов не должны превышать в стойках +2 мм, а в остальных элементах ±3 мм;

- резьба болтов и места шарнирных соединений хомутов должны быть смазаны солидолом УС-2 по ГОСТ 1033-79.

2.24 Монтаж, демонтаж и эксплуатация инвентарных лесов должны производиться специализированным подразделением (участком), в обязанности которого входит:

- хранение и ремонт элементов инвентарных лесов;

- изготовление нетиповых деталей;

- комплектование лесов согласно спецификации в составе проекта лесов для конкретного объекта;

- монтаж и демонтаж лесов;

- контроль за состоянием лесов в процессе эксплуатации;

- сдача смонтированных лесов в аренду строительным организациям.

2.25 Транспортирование лесов производится транспортом любого вида, обеспечивающим сохранность элементов лесов от повреждений.

Не допускается сбрасывать изделия при разгрузке, транспортирование волоком и другие действия, могущие причинить повреждения элементам конструкции.

При транспортировании и хранении пакеты и ящики могут укладываться друг на друга не более чем в три яруса.

Элементы лесов должны храниться в закрытых помещениях или под навесом на подкладках, исключающих соприкосновение с грунтом.

3 ТРЕБОВАНИЯ К КАЧЕСТВУ И ПРИЕМКЕ ЛЕСОВ

3.1 Требуемые качество и надежность устройства и эксплуатации лесов должны обеспечиваться строительными организациями путем осуществления комплекса технических и организационных мер в соответствии с требованиями ГОСТ 27321-87 «Леса стоечные приставные для строительно-монтажных работ», СНиП 3.01.01-85* «Организация строительного производства».

3.2 Производственный контроль качества устройства лесов должен включать входной контроль качества элементов лесов, операционный контроль отдельных монтажных процессов или операций и приемочный контроль смонтированных лесов.

3.3 При входном контроле элементов лесов проверяется их комплектность и соответствие требованиям стандартов, а также наличие и содержание паспортов, сертификатов и других сопроводительных документов. Результаты входного контроля записываются в «Журнал входного учета и контроля качества получаемых деталей, материалов, конструкций и оборудования».

3.4 При операционном контроле проверяется соблюдение технологии монтажа элементов лесов, соответствие устройства лесов рабочим чертежам, строительным нормам, правилам и стандартам.

3.5 При приемочном контроле производится проверка требуемого качества смонтированных лесов, подготовленных к эксплуатации.

3.6 Металлические трубчатые леса допускаются к эксплуатации только после полного окончания их монтажа, но не ранее сдачи их по акту лицу, назначенному для приемки главным инженером строительства с участием работника по технике безопасности.

3.7 При приемке лесов в эксплуатацию проверяется:

- соответствие собранного каркаса монтажным схемам;

- правильность сборки узлов и соответствие крепления лесов проекту;

- правильность и надежность опирания лесов на основание;

- правильность установки и крепления ограждения и настила;

- наличие диагональных связей и правильность их расположения;

- обеспечение сохранности лесов от возможных ударов транспортными средствами;

- проверка надежности затяжки болтов на хомутах;

- обеспечение отвода воды от лесов;

- соблюдение вертикальности установки стоек и надежности закрепления лесов к стенам;

- наличие средств пожаротушения и устройство молниезащиты;

- приемку лесов следует производить под расчетной нагрузкой, расположенной на рабочем настиле верхнего яруса. Величина нагрузки и ее расположение должно соответствовать принятой в проекте лесов схеме нагрузок.

3.8 Надежность крепления проверяется приспособлением для контроля усилий заклинивания пробок лесов, которое развивает усилие выдергивания не менее 300 кгс.

При приложении усилия выдергивания 300 кгс к пробке, она не должна выдергиваться из стены.

3.9 Поверхность грунта, на которую устанавливают леса, должна быть спланирована, утрамбована и обеспечен отвод с нее поверхностных вод.

3.10 В процессе эксплуатации должно производиться систематическое наблюдение за состоянием всех соединений, креплений к стене, настилов и ограждений. Для этого ежедневно перед началом смены леса осматриваются прорабом или мастером руководящими работами, выполняемыми с этих лесов.

Не реже одного раза в 10 дней состояние лесов должно проверяться представителями строительной организации с фиксированием замеченных дефектов.

3.11 Во всех случаях обнаружения деформаций элементов лесов, нарушения устойчивости и других дефектов работа с лесов должна быть прекращена до исправления и повторной приемки лесов.

4 ТРЕБОВАНИЯ БЕЗОПАСНОСТИ И ОХРАНЫ ТРУДА, ЭКОЛОГИЧЕСКОЙ И ПОЖАРНОЙ БЕЗОПАСНОСТИ

4.1 К работам на высоте при устройстве и эксплуатации средств подмащивания допускаются лица не моложе 18 лет, прошедшие медицинскую комиссию и признанные годными к выполнению этих работ, прошедшие обучение согласно ГОСТ 12.0.004-90 безопасным приемам работы, сдавшие экзамены квалификационной комиссии и имеющие соответствующее удостоверение. Помимо специального обучения, рабочие должны получить первичный инструктаж на рабочем месте по безопасности труда и наряд-допуск на выполнение опасных работ. Рабочие должны быть ознакомлены с конструкцией лесов, а также порядком, способами и приемами выполнения работ. Лица, впервые допускаемые к выполнению работ, должны работать в течение года под непосредственным надзором более опытного рабочего.

4.2 Перед началом работ по монтажу лесов рабочие должны получить наряд-допуск на производство этих работ на срок, необходимый для выполнения всего объема работ.

4.3 Масса сборочных элементов лесов, приходящаяся на одного рабочего (при ручной сборке средств подмащивания) на строительном объекте, не должна превышать 25 кг - при монтаже и демонтаже (средств подмащивания) на высоте и 50 кг - при устройстве их на земле.

4.4 Леса должны быть оборудованы лестницами или трапами для подъема и спуска людей, находящимися на расстоянии не более 40 м друг от друга, причем для лесов длиной менее 40 м должно устанавливаться не менее двух лестниц или трапов. Верхние концы лестниц или трапов должны быть прикреплены к поперечинам лесов, а проемы в настилах лесов для выхода с лестниц - ограждены с трех сторон. Угол наклона лестницы к горизонту не должен превышать 60°, а угол трапов - не более чем 1:3.

4.5 Рабочий настил со стороны внешнего ряда лесов должен иметь ограждение. Высота ограждения должна быть не менее 1,1 м. Расстояние между горизонтальными элементами в вертикальной плоскости не должно быть более 0,5 м, между стойками не должно быть более 2 м. Перила ограждения лесов согласно ГОСТ 27321-87 должны выдерживать сосредоточенную статическую нагрузку равную 70 кг, приложенную горизонтально или вертикально в любом месте по длине поручня.

4.6 В местах проходов в здание леса должны иметь защитные козырьки в соответствии с рисунком 12 и боковую сплошную обшивку для предохранения людей от падения сверху различных предметов, причем защитный козырек должен выступать за леса не менее чем на 1,5 м и устанавливаться под углом 15 - 20° к горизонту. Высота проходов должна быть не менее 1,8 м.

При выполнении работ с лесов высотой 6 м и более должно быть не менее двух настилов: рабочий (верхний) и защитный (нижний), а каждое рабочее место на лесах, примыкающих к зданию или сооружению, должно быть, кроме того, защищено сверху настилом, расположенным на расстоянии по высоте не более 2 м от рабочего настила.

В случаях, когда выполнение работ, движение людей или транспорта под лесами и вблизи от них не предусматривается, устройство защитного (нижнего) настила необязательно.

4.7 Леса должны быть оборудованы грозозащитными устройствами и молниеотводами, состоящими из молниеприемника, токоотвода и заземления. Расстояние между молниеприемниками не должно превышать 20 м, а сопротивление заземления не должно быть более 15 Ом. Во время грозы и при ветре силой 6 баллов и более работу на лесах, а также их монтаж и демонтаж следует прекратить. С наступлением темноты, если нет достаточного искусственного освещения, работы на лесах должны быть прекращены.

4.8 Леса должны быть надежно закреплены к стенам зданий по всей высоте в соответствии со схемами креплений согласно рисунку 13. Произвольное снятие крепления лесов к стене не допускается.

Рисунок 12 - Козырек

4.9 Запрещается крепить леса к парапетам, карнизам, трубам, балконам и другим выступающим частям. При совпадении мест крепления стоек лесов с проемами в стене, леса следует крепить к внутренней стороне здания через проемы посредством накладных устройств (рисунок 10).

7.10. При работе на высоте рабочие должны быть снабжены предохранительными поясами для крепления к надежным частям здания или стойкам лесов в соответствии с указанием инженерно-технического работника, руководящего монтажом лесов.

Рабочие-монтажники должны быть обеспечены спецодеждой, спецобувью, испытанными предохранительными поясами, веревками, касками и др. средствами индивидуальной защиты.

4.11 Во время монтажа лесов должны быть обеспечены:

- прочность и надежность конструкций;

- безопасные условия работы во время монтажа и эксплуатации;

- устойчивость во время монтажа и эксплуатации;

- ограждения и индивидуальные средства защиты, исключающие возможность падения рабочих и материалов с высоты;

- безопасное транспортирование материалов.

Рисунок 13 - Места крепления лесов к стене при высоте 40 м

4.12 Настилы лесов, расположенные на высоте 1,3 м и более от уровня земли, должны быть ограждены. Высота перильного ограждения должна быть не менее 1,1 м от рабочего настила, а бортовой доски не менее 10 см. Зазор между досками настила должен быть не более 5 мм. Расстояние между горизонтальными элементами ограждения - не более 0,5 м.

В местах, под которыми ведутся другие работы или есть проход, настил должен быть без зазоров.

В трех рабочих ярусах устанавливается двойное перильное ограждение.

4.13 Зазор между стеной существующего здания и рабочим настилом установленных лесов не должен превышать 150 мм.

4.14 После окончания монтажа каждого яруса лесов до начала работ с них проверяется их правильность и качество монтажа путем осмотра всей конструкции и пробной завертки ключом гаек.

При завертывании гаек на затяжных болтах хомутов запрещается вставлять в ключ прокладки, наращивать ручку ключа, пользоваться ключами со сбитыми гранями и ключами с раздвижными губками.

4.15 Акт приемки лесов утверждается главным инженером организации. До утверждения акта работать с лесов не разрешается.

4.16 На лесах должны быть вывешены плакаты со схемами размещения нагрузок и их допускаемой величиной (рисунки 14, 15), а также схемы эвакуации работников в случае возникновения аварийной ситуации.

4.17 Стойки лесов, расположенные у проездов и в местах подъема груза, должны быть защищены от возможных ударов транспортными средствами.

4.18 Увеличивать вылет консольного свеса щитов настила не допускается.

4.19 Необходимо запретить движение и маневрирование транспортных средств вдоль фронта лесов на расстоянии ближе 3 м, установив ограждения и предупредительные знаки.

4.20 При подаче материалов на леса башенным краном непосредственно к рабочим местам необходимо соблюдать следующие правила:

- во избежание ударов по лесам грузом, подвешенным к крюку крана, запрещается поворот стрелы одновременно с движением крана или подъемом груза в непосредственной близости от лесов; эти операции должны производиться раздельно - сначала подъем и передвижение, а затем поворот стрелы;

- на лесах должен находиться сигнальщик, регулирующий путь движения груза подачей сигналов машинисту крана;

- при работе стрелы груз должен быть поднят над ограждением не менее чем на 1 м, спуск груза на настил лесов должен производиться плавно и с наименьшей скоростью.

4.20 При подаче материалов на леса стационарными подъемниками каркасы их должны крепиться к зданию независимо от лесов.

4.17 Демонтаж лесов можно начинать только после того, как все работы на лесах будут закончены и с лесов будут сняты все материалы, инвентарь, инструмент и убран строительный мусор.


Рисунок 14 - Схема допускаемых нагрузок на леса


Рисунок 15 - Схема размещения нагрузок

4.18 Во время демонтажа лесов все дверные проемы первого этажа и балконов должны быть закрыты.

4.19 Зона работ по демонтажу работ должна быть ограждена и иметь предупреждающие знаки и надписи.

4.20 При эксплуатации лесов необходимо руководствоваться требованиями ППБ 01-03 «Правила пожарной безопасности в Российской Федерации».

4.21 Рабочий настил лесов должен иметь следующие первичные средства пожаротушения:

- на каждые 20 м рабочего настила - 1 огнетушитель;

- ведра - не менее 4 шт. на весь настил.

4.22 В случае монтажа лесов для ремонта зданий повышенной пожарной опасности должна быть предусмотрена установка временного стояка пожарного водопровода с разбором воды на рабочем настиле.

4.23 В целях пожарной безопасности кроме лестничной клетки на лесах должны быть предусмотрены запасные выходы с рабочего настила в помещение через проемы.

4.24 Линии электропередачи, расположенные ближе 5 м от металлических лесов, необходимо (на время установки или их разборки) снять, обесточить или заключить в деревянные короба, а оттяжки троллейбусных и других проводов в зоне лесов заключить в резиновые шланги.

4.25 Кроме перечисленных в настоящем разделе решений при устройстве и эксплуатации лесов должны соблюдаться требования СНиП 12-03-2001 «Безопасность труда в строительстве. Часть 1. Общие требования», СНиП 12-04-2002 «Безопасность труда в строительстве. Часть 2. Строительное производство»; СНиП 3.01.01-85* «Организация строительного производства», ГОСТ 24258-88 «Средства подмащивания. Общие технические условия», ГОСТ 27321-87 «Леса стоечные приставные для строительно-монтажных работ. Технические условия».

5 ПОТРЕБНОСТЬ В МАТЕРИАЛЬНО-ТЕХНИЧЕСКИХ РЕСУРСАХ

5.1 Потребность в машинах, оборудовании, инструментах, приспособлениях и оснастке должна определяться в соответствии с данными, приведенными в таблице 2.

Таблица 2 - Ведомость потребности в машинах, механизмах, приспособлениях и инструменте

п/п

Наименование

Марка, тип, ГОСТ

Технические характеристики

Назначение

Кол. на звено (бригаду)

1

Лебедка электрическая

Т-66Г

Грузоподъемность, кг

320

Подъем элементов лесов

1

Масса, кг

227

2

Блок монтажный

 

Грузоподъемность, кг

500

То же

1

3

Перфоратор

 

 

 

 

1

4

Лопата совковая

 

 

 

 

2

5

Ящик для инструмента

 

 

 

 

1

6

Молоток слесарный

ГОСТ 11042-90

Масса, кг

0,5

 

2

7

Строп кольцевой

СКК1-5,0/2000

ГОСТ 25573-82*

Грузоподъемность, т

5,0

Подъем элементов лесов

2

Длина стропа, м

2,0

8

Лестница приставная

Проект № 1045.06 СКБ Мосстрой

Размеры, м:

 

Предназначена для подъема рабочих

2

высота

3,90

ширина

0,65

Масса, кг

42,5

9

Лом

ЛО-24

Диаметр, мм

24

Для выравнивания лесов

1

10

Уровень строительный

УС2-300

ГОСТ 9416-83

Длина, мм

300

Проверка горизонтальности и вертикальности лесов

2

Масса, кг

0,24

11

Отвес стальной строительный

ОТ-400

ГОСТ 7948-80

Масса, кг

0,4

Проверка вертикальности

1

12

Каска строительная

ГОСТ 12.4.087-84

 

 

Для защиты головы

5

13

Рукавицы специальные

Тип Г

ГОСТ 12.4.010-75*

 

 

Для защиты рук

5

14

Рожковые ключи

 

 

 

Для затяжки гаек

1

5.2 Для установки лесов стоечных хомутовых площадью 1000 м2 проекции лесов на стену используются приведенные в таблице 3 комплектующие изделия (рисунки 16 ÷ 23).

Таблица 3 - Потребность в комплектующих изделиях

Наименование

Ед. изм.

Кол.

Масса, кг

единицы

общая

1

2

3

4

5

Подкладки

шт.

11

7,5

82,5

Башмаки (рисунок 16)

шт.

22

1,6

35,2

Пробки (рисунок 4)

шт.

110

0,64

70,4

Стойки (рисунок 17)

шт.

 

 

 

короткие l = 2,0 м

 

24

8,8

211,2

длинные l = 4,0 м

 

196

16,4

3214,4

Поперечины (рисунок 18)

шт.

269

8,4

2259,6

Связи (рисунок 19)

шт.

 

 

 

короткие l = 3,7 м

 

160

14,5

2320

длинные l = 5,3 м

 

355

20,7

7348,5

Хомуты (рисунок 20, 21)

шт.

1372

1,6

2195,2

Щиты настила (рисунок 22)

шт.

950

10

9500

Бортовая доска

м

540

1,8

972

Лестницы (рисунок 23)

шт.

19

17

323

Защитное ограждающее покрытие

м2

1100

0,2

220

Итого:

 

 

 

28752,0

Рисунок 16 - Башмак

Рисунок 17 - Стойки лесов

* Размеры для справок.

Сварка ручная электродуговая

Наружные поверхности покрыты эмалью ПФ-115, ГОСТ 6465-76*

Поз.

Обозначение

Наименование

Кол.

Материал

Масса, кг

Лист

шт.

общ.

1

3316.11.001

Скоба

1

0,08

0,08

-

2

3316.11.002

Штанга

1

Труба 40, ГОСТ 3262-75*

8,2

8,2

б/ч

Рисунок 18 - Поперечина

Рисунок 19 - Связь

Рисунок 20 - Хомут неповоротный

Рисунок 21 - Хомут поворотный

Рисунок 22 - Щит настила

* Размеры для справок

Неуказанные предельные отклонения размеров по СМ8

Сварка ручная электродуговая.

Наружные поверхности покрыты эмалью ПФ-115, ГОСТ 6465-76*

Поз.

Обозначение

Наименование

Кол.

Материал

Масса, кг

Лист

шт.

общ.

1

3316.10.001

Крюк

2

Круг Ст.3, ГОСТ 535-88*

0,29

0,58

-

2

3316.10.002

Поперечина

l = 430 - 1,55

8

Труба 20, ГОСТ 3262-75*

0,71

5,68

б/ч

3

3316.10.003

Стойка

l = 2255 - 3,5

2

Угловая сталь

4,87

9,74

б/ч

4

3316.10.004

Штырь

l = 150 - 1

4

0,26

1,04

б/ч

Рисунок 23 - Лестница

6 ТЕХНИКО-ЭКОНОМИЧЕСКИЕ ПОКАЗАТЕЛИ

6.1 Для установки и демонтажа лесов приставных стоечных хомутовых, используемых для производства отделочных работ, принята бригада в составе:

слесари-монтажники           4 разряда - 1 чел.

3 разряда - 2 чел.

2 разряда - 1 чел.

Моторист                              3 разряда - 1 чел.

6.2 Затраты труда на устройство приставных стоечных хомутовых лесов подсчитаны по «Единым нормам и расценкам на строительные, монтажные и ремонтно-строительные работы», введенным в действие в 1987 г., и приведены в таблице 4 «Калькуляция затрат труда на устройство лесов площадью 1000 м2».

6.3 Продолжительность работ на монтаж лесов первого яруса определяется календарным графиком производства работ в таблице 5.

6.4 Технико-экономические показатели составляют:

затраты труда, чел.-ч:

на устройство 1000 м2 лесов                                                           - 502,6

на устройство 1 м2 лесов                                                                 - 0,5

на разборку 1000 м2 лесов (60 %)                                                  - 301,6

на разборку 1 м2 лесов (60 %)                                                        - 0,3

продолжительность установки лесов первого яруса, часов        - 5,5

Общая трудоемкость составляет чел.-ч:

Монтаж лесов                   I ярус                                                           13,2

II ярус                                                          9,16

III - IV ярус                                                  26,83

V - VI ярус                                                   26,83

VII - VIII ярус                                              26,83

IX - X ярус                                                  30,85

XI - XII ярус                                                35,47

ХIII - XIV ярус                                            40,79

ХV - ХVI ярус                                             46,90

ХVII - ХVIII ярус                                        53,93

ХIХ - ХX ярус                                             62,01

Итого:                                                                                   372,8

Устройство ограждающего покрытия                                                95

Подноска элементов лесов                                                                  34,76

Разгрузка элементов лесов автокраном                                              0,87

Всего:                                                                                   502,63

Таблица 4 - Калькуляция затрат труда на устройство лесов площадью 1000 м

Наименование работы

Ед. изм.

Обоснование ЕНиР

Норма времени на ед. изм., чел.-мин.

Объем работ по ярусам

Затраты труда, чел.-ч

по ярусам

Всего

I

II

III

IV

I

II

III

IV

Разметка площади

Разметка

Технологическая карта

2,21

11

-

-

-

0,41

-

-

-

0,41

Установка подкладок

шт.

3,24

11

-

-

-

0,59

-

-

-

0,59

Установка и крепление башмаков

шт.

3,77

22

-

-

-

1,38

-

-

-

1,38

Разметка высоты яруса

Разметка

0,65

6

5

6

5

0,06

0,05

0,06

0,05

0,22

Сверление отверстий в стене

Отверстия

1,45

6

5

6

5

0,15

0,12

0,15

0,12

0,54

Установка пробок

Пробка

1,4

6

5

6

5

0,14

0,12

0,14

0,12

0,52

Установка стоек

м

0,74

64

48

40

48

0,8

0,59

0,49

0,59

2,47

Установка поперечин

шт.

4,70

22

13

13

13

1,72

1,01

1,01

1,01

4,75

Установка продольных связей

шт.

4,70

24

25

25

29

1,88

1,05

1,05

2,27

8,05

Установка хомутов

шт.

2,27

88

66

66

72

3,24

2,49

2,49

2,72

10,94

Укладка щитов настила рабочего яруса

м2

2,70

37,5

37,5

37,5

37,5

1,69

1,69

1,69

1,69

6,76

Установка бортовой доски

м

2,38

27

27

27

27

1,07

1,07

1,07

1,07

4,28

Установка лестниц

шт.

4,34

1

1

1

1

0,07

0,07

0,07

0,07

0,28

Подъем элементов лесов

Подъем

4,80

-

-

50

50

-

-

4

4

8

Итого:

 

 

 

 

 

 

 

 

 

13,12

13,71

49,19

Устройство и разборка защитного ограждающего покрытия лесов

м2

Сборник общегородских единичных расценок на строительные работы для Москвы, Дополнение 4, расценки 24-М96

0,19 чел.-ч

 

1000

 

 

 

 

 

 

190

Подноска элементов лесов

т

§ Е1-19 № 2-а

1,2 чел.-ч

 

 

28,97

 

 

 

 

 

34,76

Разгрузка элементов лесов с транспортных средств

10 т

§ Е1-5 табл. 2 № 7

Машинист крана - 2,1 чел.-ч

 

0,28

 

 

 

 

 

 

0,58

Такелажник - 4,2 чел.-ч

 

 

 

 

 

 

 

 

1,17

Погрузка элементов лесов на транспортные средства

100 т

§ Е1-5 табл. 2 № 7

Машинист крана - 2,1 чел.-ч

 

0,28

 

 

 

 

 

 

0,58

Такелажник - 4,2 чел.-ч

 

 

 

 

 

 

 

 

1,16

Примечание: для каждых 4 м лесов высотой свыше 16 м норма времени увеличивается на 15 %.


Таблица 5 - График производства работ

В настоящем разделе приводится график производства работ на монтаж лесов первого яруса


7 СПИСОК ИСПОЛЬЗУЕМОЙ НОРМАТИВНО-ТЕХНИЧЕСКОЙ ЛИТЕРАТУРЫ

1 СНиП 3.01.01-85* «Организация строительного производства»;

2 СНиП 12-03-2001 «Безопасность труда в строительстве. Часть 1. Общие требования»;

3 СНиП 12-04-2002 «Безопасность труда в строительстве. Часть 2. Строительное производство»;

4 ГОСТ 12.0.004-90 «ССБТ. Организация обучения безопасности труда. Общие положения»;

5 ГОСТ 12.1.046-85. ССБТ. Строительство. Нормы освещения строительных площадок;

6 ГОСТ 24258-88 «Средства подмащивания. Общие технические условия»;

7 ГОСТ 27321-87 «Леса стоечные приставные для строительно-монтажных работ. Технические условия»;

8 ЕНиР. Единые нормы и расценки на строительные, монтажные и ремонтно-строительные работы. Сборник 1. Внутрипостроечные транспортные работы;

9 ППБ 01-03 «Правила пожарной безопасности в Российской Федерации»;

10 СП 12-135-2003 «Безопасность труда в строительстве. Отраслевые типовые инструкции по охране труда».



© 2013 Ёшкин Кот :-)